Современные способы усиления оснований и фундаментов
Федеральное Агентство по образованию
Государственное образовательное
учреждение
Высшего профессионального образования
"Новгородский государственный
университет имени Ярослава Мудрого"
Институт Политехнический
Строительное отделение
Кафедра СП
Реферат
СОВРЕМЕННЫЕ СПОСОБЫ УСИЛЕНИЯ
ОСНОВАНИЙ И ФУНДАМЕНТОВ
по учебной дисциплине
"Современные проблемы возведения
зданий и сооружений "
по специальности 270102 -
Промышленное и гражданское строительство
Руководитель
Л.Г. Прохорова
Студент группы 5071
Т.В. Беляева
Великий Новгород 2009
Содержание
Введение
1. Ремонт и усиление оснований и фундаментов
1.1 Методы усиления оснований
1.2 Методы ремонта и усиления фундаментов
2. Электроразрядная технология усиления фундаментов
3. Техника безопасности при ремонте и усилении фундаментов
Заключение
Список использованной литературы
Введение
Новые социально-экономические отношения, сложившиеся в России
за последнее десятилетие, привели к появлению значительного количества
собственников объектов недвижимости, а также инвесторов, осуществляющих и новое
строительство, и работы по ремонту и реконструкции.
Основной задачей реконструкции и капитального ремонта жилых и
общественных зданий является обеспечение сохранности основных фондов
непроизводственной сферы, предотвращение их преждевременного выбытия,
восстановление и улучшение их потребительских качеств, а также повышение
комфортности. В связи с этим реконструкцию и капитальный ремонт следует
рассматривать как важную составную часть крупномасштабных социальных программ
по созданию, развитию и совершенствованию материально-технической базы для
решения жилищной проблемы и значительного совершенствования культурно-бытового
и коммунального обслуживания.
1.
Техническое обследование зданий
Техническое обследование включает следующие виды контроля
технического состояния зданий:
· проведение плановых или неплановых
(внеочередных) осмотров;
· сплошное техническое обследование
городской застройки;
· подготовку проектирования капитального
ремонта или реконструкции;
· проведение экспертизы жилых зданий в
аварийных ситуациях.
К контролю технического состояния зданий относится также
приемочный контроль законченных капитальным ремонтом или реконструкцией зданий.
Техническое обследование заключается в выявлении дефектов и
неисправностей зданий и их элементов, определении степени и динамики их
развития, оценке их физического износа. При проведении технического
обследования применяют методы натурных наблюдений (визуальные методы),
разрушающие методы контроля технического состояния (вскрытие конструкций,
пробные пробивки и т.п.), инструментальные методы, в том числе неразрушающего
контроля технического состояния.
Сплошное техническое обследование жилых и общественных зданий
в масштабах города или региона рекомендуется проводить один раз в 5-8 лет в
дополнение к системе плановых и неплановых (внеочередных) осмотров. Данные о
техническом состоянии зданий, получаемые в результате проведения всех видов
технического обследования, составляют основу информационного массива,
создаваемого для перспективного планирования капитального ремонта и
реконструкции городской застройки.
Работы по сплошному техническому обследованию городской
застройки проводятся в следующем порядке:
1) подготовительный этап;
2) архитектурно-исторические изыскания (при обследовании
старой застройки);
3) обследование подземных конструкций
зданий;
) обследование надземных конструкций
зданий;
) обследование инженерного оборудования;
) оформление результатов обследования.
На подготовительном этапе составляют адресный список домов,
разрабатывают графики проведения технического обследования. Проводят сбор
исходных материалов: планов домовладений, картограмм кварталов,
инвентаризационных планов обследуемых домов, документов учета технического
состояния (актов осмотров и т.п.). Проводят фотофиксацию фасадов домов старой
постройки.
Архитектурно-исторические изыскания, как правило, проводят по
домам дореволюционной постройки. При этом устанавливают: находится ли здание на
учете как памятник истории или архитектуры; было ли оно повреждено в период
Великой Отечественной войны 1941-1945 гг. (в городах, находившихся в зоне
военных действий); когда здание построено; какие и когда проводились ремонты и
перестройки (в том числе над стройки, встройки, пристройки); наличие и
расположение в стенах дымовентиляционных каналов, заложенных и перебитых
проемов; были ли в доме прачечные, котельные и другие службы или производства,
обусловливающие утяжеление режима работы строительных конструкций; наличие в
здании ценных ин терьеров.
Обследование подземных конструкций состоит в осмотре
территории домовладения и визуальном определении конструкции, материала и
технического состояния фундаментов. Осмотром устанавливают: дефекты и
неисправности отмостки, тротуаров, входов в подвалы, крылец; наличие
неравномерных осадок; степень осадок и уклоны отмостки. При наличии
значительных деформаций в стенах или при отсутствии подвала отрывают шурфы на
глубину на 0,5 м ниже подошвы фундамента. По результатам обследования делают
эскиз фундамента с размерами и описанием конструкции, материала, грунтов
основания. При исследовании свайного основания определяют степень сохранности
деревянных ростверков и головок свай.
При обследовании подземных конструкций наряду с фундаментами
осматривают также стены подвала.
Обследование наземных конструкций зданий включает определение
технического состояния стен, перекрытий, перегородок, крыши, лестниц, оконных и
дверных заполнений, полов.
При обследовании каменных стен устанавливают: наличие сырости
и деформаций (трещин, выпучиваний, отклонений от вертикали, разрушения
перемычек, ослабленных участков стен). После отбивки штукатурки устанавливают
прочность и качество кладки, размер кирпича и его качество, прочность сцепления
кирпича с раствором, наличие и расположение трещин.
По окончании всего цикла работ по обследованию составляется
заключение о техническом состоянии зданий и сооружений рассматриваемого
объекта.
Заключение должно содержать:
1) задание, на основе которого выполнена работа;
2) использованные первоисточники (техническая
документация и т.п.);
) кем и когда выполнены обследования объекта и
поверочные расчеты;
) краткое описание архитектурно-планировочного
решения, технологического назначения объекта и условий эксплуатации;
) результаты натурного обследования, включая данные о
физико-механических характеристиках оснований, фундаментов и надземных несущих
конструкций, характерные дефекты, снижающие прочность и жесткость здания
(сооружения);
6) результаты поверочных расчетов;
7) выводы о несущей способности оснований, фундаментов и
надземных конструкций;
) первоочередные мероприятия по усилению (в случае
необходимости);
9) мероприятия по технике безопасности.
2.
Ремонт и усиление оснований и фундаментов
Для усиления оснований применяются различные методы, в том
числе цементация, битумизация, смолизация, термозакрепление и иные способы
уплотнения грунтов.
2.1 Методы
усиления оснований
Цементация
Грунты: скальные трещиноватые крупнообломочные, крупно - и
среднезернистые песчаные, супесчаные с малым содержанием пылеватых частиц.
Технология выполнения: в грунт погружают инъекторы - трубы
металлические диаметром 25-75 мм. На поверхности нижней части труб в шахматном
порядке сверлят отверстия диаметром 5-6 мм с расстоянием между ними 2-5
диаметров. Раствор нагнетают при давлении до 7 атм. Для измерения давления у
оголовков инъекторов устанавливают манометры. При повышении давления на 15-20%
инъектор можно считать отработанным. Объем инъецируемого раствора определяют в
зависимости от пористости грунта (в пределах 0,5-0,4 от объема грунта).
Силикатизация
Грунты: мелкозернистые (глинистые, суглинистые с большим
содержанием пылеватых частиц), лессовидные, плывунные.
Технология выполнения: аналогична предыдущей. Грунты
закрепляют параллельным нагнетанием через две самостоятельные группы инъекторов
двух видов раствора - силиката натрия (жидкое стекло) при концентрации 50% и
водного раствора хлористого кальция с удельной массой 1,26-1,28 т/м³. При усилении лессовидных грунтов нагнетают только жидкое стекло
(однорастворная силикатизация), так как функции хлористого кальция выполнят
кальциевые соли, содержащиеся в лессе. Количество нагнетаемого жидкого стекла в
этом случае увеличивается втрое. Для закрепления плывунов, обладающих малой
проницаемостью и требующих введения менее вязкого жидкого стекла, применяют
силикадоль, представляющий смесь 1 части жидкого стекла с удельной массой 1,19
т/м³ и З частей фосфорной кислоты с удельной массой 0,025 т/м³.
Битумизация
Грунты: сухие песчаные и скальные.
Смолизация
Грунты: песчаные.
Технология выполнения: в грунт через инъекторы нагнетают
раствор карбамидной смолы и соляной кислоты. Гель, который возникает при
взаимодействии растворов, заполняет поры в песке и склеивает частицы между собой.
Глубинное уплотнение оснований
Грунты: насыпные.
Технология выполнения: устройство вертикальных или наклонных
набивных песчаных, бетонных или грунтовых свай с подъемом по мере заполнения
скважин обсадных труб - уплотнение грунта происходит за счет увеличения объема
набивных свай.
Термозакрепление (обжиг)
Грунты: глинистые
Технология выполнения: обжиг осуществляется в герметически
закрытых затворами скважинах, пробуренных вертикально, наклонно или
горизонтально (на косогорах) в толще закрепляемого грунта. В качестве источника
теплоты могут быть использованы нихромные электронагреватели
2.2 Методы
ремонта и усиления фундаментов
Основными причинами, вызывающими необходимость переустройства
фундаментов, являются увеличение нагрузки при надстройке зданий или изменение
их функционального назначения, нарушения в сцеплении кладочных материалов,
разрушение материала фундамента от действия агрессивных сред, деформации в
связи с потерей прочности или при осадке оснований. В зависимости от
конструкции фундаментов, а также характера деформаций и причин, их вызывающих,
применяются различные способы ремонта и усиления деформированных фундаментов.
Усиление жестких фундаментов может осуществляться путем
увеличения площади их подошвы или при помощи свай различного типа.
При проектировании усиления необходимо максимально
использовать существующий фундамент, обеспечив его совместную работу с
элементами усиления.
Несущую способность фундаментов реконструируемого объекта
определяют с учетом фактических прочностных и деформативных характеристик
материала фундамента и грунтов основания, а при свайных фундаментах используют
также результаты полевых испытаний (зондирование, статические испытания и др.).
Инъецирование
Фундаменты: бутовые, с расслоениями, но при сохранившейся
конфигурации.
Технология выполнения: инъецирование осуществляется жидким
стеклом (силикатизация) или цементными растворами (цементизация). Подготовка
фундамента к инъецированию заключается во вскрытии фундамента, бурении гнезд,
установке инъекторов, соединении их с инъекционной установкой и проверке
готовности системы (рис.1). Гнезда для установки инъекторов бурят или
пробивают перфораторами в шахматном порядке на расстоянии 0,8-1 м одно от
другого. Диаметр отверстия, в которое вставляют инъектор, на 3-5% больше диаметра
инъектора. Инъектор укрепляют на цементном растворе. При цементации раствор в
тело фундамента нагнетают инъекционными установками под давлением около 1 МПа.
Радиус действия инъектора 0,6-1,2 м. Потребность в растворе для инъецирования
фундаментов зависит от состояния фундаментов и плотности материала кладки.
Ориентировочно ее можно принимать в размере 0,3 от объема инъецируемых
фундаментов.
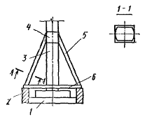
Рис. 1. Инъектирование фундаментов: 1 - отверстия для
нагнетания раствора; 2 - инъектор; 3 - гидроизоляция
При силикатизации в фундаменты вводят по одним и тем же
инъекторам, но с помощью различных насосов первоначально жидкое стекло, а за
тем хлористый кальций. Технологические перерывы между нагнетанием одного и
второго видов растворов не должны превышать шести часов. Жидкое стекло вводят
до полного насыщения фундаментов, постепенно повышая давление от 0,05 до 0,4
МПа. Нагнетание хлористого кальция осуществляется при начальном давлении 0,4
МПа с постепенным повышением его до 0,5 МПа.
Пример:
В качестве примера можно привести успешно реализованные
проекты усиления оснований и фундаментов берегового устоя моста через Дунай (рис.2,
а) и памятника военной архитектуры в Вене (казармы Россауэр). Последний был
построен в 1870 г. на деревянных сваях (рис.2, б).
Рис. 2. Усиление
оснований зданий и сооружений с использованием струйной технологии: а - подпорная стена
берегового устоя моста через Дунай; б - памятник военной архитектуры в Вене
(казармы Россауэр); 1 - буровой станок SC-1 (Кеller); 2 - существующий
фундамент; 3 - деревянные сваи; 4 - укрепленные массивы грунта; 5 - ступени
спуска; 6 - подпорная стена канала
Необходимость усиления определили два фактора: резкое
увеличение нагрузок в связи с заменой перекрытий и гниение голов свай из-за
понижения горизонта подземных вод. Разрабатывались конкурсные варианты усиления
оснований и фундаментов. Была выбрана струйная технология.
Фактически принятая технология удовлетворяла всем расчетным
геотехническим и конструктивным требованиям:
· исключение из работы деревянных свай со
сгнившими головами;
· передача давления от массивного 5-этажного
здания с размерами в плане 136х275м на прочные гравийно-щебенистые грунты;
· исключение нарушений в работе
коммуникаций, идущих вдоль здания с наружной стороны;
· полная стабилизация всех осадок при
увеличенной нагрузке.
Учитывая необычность такого рода усиления и дискуссионность
отдельных технологических моментов, остановимся подробно на деталях, имеющих
отношение к дальнейшему анализу.
Для инъекции растворов использовали буровую установку на
гусеничном ходу SC-1 фирмы Кеller (ФРГ). Габариты установки позволяли ей
перемещаться через проем шириной 0,8 м и работать в подвальном помещении при
высоте 2,8 м.
Основные преимущества струйной технологии в условиях слабых
грунтов: возможность ведения работ в любых неблагоприятных грунтовых и в
стесненных условиях; экологическая чистота всех технологических операций.
Однако струйная технология имеет и ряд недостатков, основными
из которых являются: опасность локальных деформаций в процессе временного
размыва грунтового массива под фундаментом до набора прочности; высокая
стоимость и материалоемкость из-за больших объемов закрепления грунта;
повышенная опасность при работе с высоким давлением.
Усиление железобетонной обоймой
Фундаменты: бутовые, с расслоившейся кладкой, выпадающими
камнями, с нарушенной конфигурацией.
Технология выполнения: фундаменты усиливают монолитными
железобетонными обоймами захватками длиной 2-2,5 м с отрывкой траншей с двух
сторон фундамента. Минимальная толщина обоймы 15 см. для бетонных обойм
применяют бетон с мелким гравием литой консистенции. Усиление смежного участка
выполняют не ранее чем через 7 суток после окончания работ на предыдущем
участке. Последовательно выполняют работы на участках, отстоящих друг от друга
на расстоянии 2-2,5 м. Одновременно допускается выполнение работ на участках
отстоящих друг от друга на расстоянии не менее 6 м.
Для обеспечения жесткой связи железобетонной обоймы с
существующим фундаментом в последнем в шахматном порядке через 1-1,5 м сверлят
поперечные сквозные отверстия, затем устанавливают с обеих сторон фундамента
арматуру диаметром 8-10 мм и соединяют ее через просверленные отверстия
арматурными стержнями диаметром 18-20 мм, образуя единый каркас. Железобетонная
обойма может быть и односторонней. В этом случае арматурные стержни заделывают
на цементном растворе в ранее просверленные гнезда в теле фундамента.
Рис. 3. Устройство железобетонных обойм
- существующая стена; 2 - существующий фундамент; 3 -
железобетонная обойма; 4
- анкерная связь
усиление основание фундамент электроразрядный
Рис. 4. Уширение фундамента с помощью
железобетонных подушек:
1 - существующий фундамент; 2
- раствор или бетон на мелком заполнителе; 3 -
железобетонные подушки
К выступающим из тела фундамента концам арматурных стержней
крепят арматуру железобетонной обоймы. Железобетонную обойму уширяют по
направлению сверху вниз и в нижней части в виде подушки заводят под
существующий фундамент. После устройства арматуры устанавливают опалубку,
наращивая её по мере бетонирования, укладывают и уплотняют бетонную смесь. Если
устройство железобетонной обоймы имеет целью только упрочение фундамента, оно
может быть выполнено методом торкретирования. В этом случае на поверхностях фундамента
монтируют арматуру, которую затем покрывают слоем бетона, наносимым с помощью
торкретпушки. Торкретирование является высокопроизводительным
комплексно-механизированным процессом устройства железобетонных обойм.
Минимальная толщина железобетонной обоймы 10 см, работы ведут участками длиной
2-2,5 м. Бетонная смесь наносится последовательно слоями толщиной 20-25 мм
после схватывания каждого предыдущего слоя.
Уширение подошвы
Фундаменты: бутовые и бутобетонные.
Технология выполнения: при подведении сборных железобетонных
подушек основание вскрывается с обеих сторон фундамента. Подушки подают в
траншею краном и заводят последовательно под фундамент участками длиной не
более 1,5-2 м. Установка подушек в проектное положение производится с помощью
домкратов. После укладки подушек на захватке зазоры между верхом подушек и
низом фундаментов заполняют раствором состава 1: 3 или бетоном класса В15 на
мелком щебне. Сборные железобетонные подушки могут заводиться с одной или двух
сторон фундамента. В первом случае применяют неразрезные подушки, а во втором -
подушки делают составными по ширине фундамента для упрощения процесса установки
их в проектное положение.
При слабых грунтах и значительных дополнительных нагрузках
под фундаменты подводят сплошную монолитную железобетонную плиту. Минимальная
толщина фундаментной плиты 25 см. Плиту заводят в фундаменты на глубину 35-40
см. Армирование плиты, марка бетона и сечение ребер жесткости определяются
проектом. Плиту бетонируют по щебеночному хорошо уплотненному основанию толщиной
15-20 см. Работы выполняются в соответствии с технологической картой, в которой
указывается последовательность разбивки штраб, укладки арматуры и бетонирования
отдельных участков. Особое внимание при производстве работ следует уделять
тщательности заполнения штраб и качеству уплотнения бетонной смеси.
При подводке фундаментов успешно применяют конструкции из
монолитного бетона и железобетона. Минимальная высота подводимой части
фундамента 40-50 см. В необходимых случаях подушку фундаментов армируют сетками
с рабочей арматурой диаметром 10-12 мм.
Подводка фундаментов осуществляется участками длиной 1,5-2 м
в соответствии с технологической картой производства работ. Работы по подводке
монолитных фундаментов могут проводиться с одной или двух сторон. Бетонную
смесь укладывают, как правило, в опалубку. Особо тщательно выполняется
завершающая часть бетонных работ с целью обеспечения плотного примыкания
подводимой части фундамента к существующей. Все неплотности примыкания
устраняют зачеканкой цементным раствором состава 1: 3. Прочность бетона
фундаментов контролируют испытанием бетонных кубиков габаритами 150х150х150 мм
в возрасте 3, 7 и 28 дней. После завершения работ по уширению подошвы
проводится обратная засыпка траншей с послойным трамбованием.
Рис. 4. Усиление фундаментов: железобетонной «рубашкой», 1 -
усиливаемый фундамент; 2 - железобетонная «рубашка»; 3 - арматура усиления; 4 - обойма колонны
Рис. 5. Усиление ленточного фундамента подводкой: 1 - усиливаемый фундамент; 2 - разгружающая балка; 3 -
подставка; 4 - распределительный ростверк; 5 - домкрат
Подводка и углубление
Фундаменты: каменные и бетонные.
Технология выполнения: работы проводят на участках длиной не
более 1,5 м. Подводку и углубление фундаментов производят участками через один,
начиная с наиболее нагруженных мест. Новую кладку выполняют на цементном
растворе марки не ниже 25. Горизонтальный шов между поверхностями старой и
новой частей фундамента зачеканивают жирным жестким раствором на расширяющемся
цементе.
Одним из вариантов наращивания является передача части
нагрузки с существующего фундамента на отдельные плиты с помощью металлических
или железобетонных балок, пропущенных через отверстия в усиливаемом фундаменте
(рис.5). В этом случае опорные плиты предварительно обжимаются с помощью
домкратов или гравитационной нагрузкой до расчетной. Ленточные неармированные
фундаменты могут наращиваться с помощью арматуры, заанкеренной в тело
фундамента и обетонированной на расчетную ширину усиления (рис.6).
Кроме того, подводка новых частей фундамента может
осуществляться рядом с существующим (рис.7). В этом случае нагрузка от
несущего элемента передается на фундамент усиления через подкосы и
металлическую (железобетонную) обойму. Устройство нового фундамента под
существующим выполняется с частичной или полной разгрузкой существующего
фундамента на локальных небольших по ширине участках. Причем эта подводка может
быть сплошной или частичной. При подводке новых фундаментов следует обеспечить
плотное прилегание подошвы существующего фундамента с новым. При подводке под
ленточные фундаменты конструкции усиления рекомендуется размещать на прямых
участках с максимальными нагрузками, так как подводка новых фундаментов в углах
и пересечениях вызывает серьезные трудности.
Рис. 6. Усиление ленточных: фундаментов наращиванием: 1 - усиливаемый
фундамент; 2 - арматурный каркас наращивания; 3 - металлические трубы; 4 -
шпуры
Рис. 7. Усиление ленточного фундамента подводкой: 1 - усиливаемый фундамент; 2 - дополнительные
фундаменты; 3 - колонна; 4 - металлическая обойма; 5 - металлические подкосы; 6
- элемент усиления
Усиление фундаментов с помощью свай
Фундаменты: каменные и бетонные.
Технология выполнения: эффективным средством усиления
фундаментов, особенно при неравномерных деформациях сооружения, являются
составные сборные сваи "Мега", которые не требуют больших габаритов
помещения и включаются в работу сразу после вдавливания. Недостатком этих свай
является достаточно высокая трудоемкость работ по их устройству, а также
необходимость выполнения временного котлована под подошвой фундамента, что
снижает его несущую способность в процессе усиления (рис.8). При
устройстве усиления сваями "Мега" конструкция существующего
фундамента должна быть проверена на восприятие усилия от реакции вдавливания.
Рис. 8. Усиление фундаментов с помощью свай «Мега»: 1 - усиливаемый фундамент; 2 - распределительный
элемент; 3 - домкрат; 4 - подпорка; 5 - головной элемент; 6 - рядовой элемент;
7 - нижний элемент сваи

При передаче на фундамент дополнительных горизонтальных и
вертикальных нагрузок эффективны буроинъекционные (корневидные) сваи, которые
могут также просверливаться через существующий фундамент, используемый в этом
случае как ростверк (рис.9).
Вместо свай типа "Мега" могут применяться
комбинированные металлические трубчатые сваи, погружаемые посекционно в грунт
гидродомкратами. Их затем заполняют монолитным бетоном.
Включение в работу существующего фундамента свай усиления
выполняется с помощью монолитного плитного ростверка или распределительных
балок, которые образуют со сваями рамную систему.
Плитный ростверк можно устраивать в пределах высоты
существующего фундамента (рис.10) и путем подводки под него (рис.11).
Первые варианты аналогичны работам при устройстве железобетонных обойм или
наращивания, требуют соединения арматуры существующего фундамента с арматурой
ростверка и используются в том случае, если возможно уширение фундамента в
пределах его высоты. Подводка нового ростверка под существующий фундамент
достаточно трудоемка и применяется в случае невозможности уширения фундамента в
пределах его высоты, при его повреждениях, а также слабых грунтах под его подошвой
или при повреждении головок существующих свай.
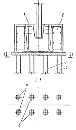
Рис. 10. Усиление фундамента ростверком, расположенным в пределах высоты
фундамента: 1 - усиливаемый фундамент; 2 - ростверк усиления; 3 - существующие
сваи; 4 - сваи усиления
Рис. 11. Усиление ленточного фундамента связями с подводкой
нового ростверка: 1 - усиливаемый фундамент; 2 - существующие сваи; 3 - ростверк усиления; 4 - сваи
усиления; 5 - арматурные сетки; 6 - отогнутые стержни
Замена фундаментов
Фундаменты: каменные и бетонные, деревянные (стулья).
Технология выполнения: замену фундамента проводят участками
длиной не более 1,5 м. Последовательно может выполняться работа на участках,
отстоящих друг о друга на расстоянии не менее 1,5 м. Одновременно могут
проводиться работы на участках, отстоящих друг от друга на расстоянии не менее
4,5 м. На соседнем участке работы могут выполняться не ранее 4 дней после
окончания работ на предыдущем участке. До начала работ на участке в стены с
обеих сторон заводят стальные (двутавровые или швеллерные) балки. Стыки балок
сваривают металлическими накладками. В поперечном направлении балки стягивают
болтами диаметром 25 мм. После разрушения старого материала фундамента и
укладки нового между их горизонтальными поверхностями сохраняется зазор не
менее 20 мм, который затем зачеканивают жирным жестким раствором на
расширяющемся цементе.
Деревянные стулья заменяют каменными или деревянными
антисептированными. До начала работ по замене стульев в деревянных зданиях
выявляют техническое состояние полов и подвалов в первом этаже здания,
пригодность его нижних венцов. При удовлетворительном состоянии здание
вывешивают домкратами с поддержкой подкосами и стойками на период замены
фундамента. Домкраты устанавливают на дощатую подушку под нижний венец здания
вблизи с заменяемым деревянным стулом. Замену деревянных стульев проводят в
следующем порядке: снимают цокольную доску и разбирают деревянный цоколь или
забирку между стульями. Затем по обеим сторонам на расстоянии 2-2,5 м от
сгнившего стула, заменяемого в первую очередь, устанавливают под нижний венец
домкраты, чтобы разгрузить заменяемый стул. После удаления сгнившего
деревянного стула отрывают котлован под каменный столб и возводят фундамент. В
грунтах, подверженных пучению, столбчатый фундамент закладывают на отметке ниже
глубины промерзания, причем нижнюю часть фундаментов выполняют из плотно
утрамбованного песка или песчано-гравелистой смеси. Кладку фундамента проводят
на отметке на 1 м ниже поверхности земли, для кладки применяют кладочный бут
М100 или хорошо обожженный кирпич М75 на растворе М80. Между верхней
поверхностью фундамента и низом нижнего складного венца оставляют зазор 5-6 см.
На верху кладки устраивают цементную стяжку и прокладывают толевую изоляцию, а
затем, обвернув толем доску толщиной 4-5 см, заклинивают ею оставленный зазор.
Окладной венец антисептируют, по цоколю пришивают отливную доску, обитую
листовой кровельной сталью. Замену поврежденных стульев проводят поочередно.
Домкраты удаляют после того, как окрепнет кладка новых каменных столбов.
Технология замены поврежденных каменных столбов деревянных зданий аналогична
технологии замены деревянных стульев с той лишь разницей, что разборке
подвергается старый каменный фундамент.
При ремонте и устройстве каменных фундаментов в зимнее время
кладка по способу замораживания не допускается. В период схватывания и
твердения бетон фундамента прогревают способом паро-, электропрогрева или
термоэлектрическими матами. При обратной засыпке пазух (траншей) не допускается
прилегание грунта кусками крупнее 0,15 м³ и попадание снега или
льда в грунт засыпки.
2.
Электроразрядная технология усиления фундаментов
В последнее время для изготовления свай, усиления фундаментов
и грунта, закрепления неустойчивых откосов и склонов все чаще используется
электроразрядная технология, известная в России узкому кругу специалистов и не
имеющая аналогов в мировой практике строительства.
Физическая сущность электроразрядной технологии (ЭРТ)
заключается в том, что скважина, заполненная мелкозернистым бетоном или
цементным раствором, обрабатывается серией высоковольтных электрических
разрядов. При этом возникает электрогидравлический удар, в результате которого
формируется тело сваи или корня анкера; цементируется и уплотняется окружающий
грунт. Первоначальный диаметр скважины 130-300 мм при обработке серией разрядов
может быть увеличен более чем в 2 раза в зависимости от энергии, подаваемой в
скважину, и гидрогеологических условий площадки. Окружающие грунты уплотняются,
снижается пористость в зоне воздействия ударного импульса.
Динамическое воздействие, возникающее в процессе формования,
за пределами зоны обработки незначительно и в процессе производства работ
периодически контролируется, энергия разряда при обработке скважины легко
регулируется, в результате чего работа с применением электроразрядной
технологии не оказывает вредного воздействия на усиливаемые конструкции и рядом
стоящие здания. Электроразрядная технология экологически безвредна, позволяет
формовать сваи и анкера различной конфигурации с уширением в одном или
нескольких уровнях.
Технология позволяет:
· свести к минимуму земляные работы и
водопонижение при строительстве нулевого цикла;
· производить работы из подвала (высотой не
менее 2,5 м), цокольного или первого этажа, не создавая неудобств жителям
вышележащих этажей и окружающих зданий;
· применять
легкие малогабаритные станки;
· осуществлять проходы в неустойчивых
грунтах при оплывании стенок скважины без обсадных труб;
· получать наибольшую несущую способность
свай и анкеров при минимальных количествах выбуренного грунта и длине сваи или
корня анкера.
ЭРТ широко применяется в следующих областях геотехнического
строительства: буронабивные и буроинъекционные сваи, постоянные и временные
грунтовые анкера, нагельное крепление откосов, фундаментов зданий и сооружений,
цементация грунтов, глубинное уплотнение песчаных грунтов.
Сваи ЭРТ обладают в 2-З раза большей несущей способностью и в
1,5-2 раза меньшей стоимостью по сравнению с буроинъекционными и буронабивными,
изготовленными с использованием традиционных технологий.
Сопротивление грунта под пятой сваи увеличивается в 1,3-2
раза, а на боковой поверхности - в 1,2-1,5 раза. Одна из составляющих
электроразрядной технологии - магнитно-импульсная обработка твердеющей смеси -
существенно повышает прочность и однородность мелкозернистого бетона, качество
и надежность сваи.
Схемы усиления существующих фундаментов аналогичны
применяемым для буроинъекционных свай. Наиболее применимы схемы
"козловых" свай, забуриваемых под некоторым углом через тело
существующего фундамента соответственно с двух сторон стены и с одной. В
последнем случае сваи изготовляются через одну с разным углом наклона. Реже
применяется схема, когда пробуренные вертикально вдоль фундамента сваи
воспринимают нагрузку от здания через дополнительно закрепленные в теле
фундамента траверсы.
В новом строительстве и при усилении существующих фундаментов
ЭРТ придает сваям высокую несущую способность при малых буровом диаметре и
длине. Несущая способность свай с буровым диаметром 150-250 мм больше, чем у
забивных свай сечением 300х300 мм той же длины.
Использование свай ЭРТ в ограждающих конструкциях позволяет
при минимальной элевации грунта при бурении получить конструкцию, по жесткости
и проницаемости практически не уступающую "стене в грунте",
способную, кроме того, нести достаточно большую вертикальную нагрузку.
Вследствие уплотнения и цементации грунта вокруг свай появляется возможность их
устройства на относительно большом расстоянии друг от друга, при этом нет
необходимости устраивать забирки в межсвайном пространстве, т.к. в этом случае
грунт между сваями достаточной устойчив и, к тому же, обладает малой
водопроницаемостью. В подпорной стенке сваи могут располагаться как в один, так
и в несколько рядов при размещении их в шахматном порядке. В целях обеспечения
пространственной жесткости стенки из нескольких рядов свай предусматривается
устройство обвязочного пояса поверху свай в виде железобетонного ростверка. При
большом расстоянии между сваями иногда дополнительно предусматривается
устройство на нескольких уровнях свай уширений, создаваемых по электроразрядной
технологии.
В целях повышения водонепроницаемости подпорных стен из свай
ЭРТ можно применить цементацию межсвайного пространства, также выполняемую по
электроразрядной технологии. При этом конструкция в целом приобретает
дополнительную жесткость.
Далее приведены наиболее значимые объекты реконструкции, при
которых была применена технология электроразрядного усиления грунта.
Фундаменты и кирпичные стены храма Вознесния
Господня у Серпуховских ворот
Проект реставрации и усиления стен, разработанный в
институтах Гидроспецпроект и Спецпроектреставрация, предусматривал цементацию
кирпичных стен, подвергнутых выветриванию, и выполнение фундамента под крыльцам
входа.
Цементация фундамента осуществлялась через шпуры диаметром 42
мм, про буренные в кирпичной кладке сверху вниз, под углом 30-45° от вертикали,
с шагом 500х500 мм. В шпуры через специальную воронку заливали цементный
раствор с добавкой суперпластификатора С-З в количестве 0,02% от веса цемента.
В каждом шпуре, заполненном цементным раствором, создавали
серию регулируемых электрогидравлических ударов путем преобразования
электрической энергии в механическую, на электродах, помещенных в раствор.
Процесс осуществлялся следующим образом: электрическая энергия переменного тока
промышленной частоты напряжением 220-380 В повышается до 10,0 кВ для
изготовления свай и уплотнения грунта. Электроэнергия повышенного напряжения,
проходя через выпрямитель, накапливается в блоке конденсаторных батарей до
необходимого уровня. С помощью специального разрядника коммутатора, накопленная
электроэнергия направляется по коаксиальному кабелю к излучателю энергии,
помещенному в цементный раствор.
Излучатель энергии представляет собой некоторое подобие свечи
зажигания двигателя внутреннего сгорания, увеличенной во много раз.
Пространство между электродами излучателя, заполнено цементным раствором. При
подаче электроэнергии на электроды излучателя в межэлектродном промежутке
создается высокая плотность энергии происходит пробой межэлектродного
пространства и в растворе образуется плазменный канал разряда. В этом канале
повышаются температура и давление, что обеспечивает высокую скорость расширения
канала (до сотен метров в секунду), образование и распространение в окружающей
среде волн сжатия. На этой стадии происходит преобразование запасенной в
накопителе электрической энергии в энергию гидродинамических возмущений. После
завершения ввода энергии, канал разряда преобразуется в парогазовую полость,
которая продолжает расширяться. Когда давление в полости стен меньше
гидростатического давления раствора, начинается процесс "схлопывания"
полости и объем, занимаемый этой полостью, заполняется свежей порцией пластичного
раствора. Весь этот процесс сопровождается гидродинамическим ударом.
О степени уплотнения грунта судят по величине, на которую
оседает раствор в устье скважины после очередного разряда.
Цементация по ЭРТ производится до тех пор, пока не будет
достигнут "отказ", т.е. последующая обработка электроразрядами не
приводит к дальнейшему поглощению цементационного раствора цементируемой
средой. Качество цементации по ЭРТ не уступает традиционной, однако сам процесс
становится значительно более контролируемым и менее трудоемким.
По полученным данным, при электрическом высоковольтном
разряде в цементном растворе за счет гидродинамического воздействия происходит
разделение цементных конгломератов значительных размеров (до 100 микрон) на мелкие
частицы (до 2-10 микрон), что повышает марку цемента и, одновременно, качество
цементации.
При электрическом разряде в жидкости возникает явление
кавитации, сопровождаемое дробящим действием прогидратированных только снаружи
конгломератов цемента. Следовательно, электрический разряд в цементном растворе
обладает дробящим действием, разрушая крупные конгломераты цемента на более
мелкие. При этом повышается активность цемента и его способность более свободно
проникать в микротрещины.
Грунтовые анкера и нагели, являющиеся относительно новыми для
отечественного строительства геотехническими конструкциями, особенно эффективны
при строительстве в тесной городской застройке, при разработке глубоких
котлованов, для укрепления откосов и особенно в качестве элемента "стены в
грунте". Не так давно была разработана конструкция нового типа анкеров,
устраиваемых в грунте с обработкой корня по ЭРТ. Их несущая способность в
1,5-2,5 раза превышает данный показатель для анкеров, устраиваемых по
традиционным технологиям. Благодаря возможности создания в требуемой
ограниченной зоне значительного избыточного давления на стенках скважины,
технология позволяет отказаться от применения тампонов при проведении инъекции,
проведения много ступенчатой зонной цементации, дает возможность строго
контролировать процесс опрессовки и уширения корня анкера в заданных точках.
ЭРТ позволяет значительно сократить длину корня анкера и
разрушить образовавшийся при бурении на стенках скважины слой слабого грунта за
счет значительного (даже в плотных глинах) увеличения диаметра скважины (в 1,5
и более раз).
Анкера, изготовленные по ЭРТ, успешно применялись при
строительстве ряда станций московского метрополитена, креплении подпорных стен
при строительстве комплексов "Москва-Сити", развязки III транспортного кольца с
Кутузовским и Ленинским проспектами, а также при строительстве ряда жилых
комплексов в Москве.
Храм Вознесения Господня у Серпуховских ворот г. Москва,
ул.Б. Серпуховская, 24
|
От интенсивного
движения автотранспорта по улицам Большая Серпуховская и Люсиновская стены
храма получили существенные повреждения. По решению
"Гидроспецпроекта" и "Спецпроектреставрация"
предусматривалось выполнить цементацию стен и усиление фундаментов по
разрядно-импульсной технологии. В процессе работ по устройству южного крыльца
на участке стены обнаружено отсутствие фундамента. На этом участке стены
храма были "вывешены" на сваях-РИТ, после чего был забетонирован
фундамент объемом более 50 куб. м. Для спасения храма использовалась самая
передовая строительная технология.
|
Храм Вознесения Господня после
реконструкции
|
Цементация стен
|
|
Старый
гостинный двор г. Москва, ул. Варварка, дом 3 Здание Гостиного двора
сооружено по проекту известного архитектора Джакомо Кваренги, утвержденного
Екатериной II. По заключению НИИОСП под фундаментами располагаются насыпные
грунты с включениями строительного мусора мощностью до 10 м, а также супесь
текучая, ниже - водонасыщенные пески, мягко - и туго-пластичный суглинок.
Высокий уровень грунтовых вод. Состояние грунтового основания -
перегруженное. Неравномерные осадки вызвали деформацию стен, сводчатых
перекрытий с образованием трещин. Состояние фундаментов неудовлетворительное,
на отдельных участках фундамент сложен из боя кирпича на известковом растворе
и легко разбирался вручную. Здание реконструировалось для размещения торговых
предприятий и офисов с надстройкой 2-х этажей, перекрытием внутреннего двора
остекленным куполом и увеличением высоты подвалов на 2-4 метра. Институт
Моспроект-2 предусмотрел усиление оснований, укрепление фундаментов и стен
подвалов сваями-РИТ, цементацию стен и зоны контакта
"фундамент-грунт". Несущая способность свай по грунту 17,7 и 16,9
тс, диаметр бурения 150 мм, на 10 м ниже подошвы фундамента. Всего на объекте
изготовлено более 10 тыс. свай-РИТ. При испытаниях свай-РИТ несущая
способность составила соответственно 45 и 58 тс на сваю, что в 2,5 и 3,4 раза
выше проектной.
|
Схема реконструкции
|
Процесс реконструкции Результат реконструкции
|
Комплекс зданий Большого театра
Многоэтажные здания старой постройки реконструировались под
вспомогательные помещения Большого театра. Кирпичные стены подвала и бутовые
фундаменты зданий находились в неудовлетворительном состоянии - трещины, поры,
ослабленные участки. Институт Моспроект-2 предусмотрел: цементацию стен,
фундаментов и зоны контакта "фундамент-грунт"; усиление стен подвалов
и фундаментов сваями-РИТ диаметром 170 мм, длиной 8.11,2 м, нагружаемых до 18,4
т. Было изготовлено более 1 тыс. свай несущей способностью 65 т на сваю. В
здании по Коптевскому пер., д.3/4, стр.2 предстояло углубить подвал более чем
на 2 м ниже подошвы фундамента. Для чего была применена ограждающая конструкция
"стена в грунте" из свай-РИТ, выполненная из подвала здания. Под
защитой из свай-РИТ был удален грунт и забетонирована облицовочная стена из
бетона В15 толщиной 120 мм.
<javascript:;>
Комплекс зданий после реконструкции
<javascript:;>
Жилой комплекс г. Москва, ул. Остоженка, дом 35
Предусмотрены сваи длиной 13 м в стальных трубах диаметром 630х7,
на расстоянии 930 мм от существующего здания. Шаг свай 3,5 м. Плита основания и
конструкции выше нуля рассчитаны на нагрузки, возникающие при карстовом провале
любой сваи и удвоении пролета с учетом консольно-расположенной стены. Институт
"Стройпроект" откорректировал РД свайного основания, применив
сваи-РИТ диаметром 250 мм длиной 10 м. Сваи-РИТ приблизили к существующему
зданию, стена совпала с осью свай, пролет между сваями сократился в 2 раза,
уменьшились моменты в плите. Испытания свай вертикальной вдавливающей
нагрузкой, выполненные НИИОСП им.Н.М. Герсеванова, подтвердили высокую несущую
способность свай-РИТ. Под нагрузкой 120 т осадка менее 8 мм.
<javascript:;>
Решение на буронабивных
сваях ø630 мм L=13 м
<javascript:;> Откорректированное
решение
|
на сваях-РИТ
ø250 мм L=10 м
|
|
|
|
|
|
Изготовление свай-РИТ
|
Современный вид
|
Глубинное уплотнение грунтов основания г. Москва, 2-я ул. Усиевича
|
Под группой
20-этажных зданий на глубине 6-7 метров оказались рыхлые водонасыщенные
пески. По традиционной технологии предполагалось выполнить уплотнение зоны
слабых грунтов путем втрамбовывания щебня с помощью вибропогружателя. После
выполнения пробного уплотнения выяснилось, что сроки строительства увеличатся
более чем на 2 месяца. По проекту НИИОСП им.Н.М. Герсеванова Генеральный
подрядчик с помощью вибропогружателя небольшой мощности пробивал лидирующие
скважины, подавал цементный раствор, а фирма РИТА выполняла глубинное
уплотнение грунтов. Качество уплотнения подтверждено результатами
статического зондирования.
|
Заказчику требовалось несколько
месяцев для уплотнения грунта основания этим громоздким и дорогостоящим
оборудованием
|
Малогабаритным оборудованием
"РИТА" выполнила уплотнение основания за 10 дней не нарушая покоя
жильцов
|
|
|
|
Институт "Гидропроект"
исследовал эффективность глубинного уплотнения
|
Готовые дома на основании,
усиленном глубинным уплотнением по РИТ (2000 г.)
|
Защита исторических зданий от деформации грунта при
строительстве подземного коллектора г. Москва, ул. Никольская
Выполнение работ
|
1 - сваи-РИТ 2 - коллектор
|
1 3. Техника
безопасности при ремонте и усилении фундаментов
При ремонтах и усилении фундаментов, выполняемых обычно в
условиях ограниченного фронта работ, требуется неукоснительное соблюдение общих
и дополнительных для данного вида работ правил техники безопасности и
производственной санитарии.
· Необходимо оградить опасные зоны,
выставить предупредительные и запрещающие надписи, установить указатели
переходов.
· Все находящиеся в зоне производства работ
электросети и коммуникации переносят или ограждают от возможных повреждений.
· При работе в шурфах, котлованах, траншеях
их стенки и откосы должны быть укреплены инвентарными креплениями или местными
ограждениями.
· Особые меры предосторожности следует
принимать при химическом закреплении грунтов. Рекомендуется по
возможности применять малотоксичные инъекционные растворы.
· При выполнении работ в закрытых и
загазованных условиях должна быть обязательно задействована принудительная
вентиляция.
В проекте производства работ должны быть выполнены
соответствующие расчеты по временному креплению стен и снятию нагрузки с
фундаментов. На стенах, под которыми ведут работы по ремонту фундаментов,
устанавливают гипсовые маяки и осуществляют за ними ежедневный контроль. В
специальном журнале отмечают характер поведения стен, в том числе появление
трещин и величину их раскрытия. Возникновение трещин в стенах показывает, что
временное крепление фундаментов недостаточно, необходимо остановить работы и
выполнить дополнительное усиление. Края котлована, в котором производят ремонт
фундаментов, должны быть защищены бортовыми щитками высотой не менее 20 см для
предотвращения падения посторонних предметов. Материал располагают в 1,5 м от
бровки котлована и подают рабочим вручную и механизированным способом.
Сбрасывать материалы вниз запрещается. Для спуска людей в котлован применяют
стремянки с перилами или приставные лестницы. Вблизи здания, где ремонтируют
фундамент, движение тяжелого автомобильного должно быть запрещено, а скорость
других видов транспорта ограничена до 15 км/ч. При ремонте фундаментов в зимнее
время в проекте производства работ предусматривают безопасные способы отопления
тепляков.
Заключение
Реконструкция зданий и сооружений является сложной и многоплановой
проблемой. Ее решение в каждом конкретном случае требует учета социальных,
экономических, эстетических, технических и ресурсных аспектов. Объемы
реконструкции будут и дальше возрастать, что в первую очередь обусловлено
дефицитом земли, ресурсов, недостаточно эффективным использованием
эксплуатируемых площадей в производственной сфере, повышение комфортности жилья
и др.
Строительная отрасль располагает мощной индустриальной базой,
высококвалифицированными рабочими, инженерно-техническими и научными кадрами,
технологиями, методами управления, позволяющими успешно вести реконструкцию
промышленных и сельскохозяйственных объектов, жилых и общественных зданий,
инженерных сооружений. Однако новые, более сложные и объемные задачи требуют
дальнейшего совершенствования системы проектирования, обеспечения и проведения
реконструкции зданий и сооружений.
Можно сформулировать следующие основные направления
совершенствования реконструкции:
· разработка новых, более тонких методов
диагностики состояния конструкций на основе использования высокочувствительных
приборов, средств автоматизации процесса обследований и обработки получаемых
результатов измерений.
· использование современных методов расчета,
строго учитывающих закономерности деформирования материалов при соответствующих
режимах и видах воздействий, особенно пространственной работы здания в целом.
· внедрение эффективных конструктивных
решений на базе использования традиционных для строительства материалов -
железобетона, кирпича, металла и др.
· применение конструкций из новых
материалов.
· разработка новых методов усиления и
восстановления эксплуатационной надежности конструкций.
· разработка и внедрение в практику
прогрессивных технологий на базе индустриальных методов и средств
автоматизации, усовершенствованной структуры парка машин и механизмов и их
качественного состава, оптимального объединение строительных машин, средств
малой механизации и автотранспорта. Совершенствование существующих и создание
новых специальных средств механизации и автоматизации для работы в стесненных
условиях.
· разработка эффективных форм экономического
стимулирования путей сокращения инвестиционного цикла, предложений по
переориентации участников строительного комплекса на конечные результаты,
готовую строительную конструкцию, обеспечению единства строительных площадок и
предприятий производственной базы как специальных пределов строительного цикла.
Разработка перечисленных выше и других направлений будет
способствовать дальнейшему повышению эффективности реконструкции, успешному
решению народнохозяйственных и социальных задач.
Список
использованной литературы
1. Вольфсон
В.Л. и др. Реконструкция и капитальный ремонт жилых и общественных зданий:
Справочник производителя работ/ В.Л. Вольфсон, В.А. Ильешенко, Р.Г. Комисарчик.
- 2-е изд., репритное. - М.: Стройиздат, 2003. - 252 с.
2. Обследование
несущих и ограждающих конструкций зданий с целью предупреждения аварийных
разрушений/Л.Н. Сосов, В.Ф. Сопрыкин // Промышленное и гражданское
строительство. - 2002. - №10. - С 30 - 32.
. Реконструкция
зданий и сооружений/А.Л. Шагин, Ю.В. Бондаренко, Д.Ф. Гончаренко, В.Б.
Гончаров; Под ред.А.Л. Шагина: Учеб. пособие для сроит. спец. Вузов. - М.:
Высш. шк., 1991. - 352 с.: ил.
. Строкинов
В.Н., Юзефович А.Н. Технология ремонта зданий и сооружений жилищного и
культурно-бытового назначения. - М.: Стройиздат, 1991. - 352 с.: ил.
. Электроразрядная
технология усиления фундаментов и кирпичных стен // Строительные материалы,
оборудование, технологии XXI века. - 2002. - № 9. - С 44 - 46.
6. Промышленное
и гражданское строительство. - 2004. - № 1.