Расчет элементов трехшарнирной рамы (деревянные конструкции)
Министерство
образования Республики Беларусь
Учреждение
образования «Белорусский государственный университет транспорта»
Кафедра
«Строительные конструкции, основания и фундаменты»
Курсовой
проект
«Конструкции
из дерева и пластмасс»
Выполнил
студент группы
ПЭ-51
Ковалёв А.А.
Проверил
доцент Ребеко
В.Я.
2011
1. Исходные данные
В соответствии с учебным шифром 476 имеем
следующие цифры:
схема поперечника - 6;
пролёт проектируемого здания l=15
м;
высота рамы до карнизного узла Н=3 м;
материал кровли - металлочерепица;
шаг рам В=6 м;
порода древесины - лиственница;
длина здания l=84
м;
расчётная температура воздуха в отапливаемом
сооружении t=17°С;
относительная влажность воздуха
γ=80 %;
район строительства - город Тамбов;
уклон кровли i=1/4,
α=14°;
тип ограждающих конструкций - утеплённые
стеновые панели на деревянном каркасе.
Рис. 1. Расчетная схема трёхшарнирной рамы
Рис. 2. Конструктивная схема трёхшарнирной рамы
Теплотехнический расчёт
Сопротивление теплопередаче ограждающей
конструкции определяется по формуле:
, где
- коэффициент теплопередачи
внутренней поверхности ограждающей конструкции,
;
- коэффициент теплопроводности
материалов теплоизоляционного слоя ограждающей конструкции;
- коэффициент теплопередачи
наружной поверхности ограждающей конструкции,
;
- толщина слоя утеплителя, мм.
,
где ∆tн =0,8(tв-tр)=
0,8(17-13,5)=2,8°С.
Согласно изменениям к ТКП
45-2.04-43-2006 “Строительная теплотехника”
нормативное сопротивление
теплопередаче Rтнорм=6
для
строительства общественных зданий.
В качестве утеплителя применяем
плиты из пенополистирола “ТехноНИКОЛЬ 30 250 Стандарт”, его физические и
теплотехническине параметры:
режим помещений - мокрый, условия
эксплуатации - Б,
плотность -
,
расчетный коэффициент
теплопроводности -
.
Требуемую толщину утеплителя
определяем по формуле:
принимаем теплоизоляционный слой 200
мм (в два слоя по 100 мм, в соответствии с размерами утеплителя:
1200х600х100).
В качестве пароизоляции применяем
полиэтиленовую плёнку.
2. Расчёт настила построечного
изготовления
Исходные данные. Шаг несущих рам -
6м. Состав покрытия: кровля - металлочерепица (масса 12 кг/м2);
контробрешетка; конденсационная пленка; верхняя обрешётка; система
продольных(50 х 50) и поперечных ребер (50 х 200); утеплитель из плит “ТехноНИКОЛЬ
30 250 Стандарт” (плотность
); пароизоляция из полиэтиленовой
пленки; нижний косой сплошной настил из строганных с нижней стороны досок;
прогоны с шагом 900 мм. Класс условий эксплуатации - 3.
Схема кровли представлена на
рисунке.
По весу снегового покрова город
Тамбов относится к III-му району, для которого
кПа.
Рис. 3. Схема настила построечного
изготовления
2.1 Расчёт верхней кровельной
обрешётки
Эскизный расчёт обрешётки
Шаг поперечных ребер, на которые
опираются доски обрешётки,- 1,25 м, такой чтобы между ними в свету было
расстояние, равное размерам плит утеплителя (600 x 1200). Шаг
досок обрешётки принимаем 300 мм. Масса металлочерепицы 12 кг/м2.
Расчёт 1-го загружения ведётся с
учётом коэффициентов
(для
постоянной нагрузки, при КУЭ 3),
(для длительной нагрузки, при КУЭ
3), к расчёту принимаем
в
соответствии с п. 6.1.3.2 ТКП 45-5.05-146-2009.
Расчёт 2-го загружения ведётся с
учётом коэффициентов
(для
постоянной нагрузки, при КУЭ 3),
(для кратковременной нагрузки, при
КУЭ 3), к расчёту принимаем
в соответствии с п. 6.1.3.2 ТКП
45-5.05-146-2009.
Расчетное сопротивление изгибу для
элементов настила и обрешетки под кровлю из лиственницы 2 сорта следует
принимать равным 14 МПа. Коэффициент для снеговой нагрузки
(приложение
3 СНиП 2.01.07-85*). Предварительно задаём собственный вес
конструкции: металлочерепица - 12 кг/м2, обрешётка и контробрешетка
с пароизоляцией ориентировочно - 8 кг/м2. Вертикальная погонная
расчётная нагрузка на одну единицу обрешётки:
Изгибающий момент при 1-м загружении
в вертикальной плоскости:
При 2-м загружении:
Подберем обрешетку из досок плашмя
при отношении n = h/b = 0,2.
Требуемые моменты сопротивления
составят:

Требуемая ширина брусков обрешётки:
По сортаменту пиломатериалов
принимаем обрешетку из досок 32 х 150. Конструктивно принимаем контробрешетку
16 х 75.
Поверочные расчёты обрешётки
Постоянная нагрузка от кровли с
учётом веса обрешётки, контробрешетки, пароизоляции:
Составляющие погонной нагрузки на
обрешетку:
нормативные-
,
расчётные-
,
Проверка прочности и жёсткости
обрешётки
Моменты сопротивления:
Моменты инерции-
-е загружение
Изгибающие моменты:
Напряжение при косом изгибе:
Как видно, условие прочности
выполняется.
-е загружение
Условие прочности выполняется.
Составляющие прогиба:
Полный прогиб в вертикальной
плоскости:
Относительный прогиб:
Следовательно, условие жёсткости
выполняется.
Приведенный расход древесины на
обрешётку и контробрешетку:
.
Кроме этого, предварительно найдем
расход древесины на поперечные и продольные ребра:
.2 Расчёт нижнего настила
Эскизный расчёт нижнего настила
Принимаем нижний настил из досок,
прибитых к прогонам под углом
, в таком случае, его расчётный
пролёт составит:
Поверхностные нагрузки на настил
включают в себя постоянную нагрузку от собственного веса настила, пароизоляции
и утеплителя:
нормативная:
(ориентировочно взят вес досок
настила
)
расчётная:
Требуемая толщина настила при
:
Из условия прочности отдельных досок
при 2-м загружении:
Из условия жёсткости:
По сортаменту пиломатериалов
подбираем доски толщиной 25 мм, что с учетом острожки с одной стороны даст δн=25-5=20 мм.
Проверочный расчёт нижнего настила
Проверку прочности досок нижнего
настила выполним только для стадии изготовления. Рассмотрим отдельную доску
нижнего настила 175 х 20.
W=b∙h2/6=17,5∙22/6=11,7
см3,
M” = 0,238∙0,175∙1,2732/14
+ 0,21(1,2/2)∙1,273 = 0,165 КН∙м
σ”= M”/W=16,5/11,7=1,412
КН/см2 = 14,12 МП < f”m,d=14,7МПа.
Проверку жесткости нижнего можно не
производить, т. к. отностельный прогиб будет гораздо меньше предельного.
Окончательно принимаем для нижнего
настила доски 175 х 25 в заготовке с последующей их острожкой с одной стороны
до толщины 20 мм.
Табл. 1. Сбор нагрузок на прогон
α = 14°, cos α = 0,97.
Расчётная нагрузка на прогон:
где
- шаг прогонов.
Изгибающий момент в середине
разрезного прогона при пролёте
.
Принимаем прогон из лиственницы 2-го
сорта (т. 6.4 ТКП 45-5.05-146-2009)
Требуемый момент сопротивления
прогона:
Вычислим требуемую высоту и ширину
бруса, предварительно задавшись соотношением сторон
:
С учётом острожки бруса с 3-х сторон
принимаем брус
, что с
учётом острожки в чистоте даёт прогон сечением
.
Проверочные расчёты разрезного
прогона
Распределённая нагрузка от массы
прогона:
Полные нагрузки на прогон составят:
где
g =
0,92+0,225∙1,2-0,240=0,95 КПа
Изгибающий момент в 1-м загружении:
Напряжения в сечении прогона при
этом:
Проверку на 2-е загружение не
выполняем.
Проверка жёсткости прогона:
Выполнение условия жёсткости прогона
не обеспечено.
Таким образом увеличиваем сечение
прогона до 150 х 225,
а с учетом острожки 140 х 220.
Распределённая нагрузка от массы
прогона:
Полные нагрузки на прогон составят:
где
g =
0,92+0,274∙1,2-0,240=1,01 КПа
Изгибающий момент в 1-м загружении:
Напряжения в сечении прогона при
этом:
Проверку на 2-е загружение не
выполняем.
Проверка жёсткости прогона:
Выполнение условия жёсткости прогона
обеспечено.
Таким образом окончательно принят
прогон 150 х 225,
а с учетом острожки 140 х 220.
Найдем расход древесины на прогоны:
Вычислим расход древесины всего
запроектированного покрытия:
3. Расчёт настила заводского
изготовления
Исходные данные. Номинальные размеры
в плане- 1,5´6 м; уклон
кровли- 1:4; район строительства - г. Тамбов (III-й район по
снегу); ); утеплитель из плит “ТехноНИКОЛЬ 30 250
Стандарт” (плотность
); нижняя
обшивка - асбоцементная (толщиной 8 мм), кровля - металлочерепица.
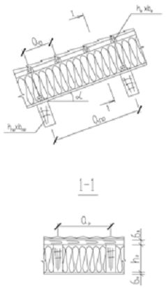
Эскизный расчёт панели
Ориентировочно масса панели- 70кг/м2=0,7
кПа, вес снегового покрова S0=1 кПа.
Нормальная составляющая погонной расчётной нагрузки
3,48 кН/м,
где
;
.
Изгибающий момент в середине панели
кН×м.
Примем в панели 2 мощных продольных
ребра, соединённых поперечными рёбрами через 1,25 м (для укладки утеплителя
1200х600 мм)в шип. По поперечным рёбрам через 300 мм укладываются бруски
обрешётки, а по обрешётке и продольным рёбрам будут крепиться листы
металлочерепицы.
Для древесины лиственицы 2-го сорта fm,d=13 МПа, и
тогда требуемая высота 2-х продольных рёбер из условия прочности на изгиб при b = 10 см
Wтр = Mmax/f’m,d =
1534,8:(1,3×0,85) =
1388,96 см3
hтр=
=20,41 см.
При расстоянии между поперечинами
1,25 м пролёт обрешётки равен 1,25 м, и при шаге обрешётки 0,3 м определим её
требуемые размеры как косоизгибаемого элемента:
=(0,2×1,2+1×1,6)0,3=0,552 кН/м;
l2/8=0,552×1,252:8=0,108
кН×м;
l2/14+0,21Pl=0,24×0,3×1,252:14+0,21×1,2×1,25=0,323
кН×м;
11,85 см3;
28,68 см3, где n=h/b=1;
см; bтр=hтр/n=5,56:1=5,56
см.
Принимаем бруски 50´50 мм, что
хорошо увязывается с высотой продольных рёбер. Конструктивно подбираем
контробрешётку 75х16 мм.
Проверка прочности и жёсткости
обрешётки
x=[(0,12·1,2+(4·0,05·0,05·8/1,5+4·0,016·0,075·8/1,5+0,002)
·1,1)·0,97+1,6×0,972]x0,3=0,519
кН/м;
y=(0,233·0,242
+1,6×0,97××0,242)0,3=0,13
кН/м;
xl2/8=0,519×1,252:8=0,101
кН×м;
=0,13 ×1,252:8 =0,025 кН×м;
Wx=Wy=bh2/6=5×52/6=20,8
см3;
=6,06 МПа<
=
xl2/14+0,21Рxl=0,223×0,97×0,3×1,252:14+0,21×1,2×0,97×1,25=0,306
кН×м;
l2/14+0,21Рyl=0,233×0,242×0,3×1,252:14+0,21×1,2×0,2419×1,25=0,078
кН×м;
=18,46 МПа >
=
Прочность обрешётки из брусков 50´50 мм на
стадии изготовления и монтажа не обеспечена. Принимаем обрешётку из брусков 75´50(h) мм.
Wx =bh2/6=7,5×52/6=31,3
см3, Wy = hb2/6=5×7,52/6=46,9
см3
=11,44 МПа <
=
Поверочные расчёты панели
Нагрузки на панель определены в
табл. 2.
Табл. 2. Нагрузки на кровельную
панель, кПа
Уточняем погонные нагрузки на
панель:
Нормативная нормальная составляющая
2,632 кН/м;
расчётная нормальная составляющая
3,351 кН/м.
Момент от нормальной составляющей
нагрузки в одном продольном ребре
xl2/(8×2)=3,351×5,942:(8×2)=7,389 кН×м.
Момент сопротивления продольного
ребра с учётом ослабления гнездом для шипа поперечного ребра 5´5 см
Iх нт=Iх бр-Iх осл=10×253:12-10×53:12=12916,7
см4;
Wх нт=2×Iх нт/h=2×12916,7:25=1033,3
см3.
Напряжение общего изгиба
s=Mx/Wx нт=738,9:1033,3=0,715
кН/см2=7,15 МПа <
=
Условие выполняется.
×0,85×107×13020,8×10-8)=
=1/309<
=1/250, что
удовлетворяет условиям жёсткости.
Приведенный расход древесины на
панель заводского изготовления
Vд=npbphp/bпан+n0b0h0/ bпан
+nконтрbконтрhконтр/ bпан
+nпbпhп/lп+sdδАЦ=
=2×0,1×0,25:1,5+4×0,05×0,075:1,5+6×0,016×0,075:1,5+6×0,05×0,2:6+0,8×0,008=
0,0645 м3/м2.
4. Сравнение вариантов
Сравнение вариантов конструкций ограждения
построечного и заводского изготовления приводим по приведенному расходу
древесины :
-для построечного изготовления Vд=
;
для заводского изготовления Vд=0,0645 м3/м2;
Таким образом окончательно принимаем вариант
кровли заводского изготовления.
5. Расчёт трёхшарнирной рамы каркаса
из Г-образных блоков
Исходными данными для проектирования рамы
являются:
здание отапливаемое, влажность
,
температура 

;
шаг несущих рам -
;
пролёт рамы -
;
высота стойки в карнизном узле -
, (
принимаем
высоту опорной части фундамента под стойкой над уровнем пола);
угол наклона кровли
(уклон
);
конструкция ограждения - утеплённые
панели на деревянном каркасе размерами
м;
район строительства г. Тамбов
(относится к III-му снеговому
району, для которого
кПа).
материал конструкции рамы -
лиственница 1-го сорта, доски шириной 225 мм (слой, снимаемый при острожке,
принимаем по 1 см с каждой стороны, чтобы обеспечить ширину рамы 205 мм).
.1 Предварительные расчёты
Назначаем высоту сечения полурамы:
в карнизном узле -
>
;
в пяте стойки -
;
в коньке -
.
Расчётный пролёт рамы -
.
Угол наклона верхней грани ригеля
при уклоне
.
Высота рамы в коньке -
.
Угол
,
Угол
.
Высота биссектрисного сечения -
.
;
.
Длина оси стойки -
.
Длина оси ригеля -
.
Угол наклона оси ригеля к
горизонтали -
После вышеприведённых
предварительных вычислений, расчётная схема рамы будет выглядеть, как указано
на рисунке 4.
Рис. 4. Конструктивная схема
полурамы
Рис. 5. Расчётная схема
.2 Нагрузки
Нагрузки, действующие на раму,
сведены в таблицу.
Табл. 3. Нагрузки, действующие на
раму
Расчётная постоянная нагрузка -
.
Погонная расчётная постоянная
нагрузка -
.
Расчётная снеговая нагрузка -
.
Полная нагрузка на раму -
.
Высота стоек рамы
, поэтому
ветровую нагрузку на раму можно не учитывать в статическом расчёте.
.3 Статический расчёт рамы
Наибольшие усилия возникают в
карнизном узле рамы при действии полной расчётной нагрузки (постоянной и
снеговой) по всему пролёту
(загружение 1).
Опорные реакции при этом составляют:
вертикальные -
;
распор -
.
Усилия в биссектрисном сечении
(
,
):
Усилия в сечении
стойки и
ригеля:
,
,
5.4 Проверка прочности
биссектрисного сечения
Для биссектрисного сечения высотой
и шириной
геометрические
характеристики равны:
расчётная высота
;
расчётная площадь
;
момент сопротивления
.
Гибкость полурамы в плоскости изгиба
при расчётной длине
:
.
Коэффициент учёта переменной высоты
полурамы:
,
где
,
тогда
Расчетное сопротивление клеёной
древесины сжатию вдоль волокон:
, где
- расчетное сопротивление
древесины, из которой изготовлены рамы сжатию вдоль волокон;
- коэффициент, зависящий
от КУЭ;
-коэффициент, учитывающий высоту
сечения для клеёных элементов, высотой сечения более 0,5 м;
-коэффициент, учитывающий высоту
сечения одного слоя для клеёных элементов, для 33 мм.
Коэффициент влияния деформаций от
продольной силы на момент:
.
Угол, образуемый биссектрисным
сечением с нормалью к оси стойки, равен
.
Расчётное сопротивление древесины
смятию под углом
:
.
Напряжения сжатия в биссектрисном
сечении:
.
Проверка прочности по максимальным
нормальным напряжениям в зоне затупления зубчатых шипов:
σt,o,d ∙kos
ft,o,d ∙kh ∙kδ
σt,o,d =M1-1/( kmc ∙Wрасч) - N1-1/(b∙hку)= 174,208/(
0,965 ∙0,057) ∙10-3 -
,241/(0,205∙1,2) ∙10-3
=2,587 MПа
,587∙1,12=2,897 МПа < 12∙0,8∙1=9,6
МПа.
Проверка прочности на отрыв по
плоскостям склеивания:
σt,o,d ∙kss
ft,αs,d ∙kh ∙kδ
k= ft,o,d/ft,90,d=12/0,15=80,
B= ft,o,d/ft,45,d-(1+k)/4=12/1,1-(1+80)/4=-9,341t,α,d
=ft,o,d∙kh
∙kδ/( cos4α+Bsin22α+ksin4α)=
=12/( 0,7884-9,341∙0,972+80∙0,6154)=3,951
MПа
,587∙0,0135=0,035 МПа <
3,951∙0,8∙1=3,161 МПа.
Проверка прочности по приведённым
напряжениям, действующим под углом α к волокнам древесины:
σt,o,d ∙kα1
ft,α1,d ∙kh ∙kδ
.5 Расчёт биссектрисного стыка на
наклонно вклеенных стержнях
Рис. 6. Стык на вклеенных стержнях
Несущая способность стержня
работающего на выдергивание:
T=M1-1/h0=174,208/1,52=120,143
КН.
С наружной стороны карниза при 4-ёх
стержнях несущая способность одного будет:
Tc=T/(cosφ
n)=120,143/(cos52°∙4)=48,786 КН.
Nр=Tc∙cos
α
= 48,786∙cos30°= 42,250 КН
- составляющая расчетного усилия на
один стержень, вызывающая в наклонных стержнях напряжения растяжения,
Q =Tc∙sin α = 48,786∙sin30°= 24,393
КН
составляющая расчетного усилия на
один стержень, вызывающая в наклонных стержнях напряжения изгиба,
Ta=FaRa=3,801∙375∙10-4=0,143
МН
расчетная несущая способность одного
стержня по условию прочности на растяжение,
Fa - площадь
сечения стержня,
Ra - расчетное
сопротивление растяжению стали(для S400 Ra=375МПа)
Тн=70d2(для S400), Тн=70∙0,0222
=0,034 МН
расчётная несущая способность
стержня на один шов из условия его работы на изгиб,
d -
номинальный диаметр стержня.
Несущая способность наклонно
вклеенной связи проверяется по формуле:
(Np/Ta)2+Q/Tн=[42,250∙10-3/(0,143]2+[24,393∙10-3/0,034]=
0,087+0,717=0,804
1,
условие выполняется; приняты стержни
S400 ш 22.
.6 Расчёт на устойчивость плоской
формы деформирования
Устойчивость плоской формы
деформирования проверяют по формуле:
По ригелю уложены панели покрытия
шириной 1,5 м, а к стойке прикреплены стеновые панели. Следовательно, наружная
растянутая кромка рамы закреплена по внешнему контуру. Так как m=lox/bп-1=9,483/1,5-1=5,322>4,
bп=1,5
< lm/5=9,483/5=1,897, то
kg,m=kg,n=1, m2/(m2+1)=1. Md=M1-1/km,c
Таким образом, формула примет вид:
Λy=lm/0,29b=9,483/(0,29∙0,205)=159,512>70
Kcy=3000/λ2y=3000/159,5122=0,118
,c=0,75+0,06(lm/h)2=0,75+0,06(9,483/1,2)2=4,497,m=0,142(lm/h)+1,76(h/lm)2=0,142(9,483/1,2)+1,76(1,2/9,483)=1,345
Устойчивость плоской формы
деформирования рамы обеспечена.
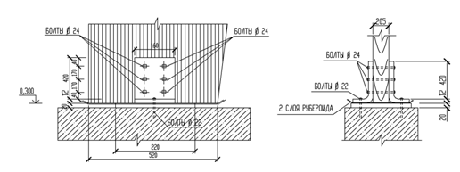
.7 Расчёт опорного узла
Рис. 7. Опорный узел
Условие прочности на скалывание:
Расчётное сопротивление клеёной
древесины на скалывание -
.
, прочность обеспечена.
Принимаем диаметр болтов
.
Расчетную несущую способность одного среза болта
в двухсрезном соединении с обоими внешними элементами из стали следует
принимать равной меньшему значению из полученных по формулам:
Коэффициент
, учитывающий
угол между усилием и направлением волокон древесины, следует принимать по
таблице 9.3. СНБ 5.05.01-2000.
При
и
,
, kнаг=ka∙kx∙kmod∙kt = 0,5∙1∙0,85∙1
= 0,425;
Для стальных болтов диаметром от 8
до 24 мм включительно расчетное значение сопротивления изгибу болта принимается
, а значения
коэффициента
;
- расчетное сопротивление смятию
древесины.
Тогда несущая способность болта на
изгиб будет
Тогда количество двухсрезных болтов
в опорном узле для передачи распора рамы
составит -
, принимаем 6 болтов диаметром d=24 мм.
Длина опорной пластины фундамента:
,
принимаем
.
Требуемое сечение анкерных болтов из
стали ВСт3кп2 (
) определяем
из условия их прочности. Анкерные болты, в случае передачи распора на болты
накладок, рассчитываются только на срезывающее усилие.
рама настил конструкция
каркас
- суммарная площадь поперечного
сечения анкеров;
;
;
, так как в анкерах отсутствуют
растягивающие напряжения;
- коэффициент, определяемый при
анкерных стержнях диаметром
, для бетона классов
(
)по
формуле:
, где
- коэффициент, равный 1 для
тяжёлых бетонов;
(диаметр
).
.
Тогда
.
Принимаем два анкерных болта
диаметром d=22 мм, при этом
.
5.8 Конструирование конькового узла
рамы с клееной подкладкой

На подкладку действует наибольшая
поперечная сила
от
односторонней снеговой нагрузки-
.
Эта поперечная сила при
и
вызывает в
болтах растяжение силами:
;
.
Требуемая площадь сечения нетто
болтов класса
(
, табл. 58
СНиП II-23-81*):
.
В соответствии с этими данными
принимаем болты диаметром
, у которых
(табл. 62
СНиП II-23-81*).
Диаметр стяжных болтов должен быть
не менее 12 мм. Шайбы должны иметь размер сторон не менее 3,5dб и толщину
не менее 0,25dб.
(табл. 6.5 СНБ 5.05.01-2000)
,5dб=70 мм.
Принимаем размер квадратной шайбы 100 мм. Aш=10000мм2.
σcm=N1/Aш=30,408∙103/10000=3,041
МПа<fcм90d∙kmod∙kσ=4∙0,85∙1=3,4
МПа.
Изгибающий момент в шайбе -
.
Требуемая толщина шайбы из стали
ВСт3кп2 (
)
составляет:
.
Принимаем
Список использованной литературы
1. ТКП
45-5.05-146-2009. Деревянные конструкции. Нормы проектирования. Министерство
архитектуры и строительства Республики Беларусь Минск 2001.
. Ребеко В.Я. Проектирование трёхшарнирных рам из
клеёной древесины. Часть I.
Основы конструирования и расчета рам. - Γοмель: БелИИЖТ, 1985 - 33
с.
Методические
указания для студентов специальности «Промышленное и гражданское
строительство».
. Ребеко В.Я. Проектирование трёхшарнирных рам из
клеёной древесины. Часть II.
Примеры расчета. - Γοмель: БелИИЖТ, 1984 - 45
с.
Методические
указания для студентов специальности «Промышленное и гражданское
строительство».
. СНиП
2.01.07-85). Нагрузки и воздействия. Нормы проектирования. - М., 1986.
. СНиП
II.23-81*. Стальные
конструкции. Нормы проектирования. - М., 1982.
. СНиП
II.3-79. Строительная
теплотехника. Нормы проектирования. - М., 1982.
. СНиП
2.01.01-82*. Строительная климатология и геофизика. Нормы проектирования. - М.,
1983.
. СНБ
5.03.01-02. Бетонные и железобетонные конструкции. Нормы проектирования.
Министерство архитектуры и строительства Республики Беларусь Минск 2003.
9. Ребеко В.Я.
Проектирование кровельных настилов с применением деревянных конструкций. Учебно-методическое
пособие для студентов специальности "Промышленное и гражданское
строительство". - Γοмель: БелГУТ, 2004 - 97 с.