Проект газопровода высокого давления от ГРС с. Яренск до ГРП №1

  • Вид работы:
    Дипломная (ВКР)
  • Предмет:
    Строительство
  • Язык:
    Русский
    ,
    Формат файла:
    MS Word
    2,06 Мб
  • Опубликовано:
    2012-08-30
Вы можете узнать стоимость помощи в написании студенческой работы.
Помощь в написании работы, которую точно примут!

Проект газопровода высокого давления от ГРС с. Яренск до ГРП №1

ВВЕДЕНИЕ

газификация область газопровод давление экологический

Решение проблемы надежного обеспечения области топливом возможно лишь с переводом потребителей на газовое топливо.

Ограниченность финансовых возможностей областного бюджета и бюджета предприятий приводит к постоянному дефициту топлива, что приводит к напряженному и неустойчивому энерго- и теплоснабжению потребителей, особенно в жилищно-коммунальном секторе. Это происходит в связи с постоянным ростом цен и тарифов на железнодорожные перевозки.

В 2003 году разработана областная целевая программа «Газификации Архангельской области». Газификация охватывает большой круг инвестиционных проектов - строительство магистрального газопровода-отвода, газопроводов-отводов к промышленным предприятиям, объектам жилищно-коммунального хозяйства, реконструкцию топливно-энергетических объектов, газификацию населенных пунктов. Сметная стоимость программы составляет 16320 млн. рулей. К финансированию и реализации программы привлекаются большое число участников - федеральные органы власти, администрация области, муниципальных образований, промышленные предприятия и предприятия военно-промышленного комплекса, ОАО «Газпром», ОАО «НОВАТЭК», ОАО «Севергаз». Координация деятельности участников финансирования строительства всей системы газоснабжения области возможна лишь на основе программных методов управления.

Целью программы газификации области является перевод промышленных предприятий, объектов жилищно-коммунального хозяйства, электро- и теплоснабжения с угля и мазута на природный газ.

Основная задача программы - создание механизмов финансирования и координация работ по строительству системы газоснабжения, реализация программы позволит:

повысить экономическую эффективность работы предприятий области.

экономия затрат на топливно-энергетические ресурсы оценивается в 3,5 млрд. рублей в год;

сократить расходы федерального и областного бюджетов, связанных с энерго- и теплоснабжением;

снизить себестоимость производства электроэнергии и тепла, создать условия для снижения на них тарифов;

сократить выбросы в атмосферу, в окружающую среду и водные бассейны вредных веществ, оздоровить экологическую обстановку в северных регионах Европейской части России;

обеспечить население более эффективным и экологически чистым видом топлива. Программа предусматривает обеспечить природным газом 36,3 тыс. квартир, квартир, в том числе в городах и поселках городского типа 15, 9 тыс. квартир, в сельской местности 20,4 тыс. квартир;

создать новые рабочие места в строительстве и эксплуатации газопроводов и объектов газоснабжения;

повысить жизненный уровень населения, улучшить социально-политическую атмосферу в области. Основные мероприятия программы осуществляются в течение 2004-2008 годов.

1. ОБЩИЕ СВЕДЕНЬЯ О РАЙОНЕ СТРОИТЕЛЬСТВА

.1 Существующее положение

Село Яренск расположено в восточной части Ленского районе Архангельской области, в междуречье р. Кижмола и ее притока ручья Кишерка.

Климатические условия

Район проектируемых трасс газопроводов относится к IB климатическому подрайону и отличается холодной зимой, умеренно-теплым летом и довольно значительным количеством осадков.

Зимой преобладают ветры южного направления. Средняя температура января - минус 28°С. Абсолютный минимум температуры воздуха может достигать минус 47°С. Осадков выпадает 172 за месяц. Продолжительность залегания снежного покрова составляет, в среднем, 160 дней в году. Наибольшая из средних толщин снежного покрова на открытом месте составляет 50-60 см.

Весной переход средних суточных температур к положительным значениям, наблюдается в начале апреля. Среднемесячное количество осадков составляет 37-50 мм. Снежный покров сходит в конце апреля. Средняя суточная температура наиболее теплого месяца +17 °С. Количество осадков с апреля по октябрь составляет 404 мм.

Осень теплее весны. Переход средней суточной температуры к отрицательным значениям наблюдается в конце сентября. Снежный покров устанавливается в середине ноября. среднемесячное количество осадков составляет 51-71 мм.

Климатические условия для строительства газопроводов согласно СНИП 23-01-99 «Строительная климатология» характеризуются следующими данными:

расчетная температура наружного воздуха наиболее холодной пятидневки нормативная глубина промерзания (для супесей, песков пылеватых и мелких) - 2,12 м.

продолжительность отопительного периода 247 суток.

расчетная снеговая нагрузка для V снегового района - 320 кг/м2.

нормативная ветровая нагрузка 23 кг/м2

1.2 Рельеф и грунты

Село Яренск расположено в восточной части Ленского района в междуречье р. Кижмола и ее притока ручья Кишерка в 3 км от р. Вычегда. Берега у реки Кижмола и ручья Кишерка обрывистые, круто поднимаются от уреза воды с перепадом отметок до 5-8 метров.

Территория площадки строительства газопровода характеризуется плоскоравнинным характером рельефа, с пересечением оврагами и ручьем Кишерка. Абсолютные отметки в пределах площадки изменяются от 73.00 до 85.30.

В геологическом строении района прохождения трасы принимают участие современные техногенные образования, представленные насыпными слежавшимися грунтами, преимущественно песками мелкими, с примесью гравия, верхнечетвертичными аллювиальными и среднечетвертичными ледниковыми отложениями, представленными суглинками, преимущественно тугопластичной и, реже мягкопласгичной консистенции.

Грунтовые воды по трассе газопровода на момент изысканий имеют практически повсеместное распространение и приурочены к пескам аллювиальных отложений, глу-ьина залегания грунтовых вод от поверхности различна и колеблется в пределах 0,3-4,1 метра, реже свыше 5 м.

Территория строительства газопроводов характеризуются плоскоравнинным характером рельефа. Абсолютные отметки в пределах строительства изменяются от 73,00 м до 85,30 м. Грунты по трассе газопроводов приурочены к пескам аллювиальных отложений, по ул. Октябрьская и пер. Лесной - торфяники.

Грунты по трассе газопроводов высокого, среднего и низкого давления по степени морозной пучинистости относятся к среднепучинистым.

Рисунок 1.1 - Схема газоснабжения Ленского района

Таблица 1.1- Характеристика природного газа

Наименование параметра

Параметр

1 Название вещества 1.1 Химическое 1.2 Торговое

Природный газ Природный горючий газ

 2 Формула  2.1 Эмпирическая  2.2 Структурная

СН4+следыС2Н6,С3Н8,СО2,N2  Н Н-С-Н (свыше 90%)  Н

3 Состав 3.1 Основной продукт: Метан(СН4) 3.2 Примеси (с индентификацией): Этан(С2Н6) Пропан(С3Н8) Изобутан(С4Н10) и-Бутан(С5Н12) и-Пентан(С6Н14) Азот(N2) Углекислый газ Кислород(О2)

97.57% 1.06% 0.37% 0.07% 0.07% 0.03% 0.78% 0.05% 0.00

4 Общие данные (по метану) 4.1 Молекулярный вес 4.2 Температура кипения,(при давлении 101кПа) 4.3 Плотность,при 20 °С

16.4 -164, °С 0.6877,кг/м³

5 Данные о взрывопожаро-опасности 5.1 Температура вспышки, °С 5.2 Температура самовоспламенения, 5.3 Пределы взрываемоссти в смеси с воздухом (по объему)

- 537(метан) °С 3.7-17.8(в смеси с воздухом)

6 Данные о токсичности опасности  6.1 Предельно допустимая концентрация(ПДК)в воздухе рабочей зоны. 6.2 ПДК(ОБУВ) в атмосферном воздухе населенных мест  6.3 Летальная токсодоза LCt50 6.4 Пороговая токсодоза PCt50

Относится к 4 классу опасности ПДК углеводородов природного газа в воздухе рабочей зоны 300мг/м³, в пересчете на углерод 50мг/м³(ОБУВ, максимальная разовая) Не регламентируется Не регламентируется

7 Реакционная способность

В химические реакции в рабочих условиях не вступает. Рассеивается в воздухе.

8 Запах

Без запаха, если не применен одорант

9 Корозийное действие

Коррозионная активность низкая

10 Удельная теплота сгорания

8300 ккал/кг


Характеристика газа принята по данным Нюксенского ЛПУМ ООО «Севергазпром»

2. ПРОЕКТНЫЕ РЕШЕНИЯ

.1 Свойства газа

Так как природный газ - это смесь однородных газов, то для дальнейших расчётов необходимо определить среднюю молекулярную массу смеси, среднюю плотность, среднюю газовую постоянную, коэффициенты кинематической и динамической вязкости. Для состава газа, выраженного в объёмных процентах, средняя молекулярная масса

, (2.1)

где Мсм - средняя молекулярная масса природного газа;

 - процентное содержание компонента смеси, %;

 - молекулярная масса компонента;- число компонентов в смеси.

Мсм=(97,57×(12,011+4×1,008)+1,06×(2×12,011+6×1,008)+0,37(3×12,011+8×1,008)+ 0,07× (4×12,011 + 10×1,008) +0,07× (4×12,011 + 10×1,008) + 0,01× (5×12,011 + 12×1,008) + 0,02× (5×12,011 + 12×1,008) + 0,78×2×14 + 0,05× (12,011 + 2×15,999)) / 100 = 16,478г/моль

Средняя плотность смеси при нормальных условиях определяется как отношение средней молекулярной массы к среднему молекулярному объёму;

; (2.2)

где Мсм - обозначение то же, что и формуле 1.1;

ρсм - средняя плотность смеси, кг/м3;м.см. - средний молекулярный объём. Для приближенных расчётов средний молекулярный объём углеводородных газов и их смесей может приниматься равным 22,41 м3/кмоль.

 кг/м3

Средняя относительная плотность смеси по воздуху

; (2.3)

где Мсм - обозначение то же, что и формуле 1.1;см - средняя относительная плотность смеси по воздуху;

ρвоз - плотность воздуха, кг / м3, ρвоз = 1,293 кг / м3.

.

Газовая постоянная смеси углеводородов при задании состава объёмными долями определяется по формуле;

; (2.4)

где Мсм - обозначение то же, что и формуле 1.1;см - газовая постоянная смеси углеводородов, Дж / (кмоль×К).

 Дж / (кмоль×К).

Коэффициент динамической вязкости смеси

; (2.5)

где  - процентное содержание компонента смеси при задании состава объёмными долями, %;

- коэффициент динамической вязкости компонента смеси, Па×с.

 = (97,57×102,99×10-7 + 1,06×84,57×10-7 + 0,37×73,58×10-7 + 0,07×69,06×10-7 + +0,07×69,06×10-7+0,01×61,99×10-7+0,02×61,99×10-7+0,78×168,08×10-7+0,05×138,1×10-7) /100= =103,149 ×10-7 Па×с.

Коэффициент кинематической вязкости смеси

; (2.6)

где  - коэффициент динамической вязкости смеси, м2/с;

 - обозначение то же, что и формуле 1.5;

 - обозначение то же, что и формуле 1.2.

 м2/с.

Критическая температура смеси

, (2.7)

где Xi - объемная доля компонента, доля единицы

 - критическая температура компонента, К

Критическое давление смеси:

, (2.8)

где Xi - объемная доля компонента, доля единицы

 - критическое давление компонента, МПа

Теплоемкость газовой смеси:

, (2.9)

где Xi - объемная доля компонента, доля единицы

 - теплоемкость компонента смеси, Дж/кг ∙ К

Результаты расчёта заносим таблицу 2.3

Таблица 2.1 - Физико-химические параметры природного газа

Физико-химический параметр природного газа

Значение

Средняя молекулярная масса

16,478

Средняя плотность, кг/м3

0,736

Средняя относительная плотность по воздуху

0,569

Газовая постоянная, Дж / (кмоль×К),

503,478

Коэффициент динамической вязкости, Па×с

103,149 ∙10-7

Коэффициент кинематической вязкости, м2/с

1,4×10-5

Критическая температура смеси, К

192,874

Критическое давление смеси, МПа

4,565

Теплоемкость газовой смеси, Дж/кг×К

2214,083

2.2 Расчёт диаметра газопровода и допустимых потерь давления

При проектировании трубопроводов для транспорта газа выбор параметров труб осуществляется на основании гидравлического расчёта, который производится для определения внутреннего диаметра трубы с целью пропуска необходимого количества газа при допустимых для конкретных условий потерях давления

Пропускная способность газопроводов может приниматься из условий создания при максимально допустимых потерях давления газа наиболее экономичной и надежной в эксплуатации системы, обеспечивающей устойчивость работы газорегуляторных пунктов (ГРП) и газорегуляторных установок (ГРУ), а также работы горелок потребителей в допустимых диапазонах давления газа.

Расчетные внутренние диаметры газопроводов определяются исходя из условия обеспечения бесперебойного газоснабжения всех потребителей в часы максимального потребления газа.

Расчет газопровода в данном проекте заключается в расчете двух участков трубы протяженностью 600 м. Расход газа для участков различен и составляет 24931,5 м3/ч на первом участке и 24810,9 м3/ч на втором. Расчетная схема представлена на рисунке 1.

При выполнении гидравлического расчета газопроводов расчетный внутренний диаметр газопровода следует предварительно определять по формуле:

, (2.10)

где dp - расчетный диаметр, см;

А, В, m, m1 - коэффициенты, определяемые по таблицам 1.2 и 1.3 в зависимости от категории сети (по давлению) и материала газопровода;- расчетный расход газа, м3/ч, при нормальных условиях;

r0 - плотность газа при нормальных условиях, кг/м3;

DРуд - удельные потери давления (Па/м - для сетей низкого давления, МПа/м - для сетей среднего и высокого давления), определяемые по формуле.

Таблица 2.2 - Значение коэффициента А в зависимости от категории сети (по давлению)

Категория сети

А

Сети низкого давления

106 / (162 p2) = 626

Сети среднего и высокого давления

А =P0/ (Pm·162·π2) где P0 = 0,101325МПа, Pm - усредненное давление газа (абсолютное) в сети.


) Произведем расчет для первого участка газопровода длиной 600 м:

Среднее (усредненное) давление газа в сети определяем по формуле:

, (2.11)

где Pн - давление газа в начале трубопровода; Pн=0,6 МПак - давление газа в конце участка трубопровода. Принимаем Pк=0,58 МПа

 МПа

Определим значение коэффициента А:

;

Таблица 2.3 - Значение коэффициента В в зависимости от материала газопровода

Материал

В

m

m1

Сталь

0,022

2

5

Полиэтилен

, v - кинематическая вязкость газа при нормальных условиях, м2/с.

1,75

4,75


По представленным таблицам определили В=0,022; m = 2; m1 = 5.

Удельные потери давления определяются по формуле:

, (2.12)

где DРдоп - допустимые потери давления (Па - для сетей низкого давления, МПа/м - для сетей среднего и высокого давления); DРдоп=0,05 МПа (для стали)- расстояние до самой удаленной точки, м.

 =  = 1,193∙10-5 МПа.

Тогда расчетный внутренний диаметр газопровода:

см.

Внутренний диаметр газопровода принимается из стандартного ряда внутренних диаметров трубопроводов: ближайший больший - для стальных газопроводов.

Принимаем наружный диаметр трубопровода =219мм. Толщину стенки принимаем равной 6мм.

Тогда внутренний диаметр газопровода будет равен:в1=219-2·6=207мм,

Результаты расчёта диаметров газопровода по участкам оформим в табличном виде (см. таблицу 2.4).

Таблица 2.4 - Результаты расчета для первого участка газопровода

Участок газопровода

Часовой расход, м3/ч

Длина участка, м

Расчетный диаметр, мм

Диаметр по ГОСТ 10704-91, мм

1

4270

3,81

196,5

219


Т.к. расчётный диаметр отличается от принятого диаметра, поэтому делаем проверку по допустимому падению давления.

Падение давления на участке газовой сети можно определять:

для сетей среднего и высокого давлений по формуле

, (2.13)

где Рн - абсолютное давление в начале рассматриваемого участка газопровода, МПа;

Рк - абсолютное давление в конце рассматриваемого участка газопровода, МПа;

Р0 - атмосферное давление, МПа, Р0 = 0,101325 МПа;

l - коэффициент гидравлического трения;- расчетная длина газопровода постоянного диаметра, м; - внутренний диаметр газопровода, см;

r0 - плотность газа при нормальных условиях, кг/м3;- расход газа при нормальных условиях, м3/ч..

Коэффициент гидравлического трения l определяется в зависимости от режима движения газа по газопроводу, характеризуемого числом Рейнольдса,

, (2.14)

где v - коэффициент кинематической вязкости газа, м2/с, при нормальных условиях;- обозначение то же, что и в формуле (2.13); - обозначение то же, что и в формуле (2.13);- число Рейнольдса.

Гидравлическая гладкость внутренней стенки газопровода, определяемой по условию:

, (2.15)

где Re - обозначение то же, что и в формуле (1.14);- эквивалентная абсолютная шероховатость внутренней поверхности стенки трубы, см, принимаемая равной для новых стальных 0,01 см, для бывших в эксплуатации стальных 0,1 см, для полиэтиленовых независимо от времени эксплуатации - 0,0007 см, n = 0,01;- обозначение то же, что и в формуле (2.13).

Для данных участков газопровода будут использоваться новые стальные трубы:


Условие выполняется. Значит, труба на участке относится к гидравлически гладким.

В зависимости от значения числа Рейнольдса коэффициент гидравлического трения определяется:

для ламинарного режима движения газа Re £ 2000

, (2.16)

- для критического режима движения газа Re = 2000-4000

, (2.17)

при Re > 4000 - в зависимости от выполнения условия (2.16);

для гидравлически гладкой стенки (неравенство (2.16) справедливо);

при 4000 < Re < 100 000 по формуле:

, (2.18)

при Re > 100 000

, (2.19)

Находим число Рейнольдса:

;

Тогда коэффициенты гидравлического трения для участков будут соответственно равны:

;

Для определения давления в конце каждого участка газопровода выразим из формулы 1.13 конечное давление:

Давление в конце участка газопровода:

= 0.59МПа

Рассчитав потери давления в газопроводе, можно уточнить диаметры труб по приведенным ранее формулам.

) Произведем расчет для первого участка газопровода длиной 600 м:

Определяем среднее (усредненное) давление газа в сети:

 МПа

Определим значение коэффициента А:

;

Тогда расчетный внутренний диаметр газопровода:

см.

Таблица 2.5 - Результаты расчета после уточнения давления

Участок газопровода

Часовой расход, м3/ч

Длина участка, м

Расчетный диаметр, мм

Диаметр по ГОСТ 10704-91, мм

1

4270

3810

19,24

219 (стенка 6мм)


Таким образом, первоначально выбранный диаметр для участка газопровода останется неизменным.

Результаты расчета внутреннего диаметра участка газопровода и конечного давления на участке газопровода представлены в табличном виде, смотри таблицу 2.6.

Таблица 2.6 - Результаты расчета диаметров и падения давления на участках газопровода

Участок газопровода

Длина, м

Часовой расход газа, м3/час

Давление в начале участка, МПа

Давление в конце участка, МПа

Диаметр внешний, мм

1

3810

4270

0,6

0,59

219


2.3 Определение толщины стенок труб

Определим расчетное сопротивление металла труб:

Для газопровода выбираем трубы из нормализованной низколегированной листовой стали марки 17Г1С, ТУ 14-3-272-73.

Основные нормативные характеристики металла:

- предел прочности ssв=588,7 МПа

пределом текучести ssт=412 МПа.

Расчетные толщины стенок труб, отводов, переходов, днищ и основной трубы тройников определяются по формуле

, (2.20)

где n p -коэффициент надежности по нагрузке от внутреннего давления nр=1,1;

р - рабочее давление, МПа;н - наружный диаметр трубопровода, см;- расчетное сопротивление растяжению металла труб, МПа.

Значения расчетного сопротивления R определяются по формуле:

 (2.21)

Нормативные сопротивления Run и Ryn принимаются равными минимальным значениям соответственно временного сопротивления и предела текучести материала труб и соединительных деталей по государственным стандартам и техническим условиям на трубы и соединительные детали.

Таким образом,

МПа

Тогда толщина стенки газопровода (см) на участке будет равна:

Для обеспечения дополнительного запаса прочности и надежности газопровода номинальная толщина стенки будет значительно превышать расчетную. Оставляем толщину стенки без изменений. t=6мм

2.4 Проверка прочности подземных газопроводов

Проверка прочности подземного газопровода состоит в соблюдении следующих условий:

при совместном действии всех нагрузок силового и деформационного нагружений:

; (2.22)

; (2.23)

при совместном действии всех нагрузок силового и деформационного нагружений и сейсмических воздействий:

; (2.24)

, (2.25)

где  - расчетное сопротивление металла труб 1.21

При отсутствии 100 %-ного контроля сварных швов газопроводов правые части условий (1.22-1.25) должны приниматься с понижающим коэффициентом 0,85.

Значения sпрNS и sпрS определяются по формулам (1.26) и (1.27):

,МПа (2.26)

МПа, (2.27)

где sоу - дополнительное напряжение в газопроводе, обусловленное прокладкой его в особых условиях;

sс - дополнительные напряжения в газопроводе, обусловленные прокладкой его в сейсмических районах;

р - рабочее давление, МПа;

Е - модуль упругости материала труб. Принимается равным: Е = 206000 МПа;

a - коэффициент линейного теплового расширения материала труб принимается равным: a= 1,2 · 10-5, °С-1;

- температурный перепад, оС;

- внешний диаметр, см;

m - коэффициент Пуассона материала труб принимается равным: m = 0,3;

r - плотность материала труб принимается равной: r = 7850 кг/м3.

Абсолютное значение максимального положительного Dt(+) или отрицательного Dt(-) температурного перепада, при котором толщина стенки определяется только из условия восприятия внутреннего давления по формуле (2.20), определяются для рассматриваемого частного случая соответственно по формулам:

; (2.28)

, (2.29)

где R1 - расчетное сопротивление металла труб

, (2.30)

где m - коэффициент условий работы трубопровода;- коэффициент надежности по материалу; н - коэффициент надежности по назначению трубопровода;н - нормативное сопротивление металла труб, численно равное минимальному значению временного сопротивления разрыву, R1н =МПа. =0,9 [1, табл. 1];

к1=1,47 [1, табл. 9];

кн=1,00;

 

m - коэффициент Пуассона материала труб принимается равным: m = 0,3.

Е = 206000 МПа;

a - коэффициент линейного расширения металла трубы, град-1; a= 1,2 · 10-5, °С-1.

Тогда:

°С;

°С.

Для дальнейшего расчета принимаем больший из перепадов .

Проверка прочности участков газопровода будем проверять при совместном действии всех нагрузок силового и деформационного нагружений без учета сейсмических воздействий.

Проверка прочности подземного газопровода на первом участке:

Условие выполняется

 Условие выполняется

Так как оба условия выполняются, то прочность газопровода на участке обеспечена.

2.5 Нагрузки и воздействия, действующие на газопровод

Нагрузки и воздействия, действующие на газопровод делятся на:

силовые нагружения - внутреннее давление газа, вес газопровода, обустройств и транспортируемого газа, давление грунта, гидростатическое давление и выталкивающая сила воды, снеговая, гололедная и ветровая нагрузки, нагрузки, возникающие при укладке и испытании;

деформационные нагружения - температурные воздействия, воздействия предварительного напряжения (упругий изгиб, растяжка компенсаторов и т.д.), воздействия неравномерных деформаций грунта (просадки, пучения, деформации земной поверхности в районах горных выработок и т.д.);

сейсмические воздействия.

Определяем собственный вес единицы длины газопровода формуле (2.31)

, (2.31)

где nсв - коэффициент надежности по нагрузке от действия собственного веса трубопровода, nсв = 0,95;

γм - удельный вес металла трубы, для стали, γм= 78500 Н/м3,- площадь сечения металла трубы.

 (2.32)

;

;

Определим расчетную нагрузку от собственного веса трубопровода

; (2.33)

;

Определяем вес транспортируемого газа в единице длины газопровода по формуле (2.34)

 (2.34)

3. ПОДЗЕМНЫЙ ПЕРЕХОД ГАЗОПРОВОДА ПОД ДОРОГОЙ

.1 Конструкции переходов

На первом участке газопровода предусматривается строительство перехода через автомобильную дорогу.

Автодороги делятся на 5 категорий: I и II категории- дороги общегосударственного значения, III категория - дороги республиканского и областного значений, IV и V категории - дороги местного значения. Интенсивность движения (число автомобилей в сутки) составляет: на дорогах I категории - свыше 6000, на дорогах II категории - от 3000 до 6000, на дорогах III категории - от 1000 до 3000, IV категории - от 200 до 1000 и V категории до 200.

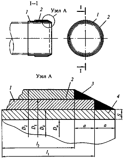
Конструктивная схема перехода изображена на рисунке 3.1. Трубопровод 1 располагается в металлическом футляре 2 (кожухе). Основную трубу и кожух покрывают антикоррозийной изоляцией. На переходах газопроводов концы кожухов уплотняются таким образом, чтобы была обеспечена герметичность пространства между газопроводом и кожухом. Однако уплотнение должно обеспечивать возможность продольных перемещений внутренней трубы по отношению к кожуху. Эта цель достигается применением различного рода сальников 3. Для того чтобы в межтрубном пространстве не поднималось давление в случае утечек газа, на одном из концов кожуха вваривают в стенку кожуха трубу 4, которая выводится над поверхностью земли на высоту свечи (hCB) >5м.

Рисунок 3.1 - Схема перехода через железную и автомобильную дорогу

Переход под автомобильной дорогой рисунок 3.1 имеет аналогичное переходу под железной дорогой конструктивное оформление, но здесь должны учитываться следующие особенности. Кожух применяется только на автодорогах I, II, III и IV категорий. Для газопроводов кожух должен иметь длину L=2l1+l3, где l1≥10 м. Расстояние l3 принимают равным 25 м.

Участки газопроводов, прокладываемых на переходах через железные и автомобильные дороги всех категорий с усовершенствованным покрытием капитального и облегченного типов, должны предусматриваться в защитном футляре (кожухе) из стальных труб или в тоннеле, диаметр которых определяется из условия производства работ и конструкции переходов и должен быть больше наружного диаметра трубопровода не менее чем на 200 мм.

Угол пересечения трубопровода с железными и автомобильными дорогами должен быть, как правило, равен 90 °. Прокладка трубопровода через тело насыпи не допускается.

На одном из концов футляра или тоннеля следует предусматривать вытяжную свечу на расстоянии по горизонтали, м, не менее:

oт оси крайнего пути железных дорог общего пользования 40 м;

то же, промышленных дорог 25 м;

от подошвы земляного полотна автомобильных дорог 25 м.

3.2 Способы прокладки футляра методом продавливания и горизонтального бурения

При прокладке защитного футляра методом продавливания к его переднему концу приваривают кольцевой нож для уменьшения лобового сопротивления вдавливанию футляра в грунт (рисунок 3.2). Скосы режущих кромок ножей выполняют под углом 15-22°, при этом они могут быть изготовлены с наклоном внутрь или наружу.

Наиболее часто применяют расширительные ножи серпообразного или кольцевого сечения. Ножи серпообразного сечения позволяют создавать серпообразный зазор в верхней части горизонтальной скважины на 0,60-0,75 длины ее окружности, что способствует сохранению направления проходки.

Рисунок 3.2 - Устройство кольцевого ножа на конце футляра: 1 - внутреннее кольцо; 2 - наружное кольцо; 3 - наплавка; 4 - прокладываемый футляр

Для уменьшения сил трения, возникающих между стенкой защитного футляра и грунта, необходимо обеспечить зазор между футляром и скважиной. Для формирования такого зазора наружный диаметр кольцевых ножей Dk принимают на 30-60 мм больше наружного диаметра прокладываемого защитного футляра.

При продавливании особо уделяется внимание прочности задней (упорной) стенки, воспринимающей упорные реакции усилий подачи, развиваемых гидродомкратной установкой.

По окончании отрывки рабочего котлована и крепления стенок дно котлована выравнивают и размещают направляющие конструкции, агрегаты и узлы установки продавливания футляра. При монтаже направляющих конструкций в рабочем котловане особое внимание обращают на правильное их размещение в горизонтальной и вертикальной плоскостях, так как это обеспечивает сохранение заданного направления прокладки и минимальное отклонение фактического положения оси защитного футляра от проектного. Для сохранения направления прокладки применяют вертикальные и горизонтальные рамы.

На рисунке 3.3 показана схема установки с гидродомкратами, предусматривающая ручную разработку грунта и транспортировку его из забоя по полости защитного футляра.

Процесс продавливания футляра включает следующие операции:

укладка первого звена футляра длиной 3-6 м с лобовой обделкой (ножом);

установка нажимной заглушки на торец звена;

поэтапное задавливание звена в грунт гидродомкратами;

разработка грунта в футляре и его транспортировка (вручную или механизировано);

подъем грунта краном из котлована и укладка в отвал.

После выбора хода штока гидродомкрата между нажимной заглушкой и домкратом вставляют нажимные патрубки.

Продвижение защитного футляра и смену нажимных патрубков осуществляют до тех пор, пока первое звено футляра не будет полностью вдавлено в грунт под насыпью. После этого штоки гидродомкратов отводят назад вместе с заглушкой, одновременно удаляют и нажимные патрубки.

На освободившееся от патрубков место укладывают второе звено, которое центрируют и присоединяют к первому звену защитного футляра сваркой.

Для производства сварочных работ в котловане сооружается приямок, в котором размещаются сварщики. Если в приямке накапливается вода, то ее время от времени удаляют насосом.

В наборе технологического оборудования необходимо иметь круг-заслонку, которая устанавливается в футляре и перекрывает его полость в случае опасности утечки обводненных грунтов дорожной насыпи через футляр.

Рисунок 3.3 - Схема установки с гидродомкратами: 1 - насосная станция; 2 - газопровод; 3 - рабочий котлован; 4 - водоотводной лоток; 5 - защитный футляр; 6 - лобовая обделка (нож); 7 - приемный котлован; 8 - приямок для сварки защитного футляра; 9 - направляющая рама; 10 - нажимной патрубок; 11 - нажимная заглушка; 12 - гидродомкраты; 13 - башмак; 14 - упорная стенка

В принятой последовательности все операции повторяют до тех пор, пока лобовой конец первого звена не войдет в приемный котлован. При необходимости защитный футляр наращивают до проектной длины со стороны приемного котлована либо с обеих сторон дороги.

В настоящее время одним из основных способов сооружения переходов является способ горизонтального бурения, наиболее эффективный при прокладке кожухов большого диаметра. При малых диаметрах груб (до 700 мм) могут использоваться способы прокладывания и продавливания. Охарактеризуем некоторые способы прокладки кожуха.

Способ горизонтального бурения позволяет прокладывать кожух сразу на полную длину рисунок 3.3. В створе перехода отрывают рабочий котлован 2, в котором размещают прокладываемый кожух 9. Кожух укладывают на ролики точно по оси перехода, как в вертикальной, так и в горизонтальной плоскостях. Рабочий котлован имеет форму траншеи, длина которой на 10м больше длины кожуха, а ширина понизу на 1 м больше диаметра кожуха и поверху на 1,5 м больше ширины силовой установки 6, закрепленной на трубе-кожухе и перемещающейся вместе с ним по мере его внедрения в грунт.

Внутрь кожуха помещают буровой инструмент 1 и шнековый транспортер 7. Буровой инструмент режет грунт впереди трубы, при этом скважина получается несколько больше, чем диаметр кожуха. Грунт, поступающий в кожух, перемещается по кожуху шнековым транспортером 7, который одновременно приводит во вращение и режущую головку бурового инструмента 1. Сам транспортер вращается силовой установкой 6. Установка 6 крепится к трубе с помощью сцепного устройства и удерживается в необходимом положении трубоукладчиком 5. Подача кожуха вперед осуществляется с помощью лебедки, совмещенной с силовой установкой, усилие от которой передается через тросы 4 на опору 3. Опора представляет собой одну-две трубы диаметром 400-500 мм, помещенных в специально отрытую траншею длиной до 10 м.

Разрабатываемый грунт 10 из трубы высыпается в рабочий котлован. Отмечу здесь, что в настоящее время используются установки, позволяющие прокладывать трубы (кожухи) диаметрами 1220 и 1420 мм с регулируемой скоростью проходки от 0,3 до 10 м/ч при осевом усилии без полиспаста до 80 кН. С полиспастом осевое усилие может достигать 800 кН.

После укладки кожуха в него протаскивают заранее подготовленный рабочий трубопровод. Подготовка включает проверку качества всех сварных стыков методами физического контроля, гидравлическое испытание в соответствии с требованиями СНиПов, изоляцию и футеровку. На газопроводе закрепляют роликовые или иные предусмотренные проектом опорные устройства. Эти устройства облегчают процесс протаскивания газопровода в кожух и фиксируют его положение таким образом, чтобы исключался электрический контакт между кожухом и газопроводом.

После протаскивания устананливают сальники, вытяжные свечи, оборудуют приемные колодцы, отводящие канавы, полностью восстанавливают начальное состояние придорожных сооружений, а также ландшафт местности. На последнее должно обращаться особое внимание, так как невосстановленный рельеф начинает интенсивно деформироваться под влиянием дождей, ветра и других климатических факторов.

Рисунок 3.4 - Способ горизонтального бурения

3.3 Расчет толщины стенки футляра

Прокладка участков переходов трубопроводов через железные и автомобильные дороги (за исключением V категории) предусматривается в защитном футляре (кожухе), который является основной деталью перехода и предназначен для предохранения укладываемого через него трубопровода от воздействия нагрузок, агрессивных грунтовых вод и блуждающих токов, а при авариях трубопровода - для предохранения полотна дороги от разрушения.

На футляр действуют внешние нагрузки - вертикальное и боковое давление грунта (qгр.в. и qгр.б.) и давление от веса подвижного транспорта qп. (см. 3.5).

Рисунок 3.5 - Схема к расчету футляра на прочность

Исходные данные:

=720мм; H=2,7м; материал - сталь 14Г2САФ; R2=2600 кгс/см2. Грунт - глина; =1,6 тс/м3; =400; =0,8; k0=104 тс/м3. Полотно дороги - бетонное. =1/6; Eп=2*106 тс/м2; hп=0,35 м. Расчетный подвижной состав - автомобиль МАЗ - 530; нагрузка на переднюю ось Р1=7,8 тс, на промежуточную и заднюю Р2= Р3=15,6 тс

Решение:

Ориентировочное значение диаметра защитного футляра определяем по формуле (3.1)

; (3.1)

Тогда:


Так как диаметр кожуха должен быть больше наружного диаметра трубопровода не менее чем на 200мм.

Принимаем ,.

Рис. 3.6 - Схема перехода под железной и автомобильной дорогой

Ширина пролета естественного свода обрушения определяется по формуле:

, (3.2)

где Dф - наружный диаметр футляра;

- угол внутреннего трения грунта, коэффициент крепости породы

Высота грунта в пределах естественного свода обрушения, действующая на футляр:

, (3.3)

где - коэффициент крепости породы,

В - ширина пролета естественного свода обрушения

Как видно , следовательно, над футляром образуется свод естественного обрушения, и значения и  определяем по формулам:

Расчетная вертикальная нагрузка:

 (3.4)

где =1,2 - коэффициент перегрузки;

-объемный вес грунта в естественном состоянии;

Боковое давление:

; (3.5)

Момент инерции материала полотна дороги:

, где- ширина полотна дороги. =1м

- толщина покрытия дороги. =0,35м

м4

Цилиндрическая жесткость полотна дороги определяется по формуле:

, (3.6)

где - модуль упругости материала полотна дороги;

 - коэффициент Пуассона материала полотна дороги.

Находим коэффициент жесткости полотна дороги:

, (3.7)

где  - коэффициент постели грунта при сжатии

 1/м

Нагрузка от подвижного состава:

, (3.8) где А - коэффициент, зависящий от глубины заложения в грунт защитного футляра.

При глубине заложения футляра Н=2,7м отношение z:a=2.7:3,5=0.77. Тогда коэффициент А=0,27

=1,2 - коэффициент перегрузки.

- ширина полотна дороги. =1м

тс/м

. Расчетное поперечное сжимающее усилие в наиболее напряженном сечении футляра, отнесенное к единице длины футляра:

, (3.9)

где - радиус футляра

Расчетный изгибающий момент:

, (3.10)

где - коэффициент, учитывающий всестороннее сжатие футляра. =0,25

Толщина стенки футляра (кожуха) определяется по формулам:

, (3.11)

где R2 - расчетное сопротивление материала.

Окончательно принимаем толщину стенки =6мм

4. ОЦЕНКА ЭКОНОМИЧЕСКОЙ ЭФФЕКТИВНОСТИ

При проведении расчетов по оценке экономической эффективности организации строительства газопроводов была использована система оценочных показателей отражающих деятельность предприятия в условиях рыночной экономики. Данные показатели включают в себя:

капитальные вложения;

эксплуатационные расходы;

чистый доход;

чистый дисконтированный доход;

срок окупаемости;

индекс рентабельности инвестиций.

4.1 Капитальные вложения

Сметная документация составлена базисно-индексным методом в ценах и нормах введенных в действие с 01.01.2001 в соответствии с Методикой определения стоимости строительной продукции на территории Российской Федерации (МДС81-35.2004).

Для определения сметной стоимости приняты:

Территориальные сборники средних сметных цен на материалы, изделия и конструкции, утвержденные главой Администрации Архангельской области от 27 февраля 2004г. №42.

Сборники ТЕР на строительные и ремонтно-строительные работы, утвержденные главой Администрации Архангельской области от 27 февраля 2004г. №42.

Сборники ФЕР.

Накладные расходы приняты на основании МДС 81-34.2004г. по видам строительных и монтажных работ.

Сметная прибыль принята на основании МДС 81-25 и письма Федерального Агентства г. Москва от 18.11.2004г. № Ап-5536/06 по видам строительных и монтажных работ.

Индексы к СМР приняты 3,54 к ТЕР и 5,51 к ФЕР на основании письма Федерального Агентства по строительству и жилищно-коммунальному хозяйству г. Москва от 23 января 2007г. №СК-185/02.

Расчет произведен с учетом того, что длина участка газопровода равна 1210м.

Затраты на строительство приведены в таблице 4.1.

Таблица 4.1 - Капитальные затраты в тыс.руб.

Наименование объектов, работ и затрат

Сметная стоимость

Общая сметная стоимость


строительных работ

Монтажных работ

оборудования

прочих затрат


1

2

3

4

5

6

Подготовка территории строительства

Аренда земельного участка

-

-

-

27,00

27,00

Вырубка леса 46,638·3,54

165,1

-

-

-

165,1

Рекультивация огорода под временной дорогой 2,508·3,54

8,88

-

-

-

8,88

Основные объекты строительства

Сети газопроводов 818,33·3,54

2896,89




2896,89

Переход через дорогу общего назначения 216,01·3,54

764,68

-

-

-

764,68

Герметизация вводов 1,29·3,54

4,57

-

-

-

4,57

Установка ГРП в с..Яренск.(73,44-26,5) ·3,54

166,17

-

26,5

-

192,67

Оборудудование пожаротушения ГРП 1,23-0,48

0,75

-

0,48

-

1,23

Молниезащита 2,04 ·3,54 1,73 ·5,51·1,01

7,23

9,63

-

-

16,86

ГРП в с.Яренск

739,34




739,34

Свеча вытяжная 10,05·3,54

35,58


-

-

35,58

Временные здания и сооружения

Временные здания и сооружения 2,7%

129,31

0,26

-

-

129,57

Возврат материалов от временных зданий и сооружений 15%

19,3

0,04



19,34

Итого по главам:

4937,8

9,93

26,98

27,0

5001,71

Прочие работы и затраты

Дополнительный затраты при производстве работ в зимнее время 3,3·1,2=3,96%

195,54

0,39

-

-

195,93

Страховые взносы 3%

-

-

-

148,43

148,43

Затраты на снегоборье 0,3%

14,81

0,03

-

-

14,84

Средства на премирование за ввод в действие в срок объектов строительства 1,5%

-

-

-

77,22

77,22

Итого по главам

5148,15

10,35

26,98

252,65

5438,13

Содержание дирекции (технического надзора) строительства

Содержание дирекции 1,1%




84,41

84,41

Проектные и изыскательские работы, авторский надзор

Договор с заказчиком Расчет предельных выбросов Рабочий проект 413,49+4,98=418,4 Экологическая экспертиза Стоимость работ по экспертизе Авторский надзор 0,2%




252,18 428,43 5,97 70,5 23,91

252,18 428,43 5,97 70,5 23,91

Итого по главам

5148,15

10,35

26,98

1033,64

6219,12







Резерв на непредвиденные работы и затраты 2%

102,96

0,21

0,54

20,67

124,38







Всего по смете

5251,11

10,56

27,52

1054,31

6343,5







Налог на добавленную стоимость - 18%

945,2

1,9

4,95

189,78

1141,83

ВСЕГО ПО СВОДНОЙ СМЕТЕ C НДС

6196,31

12,46

32,47

1244,09

7485,33

4.2 Эксплуатационные затраты

Эксплуатационные затраты по предприятию складываются из затрат по оплате труда, на материалы и прочие затраты.

4.2.1 Затраты по оплате труда

Структура персонала представлена в таблице 4.2

Таблица 4.2- Структура персонала

Категория персонала

Доля в общей численности, %

Численность персонала, чел.

- рабочие

50

4

- руководители

12,5

1

- специалисты

25

2

- служащие

12,5

1

ВСЕГО

100

8


Для расчета фонда заработной платы (ФЗП) принимаем следующие показатели:

Согласно рекомендуемым текущим часовым тарифным ставкам, установленных для рабочих на ремонтно-строительных работах (Архстройцена №1 март 2007) ставка рабочих пятого разряда с учетом северной надбавки, районного коэффициента, премии равна 101,63 руб/ч;

надбавка за ночные - 40 %;

оклад руководителей - в размере 2-х заработных плат рабочих 5 разряда;

оклад специалистов - в размере 1,8 заработных плат рабочих 5 разряда;

оклад служащих - на уровне рабочего 5-го разряда.

Расчет затрат по оплате труда руководителей, специалистов, служащих и рабочих представлен в таблице 4.3.

Таблица 4.3 - Фонд заработной платы руководителей, специалистов, служащих и рабочих в рублях

Категория персонала

Численность

Заработная плата с учетом премии и надбавок, руб

Фонд заработной платы, руб./год

Руководители

1

45530,24

546362,88

Специалисты

2

40977,72

983465,28

Служащие

1

22765,12

273181,44

Рабочие

4

22765,12

1092725,76

Итого:



2895735,36


Прочие затраты в размере 20% от всех эксплуатационных.

Амортизация

Амортизационные отчисления производятся всеми предприятиями на основе норм  и полной стоимости основных фондов, на которые начисляется амортизация.

, (4.1)

где - стоимость трубопровода, тыс. руб.,

Составляет 7485,33тыс. рублей.

- норма амортизационных отчислений, %

, (4.2)

где - срок полезного использования - период между вводом в действие оборудования и его списанием, лет. При условии применения ЭХЗ принимаем =35 лет

Все эксплуатационные затраты сводим в таблицу 4.5

Расходы на социальные нужды рассчитывают от фонда оплаты труда по налоговым ставкам действительным в данное время.

единый социальный налог (ЕСН)- 26% от ФЗП;

страхование от несчастных случаев (СНС)- 0, 3% от ФЗП.

Таблица 4.4 - Эксплуатационные затраты

Эксплуатационные затраты

Руб.

- фонд заработной платы

2895735,36

- ЕСН

752891,19

- СНС

8687,21

- прочие

579147,07

- амортизация

213330

Итого:

4449790,83


4.3 Анализ инвестиционного проекта

Для анализа эффективности инвестиционного проекта все данные сведем в таблицу 4.6.

Тарифная выручка рассчитывается как [6]

, (4.3)

где-потребление газа, тонн,

- тариф за перекачку 1000м3 газа,  руб./тыс.м3;

Налогооблагаемая прибыль ()

, (4.4)

где - эксплуатационные затраты, принимаем по таблице 4.5

В данном расчете при определении налогооблагаемой прибыли не учитываем налоги, относимые на финансовый результат (налог на доход физических лиц).

Чистая прибыль:

, (4.5)

где - налог на прибыль.

Налог на прибыль составляет 24% от налогооблагаемой прибыли.

Чистая прибыль рассчитывается как разница между налогооблагаемой прибылью и суммой всех затрат: эксплуатационных, налога на прибыль, налога на имущество.

Чистые денежные поступления равны сумме чистой прибыли и амортизационных отчислений .

Анализ инвестиционного проекта представлен в таблице 4.5.

Таблица 4.5 - Анализ инвестиционного проекта в тыс. руб.

Показатель

Годы


2007

2008

2009

2010

2011

2012-2015

Объем реализации, м3

-

4483,5

4483,5

4483,5

4483,5

4483,5

Капитальные вложения

7485,33

7485,33

-

-

-

-

Тарифная выручка

-

17984,43

17984,43

17984,43

17984,43

17984,43

Эксплуатационные расходы

-

4449,79

4449,79

4449,79

4449,79

4449,79

Налогооблагаемая прибыль

-

13534,64

13534,64

13534,64

13534,64

13534,64

Налог на прибыль

-

3248,31

3248,31

3248,31

3248,31

3248,31

Чистая прибыль

-

10286,33

10286,33

10286,33

10286,33

10286,33

Чистые денежные поступления

-

10499,66

10499,66

10499,66

10499,66

10499,66


Эффективность инвестиций

Инвестиции это долгосрочные капиталовложения с целью получения и наращивания дохода. Методы оценки эффективности инвестиций основываются на способах определения целесообразности долгосрочных вложений капитала в объекты. Одним из таких методов является метод дисконтирования, то есть приведения разновременных доходов и расходов, осуществляемых в рамках инвестирования проекта к единому моменту времени.

Размер требуемых инвестиций составляет 7485,33 тыс. руб. В качестве источника финансирования проекта используется сумма чистой прибыли и амортизационных отчислений, которая составит в первый год эксплуатации 10499,66тыс. руб. в год.

В течение 2007 года реализации проекта осуществляется монтаж оборудования и наладка технологического процесса, с 2008 года начинается эксплуатация газопровода.

Для оценки эффективности инвестиций воспользуемся следующими показателями:

Денежный поток CF - движение (поток) денежных средств в определенный момент времени:

(4.6)

где  - результат за период t;

 - капитальные вложения за период t (инвестиции);- все текущие затраты в году t.

Кумулятивный денежный поток CCF - денежный поток нарастающим итогом. Рассчитывается как сумма денежного потока этого периода времени и денежного потока предыдущего периода времени.

Дисконтированный денежный поток DCF определяется по формуле:


где  - коэффициент дисконтирования по фактору времени,

Е - норма дисконта;

tp - номер временного шага.

Чистый приведенный доход NPV - определяется нарастающим итогом по каждому шагу расчета, как сумма дисконтированных денежных потоков.

В качестве временного шага принят 1 мес.

П=10499,66:12=874,97 тыс.руб.,

где П - источник финансирования проекта в расчете на 1 мес.

Тогда CCR=874,97-7485,33= - 6610,36 тыс.руб.

Внутренняя норма прибыли IRR была определена графическим методом (рисунок 3.1) и составила 2,2% в месяц.

Внутренняя норма прибыли - это максимальный процент, на который может рассчитывать инвестор, чтобы проект окупился за определенный срок, это такое значение Е, при котором величина NPV равна нулю. В данном случае IRR > Е - проект эффективный.

На основе полученных значений NPV построен финансовый профиль проекта (рисунок 4.2), который позволяет наглядно определить срок окупаемости проекта и максимальные денежные затраты МСЕ.

Рисунок 4.1 - Внутренняя норма прибыли

Таблица 4.6 - Эффективность инвестиций в тыс. руб.

Показатель

2007

2008


0

1

2

3

4

5

6

7

Инвестиции

-7485,33








Прибыль


874,97

874,97

874,97

874,97

874,97

874,97

874,97

Денежный поток CF

-7485,33

874,97

874,97

874,97

874,97

874,97

874,97

874,97

Кумулятивный денежный поток CCF

-7485,33

-6610,4

-5735,4

-4860,4

-3985,5

-3110,5

-2235,5

-1360,5

Коэффициент дисконтирования α при Е=5%


0,996

0,992

0,988

0,984

0,979

0,975

0,971

Дисконтированный денежный поток DCF

-7485,3

871,3

867,7

864,1

860,5

857,0

853,4

849,9

Чистый приведенный доход NPV при Е=5%

-7485,3

-6614,0

-5746,3

-4882,1

-4021,6

-3164,6

-2311,2

-1461,4

Коэффициент дисконтирования α при Е=10%


0,992

0,984

0,975

0,967

0,959

0,951

0,944

Дисконтированный денежный поток DCF

-7485,3

867,7

860,6

853,5

846,4

839,4

832,5

825,6

Чистый приведенный доход NPV при Е=10%

-7485,3

-6617,6

-5757,0

-4903,6

-4057,2

-3217,8

-2385,3

-1559,7

Коэффициент дисконтирования α при Е=15%


0,988

0,975

0,963

0,952

0,940

0,928

0,917

Дисконтированный денежный поток DCF

-7485,3

864,2

853,5

843,0

832,6

822,3

812,1

802,1

Чистый приведенный доход NPV при Е=15

-7485,3

-6621,2

-5767,7

-4924,7

-4092,1

-3269,9

-2457,7

-1655,6

 

Прибыль

874,97

874,97

874,97

874,97

874,97

874,97

874,97

874,97

 

 

Денежный поток CF

874,97

874,97

874,97

874,97

874,97

874,97

874,97

874,97

 

 

Кумулятивный денежный поток CCF

-485,6

389,4

1264,4

2139,3

3014,3

3889,3

4764,3

5639,2

 

 

Коэффициент дисконтирования α при Е=5%

0,967

0,963

0,959

0,955

0,951

0,947

0,943

0,940

 

 

Дисконтированный денежный поток DCF

846,3

842,8

839,3

835,9

832,4

828,9

825,5

822,1

 

 

Чистый приведенный доход NPV при Е=5%

-615,0

227,8

1067,2

1903,0

2735,4

3564,3

4389,8

5211,9

 

 

Коэффициент дисконтирования α при Е=10%

0,936

0,928

0,920

0,913

0,905

0,898

0,890

0,883

 

 

Дисконтированный денежный поток DCF

818,8

812,0

805,3

798,6

792,0

785,5

779,0

772,6

 

 

Чистый приведенный доход NPV при Е=10%

-740,9

71,1

876,4

1675,0

2467,0

3252,5

4031,5

4804,1

 

 

Коэффициент дисконтирования α при Е=15%

0,905

0,894

0,883

0,872

0,862

0,851

0,840

0,830

 

 

Дисконтированный денежный поток DCF

792,2

782,4

772,8

763,2

753,8

744,5

735,3

726,2

 

 

Чистый приведенный доход NPV при Е=15%

-863,4

-81,0

691,7

1454,9

2208,7

3688,5

4414,7

 

 

Прибыль

874,97

874,97

874,97

874,97

874,97

874,97

874,97

874,97

 

Денежный поток CF

874,97

874,97

874,97

874,97

874,97

874,97

874,97

874,97

 

Кумулятивный денежный поток CCF

12639,0

13514,0

14388,9

15263,9

16138,9

17013,8

17888,8

18763,8

 

Коэффициент дисконтирования α при Е=5%

0,909

0,905

0,901

0,898

0,894

0,890

0,886

0,883

 

Дисконтированный денежный поток DCF

795,2

791,9

788,6

785,3

782,1

778,8

775,6

772,4

 

Чистый приведенный доход NPV при Е=5%

11666,8

12458,6

13247,2

14032,5

14814,6

15593,4

16369,0

17141,3

 

Коэффициент дисконтирования α при Е=10%

0,826

0,819

0,813

0,806

0,799

0,793

0,786

0,780

 

Дисконтированный денежный поток DCF

722,9

717,0

711,0

705,2

699,3

693,5

687,8

682,1

 

Чистый приведенный доход NPV при Е=10%

10759,1

11476,0

12187,1

12892,2

13591,5

14285,1

14972,9

15655,0

 

Коэффициент дисконтирования α при Е=15%

0,751

0,742

0,733

0,724

0,715

0,706

0,697

0,689

 

Дисконтированный денежный поток DCF

657,5

649,4

641,4

633,5

625,6

617,9

610,3

602,8

 

Чистый приведенный доход NPV при Е=15%

9910,9

10560,3

11201,6

11835,1

12460,7

13078,7

13689,0

14291,7


Рисунок 4.2 - Эффективность инвестиций

Из рисунка 4.2 следует, что при норме дисконта Е=5% на 8-ом месяце эксплуатации магистрального газопровода сумма чистого приведенного дохода от инвестиций становится больше сумы инвестиций, при Е=10% - на 9-ом месяце реализации проекта, при E=15% - на 10-ом месяце.

На основе выполненных экономических расчетов затраты на проект и строительство магистрального газопровода в размере 7485,33 тыс. руб. окупятся через 8 месяц.

Внутренняя норма прибыли составит 2,2% в месяц, что превышает выбранную норму дисконта и говорит об эффективности проекта. Таким образом, строительство газопровода экономически целесообразно.

5. ОХРАНА ТРУДА И ПРОМЫШЛЕННАЯ БЕЗОПАСНОСТЬ

.1 Охрана труда работников

Межотраслевые правила по охране труда при эксплуатации газового хозяйства организаций устанавливают требования по охране труда, обязательные для работодателей и работников организаций, расположенных на территории Российской Федерации, эксплуатирующих объекты газораспределительных систем. Выполнение работ по строительству линейной части газопровода должно осуществляться при соблюдении требований СНиП 12-03 и других нормативных правовых актов, а также настоящих норм и правил.

Правила содержат требования охраны труда, предъявляемые при эксплуатации газопроводов и сооружений на них, средств их защиты от электрохимической коррозии, газового оборудования, аппаратуры, контрольно-измерительных приборов, средств автоматики и телемеханики, вычислительной техники, всех видов газового оборудования газорегуляторных пунктов (ГРП), газонаполнительных станций (ГНС), газонаполнительных пунктов (ГНП), автомобильных (стационарных и передвижных) газозаправочных станций (АГЗС), складов баллонов со сжиженным и сжатым газом, баллонных и резервуарных установок сжиженного газа, а также газоиспользующего оборудования, зданий, сооружений и коммуникаций, относящихся к газифицированным объектам. Работодатель в зависимости от местных условий может предусматривать дополнительные меры безопасности труда, которые должны быть внесены в соответствующие инструкции по охране труда и доведены до работников в виде инструктажа. Перед допуском к работе работники, занятые в организации, проходят обучение и аттестацию в установленном порядке, а также инструктаж в соответствии с требованиями государственных стандартов в области безопасности труда. Проверка состояния здоровья работников перед допуском их к выполнению работ и периодический медицинский осмотр должен проводиться в установленном порядке. Расследование и учет несчастных случаев на производстве и профессиональных заболеваний должны осуществляться согласно действующему законодательству. Расследование аварий на объектах, подконтрольных органам Госгортехнадзора России, проводится в порядке, установленном Госгортехнадзором России. Каждый работник обязан немедленно сообщить своему непосредственному руководителю о несчастном случае, происшедшем с ним или другим работником, а также о замеченных им нарушениях Правил.

5.2 Опасные и вредные производственные факторы

Природные горючие газы представляют собой естественно образовавшиеся смеси, состоящие на 90-99 % из углеводородов. Среди них преобладает метан, но присутствуют также в небольших количествах этан, пропан, водяные пары, диоксид углерода, сероводород, зависимости от места добычи газа они различаются по своему составу. Природный газ северных районов России

состоит в основном из метана. Природный газ бесцветен, не имеет запаха, легче воздуха. Природные углеводородные газы не оказывают токсического воздействия на организм человека, но при высоких концентрациях вызывают отравления, связанные с асфикцией из-за недостатка кислорода. Углеводороды природных газов в организме человека не аккумулируются.

Предельно допустимая концентрация (ПДК) углеводородов природного газа в воздухе рабочей зоны равна 300 мг/м куб. в пересчёте на углерод (ГОСТ 12.1.005.-76).

Определение содержания углеводородов в воздухе рабочей среды может производиться стационарными или переносными газоанализаторами.

Углеводороды природных газов в воздушной среде токсичных соединений не образуют.

По токсикологической характеристике природный газ относится к веществам 4 класса опасности и к группе веществ образующих с воздухом взрывоопасные смеси (ОСТ 51.40-93). Концентрационные пределы воспламенения (по метану) в смеси с воздухом в объемных процентах 5-15.

Метан в неограниченном пространстве взрывается крайне редко, поскольку он не образует стабильных облаков вблизи поверхности земли (легкий газ). Его детонация возможна в ограниченных объемах и в результате воспламенения, а также при инициировании взрывом заряда взрывчатого вещества. Процентное содержание газа в воздухе рабочего помещения не должно превышать 1%.

Газовый конденсат. В процессе очистки газа из него может выделяться газовый конденсат с механическими примесями. Газовый конденсат относится к легковоспламеняющимся жидкостям типа нестабильного бензина с широким колебанием углеводородных составляющих. Предельно допустимая концентрация (ПДК) в воздухе рабочей зоны составляет 300 мг/м3 (по пентану). Температура воспламенения около 255 °С. Действие на организм аналогично метану, возможно отравление от длительного контакта с парами конденсата.

Одорант - жидкость, имеющая неприятный специфический запах. Применяется для придания транспортируемому газу запаха, что позволяет улавливать утечки газа. В качестве одоранта применяется смесь природных меркаптанов - смесь бутил и амилмеркаптанов, п илмеркаптанов. Общая формула, где R - углеводородный радикал. В природе меркаптаны находятся в продуктах гниения белков, температура кипения 34-37 °С. Температура воспламенения с воздухом 299 ° С Плотность 0,86 кг/м. Класс опасности (влияние на человека) -2. ПДК в воздухе рабочей зоны производственных помещений -1 мг/м3 в пересчете на углерод. Норма расхода этилмеркаптана 16 г на 1000 м' природного газа

Меркаптаны в малых концентрациях вызывают головную боль и тошноту. В больших концентрациях они действуют на центральную нервную систему, вызывая судороги паралич и смерть от остановки дыхания. Их действие сходно с действием сероводорода. Одорирование природного газа не делает его более токсичным.

Если одорант или конденсат пролит на землю, то необходимо до очистки территории принять меры, исключающие возможность его воспламенения (обработка 5% раствором хлорной извести, гипохрида натрия, марганцового калия). После обработки нейтрализующим веществом землю следует перекопать и вторично обработать нейтрализующим веществом.

А так же опасным фактором является сам человеческий фактор, его психологическое состояние, настроение и т.д.

5.3 Обеспечение специальной одеждой, обувью и другими средствами индивидуальной защиты

Для защиты от воздействия опасных и вредных производственных факторов все работники должны быть обеспечены спецодеждой, спецобувью и другими средствами индивидуальной защиты в соответствии с действующими правилами и нормами бесплатной выдачи спецодежды, спецобуви и других средств индивидуальной защиты. Приобретение средств индивидуальной защиты и обеспечение ими работников в соответствии с требованиями охраны труда производится за счет средств работодателя (статьи 212 и 219 Трудового кодекса Российской Федерации).

К средствам индивидуальной защиты относятся специальная одежда, специальная обувь и другие средства индивидуальной защиты (изолирующие костюмы, средства защиты органов дыхания, средства защиты рук, средства защиты головы, средства защиты лица, средства защиты органа слуха, средства защиты глаз, предохранительные приспособления). Применяемые средства индивидуальной защиты должны быть проверены и испытаны в установленном порядке.

Все работники должны быть ознакомлены с условиями обеспечения и применения спецодежды, спецобуви и других средств индивидуальной защиты.

Используемые при ведении технологического процесса средства индивидуальной защиты должны быть указаны в инструкциях по охране труда.

В организации должно быть организовано надлежащее хранение, стирка, химчистка и ремонт спецодежды, спецобуви и других средств индивидуальной защиты.

Работодатель должен не реже одного раза в две недели обеспечить стирку или химчистку спецодежды.

Для замены спецодежды, спецобуви и других средств индивидуальной защиты, сдаваемых в стирку, химчистку и ремонт, работодатель обязан предусмотреть соответствующий их запас.

Во время проведения газоопасных работ все члены бригады обеспечиваются в соответствии с действующими нормативными правовыми актами соответствующей спецодеждой, спецобувью, сигнальными жилетами (при производстве работ на улицах и дорогах), защитной каской, средствами индивидуальной защиты (спасательным поясом с веревкой и изолирующим противогазом). Применение фильтрующих противогазов запрещается. Спецобувь должна быть без стальных подковок и гвоздей. В противном случае на обувь необходимо надеть галоши или застелить место работы диэлектрическими ковриками (рулонными материалами).

Спасательные пояса должны иметь наплечные ремни с кольцом со стороны спины на их пересечении для крепления веревки. Спасательный пояс необходимо подгонять таким образом, чтобы кольцо располагалось не ниже лопаток человека.

Испытания спасательных поясов и веревок проводятся 1 раз в 6 месяцев на специальном стенде грузом массой 200 кг. Время испытания поясов - 5 минут, веревок - 15 минут. Результаты испытаний оформляются актом произвольной формы. Пояса и веревки должны иметь бирки, на которых должны быть указаны дата и номер выполненных испытаний и дата следующего испытания.

Наружный осмотр поясов, карабинов и веревок должен производиться перед работой и после каждого их применения работником.

Все средства индивидуальной защиты, не выдержавшие испытания, должны выбраковываться и уничтожаться.

Продолжительность работы в противогазе без перерыва не должна превышать 30 минут.

Резерв шланговых противогазов должен составлять в газовом хозяйстве 5 - 10% от количества работников пользующихся ими.

Противогазы должны храниться в помещении с температурой не более 25°С в специальных шкафах на расстоянии не менее 3 м от отопительных приборов и 0,75 м - от наружных стен.

Ответственным за состояние и содержание противогазов является работник, назначаемый администрацией организации.

Кислородно-изолирующие противогазы должны использоваться в тех случаях, когда невозможно применение шланговых.

Если регенеративный патрон проработал за один или несколько приемов более 30 минут, его необходимо перезарядить или заменить новым.

Кислородно-изолирующие противогазы в собранном виде ставят в вертикальное положение, при этом вентиль баллона должен быть закрыт.

Кислородно-изолирующие противогазы не разрешается смазывать каким бы то ни было маслом.

Ответственным за своевременное обеспечение работников спецодеждой, спецобувью и другими средствами индивидуальной защиты является работодатель.

5.4 Мероприятия по электробезопасности

Общие требования безопасности

К самостоятельной работе с применением переносных электроинструментов допускаются лица в возрасте не моложе 18 лет, прошедшие соответствующую подготовку, инструктаж по охране труда, медицинский осмотр и не имеющие противопоказании по состоянию здоровья, аттестованные на I группу по электробезопасности.

К работе с применением переносных электроинструментов учащиеся не допускаются.

При работе с применением переносных электроинструментов соблюдать правила внутреннего трудового распорядка, установленные режимы труда и отдыха.

При работе с применением переносных электроинструментов возможно воздействие на работающих следующих опасных и вредных производственных факторов:

травмирование глаз отлетающей стружкой или осколками режущего инструмента;

ранения при неправильном или ненадежном креплении режущего инструмента;

поражение электрическим током при отсутствии заземления (зануления) корпуса или неисправности токоведущего кабеля переносного электроинструмента.

При работе с применением переносных электроинструментов должна использоваться следующая спецодежда и средства индивидуальной защиты: халат хлопчатобумажный, берет, диэлектрические перчатки, диэлектрический коврик, защитные очки.

Работающие обязаны соблюдать правила пожарной безопасности знать места расположения первичных средств пожаротушения.

При несчастном случае пострадавший или очевидец несчастного случая обязан немедленно сообщить администрации учреждения. При неисправности оборудования, инструмента прекратить работу и сообщить об этом администрации учреждения.

В процессе работы соблюдать правила ношения спецодежды пользования средствами индивидуальной защиты, соблюдать правила личной гигиены, содержать в чистоте рабочее место.

Лица, допустившие невыполнение или нарушение инструкции по охране труда, привлекаются к дисциплинарной ответственности в соответствии с правилами внутреннего трудового распорядка и, при необходимости, подвергаются внеочередной проверке знаний норм и правил охраны труда.

Требования безопасности перед началом работы

Надеть спецодежду, волосы тщательно заправить под берет.

Внешним осмотром проверить целостность и исправность переносного электроинструмента, подводящего токоведущего кабеля и защитного заземления (зануления) корпуса.

Надеть диэлектрические перчатки и встать на диэлектрический коврик.

Проверить исправную работу переносного электроинструмента на холостом ходу и убедиться в надежности крепления режущего инструмента.

Требования безопасности во время работы

Включать электроинструмент только после того, как обрабатываемая деталь закреплена на верстаке или другом рабочем месте.

Подавать электроинструмент к обрабатываемой детали плавное без резких движений и толчков.

Не допускать попадания на электроинструмент воды, грязи и других веществ, следить за исправностью защитного заземления (зануления).

Не работать при сильной вибрации электроинструмента.

Не оставлять электроинструмент без присмотра включенным в сеть, не передавать его другим недопущенным лицам.

Ставить или класть электроинструмент в безопасном положении, исключающим его падение.

Следить при работе за подводящим токоведущим кабелем, не допускать его скручивания, завала деталями и механическим воздействиям.

Не проводить частичную разборку и регулировку электроинструмента, включенного в сеть.

Не переходить с одного участка работы на другой с невыключенным электроинструментом.

Требования безопасности в аварийных ситуациях

При появлении неисправности в работе электроинструмента, сильной вибрации режущего инструмента, а также нарушении изоляции подводящего токоведущего кабеля или защитного заземления (зануления) прекратить работу, выключить электроинструмент и после отключения его от сети устранить возникшую неисправность.

В случае короткого замыкания и загорания электроинструмента или подводящего токоведущего кабеля отключить электроинструмент от сети и приступить к тушению очага возгорания углекислотным или порошковым огнетушителем.

При получении травмы оказать первую помощь пострадавшему, при необходимости отправить его в ближайшее лечебное учреждение и сообщить об этом администрации учреждения.

При поражении электрическим током немедленно отключить электроинструмент от сети, оказать пострадавшему первую помощь, при отсутствии у пострадавшего дыхания и пульса провести сердечно-легочную реанимацию и искуственную вентиляцию легких до восстановления дыхания и пульса, вызвать скорую помощь и отправить пострадавшего в ближайшее лечебное учреждение.

Требования безопасности по окончании работы

Отключить электроинструмент от сети и привести его в порядок.

Привести в порядок рабочее место, стружку убирать щеткой, не сдувать ее ртом и не сметать рукой.

Снять спецодежду и тщательно вымыть руки с мылом.

Знаки и надписи безопасности, опознавательная окраска

Сигнальные цвета и знаки безопасности предназначены для привлечения внимания работающих к непосредственной опасности, предупреждения о возможной опасности, предписания и разрешения определенных действий с целью обеспечения безопасности, а также для необходимой информации.

Сигнальные цвета и знаки безопасности не заменяют необходимых мероприятий по безопасности труда и средств защиты работающих.

Сигнальные цвета следует применять для знаков безопасности поверхностей конструкций, приспособлений и элементов производственного оборудования, которые могут служить источниками опасности для работающих, поверхностей ограждений и других защитных устройств, а также пожарной техники.

Знаки безопасности следует устанавливать на территории предприятий, строительных площадок, в производственных помещениях, на рабочих местах, участках работ и на производственном оборудовании.

Места расположения знаков безопасности, номера их размеров, а также порядок применения поясняющих надписей к знакам безопасности на территории предприятия, в производственных помещениях и на рабочих местах устанавливает администрация предприятия по согласованию с профсоюзным комитетом и соответствующими органами государственного надзора.

Места расположения и номера размеров знаков безопасности на производственном оборудовании, а также обозначение опасных элементов оборудования сигнальными цветами устанавливают в конструкторской документации на изделие (группу изделий).

Знаки безопасности должны контрастно выделяться на окружающем их фоне и находиться в поле зрения людей, для которых они предназначены. Знаки безопасности должны быть расположены с таким расчетом, чтобы они были хорошо видны, не отвлекали внимания работающих и сами по себе не представляли опасности.

Окраску оборудования лакокрасочными материалами сигнальных цветов и нанесение (установку) знаков безопасности должно производить предприятие-изготовитель оборудования. В случае необходимости дополнительную окраску лакокрасочными материалами сигнальных цветов и нанесение (установку) знаков безопасности на оборудование, находящееся в эксплуатации, производит предприятие, эксплуатирующее это оборудование.

На местах и участках, являющихся временно опасными, следует устанавливать переносные знаки безопасности и временные ограждения, окрашенные лакокрасочными материалами сигнальных цветов.

Знаки и ограждения должны быть сняты после того, как отпадет необходимость в их применении.

Не допускается окрашивать лакокрасочными материалами красного цвета спринклерные и дренчерные оросители, подводящие трубопроводы и другие стационарно устанавливаемые виды пожарной техники или ее элементы, не требующие оперативного опознавания.

Желтый сигнальный цвет следует применять для:

а) элементов строительных конструкций, которые могут явиться причиной получения травм работающими: низких балок, выступов и перепадов в плоскости пола, малозаметных ступеней, пандусов, мест, в которых существует опасность падения (кромки погрузочных платформ, грузовых поддонов, неогражденных площадок, люков, проемов и т.д.), сужений проездов малозаметных распорок, узлов, колонн, стоек и опор в местах интенсивного движения внутризаводского транспорта и т. д.;

б) элементов производственного оборудования, неосторожное обращение с которыми представляет опасность для работающих: открытых движущихся частей оборудования, кромок оградительных устройств, неполностью закрывающих движущиеся элементы производственного оборудования (ограждения шлифовальных кругов, фрез, зубчатых колес, приводных ремней, цепей и т. п.), ограждающих конструкций площадок для работ, проводимых на высоте, а также постоянно подвешенной к потолку или стенам технологической арматуры, выступающей в рабочее пространство:

в) обозначения опасных при эксплуатации элементов внутризаводского транспорта, подъемно-транспортного оборудования и строительно-дорожных машин, площадок грузоподъемников, бамперов и боковых поверхностей электрокар, погрузчиков, тележек, поворотных платформ и боковых поверхностей стрел экскаваторов, захватов и площадок автопогрузчиков, рабочих органов сельскохозяйственных машин, элементов грузоподъемных кранов, обойм грузовых крюков и др.;

г) постоянных и временных ограждений или элементов ограждений, устанавливаемых на границах опасных зон, у проемов, ям, котлованов, выносных площадок, постоянных и временных ограждений лестниц, перекрытий строящихся зданий, балконов и других мест, в которых возможно падение с высоты;

д) подвижных монтажных устройств или их элементов и элементов грузозахватных приспособлений, подвижных частей кантователей, траверс, подъемников, подвижных частей монтажных вышек и лестниц;

е) обозначения емкостей, содержащих опасные или токсичные вещества.

В зависимости от размеров поверхность емкости должна быть желтого сигнального цвета или иметь предупреждающую полосу желтого сигнального цвета шириной от 50 до 150 мм;

ж) обозначения площадей, которые в целях оперативной эвакуации должны быть всегда свободными (площадки у эвакуационных выходов и подходы к ним, у мест подачи пожарной тревоги и др.). Границы этих площадей следует обозначать сплошными линиями желтого сигнального цвета шириной от 50 до 100 мм, а сами площади штриховкой пола полосами желтого сигнального цвета шириной от 50 до 100 мм под углом 45°;

з) внутренних поверхностей крышек, дверец, кожухов и других ограждений, закрывающих места расположения движущихся элементов производственного оборудования, требующих периодического доступа для контроля, ремонта, регулировки и т.п. Если указанные элементы производственного оборудования закрыты съемными ограждениями, то окраске лакокрасочными материалами желтого сигнального цвета подлежат сами движущиеся элементы или поверхности смежных с ними неподвижных деталей, закрываемые ограждениями.

Предупреждающую окраску объектов и элементов, указанных в п. 2.11 б, г, следует выполнять в виде чередующихся наклонных под углом 45-60° полос шириной от 30 до 200 мм желтого сигнального и черного цветов при соотношении ширины полос 1:1. Ширину полос следует устанавливать в зависимости от размера объекта и расстояния, с которого должно быть видно предупреждение.

Для строительно-дорожных машин и подъемно-транспортного оборудования, которые могут находиться на проезжей части, допускается применять предупреждающую окраску в виде чередующихся красных и белых полос.

Элементы производственного оборудования малого размера, которые не могут быть обозначены чередующимися наклонными полосами, следует обозначать желтым сигнальным цветом целиком.

Поверхность ограждения должна быть желтого цвета или иметь предупреждающие чередующиеся вертикальные или горизонтальные полосы желтого сигнального и черного цветов при соотношении ширины полос 1:1.

Если производственное оборудование окрашено лакокрасочными материалами желтого цвета, то указанные в п. 2.11 (в, и) элементы этого оборудования должны быть обозначены чередующимися наклонными под углом 45-60° полосами желтого сигнального и черного цветов.

Синий сигнальный цвет следует применять для предписывающих знаков.

Зеленый сигнальный цвет следует применять для световых табло (надпись белого цвета на зеленом фоне), эвакуационных выходов и декомпрессионных камер, сигнальных ламп, извещающих о нормальном режиме работы машин или автоматических линий.

Устанавливаются четыре группы знаков безопасности, приведенные в табл. 5.1.

Таблица 5.1 - Знаки безопасности

Номер группы

Наименование знака

Форма знака

Применение поясняющей надписи

1

Запрещающий

Допускается поясняющая надпись на знаке (без наклонной полосы) или на дополнительной табличке

2

Предупреждающий

Допускается поясняющая надпись на знаке или на дополнительной табличке

3

Предписывающий

Допускается применять поясняющую надпись на внутреннем белом поле знака или на дополнительной табличке

4

Указательный

Допускается поясняющая надпись на знаке


При необходимости уточнить, ограничить или усилить действие знаков безопасности допускается применять дополнительные таблички прямоугольной формы с поясняющими надписями или с указательной стрелкой. Головка стрелки - по ГОСТ 10807-78.

Дополнительные таблички следует размещать горизонтально под знаком безопасности или вертикально справа от него. Длина дополнительной таблички должна быть не более диаметра или длины соответствующей стороны знака безопасности.

5.5 Промышленная безопасность

Обеспечение требований промышленной безопасности к эксплуатации опасного производственного объекта

Организация, эксплуатирующая опасный производственный объект, обязана:

соблюдать положения настоящего Федерального закона, других федеральных законов и иных нормативных правовых актов Российской Федерации, а также нормативных технических документов в области промышленной безопасности;

иметь лицензию на осуществление конкретного вида деятельности в области промышленной безопасности, подлежащего лицензированию в соответствии с законодательством Российской Федерации; (в ред. Федерального закона от 10.01.2003 N 15-ФЗ)

обеспечивать укомплектованность штата работников опасного производственного объекта в соответствии с установленными требованиями;

допускать к работе на опасном производственном объекте лиц, удовлетворяющих соответствующим квалификационным требованиям и не имеющих медицинских противопоказаний к указанной работе;

обеспечивать проведение подготовки и аттестации работников в области промышленной безопасности;

иметь на опасном производственном объекте нормативные правовые акты и нормативные технические документы, устанавливающие правила ведения работ на опасном производственном объекте;

организовывать и осуществлять производственный контроль за соблюдением требований промышленной безопасности;

обеспечивать наличие и функционирование необходимых приборов и систем контроля за производственными процессами в соответствии с установленными требованиями;

обеспечивать проведение экспертизы промышленной безопасности зданий, а также проводить диагностику, испытания, освидетельствование сооружений и технических устройств, применяемых на опасном производственном объекте, в установленные сроки и по предъявляемому в установленном порядке предписанию федерального органа исполнительной власти, специально уполномоченного в области промышленной безопасности, или его территориального органа;

предотвращать проникновение на опасный производственный объект посторонних лиц;

обеспечивать выполнение требований промышленной безопасности к хранению опасных веществ;

разрабатывать декларацию промышленной безопасности;

заключать договор страхования риска ответственности за причинение вреда при эксплуатации опасного производственного объекта;

выполнять распоряжения и предписания федерального органа исполнительной власти, специально уполномоченного в области промышленной безопасности, его территориальных органов и должностных лиц, отдаваемые ими в соответствии с полномочиями;

приостанавливать эксплуатацию опасного производственного объекта самостоятельно или по предписанию федерального органа исполнительной власти, специально уполномоченного в области промышленной безопасности, его территориальных органов и должностных лиц в случае аварии или инцидента на опасном производственном объекте, а также в случае обнаружения вновь открывшихся обстоятельств, влияющих на промышленную безопасность;

осуществлять мероприятия по локализации и ликвидации последствий аварий на опасном производственном объекте, оказывать содействие государственным органам в расследовании причин аварии;

принимать участие в техническом расследовании причин аварии на опасном производственном объекте, принимать меры по устранению указанных причин и профилактике подобных аварий;

анализировать причины возникновения инцидента на опасном производственном объекте, принимать меры по устранению указанных причин и профилактике подобных инцидентов;

своевременно информировать в установленном порядке федеральный орган исполнительной власти, специально уполномоченный в области промышленной безопасности, его территориальные органы, а также иные органы государственной власти, органы местного самоуправления и население об аварии на опасном производственном объекте;

принимать меры по защите жизни и здоровья работников в случае аварии на опасном производственном объекте;

вести учет аварий и инцидентов на опасном производственном объекте;

представлять в федеральный орган исполнительной власти, специально уполномоченный в области промышленной безопасности, или в его территориальный орган информацию о количестве аварий и инцидентов, причинах их возникновения и принятых мерах.

Работники опасного производственного объекта обязаны:

соблюдать требования нормативных правовых актов и нормативных технических документов, устанавливающих правила ведения работ на опасном производственном объекте и порядок действий в случае аварии или инцидента на опасном производственном объекте;

проходить подготовку и аттестацию в области промышленной безопасности;

незамедлительно ставить в известность своего непосредственного руководителя или в установленном порядке других должностных лиц об аварии или инциденте на опасном производственном объекте;

в установленном порядке приостанавливать работу в случае аварии или инцидента на опасном производственном объекте;

в установленном порядке участвовать в проведении работ по локализации аварии на опасном производственном объекте.

Профессиональная подготовка персонала

Обучение и инструктаж по безопасности труда носят непрерывный многоуровневый характер и проводятся на предприятиях промышленности, транспорта, связи, строительства, в общеобразовательных и профессиональных учебных заведениях, во внешкольных учреждениях, а также при совершенствовании знаний в процессе трудовой деятельности.

Воспитанников школьных и дошкольных учреждений знакомят с правилами безопасного поведения в процессе учебно-воспитательных занятий.

Лиц, занимающихся индивидуальным трудом или входящих в состав комплексных бригад, а также совмещающих профессии, обучают и инструктируют по безопасности труда в полном объеме по их основной и совмещаемой профессии (работе).

Ответственность за организацию своевременного и качественного обучения и проверку знаний в целом по предприятию и учебному заведению возлагают на его руководителя, а в подразделениях (цех, участок, лаборатория, мастерская)-на руководителя подразделения.

Своевременность обучения по безопасности труда работников предприятия и учебного заведения контролирует отдел (бюро, инженер) охраны труда или инженерно-технический работник, на которого возложены эти обязанности приказом руководителя предприятия (учебного заведения), решением правления (председателя) колхоза, кооператива, арендного коллектива.

Работники совместных предприятий, кооперативов и арендных коллективов проходят обучение и проверку знании в порядке, установленном для государственных предприятии, и организаций соответствующих отраслей народного хозяйства.

Руководители предприятий и учебных заведений обеспечивают комплектование служб охраны труда соответствующими специалистами и систематическое повышение их квалификации не реже одного раза в 5 лет.

К замещению должности инженера по охране труда допускаются лица, имеющие диплом о присвоении квалификации инженера по охране труда или стаж работы в этой должности (специальности) не менее одного года. Лица, впервые вступившие в должность инженера по охране труда и не имеющие соответствующего диплома или стажа, должны пройди обучение по безопасности труда по специальным программам на курсах при институтах и факультетах повышения квалификации или других учреждений до исполнения должностных функций.

Обучение безопасности труда при подготовке рабочих, переподготовке, получении второй профессии, повышении квалификации непосредственно на предприятиях организуют работники отдела подготовки кадров или технического обучения (инженер по обучению) с привлечением необходимых специалистов отделов и служб предприятия и других организаций.

Учебные программы по безопасности труда должны предусматривать теоретическое и производственное обучение.

Теоретическое обучение осуществляют в рамках специального учебного предмета "Охрана труда" или соответствующего раздела по спецтехнологии в объеме не менее 10 ч. Предмет "Охрана труда" следует преподавать при подготовке рабочих по профессиям, к которым предъявляют дополнительные (повышенные) требования безопасности труда, а также по профессиям и работам, связанным с обслуживанием объектов, подконтрольных органам государственного надзора в промышленности, строительстве, агропромышленном комплексе, на транспорте и других отраслях в объеме не менее 60 ч. для ПТУ и не менее 20 ч.- при подготовке на производстве.

Виды таких профессий и работ определяет Гособразование СССР по согласованию с органами государственного надзора и технической инспекцией труда.

Вопросы безопасности труда должны быть включены в другие учебные дисциплины, связанные с технологией, конструкцией оборудования и т.д.

Производственное обучение безопасным методам и приемам труда проводят в учебных лабораториях, мастерских, участках, цехах, на полигонах, рабочих местах, специально создаваемых на предприятиях, в учебных заведениях под руководством преподавателя, мастера (инструктора) производственного обучения или высококвалифицированного рабочего. При отсутствии необходимой учебно-материальной базы в порядке исключения допускается проводить обучение на существующих рабочих местах предприятия.

Обучение безопасности труда следует проводить по учебным программам, составленным на основе типовых программ, разработанных в соответствии с типовым положением о непрерывном профессиональном и экономическом обучении кадров народного хозяйства, и согласовывать с отраслевыми профсоюзными органами, а для работ, к которым предъявляются дополнительные (повышенные) требования безопасности труда, - и с соответствующими органами государственного надзора.

Обучение безопасности труда при подготовке рабочих по профессиям, к которым предъявляются дополнительные (повышенные) требования безопасности труда, завершается экзаменом по безопасности труда. При подготовке рабочих других профессий вопросы охраны труда включают в экзаменационные билеты по спецтехнологии и в письменные работы на квалификационных экзаменах.

Производственный контроль за соблюдением требований промышленной безопасности и охраны труда

Производственный контроль является составной частью системы управления промышленной безопасностью и осуществляется организацией путём проведения комплекса мероприятий направленных на обеспечение безопасного функционирования опасных производственных объектов, а также на предупреждение аварий на этих объектах и обеспечение готовности к локализации аварий и ликвидации их последствий.

Система управления промышленной безопасностью и охраной труда устанавливает пять этапов контроля.

Этапы производственного контроля:

Первый этап контроля:

Осуществляется начальником объекта, его заместителем и старшим

мастером ежедневно в начале рабочего дня и в дальнейшем в процессе

работы.

Руководитель работ выясняет наличие отклонений факторов условий труда от правил и норм безопасности, проверяет устранение замечаний и недостатков, зафиксированных в журнале проверки состояния условий труда в предыдущие дни, проверяет наличие, необходимой на рабочем месте, документации, выполнение приказов и распоряжений.

Выявленные при проверке нарушения и недостатки немедленно устраняются под надзором руководителя работ. Нарушения, которые не могут быть устранены силами смены, регистрируются в журнале проверки состояния условий труда объекта, для последующего принятия соответствующих мер. Руководитель работ немедленно информирует руководство цеха, а при необходимости руководство компании о выявленных нарушениях и неполадках, которые невозможно устранить в течение смены для принятия необходимых мер по обеспечению безопасности работающих.

В течение смены руководитель работ периодически осуществляет проверку состояния условий труда и соблюдения рабочими инструкций по охране труда, организует проведение учебно-тренировочных занятий по действиям персонала в аварийных ситуациях.

Ответственность за осуществление первого этапа контроля наряду с руководителями работ несет также и руководитель их производственного подразделения, который определяет исполнителей или лично организует устранение выявленных нарушений. Второй этап контроля:

Осуществляется начальником цеха транспорта нефти, который не реже чем два раза в месяц должен проверять работу мастеров по проведению первого этапа контроля, а также состояние условий труда на объектах и принимать оперативные меры по устранению выявленных нарушений и недостатков.

На втором этапе контроля осуществляется:

анализ состояния условий труда и промышленной безопасности;

наличие и правильность ведения документации по вопросам безопасности производства;

выполнение распоряжений начальника цеха, приказов и указаний руководства компании и предписаний инспектирующих органов;

своевременность и полноту выполнения мероприятий по улучшению условий труда, предложений уполномоченных лиц по охране труда;

своевременность и качество проведения начальником терминала инструктажей рабочих, правильность и качество оформления инструктажей, начичие у рабочих удостоверений о проверке знаний;

Третий этап контроля:

Руководящие работники, главные специалисты, работники производственно-технических отделов компании лично или в составе постоянно действующей комиссии по промышленной безопасности и охране труда, не реже одного раза в квартал осуществляют проверку работы предприятия по осуществлению первых двух этапов контроля, состояния условий труда на объекте и рабочих местах.

Выявленные при проверке нарушения и недостатки немедленно устраняются. Нарушения, которые не могут быть устранены в ходе проверки, регистрируются в журналах проверки состояния условий труда с указанием ответственных исполнителей и сроков устранения.

Результаты проверок по третьему этапу контроля оформляются актом с соответствующими выводами и предложениями по устранению выявленных нарушений и недостатков и обсуждаются на заседании постоянно действующей комиссии по промышленной безопасности и охране труда.

Ответственность за осуществление третьего этапа контроля и за своевременное устранение выявленных нарушений и недостатков возлагается на технического руководителя компании. Четвертый этап контроля:

За состоянием охраны труда и промышленной безопасности осуществляется в порядке проведения комплексных, целевых проверок компании специально созданной комиссией.

В ходе проверки комиссия должна изучить:

условия труда работающих на объектах предприятия;

состояние производственного травматизма, профессиональной и общей заболеваемости;

материалы предыдущих проверок состояния промышленной безопасности и охраны труда, проведенных на предприятии, акты и предписания контролирующих организаций, их выполнение;

планы мероприятий по реализации рекомендаций, сделанных в ходе предыдущих проверок, их выполнение;

соблюдение требований законодательных актов, государственных стандартов, наличие и соблюдение нормативных документов по безопасности труда.

Выявленные комиссией нарушения требований безопасна-,,. регистрируются в журнале проверки состояния условий труда проверяемых объектов.

По результатам проверки разрабатывается план организационно-технических мероприятий по устранению выявленных недостатков и совершенствованию своей деятельности в области охраны труда.

Руководителем проверяемой компании на основе акта проверки издается приказ с приложением разработанного плана организационно-технических мероприятий по устранению недостатков и совершенствованию работы в области промышленной безопасности и охраны труда.

При комплексной проверке производится обследование и оценка состояния:

организационной работы;

промышленной безопасности на предприятии;

разработки и внедрения нормативно-технической документации;

обучения безопасным методам труда и организации пропаганды в области охраны труда;

противоаварийной и противопожарной защиты предприятия. Пятый этап контроля:

За состоянием охраны труда и промышленной безопасности осуществляется в порядке проведения комплексных, целевых проверок компании комиссией, созданной учредителями общества и государственными инспектирующими органами.

Для осуществления государственного надзора за соблюдением требований промышленной безопасности организация обязана предоставлять в соответствующие сроки информацию об организации производственного контроля в территориальные органы Федерального горного и промышленного надзора России, федеральные органы исполнительной власти. В информации об организации производственного контроля должны содержаться следующие сведения:

план мероприятий по обеспечению промышленной безопасности на текущий год;

сведения об организации системы управления промышленной безопасностью, если такая создана в организации;

фамилию работника, ответственного за осуществление производственного контроля, его должность, образование, стаж работы по специальности, дату последней аттестации по промышленной безопасности;

сведения о количестве опасных производственных объектов с описанием основных потенциальных источников опасностей и возможных последствий аварий;

отчет о выполнении плана мероприятий по обеспечению промышленной безопасности, результаты проверок, устранение нарушений, выполнение предписаний Федерального горного промышленного надзора России и федеральных органов исполнительной власти;

план мероприятий по локализации аварий и ликвидации их последствий;

копии договоров страхования риска ответственности за причинение вреда при эксплуатации опасного производственного объекта;

сведения о состоянии оборудования, применяемого на опасном производственном объекте и подлежащего обязательной сертификации;

сведения освидетельствовании и проведении контрольных испытаний опасных производственных объектов;

план проведения контрольно-профилактических проверок на следующий год;

оценку готовности работников эксплуатирующей организации к действиям во время аварии;

описание аварий и несчастных случаев, происшедших на опасном производственном объекте, анализ причин их возникновения и принятые меры;

порядок подготовки и аттестации руководителей, специалистов идругих работников, занятых на опасных производственных объектах, в области промышленной безопасности.

Планы действий в аварийных и чрезвычайных ситуациях

Для локализации и ликвидации аварийных ситуаций в газовых хозяйствах городских и сельских поселений должны создаваться единые при газораспределительных организациях аварийно-диспетчерские службы (АДС) с городским телефоном "04" и их филиалы с круглосуточной работой, включая выходные и праздничные дни.

Места их дислокации определяются зоной обслуживания и объемом работ с учетом обеспечения прибытия бригады АДС к месту аварии за 40 мин.

При извещении о взрыве, пожаре аварийная бригада должна выехать в течение 5 мин.

По аварийным заявкам организаций, имеющих собственную газовую службу, АДС газораспределительных организаций должны оказывать практическую и методическую помощь по локализации и ликвидации аварийных ситуаций по договору и согласованному плану взаимодействия.

Деятельность аварийных бригад по локализации и ликвидации аварий определяется планом взаимодействия служб различных ведомств, который должен быть разработан с учетом местных условий.

Планы взаимодействия служб различных ведомств должны быть согласованы с территориальными органами Госгортехнадзора России и утверждены в установленном порядке.

Ответственность за составление планов, утверждение, своевременность внесения в них дополнений и изменений, пересмотр (не реже 1 раза в 3 года) несет технический руководитель организации - собственника опасного производственного объекта.

В АДС должны проводиться тренировочные занятия с оценкой действий персонала:

по планам локализации и ликвидации аварий (для каждой бригады) - не реже 1 раза в 6 мес;

по планам взаимодействия служб различного назначения - не реже 1 раза в год.

Тренировочные занятия должны проводиться на полигонах (рабочих местах) в условиях, максимально приближенных к реальным.

Проведение тренировочных занятий должно регистрироваться в специальном журнале.

Все заявки в АДС должны регистрироваться с отметкой времени ее поступления, временем выезда и прибытия на место аварийной бригады, характером повреждения и перечнем выполненной работы.

Заявки, поступающие в АДС, должны записываться на магнитную ленту. Срок хранения записей должен быть не менее 10 суток.

Допускается регистрация и обработка поступающих аварийных заявок на персональном компьютере при условии ежедневной архивации полученной информации с жесткого диска на другие носители (дискеты и др.).

Своевременность выполнения аварийных заявок и объем работ должны контролироваться руководителями газораспределительной организации.

Анализ поступивших заявок должен производиться ежемесячно.

При получении заявки о наличии запаха газа диспетчер обязан проинструктировать заявителя о мерах безопасности.

Аварийная бригада должна выезжать на специальной автомашине, оборудованной радиостанцией, сиреной, проблесковым маячком и укомплектованной инструментом, материалами, приборами контроля, оснасткой и приспособлениями для своевременной ликвидации аварий.

При выезде по заявке для ликвидации аварий на наружных газопроводах бригада АДС должна иметь исполнительно-техническую документацию или планшеты (маршрутные карты).

Ответственность за своевременное прибытие аварийной бригады на место аварии и выполнение работ в соответствии с планом локализации и ликвидации аварий несет ее руководитель.

При механических повреждениях стальных подземных газопроводов со смещением их относительно основного положения, как по горизонтали, так и по вертикали, одновременно с проведением работ по устранению утечек газа должны вскрываться и проверяться неразрушающими методами по одному ближайшему стыку в обе стороны от места повреждения.

При обнаружении в них разрывов и трещин, вызванных повреждением газопровода, должен дополнительно вскрываться и проверяться радиографическим методом следующий стык.

В случае выявления непровара, шлаковых включений, пор производится усиление сварного стыка.

Сварные стыки и участки труб полиэтиленовых газопроводов, имеющих дефекты и повреждения, должны вырезаться и заменяться врезкой катушек с применением муфт с закладными нагревателями.

Допускается сварка встык при 100% контроле стыков ультразвуковым методом.

Узлы неразъемных соединений и соединительные детали, не обеспечивающие герметичность, должны вырезаться и заменяться новыми.

Допускается ремонтировать точечные повреждения полиэтиленовых газопроводов при помощи специальных полумуфт с закладными нагревателями.

Поврежденные участки газопроводов, восстановленные синтетическим тканевым шлангом, заменяются врезкой катушки с использованием специального оборудования для проведения работ на газопроводах без снижения давления.

Допускается осуществлять ремонт таких газопроводов аналогично стальным газопроводам. Работы по окончательному устранению утечек газа могут передаваться эксплуатационным службам после того, как АДС будут приняты меры по локализации аварии и временному устранению утечки газа.

Не допускается прямое воздействие открытого пламени горелки при резке стальной оболочки газопровода, реконструированного полимерными материалами.

6. ОХРАНА ОКРУЖАЮЩЕЙ СРЕДЫ

.1 Воздействие объекта на атмосферу

Основным видом воздействия промышленных объектов на состояние атмосферного воздуха является загрязнение выбросами загрязняющих веществ.

Основными источниками выделения вредных веществ в атмосферу в процессе строительства и монтажа сетей коммуникаций являются:

автоспециализированная техника (экскаватор, бульдозер, автомобили грузовые, другая техника и механизмы);

сварочные работы по монтажу трубопроводов;

При производстве строительно-монтажных работ к веществам, загрязняющим атмосферный воздух, относятся:

пыль неорганическая, оксид и диоксид азота, ангидрид сернистый, керосин, сажа, углерода оксид при производстве земляных работ;

диоксид азота, железа оксид, углерода оксид, марганец и его соединения при сварочных работах;

оксид и диоксид азота, ангидрид сернистый, керосин, сажа, углерода оксид при работе дорожной техники.

Период строительства инженерных сетей и сооружений является единовременным и кратковременным. Таким образом, воздействие источников выбросов на атмосферный воздух имеет временный характер, и после окончания строительства газопроводов источники выделения вредных веществ, прекращают свое воздействие.

В соответствии с требованиями СанПин 2.2.1/2.2.1.1200-2003, организация и установление санитарно-защитной зоны для данного газопровода не требуется.

Газовые сети и сооружения при эксплуатации не имеют выбросов вредных веществ в атмосферу.

В процессе эксплуатации газораспределительный пункт (ГРП), предназначенной для снижения давления газа до заданного выходного и поддержания его на определенном уровне, а также для очистки газа могут иметь место выбросы загрязняющих веществ.

Эксплуатация ГРП сопровождается следующими периодическими выбросами газа в атмосферу:

ежедневные выбросы от сбросного клапана, следствие уменьшения потребления газа в вечернее или ночное время;

выбросы газа через продувочные свечи при профилактических и ремонтных работах;

выброс при пуске газа;

при стравливании газа из редуцирующих линий при замене оборудования;

от котла предназначенного для отопления здания в зимнее время года.

Продувочные и сбросные свечи выводятся наружу из шкафа на высоту 4,0м от уровня земли.

Все эти выбросы краткосрочны и периодичны и могут быть приняты как залповые.

Высота дымовой трубы от котла мощность котла составляет 11,6 кВт.

Газ, транспортируемый по газопроводу, на 93-98% состоит из метана и азота, диоксид азота, оксид углерода.

Природный газ обычно рассматривается как безвредный газ. Газ бесцветен, не имеет запаха, не токсичен. Действие его идентично действию предельных углеводородов. Главная опасность связана с асфиксией из-за недостатка кислорода (удушающее действие на организм человека проявляется при содержании его в воздухе более 20%, при концентрации воздуха до 20% не дает токсичного эффекта). Природный газ легче воздуха (плотность газа 0,56 кг/м3; относительная плотность по воздуху 0,677) и при выбросах стремиться занять более высокие слои атмосферы. Вероятность скопления в низких точках местности практически исключена.

Азот, попадая в атмосферный воздух, окисляется и образует оксиды азота. Оксид азота (N0) - бесцветный, высокотоксичный газ, быстро окисляемый в диоксид азота. Скорость окисления зависит от температуры окружающей среды, атмосферного давления и концентрации N0.

Диоксид азота - бурый газ с удушливым запахом. При температуре более 14СРС начинает распадаться на оксид азота и кислород. Диоксид азота вызывает чрезвычайно сильное влияние на легкие человека. При работе в течение 3-5 мг/м3 развивается бронхиты, эмфизема легких, астма и некоторые другие заболевания.

Оксид углерода (СО2) - бесцветный газ, без вкуса и запаха. Поступление С02 в организм человека подчиняется закону диффузии газов. Окись углерода вытесняет кислород из крови, вследствие чего ухудшается отдача кислорода тканям.

6.2 Мероприятия по охране атмосферы

Данным проектом предусмотрен комплекс мероприятий с целью уменьшения негативного воздействия загрязняющих веществ на атмосферный воздух прилегающих территорий во время строительства газопроводов среднего и низкого давления:

поддержание автотранспортной техники в исправном состоянии за счет своевременного техосмотра, техобслуживания и планово-предупредительного ремонта;

сокращение по возможности одновременно-работающей строительной техники;

запрещение эксплуатации используемой техники с неисправными или 'не отрегулированными двигателями и на несоответствующем стандартам топливе;

оборудование навесом и ограждением зоны складирования строительных материалов;

периодическое смачивание водой сыпучих и пылевидных материалов (грунт, песок и пр.) для исключения их разноса ветром на жилую застройку;

оборудование и размещение участков, временно занимаемых под отвал грунта, с подветренной стороны.

Эксплуатация газопроводов не оказывает отрицательного влияния на окружающую среду. Газопровод запроектирован из стальных труб по ГОСТ 10704-91, имеющих сертификат качества завода- изготовителя.

При эксплуатации системы газоснабжения производятся профилактические осмотры и капитальные ремонты, направленные на предупреждение утечек газа и возникновения источников воспламенения в местах возможного появления взрывоопасных воздушных смесей. В период неблагоприятных метеорологических условий (туман, дымка, температурная инверсия) предусмотрено усиление контроля за работой КИП и приборов автоматики технологических процессов.

Таким образом, мероприятия, заложенные в систему газоснабжения, позволяют снизить выброс ЗВ в атмосферный воздух, что оказывает положительное влияние на чистоту воздуха.

Выбросы газ при эксплуатации ГРП краткосрочны, не превышают 5 минут и в расчете рассеивания ВВ не участвуют.

Таблица 6.1 - Перечень загрязняющих веществ, выбрасываемых в атмосферу при строительстве газопровода [7]

Код

Наименование вещества

ПДКсс (мг/м3)

Класс опасности

Масса выброса, т/год

Безразмерная константа

КОП по каждому веществу

0123

Железа оксид (в пересчете на железо)

/0,0,4/

3

0,0344609

1

<1

0143

Марганец и его соединения

0,01/0,001/

2

0,0039825

1,3

<1

2908

Пыль неорганическая 20%<5Ю2<70%

0,3/0,1/

3

0,63768

1

<1

0337

Углерода оксид

5/3/-

4

0,0013011

0,9

<1

0301

Азота диоксид

0,085/0,04/-

2

0,0019779

1,3

<1

0304

Азота оксид

0,4/0,06 /-

3

0,0003214

1,0

<1

0330

Ангидрид сернистый

0,5/0,05 /-

3

0,0002032

1,0

<1

2732

Керосин

-/-/1,2

-

0,0004368

-

<1

0328

Сажа

0,15/0,0 5/-

3

0,0002984

1,0

<1





0,6806622




Таблица 6.2 - Перечень загрязняющих веществ, выбрасываемых в атмосферу при эксплуатации

Код

Наименование вещества

ПДКсс (мг/м3)

Класс опасности

Масса выброса, т/год

Безразмерная константа

КОП по каждому веществу

0301

Азота диоксид

0,085/0, 04/-

2

0,003446

1,3

<1

0304

Азота оксид

0,4/0,06 /-

3

0,000560

1,0

<1

0703

Бенз(а)пирен (3,4-Бензпирен)

-ДЕ-6/-

1

0,0

1,7

0337

Углерода оксид

5/3/-

4

0,022919

0,9

<1

0401

Углеводороды

-/-/-


0,166

0^9

К1





0,192926




6.3 Расчеты выбросов загрязняющих веществ в атмосферу

Исходными данными (г/с, т/год), принятыми для расчета нормативов ПДВ при строительстве газовых сетей и установке ГРП, являются результаты расчетов выбросов загрязняющих веществ, выполненные согласно «Методики расчета выбросов ~1 на предприятиях железнодорожного транспорта» [и] 1992 г., «Методики проведения ИВЗВ в атмосферу для баз дорожной техники» [36] 1998 г., «Методики проведения ИВЗВ в атмосферу для АТП» [35] 1997 г.

При определении количества выбросов вредных веществ в атмосферу для бытового котла в ГРП использовалась «Методика определения выбросов загрязняющих веществ в атмосферу при сжигании топлива в котлах производительностью не менее 30 тонн пара в час или не менее 20 Гкал в час» НИИ Атмосфера, 1999

Расчеты выбросов при эксплуатации ГРП проводились согласно «Временной методике расчета рассеивания газовых выбросов из наземных источников на объектах газовой промышленности», разработанной ВНИИ ГАЗ.

Эксплуатация ГРП сопровождается:

периодическим выбросом газа в атмосферу от сбросного клапана;

выбросами газа через продувочные свечи при профилактических ремонтах;

выбросом при пуске газа;

выбросом при стравливании газа из редуцирующих линий при замене оборудования.

Выбросы газа осуществляются вследствие уменьшения потребления газа в вечернее или ночное время суток.

Продувочные и сбросные свечи выводятся наружу из шкафа на высоту 4,0 м от уровня земли.

Возможное количество газа, подлежащее сбросу через РДГ, определяется согласно СП 42-101-2003:

=0,0005x Qсp, м'/час,

Где: Qсp -расчетная пропускная способность регулятора давления. Q=0,0005х3600,0 = 1,8м3/час

Средняя мощность источника выброса (максимальный разовый выброс) составляет:= Q х р /3600=1,8 х677 х 10s/ 3600 =338,5 г/сек

Где: р - плотность газа 677x103 г/ м3

Таким образом, годовой аварийный выброс составит:

Для ГРПБ марки ПГБ-15-2Н-У1общ = 338,5 х365х106= 0,123 т/год

Время сброса газа составляет порядка нескольких секунд, поэтому ежесуточный сброс газа можно принять за залповый.

Плановые ревизии оборудования проводятся 2 раза в год. При этом при необходимости, продувается участок газопровода и оборудование между двумя отключающими задвижками. Время продувки 5 минут (300 сек.)

Рабочий объем продуваемого участка газопровода вычисляется по формуле:гaз=Tx Vтрx5x/px( Т-(-ЗО)), где Р=760 мм рт. ст., атмосферное давление; Т=273 град. С, температура в К.гaз=273 х 0,00157х5х 677/760х (273-(-30)) = 0,0063 м3 Максимальный разовый выброс рассчитывается по формуле:= Vгаз х р /1 = 0,0063 х 677 х 103 / 300 =14,22 г/сек Учитывая, что плановые ревизии происходят 2 раза в год и количество продувочных трубопроводов для данной ГРПБ равно 5, то количество выбросов в год составит:общ = 14,22x2x5x300/10"= 0,043 т/год

Выбросы газа при эксплуатации ГРПБ краткосрочны, не превышают 5 минут, вследствие чего приняты залповыми и в расчете рассеивания ВВ в атмосфере не участвуют.

Промышленные и транспортные выбросы в атмосферу, содержащие взвешенные и газообразные загрязняющие вещества, характеризуются объемом, интенсивностью выбросов, температурой, классом опасности и концентрацией загрязняющих веществ. Их негативное воздействие обычно рассматривается в зоне влияния рассматриваемого объекта.

В соответствии с ОНД-86 зоной влияния объекта на атмосферный воздух считается территория, на которой суммарное загрязнение атмосферы от всей совокупности источников превышает 0,05 ПДК. Зоны влияния объектов определяются отдельно по каждому веществу или комбинации веществ с суммирующим вредным воздействием.

Для оценки влияния промышленных выбросов на состояние атмосферного воздуха проведен расчет рассеивания вредных веществ в приземном слое атмосферы.

Расчеты рассеивания выбросов и максимальных приземных концентраций загрязняющих веществ в приземном слое атмосферы проводились мною по программе «Роса 3.2», разработанной предприятием «ЛиДа» (г. Москва) и согласованной ГГО им. А. И. Воейкова, реализующей методику ОНД-86. Для расчета на рассеивание при строительстве газопровода, за расчетную модель условно принята стометровая захватка трассы со средним количеством единиц работающей на ней строительной техники.

Поле концентрации вредных веществ определялось в расчетном квадрате 200 х 200 м с шагом координационной сетки 10 м. Расчет выполнен в системе координат промплощадки. Ось ОУ основной системы координат ориентирована под углом 0° к северу. При проведении расчета учтены метеорологические характеристики и коэффициенты, определяющие условия рассеивания вредных веществ в атмосфере.

6.4 Воздействие объекта на почвенный покров и геологическую среду

Проектируемые объекты находятся на территории, землевладельцем которой является администрация с.Яренск Ленского района Архангельской области. Данным проектом предусмотрена прокладка газопроводов среднего и низкого давлений и установка газорегуляторного пункта ГРП.

Земляные работы, проводимые на территории строительства, связаны с рытьем траншей под трубопроводы и бурением ям под опоры. Строительные механизмы, применяемые при производстве строительно-монтажных работ, должны быть сертифицированы, допущены к работе и не должны наносить вред экологической обстановке. Вся техника, используемая для строительства, приезжает на объект со специальных баз автохозяйств, куда возвращается по окончании работ. Работы спецтехники и автотранспорта, при строительстве газовых сетей, не приведут к загрязнению почв продуктами эмиссии автотранспорта. При строительстве, для уменьшения загрязнения охраны почв, проектом также предусматривается применение герметичных емкостей для перевозки растворов и бетонов; оптимизации поставок и потребления растворов и бетонов, уменьшающих образование отходов; соблюдение технологии и обеспечение качества выполняемых работ, исключающих передел

6.5 Мероприятия по охране почвенного покрова и геологической среды

Выполнение строительных работ по газоснабжению проектируемого объекта приведет к нарушению почвенного покрова, уничтожению растительности, образованию техногенного рельефа, а также возможному захламлению и загрязнению прилегающей территории.

Почвенный слой является ценным, медленно возобновляющимся природным ресурсом. При проведении строительных работ, прокладке коммуникаций и прочих работ, приводящих к нарушению или снижению свойств почвенного слоя, последний, в соответствии с ГОСТ 17.4.3.02-85(6), подлежит снятию, перемещению в резерв и использованию для рекультивации нарушенных земель.

Основные нарушения земель, подлежащие рекультивации, можно разделить на две группы: линейные и площадные. К линейным нарушениям, нуждающимся в рекультивации, относятся земли, по которым проходит трасса инженерных сетей. Площадные нарушения представлены участками, занимаемыми временными и внетрассовыми сооружениями для строительства и обслуживания трубопроводов. Площадь земель, на которую будет оказано негативное воздействие, равна сумме отвода земель во временное (краткосрочное) и постоянное пользование.

Таблица 6.3

Площадь отвода, Га

Площадь снятия плодородного слоя, Га

Мощность снимаемого плодородного слоя, м

Объем снимаемого плодородного слоя, Тыс. м³

Расстояние перемещения снимаемого слоя в резерв. Км.

1

2

3

4

5

10,49

4,053

0,2

8106,0

0,5


Экспликация изымаемых земель по видам угодий и объектам проектируемого строительства представлена в таб. 5.1.

Рекультивация нарушенных земель, согласно требованиям ГОСТ 17.4.3.02-85 «Охрана природы. Почвы. Требования к охране плодородного слоя почвы при производстве земляных работ» (б), проводится обычно едва этапа.

Технический этап рекультивации, включающий в себя снятие и транспортировку плодородного слоя почвы, его обратное восстановление (нанесение его на восстановленные земли после окончания строительных работ), проводит строительная организация.

Биологический этап рекультивации, предусматривающий мероприятия по восстановлению плодородия нарушенных земель, включает в себя комплекс агротехнических мероприятия (подготовка почвы, внесение органических удобрений, посев), направленных на сохранение, восстановление и повышение плодородия почвы, на закрепление поверхностного слоя почвы корневой системой растений. Биологическую рекультивацию обычно проводят землепользователи.

Последовательность операций при проведении технической рекультивации плодородных земель следующая:

снятие плодородного слоя почвы с полосы рекультивации и его перемещение во временный отвал производится бульдозером на толщину 0,2 м, по возможности за один проход;

строительство трубопроводов (разработка траншей, сварка и укладка труб, засыпка траншей минеральным грунтом, уплотнение грунта);

разравнивание лишнего минерального грунта, образовавшегося в результате вытеснения объема после укладки труб в траншею (вывоз лишнего грунта);

перемещение плодородного слоя почвы из временного отвала в пределы рекультивационной полосы и разравнивание поверхности после естественного уплотнения грунта;

грубая планировка бульдозером поверхности плодородного слоя по всей строительной полосе.

Объемы работ по рекультивации приводятся в соответствии с нормами отвода земель, согласно проектным решениям.

После завершения земляных работ по прокладке трассы инженерных сетей, плодородный слои почвы возвращается и равномерно распределяется на рекультивируемой поверхности, при этом площадь и толщина слоя восстановления плодородного слоя равна площади и толщине снятого плодородного слоя. Нарушения рельефа, возникшие при работе и передвижении строительной техники будут ликвидированы при планировке рекультивируемых земель. В результате этого рельеф участков строительства будет приведен в естественное состояние.

Разработка грунта в траншеях производится захватками по 100 м. По мере разработки очередной стометровки, техника и работающий персонал переходит на следующую захватку.

Таким образом, в связи с относительно коротким сроком хранения снятого почвенно-растительного слоя и принятых настоящим рабочим проектом решений по рекультивации нарушенных земель изменения качественного состава почвы не произойдет и баланс взаимодействия компонентов экосистемы данной территории будет восстановлен.

В процессе эксплуатации газовых сетей и установки ГРП, почвенный покров, прилегающий к объекту, не нарушается.

Проектируемый объект (строительство газопроводов среднего и низкого давлений) находится на территории, не принадлежащей к землям природно-заповедного фонда, государственным природным заповедникам, национальным природным паркам и землям историко-культурного назначения. Незначительная часть трассы находится на границе водоохраной зоны р. Кишерка.

6.6 Восстановление и благоустройство почвенного слоя и геологической среды после завершения строительства

В соответствии с «Земельным кодексом РСФСР» предприятие, учреждение и организации при проведении строительных и других работ обязаны после окончания работ за свой счет привести нарушаемые земли и занимаемые земельные участки в состояние, пригодное для дальнейшего использования по их назначению.

Все строительные материалы, трубы, конструкции и пр. доставляются на строительную площадку в готовом виде, не требующем дополнительной доработки. Такая технология проведения строительных работ позволяет избежать отведения дополнительных площадей на сопредельных участках для хранения строительных материалов и исключает возможность захламления прилегающей территории.

По окончанию строительных работ нарушенные элементы территории приводятся в состояние, пригодное для эксплуатации (уборка мусора, ликвидация ненужных выемок и насыпей). Благоустраивается и площадка установки ГРП

Образующиеся возможные отходы (остатки труб, огарки электродов и твердые бытовые отходы), запланировано складировать в отдельных тарах (контейнерах), с дальнейшим своевременным вывозом их по мере накопления по договору со специализированными предприятиями для утилизации.

Выводы:

При строительстве газопроводов, почвенный грунт подвергается разработке в объеме 8106,0 м3. Разработанный комплекс природоохранных мероприятия позволит уменьшить негативное воздействие на почвы.

Выполнение природоохранных мероприятий позволяет избежать нарушения прилегающего к объекту почвенного покрова.

В процессе эксплуатации газовых сетей и установки газорегуляторного пункта ГРП, почвенный покров, прилегающий к объекту, не нарушится.

6.7 Воздействие и охрана растительности и животного мира

Проектируемая трасса инженерных сетей проходит по н.п. Яренск.

В период строительства газопроводов будет происходить кратковременное воздействие на растительный мир. В этот период наибольший ущерб растительности причиняет механическое воздействие транспортной и дорожностроительной техники. При эксплуатации объекта негативное воздействие на природные компоненты сведено к минимуму. Механическое воздействие на растительность на этой стадии, будет исключено. Выбросы загрязняющих веществ в атмосферу, образующиеся при эксплуатации объекта, не окажут существенного влияния на состояние растительного покрова.

В процессе использования участка не допускается загрязнение и порча земли. Участок используется строго по целевому назначению. Рекультивация нарушенных при строительстве земель также имеет целью восстановление условий обитания животных. Техногенная нагрузка на местные природные комплексы будет непродолжительной, а воздействие на животный мир - незначительным и не опасным.

Таким образом, можно сделать вывод, что при соблюдении всех природоохранных мероприятий строительство данного объекта не окажет отрицательного воздействия на условия обитания и жизнь животного мира.

6.8 Оценка шумового воздействия

Шумовое загрязнение окружающей среды является важнейшим экологическим фактором, определяющим обстановку в месте работы техники. Интенсивный шум, являясь общебиологическим раздражителем, влияет на энергетический баланс организма, вызывая глубокие разнообразные нарушения обмена веществ. В основе его механизма действия на организм, лежит изменение состояния центральной нервной системы, с последующим резким снижением слуха.

Трасса прокладки газопроводов проходит по территории жилого поселка. Шумовое воздействие ограничивается территорией строительства, кроме того, создаваемые уровни звукового давления не превышают предельно-допустимые значения. Для населенных пунктов, установленный норматив шума составляет в ночное время - 45дБА, а в дневное - 55дБА.

Инженерные сети с сооружениями и ГРП не являются источниками повышенного шума и не способны вызвать негативные последствия для здоровья персонала, населения поселков и компонентов окружающей среды.

6.9 Воздействие объекта на состояние поверхностных и подземных вод

С целью минимизации воздействия строительных работ на поверхность водосброса, технологией проведения строительных работ намечены следующие организационно-технические мероприятия:

обязательно соблюдаются границы территории, отведенной под строительство, запрещается проезд транспорта вне построенных дорог;

все строительные материалы, трубы, конструкции и пр. доставляются на строительную площадку в готовом виде, не требующем дополнительной доработки. Такая технология проведения строительных работ позволяет избежать отведения дополнительных площадей на сопредельных участках для хранения строительных материалов и исключает возможность захламления прилегающей территории;

непосредственное изъятие воды из поверхностных водоемов и сброс сточных вод в поверхностные водные объекты (на рельеф местности) исключены.

В период строительства вследствие нарушения земель, при рытье траншеи и отсыпке грунта, при атмосферных осадках, возможно образование поверхностного стока загрязненного взвешенными веществами. В то же время, интенсивность поступления взвешенных веществ, в связи со строительством, по сравнению с другими источниками (поверхностный сток с поля, существующих дорог, территорий населенных пунктов) незначителен.

Комплекс водоохранных мероприятий при строительстве позволит предупредить загрязнение поверхностных вод.

Строительство газопроводов низкого давления предполагается на весенне-летний период.

Земельный участок, где проходит трасса газопровода, незначительной частью находится в пределах водоохраной зоны р.Кишерка. В пределах водоохраной зоны запрещается:

размещение складов горюче-смазочных материалов, мест, складирования промышленных и бытовых отходов;

заправка топливом, мойка и ремонт машин;

размещение стоянок транспортных средств и пр.

Трасса газопроводов среднего и низкого давления не пересекает водные преграды.

6.10 Мероприятия по охране поверхностных и подземных вод от загрязнения и истощения

Природоохранная служба эксплуатирующей организации с привлечением специализированных организаций, имеющих лицензии на выполнение соответствующих видов работ, разрабатывает проекты нормативов предельно допустимых сбросов (ПДС) либо временно согласованных сбросов (ВСС) веществ, поступающих в водные объекты со сточными водами. ПДС (ВСС) устанавливаются с учетом предельно допустимых концентраций вредных веществ в воде в местах водопользования и ассимилирующей способности водного объекта.

Ввиду того, что в пониженных участках местности прохождении трассы газопроводов, выявлены грунтовые воды, то проектом предусмотрено устройство водоотлива. Вода из траншей отводится в специально отведенные приямки для отвода подземных вод и в случае их заполнения вывозится санкционированный водосливной полигон.

6.11 Экологический мониторинг, локализация и ликвидация аварийных ситуаций

Для выполнения широкого комплекса природоохранных и технологических задач разработана система производственного экологического мониторинга и контроля.

Мониторинг осуществляется в отношении воздуха, поверхностных и подземных вод, земель, лесов, животного мира и растений, недр, источников антропогенного воздействия на окружающую среду. Информация мониторинга фиксируется в кадастре природных ресурсов, статистических сборниках. Аналитические выводы мониторинга и кадастровой оценки состояния среды используются для выделения приоритетов эколого-ресурсной политики, информирования населения об экологической ситуации и принимаемых мерах по ее улучшению.

Для обнаружения утечек на трассе газопровода необходимо применение лазерных детекторов утечек метана, созданные на базе He-Ne лазеров, работающих на длине волны 3,3922 мкм (2948 см-1), или на базе полупроводниковых лазеров, работающих в диапазоне 1,66 мкм (6000 см-1). Все указанные лазерные газоанализаторы используют метод дифференциального поглощения и функционируют в режиме отражения излучения от топографической мишени.

Для дистанционного обследования газопровода и наземного оборудования (запорной арматуры крановых узлов, свечей, КС, промплощадок, камер запуска и приема снарядов внутритрубной дефектоскопии и т.д.) лазерный газоанализатор устанавливают на мобильном носителе (автомобиль, вертолет и т.п.).

Для проведения обследования линейной части с помощью автомобильного газоанализатора необходимо иметь возможность проезда автомобиля вблизи трассы газопровода на расстоянии 20-50 м. При наличии шоссейной или укатанной грунтовой дороги, скошенных полей, солончаков и т. п. возможно проводить обследование в движении со скоростью почти до 10 км/ч. При движении по пересеченной местности (лесные дороги, непроходимые для автомобиля ЗИЛ-131 овраги, болота, посевы и т. п.) проведение обследования в движении затруднено, и скорость обследования в этом случае минимальна (1-2 км/ч). На особо сложных для проезда участках обследование проводится при остановке автомобиля пространственным сканированием лазерного луча. Сканирование области газопровода лазерным лучом на дальность 30-120 м производится с под- или с надветренной стороны относительно трубы в зависимости от направления и скорости ветра. При скорости автомобиля 5-6 км/ч расстояние между зондирующими лазерными импульсами равно приблизительно 0,2 м, а характерные размеры облака метана составляют от нескольких до десятков метров. При выполнении этих условий и при наличии утечки лазерный луч пересечет облако метана с вероятностью близкой к 1 и на мониторе газоанализатора появится соответствующий отклик. Одним из основных признаков, подтверждающих наличие облака метана, являются флуктуации амплитуды сигнала из-за турбулентности атмосферы при неизменном положении зондирующего излучения. При обнаружении вероятного места утечки проводится дополнительное зондирование этой зоны лазерным лучом по углу места и по азимуту с различных направлений. В целом, с учетом остановок на обследование вероятных мест утечек газа на линейной части и крановых узлов с оценкой мощности при наличии утечки, средняя скорость обследования составляет около 2,5 км/ч.

При появлении на мониторе газоанализатора сигнала, превышающего флуктуации фонового уровня в два-три раза, автомобиль останавливается. Затем в стационарном положении производится сканирование местности лазерным лучом. При пересечении зондирующего излучения облака метана появляется характерный сигнал газоанализатора. После обнаружения облака метана оператор с помощью системы наведения луча лазера перемещает луч против направления ветра и находит место выхода газа на поверхность, характеризующееся значительным возрастанием амплитуды сигнала с быстрым спадом с надветренной стороны от места утечки.

В процессе нахождения места утечки оператор наблюдает на экране монитора телевизионного прицела перекрестие, которое указывает на место попадания лазерного луча на местности (видеоизображение с перекрестием непрерывно записывается на видеомагнитофон), а после нахождения места утечки второй оператор записывает координаты этого места с помощью ручной системы спутниковой привязки (GPS) и при необходимости отмечает его на местности соответствующими маркерами (при этом точность привязки составляет +1 м). По результатам проведения обследования газопровода с помощью автомобильного лазерного газоанализатора в силу регулярности проведения обследований и высокой чувствительности газоанализатора имеется возможность выдачи сертификата герметичности обследуемого участка.

В целях обеспечения готовности к действиям по локализации и ликвидации последствий аварии организация, эксплуатирующая опасный производственный объект, обязана:

планировать и осуществлять мероприятия по локализации и ликвидации последствий аварий на опасном производственном объекте;

заключать с профессиональными аварийно - спасательными службами или с профессиональными аварийно - спасательными формированиями договоры на обслуживание, а в случаях, предусмотренных законодательством Российской Федерации, создавать собственные профессиональные аварийно - спасательные службы или профессиональные аварийно - спасательные формирования, а также нештатные аварийно - спасательные формирования из числа работников;

иметь резервы финансовых средств и материальных ресурсов для локализации и ликвидации последствий аварий в соответствии с законодательством Российской Федерации;

обучать работников действиям в случае аварии или инцидента на опасном производственном объекте;

создавать системы наблюдения, оповещения, связи и поддержки действий в случае аварии и поддерживать указанные системы в пригодном к использованию состоянии.

Численность и материально - техническое оснащение аварийно - спасательных формировании и места их дислокации определяются с учетом обеспечения требования о прибытии бригады к месту аварии не более чем через 40 мин., а также нормативами, предусмотренными инструкциями по безопасности проведения работ при технической эксплуатации газового оборудования, согласованными с Ростехнадзором.

При извещении о взрыве, пожаре, загазованности помещений аварийная бригада должна выехать в течение 5 мин.

Деятельность аварийных бригад по локализации и ликвидации аварийных ситуаций должна определяться планом взаимодействия служб различных ведомств, который должен быть разработан с учетом местных условий.

Планы взаимодействия служб различных ведомств должны быть согласованы с местной администрацией.

Ответственность за составление планов, своевременность внесения в них дополнений и изменений, пересмотр и переутверждение их (не реже 1 раза в 3 года) несет главный инженер (технический руководитель) организации. Все заявки об аварийной ситуации должны регистрироваться с отметкой времени ее поступления, времени выезда и прибытия на место аварийной бригады, характера повреждения и перечнем выполненной работы.

Своевременность выполнения аварийных заявок и объем работ должны контролироваться руководителями газового хозяйства.

Аварийная бригада должна выезжать на специальной автомашине, оборудованной радиостанцией, сиреной, проблесковым маячком и укомплектованной инструментом, материалами, приборами контроля, оснасткой и приспособлениями для своевременной локализации аварийных ситуаций.

При выезде для локализации и ликвидации аварий на наружных газопроводах аварийная бригада должна иметь планшеты (маршрутные карты) или необходимую исполнительно - техническую документацию (планы газопровода с привязками, схемы сварных стыков).

Использовать аварийные машины не по назначению запрещается. Ответственность за своевременное прибытие аварийной бригады на место аварии и выполнение работ в соответствии с планом локализации и ликвидации аварий несет ее руководитель.

На поврежденный газопровод для временного устранения утечки разрешается накладывать бандаж или хомут при постоянном наблюдении за этим участком.

Засыпка подземных газопроводов с наложенными на них бандажами и хомутами запрещается.

Продолжительность эксплуатации внутреннего газопровода с бандажом, бинтом с шамотной глиной или хомутом не должна превышать одной смены.

Поврежденные сварные стыки (разрывы, трещины) должны ремонтироваться вваркой катушек длиной не менее 200 мм или установкой лепестковых муфт.

Сварные стыки с другими дефектами (шлаковые включения, непровар и поры сверх допустимых норм), а также каверны на теле трубы глубиной свыше 30% от толщины стенки могут усиливаться установкой муфт с гофрой или лепестковых с последующей их опрессовкой.

При механических повреждениях стальных подземных газопроводов со смещением их относительно основного положения как по горизонтали, так и по вертикали, одновременно с проведением работ по устранению утечек газа должны вскрываться и проверяться радиографическим методом по одному ближайшему стыку в обе стороны от места повреждения.

При обнаружении в них разрывов и трещин, вызванных повреждением газопровода, должен дополнительно вскрываться и проверяться радиографическим методом следующий стык.

В случае выявления непровара, шлаковых включений, пор производится усиление сварного стыка.

В целом по рассматриваемому участку газопровода, при условии выполнения всех природоохранных мероприятий, предусмотренных решениями данного проекта, ожидаемое экологическое состояние полосы трассирования газопровода, в связи с его строительством, если и ухудшится, то незначительно.

Таким образом, предусмотренные мероприятия по охране окружающей среды позволяют сохранить экологическое равновесие в районе функционирования газопровода, а также снижают до минимума влияние отрицательных факторов на воздушную среду при эксплуатации объектов газопровода.

ЗАКЛЮЧЕНИЕ

При проектировании газопровода - отвода приняты следующие решения:

Подземная прокладка с минимальной глубиной заложения 0,8 м;

Расчётный диаметр принят 219 мм для обеспечения необходимого расхода для нужд посёлка;

При соблюдении соответствующих санитарно-гигиенических, экологических, пожарных норм и технических решений, принятых в проекте, обеспечивается безопасная эксплуатация газопровода.

При реализации проекта строительства газопровода-отвода для села появится реальный шанс перейти на более дешевый энергоресурс, что повлечёт за собой понижение тарифов на пользование тепловой энергией и горячим водоснабжением для населения. Так же для населения появится возможность использовать природный газ в бытовых нуждах (приготовление пищи).

СПИСОК ИСПОЛЬЗОВАННЫХ ИСТОЧНИКОВ

1.    Методика оценки последствий аварийных взрывов топливовоздушных смесей Утверждена постановлением Госгортехнадзора России от 26.06.01 № 25.

2.       Методические указания по проведению анализа риска опасных производственных объектов РД 03-418-01.

.        Методика прогнозирования масштабов заражения сильнодействующими и ядовитыми веществами при авариях (разрушениях) на объектах и на транспорте РД-52.04.253- 90.

.        Кончевская, М.Г. Экономическое обоснование проектируемых мероприятий: Методические указания к дипломному проектированию. - Архангельск: Изд-во Архан. гос. техн. ун-та, 2005. - 58 с.

.        Ананеков, А.Г. Эколого-экономическое управление охраной окружающей среды / А.Г. Ананеков, Г.П. Ставкин, О.П. Андреев, И.Л. Хабибуллин, С.А. Лобастова. - М.: ООО «Недра-Бизнесцентр», 2003. - 228 с.

.        Ананеков А.Г. Экологологические основы землепользования при освоении и разработке газовых и газоконденсатных месторождений Крайнего Севера / А.Г. Ананеков, Г.П. Ставкин, И.Л. Хабибуллин, С.А. Лобастова. - М.: ООО «Недра-Бизнесцентр», 2000. - 316 с.

.        Методика расчета концентраций в атмосферном воздухе вредных веществ содержащихся в выбросах предприятий (ОНД-86).

.        Методика определения выбросов загрязняющих веществ в атмосферу при сжигании топлива в котлах производительностью менее 30 тонн пара в час или менее 20 Гкал в час (НИИ Атмосфера - 99).

Похожие работы на - Проект газопровода высокого давления от ГРС с. Яренск до ГРП №1

 

Не нашли материал для своей работы?
Поможем написать уникальную работу
Без плагиата!
Без нейросетей!