Анализ общих, прикладных, правовых и экономических вопросов безопасности жизнедеятельности в условиях производства и быта

  • Вид работы:
    Контрольная работа
  • Предмет:
    Безопасность жизнедеятельности
  • Язык:
    Русский
    ,
    Формат файла:
    MS Word
    142,27 Кб
  • Опубликовано:
    2012-04-15
Вы можете узнать стоимость помощи в написании студенческой работы.
Помощь в написании работы, которую точно примут!

Анализ общих, прикладных, правовых и экономических вопросов безопасности жизнедеятельности в условиях производства и быта

Министерство образования и науки Российской Федерации

ФГБ ОУ ВПО «Волгоградский государственный технический университет» Факультет технологии пищевых производств

Кафедра «Промышленная экология и безопасность жизнедеятельности»








РЕФЕРАТ

по курсу «Безопасность жизнедеятельности»

на тему: «Анализ общих, прикладных, правовых и экономических вопросов безопасности жизнедеятельности в условиях производства и быта»


Выполнил:

студент группы ЭМ-155

Ишемгулова Кристина Эдуардовна

Проверил:

ассистент кафедры ПЭБЖ

Кудашев С.В.


Волгоград 2011

Содержание

Вопрос 1. Дайте определение ориентирующих принципов обеспечения безопасности и приведите несколько примеров их реализации

Вопрос 2. Укажите мероприятия, обеспечивающие создания оптимального микроклимата в производственных помещениях. Приведите примеры

Вопрос 3. За какие виды загрязнения окружающей среды в настоящее время взимается плата? Приведите примеры

Список использованной литературы

Вопрос 1. Дайте определение ориентирующих принципов обеспечения безопасности и приведите несколько примеров их реализации

безопасность микроклимат платеж загрязнение

Ориентирующие принципы обеспечения безопасности - это основополагающие идеи, определяющие направление поиска безопасных решений и служащие методологической и информационной базой [2,4].

Принцип гуманизации деятельности (труда)

В соответствии с законодательством РФ об охране труда признание и обеспечение приоритета жизни и здоровья работника по отношению к результатам производственной деятельности является одним из основных направлений государственной политики в области охраны труда. Принцип гуманизации труда реализуется путем освобождения человека от выполнения механических, стереотипных, тяжелых и опасных видов труда и создания комфортных и безопасных условий труда.

Принцип системного подхода

Принцип системного подхода рассматривает явления в их взаимной связи, как целостный набор или комплекс - систему. Признаком системности является структурированность системы, взаимосвязанность составляющих ее частей, подчиненность организации всей системы определенной цели.

Цель или результат, который дает система, называют системообразующим элементом. Под компонентами (элементами) системы понимаются не только материальные объекты, но и отношения и связи.

Если взаимодействие совокупности элементов дает однозначный результат, систему называют определенной, или детерминированной. Если же совокупность элементов взаимодействует так, что возможны различные результаты, систему называют неопределенной, или стохастической, причем уровень неопределенности тем выше, чем больше различных результатов может появиться. Неопределенность системы обусловливается неполным знанием и учетом элементов, а также характером взаимодействия между ними. На практике чаще всего приходится иметь дело именно с такими системами.

Различают естественные и искусственные системы. В искусственных системах результат именуют целью. Зная реальную цель системы, можно определить составляющие элементы. В обеспечении безопасности задача сводится к тому, чтобы на естественную систему, ведущую к нежелательному результату, наложить искусственную систему, ведущую к желаемой цели. При этом положительная цель достигается за счет исключения элементов естественной системы или их нейтрализации элементами искусственной системы. Пример - молниезащита.

При анализе безопасности труда рассматриваются эргатические системы, т.е. такие, в состав которых входит человек (оператор).Системный подход позволяет увидеть, как части системы взаимодействуют с другими частями, что поможет выявить причины нежелательных событий (аварий, катастроф, пожаров, травм и т.п.) и разработать предупредительные мероприятия, уменьшающие вероятность их появления.

Принцип деструкции

Принцип деструкции состоит в разрушении системы, приводящей к опасному результату, за счет исключения из нее одного или нескольких элементов. Этот принцип органически связан с принципом системности. Иллюстрацией данного принципа может служить «дерево отказов». Анализ «дерева отказов» позволяет выявить условия, минимально необходимые и достаточные для возникновения нежелательного события. Исключение одного из этих условий предотвращает опасную ситуацию. Технические способы, при помощи которых воплощается данный принцип, весьма многочисленны и основаны на технических или организационных принципах.

Принцип ликвидации опасности

Устранить, ликвидировать опасность - это самый естественный и самый прогрессивный путь при решении вопросов безопасности. Формы реализации ликвидации опасности разнообразны: изменение технологии, внедрение более безопасной техники, замена опасных веществ безопасными и т.д. Примеры реализации этого принципа будут рассмотрены в соответствующих разделах данного курса.

Принцип снижения опасности

Этот принцип реализуется путем применения малых напряжений, использования огнестойких масел в системе смазки и регулирования турбоагрегатов, снижения интенсивности возникновения разрядов статического электричества. Одним из принципов обеспечения радиационной безопасности является «принцип оптимизации» - поддержание на возможно низком и достижимом уровне с учетом экономических и социальных факторов индивидуальных доз облучения и числа облучаемых лиц при использовании любого источника ионизирующего излучения. Все эти меры направлены на повышение безопасности, но не исключают опасность полностью. Этот принцип в известном смысле носит компромиссный характер.

Принцип замены оператора

Принцип замены оператора (человека) состоит в том, чтобы функции оператора передать промышленным роботам, либо изменить технологический процесс, обеспечив его выполнение без участия человека. Промышленные роботы представляют собой перепрограммируемые автоматические машины, применяемые в производственном процессе для выполнения двигательных функций, аналогичных функциям человека, при перемещении предметов производства и (или) технологической оснастки.

Требуют совершенствования системы управления роботами. Именно система управления определяет гибкость «поведения» робота, возможность «обучения» его большому числу разнообразных и сложных движений. В условиях автоматизации и роботизации и достигается высокий уровень безопасности, но полностью оградить человека от опасностей не удается. Вопросы обеспечения безопасности в условиях роботизации производства с повестки дня не снимаются. Потенциальные опасности меняют свой облик, но не исчезают.

Принцип активности оператора

Этот принцип является дополнением к рассмотренному ранее принципу замены оператора. В случаях, не сводящихся к типовым, в критических ситуациях именно человек (оператор) может найти эвристическое решение, основанное скорее на интуиции и предвидении, нежели на строго формальных методах.

Принцип классификации

Классификация - распределение тех или иных объектов по классам в зависимости от их общих признаков с учетом закономерных связей между классами. Классификация позволяет ориентироваться в многообразии объектов и является источником знания о них.

Принцип нормирования негативных последствий.

Принцип нормирования состоит в регламентации условий, соблюдение которых обеспечивает заданный уровень безопасности. Необходимость нормирования обусловливается тем, что достичь абсолютную безопасность практически невозможно.

Принцип несовместимости.

Принцип несовместимости заключается в пространственном и временном разделении объектов веществ, материалов, оборудования, помещений, людей. Оно основано на учете природы их взаимодействия с позиций безопасности. Такое разделение преследует цель исключить возникновение опасных ситуаций, порождаемых взаимодействием объектов.

Таким образом, ориентирующие принципы направлены на поиск, воплощение решений, которые являются методологической и информационной основой безопасности человека в его деятельности. По структуре, значимости их можно разделить на группы, отражающие определенные свойства объекта с которым взаимодействует человек.

Вопрос 2. Укажите мероприятия, обеспечивающие создания оптимального микроклимата в производственных помещениях. Приведите примеры

Для создания оптимального производственного микроклимата осуществляется с использованием технологических, санитарно-технических и медико-профилактических мероприятий. В профилактике вредного влияния высоких температур инфракрасного излучения ведущая роль принадлежит технологическим мероприятиям: замена старых и внедрение новых технологических процессов и оборудования, автоматизация и механизация процессов, дистанционное управление.

К группе санитарно-технических мероприятий относятся средства локализации тепловыделений и теплоизоляции, направленные на снижение интенсивности теплового излучения и тепловыделений от оборудования. Эффективными средствами снижения тепловыделений являются покрытие нагревающихся поверхностей и парогазотрубопроводов теплоизоляционными материалами (стекловата, асбестовая мастика, асботермит и др.); герметизация оборудования; применение отражательных, теплопоглотительных и теплоотводящих экранов; устройство вентиляционных систем; использование индивидуальных средств защиты.

К медико-профилактическим мероприятиям относятся: организация рационального режима труда и отдыха; обеспечение питьевого режима; повышение устойчивости к высоким температурам путем использования фармакологических средств (прием дибазола, аскорбиновой кислоты, глюкозы), вдыхания кислорода; прохождение предварительных при поступлении на работу и периодических медицинских осмотров [1,2,4].

Мероприятия по профилактике неблагоприятного воздействия холода должны предусматривать задержку тепла - предупреждение выхолаживания производственных помещений, подбор рациональных режимов труда и отдыха, использование средств индивидуальной защиты, а также мероприятия по повышению защитных сил организма. Для работающих длительное время на холоде людей предусмотрены социально оборудованные помещения для периодического отогрева. Источники повышенного влаговыделения с открытой поверхностью испарением (ванны, красильные и промывочные аппараты и другие емкости с водой и растворами) снабжают крышками или оборудуют местными отсосами.

Воздушное душирование применяют в горячих цехах на рабочих местах. Воздушный душ представляет собой направленный на рабочего поток воздуха, его действие основано на увеличении отдачи тепла человека при возрастании скорости обдувающего воздуха. Скорость обдува регламентирована СН 245-71 «Санитарные нормы проектирования промышленных предприятий» и составляет от 1 до 35 м/с в зависимости от интенсивности теплового облучения.

Воздушные занавесы используют для ограничения поступления холодного воздуха в помещение через часто открываемые двери и ворота. Воздух попадает через выпускные щели, максимально приближенные к плоскости проема. Завеса может быть и воздушно-тепловой, если воздух пред подачей нагревают.

Отопление. Система отопления может быть паровой, водяной, воздушной, совмещенной и кондиционированной.

Выбор системы отопления, а также допустимой температуры теплоносителя в системе отопления осуществляется в соответствии с категорией производства по взрывопожарной и пожарной опасности (СНиП 2.04.05-91 «Отопление, вентиляция, кондиционирование»).

Выбор системы отопления и параметров теплоносителя следует производить с учетом тепловой инерции ограждающих конструкций, характера и назначения зданий. При устройстве системы отопления потери теплоты должны составлять не более 10% от общего расхода ее на отопление.

Системы отопления должны: предусматривать равномерное нагревание воздуха помещения; быть безопасными в отношении взрыва и пожара и увязанными с системами вентиляции; обеспечивать уровень шума в пределах допустимых норм и минимально загрязнять вредными выделениями и неприятными запахами воздух помещений; быть удобными в эксплуатации и ремонте.

Температура теплоносителя в помещениях, относящихся к производствам категорий А, Б и В, не должна превышать 80% от предельной температуры самовоспламенения газов. Паров пыли, если возможно соприкосновение с горячими поверхностями оборудования и трубопроводов систем отопления, размещенными внутри рабочих помещений.

Вентиляция. Вентиляция - это организованный воздухообмен, регламентируемый СНиП 41-01-2003 (СНиП - Строительные нормы и правила) «Вентиляция. Отопление и кондиционирование» и ГОСТ 12.021-75 «Системы вентиляционные. Общие требования» [3,10,11].

Обеспечение нормальных метеорологических условий и чистоты воздуха на рабочих местах в значительной степени зависит от правильно организованной системы вентиляции [2,8].

Общие требования к системам вентиляции, кондиционирования воздуха и воздушного отопления производственных зданий и сооружений определены в СНиП 2.04.05 «Отопление, вентиляция, кондиционирование». Основное требование состоит в том, чтобы вентиляционные системы обеспечивали на рабочих местах, в производственной и обслуживаемых зонах помещений метеорологические условия и чистоту воздушной среды, соответствующие действующим санитарным нормам. Технические решения при проектировании вентиляционных систем, а так же требования, предъявляемые к ним при сооружении и эксплуатации, должны соответствовать строительным нормам и правилам.

По способу организации воздухообмена системы вентиляция разделяются на общеобменные, местные и комбинированные.

В общеобменных системах вентиляции смена воздуха происходит во всем объеме помещения, и их в основном применяют в производственных помещениях с небольшим и равномерным выделением вредных веществ.

Местные системы вентиляции предназначены для удаления вредных выделений (газов, паров, пыли, избыточной теплоты) в местах их непосредственного образования с последующим удалением из помещения. На устройство и эксплуатацию местной вентиляции требуется значительно меньше затрат.

Комбинированная вентиляция предусматривает одновременную работу местной и общеобменной систем.

В зависимости от способа перемещения воздуха вентиляция может быть естественной и механической. При естественной вентиляции воздух перемешается под влиянием естественных факторов - теплового напора или действия ветра. При механической вентиляции воздух направляют с помощью вентиляторов, эжекторов и т.д. сочетание естественной и искусственной вентиляции образует смешанную систему вентиляции.

Во всех помещениях должна быть естественная вентиляция. Естественное движение воздуха в помещении происходит вследствие перепада его плотности вне и внутри помещения (тепловое давление), а также перепада давления наружного воздуха с наветренной и подветренной сторон здания.

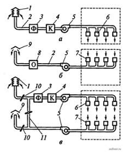
Рис. 1. Схема естественной вентиляции

При использовании механической вентиляции, в отличие от естественной, приточный воздух можно предварительно очищать, нагревать, охлаждать или увлажнять, а выбрасываемый в окружающую среду загрязнённый воздух - очищать. Кроме того, воздух можно подавать по воздуховодам в любую зону помещения или удалять его из мест наиболее интенсивного образования вредных веществ. Однако механическая вентиляция имеет недостатки, к которым следует отнести необходимость звукоизоляции, значительную стоимость сооружения и эксплуатации, а также большую энергоемкость.

Система приточно-вытяжной обменной механической вентиляции состоит из двух отдельных установок - через одну подают чистый воздух, а через другую - удаляют загрязненный поток.

Установка механической приточной вентиляции (рис. 2, а) обычно состоит из воздухозаборного устройства (воздухоприемника) 1, устанавливаемого снаружи здания в месте наименьшей загрязненности; воздуховодов 2, по которым воздух подается в помещение; фильтров 3, служащих для очистки воздуха от пыли; калориферов 4, в которых воздух подогревается до необходимой температуры; вентилятора 5; приточных отверстий или насадок 6, через которые воздух попадает в помещение, и регулирующих устройств, которые устанавливают в воздухоприемном устройстве и на отверстиях воздуховодов.

Установка механической вытяжной вентиляции (рис. 2, б) обычно состоит из вытяжных отверстий, решеток или насадок 7; вентилятора 5; воздуховодов 2; устройства 8 для очистки воздуха от пыли (газов) и устройства 9 для выброса воздуха (вытяжной шахты), которое должно быть расположено на 1... 1,5 м выше конька крыши [4,7,12].

Рис. 2. Схема механической приточно-вытяжной вентиляции

а - приточной, б - вытяжной, в - приточно-вытяжной с рециркуляцией: 1 - воздухоприемник, 2 - воздуховод, 3 - фильтр, 4 - калорифер, 5 - вентилятор, 6 - приточное отверстие (насадка), 7 - вытяжная решетка или насадка, 8 - устройство очистки воздуха от пыли, 9 - устройство для выброса воздуха (вытяжная шахта), 10 - заслонки для регулирования притока и вытяжки воздуха, 11 - рециркуляционный воздухопровод

Кондиционирование воздуха. Обычные системы вентиляции не способны поддерживать сразу все параметры воздуха в пределах, обеспечивающих комфортные условия в зонах пребывания людей. Эту задачу выполняет кондиционирование, которое является наиболее совершенным видом механической вентиляции и автоматически поддерживает микроклимат на рабочем месте независимо от наружных условий. В общем случае под кондиционированием подразумевается нагревание или охлаждение, увлажнение или осушка воздуха и очистка его от пыли. Иногда требуется, кроме того. Ионизировать воздух, исключить неприятные запахи или добавить приятные для обоняния человека запахи. Различают системы комфортного кондиционирования, обеспечивающие в помещении постоянные комфортные условия для человека, и системы технологического кондиционирования, предназначенные для поддержания в производственном помещении требуемых технологическим процессом условий. Для этого используют различные типы кондиционеров.

Кондиционирование требует больших затрат по сравнению с обычной вентиляцией, однако эти затраты окупаются за счет повышения производительности труда и снижения заболеваемости [2,5].

Таким образом, несмотря на большое значение вентиляции как фактора оздоровления условий труда, ее возможности не безграничны, и необходимо наряду с вентиляцией использовать меры технического порядка, уменьшающего выделение вредных веществ и чрезмерного количества теплоты. В связи с тем, что микроклимат на рабочем месте может существенно влиять на работоспособность и самочувствие человека, необходим постоянный контроль за параметрами среды.

Вопрос 3. За какие виды загрязнения окружающей среды в настоящее время взимается плата? Приведите примеры

Государство разрабатывает ряд специальных мер, направленных на охрану и восстановление окружающей среды.

Одной из таких мер является установление административной ответственности за правонарушения в области охраны окружающей среды и природопользования. Такая ответственность установлена главой 8 Кодекса Российской Федерации об административных правонарушениях. Однако помимо административной ответственности в качестве метода экономического регулирования в области охраны окружающей среды является установление платы за негативное воздействие на окружающую среду. Плата за негативное воздействие на окружающую среду установлена Федеральным законом от 10 января 2002 года №7-ФЗ "Об охране окружающей среды" (Далее Закон №7-ФЗ), являющимся основным нормативным документом, регулирующим вопросы охраны окружающей среды в России.

В соответствии со статьей 16 Закона №7-ФЗ к видам негативного воздействия на окружающую среду относятся: выбросы в атмосферный воздух загрязняющих и иных веществ; сбросы загрязняющих веществ, иных веществ и микроорганизмов в поверхностные водные объекты, подземные водные объекты и на водосборные площади; загрязнение недр, почв; размещение отходов производства и потребления; загрязнение окружающей среды шумом, теплом, электромагнитными, ионизирующими и другими видами физических воздействий; иные виды негативного воздействия на окружающую среду [7,12].

В соответствии со статьей 16 Закона №7-ФЗ негативное воздействие на окружающую среду является платным. Заметим, что плату за загрязнение окружающей среды, часто еще называют экологическим платежом.

Плата за использование природных ресурсов установлена Законом РФ "Об охране окружающей природной среды" от 10.01.2002 N 7-ФЗ в 1991 г. (ст. 20.) Плата взимается за выбросы и сбросы загрязняющих веществ, размещение отходов и другие виды загрязнения. Плата за загрязнения окружающей природной среды относится к обязательным платежам. Плательщиками указанной платы являются предприятия, учреждения, организации, юридические и физические лица, осуществляющие любые виды деятельности на территории Российской Федерации, связанные с природопользованием.

Порядок исчисления и применения нормативов платы определяется Правительством РФ и производится в соответствии с "Инструктивно-методическими указаниями по взиманию платы за загрязнения окружающей природной среды" (зарегистрировано в Минюсте РФ 24 марта 1993 г. №190 [1,3].

Действующими нормативными актами предусмотрена уплата нескольких видов экологических платежей.

К ним относятся:

·    плата за выбросы загрязняющих веществ (в том числе от стационарных и передвижных источников);

·              плата за сбросы загрязняющих веществ в водные объекты;

·              плата за размещение отходов;

·              плата за другие виды вредного воздействия на окружающую среду.

Определение конкретных размеров указанных платежей зависит от объема выброса (сброса) загрязняющего вещества и объема размещенных отходов (далее по тексту загрязнение). При этом следует иметь в виду, что базовые нормативы платы и конкретные ставки платы, устанавливаемые на их основании в регионах, определены не только по видам загрязняющих веществ, но и в зависимости от того, произошло загрязнение в пределах установленных норм или с их превышением. Установлены два вида базовых нормативов платы по каждому виду загрязняющего вещества (отхода) с учетом степени вредного воздействия и опасности для окружающей природной среды и здоровья населения:

а) за выбросы, сбросы загрязняющих веществ, размещение отходов, другие виды вредного воздействия в пределах допустимых нормативов;

б) за выбросы, сбросы загрязняющих веществ, размещение отходов, другие виды вредного воздействия в пределах установленных лимитов (временно согласованных нормативов) [6,7].

Таким образом, основная цель экологических платежей - не пополнение государственного бюджета, а стимулирование плательщика к позитивному, с точки зрения охраны окружающей среды, поведению. Экологические налоги всегда поступают в бюджеты. В соответствии с Законом РФ «Об охране окружающей природной среды» 10% общей суммы эмиссионных платежей направляется федеральный бюджет и расходуется на содержание органов экологического контроля. Оставшиеся 90% перечисляются в экологические фонды (местные, региональные, федеральный) и используются для финансирования природоохранных мероприятий и экологических программ.

Список использованной литературы

1.  Пилипенко, В.Ф. Безопасность: теория, парадигма, концепция, культура. Словарь-справочник / В.Ф. Пилипенко. - М.: ПЕР СЭ, 2010. - 160 с.

2.       Маринина, Л.К. Безопасность труда в химической промышленности / Л.К. Маринина [и др.] / Под. ред. Л.К. Марининой. - М.: Издательский центр «Академия», 2010. - 528 с.

.        Арустамов, Э.А. Безопасность жизнедеятельности / Э.А. Арустамов [и др.] / Под ред. Э.А. Арустамова. - М.: Издательско-торговая компания «Дашко и Ко», 2011. - 476 с.

.        Белов, С.В. Безопасность жизнедеятельности / С.В. Белов [и др.] / Под ред. С.В. Белова. - М.: «Высшая школа», 2010. - 616 с.

.        Занько, Н.Г. Безопасность жизнедеятельности / Н.Г. Занько, К.Р. Малаян, О.Н. Русак / Под ред. О.Н. Русака. - СПб.: Изд-во «Лань», 2010. - 672 с.

.        Микрюков В.Ю. Безопасность жизнедеятельности: Уч./ В.Ю. Микрюков. - Изд. 2-е. - Феникс, 2007: ил. - 557 с.

.        Маринина, Л.К. Общие вопросы охраны труда / Л. К. Маринина [и др.]. - М.: РХТУ им. Д.И. Менделеева, 2010. - 76 с.

.        Грачев, Н.Н. Защита человека от опасных излучений / Н.Н. Грачев, Л.О. Мырова - М.: БИНОМ. Лаборатория знаний, 2010. - 317 с.

.        Темняков, Б.С. Обучение тактике и методам обеспечения личной безопасности. Учебное пособие / Б.С. Темняков. - М.: МПСИ, 2010. - 400 с.

10. Раздольный, А.А. Безопасность производственной деятельности: учеб. пособие / А.А. Раздольный. - М.: ИНФРА-М, 2010. - 208 с.

11.     Сычев, Ю.Н. Безопасность жизнедеятельности: Учебно-методич. комплекс / Ю.Н. Сычев. - М.: Изд. центр ЕАОИ, 2011.- 311 с.

Похожие работы на - Анализ общих, прикладных, правовых и экономических вопросов безопасности жизнедеятельности в условиях производства и быта

 

Не нашли материал для своей работы?
Поможем написать уникальную работу
Без плагиата!
Без нейросетей!