Использование межпредметных связей при изучении композиционных электроактивных материалов в курсе магистратуры
Содержание
Введение
Глава1. Функциональные электроактивные материалы в содержании
учебного процесса магистратуры ХФ
1.1 Электроактивные материалы, их роль и место в практической
деятельности
Пьезоэлектрические свойства полимеров
Пьезоэффект в полимерах
Статистические методы исследования
1.2 В содержании множества дисциплин различных специальностей и
направлений ХФ функциональным композиционным материалам стало отводиться, хоть
какое то значимое время только в последние 10 лет
Глава 2.
2.1 Перед началом лекции краткий опрос в виде тестов, для выяснения
исходного состояния знаний
Электретные свойства полимеров
Распределение зарядов по поверхности
Распределение зарядов в объеме
Пьезоэлектрические свойства полимеров
Пьезоэффект в полимерах
Динамические методы исследования
Пироэлектрические свойства полимеров
Введение
Актуальность темы обусловлена тем, что нашем факультете
изучаемые специальные курсы, в большинстве своем носят ярко выраженный
химический характер, по крайней мере, в исполнении наших педагогов.
Специфика профессии инженера-эколога предполагает хорошие
знания не только по собственным экологическим дисциплинам, но и
материаловедческого характера, а в этом направлении изучается несколько хороших
дисциплин. Одна из которых "материаловедение", преподаваемый на
младших курсах. Получение знаний об их структуре, составе, свойствах, и
особенностях. Практическое использование предполагает широкое применение (и
установление) межпредметных связей.
Поэтому, цель настоящей работы, установление и использование
межпредметных связей при изучении композиционных электроактивных материалов в
курсе магистратуры ХФ.
Гипотеза состоит в предположении, что такой подход позволит
сформировать у будущих магистров более широкий кругозор, сделать знания по
дисциплине более предметными и более высокого качества.
Объект исследования - учебно-воспитательная работа или
процесс изучения электроактивных материалов в рамках дисциплины
"физико-химические основы создания композиционных материалов" в
магистратуре (1 год обучения ХФ направления ЗОС).
Предмет исследования - возможность усовершенствования
учебно-воспитательной работы при изучении данного специального курса. Отметим,
что вопрос исследования материала в общем неотделим от проблематики дисциплин
изучаемых будущими экологами. Однако, специфика этих дисциплин сводится к
общепринятым методам экологического мониторинга. В данном же случае, речь идет
о способах создания материала, подбора рецептуры и рекомендации к практическому
использованию будущих изделий в различных отраслях деятельности, в том числе, в
экологии.
Работа состоит из: введения, литературного обзора, включающий
анализ объема и качества сведений о функциональных композитах в программах и
учебно-методических пособиях, рекомендуемых для будущих магистров ХФ. На основе
этого анализа приводится подбор описаний рецептуры, технологий получения
электроактивных материалов. Во 2 главе приводится собственная методическая
разработка, план-конспект лекционного и семинарского занятий. Основное
содержание этих занятий сводится к изучению со студентами таких понятий, как
электретное состояние, пьезо и пироэлектричество, их связи с особенностями
химического строения и структуры компонентов композиционного материала. Т.о.,
мы имеем дело с необходимостью установления и использования связей между
химией, физикой, технологией, для получения студентами прочных знаний по
изучаемому предмету. Такой подход необходим и при подготовке будущей
специальности инженера по разработке таких материалов. В нашем случае, интерес
к такой методике обусловлен еще и тем, что подобные материалы сейчас (и
особенно в перспективе) широко используется в том числе и в решении
экологических задач.
Контрольные срезы знаний, призванные выяснить не только сумму
знаний по конкретным вопросам курса, но и отношение студентов к дисциплине,
теме занятий, к проблемам экологического характера и поиску путей их решения,
показали, что описанный выше подход, действительно позволяет существенно
повысить интерес студентов к взаимосвязям между созданием функциональных
композитов и решением экологических задач. Вместе с тем, выявилась проблема, не
высокий уровень знаний будущих магистров по физике, особенно в пределах
вузовской программы, не умение уверенно пользоваться технологическими приемами
и некоторыми вопросами материаловедения. Острота этих проблем снималась
наличием на базе ХФ специализированных лабораторий, по разработке полимерных
композиционных материалов и задела у научных сотрудников-преподавателей
факультета.
Глава1.
Функциональные электроактивные материалы в содержании учебного процесса
магистратуры ХФ
Данная глава посвящена рассмотрению роли и места таких
интересных в практическом отношении и широко востребованных в настоящее время
электроактивных материалов содержании обучения студентов и магистрантов ХФ.
Первая часть главы относится к собственно электроактивным
материалам, их значению в практической деятельности человека.
Второй раздел главы демонстрирует степень отражения
особенностей электроактивных материалов, в содержании различных дисциплин
старших курсов ХФ. Кроме того, цель настоящего раздела подчеркнуть важность
межпредметного характера знаний об изучаемых материалах, в том числе
композиционных.
1.1
Электроактивные материалы, их роль и место в практической деятельности
К электроактивным материалам, вообще говоря в последнее время
относятся органические, неорганические и композиционные на их основе материалы
обладающие рядом специфических свойств.
В настоящей работе, мы будем рассматривать из этого набора
свойств пьезоэлектрические свойства и пироэлектрические свойства. Оба этих
свойства предполагают возможность отклика материала на внешние воздействия,
механические и тепловые, в виде электрического сигнала. Такой эффект, в случае
механического воздействия и электрического отклика на него называется прямым
пьезоэффектом. Отклик материала на тепловое воздействие в виде электрического
отклика называется прямой пироэлектрический эффект.
физический химический композиционный материал
Рассмотрим подробнее некоторые аспекты сегодняшнего состояния
науки об электроактивных материалах.
В силу специфики научных интересов сотрудников ХФ, мы будем
рассматривать полимерные и композиционные электроактивные материалы в которых
роль полимеров достаточно высока в формировании свойств композиций. Поэтому,
изложение обзора начнем с понятия полимерные электреты.
Электрет - это диэлектрик, имеющий на
поверхности электрические заряды, длительно сохраняющиеся во времени.
Электретные свойства полимеров тесно связаны с электростатическими свойствами,
и, по существу, их можно было бы рассматривать вместе. Однако в процессе
развития науки об электретах оказалось, что для разработки электретов с
высокими параметрами теория электростатических свойств диэлектриков может быть
использована только весьма ограниченно, и наоборот именно развитие науки об
электретах внесло свой вклад в развитие представлений об электростатических
явлениях в диэлектриках. В процессе исследований электретов было найдено так
много нового, что оправдано рассмотрение электретных свойств отдельно от
электростатических, тем более, что электростатические свойства рассматриваются
преимущественно как нечто отрицательное, мешающее производственным процессам,
приводящее к пожарам, браку, а электретные - как положительные характеристики,
обусловливающие пригодность диэлектрика для изготовления изделий.
Если электростатические заряды возникают
преимущественно случайно, то электретные - в результате специальной обработки
диэлектрика. В зависимости от технологии получения существуют различные типы
электретов:
термоэлектреты получают охлаждением
предварительно нагретых диэлектриков в электрическом поле высокой напряженности
до температур ниже температуры стеклования или отверждения;
криоэлектреты - получают высушиванием
раствора диэлектрика в электрическом поле (без предварительного нагревания);
радиационные электреты - получают
облучением диэлектриков заряженными частицами (электронами, протонами), а также
нейтральными частицами или γ-излучением при
одновременном или последующем воздействии постоянного электрического поля;
короноэлектреты - получают заряжением в
коронном разряде при нагревании или без нагревания;
электроэлсктреты - получают воздействием
(без нагревания) на диэлектрик постоянного электрического поля с
напряженностью, близкой к пробивной;
хемоэлектреты - получают химическим сшиванием
(вулканизацией) полимерных диэлектриков в электрическом поле или полимеризацией
в электрическом поле;
механоэлектреты - получают прессованием
или другими способами формования полимерных образцов без воздействия
электрического поля от внешнего источника;
магнетоэлектреты - получают при
термомагнитной обработке диэлектриков бет воздействия электрического поля от
внешнего источника.
Электреты имеют на своих поверхностях
равные и противоположные заряды, однако в последнее время появились так
называемые моноэлектреты - образцы диэлектриков, имеющие равные заряды одного и
того же знака с разных сторон (рис.1. а). Стабильность электретных зарядов
обеспечивается (помимо низкой электропроводности электретных материалов и
большого времени релаксации дипольной ориентации) наличием противозарядов на
противоположной заряженной поверхности или на электродах, находящихся вблизи
заряженной поверхности. В этих случаях емкость системы резко возрастает, и
соответственно растет время релаксации τ = RC
Рис.1. Схематическое изображение
моноэлектрета (а) гетерозаряженного (б) и гомозаряженного (в) электретов
(электреты б и в - в процессе поляризации)
Электреты, получаемые после статической
электризации или трения, называют иногда "статическими электретами"
или "трибоэлектретами".
Кроме перечисленных способов получения
электретов существует еще способ заряжения с применением жидких электродов, по
которому высокое напряжение подводится с одной стороны к напыленному на
поверхность полимера металлическому электроду, а с другой - к жидкости,
омывающей противоположную поверхность. Затем жидкость сливают, поверхность
высушивают, и получается электрет с потенциалом поверхности, точно
соответствующим подаваемому напряжению.
Все электреты можно разделить на две
группы: электреты, обладающие дипольными зарядами, и электреты, обладающие
инжектированными извне зарядами. В первом случае знак заряда на поверхности
Противоположен знаку напряжения на прилегающем электроде, поэтому этот вил
зарядов называют также гетерозарядом; во втором случае знак заряда на
поверхности тот же, что и напряжение на прилегающем электроде, этот заряд
называют гомозарядом. Однако гетерозаряд может возникать не только в результате
дипольной ориентации, но и от смещения ионов в процессе поляризации.
Пьезоэлектрические
свойства полимеров
Пьезоэлектричеством называется
генерирование диэлектриками электрических зарядов при их механической
деформации (нагружении) или механическая деформация диэлектриков при приложении
внешнего электрического поля. Использование полимеров в качестве
пьезоэлектриков в настоящее время широко распространено, хотя пьезоэффект в
полимерных материалах был обнаружен относительно недавно. (Впервые он был
обнаружен в древесине в 40-х годах, но пьезоэлектрические явления в полимерных
диэлектриках наблюдали и ранее с начала века. Полимерные пьезоэлектрики с
высоким пьезоэффектом, пригодные для промышленного использования, были найдены
в конце 60-х годов.)
Определение пьезоэлектрических параметров
необходимо, в первую очередь, при разработке и поиске новых пьезоэлектрических
полимерных материалов, а также для контроля качества выпускаемых
промышленностью пьезоэлектрических полимерных пленок и композиционных
материалов.
Пьезоэффект в
полимерах
Прямой пьезоэлектрический эффект заключается в возникновении
электрических зарядов на поверхности диэлектрика и электрической поляризации
внутри него при воздействии механических нагрузок 
или деформаций δ. Обратный пьезоэлектрический эффект
заключается в возникновении деформаций диэлектрика при приложении к нему
электрической разности потенциалов.
Пьезоэффектом обладают кристаллы с определенной группой симметрии,
поликристаллические материалы, являющиеся пьезоэлектрическими текстурами, смеси
кристаллических частиц с аморфным материалом, аморфные диэлектрики с
ориентированными диполями, образующими пьезоэлектрическую текстуру.
К пьезоэлектрическим текстурам могут относиться только
ацентрические текстуры, поскольку электрическая поляризация невозможна в среде,
имеющей вектор симметрии.
Пьезоэлектрическими текстурами являются текстуры с симметрией С∞,
∞mm, D∞.
Между компонентами векторов поляризации и механических напряжений
наблюдается линейная зависимость:
P1=d111F11+d122F22+…+d121F21P2=d211F11+d222F22+…+d221F213=d311F11+d322F22+…+d321F21
где dijk - коэффициенты
пропорциональности, так называемые пьезоэлектрические модули; индекс 1-индекс
компоненты Р.2 и 3-индексы компонент F. номера индексов
соответствуют номерам осей координат.
Важно иметь представление о методах
исследования пьезоэлектрических свойств материалов. Из всего набора имеющихся
методов, рассмотрим простейшие из них.
Статистические
методы исследования
Статический пьезомодуль при сжатии.
Пьезомодуль при одноосном сжатии d33 определяют по ГОСТ 12370 80. Сущность метода
заключается в измерении заряда, возникающего на поверхности образца при
приложении (или снятии) статической нагрузки.
Схема установки для проведения измерений
приведена на рис.2. Она состоит из баллистического гальванометра, образцового
конденсатора и электродного устройства, в котором между электродами помещают
образец цилиндрической формы толщиной 1-3 мм и диаметром 10-15 мм. Электроды
наносятся предварительно на поверхность образцов припрессовыванием фольги,
напылением металлов в вакууме, в виде электропроводящей краски, пасты.
Гальванометр снабжен шунтом, с помощью которого можно регулировать
чувствительность установки. Емкость С0 значительно превышает емкость
образца и соединительных проводов. Для достижения равномерного распределения
нагрузки по поверхности образца рекомендуется верхний электрод делать плавающим
или в виде трубки, набитой мелкими шариками и обтянутой снаружи фольгой. Груз
накладывают на образец (или снимают) внезапно. Заряд, возникающий на образце,
определяют по числу делений, на которое отклонится световой луч от зеркала
баллистического гальванометра; шкалу гальванометра предварительно градуируют в
Кл/делений. Метод особенно пригоден для определения зарядов при деформации
пьезоэлектриков, обладающих довольно значительной проводимостью.
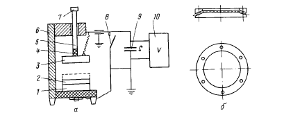
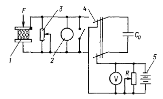
Рис.2. Схема установки для измерения
пьезомодуля d33 c помощью баллистического гальванометра: 1 - образец с
электродами, 2 - баллистический гальванометр; 3-шунт гальванометра: 4 -
переключатель; 5 - источник постоянного напряжения; С0 - образцовый
конденсатор; V
- вольтметр; R
- потенциометр.
Модуль d33 можно измерять также с
помощью электрометров-статических вольтметров (рис.3). Сущность метода заключается
в измерении разности потенциалов на поверхности образца при статическом сжатии.
При измерениях необходимо знать емкость образца, входную емкость электрометра и
емкость соединительных проводов. Пьезомодуль рассчитывают по формуле d33=VCоб/F, если площадь электродов S равна площади, к которой
прикладывается механическая нагрузка s. Если S≠ s, то
D33=VСобs/SF. (2)
Если присоединить к установке на вход
электрометра конденсатор с известной емкостью С, значительно превышающей
емкость образца, соединительных проводов и электрометра, то емкость образца
можно не измерять, поскольку Соб ≈С.
Описанный метод пригоден для измерения
пьезомодулей полимерных образцов с высоким электросопротивлением и без
остаточных токов. Если же имеется остаточный ток (после поляризации), то
измеряют изменение напряжения ∆Vза время ∆t при снятии нагрузки и
при нагружении, затем оба значения усредняют и подставляют в (2).
Включение в измерительную цепь
конденсатора большой емкости повышает постоянную времени прибора, что может оказаться
нежелательным.
d31=VCоб s/Smg (3)
где V - разность потенциалов. Соб
- сумма емкости образца, входной емкости электрометра (вольтметра) и емкости
соединительных проводов; т приложенная нагрузка: g-ускорение свободного
падения; s-площадь поперечного сечения образца, при использовании образцов
размером 100×20×Lмм (где L-толщина) s = 20Lмм2; S-площадь электрода; (при
использовании образца, показаннго на рис.3, а. с электродами размером 40×10mmS - 4 см2); расчетная формула при этом
имеет вид:
d31 (пКл/Н)
=5,110-3 
(4)
Схема установки для определения d31приведена на рис.3a.
Образец зажимают в зажимах, к нижнему зажиму подвешивают чашку с грузом.
Контактный зажим прикрепляют к образцу так, чтобы электроды зажима
соприкасались с электродами образца; провода от контактного зажима присоединяют
к кабелю, соединяющему камеру с электрометром.
Внезапное нагружение применяют в том случае, если проводимость
образца велика. Если сопротивление образца больше 1012 Ом, то время
нагружения и разгружения значения не имеет. Если имеются разрядные токи, то
нужно проводить измерения так, как это указано в предыдущем разделе при
нагружении и разгружении, усредняя показания электрометра.
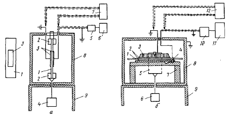
Рис.6.3 Схема установки для измерения
пьезомодулей d31 (а) и d33 (б) при статическом нагружеиии с помощью электрометра:
а (растяжение): 1-образец;
2-зажимы; 3 - электроды; 4-груз; 5 - предварительный
усилитель с динамическим конденсатором; 6-вольтметр-электрометр; 7 -
мост переменного тока для измерения емкости образца; 8-камера; 9 - металлический
столик; б (сжатие): 1-образец; 2-электроды; 3-верхний электрод; 4-металлическая
пластинка; 5-рамка; 6-груз; 7-керамический столик; 8-камера; 9 - металлический
столик; 10-предусилитель; 11-вольтметр-электрометр; 12-мост переменного
тока.
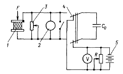
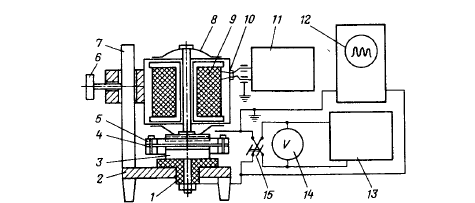
Рис.4. Схема установки для измерения
пьезомодуля dn при всестороннем сжатии
(сжатым воздухом): 1-образец; 2 - электродное устройство; 3-камера; 4
- манометр; 5 - электрометр.
Статический пьезомодуль при всестороннем
сжатии. Установка для определения статического пьезомодуля при всестороннем
сжатии показана на рис.4. Она состоит из термокриокамеры и
вольтметра-электрометра. Камера имеет герметично закрывающуюся крышку,
снабженную резиновой прокладкой, патрубок для подачи сжатого воздуха, манометр,
вводы с изоляцией из политетрафторэтилена. Электрометр соединяется с камерой
экранированным кабелем, имеющим высококачественную изоляцию из полиэтилена.
Входное сопротивление вольтметра-электрометра (ВК 2-16, В 7-30) не менее 1015
Ом.
Образец с нанесенными электродами
закрепляют в контактном зажиме и помешают в термокриокамеру. Резиновой трубкой
камеру соединяют с источником сжатого воздуха, затем подают сжатый воздух и
закрывают отверстие патрубка; при этом давление р повышается до
заданного уровня, которое фиксируют по манометру. Установившиеся показания
вольтметра-электрометра после подачи давления V1 и после сбрасывания
давления V2 фиксируют. Пьезомодуль dn (Кл/Н) вычисляют по
формуле:
dn=VCоб / 9,81104 Sp (5)
где
V=V1-V2; Со6 - суммарная емкость
образца, соединительного кабеля и входа вольтметра-электрометра: р - давление
в камере; S-площадь
электродов при использовании образцов, показанных на рис.3а, с размером
электродов S=
4 см2 расчетная формула имеет вид:
dn=0,255VCоб/p. (6)
Поскольку давление прикладывают
преимуществено к плоскости образцов (если образцы в виде пластин, пленок), то
можно полагать, что dn-это пьезомодуль при
сжатии d33 (пьезомодуль при продольной нагрузке). Однако при анализе
значений пьезомодулей следует помнить, что модуль всестороннего сжатия
(гидростатический) равен:
dn = d33-2d3l. (7)
Так же широко распространены динамические
методы.
Одним из существенных недостатков методов
исследования пьезоэлектрических свойств полимеров является то, что при
измерениях моделируются условия, которые не соответствуют реальным, так* как
полимерные пьезоэлементы используются для обнаружения и воспроизведения
сигналов при более высоких частотах (так, в микрофонах, гидрофонах фиксируются
колебания частоты 102 - 105Гц). Кроме того, при
статических испытаниях основную роль играют медленно протекающие процессы,
например поляризация Максвелла Вагнера, а также возможны локальные изменения температуры,
приводящие к пироэффекту, что вносит дополнительный вклад в измеряемый
пьезомодуль.
Простейший прибор для определения
пьезоэлектрических свойств в динамических условиях представляет собой
звукоизолированную камеру, в которой помещен генератор (динамик) и образцовый,
предварительно отградуированный, измерительный микрофон, измеряющий
интенсивность генерируемого сигнала. Рядом с микрофоном помещают измеряемый
образец пьезополимера, снабженный электродами и выводами. Фактически измеряется
чувствительность пьезоэлемента как микрофона J (в В/Па), которую затем
пересчитывают в пьезомодуль:
d=Jεε0/L (8)
где ε-диэлектрическая проницаемость материала, L-толщина образца.
В зависимости от геометрии пьезоэлемента и
камеры измеряют dnили d33 в последнем случае затем
рассчитывают d33, используя формулу (7).
Пьезомодули d31 и d32полимеров в динамическом
режиме определяют также методом вынужденных колебаний на установке, показанной
на рис.5. Установка позволяет определять не только пьезомодули, но и угол
механических потерь δ и модуль упругости Еу
при растяжении в динамических условиях.
Установка состоит из корпуса, на котором
укреплены термокамера и электродвигатель с механическим приводом, В термокамеру
помещают образец в виде полоски толщиной 0.05-1 мм и размером 10×120 мм. Камера имеет принудительную вентиляцию и обогрев, температура
в камере поддерживается автоматически.
Рис.5. Установка для определения
пьезомодуля d31 при динамическом растяжении:
-основание; 2-индукционный датчик для
измерения деформации; 3-термокрнокамера: 4 - образец; 5 - электрод на
образце; 6 - верхний (неподвижный) зажим; 7 - нижний (подвижный) зажим; 8-шток;
9-пружина; 10-эксцентрик; 11-рамка; 12-индукционный датчик для измерения
нагрузки; 13 - электродвигатель; 14 - электродвигатель
вентилятора.
Механический привод состоит из
эксцентрика, укрепленного на валу электродвигателя, каретки, перемещающейся
вверх-вниз по направляющим, двух пружин и штока, через который передастся
деформация растяжения на образец. Шток жестко соединен с нижним (подвижным)
зажимом, который по направляющим может передвигаться вверх-вниз. Образец
закрепляют в зажимах и подвергают деформации растяжения синусоидальной формы с
частотой около 20 Гц. К электродам, нанесенным на поверхность образцов, с
помощью контактного зажима прикрепляются гибкие проводники, соединенные
экранированным кабелем с входом вольтметра.
Измерение нагрузки и деформации проводят с
помощью индукционных датчиков, соединенных с верхним штоком и кареткой эксцентрика.
Величину деформации измеряют по сигналу с верхнего датчика (№ 1), сигнал с
которого совпадает по амплитуде и по фазе с деформацией образца. Сигнал с
датчика № 2 совпадает по фазе с механической нагрузкой. Сигналы с датчиков № I и № 2 подаются на избирательный
усилитель, который выделяет полезные сигналы (20 ± 5 Гц) и усиливает их до
амплитуд, необходимых для нормальной работы: после усиления сигналы подаются на
вход фазочувствительного усилителя, причем сигнал с датчика № 2 опорный, сигнал
с выхода усилителя пропорционален углу сдвига фаз 8Ы" между
механической нагрузкой и деформацией. Сигналы, пропорциональные разнице
потенциалов (от деформации образу) ∆V. углу сдвига фаз
нагрузке и деформации, полаются на ось ординат двух координатного самопишущего
потенциометра, а на ось абсцисс подается сигнал от термопары, установленной в
термокамере. После соответствующих расчетов получают температурные зависимости
пьезомодуля и тангенса угла механических потерь tg δмех
Измерение пьезомодулей d3l и d32 полимерных пьезопленок в
диапазоне частот 102-104 Гц проводят также методом
пьезоэлектрического трансформатора. На образец пленки в виде полоски наносят
электроды, один из которых разделен на две равные части поперечным зазором. На
одну половину образца подают переменное напряжение от внешнего генератора U1 при этом вследствие
механических колебаний, генерируемых в образце из-за обратного пьезоэффекта, на
второй половине образца появляется переменное напряжение U2, которое и измеряется.
По величине отношения U2/U1рассчитывают коэффициент
электромеханической связи к:
k2 =2/ (1+U1/U2) (8)
Поскольку U1>>U2, то к2≈2U2/U1.
По значению к рассчитывают
пьезомодуль:
d=k
/Ey (9)
Модуль упругости Еу рассчитывают по резонансной
частоте образца или определяют отдельно.
В ряде случаев измеряют не только суммарный пьезомодуль, но и
комплексный d* и его компоненты:
d*=d′-jd″ (10)
Поскольку полимеры обладают вязкоэластическими свойствами, всегда
наблюдается сдвиг фаз между приложенным напряжением и деформацией, который
характеризуется углом δn: tgδn = d"/d'.
Схема установки для определения
частотно-температурных зависимостей d' н d" приведена на рис.6.
Образец в виде пленки зажимают между двумя зажимами, один из которых приводят в
возвратно-поступательное движение с частотой 0,1 - 110 Гц. В результате
растяжения образца на его поверхности появляется разность потенциалов,
синусоидально зависящая от времени. Напряжение измеряется на электродах,
приклеенных к поверхности образца. Сигнал компенсируется подачей напряжения
обратной полярности через конденсаторы известной емкости. Компенсирующее
напряжение подастся от катушки индуктивности, связанной с генератором
колебаний, так что это напряжение пропорционально деформации. Фазу и величину
компенсирующего напряжения подбирают с помощью двух аттенюаторов. Напряжение,
получающееся в результате суперпозиции сигнала с образца и компенсирующею
сигнала, усиливается и поступает на фазочувствительные детекторы. Напряжение,
измеряемое на одном детекторе, находится в фазе с приводом деформаций,
напряжение, измеряемое другим детектором, сдвинуто по фазе относительно первого
на 900 (π/2). Оба сигнала
фиксируются на осях х и у осциллографа, и компенсация
осуществляется, когда изображение сведено в точку. В этих условиях определяют
абсолютное значение и фазовый угол компенсирующего напряжения, из которых
отношение поляризации к приложенному напряжению и фазовый угол между ними можно
определить, умножив на емкость С. Измерительная ячейка, где помещается
измеряемый образец, имеет термостатирование в диапазоне температур от - 150 до
200 0С
Для ориентированных
пьезоэлектрических пленок на основе ПВДФ со спонтанной поляризацией
температурно-частотные зависимости d* определяются преимущественно электрострикцией, ее
связью с диэлектрической и механической релаксацией полимеров.
Остаточную поляризацию полимерных
пьезоэлектриков определяют по гистерезисным петлям е31 - Е,
а также по пьезоэффекту при максимальных механических нагрузках (вплоть до
разрушения). По гистерезисным петлям определяют также коэрцитивное поле.
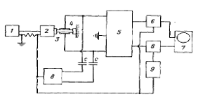
Рис.6. Схема установки для определения пьезоэлектрических
параметров пьезополимерных пленок:
-генератор; 2-механические привод; 3 - образец;
4-электроды; 5-усилитель; 6 - фазочувствительные
детекторы: 7-ндикатор нуля (осциллограф); 8-устройство для создания
компенсирующего сигнала; 9-устройство для сдвига фаты на π/2.
1.2 В
содержании множества дисциплин различных специальностей и направлений ХФ
функциональным композиционным материалам стало отводиться, хоть какое то
значимое время только в последние 10 лет
В основном, содержание, как академических, так и специальных
курсов сводилось к классическому рассмотрению структуры и свойств полимерных
материалов и неорганических материалов. Композиционные материалы или
специфические свойства однокомпонентных структур рассматриваются в очень малом
объеме, что касается полимеров, то изучение специфических свойств полимеров
хорошо и достаточно полно описано в специальной литературе относящимся к нуждам
узкоспециализированных ученных разработчиков и других научных сотрудников.
Учебники и другие пособия методического плана, так же ориентированы на узкую
специализацию будущих инженеров химиков, физиков и т.д. Пример литературы:
Киттель Ч. Введение в физику твердого тела; Годовский Ю.К. Теплофизика
полимеров; Перепечко М.И. Свойства полимеров при низких температурах; Бакнелл
К.Б. Ударопрочные пластики; Малкин А.Я. Методы измерения ме-ханических свойств
полимеров; Бессонов М.И., Котон М.М. Полимиды - класс термостойких полимеров;
Кильсен Л. Механические свойства полимеров и полимерных композиций; Уорд И.
Механические свойства твердых полимеров.
Название кратких или специальных курсов на ХФ, говорят сами
за себя, структура и свойства полимеров и методы исследования физико-химических
свойств высокомолекулярных соединений, которые в наибольшей степени
удовлетворяют требованием соответствия содержания в смысле преемственности т.е.
возможности установления взаимосвязи содержаний этих курсов. Здесь так же в
максимальной степени удовлетворено требование о межпредметном характере знаний
получаемых при изучении этих специальных дисциплин.
Другим комплексам дисциплин, где ярко выражен межпредметный
характер является аналитическая химия. Однако если будущий выпускник ХФ не
собирается быть химиком аналитиком, то изучение аналитической химии у обычных
студентов, например экологов, заканчивается одним семестром на 2 курсе. И это
при том, что будущая профессиональная деятельность выпускников ХФ экологов в
очень большой степени связана именно со знаниями, полученными при изучении
этого раздела химии. Не претендуя на всеобъемлющий охват при анализе проблемы
наличия или отсутствия межпредметного характера получаемых при изучении данного
курса дисциплины. Отметим, что такая проблема есть, и сегодня и она
усугубляется тем обстоятельством, сто в последнее время резко сокращено время
как на изучение дисциплины вообще, так и её экспериментальной (лабораторной
работы) части. Кстати, это относится не только к ХФ, а ко всем техническим
направлениям вуза.
В этой связи отметим пример удачного на наш взгляд сочетания,
в содержании учебного пособия, фактов сведений информации как специфического,
так и межпредметного характера. Это различные издания Тагер А.А. Физика химия
полимеров. В ней удачно сочетается изложение глав для химиков-синтетиков так и
для тех, кто специализируется на изучении специфических свойств полимерных
материалов и композиций на их основе. В книге Тагер А.А. представлены сведения
о структуре и свойствах полимерных материалов, так же в большом объеме дана
информация о методах исследования класич. Для занимающихся синтезом и технологией
переработки и методов отражающих большую роль физических процессов и методик
так и последние достижения науки о свойствах и способах создания
высокоэффективных материалов специального назначения.
Рассмотрим, например разделы в некоторой степени относящиеся
к настоящей работе.
Так, глава 17 посвящена смесям полимеров. Несмотря на
огромное число новых синтезированных полимеров, в настоящее время в
промышленности в качестве сырья для изготовления различных изделий все большее
применение находят смеси или сплавы двух или большего числа полимеров.
Получение таких смесей позволяет улучшить свойства индивидуальных полимеров,
например, повысить прочность каучуков при добавлении к ним более прочных
пластических масс или улучшить эластические свойства последних при добавлении к
ним каучуков. В последнем случае каучуки играют роль высокомолекулярных
пластификаторов.
Для достижения требуемого комплекса ценных свойств смешивают
полимеры, различающиеся по свойствам и химическому строению. Смешение
производят в различных смесителях при больших механических воздействиях. При
этом часто получают неоднородные смеси, легко разламывающиеся или
расслаивающиеся на чешуйки. Механические свойства таких смесей хуже, чем
индивидуальных полимеров. Для полимеров, не способных образовывать однородные
смеси, технологами был введен термин несовместимость. Полимеры,
образующие однородные смеси с хорошими механическими свойствами, назвали совместимыми.
Термин "совместимость", как уже было сказано выше
(см. гл.16), применительно к системе полимер-пластификатор отражает взаимную
растворимость компонентов, образование ими истинного раствора. По аналогии с
этим под термодинамической совместимостью двух полимеров следует понимать
образование истинного раствора одного полимера в другом. Однако определение
взаимной растворимости двух-твердых полимеров - задача непростая. Это было
сделано сравнительно недавно и для очень немногих пар полимеров. Широко
применяемыми методами оценки совместимости полимеров являются изучение их
растворов и определение температур стеклования смесей.
Добри и Бойер-Ковеноки был предложен метод оценки
совместимости полимеров по поведению их растворов. С этой целью прозрачные
растворы двух полимеров в одном растворителе сливают. Если при этом раствор
остается прозрачным, то полимеры считают совместимыми; если раствор мутнеет и
расслаивается на два слоя, каждый из которых содержит в основном один из
полимеров, то полимеры считают несовместимыми. Расслоение растворов можно
наблюдать не при любых концентрациях. Так, разбавленные растворы не
расслаиваются вообще. В очень концентрированных растворах расслоение
практически не происходит вследствие их очень большой вязкости. Поэтому
выбирают некоторый средний интервал концентрации порядка 5%, чтобы время,
необходимое для образования двух слоев, было не слишком большим.
С помощью этого метода изучили 35 пар полимеров. На основании
этих исследований был сделан вывод, что совместимость полимеров - исключение, а
несовместимость - правило.
Так же эта глава рассматривает, определение взаимной
растворимости полимеров (взаимную растворимость полимеров в конденсированном
состоянии определяют путем измерения оптической плотности пленок, полученных из
растворов двух полимеров в общем растворителе после испарения последнего. Если
полимеры взаимно растворимы, то пленки прозрачны, если нерастворимы, то в них
образуются частицы второй фазы, являющиеся центрами рассеяния света);
определение температур стеклования смесей полимеров (во многих работах были
определены температуры стеклования систем полимер-полимер. Для этой цели
используют:
метод механических потерь;
метод диэлектрических потерь;
метод измерения теплоемкости (сканирующая калориметрия);
метод определения коэффициентов преломления;
дилатометрия;
радиотермолюминесценция.
Так же в этой главе широко рассматриваются: структуры смесей
полимеров, механические свойства смесей полимеров, термодинамика смешения
полимеров, свободная энергия смешения, энтальпия смешения, энтропия смешения,
термодинамическая устойчивость некоторых систем полимер-полимер, фазовое
равновесие в системах полимер-полимер, трехкомпонентные системы, бинарные
системы.
Глава 18 посвящена специальным веществам - полимерным
сорбентам, которые представляют интерес для экологов, по вполне известным
причинам. Отметим, что причина создания сорбентов, в том числе полимерных,
представляющих научно-практический интерес для студентов и преподавателей двух
кафедр нашего факультета.
Полимеры находят все большее применение в качестве сорбентов,
т.е. материалов, поглощающих, или сорбирующих ионы и молекулы различных веществ
из разных сред. Это, в частности, разнообразные ионообменные смолы, а также
полимерные сорбенты, не содержащие ионогенных групп, применяющиеся в гель -
хроматографии. Процессы сорбции играют большую роль при взаимодействии полимерных
волокон с различными реагентами и красителями, в процессе газо- и паро-
проницаемости полимерных материалов и т.д. Поэтому целесообразно рассмотреть
особенности полимерных сорбентов, в том числе ионообменных смол, закономерности
формирования пористой структуры полимеров и методы ее оценки, механизм сорбции
низкомолекулярных жидкостей и паров на полимерах.
) Тело может поглощать вещество только поверхностью - как
внешней, так и внутренней (последняя очень велика у так называемых пористых
твердых тел); такой процесс называется адсорбцией. Поглощающее тело
называется адсорбентов, а поглощающееся вещество - адсорбатом или
адсорбтивом. Этот процесс делится на физическую адсорбцию, когда между
адсорбатом и адсорбентом действуют силы Ван-дер-Ваальса, и на хемосорбцию,
когда между ними происходят химические реакции;
) Молекулы сорбирующегося вещества проникают внутрь твердого
тела, в силовое поле, существующее между его атомами, ионами или молекулами во
всем объеме; при этом также могут протекать два процесса: газ или пар может
растворяться в твердом теле или образовывать с ним химическое соединение.
В большинстве случаев происходят одновременно процессы
адсорбции и растворения, объединяемые общим термином сорбция. Поглощающее
тело называют сорбентом, а поглощающееся или растворяющееся вещество -
сорбатом.
Методы формирования пористой структуры полимеров. Понятия
"пористость" и "поры" возникли при рассмотрении твердых
минеральных сорбентов и катализаторов. "Пористость - это свойство твердых
тел, обусловленное их структурой и выражающееся в наличии пустых промежутков
(пор) между отдельными зернами, слоями, кристаллами и другими элементами грубой
структуры твердого тела". Это определение подчеркивает, что понятие
"пористость" применимо к твердым телам и что поры - это пространства
не между молекулами, а между надмолекулярными структурами.
Пористость не является свойством, присущим данному веществу,
она формируется в процессе изготовления образца.
Существует ряд методов получения пористых материалов, в том
числе пористых полимеров, которые используют и в процессе синтеза полимеров, и
в процессе формования готовых изделий.
. Термическая обработка компактного материала,
сопровождающаяся удалением из него летучих продуктов или даже
кристаллогидратной воды. Так получают пористые активные угли или цеолиты.
Термической обработкой различных полимеров получают высокопористые угли
(например, сарановые угли, представляющие собой продукты пиролиза
поливинилиденхлорида).
. Введение в полимер специальных веществ - порофо/юв, которые
при определенных условиях разлагаются с образованием газообразных
продуктов, вызывающих "раздувание" полимера, с
последующим закреплением созданной пористой структуры.
. Насыщение полимера газом (обычно азотом) под высоким
давлением (~ 20 МПа) с последующим снятием давления. При этом давление,
созданное внутри пластины, вызывает ее "раздувание" и образование
пор. Размеры этих пор зависят от пластичности материала, т.е. от его
податливости и режима сброса давления. Это один из способов получения губчатых
ячеистых резин, например губки "аназот".
. Введение в мономеры суспензий органических или
неорганических твердых веществ с определенными размерами частиц с последующим
их удалением из готового полимера.
. Проведение синтеза полимера или формования изделия в
присутствии растворителя с последующим его удалением, после чего в полимере
остаются полости достаточно больших размеров, ранее занятые растворителем.
Так же глава рассматривает методы формирования пористой
структуры полимеров, методы оценки пористой структуры полимеров, сорбционный
метод, метод плотностей, ртутная пирометрия; особенности полимерных сорбентов,
полимерные сорбенты обладают рядом особенностей, связанных с их свойствами и
структурой. Эти особенности следует учитывать при определении параметров
пористой структуры и при их эксплуатации.
. Полимеры существуют не только в твердом, но и в
высокоэластическом состоянии, и возникает естественный вопрос о правомочности
применения понятия "пора" и "пористость". Эти понятия
применимы к твердым полимерам (стеклообразным и кристаллическим), пустоты в
которых практически во времени не изменяются. Пустоты, или "дырки",
имеющиеся и в эластических полимерах, т.е. пустоты флуктуационного характера,
непрерывно изменяющие свои форму и размеры, нельзя отождествлять с порами.
Однако постоянно существующие пустоты, создаваемые при определенных условиях,
например в губчатых резинах или пенопластах, можно называть порами.
. В отличие от классических минеральных сорбентов полимеры в
процессе сорбции, как правило, набухают, т.е. испытывают существенные
возмущения, выражающиеся в изменении их объема и структуры. Эти возмущения тем
больше, чем больше термодинамическое сродство сорбата к полимеру. Свободный
объем, имеющийся в набухшем полимере, или в геле, как в любой жидкости, имеет
флуктуационный характер, поэтому его нельзя отождествлять с пористостью. В этой
связи следует указать, что понятия "пористость полимеров в гидратированном
состоянии", "псевдопористость", "скрытая пористость",
встречающиеся в литературе, не имеют физического смысла.
Так же эта глава широко рассматривает, классификацию
полимерных сорбентов (непористые сорбенты, микропористые сорбенты, сорбенты с
переходными порами), механизм сорбции низкомолекулярных веществ полимерами,
ионообменные смолы.
С другой стороны и узко специальный, и широкий интерес
представляет содержание главы 19, посвященная газопроницаемости полимеров. А
главы 3-7, особенно в последнем издании этой книги, знакомят студентов и
специалистов с физическими свойствами полимеров и физическими методами
исследований полимерных материалов.
Резюмируя содержание этой главы, можно сказать, что по любому
из специфических свойств функциональных полимеров и композиций существует
огромный объем информации.
Однако, в большинстве случаев эта информация изложена в
специальных часто мало тиражных изданиях, рассчитанных на аудиторию в лице
будущих узких специалистов не способных в результате в своей будущей
педагогической и профессиональной деятельности, охватить проблемы создания
таких материалов в целом. Если говорить о педагогике, это проблемы неумения
использовать инструмент установления внутри и межпредметных связей для
получения учащимися более полного представления об изучаемом объекте, а для
специалиста научного работника необходимость (для роста) переучивания,
переквалификации и т.д.
Глава 2.
Настоящая глава посвящена описанию занятий подготовленных и
проведенных в рамках настоящей квалификационной работы с магистрами 1 года
обучения, в рамках изучения дисциплины "физико-химические основы создания
композиционных материалов".
Отметим, что эта дисциплина для будущих магистров-экологов
введена в программу впервые (студенты-полимерщики изучали ее раньше). И
электроактивные материалы находятся в этом специальном курсе лишь в качестве
примера композиционно функционального материала. При подготовке к лекции
внимание уделялось определению того, что такое пьезоэлектрики и
пироэлектрические материалы, какие бывают полимерные и композиционные
электроактивные материалы. Само содержание проведенных лекционных и семинарских
занятий указывает на межпредметный характер обсуждавшихся вопросов. Другой, не
менее важный фактор - практическое использование таких материалов, в том числе
в решении экологических проблем.
2.1 Перед
началом лекции краткий опрос в виде тестов, для выяснения исходного состояния
знаний
1. Электрет-это
а) диэлектрик, имеющий на поверхности электрические заряды,
длительно сохраняющиеся во времени.
б) диэлектрик, имеющий на поверхности электрические заряды,
не сохраняющиеся во времени.
в) диэлектрик, не имеющий на поверхности электрические
заряды.
г) затрудняюсь ответить.
2. Пьезоэлектричеством называется:
а) генерирование диэлектриками
электрических зарядов при их механической деформации.
б) механическая деформация диэлектриков
при приложении внешнего электрического поля.
в) изучение полимеров, заключающееся в
получении электрета.
г) затрудняюсь ответить.
. К важнейшим характеристикам электретов
относятся:
а) поверхностная плотность зарядов.
б) время ее релаксации.
в) дипольная ориентация.
г) затрудняюсь ответить.
4. Сущность компенсационного метода заключается:
а) в измерении напряжения, подаваемого на электроды для
компенсации электрического поля.
б) в измерении напряжения на образцовом конденсаторе.
в) в термомагнитной обработке диэлектрика.
г) затрудняюсь ответить.
5. Сущность метода подъемного электрода
заключается:
а) в измерении напряжения на образцовом
конденсаторе, соединенном с подвижным электродом, на котором индуцируется заряд
от заряженной поверхности электрета.
б) в измерении напряжения, подаваемого на
электроды для компенсации электрического поля.
в) в термомагнитной обработке диэлектрика
без воздействия электрического поля.
г) затрудняюсь ответить.
. Простейшим способом измерения распределения
зарядов в объеме является:
а) качественные методы.
б) метод подъемного электрода
в) метод последовательного срезания поверхностных слоев при
низких температурах.
г) затрудняюсь ответить.
7. ЭТА называют:
а) метод изучения полимеров, заключающийся
в получении электрета и последующем измерении разрядных токов во времени при
программируемом нагревании.
б) метод последующего срезания
поверхностных слоев при низких температурах.
в) метод определения поверхностной
плотности зарядов.
г) затрудняюсь ответить.
. Прямой пьезоэлектрический эффект
заключается:
а) в измерении напряжения на образцовом
конденсаторе.
б) в возникновении электрических зарядов на поверхности
диэлектрика и электрической поляризации внутри него при воздействии
механических нагрузок 
или деформаций δ.
в) в возникновении деформаций диэлектрика при приложении к нему
электрической разности потенциалов.
г) затрудняюсь ответить.
Лекция на тему: "Электретные свойства полимеров. Пьезоэлектрические
свойства полимеров. "
Электретные
свойства полимеров
Электрет - это диэлектрик, имеющий на
поверхности электрические заряды, длительно сохраняющиеся во времени.
Электретные свойства полимеров тесно связаны с электростатическими свойствами,
и, по существу, их можно было бы рассматривать вместе. Однако в процессе
развития науки об электретах оказалось, что для разработки электретов с
высокими параметрами теория электростатических свойств диэлектриков может быть
использована только весьма ограниченно, и наоборот именно развитие науки об
электретах внесло свой вклад в развитие представлений об электростатических
явлениях в диэлектриках. В процессе исследований электретов было найдено так
много нового, что оправдано рассмотрение электретных свойств отдельно от
электростатических, тем более, что электростатические свойства рассматриваются
преимущественно как нечто отрицательное, мешающее производственным процессам,
приводящее к пожарам, браку, а электретные - как положительные характеристики, обусловливающие
пригодность диэлектрика для изготовления изделий.
Если электростатические заряды возникают
преимущественно случайно, то электретные - в результате специальной обработки
диэлектрика. В зависимости от технологии получения существуют различные типы
электретов:
Термоэлектреты - получают охлаждением
предварительно нагретых диэлектриков в электрическом поле высокой напряженности
до температур ниже температуры стеклования или отверждения;
криоэлектреты - получают высушиванием
раствора диэлектрика в электрическом поле (без предварительного нагревания);
радиационные электреты - получают
облучением диэлектриков заряженными частицами (электронами, протонами), а также
нейтральными частицами или γ-излучением при
одновременном или последующем воздействии постоянного электрического поля;
короноэлектреты - получают заряжением в
коронном разряде при нагревании или без нагревания;
электроэлсктреты - получают воздействием
(без нагревания) на диэлектрик постоянного электрического поля с
напряженностью, близкой к пробивной;
хемоэлектреты - получают химическим
сшиванием (вулканизацией) полимерных диэлектриков в электрическом поле или
полимеризацией в электрическом поле;
магнетоэлектреты - получают при
термомагнитной обработке диэлектриков без воздействия электрического поля от
внешнего источника.
Электреты имеют на своих поверхностях
равные и противоположные заряды, однако в последнее время появились так
называемые моноэлектреты - образцы диэлектриков, имеющие равные заряды одного и
того же знака с разных сторон. Стабильность электретных зарядов обеспечивается
(помимо низкой электропроводности электретных материалов и большого времени
релаксации дипольной ориентации) наличием противозарядов на противоположной
заряженной поверхности или на электродах, находящихся вблизи заряженной
поверхности. В этих случаях емкость системы резко возрастает, и соответственно
растет время релаксации τ= RC.
Электреты, получаемые после статической
электризации или трения, называют иногда "статическими электретами"
или "трибоэлектретами".
Кроме перечисленных способов получения
электретов существует еще способ заряжения с применением жидких электродов, по
которому высокое напряжение подводится с одной стороны к напыленному на
поверхность полимера металлическому электроду, а с другой - к жидкости,
омывающей противоположную поверхность. Затем жидкость сливают, поверхность
высушивают, и получается электрет с потенциалом поверхности, точно
соответствующим подаваемому напряжению.
Все электреты можно разделить на две
группы: электреты, обладающие дипольными зарядами, и электреты, обладающие
инжектированными извне зарядами. В первом случае знак заряда на поверхности
противоположен знаку напряжения на прилегающем электроде, поэтому этот вид
зарядов называют также гетерозарядом; во втором случае знак заряда на
поверхности тот же, что и напряжение на прилегающем электроде, этот заряд
называют гомозарядом. Однако гетерозаряд может возникать не только в результате
дипольной ориентации, но и от смещения ионов в процессе поляризации.
Методы определения поверхностной плотности
зарядов и потенциала поверхности.
К важнейшим характеристикам электретов
относятся поверхностная плотность зарядов и время ее релаксации (уменьшения в с
раз). Поверхностную плотность зарядов определяют различными методами, из
которых важнейшим и наиболее старым является индукционный статический метод,
или метод подъемного электрода. Иногда этот метод называют по фамилии автора,
его разработавшего, метод Эгучи (или Эгути); метод стандартизован (ГОСТ
25209-82). Сущность метода подъемного электрода заключается в измерении
напряжения на образцовом конденсаторе, соединенном с подвижным электродом, на
котором индуцируется заряд от заряженной поверхности электрета. Для испытаний
используют образцы в виде плоских пластин, дисков, пленок толщиной 0,1-3 мм и
диаметром (для дисков) 50 + 0.5 или 25 ± 0.5 мм.
Рис.1. Схема установки для определения σэф методом подъемного электрода (а) и кассета для пленочного
электрета (б):
1 - нижний неподвижный
электрод; 2-электрет; 3-верхний подвижный электрод,4 - изолятор; 5 - шток,
6 - штатив,7 - ручка,8 - выключатель,9 - образцовый конденсатор; 10-статический
вольтметр.
Испытания проводят следующим образом.
Образец помешают на нижний электрод электродного устройства рабочей стороной
кверху (при поднятом верхнем электроде). Верхний электрод опускают на образец,
замыкают на землю и отключают от нее после чего верхний электрод поднимают и
отсчитывают показания на вольтметре. Поверхностную плотность зарядов образцов
электретов σэф (Кл/М2)
вычисляют по формуле:
σэф=VCоб/S
Где (V-напряжение на вольтметре,
В; Соб - сумма емкости конденсатора и
входной емкости вольтметра и емкости проводов, Ф; S-площадь электродов, м2.
Для большей точности измерений верхний
электрод снабжают охранным кольцом.
Электретную разность потенциалов
(потенциал на поверхности электрета) рассчитывают по формуле:
Vэф= (σэф/. ε0ε) L,
где ε0 - электрическая постоянная, равная 8,854-10-12 Ф/м; ε - относительная диэлектрическая проницаемость материала
электрета, L-толщина электрета, м; если σэф выражают в нКл/см2, a L в мм.
Недостаток метода подъемного электрода
заключается в том, что при опускании верхнего электрода и его последующем
отрыве от поверхности электрета происходят разряды между поверхностью электрета
и электродом и (или) образование дополнительных зарядов вследствие разрыва
контакта. Возможно также загрязнение поверхности электрета. Все эти явления
искажают действительное значение σэф. Поэтому иногда электрод
опускают не прямо на поверхность, а до определенного зазора между поверхностью
и электродом. Для этого к краям электрода прикрепляют шарики или небольшие
цилиндры из высококачественных изоляторов высотой до 1 мм.
Другой метод определения σэф - компенсационный. Сущность метода заключается в измерении
напряжения, подаваемого на электроды для компенсации электрического поля,
индуцируемого электретом в зазоре электрет - подвижный вибрирующий электрод. По
ГОСТ 25209-82 этим методом рекомендуется измерять пленочные образцы диаметром
25 ± 0,5 и 10 ± 0,5 мм и толщиной 0,002-0,100 мм, а также диаметром 5 +
0,2 мм и толщиной 0,002 0,050 мм.
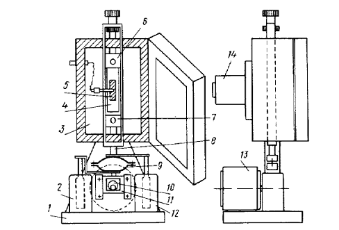
Рис.2. Схема установки для определения
электретного потенциала компенсационным методом:
-втулка-изолятор; 2 - основание; 3-неподвижный
электрод; 4 - электрет; 5-кассета: 6-стопорный винт.7-штатив; 8-пружина;
9-селеноид; 10-вгулка; 11-генератор; 12-осинллографический индикатор нуля;
13-источник постоянного напряжения (регулируемый); 14 - вольтметр; 15 -
переключатель.
Испытания проводят следующим образом.
Образец электрета помещают между электродами так, чтобы сторона электрета с
электропроводящим покрытием контактировала с неподвижным электродом.
Вибрирующий электрод подводят на расстояние 0.2-1,0 мм к заряженной поверхности
электрета. Изменяя величину и полярность компенсирующего напряжения, добываются
нулевого показания на осциллографическом индикаторе. Компенсирующее напряжение
- электретную разность потенциалов Vэ - записывают в целых единицах Вольт.
Поверхностную плотность зарядов (Кл/м2) вычисляют по формуле:
σэф=ε0εVэ/L
При использовании образцов с приведенными
выше размерами и приборов с указанными погрешностями измерений
среднеквадратичная погрешность измерения о,* при статическом методе подъемного
электрода составляет не более ± 8% от среднего значения измеряемой
величины, а при измерениях компенсационным методом не более ± 6%.
Распределение
зарядов по поверхности
Эффективность работы приборов с
электретами существенно зависит от распределения зарядов по поверхности
электретов. Резко неоднородное распределение зарядов после приготовления
электретов приводит к преждевременному их спаду из-за компенсации зарядов
разного знака и из-за перераспределения их по поверхности до выравнивания.
Кроме того, неоднородное распределение зарядов приводит к нестабильности работы
и искажению характеристик электретных микрофонов и других изделий.
Для определения распределения зарядов по
поверхности используют различные качественные и количественные методы
Качественный метод-метод цветных порошков - заключается в том, что порошки
разных цветов, склонные к электростатическому заряжению, смешивают и напыляют
или просто насыпают на поверхность электрета. При этом частицы порошка одного
цвета, обладающие склонностью к положительному заряжению, прилипнут к участкам
поверхности электрета, обладающим зарядами противоположного знака, а частицы
другого порошка, другого цвета, склонные к отрицательному заряжению, прилипнут
к участкам поверхности электрета, обладающим положительными зарядами. Плотность
порошков на поверхности электрета будет пропорциональна плотности заряда. В
качестве порошков наиболее часто используют смесь порошков серы (желтый цвет) и
сургуча (красный цвел). Сургуч электризуется положительно, сера отрицательно.
Рис.3. Распределение поверхностной
плотности заряда по поверхности термоэлектрета из полиэтилентерефталатной
пленки.
Рис.4. Распределение потенциала по обеим
(/ и II) поверхностям механоэлектрета и полиметилметакрилата (показание
вольтметра в мВ пропорциональны потенциалу поверхности)
На рис. показано распределение зарядов по
поверхности термоэлектрета из пленки на основе сополимера тетрафторэтилена с
гексафторпропиленом, а на рис.4-по поверхности механоэлектрета из
полиметилметакрилата. Видно, что растет σ от центра к краям образца.
Количественный метод определения распределения
поверхностной плотности зарядов заключается в измерение σэф при постепенном перемещении образца вблизи измерительного
электрода или наоборот, в перемещении измерительных электродов по поверхности
образца. Для этой цели используют метод вибрирующего электрода с компенсацией
или без нее. В последнем случае прибор предварительно градуируют. Другой метод
заключается в периодическом экранировании электрода заземленной шторкой или
крыльчаткой.
Распределение
зарядов в объеме
Существенным параметром, определяющим
качество электрета, является распределение зарядов по объему электрета,
перпендикулярно плоскости поверхности. Простейшим способом измерения
распределения зарядов в объеме является метод последовательного срезания
поверхностных слоев при низких температурах, чтобы исключить спад зарядов.
Применение микротома позволяет срезать слои толщиной до 5 мкм. Срезанные слои
помещают в цилиндр Фарадея и определяют избыточный заряд, который находится в
слое. Поляризацию также можно определить в отдельных слоях методом
термодеполяризационных токов.
Для определения распределения заряда в
объеме широко используют также метод теплового импульса.
Определение тока термостимулированной
деполяризации.
Электретно-термическим анализом (ЭТА)
называют метод изучения полимеров, заключающийся в получении электрета и
последующем измерении разрядных токов во времени при программируемом
нагревании. По зависимости тока от времени определяют параметры релаксации
зарядов, величины гетеро- и гомозарядов. Поскольку зависимости тока от времени
определяются строением и структурой полимеров, то ЭТА используют для изучения
последних, в особенности для исследования молекулярной подвижности в полимерах.
Пьезоэлектрические
свойства полимеров
Пьезоэлектричеством называется
генерирование диэлектриками электрических зарядов при их механической
деформации (нагружении) или механическая деформация диэлектриков при приложении
внешнего электрического поля. Использование полимеров в качестве
пьезоэлектриков в настоящее время широко распространено, хотя пьезоэффект в
полимерных материалах был обнаружен относительно недавно. (Впервые он был
обнаружен в древесине в 40-х годах, но пьезоэлектрические явления в полимерных
диэлектриках наблюдали и ранее с начала века. Полимерные пьезоэлектрики с
высоким пьезоэффектом, пригодные для промышленного использования были найдены в
конце 60-х годов.)
Определение пьезоэлектрических параметров
необходимо, в первую очередь, при разработке и поиске новых пьезоэлектрических
полимерных материалов, а также для контроля качества выпускаемых
промышленностью пьезоэлектрических полимерных пленок и композиционных
материалов.
Пьезоэффект в
полимерах
Прямой пьезоэлектрический эффект заключается в возникновении
электрических зарядов на поверхности диэлектрика и электрической поляризации
внутри него при воздействии механических нагрузок 
или деформаций δ. Обратный пьезоэлектрический эффект
заключается в возникновении деформаций диэлектрика при приложении к нему электрической
разности потенциалов.
Пьезоэффектом обладают кристаллы с определенной группой симметрии,
поликристаллические материалы, являющиеся пьезоэлектрическими текстурами, смеси
кристаллических частиц с аморфным материалом, аморфные диэлектрики с ориентированными
диполями, образующими пьезоэлектрическую текстуру. К пьезоэлектрическим
текстурам могут относиться только ацентрические текстуры, поскольку
электрическая поляризация невозможна в среде, имеющей вектор симметрии.
Пьезоэлектрической константой является также е -
пьезоэлектрическая константа деформации, равная
е = (дР/дδ)
Отношение e/d = Eу - модуль упругости.
Статические методы исследования.
Статический пьезомодуль при сжатии. Пьезомодуль при одноосном
сжатии d33 определяют по ГОСТ 12370-80. Сущность метода заключается в
измерении заряда, возникающего на поверхности образца при приложении (или
снятии) статической нагрузки.
Схема установки для проведения измерений приведена на рис.5. Она
состоит из баллистического гальванометра, образцового конденсатора и
электродного устройства, в котором между электродами пометают образец
цилиндрической формы толщиной 1-3 мм и диаметром 10-15 мм. Электроды наносятся
предварительно на поверхность образцов припрессовыванием фольги, напылением
металлов в вакууме, в виде электропроводящей краски, пасты. Гальванометр
снабжен шунтом, с помощью которого можно регулировать чувствительность
установки. Емкость С0 значительно превышает емкость образца и
соединительных проводов. Для достижения равномерного распределения нагрузки по
поверхности образца рекомендуется верхний электрод делать плавающим или в виде
трубки, набитой мелкими шариками и обтянутой снаружи фольгой. Груз накладывают
на образец (или снимают) внезапно. Заряд, возникающий на образце, определяют по
числу делений, на которое отклонится световой луч от зеркала баллистического
гальванометра; шкалу гальванометра предварительно градуируют в Кл/делений.
Метод особенно пригоден для определения зарядов при деформации
пьезо-электриков, обладающих довольно значительной проводимостью.
Рис.5. Схема установки для измерения
пьезомодуля d33 с помощью баллистического гальванометра:
-образец с электродами.2 - баллистический
гальванометр; 3-шунт гальванометра: 4 - переключатель; 5 -
источник постоянного напряжения; С0-образцовый конденсатор; V-вольтметр; R-потенциометр.
Модуль d31 можно измерять также с
помощью электрометров-статических вольтметров. Сущность метода заключается в
измерении разности потенциалов на поверхности образца при статическом сжатии.
Статический пьезомодуль при растяжении.
Метод определения d3l состоит в измерении
разности потенциалов на обеих сторонах образцов при их растяжении при
статическом нагружении. Статическая нагрузка может прикладываться внезапно
(навешиванием груза) или постепенно (растягиванием образца на разрывной
машине).
Рис.6. Схема установки для измерения
пьезомодуля dnпри всестороннем сжатии (сжатым воздухом):
1-образец; 2-электродное устройство; 3-камера; 4 - манометр; 5
- электрометр.
Статический пьезомодуль при всестороннем
сжатии. Установка для определения статического пьезомодуля при всестороннем
сжатии показана на рис.6. Она состоит из термокриокамеры и
вольтметра-электрометра. Камера имеет герметично закрывающуюся крышку,
снабженную резиновой прокладкой, патрубок для подачи сжатого воздуха, манометр.
вводы с изоляцией из политетрафторэтилена. Электрометр соединяется с камерой
экранированным кабелем, имеющим высококачественную изоляцию из полиэтилена.
Входное сопротивление вольтметра-электрометра (ВК 2-16, В 7-30) не менее 10'5
Ом.
Динамические
методы исследования
Одним из существенных недостатков методов
исследования пьезоэлектрических свойств полимеров является то, что при
измерениях моделируются условия, которые не соответствуют реальным, так как
полимерные пьезоэлементы используются для обнаружения и воспроизведения
сигналов при более высоких частотах (так, в микрофонах, гидрофонах фиксируются
колебания частоты 102 - 10sГц). Кроме того, при
статических испытаниях основную роль играют медленно протекающие процессы,
например поляризация Максвелла Вагнера, а также возможны локальные изменения
температуры, приводящие к пироэффекту, что вносит дополнительный вклад в
измеряемый пьезомодуль. Простейший прибор для определения пьезоэлектрических
свойств в динамических условиях представляет собой звукоизолированную камеру, в
которой помещен генератор (динамик) и образцовый, предварительно
отградуированный, измерительный микрофон, измеряющий интенсивность
генерируемого сигнала. Рядом с микрофоном помещают измеряемый образец
пьезополимера, снабженный электродами и выводами. Фактически измеряется
чувствительность пьезоэлемента как микрофона
Пироэлектрические
свойства полимеров
Пироэлектрические свойства характеризуют
способность диэлектрика к возникновению разности потенциалов (пиротока) при
изменении температуры. Возникновение пироэлектричества в полимерных
пьезоэлектриках обусловлено преимущественно изменением геометрических размеров
образцов вследствие теплового расширения при нагревании и соответственно
изменением поверхностной плотности зарядов в результате изменения плотности
поляризации (остаточной).
Пироэлектрические свойства полимерных
пьезоэлектриков определяют обычно двумя методами - статическим и динамическим.
Статический метод заключается в измерении
пиротока (К/с) при нагревании предварительно поляризованного пьезополимера с
постоянной скоростью. Аппаратура для проведения измерений та же, что и для
измерения тока термостимулированной деполяризации. Для того чтобы исключить
деполяризационную составляющую, ток измеряют несколько раз (не менее трех) в
одном и том же температурном интервале, нагревая и охлаждая образец (например,
от 20 до 70 'С). Пирокоэффициенг (Кл/см2К) рассчитывают по формуле: р
= i/b.
Динамический метод заключается в измерении
сигнала переменного напряжения от обкладок конденсатора - тонкого образца, на
одну сторону которого (покрытую коллоидным графитом для лучшего поглощения
тепла) воздействуют тепловые импульсы постоянной частоты (они настолько малы,
что почти не изменяют температуру образца). Импульсы подаются обычно от луча
лазера, перекрываемого периодически вращающейся крыльчаткой. Переменный ток от
образца усиливается избирательным усилителем переменного тока, настроенным на
частоту импульсов. Показания усилителя фиксируются. Для градуировки прибора
используют образец с известным пирокоэффициентом, определенным, например,
статическим методом.
После проведенной лекции, опрос в виде
тестов, …
1. Электретные заряды возникают:
а) спонтанно.
б) в результате специальной обработки диэлектрика.
в) в результате прессования диэлектрика.
г) затрудняюсь ответить.
. Стабильность электретных зарядов обеспечивается:
б) низкой электропроводностью электретных материалов.
в) большим временем релаксации дипольной ориентации.
г) затрудняюсь ответить.
. Недостаток метода подъемного электрода заключается:
а) при опускании верхнего электрода и его последующем отрыве
от поверхности электрета происходят разряды между поверхностью электрета и
электродом.
б) образование дополнительных зарядов вследствие разрыва
контакта.
в) загрязнение поверхности электрета.
г) затрудняюсь ответить
4. Для определения распределения зарядов
по поверхности используют:
а) компенсационный метод.
б) качественные и количественные методы.
в) метод подъемного электрода.
г) затрудняюсь ответить
. Для определения распределения заряда в объеме используют:
а) метод теплового импульса.
б) количественный метод.
в) компенсационный метод.
г) затрудняюсь ответить.
6. Обратный пьезоэлектрический эффект
заключается:
а) в измерении напряжения на образцовом
конденсаторе.
б) в возникновении электрических зарядов
на поверхности диэлектрика и электрической поляризации
в) в возникновении деформаций диэлектрика
при приложении к нему электрической разности потенциалов.
г) затрудняюсь ответить.
. Пьезоэлектрическая константа деформации,
равна:
а) е = (∂P/∂δ)
б) е = (∂δ/∂P)
в) е = (∂P)
г) затрудняюсь ответить.
. Пироэлектрические свойства полимерных
пьезоэлектриков определяют:
а) компенсационным методом.
б) статистическим методом.
в) динамическим методом.
г) затрудняюсь ответить.