Монтаж реактора мачтами способом скольжения с отрывом от земли
1. Монтажная
характеристика объекта
Монтажная характеристика объекта
включает:
строительный габарит объекта - это
предельные очертания объекта, определяющие возможность безопасного приближения
к нему (при перемещении) монтажных или транспортных средств или монтируемых
конструкций при их подаче (диаметр 2,5 м., длина 42,5 м);
монтажная масса конструкций - GM
характеризуется общей массой, которую необходимо поднять, переместить и
установить в проектное положение в зависимости от принятого способа подъема (G0 =110 т.);
высота подъема - технологически
необходимая высота вертикального перемещения монтажных элементов (Нтр);
глубина подачи определяется
расстоянием перемещения монтируемой конструкции в горизонтальной плоскости по
отношению к выбранным координатным осям и проектным расположениям (b=18 м. - расстояние от места
строповки до плоскости мачты). За координатные оси могут быть приняты,
например, оси монтажных кранов, установленных по отношению к объекту в
соответствии с требованиями строительного габарита. В этом случае глубина
подачи определяется монтажным вылетом рабочего оборудования - стрелы (крюка)
крана - LM и описывается радиусом ее действия, т.е. расстоянием от центра
тяжести элемента до оси вращения крана.
2. Последовательность
такелажных работ
2.1 Подготовительные
работы
К подготовительным работам
относятся:
приемка проектно-сметной
документации, контроль ее качества с привлечением сметно-договорного отдела и
изучение инженерно-техническими работниками и бригадирами монтажных бригад;
разработка монтажно-технологической
и проектно-конструкторской документации проектно-конструкторской организацией
или собственными силами, контроль ее качества и изучение ИТР и бригадирами;
приемка и изучение технических
описаний на поставляемое технологическое оборудование;
приемка строительных конструкций,
связанных с монтажом технологического оборудования, конструкций и коммуникаций,
с привлечением линейных ИТР;
приемка технологического
оборудования, металлоконструкций, узлов трубопроводов, монтажных заготовок и материалов
в монтаж с привлечением линейных ИТР;
производственно-технологическая
комплектация объектов материально-техническими ресурсами с привлечением отдела
материально-технического снабжения и линейных ИТР;
метрологическое обеспечение
монтажных работ.
2.2 Последовательность
подъема
До подъема аппарата независимо от
метода монтажа необходимо:
установить на аппарате строповочные
устройства и закрепить требуемую для подъема оснастку;
проверить работоспособность
используемого средства и его механизмов, а также соответствие их установки
решениям ППР;
предусмотреть средства для
расстроповки аппарата после его установки в проектное положение.
Подъем и установку аппаратов с
защитными покрытиями необходимо производить с принятием мер для предохранения
их от повреждения в соответствии с решениями ППР.
Подъем аппарата методом скольжения с
отрывом производится в следующей последовательности:
) выложить аппарат в исходное для
подъема положение, уложив (закрепив) низ аппарата на средство для перемещения,
и установить системы подтаскивания и удержания;
) выполнить пробный отрыв верхней
части аппарата от опор на 200-300 мм с выдержкой 10-15 мин, проверив при этом
состояние грузоподъемных средств и используемой оснастки;
) работая грузоподъемными средствами
и системой подтаскивания низа аппарата в соответствии с циклограммой подъема,
продолжить его подъем до положения, близкого к положению неустойчивого
равновесия (центр массы аппарата и точка опирания низа расположены на одной
вертикали);
) натянуть удерживающую систему и продолжить
подъем аппарата до вертикального положения, работая попеременно грузоподъемными
средствами и удерживающей системой;
) установить аппарат на фундамент
провести выверку (Установка аппаратов должна производиться на выверенный и
очищенный в соответствии с требованиями СНиП 3.05.05-84 фундамент и
осуществляется в соответствии с требованиями ВСН 361-85) и закрепить его.
3.
Расчетно-конструкторская часть
3.1 Расчет грузового
полиспаста
Рис. 1 Расчетная схема подъема
Определяем нагрузку на подвижный
блок полиспаста:
(3.1)
Где,
-
масса поднимаемого оборудования;
-количество полиспастов.
Находим усилие, действующие
на неподвижный блок полиспаста:
(3.2)
Согласно приложениюVI подбираем оба блока полиспаста по наибольшему усилию
т.к.
используем два полиспаста то выбираем БМ-75 с грузоподъемностью 75т, количество
роликов 7 шт. диаметром 475 мм., масса 1667 кг. Т.о. в полиспасте, состоящем из
двух блоков, общее количество роликов m П =7*2=14 шт. масса G б =1667*2=3334 кг.
Выбираем блоки с
роликами на подшипниках тогда по таблице 11 КПД полиспаста
для
общего количества роликов m=16
(14 полиспастных и 2 отводных).
Рассчитываем усилие в
сбегающей ветви:
(3.3)
Находим разрывное усилие
в сбегающей ветви полиспаста:
(3.4)
Где,
-
коэффициент запаса прочности при грузоподъемности от 50 до 100 т.
По таблице I подбираем для запасовки канат типа ЛК-РО конструкции 6х36
(1+7+7/7+14)+1 о.с. ГОСТ 7668-80 с характеристиками:
временное сопротивление
разрыву, МПа 1568
разрывное усилие, кН 237,5
диаметр каната, мм 22
масса 1000 м каната, кг 1830
Рассчитываем длину
каната для оснастки полиспаста:
(3.5)
Где, h-длина полиспаста в растянутом виде, принимаем равной высоте
подъема аппарата;
- диаметр роликов в
блоках;
- длина сбегающей ветви
назначаем;
- запас длины.
Находим суммарную массу
полиспаста:
(3.6)
Где,
-
масса 1000 м каната.
Определяем усилие на
канате, закрепляющий неподвижный блок полиспаста:
(3.7)
Приняв канат для
крепления верхнего блока полиспаста из 10 ветвей и приняв по приложению ХI коэффициент запаса 6 как для стропа, рассчитываем усилие в каждой
ветви:
(3.8)
По таблице I подбираем для запасовки канат типа ЛК-РО конструкции 6х36
(1+7+7/7+14)+1 о.с. ГОСТ 7668-80 с характеристиками:
временное сопротивление
разрыву, МПа 1568
разрывное усилие, кН 417,5
масса 1000 м каната, кг 3215
По усилию в сбегающей
ветви полиспаста
по
приложению VII подбираем лебедку типа ЛМС-8/800 с тяговым усилием 80кН. и
канатоемкостью 800 м.
Подбираем бетонные блоки
для инвентарного наземного якоря, установленного на гравийном основании.
Рис. 2. Расчетная схема
для наземного якоря
Определяем величины
горизонтальной и вертикальной составляющей усилия в ванте:
(3.9)
(3.10)
Где,
-угол
наклона тяги к горизонту.
Находим общую массу
якоря, обеспечивающую устойчивость его от сдвига:
(3.11)
где
-
коэффициент трения скольжения якоря по грунту, (для гравия
);
-коэффициент запаса
устойчивости якоря от сдвига (
).
Выбираем бетонные блоки
размером 1,5х1х1,35 м. и массой g=4.5
т. и определяем их необходимое количество:
(3.12)
Принимаем количество
блоков m=3 шт., тогда масса якоря
(3.13)
Принимаем размеры
опорной рамы для укладки блоков в плане 2,8х4,7 м. и, зная, что плечо b составляет половину длины рамы (b=2,35
м.), определяем плечо (а) опрокидывающего момента от усилия N в тяге:
(3.14)
Проверяем устойчивость
якоря от опрокидывания:
(3.15)
где
-
коэффициент устойчивости якоря от опрокидывания (
)
Это неравенство
свидетельствует об устойчивости якоря от опрокидывания.
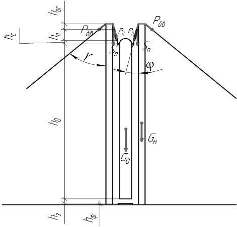
3.2 Расчет вант
Рис. 3. Схема расчета
высоты мачты
Усилие в задних вантах
при принятой схеме принимаются согласно таблицы ХIХ.
Для мачты длиной 46 м. и
массе поднимаемого груза 110 т
Определяем разрывное
усилие каната:
(3.16)
где
-
коэффициент запаса прочности (приложение ХI).
По таблице I подбираем для запасовки канат типа ЛК-Р конструкции 6х19
(1+6+6/6)+1 о.с. ГОСТ 7668-80 с характеристиками:
временное сопротивление
разрыву, МПа 1764
разрывное усилие, кН 573,0
диаметр каната, мм 32,0
масса 1000 м каната, кг 3845
Подбираем бетонные блоки
для инвентарного наземного якоря, установленного на гравийном основании.
Определяем величины
горизонтальной и вертикальной составляющей усилия в ванте:
(3.17)
(3.18)
Где,
-угол
наклона ванты к горизонту.
Находим общую массу
якоря, обеспечивающую устойчивость его от сдвига:
(3.19)
где
-
коэффициент трения скольжения якоря по грунту, (для гравия
);
-коэффициент запаса
устойчивости якоря от сдвига (
).
Выбираем бетонные блоки
размером 1,5х1х1,35 м. и массой g=4.5
т. и определяем их необходимое количество:
(3.20)
Принимаем количество
блоков m=6 шт., тогда масса якоря
(3.21)
Принимаем размеры
опорной рамы для укладки блоков в плане 4,2х5 м. и, зная, что плечо b составляет половину длины рамы (b=2,5
м.), определяем
плечо (а)
опрокидывающего момента от усилия Р в тяге:
(3.22)
Проверяем устойчивость
якоря от опрокидывания:
(3.23)
где
-
коэффициент устойчивости якоря от опрокидывания (
)
Это неравенство
свидетельствует об устойчивости якоря от опрокидывания.
Рассчитываем усилие в боковых
вантах, задаем угол
,
и углом между грузовым полиспастом и мачтой
:
(3.24)

(3.25)
где
-
коэффициент запаса прочности (приложение ХI).
По таблице I подбираем для запасовки канат типа ЛК-Р конструкции 6х19
(1+6+6/6)+1 о.с. ГОСТ 7668-80 с характеристиками:
временное сопротивление
разрыву, МПа 1764
разрывное усилие, кН 856,0
диаметр каната, мм 39,5
масса 1000 м каната, кг 5740
Подбираем бетонные блоки
для инвентарного наземного якоря, установленного на гравийном основании.
Определяем величины
горизонтальной и вертикальной составляющей усилия в ванте:
(3.26)
(3.27)
Где,
-угол
наклона ванты к горизонту.
Находим общую массу
якоря, обеспечивающую устойчивость его от сдвига:
(3.28)
где
-
коэффициент трения скольжения якоря по грунту, (для гравия
);
-коэффициент запаса
устойчивости якоря от сдвига (
).
Выбираем бетонные блоки
размером 1,5х1х1,35 м. и массой g=4.5
т. и определяем их необходимое количество:
(3.29)
Принимаем количество
блоков m=9 шт., тогда масса якоря
(3.30)
Принимаем размеры
опорной рамы для укладки блоков в плане 4,2х5 м. и, зная, что плечо b составляет половину длины рамы (b=2,5
м.), определяем плечо (а) опрокидывающего момента от усилия Р в тяге:
(3.31)
Проверяем устойчивость
якоря от опрокидывания:
(3.32)
где
-
коэффициент устойчивости якоря от опрокидывания (
)
Это неравенство
свидетельствует об устойчивости якоря от опрокидывания.
3.3 Расчет мачты
Находим необходимую
высоту мачты:
(3.33)
Где,
-
высота фундамента;
- запас высоты над
фундаментом;
-место строповки от
основания колонны;
- высота стропа;
- длина полиспаста БМ-75
в стянутом виде;
- высота оголовка мачты.
Т.к. высота трубчатых
мачт ограничена 30 м. то для дальнейших расчетов принимаем решетчатую мачту.
Находим суммарное
сжимающее усилие, действующие по оси мачты:
(3.34)
Где,
-
масса решетчатой мачты.
(3.35)
Рассчитываем требуемую
площадь поперечного сечения мачты:
(3.36)
Где,
-коэффициент
продольного изгиба (для решетчатых мачт 0,7-0,9)
- коэффициент условий
работы, для монтажных мачт
;
- расчетное
сопротивление при сжатии для прокатной стали, для стали С38/23 R=210 МПа.
По приложению IV подбираем сечение поясных уголков. Выбираем уголок №10 с
размерами b=100 мм., d=12
мм.,
,
момент инерции I=208,9 см4, радиус инерции r=3,03 см., расстояние от
центра масс z=2,91 см.
Проверяем суммарную
площадь сечения
(3.37)
Задаемся размером
стороны мачты b исходя из высоты мачты Н=46,4 м. то 1400 мм.
Определяем момент
инерции мачты:
(3.38)
Находим радиус инерции
мачты:
(3.39)
Находим гибкость мачты:
(3.40)
Определяем приведенную
гибкость мачты:
Где,
-
коэффициенты зависящие от наклона раскосов, обычно
- площадь сечения
раскосов.
Определяем площадь
сечения раскосов:
(3.42)
Где, Nр - продольное усилие в раскосе, кН.;
m=0,75
- коэффициент условий работы;
Определяем продольное
усилие в раскосе:
(3.43)
По приведенной гибкости
находим коэффициент продольного изгиба
прил. XV.
Полученное сечение мачты
проверяем на устойчивость:
(3.44)
Условие выполнено.
Определяем расчетную
длину ветви поясного уголка между узлами решетки:
(3.45)
Где,
-
коэффициент приведения расчетной длины ветви:
-конструктивная длина
ветви.
Находим гибкость ветви
поясного уголка:
(3.46)
По приведенной гибкости
находим коэффициент продольного изгиба
прил. XV.
Проверяем на
устойчивость участок ветви поясного уголка между узлами решетки:
(3.47)
Где,
Рассчитываем решетку,
соединяющую поясные уголки и состоящую из раскосов и стоек.
Расчет раскоса.
Продольное усилие в
раскосе
,
и требуемую площадь сечения раскоса
рассчитано выше.
По приложению IV подбираем сечение уголков раскосов. Выбираем с запасом уголок №4
с размерами b=40 мм., d=3
мм.,
,
момент инерции I=4,58 см4, радиус инерции r=1,22 см., расстояние от
центра масс z=1,13 см.
Определяем
конструктивную длину раскоса:
(3.48)
Рис. 4. Расчетная схема
решетчатой монтажной мачты
Определяем расчетную
длину раскоса:
(3.49)
Находим гибкость
раскоса:
(3.50)
По приведенной гибкости
находим коэффициент продольного изгиба
прил. XV.
Проверяем раскос на
устойчивость:
(3.51)
Расчет стойки.
Определяем сжимающее
усилие в стойке:
(3.52)
Задаемся размерами
уголка для стойки: уголок выбираем такой же, как и для раскоса.
По приложению IV подбираем сечение уголков раскосов. Выбираем с запасом уголок №4
с размерами b=40 мм., d=3
мм.,
,
момент инерции I=4,58 см4, радиус инерции r=1,22 см., расстояние от
центра масс z=1,13 см.
Определяем расчетную
длину стойки, принимая ее конструктивную длину
и
:
(3.53)
Находим гибкость стойки:
(3.54)
По приведенной гибкости
находим коэффициент продольного изгиба
прил. XV.
Проверяем стойку на
устойчивость:
(3.55)
Условие выполнено.
3.4 Расчет системы
подтаскивания трактором
Рис. 5. Расчетная схема
системы подтаскивания
Находим усилие трения
при перемещении опоры аппарата на тележке по рельсовым путям:
(3.56)
По найденному усилию
трения при перемещении опоры аппарата на тележке по рельсовым путям
выбираем
трактор С-80 с тяговым усилием 88 кН., массой 11,9 т., мощностью двигателя N=68 кВТ. и максимальной скоростью
Находим силу тяги
подобранного тягача по мощности двигателя:
(3.57)
где
-
КПД двигателя и силовой передачи (для тракторов
).
Находим силу тяги тягача
по сцеплению с поверхностью дороги:
(3.58)
где
-
сцепная масса тягача для трактора равна его массе.
- коэффициент сцепления
с дорогой
Принимая во внимание,
что буксования гусениц тягача не будет (
), а также что
наименьшая сила тяги для данного случая превышает расчетное тяговое усилие
тягач
выбран правильно.
Определяем разрывное
усилие каната:
(3.59)
где
-
коэффициент запаса прочности (приложение ХI).
По таблице I подбираем для запасовки канат типа ЛК-Р конструкции 6х19
(1+6+6/6)+1 о.с. ГОСТ 7668-80 с характеристиками:
временное сопротивление
разрыву, МПа 1764
разрывное усилие, кН 68,8
диаметр каната, мм 11,0
3.5 Расчёт системы
оттяжки
Находим угол
между
продольной осью колонны и вертикалью, назначаем
:
(3.60)
Находим усилие в оттяжке
основания колонны от фундамента, задаваясь углом
Рис. 6. Расчетная схема системы
торможения
(3.61)
По найденному усилию для
оттягивания основания оборудования от фундамента при отрыве от земли
выбираем
трактор С-80 с тяговым усилием 88 кН., массой 11,9 т., мощностью двигателя N=68 кВТ. и максимальной скоростью
Находим силу тяги
подобранного тягача по мощности двигателя:
(3.62)
где
-
КПД двигателя и силовой передачи (для тракторов
).
Находим силу тяги тягача
по сцеплению с поверхностью дороги:
(3.63)
где
-
сцепная масса тягача для трактора равна его массе.
- коэффициент сцепления
с дорогой
В результате расчетов
получили, что
,
делаем
вывод: буксования гусениц тягача не будет тягач выбран правильно.
Определяем разрывное
усилие каната:
(3.64)
где
-
коэффициент запаса прочности (приложение ХI).
По таблице I подбираем для запасовки канат типа ЛК-Р конструкции 6х19
(1+6+6/6)+1 о.с. ГОСТ 7668-80 с характеристиками:
временное сопротивление
разрыву, МПа 1764
разрывное усилие, кН 314,0
диаметр каната, мм 24,0
масса 1000 м каната, кг 2110
3.6 Выбор монтажного
штуцера
Подъемное усилие в
каждом полиспасте:
Определяем величину
момента, действующего на штуцер, принимая L=12
см.
(3.65)
Определяем минимальный
момент сопротивления поперечного сечения стального патрубка для штуцера:
(3.66)
Согласно приложениюV подбираем с запасом сечение патрубка D=325/10
с моментом сопротивления
Проверяем на прочность
сварной кольцевой шов крепления штуцера к корпусу аппарата:
(3.67)
Где,
-коэффициент
учитывающий глубину провара (для ручной сварки
);
-толщина шва, при усилии
от 500 до 2500 кН,
;
- радиус штуцера;
- горизонтальная
составляющая усилия
;
-расчетное сопротивление
для стали класса С38/23
Равенство не
выполняется, выбираем трубу D=530.
Равенство выполнено.
такелажный строповочный
оснастка мачта
3.7 Расчет стропов

Подъемное усилие в
каждом полиспасте:
Определяем разрывное
усилие в ветви стропа:
(3.68)
где
-
коэффициент запаса прочности (приложение ХI);
- число ветвей в стропе;
- угол наклона ветви
стропа к вертикали.
(3.69)
По таблице I подбираем для запасовки канат типа ЛК-РО конструкции 6х36
(1+7+7/7+14)+1 о.с. ГОСТ 7668-80 с характеристиками:
разрывное усилие, кН 1715,0
диаметр каната, мм 56,0
масса 1000 м каната, кг 12050
Определяем длину каната
для стропа:
(3.70)
Где,
-
длина ветви стропа;
(3.71)
- число заделок каната в
стропе;
с - длина заделки
каната:
Рис. 8. Схема заделки
каната
(3.72)
Литература
1. Матвеев В.В. «Примеры расчёта такелажной оснастки» М.
Стройиздат 1987 г.
. Крупин Н.Ф. «Методическое пособие по выполнению курсового
проекта по предмету «Подъемно-транспортное и такелажное оборудование» для
средних специальных учебных заведений по специальности №0510-Монтаж и ремонт
промышленного оборудования, специализация - монтаж промышленного оборудования».
Москва 1983 г.