Изоморфизм уравнений диссипативных свойств растворов электролитов
Міністерство освіти і науки України
Кафедра видобування нафти і газу
КУРСОВА РОБОТА
З ДИСЦИПЛІНИ:
«ЗБІР, ПІДГОТОВКА І ТРАНСПОРТУВАННЯ
НАФТО-ГАЗОПРОМИСЛОВОЇ ПРОДУКЦІЇ»
Вступ
Нафтогазова промисловість України і багатьох
інших країн світу є провідною галузю економіки та народного господарства, яка
забезпечує енергетичні, побутові та інші потреби народу. Стабілізація та ріст
видобутку нафти і газу є основною задачею найблищих років.
Виконання такої задачі викликає необхідність
введення в розробку багатьох новорозвіданих нафтових родовищ та спорудження на
них значної кількості виробничих об’єктів збору, транспорту і підготовки
нафтопромислової продукції.
Витрати на обладнання нових нафтових і газових
родовищ та реконструкцію їх на старих нафтогазовидобувних площах складають
більшу частину всих капітальних та експлуатаційних витрат.
Світова практика видобування нафти і газу
виробила значний досвід вдосконалення та оптиматизацію систем збору та
підготовки нафти і газу.
В основі процесів таких виробництв лежить
використання великопродуктивного та багатофункціонального обладнання, яке
забезпечує якісну сепарацію газу від нафти, відокремлення вільної води на
установках їх попереднього скиду, сучасної технології підготовки нафти і газу.
Більшість основних систем збору та підготовки
нафти і газу включають насосні і компресорні станції, сепараційні та вимірні
установки виготовляються заводським способом і в готовому вигляді поставляються
на нафтогазовидобувні промисли.
Це дозволяє оперативно нарощувати потужності по
збору та підготовці нафти і газу та перекидати їх на новостворені площі
нафтогазовидобутку. В курсовому проекті розглянуто Лиманське
нафтогазоконденсатне родовище.
Його геологопромислову характеристику та системи
збору і підготовки нафтогазопромислової продукції.
Метою даного курсового проекту є ознайомлення з
системою збору і підготовки нафтогазопромислової продукції, набуття технічних
навичок по використанню гідравлічних та технологічних розрахунків
трубопроводів, обладнання системи збору і підготовки нафти і газу.
1. Геологічна частина
.1 Коротка геолого-промислова характеристика
родовища
Родовище розташоване в Решетилівському районі
Полтавської області на відстані км від смт Решетилівка. У тектонічному
відношенні воно знаходиться в межах Зачепилівсько-Левенцівського структурного
валу в центральній частині південної прибортової зони Дніпровсько-Донецької
западини.
в 1952 р. сейсмічними дослідженнями МВХ в
породах крайнозою виявлена структурна тераса, а роботами 1953 р. встановлено
підняття у відкладах мезозою. Ці матеріали стали основою для обґрунтування
пошукового буріння на нафту і газ. У 1967 р. при випробуванні свердловини 1 з
верхньовізейського горизонту В-19 (інт. 1687 - 1699 м) отримано приплив газу
дебітом 409 тис. м3/добу через діафрагму діаметром 10 мм. В наступному році
родовище прийняте на Державний баланс. Всього на площі пробурено 20 пошукових,
розвідувальних і експлуатаційних свердловин, якими розкрито теригенні (з
незначним вмістом карбонатів у розрізі) породи від четвертинних до девонських,
а також кристалічні утворення фундаменту.
Сейсмічними дослідженнями і бурінням
встановлено, що Лиманське родовище пов’язане з низкою структур, які
простягаються вздовж крайового розлому амплітудою близько 1 км. це три
малоамплітудні підняття - Лиманське, Західно-Лиманське і Потічанське. Всі вони
є бранхіантиклінальними північно-західного простягання. У візейських відкладах
(горизонт В-19) по ізогіпсі - 1575 м. Лиманське підняття має розміри 2,9х1,1 км
і амплітуду близько 50 м, Західно-Лиманське по ізогіпсі - 1600 м 1,4х0,5 км і
амплітуду до 40 м. Потічанська брахіантикліналь є крайньою північно-західною
структурою родовища. Розміри її в межах ізогіпси - 1675 м 3,1х1,1 км.
Пошуковими свердловинами виявлено такі поклади:
газоконденсатні (горизонтів В-16, В-18) і нафтовий з газовою шапкою (В-19) в
межах Лиманського підняття, нафти (В-19) - Західно-Лиманського і
газоконденсатні (С-5, С-19, В-14 і В-19) - Потічанського підняття. Скупчення
нафти і газоконденсату пластові склепінні. Колектори складені різнозернистими
пісковиками з високими ємнісно-фільтраційними властивостями. Основні запаси
вуглеводнів містяться у горизонті В-19.
Розробка родовища розпочалася в 1968 р.
свердловиною 1 видобутком нафти з покладу горизонту В-19 Лиманського підняття.
Газова частина цього вуглеводневого скупчення почала розроблятися свердловинами
22 і 52 у 1980 р. з 1969 по 1975 р свердловиною 6 проводився відбір нафти з
покладу Західно-Лиманської структури. Розробка газоконденсатних покладів
Потічанського підняття розпочалась у 1980 р., для чого у розрізі було виділено
чотири експлуатаційні об’єкти: горизонтів В-19, В-14, С-19 і С-5. Нафтові
скупчення розроблялися двома свердловинами в режимі розчиненого газу,
газоконденсатні - чотирма свердловинами в газовому та газоводонапірному.
На 1.01 1994 р. видобувалася продукція з
покладів горизонту В-19 Лиманського та горизонтів С-5 і В-14 Потічанського
піднять. Всього відібрано 23,3% нафти і 62,4% газу від їх початкових видобувних
запасів.
На 1.01 1994 р. родовище
знаходиться у розробці.
.2 Фізико-хімічні
характеристики нафти, газу та пластової води
.2.1 Склад і властивості нафти
Нафта й газ являють собою
складну природну суміш вуглеводнів різної будови з домішками не вуглеводневих
компонентів. Склад нафти надзвичайно складний і різноманітний. Він може
змінюватися навіть у межах одного покладу. Разом з тим, усі фізико-хімічні
властивості нафти, її товарні якості в першу чергу визначаються складом.
Характеризуючи склад нафти, використовують поняття елементарного, фракційного і
групового складів.
Елементарним складом нафти
називають частковий вміст у ній тих чи інших хімічних елементів. Основні
елементи, з яких складається нафта - вуглець і водень. У більшості нафт склад
вуглецю коливається в межах 83...87%, кількість водню рідко перевищує 12...
14%. Значно менше в нафті міститься інших елементів: сірки, кисню, азоту. Їхня
частка рідко перевищує 3-4%.
Поділ складних сумішей, до яких
належить нафта, на більш трості називають фракціонуванням. Нафту поділяють на
фракції шляхом перегонки (дистиляції). Фракція нафти, що має інтервал кипіння
30-205 °С - бензин; з інтервалом кипіння 200...300 °С - гас. Усі фракції нафти,
що википають до 300 °С, відносять до світлих нафтопродуктів. Фракція, що
залишилася - це мазут, з якого одержують масла, гудрони, бітуми.
Навіть вузькі фракції нафти
являють собою досить складні суміші різноманітних вуглеводнів. Вміст у нафті
вуглеводнів різних класів відображає груповий вуглеводневий склад. Основна
частина нафти представлені вуглеводнями трьох класів: алканами, циклоалканами й
аренами. Звичайно, в нафті міститься 25-30% за масою алканів, 25-75%
циклоалканів, 10...20% аренів.
У світі розробляється більше 23
тисяч родовищ нафти і газу. Склад нафти кожного родовища унікальний і
визначається різними властивостями нафт. Крім того властивості нафти змінюються
безпосередньо в процесі її видобування - під час руху по пласту, у свердловині,
системах збору і підготовки, при контакті з іншими рідинами та газами. У
практиці нафтовидобування найбільш важливі такі властивості нафти: густина,
в’язкість, газовміст, тиск насичення нафти газом, стисливість нафти і її
усадка.
У пластовій нафті міститься
велика кількість легких фракцій вуглеводнів, які при зниженні тиску переходять
у газову фазу. Цю частину вуглеводнів називають нафтовим, розчиненим у нафті
газом. Дегазація нафти при зниженні тиску - основна причина відмінності
властивостей нафти в поверхневих і пластових умовах.
Кількість розчиненого в нафті
газу характеризує газовміст нафти, під яким розуміють об’єм газу, що виділився
з одиниці об’єму пластової нафти при зниженні тиску і температури від пластових
до стандартних умов (тиск 0,1013 МПа і температура 293 К). Газовміст нафти, як
правило, знаходиться в межах від 25 до 100 м3/м3, але іноді може сягати і
декільком сотень кубометрів газу в кубометрі нафти.
Ступінь насичення нафти газом
характеризує тиск насичення - максимальний тиск, при якому газ починає
виділятися з нафти при її ізотермічному розширенні. Спочатку нафта перебуває
під дією пластового тиску, зниження тиску спричиняє її розширення. Зі зниженням
тиску зменшується кількість газу, що може бути розчинена в нафті. При певному
тиску газ, що міститься в нафті, вже не може бути в ній цілком розчинений і
надлишкова частина газу переходить у вільний стан. Цей тиск і береться за тиск
насичення нафти газом. У міру подальшого зниження тиску об’єм газу, що
виділився, буде зростати аж до повної дегазації нафти.
Тиск насичення нафти газом може
бути рівним пластовому чи бути нижчим від нього. У першому випадку нафта в
пласті повністю насичена газом, у другому - недонасичена. Різниця між тиском
насичення і пластовим може коливатися в значних межак від десятих часток до
десятків МПа. Дані про тиск насичення дають змогу прогнозувати умови, за яких
відбувається перехід нафти в двофазовий стан при русі її в пласті, свердловині
та комунікаціях. Тиск насичення нафти газом на даному родовищі знаходиться в
межах від 5,5 до 40 МПа.
Газовміст нафти, тиск насичення
й інші закономірності виділення газу вивчаються на спеціальних лабораторних
устаткуваннях з використанням проб нафти, відібраних з вибоїв свердловин.
Густина нафти залежить від її
складу, кількості розчиненого газу, тиску і температури. У пластових умовах
більшість нафт мають густину 750...850 кг/м3, а після розгазувания при
нормальних умовах їхня густина збільшується до 830-890 кг/м3.
В’язкість нафти, як і густина,
в пластових і поверхневих умовах різна. Вона зменшується з підвищенням
температури й кількості розчиненого газу і трохи збільшується зі зростанням
тиску. В’язкість нафти змінюється в дуже широких межах. У пластових умовах вона
може складати від десятих часток мПа·с до сотень і тисяч мПа·с. В’язкість
дегазованої нафти в порівнянні з пластовою в кілька разів, а іноді в десятки
разів вища.
З кількістю розчиненого газу в
нафті пов’язаний також об’ємний коефіцієнт β
, який характеризує відношення об’єму нафти в пластових умовах до об’єму цієї ж
нафти після відділення газу на поверхні.
Об’єм нафти в пластових умовах
перевищує об’єм сепарованої нафти у зв’язку з підвищеною пластовою температурою
й вмістом великої кількості розчиненого газу. Тиск через низьку стисливість
нафти незначно впливає на її об’єм. Як правило, об’ємний коефіцієнт нафти
знаходиться в межах 1,05-1,3, але при високому газовмісті він може сягати
декількох одиниць.
Для характеристики зменшення
об’єму нафти під час її видобування на поверхню використовують показник,
названий усадкою нафти. Усадка нафти виражається у відсотках, для деяких нафт
вона може сягати 40-50%.
.2.2 Склад і властивості
природних газів
Природні гази, що видобуваються
з чисто газових, газоконденсатних і нафтових родовищ, за своїм якісним складом
близькі між собою. Вони містять, головним чином, вуглеводні метанового ряду
(алкани) і домішки невуглеводневих компонентів, такі як азот, вуглекислий газ,
сірководень, інертні гази.
Гази, що видобуваються з чисто
газових родовищ, складаються майже з одного метану, у них відсутні важкі
фракції, здатні перейти в рідкий стан при нормальних умовах, і тому їх
називають сухими.
У газах з газоконденсатних
родовищ містяться і більш важкі компоненти, які при нормальному тиску
переходять у рідину, яку називають газовим конденсатом.
Нафтові гази нафтових родовищ
містять значно менше метану і велику частку пропан-бутанової фракції, яка при
нормальній температурі і тиску вище 0,9 МПа знаходиться в рідкому стані і
використовується як скраплений газ.
Серед вуглеводневих компонентів
природних газів особливе місце займають вуглекислий газ і сірководень, що
відноситься до корозійних і токсичних речовин. Вміст їх у газах не перевищує
декількох відсотків, однак зустрічаються гази, в яких кількість сірководню і
вуглекислого газу перевищує 50%, Видобування і перероблення таких газів вимагає
застосування спеціальної технології і корозійностійкого обладнання.
Для опису поведінки газів зі
зміною тиску і температури використовують газові закони. Так як у природних
газах взаємодія молекул, особливо за високих тисків впливає на стан газів
(тобто вони поводять себе як реальні), то для їх опису найчастіше
використовують рівняння стану Клапейрона-Менделєєва, до якого вводиться
поправка, яка враховує відхилення реальних газів від ідеальних і називається
коефіцієнтом стисливості (надстисливості) газу. Узагальнене на реальні гази
рівняння Клапейрона-Менделєєва має вигляд
де: р - тиск газу; V - об’єм газу;-
коефіцієнт надстисливості газу;- маса газу: М - молекулярна маса газу;
Т - абсолютна температура газу;
К - газова постійна.
Коефіцієнт надстисливості газу
визначають шляхом розрахунку або за графіками залежно від зведених тиску і
температури. Зведеними тисками р і температурами Т для сумішей газів називають
безрозмірні відношення дійсних тисків р і температур Т до відповідних
середньокритичих параметрів:
рзв = р/Ркр.сум.; Тзв = Т/Ткр.сум.
де Ркр.сум, Ткр.сум. -
відповідно середньокритичні тиск і температура, що відрізняються від дійсних
критичних тисків і температури для кожного з газів суміші і визначені як
середньозважені за концентраціями компонентів:
де ркр.i і Ткр.i - критичні тиск і
температура i-го компонента, що має об’ємну концентрацію уі.
Грунтуючись на формулі закону
газового стану простежують зв’язок між густиною газу ρг, його
молекулярною масою, тиском і температурою:
З даної формули випливає, що більшу
густину за інших рівних умов мають гази з високою молекулярною масою. Зі
збільшенням тиску густина газів зростає і, навпаки, зменшується зі збільшенням
температури.
Якщо відома густина газу ρо за деякого
тиску ро і температури То, наприклад, у стандартних умовах, то за інших тиску і
температурі густину цього ж газу можна обчислити на підставі закону стану газу
за формулою:
Однією з найважливіших фізичних
характеристик газу є його в’язкість здатність чинити опір переміщенню одних
частинок щодо інших. На подолання сил тертя, зумовлених в’язкістю газу,
витрачається основна частка енергії при русі газу по пласту і газопроводах.
Тому в’язкість газу враховується в усіх розрахунках, зв’язаних з рухом газу.
В’язкість газу залежить від його
складу, тиску і температури. Зі збільшенням молекулярної маси в’язкість газів,
як правило, зменшується. Зі збільшенням тиску в’язкість газу зростає: при
низьких тисках незначно і більш інтенсивно в межах високих тисків.
Порізному залежить в’язкість
газу від температури при низьких і високих тисках. При невеликих тисках
збільшення температури призводить до збільшення в’язкості, а при високих, як і
в рідин, до зменшення в’язкості. В’язкість природних газів навіть при високих
тисках, як правило, невелика.
.2. 3 Склад і властивості
пластових вод
При оцінці фізичних
властивостей вод нафтоносних горизонтів визначаються найважливішими їх
параметрами.
По густині води судять про
кількість розчинених у воді солей.
Під густиною пластової води
розуміють відношення її маси до об’єму, займаному при даній температурі:
За одиницю густини прийнята густина
дистильованої води при 4 ˚С. Величина, зворотна густині, тобто відношення
одиниця об’єму до одиниці маси, називається питомим об’ємом:
Об’ємним коефіцієнтом води
називається відношення питомого об’єму води в пластових умовах до питомого
об’єму її у нормальних умовах:
Об’ємний коефіцієнт пластової води
залежить від кількості розчиненого в ній газу, температури і тиску. Для
пластових вод нафтових родовищ цей коефіцієнт змінюється від 1 до 1,06.
Коефіцієнтом термічного розширення
води називається зміна обсягу 1 м3 води при зміні температури на 1 градус в
умовах сталості тиску:
де Е - коефіцієнт термічного
розширення води, град-1;
∆V - зміна обсягу води при
зміні температури на ∆T градусів;- обсяг води при нормальних умовах.
Коефіцієнт термічного розширення
води збільшується з підвищенням температури і зменшується з підвищенням тиску.
Він залежить також від кількості розчиненого у воді газу і від мінералізації
води.
Чисельні значення цього коефіцієнта
в пластових умовах змінюються від 20·440-5 до 944·10-6 град-1.
Стиненість пластової води
характеризується коефіцієнтом стиснення, що визначається як зміна обсягу 1 м3
води при зміні тиску на одиницю. В умовах постійної температури:
де ∆V - зміна об’єму води при
зміні тиску на ∆р;- обсяг води при нормальних умовах.
Коефіцієнт стиснення, також як і
коефіцієнт теплового розширення, не є постійною величиною і може змінюватися в
пластових умовах у межах (4¸5)·10-10
Па-1.
Коефіцієнт стиснення води залежить
також від кількості розчиненого в ній газу. При наявності газу у воді стиснення
її збільшується по лінійному законі
де S -кількість газу, розчиненого у
воді, м3/м3.
В’язкість пластової води є одним з
істотних параметрів при рішенні питань, зв’язаних з розробкою нафтових родовищ.
Основним фактором, що впливає на в’язкість води в пластових умовах, є
температура. Проведені дослідження показали, що розчинені у воді гази не
роблять істотного впливу на її в’язкість, вміст солей у воді трохи підвищує
неї, але не робить визначального впливу на її величину.
Величина поверхневого натягу
пластових вод на границі з нафтою залежить від їхнього сольового складу, від
складу нафти і наявності в ній і у воді нафтенових кислот і їхніх солей.
Для більшості пластових вод
гідрокарбонатного типу поверхневий натяг на границі з визначеною нафтою досить
невелике - (1-8) мН/м. Поверхневий натяг на границі поділу нафт із твердими
мінералізованными водами вище, біля (44¸26) мН/м.
Таблиця 1.1 Характеристика пластових вод
продуктивних горизонтів.
|
Індекс
горизонту
|
Тип
води
|
Мінералізація,
г/кг
|
Густина,
кг/м3
|
Na/Cl
|
Мікрокомпоненти,
мг/л
|
|
|
|
|
|
J
|
Br
|
B
|
K
|
NH4
|
|
C-5
|
ХК
|
15,0/359,0
|
1012/1269
|
0,02/0,5
|
-
|
-
|
-
|
-
|
-
|
|
В-16
|
-
|
172,9
|
1040/1120
|
-
|
-
|
-
|
-
|
-
|
-
|
|
В-19
|
-
|
145,0/202,6
|
1120
|
0,71/0,79
|
13,88/19,71
|
18,94/221,9
|
0,6/10
|
-
|
67,69
|
Таблиця 1.2 Характеристика покладів газу
|
Вік
|
Індекс
горизонту
|
Абсолютна
глибина контакту, м
|
Висота
покладу, м
|
Тип
покладу
|
Режим
покладу
|
Товщина,
м
|
Коефіцієнт
пористості
|
Проникність,
1ּ10-3 ìêì2,
â³ä/äî
|
Òèï
êîëåктора
|
Пластовий
тиск, початковий, МПа
|
Пластова
температура, К
|
Дебіт
початковий, тис м3/добу
|
|
|
|
|
|
|
горизонту,
від/до
|
колектора
|
Від/до
|
підрахований
|
|
|
|
|
|
|
Лиманське
підняття
|
|
С1v2
|
B-16
|
-1466,3
|
58
|
Пластовий
склепінний
|
Газ.
|
14/22
|
3,4
|
0,15/0,21
|
0,17
|
38,6
|
Пор.
|
14,7
|
327
|
36,6
|
|
С2v2
|
B-18
|
-1530,9
|
61
|
Пластовий
склепінний
|
-
|
4/7
|
2,6
|
0,12/0,17
|
0,16
|
39,6
|
-
|
16,3
|
328
|
83,2
|
|
С3v2
|
B-19
|
-1553,5
|
64
|
-
|
-
|
21/39
|
5,2
|
0,11/0,22
|
0,17
|
25,0
|
-
|
16,7
|
329
|
409,0
|
|
Потічанське
підняття
|
|
С1
s2
|
C-5
|
-1217,7
|
96
|
-
|
Газовонапірний
|
4/8
|
3,4
|
0,19/0,24
|
0,23
|
89,0
|
-
|
13,2
|
318
|
176,0
|
|
C1
1
|
C-19
|
-1404,5
|
95
|
-
|
Газовонапірний
|
12/14
|
3,1
|
0,09/0,20
|
0,18
|
71,6
|
-
|
15,0
|
325
|
730,0
|
|
С1v2
|
В-14
|
-1508,0
|
100
|
-
|
-
|
17/25
|
7,2
|
0,14/0,20
|
0,19
|
-
|
-
|
15,9
|
328
|
477,0
|
|
С2v2
|
В-19
|
-1681,5
|
108
|
-
|
-
|
21/39
|
6,9
|
0,11/0,22
|
0,18
|
-
|
-
|
18,0
|
324
|
709,0
|
Таблиця 1.3 Характеристика покладів нафти
|
Вік
|
Індекс
горизонту
|
Абсолютна
глибина контакту, м
|
Висота
покладу, м
|
Тип
покладу
|
Режим
покладу
|
Товщина,
м
|
Коефіцієнт
пористості
|
Проникність,
1ּ10-3 ìêì2,
â³ä/äî
|
Òèï
êîëектора
|
Коецієнт
насичення
|
Пластовий
тиск, початковий, МПа
|
Пластова
температура, К
|
Дебіт
початковий, т/добу
|
|
|
|
|
|
|
горизонту,
від/до
|
колектора
|
Від/до
|
підрахований
|
|
|
|
|
|
|
|
Лиманське
підняття
|
|
С1v2
|
B-19
|
-1583
|
30
|
Пластовий
склепінний
|
Розч.
газ.
|
-
|
2,6
|
-
|
0,17
|
13,0
|
Пор.
|
0,71
|
16,8
|
331
|
28,9
|
|
Західно-Лиманське
підняття
|
|
С2v2
|
B-19
|
-1584,5
|
21
|
Пластовий
склепінний
|
-
|
-
|
2,4
|
-
|
0,17
|
18,0
|
-
|
0,71
|
16,9
|
333
|
16,9
|
|
|
|
|
|
|
|
|
|
|
|
|
|
|
|
|
|
Таблиця 1.4 Характеристика природних газів
|
Індекс
горизонту
|
Молекулярна
маса
|
Відносна
густина
|
Потенціальний
вміст стабільного конденсату, 1ּ103
êã/ì3
|
Теплотворна
здатність, кДж
|
Склад
газу, об’ємних %
|
|
|
|
|
|
СН4
|
С2H6
|
C3H8
|
C4H10
|
C5H12
|
H2S
|
CO2
|
N2
|
He
|
|
|
|
|
|
|
|
|
n
|
i
|
n
|
i
|
|
|
|
|
|
Лиманське
підняття
|
|
В-16
|
-
|
0,592
|
35,9
|
-
|
94,64
|
3,44
|
0,70
|
0,58
|
0,3
|
0,32
|
-
|
-
|
0,75
|
-
|
0,10
|
|
В-18
|
0,6
|
35,9
|
-
|
94,09
|
2,09
|
0,97
|
-
|
-
|
-
|
-
|
-
|
1,05
|
1,28
|
0,017
|
|
В-19
|
-
|
0,663
|
35,9
|
-
|
86,04
|
5,97
|
2,14
|
0,69
|
0,27
|
0,28
|
-
|
-
|
-
|
3,24
|
-
|
|
Початівське
підняття
|
|
С-5
|
-
|
0,785
|
34,1
|
|
70,15
|
15,60
|
7,47
|
1,80
|
0,94
|
1,28
|
-
|
-
|
1,17
|
1,36
|
0,08
|
|
С-19
|
-
|
0,617
|
40,5
|
|
92,28
|
2,33
|
1,67
|
0,42
|
0,36
|
0,35
|
-
|
-
|
0,79
|
1,69
|
0,10
|
|
В-14
|
-
|
0,667
|
46,9
|
|
86,60
|
5,59
|
2,83
|
0,65
|
0,36
|
0,10
|
-
|
-
|
1,07
|
1,70
|
0,09
|
|
В-19
|
-
|
0,606
|
53,2
|
|
92,76
|
3,67
|
0,83
|
0,28
|
0,16
|
0,16
|
-
|
-
|
0,82
|
1,24
|
0,01
|
Таблиця 1.5 Характеристика конденденсатів
|
Індекс
горизонту
|
Молекулярна
маса
|
Густина,
кг/м3
|
В’язкість,
1ּ10-6 ì2/ñ
|
Ïî÷àòîê
êèï³ííÿ, Ê
|
Âèõ³ä
ôðàêö³é при К, об’ємних %
|
Груповий
склад ВВ, %
|
|
|
|
|
|
ПК-373
|
373-423
|
423-473
|
473-523
|
523-573
|
573-623
|
623-КК
|
асфальтени
|
пара-фіни
|
сірка
|
метанові
|
нафтенові
|
ароматичні
|
|
Потічанське
підняття
|
|
С-5
|
104
|
744
|
-
|
304
|
-
|
85
|
8
|
-
|
2,00
|
-
|
-
|
-
|
-
|
-
|
-
|
-
|
-
|
|
В-16
|
108
|
781
|
-
|
-
|
-
|
-
|
-
|
-
|
-
|
-
|
-
|
-
|
-
|
-
|
-
|
-
|
-
|
|
В-19
|
105
|
764
|
-
|
310
|
-
|
72
|
16/24
|
-
|
5,57
|
-
|
-
|
-
|
-
|
-
|
-
|
-
|
-
|
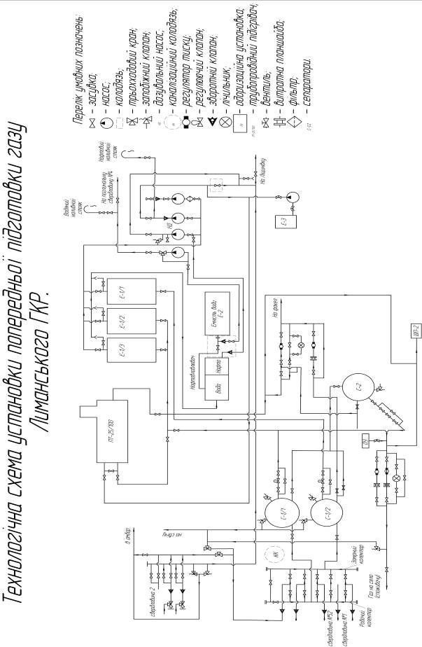
2. Òåõíîëîã³÷íà
÷àñòèíà
.1 Ñèñòåìà
çáîðó ³ ï³äãîòîâêè
íàôòî-ãàçîïðîìèñëîâî¿
ïðîäóêö³¿ íà ðîäîâèù³
(îïèñ òåõíîëîã³÷íî¿
ñõåìè)
Ïðèíöèïîâà
òåõíîëîã³÷íà
ñõåìà íàâåäåíà
íà ðèñóíêó 2.1
. Ðîçïîä³ëü÷à
ãðåá³íêà
Ðîçïîä³ëü÷à
ãðåá³íêà ïåðåäáà÷àº
çá³ð ïðîäóêö³¿
íàôòîâèäîáóâíèõ
ñâåðäëîâèí â çàãàëüíèé
êîëåêòîð, äðîñåëþâàííÿ
ïðîäóêö³¿ äî ðîáî÷îãî
òèñêó äðîñåëþâàííÿ
íàôòè ïåðøîãî
ñòóïåíÿ (ÑÍ-1), ïåðåêëþ÷åííÿ
ñâåðäëîâèí íà
äîñë³äíèöüêó
ë³í³þ òà â³äêëþ÷åííÿ
ïðè ¿õ çóïèíö³.
Äëÿ ãàçë³ôòíî¿
åêñïëóàòàö³¿
ñâåðäëîâèí, íåîáõ³äíî
âñòàíîâèòè íà
ãðåá³íö³ êóòîâ³
âåíòèë³ òà äðîñåë³
(øòóöåðè).
Ïðîìèñëîâ³
âèêèäí³ òðóáîïðîâîäè
íàôòîçá³ðíî¿
ìåðåæ³ ðîçòàøîâàí³
çà ïðîìåíåâîþ
ñõåìîþ, ùî äîçâîëÿº
ï³äêëþ÷èòè êîæíó
ç íèõ äî òàêèõ
ïåðåïóñêíèõ êîëåêòîð³â:
êîëåêòîð
ñâåðäëîâèí, ïåðåâåäåíèõ
íà ãàçë³ôòíó
åêñïëóàòàö³þ;
êîëåêòîð
ñâåðäëîâèí ç íèçüêèìè
òèñêàìè, ïðàöþþ÷èõ
çà ³ñíóþ÷îþ òåõíîëî㳺þ
(øëÿõîì íàêîïè÷åííÿ
òèñêó íà îáìåæåíèõ
äåïðåñ³ÿõ);
çàì³ðíèé
êîëåêòîð äëÿ ïî÷åðãîâîãî
ï³äêëþ÷åííÿ ñâåðäëîâèí
äî çàì³ðíî-äîñë³äíèöüêî¿
ë³í³¿;
êîëåêòîð
ïåðåêëþ÷åííÿ
ñâåðäëîâèí íà
ï³äãîòîâêó ãàçó
ó âèïàäêó ïðîðèâ³â
ãàçó ³ç ãàçîâî
øàïêè òà ïåðåâîäó
ñâåðäëîâèí ó ôîíä
ãàçîâèõ;
Äëÿ çàïîá³ãàííÿ
ã³äðàòîóòâîðåííÿ
ïåðåäáà÷åíî ïîäà÷ó
ìåòàíîëó íà âõ³äíó
íèòêó äî êîæíî¿
ñâåðäëîâèíè.
. Óñòàíîâêà
çàì³ðó äåá³ò³â
ñåïàðàö³ ïðîäóêö³
ñâåðäëîâèí
×åðåç çàì³ðíèé
êîëåêòîð ï³ñëÿ
ðîçïîä³ëü÷î¿
ãðåá³íêè ñõåìà
ïåðåäáà÷ຠìîæëèâ³ñòü
ï³äêëþ÷åííÿ êîæíî¿
íàôòîâèäîáóâíî¿
ñâåðäëîâèíè íà
çàì³ðíî-äîñë³äíèöüêó
ë³í³þ.
 çàì³ðíîìó
ñåïàðàòîð³ Ñ3-1
ïðîõîäèòü äåãàçàö³ÿ
íàôòè äî òèñêó
3,0 ÌÏà (ïð åêñïëóàòàö³¿
ãàçë³ôòîì). ³äñåïàðîâàíèé
ãàç çàì³ðÿºòüñÿ
ë³÷èëüíèêîì ³
íàäõîäèòü íà
ñåïàðàòîð äðóãîãî
ñòóïåíÿ óñòàíîâêè
ÍÒÑ. гäèííà ÷àñòèíà
ïîñòóïຠäî ñåïàðàòîðà
Ñ3-2, äå äàë³ çä³éñíþºòüñÿ
äåãàçàö³ÿ íàôòè
ïðè òèñêó 1,2 ÌÏà.
Íàôòîâèé ãàç
íàäõîäèòü äî
ïàëèâíîãî ãàçó
ÑÍ-1, äå ñåïàðàö³ÿ
ãàçó â³äáóâàºòüñÿ
ïðè òèñêó 0,03 ÌÏà
³ äàë³ ãàç ïîäàºòüñÿ
â ñèñòåìó ïàëèâíîãî
ãàçó. гäèííà
÷àñòèíà çàì³ðÿºòüñÿ
ë³÷èëüíèêîì ÐÅ
³ ïîäàºòüñÿ íà
ê³íöåâó ñåïàðàö³éíó
óñòàíîâêó ³ íà
ñêëàä íàôòè.
. Óñòàíîâêà
ï³äãîòîâêè âèñîêî
íàï³ðíîãî ãàçë³ôòíîãî
ãàçó
 ÿêîñò³
ðîáî÷îãî àãåíòó
äîö³ëüíî âèêîðèñòîâóâàòè
ïðèðîäíèé ãàç,
ÿêèé ìຠó ñêëàä³
ñóõ³ êîìïîíåíòè
(ìåòàí, åòàí) ³
íåçíà÷íó ÷àñòèíó
ïðîïàíáóòàíîâèõ
ôðàêö³é. Äî òàêèõ
ñâåðäëîâèí â³äíîñÿòüñÿ
ñâ.. ¹ 202, 205. Äëÿ ïåðåêëþ÷åííÿ
öèõ ñâåðäëîâèí
íà óñòàíîâêè
ï³äãîòîâêè ãàçë³ôòíîãî
ãàçó íåîáõ³äíî
âèêîíàòè ïåðåìè÷êè
â³ä ðîçïîä³ëüíî¿
ãðåá³íêè äî êîëåêòîðó
ïîäà÷³ ãàçë³ôòíîãî
ãàçó íà óñòàíîâêó.
Ãàçë³ôòíèé
ãàç ïîäàºòüñÿ
äî ñåïàðàòîðà
îñóøêè ãàçó
ÑÃÃ. Ïåðåä ñåïàðàòîðîì
ãàç äðîñåëþºòüñÿ
äî òèñêó 8-10 ÌÏà.
ϳñëÿ ñåïàðàòîðà
ãàç ï³ä³ãð³âàºòüñÿ
â òåïëîîáì³ííèêó
Ò-1 «ãàç - ÄÅû äî òåìïåðàòóðè
+40º
Ñ
³ íàäõîäèòü äî
ñòàíö³¿ ðîçïîä³ëåííÿ
ãàçë³ôòíîãî
ãàçó (ç ëîêàëüíîþ
àâòîìàòèêîþ
òèïó ÓÐÃ-Ë ïî ÒÓ
39-1043-85). Âèãîòîâëþâà÷
óñòàíîâêè ðîçïîä³ëåííÿ
ãàçë³ôòíîãî
ãàçó - ÀÒ ÄÇ «ÒÓÐÁÎÃÀÇ
4». Ïîäà÷à ãàçë³ôòíîãî
ãàçó çä³éñíþºòüñÿ
ïî ³ñíóþ÷³é ñèñòåì³
³íã³á³òîðîïðîâîä³â.
Âðàõîâóþ÷è, ùî
ñâåðäëîâèíè áóäóòü
ïðàöþâàòè â ðåæèì³
ïåð³îäè÷íîãî
ãàçë³ôòó, òîáòî
ïî ì³ð³ â³äíîâëåííÿ
ñòîâïà ð³äèíè
â ÍÊÒ ïîäà÷à ãàçó
ïðîâîäèòüñÿ òàêîæ
ïåð³îäè÷íî. ϳñëÿ
ïðîâåäåííÿ òåõíîëîã³÷íî
îïåðàö³¿ ïî öèðêóëÿö³¿
ðîáî÷îãî àãåíòó
â ñâåðäëîâèíó
³íã³á³òîðîïðîâîäè
ïåðåêëþ÷àþòüñÿ
íà ðåæèì ïîäà÷³
³íã³á³òîðó.
. Óñòàíîâêà
ñåïàðàö³¿ íàôòè
Íàôòîãàçîâà
åìóëüñ³ÿ ï³ñëÿ
ï³ñëÿ ðîçïîä³ëü÷î¿
ãðåá³íêè ïî çá³ðíîìó
êîëåêòîðó íàäõîäèòü
äî ñåïàðàòîðà
Ñí-1 ïåðøîãî ñòóïåíÿ,
äå ïðîõîäèòü äåãàçàö³ÿ
ïðè òèñêó 5,5323 ÌÏà
³ ÷àñòêîâèé ñêèä
âîäè. Ãàç äåãàçàö³¿
çàì³ðÿºòüñÿ ë³÷èëüíèêîì
³ íàäõîäèòü íà
óñòàíîâêó ñåïàðàö³¿
2-ãî ñòóïåíÿ Ñí-2,
äå ¿¿ äåãàçàö³ÿ
â³äáóâàºòüñÿ
ïðè òèñêó ïðóæíîñò³
ïàð³â äî 1,244 ÌÏà, ³
òàêîæ ïðîõîäèòü
÷àñòêîâå â³ää³ëåííÿ
ïëàñòîâî¿ âîäè.
Ãàç äåãàçàö³¿
çàì³ðÿºòüñÿ ë³÷èëüíèêîì
³ ïîñòóïຠâ ñåïàðàòîð
ï³äãîòîâêè ïàëèâíîãî
ãàçó Ñï-1. Íàôòà
íàäõîäèòü äî
òåïëîîáì³ííèêà
Ò-2 (íàôòà-íàôòà)
³ äàë³ äî Ò-3 (íàôòà-ÄÅÃ),
äå íàãð³âàºòüñÿ
äî òåìïåðàòóðè
70º
Ñ.
ϳñëÿ ï³ä³ãð³âó
íàôòà ïîñòóïàº
â ñåïàðàòîð ê³íöåâî¿
ñåïàðàö³¿ ïðè
òèñêó 0,08 ÌÏà.  òåïëîîáì³ííèêó
Ò-2 íàôòà äîãð³âàºòüñÿ
çâîðîòí³ì ïîòîêîì
íàôòè ï³ñëÿ ÊÑÓ.
Ïðèçíà÷åííÿ
ê³íöåâî¿ ñåïàðàö³éíî¿
óñòàíîâêè - äåãàçàö³ÿ
íàôòè äî òèñêó
500 ìì. âîä ñò. Äåãàçîâàíà
íàôòà ï³ñëÿ äîãð³âó
â Ò-2 íàäõîäèòü
äî ñêëàäó ñèðî¿
íàôòè. ³äâàíòàæåííÿ
íàôòè ïðîâîäèòüñÿ
â êîíäåíñàòîðîïðîâ³ä-ïåðåìè÷êó
ÌÏÃÐÑ Ñîëîõà-Á³ëüñüê.
. Ñèñòåìà
óòèë³çàö³¿ íàôòîâîãî
ãàçó ³ ôàêåëüíà
ñèñòåìà
Òåõíîëîã³÷íîþ
ñõåìîþ ïåðåäáà÷àºòüñÿ
ñèñòåìà óòèë³çàö³¿
íàôòîâîãî ãàçó:
Ãàç ñåïàðàö³éíî
íàôòè ï³ñëÿ Ñí-1
ç òèñêîì 5,5 ÌÏà
ïîäàºòüñÿ íà óñòàíîâêó
ÍÒÑ, äå çì³øóºòüñÿ
³ç ïîòîêîì ïðèðîäíîãî
ãàçó;
Ãàç ñåïàðàö³éíî¿
íàôòè ³ç òèñêîì
1,2 ÌÏà ïîäàºòüñÿ
íà ï³äãîòîâêó
äî ñåïàðàòîðà
Ñí-1 ³ äàë³ â ñèñòåìó
ïàëèâíîãî ãàçó;
Ãàç ñåïàðàö³éíî¿
íàôòè ³ç òèñêîì
äî 0,08 ÌÏà ï³ñëÿ ÊÑÓ
ïîäàºòüñÿ íà ï³äãîòîâêó
äî ñåïàðàòîðà
Ñö-2 ³ äàë³ â ñèñòåìó
ïàëèâíîãî ãàçó;
Ïî ñòóïåíÿì
íåáåçïå÷íîñò³
ïåðåäáà÷åí³ ôàêåëüí³
ñèñòåìè:
âèñîêîãî
òèñêó - äëÿ ïðèéíÿòòÿ
ñêèä³â ³ç îáëàäíàííÿ,
ùî ïðàöþº ï³ä òèñêîì
á³ëüøèì â³ä 0,2 ÌÏà
äî 6,4 ÌÏà;
íèçüêîãî
òèñêó - äëÿ ïðèéíÿòòÿ
ñèê³â ³ç àïàðàò³â
òà îáëàäíàííÿ,
ùî ïðàöþº ï³ä òèñêîì
ìåíøå 0,212 ÌÏà;
Äæåðåëà ñêèä³â
ãîðþ÷èõ íåêîíäèö³éíèõ
ãàç³â ³ ïàð³â ðîçïîä³ëåí³
òàêèì ÷èíîì:
à) ïîñò³éí³
- â³ä àïàðàò³â ê³íöåâî¿
äåãàçàö³¿ íàôòè
³ ïëàñòîâî¿ âîäè;
á) ïåð³îäè÷í³
- ïðè ïîçàøòàòíèõ
ñèòóàö³ÿõ ³ ïóñêîâèõ
ðîáîòàõ, ñïîðîæíåííÿ
óñòàíîâêè àáî
äåÿêèõ àïàðàò³â
ïåðåä ðåìîíòîì;
â) àâàð³éí³
- äëÿ ñêèäó â³ä çàïîá³æíèõ
êëàïàí³â ³ ³íøèõ
ïðèñòðî¿â àâàð³éíîãî
ñêèäó.
Ñèñòåìà
óòèë³çàö³¿ ïðîäóêò³â
ñåïàðàö³¿ íàôòè
(äðåíàæíèõ ñòîê³â).
Ïëàñòîâà âîäà
³ç «íèçó» ñåïàðàòîð³â
ñêèäàºòüñÿ â
ñèñòåìó çáîðó
äðåíàæíèõ ñòîê³â
³ íàäõîäèòü â
ºìí³ñòü ÅÂ-561.  ºìíîñò³
ïðîâîäèòüñÿ äåãàçàö³ÿ
ïëàñòîâî¿ âîäè.
2.2 óäðàâë³÷íèé
ðîçðàõóíîê òðóáîïðîâîä³â
ïðè ðóñ³ ãàçó,
îäíîð³äíî¿ ð³äèíè,
âîäîíàôòîâèõ
³ ãàçîð³äèííèõ
ñóì³øåé
.2.1 Âèçíà÷èòè
âíóòð³øí³é ä³àìåòð
ïðîìèñëîâîãî
êîëåêòîðó, ÿêèé
òðàíñïîðòóº ïëàñòîâó
âîäó
Äàíî: Òåìïåðàòóðà
t=24°Ñ, òèñê íà âõîä³
â òðóáîïðîâ³ä
Ð1=2,12 ÌÏà, íà âèõîä³
Ð2=6,545 ÌÏà, øîðñòê³ñòü
âíóòð³øíüî¿
ïîâåðõí³ òðóá
=0,066ìì,
ñóìàðíèé îï³ð
ì³ñöåâèõ îïîð³â
ε=18,
ï’ºçîìåòðè÷íå
ïîëîæåííÿ ïî÷àòêó
z1 =534 ì ³ ê³íöÿ òðóáîïðîâîäó
z2 =13,5 ì, äîâæèíà òðóáîïðîâîäó
L=143 êì, ñîëåâì³ñò
ïëàñòîâî¿ âîäè
S=239 êã/ì3, ìàñîâà
âèòðàòà âîäè
Q=756 ì3/äîáó,
Ðîçâ’ÿçîê
Äàíó çàäà÷ó
ðîçâ’ÿçóþòü ãðàôîàíàë³òè÷íèì
ìåòîäîì â íàñòóïí³é
ïîñë³äîâíîñò³.
Ãóñòèíà
ïëàñòîâî¿ (ì³íåðàë³çîâàíî¿)
âîäè
(êã/ì3), â çàëåæíîñò³
â³ä ñîëåâì³ñòó
ìîæå áóòè ðîçðàõîâàíà
ïî ôîðìóë³:
(2.1)
äå
- ãóñòèíà
äèñòèëüîâàíî¿
âîäè ïðè 20°Ñ, êã/ì3;
S - êîíöåíòðàö³ÿ
ñîë³ â âîä³ (ðîç÷èí³),
êã/ì3.
Çàëåæí³ñòü
ãóñòèíè âîäíèõ
ðîç÷èí³â ñîëåé
â³ä òåìïåðàòóðè
t(°Ñ) â ³íòåðâàë³
0 - 45°Ñ âèðàõîâóºòüñÿ
òàêèì ÷èíîì:
(2.2)
äå
,
- ãóñòèíà
ì³íåðàë³çîâàíî¿
âîäè ïðè òåìïåðàòóð³
t ³ 20°Ñ â³äïîâ³äíî,
(êã/ì3).
Ãóñòèíà
ïëàñòîâî¿ âîäè
ïðè 20°Ñ
êã/ì3
Ïðè òåìïåðàòóð³
t=22 °Ñ
êã/ì3
Â’ÿçê³ñòü
äèñòèëüîâàíî¿
âîäè ïðè òåìïåðàòóð³
t=28°Ñ
(2.3)
ìÏà ñ
Δρ*
- ïàðàìåòð, ÿêèé
âèçíà÷àþòü ïî
ôîðìóë³:
(2.4)
Ïàðàìåòð
Δρ*
êã/ì3.
гçíèöÿ
ì³æ ãóñòèíîþ
ì³íåðàë³çîâàíî¿
³ äèñòèëüîâàíî¿
âîäè ïðè 20 °Ñ
êã/ì3
òàê ÿê
Δρ=20,84 êã/ì3 <
Δρ*=94,2
êã/ì3, òî â’ÿçê³ñòü
ì³íåðàë³çîâàíî¿
âîäè ïðè t=28°Ñ ³ S=29 êã/ì3
(2.5)
äå
- â'ÿçê³ñòü
ïëàñòîâî¿ âîäè
ïðè òåìïåðàòóð³
t, ìÏà∙ñ;
- â’ÿçê³ñòü
äèñòèëüîâàíî¿
âîäè ïðè òåìïåðàòóð³
t, ìÏà∙ñ;
ìÏà ñ
Îòæå ïàðàìåòðè
ïëàñòîâî¿ âîäè
ïðè äàí³é òåìïåðàòóð³
³ ñîëåâì³ñòó:
- ãóñòèíà
1022,14 êã/ì3
â’ÿçê³ñòü
0,884 ìÏà·ñ
Ïåðåïàä âèñîò
ì³æ ê³íöåì ³ ïî÷àòêîì
òðóáîïðîâîäó:
-13,5=0,5 ì
Îá’ºìíà âèòðàòà
ð³äèíè:
ì3/ñ
Çàäàºìîñÿ
äåê³ëüêîìà çíà÷åííÿìè
âíóòð³øíüîãî
ä³àìåòðó òðóáîïðîâîäó:=0,06
ì; d2=0,0625 ì ³ ò. ä. äî d13=0,11ì.
Ïîäàëüø³
ðîçðàõóíêè âèêîíóºìî
â íàñòóïí³é ïîñë³äîâíîñò³:
äëÿ
d1=0,06 ì.
ñåðåäíÿ
øâèäê³ñòü ðóõó
âîäè â òðóáîïðîâîä³
êðèòåð³é
Ðåéíîëüäñà=
;
ßê
áà÷èìî Re1>Reêð =2320 - òóðáóëåíòíèé
ðóõ.
Âèçíà÷àºìî
çîíó òåðòÿ:

,
;
,
.
ßê
áà÷èìî
< Re1 <
, çîíà çì³øàíîãî
òåðòÿ.
Êîåô³ö³ºíò
ã³äðàâë³÷íîãî
îïîðó:
ïåðåïàä
òèñêó ΔÐ1 ïðè ä³àìåòð³
òðóáîïðîâîäó
d1, ì³æ ïî÷àòêîì
³ ê³íöåì òðóáîïðîâîäó
ç âðàõóâàííÿì
âòðàò íà äîâæèíó
L, íà ïîäîëàííÿ
ì³ñöåâèõ îïîð³â
³ ïåðåïàäó âèñîò
Δz
ð³âíèé
Äàë³
áåðåìî íàñòóïíèé
ä³àìåòð d2 ³ ïîâòîðþºìî
ðîçðàõóíêè ³
ò. ä. Ðåçóëüòàòè
ðîçðàõóíê³â çâîäèìî
â òàáëèöþ
Òàáëèöÿ
2.1 Ðåçóëüòàòè ðîçðàxóíê³â
|
d1,ì
|
v1,ì
|
Re1
|
λ1
|
ΔP1ÌÏà
|
|
0,06
|
3,007785
|
208055,7
|
0,022204
|
2,305767
|
|
0,0625
|
2,771975
|
199733,5
|
0,014967
|
1,294381
|
|
0,065
|
2,562846
|
192051,4
|
0,015114
|
1,076966
|
|
0,0675
|
2,376521
|
184938,4
|
0,015257
|
0,902483
|
|
0,07
|
2,209801
|
178333,4
|
0,015397
|
0,761304
|
|
0,0725
|
2,060029
|
172184
|
0,015532
|
0,646197
|
|
0,075
|
1,924982
|
166444,6
|
0,015665
|
0,551682
|
|
0,0775
|
1,802793
|
161075,4
|
0,015794
|
0,473559
|
|
0,08
|
1,691879
|
156041,8
|
0,015919
|
0,408585
|
|
0,0825
|
1,590894
|
151313,2
|
0,016042
|
0,354233
|
|
0,085
|
1,498689
|
146862,8
|
0,016162
|
0,308518
|
|
0,0875
|
1,414273
|
142666,8
|
0,01628
|
0,26987
|
|
0,09
|
1,336793
|
138703,8
|
0,016395
|
0,237039
|
|
0,0925
|
1,265511
|
134955
|
0,016508
|
0,209021
|
|
0,095
|
1,199781
|
131403,6
|
0,016618
|
0,185008
|
|
0,0975
|
1,139043
|
128034,3
|
0,016726
|
0,164343
|
|
0,1
|
1,082803
|
124833,4
|
0,016833
|
0,14649
|
|
0,1025
|
1,030627
|
121788,7
|
0,13101
|
|
0,105
|
0,982134
|
118889
|
0,017039
|
0,11754
|
|
0,1075
|
0,936984
|
116124,1
|
0,01714
|
0,105779
|
|
0,11
|
0,894878
|
113484,9
|
0,017239
|
0,095479
|
Ïî ðåçóëüòàòàõ
ðîçðàõóíê³â áóäóºìî
ãðàô³ê «Çàëåæí³ñòü
ð³çíèö³ òèñê³â
íà ïî÷àòêó ³ â
ê³íö³ òðóáîïðîâîäó
â³ä ä³àìåòðó».
³äîìî,
ùî
, â³äêëàäàþ÷è
öå çíà÷åííÿ íà
ãðàô³êó çíàõîäèìî
âíóòð³øí³é ä³àìåòð
òðóáîïðîâîäó
ì.
Âèñíîâîê:
â ðåçóëüòàò³ ïðîâåäåíèõ
ðîçðàõóíê³â áóëî
ïîáóäîâàíî ãðàô³ê
«Çàëåæí³ñòü ð³çíèö³
òèñê³â íà ïî÷àòêó
³ â ê³íö³ òðóáîïðîâîäó
â³ä ä³àìåòðó», çà
ÿêèì âèçíà÷åíî,
ùî ïðè ïåðåïàä³
òèñêó â³ä 7,222 ÌÏà
äî 6,8 ÌÏà ä³àìåòð
ïðîìèñëîâîãî
êîëåêòîðó, ÿêèé
òðàíñïîðòóº ïëàñòîâó
âîäó ñêëàäàº
88 ìì
2.3 Òåõíîëîã³÷íèé
ðîçðàõóíîê ñåïàðàòîð³â
äëÿ ï³äãîòîâêè
íàôòîãàçîïðîìèñëîâî¿
ïðîäóêö³¿
.3.1 Îïèñ ñåïàðàòîðó
òèïó äîöåíòðîâèé
ðåãóëþºìèé
Ñåïàðàòîðè
äëÿ ïðèðîäíîãî
ãàçó ïðèçíà÷åí³
äëÿ îáðîáêè ïðîäóêö³¿
ãàçîâèõ ³ ãàçîêîíäåíñàòíèõ
ñâåðäëîâèí, ùî
ìàþòü, ÿê ïðàâèëî,
âåëèê³ äåá³òè
ãàçó ³ íåâåëèê³
äåá³òè ìàëîâ’ÿçêîãî
êîíäåíñàòó.
Ñåïàðàòîðè
äëÿ ïðèðîäíîãî
ãàçó ðîçðàõîâóþòü
ïî ãàçó, øâèäê³ñòü
ÿêîãî ïîâèííà
áóòè òàêîþ, ùîá
êðàïåëüíà ð³äèíà
äîïóñòèìèõ ðîçì³ð³â
³ ÷àñòî÷êè ïîðîäè
íå âèíîñèëèñü
çà ìåæ³ ñåïàðàòîðà.
Ñèëè, ùî âïëèâàþòü
íà ðîçä³ë ãàçó
³ ð³äèíè â ñåïàðàòîðàõ,
íàé÷àñò³øå º
äîöåíòðîâ³ àáî
³íåðö³éí³ â ïîºäíàíí³
ç ñèëàìè òÿæ³ííÿ
³ àäãå糿. Êîåô³ö³ºíòîì
ñåïàðàö³¿ â ñåïàðàòîðàõ
ïðèðîäíîãî ãàçó
íàçèâàþòü â³äíîøåííÿ
ìàñè êðàïåëüíî¿
ð³äèíè, ùî âèíåñåíà
ïîòîêîì ãàçó
çà ìåæ³ ñåïàðàòîðà,
äî ìàñè êðàïåëüíî¿
ð³äèíè, ùî çíàõîäèòüñÿ
â ãàçîâ³é ôàç³
äî êðàïëåâëîâëþâàëüíî¿
ñåêö³¿. Êîåô³ö³ºíò
ñåïàðàö³¿ çàëåæèòü
â³ä áàãàòüîõ
ôàêòîð³â: âì³ñò
ð³äêî¿ ôàçè â
êðàïåëüíîìó âèãëÿä³,
ùî çíàõîäèòüñÿ
äî êðàïëåâëîâëþâàëüíî¿
ñåêö³¿, ô³çè÷í³
âëàñòèâîñò³
ðîçä³ëÿþ÷è ôàç,
ðóõó ãàçó â êðàïëåâëîâëþâàëüí³é
ñåêö³¿ ³ â îá’ºì³
ñåïàðàòîðà, ì³ñöÿ
âñòàíîâëåííÿ
ðåäóêö³éíîãî
îðãàíà, êîíñòðóêòèâíèõ
îñîáëèâîñòåé
êðàïëåâëîâëþâàëüíî¿
ñåêö³¿ ³ 䳺þ ñèë.
Êðàïëåâëîâëþâàëüí³
ñåêö³¿ ãàçîâèõ
ñåïàðàòîð³â ìàþòü
íàñòóïí³ âèäè
ñêðóáåðíèõ íàñàäîê:
æàëþç³éí³, êóòîâ³,
æîëîá÷àò³, ëîïàòí³,
ñòðóéí³, ïðîäîëüíî
ïðîâîëî÷í³ òà
³íø³. Íàéåôåêòèâí³ø³
êðàïëå âëîâëþâà÷³
íàñàäêè - æàëþç³éíà
òà ïðîâîëî÷íà.
Äîñâ³ä åêñïëóàòàö³¿
ñåïàðàòîð³â íà
ãàçîâèõ òà ãàçîêîíäåíñàòíèõ
ðîäîâèùàõ ïîêàçóþòü,
ùî êîåô³ö³ºíò
ñåïàðàö³¿ â íèõ
çì³íþºòüñÿ â³ä
0,75 äî 0,98. Ââàæàþòü,
ùî ð³äê³ êðàïë³
ç ä³àìåòðîì 2 ìêì
íå âëîâëþþòüñÿ
â ñåïàðàòîðàõ.
Åêñïëóàòàö³éí³
ÿêîñò³ ãàçîâèõ
ñåïàðàòîð³â âèçíà÷àþòü
çà ¿õ ïðîïóñêíîþ
çäàòí³ñòþ, êîåô³ö³ºíòîì
ñåïàðàö³¿, ïèòîì³é
âèòðàò³ ìåòàëó
íà îäèíèöþ ïðîïóñêíî¿
çäàòíîñò³, ïåðåïàäó
òèñêó, òåðì³íó
ñëóæáè, ðåñóðñó
äî êàï³òàëüíîãî
ðå ðåìîíòó, ³ êîåô³ö³ºíòó
òåõí³÷íîãî âèêîðèñòàííÿ.
 óñòàíîâêàõ
ÍÒÑ øèðîêî âèêîðèñòîâóþòü
ãàçîñåïàðàòîðè
íàñòóïíèõ òèï³â:
äîöåíòðîâ³ ðåãóëüîâàí³,
æàëþç³éí³, ñ³ò÷àñò³,
öèêëîíí³, à òàêîæ
àâòîìàòèçîâàí³
áëîêè ãàçîñåïàðàòîð³â
ç ðîçä³ëþâà÷àìè
«ð³äèíà - ãàç » ³ ºìíîñòåé.
Äîöåíòðîâ³
ðåãóëþºì³ ãàçîñåïàðàòîðè.
Âîíè ïðèçíà÷åí³
äëÿ ïîïåðåäíüîãî
î÷èùåííÿ ãàç³â
â³ä ð³äèí â ïðîìèñëîâèõ
óñòàíîâêàõ ï³äãîòîâêè
ãàçó, à òàêîæ
¿õ âèêîðèñòîâóþòü
â ÿêîñò³ çàì³ðíîãî
ñåïàðàòîðà â óñòàíîâêàõ
çàì³ðó ð³äèíè
òà ãàçó. Âèïóñêàþòü
ãàçîñåïàðàòîðè
íà ðîáî÷èé òèñê
â³ä 6,55 - 16 ÌÏà. Ãàçîñåïàðàòîðè
çàáåñïå÷óþòü
ñòóï³íü î÷èñòêè
ãàçó â³ä ð³äèíè
íå ìåíøå 98% ïðè ïî÷àòêîâîìó
äîïóñòèìîìó
âì³ñò³ ð³äèíè,
ùî ïîñòóïຠðàçîì
ç ãàçîì â àïàðàò,
äî 200 ñì3/ì3.
²ñíóº äâà
òèïè ãàçîñåïàðàòîð³â
äîöåíòðîâèõ ðåãóëþºìèõ:
òèï I ç öèë³íäðè÷íèì
çáîðîì ð³äèíè
íà ðîáî÷èé òèñê
â³ä 6,4 äî 10 ÌÏà ³ ïðîäóêòèâí³ñòþ
ïî ãàçó â³ä 0,14 äî
1 ìëí. ì3/äîáó. Òèï
II ç øàðîâèì çáîðîì
ð³äèíè íà ðîáî÷èé
òèñê â³ä 6,4 äî 16 ÌÏà
³ ïðîäóêòèâí³ñòþ
â³ä 1 äî 5 ìëí. ì3/äîáó.
 êîíñòðóêö³¿
ãàçîñåïàðàòîðà
ïåðåäáà÷åíî ðîçì³ùåííÿ
ï³ä³ãð³âó ïî âíóòð³øí³é
ïîðîæíèí³ çá³ðíèêà
ð³äèíè. Ïðîäóêòèâí³ñòü
ãàçîñåïàðàòîðà
ïî ãàçó â çàëåæíîñò³
â³ä ðîáî÷îãî òèñêó
äëÿ çàáåçïå÷åííÿ
ïàñïîðòíîãî ñòóïåíÿ
î÷èñòêè ãàçó
â³ä ð³äèíè ðåãóþòüñÿ
ñïåö ïðèëàäîì,
ùî ñêëàäàºòüñÿ
ç ðóõîìîãî òà
íåðóõîìîãî êîíóñ³â
çàâèõðþâàëà
5. Ðóõîìèé êîíóñ
çàâèõðþâàëà
ïåðåì³ùóºòüñÿ
îáåðòàííÿì øòóðâàëó
ðåãóëþºìîãî ïðèëàäó
6.
Ãàçîð³äèííà
ñóì³ø, ùî âõîäèòü
÷åðåç øòóöåð âõîäó
ãàçà À, â äîöåíòðîâîìó
ðåãóþºìîìó ñåïàðàòîð³
çàâäÿêè çàêðóòö³
ïîòîêó â âåðòèêàëüíîìó
öèë³íäðè÷íîìó
ïàòðóáö³ êîðïóñà
ñåïàðóþ÷îãî
ïðèëàäó 4. Çàêðóòêà
ïîòîêó çàáåçïå÷óºòüñÿ
âèêîðèñòàííÿì
â êîíñòðóêö³¿
ñåïàðàòîðà çàâèõðþâà÷à.
Ïðè ïðîõîäæåíí³
ãàçîð³äèííîãî
ïîòîêó ÷åðåç
çàâèõðþâàâ, ð³äèíà
ï³ä 䳺þ ³íåðö³éíèõ
òà äîöåíòðîâèõ
ñèë â³äêèäàºòüñÿ
íà ñò³íêó öèë³íäðè÷íîãî
âåðòèêàëüíîãî
ïàòðóáêà ³ ñò³êàº
âíèç ïî éîãî ñò³íö³
â çá³ðíèê 2, çâ³äòè
áåçïåðåðâíî ÷è
ïåð³îäè÷íî óäàëÿºòüñÿ
÷åðåç øòóöåð âèõîäó
êîíäåíñàòó Â.
³äñåïàðîâàíèé
ãàç â³äâîäèòüñÿ
ç âåðòèêàëüíîãî
öèë³íäðè÷íîãî
ïàòðóáêà ÷åðåç
îñüîâèé ïàòðóáîê
ç³ øòóöåðà âèõîäó
ãàçó Á.  âåðõí³é
÷àñòèí³ ïàòðóáêà
âñòàíîâëåíèé
â âèãëÿä³ ðîçåòêè
âèïðÿìëÿ÷ ïîòîêó
ãàçó 3, ùî çàáåçïå÷óº
ñòàá³ë³çàö³þ
ïîòîêó ãàçó äëÿ
ïîïåðåäæåííÿ
íàäëèøêîâèõ
âòðàò òèñêó ïîòîêó
ïðè ðóñ³ â ñåïàðàòîð³.
Äëÿ ïîïåðåäæåííÿ
çàìåðçàííÿ ð³äèíè
â ñåïàðàòîð³ âñòàíîâëåíèé
ï³ä³ãð³â çì³éîâèêîâîãî
òèïó 1, äî ÿêîãî
ïî øòóöåðàì Æ
òà Ç ï³äâîäèòüñÿ
³ â³äâîäèòüñÿ
òåïëîíîñ³é.
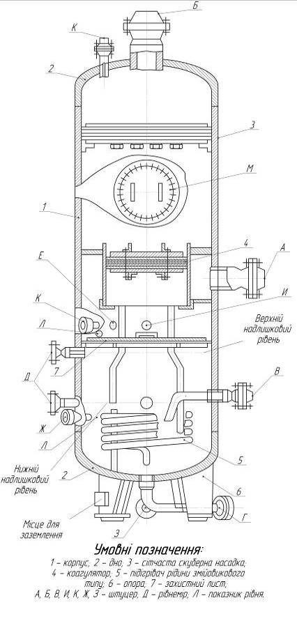
Íà ñåïàðàòîð³
âñòàíîâëþþòü
êîíòðîëüíî-âèì³ðí³
ïðèëàäè íà øòóöåðàõ:
Ä - ð³âíåì³ð, Å - òåðìîìåòð,
È - ìàíîìåòð, Ê
- äèôìàíîìåòð,
Ë - ïîêàçíèê ð³âíÿ.
Äëÿ ïîâíîãî äðåíàæó
ð³äèíè ç ñåïàðàòîðà
ïåðåäáà÷åíèé
øòóöåð Ã, à äëÿ
ðîçêðèòòÿ ³ âíóòð³øíüîãî
îãëÿäó - ëþê Ì.
Ðèñóíîê
2.2 Äîöåíòðîâèé
ðåãóëþºìèé ãàçîñåïàðàòîð
2.3.2 ϳäá³ð ñåïàðàòîðà
â ÿêîñò³ ïåðøî¿
ñòóïåí³ ñåïàðàö³¿
Âèçíà÷èòè
íàâàíòàæåííÿ
íà íàôòîãàçîâèé
ñåïàðàòîð ïî ãàçó,
êîëè â³äîìî: íàâàíòàæåííÿ
ïî íàôò³ Qí=1000 ì3/äîáó,
ðîáî÷èé òèñê
Pp=0,6 ÌÏà, ðîáî÷à òåìïåðàòóðà
tp=20
ºC, òèñê
íàñè÷åííÿ ïëàñòîâî¿
íàôòè Ps=10,2 ÌÏà, ïëàñòîâà
òåìïåðàòóðà
tïë=54
ºC, ãàçîíàñè÷åí³ñòü
Ãã=136,5 ì3/ò, ãóñòèíà
äåãàçîâàíî¿
íàôòè ïðè 20ºC ³ àòìîñôåðíîìó
òèñêó
í=825 êã/ì3, â³äíîñíà
ãóñòèíà ãàçó
ïî ïîâ³òðþ
ã=1,09,
ìîëÿðí³ äîë³ êîìïîíåíò³â
NCH4=0,3906 ä.î ³ NN2=0,0278 ä.î.
Ðîçâ’ÿçîê
Äëÿ âèáîðó
ñåïàðàòîðà íåîáõ³äíî
ðîçðàõóâàòè
éîãî íàâàíòàæåííÿ
ïî ãàçó, ÿêå ìîæëèâî
âèçíà÷èòè ïî
ìåòîäèö³ ñòóïåíåâîãî
ðîçãàçóâàííÿ
íàôòè.ã=
í∙G∙Qí·10-3=825∙101,814∙1000·10-3=83996,78
ì3/äîáó
ʳëüê³ñòü
ãàçó, ÿêà âèä³ëÿºòüñÿ
ç êîæíî¿ òîíè
íàôòè â ñåïàðàòîð³
ìîæå áóòè ðîçðàõîâàíà
ïî ôîðìóë³ ïðè
íîðìàëüíèõ óìîâàõ:
=Ãã∙R[D1(1+R)-1]=136,5(-0,602)=101,814
ì3/ò
äå R ³ D1 êîåô³ö³ºíòè,
ÿê³ âèçíà÷àþòüñÿ
çà ôîðìóëàìè:
=
-êîåô³ö³ºíò
ÿêèé çàëåæèòü
â³ä êîìïîíåíòíîãî
ñêëàäó ãàçó ³
äîð³âíþº:
äå NCH4 ³ NN2 -ìîëÿðí³
äîë³ ìåòàíó ³
àçîòó â ãàç³ îäíîðàçîâîãî
ðîçãàçóâàííÿ
íàôòè ïðè àòìîñôåðíîìó
òèñêó.
Âèñíîâîê:
Ïî òàáëèö³ òåõí³÷íî¿
õàðàêòåðèñòèêè
ñåïàðàòîð³â âèáèðàºìî
ñåïàðàòîð òèïó
ÍÃÑ-6-1400, ç ïðîïóñêíîþ
çäàòí³ñòþ ïî
ãàçó 150 òèñ. ì3/äîáó
³ ïðîïóñêíîþ çäàòí³ñòþ
ïî íàôò³ 2000 ò/äîáó,
ðîáî÷èé òèñê
0,6Ìïà.
Òàáëèöÿ
2.2 Õàðàêòåðèñòèêà
âèáðàíîãî ñåïàðàòîðà
|
Øèôð
àïàðàòà
|
Óìîâíèé
ä³àìåòð, ìì
|
Âíóòð³øí³é
îá’ºì àïàðàòà,
ì3
|
Ïðîïóñêíà
çäàòí³ñòü ïî
íàôò³, ò/äîáó
|
Ïðîïóñêíà
çäàòí³ñòü ïî
ãàçó, òèñ.ì3/äîáó
|
Ðîáî÷èé
òèñê, Ìïà
|
Ìàñà,
êã
|
|
ÍÃÑ-6-1400
|
1400
|
8
|
20900
|
150
|
0,6
|
1900
|
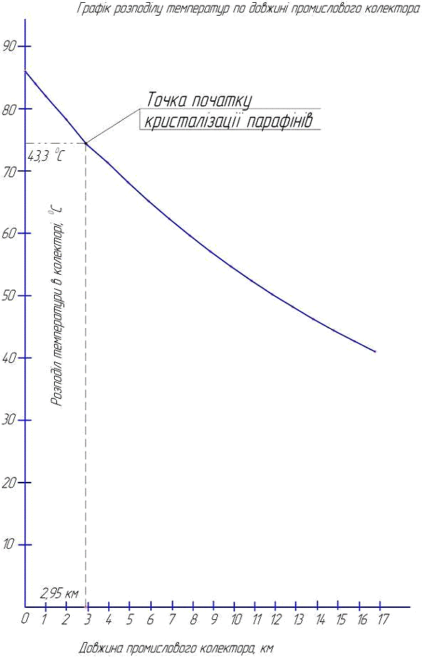
.4 Âèçíà÷èòè
òî÷êó ïî÷àòêó
êðèñòàë³çàö³¿
ïàðàô³í³â â ïðîìèñëîâîìó
êîëåêòîð³
Âèõ³äí³
äàí³: òåìïåðàòóðà
íà âõîä³ â êîëåêòîð
tï=65º
Ñ
òåìïåðàòóðà íàâêîëèøíüîãî
ñåðåäîâèùà t0=12º Ñ; òåìïåðàòóðà
êðèñòàë³çàö³¿
ïàðàô³í³â têð=50º Ñ; çîâí³øí³é
ä³àìåòð êîëåêòîðà
Dç=760 ìì; òîâùèíà
ñò³íêè êîëåêòîðó
δ=7
ìì;
âèòðàòà íàôòè
Qí=300 ì3/äîáó; ãëèáèíà
çàêëàäåííÿ òðóáîïðîâîäó
â ãðóíò h=1 ì ; ãóñòèíà
íàôòè ρí=801.7 êã/ì3;
äîâæèíà êîëåêòîðó
L=189,72 êì. Ïîáóäóâàòè
êðèâó ðîçïîä³ëó
òåìïåðàòóðè ïî
äîâæèí³ êîëåêòîðó.
,
Âèçíà÷àºìî
äèíàì³÷íó â’ÿçê³ñòü
íàôòè ïðè 20
: ÿêùî
780 <
< 845 êã/ì3,
(2.3.1)
ìÏà∙ñ
Ïî çíà÷åííþ
μî
âèáèðàºìî çíà÷åííÿ
êîåô³ö³ºíò³â
ÿêùî μ
< 10 ìÏà∙ñ, òî Ñ = 1000
1/ìÏà∙ñ; à = 0,76∙10-3 1/°Ñ.
Êîåô³ö³ºíò
òåðì³÷íîãî ðîçøèðåííÿ
íàôòè αí
ïðè 780 ≤
≤ 860
êã/ì3
(2.3.2)
Îñê³ëüêè
ïàðàìåòðè íàôòè
çàëåæàòü â³ä òåìïåðàòóðè,
òî òåìïåðàòóðó
â ê³íö³ òðóáîïðîâîäó
âèçíà÷àºìî ìåòîäîì
ïîñë³äîâíèõ íàáëèæåíü
ç òî÷í³ñòþ äî
(òî÷í³ñòü
ïðîìèñëîâèõ òåðìîìåòð³â).
-íàáëèæåííÿ.
 ïåðøîìó íàáëèæåíí³
ïðèéìåìî :
Ñåðåäíÿ
òåìïåðàòóðà ïî
äîâæèí³ íàôòîïðîâîäó
Ãóñòèíà
íàôòè ïðè
Òåïëîºìê³ñòü
íàôòè:
Â’ÿçê³ñòü
íàôòè ïðè
:
Òåïëîïðîâ³äí³ñòü
ñòàë³
:
Âíóòð³øí³é
ä³àìåòð òðóáîïðîâîäó
:
Ñåðåäíÿ
øâèäê³ñòü ðóõó
íàôòè â òðóáîïðîâîä³
:
Êðèòåð³é
Ðåéíîëüäñà :
Êîåô³ö³ºíò
òåïëîâ³ääà÷³
â³ä ïîòîêó äî ñò³íêè:
Äëÿ ï³ñêó
ñóõîãî êîåô³ö³ºíò
òåïëîïðîâ³äíîñò³
:
Çîâí³øí³é
êîåô³ö³ºíò òåïëîâ³ääà÷³:
Êîåô³ö³ºíò
òåïëîïåðåäà÷³
:
Ïàðàìåòð
Øóõîâà
Òåìïåðàòóðà
â ê³íö³ òðóáîïðîâîäó
:
Ïåðåâ³ðÿºìî
òî÷í³ñòü:
-íàáëèæåííÿ.
Ïîñë³äîâí³ñòü
ðîçðàõóíê³â çã³äíî
ïîïåðåäíüîãî
íàáëèæåííÿ.
Ãóñòèíà
íàôòè ïðè
Òåïëîºìê³ñòü
íàôòè:
Â’ÿçê³ñòü
íàôòè ïðè
:
Êðèòåð³é
Ðåéíîëüäñà :
Êîåô³ö³ºíò
òåïëîâ³ääà÷³
â³ä ïîòîêó äî ñò³íêè:
Äëÿ ï³ñêó
ñóõîãî êîåô³ö³ºíò
òåïëîïðîâ³äíîñò³
:
Çîâí³øí³é
êîåô³ö³ºíò òåïëîâ³ääà÷³
:
Êîåô³ö³ºíò
òåïëîïåðåäà÷³
:
Ïàðàìåòð
Øóõîâà
Òåìïåðàòóðà
â ê³íö³ òðóáîïðîâîäó
:
Ïåðåâ³ðÿºìî
òî÷í³ñòü:
Ïðèéìàºìî:

Îòæå ðîçïîä³ë
òåìïåðàòóðè âçäîâæ
òðóáîïðîâîäó
îïèñóºòüñÿ ð³âíÿííÿì
. Çì³íþþ÷è
â³ä
0 äî
, áóäóºìî
êðèâó ðîçïîä³ëó
òåìïåðàòóðè âçäîâæ
òðóáîïðîâîäó
(êîëåêòîðà). Ðåçóëüòàòè
ðîçðàõóíê³â çâîäèìî
â òàáëèöþ. Ðîçïîä³ë
òåìïåðàòóðè ïî
äîâæèí³ êîëåêòîðà
äëÿ äàíèõ óìîâ
ïðèâîäèòüñÿ íà
â³äïîâ³äíîìó
ãðàô³êó. Òî÷êà
ïî÷àòêó êðèñòàë³çàö³¿
ïàðàô³í³â â êîëåêòîð³
(â³ä ïî÷àòêó)
Òàáëèöÿ
2.3 Ðîçïîä³ë òåìïåðàòóðè
ïî äîâæèí³ ïðîìèñëîâîãî
êîëåêòîðó
|
õ
|
tx
|
|
0
|
65
|
|
20000
|
46,82
|
|
40000
|
34,88
|
|
60000
|
27,03
|
|
80000
|
21,87
|
|
100000
|
18,49
|
|
120000
|
16,26
|
|
140000
|
14,80
|
|
160000
|
13,84
|
|
180000
|
13,20
|
|
189720
|
12,98
|
3. Òåõí³êà
áåçïåêè ïðè îáñëóãîâóâàíí³
óñòàíîâîê ï³äãîòîâêè
ãàçó, íàôòè ³
êîíäåíñàòó äî
òðàíñïîðòóâàííÿ
Ñèñòåìè
ïðîìèñëîâîãî
òà ì³æïðîìèñëîâîãî
çáîðó íàôòè ³
ãàçó. ϳäãîòîâêà
íàôòè ³ ãàçó
äî òðàíñïîðòóâàííÿ
Óñòàíîâêè
êîìïëåêñíî¿
ï³äãîòîâêè ãàçó,
ãðóïîâ³ òà ãàçîçá³ðí³
ïóíêòè
.1. Íà óñòàíîâêàõ
êîìïëåêñíî¿
ï³äãîòîâêè ãàçó
ïîâèííà áóòè
òàêà äîêóìåíòàö³ÿ:
à) ³íñòðóêö³¿
ç îõîðîíè ïðàö³
çà ïðîôåñ³ÿìè
òà âèäàìè ðîá³ò,
ç ÿêèìè ïåðñîíàë
ÓÊÏÃ îçíàéîìëåíèé
ï³ä ðîçïèñêó;
á) òåõíîëîã³÷íèé
ðåãëàìåíò ÓÊÏÃ
òà ôîíäó ñâåðäëîâèí;
â) ïîðÿäîê
ïóñêó òà çóïèíêè
ÓÊÏÃ òà ñâåðäëîâèí
ïðè íîðìàëüíîìó
ðåæèì³ ðîáîòè;
ã) ³íñòðóêö³ÿ
ç àâàð³éíî¿ çóïèíêè
ÓÊÏÃ;
´) ïëàí ëîêàë³çàö³¿
òà ë³êâ³äàö³¿
ìîæëèâèõ àâàð³éíèõ
ñèòóàö³é ³ àâàð³é;
ä) ãðàô³ê
ïåðåâ³ðêè çàïîá³æíèõ
êëàïàí³â;
å) æóðíàë
êîíòðîëþ ÿêîñò³
ãàçó, ùî ïîäàºòüñÿ
â ìàã³ñòðàëüíèé
ãàçîïðîâ³ä ÷è
â ì³æïðîìèñëîâ³
ãàçîçá³ðí³ êîëåêòîðè;
º) ìàñøòàáí³
ïëàíè êîìóí³êàö³é
ÓÊÏà (øëåéôè, ãàçîçá³ðí³
êîëåêòîðè, òåõíîëîã³÷í³
òðóáîïðîâîäè
òîùî) ç òî÷íèìè
ïðèâ'ÿçêàìè;
æ) ãðàô³êè
ÏÇÐ òåõíîëîã³÷íèõ
òðóáîïðîâîä³â;
ç) òåõíîëîã³÷íà
ñõåìà ÓÊÏÃ;
è) æóðíàëè
(êàðòî÷êè) ³íñòðóêòàæó
ç îõîðîíè ïðàö³;
³) æóðíàë
êîíòðîëþ ñòàíó
îõîðîíè ïðàö³
íà îá'ºêò³;
¿) æóðíàë
êîíòðîëþ çàãàçîâàíîñò³
ïîâ³òðÿíîãî ñåðåäîâèùà.
Äîêóìåíòàö³ÿ,
ÿêà ïîâèííà çáåð³ãàòèñÿ
ó â³äïîâ³äíîìó
ñòðóêòóðíîìó
ï³äðîçä³ë³ ï³äïðèºìñòâà:
à) ïðîåêòíà
äîêóìåíòàö³ÿ;
á) ïðîòîêîëè
ïåðåâ³ðêè çíàíü
ïðàö³âíèê³â ç
îõîðîíè ïðàö³
òà áåçïå÷íîãî
âåäåííÿ ðîá³ò;
â) ïàñïîðòè
íà ïîñóäèíè, ùî
ïðàöþþòü ï³ä òèñêîì;
ã) àêòè ã³äðîâèïðîáóâàíü
íà ù³ëüí³ñòü
òà ì³öí³ñòü øëåéô³â
òà òåõíîëîã³÷íèõ
òðóáîïðîâîä³â;
´) ïåðåë³ê
åðîç³éíîíåáåçïå÷íèõ
ì³ñöü òà êîðîç³éíîíåáåçïå÷íèõ
ä³ëüíèöü òåõíîëîã³÷íî¿
îáâ'ÿçêè îñíîâíîãî
îáëàäíàííÿ ÓÊÏÃ
òà òåõíîëîã³÷íèõ
òðóáîïðîâîä³â
íà ïëîùàäö³ ÓÊÏÃ;
ä) àêòè òîâùèíîìåòð³¿
â åðîç³éíî- òà
êîðîç³éíîíåáåçïå÷íèõ
ì³ñöÿõ òåõíîëîã³÷íèõ
êîìóí³êàö³é;
å) àêòè êîíòðîëþ
ñòàíó ³çîëÿö³¿
òåõíîëîã³÷íèõ
òðóáîïðîâîä³â.
.2. Äëÿ óñòàíîâîê
êîìïëåêñíî¿
ï³äãîòîâêè ãàçó,
ãàçîçá³ðíèõ
ïóíêò³â, ãîëîâíèõ
ñïîðóä ïîâèíí³
ðîçðîáëÿòèñü
³ çàòâåðäæóâàòèñü
ó âñòàíîâëåíîìó
ïîðÿäêó òåõíîëîã³÷í³
ðåãëàìåíòè.
.3. Ïåðñîíàë,
ùî åêñïëóàòóº
òåõíîëîã³÷íå
îáëàäíàííÿ ÓÊÏÃ,
çîáîâ'ÿçàíèé
çíàòè òåõíîëîã³÷íó
ñõåìó ÓÊÏÃ, ïðèçíà÷åííÿ
âñ³õ òåõíîëîã³÷íèõ
àïàðàò³â, òðóáîïðîâîä³â
òà àïàðàòóðè.
.4. Ãàçîïðîâîäè
óñòàíîâîê êîìïëåêñíî¿
ï³äãîòîâêè ãàçó,
ãàçîçá³ðíèõ
ïóíêò³â, ãîëîâíèõ
ñïîðóä ïîâèíí³
â³äïîâ³äàòè âèìîãàì,
ÿê³ ñòàâëÿòüñÿ
äî òðóáîïðîâîä³â
êàòåãî𳿠"Â"
çã³äíî ç áóä³âåëüíèìè
íîðìàìè ³ ïðàâèëàìè
"Ìàãèñòðàëüíûå
òðóáîïðîâîäû"
(ÑÍèÏ 2.05.06-835).
.5. Óñòàíîâêè
êîìïëåêñíî¿
ï³äãîòîâêè ãàçó
ïîâèíí³ ìàòè
àâòîìàòèçîâàíå
³ ìåõàí³çîâàíå
ðåãóëþâàííÿ òà
êåðóâàííÿ òåõíîëîã³÷íèìè
ïðîöåñàìè.
.6. Ñèñòåìè
ñòèñíåíîãî ïîâ³òðÿ
ÊÂϳÀ ïîâèíí³
ìàòè áóôåðíó
ºìí³ñòü, ùî çàáåçïå÷óº
çàïàñ ñòèñíåíîãî
ïîâ³òðÿ äëÿ ñèñòåì
ÊÂϳÀ ïðîòÿãîì
íå ìåíøå îäí³º¿
ãîäèíè.
Ïîâ³òðÿ, ùî
ïîäàºòüñÿ â ñèñòåìè
ÊÂϳÀ, ïîâèííî
áóòè î÷èùåíå
òà îñóøåíå çã³äíî
ç âèìîãàìè ñòàíäàðòó
"Ïðîìûøëåííàÿ
÷èñòîòà. Ñæàòûé
âîçäóõ. Êëàññû
çàãðÿçíåííîñòè"
(ÃÎÑÒ 17433-80*).
.7. Óñòàíîâêè
êîìïëåêñíî¿
ï³äãîòîâêè ãàçó
ïîâèíí³ ìàòè
ñèñòåìó îñóøåííÿ
òà ï³ä³ãð³âàííÿ
ãàçó, à òàêîæ
äîáàâëÿííÿ â íüîãî
³íã³á³òîðó.
.8. Íå äîçâîëÿºòüñÿ
âñòàíîâëåííÿ
çàï³ðíî¿ àðìàòóðè
ì³æ çàïîá³æíèìè
êëàïàíàìè, òåõíîëîã³÷íèìè
àïàðàòàìè (÷è
òðóáîïðîâîäàìè)
³ ôàêåëüíîþ ñèñòåìîþ,
îêð³ì âèïàäêó
çàñòîñóâàííÿ
ñèñòåìè çàïîá³æíèõ
êëàïàí³â "ðîáî÷èé
+ ðåçåðâíèé" ç
áëîêóâàëüíèì
ïðèñòðîºì, ùî íå
äîïóñêຠîäíî÷àñíîãî
â³äêëþ÷åííÿ ðîáî÷îãî
òà ðåçåðâíîãî
êëàïàí³â â³ä òåõíîëîã³÷íîãî
àïàðàòà.
.9. Çà íàÿâíîñò³
(çã³äíî ç íîðìàìè
òåõíîëîã³÷íîãî
ïðîåêòóâàííÿ)
íà îá'ºêò³ ôàêåëüíèõ
ñèñòåì ñêèäàííÿ
ãàçó ç çàïîá³æíèõ
êëàïàí³â òà ôàêåëüíèõ
òðóáîïðîâîä³â
òåõíîëîã³÷íèõ
àïàðàò³â çä³éñíþºòüñÿ
ó ôàêåëüíèé êîëåêòîð.
.10. Ðåãóëþâàííÿ
çàïîá³æíèõ êëàïàí³â
ïîâèííî çä³éñíþâàòèñÿ
ó âñòàíîâëåí³
òåðì³íè çã³äíî
ç ãðàô³êîì ³ íà
ñïåö³àëüíîìó
ñòåíä³.
Íå äîçâîëÿºòüñÿ
óñóâàòè ïðîïóñêè
ãàçó íà çàïîá³æíèõ
êëàïàíàõ ï³ä òèñêîì.
Ó öüîìó ðàç³ çä³éñíþºòüñÿ
çàì³íà çàïîá³æíîãî
êëàïàíà ï³ñëÿ
çóïèíêè òà ñòðàâëþâàííÿ
ãàçó ç òåõíîëîã³÷íîãî
àïàðàòà.
.11. Ó òåõíîëîã³÷íîìó
ðåãëàìåíò³ óñòàíîâîê
óêàçóºòüñÿ ïåðåë³ê
òåõíîëîã³÷íèõ
ïàðàìåòð³â òà
¿õ ãðàíè÷í³ çíà÷åííÿ.
Ïðè â³äõèëåíí³
ïàðàìåòð³â â³ä
ãðàíè÷íèõ çíà÷åíü
óñòàíîâêó íåîáõ³äíî
çóïèíèòè.
.12. Íå äîçâîëÿºòüñÿ
ïîäà÷à â ìàã³ñòðàëüíèé
ãàçîïðîâ³ä ãàçó,
ÿê³ñí³ ïîêàçíèêè
ÿêîãî çà âì³ñòîì
âîëîãè òà âóãëåâîäí³â
íå â³äïîâ³äàþòü
âèìîãàì òåõí³÷íèõ
óìîâ "Ãàçè ãîðþ÷³
ïðèðîäí³ ðîäîâèù
Óêðà¿íè äëÿ ïðîìèñëîâîãî
òà êîìóíàëüíî-ïîáóòîâîãî
ïðèçíà÷åííÿ"
(ÒÓ Ó 320.00158764.033-2000).
.13. ßê³ñòü ãàçó,
ùî ïîäàºòüñÿ â
ì³æïðîìèñëîâ³
ãàçîçá³ðí³ êîëåêòîðè,
ïîâèííà â³äïîâ³äàòè
âèìîãàì òåõíîëîã³÷íîãî
ðåãëàìåíòó.
.14. Ïåðåä ïóñêîì
óñòàíîâêè íåîáõ³äíî
ïåðåâ³ðèòè ñïðàâí³ñòü
îáëàäíàííÿ, òðóáîïðîâîä³â,
àðìàòóðè, ìåòàëîêîíñòðóêö³é,
çàçåìëþâàëüíèõ
ïðèñòðî¿â, ÊÂϳÀ,
áëîêóâàíü, âåíòèëÿö³¿,
çàñîá³â ³íäèâ³äóàëüíîãî
çàõèñòó òà ïîæåæîãàñ³ííÿ,
âèò³ñíèòè ïîâ³òðÿ
ç ñèñòåìè ³íåðòíèì
ãàçîì íà ñâ³÷ó.
Íàïðèê³íö³
ïðîäóâêè ïðîâîäèòüñÿ
àíàë³ç ãàçó, ùî
âèõîäèòü. Ïðè
öüîìó âì³ñò êèñíþ
íå ïîâèíåí ïåðåâèùóâàòè
1% (îá'ºìíîãî).
Âèò³ñíåííÿ
ïîâ³òðÿ ó ôàêåëüíèé
êîëåêòîð íå äîçâîëÿºòüñÿ.
.15. Íå äîçâîëÿºòüñÿ
ïóñê óñòàíîâêè
ïðè íåñïðàâíèõ
ñèñòåìàõ êîíòðîëþ
íåáåçïå÷íèõ
ïàðàìåòð³â ïðîöåñó
³ ñèñòåìàõ çàõèñòó.
.16. ³äáèðàííÿ
ïðîá ãàçó, êîíäåíñàòó
òà ³íøèõ òåõíîëîã³÷íèõ
ñåðåäîâèù íåîáõ³äíî
âèêîíóâàòè çà
äîïîìîãîþ ïðîáîâ³äá³ðíèê³â,
ðîçðàõîâàíèõ
íà ìàêñèìàëüíèé
òèñê â îáëàäíàíí³.
Íå äîçâîëÿºòüñÿ
êîðèñòóâàòèñÿ
ïðîáîâ³äá³ðíèêàìè
ç íåñïðàâíèìè
ãîë÷àñòèìè âåíòèëÿìè
³ ç ïðîñòðî÷åíèì
òåðì³íîì ¿õ ïåðåâ³ðêè.
Ïåðåâ³ðêà ïðîáîâ³äá³ðíèê³â
íà ãåðìåòè÷í³ñòü
ïðîâîäèòüñÿ íå
ð³äøå í³æ îäèí
ðàç íà ø³ñòü ì³ñÿö³â.
.17. Ïðèëàäè,
ÿê³ ðîçòàøîâàí³
íà ùèòàõ êåðóâàííÿ
ÊÂϳÀ, ïîâèíí³
ìàòè íàïèñè
ç çàçíà÷åííÿì
ïàðàìåòð³â, ùî
âèçíà÷àþòüñÿ,
³ ãðàíè÷íîäîïóñòèìèõ
ïàðàìåòð³â.
Ñèãíàëüí³
ëàìïè òà ³íø³
ñïåö³àëüí³ ïðèëàäè
ïîâèíí³ ìàòè
íàïèñè, ùî âêàçóþòü
õàðàêòåð ñèãíàëó.
.18. Ðîáîòè
ç íàëàãîäæåííÿ,
ðåìîíòó ³ âèïðîáóâàííÿ
îáëàäíàííÿ, ñèñòåì
êîíòðîëþ, êåðóâàííÿ,
ïðîòèàâàð³éíîãî
àâòîìàòè÷íîãî
çàõèñòó îáëàäíàííÿ,
òðóáîïðîâîä³â,
çâ'ÿçêó òà îïîâ³ùåííÿ
ïîâèíí³ âèêëþ÷àòè
³ñêðîóòâîðåííÿ.
Íà ïðîâåäåííÿ
òàêèõ ðîá³ò ó
âèáóõîíåáåçïå÷íèõ
çîíàõ îôîðìëþºòüñÿ
íàðÿä-äîïóñê, ðîçðîáëÿþòüñÿ
çàõîäè, ùî çàáåçïå÷óþòü
áåçïåêó îðãàí³çàö³¿
³ ïðîâåäåííÿ ðîá³ò.
.19. Ïîïåðåäæóâàëüíà
³ àâàð³éíà ñèãíàë³çàö³ÿ
ïîâèííà áóòè
ïîñò³éíî âêëþ÷åíà
â ðîáîòó.
.20. Çì³ííîìó
òåõíîëîã³÷íîìó
ïåðñîíàëó äîçâîëÿºòüñÿ
ðîáèòè ëèøå àâàð³éí³
â³äêëþ÷åííÿ îêðåìèõ
ïðèëàä³â ³ çàñîá³â
àâòîìàòèçàö³¿
â ïîðÿäêó, âñòàíîâëåíîìó
ÏËÀÑ.
.21. Îáëàäíàííÿ
î÷èùåííÿ, îõîëîäæåííÿ
³ ñåïàðàö³¿ ãàçó
ïîâèííî ðîçòàøîâóâàòèñü
íà â³äêðèòèõ
ïëîùàäêàõ.
Ïðè âñòàíîâëåíí³
îáëàäíàííÿ ñë³ä
ïåðåäáà÷àòè:
à) îñíîâí³
ïðîõîäè â ì³ñöÿõ
ïîñò³éíîãî ïåðåáóâàííÿ
ïðàö³âíèê³â, à
òàêîæ ïî ôðîíòó
îáñëóãîâóâàííÿ
ùèò³â êåðóâàííÿ
(çà íàÿâíîñò³
ïîñò³éíèõ ðîáî÷èõ
ì³ñöü) çàâøèðøêè
íå ìåíøå í³æ 2 ì;
á) îñíîâí³
ïðîõîäè ïî ôðîíòó
îáñëóãîâóâàííÿ
ìàøèí, íàñîñ³â,
ïîâ³òðîäóâîê
³ àïàðàò³â ç ùèòàìè
êåðóâàííÿ, êîíòðîëüíî-âèì³ðþâàëüíèõ
ïðèëàä³â çà íàÿâíîñò³
ïîñò³éíèõ ðîáî÷èõ
ì³ñöü, çàâøèðøêè
íå ìåíøå í³æ
1,5 ì;
â) ïðîõîäè
äëÿ îãëÿäó ³ ïåð³îäè÷íî¿
ïåðåâ³ðêè òà ðåãóëþâàííÿ
àïàðàò³â ³ ïðèëàä³â
çàâøèðøêè íå
ìåíøå í³æ 0,8 ì;
ã) ïðîõîäè
ì³æ íàñîñàìè
çàâøèðøêè íå
ìåíøå í³æ 0,8 ì;
´) ïðîõîäè
á³ëÿ â³êîííèõ
îòâîð³â, ÿê³ äîñòóïí³
ç ð³âíÿ ï³äëîãè
àáî ïëîùàäêè,
çàâøèðøêè íå
ìåíøå í³æ 1 ì.
̳í³ìàëüí³
ðîçì³ðè äëÿ ïðîõîä³â
óñòàíîâëþþòüñÿ
ì³æ íàéá³ëüø
âèñòóïàþ÷èìè
÷àñòèíàìè îáëàäíàííÿ,
óêëþ÷àþ÷è ôóíäàìåíòè,
³çîëÿö³þ, îãîðîäæåííÿ.
.22. Íà óñòàíîâêàõ
ïîâèíí³ áóòè
ïåðåäáà÷åí³ çàõîäè
ùîäî çàïîá³ãàííÿ
âïëèâó ãàçó íà
ïðàö³âíèê³â (ãåðìåòèçàö³ÿ
óñòàíîâîê, óòèë³çàö³ÿ
ãàç³â, âèâ³òðþâàííÿ,
ñêèäàííÿ ãàçó
ïðè ðåìîíòíèõ
ðîáîòàõ íà ñâ³÷ó
àáî ôàêåë).
.23. Ñòàí ïîâ³òðÿíîãî
ñåðåäîâèùà âèáóõîíåáåçïå÷íèõ
ïðèì³ùåíü ïîâèíåí
êîíòðîëþâàòèñÿ
ñòàö³îíàðíèìè
ãàçîñèãíàë³çàòîðàìè,
êîòð³ ïðè íàÿâíîñò³
çàãàçîâàíîñò³
20% ÍÊÃÂ ïîâèíí³
ïîäàâàòè çâóêîâèé
òà ñâ³òëîâèé
ñèãíàë ç àâòîìàòè÷íèì
âêëþ÷åííÿì àâàð³éíî¿
âåíòèëÿö³¿.
Íå äîçâîëÿºòüñÿ
åêñïëóàòàö³ÿ
òåõíîëîã³÷íîãî
îáëàäíàííÿ ó
âèáóõîíåáåçïå÷íèõ
ïðèì³ùåííÿõ ç
íåçàä³ÿíîþ ñèñòåìîþ
àâàð³éíî¿ âåíòèëÿö³¿.
Äëÿ ùîçì³ííîãî
êîíòðîëþ ÃÄÊ øê³äëèâèõ
ðå÷îâèí ó âèðîáíè÷èõ
ïðèì³ùåííÿõ çàñòîñîâóþòüñÿ
ïåðåíîñí³ ãàçîàíàë³çàòîðè.
Âì³ñò øê³äëèâèõ
ðå÷îâèí â ïîâ³òð³
ðîáî÷î¿ çîíè
âèðîáíè÷èõ ïðèì³ùåíü
íå ïîâèíåí ïåðåâèùóâàòè
ÃÄÊ.
.24. Óñòàíîâêà
êîìïëåêñíî¿
ï³äãîòîâêè ãàçó
çàáåçïå÷óºòüñÿ
çàñîáàìè ïîæåæîãàñ³ííÿ
â îáñÿãàõ, ïåðåäáà÷åíèõ
ïðîåêòîì.
Íå äîçâîëÿºòüñÿ
åêñïëóàòàö³ÿ
òåõíîëîã³÷íîãî
îáëàäíàííÿ â
ïðèì³ùåííÿõ,
îáëàäíàíèõ ñèñòåìàìè
àâòîìàòè÷íîãî
ïîæåæîãàñ³ííÿ,
ó ðàç³ íåñïðàâíîñò³
îñòàíí³õ (â³äñóòí³ñòü
ï³íîóòâîðþâà÷à,
íåñïðàâí³ñòü
ïîæåæíèõ íàñîñ³â
÷è ï³íîãåíåðàòîð³â
òà ³í.).
.25. Íà ï³äïðèºìñòâ³
ïîâèííà áóòè
çàòâåðäæåíà
ñõåìà ì³ñöü â³äáîðó
ïðîá íà çàãàçîâàí³ñòü.
³äá³ð ïðîá
ïîâ³òðÿ äî äàò÷èêà
ãàçîàíàë³çàòîðà
íåîáõ³äíî âèêîíóâàòè
íà ðîáî÷èõ ì³ñöÿõ
â ïðèì³ùåííÿõ
³ íà â³äêðèòèõ
ïëîùàäêàõ íà
íàéá³ëüø íåáåçïå÷íèõ
³ ìîæëèâèõ (ó â³äíîøåíí³
âèä³ëåííÿ ãàç³â)
ð³âíÿõ. Íåîáõ³äíî
âñòàíîâëþâàòè
íå ìåíøå îäíîãî
äàò÷èêà íà êîæí³
100 êâ.ì ïëîù³ ïðèì³ùåííÿ.
.26. Äàò÷èêè
ãàçîàíàë³çàòîð³â
³ ñèãíàë³çàòîð³â,
ÿê³ âñòàíîâëþþòüñÿ
ó âèáóõîíåáåçïå÷íèõ
ïðèì³ùåííÿõ,
ïîâèíí³ áóòè
ó âèáóõîçàõèùåíîìó
âèêîíàíí³.
.27. Íå äîçâîëÿºòüñÿ
åêñïëóàòàö³ÿ
òåõíîëîã³÷íèõ
àïàðàò³â ÓÊÏÃ:
à) ïðè ¿õ åêñïëóàòàö³¿
ïîíàä âñòàíîâëåíèé
ï³äïðèºìñòâîì-âèðîáíèêîì
òåðì³í ÷è ïîíàä
20 ðîê³â ó ðàç³ â³äñóòíîñò³
âñòàíîâëåíîãî
ðåñóðñó áåç âèçíà÷åííÿ
äîäàòêîâîãî ðåñóðñó
áåçïå÷íî¿ åêñïëóàòàö³¿;
á) ïðè ðîçãåðìåòèçàö³¿
òåõíîëîã³÷íîãî
àïàðàòà;
â) ïðè íåñïðàâíèõ
çàïîá³æíèõ êëàïàíàõ;
ã) ïðè íåñïðàâíèõ
÷è íåçàä³ÿíèõ
ðåãóëþâàëüíèõ
ïðèñòðîÿõ;
´) ïðè íåñïðàâí³é
â³äêëþ÷àþ÷³é
çàï³ðí³é àðìàòóð³;
ä) ïðè íåñïðàâíèõ
÷è íåçàä³ÿíèõ
çàñîáàõ ÊÂϳÀ,
ïåðåäáà÷åíèõ
ïðîåêòîì;
å) ïðè âèëó÷åíí³
ç òåõíîëîã³÷íî¿
îáâ'ÿçêè ïðîåêòíèõ
ð³øåíü ùîäî ñïîðîæíåííÿ
òåõíîëîã³÷íèõ
àïàðàò³â;
º) áåç çàçåìëåííÿ
òåõíîëîã³÷íèõ
àïàðàò³â çà ïðîåêòíîþ
ñõåìîþ;
æ) ç çàïîá³æíèìè
êëàïàíàìè, ùî
íå ïðîéøëè âèïðîáóâàííÿ
ó âñòàíîâëåíèé
òåõí³÷íîþ äîêóìåíòàö³ºþ
òåðì³í;
ç) ç åêñïëóàòàö³ºþ
ãàçîñåïàðàòîðíîãî
îáëàäíàííÿ â
ðåæèìàõ ìîæëèâîãî
ã³äðàòîóòâîðåííÿ
(â òîìó ÷èñë³ ç
íåçàä³ÿíîþ ñèñòåìîþ
ïîäà÷³ òà ðåãåíåðàö³¿
³íã³á³òîðó ã³äðàòîóòâîðåííÿ);
è) ç íåçàä³ÿíîþ
ïðîåêòíîþ ñõåìîþ
êîíòðîëþ òåìïåðàòóðè
ãàçó íà òåïëîîáì³ííîìó
îáëàäíàíí³.
.28. Óñòàíîâêà
êîìïëåêñíî¿
ï³äãîòîâêè ãàçó
ïîâèííà áóòè
àâàð³éíî çóïèíåíà
ó âèïàäêàõ:
à) àâàð³¿
íà ãàçîïðîâîä³
- ï³äêëþ÷åíí³ äî
ìàã³ñòðàëüíîãî
ãàçîïðîâîäó;
á) âèíèêíåííÿ
â³äêðèòîãî ôîíòàíà
íà ñâåðäëîâèí³;
â) àâàð³éíèõ
ðîçðèâ³â øëåéô³â
ãàçîâèõ ñâåðäëîâèí,
ãàçîçá³ðíîãî
êîëåêòîðà ÷è
òåõíîëîã³÷íèõ
òðóáîïðîâîä³â
íà ïðîìïëîùàäö³
ÓÊÏÃ;
ã) ïîæåæ³
íà ïðîìïëîùàäö³
ÓÊÏÃ.
òðóáîïðîâîä
ãàç âîäîíàôòîâèé
ñåïàðàòîð ðîäîâèùå
˳òåðàòóðà
1.
Ð. Ì. Ïîïàäþê, Â.Ã.Áîäíàðóê.
Çá³ðíèê çàäà÷.
Ðîçðàõóíîê çáîðó
òà ï³äãîòîâêè
íàôòîïðîìèñëîâî¿
ïðîäóêö³¿. ²ÔÄÒÓÍÃ,
1976, 935 ñ.
.
Î. ². Àêóëüøèí, Î.
Î. Àêóëüøèí, Â. Ñ.
Áîéêî, Â. Ì. Äîðîøåíêî,
Þ. Î. Çàðóá³í. Òåõíîëîã³ÿ
âèäîáóâàííÿ,
çáåð³ãàííÿ ³
òðàíñïîðòóâàííÿ
íàôòè ³ ãàçó:
Íàâ÷àëüíèé ïîñ³áíèê.
²âàíî-Ôðàíö³âñüê,
«Ôàêåë», 2003, 434 ñ.
.
Í. Ì. Áîéêî, Á. Â. Êîëåñíèêîâ,
Ï. È. ×åðïàëîâ. Ñáîð,
òðàíñïîðò è ïîäãîòîâêà
íåôòè. Ì., «Íåäðà»,
2009, 317 ñ.
.
Ã. Ñ. Ëóòîøêèí.
Ñáîð è ïîäãîòîâêà
íåôòè ãàçà è
âîäû, Ì., Íåäðà
1979, 319ñ.
.
Ã. Ñ. Ëóòîøêèí,
È.È.Äóíþøêèí.
Ñáîðíèê çàäà÷
ïî ñáîðó è ïîäãîòîâêå
íåôòè, ãàçà è
âîäû íà ïðîìûñëàõ.
Ì., Íåäðà 1985, 663 ñ.
.
Ë. È. Áîðùåíêî. Ïîäãîòîâêà
ãàçà è êîíäåíñàòà
ê òðàíñïîðòó.
Ì. Íåäðà, 1997, 143 ñ.
.
Â.Ô.Ìåäâåäåâ. Ñáîð
è ïîäãîòîâêà
íåôòè è âîäû. Ì.
Íåäðà 1993, 221 ñ.
Ðàçìåùåíî
íà Allbest.ru