Хмель обыкновенный

  • Вид работы:
    Реферат
  • Предмет:
    Биология
  • Язык:
    Русский
    ,
    Формат файла:
    MS Word
    100,11 kb
  • Опубликовано:
    2009-01-12
Вы можете узнать стоимость помощи в написании студенческой работы.
Помощь в написании работы, которую точно примут!

Хмель обыкновенный

Министерство образования и науки Российской Федерации

Федеральное государственное бюджетное образовательное учреждение

высшего профессионального образования

Санкт-Петербургский государственный горный университет

Кафедра разработки и эксплуатации нефтяных и газовых месторождений
 


 
Реферат
По дисциплине: Основы нефтегазового дела

Тема: Методы исследования скважин, оснащенных штанговой насосной установкой

 



Выполнил: студент

Файзиев Р.Р.

ПРОВЕРИЛ:

Ленченков Н.С.





Санкт-Петербург

СОДЕРЖАНИЕ

ВВЕДЕНИЕ

. ИССЛЕДОВАНИЕ ГЛУБИННО-НАСОСНЫХ УСТАНОВОК

. ЭКСПЛУАТАЦИЯ СКВАЖИН ШТАНГОВЫМИ НАСОСАМИ

. СКВАЖИННЫЕ ШТАНГОВЫЕ НАСОСЫ

. ПРОИЗВОДИТЕЛЬНОСТЬ

СПИСОК ИСПОЛЬЗУЕМЫХ ИСТОЧНИКОВ

ВВЕДЕНИЕ

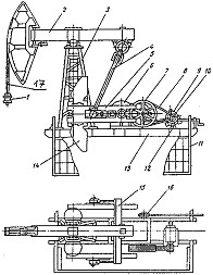
Наиболее распространен в мировой практике штанговый насосный способ добычи нефти, который охватывает более 2/3 общего действующего фонда. В России станки-качалки выпускаются по ГОСТ 5866-76, устьевые сальники - по ТУ 26-16-6-76, НКТ - по ГОСТ 633-80, штанги - по ГОСТ 13877-80, скважинный насос и замковые опоры - по ГОСТ 26-16-06-86. Штанговая глубинная насосная установка состоит из скважинного насоса 2 вставного или невставного типов, насосных штанг 4, насосно-компрессорных труб 3, подвешенных на планшайбе или в трубной подвеске 8 устьевой арматуры, сальникового уплотнения 6, сальникового штока 7, станка качалки 9, фундамента 10 и тройника 5. На приеме скважинного насоса устанавливается защитное приспособление в виде газового или песочного фильтра 1. Возвратно-поступательное движение плунжера насоса, подвешенного на штангах, обеспечивая подъем жидкости из скважины на поверхность. При наличии парафина в продукции скважины на штангах устанавливают скребки, очищающие внутренние стенки НКТ. Для борьбы с газом и песком на приеме насоса могут устанавливаться газовые или песочные якоря.

Рис.1 Станок качалка

. ИССЛЕДОВАНИЕ ГЛУБИННО-НАСОСНЫХ УСТАНОВОК

Основой исследования глубинно-насосных штанговых установок является динамометрирование - метод оперативного контроля за работой подземного оборудования и основа установления правильного технологического режима работы насосной установки.

Суть метода заключается в том, что нагрузку на сальниковый (полированный) шток определяется без подъема насоса на поверхность с помощью динамографа. На бумаге в виде диаграммы записывается нагрузки при ходе вверх и вниз в зависимости от перемещения штока. Записанная диаграмма называется динамограммой.

Оперативный контроль за работой установки по динамограммам включает: определение причин, вызвавших снижение или прекращение подачи насоса; выбор и назначение нужного вида подземного ремонта: проверку качества произведенного ремонта.

При длительном наблюдении за работой установки с помощью динамометрирования подбирают режим работы, обеспечивающий необходимой отбор жидкости при наименьших затратах энергии и наибольшем коэффициенте эксплуатации.

Простейшая теоретическая динамограмма нормальной работы скважинного насоса имеет форму параллелограмма. По оси ординат в масштабе откладывается нагрузки в точке подвески штанг, в по оси абсцисс - перемещение штока. В реальных условиях на форму динамограммы влияют инерционные силы, возникающие в системе штанга и труба - жидкость, и силы трения.

Расчет элементов теоретической динамограммы и ее совмещение с практической называют обработкой динамограммы.

Для измерения усилий и перемещений по динамограмме необходимо определить нулевую линию, масштаб усилий и перемещения.

Нулевой линией динамограммы называется линия, которую прочерчивает динамограф при отсутствии нагрузки на полированный шток.

Масштаб усилий - значение нагрузки (в кг.) при отклонении пишущей точки самописца (пера или луча) по вертикали на 1 мм.

Масштаб перемещений - отношение длины хода полированного штока к дине записанной динамограммы.

Фактическое перемещение полированного штока - расстояние между заданными точками динамограммы, умноженное на масштаб перемещений.

. ЭКСПЛУАТАЦИЯ СКВАЖИН ШТАНГОВЫМИ НАСОСАМИ

насосный сальниковый скважина штанговый

Станок-качалка и есть один из элементов эксплуатации скважин штанговым насосом. По сути, станок-качалка является приводом штангового насоса, расположенного на дне скважины. Это устройство по принципу действия очень похоже на ручной насос велосипеда, преобразущий возвратно-поступательные движения в поток воздуха. Нефтяной насос возвратно-поступательные движения от станка-качалки преобразует в поток жидкости, которая по насосно-компрессорным трубам (НКТ) поступает на поверхность.

Если по порядку описать происходящие процессы при данном виде эксплуатации, то получится следующее. На электродвигатель станка-качалки подается электричество. Двигатель вращает механизмы станка-качалки так, что балансир станка начинает двигаться как качели и подвеска устьевого штока получает возвратно-поступательные движения. Энергия передается через штанги - длинные стальные стержни, скрученные между собой специальными муфтами. От штанг энергия передается штанговому насосу, который захватывает нефть и подает ее наверх.

При эксплуатации скважины штанговыми насосами к добываемой нефти не предъявляются строгие требования, которые имеют место при других способах эксплуатации. Штанговые насосы могут качать нефть, характеризующуюся наличием механических примесей, высоким газовым фактором и так далее. К тому же, данный способ эксплуатации отличается высоким КПД.

В России изготавливаются станки-качалки 13 типоразмеров по ГОСТ 5688-76. Штанговые насосы производят ОАО "Элкамнефтемаш" г.Пермь и ОАО "Ижнефтемаш" г.Ижевск.

 

. СКВАЖИННЫЕ ШТАНГОВЫЕ НАСОСЫ


ШСН предназначены для откачивания из нефтяных скважин жидкости обводненностью до 99 %, температурой не более 130 °С, содержанием сероводорода не более 50 мг/л, минерализацией воды не более 10 г/л.

Скважинные насосы имеют вертикальную конструкцию одинарного действия с неподвижным цилиндром, подвижным металлическим плунжером и шариковыми клапанами. Насосы спускают в скважину на штангах и насосно-компрессорных трубах. Различают следующие типы скважинных насосов (рисунок 2).

Рис.2 .Типы скважинных штанговых насосов

НВ1 - вставные с заулком наверху;

НВ2 - вставные с замком внизу;

НН - невставные без ловителя;

НН1 - невставные с захватным штоком;

НН2 - невставные с ловителем.

Выпускают насосы следующих конструктивных исполнений:

а) по цилиндру:

Б - с толстостенным цельным (безвтулочным) цилиндром;

С - с составным (втулочным) цилиндром.

б) специальные:

Т - с полным (трубчатым) штоком для подъема жидкости по каналу колонны трубчатых штанг;

А - со сцепляющим устройством (только для насосов типа НН), обеспечивающим сцепление колонны насосных штанг с плунжером насоса;

Д1 - одноступенчатые, двухплунжерные для создания гидравлического тяжелого низа;

Д2 - двухступенчатые, двухплунжерные, обеспечивающие двухступенчатое сжатие откачиваемой жидкости;

У - с разгруженным цилиндром (только для насосов типа НН2), обеспечивающим снятие с цилиндра технической нагрузки при работе.

Насосы всех исполнений, кроме Д1 и Д2, одноступенчатые, одноплунжерные.

в) по стойкости к среде:

без обозначения - стойкие к среде с содержанием механических примесей до 1.3 г/л - нормальные;

И - стойкие к среде с содержанием механических примесей более 1.3 г/л - абразивостойкие.

Скважинные штанговые насосы являются гидравлической машиной объемного типа, где уплотнение между плунжером и цилиндром достигается за счет высокой точности их рабочих поверхностей и регламентируемых зазоров. При этом в зависимости от размера зазора (на диаметр) в паре "цилиндр-плунжер" выпускают насосы четырех групп (таблица 2).

Таблица 2

Группа посадки

Размер зазора между цилиндром и плунжером насоса при исполнении цилиндра, мм


Б

С

0

< 0.045

1

0.01 ¸ 0.07

0.02 ¸ 0.07

2

0.06 ¸ 0.12

0.07 ¸ 0.12

3

0.11 ¸ 0.17

0.12 ¸ 0.17


В условном обозначении насоса, например, НН2БА-44-18-15-2, первые две буквы и цифра указывают тип насоса, следующие буквы - исполнение цилиндра и насоса, первые две цифры - диаметр насоса (мм), последующие длину хода плунжера (мм) и напор (м), уменьшенные в 100 раз и последняя цифра - группу посадки.

Цилиндры насосов изготовляют двух исполнений: ЦБ и ЦС.

ЦБ - цельный безвтулочный толстостенный;

ЦС - составной из набора втулок, стянутых внутри кожуха переводниками.

Исходя из назначения и области применения скважинных насосов, выпускают плунжеры и пары "седло-шарик" клапанов различных поверхностей.

Плунжеры насосов изготавливают четырех исполнений:

ПХ1 - с кольцевыми канавками, цилиндрической расточкой на верхнем конце и с хромовым покрытием наружной поверхности;

ПХ2 - то же, без цилиндрической расточки на верхнем конце;

П111 - с кольцевыми канавками, цилиндрической расточкой на верхнем конце и упрочнением наружной поверхности напылением износостойкого порошка;

П211 - то же, без цилиндрической расточки на верхнем конце.

Пары "седло-шарик" клапанов насосов изготавливают в трех исполнениях:

К - с цилиндрическим седлом и шариком из нержавеющей стали;

КБ - то же, с седлом и буртиком;

КИ - с цилиндрическим седлом из твердого сплава и шариком из нержавеющей стали.

Скважинные насосы нормального исполнения по стойкости к среде, применяемые преимущественно для подъема жидкости с незначительным содержанием (до 1.3 г/л) механических примесей, комплектуют плунжерами исполнения ПХ1 или ПХ2 с парами "седло-шарик" исполнения К или КБ.

Скважинные насосы абразивостойкого исполнения И, применяемые преимущественно для подъема жидкости, содержащей более 1.3 г/л механических примесей, комплектуют плунжерами исполнения П1И или П2И и парами "седло-шарик" исполнения КИ.

Конструктивно все скважинные насосы состоят из цилиндра, плунжера, клапанов, замка (для вставных насосов), присоединительных и установочных деталей, максимально унифицированных.

Скважинные насосы типа НВ1 выпускают шести исполнений:

НВ1С - вставной с замком наверху, составным втулочным цилиндром исполнения ЦС, нормального исполнения по стойкости к среде;

НВ1Б - вставной с замком наверху, цельным (безвтулочным) цилиндром исполнения ЦБ, нормального исполнения по стойкости к среде;

НВ1Б И - то же абразиовостойкого исполнения по стойкости к среде;

НВ1БТ И - то же, с полым штоком, абразивостойкого исполнения по стойкости к среде;

НВ1БД1 - вставной с замком наверху, цельным цилиндром исполнения ЦБ, одноступенчатый, двухплунжерный, нормального исполнения по стойкости к среде;

НВ1БД2 - вставной с замком наверху, цельным цилиндром исполнения ЦБ, двухступенчатый, двухплунжерный, нормального исполнения по стойкости к среде.

Скважинные насосы всех исполнений, кроме исполнения НВ1БД1 и НВ1БД2, одноплунжерные, одноступенчатые.

Скважинные насосы типа НВ2 изготовляют одного исполнения:

НВ2Б - вставной с замком внизу, цельным цилиндром исполнения ЦБ, одноплунжерный, одноступенчатый, нормального исполнения по стойкости к среде (рисунок 3).

Рис. 3 Скважинный штанговый насос исполнения НВ2Б

- защитный клапан; 2 - упор; 3 - шток; 4 - контргайка; 5 - цилиндр; 6 - клетка плунжера; 7 - плунжер; 8 - нагнетательный клапан; 9 - всасывающий клапан; 10 - упорный ниппель с конусом.

Скважинные насосы типа НН выпускают двух исполнений:

ННБА - невставной без ловителя, с цельным цилиндром исполнения ЦБ, сцепляющим устройством, одноступенчатый, одноплунжерный, нормального исполнения по стойкости к среде;

ННБД1 - невставной без ловителя, с цельным цилиндром исполнения ЦБ, одноступенчатый, двухплунжерный, нормального исполнения по стойкости к среде.

Скважинные насосы типа НН1 изготовляют одного исполнения:

НП1С - невставной с захватным штоком, составным цилиндром исполнения ЦС, нормального исполнения по стойкости к среде.

Скважинные насосы типа НН2 выпускают пяти исполнений:

НН2С - невставной с ловителем, составным цилиндром исполнения ЦС, нормального исполнения по стойкости к среде;

НН2Б - невставной с ловителем, цельным цилиндром исполнения ЦБ, нормального исполнения по стойкости к среде (рисунок 20);

НН2Б…И - то же, абразивостойкого исполнения по стойкости к среде;

НН2БТ…И - то же, с полым штоком, абразивостойкого исполнения по стойкости к среде;

НН2БУ - невставной с ловителем, разгруженным цельным цилиндром исполнения ЦБ, нормального исполнения по стойкости к среде.

Рис. 4 Скважинный штанговый насос исполнения НН2Б и НН2Б

- цилиндр; 2 - шток; 3 - клетка плунжера; 4 - плунжер; 5 - нагнетательный клапан; 6 - шток ловителя; 7 - всасывающий клапан; 8 - седло конуса.

Все насосы типа НН2 - одноплунжерные, одноступенчатые.

Замковая опора типа ОМ предназначена для закрепления цилиндра скважинных насосов исполнений НВ1 и НВ2 в колонне насосно-компрессорных труб. Высокая точность изготовления поверхностей деталей опоры обеспечивает надежную герметичную фиксацию цилиндра насоса в насосно-компрессорных трубах на заданной глубине скважины и одновременно предотвращает искривление насоса в скважине.

Замковая опора ОМ (рисунок 4) состоит из опорного кольца 2, пружинного якоря 3, опорной муфты 4, кожуха 5 и переводников 1 и 6.

Переводник имеет на верхнем конце гладкую коническую резьбу, при помощи которой опора соединяется с колонной насосно-компрессорных труб. Кольцо изготавливают из нержавеющей стали. Конической внутренней фаской оно сопрягается с ответной конической поверхностью конуса замка насоса и обеспечивает герметичную посадку насоса. Якорь предотвращает срыв насоса с опоры от усилий трения движущегося вверх плунжера в период запуска в работу подземного оборудования. Максимальное усилие срыва замка 3 ¸ 3.5 кН.

Рис.5 Замковая опора

ВАРИАНТЫ КРЕПЛЕНИЯ НАСОСОВ

Рис.6 Крепление вставных насосов

Применение насосов НН предпочтительно в скважинах с большим дебитом, небольшой глубиной спуска и большим межремонтным периодом, а насосы типов НВ в скважинах с небольшим дебитом, при больших глубинах спуска (рисунок 6). Чем больше вязкость жидкости, тем принимается выше группа посадки. Для откачки жидкости с высокой температурой или повышенным содержанием песка и парафина рекомендуется использовать насосы третьей группы посадки. При большой глубине спуска рекомендуется применять насосы с меньшим зазором. Насос выбирают с учетом состава откачиваемой жидкости (наличия песка, газа и воды), ее свойств, дебита и глубины его спуска, а диаметр НКТ - в зависимости от типа и условного размера насоса.

. ПРОИЗВОДИТЕЛЬНОСТЬ

Теоретическая производительность ШСН равна

 - м3/сут.,

Где 1440 - число минут в сутках;

 - диаметр плунжера наружный;

 - длина хода плунжера;

 - число двойных качаний в минуту.

Отношение , называется коэффициентом подачи, тогда , где  изменяется от 0 до 1.

В скважинах, в которых проявляется так называемый фонтанный эффект, т.е. в частично фонтанирующих через насос скважинах может быть . Работа насоса считается нормальной, если .

Коэффициент подачи зависит от ряда факторов, которые учитываются коэффициентами , где коэффициенты:

 - деформации штанг и труб;

 - усадки жидкости;

 - степени наполнения насоса жидкостью;

 - утечки жидкости.

Где , где  - длина хода плунжера (определяется из условий учета упругих деформаций штанг и труб);  - длина хода устьевого штока (задается при проектировании).

,

,

где  - деформация общая;  - деформация штанг;  - деформация труб.

,

где  - объемный коэффициент жидкости, равный отношению объемов (расходов) жидкости при условиях всасывания и поверхностных условиях.

Насос наполняется жидкостью и свободным газом. Влияние газа на наполнение и подачу насоса учитывают коэффициентом наполнения цилиндра насоса

,

где  - газовое число (отношение расхода свободного газа к расходу жидкости при условиях всасывания).

Коэффициент, характеризующий долго пространства, т.е. объема цилиндра под плунжером при его крайнем нижнем положении от объема цилиндра, описываемого плунжером. Увеличив длину хода плунжера, можно увеличить . Коэффициент утечек


где  - расход утечек жидкости (в плунжерной паре, клапанах, муфтах НКТ);  - величина переменная (в отличие других факторов), возрастающая с течением времени, что приводит к изменению коэффициента подачи.

Оптимальный коэффициент подачи определяется из условия минимальной себестоимости добычи и ремонта скважин.

Уменьшение текущего коэффициента подачи насоса во времени можно описать уравнением параболы:

,

где  - начальный коэффициент подачи нового (отремонтированного) насоса;  - полный период работы насоса до прекращения подачи (если причина - износ плунжерной пары, то  означает полный, возможный срок службы насоса);  - показатель степени параболы, обычно равный двум;  - фактическое время работы насоса после очередного ремонта насоса. Исходя из критерия минимальной себестоимости добываемой нефти с учетом затрат на скважино-сутки эксплуатации скважины и стоимости ремонта, А.Н. Адонин определил оптимальную продолжительность межремонтного периода

,

где  - продолжительность ремонта скважины;  - стоимость предупредительного ремонта;  - затраты на скважино-сутки эксплуатации скважины, исключая .

Подставив  вместо , определим оптимальный конечный коэффициент подачи перед предупредительным подземным ремонтом .

Если текущий коэффициент подачи  станет равным оптимальному  (с точки зрения ремонта и снижения себестоимости добычи), то необходимо остановить скважину и приступить к ремонту (замене) насоса.

Средний коэффициент подачи за межремонтный период составит:

.

Анализ показывает, что при  допустимая степень уменьшения подачи за межремонтный период составляет 15 ¸ 20 %, а при очень больших значениях  она приближается к 50 %.81850Увеличение экономической эффективности эксплуатации ШСН можно достичь повышением качества ремонта насосов, сокращением затрат на текущую эксплуатацию скважины и ремонт, а также своевременным установлением момента ремонта скважины.

СПИСОК ИСПОЛЬЗУЕМЫХ ИСТОЧНИКОВ

.) В.В. Андреев, К.Р. Уразков Справочник по добыче нефти 2000г. 374 стр.

.) www.ngfr.ru/ngd.html?neft14

.) www.Neftandgaz.ru/?p=687


Не нашли материал для своей работы?
Поможем написать уникальную работу
Без плагиата!
Без нейросетей!