Арманд Хаммер

  • Вид работы:
    Реферат
  • Предмет:
    Биология
  • Язык:
    Русский
    ,
    Формат файла:
    MS Word
    97,94 kb
  • Опубликовано:
    2009-01-12
Вы можете узнать стоимость помощи в написании студенческой работы.
Помощь в написании работы, которую точно примут!

Арманд Хаммер

Введение

В ходе трехдневной учебно - промысловой практики мы посетили три ЦДНГ, такие как ЦДНГ - 1 в Павловке, ЦДНГ - 11 около г. Березники (Уньвинское месторождение) и ЦДНГ - 10 г. Кунгур. В ходе практики работники цеха ознакомили нас с техникой безопасности, провели для нас ознакомительные экскурсии по некоторым объектам производства, рассказали об основных процессах добычи нефти и газа и ответили на интересующие нас вопросы. На основе полученной информации был составлен отчет.

1.  
ЦДНГ-1

Павловское газонефтяное месторождение, расположено в Чернушинском районе Пермского края, в 15 км восточнее г. Чернушки. Открыто в 1956 году, эксплуатируется с 1958 года, степень выработки запасов составляет 43%.

В тектоническом отношении приурочено к Чернушинской валообразной зоне, осложняющей северный склон Башкирского свода. Павловское месторождение располагается в области верхнедевонского мелководного палеошельфа, для которого характерно широкое развитие органогенных построек позднефранско-фаменского возраста. В пределах месторождения выявляются следующие поднятия: Березовское, Деткинское, Барановское, Улыкское, Павловское, Южно-Павловское и Григорьевское.

Скважина №2036, оборудованная УСШН

Штанговые скважинные насосы разделяются на невставные или трубные (типа НН) и вставные (типа НВ). В первом случае сложнее вести их монтаж в НКТ, но, благодаря большему диаметру цилиндра насоса, подача больше.

Штанговые скважинные насосы предназначены для откачивания из нефтяных скважин углеводородной жидкости обводненностью до 99%, с температурой не более 130 «С, содержанием сероводорода не более 50 мг/л.

Вспомогательное оборудование ствола скважин предназначено для обеспечения работоспособности штанговых насосных установок при большом содержании свободного газа и песка в откачиваемой жидкости.

Скважина, оборудованная ЭЦН

Погружной электроцентробежный насос представляет собой набор отдельных ступеней, в каждой из которых имеется свой ротор (центробежное колесо) и статор (направляющий аппарат). Роторы отдельных ступеней посажены на один вал, жестко соединенный с валом погружного электродвигателя.

Каждая из ступеней ЭЦН развивает напор 3…5.5 м. Поэтому для обеспечения напора в 800… 1000 м в корпусе насоса монтируют 150…200 ступеней.

Существенными недостатками электроцентробежных насосов являются их низкая эффективность при работе в скважинах с дебитом ниже 60 м'/сут; снижение подачи, напора и кпд при увеличении вязкости откачиваемой смеси, а также при увеличении свободного газа на приеме насоса.

2. ЦДНГ-11. Уньвинское месторождение

На сегодняшний день это одно из богатейших нефтяных месторождений Пермского края. ЦДНГ №11, ежегодно на промысле «Уньва» добывается около 1,5 млн тонн нефти - это более 10% годовой добычи ООО «ЛУКОЙЛ-ПЕРМЬ»

Месторождение сегодня динамично развивается: ежегодный прирост нефтедобычи составляет в среднем 10%. На ЦДНГ - 11 апробируются многие технологии, это - своеобразная экспериментальная площадка. Это и бурение боковых стволов, радиальное бурение, сейчас обкатывается технология одновременно-раздельной эксплуатации скважин. На сегодняшний день у нас работает порядка тридцати лебедок Сулейманова. Очистка скважин от асфальтосмолопарафиновых отложений происходит в постоянном режиме, и контроль осуществляется в автоматическом режиме. На месторождении ведутся работы и по утилизации попутного газа». Геологические запасы нефти на 01.01.2007 г. по сумме категорий А+В+С1 составляет 72,5 млн. т., в том числе извлекаемые 13,4 млн. т. Источником хозяйственно-питьевого водоснабжения служат подземные воды от 7 существующих артезианских скважин (водозабор «Уньва - Романово»).

Установка Первичной Переработки Нефти (УППН)

На данном объекте происходит переработка нефти. Ее обезвоживают и обессоливают. Это происходит следующим образом: нефть проходит через КСУ и попадает в РВС, так полученная из нефти вода идет на КНС для дальнейшей закачки в пласт для поддержания пластового давления. Нефть из РВС подогревают до температуры 40-60 градусов, жидкость подвергается 1 ступени сепарации, от нее отделяют воду, которая отстаивается в РВС и также попадает на КНС. Обезвоженную нефть жжет 2 ступень сепарации, перед ней к нефти добавляют пресную воду. Полученная нефть проходит сквозь блок дегидраторов с целью обессоливания, далее нефть транспортируется в парк нефти. Процесс ее подготовки окончен

Цистерны РВС и КСУ

Вертикальные стальные цилиндрические резервуары со стационарной крышей (типа РВС) являются наиболее распространенными. Они представляют собой цилиндрический корпус, сваренный из стальных листов размером 1,5x6 м, толщиной 4…25 мм, со щитовой конической или сферической кровлей. При изготовлении корпуса длинная сторона листов располагается горизонтально от 100 до 50000 м!. Они рассчитаны на избыточное давление 2000 Па и вакуум 200 Па.

Для сокращения потерь нефти от испарения вертикальные цилиндрические резервуары оснащают понтонами и плавающими крышами.

Установка предварительного сброса воды

Предназначена для отделения от нефти воды и попутного газа. УПСВ состоит из следующих комплексов оборудования:

Узел сепарации;

Резервуарный парк;

Насосные блоки.

На УПСВ жидкость проходит последовательно две ступени сепарации. Перед первой ступенью сепарации в жидкость подается реагент - деэмульгатор. Газ с обеих ступеней сепарации подается на узел осушки газа, а затем потребителю или на ГПЗ

Жидкость со второй ступени сепарации поступает в резервуарный парк, где происходит частичное отделение механических примесей и предварительный сброс воды с подачей ее на блочную кустовую насосную станцию (БКНС) для закачки в пласт.

На БКНС производится подготовка, учет и закачка воды по направлениям водораспределительные (ВРБ) на батареи. С ВРБ вода подается на нагнетательные скважины.

Газовый факел - управляемое или аварийное сжигание сопутствующего газа при добыче или переработке нефти на нефтеперерабатывающих и химических заводах. Управляемое сжигание газа позволяет повысить безопасность нефтехранилищ и трубопроводов в случае незапланированного скачка давления. Чтобы уменьшить формирование черного дыма в газовом факеле, в пламя подмешивают водяной пар. Эта мера в какой-то степени снижает загрязнение атмосферы, но усиливает шум от газового факела и вызывает жалобы жителей близлежащих районов.

В Последние годы производятся активные действия по снижению выброса парниковых газов в атмосферу, в связи с чем предприятия должны утилизировать до 95% попутного газа.

3. ЦДНГ-10

Кокуйское газонефтяное месторождение, расположено в Кунгурском и Ординском районах Пермского края, в 28 км юго-западнее г. Кунгура. Открыто в 1961 г., эксплуатируется с 1965 г., степень выработки запасов 44%. В тектоническом отношении месторождение приурочено к бортовой зоне Камско-Кинельской системы палеопрогибов и расположено в пределах Бымско-Кунгурской впадины. Структурные формы месторождения относятся к типу тектоно-седиментационных. Продуктивными на нефть являются турнейские карбонатные, визейские терригенные, серпуховские, башкирские и верейские карбонатные отложения. На месторождении имеются нефтяные, газоконденсатонефтяные и газонефтяные залежи. Газовая составляющая находится в виде свободного газа, газа газовых шапок и растворенного газа. Разработка ведется в сложных горно-геологических условиях, вызванных развитием карстовых процессов в перм. отложениях. Месторождение эксплуатируется ООО «ЛУКОЙЛ-ПЕРМЬ». Геологические запасы нефти на 01.01.2007 г. по сумме категорий А+В+С1 составляют 113,1 млн. т., в т. ч. извлекаемые 25,8 млн. т.

Скважина нагнетательная (инжекционная) - предназначенная для нагнетания воды (газа) либо в законтурные зоны (газовую шапку) нефтяных залежей при осуществлении поддержания пластового давления, либо в определённую систему на нефтеносной площади при вторичных методах добычи нефти. В отличие от добывающих скважин, в которых производится отбор пластового флюида, в нагнетательные скважины закачивается жидкость (вода), таким образом обеспечивая замещение пластового флюида в коллекторе.

Газовая скважина №2146 Кокуйского месторождения

Эксплуатация газовых скважин связана с необходимостью обеспечения заданного дебита газа и газового конденсата. Это зависит во многом от состояния призабойной зоны скважины, степени ее обводненности, наличия в составе газа и конденсата агрессивных компонентов (сероводорода, углекислого газа) и других факторов, среди которых важное значение имеет число одновременно эксплуатируемых продуктивных пластов в одной скважине.

При эксплуатации газовых скважин в условиях обводнения призабойной зоны следует учитывать такие отрицательные последствия, как снижение дебита скважины, сильное обводнение газа, а значит, и большой объем его сепарации на промыслах для отделения воды, опасность образования большого объема кристаллогидратов и др. В связи с этим необходимо постоянное удаление воды из призабойной зоны скважины.

4. Технологический процесс добычи нефти. Схема сбора и транспорта нефти и газа на нефтепромысле

газонефтяной месторождение скважина добыча

Продукция нефтяных скважин представляет собой смесь нефти, газа и пластовой минерализованной воды. Очень часто нефть и вода при интенсивном перемешивании образуют эмульсию - смесь, в которой мелко раздробленные капли воды находятся в нефтяной среде во взвешенном состоянии и поэтому не отстаиваются и не сливаются друг с другом. В продукции газовых скважин, кроме газа, может содержаться жидкая фаза в виде капелек и паров воды, а в газоконденсатных скважинах также и жидкие углеводороды. Кроме газа и жидкости, в продукции скважин содержатся механические примеси: частицы песка и глины, выносимые из пласта.

Для сбора нефти и газа, их транспортирования, отделения друг от друга и освобождения от посторонних примесей, а также для замеров добываемой продукции на территории нефтяных промыслов строится система трубопроводов, аппаратов и сооружений, в которых выполняются следующие операции:

) сбор и замер продукции скважин;

) отделение (сепарация) нефти от газа;

) освобождение нефти и газа от воды и механических примесей;

) транспорт нефти от сборных и замерных установок до промысловых резервуарных парков и газа до компрессорных станций или газораспределительных узлов;

) обезвоживание (деэмульсация) нефти и в ряде случаев её обессоливание и стабилизация, т.е. удаление из неё лёгких углеводородов;

) удаление из газа ненужных примесей и отбензинивание его;

) учёт добычи нефти и газа и их сдача транспортным организациям.

Примерная схема движения:

От каждой скважины на кусте идёт выкидной нефтепровод (труба, диаметром от 89 до 114 мм, толщина стенки 5 мм) до АГЗУ.

АГЗУ - автоматизированная групповая замерная установка; здесь происходит дегазация нефти, а также измерение количества поступаемой с каждой скважины продукции.

Далее, с АГЗУ идёт нефтепровод - коллектор на дожимную насосную станцию (ДНС), где продукция попадает в УБС (установка блочная сепарационная), выбрасывается грязь, отделяется газ, который по газопроводу идёт на газокомпрессорную станцию, остальное же по нефтепроводу поступает на установку по подготовке нефти (УПН).

Примерная схема движения:

От каждой скважины на кусте идёт выкидной нефтепровод (труба, диаметром от 89 до 114 мм, толщина стенки 5 мм) до АГЗУ.

АГЗУ - автоматизированная групповая замерная установка; здесь происходит дегазация нефти, а также измерение количества поступаемой с каждой скважины продукции.

Далее, с АГЗУ идёт нефтепровод - коллектор на дожимную насосную станцию (ДНС), где продукция попадает в УБС (установка блочная сепарационная), выбрасывается грязь, отделяется газ, который по газопроводу идёт на газокомпрессорную станцию, остальное же по нефтепроводу поступает на установку по подготовке нефти (УПН).

5. Строительство нефтяных и газовых скважин

В цикл строительства скважины входят:

)        Подготовительные работы

)        Монтаж вышки и оборудования

)        Подготовка к бурению

)        Процесс бурения

)        Крепление скважины осадными трубами и ее тампонаж

)        Вскрытие пласта и испытание на приток нефти и газа

В ходе подготовительных работ выбирают место для буровой, прокладывают подъездную дорогу, подводят системы электроснабжения, водоснабжения и связи. Если рельеф местности неровный, то планируют площадку.

Монтаж вышки и оборудования производится в соответствии с принятой для данных конкретных условий схемой их размещения. Оборудование стараются разместить так, чтобы обеспечить безопасность в работе, удобство в обслуживании, низкую стоимость строительно-монтажных работ и компактность в расположении всех элементов буровой.

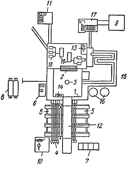
Типовая схема размещения оборудования, инструмента, запасных частей и материалов на буровой

- буровая вышка;

- лебедка; 3 - ротор;

- стеллажи;

- инструментальная площадка;

- площадка отработанных долот;

- хозяйственная будка;

- площадка глинохозяйства;

- площадка ловильного инструмента;

- площадка горюче-смазочных материалов;

- приемные мостки;

- верстак слесаря;

- стеллаж легкого инструмента; 15 - очистная система;

- запасные емкости;

- глиномешалка;

- силовой привод; 19 - насосы

Процесс бурения начинают, привинтив первоначально к ведущей трубе квадратного сечения долото. Вращая ротор, передают через ведущую трубу вращение долоту.

Во время бурения происходит непрерывный спуск (подача) бурильного инструмента таким образом, чтобы часть веса его нижней части передавалась на долото для обеспечения эффективного разрушения породы.

Крепление скважины обсадными трубами и ее тампонаж осуществляются согласно схемы, приведенной на рис. 6.1. Целью тампонажа затрубного пространства обсадных колонн является разобщение продуктивных пластов.

Хотя в процессе бурения продуктивные пласты уже были вскрыты, их изолировали обсадными трубами и тампонированием, чтобы проникновение нефти и газа в скважину не мешало дальнейшему бурению. После завершения проходки для обеспечения притока нефти и газа продуктивные пласты вскрывают вторично перфорационным способом. После этого скважину осваивают, т.е. вызывают приток в нее нефти и газа. Для чего уменьшают давление бурового раствора на забой одним из следующих способов:

1) промывка - замена бурового раствора, заполняющего ствол скважины после бурения, более легкой жидкостью - водой или нефтью;

) поршневание (свабирование) - снижение уровня жидкости в скважине путем спуска в насосно-компрессорные трубы и подъема на стальном канате специального поршня (сваба). Поршень имеет клапан, который открывается при спуске и пропускает через себя жидкость, заполняющую НКТ. При подъеме же клапан закрывается, и весь столб жидкости, находящийся над поршнем, выносится на поверхность.

Схема установки для бурения глубоких скважин

1 - долото

- наддолотная утяжеленная бурильная труба

- переводник

- центратор

- муфтовый переводник

,7 - утяжеленные бурильные трубы

- переводник

- предохранительное кольцо

- бурильные трубы

- предохранительный переводник

,14 - переводники штанговые нижний и верхний

- ведущая труба

- переводник вертлюга

- вертлюг

- стояк

- шланг

- крюк

- талевый блок

- вышка

- кронблок

- редуктор

- лебедка

- ротор

- шламоотделитель

- буровой насос

6. Методы поддержания пластового давления

Процесс нагнетания воды в продуктивный пласт через нагнетательные скважины с целью поддержания пластового давления называется заводнением. Заводнение позволяет резко увеличить нефтеотдачу пласта, в отдельных случаях до 70%. Этот процесс широко применяется на всех крупных месторождениях мира - в России, США, Венесуэле, Ливии, Иране и др. Законтурное и внутриконтурное заводнения являются принципиально различными.

При законтурном заводнении нагнетательные скважины располагаются (в плане) в водоносной части залежи, т.е. за контуром нефтяной залежи. Нагнетаемая вода начинает вытеснять нефть в направлении к эксплуатационным скважинам. Законтурное заводнение, как правило, применяется на малых и средних по размерам нефтяных залежах, преимущественно пластовых сводовых. Внутриконтурное заводнение характеризуется тем, что нагнетательные скважины располагаются не только за контуром нефтяной залежи, но и внутри самого контура. Внутриконтурное заводнение, как правило, применяют на больших залежах нефти, где из-за значительной их протяженности энергии законтурных скважин бывает недостаточно. Очень крупные нефтяные залежи разбиваются рядами нагнетательных скважин на отдельные более мелкие блоки.

Заключение

В процессе учебно-промысловой практики мы познакомились с основами нефтегазопромыслового дела, и теперь имеем более полное представление о сфере деятельности инженера-нефтяника. Нам были изложены основные сведения о месторождениях нефти и газа, способах их формирования, разведке. Описано оборудование для обустройства месторождений и добычи нефти и газа. Приведены основные данные по обустройству месторождений и о методах подготовки нефти и газа к дальнейшему транспорту.


Список литературы

газонефтяной месторождение скважина добыча

1.   Коршак А.А., Шаммазов А.М.: Основы нефтегазового дела. Дизайн Полиграф Сервис. Уфа 2005 г.

2.      Мищенко И.Т.: Скважинная добыча нефти

.        Антонова Е.О.: Основы нефтегазового дела. М.; «Недра» 2003 г.

.        Муравьев В.М.: Эксплуатация нефтяных и газовых скважин. М.; «Недра» 1973 г.

.        http://www.lukoil-perm.ru/


Не нашли материал для своей работы?
Поможем написать уникальную работу
Без плагиата!
Без нейросетей!