Развитие медоносных пчёл.

  • Вид работы:
    Реферат
  • Предмет:
    Биология
  • Язык:
    Русский
    ,
    Формат файла:
    MS Word
    8,84 kb
  • Опубликовано:
    2009-01-12
Вы можете узнать стоимость помощи в написании студенческой работы.
Помощь в написании работы, которую точно примут!

Развитие медоносных пчёл.













Контрольная работа

по дисциплине: «Буровые промывочные и тампонажные растворы»

на тему: «Буровые растворы. Классификация, параметры, свойства.»

СОДЕРЖАНИЕ

ВВЕДЕНИЕ

.УСЛОВИЯ БУРЕНИЯ С ПРИМЕНЕНИЕМ БУРОВЫХ ПРОМЫВОЧНЫХ ЖИДКОСТЕЙ

. СПОСОБЫ ПРОМЫВКИ

3. ФУНКЦИИ БУРОВОГО РАСТВОРА

4. КЛАССИФИКАЦИЯ БУРОВЫХ РАСТВОРОВ

. ПАРАМЕТРЫ БУРОВЫХ РАСТВОРОВ И МЕТОДЫ ИХ ИЗМЕРЕНИЯ

. ОТБОР ПРОБЫ БУРОВОГО РАСТВОРА И ПОДГОТОВКА ЕЕ К ИЗМЕРЕНИЮ

. ПРОМЫСЛОВЫЕ ИСПЫТАНИЯ БУРОВОГО РАСТВОРА

.1 УДЕЛЬНЫЙ ВЕС И ПЛОТНОСТЬ БУРОВОГО РАСТВОРА

.2 СТАБИЛЬНОСТЬ И СУТОЧНЫЙ ОТСТОЙ

. РЕОЛОГИЧЕСКИЕ СВОЙСТВА БУРОВОГО РАСТВОРА

. ФИЛЬТРАЦИОННЫЕ И КОРКООБРАЗУЮЩИЕ СВОЙСТВА

.1 ОПРЕДЕЛЕНИЕ ЛИПКОСТИ ФИЛЬТРАЦИОННОЙ КОРКИ

.2 ОПРЕДЕЛЕНИЕ СОДЕРЖАНИЯ ПЕСКА

.3 СОДЕРЖАНИЕ ГАЗА

.4 ВОДОРОДНЫЙ ПОКАЗАТЕЛЬ (рН)

.СТРУКТУРНО-МЕХАНИЧЕСКИЕ СВОЙСТВА БУРОВЫХ РАСТВОРОВ И КОАГУЛЯЦИЯ

. ПРИБОРНО-МЕТОДИЧЕСКИЙ КОМПЛЕКС ДЛЯ ПРОЕКТИРОВАНИЯ ПРОМЫВОЧНЫХ ЖИДКОСТЕЙ ПРИМЕНИТЕЛЬНО К СЛОЖНЫМ ГЕОЛОГО-ТЕХНИЧЕСКИМ УСЛОВИЯМ БУРЕНИЯ

СПИСОК ИСПОЛЬЗУЕМОЙ ЛИТЕРАТУРЫ.

ВВЕДЕНИЕ

При бурении вращательным способом в скважине постоянно циркулирует поток жидкости, которая ранее рассматривалась только как средство для удаления продуктов разрушения (шлама). В настоящее время она воспринимается, как один из главных факторов обеспечивающих эффективность всего процесса бурения. При проведении буровых работ циркулирующую в скважине жидкость принято называть - буровым раствором или промывочной жидкостью (Drilling mud, drilling fluid).

Буровой раствор кроме удаления шлама должен выполнять другие, в равной степени важные функции, направленные на эффективное, экономичное, и безопасное выполнение и завершение процесса бурения. По этой причине, состав буровых растворов и оценка его свойств становился темой большого объема научно-практических исследований и анализа.

В настоящее время в мировой практике наблюдается тенденция роста глубин бурения скважин, а как следствие, и увеличение опасности возникновения при этом различных осложнений. Кроме того, постоянно ужесточаются требования более полной и эффективной эксплуатации продуктивных пород. В этой связи буровой раствор должен иметь состав и свойства, которые обеспечивали бы возможность борьбы с большинством из возможных осложнений и не оказывали негативного воздействия на коллекторские свойства продуктивных горизонтов.

1.УСЛОВИЯ БУРЕНИЯ С ПРИМЕНЕНИЕМ БУРОВЫХ ПРОМЫВОЧНЫХ ЖИДКОСТЕЙ

В процессе бурения нарушается равновесие пород, слагающих стенки скважин. Устойчивость стенок зависит от исходных прочностных характеристик горных пород, их изменения во времени под действием различных факторов. Большая роль здесь принадлежит процессу промывки и промывочному агенту. Основная задача промывки - обеспечение эффективного процесса бурения скважин, она включает в себя сохранение, как устойчивости стенок скважин, так и керна.

В условиях, когда нарушена целостность породы, большую роль играет горное давление. В приствольной части скважины оно проявляется как в вертикальном, так и в горизонтальном направлении. Боковое давление является следствием вертикального и вызывает касательные напряжения, способствующие выпучиванию пород, сужению ствола и обвалообразованию. Величина касательных напряжений зависит не только от горного давления, но и от давления промывочной жидкости.

В бурении горное давление всегда превышает гидростатическое столба промывочной жидкости в скважине и способствует разрушению стенок скважины, если прочность самой породы недостаточна или значительно ослаблена в результате воздействия промывочной жидкости. Наиболее интенсивна деформация породы непосредственно у стенок скважины, где боковое давление не уравновешивается гидростатическим и силами сцепления горной породы. Характер изменения сил сцепления в породе обусловлен геолого-минералогическими особенностями горной породы и ее взаимодействием с промывочной жидкостью, главным образом физико-химическим.

Физико-химическое воздействие жидкости на горную породу проявляется в трех основных формах:

1)   активное воздействие, основанное на процессах гидратации, диссоциации, ионообмена и химических превращений;

2)      адсорбционное воздействие;

)        осмотическое воздействие.

Основное отрицательное влияние промывочной жидкости на прочность горных пород сводится к физико-химическим изменениям в структуре пород под действием фильтрата. Действие фильтрата сопровождается диспергацией глинистой составляющей породы, набуханием, капиллярным и динамическим расклиниванием. На контакте промывочной жидкости со стенками скважины происходит химическое растворение, выщелачивание, гидромеханическое разрушение породы. Процесс усиливается механическим воздействием бурильной колонны на стенки скважин.

Характер и скорость ослабления связей между частицами горных пород при бурении с промывкой во многом зависят от наличия естественных нарушений сплошности породы (пористости, трещиноватости). С одной стороны, они сами являются источником уменьшения механической прочности породы и способствуют ее смачиванию. В местах нарушения движется фильтрат и возникают капиллярные силы. С другой стороны, наличие нарушений является условием образования фильтрационной корки из частиц твердой фазы промывочного агента, способствующей повышению устойчивости породы.

Важный фактор устойчивости горной породы - ее естественная влажность. Даже при незначительном увлажнении пород глубина их устойчивого залегания резко уменьшается. При полном водонасыщении прочность, например плотных глин и глинистых сланцев, снижается в 2 - 10 раз. Большое значение для устойчивости стенок скважин имеет и физико-химический состав жидкостей, насыщающих породу.

Пластовая жидкость оказывает химическое воздействие на горную породу, усиливающееся при вскрытии пласта, она же является предпосылкой диффузии и осмоса. Если в скважине промывочная жидкость будет более минерализованной, чем пластовая вода, то процесс осмоса не повлияет на целостность породы, так как не произойдет обновления среды и увеличения количества жидкости в порах породы.

Скорость отделения частиц породы в процессе разрушения стенок скважин зависит от величины давления столба промывочной жидкости, а также гидромеханического воздействия жидкости в процессе циркуляции. Однако существенное положительное воздействие давления столба промывочной жидкости на обваливающиеся породы будет только при предельно ограниченном поступлении фильтрата в пласт" или ее физико-химическом упрочняющем действии на породу. В пластичных (ползучих) породах рост противодавления промывочной жидкости существенно затрудняет развитие сужений ствола в основном вследствие физико-химического взаимодействия промывочной жидкости с породами, слагающими стенки скважин.

Выделяются следующие виды нарушений целостности стенок скважин в результате взаимодействия промывочной жидкости с горными породами: обвалы (осыпи); набухание; пластичное течение (ползучесть); химическое растворение; размыв.

Устойчивость горных пород во многом связана с обеспечением непрерывной циркуляции промывочной жидкости в процессе бурения при наличии в геологическом разрезе проницаемых горных пород. Чаще всего в практике разведочного колонкового бурения такие проницаемые зоны представлены водоносными пластами. В зависимости от пластового давления и применяемого промывочного агента могут происходить поглощение промывочной жидкости, водопроявление, неустойчивая циркуляция. Поглощение промывочной жидкости удорожает, а подчас делает невозможным бурение скважины. Водопроявление ухудшает качество промывочной жидкости в процессе циркуляции, приводит к дополнительному экологическому загрязнению. Неустойчивая циркуляция осложняет технологию бурения, поддержание качества жидкости, ее регулирование.

Поглощения делятся на частичные и полные. Проницаемые зоны классифицируются по величине коэффициента, характеризующего проницаемость зоны в процессе бурения. Проницаемые зоны, представленные неустойчивыми, тонкотрещиноватыми или пористыми породами, изолируются частицами твёрдой фазы промывочной жидкости в процессе бурения скважин. Потеря промывочного агента здесь сводится к объему, отфильтровавшемуся в процессе формирования корки.

Однако если бурение скважины ведется на жидкое или газообразное полезное ископаемое, то ставится задача сохранения проницаемости пласта и роль промывочного агента усложняется.

Соотношение давлений столба промывочной жидкости и пластового (порового) определяет величину дифференциального давления в скважине, которое играет важную роль не только в сохранении стенок скважины, но и в процессе разрушения породы на забое и прихватах бурового инструмента.

2. СПОСОБЫ ПРОМЫВКИ

При бурении скважин промывочная жидкость должна циркулировать по замкнутому гидравлическому контуру. В зависимости от вида гидравлического контура все существующие системы промывки делятся на две группы:

1)      системы промывок с выходом раствора на поверхность;

2)      системы промывок с внутрискважинной циркуляцией.

В зависимости от направления движения промывочной жидкости по отношению к буровому инструменту промывка с выходом ее на поверхность осуществляется по одной из приведенных на рис. 1. схем.


Комбинированная система промывки по технологии исполнения подразделяется на периодическую (последовательную) и совмещенную (параллельную). Оба варианта могут быть реализованы как по прямой, так и по обратной схеме. При использовании периодической промывки направление потока бурового раствора меняется с прямой промывки на обратную и наоборот. Направление движения раствора, подаваемого к забою скважины, изменяется на поверхности при соответствующей обвязке насоса и устья скважины.

3. ФУНКЦИИ БУРОВОГО РАСТВОРА

Удаление продуктов разрушения из скважины. Вся выбуренная порода должна эффективно удаляться с забоя и из ствола во избежание переизмельчения шлама и дополнительного износа породоразрушающего инструмента и бурильных труб. Качество очистки забоя зависит от степени турбулизации жидкости в призабойной зоне. Чем она выше, тем лучше и быстрее очищается забой скважины от выбуренной породы. На характер течения жидкости в призабойной зоне скважины существенно влияет частота вращение бурового снаряда, а также конструкция и расположение промывочных окон в породоразрушающем инструменте.

Способность бурового раствора, удалять шлам из скважины в отстойник зависит частично от характеристик раствора и частично от скорости циркуляции в кольцевом пространстве между бурильной трубой и стенкой скважины. Когда мощности бурового насоса недостаточно для обеспечения необходимой скорости восходящего потока бурового раствора для эффективного удаления шлама, можно увеличить вязкость раствора, особенно, предел текучести. Однако это приводит к ухудшению условий очистки раствора и росту гидравлических сопротивлений в циркуляционной системе скважины.

Охлаждение породоразрушающего инструмента и бурильных труб.

В процессе бурения происходит нагрев породоразрушающего инструмента за счет совершаемой на забое механической работы. Буровой раствор, омывая породоразрушающий инструмент, в результате конвекционного обмена отводит тепло. Эффективность охлаждения зависит от расхода бурового раствора, его теплофизических свойств и начальной температуры, а также от размеров и конструктивных особенностей породоразрушающего инструмента.

Буровой раствор также охлаждает бурильные трубы, нагревающиеся вследствие трения о стенки скважины.

Буровые растворы обладают относительно высокой теплоемкостью, поэтому функция охлаждения выполняется даже при небольших их расходах.

Удержание частиц выбуренной породы во взвешенном состоянии

Удержание частиц выбуренной породы и утяжелителя во взвешенном состоянии в промывочной жидкости, находящейся в скважине необходимо для предотвращения прихватов бурильного инструмента при прекращении циркуляции. Для выполнения этой функции буровой раствор должен обладать тиксотропным свойствами, то есть способностью превращаться при отсутствии движения из золя в гель с образованием структуры, обладающей определенной устойчивостью. Устойчивость структуры оценивается величиной статического напряжения сдвига

Облегчение процесса разрушения горных пород на забое

Активное воздействие бурового раствора на забой обусловлено, главным образом, за счет кинетической энергии потока на выходе из бурового снаряда.

Эффект гидродинамического воздействия усиливается путем подбора площади сечения и мест расположения каналов, через которые жидкость выходит на забой скважины. Эта функция промывочной жидкости наиболее эффективна в породах рыхлого комплекса.

Кроме того, облегчение процесса разрушения горных пород на забое может быть осуществлено за счет понижения их твердости. Сущность процесса понижения твердости горных пород заключается в следующем, горные породы не однородны по прочности, имеют более слабые места в кристаллической решетке, а также микротрещины, пронизывающие кристаллы и расположенные по их границам. Жидкость как внешняя среда активно участвует в процессе механического разрушения горных пород, проникая в глубину деформируемого тела - в зону предразрушения, представляющую собой деформированные слои с повышенной трещиноватостью. Активность жидкости может быть значительно повышена небольшими добавками к ней специальных веществ, получивших название понизителей твердости. Воздействие этих веществ на процесс разрушения горных пород основано на усилении физико-химического взаимодействия дисперсионной среды с развивающимися в процессе механического разрушения новыми поверхностями горной породы. Дисперсионная среда бурового раствора с добавленными понизителями твердости, проникая в зону предразрушения и распределяясь по микротрещинам, образует на поверхностях горных пород адсорбционные пленки (сольватные слои). Эти пленки производят расклинивающее действие в зонах, расположенных вблизи поверхности обнажаемых горных пород, вследствие чего создаются лучшие условия их разрушения. Чем сильнее при этом связь смачивающей жидкости с поверхностью тела, тем сильнее расклинивающее действие адсорбционно-сольватных слоев.

Наблюдения показали, что при бурении с добавкой в буровой раствор понизителей твердости зоны предразрушения горных пород становятся более развитыми, зародышевые щели распространяются значительно глубже и количество их увеличивается по сравнению с воздействием жидкости малоактивной, без адсорбирующихся добавок.

Поверхностно-активные вещества, адсорбируясь на обнажаемых поверхностях микротрещин, способствуют снижению свободной поверхностной энергии тела, что уменьшает величину необходимой для разрушения работы и облегчает разбуривание горной породы. Эффективность действия понизителей твердости зависит от механических условий разрушения (прежде всего периодичности силовых воздействий), химической природы самих реагентов, их концентрации в буровом растворе и физико-химических свойств горных пород.

На поверхностях твердого тела в качестве понизителей твердости могут адсорбироваться как поверхностно-активные молекулы органических веществ (не электролитов), так и ионы электролитов. В качестве основных понизителей твердости пород используются кальцинированная сода, едкий натр, известь негашеная и гашеная и различные мыла. Понизители твердости пород помогают процессу дальнейшего диспергирования находящегося в круговой циркуляции бурового шлама. Это имеет особенно важное значение при бурении с промывкой забоя естественными промывочными растворами, дисперсная фаза которых образуется из частичек твердых пород, диспергированных механическим воздействием долота на забой. Применяемые для стабилизации естественных карбонатных растворов поверхностно-активные вещества проникают в трещины довольно больших частичек шлама, откалываемых от забоя ударами зубьев долота. Адсорбируясь на вновь образованных поверхностях, оказывая расклинивающее действие и понижая поверхностное натяжение, эти вещества способствуют дальнейшему диспергированию шлама до частичек коллоидного размера, остающихся в системе в качестве дисперсной фазы раствора.

Сохранение устойчивости стенок скважины

Нежелательное изменение свойств пород устраняется подбором рецептуры промывочной жидкости. В частности, в нее вводят компоненты, придающие ей крепящие свойства. Кроме того, ряд промывочных жидкостей содержит твердую фазу, которая, отлагаясь при фильтрации в порах и тонких трещинах, образует малопроницаемую для жидкой фазы корку. Такая корка, обладая определенной механической прочностью, связывает слабосцементированные частицы горных пород, замедляет или полностью останавливает процесс дальнейшего распространения смоченной зоны вокруг ствола скважины.

Сохранению устойчивости стенок скважины способствует гидростатическое давление промывочной жидкости. Однако с его ростом увеличивается интенсивность проникновения промывочной жидкости в горные породы, падает механическая скорость бурения. В этих условиях еще более повышается изолирующая и закрепляющая роль фильтрационной корки. Большее значение гидростатическое давление промывочной жидкости приобретает при бурении трещиноватых пород, а также пород и минералов, обладающих свойством медленно выдавливаться в скважину под действием горного давления (например, соли: галит, карналлит и др.). Создание достаточно высокого гидростатического давления позволит сохранить устойчивость стенок скважины в таких условиях.

Создание гидростатического равновесия в системе "ствол скважины - пласт"

В процессе бурения скважина и вскрытый пласт образуют систему пласт - скважина. Промывочная жидкость давит на стенки скважины. Жидкости или газ, находящиеся в пласте, также давят на стенки скважины, но со стороны пласта. Поскольку жидкости соприкасаются друг с другом через каналы фильтрации, пронизывающие стенки скважины, пласт и скважина представляют собой сообщающиеся сосуды.

Если в процессе бурения давление в скважине больше пластового, будет наблюдаться уход промывочной жидкости в пласт - поглощение. Это приводит к возникновению различного рода осложнениям в процессе бурения:

–         снижается уровень жидкости в скважине, что может вызвать обвалы стенок,

–       теряется дорогостоящая промывочная жидкость;

–       осложняется контроль за процессом промывки;

–       загрязняются подземные воды.

Если пластовое давление больше гидростатического давления промывочной жидкости, возникает водопроявление - жидкость из скважины поступает на поверхность. Это также приводит к нежелательным последствиям: загрязняется прилегающая к скважине территория, резко ухудшается качество промывочной жидкости, что вызывает обрушение (или пучение) стенок скважин.

В процессе бурения давление жидкости в скважине изменяется: к гидростатическому добавляется давление, величина которого зависит от выполняемых в скважине технологических операций. Поэтому возможны условия, когда при бурении поглощение периодически перемежается с водопроявлением, что также отрицательно сказывается на функциях промывочной жидкости. Обеспечение равенства давлений в системе пласт - скважина в процессе бурения позволит избежать нежелательных осложнений при вскрытии проницаемых горных пород.

Сохранение проницаемости продуктивных горизонтов

Эта функция промывочной жидкости важна при бурении скважин на жидкие и газообразные полезные ископаемые. В таких скважинах обязательно проводятся исследования по оценке запасов и возможных дебитов скважин. Часть скважин может впоследствии использоваться в качестве эксплуатационных.

Так как в процессе фильтрации промывочных жидкостей на поверхности горных пород и в устьевых частях пор и трещин откладывается корка из частиц твердой фазы, продуктивность пласта в прискважинной зоне уменьшается. Это приводит к снижению дебита скважин, искажению подсчетов запасов, неправильной оценке проницаемости горных пород. Причем уменьшение проницаемости прискважинной зоны может оказаться необратимым. Во избежание отрицательного воздействия жидкости на продуктивный пласт корка должна легко разрушаться, а твердые частицы вымываться из каналов фильтрации.

Кроме того, снижение проницаемости призабойной зоны продуктивного пласта возможно вследствие действия фильтрата бурового раствора на глинистый цемент пород коллекторов. Такие условия наиболее характерны для условий работы ЮКОС. Для предотвращения возможных осложнений необходимо использовать промывочную жидкость не отфильтровывающую дисперсионную среду в горные породы слагающие стенки скважины. Это достигается подбором вида твердой фазы промывочной жидкости и введением специальных компонентов.

Перенос энергии от насосов к забойным механизмам

Для эффективной работы забойных механизмов (турбобуров, гидроударников, винтовых двигателей) требуется определенная энергия, которая переносится от бурового насоса, установленного на поверхности, к забою скважины. Количество этой энергии определяется техническими характеристиками забойных механизмов и условиями бурения. Энергия, затрачиваемая на привод бурового насоса, расходуется, кроме того, на преодоление гидравлических сопротивлений при циркуляции промывочной жидкости в скважине. Технические возможности насосов ограничены, поэтому количество подведенной к забойному двигателю энергии будет зависеть от потерь напора при циркуляции промывочной жидкости. Потери зависят при прочих равных условиях от подачи насоса и реологических свойств жидкости. Так как на подачу насоса влияют геологические условия бурения и расход жидкости, требуемый для устойчивой работы забойного механизма в нужном режиме, главным регулирующим фактором энергетических затрат остаются реологические свойства промывочной жидкости. Поэтому при использовании забойных механизмов стремятся максимально уменьшать реологические параметры промывочных жидкостей, учитывая при этом и другие их функции.

Обеспечение проведения геофизических исследований

При бурении скважин и по достижении проектной глубины обязательно проводится комплекс геофизических исследований, позволяющих уточнить геологический разрез и измерить ряд важных характеристик пласта. Эффективность таких исследований зависит от качества промывочной жидкости. Так, при повышенных реологических параметрах геофизические приборы могут зависать в скважине, в то время как бурильный инструмент опускается свободно. В отдельных случаях параметры промывочных жидкостей влияют и на показания приборов. Все эти обстоятельства должны учитываться при выборе качества промывочной жидкости.

Предохранение бурового инструмента и оборудования от коррозии и абразивного износа

Коррозия бурильного инструмента и оборудования вызывается в основном действием солей, а также кислорода воздуха, растворенных в промывочной жидкости. Реже коррозия происходит под действием сероводорода, поступающего в промывочную жидкость из горных пород.

Абразивный износ вызывается твердыми частицами, попадающими в промывочную жидкость либо при приготовлении" либо в процессе бурения. Совместное действие абразивного износа и коррозии усиливает процесс разрушения металла, приводит к преждевременному выходу из строя инструмента и оборудования, поломкам и авариям. Поэтому при выборе промывочной жидкости необходимо учитывать ее коррозионную и абразивную активность. Коррозионную активность снижают введением специальных добавок - ингибиторов коррозии. Для уменьшения абразивного износа промывочные жидкости следует регулярно очищать на поверхности от твердых абразивных частиц.

Закупоривание каналов с целью снижения поглощения бурового раствора и водопритоков

Буровой раствор должен обладать закупоривающими свойствами. Это достигается введением измельченных веществ- наполнителей. Отлагаясь в сужениях трещин, частицы наполнителя создают каркас, на котором осаждается твердая фаза, формируя изоляционные тампоны. Постепенно такие тампоны смыкаются, образуя в поглощающем пласте вокруг скважины водонепроницаемую завесу. Частицы наполнителя должны равномерно распределяться в жидкости, поэтому необходимо, чтобы жидкость обладала определенной структурой, препятствующей осаждению наполнителя. Размеры частиц наполнителя и его концентрация не должны существенно ухудшать работу буровых насосов.

Предотвращение газо-, нефте-, водо проявлений

Газ, нефть, или вода, с которой сталкиваются в проницаемых породах, пронизанных буровым долотом обычно предотвращается от течения (фонтанирования) в отверстие давлением, проявленным столбом промывочной жидкости. Количество этого гидростатического давления зависит в значительной степени от плотности промывочной жидкости и высоты столба жидкости. Давление в стволе скважины также зависит до некоторой степени от давления от ударной нагрузки, вызванных циркулирующей глинистым раствором и движением бурильной трубы. Давление от ударной нагрузки, по очереди, связаны с пластической вязкостью, пределом текучести, и предельным статическим напряжением сдвига глинистого раствора.

Снижение коэффициента трения

Один из наиболее прогрессивных методов снижения коэффициента трения является введение в них специальных органических или комбинированных добавок, в результате чего образуется эмульсия, обладающая смазочными свойствами. Такие промывочные жидкости обеспечивают ряд дополнительных положительных эффектов: увеличение механической скорости, повышение стойкости бурильных труб, снижение затрат мощности на вращение колонны бурильных труб, снижение потерь напора при циркуляции.

Сохранение заданных технологических характеристик

В процессе бурения раствор как можно более длительное время должен сохранять предусмотренные проектом технологические свойства. В противном случае он перестанет выполнять необходимые функции, что может привести, с одной стороны, к возникновению осложнений и аварий, а с другой, к необходимости дополнительной его обработки химическими реагентами, что вызывает увеличение стоимости буровых работ.

Экологическая чистота

При бурении наклонно-направленных скважин буровой раствор может попадать в водоносные горизонты, в русло рек и разливаться по поверхности в прирусловой зоне. По этой причине (несмотря на мероприятия по предупреждению этих явлений) раствор не должен оказывать губительное влияние на окружающую среду - должен быть экологически безопасным.

Для этой цели буровой раствор должен изготавливаться из нетоксичных материалов, не способных создавать ядовитые соединения. Токсичность материалов и их соединений должна контролироваться на этапе проектирования.

Экономическая эффективность

При условии выполнения буровым раствором всех вышеперечисленных функций он должен иметь минимально возможную стоимость. Это обеспечивается оптимальным подбором рецептуры приготовления бурового раствора и применением наиболее дешевых материалов для его производства (без ущерба качеству). Таким образом оптимальный процесс промывки скважин обеспечивается правильным сочетанием вида бурового раствора, режима промывки (подачи насоса) и организационных мер по поддержанию и регулированию свойств раствора в процессе бурения. Только такое сочетание позволит эффективно реализовать технологические функции процесса промывки.

В зависимости от геологического разреза и физико-механических свойств горных пород конкретного района работ одни функции промывочной жидкости являются главными, другие - второстепенными. Необходимый комплекс функций процесса промывки предъявляет к промывочному агенту требования, для удовлетворения которых он должен иметь определенные свойства. Эти свойства обусловливают вид промывочной жидкости.

4. КЛАССИФИКАЦИЯ БУРОВЫХ РАСТВОРОВ

В практике бурения в качестве буровых растворов используются:

) вода;

) водные растворы;

) водные дисперсные системы на основе:

–       добываемой твердой фазы (глинистые, меловые, сапропелевые, комбинированные растворы);

–       жидкой дисперсной фазы (эмульсии);

–       конденсированной твердой фазы;

–       выбуренных горных пород (естественные промывочные жидкости);

) дисперсные системы на углеводородной основе;

) сжатый воздух.

В исключительных условиях для промывки скважин используются углеводородные жидкости (дизельное топливо, нефть).

Все дисперсные системы с твердой фазой могут быть с малым (до 7%), нормальным (до 20 - 22%) и повышенным содержанием (более 20 - 22%) твердой фазы. Буровые растворы в определенных условиях могут искусственно насыщаются воздухом и переходят в категорию аэрированных. В воде и водных растворах воздух в зависимости от его содержания может выступать в качестве дисперсной фазы или дисперсионной среды. В последнем случае промывочные жидкости называют пенами.

По назначению буровые растворы подразделяются на:

) жидкости для нормальных геологических условий бурения (вода, некоторые водные растворы, нормальные глинистые растворы);

) жидкости для осложненных геологических условий бурения.

5. ПАРАМЕТРЫ БУРОВЫХ РАСТВОРОВ И МЕТОДЫ ИХ ИЗМЕРЕНИЯ

Буровой раствор не может в одинаковой мере выполнять все функции. И главное не всегда это необходимо. Поэтому для конкретных условий бурения определяется набор основных функций бурового раствора и те свойства, которые обеспечат их выполнение. Задаче получения заданных свойств должны быть подчинены все работы по подбору рецептур (состава) раствора и их регулированию. При этом необходимо сохранить на приемлемом уровне остальные параметры промывочного агента.

Заданные свойства жидкости получают, подбирая состав и вид компонентов. Наибольшую сложность представляет получение дисперсных буровых растворов, так как здесь очень важное значение имеет степень дисперсности твердой фазы и характер ее взаимодействия с остальными компонентами. Изменяя степень дисперсности, можно при одном и том же составе бурового раствора в широких пределах варьировать некоторыми и в первую очередь реологическими свойствами промывочного агента.

В процессе бурения буровой раствор взаимодействует с разбуриваемыми породами, пластовыми водами, подвергается воздействию механических нагрузок, температуры, давления, атмосферного воздуха, осадков. В нем происходят внутренние процессы, связанные с ослаблением электрических зарядов на частицах и старением составляющих компонентов. Все это приводит к ухудшению свойств раствора, он теряет способность выполнять необходимые функции. Поэтому в процессе бурения требуется восстанавливать и поддерживать его необходимые свойства.

Нередко чередование пород в геологическом разрезе вызывает необходимость в изменении некоторых функций бурового раствора. Поэтому, если можно не заменять раствор, его свойства регулируют в процессе бурения на подходе к соответствующему интервалу.

Таким образом, необходимость в регулировании свойств бурового раствора возникает в следующих случаях:

1)      при приготовлении - для получения раствора с заданными свойствами;

2)      в процессе бурения - для поддержания требуемых функций;

)        в процессе бурения - для изменения параметров применительно к изменяющимся геологическим условиям.

Свойства бурового раствора регулируют:

химической обработкой (путем введения специальных веществ - реагентов);

физическими методами (разбавление, концентрирование, диспергация, утяжеление, введение наполнителей);

физико-химическими методами (комбинация перечисленных методов).

Таким образом, чтобы буровые растворы в процессе бурения скважины выполняли требуемые функции, необходимо выбирать основные материалы для их приготовления, специально обрабатывать с помощью химических реагентов, вводить вещества, предназначенные для регулирования их свойств, и т. д. Условия бурения скважин (глубина, диаметр, температура, порядок расположения и свойства разбуриваемых пород) весьма различны не только для разных месторождений, но и для отдельных участков одного месторождения. Поэтому буровые растворы также должны обладать различными свойствами не только на разных участках бурения, но и по мере углубления данной скважины. Чем лучше способность бурового раствора выполнять в данной скважине определенные функции, тем выше ее качество. Однако самый высококачественный для данной скважины буровой раствор для другой скважины в других условия бурения может оказаться не только низкокачественным, но и непригодным. Это обстоятельство объясняет необходимость определения параметров бурового раствора на этапе проектирования.

В процессе бурении на буровой раствор влияет выбуренная порода: частично путем распускания в жидкости, частично путем химического воздействия. Буровой раствор могут разбавлять пластовые воды. На нее воздействует высокая пластовая температура. В процессе всех этих воздействий в буровом растворе происходят сложные физико-химические процессы, изменяющие ее свойства. В связи с этим необходимо контролировать способность раствора осуществлять необходимые функции путем измерения ее параметров в процессе бурения скважины и при необходимости восстанавливать их соответствующими способами.

Требования к методам измерения свойств буровых растворов:

1.          Измеряемые параметры должны быть общепринятыми, обязательными для всех организаций и предприятий бурения, иначе невозможно создать рекомендации по регулированию параметров в разных районах.

2.      Методы измерения параметров долины быть едиными, в противном случае невозможно сравнивать характеристики буровых растворов, используемых в различных районах.

.        Принятые методы должны быть оперативными: продолжительность измерения параметров должна быть меньшей, чем время, в течение которого может измениться состояние бурящейся скважины, иначе в скважине могут возникнуть осложнения раньше, чем будет отмечено несоответствие параметров требованиям.

.        В принятых методах необходимо предусматривать такие способы отбора проб циркулирующего раствора и такие способы измерения, которые обеспечат получение характеристик, соответствующих характеристикам жидкости, циркулирующей в скважине и осуществляющей необходимые функции; наиболее правильно измерять их при тех же температуре и давлении, которые соответствуют данной глубине скважины; строгое соответствие осуществить практически невозможно, поэтому процессы измерения параметров, отображающих отдельные функции или группы функций бурового раствора, условно моделируют поведение бурового раствора в скважине. Чем ближе эти модели к оригиналу, т. е. К условиям, в которых находится раствор в скважине, тем правильнее характеризуются его свойства.

6. ОТБОР ПРОБЫ БУРОВОГО РАСТВОРА И ПОДГОТОВКА ЕЕ К ИЗМЕРЕНИЮ

Чтобы свойства пробы бурового раствора соответствовали свойствам циркулирующей жидкости и хранящейся в емкости или земляном амбаре, необходимо уточнять место отбора пробы, ее объем и время между отбором пробы и ее анализом. Когда требуются сведения о жидкости, циркулирующей в скважине, пробу следует отбирать вблизи места ее выхода из скважины (устья) до того, как она прошла очистные устройства, дегазаторы. Пробу необходимо отбирать только во время циркуляции.

Для получения характеристик жидкости, закачиваемой в скважину, пробу отбирают в конце желобов, по которым она подается к приемам насосов. При необходимости характеризовать неоднородность циркулирующего бурового раствора, содержащей отличающиеся от всей жидкости так называемые «пачки», пробы отбирают на устье скважины из этих «пачек». Если анализ производят непосредственно у буровой, пробу отбирают в количестве, необходимом для одного анализа. Если пробу отбирают для анализа в лаборатории, удаленной от буровой, объем ее составляет 3 - 5 л. Для получения этого объема через каждые 5 - 15 мин отбирают по 0,5 л жидкости и сливают в одну посуду, например ведро, пропуская ее при этом через сетку от вискозиметра.

Перед отбором проб из емкостей, в которых хранится буровой раствор, содержимое перемешивают с помощью насосов до тех пор, пока весь ее объем не станет однородным. Об этом должно свидетельствовать совпадение основных характеристик по крайней мере двух проб, взятых из разных, удаленных друг от друга участков хранилища (вязкость различается не более чем на 5%).

Существенную роль играет время между отбором пробы и анализом. Газ, вынесенный буровым раствором из скважины, может быстро улетучиться, в результате чего увеличивается ее плотность. Нагретый буровой раствор остывает, и многие характеристики ее изменяются, особенно это сказывается на величинах плотности, вязкости и содержания газа. Поэтому их определяют непосредственно у желобов буровой.

7. ПРОМЫСЛОВЫЕ ИСПЫТАНИЯ БУРОВОГО РАСТВОРА

Часть свойств бурового раствора могут измеряться буровой бригадой, обычно это плотность бурового раствора, условная вязкость, и водоотдача. Кроме того, бригадой могут измеряться содержание песка, а также концентрацию солей и щелочность раствора Однако для качественного управления свойствами бурового раствора, позволяющего обеспечивать эффективное выполнение им заданных функций, такого набора параметров явно недостаточно.

.1 УДЕЛЬНЫЙ ВЕС И ПЛОТНОСТЬ БУРОВОГО РАСТВОРА

Удельный вес - вес 1 см3 промывочной жидкости - обозначается Y и выражается в г/см3. Под плотностью понимают величину, определяемую отношением массы тела к его объему. Обозначается она r и выражается в г/см3. Удельный вес характеризует способность промывочной жидкости осуществлять в скважине гидродинамические и гидростатические функции:

1)       удерживать во взвешенном состоянии и выносить из скважины частицы породы наибольшего размера;

2)      создавать гидростатическое давление на стенки скважины, рассчитанное, исходя из необходимости предотвращения поступления в ствол скважины нефти, газа или воды из пласта и сохранения целостности стенок скважины;


3)    обеспечивать снижение веса колонны бурильных и обсадных труб, в связи с чем уменьшается нагрузка на талевую систему буровой.

Плотность промывочной жидкости, содержащей газ, называют кажущейся, а плотность жидкости, не содержащей газа, истинной. Процесс измерения плотности основан на определении гидростатического давления на дно измерительного сосуда. Перед измерением промывочную жидкость пропускают через сетку вискозиметра ВБР-1.

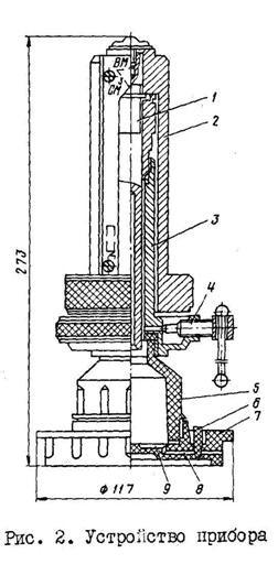
Прибор АБР-1. В комплект входит собственно ареометр и удлиненный металлический футляр в виде ведерка с крышкой, служащей пробоотборником для раствора (рис. 2.). Прибор состоит из мерного стакана, донышка, поплавка, стержня и съемного калибровочного груза. Кроме ареометра поплавкого типа для определения плотности бурового раствора может быть использован рычажный плотномер.

7.2 СТАБИЛЬНОСТЬ И СУТОЧНЫЙ ОТСТОЙ


Эти параметры используются в качестве технологических показателей устойчивости промывочной жидкости как дисперсной системы.

Показатель стабильности С измеряется с помощью прибора ЦС-2 (рис.3.), представляющего собой металлический цилиндр объемом 800 см3 со сливным отверстием в середине. При измерении отверстие перекрывают резиновой пробкой, цилиндр заливают испытываем раствором, закрывают стеклом и оставляют в покое на 24 ч. По истечении этого срока отверстие открывают и верхнюю половину раствора сливают в отдельную емкость. Ареометром определяют плотность верхней и нижней частей раствора. За меру стабильности принимают разность плотностей раствора в нижней и верхней частях цилиндра.

Чем меньше значение С, тем стабильность раствора выше.


Суточный отстой измеряют с помощью стеклянного мерного цилиндра объемом 100 см3, обозначают буквой 0 (рис. 4.). Испытываемую жидкость осторожно наливают в мерный цилиндр до отметки 100 см3, закрывают стеклом и оставляют в покое на 24 ч, после чего визуально определяют величину слоя прозрачной воды, выделившейся в верхней части цилиндра. Отстой выражают в процентах выделившейся жидкости от объема пробы. Чем меньше суточный отстой, тем устойчивее, стабильнее промывочная жидкость.

Эти параметры следует измерять при температурах, соответствующих температуре раствора в скважине.

Стабильным считается раствор, у которого С = 0,02-0,03 г/см3, 0 = 3-4%.

8. РЕОЛОГИЧЕСКИЕ СВОЙСТВА БУРОВОГО РАСТВОРА

Наиболее широко используемые в настоящее время буровые растворы представляют собой жидкости, содержащие дисперсную фазу. Как и обычные жидкости, они обладают подвижностью, т.е. способностью течь. При этом первоначальное расположение частиц жидкости изменяется, происходит деформация. Наука о деформации и течении тел называется реологией, а свойства тел, связанные с течением и деформацией, называются реологическими. Они характеризуются определенными величинами, не зависящими от условий их измерения и конструкции измерительных приборов. Такие величины называют реологическими константами.

Реологические свойства буровых растворов оказывают превалирующее влияние:

·         на степень очистки забоя скважины от шлама и охлаждения породоразрушающего инструмента

·        транспортирующую способность потока

·        величину гидравлических сопротивлений во всех звеньях циркуляционной системы скважины

·        величину гидродинамического давления на ее стенки и забой в процессе бурения

·        амплитуду колебаний давления при пуске и остановке насосов, выполнении СПО и проработке скважины с расхаживанием бурильной колонны

·        интенсивность обогащения бурового раствора шламом

·        скорость эрозии стенок скважин и др.

Изучение реологических свойств дисперсных систем основано на выявлении закономерностей связи между силами (напряжениями), вызывающими течение жидкости, и получаемыми при этом скоростями течения (деформациями). Перечень основных и производных от них показателей, характеризующих реологические свойства буровых растворов, определяется выбором реологической модели. Среди известных реологических моделей буровых растворов наибольшим распространением в отечественной и зарубежной практике пользуются модели Бингама - Шведова и Оствальда -де Ваале:

t = t0 + h×g

t = k×(g)n

где t - касательное напряжение сдвиаг, дПа;

g - скорость сдвига, мПа*с;

h - пластическая вязкость ПВ, мПа*с;

t0 - динамическое напряжение сдвига ДНС, дПа;

n - показатель неньютоновского поведения ПНП;

k - показатель консистенции ПК, мПа*с.

С помощью величин реологических характеристик можно определять коллоидно-химические свойства дисперсных систем, что очень важно для оценки качества промывочных жидкостей и выбора методов регулирования их свойств.

Условная вязкость.

Стандартные полевые измерения вязкости бурового глинистого раствора проводятся с помощью вискозиметра буровых растворов ВБР-1 или воронкой Марша. Вискозиметр ВБР-1, служащий для измерения условной вязкости, состоит из воронки, герметично соединенной трубки, сетки и мерной кружки. Порядок определения. Взяв в руку воронку, устанавливают сетку на выступы, зажимают нижнее отверстие пальцем правой руки и заливают через сетку испытуемую жидкость до верхней кромки вискозиметра. Подставив мерную кружку под трубку вискозиметра, убирают палец и одновременно левой рукой включают секундомер. Воронку необходимо держать вертикально (допускается отклонение не более 100). Когда мерная кружка наполнится до края, останавливают секундомер, а отверстие воронки вновь закрывают пробкой.

Условная вязкость определяется временем истечения 500 см3 раствора через трубку из воронки вискозиметра, заполненной 700 см3 раствора. За исходный результат принимают среднее значение результатов трех измерений, отличающиеся между собой не более чем на 2 с.

9. ФИЛЬТРАЦИОННЫЕ И КОРКООБРАЗУЮЩИЕ СВОЙСТВА

Процессы фильтрации называют процесс разделения фаз дисперсной системы, происходящий при движении системы через пористую среду, размер пор которой того же порядка, что и размер частиц дисперсной фазы или меньше их. Дисперсная система находится при этом по одну сторону пористой среды и с этой же стороны имеется превышение давления, вызывающее процесс фильтрации. В результате движения дисперсной системы через пористую среду в порах и на поверхности пористого тела задерживаются частицы дисперсной фазы, образуя фильтрационную корку. Последняя также содержит и некоторое количество дисперсионной среды, но значительно меньше, чем исходная дисперсная система.

Дисперсная система состоит из частиц, которые принадлежат к одной из двух групп. В первой средний размер частиц меньше, чем средний размер пор. Такие частицы проходят в пористую среду на некоторую глубину и создают корку внутри пористого тепа. Более крупные частицы не проходят в пористую среду и образуют корку на ее поверхности. Проходы, остающиеся в фильтрационной корке между более крупными частицами дисперсной фазы, перекрываются более мелкими частицами.

В продолжающемся процессе фильтрации жидкость проходит через образовавшуюся фильтрационную корку, оставляя на ней все новые и новые частицы; толщина фильтрационной корки непрерывно растет, а ее проницаемость (способность пропускать через себя фильтрат) снижается в связи с увеличением гидравлических сопротивлений.

Поэтому фильтрация есть процесс, затухающий во времени. Объем фильтрата, накапливающегося во времени, пропорционален корню квадратному из продолжительности фильтрации. Если на логарифмической бумаге откладывать продолжительность фильтрации и объем фильтрата, соответствующий ей, получится прямая линия, позволяющая определить объем фильтрата через заданный промежуток времени. Объем фильтрата принято измерять через 30 мин после начала процесса. Логарифмическая зависимость позволяет ускорить измерение: объем фильтрата, выделившийся через 7,5 мин, практически равен половине объема, получаемого после 30 мин фильтрации.

На свойствах фильтрационной корки сказывается изменение скорости фильтрации во времени. Часть корки, которая прилегает к поверхности пористого тела, более уплотнена, обладает наименьшей влажностью и наибольшей прочностью. Чем ближе к исходной дисперсной системе, тем более рыхлой будет часть корки, тем ближе ее состав к составу дисперсной системы. Однако между коркой и системой существует граница раздела, на которой свойства дисперсной системы скачкообразно изменяются. Иногда эту границу трудно заметить вследствие тиксотропного упрочнения дисперсной системы.

Скорость фильтрации в значительной степени зависит от дисперсности частиц фильтрующейся системы. Чем меньше размер частиц (когда частицы крупнее пор), тем меньше скорость фильтрации. Когда размер частиц меньше, чем размер пор, скорость фильтрации с уменьшением размера частиц снова возрастает. Скорость фильтрации полидисперсной системы меньше, чем монодисперсной. Это объясняется тем, что более мелкие частицы будут перекрывать просветы между более крупными. Поэтому в распределении частиц дисперсной фазы по их размерам существуют оптимальные соотношения, обеспечивающие наименьшую скорость фильтрации. Для таких соотношений каждая группа более мелких частиц обеспечивает перекрытие просветов между частицами следующей группы частиц большего размера. Кроме этого способа уменьшения скорости фильтрации существуют и физико-химические способы. Так, если частицы дисперсной фазы не защищены от коагуляции, они будут слипаться друг с другом и образовывать рыхлые агрегаты, легко проницаемые для дисперсионной среды. Фильтрационная корка, образованная такими агрегатами, также будет легко пропускать через себя фильтрат. Принятие мер, обеспечивающих защиту частиц дисперсной фазы от агрегативной неустойчивости, обеспечивает получение дисперсной системы, не содержащей рыхлых агрегатов.

Фильтрационная корка в такой системе будет образована частицами, плотно прилегающими друг к другу, а следовательно, будет малопроницаемой. В отличие от рыхлой упаковки частиц в корке, образованной агрегатами, эту упаковку называют компактной. Когда защита обеспечивается добавлением высокомолекулярных и высоко гидрофильных органических соединений, их частицы также принимают участие в процессе коркообразования, заполняя более мелкие просветы, остающиеся между частицами дисперсной фазы, и еще более снижая проницаемость корки.

Следующим фактором, определяющим скорость фильтрации, является вязкость дисперсионной среды. С увеличением вязкости сопротивление фильтрата течению через поры фильтрующей поверхности возрастает, а следовательно, уменьшается скорость фильтрации. Указанные высокомолекулярные органические соединения при растворении в воде значительно повышают вязкость, снижая скорость фильтрации. На процесс фильтрации существенно влияет величина давления, перепад которого и вызывает фильтрацию. По характеру этого влияния все фильтрационные корки делятся на несжимаемые и сжимаемые. Во первых скорость фильтрации возрастает с увеличением перепада давления сначала быстро, затем все медленнее. Для сжимаемых корок вначале зависимость та же, однако при достижении определенного критического давления на корку, образованную в этих случаях частицами, слабо связанными друг с другом, последние перегруппировываются, обеспечивая более компактную упаковку. Скорость фильтрации снижается.

Значительно влияет на процесс фильтрации температура. Различают статическую и динамическую фильтрацию. В первом случае единственным видом движения дисперсной системы над фильтрующей поверхностью является ее постепенное поступление в пористую среду. При динамической фильтрации дисперсная система принудительно, например с помощью мешалки, перемещается относительно фильтрующей поверхности и при достаточно высокой скорости размывает фильтрационную корку. Уменьшение толщины последней вызывает рост скорости фильтрации.

Существующие приборы для измерения водоотдачи делятся на работающие под давлением и работающие под вакуумом. Первые подразделяются на приборы, измеряющие статическую водоотдачу, и приборы, измеряющие динамическую водоотдачу (в процессе циркуляции над фильтром). Последние сложны и пока используются лишь в научных исследованиях наиболее распространенным в практике разведочного бурения приборам относятся ВМ-6 (рис. 6.), в которых водоотдача измеряется в статическом состоянии при перепаде давления 0,1 МПа. За показатель фильтрации принимается количество жидкости, отфильтровавшейся через круглый бумажный фильтр площадью 28 см2 за 30 мин.

9.1 ОПРЕДЕЛЕНИЕ ЛИПКОСТИ ФИЛЬТРАЦИОННОЙ КОРКИ

Неоднократно предпринимались попытки ввести в практику исследования буровых растворов определение такого параметра, как липкость глинистой корки. Однако из-за несовершенства предложенных методов и конструкций приборов определение и анализ этого показателя свойств раствора распространения на промыслах не получили.

 

Липкость определяют следующим образом (рис. 7.). Фильтр с глинистой коркой кладут на столик. На корку кладут стальной брусок квадратного сечения со стороной квадрата, равной 10 мм; вес бруска 6 г, длина 64 мм. Вращением упорного винта увеличивают угол отклонения столика от горизонтали. С увеличением угла отклонения увеличивается составляющая сила тяжести бруска, стремящаяся сдвинуть брусок с глинистой корки. Когда эта составляющая сила преодолеет липкость корки, брусок соскользнет с нее. Тангенс угла наклона, при котором брусок соскользнет с глинистой корка, считается показателем липкости корки. Шкала прибора отмечает не величину угла отклонения, а его тангенс. Этот метод определения липкости глинистой корки может быть применен и для фильтрационных корок промывочных жидкостей других видов.




Под песком понимается количество (объем) всех крупных частиц, имеющихся в промывочной жидкости. Сюда относятся собственно песок, грубодисперсные частицы выбуренной породы и исходной твердой фазы промывочной жидкости. Содержание песка обозначается обычно буквой П, измеряется в %. Таким образом, содержание песка характеризует устойчивую загрязненность промывочной жидкости твердыми включениями. Чрезмерное содержание песка приводит к абразивному износу гидравлического оборудования и бурового снаряда, уменьшению механической скорости бурения. Содержание песка определяют с помощю отстойника ОМ-2.

Для промывочных жидкостей нормальным считается содержание песка до 4%.

9.3 СОДЕРЖАНИЕ ГАЗА

Содержание газа в растворе обозначается буквой Г и измеряется в процентах (%). Пузырьки, находящиеся в промывочной жидкости, могут состоять из естественного газа, проникшего в жидкость из стенок скважины или из выбуренной породы. В некоторых случаях газ находится в растворенном состоянии и вследствие уменьшения давления по сравнению с давлением в скважине вскипает, образуя пузырьки. Иногда это пузырьки воздуха, захваченного на дневной поверхности или внесенного насосами, которые захватывают воздух при незаполненных приемах.

Наличие пузырьков в промывочной жидкости легко обнаружить, нанеся небольшое количество ее на стеклышко, по поверхности которого жидкость может стекать. Пузырьки видны при рассмотрении жидкости на свету. Их можно заметить также на поверхности жидкости, протекающей по желобам или стекающей по доске, лопате при извлечении их из жидкости, при этом наблюдается рябь, напоминающая кипение жидкости. Содержание газа необходимо знать, чтобы контролировать начинающееся газопроявление в скважине и способность жидкости оказывать на забой давление. Присутствие газа ухудшает работу насосов, увеличивает вязкость промывочной жидкости.

Метод разбавления

Метод основан на разбавлении промывочной жидкости водой, в результате чего пузырьки приобретают способность всплывать, уменьшая кажущийся объем промывочной жидкости. В мерный цилиндр с притертой пробкой (емкостью 250 мл) вносят отмеренные мензуркой 50 мл промывочной жидкости и добавляют 200 мл воды, часть которой перед этим используют на обмывание мензурки с остатками промывочной жидкости. Цилиндр закрывают пробкой, энергично взбалтывают его в течение 1 мин и оставляют в покое. После того как пена опадет, измеряют объем жидкости в мерном цилиндре. Этот объем будет меньше суммарного (250 мл) на величину объема газа. Содержание газа определяют по формуле

Г = 2 (250 Р),где Р объем, занятый жидкостью после удаления газа.

.4 ВОДОРОДНЫЙ ПОКАЗАТЕЛЬ (рН)

Наличие в промывочной жидкости водородных ионов связано с процессом диссоциации воды, являющейся слабодиссоциирующим веществом: в 1 л при 220С диссоциирует 1×10-7 моля с образованием 1×10-7 моля водорода Н+ и 1×10-7 моля гидроксидной группы ОН-. Концентрацию диссоциированных молекул Н2О в воде и разбавленных водных растворах можно считать величиной постоянной. Произведение концентраций водородных и гидроксидных ионов, так называемое ионное произведение воды, также постоянно. Численное значение его при 220С равно 1 10-14.Если в водных растворах концентрация водорода и гидроксидной группы одинакова (каждая равна 1×10-7 моль/л), такие растворы являются нейтральными. В кислых растворах концентрация водородных ионов превышает 1×10-7 моль/л, в щелочных растворах концентрация ионов гидроксидной группы больше концентрации водорода. Кислотность и щелочность раствора можно выражать либо через концентрацию ионов Н+, либо через концентрацию ионов ОН-. На практике для этого обычно пользуются концентрацией Н+. Чтобы избежать неудобств, связанных с применением степенных отрицательных чисел, концентрацию водородных ионов принято выражать ее логарифмом с обратным знаком и называть водородным показателем

pН = -lg [Н+]

В нейтральных растворах рН=7

В кислых рН<7 и уменьшается с ростом кислотности.

В щелочных растворах рН>7 и повышается с увеличением щелочности. Концентрация водородных ионов рН важный показатель, определяющий характер физико-химических процессов в промывочной жидкости и необходимость обработки ее реагентами. В каждой дисперсной системе при определенных значениях концентрации водородных ионов наступает максимум и минимум стабильности.

Для различных промывочных жидкостей существует своя оптимальная концентрация водородных ионов, при которой они наиболее полно удовлетворяют требованиям технологии бурения в конкретных геолого-технических условиях. Контроль за величиной рН позволяет определить причины изменения свойств промывочной жидкости в процессе бурения и принять меры по восстановлению ее качества. Концентрацию водородных ионов промывочных жидкостей измеряют колориметрическим и электрометрическим способами.


Колориметрический способ основан на применении индикаторов. При этом способе используют наборы индикаторов и буферных растворов различных реактивов с определенными значениями рН. Фильтрат, полученный при измерении водоотдачи, наливают в пробирку, добавляют в нее раствор индикатора и сравнивают цвет жидкости в этой пробирке с цветом эталонных буферных растворов с индикаторами или с эталонной цветной шкалой, на которой указаны значения рН, соответствующие той или иной окраске. Более удобен колориметрический способ измерения рН с использованием набора индикаторной бумаги и эталонных цветных шкал. При измерении полоску индикаторной бумаги осторожно укладывают на поверхность промывочной жидкости. Когда полоска пропитывается жидкостью и цвет ее перестанет изменяться, прикладывают ее к эталонной шкале и по шкале определяют величину рН, соответствующую данной интенсивности окраски. Если подобрать подходящий цвет по шкале не удается, это значит, что сорт бумаги был выбран неправильно, опыт нужно повторить, взяв соответствующую бумагу. Колориметрический метод имеет невысокую точность (+0,5 рН) и чаще применяется в полевых условиях.

Электрометрический способ используется для более точного определения рН в лабораториях на специальных приборах рН-метрах (рис. 9.), например рН-262. Здесь для измерения величины рН используется система со стеклянным электродом, электродвижущая сила которой зависит от активности ионов водорода в растворе. При погружении электрода в раствор между поверхностью шарика электрода и раствором происходит обмен ионами, в результате которого ионы лития в поверхностных слоях стекла замещаются ионами водорода и стеклянный электрод приобретает свойства водородного электрода. Прибор позволяет выполнить измерения рН с точностью до 0,01 единицы.

10. СТРУКТУРНО-МЕХАНИЧЕСКИЕ СВОЙСТВА БУРОВЫХ РАСТВОРОВ И КОАГУЛЯЦИЯ

бурение скважина жидкость сдвиг

По агрегатному состоянию и механическим свойствам дисперсные системы могут быть разделены на две группы: 1) свободнодисперсные, или бесструктурные, и 2) связнодисперсные, или структурированные. Свободнодисперсные системы отличаются подвижностью и не оказывают сопротивления сдвигу. Частицы дисперсной фазы такой системы находятся в относительно свободном состоянии, под влиянием внешних сил двигаются независимо одна от другой и не связаны в общую структурированную систему. Называются такие системы золями. Если дисперсионной средой является вода, то система носит название гидрозоль, если какая-либо органическая жидкость - органозоль и т. д.

Механические свойства этих систем аналогичны механическим свойствам их дисперсионной среды. Если буровой раствор, например водный карбонатный раствор, представляет собой в каком-либо конкретном случае свободнодисперсную, бесструктурную систему, то его механические свойства аналогичны свойствам дисперсионной среды. Он также не оказывает сопротивления сдвигу, т. е. не обладает механической прочностью, и является водной суспензией с низкой вязкостью, без загустевания при спокойном стоянии и без разжижения при движении. Вязкость таких систем изменяется только при изменении количества дисперсной фазы, приходящейся на единицу объема. С увеличением объема частиц дисперсной фазы за счет заполнения части объема дисперсионной среды повышается вязкость системы. Связнодисперсные, структурированные системы называются гелями. В этих системах частички дисперсной фазы связаны между собой молекулярными силами сцепления и образуют пространственные структуры - сетки, каркасы, имеющие определенную механическую прочность.

Для получения в дисперсной системе структуры требуется наряду с другими условиями определенная концентрация твердой дисперсной фазы. Разбавленные системы с малой концентрацией твердой фазы обычно являются свободнодисперсными золями.

Дисперсная система, имеющая пространственную структуру, обладает такими физико-механическими свойствами, как прочность, упругость, пластичность, вязкость, зависящими от физико-химических свойств веществ, образующих систему, и их количественного соотношения. Структурно-механические свойства растворов определяют во многом их качество. Одной из наиболее важных характеристик промывочных жидкостей является тиксотропность, связанная с созданием и разрушением структуры.

Хорошие коллоидные буровые растворы - золи и высокодисперсные суспензии, представляющие собой при перемещении маловязкие и подвижные жидкости, обладают способностью, находясь в спокойном состоянии, приобретать с течением времени структуру, загустевать и превращаться в гель. При механическом воздействии (взбалтывании, перемешивании, встряхивании, циркуляции) такой гелеобразный раствор вновь превращается в подвижный золь. Этот процесс может повторяться любое число раз. Превращение находящегося в спокойном состоянии золя в гель и подвергнутого механическому воздействию геля в золь называется тиксотропией. Следовательно, тиксотропия представляет собой процесс, связанный с обратимыми созданием и разрушением пространственной структурной сетки-каркаса дисперсной системы.

Предельное статическое напряжение сдвига

Предельное статическое напряжение сдвига (СНС) обозначается буквой «q» и измеряется в Па.

Физический смысл: условная характеристика прочности тиксотропной структуры, возникающей в промывочной жидкости после нахождения в покое в течение одной (СНС1) или десяти (СНС10) минут. Первая величина характеризует удерживающую способность промывочной жидкости. При выборе параметров промывочной жидкости принимается меньшее значение величины СНС1, при котором обеспечивается выполнение указанной функции. При еще меньших величинах частицы породы не будут удерживаться во взвешенном состоянии.

В связи с тиксотропностью промывочной жидкости прочность структуры при длительном нахождении в покое может достичь таких значений, при которых в момент восстановления циркуляции сопротивление структуры вызовет очень большое увеличение давления промывочной жидкости, что способствует разрыву пласта. Поэтому кроме величины СНС1 измеряют и СНС10, причем тиксотропность характеризуют частным от деления второй величины на первую.

В промысловых лабораториях распространены различные ротационные приборы для определения СНС. Общим принципом действия этих приборов является уравновешивание сопротивлений, возникающих при взаимном перемещении исследуемой жидкости и находящегося в ней подвешенного на проволоке цилиндра, и упругих сопротивлений этой проволоки закручиванию. В одних ротационных приборах внутренний цилиндр является неподвижным, а заполненный раствором внешний цилиндр-стакан вращается, в приборах другого типа вращается внутренний цилиндр, а исследуемая жидкость во внешнем цилиндре-стакане находится в неподвижном состоянии. Если, например, вращается внешний стакан, то сила взаимодействия между находящимся в стакане структурированным раствором и поверхностью внутреннего цилиндра заставит последний также вращаться, а проволоку, на которой цилиндр повешен, - закручиваться. Вращение внутреннего цилиндра будет происходить до тех пор, пока возрастающее сопротивление закручиваемой проволоки не сравняется с сопротивлениями сдвигу, возникающими при взаимном перемещении цилиндра и жидкости.


Сила сопротивления раствора вращению в нем внутреннего цилиндра f1 равна произведению боковой поверхности цилиндра на статическое напряжение сдвига.

В отечественной практике применяются ротационные приборы с неподвижным внутренним цилиндром и вращающимся внешним цилиндром-стаканом. Получил распространение прибор СНС-2 (рис. 10.) завода КИП.

11. ПРИБОРНО-МЕТОДИЧЕСКИЙ КОМПЛЕКС ДЛЯ ПРОЕКТИРОВАНИЯ ПРОМЫВОЧНЫХ ЖИДКОСТЕЙ ПРИМЕНИТЕЛЬНО К СЛОЖНЫМ ГЕОЛОГО-ТЕХНИЧЕСКИМ УСЛОВИЯМ БУРЕНИЯ

Для успешного бурения в сложных геолого-технических условиях, характеризующихся нарушениями устойчивости стенок скважин, поглощениями промывочной жидкости, прихватами бурильной колонны; большими зенитными, вплоть до 90 градусов, углами скважины и т.п., требуется глубокая и всесторонняя оценка качества промывочной жидкости, которая особенно остро необходима на стадии ее проектирования, так как качество должно быть заложено в промывочной жидкости, а не доказываться контролем.

Для решения этой задачи в Томском политехническом университете разработан приборно-методический комплекс, включающий в себя следующее:

универсальный прибор для оценки ингибирующей и консолидирующей способности промывочных жидкостей (ПОИКС);

универсальный пресс для формирования модельных образцов глинистых и потенциально неустойчивых пород (пресс);

прибор для оценки закупоривающей способности промывочных жидкостей (ПОЗС);

прибор для определения смазочной способности промывочных жидкостей (трибометр).

ПОИКС (рис.11.) используется с целью получения количественных показателей, характеризующих влияние промывочных жидкостей на разупрочнение и диспергирование глинистых и глиносодержащих пород, а также на упрочнение (консолидацию) потенциально неустойчивых пород, и выбора на этой основе оптимальных составов промывочных жидкостей, обеспечивающих следующие возможности:

предупреждение деформационных процессов в околоствольном пространстве скважин (кавернообразование, сужение ствола и т.п.), представленном легкогидратирующимися, набухающими и размокающими глинами и глинистыми сланцами;

снижение интенсивности обогащения промывочной жидкости шламом при бурении в легкодиспергирующихся глинистых отложениях и, соответственно, снижение интенсивности изменения ее функциональных свойств, регенерация которых требует разбавления промывочной жидкости водой, дополнительной обработки ее химическими реагентами, и неизбежно связана с увеличением не только затрат на бурение скважин, но и загрязнения окружающей среды;


повышение устойчивости стенок скважин при бурении в генетически слабосвязанных и тектонически разрушенных горных породах;

качественное вскрытие продуктивных пластов в песчано-глинистых коллекторах.

Принцип работы ПОИКС заключается в следующем: к модельному образцу породы, помещаемому в камеру, прилагают постоянную осевую нагрузку, не вызывающую его разрушения в воздушной среде; заполняют камеру испытуемой жидкостью и фиксируют время от момента подачи жидкости до момента разрушения в ней образца. При оценке ингибирующей способности испытаниям подвергают фильтрат или фугат промывочной жидкости и в качестве эталона - дистиллированную воду, а при оценке консолидирующей способности - непосредственно саму промывочную жидкость. В первом случае материалом для изготовления модельных образцов служит глина, а во втором - частицы потенциально неустойчивой породы, сконсолидированные исследуемой промывочной жидкостью, т.е. смешанные с нею в определенном соотношении. В том и другом случаях испытания проводятся на модельных образцах, изготовленных из частиц одинакового фракционного состава одной и той же породы, при одинаковых их геометрических размерах, исходной влажности, нагрузке на образцы и др.

Ингибирующую способность (Ис) промывочной жидкости характеризуют следующим показателем

Ис = tф / tв ,

где tф, tв - время воздействия на модельные образцы до их разрушения соответственно фильтрата (фугата) испытуемой промывочной жидкости и дистиллированной воды, с.

Показателем консолидирующей способности (Кс) служит продолжительность нахождения в промывочной жидкости в устойчивом состоянии сконсолидированного ею модельного образца породы.

От аналогов ПОИКС отличается универсальностью, автоматической регистрацией измеряемой величины, а также более высокой достоверностью и точностью оценки рассматриваемых показателей свойств промывочных жидкостей (Ис, Кс), способы определения которых защищены патентами № 2073227 и № 2073842 Российской Федерации.


ПОЗС (рис.12.) предназначен для выбора наиболее эффективного закупоривающего материала (наполнителя) и минимально необходимой его концентрации в промывочной жидкости с целью ликвидации ее потерь при бурении скважин в зонах поглощений и реализации управляемой приствольной кольматации продуктивных пластов без загрязнения их фильтратом промывочной жидкости.

Принцип работы ПОЗС заключается в следующем. Камеру заполняют промывочной жидкостью, содержащей испытуемый наполнитель, и при постоянном напоре продавливают ее через модельный образец. Измеряют объем промывочной жидкости (V, см3), прошедшей через образец до момента его полного закупоривания. Испытания проводят не менее трех раз при различной концентрации испытуемого наполнителя в одной и той же исходной промывочной жидкости. По результатам испытаний находят зависимость С = f (V), наиболее адекватно описывающую связь между концентрацией наполнителя С и объемом бурового раствора V, прошедшего через модельный образец до момента его полного закупоривания. Затем, приняв в найденной зависимости V = 0, определяют минимально необходимую концентрацию наполнителя (Сmin) для полного закупоривания модельного образца без ухода из камеры (без поглощения) промывочной жидкости. Полученное значение Сmin является интегральным показателем закупоривающей способности системы “промывочная жидкость + наполнитель” для конкретной приемистости или проницаемости модельного образца, имитирующего поглощающий или продуктивный пласт.

Для моделирования поглощения в трещиноватых породах используют искусственные щели различной ширины, а гранулярные пласты различной проницаемости моделируют с помощью дроби, стеклянных и стальных шариков различного диаметра, частиц песка определенной фракции и т.п. По сравнению с прибором аналогичного назначения Американского нефтяного института данный прибор обеспечивает однозначный выбор наиболее эффективного закупоривающего материала (наполнителя) для ликвидации поглощений промывочной жидкости по минимально необходимой для этого концентрации наполнителя, способ определения которой защищен патентом № 2062452 Российской Федерации / 4 /.

Трибометр (рис13.) предназначен

для оценки триботехнических свойств промывочных жидкостей, характеризующих их способность снижать трение между контактирующими в скважине поверхностями и их износ.

В общем случае при бурении контактирующими в скважине поверхностями являются следующие: наружная поверхность бурильных труб и их соединений - стенка ствола скважины (внутренняя стенка обсадных труб), вооружение породоразрушающего инструмента - забой скважины, внутренняя поверхность керноприемной трубы - керн.

Основным показателем триботехнических свойств (смазочной способности) промывочных жидкостей служит коэффициент триады трения “бурильные трубы - исследуемая промывочная жидкость - стенка ствола скважины”.

Снижение коэффициента трения позволяет:

уменьшить крутящий момент при вращении колонны бурильных труб и снизить сопротивления при продольном их перемещении в скважине (при СПО), что в целом снижает энергоемкость процесса бурения;

снизить вероятность возникновения дифференциальных прихватов (затраты на их ликвидацию);

повысить ресурс работы бурильных труб и их соединений, породоразрушающего инструмента, гидравлических забойных двигателей, гидравлических частей буровых насосов;

увеличить выход керна в результате предупреждения его самоподклинок. Отличительными особенностями данного трибометра, защищенными патентом № 2044301 Российской Федерации, являются полная имитация работы бурового снаряда в скважине, использование для измерения силы трения простого и высокоточного измерительного устройства, предельно малые габариты.

СПИСОК ИСПОЛЬЗУЕМОЙ ЛИТЕРАТУРЫ

1. Белоусов В.П., Попов М.Ю. Термодинамика водных растворов неэлектролитов. - Л.: Химия, 1983.

. Булатов А.И., Габузов Г.Г. Гидромеханика углубления и цементирования скважин. - М.:, 1992. - 368 с.

. Вода в дисперсных системах /Б.В. Дерягин, Н.В. Чураев, Ф.Д. Овчаренко и др.- М.: Химия, 1989.

. Гидратная полимеризация и формы проявления ее в горном деле \ Шарафутдинов З.З., Чегодаев Ф.А., Мавлютов М.Р., Горный вестник, 1998, №4. С.50-57.

. Грей Дж. Р., Дарли Г. С. Г. Состав и свойства буровых агентов (промывочных жидкостей): пер. с англ. - М.: Недра, 1985 - 509 с.

. Дедусенко Г.Я., Иванников В.И., Липкес М.И. Буровые растворы с малым содержанием твердой фазы. - М.: Недра, 1985. - 230 с.

. Кистер Э.Г. Химическая обработка буровых растворов. - М.: Недра, 1972. - 392 с.

. Краснов К.С. Молекулы и химическая связь. - М.: Высшая шк., 1984. - 295 с.

. Маковей Н. Гидравлика бурения. - М., Недра, 1986. - 600 с..

. О природе синергетических эффектов в полимер-глинистых буровых растворах. / О.А. Лушпеева, В.Н. Кошелев, Л.П. Вахрушев, Е.В. Беленко и др.// Нефтяное хозяйство. - 2001. - №4. С. 22-24.

. Огибалов П.М., Мирзаджанзаде А.Х. Нестационарные движения вязко-пластичных сред. - М.: Изд-во МГУ, 1970 -415 с..

. Паус К.Ф. Буровые растворы. - М.: Недра, 1973 - 304 с..

. Уилкинсон У.Л. Неньютоновские жидкости. - М.: Мир, 1964, пер. с англ. -216 с..

. Фридрихсберг Д.А. Курс коллоидной химии. - Л.: Химия, 1984 - 368 с.

. Эйзенберг Д., Кауцман В. Структура и свойства воды. Л.: Гидрометеоиздат, 1975.

. Эрдеи-Груз Т. Явления переноса в водных растворах. М.: Мир, 1976, пер. с англ., - 595

Похожие работы на - Развитие медоносных пчёл.

 

Не нашли материал для своей работы?
Поможем написать уникальную работу
Без плагиата!
Без нейросетей!