Аргулез
Пермский
национальный исследовательский политехнический университет
Кафедра
бурения нефтяных и газовых скважин
Вариант
№10
Выполнил:
студент 1 курса группы БНГС-11-02
Чащухин И.С.
Проверил:
Ившин А. В.
Пермь 2012
Содержание
1 Циркуляционная система буровой
установки. Её элементы. Назначение и принцип действия. Оборудование для
дегазации бурового раствора. Сепаратор, дегазатор. Конструкция. Принцип работы
Промысловая подготовка нефти
Подготовка нефти к переработке
Графическая часть
Список литературы
1. Циркуляционная система буровой установки
Циркуляционная система буровой установки
представляет собой комплекс механизмов и оборудования, предназначенных для
сбора и очистки отработанного бурового раствора, приготовления новых его порций
и закачки очищенного раствора в скважину.
Она включает систему отвода использованного
раствора (желоба) от устья скважины, механические средства отделения частичек
породы (вибросито, гидроциклоны) ёмкости для химической обработки, накопления и
отстоя очищенного раствора, шламовый насос, блок приготовления свежего раствора
и буровые насосы для закачки бурового раствора по нагнетательному трубопроводу
в скважину.
Желоба могут быть деревянными из досок 40 мм и
металлическими из листового железа 3-4 мм. Ширина - 700-800 мм, высота -
400-500 мм. Применяют желоба прямоугольного профиля и полукруглые. С целью
уменьшения скорости течения раствора и выпадения из него шлама в желобах
устанавливают перегородки и перепады высотой 15-18 см. На дне желоба в этих
местах устанавливают люки с клапанами, через которые удаляют осевшую породу.
Общая длина желобной системы зависит от параметров применяемых растворов,
условий и технологии бурения, а также от механизмов, используемых для очистки и
дегазации растворов. Длина, как правило, может быть в пределах 20-50 м.
При использовании комплектов механизмов очистки
и дегазации раствора (вибросита, пескоотделители, илоотделители, дегазаторы,
центрифуги) желобная система применяется только для подачи раствора от скважины
к механизму и приёмным емкостям. В этом случае длина желобной системы зависит
только от расположения механизмов и емкостей по отношению к скважине.
В современной технологии бурения скважин
предъявляют особые требования к буровым растворам, согласно которым оборудование
по очистке раствора должно обеспечивать качественную чистку раствора от твёрдой
фазы, смешивать и охлаждать его, а также удалять из раствора газ, поступивший в
него из газонасыщенных пластов во время бурения. В связи с этими требованиями
современные буровые установки комплектуются циркуляционными системами с
определённым набором унифицированных механизмов - емкостей, устройств по
очистке и приготовления буровых растворов.
Механизмы циркуляционной системы обеспечивают
трёхступенчатую очистку бурового раствора. Из скважины раствор поступает на
вибросито в первую ступень грубой очистки и собирается в отстойнике ёмкости,
где осаждается грубодисперсный песок. Из отстойника раствор проходит в отсек
циркуляционной системы и подаётся центробежным шламовым насосом в дегазатор при
необходимости дегазации раствора, а затем - в пескоотделитель, где проходит
вторую ступень очистки от породы размером до 0,074-0,08 мм. После этого раствор
подаётся в илоотделитель - третью ступень очистки, где удаляются частицы породы
до 0,03 мм. Песок и ил сбрасываются в ёмкость, откуда подаётся в центрифугу для
дополнительного отделения раствора от породы. Очищенный раствор из третьей
ступени поступает в приёмные ёмкости - в приёмный блок буровых насосов для
подачи его в скважину.
Оборудование циркуляционных систем
скомплектовано заводом в следующие блоки:
блок очистки раствора;
промежуточный блок (один или два);
приёмный блок.
Комплекс ЦС включает следующее оборудование для
очистки промывочной жидкости - вибросито, пескоотделитель, илоотделитель,
центрифугу и дегазатор, которые имея различную степень очистки бурового
раствора позволяют подготовить шлам к утилизации.
В процессе бурения в большинстве случаев раствор
циркулирует по замкнутому контуру.
Циркуляционная система предназначена для:
приготовления бурового раствора заданной
плотности, состава и качества;
очистки бурового раствора от выбуренной породы;
хранения запаса бурового раствора;
дегазации бурового раствора (при необходимости);
химической обработки бурового раствора;
долива и подачи раствора в скважину;
удаления шлама.
Оборудование для дегазации бурового раствора
Дегазатор - устройство для дегазации буровых
растворов с целью восстановления их плотности. Различают вакуумные
(циклического или непрерывного действия), центробежно-вакуумные и атмосферные
дегазаторы буровые.
Вакуумный дегазатор буровой циклического
действия (например, ДВС-3) - автоматическая установка, состоящая из
двухкамерной герметичной ёмкости, вакуум в которой создаётся вакуум-насосом.
Камеры включаются в работу поочерёдно с помощью золотникового устройства.
Производительность по раствору достигает 25-60 л/с, мощность 30 кВт, давление в
камере 0,02 МПа.
Вакуумный дегазатор буровой непрерывного
действия представляет собой горизонтальную цилиндрическую ёмкость с помещёнными
в её верхней части наклонными пластинами. Аэрированный буровой раствор
поступает в камеру под действием вакуума, создаваемого вакуум-насосом, и
дегазируется, растекаясь тонким слоем по пластинам.
В некоторых модификациях дегазаторов буровых
создание вакуума и откачка дегазированного раствора производятся с помощью
эжектора. Производительность дегазаторов буровых до 40-60 л/с, давление в
камере 0,02-0,035 МПа, потребляемая мощность до 100 кВт.
Центробежно-вакуумный дегазатор буровой состоит
из цилиндрического вертикального корпуса, на стенки которого специальной
крыльчаткой разбрызгивается буровой раствор, поступающий в подводящий
трубопровод под действием вакуума. Производительность дегазаторов буровых 50,5
л/с, давление в камере 0,032 МПа, потребляемая мощность 15 кВт.
Атмосферный дегазатор буровой состоит из
цилиндрической вертикальной камеры, в центральной части которой буровой раствор
разбрызгивается радиально на стенки корпуса с помощью кольцевого пружинного
дросселя. Выделившийся в результате удара и распыления газ уходит в атмосферу
или отсасывается воздуходувкой низкого давления.
Производительность дегазаторов буровых 38 л/с,
давление в камере 0,087 МПа, потребляемая мощность 6,5 кВт. Дегазаторы буровые
этого типа недостаточно эффективны при обработке растворов с повышенными
структурно-механическими показателями
Блок сепаратора предназначен:
• для разделения на фазы газожидкостной
смеси бурового раствора с пластовым флюидом,
• направления потока газовой фазы на
рассеивание в атмосферу или на факельный стояк для сжигания,
• возврата бурового раствора в
циркуляционную систему буровой установки в процессе ликвидации
газонефтепроявления при строительстве глубоких скважин на нефть и газ.
. Промысловая подготовка нефти
Из нефтяных скважин в общем случае извлекается
сложная смесь, состоящая из нефти, попутного нефтяного газа, воды и мехпримесей
(песка, окалины и проч.). В таком виде транспортировать продукцию нефтяных
скважин по магистральным нефтепроводам нельзя. Во-первых, вода - это балласт,
перекачка которого не приносит прибыли. Во-вторых, при совместном течении
нефти, газа и воды имеют место значительно большие потери давления на
преодоление сил трения, чем при перекачке одной нефти. Кроме того, велико
со-противление, создаваемое газовыми шапками, защемленными в вершинах профиля и
скоплений воды в пониженных точках трассы. В-третьих, минерализованная
пластовая вода вызывает ускоренную коррозию трубопроводов и резервуаров, а
частицы мехпримесей - абразивный износ оборудования.
Целью промысловой подготовки нефти является ее
дегазация, обезвоживание, обессоливание и стабилизация.
Дегазация нефти осуществляется с целью отделения
газа от нефти. Аппарат, в котором это происходит называется сепаратором, а сам
процесс разделения - сепарацией.
Процесс сепарации осуществляется в несколько
этапов (ступеней). Чем больше ступеней сепарации, тем больше выход
дегазированной нефти из одного и того же количества пластовой жидкости. Однако
при этом увеличиваются капиталовложения в сепараторы. В связи с вышесказанным число
ступеней сепарации ограничивают двумя-тремя.
Сепараторы бывают вертикальные, горизонтальные и
гидроциклонные.
Вертикальный сепаратор представляет собой
вертикально установленный цилиндрический корпус с полусферическими днищами,
снабженный патрубками для ввода газожидкостной смеси и вывода жидкой и газовой
фаз, предохранительной и регулирующей арматурой, а также специальными
устройствами, обеспечивающими разделение жидкости и газа.
Вертикальный сепаратор работает следующим
образом (см. графическую часть).
Газонефтяная смесь под давлением поступает в
сепаратор по патрубку 1 в раздаточный коллектор 2 со щелевым выходом.
Регулятором давления 3 в сепараторе поддерживается определенное давление,
которое меньше начального давления газожидкостной смеси. За счет уменьшения
давления из смеси в сепараторе выделяется растворенный газ. Поскольку этот
процесс не является мгновенным, время пребывания смеси в сепараторе стремятся
увеличить за счет установки наклонных полок 6, по которым она стекает в нижнюю
часть аппарата. Выделяющийся газ поднимается вверх. Здесь он проходит через
жалюзийный каплеуловитель 4, служащий для отделения капель нефти, и далее
направляется в газопровод. Уловленная нефть по дренажной трубе 12 стекает вниз.
Контроль за уровнем нефти в нижней части
сепаратора осуществляется с помощью регулятора уровня 8 и уровнемерного стекла
11. Шлам (песок, окалина и т.п.) из аппарата удаляется по трубопроводу 9.
Достоинствами вертикальных сепараторов являются
относительная простота регулирования уровня жидкости, а также очистки от
отложений парафина и механических примесей. Они занимают относительно небольшую
площадь, что особенно важно в условиях морских промыслов, где промысловое
оборудование монтируется на платформах или эстакадах. Однако вертикальные
сепараторы имеют и существенные недостатки: меньшую производительность по
сравнению с горизонтальными при одном и том же диаметре аппарата; меньшую
эффективность сепарации.
Горизонтальный газонефтяной сепаратор (см.
графическую часть) состоит из технологической емкости 1, внутри которой
расположены две наклонные полки 2, пеногаситель 3, влагоотделитель 5 и
устройство 7 для предотвращения образования воронки при дренаже нефти.
Технологическая емкость снабжена патрубком 10 для ввода газонефтяной смеси,
штуцерами выхода газа 4 и нефти 6 и люк-лазом 8. Наклонные полки выполнены в
виде желобов с отбортовкой не менее 150 мм. В месте ввода газонефтяной смеси в
сепаратор смонтировано распределительное устройство 9.
Сепаратор работает следующим образом.
Газонефтяная смесь через патрубок 10 и распределительное устройство 9 поступает
на полки 2 и по ним стекает в нижнюю часть технологической емкости. Стекая по
наклонным полкам, нефть освобождается от пузырьков газа. Выделившийся из нефти
газ проходит пеногаситель 3, где разрушается пена, и влагоотделитель 5, где
очищается от капель нефти, и через штуцер выхода газа 4 отводится из аппарата.
Дегазированная нефть накапливается в нижней части технологической емкости и
отводится из аппарата через штуцер 6.
Для повышения эффективности процесса сепарации в
горизонтальных сепараторах используют гидроциклонные устройства.
Горизонтальный газонефтяной сепаратор
гидроциклонного типа (см. графическую часть) состоит из технологической емкости
1 и нескольких однотонных гидроциклонов 2. Конструктивно однотонный циклон
представляет собой вертикальный цилиндрический аппарат с тангенциальным вводом
газонефтяной смеси, внутри которого расположены направляющий патрубок 3 и
секция перетока 4. В одноточном гидроциклоне смесь совершает одновременно вращательное
движение вокруг направляющего патрубка и нисходящее движение, образуя
нисходящий вихрь. Нефть под действием центробежной силы прижимается к стенке
циклона, а выделившийся и очищенный от капель жидкости газ движется в центре
его. В секции перетока нефть и газ меняют направление движения с вертикального
на горизонтальное и поступают раздельно в технологическую емкость. Далее
газовый поток проходит каплеотбойник 5, распределительные решетки 6 и выходит
из сепаратора. Нефть по наклонным полкам 7 стекает в нижнюю часть емкости. Ее
уровень поддерживается с помощью регулятора 8.
Обезвоживание
При извлечении из пласта, движении по
насосно-компрессорным трубам в стволе скважины, а также по промысловым
трубопроводам смеси нефти и воды, образуется водонефтяная эмульсия -
механическая смесь нерастворимых друг в друге и находящихся в мелкодисперсном
состоянии жидкостей.
В эмульсиях принято различать дисперсионную
(внешнюю, сплошную) среду и дисперсную (внутреннюю, разобщенную) фазу. По
характеру дисперсионной среды и дисперсной фазы различают два типа эмульсий:
«нефть в воде» и «вода в нефти». Тип образующейся эмульсии, в основном, зависит
от соотношения объемов фаз, а также от температуры, поверхностного натяжения на
границе «нефть-вода» и др.
Одной из важнейших характеристик эмульсий
является диаметр капель дисперсной фазы, так как от него зависит скорость их
осаждения.
Для разрушения эмульсий применяются следующие
методы:
гравитационное холодное разделение;
внутритрубная деэмульсация;
термохимическое воздействие;
электрическое воздействие;
фильтрация;
разделение в поле центробежных сил.
Гравитационное холодное разделение применяется
при высоком содержании воды в пластовой жидкости. Отстаивание производится в
отстойниках периодического и непрерывного действия.
В качестве отстойников периодического действия
обычно используются сырьевые резервуары, аналогичные резервуарам для хранения
нефти. После заполнения таких резервуаров сырой нефтью вода осаждается в их
нижнюю часть.
В отстойниках непрерывного действия отделение
воды осуществляется при непрерывном прохождении обрабатываемой смеси через
отстойник.
Длина отстойника определяется из условия, что от
нефти должны отделиться капли заданного размера.
Сущность метода внутритрубной деэмульсации
заключается в том, что в смесь нефти и воды добавляется специальное вещество
-деэмульгатор в количестве 15...20 г на тонну эмульсии. Деэмульгатор разрушает
бронирующую оболочку на поверхности капель воды и обеспечивает тем самым
условия для их слияния при столкновениях. В последующем эти укрупнившиеся
капельки относительно легко отделяются в отстойниках за счет разности
плотностей фаз.
Термическое воздействие заключается в том, что
нефть, подвергаемую обезвоживанию, перед отстаиванием нагревают. При нагревании,
с одной стороны, уменьшается прочность бронирующих оболочек на поверхности
капель, а, значит, облегчается их слияние, с другой стороны, уменьшается
вязкость нефти, в которой оседают капли, а это увеличивает скорость разделения
эмульсии.
Нагревают эмульсию в резервуарах,
теплообменниках и трубчатых печах до температуры 45...80 °С.
Термохимический метод заключается в сочетании
термического воздействия и внутритрубной деэмульсации.
Электрическое воздействие на эмульсии
производится в аппаратах, которые называются электродегидраторами. Под
действием электрического поля на противоположных концах капель воды появляются
разноименные электрические заряды. В результате капельки притягиваются друг к
другу и сливаются. Затем они оседают на дно емкости.
Фильтрация применяется для разрушения нестойких
эмульсий. В качестве материала фильтров используются вещества, не смачиваемые
водой, но смачиваемые нефтью. Поэтому нефть проникает через фильтр, вода нет.
Разделение в поле центробежных сил производится
в центрифугах, которые представляют собой вращающийся с большим числом оборотов
ротор. В ротор по полому валу подается эмульсия. Здесь она под действием сил
инерции разделяется, так как капли воды и нефти имеют различные плотности.
При обезвоживании содержание воды в нефти
доводится до 1…2%.
Обессоливание
Обессоливание нефти осуществляется смешением
обезвоженной нефти с пресной водой, после чего полученную искусственную
эмульсию вновь обезвоживают. Такая последовательность технологических операций
объясняется тем, что даже в обезвоженной нефти остается некоторое количество
воды, в которой и растворены соли. При смешении с пресной водой соли
распределяются по всему ее объему и, следовательно, их средняя концентрация в
воде уменьшается.
При обессоливании содержание солей в нефти
доводится до величины менее 0,1 %.
Стабилизация
Под процессом стабилизации нефти понимается
отделение от нее легких (пропан-бутанов и частично бензиновых) фракций с целью
уменьшения потерь нефти при ее дальнейшей транспортировке.
Стабилизация нефти осуществляется методом
горячей сепарации или методом ректификации. При горячей сепарации нефть сначала
нагревают до температуры 40...80 °С, а затем подают в сепаратор. Выделяющиеся
при этом легкие углеводороды отсасываются компрессором и направляются в холодильную
установку. Здесь тяжелые углеводороды конденсируются, а легкие собираются и
закачиваются в газопровод.
При ректификации нефть подвергается нагреву в
специальной стабилизационной колонне под давлением и при повышенных
температурах (до 240 °С). Отделенные в стабилизационной колонне легкие фракции
конденсируют и перекачивают на газофракционирующие установки или на ГПЗ для
дальнейшей переработки.
К степени стабилизации товарной нефти
предъявляются жесткие требования: давление упругости ее паров при 38 °С не
должно превышать 0,066 МПа (500 мм рт. ст.).
3. Подготовка нефти к переработке
С момента поступления на нефтеперерабатывающий
завод нефть и получаемые из нее нефтепродукты проходят следующие основные
этапы:
. Подготовка нефти к переработке
. Первичная переработка нефти
. Вторичная переработка нефти
. Очистка нефтепродуктов
Для обеспечения высоких показателей работы
установок по переработке нефти в них необходимо подавать нефть с содержанием
солей не более 6 г/л и воды 0,2 %. Поэтому нефть, поступающую на
нефтеперерабатывающий завод (НПЗ), подвергают дополнительному обезвоживанию и
обессоливанию.
Эта доочистка осуществляется на
электрообессоливающих установках ЭЛОУ (см. графическую часть). Нефть двумя
потоками с помощью насосов 1 прокачивается через подогреватели 2, где
нагревается отработавшим паром. После этого в нее добавляется деэмульгатор и
нефть поступает в отстойники 3, где от нее отделяется вода. Для вымывания солей
в нефть добавляют щелочную воду. Основное ее количество затем отделяют в электродегидраторе
первой ступени. Окончательное обезвоживание нефти осуществляется в
электродегидраторе второй ступени.
4. Графическая часть
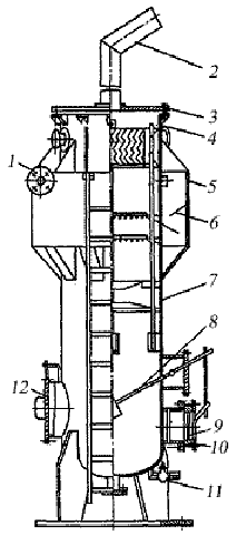
Рис. 1. Циркуляционная система бурового
раствора:
- устье скважины; 2 - желоб; 3 - вибросито; 4 -
гидроциклон; 5 - блок приготовления бурового раствора; 6 - ёмкость; 7 -
шламовый насос; 8 - приёмная ёмкость; 9 - буровой насос; 10 - нагнетательный
трубопровод
Рис. 2. Схема сепаратора бурового раствора СРБ-1
- корпус; 2 - патрубок для ввода смеси; 3 -
труба несущая; 4 - камера первичной сепарации; 5 - патрубок газовый; 6 -
патрубок для рассеивания газа; 7 - люк верхний; 8 - люк нижний; 9 - патрубок
слива рабочей жидкости - гидроэатвор; 10 - патрубок для слива остаточной
жидкости; 11 - манометр.
Рис. 3. Сепаратор П12.10
- патрубок для ввода газожидкостной смеси; 2 -
патрубок для сброса газа; 3 - крышка; 4 - блок решеток; 5 - обечайка; б -
тарелка; 7 -корпус; 8 - поплавок; 9 - затвор шиберный; 10 - фланец; 11 -
запорный кран; 12 - люк нижний.
Рис. 4.Вертикальный сепаратор:
А - основная сепарационная секция; Б
-осадительная секция; В - секция сбора нефти; Г- секция каплеудаления; 1 -
патрубок ввода газожидкостной смеси; 2 - раздаточный коллектор со щелевым выходом;
3 - регулятор давления «до себя» на линии отвода газа; 4 - жалюзийный
каплеуловитель; 5 -- предохранительный клапан; 6 -наклонные полки; 7 -
поплавок; 8 -регулятор уровня на линии отвода нефти; 9 - линия сброса шлама; 10
-перегородки; 11 - уровнемерное стекло; 12 - дренажная труба
Рис. 5. Горизонтальный газонефтяной сепаратор:
- технологическая емкость; 2 - наклонные желоба;
- пеногаситель; 4 -выход газа; 5 -
влагоотделитель;
- выход нефти; 7 - устройство для предотвращения
образования воронки; 8 - люк-лаз;
- распределительное устройство;
- ввод продукции

Рис. 6
буровая
установка сепаратор дегазатор нефть
Рис.7
Список литературы
. А.А. Коршак, А. М. Шаммазов Основы
нефтегазового дела\Уфа.: ООО «ДизайнПолиграфСервис», 2001 - 544.: ил.
. Ю. М. Басарыгин Технология бурения
нефтяных и газовых скважин\М.: ООО «Недра-Бизнесцентр», 2001. - 679с.: ил.