Взаимосвязь некоторых признаков у кормовых бобов
Федеральное агентство по образованию
Российской федерации
ФГОУ СПО "Пермский нефтяной
колледж"
КУРСОВАЯ РАБОТА
Анализ добывных возможностей скважин,
Озерного месторождения,
оборудованных УЭЦН
Разработал: М.С. Ширякин
СОДЕРЖАНИЕ
Введение
1. Геологическая
часть
1.1 Общие
сведения о месторождении
1.2 Литолого-стратиграфическая
характеристика
.3 Тектоника
.4 Нефтегазоносность
.5 Физико-химические
свойства флюидов и коллекторов
.6
Типовая конструкция скважин
2. Техническая
часть
.1 Современное
состояние разработки
2.2 Используемое
оборудование
.3 Анализ
добывных возможностей скважин
2.3.1 Определение
коэффициента продуктивности
2.3.2 Определение
минимально допустимого забойного давления
.3.3 Определение
максимального допустимого дебита скважины
.3.4 Определение
разницы между оптимальным и фактическим дебитами
2.3.5 Таблица
расчетных данных по анализу добывных возможностей
.4 Анализ
технологических режимов работы скважин
.4.1 Определение
газового фактора на приеме насоса
2.4.2 Определение
приведенного пластового давления по кривой разгазирования
.4.3 Определение
оптимального допустимого погружения насоса под динамический уровень жидкости
.4.4 Определение
фактического погружения насоса под динамический уровень жидкости
.4.5 Определение
разницы между оптимальным и фактическим погружением насоса под динамический
уровень
.4.6 Определение
коэффициента подачи насоса
.4.7 Сводная
таблица расчетных данных
2.5 Выбор
оборудования
.5.1.
Определение необходимого напора ЭЦН
Выводы и
рекомендации
3. Организационная
часть
.1 Охрана
окружающей среды
3.2 Охрана
недр
.3 Охрана
труда
.4 Противопожарные
мероприятия
Заключение
Список
литературы
ВВЕДЕНИЕ
Разработка данного курсового проекта в основном направлена на то, чтобы
студент научился разбираться в технологических режимах работы скважин, научился
выбирать и создавать их.
Выпускаясь из учебного заведения студент должен быть хорошо
подготовленным специалистом, который сможет разрабатывать месторождения так,
что коэффициент извлечения нефти будет максимальным, а затраты при этом
минимальны. Главное добыть много ни как можно быстрее, загубив при этом
месторождение за 5-10 лет, а как можно больше из того, что есть в недрах. Пусть
это будет не очень быстро, главное рационально.
Данный курсовой проект является творческой практической работой. Его
целью является сравнительный анализ фактического материала путем перерасчета
его на теоретический. В нем студент всё рассчитывает самостоятельно,
обдумывает, принимает решения, делает выводы и дает рекомендации.
Я взял для изучения Озерное месторождение, на котором я проходил свою
первую производственную практику, благодаря которой я многому научился.
1. ГЕОЛОГИЧЕСКАЯ ЧАСТЬ
.1 Общие сведения о месторождении
В административном отношении Озерное месторождение расположено на севере
Пермской области на юго-западной окраине Красновишерского района. От районного
центра г. Красновишерска оно удалено в южном направлении на 30 км, от
областного центра г. Перми - 470 км на север.
Площадь месторождения расположена в удалении от населенных пунктов.
Главными транспортными артериями района являются шоссейная автодорога Пермь -
Кунгур - Березняки - Соликамск - Красновишерск, электрофицированная железная
дорога Пермь-Соликамск, реки Кама и Вишера.
В орографическом отношении район работ расположен в междуречье р. Язьвы и
Вишеры и представляет собой полого всхолмленную равнину с заметным понижением
рельефа в западном направлении от 260 до 130 м. В пределах площади сильно
развита речная сеть. С севера и запада район ограничивает р. Вишера, которая
участками сильно меандрирует, образуя множество озер-стариц. Наиболее крупными
озерами являются - Сосновское, Кабаниха, Губдорское (Рис. 1.1). Непосредственно
в центре месторождения находится озеро Нюхти, признанное гидрогеологическим
памятником природы. На западе пойма р. Вишеры сильно заболочена.
Северо-восточнее площади месторождения протекает р. Язьва - левый приток
Вишеры. Восток - северо-восток площади окаймляет р. Глухая Вильва, река Колынва
- с юга, запада и востока. Площадь месторождения сильно заболочена (до 50%). В
междуречьи рек Глухая Вильва и Колынва расположено болото «Дорыш» глубиной
более 2 м.
Значительная часть территории покрыта лесом смешанного типа,
преимущественно хвойного.
Климат района континентальный с холодной продолжительной зимой, теплым,
сравнительно коротким летом. Средняя годовая температура воздуха -0,2єС. Самым
холодным месяцем в году является январь со средней температурой воздуха
-17,2єС, самым теплым - июль +16,8єС. Абсолютный минимум температур воздуха
-53єС, абсолютный максимум +36єС. Продолжительность безморозного периода в
среднем составляет 84 дня.
Годовая сумма осадков достигает 852 мм. Максимальное количество осадков
за месяц наблюдается в ноябре - 88 мм, минимальное - в феврале 49мм.
Максимальная высота снежного покрова на открытом участке составляет 103
см, минимальная - 64 см. Преобладающим направлением ветра в течение года
является южное.
Слабо развитая дорожная сеть, большое количество мелких речек, отсутствие
переправ через основные реки, значительная залесенность и заболоченность
местности позволяют отнести данное месторождение к месторождениям с трудными
природно-климатическими условиями.
Электроэнергией район работ не обеспечен. Населенных пунктов в районе
работ нет.
Ближайший нефтепровод Геж-Каменный Лог находится в 42 км от площади
месторождения.
Месторождение расположено в перспективном нефтегазодобывающем районе.
Соседними открытыми месторождениями являются Гежское, Кисловское, Цепелское,
Гагаринское, Мысьинское, Маговское и др.
На Озерном месторождении не обнаружено месторождений твердых полезных
ископаемых, находящихся на государственном учете. В 1,5-2,5 км западнее и
юго-западнее Озерного месторождения проходит северная граница распространения
калийных солей Верхнекамского калийного месторождения.
1.2
Литолого-стратиграфическая характеристика
Геолого-стратиграфический разрез Озерного месторождения изучен по
материалам структурных, поисковых и разведочных скважин. Наиболее полный
разрез, от четвертичных до вендских отложений, вскрыт скважине №38 (2325 м) и
является типичным для Соликамской впадины. Нефтеносность в стратиграфическом
отношении приурочена к отложениям сакмарского (пласт См), башкирского (пласты
Бш1, Бш2, Бш3), фаменского (пласт Фм) ярусов и
окского надгоризонта (пласт Ок).
Пермская система (Р)
Представлена верхним и нижним отделом. Нижний отдел охарактеризован
отложениями кунгурского, артинского, сакмарского и ассельского ярусов. Мощность
отложений соленосной, глинисто-ангидритовой и глинисто-карбонатной толщ
кунгурского яруса (P1k) колеблется от 458 до 570 м.
Артинский ярус (P1ar) подразделяется на две толщи: терригенную
и карбонатную. Толщина терригенной пачки в межрифовой фации колеблется от 180
до 250 м и на вершине рифа - от 100 до 150 м. Представлена известковистыми
аргиллитами плотными, крепкими с прослоями алевролитов известковистых плотных.
Карбонатная пачка сложена известняками органогенными, плотными. Рифовая фация
развита в вершинной части поднятия. На склонах к краям рифа известняки
обогащаются глинистым материалом, появляется слоистость, общее количество фауны
убывает. Толщина карбонатной пачки колеблется от 58 м в межрифовых разрезах
(скважин №№49, 36) до 189 м в вершинной части поднятия (скважин №№43, 42, 38).
Самарский (P1s) и ассельский ярусы (P1a)
представлены известняками, прослоями доломитизированными, органогенными,
перекристаллизованными, мелкокавернозными, пористыми и доломитами участками
окремнелыми, плотными.
Проницаемые пласты в кровле сакмарских отложений нефтенасыщены (скважины
№№46, 48, 47). Общая толщина сакмарско-ассельских отложений колеблется от 191
до 261 м.
Каменноугольная система (С)
Представлена тремя отделами. Верхнекаменноугольные (C3)
отложения сложены доломитами и известняками толщиной от 71 (скважина №38) до
80-110 м (скважина №49).
Средний отдел каменноугольной системы включает московский и башкирский
ярусы. Московский ярус (C2m) в составе мячковского, подольского,
каширского и верейского горизонтов представлен известняками плотными крепкими,
слабо доломитизированными с прослоями доломитов и аргиллитов. Толщина отложений
московского яруса колеблется от 195 до 218 м.
Башкирский ярус (C2b) представлен известняками с прослоями
доломитов. Известняки органогенно-обломочные, от скрыто до крупнозернистых,
участками плотные, пористые, со стилолитовыми швами и сутурными линиями.
Доломиты скрыто- и мелкокристаллические, плотные, крепкие, с включениями
кремня, кавернозные. К отложениям башкирского яруса приурочена промышленная
нефтеносность. Толщина отложений 63-90 м.
Нижний отдел каменноугольной системы включает отложения серпуховского,
визейского и турнейского ярусов. Серпуховский ярус (C1s)
характеризуется широким развитием кавернозности отложений. Представлен
известняками и доломитами среднезернистыми с крупными кавернами. Мощность
отложений 110-128 м.
Карбонатные отложения окского (C1ok) и тульского (C1tl) возраста представлены известняками и доломитами. Известняки
от мелко- до крупнозернистых, плотные, крепкие, с включениями глубокого
ангидрита, со стилолитовыми швами и трещинами, выполненными глинистым материалом.
Доломиты и доломитизированные известняки окремнелые, с гнездами
крупнокристаллического кальцита. В верхней части окского надгоризонта
установлена промышленная нефтеносность. Толщина отложений окского надгоризонта
составляет 123-151 м, карбонатной пачки тульского горизонта - 12-17 м.
Терригенные отложения тульского горизонта представлены песчаниками,
алевролитами и аргиллитами Тульские терригенные отложения залегают на размытой
поверхности турнейского (впадинные и склоновые разрезы) и фаменского (рифовые
разрезы) ярусов. Толщина отложений терригенной толщи 11-42 м.
Турнейские отложения (C1t) в пределах рифогенного массива
отсутствуют. В разрезах впадинного типа отложения турнейского возраста
представлены карбонатными и терригенно-карбонатными комплексами пород
заволжского, малевско-упинского, черепетского и кизеловского возраста. Толщина
отложений турнейского возраста 159-166 м.
Девонская система (D)
Представлена фаменским, франским и живетским ярусами.
Разрез фаменского яруса (D3fm) представлен двумя типами:
рифовым и межрифовым (впадинным). Разрезы рифового типа прослежены во всех
скважинах в пределах массива. Представлены известняками и доломитами без
ощутимых глинистых примесей. Известняки светло- и темно-серые, с остаточной
фауной брахиопод и криноидей, прослоями кавернозные со следами выщелачивания.
Доломиты светло-серые до белого, скрытокристаллические, плотные, иногда
кавернозные. К карбонатным породам рифовой фации приурочена промышленная
нефтеносность. Толщина отложений фаменского возраста колеблется в пределах
126-163 м.
Впадинный тип разрезов представлен известняками серыми и темно-серыми,
участками доломитизированными, глинистыми, чередующимися с пачками
переслаивания битуминозных известняков, реже сланцев. Толщина отложений
впадинного типа разреза фаменского яруса составляет 105 м (скважина №49).
Верхнефранский подъярус (D3f2) - нерасчлененная
толща (ливенский, евлановский, воронежский, бурегский горизонты). Для рифового
типа разреза характерны известняки плотные, крепкие, скрытокристаллические,
массивные, прослоями кавернозные, с вертикальными трещинами, выполненными
кальцитом, с фауной брахиопод и доломиты крепкие, массивные, известковистые.
Толщина верхнефранских отложений в рифовой фации составляет 271-290 м.
Верхнефранская толща в межрифовых разрезах (скважин №№49) представлена
известняками в различной степени окремнелыми, битуминозными, с тонкими
прослоями сланцев битуминозно-известковистых. Толщина составляет около 48 м.
Нижнефранский подъярус (D3f1) включает отложения
кыновского горизонта, представленные известняками, и терригенную толщу
кыновско-живетского возраста, залегающую на размытой поверхности вендского
комплекса
Вендский комплекс (V) представлен переслаиванием аргиллитов, алевролитов
и песчаников. Вскрытая толща в скважине №49 составляет 18 м.
.3 Тектоника
Озерное месторождение в тектоническом отношении приурочено к одноименной
структуре III порядка, расположенной в северной части Соликамской депрессии
Тектоническое строение Соликамской впадины изучено по данным аэрометрии,
сейсморазведки, структурного и глубокого бурения.
Вся территория Соликамской впадины расположена в области распространения
единого крупного Камско-Кинельского прогиба с широким развитием рифовых
построек позднедевонского возраста, местоположение которых контролируется
различными тектоническими блоками. Озерная структура является таким рифогенным
массивом. Поверхность кристаллического фундамента по данным сейсморазведочных
работ картируется в виде моноклинального склона на северо-восток. Глубина
залегания фундамента около 6 км.
Поверхность отложений вендского комплекса (скважин №№35, 38, 49)
представлена упрощенной моноклиналью с падением слоев с запада на восток от
абсолютных отметок -2092 м до -2134 м. Угол наклона слоев составляет 0є30'.
По кровле терригенных отложений кыновского горизонта (III отражающий
горизонт) Озерная структура находится в пределах структурного мыса,
открывающегося на северо-запад (стратоизогипса -2100 м).
В строении верхнедевонского карбонатного комплекса Озерная структура
представляет собой рифогенное сооружение, осложненное двумя вершинами. Высота
рифа, начавшего рост в бурегское время, 460 м.
По II отражающему горизонту (кровля терригенных отложений тульского
горизонта) Озерная структура представляет собой купол неправильной формы
размерами 5,7х6,0 км по замкнутой стратоизогипсе -1650 м. Амплитуда западной
вершины 135 м, восточной -105 м. Углы наклона северо-восточного крыла более 4є,
юго-восточного 3є22'.
Структурный план башкирского яруса изучен по данным глубокого бурения.
Все структурные построения проведены с учетом информативного нижележащего
структурного плана по кровле тульских терригенных отложений. Размеры структуры
по изогипсе -1270 м составляют 5,75х4,9 км, амплитуда 45 м. Углы наклона:
восточного крыла 2є40', западного 2є55'.
По горизонту АТ (поверхность артинских терригенных отложений)
структура представляет собой куполовидную складку размерами 3,5х3,0 км по
замкнутой изогипсе -480 м. Амплитуда поднятия 24 м. Углы наклона: восточного
крыла 1є27', западного - 1є47'.
Строение нижнепермского комплекса осложнено рифогенным сооружением
артинского возраста. Максимальная высота рифа отмечена в районе скважин №№38,
42, 43 и составляет 170 м. Склон рифа, представленный переслаиванием слоистых
карбонатных пород с рифогенными разностями, прослеживается в разрезах скважин
№№46 и 48. В это же время, в верхнедевонском структурном этаже наблюдается в
районе этих скважин наиболее высокая вершина рифа.
Таким образом, в тектоническом отношении Озерная структура представляет
собой купол тектоно-седиментационного происхождения и характеризуется
несоответствием структурных планов по маркирующим горизонтам терригенного
девона, каменноугольных отложений и артинского яруса, вследствие развития
последевонского и раннепермского органогенных сооружений.
.4 Нефтегазоносность
В разрезе Озерного месторождения выделяются следующие нефтегазоносные
комплексы (НГК):
·
нижнепермский
карбонатный НГК;
·
среднекаменноугольный
карбонатный НГК;
·
нижне-средневизейский
терригенный НГК;
·
верхнедевонско-турнейский
карбонатный НГК;
·
кыновско-эйфельский
терригенный НГК.
Нижнепермский карбонатный НГК
На Гежском, Кисловском, Гагаринском, Маговском, Мысьинском месторождениях
нефтепроявления приурочены к филипповским, сакмарским, ассельским и артинским
отложениям. На Озерном месторождении нефтепроявления в артинских отложениях
отмечены в скважинах №№48, 49, 50, 51. Промышленная нефтеносность установлена в
сакмарском пласте (См).
Среднекаменноугольный карбонатный НГК
Нефтепроявления отмечены в отложениях каширского и верейского горизонтов,
башкирского и серпуховского ярусов, окского надгоризонта. В отложениях
каширского горизонта слабые нефтепроявления отмечены только на Гежском
месторождении, в верейских - практически на всех месторождениях Соликамской
депрессии. На Озерном месторождении промышленное значение имеют отложения
башкирского яруса (пласты Бш1, Бш2, Бш3) и
окского надгоризонта (пласт Ок).
Нижне-средневизейский терригенный НГК
В северной части Соликамской впадины в пределах комплекса выделяется
тульский пласт. Нефтепроявления отмечены на Мысьинском, Гагаринском
месторождениях, на Кисловском и Федорцевском - получены промышленные притоки.
На Озерном месторождении тульский пласт представлен заглинизированными
уплотненными песчаниками и алевролитами. По результатам исследований керна
(скважин №№48, 50, 51), испытаний в открытом стволе (скважин №№35, 46) и
перфорации (скважина №36) были отмечены нефтепроявления и незначительные
притоки нефти, не имеющие промышленного значения.
Верхнедевонско-турнейский карбонатный НГК
В пределах комплекса нефтепроявления в турнейско-фаменских отложениях
отмечены практически на всех месторождениях Соликамской впадины. Залежи нефти с
промышленными запасами выявлены на Гежском, Гагаринском, Маговском, Мысьинском,
Чашкинском, Юрчукском, Уньвинском месторождениях. В верхне и среднефранских
отложениях редкие нефтепроявления встречены на Кисловском, Чашкинском, Озерном
(скважины №№36, 44, 38, 51) месторождениях.
Кыновско-эйфельский терригенный НГК
Нефтепроявления по кыновскому и пашийскому пластам отмечены на
Кисловском, Гагаринском, Пихтовском и Бельском месторождениях. На Озерном
месторождении нефтепроявления встречены в одной скважине 49. Отложения
кыновского горизонта испытаны совместно с семилукскими и саргаевскими
известняками в открытом стволе в двух скважинах (приток фильтрата, бурового
раствора и пластовой воды). Это подтверждает низкую перспективность
нефтегазоносности девонских терригенных отложений на изучаемой территории.
В результате, на месторождении установлена нефтеносность в карбонатных
отложениях сакмарского (пласт См), башкирского (пласты Бш1, Бш2,
Бш3), фаменского (пласт Фм) ярусов и окского надгоризонта (пласт
Ок). Строение залежей схематично отображено на геологических профильных
разрезах средне- и нижнекаменноугольных продуктивных отложений I-I по линии скважин №№49, 50, 47, 48, 46, 43, 42, 38, 36 и
турней-фаменских отложений II-II по линии скважин №№49, 50, 47, 46,
42, 38, 36
Общая характеристика залежей приведена в таблице 1.
Таблица 1
Характеристика залежей
|
Пласт
|
Абсолютная отметка залегания пласта в своде, м
|
Абсолютная отметка
|
Размеры залежи по ВНК
|
Площадь водонефтяной зоны, % от общей
|
Тип залежи
|
|
|
ВНК, м
|
Длина, км
|
Ширина, км
|
Высота, м
|
|
|
|
См
|
-726,9
|
-736
|
1,5
|
1,2
|
9,1
|
100
|
Пластовая, сводовая, водонефтяная
|
|
Бш1
|
-1239,6
|
-1279
|
4,7
|
3,3
|
39,4
|
16,6
|
Пластовая, сводовая
|
|
Бш2
|
-1251,5
|
-1282
|
4,3
|
3,0
|
30,5
|
81,4
|
Пластовая, сводовая
|
|
Бш3
|
-1273,6
|
-1285
|
0,6
|
1,25
|
11,4
|
100
|
Пластовая, сводовая, водонефтяная
|
|
Ок
|
-1432,5
|
-1475
|
3,5
|
2,6
|
42,5
|
83,5
|
Пластовая, сводовая
|
|
Фм
|
-1578,4
|
-1699
|
5,4
|
5,0
|
120,6
|
100
|
Массивная
|
Пласт См
В кровле сакмарского яруса выделяется сакмарский пласт, сложенный
известняками детритово-мшанковыми, детритово-сгустковыми. Залежь является
пластовой, сводовой, водонефтяной, размерами 1,2х1,5 км. Общая толщина пласта
изменяется от 13 до 30 м, в его составе выделяются 2-11 проницаемых прослоев
толщиной 0,6-6,8 м. Расчлененность пласта высокая и в среднем составляет 5,5.
Границы нефтеносности приняты условно на отметке -736 м, по данным испытания
скважины №48, из которой получена чистая нефть при соответствующей отметке
нижних дыр перфорации. Эффективная нефтенасыщенная толщина, вскрытая скважина
№47 в сводовой части, составляет 6,8 м, в скважине №46 ее значение равно 3,2 м.
Башкирский ярус
Отложения башкирского яруса на Озерном месторождении представлены
типичными для морских фаций породами и сложены плотными и проницаемыми
известняками, реже доломитами. В проницаемой части башкирского яруса на
основании сводно-стратиграфического разреза и схемы корреляции выделяются три
продуктивных пласта Бш1, Бш2 и Бш3
Пласт Бш1
Общая толщина пласта изменяется от 4,4 до 9,5 м. В его составе выделяются
1-4 проницаемых пропластка толщиной 0,4-2,6 м. Эффективная нефтенасыщенная
толщина в пробуренных скважинах колеблется в пределах 1,6-4,8 м. Наибольшие ее
значения отмечены в западной части залежи (скважин №№47 и 44), среднее значение
составляет 2,8 м. Залежь имеет пластовый, сводовый характер. Водонефтяной
контакт установлен по данным опробования скважин и ГИС на отметке -1279 м.
Пласт Бш2
Между пластами Бш1и Бш2 находится непроницаемый
карбонатно-глинистый раздел толщиной 1,5-3,5 м. Общая толщина пласта изменяется
в пределах 16,4-33,6 м. По ГИС в пласте выделяется 6-11 проницаемых прослоев
толщиной 0,4-4,0 м. Пласт характеризуется коэффициентом расчлененности 8,2 и
коэффициентом песчанистости 0,34. Эффективная нефтенасыщенная толщина в
пробуренных скважинах колеблется от 0,6 (скважине №42 - восточная часть
структуры) до 10,7 м (скважина №47 - западная часть). В среднем в пределах
площади нефтеносности ее значение равно 4,4 м. Залежь пластовая сводовая.
Водонефтяной контакт установлен на отметке -1282 м.
Пласт Бш3
Отделяется от вышележащего пласта плотными карбонатными породами толщиной
1,5-5 м. По данным ГИС в пласте выделяется 3-12 проницаемых пропластков
толщиной 0,4-5,6 м. Содержит небольшую пластовую, сводовую залежь в районе
скважины №47. Выделено 4 нефтенасыщенных пропластка суммарной толщиной 4,4 м,
среднее значение по пласту 1,9 м. Коэффициент расчлененности пласта равен 6,1,
песчанистости - 0,35. Водонефтяной контакт (отметка -1285 м) принят на
основании испытания скважины №47 в колонне.
Пласт ФмРифовый массив фаменского яруса сложен известняками и доломитами.
Коллекторы фаменского пласта имеет сложное строение. Наряду с основным поровым
типом присутствует порово-каверновый, возможно порово-трещинный тип коллектора.
Общая толщина отложений фаменского возраста изменяется в пределах 126-163 м.
Толщина эффективной нефтенасыщенной части варьирует от 0,6 (скважине №35) до
28,2 м (скважине №40), составляя в среднем 11,7 м. В целом пласт
характеризуется высокой неоднородностью с низким коэффициентом отношения
эффективной нефтенасыщенной толщины к общей 0,155 и высоким коэффициентом
расчлененности - 15. Пласт Фм содержит массивную залежь. ВНК принят на отметке
-1699 м, что подтверждается результатами опробования скважин и ГИС.
Характеристики толщин продуктивных пластов и неоднородности приведены в
таблицах 1.1 и 1.2
Таблица 1.1
Характеристика толщин продуктивных пластов
|
Толщина
|
Наименование
|
По пласту в целом
|
|
|
См
|
Бш1
|
Бш2
|
Бш3
|
Ок
|
Фм
|
|
Общая
|
Средняя, м
|
23,0
|
7,6
|
28,2
|
9,1
|
28,0
|
153,0
|
|
Коэн. вариации, д.ед.
|
0,56
|
0,64
|
0,72
|
0,68
|
0,70
|
0,54
|
|
Интервал изменения, м
|
13-30
|
4,4-9,5
|
16,4-33,6
|
5,8-14,2
|
24,9-34,0
|
126-163
|
|
Газона-
|
Средняя, м
|
|
|
|
|
|
|
|
насыщенная
|
Коэн. вариации, д.ед.
|
|
|
|
|
|
|
|
Интервал изменения, м
|
|
|
|
|
|
|
|
Эффективная
|
Средняя, м
|
2,3
|
2,8
|
4,4
|
1,9
|
7,6
|
11,7
|
|
нефтенасы-
|
Коэн. вариации, д.ед.
|
0,68
|
0,74
|
0,65
|
0,58
|
0,54
|
0,66
|
|
щенная
|
Интервал изменения, м
|
3,2-6,8
|
1,6-4,8
|
0,6-10,7
|
0-4,4
|
2,8-10,2
|
0,6-28,2
|
Таблица 1.2
Статистические показатели характеристик неоднородности пластов
|
Пласт
|
Кол-во скв.,
|
Коэффициент песчанистости, д.ед.
|
Коэффициент расчлененности, д.ед.
|
|
использованных для определения
|
Среднее значение
|
Коэффициент вариации
|
Среднее значение
|
Коэффициент вариации
|
|
См
|
3
|
0,33
|
|
5,5
|
|
|
Бш1
|
11
|
0,38
|
|
2,6
|
|
|
Бш2
|
11
|
0,34
|
|
8,2
|
|
|
Бш3
|
2
|
0,35
|
|
6,1
|
|
|
Ок
|
9
|
0,287
|
|
8,33
|
|
|
Фм
|
14
|
0,155
|
|
15
|
|
.5 Физико-химические свойства флюидов и коллекторов
Физико-химические свойства нефти на месторождении изучены по 33
поверхностным пробам, 30 из которых кондиционны. Наиболее полно поверхностными
пробами охарактеризован пласт Фм - отбрана 21 проба из 10 скважин. По остальным
продуктивным пластам они распределены следующим образом: См - 1, Бш - 6, Ок - 2
пробы.
Глубинных проб отобрано 65, кондиционны из них 42. Распределение
количества отобранных глубинных проб по пластам приведено ниже:
пласт Фм - 33 пробы из 6 скважин,
пласт См - 3 пробы,
пласт Бш3 - 2 пробы (скв.47).
Залежи пластов Бш2 и Бш1 глубинными пробами не
охарактеризованы. На основании идентичности параметров поверхностных нефтей
пластов Бш1, Бш2 и Бш3, характеристики
пластовой нефти приняты по группе этих пластов в целом.
Физико-химические свойства нефти и попутного газа - плотность,
пересчетный коэффициент, газовый фактор определены по данным дифференциального
разгазирования.
Количественная характеристика изученности поверхностными и глубинными
пробами месторождения с распределением их по продуктивным пластам представлена
в таблице 1.3
Таблица 1.3
Количество исследованных проб
|
Пласт
|
Количество исследованных скважин
|
Количество проб
|
|
по глубинным пробам
|
по поверхностным пробам
|
попутный газ
|
глубинных
|
поверхностных
|
Попутный газ
|
|
См
|
1
|
1
|
1
|
7(3)
|
1(1)
|
1(1)
|
|
Бш
|
1
|
7
|
1
|
6(2)
|
9(6)
|
1(1)
|
|
Ок
|
1
|
1
|
1
|
5(4)
|
2(2)
|
1(1)
|
|
Фм
|
6
|
10
|
6
|
47(33)
|
21(21)
|
7(7)
|
Результаты исследования глубинных проб пластовых нефтей методом
дифференциального разгазирования приведены в таблицах 3 и 4. Анализ попутного
газа глубинных проб дифференциального разгазирования представлен в таблице
1.6.4
Физико-химическая характеристика нефтей по пластам
Пласт См. Разгазированная нефть средней плотности, равной 0,865 г/смі,
маловязкая, смолистая, парафинистая.
Дегазированная нефть относится к классу сернистых - содержание серы
0,85%, смолистых - смол 14,75%. Содержание парафина 2,06%, асфальтенов - 2,65%
масс. Кинематическая вязкость нефти равна 6,45 ммІ/с. Температура плавления
парафина равна 52,8єС (таблица 1.4).
Пластовая нефть легкая, маловязкая, пластовое давление равно 9,4 МПа,
давление насыщения нефти газом - 6,65 Мпа. По данным дифференциального
разгазирования плотность нефти в пластовых условиях равна 0,818 г/смі, в
стандартных - 0,862 г/смі вязкость - 2,37 мПа*С. Начальное газосодержание
составило 52,5 мі/т.
Растворенный в нефти газ соответствует этаново-пропановой фракции с высокой
жирностью. Газ малометановый, малоазотный - (6,78%). Отличается высоким
содержанием сероводорода (6,47). Состав растворенного газа приведен в таблице
1.4
Таблица 1.4
Физико-химические свойства пластовой нефти
|
Наименование
|
Пласты
|
|
См
|
Бш1+2+3
|
Ок
|
Фм
|
|
Давление насыщения, МПа
|
6,65
|
13,58
|
12,71
|
10,28
|
|
Пластовое давление, МПа
|
15,5
|
17,0
|
18,2
|
|
Газосодержание, мі/т
|
52,5
|
53,8
|
83,3
|
136,7
|
|
Пластовая температура, єС
|
21
|
23
|
23
|
29,8
|
|
Плотность нефти, т/мі
|
|
|
|
|
|
- в пластовых условиях
|
0,818
|
0,804
|
0,780
|
0,727
|
|
- в стандартных условиях
|
0,862
|
0,844
|
0,843
|
0,831
|
|
Вязкость динамическая, мПа*с
|
2,37
|
2,41
|
2,08
|
1,02
|
Таблица 1.5
Физико-химические свойства поверхностной нефти
|
Наименование
|
Пласты
|
|
См
|
Бш 1+2+3
|
Ок
|
Фм
|
|
Плотность нефти, т/мі
|
0,865
|
0,839
|
0,846
|
0,836
|
|
Вязкость кинематическая, ммІ/с
|
6,45
|
8,06
|
6,8
|
6,55
|
|
Содержание масс., %
|
|
|
|
|
|
- асфальтенов
|
2,65
|
2,17
|
1,05
|
0,50
|
|
- смол силикагелевых
|
14,75
|
12,58
|
11,19
|
10,03
|
|
- парафина
|
2,06
|
2,71
|
2,84
|
3,94
|
|
- серы
|
0,85
|
0,89
|
1,21
|
0,62
|
|
Температура плавления парафина, єС
|
52,8
|
54,7
|
53,1
|
54,9
|
Таблица 1.6
Состав газа, растворенного в нефти
|
Наименование
|
Пласты
|
|
См
|
Бш 1+2+3
|
Ок
|
Фм
|
|
Плотность, г/л
|
0,948
|
1,008
|
0,944
|
0,915
|
|
Теплота сгорания
|
|
|
|
|
|
Содержание, % мол
|
|
|
|
|
|
- метан
|
48,61
|
31,56
|
43,52
|
54,15
|
|
- этан
|
18,75
|
20,14
|
23,04
|
23,47
|
|
- пропан
|
12,36
|
13,88
|
11,63
|
12,23
|
|
- бутан
|
3,04
|
2,75
|
2,37
|
2,71
|
|
- изобутан
|
1,65
|
1,83
|
1,26
|
1,20
|
|
- пентан
|
0,48
|
0,49
|
0,42
|
0,59
|
|
- изопентан
|
0,57
|
0,67
|
0,56
|
0,64
|
|
- гексан+высшее
|
0,28
|
0,28
|
0,24
|
0,36
|
|
- гелий
|
0,026
|
0,063
|
0,024
|
0,030
|
|
- азот
|
6,78
|
27,93
|
14,81
|
2,906
|
|
- углекислота
|
1,01
|
0,05
|
1,52
|
1,743
|
|
- сероводород
|
6,47
|
0,42
|
0,63
|
-
|
Товарная характеристика нефти Озерного месторождения обусловлена ее
серосодержанием и количеством бензиновых и светлых фракций. Минимальное
количество серы содержится в нефти фаменской залежи (0,24 - 1,06%),
максимальное - в нефти окского пласта (1,21%).
Концентрация бензиновых компонентов максимальна в нефти сакмарского
пласта (35%), несколько их меньше башкирской и фаменской нефти (32-33%),
минимальна - в нефти пласта Ок (29%).
Концентрация бензиновых компонентов выкипающих в пределах 180 - 300єС, в
нефтях всех продуктов одинаково.
Нефтяной газ имеет высокую калорийность и может быть использовано в
качестве топлива, однако он обогащен этан - бутановыми компонентами, и основная
его ценность заключается в использовании в качестве сырья для нефтехимического
производства.
Пласты Бш1, Бш2, Бш3. Нефть башкирских
пластов лучшего качества чем в сакмарском. Плотность дегазированной и пластовой
нефти меньше, нефть менее смолистая, содержит больше легких компонентов.
Плотность разгазирования нефти составила в среднем 0,839 т/мі. Башкирская
нефть, в отличие от сакмарской, характеризуется вдвое большей величиной
давления насыщения, равной 13,58 МПа. Это обусловлено составом растворенного в
ней газа, а именно высоким содержанием азота, который плохо растворяется в
нефти и при небольшом снижении пластового давления, равного 15,5 МПа, начинает
из нее выделяться.
Дегазированная нефть легкая, маловязкая, содержит смол до 17,2% при
среднем значении 12,58% масс, парафинов 1,96-3,39% при среднем значении 2,71%.
Дегазированная нефть сернистая, содержание серы составляет 0,89%,
кинематическая вязкость равна 6,45 ммІ/с.
Пластовая нефть легкая, маловязкая, по данным дифференциального
разгазирования плотность нефти в пластовых условиях равна 0,804 т/мі, в
стандартных - 0,844 т/мі, вязкость - 2,41 мПа*С. Начальное газосодержание
составило 53,8 мі/т.
Растворенный в нефти газ среднеазотный - азота 28%, малометановый
(31,56%), а по содержанию его гомологов (40%), классифицируется как
высокожирный. Сероводород в газе дифференциального разгазирования не обнаружен,
однако при проведении специального отбора проб на сероводороде и анализе
еготитрометрическим способом, обнаружено 0,425 сероводорода. (Таблица 1.4)
Пласт Ок. Разгазированная нефть окского пласта имеет единую классификацию
с нефтью вышележащего горизонта - смолистая (11,19%), парафинистая (2,84%),
сернистая (1,21%). Плотность дегазированной нефти равна 0,846 т/мі,
кинематическая вязкость составила 6,8 ммІ/с.
Пластовая нефть легкая, маловязкая, начальное газосодержание составило
83,3 мі/т. по результатам исследования глубинных проб нефти давление насыщения
- 12,7 МПа, пластовое давление равно 17 МПа. По данным дифференциального
разгазирования плотность нефти в пластовых условиях равна 0,78 т/мі, в
стандартных - 0,843 т/мі вязкость - 2,08 мПа*С.
Растворенный в нефти газ дифференциального разгазирования содержит более
40% метана, азота в нем 15%, примерно 35% этан-пропановых компонентов,
содержание сероводорода - 0,63%.
Пласт Фм. Глубинные пробы нефти отбирались не только в разных скважинах,
но и в пределах одной скважины на разных глубинах, что позволило провести
оценку свойств нефти как по площади, так и по разрезу.
Поинтервальный отбор пластовых флюидов, проведенный в скважине 39 (южная
часть залежи), показал, что нефть из нижней части пласта, расположенного на
границе ВНК, лучшего качества по сравнению с нефтью из верхней и средней
частями пласта.
В скважине 40 (северная часть залежи) нефть из нижней части пласта
худшего качества по сравнению с нефтью из верхней и средней частями пласта.
В скважинах 46, 47 (западная и сводовая часть пласта) нефть отобрана из
одного интервала и близка по своим свойствам; в скважине 44 шесть качественных
проб, характеризующих свойства нефти всего разреза; в скважине 42 одна проба
позволила получить дополнительную информацию о нижней части пласта.
По данным дифференциального разгазирования нефть легкая, маловязкая,
смолистая, парафинистая и сернистая. Плотность дегазирован-ной нефти равна
0,836 т/мі, кинематическая вязкость составила 6,55 ммІ/с. Содержание серы
составляет 0,62%, содержит 10,03% масс, парафина 3,94%.
Растворенный в нефти газ дифференциального разгазирования имеет различие
по составу в разных скважинах и разных частях разреза. Газ относится к
категории низкоазотных (2,906%), содержит 54,15% метана, высокожирных,
характеризуется отсутствием серы.
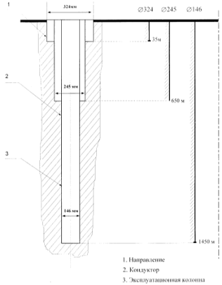
1.6 Типовая конструкция скважин
Скважина - это горная выработка, характеризующаяся
относительно малым диаметром и большой глубиной.
Конструкцию скважин выбирают исходя из требований
успешного доведения скважин до проектных глубин; качественного вскрытия
продуктивных горизонтов, обеспечивающего сохранность естественной проницаемости
пласта или улучшающего ее; эксплуатации скважин эффективными методами в период
разработки месторождения.
На конструкцию скважин оказывают влияние цель и способ
бурения; число продуктивных горизонтов, подлежащих опробованию; способ вскрытия
пласта и геологические условия бурения: глубина залегания продуктивных пластов,
их продуктивность и коллекторские свойства; пластовые и поровые давления и
давления гидроразрыва пород; физико-механические свойства разбуриваемых пород с
точки зрения возникновения обвалов, осыпей, сужения, кавернообразования,
передачи на обсадные колонны горного давления и т.д.
При проектировании конструкции скважин число и глубину
спуска обсадных колонн выбирают в соответствии с требованиями недопустимости
несовместимых условий бурения отдельных интервалов ствола, когда параметры
технологического процесса бурения нижележащих интервалов вызывают осложнения в
верхней необсаженной части скважины.
Число обсадных колонн должно соответствовать
количеству зон совместимых условий бурения. Глубина спуска обсадных колонн
должна быть на 10-20 м ниже зон совместимых условий бурения.
Плотность бурового раствора для бурения в данной зоне
крепления должна находиться в пределах зоны совместимых условий.
Высоту подъема тампонажного раствора в затрубном
пространстве устанавливают исходя из геологических особенностей месторождения.
В соответствии с требованиями к эксплуатации скважин, условиями
геологического строения Лозолюкско-Зуринского месторождения, глубины скважины и
способа вскрытия продуктивного пласта рекомендуется следующий вариант
конструкции скважин (табл. 1.7).
Элементы типовой конструкции скважины представлены на
рис. 1.7.
Таблица 1.7
Типовая конструкция скважин
|
тип коллектора
|
назначение скважины
|
наимен. колонны
|
диаметр долота
|
обсадная колонна
|
высота подъема цемента
|
|
|
|
|
диаметр
|
глубина спуска
|
|
|
карбонатный
|
добывающ. нагнетат.
|
направление
|
394 мм
|
324мм
|
0-35м
|
0-35м
|
|
|
кондуктор
|
295 мм
|
245 мм
|
0-650м
|
0 - 650 м
|
|
|
эксплуатационная
|
216 мм
|
146 мм
|
0 - проектн. глубина
|
0 - проектн. глубина
|
Рис. 1.1 Элементы конструкции скважины
2. ТЕХНИЧЕСКАЯ ЧАСТЬ
.1 Современное состояние разработки
Добыча нефти по Озерному месторождению ведется с 1992 г, когда в пробную
эксплуатацию была введена скважина 40, эксплуатирующая пласт в фаменском ярусе
и затем в 1999 г. cкв. 41, которая вела эксплуатацию из пластов башкирского
яруса.
В настоящее время разработка Озерного месторождения осуществляется на
основании последнего проектного документа «Технологическая схема опытно-
промышленной эксплуатации Озерного месторождения», составленная в 2000 г. [6].
ЦКР министерства энергетики, согласно Протокола (от 2.11.2000 №2647),
приняло Технологическую схему разработки со следующими принципиальными
положениями и технологическими показателями:
Добыча нефти 2000 г.- 32.7 тыс. т
г.- 150 тыс. т
г.- 230 тыс. т
г.- 350 тыс. т
г.- 427 тыс. т
г.- 499 тыс. т
г.- 543 тыс. т
г.- 523 тыс. т
г.- 430 тыс. т
г.~ 428 тыс. т
Выделение следующих основных эксплуатационных объектов:
- объект Фм -залежь фаменского яруса;
- объект Бш - пласты Бш1+Бш2 +Бш3 башкирского
яруса;
возвратные объекты:
- объект См -залежи сакмарского яруса, возврат с объекта Бш;
- объект Ок - разработка скважинами объекта Фм
Применения следующих систем разработки:
- объект Бш - по первому варианту при блоковой трехрядной системе
заводнения плотностью 27 га/скв.
Максимальные уровни:
- добыча нефти 131,9 тыс.т.
- добыча жидкости 283,8 тыс.т.
закачка воды 415 тыс.м3
Темп отбора от начальных извлекаемых запасов - 5,5%
Основной фонд скважин - 40скв.
в том числе:
добывающих - 25 скв.
нагнетательных - 15 скв.
- объект Фм - по четвертому варианту- избирательная система
заводнения.
Максимальные уровни:
- добыча нефти 480,4 тыс.т.
- добыча жидкости 699,1 тыс.т.
закачка воды 1138 тыс.м3
Темп отбора от начальных извлекаемых запасов - 6,8%
Основной фонд скважин - 73скв.
в том числе:
добывающих - 49 скв.
нагнетательных - 24 скв.
- разработка объектов См и Ок возвратным фондом скважин пластов Бш и
Фм
после выполнения им своего проектного назначения.
Основной фонд скважин месторождения - 114 скв, резервный -17 скв, из них
для объекта Фм-11, Бш -6.
Проектные уровни по месторождению в целом:
- добыча нефти 612 тыс. т (2006 г.)
- добыча жидкости 1073 тыс. т (2012 г.)
закачка воды 1541 тыс. м3 (2009 г.)
Изменение показателей разработки представлено на графике разработки
(Приложение №1).
График разгазирования
2.2 Используемое оборудование
УЭЦН состоит из погружного агрегата, оборудования устья,
электрооборудования и НКТ.
Погружной агрегат включает в себя электроцентробежный насос 5,
гидрозащиту и электродвигатель 3. Он спускается в скважину на колонне НКТ 7,
которая подвешивается с помощью устьевого оборудования 11, устанавливаемого на
колонной головке эксплуатационной колонны 1. Электроэнергия от промысловой сети
через трансформатор 14 и станцию управления 13 по кабелю 8, прикрепленному к
наружной поверхности НКТ крепежными поясами 9 (хомутами), подается на
электродвигатель 3, с ротором которого связан вал центробежного электронасоса 5
(ЭЦН). ЭЦН подает жидкость по НКТ на поверхность. Выше насоса установлен
обратный шаровой клапан 6, облегчающий пуск установки после ее простоя, а над
обратным клапаном - спускной клапан для слива жидкости из НКТ при их подъеме.
Гидрозащита включает в себя компенсатор 2 и протектор 4.
Погружной насос, электродвигатель и гидрозащита соединяются между собой
фланцами и шпильками. Валы насоса, двигателя и гидрозащиты имеют на концах
шлицы и соединяются между собой шлицевыми муфтами.
Насос погружают под уровень жидкости в зависимости от количества
свободного газа на глубину до 250-300 м, а иногда и до 600 м
Основные узлы установки центробежного электронасоса
Установки ЭЦН выпускают для эксплуатации высокодебитных, обводненных,
глубоких и наклонных скважин с дебитом 25 - 1300 м3/сут и высотой
подъема жидкости 50- 2000 м.
В зависимости от поперечного размера погружного агрегата УЭЦН
подразделяют на три условные группы 5, 5А и 6 с диаметрами соответственно 92,
103 и 114 мм. Они предназначены для эксплуатации скважин с внутренними
диаметрами эксплуатационных колонн соответственно не менее 121,7; 130; 144.3
мм, а установки УЭЦН 6-500-1100 и УЭЦН 6-700-800 - для скважин диаметром
эксплуатационной колонны 148,3 мм,
В качестве примера приведем три шифра установок: У3ЭЦН 5-130-1200, У2ЭЦНИ
6-350-1100 и УЭЦН 5-180-1200, где кроме УЭЦН приняты следующие обозначения: 3 -
модификация; 5 - группа насоса; 130 - подача, м3/сут; 1200 -
развиваемый напор, м; И - износостойкое исполнение; К - коррозионностойкое
исполнение (остальные обозначения аналогичны).
Центробежные электронасосы - это погружные центробежные секционные
многоступенчатые насосы. По принципу действия они не отличаются от обычных
центробежных насосов, применяемых для перекачки жидкости.
Погружной электродвигатель. В качестве привода насоса используется
погружной, трехфазный, асинхронный с короткозамкнутым многосекционным ротором
вертикального исполнения, маслонаполненный электродвигатель типа ПЭД (рис
12,3). Погружной электродвигатель состоит из статора 10, ротора 11,
головки 7 и основания 12. Корпус статора изготавливается из стальной трубы, на
концах которой предусмотрена резьба для подсоединения головки и основания
двигателя. Магнитопровод статора собирается из активных и немагнитных
шихтованных жестей, имеющих пазы, в которых располагается обмотка. Фазы обмотки
соединены в звезду. К концам обмотки статора припаивают специальные выводные
концы, изготовленные из многожильного медного провода с изоляцией, имеющей
высокую электрическую и механическую прочность. Выводные концы обмотки
соединяют с кабелем через специальную изоляционную штепсельную колодку (муфту
для двигателей диаметром 117 мм) кабельного ввода 3. Токоввод может быть и
ножевого типа, представляющий собой плоскую колодку, контакты в которой залиты
резиной.
Двигатель заполняется специальным, маловязким, высокой диэлектрической
прочности маслом, служащим как для охлаждения, так и для смазки. Дополнительную
циркуляцию масла и смазку подшипников ротора обеспечивает турбинка 9. Фильтр 8
очищает масло. В головке двигателя расположены пята 5 и подпятник 6.
Погружные электродвигатели имеют следующие шифры: ПЭД 125-138АВ5, где 125
- номинальная мощность, кВт (16 - 125 кВт); 138 - диаметр корпуса, мм (103 -
138 мм); АВ5 - серия двигателя. При работе электродвигателя серии АВ5
температура окружающей среды не должна превышать 50 - 70 °С. Разрабатываются
двигатели серий ДВ5 и КВ5, рассчитанные на температуру +60 - 70 °С, БВ5 и ЛВ5 -
на температуру +90°С. Для погружных электродвигателей линейное напряжение
составляет 380 - 2300 В, сила номинального тока - 24,5 - 86 А при частоте 50
Гц. Частота вращения ротора 3000 мин-1.
Гидрозащита предназначена для защиты ПЭД от проникновения в его полость
пластовой жидкости. Она состоит из протектора и компенсатора.
Протектор устанавливается между ЭЦН и ПЭД. Он имеет две камеры,
разделенные эластичной резиновой диафрагмой и заполненные маслом. Протектор
обеспечивает смазку упорного подшипника, который воспринимает осевую нагрузку
от вала ЭЦН, и защищает ПЭД от проникновения в его полость скважинной жидкости.
Выравнивание давления в протекторе и в скважине обеспечивается обратным
клапаном, расположенным в нижней части протектора. Пробка обратного клапана
должна выворачиваться перед спуском погружного агрегата в скважину.
Компенсатор присоединяется к основанию ПЭД. Он состоит из
маслонаполненной камеры, образуемой эластичной резиновой диафрагмой и
защищенной от повреждений стальным корпусом. Полость за диафрагмой сообщена со
скважиной отверстиями. Компенсатор защищает ПЭД от проникновения в его полость
скважинной жидкости.
Кабель. С поверхности до погружного агрегата подводят питающий,
полиэтиленовый (изоляция в один или два слоя), бронированный (эластичная
стальная оцинкованная лента) круглый кабель (типа КПБК), а в пределах
погружного агрегата плоский (типа КПБП). Переход от круглого кабеля к плоскому
сращивается горячим способом в пресс-формах. Строительная длинна кабеля
составляет 800-1800 м. Кабеля берут из расчета на максимальную глубину подвески
агрегата, а излишек оставляется на кабельном барабане (см. рис.). Потери
напряжения в кабеле составляют 25-125 В на 1000 м.
Станция управления и комплектное устройство, автоматизация скважин.
Станция управления обеспечивает включение и отключение установки, самозапуск
после появления исчезнувшего напряжения и аварийное отключение (перегрузки,
короткое замыкание, колебания давления, отсутствие притока в насос и др.).
Станция управления типа ШГС-5804 предназначена для управления УЭНЦ с
электродвигателем мощностью до 100 кВт, а комплектное устройство типа КУПНА-79
- выше 100 кВт. Они имеют ручное и автоматическое управление, управление с
диспетчерского пункта, работают по программе.
Наряду со станцией управления автоматизация скважины, оборудованной УЭЦН,
предусматривает применение разгруженного отсекателя манифольдного типа РОМ-1.
Отсекатель перекрывает выкидную линию при повышении или резком снижении
давления (вследствие порыва трубопровода).
Трансформаторы повышают напряжение подачи электроэнергии от напряжения
промысловой сети (380 В) до напряжения питающего тока в ПЭД (350-6000 В) с
учетом потерь напряжения в кабеле. Ранее трансформаторы выполнялись не
маслозаполненными (сухими). В настоящее время используются силовые с масляным
охлаждением трансформаторы типов ТМП и ТМПН и специальные комплектные
трансформаторные подстанции типов КТП и КТППН. Они предназначены для установки
на открытом воздухе. Трансформаторы подбирают по типу погружного
электродвигателя.
Оборудование устья скважины. Оборудование устья ОУЭ обеспечивает муфтовую
подвеску НКТ, герметизацию устья (вывод кабеля и НКТ), подачу продукции и
регулирование режима эксплуатации, и возможность проведения различных
технологических операций (рис). Герметичность вывода кабеля и НКТ достигается с
помощью разъемного конуса, вставляемого в крестовину, резинового уплотнения и
фланца. Для отвода затрубного газа в линию нефтегазосбора монтируется обратный
клапан.
Беструбные конструкции УЭЦН. С целью увеличения дебита и высоты подъема,
уменьшения металлоемкости УЭЦН были разработаны беструбые конструкции с
применением грузонесущего кабель-каната, например, УЭЦНБ- 5А-250-1050. где Б
обозначает беструбную установку. Кабель-канат выдерживает нагрузку 100 кН за
счет проволочной стальной оплетки, обвитой вокруг него. В скважине размещаются
снизу-вверх насос, гидрозащита и электродвигатель. Это позволяет увеличить
диаметр погружного агрегата и соответственно напор, развиваемый одной ступенью,
почти в 2 раза.
С помощью НКТ, штанг или троса в скважину спускается и закрепляется на
внутренней стенке эксплуатационной колонны шлипсовый пакер. На кабель-канате
спускается погружной агрегат, сажается в седло пакера и уплотняется в нем
посадочными кольцами. Одновременно всасывающий патрубок с приемной сеткой
проходит через пакер и открывает обратный клапан тарельчатого типа, имеющийся в
нижней части пакера. На устье кабель-канат герметизируется в сальнике арматуры.
Жидкость подается по обсадной колонне на поверхность.
Для данной конструкции наиболее сложна борьба с песком, отложениями
парафина.
Оборудование устьевое ОУЭ, рассчитанное на рабочее давление 14 МПа:
- трубная подвеска; 2 - кабель; 3 - кран пробковый проходной; 4 - корпус;
5 - манжета
.3 Анализ добывных возможностей скважины
.3.1 Определение коэффициента продуктивности
, где
-
фактический дебит скважины,
;
-
пластовое давление,
;
- забойное
давление,
.
.3.2
Определение минимально допустимого забойного давления
, где
- давление
насыщения по данному продуктивному пласту,
;
- давление
насыщения,
.
.3.3 Определение максимального допустимого дебита скважины
, где
-
коэффициент продуктивности,
;
-
пластовое давление,
;
-
минимальное допустимое давление на забое,
.
.3.4
Определение разницы между оптимальным и фактическим дебитами
, где
- разница
между максимально допустимым и фактическим дебитами,
;
-
максимально допустимый дебит скважины,
;
-
фактический дебит скважины,
.
.3.5
Таблица расчетных данных по анализу добывных возможностей
№скв 




|
 
|
6,02
|
19,7
|
34,19
|
14,49
|
0,05
|
0,22
|
|
424
|
3,01
|
12,0
|
25,85
|
13,85
|
0,03
|
0,21
|
|
430
|
14,9
|
115,8
|
186,995
|
71,195
|
0,25
|
0,27
|
|
431
|
1,46
|
7,3
|
11,25
|
9,79
|
0,015
|
0,21
|
|
454
|
33,32
|
98,3
|
282,55
|
184,25
|
0,005
|
0,21
|
|
455
|
2,78
|
18,4
|
29,607
|
26,827
|
0,002
|
0,20
|
|
456
|
3,66
|
23,6
|
34,87
|
31,21
|
0
|
0,20
|
|
457
|
57,1
|
65,1
|
390,564
|
333,46
|
0
|
0,20
|
|
467
|
64,1
|
52,0
|
330,115
|
269,015
|
0
|
0,20
|
|
468
|
3,32
|
12,6
|
26,19
|
13,59
|
0
|
0,20
|
|
469
|
5,33
|
25,2
|
46,31
|
20,9
|
0,014
|
0,21
|
|
470
|
1,39
|
4,31
|
7,35
|
3,04
|
0,04
|
0,21
|
2.4 Анализ технологических режимов работы скважин
.4.1 Определение газового фактора на приеме насоса
, где
-
содержание воды в продукции в долях единиц;
-
плотность нефти в пластовых условиях,
;
- газовый
фактор на приеме насоса,
.
.4.2
Определение приведенного пластового давления по кривой разгазирования
.4.3
Определение оптимального допустимого погружения насоса под динамический уровень
, где
-
приведенное давление взятое с кривой разгазирования,
;
-
затрубное давление,
;
-
плотность жидкости,
; g-ускорение свободного падения.
Для
расчета сначала необходимо определить плотность жидкости.
.4.4
Определение фактического погружения насоса под уровень жидкости
, где
- глубина
спуска насоса, м;
-
динамический уровень по всем скважинам, м;
-
фактическое погружение насоса, м.
.4.5
Определение разницы между оптимальным и фактическим погружением насоса под
динамический уровень
, где
-
оптимальное погружение насоса под уровень жидкости, м;
-
фактическое погружение насоса, м.
.4.6Определение
коэффициента подачи насоса
, где
-
фактический дебит скважины,
-
паспортный дебит,
-
коэффициент подачи.
.4.7
Сводная таблица расчетных данных
|
№скв
|
,  ,    ,  , м м ,м , % , м3/м3
|
|
|
|
|
|
|
|
|
|
|
42
|
6,02
|
19,7
|
34,19
|
14,49
|
371,54
|
689
|
-317,46
|
0,394
|
16,6
|
0,22
|
|
424
|
3,01
|
12,0
|
25,85
|
13,85
|
582,53
|
571
|
11,53
|
0,666
|
18
|
0,21
|
|
430
|
14,9
|
115,8
|
186,995
|
71,195
|
462,74
|
496
|
-33,26
|
0,926
|
17,9
|
0,27
|
|
431
|
1,46
|
7,3
|
11,25
|
9,79
|
591,5
|
323
|
268,5
|
0,405
|
18,3
|
0,21
|
|
454
|
33,32
|
98,3
|
282,55
|
184,25
|
375,7
|
764
|
-388,3
|
1,22
|
15,7
|
0,21
|
|
455
|
2,78
|
18,4
|
29,607
|
26,827
|
617,5
|
506
|
111,5
|
0,306
|
175
|
0,20
|
|
456
|
3,66
|
23,6
|
34,87
|
31,21
|
272,48
|
611
|
-338,52
|
0,944
|
18,1
|
0,20
|
|
457
|
57,1
|
65,1
|
390,564
|
333,46
|
238,09
|
671
|
-432,91
|
1,44
|
18,1
|
0,20
|
|
467
|
64,1
|
52,0
|
330,115
|
269,015
|
160,31
|
520
|
-359,69
|
0,86
|
18
|
0,20
|
|
468
|
3,32
|
12,6
|
26,19
|
13,59
|
206,34
|
414
|
-207,66
|
0,504
|
17,8
|
0,20
|
|
469
|
5,33
|
25,2
|
46,31
|
20,9
|
485,2
|
400
|
85,2
|
0,84
|
15
|
0,21
|
|
470
|
1,39
|
4,31
|
7,35
|
3,04
|
484,4
|
304
|
180,4
|
0,172
|
18
|
0,21
|
.5 Выбор оборудования
.5.1 Определение необходимого напора ЭЦН
, где
-
статический уровень в сепараторе, м
-
депрессия, м
- потери
напора на трение, м
- разность
геодезических отметок устья скважины и сепаратора, м
-
избыточный напор в сепараторе, м
Определение потерь на трение
, где
-
коэффициент гидравлических сопротивлений
- глубина
спуска насоса, м
-
расстояние от устья до сепаратора, м
- дебит
скважины,
-
внутренний диаметр НКТ, м
Определение
критерия Рейнольдса
, где
- дебит
скважины,
-
внутренний диаметр НКТ, м
По
диаграмме определяем диаметр НКТ для заданных дебитов скважины:
;
Определение
коэффициента гидравлических сопротивлений
Относительная
гладкость труб:
, где
-
шероховатость стенок, мм
-
внутренний диаметр НКТ, мм
По
диаграмме зависимости коэффициента гидравлических сопротивлений от Re и
относительной гладкости труб определяем:
Определим
потери напора на трение:
Определим
необходимый напор насоса:
Для
скважины №431 выбираем насос ЭЦНМ5-20-1200, где
ЭЦН
- электроцентробежный насос
М5
- группа посадки
-Номинальная
подача
-Условный
номинальный напор
Выводы
и рекомендации
В
работе было рассмотрено 14 скважин на Озерном нефтяном месторождении Фоменского
пласта, оборудованных УЭЦН.
В
процессе работы я рассчитал следующие параметры:
- коэффициент продуктивности скважины;
- допустимое забойное давление;
оптимальный допустимый дебит скважины;
разницу между фактическим и оптимальным дебитом скважины.
Определил: Газовый фактор на приёме насоса, оптимальную глубину
погружения насоса, фактическую глубину погружения насоса под динамический
уровень, разницу между оптимальной и фактической глубиной погружения насоса,
коэффициент продуктивности насоса.
По найденным данным я сделал вывод, что в целом работа скважины
производится с частичным нарушением: в 60% всех скважинах оборудование
находится ниже оптимальной глубины погружения насоса, в остальных 40% оно не
допущено. Причиной этого является снижение пластового давления и снижение
уровня жидкости в скважине или нарушение в работе системы нагнетания. В
скважинах №№34, 45, 62, 70, 73, 74, 76, 81, 83, 84 коэффициент подачи насоса
меньше 0,49 - это говорит о том, что имеются утечки в резьбовых соединения
насосно-компрессорных труб. И лишь в 4 скважинах коэффициент подачи находится в
допустимых условиях.
Выполнив пересчёт оборудования на скважинах №34, 62 с низким
коэффициентом подачи насоса, я пришёл к следующим выводам: на скважине №34
стоявший насос ЭЦН5-25-1700, надо поменять на ЭЦНМ5-20-1400, а на скважине №62
установленный насос ЭЦН5-25-1300 надо поменять на ЭЦНМ5-20-1200. На насосах
установить нужное число ступеней, а это для ЭЦНМ5-20-1400 составляет 259
ступеней, а для ЭЦН5-20-1200 составляет 242 ступени. Также установить погружные
электродвигатели для скважины №34 ПЭД10-103, а для скважины №62 ПЭД10-103.
После выполнения всех этих требований скважины будут работать согласно
технологического регламента.
При установке данных насосов не будет наблюдаться нарушение
технологического режима.
озерный скважина дебит нефтеносность
3. ОРГАНИЗАЦИОННАЯ ЧАСТЬ
.1 Охрана окружающей среды
С точки зрения охраны окружающей среды важно повышать степень утилизации
нефтяного газа, состав которого весьма разнообразен как в количественном, так и
в качественном отношении и может содержать от сотен до десятков процентов таких
коррозионно-активных и сильно ядовитых компонентов, как сероводород, углекислый
газ и др.
Нефтяной газ на установках подготовки нефти содержит большое количество
высокомолекулярных углеводородов, поэтому он, как и сероводород, тяжелей
воздуха и эти ядовитые газы могут скапливаться в пониженных местах. На
установках подготовки нефти имеется много различных технологических колодцев,
заглубленных лотков. Поэтому каждый рабочий на установке по подготовке нефти
должен иметь закрепленный за ним противогаз, содержать его в исправности и
уметь пользоваться им. На установке должен быть составлен перечень газоопасных
мест и работ, который ежегодно пересматривается и утверждается главным
инженером предприятия. Рабочие должны быть ознакомлены с этим перечнем.
Газоопасные места должны быть обозначены предупреждающими знаками. Работы в
газоопасных местах должны производиться инструментом из металлов, не дающих
искр. Запрещается вести какие-либо работы, связанные с ударами, подтяжкой,
креплением болтов и шпилек на аппаратах и трубопроводах, находящихся под
давлением, а также набивать и подтягивать сальники на работающих насосах.
В случае разлива на территории установки или на пол производственных
помещений нефти и других легковоспламеняющихся продуктов необходимо срочно
принять меры, исключающие их воспламенение. Место разлива следует засыпать
песком с последующей уборкой или промыть водой при помощи шланга.
Курение на установках подготовки нефти допускается в специально
отведенных местах, согласованных с пожарной охраной.
Вскрывать люки на аппаратах следует по порядку сверху вниз, чтобы не
создать через аппарат ток воздуха. Крышки открытых люков гайками.
При очистке аппаратов должны быть приняты меры, предотвращающие
растекание извлекаемых остатков. Сбрасывать с высоты грязь, твердые отложения,
извлекаемые из аппаратов во время их очистки, запрещается. Для этой цели
следует применять устройства малой механизации.
При ремонтных работах на высоте при отсутствии рабочего настила рабочие
должны иметь предохранительные пояса с карабинами для закрепления к надежным
конструкциям.
При ремонте колонн разборку тарелок следует проводить сверху вниз; детали
тарелок необходимо складывать вне колонны. При работе в нескольких местах
внутри колонны необходимо оставлять одну неразобранную тарелку между
работающими бригадами для предохранения от падения с высоты деталей или
инструмента на работающих внизу.
Для освещения внутри аппарата необходимо применять светильники во
взрывоопасном исполнении с лампами напряжения не выше 12 В. Включать и
выключать их необходимо снаружи.
Рабочие, производящие химическую очистку аппаратов, должны быть в
спецодежде, резиновых перчатках и защитных очках.
Работы внутри трубчатой печи необходимо вести со всеми открытыми лазами и
отверстиями для вентиляции. Запрещается очистка труб печи с двух сторон.
Верхняя площадка электродегидраторов, на которой расположены
трансформаторы и реактивные катушки, выполненные в открытом исполнении, должна
иметь сетчатое или решетчатое ограждение с вывешенной на нем предупредительной
надписью «Высокое иметь блокировку, снимающую напряжение при открывании дверцы
ограждения.
Ремонт оборудования, установленного на верхней площадке и внутри электродегидратора,
возможен только после оформления наряда- допуска и последовательного выполнения
следующих мероприятий: снятия напряжения в главной цепи, а также в цепи
оперативного напряжения и вывешивания в этих местах плакатов: ”Не включать -
работают люди!”; тщательного вентилирования помещения электродегидраторов с
последующим анализом воздуха ; проверки отсутствия напряжения на стороне
высокого напряжения обоих трансформаторов; наложения переносного заземления на
выводы проводов высокого напряжения.
Включение (отключение) пусковых устройств электродегидраторов, насосов и
другого оборудования следует проводить в диэлектрических перчатках, стоя на
изолирующей подставке.
Горячие поверхности оборудования и трубопроводов с аппаратурой,
расположенных вне помещений, в местах возможного соприкосновения с ними
обслуживающего персонала должны иметь тепловую изоляцию. Температура на
поверхности изоляции не должна превышать 60°С. Если теплоизоляцию осуществить
невозможно, горячую поверхность необходимо оградить. Все трубопроводы в
производственных помещениях с температурой поверхности выше 45°С должны быть
теплоизолированы.
При работе с деэмульгатором и ингибитором не допускаются ручные операции,
при которых возможно попадание их на тело и одежду рабочего, на пол и оборудование,
нельзя принимать пищу и курить в этом помещении. Порожнюю тару следует
немедленно промывать водой и пропаривать. Если это невозможно, то тару
попадания деэмульгатора на спецодежду и спецобувь следует немедленно снять их.
При попадании на кожу - промыть пораженное место 3%-ным раствором борной
кислоты или большим количеством воды.
Большое число помещений, в которых размещаются технологические установки
нефтяной и газовой промышленности, а также некоторые установки монтируемые на
открытом воздухе, могут содержать взрывоопасные зоны, т.е. зоны,
характеризующиеся наличием горючих газов и паров, создающие с воздухом
взрывоопасной смеси. К таким помещениям и установкам относятся нефтенасосные и
газовые компрессорные станции, фонтанные скважины, сепараторы, замерные
установки, резервуарные парки, электрообезвоживающие и обессоливающие
установки.
Во взрывоопасных зонах установок необходимо применять специальное
взрывоопасное электрооборудование и специальные способы прокладки проводов и
кабелей. Взрывозащищенным называется оборудование, в котором предусмотрены
конструктивные меры по устранению или затруднению возможности воспламенения
окружающей взрывоопасной среды.
К взрывозащищенному электрооборудованию относятся электрооборудование со
взрывонепроницаемой оболочкой. Это электрооборудование снабжено оболочками,
выдерживающими максимальное давление при взрыве внутри оболочки без ее
повреждения и обеспечивающими локализацию пламени внутри оболочки, т.е.
внутреннее воспламенение не может распространиться через зазоры и отверстия в
окружающую взрывоопасную среду. Взрывонепроницаемое исполнение
электрооборудование маркируется буквой В в кружке.
Короткозамкнутые асинхронные двигатели единой всероссийской серии ВАО
расчитаны на применение во взрывоопасных помещениях и наружных установках всех
классов, где возможно образование взрывоопасных смесей. Для привода вентилей и
задвижек применяются взрывозащищенные электродвигатели серии ВАО и В и их
модификаций, рассчитанные на работу в повторно-кратковременном режиме.
Пусковую и пускорегулирующую аппаратуру обычно устанавливают за пределами
взрывоопасных помещений, в которых находятся лишь аппараты управления и
коммутационные аппараты, механически связанные с технологическим оборудованием:
кнопочные посты управления, колонки управления, кнопочные выключатели и др. Эти
аппараты во.взрывонепроницаемом исполнении содержат корпус и крышку, в
соединениях между которыми используют щелевую (при помощи зазора) защиту
.2 Охрана недр
Под охраной недр понимается научно обоснованное рациональное бережное
использование полезных ископаемых, максимально полное, технически доступное и
экономически целесообразное их извлечение, переработка, использование,
утилизация отходов, ликвидация урона, нанесенного естественным природным ландшафтам.
В последнее время быстро увеличивается добыча полезных эксплуатационных и
разведочных скважин достигла 10-12 тыс. метров. Нарушение сплошности недр
происходит при непосредственном бурении скважин.
Основные мероприятия по охране недр на стадии добычи минерального сырья
сводится к совершенствованию технологи его разведки, расчета запасов, к
применению ряда правовых и экономических механизмов.
Значительные потери полезных ископаемых происходят при их транспортировке
к местам переработки и использования. На территории России эксплуатируется 350
тыс. км промысловых трубопроводов, на которых происходит ежегодно свыше 50 тыс.
прорывов. В результате за год разливается 2650 тонн нефти из магистральных труб
и 1438 тонн нефтепродуктов.
Комплексное, наиболее полное извлечение и использование полезных
ископаемых позволяет сохранить месторождение, не тратить дополнительные
средства на переработку отходящих газов и промышленных стоков.
Нефть и масла, собираемая в отстойниках нефтеперерабатывающих заводов,
ремонтных, транспортных и других предприятий, рафинируются и используются в
народном хозяйстве. Таким образом, комплексное использование и бережное
расходование минерального сырья при его добыче, транспортировке и переработке
связано не только с его охраной но и с охраной окружающей природной среды.
Основные мероприятия по охране недр базируется на ресурсосбережении:
предотвращение потерь при добыче, транспортировке полезных ископаемых, при их
обогащении, и переработке, использовании готовой продукции. В мероприятия по охране
недр входит комплексное использование ресурсов, которое предусматривает более
полное извлечение сопутствующих компонентов при добыче полезного ископаемого.
Отмена системы валовой выемки, своевременное разделение компонентов по сортам
во время добычи и подготовки продукции способствует сохранности ценных
компонентов сырья, и дают большой экономический эффект.
Для охраны недр существенное значение имеет использование полезного
ископаемого строго по назначению. И если нефть и коксующиеся угли используются
в качестве топлива - это нерациональная трата минеральных ресурсов.
Рост добычи топлива и производства энергии связан с существенным
повышением капиталовложений, идущих не только на добычу и разведку, но и на
мероприятия по охране окружающей среды. Игнорирование их ради минутной прибыли
приводит, как правило, к негативным последствиям, на ликвидацию которых
затрачивается значительно больше средств, чем на предотвращение.
Таким образом, основополагающими принципами рационального использования и
охраны недр служат возможное ослабление ущерба от разведки и разработки
минеральных ресурсов, рациональная эксплуатация и бережное использование
минерального сырья, а по окончанию работ - рекультивация ландшафтов. Важно
понимать, что запасы недр на земле ограничены и исчерпаемы.
3.3 Охрана труда
Система управления охраной труда состоит из регламентированных
законодательными актами и нормативными документами взаимосвязанных
социально-экономических и организационных мероприятий, методов и средств,
направленных на формирование безопасных и здоровых условий труда на
производстве. Она устанавливает и регламентирует единый порядок разработки и
осуществления организационно-профилактических мероприятий по обеспечению
безопасных и здоровых условий для эффективного и высокопроизводительного труда.
Система управления охраной труда направлена на решение следующих задач:
совершенствование организации работы в области охраны труда на всех
уровнях управления производством;
установление единого порядка обучения работников безопасным методам
работы;
обеспечение безопасности производственного оборудования и
производственных процессов;
соблюдение требований охраны труда на стадии проектирования,
строительства и приемки в эксплуатацию объектов производственного назначения;
содержание зданий и помещений в нормальном состоянии;
нормализация санитарно-технических условий труда;
обеспечение работников средствами индивидуальной защиты;
санитарно-бытовое обслуживание работающих;
обеспечение своевременного и правильного расследования и учета несчастных
случаев на производстве и устранение их причин;
повышение активности и заинтересованности рабочих. Служащих и
инженерно-технических работников в работе по обеспечению безопасных условий
труда и вовлечение в нее широкого круга работающих, профсоюзного актива;
укрепление трудовой и производственной дисциплины;
обеспечение соблюдения работающими требований правил, норм и инструкций
по технике безопасности;
повышение ответственности руководящих и инженерно-технических работников
за безопасность труда.
Решение указанных задач обеспечивается совместной деятельностью
руководящих и инженерно-технических работников предприятий и профсоюзной
организацией в соответствии с возложенными на них функциями.
Роль критериев управления охраной труда играют показатели безопасности
труда, имеющие количественное и качественное выражение. Большинство опасных и
вредных производственных факторов можно измерить и полученные значения сравнить
с нормативными или оптимальными параметрами, установленными правилами, нормами,
стандартами и другой нормативно-технической документацией по безопасности
труда.
.4 Противопожарные мероприятия
Производственные объекты на нефтяных промыслах должны постоянно
содержаться в чистоте и порядке. Категорически запрещается допускать
загрязнение нефтью производственной территории и помещений. Хранение нефти и
других легковоспламеняющихся жидкостей в открытых ямах и амбарах не
допускается. Вокруг площадок всех объектов и сооружений, расположенных на
территории нефтедобывающего предприятия, трава должна быть скошена в радиусе не
менее 5 м. Обвалование групповых замерных и сепарационных установок, огневых
подогревателей, резервуарных парков должно соответствовать проекту и постоянно
содержаться в полной исправности.
Дороги, подъезды и проезды к сооружениям, водоемам, пожарным гидрантам
нельзя загромождать и использовать для складирования.
В пожаро- и взрывоопасных объектах, цехах, складах и на их территории
курение запрещается. Въезд на территорию пожаро- и взрывоопасных предприятий и
установок допускается только по специальному пропуску. Автотранспорт, тракторы
и другие агрегаты должны быть оборудованы глушителями с искрогасителями.
Запрещается применять для освещения добывающих скважин, насосных, пунктов
сбора и подготовки нефти, резервуарных парков и других производственных
установок и складских сооружений факелы, спички, свечи, керосиновые фонари,
костры и другие источники открытого огня.
За герметичностью оборудования необходимо установить строгий контроль. В
случае обнаружения пропусков должны приниматься меры к их устранению.
Отогревать замерзшую аппаратуру, арматуру, трубопроводы, задвижки и др.
разрешается только паром и горячей водой.
Промасленный обтирочный материал должен складироваться в специальные
металлические ящики с плотно закрывающимися крышками. Спецодежда должна
храниться в индивидуальных шкафчиках в специально предназначенных для этого
помещениях. Оставлять спецодежду на верстаках, ящиках, у рабочих мест не
допускается.
Во взрывоопасных установках и взрывоопасных помещениях необходимо
принимать меры против возникновения электрических и механических
искрообразований.
Обувь персонала, работающего на взрывоопасных местах, а также проводящего
замер и отбор проб нефти и газа, должна быть без стальных гвоздей и накладок.
Особое внимание следует обращать на проведение огневых работ. К огневым
работам относятся: электрогазосварочные, кузнечные и котельные, паяльные и все
прочие работы с применением открытого огня. Запрещается проведение огневых
ремонтных работ на территории установок на расстоянии менее 40 м от действующих
аппаратов, резервуаров, на расстоянии менее 50 м от открытых нефтеловушек и
мест утечек газа, на расстоянии не менее 20 м от канализационных колодцев,
задвижек и мест утечек нефти и нефтепродуктов.
Ответственность за подготовку и безопасную организацию огневых работ и
соблюдение правил по технике безопасности несет начальник цеха (установки).
Огневые работы могут проводиться только после выполнения всех требований
пожарной безопасности, намеченных в плане проведения огневых работ.
Электро- и газосварочные работы должны проводиться под руководством
ответственного работника по отдельному для каждого случаю письменному
разрешению технического руководителя предприятия и по согласованию с местной
пожарной командой.
Участки, где проводятся огневые работы, должны быть обеспечены средствами
пожаротушения (огнетушителями, водой), а также необходимым противопожарным
инвентарем.
ЗАКЛЮЧЕНИЕ
Проведенные мною расчеты показали, что на Озерном месторождении
эксплуатация нефтяных скважин ведется практически без отклонения.
Проанализировав график разработки, я выяснил, что добыча нефти значительно
уменьшилась, процент обводнённости растёт, а так же увеличился процент отбора
от начальных извлекаемых запасов, быстро растёт фонд нагнетательных скважин.
Проведя расчет используемого оборудования можно сделать вывод что оборудование
подобрано правильно.
Кроме этого, я понял, что режимы работы скважин можно выбрать
теоретически и потом уже сопоставлять расчетные данные с фактическими.
СПИСОК ЛИТЕРАТУРЫ
1. В.Е. Гавура Геология и разработка
нефтяных и газонефтяных месторождений,- М.:ВНИИОЭНГ,1995 г.
2. В.И. Щуров Технология и техника
добычи нефти. Москва, Недра, 1983 г.
3. В.М. Муравьев. Эксплуатация нефтяных
и газовых скважин. Москва, Недра, 1973 г.
4. Сборник инструкций по технике
безопасности для нефтегазодобывающего предприятия, 1995 г.
5. Расчет по добыче нефти И.Т. Мищенко,
1989 г.
6. Эксплуатация нефтяных и газовых
скважин А.И. Акуньшин, 1989 г