Машины для уборки и сушки зерна. Расчет очистки зерна
Содержание
Введение
. Расчет очистки зерна
.1 Физико-механические свойства вороха
.2 Построение вариационных кривых
.3 Очистка семян
.3.1 Составление схемы техпроцесса очистки семян
.3.2 Расчет чистоты и потерь семян
. Сушка зерна и подбор машин
.1 Тепловой расчет сушилки
.2 Аэродинамический расчет сушилки
.3 Подбор вентилятора
.4 Расчет производительности комплекса
.4.1 Расчет производительности МПО-50
.4.2 Расчет
производительности ЗВС-20А
.4.3 Расчет
производительности триеров
.4.4 Расчет количества комплексов
3. Анализ режимов колебаний решета
.1 Анализ графиков и выбор оптимального режима
3.2 Расчет
экономической эффективности
Библиографический
список
Приложение
Введение
Для послеуборочной обработки зерна промышленность
поставляет зерноочистительные агрегаты, зерноочистительно-сушильные комплексы,
обеспечивающие поточную обработку зерна, а также отдельные машины для
индивидуального использования.
Зерноочистительные агрегаты ЗАВ-10, ЗАВ-20, ЗАВ-40
АЗС-30 и зерноочистительно-сушильные агрегаты КЗС-10, КЗС-20 и КЗС-40
предназначены для обработки товарного зерна
Семенной материал без наличия трудноотделимых сорняков
очищается ими до II-III класса посевного стандарта. При комплектовании
агрегатов и комплексов семенными приставками зерно очищается до I класса.
В состав КЗС-25Ш включены следующие машины:
Машина предварительной очистки МПО-50, машина
первичной очистки ЗВС-20А, триерные блоки ЗАВ-10.90.000А и шахтная сушилка.
Машины производят разделение по следующим признакам
1.толщина - рабочий орган - решето с продолговатыми отверстиями.
2.ширина - рабочий орган - решето с круглыми отверстиями.
3.критическая скорость - рабочий орган - аспирационный канал.
4.длина - рабочий орган - триер.
Исходные данные.
Сезонный сбор зерна 15 тыс. тонн.
Влажность W1=17,3%.
Основная культура пшеница Белотурка.
Номер набора засорителей 4.
1. Расчёт очистки зерна
.1 Физико-механические свойства
вороха
Составляем две таблицы показателей физико-механических
свойств составных частей вороха. В таблице 1 показатели даны с указанием
средней величины «м» и среднего квадратического отклонения «σ»,
в таблице 2 - в
предельной форме («от»-«до»). Затем определяем, какие примеси легко отделимы.
Это те примеси, которые хотя бы по одному признаку разделения выделяются без
потерь основной культуры (таблица 2). При этом если оба размерных предела
(«от»- «до») у примеси меньше нижнего предела основной культуры, необходимо,
чтобы разность между пределом «от» основной культуры и пределом «до» примеси
составляла не менее 0,5·σ основной культуры по данному признаку разделения.
Проверку легкости отделения примесей делаем по каждому физико-механическому
свойству отдельно, обводя рамкой значения легкоотделимых примесей. Составляем
таблицы 4 и 5 со списками трудно- и легкоотделимых примесей, и также таблицу 3,
в которой указаны все требования к семенам.
Таблица 1.- Состав исходного вороха в форме «М и σ»
|
|
Длина
|
Ширина
|
Толщина
|
крит. Скорость
|
|
культура
|
%
|
М
|
σ
|
М
|
σ
|
М
|
σ
|
М
|
σ
|
|
1.Пшеница Белотурка
|
89,1
|
6,07
|
0,5
|
2,73
|
0,27
|
2,52
|
0,26
|
9,58
|
0,4
|
|
2.Ячмень Черповец
|
1,5
|
8,78
|
0,7
|
2,89
|
0,31
|
2,29
|
0,25
|
9,6
|
0,4
|
|
3.Куколь
|
3
|
3,6
|
0,27
|
2,9
|
0,3
|
2,3
|
0,23
|
8,35
|
0,48
|
|
4.Круглец болотный
|
1,2
|
2,2
|
0,13
|
1,85
|
0,21
|
1,1
|
0,1
|
7
|
0,83
|
|
5.Полова
|
1
|
|
|
|
|
|
|
2
|
0,33
|
|
6.Горох Виктор. Мандор
|
2
|
7,8
|
0,73
|
7,75
|
0,73
|
7,5
|
0,8
|
14
|
1
|
|
7.Плевел
|
1,8
|
4,6
|
0,3
|
1,8
|
0,13
|
1,05
|
0,12
|
7
|
0,84
|
|
8.Спорынья
|
0,4
|
6,24
|
1,18
|
2,5
|
0,4
|
2,2
|
0,35
|
8,25
|
1,25
|
Таблица 2.- Состав исходного вороха в форме «от и до»
|
|
Длина
|
|
Ширина
|
|
Толщина
|
|
крит. Скорость
|
|
|
культура
|
%
|
от
|
до
|
от
|
до
|
от
|
до
|
от
|
до
|
|
1.Пшеница Белотурка
|
89,1
|
4,57
|
7,57
|
1,92
|
3,54
|
1,74
|
3,3
|
8,38
|
10,78
|
|
2.Ячмень Черповец
|
1,5
|
6,68
|
10,88
|
1,96
|
3,82
|
1,54
|
3,04
|
8,4
|
10,8
|
|
3.Куколь
|
3
|
2,79
|
4,41
|
2
|
3,8
|
1,61
|
2,99
|
6,91
|
9,79
|
|
4.Круглец болотный
|
1,2
|
1,81
|
2,59
|
1,22
|
2,48
|
0,8
|
1,4
|
4,51
|
9,49
|
|
5.Полова
|
1
|
0
|
0
|
0
|
0
|
0
|
0
|
1,01
|
2,99
|
|
6.Горох Виктор. Мандор
|
2
|
5,61
|
9,99
|
5,56
|
9,94
|
5,1
|
9,9
|
11
|
17
|
|
7.Плевел
|
1,8
|
3,7
|
5,5
|
1,41
|
2,19
|
0,69
|
1,41
|
4,48
|
9,52
|
|
8.Спорынья
|
0,4
|
2,7
|
9,78
|
1,3
|
3,7
|
1,15
|
3,25
|
4,5
|
12
|
Таблица 3.- Требования к семенам
|
Класс
|
Чистота, %
|
Содержание семян других
растений, шт/кг (не более)
|
Спрорыньи, % не более
|
|
|
Всего
|
Сорняков
|
|
|
1
|
99
|
10
|
5
|
0,01
|
|
2
|
98
|
40
|
20
|
0,03
|
|
3
|
97
|
200
|
70
|
0,05
|
.2 Построение вариационных кривых
Вариационные кривые представляют собой кривые Гаусса,
построенные для основной культуры и всех трудноотделимых примесей.
По каждому физико-механическому свойству строится своя
группа кривых. В таблице 1 находим величину M для данной составляющей вороха в колонке соответствующего
признака. Через деление шкалы, соответствующей этой цифре проводим вертикаль.
Вершина этой кривой лежит на пересечении этой вертикали с верхней
горизонтальной прямой (80 мм.). На второй сверху горизонтальной прямой точки
кривой лежат вправо и влево от вертикали на 0,5·σ, на третьей это расстояние будет равно
σ
и так далее, прибавляя
на каждую следующую прямую по 0,5·σ вправо и влево от вертикали. По
точкам с помощью лекала проводим кривую (приложения 1-4).
1.3 Очистка семян
зерно очистка сушилка тепловой
1.3.1 Составление схемы техпроцесса
очистки семян
Составление схемы начинаем с составления трех списков:
Первый - список легко отделимых примесей, который
составляется на основе таблицы 2. В списке указываются легко отделимые
засорители с их порядковыми номерами, вид примеси (легкая, толстая и т.д.),
граница разделения. Граница разделения выбирается по основной культуре,
ближайшая к нижнему или верхнему пределу соответствующего признака разделения с
учетом отсутствия потерь основной культуры (таблица 4).
Второй - список трудноотделимых примесей оформляем
аналогично первому. Границы разделения выбираем, анализируя вариационные
кривые, намечаем несколько признаков разделения (таблица 5).
Третий - список рабочих органов, вид выделяемой
примеси и граница разделения (таблица 6).
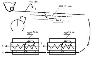
Схема технологического процесса компонуется согласно
списку рабочих органов (рисунок 8).
Таблица 4.- Список легкоотделимых примесей.
|
N П/П
|
Засоритель
|
Признак разделения
|
Выделяемая примесь
|
Граница разделения
|
|
4
|
Круглец болотный
|
Длина
|
короткая
|
4,32
|
|
|
ширина
|
узкая
|
1,785
|
|
5
|
Полова
|
Критическая скорость
|
легая
|
8,18
|
|
6
|
Горох Виктория Мандор
|
Толщина
|
толстая
|
3,43
|
|
|
ширина
|
широкая
|
3,675
|
|
|
Критическая скорость
|
тяжелая
|
10,98
|
|
7
|
Плевел
|
Толщина
|
узкая
|
1,785
|
Таблица 5.- Список трудноотделимых примесей.
|
N п/п
|
Засоритель
|
Признак разделения
|
Выделяемая примесь
|
Граница разделения
|
|
2
|
Ячмень Черновец
|
длинна
|
длинная
|
7,4
|
|
3
|
куколь
|
длина
|
короткая
|
4,5
|
|
8
|
спорынья
|
ширина
|
узкая
|
2,1
|
|
|
длинна
|
длинная
|
7,4
|
|
|
длина
|
короткая
|
4,5
|
|
|
Критическая скорость
|
легкая
|
8,7
|
Таблица 6.- Список рабочих органов.
|
Рабочий орган
|
Признак разделения
|
Выделяемая примесь
|
Граница разделения
|
|
1. Вентилятор
|
критическая скорость
|
легкая
|
l=8,7м/с
|
|
2. Решето
|
Ширина
|
узкая
|
l=2,1мм
|
|
6.Триер
|
длина
|
короткая
|
l=4,5мм
|
|
7. Триер
|
длина
|
длинная
|
l=7,4мм
|
.3.2 Расчет чистоты и потерь семян
Расчет чистоты производится при последующих
упрощениях:
1 считается, что разделение зерна по
одному признаку не меняет вариационные кривые по другим признакам.
2 каждый рабочий орган делит зерно
полностью по указанной на схеме границе разделения. Указанные допущения не
соблюдаются в реальных машинах.
Расчет ведётся с использованием таблицы интеграла
Лапласа. На каждый этап очистки, на каждый рабочий орган нужно заполнять
таблицу отдельно, последовательно в порядке рабочего процесса по выбранной
схеме.
Первая колонка - порядковый номер составляющей вороха.
Вторая колонка - культура.
|
культура
|
%
|
М
|
σ
|
Х
|
ε
|
%к нач.сод.
|
%к нагр.
|
% к ост.
|
|
2
|
3
|
4
|
5
|
6
|
7
|
8
|
9
|
10
|
|
1.Пшеница Белотурка
|
89,1
|
9,58
|
0,4
|
-2,200
|
-48,61
|
98,61
|
87,862
|
95,242
|
|
2.Ячмень Черновец
|
1,5
|
9,6
|
0,4
|
-2,250
|
-48,81
|
98,81
|
1,482
|
1,607
|
|
3.Куколь
|
3
|
8,35
|
0,48
|
0,729
|
26,76
|
23,24
|
0,697
|
0,756
|
|
4.Круглец болотный
|
1,2
|
7
|
0,83
|
2,048
|
47,73
|
2,27
|
0,027
|
0,030
|
|
5.Полова
|
1
|
2
|
0,33
|
20,303
|
50
|
0
|
0,000
|
0,000
|
|
6.Горох Виктор. Мандор
|
2
|
14
|
1
|
-5,300
|
-50
|
100
|
2,000
|
2,168
|
|
7.Плевел
|
1,8
|
7
|
0,84
|
2,024
|
47,85
|
2,15
|
0,039
|
0,042
|
|
8.Спорынья
|
0,4
|
8,25
|
1,25
|
0,360
|
14,04
|
35,96
|
0,144
|
0,156
|
Четвертая и пятая - величины М и σ
из таблицы по тону
признаку, которому соответствует данная операция.
Шестая - записываем значения х=(l-M)/σ
,
По ним определяют величину интеграла, которую
вписываем в седьмую колонку (ε) со знаком числа в шестой.
Восьмая - числа получают сложением чисел седьмой с 50%
или вычитанием из 50% с учетом знака так, чтобы число по основной культуре было
положительным и больше 50.
Девятая - числа получаем перемножением третьей и
восьмой и делим на 100, числа в девятой суммируются. Сумма показывает процент
оставшегося вороха после данной операции.
Десятая - числа получаем умножением девятой на 100 и
делением на сумму девятой. Сумма десятой должна ровняться 100%. Эта колонка
последней из этой группы таблицы дает окончательный состав зерна прошедшего всю
очистку по данной схеме. Эти данные сравниваем с требованиями ГОСТа (таблица 3).
Таблица 7.- Расчет чистоты при отделении легких примесей
(l=8,7 м/с).
Таблица 8.- Расчет чистоты при отделении легких
примесей (l=8,7 м/с).
|
культура
|
%
|
М
|
σ
|
Х
|
ε
|
%к нач.сод.
|
%к нагр.
|
% к ост.
|
|
2
|
3
|
4
|
5
|
6
|
7
|
8
|
9
|
10
|
|
Пшеница Белотурка
|
95,242
|
9,58
|
0,4
|
-2,200
|
-48,61
|
98,61
|
93,918
|
95,926
|
|
2.Ячмень Черновец
|
1,607
|
9,6
|
0,4
|
-2,250
|
-48,81
|
98,81
|
1,588
|
1,621
|
|
3.Куколь
|
0,756
|
8,35
|
0,48
|
0,729
|
26,76
|
23,24
|
0,176
|
0,179
|
|
4.Круглец болотный
|
0,030
|
7
|
0,83
|
2,048
|
47,73
|
2,27
|
0,001
|
0,001
|
|
6.Горох Виктор. Мандор
|
2,168
|
14
|
1
|
-5,300
|
-50
|
100
|
2,168
|
2,214
|
|
7.Плевел
|
0,042
|
7
|
0,84
|
2,024
|
47,85
|
2,15
|
0,001
|
0,001
|
|
8.Спорынья
|
0,156
|
8,25
|
1,25
|
0,360
|
14,04
|
35,96
|
0,056
|
0,057
|
Таблица 8.- Расчет чистоты при отделении узких
примесей (l=2,1 м/с)
|
культура
|
%
|
М
|
σ
|
Х
|
ε
|
%к нач.сод.
|
%к нагр.
|
% к ост.
|
|
2
|
3
|
4
|
5
|
6
|
7
|
8
|
9
|
10
|
|
Пшеница Белотурка
|
95,926
|
2,73
|
0,27
|
-2,333
|
-49,02
|
99,02
|
94,986
|
95,906
|
|
2.Ячмень Черновец
|
1,621
|
2,89
|
0,31
|
-2,548
|
-49,48
|
99,48
|
1,613
|
1,629
|
|
3.Куколь
|
0,179
|
2,9
|
0,3
|
-2,667
|
-49,62
|
99,62
|
0,179
|
0,180
|
|
6.Горох Виктор. Мандор
|
2,214
|
7,75
|
0,73
|
-7,740
|
-50
|
100
|
2,214
|
2,236
|
|
8.Спорынья
|
0,057
|
2,5
|
0,4
|
-1,000
|
-34,13
|
84,13
|
0,048
|
0,049
|
Таблица 9.- Расчет чистоты при отделении длинных
примесей (l=7,4 мм).
|
культура
|
%
|
М
|
σ
|
Х
|
ε
|
%к нач.сод.
|
%к нагр.
|
% к ост.
|
|
2
|
3
|
4
|
5
|
6
|
7
|
8
|
9
|
10
|
|
Пшеница Белотурка
|
95,906
|
6,07
|
0,5
|
2,660
|
49,610
|
99,610
|
95,532
|
99,048
|
|
2.Ячмень Черповец
|
1,629
|
8,78
|
0,7
|
-1,971
|
-47,55
|
2,450
|
0,040
|
0,041
|
|
3.Куколь
|
0,180
|
3,6
|
0,27
|
14,074
|
50
|
100,000
|
0,180
|
0,187
|
|
6.Горох Виктор. Мандор
|
2,236
|
7,8
|
0,73
|
-0,548
|
-20,59
|
29,410
|
0,658
|
0,682
|
|
8.Спорынья
|
0,049
|
6,24
|
1,18
|
0,983
|
33,63
|
83,630
|
0,041
|
0,042
|
Таблица 10.- Расчет чистоты при отделении коротких
примесей (l=4,5 мм)
|
культура
|
%
|
М
|
σ
|
Х
|
ε
|
%к нач.сод.
|
%к нагр.
|
% к ост.
|
|
|
|
2
|
3
|
4
|
5
|
6
|
7
|
8
|
9
|
10
|
11
|
|
|
Пшеница Белотурка
|
99,048
|
6,07
|
0,5
|
-3,140
|
-49,05
|
99,05
|
98,107
|
99,231
|
|
|
|
2.Ячмень Черповец
|
0,041
|
8,78
|
0,7
|
-6,114
|
-50
|
100
|
0,041
|
0,042
|
0,418
|
40
|
|
3.Куколь
|
0,187
|
3,6
|
3,333
|
50
|
0
|
0,000
|
0,000
|
0,000
|
8,5
|
|
6.Горох Виктор. Мандор
|
0,682
|
7,8
|
0,73
|
-4,521
|
-50
|
100
|
0,682
|
0,690
|
6,896
|
85
|
|
8.Спорынья
|
0,042
|
6,24
|
1,18
|
-1,475
|
-37,09
|
87,09
|
0,037
|
0,037
|
0,372
|
6,75
|
Как видно из последней таблицы зерно соответствует 3 классу после
очистки, потери 3,66 %.
Расчет потерь зерна подсчитываем перемножением всех
чисел основной культуры из восьмых колонок каждой таблицы и делением
произведения на 100 в степени на единицу меньшей числа таблиц, и вычитают
полученное число из 100:
У=100-(98,61*98,61*99,02*99,61*99,05)/1000000000000=3,66%
2. Сушка зерна и подбор машин
2.1 Тепловой расчет сушилки
Расчет производят с целью определения часового расхода
воздуха и топлива.
В соответствии с заданной температурой и относительной
влажностью исходного воздуха при помощи I-d диаграммы определяем его энтальпию Н и влагосодержание d.
Параметры заносим в таблицу 11.
Для дальнейшего расчета в соответствии с номером
варианта берем исходные данные:
Влажность - W1 =17,3 %,
Температура исходного воздуха - t1 =25 С;
Относительная влажность исходного воздуха - φ1=55 %;
Относительная влажность сухого зерна - W2 =
14%;
Топливо - торф верховой,
Удельная теплота сгорания - QB = 22000
кДж/кг
Относительная влажность топлива - WT = 27
%,
Массовая доля водорода в сухом топливе - Нс
= 5,5 %
Таблица 11.- Показатели для расчета основных
параметров сушилки.
|
Параметры воздуха
|
Исходный воздух(1)
|
1 МВ
|
Проба(2)
|
До шахты(3)
|
После шахты(4))
|
2
|
|
J, кДж/кг
|
22
|
88
|
148
|
155
|
155
|
95
|
|
d, г/кг
|
12,5
|
2,52
|
15,02
|
15,02
|
42
|
27
|
|
t, оС
|
25
|
-
|
115
|
115
|
40
|
-
|
|
φ,
%
|
55
|
-
|
|
|
70
|
-
|
Точку 1 находим по температуре исходного воздуха t1=25
ºС и относительной
влажности его φ1 = 55 %. Принимаем влагосодержание d1=12,5 г/кг.
Рассчитаем количество влаги:
Р= Р1+Р2,
где Р1 - количество влаги которое выделяется за счет
относительной влажности топлива;
Р2 - количество влаги которое выделяется за
счет сгорания водорода топлива в кислороде воздуха.
P1=10·WT,
где WТ - относительная влажность топлива.
Р1 =10*27=270г
Р2 = Мн*9,
где Мн - масса водорода в 1 кг рабочего
топлива.
МН=10·НР,
где Нр - процентное содержание водорода в
рабочем (сухом) топливе.
Нр=Нс(100-WТ)/100=5,5*0,73=4,015%
МН=10*4,015=40,15г
Р2 =40,15*9=361,35 г
Р = 270+361,35=631,35г
Приращение влагосодержания воздуха:
Δ1d=P/MB ,
где МВ - масса воздуха, необходимая для сгорания 1 кг топлива
(500 кг).
Δ1d=631,35/250=2,52г/кг
Приращение энтальпии:
Δ1J =QBP/MB,
где OВР - удельная теплота
сгорания топлива.
Δ1J=22000/250=88 кДж/кг
Средняя влажность зерна в сушилке:
Wср=(W1+W2)/2
Wср=(17,3+14)/2=15,65 %
Рис. 1. Схема процесса нагрева воздуха и испарения
влаги
Точка 1 определяется по исходным данным.
В результате расчетов находим точку 2.
jравн=76%
jч= jравн-(5…8)%
jч=76-6=70%
Рассчитаем: D2I=Iз-I1
D2I=155-60=95кДж/кг
D2d=d4-d3=42-15,05=26,98г/кг
Пропускная способность сушилки для продовольственного зерна:
q0= qH·(Ki/KW) ,
где qH -номинальная пропускная способность
сушилки,20 т/ч;
Кw
= 0,9-коэффициент зависящий от начальной влажности (при W1 =17,3 );
К1 = 1-коэффициент зависящий от культуры
(для пшеницы).
q0=20*(1/0,706)=28,32 т/ч
Пропускная способность сушилки при сушке семян:
qс=0,6·q0
qс=0,6·28,32=16,99 т/ч
Часовой объём влаги:
Gвл= q0*((W1-W2)/(100- W2))*106
Gвл=28,32*((17,3-14)/(100-14))*1000000=1,08
г
Часовой расход воздуха:
Pв= Gвл/ Δ2d, кг/ч
Pв=1,08
/26,98=40092 кг/ч
Часовой
расход топлива:
GT=(A/ (QBP·ηт),
где ηт - коэффициент полезного действия (ηт=0,6);
А - часовой расход тепла.
A= Pв· Δ2I
A=40092*95=380874 кДж
Удельная теплота сгорания:
QBP=QB*((100-WT)/100)
QBP=22000*((100-27)/100)=16060 кДж/кг
η=0,6
Тогда подставив значения часовой расход топлива равен:
GT=(3808740/(16060*0,6))=395,2 кг/ч
Производительность вентилятора:
Qвент= Pв/(3600*ρв*2),м3/с
где ρв - плотность воздуха (ρв=1,2 кг/м3).
Qвент=40092/(3600*1,2*2)=4,64 м3/с
.2 Аэродинамический расчет сушилки
Цель расчета - определение суммарных потерь напора
воздуха в сушильном агрегате и воздуховодах для подбора вентилятора.
Рис. 2. Схема шахтной сушилки с точки зрения потерь
напора воздуха: 1-топка; 2,3,7,8-колено под углом 900;
4-внезапное расширение; 5-шахта; 6-внезапное сужение;
9-отсасывающий вентилятор.
Потери напора в сушилке:
h=h1+h2+h3, Па
где h1 - потери напора в топке h1=120…140Па,
принимаем h1=130Па;2 - потери напора в трубах.
h2= hq·Ψсумм, Па
где hд
- динамический
напор воздушного потока в трубах;
hq=VT2/1,6, Па
Vт
- скорость
воздушного потока в трубах;
VT= Qвент /Ft, м/с
Ft=(π·D2)/4, м2
D -
диаметр трубы, 0,4 м;
Ft=3,14·(0,4)2/4=0,1256 м2
Yсумм- суммарный коэффициент потерь
напора.
Ψсумм= Ψрасш+ Ψсуж+ Ψк·4
Yрасш=1
Yсуж=0,5
Yк=0,2
Ψсумм=1,0+0,5+0,2*4=2,3
VT=4,64/0,125=37,2 м/с
hq=37,22/1,6=864 Па
h2=864*2,3= 1987Па
h3- потери напора в зерне.
h3=K · Сзa · L, Па
где С3 - условная скорость воздуха в зерне,
м/с;
С3=5% от скорости воздуха при выделении
легких примесей.
С3=8,7·0,05=0,43 м/с;
k , α - коэффициенты для пшеницы,
k=5900, α=1,16;
L - длина пути воздуха зерне,
L=0,2м для сушилки СЗШ-16А.
h3=5900*0,4351.16*0,27=550,3 Па
h=130+1987+550,3=2667,5 Па
.3 Подбор вентилятора
Вентилятор подбираем по, h=H=2667,5 Па и QВ=4,64м3/с
По h определяем UВЫХ=16 м/с ;
Находим площадь трубопровода на выходе:
F= Qв/Uвых, м2
F=4,64/16=0,29м2
По таблице определяем ближайшее Fтабл=0,1940 м2 ,при котором D=0,63м, А=6,3 . Уточним скорость на
выходе:
Uвых= Qв/ Fтабл
Uвых=4,64/0,194=23,9 м/с
Находим рабочую точку характеристики по h и Uвых
η=0,52 и Uокр=120 м/с n=( Uокр*60)/( π*D), мин-1
n=60*120/3,14*0,63=3639,6 мин-1
Мощность на привод вентилятор:N=( n* Qв)/η, Вт
N=4,64*2667,5/0,52=23800 Вт
.4 Расчет производительности
комплекса
2.4.1 Расчет производительности
МПО-50
Производительность МПО-50 при отделении легких
примесей.
Площадь аспирационного канала:
F=а * в, м2
где а, в - соответственно размеры поперечного сечения
канала, а=0,25 м, в=1,8 м
F=0,25*1,8=0,45 м2
Расход воздуха для отделения легких примесей:
Gв= F*l, м3/с
Gв=0,45*8,7=3,91 м3/с
Количество легких примесей удаляемые с воздухом:
Gл= Gв*μ*ρв
μ - транспортирующая способность
воздуха; μ = 0,15...0,2 кг/кг, принимаем m=0,20 кг/кг;
ρв - плотность воздуха; ρв =1,2 кг/м3;
Gл=3,91*0,20*1,2=0,938 (кг/с)
Производительность воздушной очистки МПО-50.
QМПО-50=(360* Gл*τсм)/bл
,т/ч
где τсм - коэффициент использования времени
смены, tсм=0,8;
bл - коэффициент нагрузки; bл=100-q
где q - сумма 9ой колонки по таблице 9, q=92,25
bл=100-92,25=7,75
Qмпо-50=(360*0,938*0,8)/7,75=34,85 т/ч
2.4.2 Расчет производительности ЗВС-20А
Расчет производительности назначим по списку № 2 очистка от широких
примесей.
Производительность решета:
Qp=3,6*KP*qP*FP*tсм , т/ч
где Fр - площадь решета,м2,р
= 0,8*0,99=0,792 м2
qP - удельная нагрузка на решето;
qр=1,6…2,0 кг/(м2*с) - для решет верхнего яруса;
qр=0,5…0,6 кг/(м2*с) - для решет нижнего яруса;
KP - коэффициент от основной культуры,
для пшеницы Кр =1
Qверх.яр.=2*1*0,792*3,6=5,7 кг/м2с
Qниж.яр.=1*0,792*3,6=1,71 кг/м2с
Расчет производительности ЗВС-20А.
Q=QР.С. *2=Q” * 2
Q” - производительность решета нижнего яруса.
Q” =1,71 т/ч
Q =1,71 *2*2=6,84 кг/м2с
QЗВС-20А= 6,84 т/ч
.4.3 Расчет производительности триеров
Производительность триера:
QТ=2π·R·L· KT·qT·3,6·tсм , т/ч
где R - радиус триера, R=0,3 м;- длина триера, L=2,35
м;
KT - коэффициент от основной культуры,
КТ =1;
qT - удельная нагрузка на триер,
qT=0,15…0,17 кг/(м2·с) - для
выделения коротких примесей,
qT=0,16…0,18 кг/(м2·с) - для
выделения длинных примесей.
QТ дл.пр. =2·3,14·0,3·2,35·1·0,18·3,6·0,8=2,3 т/ч
QТ кор.пр. =2·3,14·0,3·2,35·1·0,17·3,6·0,8=2,17 т/ч
QЗАВ=QТ4, т/ч
QДЛЗАВ=2,3·4=9,2 т/ч
QКОРЗАВ=2,17·4=8,7 т/ч
2.4.4 Производительность комплекса КЗС-25
Производительность комплекса КЗС-25
QлегМПО-50=34,85 т/ч
QЗВС-20А=6,84т/ч
QДЛЗАВ=11,48 т/ч
QКОРЗАВ=10,08 т/ч
QСЗШ-16=20 т/ч
Принимаем QКЗС=Qmin=8,4 т/ч
Определим общее количество семян, которое поступит на
обработку
QС=(АСЕЗ*0,12)/D
где АСЕЗ =15000 т ( сезонный сбор зерна );c
- общий объем семян, которые нужно будет обработать за 1 час;
D =
500 часов - норматив времени загрузки ЗОМ (годовой);
,12 - коэффициент, 12% от сбора зерно засыпаемого на смене.
QС=(15000*0,12)/500=3,6 т
Количество комплексов
n= QС/ QКЗС
n=3,6/8,4=0,42
Принимаем 1 комплекс КЗС-25Ш.
3. Анализ режимов колебаний решета
Перемещение любой точки поверхности решета определяется
уравнением:
X=R1·sin Wt +R2· sin2(
Wt+j),
где х - перемещение решета;1 - амплитуда
колебаний решета;- угловая скорость вращения кривошипа первой гармоники;2
- амплитуда колебаний решета с частотой 2-ой гармоники;
j - угол сдвига фаз.
.1 Анализ графиков и выбор
оптимального режима
Оптимальным считается такой режим бигармонических
колебаний (из числа расчетных) при котором производительность решета
максимальная и выше чем при решете серийных машин.
Для анализа режимов строим графики по данным таблицы
12.
Таблица 13.- Исходные данные для построения графиков
колебаний решета.
|
47,12
|
-
|
155,5
|
485,5
|
1,397
|
|
ω
|
φ
|
V
|
Vmax
|
H
|
|
0
|
125,7
|
391,7
|
1,54
|
|
22,5
|
111,8
|
365
|
1,677
|
|
45
|
102,2
|
368,9
|
1,73
|
|
70
|
67,5
|
99,7
|
385,9
|
1,658
|
|
90
|
109,6
|
411,2
|
1,46
|
|
112,5
|
129,8
|
440
|
1,283
|
|
135
|
142,9
|
451,5
|
1,266
|
|
157,5
|
139,8
|
432,3
|
1,377
|
|
180
|
125,7
|
391,7
|
1,54
|
|
0
|
146,8
|
456,4
|
1,583
|
|
22,5
|
134,4
|
435,5
|
1,681
|
|
45
|
128,7
|
449,1
|
1,682
|
|
67,5
|
132,1
|
476,4
|
1,573
|
|
80
|
90
|
146,2
|
508
|
1,403
|
|
112,5
|
166,6
|
536,4
|
1,285
|
|
135
|
174,1
|
537,6
|
|
157,5
|
162,8
|
502,5
|
1,436
|
|
180
|
146,8
|
456,4
|
1,583
|
|
0
|
165,6
|
514,7
|
1,607
|
|
22,5
|
154,9
|
499,6
|
1,678
|
|
45
|
152,7
|
521,6
|
1,647
|
|
67,5
|
160,7
|
557,2
|
1,521
|
|
90
|
90
|
179
|
594,8
|
1,366
|
|
112,5
|
197,8
|
620,1
|
1,285
|
|
135
|
197,9
|
608,6
|
1,338
|
|
157,5
|
182,5
|
563,6
|
1,473
|
|
180
|
165,6
|
514,7
|
1,607
|
|
0
|
183,5
|
569,9
|
1,621
|
|
22,5
|
174,4
|
560,1
|
1,671
|
|
45
|
175,1
|
589,6
|
1,62
|
|
67,5
|
186,7
|
631,9
|
1,489
|
|
90
|
207,8
|
673,4
|
1,345
|
|
112,5
|
224,1
|
694,4
|
1,292
|
|
100
|
135
|
218,2
|
672,2
|
1,363
|
|
157,5
|
200,2
|
620,3
|
1,498
|
|
180
|
183,5
|
569,9
|
1,621
|
Графики зависимостей VMAX=f(j)
используют для выявления режимов и углов сдвига фаз, при которых максимальная
скорость движения зерна вниз по решету будет меньше предельной. На графике
проводим штриховую горизонтальную линию, соответствующую величине предельной
скорости и по каждой из четырех кривых определяем диапазон углов сдвига фаз,
при которых максимальная скорость вниз по решету меньше предельной (рис. 5).
Средняя скорость результирующего движения зерна по решету прямо пропорциональна
производительности решета. На графиках V= f(j)
проводим штриховую линию, соответствующую величине средней скорости при режиме
серийных машин, затем определяем при каких углах сдвига фаз средняя скорость
выше, чем на серийных ЗОМ (рис. 6).
Для анализа графиков H= f(j)
проводим горизонтальную линию, соответствующую величине H при режиме серийных ЗОМ и
определяем, при каких углах сдвига фаз H будет больше чем на серийных ЗОМ (рис.
7). Дальнейший анализ проводим табличным способом.
Диапазоны углов сдвига фаз на первом этапе разбиваем
на участки по 5... 100 и на границах этих участков определяем
величины H и V, которые заносим в таблицу 13.
Используя зависимость удельной нагрузки (Gj) от коэффициента использования длины
решета, для каждого из значений (H) определяем удельную нагрузку на решето.
При известной ширине решета и величине отношений
скоростей (V) рассчитываем производительность решета.
В нулевой строке проводим результаты расчетов для
режима серийных ЗОМ и выявляем параметры колебаний решета, при которых его
производительность максимальна.
Таблица 13.- Диапазон углов сдвига фаз.
|
Анализ графиков VMAX=f(j)
|
Анализ графиков V= f(j)
|
Анализ графиков H= f(j)
|
Общий диапазон
|
|
ω,с-1
|
Диапазон углов, где VMAX< Vпр (0,5093 м/с)
|
ω,с-1
|
Диапазон углов, где Vр.гарм<
Vр (0,1707 м/с)
|
ω,с-1
|
Диапазон углов, где H<
H (1,349 м/с)
|
|
|
45
|
0…180
|
45
|
-
|
45
|
0…97, 160…180
|
-
|
|
50
|
0…75, 165…180
|
50
|
100…165
|
50
|
0…90, 150…180
|
-
|
|
55
|
0…45
|
55
|
0…20, 60…180
|
55
|
0…85, 145…180
|
0…20
|
|
60
|
0…180
|
60
|
0…180
|
60
|
0…80, 140…180
|
0…40, 140…180.
|
Таблица 14.- К анализу режимов колебаний решета.
|
j
|
ω
|
φ
|
H
|
Gj, мм/с
|
Vj
|
Vj/Vo
|
Q
|
|
0
|
47,12
|
-
|
1,397
|
2,04
|
155,5
|
1
|
2,02
|
|
1
|
55
|
0
|
1,61
|
2,15
|
165
|
1,06
|
2,25
|
|
2
|
|
10
|
1,64
|
2,16
|
160
|
1,03
|
2,20
|
|
3
|
|
20
|
1,675
|
2,22
|
155
|
1,00
|
2,19
|
|
4
|
60
|
10
|
1,62
|
1,185
|
179
|
1,15
|
1,35
|
|
5
|
|
20
|
1,67
|
2,2
|
175
|
1,13
|
2,45
|
|
6
|
|
30
|
1,663
|
2,2
|
174
|
1,12
|
2,44
|
|
7
|
|
40
|
1,64
|
2,195
|
174
|
1,12
|
2,43
|
|
8
|
|
50
|
1,6
|
2,16
|
177
|
1,14
|
2,43
|
|
9
|
|
60
|
1,54
|
2,13
|
182
|
1,17
|
2,47
|
|
10
|
|
70
|
1,47
|
2,09
|
189
|
1,22
|
2,51
|
|
11
|
|
80
|
1,4
|
2,03
|
198
|
1,27
|
2,56
|
|
12
|
|
140
|
1,39
|
2,015
|
215
|
1,38
|
2,76
|
|
13
|
|
150
|
1,46
|
2,08
|
215
|
1,38
|
2,76
|
|
14
|
|
160
|
1,52
|
2,11
|
200
|
1,28
|
2,67
|
|
15
|
|
170
|
1,56
|
2,14
|
190
|
1,22
|
2,58
|
|
16
|
|
180
|
1,62
|
2,17
|
183
|
1,18
|
2,53
|
Расчетная производительность решета:
Q=Gi·B·(VJ / V0) ,
где В - ширина решета В = 0,99 м.
Данные по расчету и результаты расчета в таблице.
Принимаем Qo=2,02 т/ч , Qопт=2,76 т/ч.
.2 Расчет экономической эффективности
Рассчитываем годовой экономический эффект
использования оптимального режима бигармонических колебаний решета на одной из
зерноочистительных машин. Для этого рассчитываем себестоимость обработки тонны
зерна на машине с оптимальным и серийным режимами колебаний решета.
Целесообразность использования режимов бигармонических
колебаний решето определяем расчетом срока окупаемости затрат на реконструкцию
зерноочистительной машины.
Годовой экономический эффект:
Э= (C0-Cопт) ·Гопт, руб/год
где C0, Cопт - себестоимость обработки 1 тонны зерна соответственно на
серийном и оптимальном режимах;
Гопт - годовой объем обработки зерна на
машине с оптимальным режимом.
Гопт=Qопт·D·4 ,
где D - норматив годовой загрузки машины (D=500 ч.).
Гопт=4·500·2,76=5520 т
Го= 4·500·2,02=4040 т
Себестоимость обработки 1тонны зерна:
С=S+M+K+Y,
где S - удельная заработная плата, руб/т;
М - удельные отчисления на реновацию;
К - удельные отчисления на ТО, ТР;
У - удельный расход на потребляемую электроэнергию.
S0=L/4·Qо,
где L -
сумма выплаты рабочим за 1 час работы на комплексе, L=200 руб/ч.
S0=200/4·2,02=24,75 руб/т
опт=L/4·Qопт
Sопт=200/4·2,76=18,11 руб/т
M0=(Ц·Н)/Г0, руб/т
где Ц - оптовая цена комплекса, Ц=3000000 руб.;
Н - коэффициент отчислений на реновацию Н = 0,125.
Мо=(3000000·0,125)/4040=92,82 руб/т
Mопт=(( Ц+Δ Ц)·Н)/ Гопт,
где ΔЦ - затраты на реновацию. ΔЦ =25000 руб.
Mопт=((3000000+25000)·0,125)/5520=68,5
руб/т
К0=(Ц·Р)/Го,
где Р - коэффициент среднегодовых отчислений на ТО и ТР, Р=0,12.
К0=(3000000·0,12)/4040=89,1 руб
Копт=((Ц+ΔЦ)· Р)/Гопт
Копт=((3000000+25000)·0,12)/5520=65,76 руб
Y0=(N·Д·C3)/Г0 , руб/т
где N - установленная мощность на комплексе, N=65 кВт;
Сэ - стоимость 1кВт·ч, Сэ =2,6 руб/кВт·ч.
Y0=(65·260·2,6)/4040=10,86 руб/т
Yопт=(65·260·2,6)/5520=7,96 руб/т
С0=24,75+92,82+89,1+10,86=217,53 руб/т
Cопт=18,11+68,5+65,79+7,96=160,33 руб/т
Э=(217,53-160,33)·5520=315744 руб/т
Срок окупаемости затрат на реконструкцию оборудования:
t=ΔЦ/Э
t=25000/315744=0,079
Так как срок окупаемости меньше допустимого t< [t] =4гда, то, значит, данный режим бигармонических
колебаний экономически выгоден, его можно рекомендовать к внедрению.
Библиографический список
Кленин Н.И. Сельскохозяйственные и мелиоративные
машины / Н.И. Кленин, В.А. Сакун.-М.: Колос,1994.- 751.
Летошцев М.Н. Сельскохозяйственные машины.-М.-Л.:
Сельхозгиз, 1955/-764 c.
Птицын С.Д. Зерносушилки. М.: Машиностроение,
1962.-274 с.
Приложение
Рис. 8. Схема технологического процесса очистки семян:
1-легкие примеси; 2-широкие примеси; 3- короткие примеси; 4-очищенное зерно; 5-
длинные примеси