Синдром гибридного дисгенеза у Drosophila melanogaster
Завдання
Розрахувати
і спроектувати випарну установку з двох корпусів для концентрування розчину
сульфату калію з початковою масовою концентрацією хп=5% до кінцевої
хк=15% при наступних умовах:
1) кількість
розчину, Gп = 1,6 кг/с;
2) нагрівання
здійснюється насиченою водяною парою. Тиск гріючої пари 1-ого корпусу pг.п
= 0,35МПа;
) тиск
в паровому просторі випарного апарату (барометричному конденсаторі) pб.к =
0.02 МПа;
) взаємний
напрям пари та розчину - прямоток;
) випарний
апарат - з природньою циркуляцією, співвісною гріючою камерою і солевідділенням
типу 1, виконання 3;
6)
температура розчину, який поступає в установку t0=30°C;
)
розчин поступає в перший корпус,нагрітий до температури кипіння;
)
початкова температура охолоджуючої води, яка поступає в барометричний
конденсатор tв.п. = 20°C;
)
температура суміші охолоджуваної води і конденсату, яка виходить з
барометричного конденсатора, нижче температури конденсації на Δt=9°С;
)
відбір екстра пари не проводиться.
Зміст
Вступ
1. Конструкція
апарату та його робота
2. Опис
технологічної схеми
. Основні
властивості робочих середовищ
. Технологічний
розрахунок
4.1 Розрахунок
концентрацій випарюваного розчину по корпусах
4.2 Визначення
температур кипіння розчину по корпусах
4.3 Визначення
теплових навантажень по корпусах
4.4 Визначення
коефіцієнтів теплопередачі
5.
Конструктивний розрахунок
5.1 Число
труб граючої камери
5.2 Внутрішній
діаметр обичайки гріючої камери Dк
5.3 Розрахунок
діаметра обичайки сепаратора
.4 Висота
парового простору
.5 Діаметр
вхідної труби
.6 Розрахунок
діаметрів штуцерів
.7 Визначення
товщини теплової ізоляції
6.
Розрахунок допоміжного обладнання
6.1 Розрахунок
барометричного конденсатора суміші
6.2 Розрахунок
висоти барометричної труби
6.3 Розрахунок
продуктивності вакуум-насосу
7.
Заходи для охорони довкілля
Висновки
Список
використаної літератури
Вступ
Випаровування - це процес
концентрації розчинів твердих нелетких речовин шляхом часткового випаровування
розчинника при кипінні рідини.
Випаровування застосовують для
концентрації розчинів нелетких речовин, виділення з розчинів чистого розчинника
(дистиляція) і кристалізації розчинених речовин, тобто нелетких речовин в
твердому вигляді. При випаровуванні зазвичай здійснюється часткове видалення
розчинника зі всього об'єму розчину при його температурі кипіння. У ряді
випадків випаруваний розчин піддають подальшій кристалізації у випарних
апаратах, спеціально пристосованих для цих цілей.
Для нагрівання випаровуваних
розчинів до кипіння використовують топкові гази, електрообігрів і високотемпературні
теплоносії, але найбільше застосування знаходить водяна пара, що
характеризується високою питомою теплотою конденсації і високим коефіцієнтом
тепловіддачі.
Процес випаровування проводитися у
випарних апаратах. За принципом роботи випарні апарати розділяються на
періодичні і такі, що безперервно діють.
Періодичне випаровування
застосовується при малій продуктивності установки або для отримання високих
концентрацій. При цьому розчин, що подається в апарат, випаровується до
необхідної концентрації, зливається і апарат завантажується новою порцією
початкового розчину.
У установках безперервної дії
початковий розчин безперервно подається в апарат, а упарений розчин безперервно
виводиться з нього.
Випаровування може проводитися під
вакуумом, надмірним тиском і під атмосферним тиском. При випаровуванні під
вакуумом існують декілька переваг:
·
Пониження температури кипіння р-ра;
·
Збільшується рушійна сила процесу;
·
Можливо використання гріючої пари
нижчого тиску;
Недоліки випаровування під вакуумом:
•Вакуумна випарна установка повинна
містити додаткове устаткування: барометричний конденсатор, вакуум,
вакуумзбірники.
Випаровування при атмосферному
тиску: вторинний викидається в атмосферу, але найменш економічний спосіб
випаровування.
При випаровуванні під підвищеним
тиском температура р-ну підвищується (підвищується температура вторинної парі,
а його використовують для інших цілей.
У цьому курсовому проекті
використовується випарна установка, що працює під вакуумом. Для створення
вакууму у випарній установці зазвичай застосовують конденсатори змішення з
барометричною трубою. Як агент, що охолоджує, використовують воду, яка
подаються найчастіше при температурі середовища, що охолоджує (біля 20°С).
Суміш води, що охолоджує і конденсату виливається з конденсатора по
барометричній трубі. Для підтримки постійності вакууму в системі з конденсатора
за допомогою вакууму відкачують гази, що не конденсуються.
У хімічній промисловості в основному
застосовують випарні установки, що безперервно діють, з високою продуктивністю
за рахунок великої поверхні нагріву (до 2500 м2 в одиничному апараті).
Найбільше застосування в хімічній
технології знайшли випарні апарати поверхневого типу, особливо вертикальні
трубчасті випарні апарати з паровим обігрівом безперервної дії.
Від режиму покладу руху киплячої
рідини у випарних апаратах їх розділяють на апарати з вільною, природною і
примусовою циркуляцією, плівкові випарні апарати, до яких відносяться і апарати
роторного типу.
В цій курсовій роботі
використовується випарного апарата з природною циркуляцією і співвісною гріючою
камерою (тип 1, виконання 1).
Різноманітні конструкції випарних
апаратів вживаних в промисловості, можна класифікувати за типом поверхні
нагріву (парові сорочки, змійовики, трубчатки різних видів), по її розташуванню
в просторі (апарати з горизонтальною, вертикальною іноді з похилою нагрівальною
камерою), по роду теплоносія (водяна пара, високотемпературні теплоносії,
електричний струм і ін.), а також поклад від того, чи рухається теплоносій
зовні або усередині труб нагрівальної камери. Проте істотнішою ознакою
класифікації випарних апаратів, що характеризує інтенсивність їх дії, слід
рахувати вигляд і кратність циркуляції розчину.
Розрізняють випарні апарати з
неорганізованою або вільною, направленою природною і примусовою циркуляцією.
Випарні апарати ділять також на
апарати прямоточні, в яких випаровування розчину відбувається за одного нього
прохід через апарат без циркуляції розчину і апарати, що працюють з
багатократною циркуляцією розчину.
Поклад від організації процесу
розрізняють періодично і апарати, що безперервно діють.
Сфери застосування випарних апаратів
Конструкція випарного апарату
повинна задовольняти ряд загальних вимог, до яких належать: висока
продуктивність і інтенсивність теплопередачі при можливо менших об'ємі апарату
і витраті металу на його виготовлення, простота прибудую, надійність в
експлуатації, легкість очищення поверхні теплообміну, зручність огляду, ремонту
і заміни окремих частин.
Разом з тим вибір конструкції і
матеріалу випарного апарату визначається у шкірному конкретному випадку
физико-хімічними властивостями випаровуваного розчину (в'язкість, температурна
депресія, кристализованість, термічна стійкість, хімічна агресивність і ін.)
Як вказувалося, високі коефіцієнти
теплопередачі і великі продуктивності досягаються шляхом збільшення швидкості
циркуляції розчину. Проте одночасно зростає витрата енергії на випаровування і
зменшується корисна різниця температур, оскільки при постійній температурі
гріючої парі із зростанням гідравлічного опору збільшується температура кипіння
розчину. Суперечливий вплив цих чинників повинний враховуватися при
техніко-економічному порівнянні апаратів і виборі оптимальної конструкції.
Нижче приводяться області
переважного використання випарних апаратів різних типів.
Для випаровування розчинів невеликої
в'язкості ~8-10"3 Па-с, без утворення кристалів найчастіше
використовуються вертикальні випарні апарати з багатократною природною
циркуляцією. З них найбільш ефективні
апарати з виносною нагрівальною
камерою і з виносними циркуляційними трубами, що не обігріваються.
Випаровування розчинів великої
в'язкості, що досягає порядку ~0.1 Па-с, що не кристалізуються, проводять в
апаратах з примусовою циркуляцією, рідше - в прямоточних апаратах з падаючою
плівкою або в роторних прямоточних апаратах.
У роторних прямоточних апаратах, як
наголошувалося, забезпечуються сприятливі умови для випаровування розчинів,
чутливих до підвищених температур.
Апарати з примусовою циркуляцією
широко застосовуються для випаровування розчинів, що кристалізуються або
в'язких. Подібні розчини можуть ефективно випаровуватися і у апаратах з
винесеною зоною кипіння, що працюють при природній циркуляції. Ці апарати при
випаровуванні розчинів, що кристалізуються, можуть конкурувати з випарними
апаратами з примусовою циркуляцією.
Для сильно пінистих розчинів
рекомендується застосовувати апарати з плівкою, що піднімається.
1. Конструкція апарату та його
робота
Випарний трубчастий апарат з
природною циркуляцією.
Апарат складається з теплообмінного
пристрою - нагрівальної (гріє)камери 1 і сепаратора 2. Камера та сепаратор
можуть бути об'єднані в одному апараті (див. дод. 1) або камера може бути
винесена і сполучена з сепаратором трубами Камера обігрівається зазвичай
водяною насиченою парою, що надходить в її міжтрубний простір. Конденсат
відводять знизу камери.
Піднімаючись по трубах, випарює
розчин, нагрівається і кипить з утворенням вторинної пари. Відділення пари від
рідини відбувається в сепараторі 2. Звільнена від бризок і крапель вторинна пара
видаляється в верхній частині сепаратора.
Частина рідини опускається по
циркуляційної трубі 3 під нижню трубу гріючої камери. Внаслідок різниці
щільності розчину в трубах та паро рідинної емульсії в трубах 3 рідина циркулює
по замкнутому контуру, упарений розчин віддаляється через штуцер в днищі
апарату.
Якщо випарювання проводиться під
вакуумом, то вторинна пара відсмоктується в конденсатор пари, з'єднаний з
вакуум-насосом. Упарений розчин видаляється з конічного днища апарату.
2. Опис технологічної схеми
Вихідний розбавлений розчин з
проміжної ємності 1 центровим насосом 2 подається в теплообмінник 3 (де
підігрівається до температури, близької до температури кипіння), а потім - в
перший корпус 4 випарної установки. Початковий нагрів розчину підвищує
інтенсивність кипіння в випарному апараті 4.
Перший корпус обігрівається свіжою
водяною парою. Вторинна пара, яка утворюється при концентруванні розчину в
першому корпусі направляється в якості граючої в другий корпус 5. Сюди ж
поступає частково сконцентрований розчин з першого корпусу.
Самостійне перетікання розчину і
вторинної пари в наступні корпуси можливий завдяки загальному перепаду тисків,
що з’являється в результаті утворення вакууму конденсацією вторинної пари
останнього корпусу в барометричному конденсаторі суміші 6 (де заданий тиск
підтримується подачею охолодженої води і відсосом неконденсуючих газів
вакуум-насосом 7). Суміш охолодженої води і конденсату виводиться з
конденсатора за допомогою барометричної труби з гідрозатвором 8. Утворений в другому
корпусі концентрований розчин центровим насосом 9 подається в проміжну ємність
випареного розчину 10.
Конденсат граючої пари із випарних
апаратів виводиться з допомогою конденсат відводів 11.
3. Основні властивості робочих
середовищ
Сульфат калію K2SO4
- безбарвна кристалічна речовина.
Густина
<#"55932.files/image001.gif">
Для K2SO4 шкала
А, Х=15
Для K2SO4
Х=39 (в інтервалі температур від 0 до +250С)
Для K2SO4
Х=4, Y=41
Вода H2O- головна й найпоширеніша
хімічна сполука на нашій планеті - обов'язковий компонент всіх живих організмів
(що становить до 99% їхньої маси), головний компонент середовища їхнього
перебування, а також більшості продуктів харчування.
Найбільші запаси втримуються в
гідросфері - 96% у світовому океані, інші запаси води - це ріки, озера,
льодовики, підземні й ґрунтові води; 3% води - прісні. Води є найбільш вивченою
сполукою; її властивості використані при визначенні одиниць виміру фізичних
величин (щільність, температура, теплота, теплоємність).
Є гарним сильнополярним розчинником.
У природних умовах завжди містить розчинені речовини (солі, гази).
Вода - єдина хімічна сполука, що у
природі може перебувати в рідкому, твердому й газоподібному станах одночасно.
Чиста вода - прозора, безбарвна рідина без заходу й смаку. Багато хто її
фізичні властивості і їхні зміни мають аномальний характер.
Вода володіє рядом незвичайних
особливостей:
При таненні льоду його щільність
збільшується (з 0,9 до 1 г/см?), коли майже у всіх інших речовин при плавленні
щільність зменшується.
Висока теплоємність рідкої води.
Високий поверхневий натяг.
Температура замерзання - 0
; температура кипіння - 100
; питома теплота паротворення 2250 КДж/кг.
4. Технологічний розрахунок
Мета технологічного розрахунку -
визначення витрат гріючої пари, необхідної поверхні теплообміну, підбір
стандартизованих випарників і визначення їх основних геометричних розмірів
Алгоритм розрахунку:
витрати гріючої пари визначаємо
визначаємо згідно рівняння (3.11)[3]
г.п
= (Wiв.п.+Gкcкtкип- Gпcвt1)/(rг.п
· 0.95)
необхідну поверхню теплообміну
визначаємо за основним рівнянням теплопередачі F=Q/(K Δtкор.)
підбір стандартизованих випарників і
визначення їх основних геометричних розмірів виконуємо по ГОСТ 11971-81
(додаток 3.2 [3])
Для визначення теплового
навантаження Q, коефіцієнтів теплопередачі К і корисних різниць температур ∆tкор
необхідно знати розприділення випарюваної води, концентрації розчину і їх
температур кипіння по корпусах установки. Дані величини надходять методом
послідовних наближень.
Розглянемо перше наближення.
Визначаємо згідно рівняння
матеріального балансу (3.4) [3] продуктивність установки по випарюваній воді W.
= Gк-Gп= Gп(1-
xп/xк)
де Gп - масова витрата
вихідного розчину, кг/с;к - масова витрата концентрованого розчину,
кг/с;- масова витрата випарюваної води, кг/с;п, xк -
масова концентрація розчиненої речовини,%.
Загальна кількість випареної води в
випарній установці:
W = 1,6(1-5/15) =1,067 кг/с.
.1 Розрахунок концентрацій
випарюваного розчину по корпусах
Розподіл концентрацій розчину по
корпусах установки залежить від співвідношення навантаження по випарюваній воді
в кожному корпусі. В першому наближенні на основі практичних даних [1, 2, ]
приймають, що продуктивність по випарюваній воді розподіляється по корпусах
відповідно співвідношення: W1:W2 = 1,0: 1,17
Кількість випареної води у кожному
корпусі згідно (3.25) [3]:
Тоді кількість випареної
води:
в 1-у корпусі W1 =
1,067∙1,0/(1,0+1,17) = 0,49 кг/с;
в 2-у корпусі W2 =
1,067∙1,17/2,17 = 0,58 кг/с;
Концентрація розчину, який
поступає в кожний наступний корпус дорівнює концентрації випареного розчину в
попередньому корпусі.
Концентрація розчину, який
виходить з кожного корпусу, (3.26) [3]:
для 1-го корпусу
для 2-го корпусу
,
де х1, х2 -
Концентрація розчину в 1-ому та 2-ому корпусі відповідно;1, W2 -
кількість випареної води в 1-ому та 2-ому корпусі відповідно;
хп,Gп -
початкові концентрація та масова витрата.
Концентрація розчинів в корпусах:
в 1-у корпусі х1 = 1,6∙5/(1,6-0,49)
= 7,21%;
в 2-у корпусі х2 = 1,6∙5/(1,6-0,49-0,58)
= 15,09%;
Концентрація розчину в останньому
корпусі відповідає кінцевій концентрації випареного розчину, яка задана в
завданні.
4.2 Визначення температур кипіння
розчину по корпусах
Для визначення температур кипіння
розчину по корпусах необхідно знати температури вторинної пари по корпусах,
тиск вторинної пари в кожному корпусі та температурні втрати по корпусах від
гідравлічної, гідростатичної і температурної депресії.
4.2.1 Розподіл тисків по корпусах
установки
Загальний перепад тисків в установці
по (3.27) [3]:
Δ
де рг.п і рб.к.
- тиск гріючої пари і тиск вторинної пари в барометричному конденсаторі,
які задані в завданні.
∆pзаг =
0,35-0,02=0,33МПа.
В першому наближенні
розподілимо загальний перепад тисків між корпусами порівну,(3.28) [3]:
∆p = 0,33/2 = 0,165
МПа.
де і - кількість корпусів
Тоді абсолютний тиск в
кожному корпусі для двохкорпусної установки, (3.29) [3]:
для 1-го корпусу
для 2-го корпусу
Абсолютні тиски в корпусах будуть
дорівнювати:
1
= 0,35-0,165=0,185 МПа;2 = 0,185-0,165=0,02 МПа;
що відповідає завданню.
Для кожного корпусу за тиском пари
визначають її температуру Тп,°С. і питому ентальпію і,
кДж/кг (табл. LVII) [1].
Тиск, МПа Температура,°С Етальпія,
кДж/кг
,35 137,9 2736,5
,185 116,3 2709
,02 59,7 2607
.2.2 Проводимо розрахунок
температурних втрат по корпусах від гідравлічної, гідростатичної і
температурної депресії та визначаємо температуру кипіння розчину по корпусах
Визначення гідравлічної депресії
На основі практичних рекомендацій
приймаємо гідравлічну депресію для кожного корпуса ∆′′′
= 1 град.
Визначаємо температури вторинної
пари по корпусах за (3.30)[3]:
в.п.(і)=
Тп(і) +Δ'''(і)
За температурою вторинної пари знаходимо
її тиск рв.п., МПа і питому теплоту пароутворення rв.п.,
кДж/кг (табл. LVII, [1]).
Температура,°С Тиск, МПа Теплота
пароутворення, кДж/кг
в. п.1=
116,3+1=117,3°С 0,182 2214,3в. п.2 = 59,7+1=60,7°С 0,021 2355,6
Сума гідравлічних депресій по
корпусах, (3.31) [3]:
ΣΔ'''=
Δ1'''
+ Δ2'''
∑ ∆′′′
= 1∙2 = 2.
.2.3 Визначення гідростатичної
депресії
Гідростатичну депресію Δ''
визначають згідно залежності (3.8)[3], для кожного корпусу окремо,
Δ''=tв(і)-tв.п
(і),
де tв(і)- температура
кипіння води в середньому шарі кип’ятильних труб, а tв.п (і) -
температура вторинної пари визначена в п.2.2.
Оскільки, при визначенні орієнтовної
поверхні теплопередачі Fор згідно (3.7)[3], отримують різні значення
Fор для кожного корпусу, то, виходячи з умови рівності поверхонь нагрівання
корпусів, необхідно підібрати один випарний апарат згідно ГОСТ 11987-81 з
поверхнею теплопередачі, яка відповідає розрахованій Fор для кожного
корпусу.
В першому наближенні, тиск в
середньому шарі кип’ятильних труб Рсер визначається за рівнянням
(3.6.а)[3]:
Рсер = рвтор.пари
+ (ρр·g·Hопт
/2), де згідно (3.6.б)[3] Нопт =
Н[0.26+0.0014(ρр-
ρв)].
оптимальний рівень розчину в трубах
випарного апарату, м; ρр
і ρв
- густина розчину (при кінцевій концентрації в апараті) і води при температурі
кипіння, кг/м3; (оскільки, температури кипіння наперед невідомі, то
з достатньою для технічних розрахунків точністю приймають густини при
температурі вторинної пари в апараті);
Для вибору висоти труби Н необхідно
орієнтовно визначити площу поверхні теплопередачі випарного апарата Fор
по (3.7) [3] і вибрати параметри апарата згідно ГОСТ 11987 - 81.
Приймаємо для апаратів з природною
циркуляцією q = 30000 Вт/мІ.
Тоді по корпусах (орієнтовно),
згідно (3.7)[3]:
ор
= Q/q = (W·r)/ q
де Q - теплове навантаження
випарного апарату, Вт; r - теплота пароутворення вторинної пари, Дж/кг
(визначається за тиском вторинної пари по таблицях властивостей насиченої
водяної пари (табл. LVII) [1]); q- питоме теплове навантаження апарату Вт/м2
1
= 0,49∙2214,3∙10і/30000 = 36,2 мІ;2 = 0,58∙2355,6∙10і/30000
= 45,5 мІ;
Приймаємо за ГОСТ 11987 - 81
випарний апарат з площею поверхні теплопередачі F = 50мІ, довжина труб 6 м,
діаметром труб 38Х2мм.
Таким чином, тиск в середньому шарі
кип’ятильних труб корпусів, згідно (3.6.а) і (3.6.б)[3]:
1сер
= 0,182 + 0,5∙6[0,26 + 0,0014(1058,96 - 945,16)]∙9,81∙1058,96∙10-6
=
,1951 МПа;2сер = 0,021 +
0,5∙5[0,26 + 0,0014(1097,35 - 982,65)]∙9,81∙1097,35∙10-6
=
,03458 МПа;
Даним тискам відповідають наступні
температури кипіння [1]:
Тиск, МПа Температура кипіння,°С
Теплота пароутворення, кДж/кг
1сер=0,1951
tв.1 = 118,8 22092сер=0,03458 tв.2 = 72,1 2328
Визначаємо гідростатичну депресію по
корпусах:
∆1′′ =
118,8-117,3=1,5°C;
∆2′′ =
72,1-60,7=11,4°C;
Сума гідростатичних депресій по
корпусах, (3.32):
ΣΔ''=
Δ1''
+ Δ2''
∑ ∆′′ =
1,5+11,4=12,9°C.
4.2.4 Визначення температурної
депресії
Температурна депресія по корпусах
при атмосферному тиску і даній температурі визначається за даними табл. ХХХVI
[1]:
Корпус Концентрація NaOH,%
Температура кипіння,°С Депресія,°С
1 7,21 102,4 2,4
2 15 105,3 5,3
Температурні депресії по корпусах з
врахуванням тисків в них:
Δ'=16.2
Т2 Δ'атм
/r (3.9)
Т - температура парів в
середньому шарі кип’ятильних труб, яка дорівнює (tв +273)К;- теплота
випаровування води при даному тиску (Рсер), Дж/кг;
Δ'атм
- температурна депресія при атмосферному тиску, К
∆1′ =
16,2(273 +118,8)І∙2,4/(2209∙10і) = 2,7°C;
∆2′ =
16,2(273 +72,1)І∙5,3 /(2328∙10і) = 4,4°C;
Сума температурних депресій по
корпусах, (3.33)[3]:
ΣΔ'=
Δ1'
+ Δ2'
∑ ∆′ =
2,7+4,4=7,1°C.
Температура кипіння розчинів по
корпусах, (3.34)[3]:
для 1-го корпусу tкип1= Тп.(1)+
Δ1'
+ Δ1''
+ Δ1'''
для 2-го корпусу tкип2= Тп.(2)+
Δ2'
+ Δ2''
+ Δ2'''
для 1-го корпусу tкип1 =
116,3+2.7+1,5+1,0=121,5°C;
для 2-го корпусу tкип2 =
59,7+7,1+11,4+1,0=79,2°C;
4.2.5 Визначення корисних різниць
температур
Загальна корисна різниця температур
для всієї установки, (3.35)[3]:
Δtзагкор.
= Тг.п. - tб.к - Σ Δ = Тг.п.
- tб.к - (Σ Δ'
+ Σ Δ''
+ Σ Δ''')
∆t загкор.
= 137,9-59,7-7,1-12,9-2=56,2°С
Корисні різниці температур по
корпусах дорівнюють, (3.36) [3]:
для 1-го корпусу Δtкор1
= Тг.п.- tкип (1).
для 2-го корпусу Δtкор2
= Тг.п.(1)-tкип (2)
∆tкор1 =
137,9-121,5=16,4°С;
∆tкор2 =
116,3-79,2=37,1°С;
4.3 Визначення теплових навантажень
по корпусах.
Вихідні дані для розрахунку
Корпус 1 2
Кількість вихідного розчину, кг/с
1,6 1,1
Концентрація вихідного розчину,% 5
7,21
Температура вихідного розчину,°С 130
121,5
Температура випареного розчину,°С
121,5 79,2
Теплоємність вихідного розчину,
Дж/(кг∙К) 4079 4075
Ентальпія вторинної пари, Дж/кг 2709∙10і
2607∙10і
Теплота пароутворення граючої пари,
Дж/кг 2156∙10і 2213∙10і
Складаємо теплові баланси по
корпусах, згідно (3.38)[3]. Витрату гріючої пари в 1-му корпусі, продуктивність
кожного корпуса по випареній воді і теплові навантаження по корпусах визначаємо
шляхом спільного вирішення системи рівнянь теплових балансів по корпусах і
рівняння балансу по воді для всієї установки:
де 1,05 і 1,03 коефіцієнти,
які враховують втрати тепла в навколишнє середовище.г.п. - масова
витрата гріючої пари, кг/с;г.п - питома теплота конденсації гріючої
пари,п. - масова витрата вихідного розчину, кг/с;п -
питома теплоємність вихідного розчину, Дж/(кг·К);t1 - температура
розчину, який поступає в апарат,°С;- масова витрата випареної води, кг/с;
івт - питома
ентальпія вторинної пари на виході з сепараційного простору випарного апарату,
Дж/кг (визначають за тиском парів в паровому просторі випарного апарата, або за
тиском в барометричному конденсаторі (табл. LVII) [1]);к - масова
витрата випареного розчину, кг/с;к - питома теплоємність випареного
розчину, Дж/(кг·К);кип - температура кипіння розчину,°С;
Q1 = Gг.п.∙2156∙10і
= [1,6∙4079(121,5-130) + W1(2709∙10і -
∙121,5)]∙1,05;2=W1∙2213,6∙10і
= [1,1∙4075(79,2-121,5) + W2(2607∙10і -
∙79,2)]∙1,03;
,07= W1 + W2.
Розв’язок системи рівнянь дає
наступні результати:
г.п.=
0,5кг/с; W1 = 0,47 кг/с; W2 = 0,60 кг/с;
Так як розходження між
розрахованими значеннями навантажень по випарюваній воді в кожному корпусі і
попередньо прийняті не перевищують 3%, перераховувати параметри процесу не
будемо.
Теплові навантаження в корпусах:
1
=2156∙10і∙0,5 = 1078∙10і Вт;2 = 2213∙10і∙0,47
= 1040,11∙10і Вт;
4.4
Визначення коефіцієнтів теплопередачі
Коефіцієнт теплопередачі по
корпусах визначають за рівнянням (4.21) [3].
Вибираємо конструкційний
матеріал, стійкий до середовища розчину K2SO4 в інтервалі
змін концентрацій від 5 до 15% і температур від 80 до 120°С. В таких умовах
хімічно стійкішою є сталь марки Х18Р10Т; її теплопровідність λст =
16,4 Вт/(м∙К).
Приймаємо, що сумарний
термічний опір дорівнює термічному опорові стінки λст/δст і накипу
λн/δн.
Термічний опір пари не враховуємо.
Приймаємо для всіх корпусів
товщину шару накипу δн = 0,5 мм, λн =
3,05 Вт/(м∙К), отримуємо:
∑r = 0,002/16,4 +
0,0005/3,05 = 2,86∙10-4 мІ∙К/Вт.
З достатньою точністю для
розрахунку можна прийняти температуру плівки конденсату в гріючих камерах
випарних апаратів рівною температурі конденсації гріючої пари.
Для визначення коефіцієнта
тепловіддачі α1 від
водяної пари, яка конденсується до стінок вертикальних труб в гріючих камерах
випарних апаратів скористаємося наступним рівнянням: α1=А1/(q∙l)0.33.[2]
Коефіцієнт А1
визначають з рисунку 3.4.
Рис. 3.4 Значення коефіцієнта
А1 в залежності від температури плівки конденсату1 = 284∙10і
при tкип1 = 116,3°С;2 = 240∙10і при tкип2
= 59,7°С;
Коефіцієнт тепловіддачі від
стінок труб до киплячого розчину α2
визначаємо за рівнянням для апаратів з природною циркуляцією розчину (3.20)
[3]:
α2 =
А'·q0,6
де
, де
λр -
коефіцієнт теплопровідності розчину, Вт/(м·К);
ρр -
густина розчину, кг/м3;
ср - теплоємність
розчину, Дж/(кг·К);
μр -
динамічний коефіцієнт в’язкості розчину, Па·с;
σ - поверхневий
натяг, Н/м;- теплота пароутворення, Дж/кг;
ρп -
густина пари, кг/м3;
ρ0 -
густина водяної пари при тиску 0,1 МПа.- питоме теплове навантаження апарату,
Вт/м2;
Фізичні властивості рідини, а
також густину вторинної пари приймаєм при температурі кипіння.
Необхідні для визначення α2
фізико-хімічні властивості розчину K2SO4 і водяної пари
при температурі кипіння наведені в табл. 1
Таблиця1
Властивості киплячих розчинів K2SO4
і їх парів
|
Параметр
|
Корпус
|
|
|
1
|
2
|
|
Температура t,°C Концентрація x,%
Теплопровідність розчину λ, Вт/(м∙К)
Густина розчину ρ, кг/мі
В’язкість розчину μ, Па∙с
Поверхневий натяг σ, Н/м
Теплоємність розчину c, Дж/(кг∙К) Теплота пароутворення r,Дж/кг Густина
пари pп, кг/мі Густина пари при p = 10і Па
|
121,5 7,21 0,588 1061,53 0,253∙10-3
74,6∙10-3 4075 2162∙10і 3,424
|
79,2 15 0,579 1097,99 0,437∙10-3
77,8∙10-3 3865 2230∙10і 2,12 0,57
|
Визначимо коефіцієнт А’
(див.рівняння (3.20)) по корпусах:
А1′ =
780(0,5781,3 ∙1061,530,5 ∙3,4240,06)/((74,6∙10-3)0,5
∙(2162∙103)0,6∙0,5790,66∙40750,3∙(0,253∙10-3)0,3)=11,8;
А2′ =
780(0,5791,3 ∙1097,990,5 ∙2,120,06)/((77,8∙10-3)0,5
∙(2230∙103)0,6∙0,5790,66∙38650,3∙(0,437∙10-3)0,3)=9,16;
Коефіцієнт тепловіддачі α1
при висоті труби l =6 м дорівнює [3]:
α1
= A/(q∙5)єґііі = 0,62A/q єґііі
Розрахунок коефіцієнтів теплопередачі
наведений в табл. 3.4. Так як в випарних апаратах максимальні теплові
навантаження наперед невідомі, тому їх розраховують методом послідовних
наближень: задаємося різними значеннями q, проводимо розрахунок (див. табл.2.)
і по результатах розрахунку будуємо графік q-∆tкор (дод.3).
З графіка (дод.3) слідує, що для
попередньо розрахованих значень корисних різниць температур по корпусах ∆tкор1
= 16,4єС; ∆tкор2 = 37,2єC; максимальні теплові навантаження
відповідно дорівнюють:
1
= 26000 Вт/мІ;2 = 53800 Вт/мІ;
Таблиця
2
Розрахунок коефіцієнтів
теплопередачі
|
Величини
|
1 корпус
|
2 корпус
|
|
А1 =284∙10і В1 = 11,8
|
А2 = 340∙10і В2 =9,16
|
|
q q-0,333 *10-2 α1
= 0,62Aq -0,333 q(0,6) α2
= Bq(0,6) K=1/(1/ α1 + 2,86∙10-4
+ 1/ α2) ∆t = q/K
|
6000 12000 5,52 4,38 9719,6 7712,3 184,9 280,2
2181,8 3306,4 1180,6 1394,7 5,08 8,6
|
9000 12000 4,82 4,38 7172,1 6517,4 235,8 280,2
2159,9 2566,6 1126,1 1207,7 7,99 9,94
|
Коефіцієнт теплопередачі по корпусах
згідно (3.23) [3] дорівнює:
Кі = qі/
Δtкор.(і)
К1 = 26000/16,4 = 1585,4
Вт/(мІ∙К);
К2 = 53800/37,2 =1446,2
Вт/(мІ∙К);
Корисні різниці температур по
корпусах, виходячи з умови однакової поверхні теплопередачі в них, (3.39) [3]:
де Δtкор.(і), Qі,
Кі - відповідно корисна різниця температур, теплове навантаження і
коефіцієнт теплопередачі в і-му корпусі.
∆tкор1=53,6(1078*103
/1585,4)/((1078*10 3 /1585,4)+(1040,11*10 3
/1446,2))=18,5єС
∆tкор2 = 53,6
(1040,11*10 3 /1446,2)/1587,4=35,12 єС
Розраховують орієнтовне значення
поверхні теплопередачі в кожному корпусі (3.41) [3]:
i =
Qi/(Ki Δtкор(і))
Перевірка сумарної корисної різниці
температур, (3.40) [3]:
Δtкор.=
Δtкор.(1)+Δtкор.(2)
∆tкор =
18,5+35,12=53,62єС.
Площі поверхонь теплопередач випарних
апаратів в кожному корпусі, (3.41)[3]:
i =
Qi/(Ki Δtкор(і))1
= 1078∙10і/(1585,4∙18,5) = 30,3 мІ;2 = 1040,11∙10і/(1446,2∙35,12)
= 28,3 мІ;
Згідно ГОСТ 11987-81 приймаємо
випарний апарат з наступною характеристикою: площа поверхні теплообміну Fн
= 40 мІ; діаметр труб d = 38Х2 мм; довжина труб l = 4000 мм; діаметр гріючої
камери D = 600 мм (не менше); діаметр сепаратора D1 = 1200 мм(не
менше); діаметр циркуляційної труби D2 = 400 мм (не менше); висота
апарата Н = 15500 мм (не більше); маса апарата 3000 кг (не менше).
При конструктивному розрахунку
випарного апарата розміри його частин повинні відповідати вище зазначеним
вимогам.
Площа поверхні теплообміну
прийнятого випарного апарата F=40 мІ,і є менше від орієнтованої вибраної
поверхнями F= 50 мІ. Але необхідності вносити корективи в розрахунок немає, так
як конструктивні розміри (діаметр і висота труб) залишилися попередніми.
Уточнимо температури кипіння
розчинів, вторинних парів і їх тиски по корпусах:
Температура, єС
Корпус кипіння Вторинна пара
. 137,9-18,5 =119,4 119,4 - 1,5
-2,7= 115,2
2. 116,3-35,12= 81,18 81,18- 11,4
-4,4 = 65,38
Розрахованим температурам вторинних
парів відповідають тиски (МПа) 0,167; 0,025; відповідно в 1-у, 2-у корпусах.
З розрахунку виходить, що корисні
різниці температур, розраховані з умови рівного перепаду тисків в корпусах і
знайдені в першому наближенні з умови рівноваги поверхонь теплопередачі в
корпусах, відрізняються незначно.Тому при уточненні розрахунку площі поверхні
теплопередачі параметри розчинів і парів по корпусах, теплові навантаження,
коефіцієнти теплопередачі і корисні різниці температур зміняться,практично не
зміняться. Тому надалі розрахунки по уточненню площі поверхні теплопередачі
виконувати не будемо.
випарний установка
розчин солевідділення
5. Конструктивний розрахунок
Мета конструктивного розрахунку
випарного апарату - визначення кількості труб гріючої камери, вибір схеми
розміщення труб в трубній решітці, визначення діаметра корпусу, розмірів
парового простору та загальної висоти апарату.
Алгоритм розрахунку:
- визначення кількості труб гріючої
камери проводимо за рівнянням (3.58) [3]: n=F/(πdL)
- висоту парового простору
визначають за формулою(3.67.a)[3]:
- визначення діаметра корпусу
проводимо по рівнянню [3]
5.1 Число труб
граючої камери
n=F/(πdL) (3.58)[3]
Довжину L і діаметр d труб вибираємо
за стандартами (згідно ГОСТ 11987-81), причому для в’язких розчинів і розчинів
здатних до кристалізації приймаємо більші діаметри. Для розрахунку приймаємо
діаметр труби з тієї сторони (зовнішній чи внутрішній), де термічний опір
більший (r = 1/αi).
=40/(3,14∙0,038∙4)=84
(шт.)
5.2 Внутрішній діаметр обичайки
гріючої камери Dк
при розміщенні труб по вершинах рівносторонніх
трикутників, згідно (3.59) [3]:
t - діаметр
центральної циркуляційної труби, (див. пункт 2.1.) або труби для подачі пари; t
- крок між трубами, t=0.048 м; ψ=0.7-0.9 - коефіцієнт
використання трубної решітки;
Dк=
2 =0,63 м,
Приймаємо Dк=0,8м.
Знайдене значення Dк
не менше відповідної величини по ГОСТ 11987-81 (додаток 3.2) [3]
5.2.1
Внутрішній діаметр циркуляційної труби, (3.61)
[3]:

Dц=
=0,21м.
ПриймаємоDц=0,2м
5.3 Розрахунок діаметра обечайки
сепаратора
Допустиме напруження парового
простору, (3.64) [3]:
тут Wатм -
допустиме напруження парового простору при р = 0.1 МПа, для розчинів солей - Wатм=1000,
кг/(м3·год),
Значення f1 в залежності
від тиску наведені в табл. 3
Таблиця
3
|
Абсолютний тиск, Мпа
|
0,04
|
0,06
|
0,08
|
0,1
|
0,15
|
0,2
|
0,25
|
0,3
|
0,4
|
|
f1
|
0,85
|
0,87
|
0,92
|
1
|
1,351
|
1,7
|
2,05
|
2,4
|
3,1
|
Значення f2 в залежності
від рівня Н розчину над точкою введення паро рідинної суміші в паровий простір
наведені в табл. 4
Таблиця
4
|
Н
|
0
|
0,05
|
0,1
|
0,15
|
0,2
|
0,3
|
0,4
|
0,5
|
|
f2
|
1
|
0,83
|
0,69
|
0,59
|
0,51
|
0,4
|
0,32
|
0,27
|
W/= 0,85
∙1,0
∙1000=850кг/(м3
∙год),
Об’єм парового простору (сепаратора)
випарного апарата, (3.63) [3]:
де W/ - допустиме
напруження парового простору, кг/(м3·год).- продуктивність установки
по випарюваній воді, кг/год.
Vс=1,067
∙3600/850=4,52м3.
Діаметр обичайки сепаратора:[3]
,
де νп=7,977
м3/кг - питомий об’єм пари при р=0,0196МПа, wп=4.4 м/с -
допустима швидкість пари в сепараторі.
Приймаємо Dc=1,4м.
Уточнюємо швидкість пари в
сепараторі [3]:
п =(1,067
∙7,977)/(0,785
∙1,4 2)=4,49м/с
Критерій Рейнольдса для пари:
= wпdк ρп/μп=4.49
∙0,0006
∙0,128/(12
∙10-6)=28,72.
де dк=0.0006м-діаметр
краплі, ρп=0.128кг/м3-густина
пари при р=0.02МПа, μ=12
10-6 Па
·с -
в’язкість пари при р=0.02МПа.
Так як Re<500,коефіцієнт
опору ξ
розраховуємо за формулою [3]:
ξ=18,5/28,720.6=2,47.
Швидкість витання краплі,
(3.65) [3]:
wвит=
=5,29м/с,
де dк - діаметр каплі, м;
ρр
і ρп
- густина відповідно рідини і пари, кг/м3;
ξ - коефіцієнт опору.
Швидкість руху пари у паровому
просторі менша ніж швидкість витання краплі.
.4 Висота парового простору
Висоту парового простору визначають
за формулою(3.67.a)[3]:
=(4
∙4,52)/(3,14
∙1,42)=2,94
м.
Розраховані розміри випарного
апарата відповідають вимогам ГОСТ 11987-81.
.5 Діаметр
вхідної труби Dвх
по якій парорідинна суміш
поступає із гріючої камери у сепаратор визначається із співвідношення Dс=(3.5-4)Dвх
[3]. Таким чиномвх=1,4/4=0,35м.
.6
Визначення діаметра штуцерів
Діаметр штуцерів визначаємо
із рівняння витрати. [3]
Приймаємо для розрахунку
швидкості руху гріючої пари wг.п=20м/с, конденсату wконд=0,5м/с,
вторинної пари wв.п.=50м/с, вихідного розчину wр1=2м/с,
випареного розчину wр2=0,5м/с.
З довідкових даних знаходимо
густини гріючої пари при р=0,16 МПа -
ρг.п.=0,898кг/м3,
вторинної пари при р=0,02МПа вихідного 5% розчину при t=60,70С - ρ
=1022кг/м3,
випареного 15% розчину при t=79,2°С -
ρ=1097,99кг/м3,
конденсату при t=137,9°С - ρк=1,810
кг/м3. Витрати потоків беремо із матеріальних і теплових
розрахунків.
Згідно розрахунків приймаємо
стандартні штуцери наступних розмірів:y.мм Dy.мм
Вхід гріючої пари 550 Вихід
розчину 50
Вихід вторинної пари 700
Вихід конденсату 100
Вхід розчину 50
.7.Визначення товщини теплової
ізоляції
Товщину теплової ізоляції можна
визначити за спрощеним рівнянням
втр =λізF(tвн-tзовн)/δіз.
Втрати теплоти Qвтр
ізольованим обладнанням визначають за формулою
втр=αF(tзовн-tвн)
Коефіцієнт тепловіддачі α
від
внутрішньої поверхні ізоляційного матеріалу в навколишнє середовище - по
рівнянню α=9.3 +0.058 tзовн.
[2,4]
Приймаємо, що випарний апарат
знаходиться у закритому приміщенні. Температура повітря в приміщенні tпов=20°С.
Приймаємо температуру ізоляції зі сторони навколишнього повітря t=400С.
Вибираємо в якості матеріалу
для теплової ізоляції - совеліт (85% магнезії + 15% азбеста), коефіцієнт
теплопровідності якого λ=0,09Вт/(м
∙К).
Коефіцієнт тепловіддачі:
α=9,3+0,058
∙40=11.6Вт/(м2
∙К).
Товщина теплової ізоляції:
δ=
=0,038м.
де tконд
tст=137,90С.
6. Розрахунок допоміжного обладнання
Основна мета даного розрахунку
багатокорпусної прямотечійної вакуум-випарної установки є розрахунок і підбір
допоміжного обладнання - барометричного конденсатора, вакуум-насосу
Алгоритм розрахунку:
підбір барометричного конденсатора
здійснюємо по розрахованому за рівнянням (3.43) [3]:
діаметру барометричного
конденсатора по додатку 3.6 [3]
підбір вакуум -насосу
проводимо, визначивши обємну продуктивність вакуум-насоса за (3.49)[3]:
газу=
R(273+tгазу) Gгазу/(МгазуРгазу)
і знаючи тиск в барометричному
конденсаторі по додатку 3.7.[3]
.1
Розрахунок барометричного конденсатора суміші
.1.1 Витрата
охолоджуючої води
Витрата охолоджуючої води Gв
визначають із теплового балансу конденсатора. Параметри вторинної пари
визначаємо при тиску рб.к, який задано в завданні: р=0,02МПа, ів.п.=2607кДж/кг
- питома ентальпія пари; t=59,7°С. Так як температура суміші охолоджуючої води
і конденсату tк на виході із конденсатора на 9°С нижча температури
конденсації
к=59,7-9=50,7°С.
Tаким чином, згідно (3.42) [3]:
де Iб.к. - ентальпія
парів в барометричному конденсаторі, Дж/кг; tп - початкова
температура охолоджуючої води,°С; tк - кінцева температура суміші
води і конденсату,°С, св- теплоємність води, Дж/кг, wі-
витрата вторинної пари з останнього корпусу, кг/с.
Gв=
=11,17кг/с.
.1.2 Діаметр
барометричного конденсатора
Діаметр барометричного конденсатора
визначаємо із рівняння витрати, (3.43) [3]:
(3.43)
де ρ - густина
парів, кг/м3; υ - швидкість парів, м/с.
Швидкість пари в конденсаторі приймаємо 20 м/с. Тоді:
По ГОСТ 26716-73 (додаток 3.6 [3])
вибираємо конденсатор діаметром 600мм. У відповідності з прийнятим діаметром
вибираємо основні розміри барометричного конденсатора.
6.2 Розрахунок висоти барометричної
труби
Висота барометричної труби визначається
за залежністю(3.45)[3]:
(3.45)
де В - вакуум в
барометричному конденсаторі, Па; Σξ - сума
коефіцієнтів місцевих опорів на вході в трубу і на виході з неї; λ- коефіцієнт
тертя в барометричній трубі, який залежить від режиму руху рідини; 0.5 - запас
висоти труби на можливі зміни тиску.
У відповідності з ГОСТ 26717-73
внутрішній діаметр барометричної труби dб.т.=150 мм. Швидкість води
у барометричній трубі визначається з рівняння витрати, (3.44) [3]:
υв=
=0,67 м/с.
де
ρв=987,5
кг/м3 - густина води при t=50,70С
Вакуум в барометричному
конденсаторі: В=Ратм -Рбк
В=ратм-рб.к=1,013·
105-0,2
·105=0,813
·105Па.
Коефіцієнти місцевих опорів
на вході в трубу ξвх=0.5,
на виході із труби ξвих
=1.0. Коефіцієнт тертя λ залежить
від режиму руху рідини, який визначається величиною критерію Рейнольдса.
Визначимо режим руху води у
барометричній трубі:
Re=0,67
·0,15
·985/(0.549
·10-3)=180314,2
λ=0,316/Re0,4=0,316/180314,20,4=0,0025.
Таким чином,б.т.=
=8,48 м
.3
Розрахунок продуктивності вакуум-насосу
Підбір вакуум-насосу проводять на
основі продуктивності повітря (газу) Gгазу, яке необхідно видаляти з
барометричного конденсатора згідно (3.48) [3]:
газу
= 2.5·10-5 (Wi + Gв) + 0.01wi,
де 2.5·10-5 - кількість
газу, яка виділяється з 1 кг випареної води; 0.01 - кількість газу, що
підсмоктується в конденсатор через нещільності, на 1 кг парів.
Тоді, кількість повітря, яке
відсмоктується із конденсатора:
Gпов=2,5·10-5(0,6+11,17)+0.01
·0,6=0.0063кг/с.
Температуру повітря розраховуємо по
рівнянню (3.50) [3]:
пов=tп+4+0,1(tк+tп)
де tп - початкова
температура охолоджуючої води,°С; tк - кінцева температура суміші
води і конденсату,°С.
Температура повітря:
tпов=20+4+0.1
·(50.7+20)=31,07
0С.
Парціальний тиск сухого повітря в
барометричному конденсаторі, (3.51)[3]:
Рпов=Рбк-Рп
Рпов =0,2
·105-0,042
·104=0,158
·105Па,
де рп=0,042∙105
Па
тиск сухої насиченої пари при
tпов.=31,07°С.
Об’ємна продуктивність
вакуум-насоса, (3.49)[3]:
газу=
R(273+tгазу) Gгазу/(МгазуРгазу)
де R - універсальна газова стала,
Дж/(кмоль·К); Мгазу - молекулярна маса газу (повітря), кг/кмоль; tгазу
- температура газу (повітря),°С; Ргазу - парціальний тиск сухого
газу (повітря) в барометричному конденсаторі, Па.
Vпов=
=0,35м3/с (2,1м3/хв.)
Знаючи об’ємну продуктивність Vпов
і тиск в барометричному конденсаторі рбк, по додатку 3.7 [3]
вибираємо вакуум-насосу типу ВВН-3, який задовольняє розраховані параметри.
7. Заходи для охорони довкілля
Для підігріву розчину, що надходить
у перший корпус, до температури, близької до температури кипіння, необхідно
встановлювати перед корпусом підігрівники, що обігріваються конденсатом або
соковою парою.
Комунікації підігрівників повинні
мати запірні пристрої для відключення й обвідні лінії, а також лінії для
повернення підігрітого розчину в проміжний бак (для циркуляції розчину через
підігрівники) у періоди, коли перший корпус не може безупинно приймати
підігрітий розчин.
Для контролю за якістю конденсату на
лейкомах повинні бути змонтовані пробоотборники.
Залежно від якості конденсату (по
хімічному складі й наявності домішок) він повинен збиратися від всіх випарних
апаратів разом або роздільно.
Для забезпечення спостережень за
рівнем розчину у випарних апаратах повинні передбачатися оглядові стекла.
Випарні установки повинні бути
оснащені наступними контрольно-вимірювальними й регулюючими приладами:
автоматичними регуляторами тиску
пари, що надходить у перший корпус; манометром, що реєструє, на лінії подачі
пари в цех;
манометрами на камері, що гріє, і в
паровому просторі першого корпуса; манометрами, вакуумметрами на камерах, що
гріють, і в паровому просторі наступних корпусів;
автоматичними регуляторами рівня
розчину; що вказують і сигналізують вакуумметрами на трубопроводах, що йдуть
від барометричних або поверхневих конденсаторів;
приладами для виміру температури на
всіх випарних апаратах, підігрівниках і барометричному або поверхневому
конденсаторі; витратомірами для обліку витрати води, що надходить у цех;
витратоміром для обліку розчину, що надходить на випарку; концентратомерами
після кожного випарного апарата.
Для забезпечення нормального режиму
роботи випарної установки необхідно:
стежити за подачею пари, що гріє, у
перший корпус і не допускати падіння або підвищення тиску його в значних межах
(припустимі коливання в межах 0,01 Мпа (0,1 кгс/див2);
підтримувати передбачене режимною
картою розподіл температур і тисків по корпусах випарної установки;
стежити за безперервністю відводу
конденсату з камер, що гріють, випарних апаратів, а також систематично
перевіряти якість конденсату;
забезпечувати систематичне
харчування випарних апаратів розчином, підігрітим до температури, близької до
температури кипіння;
стежити за перепуском розчину з
корпуса в корпус систематично виводити з останнього корпуса готовий продукт,
підтримуючи встановлений рівень
розчину в апаратах і не допускаючи оголення камер, що гріють;
забезпечувати мінімальні втрати
розчину, концентратів і теплоносіїв;
підтримувати розрідження у випарних
апаратах, що працюють під розрідженням, на рівні, передбаченому режимною
картою, у випадках падіння вакууму негайно виявляти причини й усувати їх строго
дотримувати передбаченого графіка й порядок промивання випарних апаратів, а при
необхідності робити позачергові промивання випарних апаратів і їхнє очищення;
забезпечувати безперервну й справну
роботу автоматичних, регулюючих приладів, арматур, а також допоміжні
устаткування випарної установки.
Схема трубопроводів випарної
установки повинна виключати можливість змішання потоків первинної й вторинної
пари, а також потоків їхнього конденсату.
Висновок
У даній курсовій роботі була
розрахована двохкорпусна прямотечій на вакуум-випарна установка з природною
циркуляцією, співвісною граючою камерою і солевідділенням для випарювання 1,6
кг/с розчину сульфату калію від 5 до 15%.
У розрахунковій записці зроблений
розрахунок площі теплообміну, що є головним показником. У результаті був обраний
випарний апарат за ГОСТ 11987-81 з наступними параметрами:
Поверхня теплообміну, м2
F = 40
Довжина труб l = 4000
Діаметр камери, що гріє (не менше) -
D = 600
Діаметр сепаратора, мм (не менше) -
D1 = 1200
Діаметр циркуляційної камери, мм (не
менше) - D2 = 400
Висота апарата, м (не більше) - H =
15500
Маса апарата, кг (не менше) - m =
3000
В результаті конструктивного
розрахунку ми визначили: висоту парового простору Н = 2,94 м, число труб
гріючої камери n = 84 штук, внутрішній діаметр обичайки Dk = 0,8 м
та визначили діаметри штуцерів.
Підібрали барометричний конденсатор
з діаметром 600 мм, та насос типу ВВН-3.
Список використаної літератури
1.
Примеры и задачи по курсу процессов и аппаратов химической технологии. Павлов
К.Ф., Романков П.Г., Носков А.А. Учебное пособие для вузов. - Л.: Химия,
1987.-576 с., ил.
.
Основные процессы и аппараты химической технологи. Дытнерский Ю.И. Пособие по
проектированию. М.: Химия, 1991.
.
Процеси та апарати хімічних технологій: Навч. Посібник з курсового проектування,рукопис
/ А.І. Дубинін, Р.І. Гаврилів, І.О. Гузьова; За ред. А.І. Дубиніна; кафедра
хімічної інженерії НУЛП.
.
Проектирование процессов и аппаратов химической технологии. Йоффе И.Л. Учебник
для техникумов. - Л.: Химия,1991.-352 с., ил.
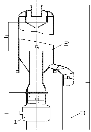
Додаток 1
Принципова схема апарата (тип
1, виконання 3)
1- гріюча камера; 2-сепаратор; 3-
циркуляційна труба