Контроль и анализ метеорологических условий, материальных и энергетических загрязнений окружающей среды

  • Вид работы:
    Практическое задание
  • Предмет:
    Экология
  • Язык:
    Русский
    ,
    Формат файла:
    MS Word
    292,48 Кб
  • Опубликовано:
    2012-06-04
Вы можете узнать стоимость помощи в написании студенческой работы.
Помощь в написании работы, которую точно примут!

Контроль и анализ метеорологических условий, материальных и энергетических загрязнений окружающей среды

Министерство образования РФ

Кафедра БЖД и экологии













Лабораторный практикум по экологии


Выполнила: Полтавцева М.А.

ФАС, ЭВМ-24






Тверь 2001 г.

Лабораторный практикум по экологии /Б.С.Аксенов, С.А.Бережной, Е.А.Васильева и.др.; Под ред.В.А.Мартемьянова. - Тверь: ТГТУ, 1997.

Лабораторный практикум содержит 6 лабораторных работ, посвященных контролю и анализу метеорологических условий, материальных и энергетических загрязнений окружающей среды. Структурная схема каждой лабораторной работы включает теоретическую и экспериментальную части, форму протокола отчета, методику обработки и анализа экспериментальных данных.

Предназначен для студентов всех направлений, кроме "Природо-обустройство" (специальности I7II и 3207), подготовки бакалавров в ТГТУ при изучении дисциплины "Экология".

Лабораторный практикум подготовлен коллективом авторов кафедры "Безопасность жизнедеятельности и экологии" (БЯЭ) Тверского государственного технического университета (ТГТУ). Обсужден и рекомендован к печати на заседании кафедры БДЭ ТГТУ (протокол (Р4 от 11.12.96).

Табл. 25. Ил. 2.

Рецензенты: отдел науки высших и средних профессиональных учебных заведений администрации Тверской области; зав. кафедрой нормальной физиологии ТГМА А.А. Кромин.

isbn 5-230-I94I8-9

Тверской государственный технический университет,1997

ВВЕДЕНИЕ

При подготовке бакалавров в ТГТУ действующими рабочими программами по всем специальностям и направлениям предусмотрено выполнение лабораторных работ по дисциплине "Экология".

Студенты выполняют работы в лабораториях кафедры бригадами численностью до 5 человек. Очередность выполнения лабораторных работ указывается в маршрутном листе для каждой специальности, который вывешивают на доске объявлений кафедры.

Студенты должны являться на занятия подготовленными к выполнению очередной (согласно маршрутному листу) лабораторной работы. Они должны изучить теоретические основы работы, назначение и принцип действия используемого оборудования и приборов. Каждый студент подготавливает на листах формата Д4 (210х297) протокол отчета по выполняемой лабораторной работе согласно формам, приведенным в данном лабораторном практикуме.

В начале каждого лабораторного занятия преподаватель проверяет теоретическую подготовку студента к выполняемой лабораторной работе по системе "Допуск" с помощью устройства "Огонек-1". После проверки готовности к лабораторным занятиям студенты, получившие положительные оценки, побригадно приступают к выполнению лабораторных работ.

При неудовлетворительной оценке студент не допускается к выполнению лабораторной работы. Работы, пропущенные студентом по уважительной причине, отрабатываются с другой группой или в дни, установленные, кафедрой. В эти дни допускаются к выполнению лабораторных работ, студенты, не допущенные к их выполнению ранее, но получившие при повторном допуске после дополнительного изучения теории положительную оценку.

Результаты экспериментальных исследований заносят в соответствующие протоколы и обрабатывают в соответствии с рекомендациями, изложенными в разделе "Методика обработки и анализа экспериментальных данных". Оформленные протоколы предъявляют преподавателю, который при выполнении всех требований к протоколу ставит свою подпись. После этого студент получает программированный билет серии, "Зачет", на вопросы которого нужно дать письменные ответы. -При .положительной оценке ответа поданному билету лабораторная работа считается.защищенной с соответствующей оценкой (оценки по программированным билетам учитывают при контроле текущей успеваемости студента).

Настоящий практикум написан доц. Б.С.Аксеновым (работы N 3, 4, 5), проф. С.А.Бережным (работа N 1), доц. Е.А.Васильевой (работа N 6), доц. А.М.Кудряшовым (работа N 6), ст.пр. Н.С.Любимовой (работа N 1), доц. В.А.Мартемьяновым (введение, работы N 3, 4, 5, 6), проф. В.В.Романовым (работа N 2), доц. Ю.И.Седовым (работы N 1, 2) и асе. И.Д.Терентьевой (работы N 2, 6) под редакцией доц. к.т.н. В.А.Мартемьянова.

Лабораторная работа N 1

КОНТРОЛЬ ЗА ЗАГРЯЗНЕНИЕМ АТМОСФЕРНОГО ВОЗДУХА В СЕЛИТЕБНОЙ ЗОНЕ

метеорологический радиационный загрязнение окружающая среда

Цель работы: освоить инструментальный, инструментально-лабораторный и индикаторный методы контроля загрязняющих веществ (ЭВ) в атмосферном воздухе (АВ), научиться определять с помощью соответствующих приборов и оценивать состояние загрязненности АВ в селитебной (жилой) зоне.

 

. ТЕОРЕТИЧЕСКАЯ ЧАСТЬ


Контроль за загрязнением АВ в селитебных зонах, т.е. на территории городов и других населенных пунктов регламентируется нормативно-техническими документами: ГОСТ 17.2.3.01-86 "Охрана природы. Атмосфера. Правила контроля качества населенных пунктов", РД 52.04.186-89 "Руководство по контролю загрязнения атмосферы", ОНД-90 "Руководство по контролю источников загрязнения атмосферы" (часть I и II) и т.д. Они устанавливают, что на территории РФ проводятся регламентированные .наблюдения за основными (пыль или взвешенные вещества, диоксид серы SO2, оксиды азота NOx и оксид углерода СО) и специфическими (углеводороды СnНm, фтористый водород HF, хлор С1 и др.) 3В на стационарных, маршрутных и передвижных (подфакельных) постах. Они выполняются непрерывно 4, 3 или 2 раза в сутки с учетом приоритетности 3В. Последняя устанавливается по методике, приведенной в подразделе 2.4 РД 52.04.186-89. В ней учитывают перечень 3В на контролируемой территории, суммарный выброс каждого из них, предельно допустимые концентрации (ПДК) и класс опасности этих 3В, а также характерный размер города иди населенного пункта и его потенциал загрязнения АВ.

ПДК - это гигиенический норматив по тому или иному 3В, устанавливаемый для АВ города или другого населенного пункта. ПДК -это масса 3В в единице объема воздуха (чаще в мг/м3), отнесенная к определенному периоду осреднения, которая при периодическом воздействии или на протяжении всей жизни человека не оказывает ни на него, ни на окружающую среду в целом вредного воздействия (включая отдаленные последствия). Если 3В оказывает на природу вредное действие в меньших концентрациях, чем на организм человека, то при нормировании исходят из порога действия этого вещества на окружающую природу. ПДК утверждаются Минздравом РФ и приведены (с указанием класса опасности 3В) в списке за N 3086-84 и дополнениях к нему (в частности, N 3865-85, N 4256-87 и N 5158-89), которые можно найти в приложении 1.1 РД-52.04.186-80, книге 1 Сборника нормативных материалов по охране окружающей среды (Минск: БелНИИНТИ, 1991) или на с. 291...299 учебника "Охрана окружающей среды" (Под ред. С.В.Белова. - М.: Высшая школа, 1991). Для 3B, у которых пока нет ПДК для АВ населенных мест, устанавливаются ориентировочные безопасные уровни воздействия (ОБУВ) Минздравом РФ. Основной список ОБУВ за N 4414-84 утвержден 28.07.87 г. и содержит сведения о 537 веществах. К нему дополнение N 1 под N 4944-88 о 154 вредных веществах.

В зависимости от периода осреднения установлено два вида ПДК для АВ населенных мест:

1) максимально разовые (МР) с периодом осреднения 20HL30 мин, предназначенные для предупреждения рефлекторных реакций у человека через раздражение рецепторов органов дыхания (в частности, ощущение неприятных запахов, чихание, аллергическое состояние и т.п.) при таком кратковременном воздействий 3В. Методика их определенна предполагает производство (если позволяет прибор или принятый метод) нескольких в течение 20...30 мин замеров концентрации ЗВ и наивысшее значение из ряда полученных концентраций называют МР;

2) среднесуточная (СрС) с периодом осреднения 24 ч, предназначенная для предупреждения обще токсичного, канцерогенного, мутагенного и другого прямого и косвенного воздействия на человека в условиях неопределенно долгого круглосуточного вдыхания. Она определяется как среднеарифметическое значение разовых концентраций, для которых продолжительность отбора равна 20...30 мин в течение суток, или как средневзвешенное содержание 3В в пробах ДВ, отбираемых в течение 24 ч непрерывно или с равными интервалами равной продолжительности.

Для оценки состояния, или степени загрязнения АВ используют соотношения

и,(1)

где Ср и Ссрс - соответственно измеренные разовые и среднесуточные концентрации 3В в АВ, мг/м3; МР и СрС ПДК - соответственно максимально разовые и среднесуточные ПДК данных 3В, мг/м3.

Если эти соотношения выполняются, то чистота АВ в городе или населенном пункте соответствует гигиеническим нормам. При содержании в АВ нескольких 3В, обладающих эффектом суммации, их безразмерная суммарная концентрация С должна удовлетворять условию

 (2)

где C1, C2.....Cn - фактические концентрации ЭВ. обладающие эффектом суммации, мг/м3; ПДК1, ПДК2,•••,ПДКn - (МР или СрС) этих веществ, мг/м3.

Согласно РД 52.04.186-89 (с.615...616) эффектом суммации обладают пока 44 сочетания 3В: аммиак и сероводород; аммиак, сероводород и формальдегид; аммиак и формальдегид; азота диоксид и оксид; мазутная зола и сера диоксид; ацетон и фенол; др.

Контроль загрязнения АВ в селитебных зонах может быть:

1) по объему - полный или выборочный (т.е. по номенклатуре контролируемых 3В);

2) по частоте измерений - эпизодический иди систематический;

3) по форме проведения - плановый или экстренный;

4) по способу измерения контролируемого параметра - инструментальный (автоматический), инструментально-лабораторный, индикаторный;

5) расчетный.

Инструментальный метод контроля АВ основан на применении автоматических газоанализаторов, которые непрерывно измеряют концентрации 3В на стационарных постах. Эти газоанализаторы используют многие физико-химические методы газового анализа, в частности: электрохимический, оптический, хромотографический и плазменно-ионизационный методы. Каждый из данных методов, а следовательно и газоанализатор применим для измерения конкретных 3В в АВ, имеющем соответствующие метеорологические параметры и определенные примеси. Поэтому они достаточно сложны в обслуживании и имеют высокую стоимость, но не требуют много времени на анализ проб воздуха и передачу результатов контроля в информационный центр. Кроме того, в них отбор проб воздуха и их анализ соединены вместе, что .повышает точность- измерений. При этом методе контроля. АВ следует руководствоваться соответствующими методами определения концентраций 3В, изложенными в разделе б РД 52.04.186-89.

Инструментально-лабораторный метод контроля АВ основан на отборе проб воздуха на постах с последующим их анализом в химических лабораториях, которые оснащены соответствующим оборудованием и аппаратурой или автоматическими и полуавтоматическими приборами. Этот метод применяют для контроля широкого спектра специфических 3В, а также и основных 3В, не обеспеченных средствами инструментального контроля вообще или; в частности, на соответствующих постах из-за их дороговизны. Как видим, здесь отбор проб воздуха и их анализ разделены в пространстве и во времени, что несколько усложняет подготовку пробы к анализу, увеличивает время на ее анализ и на передачу результатов контроля в информационный центр. Инструментально-лабораторный метод контроля АВ используют многие методы лабораторного анализа проб воздуха (например», гравиметрический и т.п.). Последние достаточно точны и позволяют определять 3В, содержащиеся в ничтожно малых количествах, но требуют довольно сложную аппаратуру и значительное время, их проведения, а также высокую квалификацию работников. проводящих анализ таких проб. Аттестованную методику определения массовой концентрации соответствующего 3В выбирают из раздела. 5-РД. 52.04.186-89. Используя ее, получают результаты измерений ЗВ, которые затем приводят к нормальным условиям: температуре t = 0°С (Т0 = 273 К) и давлению Ро = 760 мм рт.ст. (101,3 КПа).

Индикаторный метод контроля АВ основан на использовании селективных индикаторных трубок (ИТ), в которых твердый сорбент меняет свою окраску в зависимости от концентрации 3В в отбираемой пробе воздуха. В настоящее время создано много рецептов твердых сорбентов на широкий класс 3В, на основании которых выпускаются различные ИТ. Последние могут применяться с приборами ГХ-4, ГХСО-5, ГХПВ-1, ГХПВ-2 иди УГ-1. УГ-2. Все ИТ конструктивно унифицированы и могут использоваться с аспиратором сильфонного типа АМ-5. При этом объем пробы воздуха, необходимый для определения измеряемого 3В, может быть от 100 до 1000 см3 в зависимости от применяемой ИТ и концентрации ЭВ. Время анализа такой пробы воздуха составляет от 15 с до 4 мин, а погрешность - не более 25Х измеряемой величины ЭВ (по ГОСТ 17.2.3.02-78). Кроме того, согласно данному ГОСТу температура воздуха на входе в ИТ должна быть в пределах 0...35°С при отсутствии капельно-жидкой фазы в исследуемой пробе. Как видим, этот метод контроля состояния загрязнения АВ прост и достаточно точен для практического использования. Поэтому он применяется для экспрессного (быстрого, ускоренного) анализа иди при предварительной оценке концентраций 3В.

РД 52.04.186-89 рекомендует осуществлять контроль загрязнения АВ в городах и других населенных пунктах на высоте 1,5...3,5 м от поверхности земли. При этом продолжительность отбора проб воздуха должна составлять при определении:

1) разовых концентраций 3В - 20...30 мин;

2) СрС концентраций 3В - 20...30 мин через равные промежутки времени в сроки 1, 7, 13 и 19 ч при дискретных наблюдениях, а при непрерывном отборе проб - 24 ч.

Одновременно с этим проводятся в течение 10 мин метеорологические наблюдения за скоростью, направлением ветра, температурой воздуха, состоянием погоды на стационарных и маршрутных постах, а при подфакельных наблюдениях - за скоростью и направлением ветра на высоте 2 м.

Любой метод контроля загрязнения АВ состоит из следующих операций:

1) отбор проб воздуха;

2) 2) подготовки пробы к анализу;

3) анализ пробы и обработка результатов.

Наиболее ответственной операцией является первая, так как она обеспечивает достоверность результатов контроля, особенно при анализе проб в химических лабораториях. Отбор проб чаще всего осуществляется путем аспирации определенного объема АВ через поглотительный прибор, заполненный жидким или твердым сорбентом для улавливания того или иного 3В, или через фильтр АФА (аналитические аэрозольные фильтры из тканей ФПП-15, ФПм-15 и других с диаметром 10, 20. 40, 100 и 160 мм), задерживающий содержащиеся в воздухе частицы 3В. Следовательно, определяемое вещество (примесь) из большого объема воздуха концентрируется в небольшом объеме сорбента или на фильтре. При этом используют следующие режимы отбора проб:

·   разовый, продолжающийся 20...30 мин;

·   дискретный, при котором в один поглотительный прибор или на фильтр через равные промежутки времени в течение суток отбирают несколько (от 3 до 8) разовых проб,

·   суточный, при котором отбор в один поглотительный прибор или на фильтр производится непрерывно в течение суток.

Большое значение имеют условия хранения, транспортировки и подготовки этих проб, которые регламентируются РД 52.04.186-89.

Как известно, загрязненность АВ в любой точке селитебной зоны в среднем состоит на 90% из паро- и газообразных веществ и на 10% из аэрозолей. Для контроля содержания пыли или взвешенных веществ РД 52.04.186-89 регламентируют гравиметрический метод, используемый в данной лабораторной работе. Он основан на определении массы взвешенных частиц пыли, задержанных фильтром АФА при прохождении через него определенного объема АВ. По привесу фильтра определяют массовую концентрацию, мг/м3, пыли или взвешенных веществ в исследуемой точке. При этом взвешенные вещества - это не дифференцированная по составу пыль, аэрозоль.

Для контроля паро- и газообразных веществ в АВ в данной лабораторной работе используются:

1) универсальный газоанализатор типа УГ-2, позволяющий определить микроконцентрации 14 газообразных веществ с помощью ИТ, т.е.- реализующий индикаторный метод контроля АВ. В ИТ порошковые сорбенты поглощают исследуемые вещества и окрашиваются в соответствующий цвет. Мерой концентрации определяемого компонента (вещества) является длина окрашенного столбика порошка в ИТ. Эту длину сравнивают со стандартной градуированной шкалой для соответствующего объема просасываемого воздуха через ИТ; определяя концентрацию данного вещества в мг/л;"

) полуавтоматический газоанализатор типа ПГФ2М1, позволяющий определять концентрации 11 горючих газов и паров воздуха, т.е. реализующий инструментальный метод контроля АВ. Принцип действия прибора состоит в определении теплового эффекта реакции окисления (горения) горючего компонента (газа или пара) в присутствии катализатора. При этом измеряемую концентрацию газа или пара после перевода по таблице, помещенной на внутренней крышке прибора ПГФ2М1, получаем в объемных процентах (o6.Z), за исключением паров бензина Б-70 и этилированного бензина, которые даются в мг/л.

 

2. ЭКСПЕРИМЕНТАЛЬНАЯ ЧАСТЬ


.1 Материально-техническое обеспечение лабораторной работы

Лабораторная работа оснащена двумя установками:

1) типа ОТ1 конструкции СКВ Минвуза СССР;

2) 2) конструкции кафедры БВЭ ТГТУ. Они моделируют селитебную зону, в АВ которой присутствуют взвешенные вещества и другие газо- и парообразные 3В.

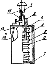
Установка ОТ1 обеспечивает определение взвешенных веществ в АВ гравиметрическим методом (рис. 1). Она состоит из приборного отсека А и примыкающей к нему камеры Б. В отсеке А находится аспиратор типа 822 с четырьмя реометрами 5 (ротаметрами) для измерения расхода отсасываемого воздуха от 0 до 3 л/мин. В данной работе задействован только один реометр, на штуцер 4 которого одет резиновый шланг 7 с патроном 8 (аллонж-фильтродержатель). Камера Б имитирует селитебную зону, в которой осевым вентилятором обеспечивается наличие взвешенных частиц пыли (визуально можно наблюдать за этим через прозрачное окно в световых лучах фонаря). Отбор проб АВ осуществляется через отверстие 11. Установка ОТ1 укомплектована также торсионными весами, секундомером, барометром и термометром.

Установка кафедры БЖЭ ТГТУ состоит из двух прозрачных камер, в которых моделируются различные концентрации газо- и парообразных 3В, встречающиеся в селитебных зонах. Она укомплектована газоанализаторами типов УГ-2 (рис. 2) и ПГФ2М1.

2.2. Детальная методика проведения эксперимента.

2.2.1. Изучить и освоить практическое применение инструментально-лабораторного гравиметрического метода определения взвешенных частиц пыли в АВ:

2.2.1.1. Ознакомиться с установкой типа ОТ1 (см. рис. 1) и подготовить ее к работе, включив тумблер 1;

2.2.1.2. Поочередно взвесить на торсионных весах два чистых пронумерованных фильтра АФА (без бумажных колец) с точностью до 0,1 мг, массы их записать в табл. 1 протокола отчета (см. подраздел 2.3). Затем фильтры уложить в кольца и фильтр N 1 закрепить в патроне 8;

2.2.1.3. Включить аспиратор типа 822 тумблером 2 и с помощью ручки вентиля б установить верхний обрез поплавка реометра 5 на расход воздуха согласно варианту учебного задания, приведенному на лабораторном столе данной работы. Затем выключить аспиратор;

2.2.1.4. Включить вентилятор тумблером 3 и по истечении 5 секунд выключить его. Патрон 8 с фильтром N 1 установить в отверстие 11 камеры Б вместо заглушки;

2.2.1.5. Включить одновременно аспиратор и секундомер и отобрать пробу АВ в течение времени согласно варианту учебного задания. При этом верхний уровень поплавка реометра должен поддерживаться на заданном расходе воздуха; "?

2.2.1.6. Вынуть фильтр N 1 из патрона 8, зарядить его фильтром N 2, вставить патрон в отверстие 11 и выполнить подпункт 2.2.1.5. Затем произвести взвешивание фильтров N 1 и N 2 на весах, записать полученные массы в табл. 1 протокола отчета;

2.2.1.7. Снять показания барометрического давления Pg и температуры воздуха и записать их в протокол отчета. Привести рабочее место в порядок.


Рис.1. Схема установки типа ОТ1: А - приборный отсек; Б - пылевая камера; 1 - тумблер включения установки; 2 - тумблер включения аспиратора; 3 - тумблер включения вентилятора и фонаря пылевой камеры; 4 - штуцера; 5 - реометры; 6 - ручки вентилей; 7 -резиновый шланг; 8 - патрон (аллонж-фильтродержатель); 9 - ручка бункера-дозатора пыли; 10 - смотровое окно; 11 - отверстие для отбора пробы воздуха

Рис.2. Воздухозаборное устройство прибора УГ-2: 1 - шток; 2 -направляющая втулка; 3 - 1дита; 4 - пружина сильфона; 5 - резиновый сильфон; 6 - кольцо жесткости; 7 - корпус; 8 - отверстие для хранения штока; 9 - подставка со шкалами; 10 - индикаторная трубка; 11 - резиновая трубка от штуцера; 12 - фиксатор; 13 -резиновая трубка к сильфону; .4 - штуцер; 15 - канавка с двумя углублениями

.2.2. Изучить и освоить практическое применение индикаторного метода контроля АВ в селитебной зоне с помощью газоанализатора типа УГ-2:

2.2.2.1. Ознакомиться с установкой конструкции кафедры БЯСЭ ТГТУ и газоанализатором типа УГ-2;

2.2.2.2. Подготовить УГ-2 к анализу первого газа в АВ: выбрать по табл. 1 (см. на лабораторном столе) шток с необходимым объемом просасываемого воздуха для данного газа, оттянуть фиксатор 12 и вставить шток во втулку 2 так, чтобы фиксатор скользил по направляющему пазу штока 1. Затем давлением руки на головку штока сжать сильфон до тех пор, пока наконечник фиксатора не совпадет с верхним углублением в пазу штока, фиксируя сильфон в сжатом состоянии. Резиновую трубку 11 и воздухозаборное устройство УГ-2 соединить с любым концом подготовленной ИТ для данного газа, а другой ее конец присоединить к камере 1, имитирующей селитебную зону с исследуемым газом;

.2.2.3. Произвести отбор проб АВ, для чего надавить одной рукой головку штока 1, а другой - отвести стопор 12. С начала движения штока 1 вверх стопор следует отпустить и ждать щелчка и прекращения, движения штока вверх;

.2.2.4-. .Определить концентрацию газа или. пара путем совмещения ИТ со стандартной шкалой, (начало порошка в ИТ должно совпадать с нулем на шкале). Цифра, совпадающая с границей окрашенного столбика порошка в ИТ, укажет концентрацию исследуемого газа (пара), которую следует внести в табл.2, протокола отчета;

.2.2.5. Перекрыть резиновый шланг 11 от камеры N 1 зажимом и освободить ИТ;

.2.2.6. Приступить к анализу второго газа (пара) в АВ, находящегося в камере N Э. Для этого строго выполнить подпункты 2.2.2.2....2.2.2.5. Затем привести рабочее место в порядок.

.2.3. Изучить и освоить практическое применение инструментального метода контроля АВ с помощью газоанализатора типа ПГФ2М1:

.2.3.1. Ознакомиться с газоанализатором типа ПГФ2Ш, который позволяет определить концентрации 11 горючих газов и воздуха (см. табл. 2 на лабораторном столе);

.2.3.2. Настроить прибор ПГФ2М1-ИЗГ на чистом АВ в соответствии с указаниями на его внутренней металлической крышке;

.2.3.3. Установить трехходовой кран данного газоанализатора в положение "газ" и "воздух". Присоединить резиновый шланг, идущий из камеры N 3, к штуцеру "газ" крана для анализа АВ на первый газ;

.2.3.4. Отобрать пробу АВ путем пяти прокачиваний поршневым насосом. Нажать кнопку "накал" и сделать отсчет по максимальному отклонению стрелки милливольтметра;

.2.3.5. Полученное показание перевести в концентрацию данного. вещества по таблице, помещенной .на внутренней; стороне крышки прибора, и удвоить ее, так как замер проводился при разбавлении пробы чистым .АВ в соотношении 1:1;

Примечание. При измерении небольшой концентрации трехходовой кран установить в положение "газ" и произвести -повторный отбор пробы без разбавления АВ сначала по второму, а затем по первому пределу (если по второму пределу получено незначительное отклонение стрелки милливольтметра).

2.2.3.6. Записать полученные данные в табл. 2 протокола отчета;

2.2.3.7; Приступить к анализу второго газа (пара).в АВ, находящемся в камере N 2. Для этого строго выполнять подпункты 2.2.3.3....2.2:3.6. Затем привести рабочее место в порядок.

2.2.4. Приступить к -обработке и оценке, подученных экспериментальных данных, руководствуясь подразделом 2.4 данной работы.

 

3. МЕТОДИКА ОБРАБОТКИ И ОЦЕНКИ ЭКСПЕРИМЕНТАЛЬНЫХ ДАННЫХ


.1 По данным табл. 1 протокола отчета определить измеренную концентрацию взвешенных веществ, мг/м3, по формуле

. (3)

где m=(m2 - m1) - масса пыли, задержавшейся на фильтре АФА, мг; m1 и m2 - соответственно масса фильтра до и после замера, мг; (U - расход АВ через фильтр, л/мин; t - время замера, мин.

4-2. Результаты измеренных концентраций газов и паров, представленные в табл. 2 протокола отчета, перевести в мг/м3, для чего полученные данные в мг/л увеличить в 103 раз, а в объемных % пересчитать по формуле

 (4)

где Соб - концентрация газа или пара, об. %; М - молекулярный вес; Vt - объем граммолекулы при Т = 293 К (20°С) и Р = 105 Па(760 мм рт.ст.), который равен Vt = 24,05 л.

4.3. Измеренные иди пересчитанные концентрации С, мг/м3.взвешенных веществ, газов и паров в АВ селитебной зоны привести согласно РД 52.04.186-89 к нормальным условиям (температуре to =0°С или Т = 273 К и давлению Ро = 101,3 кПа или 760 мм рт.ст.)по формуле

,(5)

где t - замеренная температура АВ в процессе отбора пробы,°С; Рб - замеренное барометрическое давление, кПа.

4.4. Все результаты перевода и пересчета привести в протоколе отчета, а итоговые цифры записать в табл. 1 и 2 этого протокола. Одновременно записать величины МР и СрС ПДК, руководствуясь извлечением из списка 3086-84.и дополнениями к нему.

Методика оценки результатов контроля загрязнений в АВ селитебной зоны состоит:

) в сопоставлении фактических концентраций и ПДК по каждому загрязнению, руководствуясь соотношениями (1 и 2) раздела 1 данной работы. При этом результаты превышения (в цифрах) показывают красным цветом или обводят кружком;

2) в выработке итоговых: выводов и предложений по снижению загрязненности АВ в селитебной зоне. На практике указывают фактические источники загрязнения-атмосферы в этой зоне, а студенты возможные источники такого загрязнения на примере г. Твери.

В атмосферу г. Твери чаще всего выбрасывается сероуглерод, сероводород, двуокись азота, сернистый ангидрид и взвешенные вещества.

Наиболее токсичными загрязняющими атмосферу веществами являются сероводород и сероуглерод, которые выбрасывает предприятие "Химволокно". Сероводород также выбрасывается мясокомбинатом, расположенным в южной части города.

Сернистый ангидрид - продукт сжигания сернистых видов топлива - угля и мазута. Основной выброс осуществляют предприятия теплоэнергетики и котельные (ТЭЦ-3 более 11 т/год, ТЭЦ-4 почти 5т/год, завод стекловолокна и стеклопластиков около 2 т/год).

В процессе горения наряду с сернистым газом выделяется еще более токсичная двуокись азота. Наибольшее загрязнение атмосферы приходится на долю теплоэнергетики и автотранспорта.

Основное, количество взвешенных веществ поступает в атмосферу с выбросами предприятий стройиндустрии и теплоэнергетики. Причиной этого является слабая оснащенность предприятий пылеочистными установками и большое количество неорганизованных источников(места хранения сыпучих материалов и узлы их пересыпки).

Лабораторная работа N 2

КОНТРОЛЬ МЕТЕОРОЛОГИЧЕСКИХ УСЛОВИЙ В ЖИЛОЙ ЗОНЕ


Цель работы: овладеть навыками измерений метеорологических факторов жилой -зоны города с помощью метеорологических приборов, научиться оценивать погодные условия и интерпретировать подученные результаты. •

 

. ТЕОРЕТИЧЕСКАЯ ЧАСТЬ


Метеорологические условия во, многом -определяют степень благоприятности региона для жизни населения: их знание необходимо при установлении очередности и форы расселения, определении времени адаптации людей к данной природной среде и особенностей организации их труда, быта и отдыха, проектировании систем отопления, вентиляции и кондиционирования. Ряд метеорологических характеристик (например, скорость и направление ветра и вертикальная устойчивость воздуха) определяет рассеивание токсических выбросов и используется в расчетах приземных концентраций вредных веществ, зон загрязнения с превышением предельно допустимых концентраций и зон поражающего действия ядовитых веществ.

Метеорологические факторы существенно влияют на тепловое состояние организма и сказываются на здоровье, безопасности и работоспособности человека. Общее тепловое воздействие окружающей среды на организм может быть выражено уравнением теплового баланса

Qчел ± Qконд ± Qконв. ± Qрад - Qисп = О,

где Qчел - тепло, генерируемое самим человеком; Qконд - тепло, передаваемое (или получаемое):кондукцией через .непрерывную и неподвижную среду с поверхности одежды и кожи; Qконв - тепло, передаваемое (иди получаемое) за счет перемещения газовой среды с поверхности одежды и кожи; Qрад - тепло, передаваемое (или получаемое) за счет излучения; Qисп - тепло, отдаваемое за счет испарения.

Если уравнение теплового баланса равно нулю, то внутренняя температура тела не меняется и, значит, обеспечивается состояние теплового комфорта. При отрицательных значениях наступает охлаждение организма, а при положительных его перегревание.

Первым компонентом уравнения теплового баланса является тепло, генерируемое самим человеком, его энергозатраты. Величина энергозатрат в покое составляет около 90 ккаK/час и увеличивается при тяжелой работе до 600 и более ккаK/час.

К метеорологическим факторам относятся:

·   температура воздуха, от которой зависит конвекционный перенос тепла;

·   скорость движения воздуха, существенно влияющая на интенсивность конвекционных процессов и скорость испарения с поверхности кожи;

·   влагосодержание окружающего воздуха; его величина определяет скорость и эффективность испарения с поверхности кожи;

·   средняя радиационная температура окружающей среды, от которой зависит теплоотдача (или получение тепла) за счет излучения.

Температуру воздуха измеряют жидкостными (ртутными или спиртовыми) и электрическими термометрами. Последние менее инерционны, позволяют проводить дистанционный контроль метеорологических условий, но требуют систематической проверки и калибровки. Для определения температурных перепадов в течение смены используют максимальные и минимальные ртутные термометры. Динамику температуры воздуха исследуют с помощью суточных и недельных термографов.

Различаются следующие виды влажности воздуха:

·   абсолютная, которая выражается величиной парциального давления, создаваемого водяными парами (единица измерения Па) или массой водяных паров в единице объема (единица измерения г/м3);

·   максимальная, т".е. наибольшее количество водяных паров, которое может содержаться в воздухе при данных температуре и давлении (максимальное влагосодержание резко увеличивается с повышением температуры);

·   относительная, представляющая собой отношение абсолютной влажности к максимальной, выраженная в процентах.

При 100% абсолютной влажности в случае понижения температуры ее избыток выпадает в виде росы (при положительных значениях) или осаждается в виде инея (при отрицательных значениях).

Температура, при которой влажность воздуха достигает 100%, является точкой росы.

Возможность и эффективность теплоотдачи испарением определяются не абсолютными значениями влагосодержания, а их отношением к максимальной влажности. Поэтому в качестве нормируемого показателя влагосодержания воздуха выбрана относительная влажность.

Измерения влажности воздуха проводят с помощью психрометров Августа и Ассмана, электрических гигрометров и влагомеров, суточных и недельных гигрографов.. В психрометрах имеются по два термометра, ртутный иди спиртовой, резервуар одного из которых обернут кусочком влажной ткани. Из-за испарения воды температура мокрого термометра по сравнению с температурой сухого термометра будет тем ниже, чем меньше водяных паров содержится в воздухе. Психрометр Ассмана более точен, так как в нем обеспечивается равномерный и одинаковый поток воздуха у ртутных резервуаров, асами резервуары надежно защищены от лучистого тепла. Со показаниям сухого и влажного термометров находят абсолютную влажность воздуха, которую затем используют для определения относительной влажности. Недостатками психрометров являются их инерционность и необходимость проведения ряда расчетов. Меньшая инерционность и большая точность у электрических гигрометров и влагомеров, но они являются дорогими и более сложны в эксплуатации. Суточные и недельные гигрографы, принцип работы которых заключается в измерениях степени натяжения мембраны иди конского волоса в зависимости от вдагосодержания окружающего воздуха, позволяют изучить динамику влажности. Однако этот вид приборов обеспечивает меньшую точность измерений, чем при оценке влажности с помощью психрометра Ассмана.

Скорость движения воздуха измеряют крыльчатыми (диапазон0,5...5м/с) и чашечными (диапазон 1...20 м/с) анемометрами. Принцип действия состоит в определений количества вращении крыльчатки в единицу времени с последующим нахождением по графику скорости движения воздуха в м/с . Для меньших скоростей движения воздуха применяют кататермометры, :действие которых основано на изменении скорости охлаждения нагретого тела в зависимости от температуры и подвижности окружающего воздуха, а диапазон измеряемых скоростей составляет 0.1... ,10 м/с.

Диапазон .измеряемых термоанемометрами скоростей, составляет 0...5 м/с; принцип действия их состоит в изменении сопротивления подогреваемого терморезистора в зависимости от подвижности воздуха. Термоанемометры мало инерционны, обеспечивают более высокую точность замеров, но требуют систематического контроля и калибровки, и стоимость их выше.

Кроме того, для определения влажности воздуха и расчетов технических устройств, обеспечивающих создание оптимальных или допустимых метеорологических (микроклиматических) условий в жилых и производственных помещениях (систем отопления, вентиляции и кондиционирования), необходимо знать уровень атмосферного давления.

Уровень барометрического давления определяется с помощью барометра-анероида.

Оценка метеорологических факторов включает:

·   определение комфортности подученных значений температуры воздуха, его скорости движения и относительной влажности;

·   оценку погодных условий.

Для метеорологических условий на открытой местности большое значение имеют скорость ветра и солнечная радиация.

Зоной комфорта в умеренном климате для человека, находящегося в покое или выполняющего легкую работу, является диапазон температур воздуха 20-25°С, относительная влажность воздуха в диапазоне 40-60% и скорость движения воздуха в диапазоне0,25-0.5 м/с (скорость 1-1,5 м/с вызывает ощущение сквозняка).

Оценка погодных условий проводится в соответствии с данными табл. 1 (см.. условные обозначения внизу таблицы). :

Таблица 1. Физиолого-гигиеническая классификация погодных условий

Теплый период года (со среднесуточной температурой > 10°С)

Темпера воздуха оС

Облачность (баллов)


0...4 5...7 8...10


Скорость ветра, м/с


0-2

2,1-4

4,1-6

0-2

2,1-4

4,1-6

0-2

2,1-4

4,1-6

1

2

3

4

5

6

7

8

9

10

36-33

Ж

Ж

Ж

Ж

Ж

Ж

Ж

Ж

Т

32,9-30

Ж

Ж

Ж

Ж

Т

Т

Т

Т

Т

29,9-27

Ж

Т

Т

Т

Т

Т

Т

Т

К

26,9-24

Т

Т

Т

Т

Т

К

К

К

К

23,9-21

К

К

К

К

К

К

К

К

П

20,9-18

К

К

К

К

К

П

К

К

П

17,9-15

К

К

П

К

П

П

П

П

П

14,9-12

К

П

П

П

П

П

П

П

П

12

П

П

П

П

П

П

П

П

П


Холодный период года (со среднесуточной температурой < 10°С)

Температура воздуха оС

Скорость ветра, м/с


0-2

2,1-2,5

3,6-4

4,1-4,5

4,6-5

5

1

3

4

5

6

7

8

0...-5

П

П

П

Х

Х

С

-5,1...-10

П

Х

Х

Х

Х

С

-10,1...-15

П

Х

Х

Х

Х

С

-15,1...-20

П

Х

Х

Х

Х

С

-20,1...-25

Х

Х

Х

Х

Х

С

-25,1...-30

Х

Х

С

С

С

С

-30,1...-35

Х

С

С

С

С

С

-35,1...-40

С

С

С

С

С

С


Условные обозначения: 1. Облачность оценивается в баллах: 0 - при отсутствии облаков; 10 - при полной облачности;

. Ж - жаркая, Т - теплая, К - комфортная, П - прохладная, Х - холодная, С - суровая.

Для нормализации микроклиматических условий в помещениях применяют вентиляцию, отопление и кондиционирование воздуха. Нормативные значения метеорологических условий для производственных и .жилых помещении устанавливают соответственно ГОСТ121.00588 и СНиП 2.04.0591.

 

2. ЭКСПЕРИМЕНТАЛЬНАЯ ЧАСТЬ


.1 Материально-техническое обеспечение. лабораторной работы

Исследование метеорологических условий осуществляется на лабораторном стенде конструкции кафедры БЖЭ. Стенд оснащен комплектом метеорологических приборов. В него входят.2 психрометра Ассмана, обеспечивающих определение температуры воздуха от 30до +50°С с точностью до 0,2°С и относительной влажности воздуха в диапазоне 10...100% при температурах от 10 до +40°С; барометр анероид, анемометр МС13, обеспечивающий измерение средней скорости воздушного потока в диапазоне 1... 20 м/с, а также суточные самописцы термограф, гигрограф и барограф. На заоконной полке установлен термогигрограф.

.2 Порядок проведения экспериментов

2.2.1. Ознакомиться с лабораторным стендом и комплектом метеорологических приборов, уточнить задание на исследование у преподавателя.

2.2.2. Изучить технические описания и инструкции по эксплуатации метеорологических приборов и научиться измерять с их помощью температуру, влажность и скорость движения воздуха и атмосферное давление.

2.2.3. Провести с помощью психрометра Ассмана измерение температуры по сухому и влажному термометрам и с помощью барометра-анероида атмосферного давления в помещении. У входа в корпусXT с помощью психрометра Ассмана, установленного за 15 минут до начала измерений, определить температуру наружного воздуха по сухому и влажному термометрам и с помощью анемометра МС13 скорость его движения.

2.2.4. По полученным от преподавателя лентам самописцев определить максимальные и минимальные значения температуры и влажности наружного, воздуха и воздуха помещений и уровня барометрического давления. Для перевода показаний барографа из миллибар в мм рт.ст. следует разделить значения давления, выраженные в миллибарах, на 1,332.

2.2.5. Провести визуальную оценку облачности. Результаты замеров, расчетов и визуальной оценки облачности заносят в протокол.

 

3. МЕТОДИКА ОБРАБОТКИ И АНАЛИЗА ЭКСПЕРИМЕНТАЛЬНЫХ ДАННЫХ


Относительная влажность воздуха j при положительных температурах определяется по психрометрическому графику, а при отрицательных температурах по психрометрической таблице, j можем также рассчитывать по формуле


где Ем - насыщенная упругость водяного пара по влажному термометру; Е - тоже по сухому термометру; a -психрометрический коэффициент, равный 6,62×104; Р - барометрическое давление в мм рт.ст.; Dt - разность температур сухого и влажного термометра. Числитель формулы 1 представляет из себя абсолютную влажность для исследуемых условий.

По данным табл. 2 протокола отчета определить, скорость движения воздушного потока, замеренную анемометром МС-13. Для этого найти разности отсчетов в показаниях анемометра за время каждого опыта в отдельности, поделить их на время наблюдений за1 с. Затем по графику, прилагаемому к анемометру, определить U, м/с, и результаты вычислений занести в протокол отчета.

В выводах приводятся основные результаты измерений, их оценка и объяснение полученных данных (при необходимости приводятся рекомендации по их нормализации).

Лабораторная работа №3

КОНТРОЛЬ РАДИАЦИОННОЙ ОБСТАНОВКИ В ЖИЛЫХ И РАБОЧИХ ПОМЕЩЕНИЯХ.


Цель работы: овладеть навыками работы с дозиметрическими приборами и оценить радиационную обстановку в помещении учебной лаборатории.

 

 ТЕОРЕТИЧЕСКАЯ ЧАСТЬ


К ионизирующим относятся корпускулярные (альфа, бета, нейтронные) и электромагнитные (гамма, рентгеновское) излучения, способные при взаимодействии с веществом создавать в нем заряженные атомы и молекулы ионы. Они возникают при самопроизвольном распаде радиоактивных элементов. Излучение от рассеянных в окружающей среде радиоактивных элементов и космических лучей образует естественный фон (0,005...0,06 мР/ч). В результате хозяйственной деятельности человека происходит изменение общего радиационного фона в окружающей среде за счет образования так называемой "техногенной" составляющей. Техногенный радиационный фон создается при подъеме на поверхность земли горнорудных пород, содержащих радиоактивные элементы, от рассеивания радиоактивных отходов от объектов атомной энергетики, небрежного обращения с радиоактивными веществами и др. При авариях на таких объектах, связанных с выбросом радиоактивных веществ в окружающую среду, возможно возрастание радиационного фона вплоть до опасных пределов.

Поражающее действие ионизирующих излучений зависит от количества поглощенной организмом энергии излучения, которая характеризуется дозой облучения. При взаимодействии этих излучений с веществом различают три дозы: экспозиционную, поглощенную и эквивалентную.

Приращение дозы излучения за малый промежуток времени, деленное на этот промежуток, называется мощностью дозы излучения.

Экспозиционная доза служит для характеристики источника излучения по эффекту ионизации. Специальной единицей экспозиционной дозы является рентген (Р) это доза рентгеновского или гамма излучения, которая в 1 см3 сухого воздуха при нормальных условиях производит 2,08 109 пар ионов, каждый из которых имеет заряд, равный заряду электрона.

Поглощенная доза это средняя энергия излучения, поглощенная единицей массы вещества. Специальная единица поглощенной дозы рад (радиационно-адсорбционная доза). 1 рад соответствует поглощению .100 эрг энергии 1 г вещества. Для живых мягких тканей 1P = 0,88. рад.

В связи с тем, что одинаковая доза различных видов излучения вызывает в живом организме неодинаковое биологическое действие, введено понятие эквивалентной дозы. Специальная единица эквивалентной дозы - бэр. Бэр поглощенная доза любого вида излучения, которая вызывает биологический эффект с дозой в 1 рад рентгеновского излучения. Таким эффектом обладает электронное, позитронное, рентгеновское, бета и гамма-излучения. Для них можно принять, что IP =1 рад.= 1 бэр.

Допустимые уровни воздействия антропогенных источников ионизирующих излучений (без учета доз, получаемых от естественного фонового облучения и медицинского обследования) :в население и окружающую среду определены нормами радиационной безопасности НБР-76/87. Например, при внешнем облучении установлен предел дозы (ПД) облучения за календарный год в 0,5 бэр. Соблюдение ПД достигается регламентацией и контролем допустимых уровней, установленных НРБ76/87, в частности, допустимой мощности дозы (ДМД)и допустимого загрязнения поверхностей (ДЗ). При внешнем облучении всего тела ДМД, представляющая отношение ПД за год ко времени облучения, составляет: 0,24 мбэр/ч - для помещений и учреждений на территории санитарно защитной зоны; 0,06 мбэр/ч - для жилых помещений и на территории в пределах зоны наблюдения. В расчетах время пребывания в санитарно-защитной зоне принимают 2000ч/год, а в зоне наблюдения 8000 ч/год. ДЗ измеряется числом бета частиц с 1 см2 поверхности в минуту. Уровни загрязненности следует устанавливать только для профессиональных условий (например, ДЗ поверхности помещений постоянного пребывания персонала составляет 2000 част./(см2мин)), ибо там, где не ведутся работы с радиоактивными веществами, недопустимо какое-либо загрязнение.

Основными мероприятиями по защите населения от ионизирующих излучений является всемерное ограничение поступления в окружающую среду отходов производства, содержащих радионуклиды, а также зонирование территории вне промышленного предприятия (санитарно-защитная зона и зона наблюдения). Санитарно-защитная зона территория вокруг учреждения или источника радиоактивных выбросов, на которой уровень облучения может превышать ПД. но не более чем в 10 раз. В этой зоне устанавливается режим ограничений и проводится радиационный контроль. Зона наблюдения территория, на которой облучение проживающего населения может достигать установленного ПД. В ней проводится радиационный контроль. Радиационный контроль осуществляют учреждения и предприятия, где проводятся работы с применением радиоактивных веществ и источников ионизирующих излучений. Защита населения и окружающей среды от действия источников ионизирующих излучений достигается соблюдением "Основных правил работы с радиоактивными веществами и другими источниками ионизирующих излучений ОСП 72/87", в которых регламентированы сбор, удаление и обезвреживание твердых и жидких радиоактивных отходов, а также основные положения по проектированию и применению пыле газоочистки вентиляционных и технологических выбросов в атмосферу от содержащихся в них радионуклидов. Большое значение имеют систематический контроль за полученными дозами облучения и проведение комплекса лечебно-профилактических мероприятий (медицинское обследование, анализы крови, саноторно-курортное лечение и т.п.).

Методы радиационного контроля (фотографический, сцинтиляционный, химический и ионизационный) основаны на измерениях параметров ионизирующих излучений с помощью дозиметрических приборов. Принцип действия любого прибора, предназначенного для регистрации проникающих излучений, состоит в измерении эффектов, возникающих в процессе взаимодействия с веществом. Наиболее распространенным является ионизационный метод регистрации, основанный на измерении степени ионизации среды, через которую прошло излучение. Для измерений применяют ионизационные камеры или газоразрядные счетчики, служащие датчиком, и регистрирующие схемы.

Дозиметр-радиометр бытовой АНРИ0102 "Сосна" предназначен для контроля радиационной обстановки на местности и в помещениях, в том числе:

измерения мощности экспозиционной дозы гамма-излучения;

измерения плотности потока бета-излучения с загрязненных поверхностей.

В верхней части корпуса на лицевой панели расположены органы управления и индикации. К нижней части корпуса крепится поворотная задняя крышка, являющаяся экранирующим фильтром для альфа и бета-излучения. При попадании в рабочие объемы счетчиков ионизирующих частиц на нагрузке счетчиков появляются импульсы. Эти импульсы подаются на табло жидкокристаллического индикатора. При установке переключателя режимов работы в положение "МД" (мощность дозы) в приборе работает внутренний таймер, который через20 ± 5с прекращает счет импульсов. В положении "Т", таймер прибора не работает. На цифровом табло индуцируется количество импульсов за период времени с момента включения прибора в работу. Время счета импульсов можно контролировать по часам. Схема сигнализации выдает звуковой сигнал по окончании времени измерения(20 ± 5 с) при работе прибора в режиме "МД" и короткий звуковой сигнал при прохождении каждого десятого импульса в режиме "Т".

Сцитиляционнай метод регистрации излучений основан на измерении интенсивности световых вспышек, возникающих в люминесцирующих веществах при прохождении через ионизирующие излучения. Вещества, испускающие свет под воздействием ионизирующих излучений, называются сцинтилляторами. Для регистрации световых вспышек использует фотоэлектронный умножитель с регистрирующей электронной схемой.

Для индивидуального контроля дозы ионизирующего излучения служит фотографический метод, основанный на способности фотоэмульсии регистрировать излучение. Величина поглощенной дозы устанавливается по степени почернения фотопленки под действием излучения.

Описанные зале методы регистрации излучений весьма чувствительны и непригодны для измерения больших доз. Наиболее удобным для этих целей оказался химический метод, при котором используют различные химические системы, в которых под воздействием излучения происходят те или иные изменения. Например, окрашивание растворов и твердых тел, осаждение коллоидов, выделение газов из соединений. Для измерения больших доз применяют специальные стекла, которые меняют свою окраску под действием излучения.

 

2. ЭКСПЕРИМЕНТАЛЬНАЯ ЧАСТЬ


.1 Материально-техническое обеспечение лабораторной работы

Контроль радиационной обстановки осуществляют в помещении учебной лаборатории кафедры БЯЭ дозиметром радиометром АНРИ0102 "Сосна". Диапазон измерения мощности экспозиционной дозы гамма-излучения составляет от 0,010 до 9,999 мР/ч, плотности потока бета- излучения от 10 до 5000 част/(см2мин).

Прибор используют в трех режимах работы. В режиме "Поиск"(переключатель режима работы в положении "Т") он служит для грубой оценки радиационной обстановки по частоте следования звуковых сигналов. В этом режиме прибор ведет счет импульсов и подает короткий звуковой сигнал через каждые десять импульсов.

В режиме измерения мощности экспозиционной дозы (переключатель режима работы в положении "МД") прибор ведет в течение 20 ±5 с счет импульсов от счетчиков прибора. По окончании счета, время которого задается внутренним таймером прибора, на цифровом табло индуцируется число, соответствующее мощности экспозиционной дозы гамма-излучения в мР/ч.

В режиме измерения плотности потока бета0излучения с загрязненных поверхностей необходимо проведение двух измерений исследуемой поверхности с закрытой и открытой крышкой прибора. Время измерений в обоих замерах задается внутренним таймером прибора.

.2 Порядок проведения эксперимента

.2.1. Ознакомиться с лабораторной установкой по контролю радиационной обстановки в помещении и заданием на исследование, вариант которого выдает преподаватель.

2.2.2. Измерить мощность экспозиционной дозы гамма-излучения в помещении учебной лаборатории кафедры БЖЭ дозиметром -радиометром АНРЙ0102 "Сосна".

Для этого приготовить прибор в следующем порядке:.

2.2.2.1. Включить прибор, для чего выключатель питания перевести в положение "ВКЛ". :На цифровом табло должно индуцироваться 0.000 или 0000 и раздается короткий звуковой сигнал. Если переключатель режима работы находится в положении "МД", то после первого знака индуцируется точка, если переключатель находится в положении "Т", то эта точка отсутствует;

2.2.2.2. Убедиться в исправности электронной пересчетной схемы и таймера прибора, для чего переключатель режима работы перевести в положение "МД", нажать кнопку "контр." и удерживать ее в нажатом состоянии до конца контрольной проверки, а затем кратковременно нажать кнопку "пуск". На цифровом табло должны появиться три точки между цифровыми знаками и начнется отсчет чисел. Если прибор исправен, то через (20 ± 5 с) отсчет чисел должен прекратиться, окончание отсчета должно сопровождаться коротким звуковым сигналом, а на табло должно индуцироваться число1,024. После окончания отсчета нужно отпустить кнопку "контр.";

2.2.2.3 Для проверки работоспособности преобразователя напряжения и счетчиков необходимо установить переключатель режима работы в положение "МД" и нажать кнопку "пуск". После окончания измерения на табло должно индуцироваться число, близкое к естественному фону гамма-излучения (от 0.005 до 0,06 мР/ч).

2.2.3. После окончания проверки работоспособности прибора нужно провести грубую оценку радиационной обстановки в режиме "Поиск" в следующем порядке:

2.2.3.1. Проверить, закрыта ли задняя крышка прибора, при необходимости прочно закрыть ее и зафиксировать фиксатором;

2.2.3.2. Перевести переключатель режима работы в положение

2.2.3.3. Включить прибор выключателем питания и кратковременно нажать на кнопку "пуск". Прибор начнет счет импульсов, число которых индуцируется на цифровом табло. Через каждые десять импульсов прибор будет подавать звуковой сигнал;

2.2.3.4. Через три минуты после нажатия кнопки "пуск" нажать кнопку "стоп", записать данные с цифрового табло в табл. 1 протокола отчета и выключить прибор выключателем питания.

Оценку радиационной обстановки в режиме "Поиск" следует провести три раза и вычислить среднее арифметическое значение.

2.2.4. Измерить мощность экспозиционной дозы гамма-излучения:

2.2.4.1. Перевести переключатель режима работы в положение "МД"

2.2.4.2. Включить прибор выключателем питания и нажать кратковременно кнопку "пуск". При этом на цифровом табло должны появиться точки после каждого разряда 0.0.0.0. и должен начаться счет импульсов;

2.2.4.3. Через (20 ± 5 с) измерение закончится, что будет сопровождаться звуковым сигналом, а на цифровом табло фиксируется число с одной запятой, например 0,012, соответствующее мощности экспозиционной дозы гамма-излучения, мР/ч;

2.2.4.4. Показание на цифровом табло сохранится до повторного нажатия на кнопку "пуск" или выключения прибора;

2.2.4.5. Для выполнения повторного замера достаточно кратковременно нажать кнопку "пуск";

2.2.4.6. Взаимодействие ионизирующих излучений с объектом носит случайный характер, поэтому может наблюдаться значительный разброс в показаниях прибора;

2.2.4.7. Для получения более стабильных значений мощности экспозиционной дозы следует выполнить 5 замеров, записать полученные данные в табл. 2 протокола отчета л вычислить среднее арифметическое значение;

2.2.4.8. После измерений выключить прибор.2.2.5. Измерить плотность потока бета- излучения с загрязненных поверхностей:

2.2.5.1. Перевести переключатель режима работы в положение "МД" и включить прибор выключателем питания;

2.2.5.2. Поднести прибор плоскостью задней (закрытой) крышки к исследуемой поверхности на расстояние 1 см и кратковременно нажать кнопку "пуск". Выполнить измерение и занести показание (Ng) в табл. 3 протокола отчета;

2.2.5.3. Открыть заднюю крышку прибора, выполнить измерение с открытой задней крышкой аналогично описанному в предыдущем подпункте и занести показание на табло прибора (Ng) в табл. 3 протокола отчета;

2.2.5.4. Закрыть заднюю крышку прибора, выключить прибор.

Измерение плотности потока бета-излучения с загрязненной поверхности следует произвести три раза и по подученным данным вычислить среднее арифметическое значение.

 

4. МЕТОДИКА ОБРАБОТКИ И АНАЛИЗА ЭКСПЕРИМЕНТАЛЬНЫХ ДАННЫХ


Провести грубую оценку радиационной обстановки в помещении лаборатории по данным табл. 1, рассчитав среднее число импульсов и звуковых сигналов за время измерения, затем среднее число тех же параметров в минуту, и сравнить их с соответствующими параметрами естественного радиационного фона.

По данным табл. 2 вычислить среднее значение мощности экспозиционной дозы гамма-излучения в помещении лаборатории, сравнить его с ПД и сделать выводы об их соотношении с естественным радиационным фоном.

4.3. По данным табл. 3 рассчитать среднее значение величин(Ng ) и (ng+b ) и определить величину плотности потока бета-излучения с поверхности по формуле

q = К (ng+b - Ng ), част./см2мин,

где К =0,5 част./см2мин.импульс коэффициент счета прибора;

Ng показание прибора с закрытой задней крышкой без учета запятой на табло, импульсов; ng+b показание прибора с открытой задней крышкой без учета запятой на табло, импульсов.

Полученное значение сравнить с ДЗ поверхности помещений постоянного пребывания персонала и сделать вывод об их соотношении.

Перечислить основные направления по защите населения от ионизирующих излучений (см. теоретическую часть данной лабораторной работы и соответствующий раздел учебника по экологии).

 

Лабораторная работа N 4

КОНТРОЛЬ ТРАНСПОРТНОГО ШУМА ЖИЛОЙ ЗОНЫ ГОРОДА


Цель работы: овладеть навыками работы с приборами контроля за шумовым состоянием воздушной среды и оценить величину шумового загрязнения в селитебной (жилой) зоне под влиянием транспортных потоков.

 

. ТЕОРЕТИЧЕСКАЯ ЧАСТЬ


Шум можно определить как всякого рода звуки, мешающие восприятию полезных сигналов или нарушающие тишину, а также звуки, оказывающие вредное иди раздражающее действие на организм человека. Вредное влияние .шума на организм .человека проявляется в широком диапазоне: от субъективных раздражении до объективных патологических изменений в органах слуха, центральной нервной и сердечно-сосудистой системах. Шум возбуждает, нервную систему и лишает человека нормального сна и отдыха, снижает работоспособность и ухудшает здоровье. В селитебной зоне городов и других населенных пунктов доминирующими источниками внешнего шума являются транспортные потоки.

Органом слуха человека оценивается не абсолютное, а относительное изменение звукового давления, поэтому ГОСТ 12.1.00383установлено понятие уровня звукового давления в децибелах (дБ),величина которого определяется зависимостью

L=20lg(P/P0)(1)

где Р среднеквадратичная величина звукового давления, создаваемого источником звука. Па; Ро -2 10-5 Па - среднеквадратичное звуковое давление, соответствующее порогу слышимости при частоте звука 1000 Гц. .

Звуковая энергия, излучаемая источником шума, распределяется по различным частотам. Это распределение представляет собой спектр колебаний.

Для измерения уровней звукового давления применяют специальные приборы шумомеры. Звуковые колебания давления, попадая на мембрану микрофона шумомера, преобразуются в слабые электрические сигналы. которые усиливаются, выпрямляются и подаются на вольтметр, шкала которого откалибрована в децибелах. В современных шумомерах используют две частотные характеристики чувствительности А и С. Характеристика С практически линейна в измеряемом диапазоне частот. Характеристика .А, имеющая завал на низких частотах, имитирует кривую чувствительности уха человека, и применяется для гигиенической оценки шума. Уровень звука, измеренный по шкале А, обозначают в дБА и называют "уровнем звука в дБА". К достоинству шкалы можно отнести то обстоятельство, что удвоение громкости звука вдвое грубо соответствует увеличению его уровня на 10 дБА.

Транспортный шум является непосредственным, так как его уровень изменяется по времени более чем на 5 дБА. Чтобы охарактеризовать транспортный шум одним числом, вводится понятие эквивалентного (по энергии) уровня звука la экз в дБА. Эквивалентный уровень звука данного непостоянного шума представляет собой уровень звука постоянного широкополосного неимпульсного шума, оказывающего такое же воздействие на человека, как данный непостоянный шум. Эквивалентный уровень звука рассчитывают на основании данных, полученных при измерениях шумомером. по формуле

(2)

где N - общее количество отсчетов уровней звука за время измерения; ni - число отсчетов уровня звука в i-ом интервале уровней звука с диапазоном 5 дБА: Li - средний, уровень звука в данном интервале, дБА; 1=1, 2,...,п.

Максимальный уровень звука la макс. ДБА- уровень звука, соответствующий максимальному показанию шумомера при визуальном отсчете.

Нормативы шумового загрязнения воздушной среды установлены "Санитарными нормами допустимого шума в помещениях жилых и общественных зданий и на территории жилой застройки" (СН 307784)и ГОСТ 12.103681. Нормируемыми параметрами непостоянного шума являются эквивалентные уровни звука la эха. ДВА. Оценка непостоянного шума должна проводиться одновременно по эквивалентному и максимальному уровням звука.

Шум на селитебной территории измеряет в соответствии с ГОСТ23337-78 "Шум. Методы измерения, шума на селитебной территории и в помещениях жилых и общественных зданий" не менее чем в трех точках, расположенных на расстоянии 2 м ;т ограждающих конструкций зданий. Допустимые уровни шума в селитебной зоне составляютla экв = 55 дБА и la макс = 70 дБА. В помещениях зданий шум следует измерять не менее чем в трех точках, равномерно распределенных по помещениям не ближе 1.м от ограждающих конструкций помещений. Допустимые уровни шума в помещениях устанавливаются при условии обеспечения нормативной вентиляции помещений (для жилых помещений при открытых форточках, фрамугах, узких створках окон) и составляют la экв = 40 дБА и la макс " 55 дБА.

Борьба с транспортным шумом ведется по четырем основным направлениям:

техническому - снижение шума в источнике, т.е. создание и применение мало шумных транспортных средств благодаря техническому прогрессу;

административно-организационному - снижение шума путем регламентации по месту, времени и качественному составу движения транспортных средств;

градостроительному (архитектурно-планировочному) снижение шума на пути его распространения в городской среде, т.е. от источника транспортного шума до объекта защиты;

строительному (объемно-конструктивному) снижение шума на объекте защиты путем увеличения. звукоизолирующей способности наружных ограждений, изменений объемно-планировочных решений самого объекта и т.п.

Снижение уровней шума задача в основном техническая, но, судя по прогнозным оценкам, в ближайшие 1520 лет наряду с техническими решениями проблемы все большую роль будут играть градостроительные .(архитектурно-планировочные) и строительные мероприятия.

Для защиты селитебной территории от транспортного шума в качестве экранирующих сооружений применяют шумозащитные экраны, а также земляные насыпи, откосы выемок, здания нежилого назначения и полосы зеленых насаждений.

 

2. ЭКСПЕРИМЕНТАЛЬНАЯ ЧАСТЬ


.1 Материально-техническое обеспечение лабораторной работы

Исследование шумового состояния воздушной среды в селитебной зоне осуществляют на лабораторной установке конструкции кафедры БЖЭ ТГТУ. Она включает в себя шумомеры 00023 и 00026 фирмы "RFT"для точного определения уровня звукового шума с любой временной характеристикой и приспособление для размещения микрофона шумомера снаружи или внутри помещения в соответствии с требованиями ГОСТ 2333778.

2.2 Порядок проведения эксперимента

.2.1. Ознакомиться с лабораторной установкой по исследованию транспортного шума и заданием на исследование, вариант которого выдает преподаватель.

Подготовить к работе шумомер 00026 в следующем порядке: переключатель 1 (нагрев микрофона) поставить в положение "О"; переключатель 2 (внешнее управление) в положение "О"; переключатель 3 (показания) в положение "I"; переключатель 4 (режим работы) в положение "L"; переключатель 5 (оценка частоты) в положение "А"; переключатель б (оценка времени) в положение"S"; клавиши "стоп" и "Т/В" должны быть отжаты.

Включить прибор в сеть нажатием клавиши "0/1", при этом высвечивается цифровое табло. Спустя 30 секунд прибор приходит в состояние готовности к работе.

2.2.2. Исследовать параметры шума транспортного потока в селитебной зоне при помощи шумомера 00026. Для этого нажать клавиши "Т/В" (задать интервал отсчетов уровней звука в дБА в 4 секунды) и снимать показания с цифрового табло в момент, когда высвечивается вертикальная черта "стоп" в девой стороне индикаторного поля. Необходимо провести не менее 50 отсчетов уровней звука в дБА и подученные данные занести в табл. 1 протокола отчета.

Выключить прибор путем отжатая клавиши "0/1".

2.2.3. Исследовать параметры шума от внешних источников в помещении лаборатории при помощи шумомера 00023. Для этого включить тумблер "сеть"; переключатели 1 и 2 (диапазоны) поставитьна максимальный под диапазон; переключатель 3 (частотное приведение) поставить в положение "А"; переключатель 4 (приведение повремени) в положение "S"; переключатель 5 (нижняя граничная частота) на 20 Гц. Спустя 30 секунд прибор приходит в состояние готовности.

В течение 10 минут провести не менее 50 отсчетов уровней звука в 2SA с интервалом S с. Показания прибора снимают, суммируя показания переключателей 1, 2 и стрелочного прибора (значение уровня звука принимают по максимальному показанию при колебании стрелки прибора в момент отсчета) и заносят в табл. 2 протокола отчета.

После окончания измерений выключить питание шумомера тумблером "сеть".

 

3. МЕТОДИКА ОБРАБОТКИ И АНАЛИЗА ЭКСПЕРИМЕНТАЛЬНЫХ ДАННЫХ


Математическую обработку экспериментальных данных из1,2,3,4 ведут по следующей методике.

По данным табл. 1 протокола отчета заполнить табл. 2 и по формуле (2) рассчитать эквивалентный уровень звука транспортного потока в селитебной зоне. Сделать выводы о соотношении полученных данных значений la экв и la макс по отношению к допустимым .уровням по СН 307784 и дать рекомендации по снижению шума(см. раздел 1). :. ..

По данным табл. 3 протокола отчета заполнить табл. 4 и по формуле (2) рассчитать la экв в помещении лаборатории. Сделать выводы о соотношении подученных значений la экв и la макс по отношению к допустимым уровням по. СН 307784 и дать направления по снижению шума (см. раздел. 1 и соответствующий раздел учебника экологии).

Лабораторная работа N 5

КОНТРОЛЬ КАЧЕСТВА ПИТЬЕВОЙ ВОДЫ ПОТЕНЦИОМЕТРИЧЕСКИМ И ФОТОМЕТРИЧЕСКИМ МЕТОДАМИ


Цель работы: овладеть навыками работы с приборами потенциометрического и фотометрического анализа воды, изучить нормативные документы ;.и оценить качественные показатели питьевой воды.

 

. ТЕОРЕТИЧЕСКАЯ ЧАСТЬ


Возможность использования природных вод зависит от требований, предъявляемых каждым видом водопользования к качеству воды. Требования к качеству Питьевой воды, подаваемой централизованными хозяйственно-питьевыми системами водоснабжения и водопроводами одновременно для питьевых, хозяйственных, технических и коммуникально-бытовых целей, регламентирует ГОСТ 287482. Питьевой называется вода, которая потребляется человеком непосредственно или косвенно, а также для приготовления напитков и других кулинарных целей.

Питьевая вода не должна содержать микроорганизмы л химические вещества в концентрациях, которые могут представлять:, вред для здоровья. Для общественного питьевого водоснабжения основное значение имеют свежесть, прозрачность и бесцветность воды, а также отсутствие неприятного запаха и вкуса. Поэтому государственный стандарт регламентирует бактериологические, токсикологические и органолептические(запах, привкус, цветность, мутность)показатели, воды Постоянный контроль, за качеством воды должен осуществляться в местах, .водозабора, в процессе ее обработки на очистных сооружениях, перед поступлением в водопроводную и распределительную сеть по бактериологическому и химическому составами по органолептическим показателям.

Оперативный контроль качества природной воды на водозаборах целесообразно вести при помощи передвижной микролаборатории, в состав которой входит комплект приборов, использующих потенциометрический и фотометрический методы анализа проб воды; монитор типа Аквамер 54/55 и фотоэлектрокодориметр КФ77.

Монитор типа Аквамер 54/55 предназначен для автоматического контроля качества воды по четырем важным показателям температура, водородный показатель, хлоридный показатель и растворенный кислород. Фотозлектрокодориметр КФ77 используют для оценки качества воды по двум показателям: мутность и цветность. Следовательно, эти показатели качества воды могут быть определены в полевых условиях;

Температура. Температура" воды является одной из важнейших характеристик, в значительной мере определяющей направления и тенденции изменения ее качества. Аквамер 54/55 проводит постоянное измерение температуры воды при помощи термометра сопротивления с точностью до 0,1°С.

В водопроводных и насосных установках температуру определяют, погружая термометр в струю стекающей воды. Температурные пределы питьевой воды 7...12°С.

Водородный показатель (рН). Величина рН природной воды служит важным показателем кислотности иди щелочности и является результирующей величиной кислота основного взаимодействия ряда ее минеральных и органических компонентов. Величина концентрации ионов водорода имеет большое значение для химических и биологических процессов, происходящих в природных водах. От нее зависят развитие и жизнедеятельность водных растений, устойчивость различных форм миграции элементов, агрессивное действие воды на различные сооружения и т.д.

Метод определения рН, используемый в Аквамере 54/55, основана измерении разности потенциалов, возникающих на границах между внешней поверхностью стеклянной мембраны электрода и исследуемым раствором, с одной стороны, и внутренней поверхностью мембраны и стандартным раствором кислот с другой. Так как внутренний стандартный раствор стеклянного электрода имеет постоянную активность ионов водорода, потенциал на внутренней поверхности мембраны не изменяется измеряемая разность потенциалов определяется потенциалом, возникающим на границе внешней поверхности электрода и исследуемого раствора.

Измерения рН производят относительно потенциала другого электрода, называемого электродам сравнения, потенциал которого практически не зависит от активности ионов водорода. Электродвижущая сила, возникающая в измерительных ячейках, составленных из индикаторного (стеклянного) электрода, электрода сравнения исследуемого раствора и растворов с постоянной активностью водородных ионов является функцией активности ионов водорода (рН) в исследуемом растворе и температуры.. Эта функция линейна в пределах измеряемых значений рН. В приборе имеется температурная компенсация, позволяющая устранять .ошибки, обусловленные различием температуры анализируемых проб воды. Аквамер 54/55 позволяет проводить измерения с погрешностью 0,05 единиц рН. , ,

Водородный показатель рН питьевой воды должен находиться в пределах 6,5-8,5.

Хлориды. Хлориды присутствуют в заметных количествах почти во всех природных водах. Диапазон их концентрации весьма широк вплоть до перенасыщения растворов легко растворимых солей, в частности, хлорида натрия.

Однако в большинстве вод рек, озер, водохранилищ их содержание невелико по сравнению с другими главными компонентами.

Хлориды один из наиболее устойчивых компонентов воды. Их содержание практически не изменяется при протекающих в водах физико-химических и биохимических процессах трансформации химического состава вод.

Значительное повышение концентрации хлоридов в поверхностных или грунтовых водах может быть связано с загрязнением промышленными и бытовыми сточными водами. Следует учитывать, что хлориды постоянный спутник фекалов и поэтому повышение их концентраций может служить одним из сигналов фекальных загрязнений.

Метод определения рС1, используемый в Аквамере 54/55, аналогичен описанному выше при .определении рН, только вместо стеклянного электрода применен хлорселективный электрод с хлоридноймембраной.

Содержание хлоридов (по рС1) в питьевой воде. не должно превышать 350 мг/д (рС1 >2),

Растворенный кислород. Содержание кислорода в воде зависит от ряда физических, химических, биологических и микробиологических процессов. Соприкасающаяся с воздухом вода содержит кислород в концентрации, которая при равновесии определяется атмосферным давлением растворенных солей.

Отклонения концентрации кислорода от равновесной могут вызываться:

резким изменением барометрического давления, температуры воды, аэрацией воды в различных гидротехнических сооружениях;

физико-химическими и химическими процессами, например. Потреблением кислорода на химическое окисление вещества, поглощением кислорода при коррозии металлов и т.д.:

•биохимическими процессами, такими как аэробное биохимическое окисление органических веществ. дыхание водных организмов, продуцированный кислород в процессе фотосинтеза.

Содержание кислорода является важным показателем загрязненности водоема, его биологического состояния, доминирующих в нем процессов образования, деструкции органических веществ, интенсивности самоочищения. Весьма важное значение имеет изучение кислородного режима водоема при оценке условий обитания в нем ихтиофауны.

Концентрация кислорода в воде водных объектов у пунктов хозяйственно-питьевого и культурно-бытового водоснабжения должна быть не менее 4 мг/д.

Датчиком на кислород в приборе Аквамер 54/55служит кислородоселективный электрод, изменяющий свое внутреннее сопротивление в зависимости от количества кислорода, диффундирущего на катод электрода через селективно пропускающую мембрану.

Мутность, мутной называют воду непрозрачную в проходящем свете; отдельные взвешенные частицы в ней не различию невооруженным взглядом и при отстаивании в течение 5...6 часов из раствора не выделяются. Мутность воды определяется содержанием взвешенных веществ, основными источниками которых являются: 1) поступление с поверхностным стоком; 2) размыв берегов и дна: 3)развитие фитопланктона и высшей водной растительности; "4) поступление с промышленными стоками; 5) эоловы наносы. Снизить мутность питьевой воды можно путем отстоя с последующим применением различных фильтров.

Метод определения мутности воды, использованный в данной лабораторной работе, основан на измерении величины оптической плотности исследуемой пробы воды и установлении концентрации взвешенных веществ по калибровочной кривой, построенной в координатах: оптическая плотность концентрация взвешенных веществ в мг/л. Для ее построения готовят в соответствии с требованиями гост 335174 шкалу эталонных растворов на основе стандартной суспензии из каолина с содержанием 1 мг в 1 см3 и дистиллированной воды. Оптическую плотность проб воды измеряют на фотоэлектроколориметре(зеленый светофильтр) в кюветах с толщиной слоя 5см.

Мутность питьевой воды по стандартной шкале не должна превышать 1,5 мг/л.

Цветность. Окраска питьевой воды зависит от содержания органоминеральных и микооорганических примесей. Отклонение цветности питьевой, воды от стандартной, как правило, свидетельствует о наличии большого количества минеральных примесей и живых микроорганизмов.

ГОСТ 335174 регламентирует оценку цветности исследуемой воды фотометрическим методом по калибровочной кривой, построенной в координатах: оптическая плотность пробы воды градусы цветности. Для построения калибровочной кривой (стандартной шкалы цветности) готовят шкалу эталонных растворов на основе двухромистого "калия, сернокислого кобальта, концентрированной серной кислоты и дистиллированной воды. Заданное в ГОСТ 335174 соотношение указанных составляющих дает эталонные растворы различной цветности с соответствующей оптической плотностью, выраженной в градусах цветности. Оптическую плотность проб измеряют на фотоэлектроколориметре (синий светофильтр.; в кюветах с толщиной слоя воды. 5 см.

Цветность питьевой воды по стандартной шкале не должна превышать 20 градусов.

Водоемы и водотоки считаются, загрязненными, если показателисостава и свойств вода в них изменились под влиянием производственной;, и непроизводетвённой деятельности и стали полностью идентично непригодными для одного из видов водопользования.

Критерием загрязненности воды является ухудшение ее качества(например, по параметрам, изученным, в данной лабораторной работе) и приобретение свойств, вредных, для человека, флоры и фауны, в зависимости от вида водопользования.

Основными мероприятиями по охране поверхностных вод от загрязнения являются:

внедрение замкнутых водооборотов в промышленных узлах и на отдельных предприятиях; обеспечение надлежащего разбавления производственных и коммунально-бытовых стоков путем регулирования стока рек;

механическая очистка (коагулянта, нейтрализация и отстаивание сточных вод);

физико-химическая очистка (электростатический и полный обмен, сорбция и т.д.);

биологическая очистка сточных вод.

Основными мероприятиями по охране подземных вод являются:

профилактические (контроль и наблюдение за качество подземных вод, надежное в санитарном отношении устройство водозаборов подземных вод и т.п.);

локальные, т.е. ограничивающие продвижение загрязнений по водоносному пласту от очага загрязнения;

восстановительные, имеющие цель ликвидировать загрязнение водоносного горизонта и восстановить природное качество подземных вод.

Для того чтобы предотвратить загрязнение окружающей среды, связанное с демографическим взрывом промышленным развитием, необходимо:

государственное планирование урбанизации и индустриализации с целью избежать избыточной концентрации городов и промышленности;

применение "более чистой технологии", т.е. промышленной технологии без сточных вод с ограниченными, насколько это возможно. Стоками. Необходимо учитывать затраты на очистку сточных вод и вред, наносимый окружающей среде;

внедрение технологии очистки сточных вод. Позволяющей регенерировать загрязняющее вещество, чтобы избежать возникновения проблем его удаления и вторично исподьзовать дочищенную воду.

 

2.ЭКСПЕРИМЕНТАЛЬНАЯ ЧАСТЬ


.1 Материально техническое обеспечение лабораторной работы

Контроль качества воды осуществляется Аквамером 55/54 фирмы "Телеко" (Польша) и фотоэлектродозиметром КФ77. Лабораторный стенд включает: монитор типа Акзамер 55/54, выносной комплект датчиков с соединительным кабелем, емкость для исследуемой воды, прибор КФ77 с набором светофильтров и кювет для исследуемых растворов, стеклянные воронки, стаканы.

.2 Порядок выполнения эксперимента

.2.1. Ознакомиться с лабораторной установкой по исследованию качества питьевой воды и заданием на исследование, вариант которого выдает преподаватель. Подготовить к работе Аквамер55/54, для этого: наполнить емкость водой до уровня, отмеченного синей чертой, и погрузить в see выносной комплект датчиков;

включить тумблер "Сеть" аквамера в положение 1, а тумблер "Индикация" в положение "Вкл.". Спустя 5 минут прибор приходит в режим готовности к работе.

2.2.2. Исследовать параметры качества питьевой воды Аквамером 55/54 и полученные данные занести в табл. 1 протокола отчета. Для этого следует последовательно нажимать на клавиши "О","1"^..,"5" прибора, используя данные табл. 1»

2.2.3. Выключить тумблеры прибора Аквамер 55/54 "Индикация" и "Сеть".

Таблица 1

Нажимаемая клавиша монитора

Измеряемый параметр качества воды

Символ измеряемого параметра на панели монитора

0

Температура, °С

Т

1

Хдоридный показатель, pсl

рС1

2

Водородный показатель РН

РН

3

ЭДС, тВ

тВ

4

Удельная проводимость S/m


5

Растворенный кислород МГ/Л



2.2.4. Подготовить к работе прибор КФ77: последовательным вращением регуляторов настройки "грубо" и "точно", обозначенных соответственно символами " » " и " Вкл ", переместить красную точку, нанесенную на каждом регуляторе, в верхнее положение. Открыть крышку кассетного отсека прибора и в левое гнездо кассеты приема проб установить кювету с дистиллированной водой, а в правое гнездо кювету с исследуемым раствором (взвесью), после чего закрыть крышку кассетного отсека.

2.2.5. Определить мутность пробы воды, для этого:

2.2.5.1. В гнездо "Светофильтр" прибора установить зеленый светофильтр и включить прибор в электрическую сеть нажатием кнопки "^";

2.2.5.2. Передвинуть кассету с пробами в крайнее правое положение, чтобы кювета с дистиллированной водой оказалась на пути светового луча;

2.2.5.3. Вращением регуляторов настройки "грубо" и "точно" добитьсят установки стрелки фотоколориметра на "О" по верхней шкале прибора;

2.2.5.4. Передвинуть кассету с пробами в крайнее левое положение, чтобы кювета с исследуемым раствором оказалась на пути светового луча;

2.2.5.5. Считать по верхней шкале фотоколориметра величину оптической плотности анализируемого раствора (взвеси) и занести полученное значение в табл. 2 протокола отчета.

2.2.6. Определить цветность проб воды. Для этого в прибореКФ77 установить в гнездо "Светофильтр" синий светофильтр и измерить величину оптической плотности анализируемого раствора по методике, описанной выше при определении мутности пробы воды(см. п. 2.2.5).

.Полученное значение оптической плотности исследуемого раствора занести в табл. 2 протокола отчета,

2.2.7. Выключить прибор, отжав кнопку "^", извлечь кюветы"с исследуемыми жидкостями и закрыть крышку кассетного отсека.

 

3. МЕТОДИКА ОБРАБОТКИ АНАЛИЗА ЭКСПЕРИМЕНТАЛЬНЫХ ДАННЫХ


Так как монитор типа Аквамер:Б4/55 предназначен для автоматического контроля качества воды :по четырем показателям(температура, хлоридный показатель, водородный показатель, растворенный кислород) в полевых условиях, никакой математической обработки результатов, записанных в столбце 3 табл. 1 протокола отчета по данной лабораторной работе, проводить не требуется.

Необходимо выбрать нормативные значения показателей качества воды по ГОСТ 287482, записать их. в столбце 4 табл. 1 и сделать выводы о соответствии измеренных значений параметров качества воды требуемым.

В столбце 5 табл. 2 записать нормативные требования к качеству воды по мутности и цветности (см. теоретическую часть данной работы)

По калибровочным, кривым "оптическая плотность мутность " и " оптическая плотность цветность" определить мутности цветность исследованных проб воды, записать полученные значения в табл.;" 2 и сделать выводы о соответствии, измеренных значений нормам.

Сделать обобщенный вывод о соответствии значений параметров качества питьевой воды, полученных в ходе выполнения лабораторной работы, нормативным требованиям. Дать направление по повышению качества питьевой воды (см. теоретическую часть данной лабораторной работы и соответствующий раздел учебника по экологии) .

 

Лабораторная работа N 6

КОНТРОЛЬ КАЧЕСТВА ВОДЫ В ПУНКТАХ ХОЗЯЙСТВЕННОПИТЬЕВОГОИ КОШУНАЛЬНОБЫТОВОГО ВОДОПОЛЬЗОВАНИЯ


Цель работы. закрепить навыки работы с приборами анализа состава и свойств воды, изучить нормативные документы и оценить качественные показатели поверхностных вод в пунктах коммунально-бытового и хозяйственно-питьевого водопользования.

 

. ТЕОРЕТИЧЕСКАЯ ЧАСТЬ


Нормативы качества поверхностных вод для хозяйственно-питьевого (ХозП) и культурно-бытового водопользования установлены Правилами охраны поверхностных вод (1991.г). В: них использованы 3 группы показателей: органолептические, обще санитарные и санитарно-токсикологические. "

С помощью органолептических показателей оцениваются (в балах) вещества, изменяющие вкус, запах и цвет воды. Обще санитарными показателями оцениваются вещества и свойства воды, влияющие на скорость протекания процессов самоочищения. Санитарно-токсикологические показатели характеризуют содержание ядовитых для человека веществ и представляют собой перечень предельно-допустимых концентраций (ПДК).

ПДК вещества в воде это концентрация данного вещества, выше которой вода не пригодна для установленного вида водопользования.

Общие требования к составу и свойствам воды для различных видов водопользования приведены в табл. 1.

Таблица1. Общие требования к составу и свойствам водных объектов в пунктах ХозП и КультБ водопользования

Показатели состава и свойств водного объекта

Категории водоп.


ХозП водоснабжение, а также водоснабжение пищевых предприятий, КудьтБ водопользование: для купания, спорта, отдыха и водоемов в черте насе ленных мест


1

2

3

Взвешенные вещества

Содержание взвешенных веществ не должно увеличиваться более чем на: 0,25 мг/л 0,75 мг/л


Плавающие примеси

На поверхности воды не должно быть пленок нефтепродуктов, пятен минеральных масел искуплений других примесей


Запахи и привкусы

Интенсивность более 1 балла не допускается


Окраска

Не должна обнаруживаться в столбике воды 20.см (менее 20 град) 10 см


Температура

Летняя температура воды в результате спуска сточных вод не должна повышаться более чем на 3°С по сравнению .со среднесуточной температурой самого жаркого месяца года за последние 10 лет


Водородный показатель рН

Не должен превышать по сухому остатку 1000мг/л, в том числе хлоридов 350 мг/д (рС1>2)и сульфатов 500 мг/д


Минеральный состав

Не должен превышать по сухому остатку 1000мг/л, в том числе хлоридов 350 мг/д (рС1>2)и сульфатов 500 мг/д



Отчета по данной лабораторной работе, проводить не требуется.

Необходимо выбрать нормативные значения показателей качества воды по ГОСТ 287482, записать их в столбце 4 табл. 1 и сделать выводы о соответствии измеренных значений параметров качества воды требуемым.

В столбце 5 табл. 2 записать нормативные требования к качеству воды по мутности и цветности (см. теоретическую часть данной работы)..

По калибровочным, кривым "оптическая плотность мутность "и~" оптическая плотность цветность" определить мутности цветность исследованных проб воды, записать полученные значения в табл.;" 2 и сделать выводы о соответствии, измеренных значений нормам.

Сделать обобщенный вывод о соответствии значений параметров качества питьевой воды, полученных в ходе выполнения лабораторной работы, нормативным требованиям. Дать направление по повышению качества питьевой воды (см. теоретическую часть данной лабораторной работы и соответствующий раздел учебника по экологии) .

Оценка качества и свойства воды для каждого вещества ведется последовательно по всем группам показателей, т.е. вначале идет органолептическая оценка, потом проверяются обще санитарные характеристики и в конце санитарно-токсикологические (в СанПиН463088 приведен перечень ПДК вредных веществ 1345 наименований). Периодичность и правила отбора и анализа проб воды определяются ГОСТ 287482. Пробы отбираются не реже 1 раза в месяц, а при наличии сброса загрязненных стоков ежеквартально. Оценка качества воды в водоеме является основным условием для выдачи разрешения на сброс сточных вод. Контроль за состоянием водных объектов осуществляют как водопользователи, так и органы госконтроля.

Оперативный контроль качества воды в водозаборах целесообразно вести с помощью передвижной микролаборатории, что дает возможность определить основные показатели качества воды в полевых условиях, как это было показано ранее в лабораторной работе N 5.

Водные объекты считаются загрязненными, если показатели состава и качества воды делают ее непригодной для одного из видов водопользования. Критерием загрязненности воды служит индекс загрязнения, характеризующий степень ухудшения ее качества приобретения вредных для человека, флоры и фауны свойств. Принципы классификации водных объектов по степени загрязнения по результатам оперативного контроля качества воды приведены в табл. 2.

Следовательно, показатели качества воды в местах водозабора позволяют определить степень загрязнения, от которой зависят способы очистки и охраны поверхностных вод.

Температура. С повышением температуры уменьшается насыщение

воды кислородом, повышается скорость изменения ее качеств чаще всего в неблагоприятную сторону. Причиной этого является сброс поверхностные воды нагретых стоков.

Таблица 2. Классификация водных объектов по степени загрязнения

Степень загрязнения

Основные показатели загрязнения

Индекс загрязнения


Запах, привкус (балл)

ПДК орг. степень превышения

Растворенный кислород, мг/л













2

1

4

0

Умеренная

3

4

3

1

Высокая

4

8

2


Чрез. высокая

4

8

1

3


Вкус и привкус. Для питьевой воды различают четыре основных вида вкуса: соленый, кислый, сладкий и горький. Все другие ощущения называются привкусом (болотистый, затхлый, металлический и др.). Они зависят в основном от содержания органоминеральных примесей. Количество примесей можно сократить с помощью набора различных фильтров. ГОСТ 335174 допускает субъективную оценку вкусового качества воды по критериям, представленным в табл. 3.

Таблица З Критерии оценки вкусовых качеств питьевой воды

Интенсивность вкуса и привкуса

Характер вкуса и привкуса

Оценка (балл)

Нет

Вкус и привкус не ощущается

0

Очень слабая

Вкус и привкус не ощущаются потребителем, но обнаруживаются при лабораторных исследованиях

1

Слабая

Вкус и привкус замечаются потребителем, если обратить на это внимание

2

Заметная

Вкус и привкус легко замечаются и вызывают неодобрительный отзыв о воде

3

Отчетливая

Вкус и привкус обращают на себя внимание и заставляют воздерживаться от питья

4

Очень сильная

Вкус и привкус настолько сильный, что делают воду непригодной к употреблению

5


Запах. Вода из объекта водозабора может иметь характерный запах (болотный, затхлый, гнилой, нефтепродуктов и др.). Разновидность запаха, как правило, связана с физико-химическими и химико-биологическими процессами, протекающими в водной среде. В водозаборах, где идут процессы гниения, наблюдается запах нефтепродуктов (болотный газ). При фекальных загрязнениях обнаруживается хлорный и аммиачный запах. После биохимической очистки интенсивность запаха значительно снижается. Для экспресс-анализа ГОСТ 335174 допускает* субъективный метод оценки запаха по критериям табл. 4.

Таблица 4. Критерии оценки интенсивности запаха

Интенсивность запаха

Характер проявления запаха

Нет

Запах не ощущается

Очень слабая

Запах не ощущается потребителем, но обнаруживается при лабораторных исследованиях

Слабая

Запах замечается потребителем, если обратить на него внимание

Заметная

Запах легко замечается и вызывает неодобрительный отзыв о воде

Отчетливая

Запах обращает на себя внимание и заставляет воздерживаться от питья

Очень сильная

Запах настолько сильный, что делает водунепригодной к употреблению


Окраска (цветность). Отклонение цветности воды в водозаборе от стандартной, как правило, свидетельствует о наличии большого количества минеральных примесей, которые могут не иметь привкуса и запаха, и живых микроорганизмов. Цветность можно изменить путем фильтрования с предварительным нагревом для изменения микро органической фауны. При цветности более 20 .градусов необходимо провести тщательный .количественный анализ микробиологических и токсикологических показателей, воды. ГОСТ 335174 регламентирует оценку цветности. фотометрическим методом,, подробно описанным в лабораторной работе N 5.

Мутность. Содержание взвешенных веществ, в основном минеральных примесей, определяет мутность воды. Снизить мутность питьевой воды можно путем отстоя с последующим применением различных фильтров. Основными источниками взвешенных веществ являются поступления с поверхностным стоком и промышленными стоками. ГОСТ 335174 предусматривает оценку мутности воды фотометрическим методом (см. теоретическую часть лабораторной работы N 5).

Водородный показатель рН отражает концентрацию ионов водорода. От величины рН зависит развитие и жизнедеятельность водных растений. В щелочной среде миграционная способность химических элементов уменьшается, что создает перенасыщение локальных участков продуктами техногенеза. В кислых средах миграционная способность, а следовательно и рассеивание техногенных элементов, увеличивается. Усиливается и агрессивное действие воды на различные сооружения. Для определения рН в данной работе применен потенциометрический метод.

Хлориды. Повышенное содержание хлоридов ухудшает вкусовые качества воды и ограничивает ее применение для многих технических и хозяйственных целей, в том числе для орошения сельскохозяйственных угодий. Значительное повышение концентрации хлоридов в водозаборе может быть связано с загрязнением промышленными или бытовыми сточными водами и может служить одним из сигналов фекальных загрязнений. В данной работе для определения концентрации хлоридов применен потенциометрический метод.

Основные мероприятия по охране поверхностных вод от загрязнения описаны выше в теоретической части лабораторной работы N 5.

 

2. ЭКСПЕРИМЕНТАЛЬНАЯ ЧАСТЬ


Материально-техническое обеспечение лабораторной работы. Лабораторный стенд включает Аквамер 54/65 фирмы "Телекс"(Польша), фотоэлектроколориметр КФ77, водяную баню, колбы плоскодонные емкостью 350 мл 4 шт., часовое стекло и мерный стакан. Источником проб водозабора является емкость Аквамера.

Порядок проведения экспериментов:

Ознакомиться с лабораторными установками по экспресс методу исследования степени загрязненности объекта водопотребления. (Варианты задания на исследования задаются преподавателем);

В плоскодонный колбы долить до 100 мл исследуемой воды из соответствующих емкостей Аквамера. Определить характер проявления запаха и результат занести в табл. 1 (1 и;2 пробы) протокола отчета. После чего колбы помещают в водяную баню, закрыв предварительно часовым стеклом, и нагревают до 60°С. Сдвинув часовое стекло, быстро определяют характер проявления запаха и результаты заносят в табл. 2 (3 и 4 пробы) протокола отчета;

В плоскодонные колбы наливают 100 мл исследуемой воды из емкостей Аквамера. Набирают в рот малыми порциями, не проглатывая, задерживают 35с и выплевывают. Полученные ощущения заносят в табл. 2 протокола отчета;

В емкость Аквамера опускают образец белого цвета и при появлении изменения белого цвета образца фиксируют глубину погружения. Для повышения достоверности субъективной оценки глубину определяют 3 эксперта. Результаты заносят в табл. 8 отчета;

Подготовить к работе Аквамер, для чего включить тумблер "Сеть" в положение 1, а тумблер "Индикация" в положение "Вкл.". Спустя 5 минут прибор готов к работе;

Переключая поочередно клавиши "0", "I", "2" и "5" Аквамера, записать показания цифрового индикатора в табл. 4 отчета;

Подготовить к работе фотоколориметр КФ77: выставить регуляторы чувствительности " " и " " таким образом, чтобы нанесенная на каждом регуляторе красная точка заняла верхнее положение; включить прибор в сеть нажатием кнопки " ^ ".Открыть крышку кассетного отсека, в левое гнездо кассеты вставить кювету с дистиллированной водой: а в правое гнездо кювету с исследуемым раствором (взвесью), после чего закрыть крышку кассетного отсека;

Определить мутность пробы воды. Для этого установить зеленый светофильтр в гнездо "Светофильтр" прибора КФ77 и переместить.кассету с пробами рычагом перемещения кассеты в крайнее правое положение. Регуляторами настройки установить стрелку фотоколориметра в нулевое положение по верхней шкале прибора. Перевести рычаг перемещения кассеты с пробами в крайнее левое положение, снять показание по верхней шкале прибора и занести в табл. 5 протокола отчета;

Определить цветность воды. Для этого в фотоколориметре КФ77 установить синий светофильтр и измерить величину оптической плотности анализируемой пробы по методике, описанной выше при определении мутности. Полученные значения оптической плотности занести в табл. 5 протокола отчета.

 

4. МЕТОДИКА ОБРАБОТКИ И АНАЛИЗА ЭКСПЕРИМЕНТАЛЬНЫХ ДАННЫХ


Используя оценочные табл. 1.-.4 теоретической части данной лабораторной работы, дать оценку вкуса и привкуса, запаха, окраски, температуры, хлоридного и водородного показателя и занести результаты в соответствующие таблицы протокола отчета,

По калибровочным кривым "оптическая плотность мутность" и "оптическая плотность цветность" определить мутности цветность исследованных проб воды, записать полученные значения в табл. 5 и сделать выводы о соответствии измеренных значений нормам.

Используя табл. 1.- 5 протокола отчета и дополнительные данные по вариантам задания, определить степень загрязнения объектов водопользования.

При отрицательных оценочных результатах предложить мероприятия по улучшению качества питьевой воды (см. теоретическую часть данной лабораторной работы и соответствующий раздел, учебника по экологии).

Похожие работы на - Контроль и анализ метеорологических условий, материальных и энергетических загрязнений окружающей среды

 

Не нашли материал для своей работы?
Поможем написать уникальную работу
Без плагиата!
Без нейросетей!