Геологическая характеристика Покачевского месторождения. Исследование штанговой насосной установки
ВВЕДЕНИЕ
При насосных способах добычи нефти подъем пластовой жидкости на
поверхность осуществляется под действием напора, создаваемого глубинным
насосом. В настоящее время наиболее широкое применение получили погружные
глубинные насосы различных конструкций, которые опускаются в скважину под
динамический уровень и обеспечивают подъём жидкости на поверхность. На нефтяных
месторождениях Западной Сибири из глубинных насосов применяются
электроцентробежные насосы (ЭЦН) и штанговые насосы (ШГН). Принцип действия ЭЦН
- динамический, ШГН является насосом объёмного действия.
В установках ЭЦН насос и его привод - электродвигатель составляют единый
насосный погружной агрегат, который спускается в скважину на колонне НКТ под
динамический уровень и при работе обеспечивает подъём жидкости на поверхность.
Основное достоинство такой конструкции по сравнению с наземным приводом -
отпадает необходимость в громоздком и малонадёжном механизме передачи движения
от наземного привода к глубинному насосу; передача энергии к насосному агрегату
осуществляется при помощи электрического кабеля.
При добыче нефти с помощью штанговой скважинной насосной установки (УШГН)
в скважине устанавливают плунжерный насос, который приводится в действие
наземным механическим приводом (станком-качалкой); звеном, соединяющим привод и
плунжер насоса, является колонна насосных штанг.
К достоинствам способа добычи нефти при помощи штанговых насосов
относятся небольшие затраты при эксплуатации скважин, позволяющие экономически
выгодно эксплуатировать даже очень малодебитные скважины, а также простота
оборудования и обслуживания скважин. Так как, большинство месторождений
Западной Сибири находится на стадии падающей добычи и дебит скважин
сравнительно небольшой, то установки ШГН являются наиболее подходящим оборудованием
с экономической и технологической точек зрения. Для скважин с большим дебитом
более выгодно применять установки электроцентробежных насосов, которые
обеспечивают более высокую подачу жидкости при меньших эксплуатационных
затратах.
Основным недостатком УШГН является наличие колонны насосных штанг,
которая совершает возвратно-поступательное движение. Наибольшее число аварий на
скважинах происходит из-за обрыва штанг; работы по ликвидации таких аварий
очень трудоёмки и требует больших затрат. Также вес штанг создаёт
дополнительные нагрузки на механический привод и снижает эффективность работы
установки. Поэтому насосные штанги являются наиболее ответственной частью
оборудования УШГН.
1. ГЕОЛОГИЧЕСКАЯ ЧАСТЬ
.1 Орогидрография
Район месторождений в центральной части Западно-Сибирской равнины
представляет собой слабо пересеченную, сильно заболоченную, неравномерно
заселенную равнину, приуроченную к широтному колену реки Оби. Последняя
судоходна со второй половины мая до конца октября. Характерной особенностью
района является большое количество озер и локальное развитие многолетнемерзлых
пород на глубине 170-230м толщиной до 60-80м. Почвенный слой оттаивает
полностью только в июне. Климат района континентальный с избыточным
увлажнением.
В геоморфологическом отношении территория месторождения располагается, в
основном, на правом берегу р. Аган притока р.Оби и только небольшая,
юго-восточная часть месторождения располагается на левом берегу реки,
протекающей в субширотном направлении.
Гидрографическая сеть представлена на западе рекой Нонг-Еган, на востоке
рекой Вать-Еган, на юге - рекой Аган. Судоходной является только река Аган для
судов с посадкой не более 1м. Многочисленные мелкие речушки и притоки
несудоходны даже в период весеннего паводка.
Рисунок 1 - Схема месторождений ТПП «Покачевнефтегаз»
Местность сильно заболочена, изобилует множеством мелких речушек и озер.
Самое крупное озеро Имн - Лор имеет размеры 108 км. Абсолютные
отметки рельефа изменяются от 30 до 50км. Растительность в районе очень бедная.
Крупный лес растет только по берегам рек. Климат континентальный с холодной
продолжительной зимой (до - 50°С) и теплым коротким летом (до 40°С). Полезных
ископаемых, кроме нефти и попутного газа, имеющих промышленное значение, на
территории Покачевского месторождения не имеется.[7]
В административном отношении район находится в западной части
Нижневартовского района вблизи границы с Сургутским районом Ханты -Мансийского
автономного округа Тюменской области практически в центральной части
Среднеобской нефтегазовой области.
В южной части проходит железная дорога Тюмень - Сургут - Нижневартовск с
наиболее крупными промежуточными станциями г. Тобольск, г. Лангепас, г. Мегион
и др. Вдоль западной границы района проходит железнодорожная ветка из г.
Сургута на г. Ноябрьск и Уренгой. Для перевозки срочных грузов используется
водный транспорт, вертолеты и современные грузовые самолеты. Асфальтированные
дороги связывают г. Нижневартовск с г. Лангепасом. Через весь район месторождения
с юга на север от г. Лангепаса к нефтепромыслам проложена бетонная дорога,
вдоль которой проходит ЛЭП.
В г. Нижневартовске, расположенном в 140 км к юго-востоку от
месторождения имеется аэропорт, речной порт и станция железной дороги.
Основными отраслями хозяйства являются нефтедобывающая промышленность,
геологоразведочные работы на нефть, газ и строительные материалы, строительство
объектов нефтяной промышленности, рыболовство, охота.
На территории месторождения построены: вахтовый поселок, промышленные
здания, коммуникации для сбора и транспортировки нефти и попутного газа,
площадки для бурения эксплуатационных скважин.
1.2 Стратиграфия и литология
В геологическом строении Нижневартовского свода принимают участие породы
доюрского фундамента, мезокайнозойских терригенных отложений платформенного
чехла. В разрезе последних выделяются юрские, меловые, палеогеновые и
четвертичные образования.
Верхняя часть фундамента, соответствующая коре выветривания на глубинах
3140 - 3149 м, представлена проницаемыми породами серого и светло-серого цвета
с зеленоватым оттенком, скрытозернистой, реже мелкозернистой структуры, с
вертикально направленной трещиноватостью, с мелкими включениями полевых шпатов.
Юрская система (1). Отложения юрской системы несогласно залегают на
породах коры выветривания. Осадки нижнего и среднего отделов представлены
континентальной толщей тюменской свиты, а верхнего отдела преимущественно
породами морского происхождения. В толще выделяются Васюганская, Георгиевская и
Баженовская свиты.
Тюменская свита представлена неравномерным чередованием песчаников,
алевролитов и аргиллитов. Отложения подразделяются на три части. В нижней части
преобладают песчаники. В средней части преобладают глинистые породы. В верхней
части - песчаники и алевролиты. Толщина свиты составляет - 400м.
Васюганская свита (келловей-оксфорд) делится на две части. Нижняя
представлена аргиллитами серыми, темно-серыми. Верхняя - преимущественно
песчаниками светло-серыми и серыми, иногда зеленоватыми за счет глауконита.
К песчаникам верхней части васюганской свиты приурочен продуктивный пласт
ЮВ. Общая толщина свиты достигает 80 м.
Георгиевская свита (киммеридж) представлена аргиллитами темно-серыми,
почти черными с включением глауконита. Толщины изменяются от 0,4 до 7,0м.
Баженовская свита сложена породами аргиллита, темно-серыми, почти
черными, плотными битуминозными. Породы свиты хорошо выдержаны по всему региону
и являются отражающим горизонтом БВ2. Толщина свиты 18-28 м.
Меловая система (К).
Меловая система представлена нижним и верхним отделами, сложенными
морскими, прибрежно-морскими и континентальными осадками.
Нижнемеловые отложения на рассматриваемой территории представлены
отложениями Мегионской, Вартовской, Алымской, низов Покурской свит.
Мегионская свита (берриас-валанжин) по литологии делится на четыре части.
Нижняя часть сложена аргиллитами. На них залегает Ачимовскоя толща,
представленная переслаиванием песчаников, алевролитов и аргиллитов (пласты
БВ18-21)- На рассматриваемой территории залежи нефти обнаружены в нижней части
Ачимовской толщи на западе Покачевского месторождения. Толщины Ачимовской толщи
достигают 140 м.
Ачимовская толща перекрывается аргиллитами с прослоями песчаников.
Разрез мегионской свиты завершается преимущественно песчаной толщей, в
которой выделяются пласты БВ8-БВ]2, представленные
песчаниками светлосерыми, мелко - и среднезернистыми, разделенными прослоями
аргиллитов, алевролитов и карбонатных разностей.
На Покачевском месторождении промышленно нефтеносными являются песчаники,
приуроченные к пласту БВ8. Толщины Мегионской свиты в
рассматриваемом районе колеблются от 290 до 485 м.
Вартовская свита разделяется на нижнюю и верхнюю подсвиты пимской пачкой
глин. Последняя подсвита, является и границей раздела пластов групп АВ и БВ.
Сложена Вартовская свита переслаиванием серых песчаников, алевролитов и
аргиллитов.
В разрезе верхней подсвиты выделяются продуктивные пласты АВ2-АВ8,
а в нижней БВ0 - БВ3, БВ6. В пределах
Покачевского месторождения все вышеназванные пласты нефтеносны. Пласт БВ7
нефтенасыщен лишь в отдельных скважинах. Толщины Вартовской свиты достигают 580
м.
Алымская свита подразделяется на две подсвиты. Нижняя подсвита в нижней
части сложена песчаниками светло-серыми среднезернистыми, средне
сцементированными, глинистыми. В верхней части подсвиты, преобладают аргиллиты
темно-серые. К нижней подсвите приурочен продуктивный горизонт АВ6
который в пределах Нижневартовского свода состоит из трех пластов: АВ6 АВ2
и AB3. Первые два пласта в пределах Покачевского
месторождения представлены, в основном, глинистыми породами и лишь в редких
скважинах встречаются нефтенасыщенные песчаники небольшой толщины в пласте АВ2.
Промышленно нефтеносным является пласт АВ3. Залежь этого пласта
распространяется и за пределы Покачевского месторождения.
Верхняя подсвита алымской свиты делиться на две пачки. Нижняя подсвита
сложена аргиллитами темно-серыми до черных (именуемая "кошайской").
Она четко выделяется на всех материалах ГИС, прослеживается практически
повсеместно на Нижневартовском своде, является хорошо выдержанным региональным
репером и хорошей покрышкой для продуктивного горизонта АВ. Толщина свиты
доходит до 150 м.
Покурская свита объединяет осадки аптского, альбского и сеноманского
ярусов. Она представлена чередованием песчаников, алевролитов, аргиллитов и
глин. Ее толщина 725-787м.
Вышезалегающая часть разреза меловой системы представлена отложениями ее
верхнего отдела - преимущественно глинистыми осадками Кузнецовской, Березовской
и Ганьковской свит толщиной 215-308м.
В составе палеогеновой системы в рассматриваемом районе выделяются
морские осадки Талицкой, Атлымской, Новомихайловской и Туртасской свит
суммарной толщиной 616-707м.
Четвертичная система представлена аллювиальными и озерно-аллювиальными
песками, супесями и суглинками толщиной до 80 м.
Геологический разрез Покачевского месторождения сложен мощной толщей
осадочных пород мезокайнозойского чехла, залегающих на размытой поверхности
пород фундамента. Геологический разрез Покачёвского месторождения показан на
рисунке 1.
Нефтенасыщенность месторождения связана с нижнемеловыми отложениями
Вартовской свиты. В разрезе Вартовской свиты выделяются около 20-ти проницаемых
терригенных коллекторов. Кроме Вартовской свиты промышленная нефтенасыщенность
установлена в пласте ЮВ1 Васюганской свиты и в Пласте АВ1/3
Мегионской свиты. В Вартовской промышленной нефтеносностью обладают пласты: АВ2;
АВ3; АВ3-4; АВ5; АВ7; БВ5;
БВ6; БВ8. Все залежи являются водонефтяными.
Коллекторы пластов группы АВ представляют собой мелкозернистый Юрских
отложений песчаник включениями крупнозернистых алевролитов. В пластах группы БВ
коллектора сложены мелко - среднезернистыми песчаниками с включениями
алевритов. Коллекторами служат мелкозернистые алевролитистые песчаники.
Залежь пласта АВ1/3 имеет размеры 8х7 км и высоту около 15 м.
Кровля пласта закрыта на глубине 1845 м; ВНК на отметке 1863÷1865
м. Средневзвешанная
нефтенасыщенность 2,7÷4,6 м. Запасы залежи составляют:
балансовые - 26897 тыс. тонн; извлекаемые 10962 тыс. тонн.
Залежь пласта АВ2 вскрыта на глубине 1845÷1895
м с размерами 4х2 км.
ВНК на отметке 1865÷1868 м; мощность пласта 2÷4
м. Запасы нефти:
балансовые - 2305 тыс. тонн; извлекаемые 1106 тыс. тонн.
Залежи пласта АВ3 имеет размеры 19.5х(7÷10.3)
км. ВНК на отметке 1820÷1830
м. Средняя мощность
пласта 30 м. Запасы нефти составляют: балансовые - 61430 тыс. тонн; извлекаемые
23551 тыс. тонн.
Залежь пласта АВ3/4 залегает на глубине 1860÷1910
м и имеет размеры 13х (6÷1.5)
км и среднюю мощность 30÷40м. Запасы составляют: балансовые -
23484 тыс. тонн; извлекаемые - 7045 тыс. тонн
Залежь пласта АВ4 имеет размеры 6х(2÷0.5)
км. ВНК на отметке 1835÷1845
м, мощность пласта h=
10÷18 м. Запасы
составляют: балансовые - 2533 тыс. тонн; извлекаемые - 775 тыс. тонн.
Залежь пласта АВ5 имеет размеры 10.5х (5÷1.8)
км. ВНК на отметке 18880÷1890м; мощность пласта h
= 13÷18м. Запасы
нефти: балансовые - 17893 тыс. тонн; извлекаемые - 7157 тыс. тонн.
Залежь АВ7 имеет размеры 3х2 км, мощность h = 17 м. ВНК - 1921 м и запасы:
балансовые - 1882 тыс. тонн; извлекаемые - 565 тыс. тонн.
Залежь пласта БВ6 хорошо выдержана и продуктивна на всех пяти
поднятиях Покачевской зоны. К Покачевскому месторождению относятся западная
восточная и центральная залежи.
Размеры залежей:
- западной 4х1,5 км;
восточной - 8х4 км;
йентральной - 13х(5÷3) км;
ВНК 2235÷2250 м;
мощность пласта 20÷40 м;
нуммарные запасы нефти составляют:
балансовые 43348 тыс. тонн;
извлекаемые 22541 тыс. тонн.
Пласт БВ8 приурочен к Покачевскому месторождению центральной и
восточной залежами, имеющими размеры:
центральная 16х(3÷4) км;
восточная 10,5х(3 ÷4) км;
ВНК 2245÷2250 м;
мощность пласта 40÷50 м.
запасы нефти составляют:
балансовые 87527 тыс. тонн;
- извлекаемые 48139 тыс. тонн.
Пласт ЮВ1 продуктивен на центральном и восточном поднятиях.
Все продуктивные пласты Покачевского месторождения (кроме ЮВ1)
сложены неоганиками с включениями глин и алевролитов терригенного
происхождения. Наличие включений придают высокую неоднородность
ёмкостно-фильтрационных характеристик коллекторов. [10]
.3 Тектоника
Покачевское и другие месторождения региона связаны со строением Западно-
Сибирской плиты.
В геологическом строении Западно-Сибирской плиты принимают участие три
структурно - технологических яруса. Нижний и средний ярусы изучены пока
недостаточно. Верхний ярус, в котором открыто большинство скольжений
углеводородного сырья, охарактеризован как геофизическими методами, так и
данными глубинного бурения разведочных скважин.
Нижний этаж верхнего яруса - фундамент с формировавшийся в палеозойское
время эффузивными породами. Его развитие связано с геосинклинальным периодом
Западно-Сибирской плиты. К среднему этажу приурочены парагеосинклинальные
породы, сформировавшиеся в периотриасовое время.
Верхний этаж образовался в мезокайнозойское время в условиях устойчивого
прогибания фундамента в промежуточного комплекса. Для него характерна более
слабая дислоцированность и практически отсутствие метаморфизма горных пород,
которые слагают собой чехол плиты.
В тектоническом отношении структура региона осложнена прогибами. На
территории выделяется четыре поднятия:
Центральное - Покачевское месторождение;
Восточное - Нонг-Ёганское месторождение;
Юго - Восточное - Южнопокачевское месторождение;
Северное - Северопокачевское месторождение.
К каждому поднятию приурочены залежи нефти по большинству горизонтов.
.4 Характеристика продуктивных пластов
Все продуктивные пласты Покачевского месторождения сложены неоганиками с
включениями глин и алевролитов терригенного происхождения. Наличие включений
придают высокую неоднородность ёмкостно-фильтрационных характеристик коллекторов.
Промышленная нефтеносность установлена в 18 пластах: AВ1/3, АВ2, АВ3,
АВ4, АВ5, АВ6, АВ7, АВ8,
БВ0, БВ1, БВ2, БВ3, БВ6,
БВ7, БВ8, ЮВ1.
Основными объектами, содержащими большую часть
запасов, являются пласты: AB1/3, AB2, АВ3, АВ5, БВ6, БВ8,
ЮВ1. Ниже приводиться характеристика продуктивных пластов.
Залежи пласта ЮВ1
Пласт ЮВ1 хорошо выдержан по площади.
Эффективные толщины пласта составляют в среднем 10 м. Отмечается общая
закономерность увеличения эффективных толщин пласта ЮB1 с востока на запад и юго-запад площади месторождения.
В пласте выделено 10 залежей нефти.
Залежь 1 находится в западной части месторождения и
вскрыта двумя разведочными и 31 эксплуатационной скважиной. Среднее значение
ВНК залежи 1 принято на а.о. - 2669 м. Высота залежи составляет 24 метра, длина
- 3,5 км., ширина - 2,7 км. Залежь нефти пластово-сводовая, водоплавающая.
Эффективные толщины в пределах залежи изменяются от 5,6 до 15,9 м, наибольшие
нефтенасыщенные толщины составляют 8-10,8 м.
Залежь 2 вскрыта двумя разведочными и 13
эксплуатационными скважинами. Среднее значение ВНК принято на а.о. - 2647 м.
Высота залежи составляет 12 м, длина - 2,25 км., ширина- 0,75 км. Залежь нефти
пластово-сводовая, водоплавающая. Эффективные толщины в пределах залежи
изменяются от 6,7 до 15,8 м. Максимальные нефтенасыщенные толщины составляют
4,0-5,8 м.
Залежь 3 вскрыта девятью разведочными скважинами и
практически разбурена по эксплуатационной сетке. Залежь протягивается с
юго-запада на северо-восток и север.
К северо-востоку ВНК понижается до а.о. - 2650-2655 м.
В северной части залежи контур проведен по водоносным
разведочным скважинам 53-Р и 102-Р, при опробовании получена вода. Залежь
практически оконтурена.
Таким образом, ВНК залежи 3 изменяется, понижаясь от
а.о. -2645 м. в западной и юго-западной частях до - 2650-2655 м. в средней
части и до -2655-2 670 м. в северной части.
Эффективные толщины в пределах залежи составляют 5-15
м., наибольшая нефтенасыщенная толщина - 13,2 км.
Высота залежи в связи с различным ВНК изменяется от 17
до 27 м. Длина залежи 20км., ширина в средней ее части - 3,8 км. Залежь
пластово-сводовая.
Залежь 4 вскрыта скважиной 50-Р, по результатам
опробования которой ВНК составил -2675 м. Размеры залежи составляют 36,2*11,2
км, высота около 15 м.
Залежь пластово-сводовая.
Залежь 5 вскрыта скв. 7359, пробуренной на небольшом
куполке, расположенном между скважинами 46-Р,51-Р,64-Р, вскрывшими
водонасыщенный пласт на низких а.о. -2665-2669 м. В скв.7359 пласт вскрыт в
интервале а.о.-2642,7-2648,9 м. Эффективная и нефтенасыщенная толщина
составляет 4,8 м. Пласт нефтенасыщен до подошвы, ВНК принят на а.о.-2652 м.
Залежь пластово-сводовая, литологически
ограниченная с юга (скв.806,807). Размеры ее 1,1×0,75
км, высота 9
м.
По состоянию на 1.01.01г. по данным бурения и
опробования скважины 205-Р, уточнения интерпретации данных ГИС и опробования
скв.2491 залежь 5 соединена с залежью 3.
Залежь 6, расположенная в восточной части
месторождения, вскрыта 6 эксплуатационными скважинами, нефтенасыщенными до
подошвы и вскрывшими неоднородный пласт. ВНК проведен на а.о. - 2645 м. по
самой низкой отметке, с которой получена нефть (скв. 1005). Наибольшая
эффективная и нефтенасыщенная толщина залежи 6,2 м (скв. 1003). Залежь
пластово-сводовая с небольшим участком литологического замещения на юго-востоке.
Размеры залежи 3,5×1,75 км, высота 20м.
Залежь 7 вскрыта одной разведочной (204Р) и тремя
добывающими скважинами, ВНК принят на а.о.-2669 м. Эффективные нефтенасыщенные
толщины достигают 6,8 м. Залежь пластово-сводовая, размеры 3,4×1,75
км, высота около 10
метров.
Залежь 8 вскрыта одной эксплуатационной скв. 1628. ВНК
по залежи принят на а.о. - 2709 м., эффективная нефтенасыщенная толщина по
данной скважине составила 4,4 м Залежь пластово-сводовая, ограниченная в
северо-восточной части литологическим экраном. Размеры залежи 1,25×1,25
км, ее высота около 10
метров.
Залежь 9 вскрыта одной разведочной скважиной 30-Р,
нефтенасыщенной до подошвы пласта и двумя эксплуатационными скважинами. ВНК
проходит на отметках - 2656-2662 м. (скв.30-Р,466-Р,487). Эффективные
нефтенасыщенные толщины достигают 2,8 м (скв.30-Р). Залежь пластово-сводовая,
ограниченная с юга и северо-запада литологическим экраном. Размеры залежи 2,0×1,5
км, высота 12 м.
Залежь 10 вскрыта одной разведочной скв.139-Р. ВНК по
залежи принят на а.о. -2695 м. Эффективная нефтенасыщенная толщина по скв.
139-Р равна 6,0 м. Залежь пластово-сводовая, ее размеры 3,25×1,5
км, высота 6 метров.
Рисунок 2 - Геологический разрез Покачёвского месторождения
Таблица 1- Характеристика коллекторских свойств
|
Пласт
|
Проницаемость [МД]
|
Пористость [доли единицы]
|
Начальная нефтенасыщенность [доли единиц]
|
|
АВ1/3
|
13
|
0,22
|
0,6
|
|
АВ2
|
127
|
0,22
|
0,6
|
|
АВ3
|
155
|
0,22
|
0,6
|
|
АВ3-4
|
50
|
0,22
|
0,6
|
|
АВ5
|
140
|
0,21
|
0,61
|
|
АВ7
|
80
|
0,21
|
0,6
|
|
БВ6
|
170
|
0,2
|
0,69
|
|
БВ8
|
130
|
0,2
|
0,72
|
|
ЮВ1
|
8
|
0,16
|
0,63
|
.5 Свойства и состав пластовых флюидов
Свойства воды и нефти в пластовых условиях изучают в лабораториях
«СибНИИНП» и лабораториях ТПП «Покачевнефтегаз».
Анализ образцов глубинных проб производился с разных точек пласта, и
информацию о свойствах воды и нефти в пластовых условиях получают в результате
статистической обработки данных лабораторных исследований. Средневзвешенные
данные о свойствах нефти в пластовых условиях приведены в таблице 2, свойства
воды приведены в таблице 3, свойства газа в таблице 4.
Таблица 2 - Свойства нефти
|
Свойства/ пласт
|
АВ1
|
АВ5
|
БВ6
|
БВ8
|
ЮВ1
|
|
1
|
2
|
3
|
4
|
5
|
6
|
|
Пластовое давление, МПа
|
17,8
|
18,5
|
23
|
22,9
|
27
|
|
Пластовая температура,tпл
|
68
|
73
|
83
|
87
|
97
|
|
Давление насыщения Pнас, МПа
|
7,41
|
9,46
|
8,3
|
10,2
|
10,06
|
|
Газосодержание Г, м3/т
|
52,36
|
72,64
|
50,14
|
97,26
|
95,72
|
|
Газовый фактор q, м3/т
|
52,72
|
65,0
|
37,26
|
93,88
|
72,02
|
|
Объемный коэффициент, вн
|
1,148
|
1,2
|
1,157
|
1,279
|
1,261
|
|
Плотность нефти rн, г/м3
|
766
|
773
|
785
|
748
|
746
|
|
Вязкость нефти mн, мПа∙с
|
1,56
|
1,68
|
1,27
|
0,88
|
0,3
|
|
Коэффициент объемной
упругости, 1/МПа×10-4
|
14,56
|
14,48
|
9,63
|
13,6
|
12,0
|
|
Объемный коэффициент
|
1,111
|
-
|
1,144
|
1,222
|
1,216
|
Таблица 3 - Свойства воды
|
Свойства/Пласт
|
АВ1
|
АВ5
|
БВ6
|
БВ8
|
ЮВ1
|
|
Общая минерализация, мг/л
|
18801
|
18807
|
21940
|
22460
|
29948
|
|
Плотность rв, кг/м3
|
986,8
|
986,8
|
982,5
|
982
|
981,7
|
|
Вязкость mв, мПа×с
|
0,42
|
0,42
|
0,36
|
0,37
|
0,31
|
Таблица 4 - Свойства газа
|
Параметры/пласт
|
АВ1
|
АВ2
|
АВ3 АВ4
|
АВ5 АВ8
|
БВ6
|
БВ8
|
ЮВ1
|
|
Плотность, кг/м3
|
0,930
|
1,023
|
1,008
|
1,050
|
0,950
|
1,290
|
1,150
|
|
Вязкость растворенного газа
в жидкой фазе, мПа∙с
|
0,042
|
0,053
|
0,038
|
0,042
|
0,045
|
0,056
|
0,063
|
|
Растворимость газа в
нефти, м3/м3
|
158
|
167
|
140
|
185
|
162
|
210
|
270
|
1.6 Режим разработки залежей
Месторождение разрабатывается с применением системы ППД. На объектах
реализуются следующие системы разработки :
по пластам АВ5, БВ6, БВ8 - трехрядной
блоковой, с плотностью сеток скважин 600х600 м;
по пластам АВ1-3, АВ2, АВ3, АВ4,БВ2
- площадной (избирательной) семиточечная система, 600х600 м;
по пласту ЮВ1 - площадная (избирательная) семиточечная
система, с плотностью сеток скважин 400х400 м.
Применяются способы нестационарного заводнения.
В настоящее время месторождение находится на стадии медленного падения
добычи нефти - на четвертой стадии разработки. Суммарная добыча нефти на
01.01.2009 года достигла 93% от начальных извлекаемых запасов.
Максимальная добыча нефти 2786,5 тыс. т была достигнута в 1983 году, при
коэффициенте нефтеизвлечения 16%, темпы отбора при этом составили 10,01% от
начальных извлекаемых запасов.
Рост добычи нефти в начальный период разработки осуществлялся за счет
увеличения числа нагнетательных и добывающих скважин, высоких отборов жидкости
и закачки воды в пласт.
Падение добычи нефти началось в 1984 году, но добытая за этот год добыча
нефти была выше проектной на 71,7 тыс. т (что составило 103%).
Фактические показатели добычи нефти по месторождению с 1984 года и по
2001 год выше проектных. Добыча нефти по объекту в 2001 году превысила
проектную в 8,5 раз. Это связано с превышением
фактического фонда скважин над проектным, а также с большими, чем по проекту,
дебитами скважин по нефти. Действующий добывающий фонд скважин от проекта
составил 297%. Средний дебит скважин по нефти выше проектного в 3 раза.
Уменьшение добычи нефти с начала разработки в 2000 году (на 740,72 тыс. т)
связано с тем, что в 2000 г. произошло изменение лицензионных границ. 10
скважин объекта Покачевского месторождения,
были переведены на Южно - Покачевское месторождение (1643/55, 1684/59, 1675/59,
981/59, 1642/59, 1671/59, 1673/59, 1680/59, 1980/355).
Добыча нефти с начала разработки по проекту - 22869,9 тыс. т.
Накопленный отбор нефти по состоянию на 01.01.2009 года - 36887,6 тыс. т,
что составляет 117% от проектного.
С целью поддержания пластового давления на объекте БВ6 Покачевского месторождения с 1980 года по 2006 год
закачено 312285,6 тыс. м3 воды. Средняя приемистость нагнетательных
скважин достигла максимального значения в 1982 году - 1045 м3/сут, а
к 1997 году снизилась до 290 м3/сут. Накопленная компенсация отборов
жидкости закачкой воды на 01.01.2006 г. составила 113,3%, текущая 87,8%. По
состоянию на 01.01.2009 года средняя приемистость нагнетательных скважин
составляет 370 м3/сут.
Пластовое давление в зонах отбора, в среднем, снижено от первоначального
на 13 атм. (от 235 атм. до 221,8 атм.).
Максимального значения (96%) обводненность достигла на 26-м году
разработки (2006 г).
Рост добычи нефти и уменьшение обводненности осуществлялись, в основном,
за счет регулирования числа обводнившихся и роста фонда добывающих скважин по
новым участкам, уменьшением объемов закачиваемой воды. Таким образом, по пласту
осуществлялась планомерная эффективная выработка запасов нефти с постоянным
ростом темпов добычи, причем решающее значение имел охват значительной части
запасов большим числом добывающих скважин.
За последние 5 лет разработки значительно сократилось число добывающих
скважин и увеличились среднесуточные отборы по жидкости (от 90,1 т/сут до 105,7
т/сут), что привело к незначительному увеличению обводненности (на 4,28%) и
падению темпов отбора нефти до 0,99% от НИЗ.
. ТЕХНИКО-ТЕХНОЛОГИЧЕСКАЯ ЧАСТЬ
.1 Насосные способы добычи
Прекращение или отсутствие фонтанирования скважин вынуждало искать другие
способы подъема нефти на поверхность. Вначале это были тартальные способы, при
которых жидкость поднималась чисто механическими устройствами: колодезная
добыча, тартание желонкой, поршневание. В 1897 г. Впервые был применен эрлифт.
Однако он не смог конкурировать со штанговыми насосами, которыми по настоящее
время оборудовано около 50% всего фонда скважин.
Среди насосных способов добычи используются установки УЭЦН, которые
используются для добычи нефти на высокодебитных скважинах и установки УШГН,
которые используются для добычи нефти из низкодебитных скважин.
Установки погружных электроцентробежных насосов (УЭЦН) широко начали
применять для эксплуатации скважин с 1955 г.
УЭЦН состоит из погружного агрегата, оборудования устья,
электрооборудования и НКТ.
Погружной агрегат включает в себя электроцентробежный насос, гидрозащиту
и электродвигатель. Он спускается в скважину на колонне НКТ, которая
подвешивается с помощью устьевого оборудования, устанавливаемого на колонной
головке эксплуатационной колонны. Электроэнергия от промысловой сети через
трансформатор и станцию управления по кабелю, прикрепленному к наружной
поверхности НКТ крепежными поясами (хомутами), подается на электродвигатель с
ротором которого связан вал центробежного электронасоса (ЭЦН). ЭЦН подает
жидкость по НКТ на поверхность. Выше насоса установлен обратный шаровой клапан,
облегчающий пуск установки после ее простоя, а над обратным клапаном - спускной
клапан для слива жидкости из НКТ при их подъеме. Гидрозащита включает в себя
компенсатор и протектор.[]
Погружной насос, электродвигатель и гидрозащита соединяются между собой
фланцами и шпильками. Валы насоса, двигателя и гидрозащиты имеют на концах
шлицы и соединяются между собой шлицевыми муфтами.
Насос погружают под уровень жидкости в зависимости от количества
свободного газа на глубину до 250 - 300 м, а иногда и до 600 м.
Отличительная особенность штанговой скважинной насосной установки (УШГН)
состоит в том, что в скважине устанавливают плунжерный (поршневой) насос,
который приводится в действие поверхностным приводом посредством колонны штанг.
Откачка жидкости осуществляется плунжерным (поршневым) насосом. Плунжер
совершает возвратно-поступательное движение в цилиндре насоса.
При ходе плунжера вверх нагнетательный клапан под действием жидкости
закрывается и вся жидкость, находящаяся над плунжером, поднимается вверх на
высоту, равную длине хода плунжера. В это время скважинная жидкость через
всасывающий клапан заполняет цилиндр насоса.
При ходе плунжера вниз всасывающий клапан закрывается, жидкость под
плунжером сжимается, и открывается нагнетательный клапан. В цилиндр погружаются
штанги, связанные с плунжером. Таким образом, ШГН - поршневой насос одинарного
действия, а целиком комплекс из насоса и штанг - двойного действия.
Жидкость из НКТ вытесняется через тройник в нефтесборный трубопровод.
.2 Основные узлы штанговой насосной установки
Прекращение или отсутствие фонтанирования обусловило использование других
способов подъема нефти на поверхность, например, посредством штанговых
скважинных насосов. Этими насосами в настоящее время оборудовано большинство
скважин. Дебит скважин - от десятков кг в сутки до нескольких тонн. Насосы
опускают на глубину от нескольких десятков метров до 3000 м (иногда до
3200-3400 м).
УШГН включает: наземное оборудование - станок-качалка (СК), оборудование
устья, блок управления; подземное оборудование - насосно-компрессорные трубы
(НКТ), штанги насосные (ШН), штанговый скважинный насос (ШСН) и различные
защитные устройства, улучшающие работу установки в осложненных скважинах.
Рисунок 3 - Установка скважинной насосной установки
- фильтр песочный, 2 - насос скважинный, 3 - НКТ, 4 - штанга, 5 -
тройник, 6 - уплотнение сальниковое, 7 - сальниковый шток, 8 - подвеска
трубная, 9 - СК, 10 - фундамент.
Штанговая глубинная насосная установка (рис. 2) состоит из скважинного
насоса 2 вставного или невставного типов, насосных штанг 4,
насосно-компрессорных труб 3, подвешенных на планшайбе или в трубной подвеске 8
устьевой арматуры, сальникового уплотнения 6, сальникового штока 7, станка
качалки 9, фундамента 10 и тройника 5. На приеме скважинного насоса
устанавливается защитное приспособление в виде газового или песочного фильтра
1.
2.1.1 Станки-качалки
Станок-качалка (рисунок 4), является индивидуальным приводом скважинного
насоса.
Рисунок 4 - Станок качалка типа СКД
- подвеска устьевого штока; 2 - балансир с опорой; 3 - стойка; 4 - шатун;
5 - кривошип; 6 - редуктор; 7 - ведомый шкив; 8 - ремень; 9 - электродвигатель;
10 - ведущий шкив; 11 - ограждение; 12 - поворотная плита; 13 - рама; 14 -
противовес; 15 - траверса; 16 - тормоз; 17 - канатная подвеска
Основные узлы станка-качалки - рама, стойка в виде усеченной
четырехгранной пирамиды, балансир с поворотной головкой, траверса с шатунами,
шарнирно-подвешенная к балансиру, редуктор с кривошипами и противовесами. СК
комплектуется набором сменных шкивов для изменения числа качаний, т. е.
регулирование дискретное. Для быстрой смены и натяжения ремней электродвигатель
устанавливается на поворотной салазке.
Монтируется станок-качалка на раме, устанавливаемой на железобетонное
основание (фундамент). Фиксация балансира в необходимом (крайнем верхнем)
положении головки осуществляется с помощью тормозного барабана (шкива).
Головка балансира откидная или поворотная для беспрепятственного прохода
спускоподъемного и глубинного оборудования при подземном ремонте скважины.
Поскольку головка балансира совершает движение по дуге, то для сочленения ее с
устьевым штоком и штангами имеется гибкая канатная подвеска 17. Она позволяет
регулировать посадку плунжера в цилиндр насоса для предупреждения ударов
плунжера о всасывающий клапан или выхода плунжера из цилиндра, а также
устанавливать динамограф для исследования работы оборудования.
Амплитуду движения головки балансира (длина хода устьевого штока-7)
регулируют путем изменения места сочленения кривошипа шатуном относительно оси
вращения (перестановка пальца кривошипа в другое отверстие). За один двойной
ход балансира нагрузка на СК неравномерная. Для уравновешивания работы
станка-качалки помещают грузы (противовесы) на балансир, кривошип или на
балансир и кривошип. Тогда уравновешивание называют соответственно балансирным,
кривошипным (роторным) или комбинированным.
Блок управления обеспечивает управление электродвигателем СК в аварийных
ситуациях (обрыв штанг, поломки редуктора, насоса, порыв трубопровода и т. д.),
а также самозапуск СК после перерыва в подаче электроэнергии.
Таблица 6 - Классификация СКД
|
Станок-качалка
|
Число ходов балансира в
мин.
|
Масса, кг
|
Редуктор
|
|
СКД4-2,1-1400
|
5¸15
|
6230
|
Ц2НШ-355
|
|
СКД6-2,5-2800
|
5¸14
|
7620
|
Ц2НШ-450
|
|
СКД8-3,0-4000
|
5¸14
|
11600
|
|
СКД10-3,5-5600
|
5¸12
|
12170
|
Ц2НШ-560
|
|
СКД12-3,0-5600
|
5¸12
|
12065
|
Ц2НШ-560
|
В шифре, например, СКД8-3,0-4000, указано Д - дезаксиальный; 8 -
наибольшая допускаемая нагрузка Рmax на головку балансира в точке
подвеса штанг, умноженная на 10 кН; 3,0 - наибольшая длина хода устьевого
штока, м; 4000 - наибольший допускаемый крутящий момент Мкр, max на
ведомом валу редуктора, умноженный на 10-2 кН*м.
АО «Мотовилихинские заводы» выпускает привод штангового насоса гидрофицированный
ЛП-114.00.000, разработанный совместно со специалистами ПО «Сургутнефтегаз».
Моноблочная конструкция небольшой массы делает возможным его быструю
доставку (даже вертолетом) и установку без фундамента (непосредственно на
верхнем фланце трубной головки) в самых труднодоступных регионах, позволяет
осуществить быстрый демонтаж и проведение ремонта скважинного оборудования.
Фактически бесступенчатое регулирование длины хода и числа двойных ходов
в широком интервале позволяет выбрать наиболее удобный режим работы и
существенно увеличивает срок службы подземного оборудования.
Техническая характеристика.
Нагрузка на шток. кН (тс) 60 (6)
Длина хода, м 1,2¸2,5
Число двойных ходов в минуту 1¸7
Мощность, кВт 18,5
Масса привода, кг 1800
Станки-качалки для временной добычи могут быть передвижными на
пневматическом (или гусеничном) ходу. Пример - передвижной станок-качалка
«РОУДРАНЕР» фирмы «ЛАФКИН».
2.1.2 Устьевое оборудование при штанговой насосной
эксплантации
Устьевое оборудование предназначено для герметизации затрубного
пространства, внутренней полости НКТ, отвода продукции скважины, подвешивания
колонны НКТ, а также для проведения технологических операций, ремонтных и
исследовательских работ в скважинах.
В оборудовании устья колонна насосно-компрессорных труб в зависимости от
ее конструкции подвешивается в патрубке планшайбы или на корпусной трубной
подвеске.
Для уплотнения устьевого штока применяется устьевой сальник типа СУС1 или
СУС2 (рисунок 5).
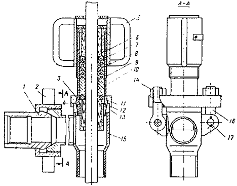
Арматура устьевая типа АУШ-65/50х14 состоит из устьевого патрубка с
отборником проб, угловых вентилей, клапана перепускного, устьевого сальника и
трубной подвески (рисунок 6).
Трубная подвеска, имеющая два уплотни тельных кольца, является основным
несущим звеном насосно-компрессорных труб с глубинным насосом на нижнем конце и
сальниковым устройством наверху. Корпус трубной головки имеет отверстие для
выполнения исследовательских работ.
Арматура устьевая типа АУШ-65/50х14 состоит из устьевого патрубка с
отборником проб, угловых вентилей, клапана перепускного, устьевого сальника и
трубной подвески (рисунок 6).
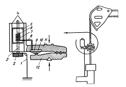
Рисунок 5 - Устьевой сальник типа СУС1
- ниппель; 2 - накидная гайка; 3 - втулка; 4 - шаровая крышка; 5 - крышка
головки; 6 - верхняя втулка; 7 - нажимное кольцо; 8,10 - манжеты; 9 - шаровая
головка; 11 - опорное кольцо; 12 - нижняя втулка; 13 - кольцо; 14 - гайка; 15 -
тройник; 16 - болт откидной; 17 - палец
Трубная подвеска, имеющая два уплотни тельных кольца, является основным
несущим звеном насосно-компрессорных труб с глубинным насосом на нижнем конце и
сальниковым устройством наверху. Корпус трубной головки имеет отверстие для
выполнения исследовательских работ. Проекция скважины поступает через боковое
отверстие трубной подвески, а сброс давления из затрубного пространства
производится через встроенный в корпус трубной подвески перепускной клапан.
Рисунок 6 - Устьевая арматура типа АУШ
- отверстие для проведения исследовательских работ; 2 - сальниковое
устройство; 3 - трубная подвеска; 4 - устьевой патрубок; 5, 8 и 9 - угловые
вентили; 6 - отборник проб; 7 - быстросборная муфта; 10 - перепускной патрубок;
11 - уплотнительное кольцо
Техническая характеристика АУШ 65/50 Х 14
Рабочее давление, МПа:
в устьевом сальнике СУС при работающем станке-качалке 4 при остановленном
станке-качалке 14
Условный проход, мм:
ствола 65
обвязки 50
Подвеска насосно-компрессорных труб конусная
Диаметр подвески труб, мм 73
Присоединительная резьба Резьба НКТ
(ГОСТ 632-80)
Диаметр устьевого патрубка, мм 146
Габариты, мм 3452х770х1220
Масса, кг 160
2.1.3 Штанги насосные (ШН)
Штанги насосные предназначены для передачи возвратно-поступательного
движения плунжеру насоса (рис. 7). Изготавливаются основном из легированных
сталей круглого сечения диаметром 16, 19, 22, 25 мм, длиной 8000 мм и
укороченные - 1000-1200, 1500, 2000 и 3000 мм как для нормальных, так и для
коррозионных условий эксплуатации.
Рисунок 7 - Насосная штанга
Шифр штанг - ШН-22 обозначает: штанга насосная диаметром 22 мм. Марка
сталей - сталь 40, 20Н2М, 30ХМА, 15НЗМА и 15Х2НМФ с пределом текучести от 320
до 630 МПа.
Насосные штанги применяются в виде колонн, составленных из от-дельных
штанг, соединенных посредством муфт.
Муфты штанговые выпускаются: соединительные типа МШ (рис. 17) - для
соединения штанг одинакового размера и переводные типа МШП - для соединения
штанг разного диаметра.
Для соединения штанг применяются муфты - МШ16, МШ19, МШ22, МШ25; цифра
означает диаметр соединяемой штанги по телу (мм).
АО «Очерский машиностроительный завод» изготавливает штанги насосные из
одноосновоориентированного стеклопластика с пределом прочности не менее 80
кгс/мм2. Концы (ниппели) штанг изготавливаются из сталей. Диаметры
штанг 19, 22, 25 мм, длина 8000¸11000 мм.
2.1.4 Штанговые скважинные насосы ШСН
ШСН предназначены для откачивания из нефтяных скважин жидкости
обводненностью до 99%, температурой не более 130°С, содержанием сероводорода не более 50 мг/л,
минерализацией воды не более 10 г/л.
Скважинные насосы имеют вертикальную конструкцию одинарного действия с
неподвижным цилиндром, подвижным металлическим плунжером и шариковыми
клапанами. Насосы спускают в скважину на штангах и насосно-компрессорных
трубах. Различают следующие типы скважинных насосов (рисунок 8):
Рисунок 8 - Типы скважинных штанговых насосов
НВ1 - вставные с заулком наверху;
НВ2 - вставные с замком внизу;
НН - невставные без ловителя;
НН1 - невставные с захватным штоком;
НН2 - невставные с ловителем.
Выпускают насосы следующих конструктивных исполнений:
а) по цилиндру:
Б - с толстостенным цельным (безвтулочным) цилиндром;
С - с составным (втулочным) цилиндром.
б) специальные:
Т - с полным (трубчатым) штоком для подъема жидкости по каналу колонны
трубчатых штанг;
А - со сцепляющим устройством (только для насосов типа НН),
обеспечивающим сцепление колонны насосных штанг с плунжером насоса;
Д1 м одноступенчатые, двухплунжерные для создания гидравлического
тяжелого низа;
Д2 - двухступенчатые, двухплунжерные, обеспечивающие двухступенчатое
сжатие откачиваемой жидкости;
У - с разгруженным цилиндром (только для насосов типа НН2),
обеспечивающим снятие с цилиндра технической нагрузки при работе.
Насосы всех исполнений, кроме Д1 и Д2, одноступенчатые, одноплунжерные:
в) по стойкости к среде:
без обозначения - стойкие к среде с содержанием механических примесей до
1,3 г/л - нормальные;
И - стойкие к среде с содержанием механических примесей более 1,3 г/л -
абразивостойкие.
Скважинные штанговые насосы являются гидравлической машиной объемного
типа, где уплотнение между плунжером и цилиндром достигается за счет высокой
точности их рабочих поверхностей и регламентируемых зазоров. При этом в
зависимости от размера зазора (на диаметр) в паре «цилиндр-плунжер» выпускают
насосы четырех групп.[1]
В условном обозначении насоса, например, НН2БА-44-18-15-2, первые две
буквы и цифра указывают тип насоса, следующие буквы - исполнение цилиндра и
насоса, первые две цифры - диаметр насоса (мм), последующие длину хода плунжера
(мм) и напор (м), уменьшенные в 100 раз и последняя цифра - группу посадки.
Цилиндры насосов изготовляют двух исполнений: ЦБ и ЦС.
ЦБ - цельный безвтулочный толстостенный;
ЦС - составной из набора втулок, стянутых внутри кожуха переводниками.
Исходя из назначения и области применения скважинных насосов, выпускают
плунжеры и пары «седло-шарик» клапанов различных поверхностей.
Плунжеры насосов изготавливают четырех исполнений:
ПХ1 - с кольцевыми канавками, цилиндрической расточкой на верхнем конце и
с хромовым покрытием наружной поверхности;
ПХ2 - то же, без цилиндрической расточки на верхнем конце;
П111 - с кольцевыми канавками, цилиндрической расточкой на верхнем конце
и упрочнением наружной поверхности напылением износостойкого порошка;
П211 - то же, без цилиндрической расточки на верхнем конце.
Пары «седло-шарик» клапанов насосов изготавливают в трех исполнениях:
К - с цилиндрическим седлом и шариком из нержавеющей стали;
КБ - то же, с седлом и буртиком;
КИ - с цилиндрическим седлом из твердого сплава и шариком из
нержавеющей стали.
Скважинные насосы нормального исполнения по стойкости к среде,
применяемые преимущественно для подъема жидкости с незначительным содержанием
(до 1,3 г/л) механических примесей, комплектуют плунжерами исполнения ПХ1 или
ПХ2 с парами «седло-шарик» исполнения К или КБ. Скважинные насосы
абразивостойкого исполнения И, применяемые преимущественно для подъема
жидкости, содержащей более 1,3 г/л механических примесей, комплектуют
плунжерами исполнения П1И или П2И и парами «седло-шарик» исполнения КИ.
Конструктивно все скважинные насосы состоят из цилиндра, плунжера,
клапанов, замка (для вставных насосов), присоединительных и установочных
деталей, максимально унифицированных.
Скважинные насосы типа НВ1 выпускают шести исполнений:
НВ1С - вставной с замком наверху, составным втулочным цилиндром
исполнения ЦС, нормального исполнения по стойкости к среде; НВ1Б - вставной с
замком наверху, цельным (безвтулочным) цилиндром исполнения ЦБ, нормального
исполнения по стойкости к среде; НВ1Б...И - то же абразивостойкого исполнения
по стойкости к среде; НВ1БТ...И - то же, с полым штоком, абразивостойкого
исполнения по стойкости к среде; НВ1БД1 - вставной с замком наверху, цельным
цилиндром исполнения ЦБ, одноступенчатый, двухплунжерный, нормального
исполнения по стойкости к среде; НВ1БД2 - вставной с замком наверху, цельным
цилиндром исполнения ЦБ, двухступенчатый, двухплунжерный, нормального
исполнения по стойкости к среде.
Скважинные насосы всех исполнений, кроме исполнения НВ1БД1 и НВ1БД2,
одноплунжерные, одноступенчатые.
Скважинные насосы типа НВ2 изготовляют одного исполнения: НВ2Б - вставной
с замком внизу, цельным цилиндром исполнения ЦБ, одноплунжерный,
одноступенчатый, нормального исполнения по стойкости к среде.
Скважинные насосы типа НН выпускают двух исполнений:
ННБА - невставной без ловителя, с цельным цилиндром исполнения ЦБ,
сцепляющим устройством, одноступенчатый, одноплунжерный, нормального исполнения
по стойкости к среде;
ННБД1 - невставной без ловителя, с цельным цилиндром исполнения ЦБ,
одноступенчатый, двухплунжерный, нормального исполнения по стойкости к среде.
Скважинные насосы типа НН1 изготовляют одного исполнения:
НП1С - невставной с захватным штоком, составным цилиндром исполнения ЦС,
нормального исполнения по стойкости к среде.
Скважинные насосы типа НН2 выпускают пяти исполнений:
НН2С - невставной с ловителем, составным цилиндром исполнения ЦС,
нормального исполнения по стойкости к среде;
НН2Б - невставной с ловителем, цельным цилиндром исполнения ЦБ,
нормального исполнения по стойкости к среде;
НН2Б...И - то же, абразивостойкого исполнения по стойкости к среде;
НН2БТ...И - то же, с полым штоком, абразивостойкого исполнения по
стойкости к среде;
НН2БУ - невставной с ловителем, разгруженным цельным цилиндром исполнения
ЦБ, нормального исполнения по стойкости к среде.
Все насосы типа НН2 - одноплунжерные, одноступенчатые.
Замковая опора типа ОМ предназначена для закрепления цилиндра скважинных
насосов исполнений НВ1 и НВ2 в колонне насосно-компрессорных труб. Высокая
точность изготовления поверхностей деталей опоры обеспечивает надежную
герметичную фиксацию цилиндра насоса в насосно-компрессорных трубах на заданной
глубине скважины и одновременно предотвращает искривление насоса в скважине.[1]
Замковая опора ОМ состоит из опорного кольца 2, пружинного якоря 3,
опорной муфты 4, кожуха 5 и переводников 1 и 6.
Переводник имеет на верхнем конце гладкую коническую резьбу, при помощи
которой опора соединяется с колонной насосно-компрессорных труб. Кольцо
изготавливают из нержавеющей стали. Конической внутренней (15о)
фаской оно сопрягается с ответной конической поверхностью конуса замка насоса и
обеспечивает герметичную посадку насоса.
Якорь предотвращает срыв насоса с опоры от усилий трения движущегося
вверх плунжера в период запуска в работу подземного оборудования. Максимальное
усилие срыва замка 3¸3,5 кН.
2.3 Факторы, влияющие на подачу насоса
К факторам влияющим на коэффициент подачи насоса относятся:
. Деформация колонны штанг и колонны насосно-компрессорных труб так как
насосы опускаются на большую глубину до 3500 м, то нагрузка на головку
балансира (особенно при ходе плунжера вверх) очень велика и в соответствии с
законом Гука происходит удлинение колонны штанг на некоторую величину до 30 см.
При ходе плунжера вниз действует давление на основание (седло клапана и клапан)
и происходит незначительное удлинение колонны насосно-компрессорных труб. В
следствии этого длина хода полированного штока больше длины хода плунжера на
величину деформации штанг и труб.
. Усадка жидкости. В скважинных условиях (на уровне приема насоса
температура жидкости выше, чем в поверхностных условиях кроме того в жидкости
растворен попутный газ, который десорбируется (выделяется) на устье скважины. В
связи с этим объем жидкости в скважинных условиях меньше, чем в поверхностных.
И коэффициент подачи снижается за счет этого фактора.
. Неполное заполнение связана с двумя факторами. Влияние вредного
пространства между плунжером и всасывающем клапаном и при движении плунжера
вверх происходит снижение давления и выделение свободного газа.
. Утеки в клапанах и плунжерной паре. В процессе работы штанговых насосов
происходит абразивный износ движущихся частей насоса: плунжерные пары
всасывающий и нагнетательный клапан. Вследствие износа происходит утечки
жидкости и снижение коэффициента подачи насоса.
2.4 Исследование скважин оборудованных УШГН
Контроль за работой скважин, оборудованной УШГН, осуществляют путем ее
исследования и динамометрирования.
Исследование скважин. Насосные скважины, оборудованные УШГН, исследуют в
основном при установившихся режимах с целью получения индикаторной линии Q и установления зависимости дебита от
режимных параметров работы установки. По данным исследования аналогично, как и
при других способах эксплуатации, определяют параметры пласта: пластовое
давление, проницаемость, продуктивность, пористость и устанавливают режим
работы скважины.
Дебит скважины равен подаче установки. Из этого можно сделать вывод, что
дебит можно менять либо изменением длины хода штока (изменение места сочленения
шатуна с кривошипом перестановкой пальца шатуна на кривошипе), либо изменением
числа качаний (смена диаметра шкива на валу электродвигателя).
По сравнению с другими способами эксплуатации скважин особенность
исследования в данном случае связана с определением забойного давления. Для
прямого измерения забойного давления в затрубном пространстве (поскольку в НКТ
находятся штанги) на стальной проволоке через патрубок устьевого оборудования
при эксцентричной подвеске НКТ спускают малогабаритный скважинный манометр
диаметром 22-25 мм. В глубоких и искривленных скважинах возможны прихваты и
обрывы проволоки.
Прямые измерения забойного давления обеспечивают получения надежных
результатов исследования, поэтому представляет интерес применения датчиков
давления, постоянно находящихся в скважине.
Определение глубины от устья скважины до динамического уровня жидкости,
устанавливающегося при каждом режиме откачки, осуществляют с помощью эхолота.
Сущность эхометрии заключается в следующем. В затрубное пространство с помощью
датчика импульса звуковой волны (пороховой хлопушки) посылается звуковой
импульс. Звуковая волна, пройдя по стволу скважины, отражается от уровня
жидкости, возвращается к устью скважины и улавливает кварцевым чувствительным
микрофоном. Микрофон соединен через усилитель с регистрирующем устройством,
которое записывает все сигналы (исходные и отраженные) на миконе в виде
диаграммы. Измеряя длину записи на эхограмме, определяют время прохождения
звукового сигнала от устья до уровня и обратно. Тогда вычисляют расстояние от
устья до динамического уровня. Скорость зависит от давления, температуры и
плотности газа. Для ее определения на колонне НКТ вблизи уровня на заданной
глубине предварительно при очередном ремонте устанавливают репер-отражатель. В
качестве репера служит утолщенная муфта или отрезок трубы, который на 50-65 %
перекрывает затрубное пространство. На эхограмме получают сигнал, отраженный от
репера. Тогда определяют аналогично время прохождения волны до репера и
обратно, скорость звука.
Динамометрирование установок. Диаграмму нагрузки на устьвой шток в
зависимости от его хода называют динамограммой, а ее снятие динамометрированием
УШГН. Это осуществляется с помощью динамографа. В зависимости от принципа
работы различают механические, гидравлические, электрические, электромагнитные,
тензометрические и другие динамографы. Наиболее распространенны гидравлические
динамографы ГДМ-3 действующая на шток нагрузка передается через рычажную
систему на мембрану камеры, заполненной жидкостью (спиртом или водой), где
создается повышенное давление. Давление жидкости в камере, пропорциональное
нагрузке на шток, передается по капиллярной трубке на геликсную пружину. При
увеличении давления геликсная пружина разворачивается, а перо, прикрепленное к
ее свободному концу, чертит линию на бумажном диаграммном бланке.
Для снятия динамограммы измерительную часть динамографа вставляют между
траверсами канатной подвески штанг, а нить приводного механизма самописца
прикрепляют к неподвижной точке (устьевому сальнику).
Известны динамографы механические, гидравлические, электрические,
электромагнитные, тензометрические и др. Однако наибольшее распространение
получили гидравлические динамографы, в которых нагрузка на полированный шток
передается через рычажную систему на упругую диафрагму камеры, заполненной
жидкостью. Давление жидкости в камере, пропорциональное усилию в штоке, по
капилляру передается геликсной пружине. При увеличении давления геликсная
пружина разворачивается и поворачивает перо, которое чертит линию на бумажном
бланке, закрепленном на подвижном столике или барабане.
Рисунок 10 - Принципиальная схема гидравлического
динамографа и его установки между траверсами канатной подвески
- шнур; 2 - шкив ходового вита; 3 - ходовой винт
столика;
- направляющие салазки столика; 5 - бумажный бланк,
прикрепляемый к столику; 6 - перо геликсной пружины; 7 - геликсная пружина; 8 -
капиллярная трубка, соединяющая геликсную пружину с полостью силоизмерительной
камеры; 9, 10 - нажимной диск; 11 - верхний рычаг силоизмерителыюй части; 12 -
нижний рычаг силоизмерительной части
Перемещение столика пропорционально ходу полированного штока. Таким
образом, смещение пера, пропорциональное усилиям в штоке, соответствует оси
ординат, а смещение столика, пропорциональное ходу штока, - оси абсцисс.
Стандартное оборудование УШГН предусматривает возможность установки
динамографа в разъеме между траверсами канатной подвески. Приводной механизм
столика или барабана с помощью шнура соединяется с неподвижной точкой -
сальником устьевого оборудования.
При движении штока вверх шнур разматывается со специального шкива,
который при этом поворачивается на несколько оборотов, вращая червячный ходовой
винт, и перемещает столик. Одновременно при этом заводится спиральная
возвратная пружина. При обратном ходе столик возвращается в исходное положение
с помощью возвратной пружины, вращающей червяк и шкив в обратном направлении.
Шнур при этом наматывается на шкив, оставаясь в натянутом состоянии. К прибору
придается три сменных шкива различного диаметра.
.5 Оптимизация режима эксплуатации скважин, оборудованных УШГН
Для обеспечения установленного технологического режима работы насосной
установки и выявления причин отклонения от него систематически наблюдают за
дебитом, содержанием газа и песка в добываемой продукции. Замеры на скважинах
проводят по специально составленному графику не реже одного раза в 3 дня.
По данным замерам дебита и вычисленным коэффициентам подачи насоса судят
о правильности установленного для скважины технологического режима или об
имеющихся неполадках в работе насосной установки.
Улучшение режима эксплуатации и поддержание установленного режима в
каждой скважине является очень важным мероприятием по увеличению
производительности скважин.
Во время эксплуатации иногда добывные возможности скважин превышают
подачу насосной установки. В то же время применение других, более
высокопроизводительных способов эксплуатации скважин невозможно по различным
техническим и технологическим причинам.
Поэтому стараются определить максимальный дебит жидкости, который можно
получить из данной скважины путем подбора соответствующей насосной установки.
Наряду с увеличением производительности скважин ставят задачу и увеличения
межремонтного периода их работы. Последнее особенно важно при эксплуатации
наклонных скважин.
Таким образом, критерием оптимизации ( количественным показателем
экономического эффекта принимаемого решения) является прирост добычи и
увеличение межремонтного периода работы скважин.
Процесс оптимизации режима работы скважин включает в себя выявление фонда
скважин для технологических мероприятий по оптимизации режимов работы насосных
установок, их подбор и практическое осуществление рекомендаций.
В начале расчетов по оптимизации необходимо определить коэффициент
продуктивности работающей скважины. Для этого определяют забойное и пластовое
давление или по динамическому и статическому уровням и дебиту, или же эти
давления замеряют глубинными манометрами.
Забойное давление, рассчитываемое по динамическому уровню, складывается
от массы газонефтяной смеси в затрубном пространстве скважины и затрубного
давления, а также от массы газоводонефтяного столба в эксплуатационной колонне
от приема насоса до верхних отверстий перфорации в работающей скважине.
Пластовое давление рассчитывают по замеренному статическому уровню во
время остановки скважины на восстановление забойного давления до пластового.
Таким образом. Перед остановкой скважины отбивают динамический уровень и
замеряют дебит, а по прохождении времени восстановления давления отбивают статический
уровень.
Для определения максимально возможного дебита скважины задаются
допустимым минимальным забойным давлением для данной скважины. При этом исходят
из геолого - промысловых и технических ограничений: разрушение призабойной
зоны, предотвращении выделения в призабойной зоне парафина, солей или
свободного газа, сохранение целостности эксплуатационной колонны и цементного
кольца и т. д.
Задаются также минимальным давлением на приеме насоса, обеспечивающим его
нормальную работу, т.е. без вредного влияния газа и с необходимой величиной
коэффициента подачи.
При выборе штангового насоса и параметров откачивания S и n исходят из нагрузки в точке подвеса штанг. Величина этой
нагрузки ограничивается прочностью штанговой колонны и грузоподъем-ностью станка
- качалки.
Остальные расчеты производят в соответствии со схемой выбора насосной
установки, приведенной выше.
В наклонной скважине глубину подвески насоса определяют с учетом
удлинения ее ствола.
При значительном отклонении оси насоса от вертикали ухудшаются условия
работы всасывающего и нагнетательного клапанов. Поэтому определяют допустимый
угол наклона, обеспечивающий нормальную работу насоса.
Надежность работы насосной установки зависит от сил трения между
цилиндром и плунжером, определяемых в значительной степени величиной изгиба оси
штангового насоса. Поэтому определяют радиус скважины, позволяющий располагать
насос без деформации.
Оптимальный дебит в работающих скважинах можно установить путем улучшения
коэффициента подачи насоса, принятия мер борьбы с песком или уменьшения
суточного отбора жидкости.
На практике часто встречаются случаи, когда производительность насосной
установки превышает продуктивность скважины несмотря на использование насоса
малого диаметра. Такие скважины называют малодебитными ( дебит менее 5 т\ сут).
После пуска в эксплуатацию малодебитной скважины насос быстро откачивает
поступающую из пласта жидкость, уровень ее снижается до приема насоса. В
результате этого коэффициент подачи насоса резко падает. Для повышения
коэффициента полезного действия насосной установки , уменьшения износа ее
отдельных узлов и сокращения расхода электроэнергии ( т.е. для оптимизации
режима работы насосной установки ) такие скважины переводят на периодическую
эксплуатацию. Последняя заключается в том, что после понижения уровня до приема
насоса скважину останавливают для накопления жидкости, после чего вновь пускают
в работу. Целесообразность периодической эксплуатации и соответствующий режим
работы скважины устанавливают путем анализа данных исследования ее на приток.
Наиболее подходящими для перевода на периодическую эксплуатацию являются
скважины, не дающие песка, имеющие низкие коэффициенты продуктивности (
медленно восстанавливающие уровень жидкости ) и сравнительно высокие
статические уровни. К этой категории относятся скважины с высоконапорными
пластами, с очень слабыми притоками жидкости.
Скважины с низким и быстро восстанавливающимся статическим уровнем
нецелесообразно переводить на периодическую эксплуатацию, т.к. возникает
необходимость частого запуска и остановки станка - качалки. Если этого не
делать, то будет наблюдаться снижение добычи нефти.
В большинстве малодебитных скважин приток нефти из пласта непрерывно
уменьшается с подъемом уровня жидкости из - за создающегося противодавления на
пласт. Поэтому периоды накопления жидкости устанавливают исходя из допустимых
потерь и экономической эффективности различных режимов эксплуатации
малодебитной скважины.
Наибольший эффект достигается при наличии в скважинах зумпфа ( часть
скважины ниже подошвы эксплуатируемого пласта, используемая для накопления
жидкости и различных осадков ) достаточной высоты. Такие скважины
эксплуатируются без противодавления на пласт.
.6 Анализ выхода из строя УШГН на Покачевском месторождении
Таблица 6 - Отказы УШГН с наработкой до 50 суток
|
Причины отказов
|
2009 год
|
1 кв. 2010г.
|
|
истирание НКТ
|
0
|
1
|
|
Обрыв штанг
|
2
|
0
|
|
Некачественный вывод на
режим
|
1
|
0
|
|
Всего
|
3
|
1
|
За 2009 год произошло 3 отказа в категории с наработкой до 50 суток. За 1
кв. 2010 года произошел 1 отказа.
Таблица 7 - Отказы УШГН с наработкой от 51 до 100 суток
|
Причины отказов
|
2009 год
|
1 кв. 2010г
|
|
истирание НКТ
|
6
|
1
|
|
Нарушение технологии
ремонта
|
1
|
0
|
|
Нарушение регламента
движения ШГН
|
1
|
0
|
|
Обрыв штанг
|
0
|
1
|
|
Всего
|
8
|
2
|
В 2009г. в категории с наработкой от 51 до 100 суток произошло 8 отказов.
За 1 кв. 2010 года произошло 2 отказ.
В 2009г. в категории с наработкой от 101 до 365 произошло 92 отказа. За 1
кв. 2010 года произошло 57 отказов, что составляет 61% от всех отказов
произошедших в 2009г.
Таблица 8 - Отказы УШГН с наработкой от 101 до 365 суток
|
Причины отказов
|
2009 год
|
1 кв. 2010г
|
|
истирание НКТ
|
56
|
29
|
|
Засорение
|
6
|
5
|
|
Солеотложения
|
4
|
3
|
|
Клин
|
1
|
1
|
|
Нарушение регламента
движения ШГН
|
1
|
0
|
|
Несоответствие
инклинометрии
|
|
2
|
|
Нарушение технологии
ремонта
|
1
|
0
|
|
Прочие УРС
|
1
|
0
|
|
Коррозия
|
0
|
4
|
|
ОПРС
|
4
|
10
|
|
Прочие
|
17
|
1
|
|
Истирание штока плунжера
|
1
|
2
|
|
Всего
|
92
|
57
|
.7 Подбор оборудования УШГН
Скважина № 8141, Куст 629, месторождение Покачевское
Исходные данные:
Пластовое давление Рпл. = 15,8 Мпа;
Забойное давление Рз = 13,8 Мпа;
Плотность нефти ρн = 850 кг/м3;
Обводненность n= 86%;
Глубина скважины Нф = 2417м;
Газовый фактор G= 51
м3/м3;
Длина хода плунжера S = 1500 мм;
Диаметр плунжера насоса dпл. = 38 мм.
. Определяем глубину спуска насоса:
, м, (1)
L = 2100 - (13,8 - 9,5 ) ·106) / 965,6 · 9,8 = 1650 м
где Рпр.опт- оптимальное давление на приеме насоса,
МПа.
Оптимальное давление на приеме насоса устанавливается опытным
путем для каждого месторождения Рпр.опт = 2...2,5 МПа.
Плотность смеси ниже приема насоса:
при малом газосодержании и обводненности более 80%, определяется
по формуле:
rсм=rв×nв+rн(1- nв) (2)
при высоком газосодержании и обводненности менее 80%, по формуле:
. Определяем плотность смеси ниже приема насоса
, кг/м3, (3)
ρсм = (850 + 1,1 · 51 + 1000 · (0,86/(1- 0,86)) /(1,12 +
(0,86/1- 0,86)) = 965,6 кг/м3
где в - объемный коэффициент нефти, принимаем условно в - 1,12.
. Определяют объемную производительность установки, задавшись
предварительно коэффициентом подачи насоса αп = 0,6...0,8:
м3/сут, (4)
Qоб = 15/
(0,9656·0,6) =25,9 м3/сут
По диаграмме: А.Н. Адонина для базовых станков качалок выбирают по
дебиту (Qоб) и глубине спуска насоса (Lн) диаметр
насоса (плунжера) (dн) и тип станка качалки (СК), смотрите рисунки 1, 2, записывают
техническую характеристику выбранного станка - качалки.
В зависимости от диаметра, глубины спуска насоса выбирают
конструкцию колонны штанг.[5]
Устанавливают параметры работы УШГН (режим откачки). Правильно
назначенный режим откачки должен характеризоваться максимальной длиной хода S (см. техническую характеристику выбранного СК),
минимальным диаметром насоса. Число качаний вычисляется по формуле:
. Определяем число качаний балансира в минуту:
, (5)
где Fпл- площадь поперечного сечения плунжера, определяют, но
справочным таблицам или по формуле:
n = 25,9/(1440·15,2·1,5·0,6·0,9656) =14 кач/мин
. Определяем площадь поперечного сечения плунжера насоса:
, м2, (6)
Fпл = (3.14
· (0,044)2) / 4 = 0,00152 м2
. Определяют необходимую мощность по формуле Д. В. Ефремова:
N=0,000401×π×
×S×n×rсм×Lн
, кВт, (7)
=0,000401·3,14·(0,038)2·1,5·14·965,6·1650·((10,9·0,82)/0,9·0,82+0,6)·1=59,6
кВт
где ηн и ηск - соответственно КПД насоса и КПД станка-качалки, ηн = 0,9, ηск = 0,82;
aп -
коэффициент подачи насоса (см. пункт 3); К - коэффициент степени
уравновешенности СК, дли уравновешенной системы К = 1-2. Выбирают тип
электродвигателя.
По диаграмме Адонина определяем тип станка - качалки:
СК10-2115
тип насоса НВ2-38
Насос вставной с нижним расположением замковых опор с
диаметром плунжера 38 мм, длиной хода плунжера 1500 мм, длинной самого плунжера
1000 мм.
покачевский
месторождение нефть насос
3. ЭКОНОМИЧЕСКАЯ ЧАСТЬ
.1 Расчёт годовой добычи нефти и товарной продукции
Смена оборудования УШГН на скважине производится бригадой ПРС, состоящей
из двух операторов, работающих на устье скважины и машиниста подъёмника.
При работе используется следующее технологическое оборудование: подъёмник
АПРС-40 для проведения спуско-подъёмных операций; агрегат цементировочный
ЦА-320М для промывки скважины, агрегат 2АРОК для обслуживания станка-качалки;
установка ППУ для пропарки подземного оборудования с целью удаления парафиновых
и асфальто-смолистых отложений, автоцистерна АЦ-10 для перевозки
технологических жидкостей; самопогрузчик промысловый ПС-0,5 для перевозки
штангового насоса и другого оборудования. Одновременно со сменой насоса
проводится промывка скважины.
В результате смены оборудовании УШГН произошёл прирост добычи нефти.
Суточный дебит скважины по нефти:
- до
замены оборудования: Qсут1=0,8 т/сут;
- после
замены оборудования: Qсут2=1,8 т/сут.
Годовую добычу нефти определим по формуле:
Qгод=Qсут∙Кэкспл∙365, (8)
где Кэкспл - коэффициент эксплуатации, принимаем Кэкспл=0,967.
Годовая добыча нефти до мероприятия:
Qгод1=0,8∙0,967∙365=282,36 т.
Годовая добыча нефти после мероприятия:
Qгод2=1,8∙0,967∙365=635,32 т.
Прирост годовой добычи нефти за счёт проведения мероприятия:
ΔQ= Qгод2- Qгод1 , (9)
ΔQ=635,319 -282,364 =352,955 т.
Товарную продукцию определим по формуле:
ТП= Qгод∙Ц, (10)
где Ц - цена одной тонны нефти, Ц=15200 руб.
Товарная продукция до мероприятия:
ТП1=282,364 ∙15200=4291872 руб.
Товарная продукция после мероприятия:
ТП2=635,319 ∙15200=9656864 руб.
.2 Расчет фонда оплаты труда
Затраты на оплату труда определяются исходя из численности рабочих и
тарифных ставок.
Согласно технологической карте для производства работ требуется: оператор
ПРС 4-го разряда - 1 чел.; оператор ПРС 5-го разряда - 1 чел.; машинист
подъёмника 6-го разряда - 1 чел.
Тарифные ставки приведены в таблице 9
Таблица 9 - Часовые тарифные ставки работников
|
Разряды
|
4
|
5
|
6
|
|
Часовая тарифная ставка,
руб/ч
|
75,8
|
84,9
|
96,7
|
|
Количество работников
|
1
|
1
|
1
|
Определим среднюю тарифную ставку рабочих по формуле:
, (11)
где
Тi - тарифная ставка i-го разряда,
руб/ч;
Ni -
количество рабочих, имеющих i-й разряд;
n - число
разрядов.
В
соответствии с принятыми данными получим:
Заработная
плата производственных рабочих по тарифу (основная заработная плата)
определяется по формуле:
ЗПосн=Тср·Тэф·N, (12)
где
Тэф - эффективный фонд рабочего времени, принимаем в качестве Тэф
время проведения работ по замене оборудования, Тэф =107 часов;
N - число
рабочих, N=3.
ЗПосн=85,8∙107∙3=27541,8
руб.
Доплата
за работу в ночное время
Ночными
считаются часы работы с 22 до 6 часов утра. Они составляют 1/3 от эффективного
фонда рабочего времени. Доплата за работу в ночное время составляет 40% часовой
тарифной ставки за каждый час работы в ночное время и определяется по формуле:
(13)

.
Доплата
за работу в праздничные дни. Ведётся в двойном размере и определяется по
формуле:
где
Тпр - количество праздничных дней, Тпр = 12.
Дпр=2∙85,8∙12∙3=6177,6
руб.
Премия.
Максимальный размер премии составляет 40% за оплату в отработанное время, с
учётом доплаты за работу в ночное время
ПР=(ЗПосн+Дн)∙0,4,
(15)
ПР
= (27541,8 + 3672,24) ∙0,4 = 12485,62 руб.
Районный
коэффициент. Принят в размере 70% и начисляется на оплату за отработанное время
с учётом премии и доплат, определяется по формуле:
РК=(ЗПосн+ПР+Дпр)∙0,7,
(16)
Северная
надбавка. Начисляется в размере 50%, определяется по формуле:
СН=(ЗПосн+ПР+Дпр)∙0,5,
(17)
Фонд
оплаты труда:
ФЗПосн=
ЗПосн+ПР+Дпр+ Дн+РК+СН, (18)
ФЗПосн=27541,8+12485,62+6177,6+3672,24+32343,51+23102,51=105323,28
руб.
Дополнительная
заработная плата. Включает доплаты за сверхурочное время, за отклонения от
нормальных условий труда, оплату внутрисменных простоев, учебных отпусков,
определяется по формуле:

(19)
где
Ддоп - процент дополнительной заработной платы.
Значение
Ддоп определяется по формуле:

(20)
где
До - число дней отпуска, Д0 =45;
Дп
- число праздничных дней в году, Дп =12;
Дв
- число выходных дней в году, Дв =104;
Дк
- число календарных дней в году, Дк =365.
Общий
фонд заработной платы работников:
ФЗПр=ФЗПосн+ФЗПдоп
, (21)
ФЗПр=105323,28+24277=129600,3
руб.
3.3
Расчёт начислений на заработную плату
Отчисления
на заработную плату составляют 34,5% от общего фонда заработной платы.
Отчисления на заработную плату складываются из отчислений:
%
- пенсионный фонд;
,9%
- фонд социального страхования;
,1%
- фонд обязательного медицинского страхования;
,5%
- страхование от несчастных случаев.
СВ=
ФЗПр·0,305, (22)
СВ=129600,3∙0,305=39528,1
руб.
.4
Расчёт затрат на материалы
Затраты на материалы вычисляются по формуле:
Св = Ц·Q, (23)
где Цi - цена
материала, руб.;
Qi - норма расхода материала на весь объём работ.
Жидкость глушения:
Св1=84,8∙8,5=720,8 руб.
Жидкость промывочная:
Св2=68,5∙15=1027,5 руб.
Итого затрат на материалы:
Св=720,8+1027,5=1748,3 руб.
Таблица 10 - Затраты на материалы
|
Наименование материалов
|
Количество
|
Цена за единицу, руб.
|
Стоимость, руб.
|
|
Жидкость глушения, м3
|
8
|
84,8
|
678,40
|
|
Жидкость промывочная, м3
|
12
|
68,5
|
822,00
|
|
Итого
|
1500,40
|
.5 Расчёт затрат на услуги технологического транспорта
Затраты на услуги технологического транспорта состоят из затрат на
проведение технологических операций и определяются по формуле:
Зто =С1мч∙t , (24)
где t - время проведения технологической
операции;
С1мч - стоимость одного машино-часа работы оборудования, руб.
Используемый при технологическом процессе транспорт, время работы,
стоимость машино-часа и результаты вычислений сведены в таблицу 7.
Подъёмник АПРС-40:
Зто1=40∙858,41=34336,4 руб.
Насосный агрегат ЦА-320:
Зто2=12∙1260,88=15130,56 руб.
Агрегат 2 АРОК:
Зто3=6∙894,35=5366,1 руб.
Установка ППУ:
Зто4=4∙2662,11=10648,44 руб.
Автоцистерна АЦ-10:
Зто5=18∙785,56=14140,08 руб.
Самопогрузчик промысловый ПС-0,5:
Зто6=6∙904,76=5428,56 руб.
Итого:
Зто=34336,4 +15130,56
+5366,1+10648,44+14140,08+5428,56=85050,14 руб.
Таблица 11 - Затраты на проведение технологических операций
|
Транспорт
|
Время на проведение технологических
операций, час
|
Стоимость 1 машино-часа,
руб.
|
Стоимость проведения
технологических операций, руб.
|
|
Подъёмник АПРС-40
|
40
|
858,41
|
34336,40
|
|
Насосный агрегат ЦА320
|
12
|
1260,88
|
15130,56
|
|
Агрегат 2АРОК
|
6
|
894,35
|
5366,10
|
|
Установка ППУ
|
4
|
2662,11
|
10648,44
|
|
Автоцистерна АЦ-10
|
18
|
785,56
|
14140,08
|
|
Самопогрузчик промысловый
ПС-0,5
|
6
|
904,76
|
5428,56
|
|
Итого
|
85050,14
|
.6 Расчёт цеховых расходов
Цеховые расходы - косвенные расходы, которые определяются в процентном
отношении от фонда заработной платы. Они включают:
- заработную
плату вспомогательных рабочих;
- начисления
на зарплату вспомогательных рабочих;
- расходы
на содержание малоценных и быстроизнашивающихся инструментов и приспособлений;
- затраты
на охрану труда и ТБ;
- затраты
на рационализаторство и предпринимательство;
- прочие
расходы.
Цеховые расходы определяются по формуле:

(25)
где
Пц - процент цеховых расходов, принимаем Пц=95%
.7 Расчёт себестоимости подбора оборудования
Сведём все статьи затрат в таблицу 12.
Таблица 12 - Затраты на проведение мероприятия
|
Вид затрат
|
Сумма, руб.
|
|
Фонд оплаты труда
|
129600,30
|
|
Начисления на заработную
плату
|
39528,10
|
|
Затраты на материалы
|
1500,40
|
|
Услуги транспорта
|
85050,14
|
|
Цеховые расходы
|
123120,30
|
|
Итого по смете
|
378799,24
|
.8 Расчёт экономической эффективности
Экономическая эффективность смены оборудования определяется последующим
увеличением добычи нефти за счёт его оптимальной работы.
Исходные данные для расчёта экономической эффективности сведём в таблицу
13.
Таблица 13 - Исходные данные для расчёта экономической эффективности
|
Показатели
|
До мероприятия
|
После мероприятия
|
|
Годовая добыча нефти, т/год
|
282,36
|
635,32
|
|
Дополнительная добыча за
счёт мероприятия за год, т/год
|
-
|
352,96
|
|
Затраты на мероприятие,
руб.
|
378799,24
|
|
Оптовая цена 1 т нефти,
руб./т.
|
15200
|
15200
|
|
Условно-переменные расходы,
руб/т.
|
4100
|
4100
|
Эксплуатационные затраты ΔЗ на добычу дополнительной нефти ΔQ определим по формуле:
ΔЗ=Упер·ΔQ, (26)
где Упер - условно-переменные
затраты на добычу дополнительной нефти, (затраты которые прямо зависят
от количества добытой нефти)
Упер =4100 руб/т.
ΔЗ=4100∙352,96=1447115,5 руб.
Всего затрат на добычу дополнительной нефти с учётом затрат на проведение
мероприятия:
ΔЗт=
ΔЗ+З', (27)
гдеЗ' - затраты на проведение мероприятия, по рассчитанной смете
З'=378799,24 руб.
ΔЗт=1447115,5+378799,24=1825914,74
руб.
Определим затраты на добычу нефти без использования мероприятия по
формуле:
Зт1=Qгод1·C1, (28)
где Qгод1 - объём добытой нефти до мероприятия,
Qгод1=282,36 т/год;
C1 - себестоимость 1 т нефти, добытой
до мероприятия,
C1 = 9200 руб/т.
Зт1=282,36 ∙9200=2597712 руб.
Затраты на добычу нефти с использованием мероприятия определим по
формуле:
Зт2=Зт1+ΔЗт , (29)
Зт2=2597712+1825914,74=4423626,74 руб.
Себестоимость добычи 1 т нефти, добытой с использованием мероприятия:
С2=Зт2/Qгод2 , (30)
где Qгод2 - объём добытой нефти после мероприятия,
Qгод2=635,32 т/год.
С2=4423626,74/635,32=6562,63 руб.
Снижение себестоимости:
ΔС= С1- С2, (31)
ΔС=9200-6562,63=2237,17 руб.
Определим балансовую прибыль до мероприятия:
П1=ТП1- Зт1, (32)
П1=4291872-2597712=1694160 руб.
после мероприятия:
П2=ТП2- Зт2, (33)
П2=9656864 -4423626,74=5233237,26 руб.
Определим прирост балансовой прибыли от дополнительной добычи нефти:
ΔП=П2-П1, (34)
ΔП=5233237,26 - 1694160=3539077,26
руб.
Налог на прибыль определим, считая ставку налога на прибыль равную 20%:
до мероприятия:
Н1=20·П1/100, (35)
Н1=20∙1694160/100=338832 руб.
после мероприятия:
Н2=24·П2/100, (36)
Н2=20∙5233237,26/100=1046647,452 руб.
Прирост налога:
ΔН=Н2-Н1, (37)
ΔН=1046647,45-338832 =707815,45 руб.
Прибыль, остающаяся в распоряжении предприятия:
до мероприятия
Ппр1=П1-Н1, (38)
Ппр1=1694160-338832=1355328 руб.
после мероприятия
Ппр2=П2-Н2 , (39)
Ппр2=5233237,26-1046647,45=4186589,81 руб.
Прирост прибыли:
ΔПпр= Ппр2 - Ппр1
, (40)
ΔПпр=4186589,81-1355328=2831261,81
руб.
По результатам расчёта составляем сравнительную таблицу технико -
экономических показателей - таблица 14.
Таблица 14 -Таблица технико-экономических показателей
|
Наименование статей затрат
|
До мероприятия
|
После мероприятия
|
Отклонения
|
|
Годовая добыча нефти, т/год
|
282,36
|
635,32
|
352,96
|
|
Затраты на проведения
мероприятия, руб.
|
378799,24
|
-
|
|
Себестоимость 1 т нефти
|
9200,00
|
6562,63
|
2237,17
|
|
Балансовая прибыль
|
1694160,00
|
5233237,26
|
3539077,26
|
|
Налог на прибыль
|
338832,00
|
1046647,45
|
707815,45
|
|
Прибыль, остающаяся в
распоряжении предприятия
|
1355328,00
|
4186589,81
|
2831261,81
|
4. ТЕХНИКА БЕЗОПАСНОСТИ И ОХРАНА ОКРУЖАЮЩЕЙ СРЕДЫ
.1 Техника безопасности
Устье скважины оборудуется запорной арматурой и сальниковым устройством
для герметизации штока.
Обвязка устья скважины должна позволять смену набивки сальника
полированного штока при наличии давления в скважине, замер устьевого давления и
температуры.
До начала ремонтных работ или перед осмотром оборудования периодически
работающей скважины с автоматическим, дистанционным или ручным пуском
электродвигатель должен отключаться, контргруз должен быть опущен в нижнее
положение и заблокирован тормозным устройством, а на пусковом устройстве
вывешен плакат: "Не включать, работают люди".
На скважинах с автоматическим и дистанционным управлением станков-качалок
вблизи пускового устройства на видном месте должны быть укреплены плакаты с
надписью: "Внимание! Пуск автоматический".
Кривошипно-шатунный механизм станка-качалки, площадка для обслуживания
электропривода и пускового устройства должны быть окрашены и иметь ограждения.
Системы замера дебита, пуска, остановки скважины должны иметь выход на
диспетчерский пункт.
Станок-качалка должен быть установлен так, чтобы исключалось
соприкосновение движущихся частей с фундаментом или грунтом.
Для обслуживания тормоза станка-качалки устраивается площадка с
ограждением.
При крайнем нижнем положении головки балансира расстояние между траверсой
подвески сальникового штока или штангодержателем и устьевым сальником должно
быть не менее 20 см.
Кондуктор (техническая колонна) должен быть связан с рамой станка-качалки
не менее чем двумя заземляющими стальными проводниками, приваренными в разных
местах к кондуктору (технической колонне) и раме.
Сечение прямоугольного проводника должно быть не менее 48 мм2,
толщина стенок угловой стали не менее 4 мм, диаметр круглых заземлителей - 10
мм.
Заземляющие проводники, соединяющие раму станка-качалки с кондуктором
(технической колонной), должны быть заглублены в землю не менее, чем на 0,5 м.
В качестве заземляющих проводников может применяться сталь: круглая,
полосовая, угловая или другого профиля.
Применение для этих целей стального каната не допускается. Соединения
заземляющих проводников должны быть доступны для осмотра.
Работа по обслуживанию станков-качалок весьма опасны и трудоемки. Это
обусловлено наличием движущихся частей и токонесущих линий, необходимостью
смазки, обслуживания, частой смены и ремонта узлов и деталей. Опасности
устраняются при надежном ограждении всех движущихся частей и проведении смазки,
наладки, ремонта оборудования при полной остановке станка- качалки. Для
устранения опасности падения с высоты при обслуживании и ремонте устраиваются
площадки с ограждениями.
Работы, связанные со снятием и надеванием канатной подвески, откидыванием
или опусканием головки балансира, перестановкой пальцев кривошипов и
уравновешиванием станков-качалок, присоединением и отсоединением траверсы,
сменой балансира и откидной головки, снятием и установкой роторных
противовесов, редукторов, электродвигателей, должны проводиться при
использовании различных устройств, приспособлений и быть механизированы. При
перестановки и смене пальцев кривошипно-шатунного механизма на сальниковых шток
следует установить зажим, а шатун надежно прикреплен к стойке станка-качалки.
Во избежание несчастных случаев рабочее место подготавливают так, чтобы создать
определенные удобства для выполнения указанной операции. Шатун после
отсоединения от кривошипа привязывают к стойке станка-качалки, а пальцы
выпрессовывают посредством предназначенного для этого приспособления с
использованием привода и тормоза станка-качалки. Устанавливать балансир в
требуемое положение путем проворачивания вручную шкивов клиноременной передачи
запрещается.
Перед началом ремонтных работ в насосных скважинах головка балансира
станка-качалки должна быть откидана назад или отведена в сторону.
Откидывание и опускание головки балансира, а так же снятие и надевание
канатной подвески следует проводить при помощи приспособлений, исключающих
необходимость подъема рабочего на балансир станка-качалки.
Техническое состояние крепления каких-либо частей проверяется после
остановки станка-качалки. [2]
Перед пуском станка-качалки после выполнения ремонтных работ убирают
инструмент и различные приспособления, устанавливают на место предохранительные
ограждения и обязательно проверяют отсутствие посторонних людей в опасной зоне.
.2 Охрана окружающей среды
Как источник загрязнения, кусты скважин выделяют в атмосферу углеводороды.
В аварийных случаях или при нарушении технологии возможны выбросы нефти и
пластовых вод со скважин, ГЗУ, дренажных емкостей и выкидных трубопроводов на
территорию кустовой площадки.
Площадки кустов скважин имеют периметральные защитные обвалования,
предотвращающие излив или смыв загрязняющих веществ с территории площадки с
талыми водами или осадками.
Промбазы цехов существенного загрязнения окружающей среде не наносят,
кроме выбросов в атмосферу сварочных аэрозолей. В цеху полготовки производства
при работе пилорамы и столярного цеха происходит выброс в атмосферу древесной
пыли после очистки.
Трубопроводные сети представляют собой герметичные системы и только в
аварийных случаях возможен выброс в атмосферу углеводородов и на рельеф нефти и
подтоварной воды.
Как источники загрязнения, комплексные сборные пункты являются основными
источниками загрязнения атмосферы. От резервуаров, различных емкостей,
отстойников, сепараторов, насосных блоков происходит выброс углеводородов в
атмосферу. При сжигании газа или нефти на котельных происходит выброс в
атмосферу двуокиси углерода и двуокиси азота.
Площадки КСП оборудованы замкнутыми системами утилизации пром ливневых и
сточных вод с территории площадки, резервуары имеют защитные обваловки,
площадки технологических аппаратов имеют бетонный бордюр. Для аварийного сброса
нефти или жидкости на каждой площадке КСП предусмотрены аварийные шламовые
амбары, соединённые с системой утилизации промливневых вод. Котельные работают
на нефти и газе. Попутный газ с КСП подаётся на Белозёрный ГПЗ, КС и в
аварийных ситуациях (гидратные пробки, аварии на газопроводах, остановки ГПЗ) и
при капремонте (газопроводов, КСП, КС) газ сжигается на факелах, процент
утилизации газа по предприятию составляет 97,6 %.
С целью поддержания пластового давления закачка в продуктивные пласты
Самотлорского месторождения производится с КНС. Водоснабжение КНС
осуществляется подачей пластовой воды с площадок ППН. Вода поступает на приём
КНС ( давление на приёмах насосов от 0,2 до 1Мпа) через выкида насосов
(давление до 15Мпа) по сети водоводов высокого давления закачивается в
нагнетательные скважины.
При нормальной эксплуатации системы герметичны и загрязнение окружающей
среды не происходит, в аварийной ситуации может произойти выброс жидкости на
рельеф, в озёра или реки. БКНС оборудованы замкнутыми системами сбора и
утилизации промливневых и сточных вод с территории площадок. Учёт закачиваемой
воды на кустовых насосных станциях ведётся ультразвуковыми счётчиками воды,
установленными на приёмном водоводе КНС.
ЗАКЛЮЧЕНИЕ
В данном дипломном проекте рассматривалась геологическая характеристика
Покачевского месторождения: орогидрография, стратиграфия, литология и тектоника
продуктивных горизонтов месторождения, физико-химические свойства нефти и газа
и режим разработки залежи.
На Покачевском месторождении 35% фонда скважин оборудование установками
штангового глубинного насоса, что говорит об уменьшении дебита скважин и
большой обводненности.
В технико-технологической части описаны основные узлы штанговой насосной
установки, а именно станка-качалки и штангового насоса. Рассмотрены виды и
конструкция вставных и невставных насосов, оборудование устья скважины при
штанговой насосной эксплуатации. Классифицированы факторы, влияющие на подачу
насоса и исследование штанговой насосной установки.
Так же в технологической части был произведен расчет подбора оборудования
установки штангового глубинного насоса. По диаграмме Адонина была выбран привод
насоса станка-качалки типа СКН10-2115.
ГОСТ 5866-76 и тип вставного насоса НВ2-38.
В экономическом расчете себестоимость подбора оборудования УШГН
складывается из затрат на заработную плату рабочих бригады, затрат на
материалы, затрат на эксплуатацию технологического оборудования, затрат на
обязательные выплаты (ЕСН), цеховых затрат.
Экономическая эффективность мероприятия определяется количеством
дополнительно добытой нефти - согласно технологическому расчёту годовой объём
дополнительно добытой нефти составил 352,96 т. В результате этого произошло
снижение себестоимости нефти на 2237,14 руб. и увеличение чистой прибыли на
2831261,81 руб.
СПИСОК ИСПОЛЬЗУЕМОЙ ЛИТЕРАТУРЫ
1. Акульшин
А.И. Эксплуатация нефтяных и газовых скважин: Учеб. Для Э 11 техникумов - М.:
Недра, 1989 - 480 с.: ил.
2.
Бойко В.С. Разработка и эксплуатация нефтяных месторождений. - М.: Недра, 1990
- 427с.: ил.
.
Махмудов С.А. Монтаж,
эксплуатация и ремонт скважинных насосных установок: справочник мастера. - М.:
Недра, 1987.
. Никишенко С.Л. Нефтепромысловое оборудование: Учебное
пособие. - Волгоград: Издательство «Ин-Фолио», 2008. - 416 с.:ил.
.
Покрепин Б.В. Способы эксплуатации нефтяных и газовых скважин: Учебное пособие.
- Волгоград: Издательство «Ин-Фолио», 2008. - 352 с.:ил.
6.
Технологическая схема разработки Покачевского месторождения. - Тюмень: НИПИНП,
1992. - 34 с.
7. Юрчук А.М. Расчёты в добыче нефти.
Учебник для техникумов, 3-е изд., перераб. и доп., - М.:
Недра¸
1979 - 271 с.:ил.