Разработка и апробация угольно-пастовых электродов на основе моторных масел

  • Вид работы:
    Дипломная (ВКР)
  • Предмет:
    Химия
  • Язык:
    Русский
    ,
    Формат файла:
    MS Word
    1,78 Мб
  • Опубликовано:
    2012-05-15
Вы можете узнать стоимость помощи в написании студенческой работы.
Помощь в написании работы, которую точно примут!

Разработка и апробация угольно-пастовых электродов на основе моторных масел















Разработка и апробация угольно-пастовых электродов на основе моторных масел

Оглавление

Введение

Глава 1. Литературный обзор

.1 Мультиэлектродные системы

.2 Применение методов хемометрики в мультисенсорных системах типа «электронный язык»

.2.1 Методы качественного анализа

.2.2 Методы количественного анализа

.3 Вольтамперометрические языки

.4 Моторные масла

.4.1 Типы моторных масел

.4.2 Общие требования к моторным маслам

.4.3 Некоторые основные характеристики масел

.4.4 Состав базовых масел

.4.5 Присадки к моторным маслам

Глава 2. Экспериментальная часть

.1 Приборы и реактивы

.2 Методика эксперимента

.3 Объекты исследования

.4 Обработка вольтамперометрических данных

Глава 3. Результаты и их обсуждение

.1 Исследование вольтамперометрического поведения маркеров на УПЭ, модифицированных моторными маслами

.2 Идентификация моторных масел с использованием трехфакторных образов по скорости развертки

.3 Идентификация моторных масел с использованием трехфакторных образов по природе маркеров

.4 Групповая идентификация моторных масел

Выводы

Список литературы

Приложение

Введение

моторное масло хемометрика

В последнее время большой интерес уделяется разработке методов контроля качества продуктов питания, лекарственных средств, технических жидкостей, созданию датчиков контроля производственных процессов в режимах on-line, in-line в агрессивных средах, разработке устройств детектирования фальсифицированных товаров ненадлежащего качества и т.п.

Среди объектов исследования важную группу смазочных материалов составляют моторные масла, обеспечивающие работоспособность двигателя, повышающие надежность и долговечность его использования. Одной из основных проблем при эксплуатации таких материалов в промышленности и быту является постепенное их «старение», в результате чего они утрачивают свою работоспособность и обуславливают повышение интенсивности изнашивания рабочих поверхностей деталей. В связи с этим увеличиваются требования к экспрессности и надежности мониторинга их качества. Помимо своевременного контроля качества моторных масел актуальным вопросом является выявление фальсификатов, реализуемых в свободной продаже.

Актуальными в этих направлениях остаются задачи создания универсальных, экспрессных аналитических систем, способных в режиме реального времени предоставлять качественную и количественную информацию об исследуемом объекте без помощи оператора и работать долгое время без вмешательства извне.

Анализ объектов традиционными способами - с применением селективных сенсоров - не всегда возможен вследствие недостаточной селективности электродов в растворах сложного состава. Применение классических подходов в решении таких задач распознавания образов, выявления скрытых количественных закономерностей в структуре данных не всегда дает надежные результаты.

В последнее время большой интерес в области аналитической химии вызывают мультисенсорные методы анализа многокомпонентных систем.

Вольтамперометрия является хорошим методом для исследования многих процессов, протекающих на поверхности электрода в двойном электрическом слое, так как позволяет в деталях получить богатую экспериментальную информацию о кинетике и термодинамике многих химических систем. Бурный рост компьютерных технологий создал благоприятные предпосылки для широкой математизации и компьютеризации химической науки, что привело, в конечном счете, к становлению новой химической дисциплины - хемометрики. При сочетании химических сенсоров различного типа с математической программой обработки экспериментальных данных, реализованной в электронных схемах, возможно создание экспертных мультисенсорных систем типа «электронный язык» и «электронный нос».

Целью работы является:

Разработка и апробация угольно-пастовых электродов на основе многокомпонентных смесей (моторных масел) для их идентификации с применением методов хемометрики.

Для этого решались следующие задачи:

1)      оценка возможности использования моторных масел в качестве связующих компонентов в УПЭ;

2)      изучение вольтамперометрического поведения маркеров на исследуемых УПЭ;

)        исследование устойчивости математических образов моторных масел во времени; статистическая обработка результатов идентификации;

)        апробация предложенного подхода для идентификации исследуемых моторных масел с применением методов хемометрики

Глава 1. Литературный обзор

 

.1 Мультиэлектродные системы


Многие проблемы вольтамперометрии (ВА), связанные с недостаточной селективностью сигнала, можно разрешить, если вместо одного электрода использовать несколько, имеющих различные характеристики сигналов-откликов. За такими системами закрепилось название «мультиэлектродные системы» [1, 2]. Кроме того, в последнее время в ВА распространение получил термин «массив сенсоров», хотя он скорее относится не к конструкции измерительной части, а к устройствам, позволяющим обрабатывать сигналы нескольких электродов. Применение мультиэлектродных систем в значительной степени усложняет оперирование как с самими электродами, так и с получаемыми с их помощью данными. Поэтому использование мультиэлектродных систем оправдано лишь в том случае, если они позволяют решать задачи, принципиально недостижимые с помощью единичных электродов. Побудительными мотивами применения мультиэлектродных систем в ВА являются:

• расширение перечня определяемых соединений, каждое из которых дает селективный сигнал-отклик только одного электрода мультиэлектродной системы;

• объединение нескольких электродов в единый блок для облегчения обработки сигналов (блок операционного контроля, усиления и обработки сигналов отдельных электродов);

• одновременное определение нескольких соединений, сигналы-отклики которых частично перекрываются друг с другом и с сигналами матричных или мешающих компонентов; выделение индивидуальных откликов производится путем простейших манипуляций, таких как нахождение разностного сигнала двух электродов и др.;

• установление значений сигналов-откликов нескольких компонентов, взаимно влияющих друг на друга, с помощью методов статистического анализа (многопараметрическая обработка данных);

• получение непараметрической информации, связанной с химическим составом объекта анализа (оценка качества продукта, его происхождения, присутствие в нем особо опасных компонентов и т.п.).

Первые два случая не выходят за рамки традиционного применения электродов в вольтамперометрии, поскольку объединение их в единую систему не меняет характеристик отдельных измерений. В этих случаях мультиэлектродные системы представляют собой массив нескольких электродов, сигналы которых не связаны друг с другом и не оказывают взаимного влияния на параметры селективности и чувствительность определения отдельных компонентов. Компьютер воспринимает отклики электродов и анализирует сигналы, давая на выходе результат анализа (рис. 1.1). Создание таких систем диктуется требованиями миниатюризации и автоматизации измерений, а также снижением их стоимости. Желательно, но не обязательно, чтобы операционные характеристики отдельных электродов совпадали.

Другие варианты мультиэлектродных систем предполагают обработку массива экспериментальных данных (измерений) с помощью методов хемометрики, направленных как на оценку метрологических характеристик, особенно в случае нелинейных и многопараметрических концентрационных зависимостей сигнала, так и на выделение сигналов-откликов индивидуальных компонентов [3-7]. В отдельную группу выделены методы, призванные решать задачи, не связанные с установлением концентраций веществ, - методы установления различий и близости объектов по априорным или апостериорным критериям, которые применяются в экспертных системах.

Рис. 1.1. Массив вольтамперометрических сенсоров

Заметим, что методы, основанные на применении мультиэлектродных систем с математическими способами классификации данных измерений, первоначально развивались в области газового анализа, где подобные системы получили название «электронный нос». Несколько позднее появились мультиэлектродные потенциометрические устройства на основе ИСЭ, сначала на основе халькогенидных стекол, а затем на основе комплексов переходных металлов, для которых по аналогии было предложено название «электронный язык» [2, 8, 9]. Разработка систем «электронный язык» стимулируется желанием смоделировать и расширить возможности человека, а в некоторых случаях заменить такую человеческую способность, как восприятие вкуса. В частности, разработан «вкусовой сенсор» на основе полимерных липидных мембран, позволяющий различать сладкие, горькие, кислые и соленые растворы [10-12]. Поскольку в указанных системах используются методы обработки данных высокой размерности и нейрокомпьютерные подходы, то «электронный язык» можно рассматривать как ветвь развития искусственного интеллекта - «электронного мозга».

Для обработки сигналов мультиэлектродных систем в ВА обычно используются стандартные программные пакеты, реализующие общие подходы к обработке массивов многомерных данных, такие как искусственные нейронные сети или метод главных компонент. Следует отметить, что несмотря на наличие стандартных алгоритмов обработки данных измерений, применение мультиэлектродных систем часто требует индивидуальных подходов, опирающихся на особенности генерирования сигналов-откликов электродов [13-15] и их операционные характеристики. В частности, до сих пор большинство методов хемометрической обработки данных в ВА не согласованы по времени с получением многомерного сигнала и их обработка проводится в отрыве от процесса его генерирования. Иными словами, получение сигнала и его обработка не совмещены по времени и ограничивают возможности автоматизации измерений.

 

.2 Применение методов хемометрики в мультисенсорных системах типа «электронный язык»

 

.2.1 Методы качественного анализа

Наиболее распространенным методом в решении задач качественного анализа является метод главных компонент (МГК), позволяющий эффективно сжать многомерные данные и представить полезную химическую информацию в более компактном виде, удобном для визуализации и интерпретации [16].

В методе главных компонент в n-мерном пространстве строится эллипсоид, наилучшим образом охватывающий данные измерений. Затем эти данные переносятся в другую систему координат, осями которой являются главная (ГК1) и перпендикулярная ей (ГК2) оси эллипсоида, а центром - среднее арифметическое из всех измерений. Координатами любой точки (экспериментальные данные) являются ее проекции на новые оси. При решении задач классификации элементы одного класса располагаются в указанных координатах на плоскости главных компонент достаточно кучно, пространственно отделенные от других элементов. Этот метод дает хорошую визуализацию результатов классификации, однако следует помнить, что расстояния между точками на проекциях не имеют физического смысла, что затрудняет получение ответа на вопрос, чем обусловлена классификация объектов анализа. Преимущество метода - возможность обработки большого числа экспериментальных данных (токи, измеряемые через определенные промежутки времени на протяжении всей вольтамперометрической кривой), что позволяет классифицировать объект анализа с использованием минимального количества электродов (вплоть до регистрации только одной вольтамперограммы). Для повышения размерности сигнала-отклика применяют импульсные варианты ВА (нормальная и дифференциальная импульсная вольтамперометрия, квадратно-волновая и переменнотоковая вольтамперометрия и др.) или модулируют сигнал импульсами небольшой амплитуды.

Задачи классификации можно разделить на две большие группы. К первой относятся так называемые задачи без обучения (unsupervised). Они названы так, потому, что в них не используется обучающий набор и их можно рассматривать как разновидность исследовательского анализа. Задачи второй группы - классификация с обучением (supervised), называются также задачами дискриминации. В них применяется обучающий набор образцов, про которых имеется априорная информация о принадлежности к классам. Методы решения задач классификации без обучения основаны, главным образом, на МГК декомпозиции с последующим анализом расстояний между классами, построением дендрограмм, использованием нечетких множеств и т.п. Однако, в тех случаях, когда возможно проведение дискриминации, т.е. классификации с обучением, этим методам следует отдавать предпочтение. Обучающий набор образцов используется для построения модели классификации, т.е. набора правил, с помощью которых новый образец может быть отнесен к тому или другому классу. После того, как модель (или модели) построена, ее необходимо проверить, используя методы тест- или кросс-валидации, и определить насколько она точна. При успехе проверки, модель готова к практическому применению, т.е. к предсказанию принадлежности новых образцов. В аналитической химии классификация применяется к наборам мультиколлинеарных данных (спектры, хроматограммы), поэтому дискриминационная модель почти всегда многомерна и основана на соответствующих проекционных подходах - МГК, ПЛС.

Одним из самых популярных подходов является метод независимого моделирования аналогий классов SIMCA [16], разработанный С. Волдом. В основе метода SIMCA лежит предположение о том, что все объекты в одном классе имеют сходные свойства, но и обладают индивидуальными особенностями. При построении дискриминационной модели необходимо учитывать только сходство, отбрасывая особенности как шум. Для этого каждый класс из обучающего набора независимо моделируется методом главных компонент с разным числом главных компонент A. После этого вычисляются расстояния между классами, а также расстояния от каждого класса до нового объекта. В качестве таких метрик используются две величины. Расстояние d от объекта до класса вычисляется как среднеквадратичное значение остатков e, возникающих при проецировании объекта на класс


Эта величина сравнивается со среднеквадратичным остатком внутри класса

Вторая величина определяет расстояние от объекта до центра класса, и она вычисляется как размах (квадрат расстояния Махаланобиса).


Здесь τa - это проекция нового образца (счет) на главную компоненту a, а ta - это вектор, содержащий счета всех обучающих образцов в классе

 

.2.2 Методы количественного анализа

Данные методы относятся к задачам регрессионного анализа в котором устанавливается взаимосвязь между зависимыми и независимыми переменными: используются два блока данных.

Первый блок X - это матрица аналитических сигналов (например, спектров, вольтамперограмм, хроматограмм, и т.п.). Второй блок Y - это матрица соответствующих химических показателей (например, концентраций). Число строк (I) в этих матрицах равно количеству образцов сравнения, число столбцов (J) в матрице X соответствует числу каналов (длин волн, или потенциалов в вольтамперометрии, или времени выхода из колонки в хроматографии), на которых записывается сигнал, и, наконец, число столбцов (K) в матрице Y равно числу химических показателей, т.е. откликов. Задача градуировки состоит в построении математической модели, связывающей блоки X и Y, с помощью которой можно в дальнейшем предсказывать значения показателей y по новой строке значений аналитического сигнала x [17].

Точность градуировки принято характеризовать величиной среднеквадратичного остатка градуировки (RMSEC). Ясно, что чем меньше RMSEC, тем точнее описываются обучающие данные. Кроме того, качество градуировки характеризуется еще и коэффициентом корреляции между предсказанными и известными величинами - чем он ближе к единице, тем лучше.

Из литературных данных следует, что наиболее часто для многомерного регрессионного анализа используется регрессия на главные компонента (РГК) [18]; и получивший более популярное распространение метод проекций на латентные структуры (ПЛС) [18], а также регрессия гораздо лучше описывает сложные связи, используя при этом меньшее число ГК.

Представленные методы хемометрики относятся к линейным проекционным методам. В некоторых случаях при наличии нелинейных связей между многомерными данными линейную градуировку построить невозможно. Это относится так же к тем случаям когда количество экспериментальных данных мало. Для построения нелинейных градуировок используют два альтернативных подхода: множественная нелинейная регрессия и многомерная нелинейная градуировка.

Помимо нелинейного PLS, в хемометрике активно применяется метод искусственных нейронных сетей (ANN), имитирующий распространение сигналов в коре головного мозга. Основная идея метода - использование массива (набора) неспецифических (неселективных) сенсоров, обладающих перекрестной чувствительностью, и обработка полученных данных методами, характерными для живых существ при идентификации свойств объекта (рис. 1.2). Нейронные сети позволяют не только устанавливать количественные связи между входными и выходными нейронами, но и делать выводы о принадлежности того или иного объекта к определенному классу. Примеры такого рода задач - установление принадлежности вина к определенному региону изготовления, отличие подлинной продукции от контрафактной, определение источника поступления загрязняющих веществ в поверхностные воды и т.д. Такие задачи называются задачами непараметрической классификации или различения.

Рисунок 1.2. Схема искусственной нейронной сети прямого распространения, состоящей из двух скрытых слоев из 9 и 5 нейронов

Существует много вариантов искусственных нейронных сетей, в которых реализованы различные алгоритмы обучения и классификации, в том числе, в виде пакетов прикладных компьютерных программ. Однако все они имеют характерную особенность: для отнесения образца к тому или иному классу используется классификация, построенная на результатах прошлых исследований или изучения модельных систем.

Последние 10 лет нейронные сети привлекли к себе большое внимание химиков, которые начали применять их для классификации, дискриминации и градуировки. Однако при использовании нейронных сетей очень трудно установить правильную степень сложности модели, что приводит к неустойчивому и ненадежному прогнозу. Поэтому одним из наиболее надежных методов моделирования многомерных данных по праву считается МГК и все другие проекционные методы на его основе.

 

.3 Вольтамперометрические языки


Применительно к вольтамперометрии развитие мультиэлектродных систем идет по двум направлениям. Первое включает применение немодифицированных электродов различной природы (Cu, Ni, Pd, Ag, Sn, Ti, Zr, а также более традиционные Au, графит, стеклоуглерод) в растворах переменного состава [13, 16]. Для повышения размерности сигнала используются либо различные формы модулирования поляризующего напряжения [14, 19, 20] либо дополнительные компоненты, вводимые в раствор. Второе направление - модифицирование электродов органическими и неорганическими соединениями, в том числе электрохимически активными компонентами, сигнал которых зависит от природы объекта анализа [1]. В качестве модификаторов применяют полимеры, фуллерены, нанотрубки, неорганические вещества, медиаторы электронного переноса, чаще всего органические комплексы переходных металлов [21-26]. Иногда поверхность электродов модифицируют физическими методами (термическая обработка, лазерная активация и т. п.).

Типичная конструкция вольтамперометрического электронного языка представляет собой устройство, состоящее из нескольких рабочих (не менее двух) электродов, электрода сравнения (как правило Ag/AgCl-электрод) и вспомогательного электрода (рис. 1.3). Иногда электрод сравнения отсутствует. В этом случае потенциалы рабочих электродов измеряют относительно противоэлектрода большой плоскости.

Рис. 1.3. Конструкция вольтамперометрического электронного языка

Рассмотрим некоторые примеры применения вольтамперометрического электронного языка. Так, анализ вольтамперограмм, полученных на различных электродах (Cu, Ni, Ag, Au, Pd, Pt, Ir, Sn, Ti, Zr, стеклоуглерод) в растворе, содержащем смесь аскорбиновой кислоты, глюкозы, гистидина и K4[Fe(CN)6] позволяет провести идентификацию компонентов и определить их концентрацию в смеси на основе различной чувствительности к ним электродов и соответственно различий в пиках окисления [13]. Наибольший ток для глюкозы наблюдается на электродах из Ag, Cu и Ni, а для гистидина и аскорбиновой кислоты - на Cu-электроде [27-29]. Мультиэлектродная система подобного типа (Cu, Ag, Au, Pt, Ir, стеклоуглерод) с использованием МГК была применена для оценки качества жидких моющих средств, содержащих спирты, щелочи, отдушки, красители, отбеливатели, ферменты и др.

Вольтамперометрический электронный язык, содержащий металлические электроды из Au, Ir, Pt и Rh, в сочетании с МГК был применен для идентификации различных сортов черного и зеленого чая [30]. Для устранения дрейфа экспериментальных данных в многомерном пространстве авторами предложен специальный алгоритм, позволяющий повысить достоверность классификации.

В качестве неселективных электродов, применяемых для изготовления мультиэлектродных сенсоров и регистрации вольтамперограмм, в вольтамперометрических электронных языках используются также угольно-пастовые электроды (УПЭ), модифицированные оксидами металлов (TiO2, PbO2, RuO2), Ni(OH)2, берлинской лазурью [31], бис-фталоцианиновыми комплексами ионов редкоземельных элементов (Gd3+, Lu3+ и Pr3+) [21] и другими модификаторами. Массив УПЭ изготавливали по печатной технологии и использовали для оценки вкуса различных напитков и пищевых продуктов. В частности УПЭ, содержащие в пасте бис-фталоцианиновые комплексы Gd3+, Lu3+ и Pr3+, применяли для тестирования красных вин различной степени зрелости, изготовленных в двух географических областях Испании. Вольтамперограммы регистрировали в условиях циклической и квадратно-волновой вольтамперометрии со скоростью 0.1 В/с c шагом 100 мВ с регистрацией 20 значений силы тока. Для классификации вин использовали МГК. Изменения на вольтамперограммах обусловлены смещением редокс-потенциалов вин и, следовательно, окислительно-восстановительными превращениями модификаторов, а также электрохимическими реакциями компонентов вин, например катехоламинов. В качестве сигналов-откликов использовали анодные пики, отличающиеся наибольшей устойчивостью во времени и воспроизводимостью в серии измерений. Наилучшее разделение достигнуто для вин, отличающихся по зрелости.

Медный электрод использовали для регистрации вольтамперограмм и классификации китайских желтых вин методом главных компонент [32]. В щелочной среде форма вольтамперограмм на медном электроде зависит от содержания в винах спирта, аминокислот и углеводов.

Для модифицирования электродов в последнее время все шире применяют наночастицы металлов и нанотрубки. Так, покрытые пленкой поли(3,4-этилендиокси-тиофена), содержащей наночастицы, электроды из стеклоуглерода и платины находят применение для классификации белых вин [31]. Амперометрический мультиэлектродный сенсор размером 15 Ч 10 мм2, состоящий из пяти графитовых электродов, нанесенных методом трафаретной печати, и Ag/AgCl-электрода сравнения, после модифицирования суспензией углеродных нанотрубок используется для определения от 10-6 до 10-4 моль/л гидрохинона, катехола и резорцина с пределом обнаружения до 10-7 моль/л [25].

Предложен вольтамперометрический электронный язык с двумя рабочими электродами из золота и платины для контроля качества молока и апельсинового сока. Сигналами-откликами служат вольтамперограммы растворов, регистрируемые в условиях импульсной и циклической линейной вольтамперометрии, пики на которых изменяются в зависимости от формы модулирующего напряжения, природы электрода и продолжительности импульса. Для компьютерной обработки выходных сигналов и контроля качества продуктов использовали метод главных компонент [4].

Этот же метод используется для обработки данных измерений с помощью вольтамперометрического электронного языка на основе рабочих электродов из различных металлов (Au, Ir, Pd, Pt, Re, Rh) и хлоридсеребряного электрода сравнения [34]. Такое устройство применяют для оценки качества кисломолочных продуктов и содержания в них микроорганизмов. Вмонтированным в корпус из нержавеющей стали, его помещают в производственную линию для прямых on-line измерений при контроле качества молока. Аналогичные сенсоры используются для сертификации различных сортов чая [15] и моющих средств [35], оценки качества питьевой воды [5], определения тяжелых металлов в поверхностной воде и почве.

Интересен вариант с так называемыми разделенными ячейками [7]. В нем используются три отдельные ячейки, соединенные последовательно золотыми поляризуемыми электродами и не имеющие между собой гидролитического контакта (рис. 1.4). Вольтамперограммы регистрируют, измеряя ток маркера - о-нитроанилина - между электродами, погруженными в крайние ячейки, а в среднюю ячейку помещают анализируемый раствор. Анализ полной кривой, обусловленной как восстановлением маркера, так и поляризацией электродов, позволяет проводить классификацию таких объектов, как соки, минеральные воды и другие напитки.

Рис. 1.4. ВА-система с разделенными ячейками

- ячейка с раствором фона; 2 - ячейка с анализируемым раствором; 3 - ячейка со стандартным раствором маркера; 4 - раствор фона (0,1 моль/л НСl); 5 - анализируемый раствор; 6 - стандартный раствор маркера; 7 - Аu-электроды; 8 - Рt-электрод; 9 - Аg/AgCl; 10 - СУ-электрод

Заметим, что пищевые продукты являются самыми распространенными объектами анализа с помощью вольтамперометрического электронного языка. Его применяют для идентификации и контроля качества фруктовых соков, минеральных вод, прохладительных и спиртных напитков, кофе, чая, вин, растительных масел, фруктов, овощей, мяса, рыбы. Как правило, контролируется несколько основных характеристик, важных для данного продукта и определяющих его вкус. Наличие корреляции между откликом электронного языка и восприятием вкуса человеком - важное и перспективное с практической точки зрения свойство таких устройств. На рынке появились первые коммерческие системы указанного типа.

Известны и непищевые варианты применения мультисенсорных вольтамперометрических систем, например, для определения редкоземельных элементов в отработанном ядерном топливе, для установления степени окисления металлов в катализаторах, контроля степени чистоты (загрязнения) технологического оборудования или изменений химического состава водной среды. Мониторинг с помощью мультиэлектродных систем позволяет контролировать ситуацию и оперативно реагировать на ее качественное изменение. Для количественных измерений вольтамперометрический электронный язык используется реже.

Завершая рассмотрение примеров использования мультиэлектродных систем для определения нескольких компонентов по кривым вольтамперометрического отклика, заметим, что современные приборы позволяют производить огромное число измерений. Например, если использовать вариант вольтамперометрии с регистрацией тока каждые 0.001 с, то при изменении потенциала со скоростью 0.1 В/с в диапазоне потенциалов от 0.0 до 2.0 В можно получить матрицу значений тока размерностью 20 000 чисел. Однако доля полезной информации в таком массиве при хемометрической обработке данных обычными методами может быть относительно невелика. Поэтому необходимо использовать методы сжатия данных, в отличие от подхода, когда из всех данных измерений выделяются только особо значимые (предельный ток, максимальный ток пика, потенциал пика, потенциал полуволны и др.). Суть этих методов в преобразовании исходных данных в новые переменные, число которых должно быть существенно меньше. Сжатие данных позволяет представить полезную информацию в компактном виде, удобном для интерпретации.

Успех и правильность интерпретации результатов зависят от корректного применения методов математической дискриминации, требующих участия не только химиков-аналитиков, но и специалистов в области математической статистики и хемометрики. Это направление вольтамперометрии только развивается, и большая часть работ имеет эмпирический характер. Необходимы серьезные усилия по изучению механизма действия вольтамперометрических сенсоров применительно к аналитам различной природы, разработке методик их практического применения в контроле качества продуктов и производственных процессов в реальном времени. Многомерный подход к анализу экспериментальных данных более труден по сравнению с традиционными одномерными методами. Гораздо проще установить зависимость концентрации того или иного компонента в образце от высоты некоторого пика на вольтамперограмме, чем выяснить, насколько состав образца соответствует требованиям стандарта. Все это изменяет роль аналитика: он должен уметь не только выполнять анализ, но и пользоваться методами хемометрики как одним из инструментов аналитической химии.

1.4 Моторные масла


Моторные масла предназначены для смазывания поршневых двигателей внутреннего сгорания. Они работают в исключительно тяжелых условиях. Другим смазочным материалам, применяемым в автомобилях, - трансмиссионным маслам и пластичным смазкам - несравненно легче выполнять свои функции, не теряя нужных свойств, так как они работают в среде относительно однородной, с относительно постоянными температурой, давлением и нагрузками.

Моторное масло должно в течение длительного времени выполнять возложенные на него функции, а именно:

-       образовывать прочную тончайшую пленку на поверхностях трущихся деталей, исключая тем самым прямой контакт деталей поверхностными микронеровностями и, как следствие, задир поверхностей; снижать износ деталей двигателя;

-       уплотнять зазоры, в первую очередь, между деталями цилиндро-поршневой группы, не допуская или сводя к минимуму прорыв газов из камеры сгорания;

-       отводить тепло, образующееся в результате сгорания топлива и трения; охлаждать детали двигателя;

-       предотвращать образование нагара и лакообразных отложений;

-       предотвращать коррозию деталей двигателя;

-       предотвращать выпадение осадков; поддерживать продукты старения и износа в виде стойкой эмульсии; выносить продукты износа из зоны трения;

-       нейтрализовывать кислоты, образующиеся при окислении масла и сгорании топлива.

Для того чтобы моторное масло успешно осуществляло все эти функции, в базовое масло добавляют пакет присадок (химически активных веществ). В современных моторных маслах доля присадок в среднем составляет 15-25%.

Существует четыре вида базовых масел:

-       минеральные (полученные путем вакуумной перегонки мазута с последующим рафинированием);

-       гидрокрекинговые (гидрокрекинг минерального масла);

-       полусинтетические (смесь минерального и синтетического масел);

-       синтетические (направленный синтез).

 

.4.1 Типы моторных масел

Минеральные масла изготавливаются из нефти путем дистилляции и рафинирования. Для обеспечения требуемого уровня эксплуатационных характеристик такие масла обычно содержат большое количество различных присадок, которые имеют обыкновение в процессе эксплуатации довольно быстро разрушаться, вследствие чего такие масла требуют более частой замены.

Минеральные масла различаются по химическим видам, содержанию серы и по вязкости (которая может быть от 5 до 700 сСт). Используются при умеренных температурах. Известны три химических вида минеральных масел - парафиновые, нафтеновые и ароматические. Ароматическая составляющая на практике составляет лишь незначительную компоненту парафиновых или нафтеновых масел. Существенные различия между парафиновыми и нафтеновыми маслами обусловлены разной зависимостью вязкости от температуры и давления. Кроме того, парафиновые масла стоят дороже, поскольку требуют больше циклов переработки, чем нафтеновые.

Содержание серы в масле зависит от источника сырой нефти и процесса переработки. Небольшие количества серы в масле желательны для обеспечения хорошей смазки и окислительных свойств. При содержании естественной серы от 0.1 до 1.0% обеспечивается снижение интенсивности изнашивания. Слишком много серы вредно для эксплуатационных свойств машины, так как это может коррозировать уплотнения. Излишняя сера может быть удалена из нефти при переработке, но отражается на цене нефтепродуктов. В зависимости от месторождения содержание серы в сырой нефти изменяется от 0 до 8% [36].

Гидрокрекинговые масла - упрощенно, это минеральные масла, но со значительно измененной молекулярной структурой. В процессе обработки масляных фракций водородом при высоких температурах, давлениях и в присутствии катализаторов молекулярная структурная углеводорода масла изменяется в нужном направлении. Скорость и направление отдельных химических реакций, а тем самым и возможность получения желаемых продуктов, может регулироваться изменением параметров обработки (температуры, давления, соотношения реагентов, применением различных катализаторов и др.). В результате полученная гидрообработкой базовая основа приобретает высокую термостабильность, повышается индекс вязкости, снижается температура застывания (в результате гидродепарафинизации). Сочетание и последовательность гидропроцессов обработки масляных фракций зависят от конечных свойств получаемого продукта. По своим функциональным свойствам масла гидрокаталитических процессов незначительно уступают синтетическим маслам.

Производство гидросинтетических масел (такое название правомерно по отношению к маслам гидрокрекинга) занимает лидирующую позицию в Европе [36].

Синтетические масла - лучшее из того, что предлагает современная нефтехимия. Они обладают рядом преимуществ по сравнению с минеральными. Они легкотекучие, следовательно, обеспечивают меньшие потери мощности на трение и, как следствие, снижение расхода топлива и имеют самые низкие температуры прокачки, т. е. позволяют работать двигателю даже при температуре ниже минус 30ºС. Они имеют меньшую испаряемость при высокой температуре, повышенный срок службы. Главный недостаток, ограничивающий их повсеместное применение, это большая цена. Синтетические масла в среднем в два-пять раз дороже минеральных.

Компромиссное решение - смесь из синтетической и минеральной основ. Полусинтетические масла дешевле, но несколько уступает по качеству и сроку службы. Их можно использовать в высокофорсированных бензиновых двигателях и дизелях, а также в двигателях с турбонаддувом.

Другой компромисс - облагораживание минерального масла в ходе процесса гидрокрекинга: продукт получается близким по исходным свойствам, но стареет такое масло еще быстрее [36].

Полусинтетические масла, как правило, содержат в базовом продукте смесь продуктов перегонки и ПАО плюс пакет функциональных присадок, причем синтетический компонент составляет 20-40%. Таким образом, полусинтетическим маслам присущи сильные качества и тех, и других компонентов. Вдобавок выбор в этом сегменте обычно бывает самым богатым - можно подобрать автосмазку именно под свою модель машины

Они улучшают условия пуска холодного двигателя, эффективно очищают двигатель и обеспечивают хорошую защиту от износа. Типовое значение вязкости 10W40 [37].

 

.4.2 Общие требования к моторным маслам

Моторное масло - это важный элемент конструкции двигателя. Оно может длительно и надежно выполнять свои функции, обеспечивая заданный ресурс двигателя, только при точном соответствии его свойств тем термическим, механическим и химическим воздействиям, которым масло подвергается в смазочной системе двигателя и на поверхностях смазываемых и охлаждаемых деталей. Взаимное соответствие конструкции двигателя, условий его эксплуатации и свойств масла - одно из важнейших условий достижения высокой надежности двигателей. Современные моторные масла должны отвечать многим требованиям, главные из которых перечислены ниже:

-       высокие моющая, диспергирующе-стабилизирующая, пептизирующая и солюбилизирующая способности по отношению к различным нерастворимым загрязнениям, обеспечивающие чистоту деталей двигателя;

-       высокие термическая и термоокислительная стабильности позволяют использовать масла для охлаждения поршней, повышать предельный нагрев масла в картере, увеличивать срок замены;

-       достаточные противоизносные свойства, обеспечиваемые прочностью масляной пленки, нужной вязкостью при высокой температуре и высоком градиенте скорости сдвига, способностью химически модифицировать поверхность металла при граничном трении и нейтрализовать кислоты, образующиеся при окислении масла и из продуктов сгорания топлива,

-       отсутствие коррозионного воздействия на материалы деталей двигателя как в процессе работы, так и при длительных перерывах;

-       стойкость к старению, способность противостоять внешним воздействиям с минимальным ухудшением свойств;

-       пологость вязкостно-температурной характеристики, обеспечение холодного пуска, прокачиваемости при холодном пуске и надежного смазывания в экстремальных условиях при высоких нагрузках и температуре окружающей среды;

-       совместимость с материалами уплотнений, совместимость с катализаторами системы нейтрализации отработавших газов;

-       высокая стабильность при транспортировании и хранении в регламентированных условиях;

-       малая вспениваемость при высокой и низкой температурах;

-       малая летучесть, низкий расход на угар (экологичность).

К некоторым маслам предъявляют особые, дополнительные требования. Так, масла, загущенные макрополимерными присадками, должны обладать требуемой стойкостью к механическойи термической деструкции; для судовых дизельных масел особенно важна влагостойкость присадок и малая эмульгируемость с водой; для энергосберегающих - антифрикционность, благоприятные реологические свойства [38].

 

.4.3 Некоторые основные характеристики масел

Вязкость - это одна из важнейших характеристик масел. Моторные масла, как и большинство смазочных материалов, изменяют вязкость в зависимости от своей температуры. Чем ниже температура, тем больше вязкость и наоборот. Чтобы обеспечить холодный пуск двигателя (проворачивание коленвала стартером и прокачивание масла по системе смазки) при низких температурах, вязкость не должна быть очень большой. При высоких температурах, наоборот, масло не должно иметь очень малую вязкость, чтобы создавать прочную масляную пленку между трущимися деталями и необходимое давление в системе.

Индекс вязкости - показатель, который характеризует зависимость вязкости масла от изменения температуры. Это безразмерная величина, т.е. не измеряется в каких-либо единицах - это просто число. Чем выше индекс вязкости моторного масла, тем в более широком температурном диапазоне масло обеспечивает работоспособность двигателя. Для минеральных масел без вязкостных присадок индекс вязкости составляет 85-100, масла с вязкостными присадками и синтетические масла-компоненты могут иметь индекс вязкости 120-150. У маловязких глубокоочищенных масел индекс вязкости может достигать 200.

Температура вспышки. Этот показатель характеризует наличие в масле легкокипящих фракций, и, соответственно, связан с испаряемостью масла в процессе эксплуатации. У хороших масел температура вспышки должна быть выше 225°С. У недостаточно качественных масел маловязкие фракции быстро испаряются и выгорают, ведя к высокому расходу масла и ухудшению его низкотемпературных свойств.

Температура застывания - это температура, при которой масло практически полностью теряет текучесть (подвижность). Температура застывания характеризует момент резкого увеличения вязкости при снижении температуры, или кристаллизации парафина вместе с повышением вязкости в такой степени, что масло становится твердым.

Щелочное число (TBN). Показывает общую щелочность масла, включая вносимую моющими и диспергирующими присадками, которые обладают щелочными свойствами. TBN характеризует способность масла нейтрализовывать вредные кислоты, поступающие в него в процессе работы двигателя и противодействовать отложениям. Чем ниже TBN, тем меньше активных присадок осталось в масле. TBN большинства масел для бензиновых двигателей обычно имеет значения в пределах 8-9 единиц, а для дизельных двигателей около 11-14. При работе моторного масла общее щелочное число неизбежно снижается, нейтрализующие присадки срабатываются. Значительное падение числа TBN приводит к кислотной коррозии, а также загрязнению внутренних частей двигателя.

Кислотное число (TAN). Кислотное число является показателем, характеризующим наличие в моторных маслах продуктов окисления. Чем меньше его абсолютное значение, тем лучше условия работы масла в двигателе и тем больше его остаточный ресурс. Повышение числа TAN служит показателем окисления масла, вызванного длительным временем использования и/или рабочей температурой. Общее кислотное число определяется для анализа состояния моторных масел, как показателя степени окисления масла и накопления кислых продуктов сгорания топлива.

 

.4.3 Состав базовых масел

Все современные моторные масла состоят из базовых масел и улучшающих их свойства присадок. Базовыми маслами называют жидкие смазочные материалы, к которым для получения товарных продуктов добавляют присадки. Присадки - это вещества, усиливающие положительные природные свойства базовых масел или придающие им необходимые новые свойства.

 

.4.4 Присадки к моторным маслам

Присадки применяются для придания маслам новых свойств или изменения существующих. Присадки подразделяют: на антиокислительные - повышают антиокислительную устойчивость масел; противокоррозионные - защищают металлические поверхности от коррозионного воздействия кислото- и серосодержащих продуктов; моюще-диспергирующие - способствуют снижению отложений продуктов окисления на металлических поверхностях; противоизносные, противозадирные и антифрикционные - улучшают смазочные свойства масел; депрессорные - понижают температуру застывания масел; антипенные - предотвращают вспенивание масел [39].

Присадки бывают разные, но основное их свойство, за которое их ценят автолюбители, это возможность обойтись без ремонта. Но до сих все они не могут стопроцентно заменить традиционный (капитальный) ремонт двигателя. Применение присадок - это, скорее, временная мера. Поэтому на наиболее современных присадках указывается срок их эффективного действия только до следующей замены масла.

Чем ниже качество используемого масла, тем больший эффект можно получить при использовании таких присадок. Но если использовать высококачественные масла класса API SH и выше, то применение присадок в лучшем случае будет неэффективно, а в худшем - нарушит баланс уже имеющихся в масле присадок и приведет к потере свойств масла.

Разделим все присадки, используемые для восстановления работы двигателя, на три типа: присадки на основе металлов; на основе фторопласта (тетрофторэтилена); специальные, химически синтезированные присадки.

Присадки на основе металлов

Присадки на основе металлов (медь, молибден, серебро, олово и прочее), как правило, успешно заделывают мелкие неровности и небольшой износ в трущихся деталях. После введения присадки в масло и до следующей замены масла несколько увеличивается компрессия двигателя. Соответственно, уменьшается расход топлива, масла, улучшается приемистость двигателя.

Замена масла и введение присадки в него (вместе с заменой фильтра) должны проводиться через 5000 км для дизелей и турбин бензиновых двигателей и через 10 000 км - для бензиновых. Такие присадки, как правило, сухие концентрированные (в небольших флакончиках), но чаще это уже раствор порошка в моторном масле объемом 50-200 миллилитров.

Очень важно обращать внимание на совместимость масел: во флаконе и того, которое вы заливаете в картер двигателя. При несовместимости масло может свернуться и перекрыть масляные каналы, в результате чего в первую очередь полетят шатунные вкладыши. Итак, присадки из металлов и сплавов достаточно пластичны, длительного эффекта от них лучше не ждать. Хорошо уже то, что они вполне эффективны до очередной замены масла.

Присадки на основе керамики и алмазов

Так называемые керамические присадки содержат кремниевые соединения. Под воздействием трения и нагревания кремния в двигателе в местах трения образуется керамическое покрытие. Но для проявления такого эффекта необходимо огромное давление или же высокая температура.

Присадки на основе фторопласта имеет смысл применять только в новых или абсолютно исправных двигателях. Основная их задача - уменьшение трения. Восстановление изношенных деталей - не их специфика. Положительные свойства фторопластовых присадок в том, что они действуют почти сразу. Снижается расход масла, топлива, увеличивается приемистость, двигатель тише работает. Однако ощутимый эффект от применения этой присадки вы сможете ощущать совсем не долго. Слишком мягкий фторопласт и мелкие его частицы при работе двигателя становятся еще мельче и, наконец, размалываются и перестают работать [39].

Глава 2. Экспериментальная часть


Пристального внимания в исследовательских задачах в области электроаналитической химии заслуживают угольно-пастовые электроды (УПЭ) благодаря простоте и доступности методики их изготовления и возможности совмещения процессов концентрирования и определения как электроактивных, так и неэлектроактивных веществ, а также удобству и экспрессности обновления рабочей поверхности. При использовании УПЭ в качестве рабочего электрода анализируемый компонент из водного (органического) раствора концентрируется на электроде, а величина электрохимического отклика зависит не только от концентрации определяемого вещества в растворе, но и от специфичности его взаимодействия с пастой.

Основная идея использования УПЭ для анализа вязких материалов сводится к установлению влияния природы связующего на накопление, концентрирование и восстановление стандартных маркеров на поверхности УПЭ. В работе в качестве связующего компонента предложено использовать сам аналит - вязкую органическую жидкость - моторное масло.

Многомерный образ аналита формируется из вольтамперограмм маркеров, способных селективно взаимодействовать и накапливаться на поверхности угольно-пастового электрода в зависимости от природы связующего. При наличии набора маркеров различной природы обеспечивается условие перекрестной чувствительности, необходимое для функционирования мультисенсорной системы типа «электронный язык», «электронный нос».

Для идентификации исследуемых объектов использовали два хемометрических подхода:

)        мультисенсорный подход - использование массива сенсоров (маркеры органической и неорганической природы);

)        анализ многомерных данных - методы обработки многомерных данных (МГК, SIMCA-классификация).

 

.1 Приборы и реактивы


-       анализатор инверсионный вольтамперометрический «ИВА-5» с программным обеспечением;

-       электрохимическая ячейка, соединенная по трехэлектродной схеме;

-       рабочий электрод - угольно-пастовый электрод на основе спектрально чистого графита и моторного масла;

-       электрод сравнения - хлоридсеребряный электрод «Radelkis OP 0820 P (Венгрия)»;

-       вспомогательный электрод - стеклоуглеродный электрод;

-       для приготовления растворов использовалась дистиллированная вода;

-       10-2 М раствор хлороводородной кислоты готовился разбавлением 10-1 М раствора, приготовленного из фиксанала;

-       навески CuSO4, Pb(NO3)2, о-нитроанилин, п-нитроанилин, 2,4-динитрофенол, о-нитробензойная кислота; марок «ч» и «хч»;

-       углеродный материал для электрода с диаметром частиц 0.075 мм готовился измельчением спектрально чистого графита при помощи лабораторного гомогенизатора MPW-309 (Польша) с последующим просеиванием его через сита;

-       весы аналитические ВПР-200;

-       химическая посуда, в том числе и мерная.

2.2 Методика эксперимента


Для приготовления растворов маркеров (неорганические - 10-3, органические маркеры - 10-4 моль/л), брали навеску, количественно переносили их в мерную колбу и доводили до метки раствором (10-2 моль/л) фонового электролита.

Пастовый электрод (рис. 2.1) готовили смешением графитового порошка и моторного масла в соотношении 6 к 1 (по массе) при помощи лабораторного гомогенизатора MPW-309 (время гомогенизации 7-10 мин). Подготовленная паста переносилась в полость стеклянной трубки (диаметр 2.0 мм). Контактом служила серебряная проволока. Поверхность электрода выравнивалась на гладкой бумаге (кальке). После каждого измерения поверхность электрода обновляли удалением 1-2 мм пасты с последующей подготовкой поверхностного слоя.

Условия приготовления пасты жестко стандартизированы, так как регистрируемый аналитический сигнал зависит от размера частиц порошка, соотношения жидкой и твердой фаз и однородности полученной пасты.






Рис. 2.1. Конструкция угольно-пастового электрода и трехэлектродная схема. 1 - токосъемник, 2 - изолирующая оболочка, 3 - угольная паста; I - вспомогательный электрод (стеклоуглеродный стержень), II - рабочий электрод (УПЭ), III - электрод сравнения (хлоридсеребряный).

Фоновым электролитом служил 10-2 М раствор HCl.

Проводили регистрацию дифференциальных вольтамперограмм после предварительного накопления маркеров на УПЭ в течение 15 с при интенсивном перемешивании раствора. Рабочий диапазон потенциалов: 0.0 ÷ -1.0 В. Скорости развертки: 0.1, 1, 5 В/с.

 

.3 Объекты исследования


В качестве связующих выбрали моторные масла различных производителей следующих групп: синтетические, полусинтетические, минеральные, а также один образец трансмиссионного масла (табл. 2.1). Этот выбор обусловлен возрастающей необходимостью контроля качества моторных масел, установления фальсифицированных продуктов в условиях расширения спроса на этот тип технических жидкостей.

Таблица 2.1 Исследуемые образцы моторных масел

Обозна-чение

Масло

Класс SAE

Плотность при 20ºC, кг/л

Кинематическая вязкость при 40ºС, сСт

Кинематическая вязкость при 100ºС, сСт

Индекс вязкости

CCS (проворачиваемость) при -25ºС, сПз

Щелочное число (ТВN), мг КОН/г

Температура застывания, ºС

Температура вспышки, ºС

Синтетические масла

синт1

Mobil

5W-40

0.850

91

14.5

166

3200

10.0

-48

236

синт2

Xado

5W-40

0.853

88

14.7

175

5470

9.6

-42

225

синт3

Shell

5W-40

0.850

72

13.1

-

-

-

-48

206

синт4

Lukoil

5W-40

-

-

12.5-16.3

140

-

7.5

-40

200

синт5

Ford

5W-30

-

50

9.41

173

3960

8.3

-40

-

синт6

Mobil

0W-40

-

71

13.5

196

3600

-

-54

230

синт7

Shell

0W-40

0.845

74

13.5

-

-

-

-45

222

синт8

Castrol

10W-40

0.863

105

15.2

155

6800

10.4

-33

200

Полусинтетические масла

пс9

Mobil

10W-40

0.870

98

14.5

155

-

10.0

-33

218

пс10

Lukoil

10W-40

0.871

-

12.5-16.3

125

3350

9.1

-37

222

пс11

Castrol

10W-40

0.873

95

14.3

154

6140

-

-36

189

пс17

Shell

10W-40

0.882

97

14.6

150

-

10.0

-36

220

Минеральные масла

мин12

Castrol

15W-40

0.883

106

14.1

136

6590

8.0

-30

195

мин13

Mobil

10W-40

0.875

90

13.3

147

-

-

-33

215

мин14

Lukoil

10W-40

-

-

12.5-16.3

125

-

7.5

200

мин15

Shell

10W-40

0.877

93

14.7

-

-

-

-39

215

Трансмиссионное масло

тр16

Shell

75W-90

0.879

81

14.9

-

-

-

-45

205


2.4 Обработка вольтамперометрических данных


Исследование полученных вольтамперограмм проводили с помощью хемометрических методов: метод главных компонент (МГК), метод независимого моделирования аналогий классов (SIMCA-классификация). Использовали Trial-версию пакета программ Unscrambler-9, предоставленную фирмой-производителем САМО и Российским Хемометрическим обществом на VII Международном симпозиуме по хемометрике «Современные методы анализа многомерных данных», г. Санкт-Петербург, февраль 2010 г.

Глава 3. Результаты и их обсуждение

 

.1 Исследование вольтамперометрического поведения маркеров на УПЭ, модифицированных моторными маслами


Для выбора рабочих условий измерений исследовали влияние на вольтамперограммы восстановления металлов на УПЭ количества связующего пасты, времени накопления маркеров, скорости развертки потенциалов в условиях инверсионной вольтамперометрии. Сравнение величин токов и воспроизводимости вольтамперограмм для электродов с различным содержанием органического связующего в пасте позволило установить, что оптимальным является соотношение графитового порошка к связующему 6 : 1. При повышении содержания органического связующего возрастает сопротивление электрода, и ток уменьшается, а также ухудшаются вязкостные характеристики пасты, что мешает ее использованию в эксперименте, к чему может привести и снижение содержания масла в пасте. Регистрацию вольтамперограмм проводили после предварительного накопления маркеров различной природы на УПЭ при интенсивном перемешивании растворов в области потенциалов от 0.0 до -1.0 В (рис. 3.1). Скорости развертки потенциалов - 0.1, 1, 5 В/с.

Рис. 3.1. Дифференциальные вольтамперограммы восстановления различных маркеров на угольно-пастовом электроде, модифицированном полусинтетическим моторным маслом (скорость развертки потенциалов 1 В/с)

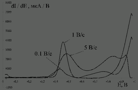
Исследование различных режимов регистрации вольтамперограмм позволило установить, что для всех маркеров аналитические сигналы воспроизводятся в области развертки потенциалов 0.0 ÷ -1.0 В при скоростях развертки потенциалов 0.1, 1, 5 В/с (рис. 3.2).

Рис. 3.2. Дифференциальные вольтамперограммы восстановления 10-3 М Cu+2 на фоне 0.01 М HCl при разных скоростях развертки потенциалов на угольно-пастовом электроде, модифицированном полусинтетическим маслом

В качестве аналитического сигнала были выбраны дифференциальные вольтамперограммы из-за большей чувствительности к маркерам.

На рис. 3.3 представлены вольтамперограммы восстановления 10-3 М раствора CuSO4 на исследуемом угольно-пастовом электроде в зависимости от времени накопления. Из рисунка видно, что без накопления металлов на поверхности УПЭ пиков восстановления не наблюдается, а при увеличении времени накопления от 15 с до 60 с (увеличение в 4 раза) максимальное значение тока практически не увеличивается.

Рис. 3.3. Вольтамперограммы восстановления 10-3 М раствора Cu+2 на фоне 0.01 М HCl на исследуемом угольно-пастовом электроде в зависимости от времени накопления; скорость развертки - 1 В/с

Рабочие условия снятия вольтамперограмм

)        соотношение графит: моторное масло: 6 : 1;

)        время накопления: 15 секунд;

)        скорости развертки: 0.1; 1; 5 В/с;

)        область катодных потенциалов: 0.0 ÷ -1.0 В.

)        маркеры: Cu2+, Pb2+, о-нитроанилин (о-на), a-динитрофенол (д-нф), о-нитробензойная кислота (о-нб).

На рис. 3.4 в качестве примера представлены дифференциальные вольтамперограммы восстановления Cu+2 на УПЭ, модифицированных различными моторными маслом при выбранных условиях.

Рис. 3.4. Дифференциальные вольтамперограммы электровосстановления 10-3 М Cu+2 на фоне 0.01 М HCl на УПЭ для различных масел при скорости 1 В/с

Из рисунка видно, что в зависимости от типа масла наблюдаются различные формы вольтамперограмм восстановления одного и того же маркера - они различаются величиной пика, а также мгновенными значениями силы тока на протяжении всей развертки потенциалов. Это может быть объяснено различным характером взаимодействия маркера со связующим пасты, а также последующим накоплением и восстановлением маркера на поверхности таких УПЭ. Для оценки схожести и различия в полученных аналитических сигналах провели МГК-моделирование вольтамперограмм (рис. 3.5).



Рис. 3.5. Графики счетов МГК-моделирования вольтамперограмм электровосстановления 10-3 М Cu+2 на фоне 0.01 М HCl на УПЭ, модифицированных смазочными маслами разных типов при скорости развертки 1 В/с

Из графика счетов МГК-моделирования видно, что вольтамперометрические данные группируются в кластеры по разному типу масел. Образец трансмиссионного масла явно отделяется от других по первой главной компоненте.

При исследовании графиков счетов МГК-моделирования данных без образца трансмиссионного масла (рис. 3.6) можно наблюдать разделение по первой главной компоненте - по природе масел - синтетические, полусинтетические и минеральные масла. При этом образцы синтетических масел расположены преимущественно во второй и третьей четвертях, а образцы полусинтетических масел группируются в центре плоскости ГК1-ГК2.



Рис. 3.6. Графики счетов МГК-моделирования вольтамперограмм электровосстановления 10-3 М Cu+2 на фоне 0.01 М HCl на УПЭ, модифицированных моторными маслами разных типов при скорости развертки 1 В/с

Таким образом, исследовав графики счетов МГК-моделирования, можно судить о наличии полезной химической информации в вольтамперометрических данных, полученных на УПЭ для различных масел и сделать вывод, что с использованием такого подхода можно производить дискриминацию исследуемых образцов по их природе.

 

.2 Идентификация моторных масел с использованием трехфакторных образов по скорости развертки


Одной из проблем вольтамперометрических мультисенсорных систем является нестабильность аналитических сигналов, обусловленная изменением состояния поверхности рабочего электрода при протекании электрохимической реакции и регенерации массива сенсоров. В условиях анализа многомерных данных это мешает строить устойчивые во времени калибровочные модели и формировать банк данных.

Для оценки стабильности сигнала во времени в течение трех экспериментальных дней были сняты вольтамперограммы восстановления маркеров на УПЭ, модифицированных моторными маслами разных типов (рис. 3.7).

Рис. 3.7. Дифференциальные вольтамперограммы восстановления 10-3 М Cu+2 на фоне 0.01 М HCl при разных скоростях развертки потенциалов на угольно-пастовом электроде, модифицированном и полусинтетическим маслом

Результаты SIMCA-классификации с использованием в качестве калибровочных моделей массива вольтамперограмм, полученных в первый экспериментальный день, представлены в табл. 3.1-3.2.

Таблица 3.1 Доля правильно и ошибочно распознанных образцов моторных масел с использованием SIMCA-классификации.

Маркер - 10-3 М Cu+2 на фоне 0.01 М HCl, vразв = 1 В/с

образцы

1-й день

2 день

3 день


NПР

NОР

NПР

NОР

NПР

NОР

с1

1,00

0,00

0,03

0,00

0,01

0,00

с2

1,00

0,00

0,25

0,00

0,00

0,00

с3

1,00

0,00

0,00

0,13

0,00

0,06

с4

1,00

0,13

0,00

0,10

0,00

0,02

с5

1,00

0,00

0,00

0,09

0,00

0,00

с6

1,00

0,13

0,00

0,00

1,00

0,00

с7

1,00

0,16

0,75

0,25

0,00

0,00

с8

1,00

0,31

0,00

0,13

0,00

0,13

п9

1,00

0,16

0,00

0,00

0,00

0,00

п10

1,00

0,34

0,06

0,00

0,03

0,07

п11

1,00

0,13

0,00

0,00

0,00

0,00

п17

1,00

0,00

0,13

0,03

0,00

0,00

м12

1,00

0,00

0,08

0,04

0,01

0,06

м13

1,00

0,03

0,00

0,00

0,00

0,00

м14

1,00

0,00

0,07

0,03

0,02

0,03

м15

1,00

0,00

0,00

0,00

0,00

0,00

NПР, NОР - доли правильно и ошибочно распознанных образцов

Таблица 3.2 Доля правильно и ошибочно распознанных образцов моторных масел с использованием SIMCA-классификации.

Маркер - 10-3 М Pb+2 на фоне 0.01 М HCl, vразв = 1 В/с

образцы

1-й день

2 день

3 день


NПР

NОР

NПР

NОР

NПР

NОР

с1

1,00

0,00

0,00

0,13

0,00

0,00

с2

1,00

0,28

0,00

0,13

0,00

0,00

с3

1,00

0,19

1,00

0,28

0,75

0,28

с4

1,00

0,00

0,00

0,19

0,00

0,31

с5

1,00

0,13

0,00

0,13

0,00

0,00

с6

1,00

0,16

0,00

0,00

0,00

0,00

с7

1,00

0,25

0,00

0,00

0,00

0,00

с8

1,00

0,09

0,00

0,19

0,00

0,00

п9

1,00

0,25

0,00

0,03

0,00

0,00

п10

1,00

0,09

0,00

0,00

0,00

0,13

п11

1,00

0,47

0,00

0,00

0,00

0,00

п17

1,00

0,31

0,00

0,00

0,00

0,00

м12

1,00

0,13

0,00

0,13

0,00

0,13

м13

1,00

0,34

0,00

0,00

0,00

0,00

м14

1,00

0,13

0,00

0,00

0,00

0,00

м15

1,00

0,13

0,00

0,00

0,00

0,13

NПР, NОР - доли правильно и ошибочно распознанных образцов

Из таблицы видно, что доля правильно распознанных образцов в последующие дни после калибровочных имеет низкие значения и не превышает в среднем 13%, что свидетельствует о нестабильности во времени калибровочных моделей, связанной с большим дрейфом данных во времени (рис. 3.8). Эту же закономерность можно увидеть на рис. 3.7 как различие в вольтамперограммах по значениям силы тока и величинам пиков во всей области потенциалов. Подобная ситуация наблюдается и в случае использования других маркеров.

а)


б)

Рис. 3.8. График счетов МГК-моделирования вольтамперограмм восстановления Cu+2 на УПЭ, модифицированном полусинтетическим (а) и синтетическим (б) маслами, в течение трех дней. Скорость развертки потенциалов - 1 В/с

Для нивелирования дрейфа данных и улучшения правильности идентификации исследуемых образцов предложено построение «трехфакторных МГК-моделей», представляющих собой графики счетов МГК-моделирования не одной вольтамперограммы, а нескольких, полученных при трех режимах регистрации. В данной работе мы использовали два вида режимов регистрации вольтамперограмм: 1) варьирование скорости развертки 2) использование маркеров различной природы. Как известно, в вольтамперометрии скорость развертки является мощным инструментом, выявляющим особенности электрохимических процессов.

На рис. 3.9 представлены графики счетов МГК-моделирования массивов данных, включающих вольтамперограммы электровосстановления маркера CuSO4 на УПЭ, модифицированном полусинтетическим моторным маслом, при трех скоростях развертки. Полученные трехфакторные образы предложено использовать в качестве «визуальных отпечатков» природы исследуемых объектов для решения задач их идентификации.

 

Рис. 3.9. Графики счетов МГК-моделирования вольтамперограмм восстановления при трех скоростях развертки Cu+2 на УПЭ, модифицированном полусинтетическим маслом.

По графикам счетов прослеживается уменьшение разброса данных в кластерах, которые относятся к разным скоростям развертки потенциалов, что может свидетельствовать, что такие трехфакторные образы предположительно более стабильные во времени и их можно использовать в качестве калибровочных для идентификации исследуемых объектов для обеспечения лучших результатов.

Три главные компоненты содержат более 90% объясненной дисперсии, которая характеризует степень сжатия данных. Поэтому для описания различий в вольтамперометрическом поведении маркеров оптимальным числом главных компонент было выбрано - 3.

При визуальном сравнении трехфакторных образов различных масел по скорости развертки заметны различия в положении кластеров. В решении задач идентификации многокомпонентных растворов полученные трехфакторные образы можно использовать как основу для установления схожести и отличия между исследуемыми растворами (рис. 3.10).

синтетическое масло

минеральное масло

полусинтетическое масло                        трансмиссионное масло







Рис. 3.10. Трехфакторные образы моторных масел по скорости развертки

Из рисунка 3.10 видно, что каждое моторное масло характеризуется своим индивидуальным расположением на плоскости главных компонент облаков. По аналогии с «электронным носом», такие графики, называемые «визуальными отпечатками» природы исследуемого раствора, можно использовать для оценки схожести и различия между исследуемыми объектами. Для статистической оценки воспроизводимости идентификации провели SIMCA-классификацию (табл. 3.3-3.5).

Таблица 3.3 Доля правильно и ошибочно распознанных образцов моторных масел с использованием SIMCA-классификации.

Маркер - 10-3 М Cu+2 на фоне 0.01 М HCl, vразв = 0.1; 1; 5 В/с

образцы

1-й день

2 день

3 день


NПР

NОР

NПР

NОР

NПР

NОР

с1

0,04

0,33

0,00

0,50

0,00

с2

1,00

0,06

0,00

0,51

0,00

0,26

с3

1,00

0,23

1,00

0,27

0,50

0,29

с4

1,00

0,17

0,00

0,28

0,00

0,29

с5

1,00

0,25

0,33

0,16

0,67

0,24

с6

1,00

0,17

0,58

0,38

0,58

0,20

с7

1,00

0,30

0,67

0,48

0,33

0,02

с8

1,00

0,45

0,33

0,27

0,33

0,30

п9

1,00

0,46

0,58

0,29

0,67

0,32

п10

1,00

0,48

0,00

0,15

0,00

0,16

п11

1,00

0,59

0,17

0,25

0,00

0,00

п17

1,00

0,20

0,00

0,00

0,33

0,33

м12

1,00

0,38

0,08

0,04

0,00

0,00

м13

1,00

0,33

0,33

0,10

0,00

0,19

м14

1,00

0,19

0,33

0,21

0,00

0,00

м15

1,00

0,13

0,58

0,00

0,33

0,00

NПР, NОР - доли правильно и ошибочно распознанных образцов

Таблица 3.4 Доля правильно и ошибочно распознанных образцов моторных масел с использованием SIMCA-классификации.

Маркер - 10-3 М Pb+2 на фоне 0.01 М HCl, vразв = 0.1; 1; 5 В/с

образцы

1-й день

2 день

3 день


NПР

NОР

NПР

NОР

NПР

NОР

с1

1,00

0,21

0,50

0,24

0,25

0,36

с2

1,00

0,52

0,00

0,18

0,33

0,32

с3

1,00

0,18

0,33

0,28

0,33

0,44

с4

1,00

0,36

0,92

0,35

0,00

0,23

с5

1,00

0,21

0,00

0,46

0,67

0,13

с6

1,00

0,18

0,17

0,10

0,50

0,11

с7

1,00

0,29

0,00

0,17

0,33

0,18

с8

1,00

0,53

0,50

0,39

0,33

0,17

п9

1,00

0,36

0,25

0,17

0,00

0,26

п10

1,00

0,29

0,25

0,10

0,00

0,08

п11

1,00

0,51

0,33

0,13

0,00

0,20

п17

1,00

0,17

0,00

0,02

0,33

0,13

м12

1,00

0,47

0,25

0,04

0,00

0,06

м13

1,00

0,24

0,33

0,18

0,00

0,21

м14

1,00

0,18

0,00

0,03

0,50

0,14

м15

1,00

0,23

0,00

0,00

0,00

0,00

NПР, NОР - доли правильно и ошибочно распознанных образцов

Таблица 3.5 Доля правильно и ошибочно распознанных образцов моторных масел с использованием SIMCA-классификации.

Маркер - 10-4 М о-нитроанилин на фоне 0.01 М HCl, vразв = 0.1; 1; 5 В/с

образцы

1-й день

2 день

3 день


NПР

NОР

NПР

NОР

NПР

NОР

с1

1,00

0,63

1,00

0,56

0,67

0,51

с2

1,00

0,50

0,33

0,35

0,78

0,42

с3

1,00

0,56

1,00

0,75

1,00

0,69

с4

1,00

0,51

0,22

0,28

0,67

0,57

с5

1,00

0,74

0,89

0,76

0,89

0,81

с6

1,00

0,57

1,00

0,64

1,00

0,76

с7

1,00

0,54

0,11

0,65

0,22

0,29

с8

1,00

0,71

0,67

0,68

0,67

0,61

п9

1,00

0,68

1,00

0,81

0,89

0,79

п10

1,00

0,79

0,67

0,36

1,00

0,78

п11

1,00

0,83

0,33

0,82

0,67

0,81

п17

1,00

0,71

1,00

0,68

0,89

0,76

м12

1,00

0,71

0,67

0,72

0,67

0,64

м13

1,00

0,65

0,33

0,57

0,33

0,79

м14

1,00

0,76

1,00

0,67

0,67

м15

1,00

0,39

0,33

0,50

0,67

0,25

NПР, NОР - доли правильно и ошибочно распознанных образцов

По результатам SIMCA-классификации следует, что доля правильно распознанных образцов значительно увеличивается по сравнению с однофакторными моделями и составляет в целом более 33%, а для некоторых случаев достигает и 100%. Улучшение результатов идентификации можно также наблюдать и в случае использования трехфакторных образов по скорости развертки для остальных маркеров. Таким образом, можно судить, что, трехфакторные модели по скорости развертки улучшают воспроизводимость анализа.

 

.2 Идентификация моторных масел с использованием трехфакторных образов по природе маркеров


Для сравнительного анализа были построены трехфакторные образы по природе маркера - включающие одновременно вольтамперограммы электровосстановления трех маркеров. Как видно из вольтамперограмм, маркеры восстанавливаются в одном и том же диапазоне потенциалов и имеют различные высоту и положение пиков. (рис. 3.5).

Рис. 3.11. Вольтамперограммы восстановления 10-4 М о-на, a-днф, о-нб на фоне 0.01 М HCl на УПЭ, модифицированном полусинтетическим маслом. Первый экспериментальный день, скорость развертки - 1 В/с

На рис. 3.12 представлены трехфакторные образы исследуемых моторных масел по природе маркеров. При визуальном сравнении образов различных масел так же, как и в случае с трехфакторными образами по скорости развертки, заметны различия в положении кластеров. Также следует отметить уменьшение дисперсии данных внутри кластеров.

Аналогично трехфакторным образам по скорости развертки, трехфакторные образы по природе маркеров предложено использовать в качестве калибровочных для идентификации исследуемых объектов.

синтетическое масло                               минеральное масло


 


полусинтетическое масло                        трансмиссионное масло

Рис. 3.12. Трехфакторные образы моторных масел по природе маркеров.

Результаты SIMCA-классификации с использованием трехфакторных образов по природе маркеров представлены в табл. 3.6.

Таблица 3.6 Доля правильно и ошибочно распознанных образцов моторных масел с использованием SIMCA-классификации с трехфакторными образами по природе маркеров.

Маркеры - 10-4 М о-нитроанилин, a-динитрофенол, о-нитробензойная кислота на фоне 0.01 М HCl, скорость развертки - 1 В/с

образцы

1-й день

2 день

3 день


NПР

NОР

NПР

NОР

NПР

NОР

с1

1,00

0,24

0,00

0,26

0,00

0,28

с2

1,00

0,22

0,33

0,38

0,11

0,11

с3

1,00

0,21

0,00

0,22

0,33

0,40

с4

1,00

0,25

0,00

0,29

0,00

0,19

с5

1,00

0,43

1,00

0,31

1,00

0,47

с6

1,00

0,11

0,11

0,26

0,78

0,29

с7

1,00

0,36

0,00

0,31

0,00

0,14

с8

1,00

0,29

0,89

0,49

0,44

0,15

п9

1,00

0,21

0,33

0,17

0,44

0,21

п10

1,00

0,22

0,33

0,21

0,11

0,46

п11

1,00

0,19

0,00

0,17

0,11

0,08

п17

1,00

0,13

0,33

0,21

0,33

0,51

м12

1,00

0,40

0,56

0,65

1,00

0,31

м13

1,00

0,13

0,00

0,35

0,78

0,38

м14

1,00

0,42

0,56

0,19

1,00

0,38

м15

1,00

0,19

0,00

0,13

0,00

0,08

NПР, NОР - доли правильно и ошибочно распознанных образцов.

По результатам SIMCA-классификации можно сделать вывод, что доля правильно распознанных образцов в целом составляет не менее 33%

При сравнении сходимости результатов идентификации с SIMCA-классификацией с использованием трехфакторных образов по скорости развертки можно заметить, что использование трехфакторных образов по природе маркеров позволяет уменьшить долю ошибочно распознанных образцо в (табл. 3.7).

Таблица 3.7 Сравнение правильности и ошибки SIMCA-классификации исследуемых моторных масел с использованием трехфакторных образов по скорости развертки и природе маркеров

показатели, %

ТС

ТМ

<П>

100

100

0

0

Sr (П)

0.00

0.00

<О>

64

25

1

1

Sr (О)

0.12

0.10

ТС - трехфакторные образы по скорости развертки, маркер - 10-4 М о-нитроанилин на фоне 0.01 М HCl;

ТМ - трехфакторные образы по природе маркеров.

Правильность идентификации (П) определяли как процент правильно распознанных образцов, а ошибку (О) - как процент неверно соотнесенных к другим калибровочным моделям. При этом критерием правильной идентификации является <П> ® 100%, DП ® 0; <О> ® 0%, DО ® 0%.

 

.3 Групповая идентификация моторных масел


Для оценки возможностей идентификации моторных масел по их природе предложена групповая идентификация с использованием трехфакторных моделей по скорости развертки и по природе маркеров. Каждую группу представляют масла одного типа - согласно природе исследуемых объектов - синтетические, полусинтетические, минеральные.

Результаты SIMCA-идентификации представлены в табл. 3.8-3.11

Таблица 3.8 Доля правильно и ошибочно распознанных групп моторных масел с использованием SIMCA-классификации. Маркер - 10-3 М Cu+2 на фоне 0.01 М HCl, vразв = 1 В/с

образцы

1-й день

2 день

3 день


NПР

NОР

NПР

NОР

NПР

NОР

синт

1,00

0,25

1,00

0,25

0,50

0,05

пс

1,00

0,42

1,00

0,42

0,00

0,00

мин

1,00

0,35

1,00

0,35

0,00

0,00

NПР, NОР - доли правильно и ошибочно распознанных образцов.

Таблица 3.9 Доля правильно и ошибочно распознанных групп моторных масел с использованием SIMCA-классификации. Маркер - 10-4 М о-нитроанилин на фоне 0.01 М HCl, vразв = 1 В/с

образцы

1-й день

2 день

3 день


NПР

NОР

NПР

NОР

NПР

NОР

синт

1,00

0,36

0,75

0,39

0,88

0,35

пс

1,00

0,42

1,00

0,50

1,00

0,56

мин

1,00

0,44

0,42

0,50

0,50

0,50

NПР, NОР - доли правильно и ошибочно распознанных образцов.

Таблица 3.10 Доля правильно и ошибочно распознанных групп моторных масел с использованием SIMCA-классификации с трехфакторными образами по скорости развертки. Маркер - 10-3 М Cu+2 на фоне 0.01 М HCl, vразв = 0.1; 1; 5 В/с

образцы

1-й день

2 день

3 день


NПР

NОР

NПР

NОР

NПР

NОР

синт

0,98

0,46

0,75

0,46

0,67

0,44

пс

1,00

0,63

0,77

0,53

0,71

0,51

мин

1,00

0,66

0,52

0,28

0,25

0,19

NПР, NОР - доли правильно и ошибочно распознанных образцов.

Таблица 3.11

Доля правильно и ошибочно распознанных групп моторных масел с использованием SIMCA-классификации с трехфакторными образами по природе маркеров. Маркеры - 10-4 М о-нитроанилин, a-динитрофенол, о-нитробензойная кислота на фоне 0.01 М HCl, скорость развертки - 1 В/с

образцы

1-й день

2 день

3 день


NПР

NОР

NПР

NОР

NПР

NОР

синт

1,00

0,63

0,99

0,67

0,96

0,58

пс

1,00

0,64

0,94

0,69

1,00

0,71

мин

0,97

0,60

0,97

0,59

0,97

0,57

NПР, NОР - доли правильно и ошибочно распознанных образцов.

Из данных таблиц следует, что, в случае групповой идентификации, доля правильно распознанных групп масел для большинства данных составляет более 70%.

Таким образом, предложенные угольно-пастовые электроды в сочетании с различными режимами регистрации вольтамперограмм: скорость развертки потенциалов и природа маркеров обладают свойствами мультисенсорных систем типа электронный язык и позволяют идентифицировать моторные масла различной природы.

Выводы


1)      Впервые предложено, что в качестве связующего в угольно-пастовом электроде можно использовать сам аналит - моторное масло.

)        Определены рабочие условия снятия аналитического сигнала:

соотношение графит: моторное масло равно 6 : 1; дифференциальные вольтамперограммы при времени накопления 15 секунд; скорости развертки: 0.1; 1; 5 В/с; область катодных потенциалов: 0.0 ÷ -1.0 В; маркеры: Cu2+, Pb2+, о-нитроанилин, a-динитрофенол, о-нитробензойная кислота.

)        С помощью метода главных компонент установлено наличие полезной химической информации, позволяющее проводить дискриминацию исследуемых объектов по их природе (доля объясненной моделью дисперсии по первой главной компоненте 44%, по второй главной компоненте 24%, по третьей главной компоненте 16%).

)        Показана возможность построения трехфакторных образов моторных масел:

-       по скорости развертки потенциалов: 0.1; 1; 5 В/с

-       по природе маркеров: о-нитроанилин, a-динитрофенол, о-нитробензойная кислота.

)        Определено оптимальное число главных компонент МГК-моделирования - доля объясненной дисперсии вольтамперометрических данных при использовании трех главных компонент более 0.90; относительное стандартное отклонение не превышает 0.2.

)        Рассчитаны показатели сходимости результатов идентификации индивидуальных образцов масел: доля правильно распознанных образцов равна 1.00, ошибочно распознанных - 0.25.

)        Рассчитаны показатели воспроизводимости идентификации масел: доля правильно распознанных индивидуальных образцов масел не менее 0.35; доля правильно распознанных групп масел не менее 0.94.

Список литературы


)        Будников Г.К., Евтюгин Г.А., Майстренко В.Н. Модифицированные электроды для вольтамперометрии в химии биологии и медицине. М.: БИНОМ. Лаборатория знаний, 2009. С. 213.

)        Власов Ю.Г., Легин А.В., Рудницкая А.М. // Российский хим. журн. 2008. Т. 52. С. 101.

)        Родионова О.Е., Померанцев А.Л. // Успехи химии. 2006. Т. 57. С. 302

)        Winquist F., Wide P., Lundstrom I. // Anal. Chim. Acta. // 1997. V. 357. P . 21.

5)      Krantz-Rulcker C., Stenberg M., Winquist F., Lundstrom I. // Anal. Chim. Acta. // 2001. V. 426. P . 217.

6)      Winquist F., Bjorklund R., Krantz-Rulcker C., Lundstrom I., Ostergren K., Skoglund T. // Sens. A A ctuators B. 2005. V. 111. P . 299.

)        Сидельников А.В., Зильберг Р.А., Кудашева Ф.Х., Майстренко В.Н. и др. // Журн. аналит. химии. 2008. Т. 63. С. 1072.

)        Будников Г.К., Майстренко В.Н., Вяселев М.Р. Основы современного электрохимического анализа. М.: Мир: Бином ЛЗ, 2003. С. 438.

)        Власов Ю.Г., Легин А.В., Рудницкая А.М. // Успехи химии. 2006. Т. 75. С. 141.

10)     Hayashi K., Yamanaka M., Toko K., Yamafuji K. // Sens. Actuators B. 1990. V. 2. P. 205.

11)     Toko K. // Mat. Sci. Eng. С. // 1996. V. 4. P . 69.

)        Toko K. // Sens. Actuators B. 2000. V. 64. P . 205.

13)     Winquist F., Krantz-Rulcker C., Lundstrom I. // MRS Bulletin. 2004. N 10. P . 1.

14)     Twomey K., Truemper A., Murphy K. // Sensors. 2006. V. 6. P . 1679.

15)     Ivarsson P., Holmin S., Hojer N., Krantz-Rulcker C., Winquist F. // Sens. A A ctuators B. 2001. V. 76. P . 449.

16)     Holmin S., Bjorefors F., Eriksson M., Krantz-Rulcker C., Winquist F. // Electroanalysis. 2002. V. 14. P. 839.

)        Jaworski A., Wikiel H., Wikiel K. // Electroanalysis. 2009. V. 21. P . 580.

)        Проблемы аналитической химии / Отделение химии и наук о материалах РАН. Т. 14: Химические сенсоры / Под ред. Ю.Г. Власова; Санкт-Петербургский государственный университет. М.: Наука, 2011.

)        Эсбенсен. Анализ многомерных данных, сокр. пер. с англ. под ред. О.Родионовой, Из-во ИПХФ РАН, 2005

20)     Schreyer S., Mikkelsen S. // Sens. A A ctuators B. 2000. V. 71. P . 147.

21)     Parra V., Hernando T., Rodriguez-Mendez M.L., de Saja J.A. // Electrochim. Acta. 2004. V. 49. P . 5177.

22)     Rodriguez-Mendez M.L., Apetrei C., de Saja J.A. // Electrochim. Acta. 2008. V. 53. P . 5867.

23)     Paixao T.R.L.C., Bertotti M. // Sens. Actuators B. 2009. V. 137. P . 266.

24)     Pigani L., Foca G., Ionescu K. et al. // Anal. Chim. Acta. 2008. V. 614. P . 213.

)        Pigani L., Foca G., Ulrich A. et al. // Anal. Chim. Acta. 2009. V. 643. P . 67

)        Pournaghi-Azar M.H., Ojani R. // Talanta. 1997. V. 44. P . 297.

)        Kilmartin P.A., Zou H., Waterhouse A.L. // J. A A gric. Food Chem. 2001. V. 49. P. 1957.

)        Yilmaz N., Ozkan S.A., Uslu B., Senturk Z., Biryol I. // J. P P harm. Biomed. A A nal. 1998. V. 17. P . 349.

)        Holmin S., Krantz-Rulcker C., Lundstrom I., Winquist F. // Meas. Sci. Technol. 2001. V. 12. P . 1348.

)        Han J.H., Kim D.S., Kim J.S. et al. // J. Korean Electrochem. Soc. 2004. V. 7. P. 206.

)        Wu J., Liu J., Fu M., Li G., Lou Z. // Sensors. 2005. V. 5. P . 529.

)        Holmin S., Spangeus P., Krantz-Rulcker C., Winquist F. // Sens. A A ctuators B. 2001. V. 76. P . 455.

)        Winquist F., Krantz-Rulcker C., Wide P., Lundstrom I. // Meas. Sci. Technol. 1998. V. 9. P . 1937.

)        Ivarsson P., Kikkawa Y., Winquist F. et al. // A A nal. Chim. A A cta. 2001. V. 449. P. 59.

36)     Autodux. Люди и Автомобили. #"555920.files/image037.gif">

Рис. 4.1. График счетов ГК1-ГК2 МГК-моделирования вольтамперограмм электровосстановления 10-3 М Pb+2 на фоне 0.01 М HCl на УПЭ, модифицированных смазочными маслами разных типов при скорости развертки 1 В/с

Рис. 4.2. График счетов ГК1-ГК3 МГК-моделирования вольтамперограмм электровосстановления 10-3 М Pb+2 на фоне 0.01 М HCl на УПЭ, модифицированных смазочными маслами разных типов при скорости развертки 1 В/с

Рис. 4.3. График счетов ГК1-ГК2 МГК-моделирования вольтамперограмм электровосстановления 10-3 М Pb+2 на фоне 0.01 М HCl на УПЭ, модифицированных моторными маслами разных типов при скорости развертки 1 В/с

Рис. 4.4. График счетов ГК1-ГК3 МГК-моделирования вольтамперограмм электровосстановления 10-3 М Pb+2 на фоне 0.01 М HCl на УПЭ, модифицированных моторными маслами разных типов при скорости развертки 1 В/с

Рис. 4.5. График счетов ГК1-ГК2 МГК-моделирования вольтамперограмм электровосстановления 10-4 М о-нитроанилина на фоне 0.01 М HCl на УПЭ, модифицированных смазочными маслами разных типов при скорости развертки 1 В/с

Рис. 4.6. Графики счетов ГК1-ГК3 МГК-моделирования вольтамперограмм электровосстановления 10-4 М о-нитроанилина на фоне 0.01 М HCl на УПЭ, модифицированных смазочными маслами разных типов при скорости развертки 1 В/с

Рис. 4.7. График счетов ГК1-ГК2 МГК-моделирования вольтамперограмм электровосстановления 10-4 М о-нитроанилина на фоне 0.01 М HCl на УПЭ, модифицированных моторными маслами разных типов при скорости развертки 1 В/с

Рис. 4.8. График счетов ГК1-ГК3 МГК-моделирования вольтамперограмм электровосстановления 10-4 М о-нитроанилина на фоне 0.01 М HCl на УПЭ, модифицированных моторными маслами разных типов при скорости развертки 1 В/с


Рис. 4.9. График счетов ГК1-ГК2 МГК-моделирования вольтамперограмм электровосстановления 10-4 М a-динитрофенола на фоне 0.01 М HCl на УПЭ, модифицированных смазочными маслами разных типов при скорости развертки 1 В/с

Рис. 4.10. График счетов ГК1-ГК3 МГК-моделирования вольтамперограмм электровосстановления 10-4 М a-динитрофенола на фоне 0.01 М HCl на УПЭ, модифицированных смазочными маслами разных типов при скорости развертки 1 В/с

Рис. 4.11. График счетов ГК1-ГК2 МГК-моделирования вольтамперограмм электровосстановления 10-4 М a-динитрофенола на фоне 0.01 М HCl на УПЭ, модифицированных моторными маслами разных типов при скорости развертки 1 В/с

Рис. 4.12. График счетов ГК1-ГК3 МГК-моделирования вольтамперограмм электровосстановления 10-4 М a-динитрофенола на фоне 0.01 М HCl на УПЭ, модифицированных моторными маслами разных типов при скорости развертки 1 В/с

Рис. 4.13. График счетов ГК1-ГК2 МГК-моделирования вольтамперограмм электровосстановления 10-4 М о-нитробензойной кислоты на фоне 0.01 М HCl на УПЭ, модифицированных смазочными маслами разных типов при скорости развертки 1 В/с

Рис. 4.14. График счетов ГК1-ГК3 МГК-моделирования вольтамперограмм электровосстановления 10-4 М о-нитробензойной кислоты на фоне 0.01 М HCl на УПЭ, модифицированных смазочными маслами разных типов при скорости развертки 1 В/с

Рис. 4.15. График счетов ГК1-ГК2 МГК-моделирования вольтамперограмм электровосстановления 10-4 М о-нитробензойной кислоты на фоне 0.01 М HCl на УПЭ, модифицированных моторными маслами разных типов при скорости развертки 1 В/с

Рис. 4.16. График счетов ГК1-ГК3 МГК-моделирования вольтамперограмм электровосстановления 10-4 М о-нитробензойной кислоты на фоне 0.01 М HCl на УПЭ, модифицированных моторными маслами разных типов при скорости развертки 1 В/с

Похожие работы на - Разработка и апробация угольно-пастовых электродов на основе моторных масел

 

Не нашли материал для своей работы?
Поможем написать уникальную работу
Без плагиата!
Без нейросетей!