Отделение синтеза алкидного олигомера ПФ-053 мощностью 3000 т/год
КУРСОВОЙ
ПРОЕКТ
Тема:
«Отделение синтеза алкидного олигомера ПФ-053
мощностью
3000 т/год»
Содержание
Введение
. Аналитической
обзор
.1 Алкидные
лакокрасочные материалы
.2 Способы
получения алкидных лаков
.3 Реакторы
периодического действия
. Технологическая
часть
.1 Описание
аналоговой технологической схемы
.2 Описание
усовершенствований технологической схемы
.3 Характеристика
исходного сырья
. Расчетная
часть
.1 Материальный
баланс производства ПФ-053
.2 Определение
потерь сырья
.3 Материальные
расчеты
.3.1 Реакция
переэтерификации
.3.2 Реакция
поликонденсации
.3.3 Расход
сырья для получения основы лака ПФ-053
.4 Расчет
основного оборудования
.4.1 Расчет
реактора
.5 Тепловой
расчет реактора
. Охрана
труда и окружающей среды
. Техника
безопасности и охрана труда
Заключение
Список
литературы
Введение
производство синтез лак
алкидный
Темой данного курсового проекта является
проектирование производства и оборудования для отделения синтеза основы лака
ПФ-053 мощностью 3000 т/год.
Лак ПФ-053 представляет собой раствор
пентафталевой смолы (синтезированной на основе пентаэритрита и фталевого
ангидрида) в органических летучих растворителях, модифицированной растительными
маслами, синтетическими жирными кислотами, жирными кислотами растительного или
таллового масла. Применяется в качестве связующего при изготовлении
атмосферостойких высокопрочных эмалей и грунтовок по металлическим, деревянным
и бетонным поверхностям, эксплуатирующимся внутри и снаружи помещений.
На сегодняшний день отечественная лакокрасочная
промышленность производит в основном лишь две марки пентафталевых
полуфабрикатных лаков - это лак ПФ-060 и лак ПФ-053, но объем производства этих
лаков на порядок перекрывает объемы выпуска всех остальных полуфабрикатных
лаков и смол на органических растворителях. Дело в том, что лаки ПФ-060 и
ПФ-053 являются основным компонентом самых популярных на российском рынке
алкидных лаков, эмалей и грунтовок. Это лаки: ПФ-283, ПФ-231 паркетный, ПФ-170;
эмали: ПФ-115, ПФ-266 для пола, ПФ-1217 ВЭ, ПФ-133; грунтовки: ГФ-021, ГФ-0119
(несмотря на сохранившуюся маркировку «ГФ» в грунтовках, в последнее время для
их изготовления в основном используют лак ПФ-053).
1. Аналитический
обзор
.1 Алкидные лакокрасочные материалы
Алкидными смолами называются сложные полиэфиры -
продукты взаимодействия многоатомных спиртов с многоосновными кислотами или их
ангидридами (главным образом со фталевым ангидридом), модифицированные жирными
кислотами масел, или самими маслами, или высшими синтетическими карбоновыми
кислотами. Молекулы их состоят из сложнополиэфирной главной цепи, более или
менее разветвленной в зависимости от исходного сырья, с боковыми ответвлениями
в виде остатков жирных кислот.
Модифицированные олигоэфиры, являются наиболее
распространенным типом пленкообразующих веществ, применяемых в лакокрасочной
промышленности. Это обусловлено сочетанием комплекса ценных свойств покрытий на
основе этих олигомеров с наличием обширной и разнообразной сырьевой базы для их
получения. На основе модифицированных олигоэфиров получают эластичные
атмосферостойкие покрытия с высокой механической стойкостью, способные в
большинстве случаев отверждаться на воздухе. Благодаря хорошим технологическим
свойствам и высокому качеству покрытий эти материалы составляют значительную
долю всей синтетической лакокрасочной продукции. [2]
Классификация алкидных смол и лаков
на их основе
По типу спирта, взаимодействующего с фталевым
ангидридом, алкиды и лакокрасочные материалы на их основе подразделяются на
глифталевые, пентафталевые и этрифталевые.
По природе модификатора, применяемого в процессе
их синтеза, алкиды подразделяются на:
алкиды, модифицированные высыхающими и
полувысыхающими растительными маслами (льняным, подсолнечным и др.);
алкиды, модифицированные жирными кислотами -
продуктами гидролитического расщепления растительных масел;
алкиды, модифицированные дегидратированным
касторовым маслом;
алкиды, модифицированные смесью растительных
масел с канифолью;
алкиды, модифицированные невысыхающим касторовым
маслом;
алкиды, модифицированные синтетическими жирными
кислотами;
алкиды, модифицированные ненасыщенной фракцией
жирных кислот соапстока хлопкового масла;
алкиды, модифицированные синтетическими ά-разветвленными
кислотами.
По способности к высыханию алкиды подразделяются
на высыхающие и невысыхающие; по способности к растворению - на растворимые в
органических растворителях и разбавляемые ими, но нерастворимые в воде и на
водоразбавляемые. Большинство алкидных смол относится к первому типу.
По жирности, то есть по содержанию масла, алкиды
подразделяются на жирные - с содержанием растительного масла более 60%,
средние, содержащие 45-59% масла и тощие - 33-44% (масс.) масла. Жирные алкиды
готовят преимущественно на высыхающих, а тощие на полувысыхающих маслах. [6]
Химические основы синтеза алкидов
Основная полимерная цепь алкидов состоит из
регулярно повторяющихся фрагментов полиатомных спиртов и полиосновных кислот.
Возможность введения в состав алкидов монофункциональных кислот-модификаторов
достигается использованием полиатомных спиртов с функциональностью больше двух
( глицерин и пентаэритрит), за счет которых удается сохранить среднюю
функциональность системы.
При использовании в качестве модификаторов
растительных масел, представляющих собой триглицериды монокарбоновых кислот, не
имеющих свободных функциональных групп, их предварительно превращают в
спиртовые компоненты, содержащие жирнокислотные остатки, путем переэтерификации
(алкоголиза) многоатомными спиртами ( глицерином или пентаэритритом).
Различная химическая природа модификаторов (свободные
монокарбоновые кислоты, растительные масла или их смеси) определяют выбор
метода синтеза алкидного олигомера.
Известно 4 основных метода синтеза алкидов:
глицеридный, жирнокислотный, метод ацидолиза и комбинированный метод. Но в
промышленности, в основном, используют глицеридный и жирнокислотный.
Глицеридный метод используется
при получении алкидов, модифицированных маслами. По этому методу процесс
проводят в две стадии.
Первая стадия - алкоголиз растительных масел
(переэтерификация), в результате которого образуются неполные эфиры полиатомных
спиртов, состав которых в первую очередь определяется мольным соотношением
масло : многоатомный спирт. Так, например, при мольном соотношении масло :
глицерин 1 : 1 переэтерификат содержит в основном смесь моно- и диглицеридов.
На второй стадии моно- и диглицериды
взаимодействуют с фталевым ангидридом с образованием неполных кислых эфиров.Эти
неполные кислые эфиры сразу же вступают в реакцию поликонденсации.
Переэтерификацию проводят при 210-240°С в присутствии катализаторов PbO,
CaO. Затем температуру
понижают до 180°С, вводят фталевый ангидрид и ведут процесс при постепенном
повышении температуры до 240°С.
Жирнокислотный метод используется
для получения алкидов, модифицированных свободными жирными кислотами (кислоты
растительных масел, СЖК и др.). Процесс проводят в одну или две стадии. При
одностадийном способе все компоненты загружают одновременно и процесс ведут при
постоянном подъеме температуры от 150°С до 210°С.
В силу более высокой реакционной способности фталевого
ангидрида в сравнении с кислотами вначале образуются неполные кислые эфиры
фталевого ангидрида, которые при дальнейшем подъеме температуры этерифицируются
кислотой и подвергаются поликонденсации.
Двухстадийный процесс осуществляется по двум
вариантам. По одному из них вначале в реакционную смесь вводят полиатомный
спирт и фталевый ангидрид и после завершения реакции между ними -
кислоту-модификатор.
По второму варианту на первой стадии при
200-210°С проводят реакцию между полиатомным спиртом и монокарбоновыми
кислотами, в результате которой получают неполные эфиры полиатомных спиртов, а
на второй стадии при 180-240°С проводят реакцию неполных эфиров с фталевым
ангидридом, приводящую в конечном счете к образованию алкидных олигомеров.
Следует отметить, что жирнокислотный метод дает
возможность получать алкиды более регулярной структуры с хорошо
воспроизводимыми характеристиками. Этот метод позволяет также осуществлять
синтез алкидов, не содержащих в цепи глицеридных фрагментов. [2]
Модифицированные алкидные смолы
Под модифицированными алкидными смолами понимают
пленкообразующие, которые кроме дикарбоновой кислоты, многоатомных спиртов и
монокарбоновых кислот содержат в своем составе другие структурные звенья. Это
означает, что в состав алкидной смолы должна обязательно входить монокарбоновая
кислота, поэтому алкиды не относят к модифицированным продуктам. [5]
Для производства модифицированных маслами
алкидов применяют высыхающие, полувысыхающие и невысыхающие масла. Выбор масла
зависит от условий сушки покрытия и требований, предъявляемых к стойкости цвета
пленки. Для производства алкидов воздушной сушки применяют такие высыхающие
масла, как льняное или дегидратированное касторовое масло, для производства
средних и тощих алкидов применяют также и полувысыхающее соевое масло.
Алкиды, модифицированные соевым маслом,
применяются также для производства покрытий горячей сушки. Их применяют в
качестве самостоятельного пленкообразующего вещества или в смеси с мочевино-
или меламино-формальдегидными смолами, чтобы сократить таким образом время
горячей сушки и улучшить стойкость цвета и твердость пленки. Для покрытий
светлого тона и для светостойких покрытий предпочтительно применяют алкиды,
модифицированные невысыхающими маслами. Невысыхающие алкиды применяют также в
производстве нитроцеллюлозных лаков для мебели, автомобилей и других предметов.
В настоящее время для производства алкидных смол
имеется большой ассортимент жирных кислот, что дает возможность производит
алкидные смолы со специальными свойствами, например с ускоренным высыханием,
повышенной водостойкостью и светостойкостью в покрытиях, подвергающихся в
течение длительного времени воздействию повышенных температур.
Эластичность пленок алкидных смол повышается с
увеличением количеств масла в смоле, так как немодифицированный глифталь
является смолой твердой и несколько хрупкой. Тип масла также влияет на
эластичность пленки, поскольку невысыхающие масла действуют, как постоянные
пластификаторы, и при сушке не твердеют, как высыхающие масла.
Совместимость алкидных смол с маслами повышается
с увеличением содержания масла в смоле. Тощие алкиды совместимы только с
небольшими количествами неполимеризованных масел, но при увеличении содержания
масла до 60-65% (около 25% фталевого ангидрида) алкиды свободно совмещаются с
неполимеризованными и слабополимеризованными маслами. Поэтому нет необходимости
готовить алкиды с жирностью более 65% или с содержанием фталевого ангидрида
около 25%, поскольку большее количество масла может быть добавлено простым
смешением. [3]
1.2 Способы получения алкидных лаков
При получении лаков на основе алкидов,
модифицированных жирными кислотами растительных масел, проводят алкоголиз
растительных масел многоатомными спиртами - глицерином или пентаэритритом (при
240-250 °С), этерификацию продуктов алкоголиза многоосновными кислотами - чаще
всего фталевым ангидридом - и поликонденсацию (при 250-260 °С). Полученную
основу лака (алкидную смолу) растворяют в органических растворителях, проводят
постановку лака «на тип» добавкой сиккатива и растворителей, а затем подвергают
его очистке от нерастворимых веществ.
На Приложении 1 представлена технологическая
схема синтеза основы алкидного лака периодическим методом, при котором
алкоголиз, этерификацию и поликонденсацию проводят в одном реакторе периодического
действия. Такая схема является гибкой и позволяет производить алкиды в широком
марочном ассортименте.
Растительные масла и глицерин при получении
глифталей, нагретые в приемниках водяным паром до 120-140 °С, и катализатор,
ускоряющий реакцию алкоголиза (карбонат натрия), загружают в реактор
периодического действия 14, где они нагреваются до 240-250 °С. При получении
пентафталей вместо глицерина загружают пентаэритрит и нагретое до 240-250 °С
масло. Пентаэритрит на складе сырья разгружается из резинотканевых или других
мягких контейнеров либо из мешков в бункер 2, установленный на тензометрических
весах. Из этого бункера пентаэритрит пневмотранспортом с использованием азота
или углекислого газа направляется в бункер, установленный над реактором, куда
пентаэритрит подается шнековым питателем. По окончании загрузки пентаэритрита
сразу же устанавливают заглушку, исключающую проникновение паров в питатель.
После загрузки исходных компонентов содержимое
реактора нагревают до 240-250 °С и проводят алкоголиз. По окончании алкоголиза
реакционную смесь охлаждают до 180-200 °С, загружают в расплавленном виде
фталевый ангидрид из приемника, поднимают температуру до 250-260 °С и при этой
температуре проводят этерификацию и поликонденсацию. Для ускорения реакции
этерификации ее осуществляют азеотропным методом, для чего загружают в реактор
ксилол. Пары ксилола, воды и частично увлекаемый фталевый ангидрид поступают в
обратный конденсатор 15 для улавливания фталевого ангидрида, а затем в
конденсатор 16, из которого их смесь стекает в разделитель непрерывного
действия 19. Из разделителя ксилол возвращается в реактор, а вода стекает в
приемник 21. Для более полного улавливания паров ксилола служит дополнительный
охлаждаемый рассолом теплообменник 17. После окончания процесса этерификации
полностью отгоняют ксилол и проводят поликонденсацию при 250-260 °С. Затем
содержимое реактора охлаждают до 150-170 °С и сливают в аппарат для растворения
основы лака 22 через трубу, погруженную в перемешиваемый растворитель. Полученный
раствор основы лака направляется на очистку (осветление) от нерастворимых
частиц.
Основными особенностями этой схемы, по сравнению
с применяющимися на ряде предприятий до настоящего времени, являются следующие:
масло и глицерин предварительно нагревают в приемниках до 120-160 °С, что
сокращает длительность цикла работы реактора и расход электроэнергии при
электроиндукционном обогреве; дозирование жидкостей осуществляется
счетчиками-дозаторами и насосами-дозаторами, что позволяет исключить громоздкие
объемные и весовые мерники; полностью механизированы операции приемки,
транспортировки и дозирования пентаэритрита; применение фталевого ангидрида в
виде расплава позволяет механизировать и ускорить процесс его загрузки;
благодаря использованию «азеотропного» метода этерификации и поликонденсации
снижаются потери фталевого ангидрида и улучшается у качество получаемого
продукта.
В последнее десятилетие появились новые методы
проведения алкоголиза - электрохимический и под воздействием акустических
колебаний, но наиболее эффективно применение катализаторов, позволяющее
сократить длительность реакции алкоголиза до 2-3 часов.
В настоящее время разработан и внедрен в
промышленность непрерывный метод проведения алкоголиза при синтезе алкидов -
пентафталей и глифталей (Приложение 2) с последующей этерификацией и
поликонденсацией продуктов алкоголиза в реакторе периодического действия
объемом 32 м³ с
электроиндукционным обогревом.
При синтезе пентафталей используют каскад из
трех реакторов объемом 2,0-2,5 м³ каждый.
В первом реакторе 10 поддерживается температура 240-250°С и в него непрерывно
подается растительное масло, предварительно нагретое в приемнике 6 с помощью
водяного пара до 120-140°С, а затем при проходе через теплообменник 9 до 250
°С. Катализатор реакции алкоголиза (карбонат натрия) из смесителя 11 непрерывно
поступает в реактор в виде суспензии в масле. Пентаэритрит из складского
бункера пневмотранспортом (азот) загружается в бункер 1, установленный над
реактором, из которого непрерывно дозируется в реактор 10, снабженный
якорно-рамной мешалкой. Для улавливания паров глицерина и фталевого ангидрида
реакторы снабжены обратными конденсаторами 12 и конденсаторами-теплообменниками
13 для конденсации паров воды, так как небольшие ее количества могут содержаться
в глицерине и масле. Реакционная смесь из первого реактора 10 непрерывно
проходит через второй 15 и третий 16 реакторы, в которых завершается реакция
алкоголиза. Продукт алкоголиза, охлажденный в теплообменнике 17 до 180 °С,
непрерывно поступает в аппарат 18 объемом 3 м³ для
смешения с расплавленным фталевым ангидридом. Полученная смесь направляется в
один из приемников 19, из которого периодически загружается в реактор
периодического действия для проведения этерификации и поликонденсации.
Если алкоголиз осуществляется глицерином -
синтез глифталей, можно ограничиться каскадом из двух реакторов.
Сочетание непрерывного процесса алкоголиза с
непрерывным процессом этерификации позволяет значительно упростить аппаратурное
оформление стадии алкоголиза (Приложение 3). В случае же проведения
этерификации и поликонденсации в реакторе периодического действия целесообразно
осуществлять в нем и стадию алкоголиза. При этом можно не удлинять общего
времени синтеза алкидов, сократив длительность цикла работы реактора за счет
предварительного подогрева масла (а при синтезе глифталей и глицерина) до
240-250°С в выносных теплообменниках. В настоящее время на загрузку масла и
глицерина в реактор объемом 32 м³ и
их нагрев до 240-250°С затрачивается около 4 ч, а при синтезе пентафталей на
загрузку пентаэритрита в нагретое масло дополнительно еще 2 ч. Объединив
загрузку и нагрев сырья длительность этих операций можно сократить до 1 ч.
На рис. 1.3 приведены температурно-временные
графики работы реактора с электроиндукционным обогревом при объединении в нем
процессов алкоголиза и этерификации при нагреве загружаемых масла и спиртов в
выносных теплообменниках. При синтезе глифталей для загрузки и нагрева масла и
сырья требуется 1 ч (рис. 1.3, а), а при синтезе пентафталей расходуется
дополнительно 2 ч (рис. 1.3, б), что связано с необходимостью загрузки
пентаэритрита в нагретое до 240-250 °С масла. Из графика видно, что цикл работы
реактора при объединении процессов алкоголизм и этерификации можно даже не
увеличить, а сократить за счет применения выносных теплообменников.
При проведении реакции этерификации азеотропным
методом было предложено пропускать реакционную смесь через пленочный испаритель
или трубчатку, в которой создается большая скорость паров, обеспечивающая
пленочное движение жидкости в трубчатке. Это позволяет ускорить процесс отгонки
реакционной воды и значительно ускорить реакцию этерификации.
Имеется тенденция к увеличению объемов реакторов
периодического действия для синтеза алкидов; так, уже созданы аппараты объемом
80 м³.
Однако
при увеличении объема реактора снижается удельная поверхность теплообмена,
поэтому при использовании реакторов большой вместимости применяют выносные
теплообменники с постоянной рециркуляцией через них реакционной смеси. В таких
реакторах периодического действия проводят процессы алкоголиза, этерификации и
поликонденсации.
На рис. 1.4 приведена одна из возможных схем
использования выносных рециркуляционных теплообменников для вертикального
реактора с перемешивающим устройством объемом 50 м³.
Вначале
выносные теплообменники используются для нагрева жидкого сырья (растительных
масел, глицерина) до 240°С в период их загрузки в реактор. В связи с большой
вязкостью масел и глицерина при их прохождении в трубах кожухотрубчатого
теплообменника имеет место ламинарный режим течения и вследствие этого низкий
коэффициент теплоотдачи. Для его повышения при загрузке сырья предусматривается
частичная рециркуляция масел и глицерина, выходящих из теплообменника.
Рециркуляция повышает не только скорость течения жидкости в трубах, но и
среднюю температуру в теплообменнике, что резко увеличивает коэффициент
теплоотдачи. Для осуществления рециркуляции открывают кран 4 и закрывают кран
5. Кран 8 не полностью открывают, а кран 7 не полностью закрывают, поэтому
часть выходящего из теплообменника жидкого сырья с температурой 240 °С стекает
в реактор, а часть его поступает на рециркуляцию. По окончании загрузки жидкого
сырья в реактор закрывают краны 4 и 8, открывают кран 7 и при постоянной
рециркуляции содержимого реактора через теплообменники проводят процесс
алкоголиза. Кран 9 предназначен для опорожнения теплообменников.
Достоинства использования выносных
рециркуляционных теплообменников: нагревание жидкого сырья проводится при его
загрузке в течение всего лишь 1 ч, вместо нагревания в реакторе в течение
нескольких часов; увеличивается общая поверхность теплообмена и ускоряется
проведение в реакторе процессов алкоголиза, этерификации и поликонденсации;
охлаждение реакционной смеси, протекает быстро, причем без применения погружных
змеевиков в вертикальном реакторе, усложняющих его конструкцию.
В реакторах небольшого объема (5-10 м³),
т.
е. имеющих сравнительно большую удельную поверхность теплообмена, на грев
жидкого сырья обычно длится 3-4 ч. Поэтому и для таких реакторов также
целесообразна установка выносных теплообменников для нагрева сырья в период его
загрузки. Это значительно ускоряет также протекание всех реакций синтеза в
реакторе.
Описанные технологические схемы синтеза алкидов
и получения на их основе лаков периодическим методом обеспечиваю возможность
комплексной механизации и применения современного оборудования высокой
производительности. Однако при периодическом методе синтеза алкидов значительны
затраты времени на вспомогательные операции, возрастающие с увеличением объема
реактора (вследствие снижения удельной поверхности теплообмена), трудно
воспроизводим режим синтеза и сложна автоматизация процесса.
В настоящее время разрабатывается непрерывный
метод синтеза алкидов и получения лаков на их основе. Основной трудностью
является отсутствие методов и приборов, позволяющих контролировать и
автоматизировать проведение процессов алкоголиза, этерификации и
поликонденсации. Возможный вариант аппаратурного оформления непрерывного
процесса синтеза алкидов приведен на рис. 1.5. Алкоголиз, этерификация,
поликонденсация и растворение основы лака проводятся в непрерывнодействующих
колонных многоступенчатых реакторах полного смешения 12, 19 и. 22. Поскольку по
данной схеме можно получать не только глифтали, но и пентафтали, предусмотрена
непрерывная загрузка пентаэритрита в реактор 12 и наличие в его первой секции
якорной мешалки для растворения пентаэритрита в нагретом до 240-250 °С масле. В
верхние секции колонны 19 при проведении этерификации азеотропным методом подается
ксилол. В связи со значительным расходом теплоты в этом случае эти секции,
обогреваемые ВОТ, помимо рубашек снабжены двухрядными змеевиками. Реакция
этерификации. азеотропным методом существенно ускоряется при проведении ее под
вакуумом с подачей в колонну вместо жидкого ксилола его паров, получаемых в
испарителе.
При непрерывном методе во много раз снижается
длительность реакции алкоголиза. Несколько уменьшается и общая длительность
процессов этерификации и поликонденсации вследствие исключения затрат времени
на вспомогательные операции. Поэтому объем двух реакторов непрерывного действия
меньше объема периодически действующего реактора такой же производительности.
Среднее время пребывания смеси в аппарате для
растворения основы лака при непрерывном методе не превышает 30-60 мин, поэтому
его объем в десятки раз меньше, чем аппарата, применяемого при периодическом
методе.
Несмотря на более сложное аппаратурное
оформление, преимущества непрерывного метода делают его эффективным при
получении многотоннажных марок алкидных лаков, особенно в тех случаях, когда
для их производства требуется установка нескольких работающих параллельно
реакторов периодического действия.
1.3 Реакторы периодического действия
Особенностью реакторов периодического действия
является возможность проведения в реакторе всех стадий синтеза и легкость
перехода на разные режимы. Эти реакторы широко применяются на лакокрасочных
заводах для синтеза алкидов и других пленкообразующих веществ.
При синтезе пленкообразующих веществ К =
0,5-0,8. Этим объясняется низкая объемная производительность реакторов
периодического действия, особенно при синтезе алкидов.
Продолжительность синтеза пленкообразующих
веществ велика, поэтому время пребывания в реакторе отдельных частиц
получаемого продукта различно. Оно максимально для частиц, полученных в начале
синтеза, и минимально для частиц, полученных в конце синтеза. Это - одна из
причин полидисперсности синтезируемых полимеров.
Конструкции реакторов
Емкостные реакторы с перемешивающими
устройствами. Емкостные вертикальные аппараты с
перемешивающими устройствами наиболее широко применяются при периодических
методах синтеза пленкообразующих веществ. При непрерывных методах синтеза их
используют в виде каскада (см. рис. 1, г), причем очистку стенок реактора и мешалки
от образующихся отложений проводят поочередно в каждом отдельном реакторе.
Применение в этом случае колонного реактора потребовало бы его разборки при
чистке.
Рисунок 1 - Конструкция корпусов,
погружных теплообменных устройств и мешалок.
Цилиндрические вертикальные реакторы различаются
по конструкции корпуса, виду погружного теплообменного устройства и типу
мешалки (рис. 1).
Конструкцию корпуса варьируют в зависимости от
способа обогрева, В реакторах, обогреваемых парами теплоносителей, корпус
снабжен гладкой рубашкой (рис. 1, а).
При обогреве реакторов жидкими теплоносителями
необходимо обеспечить большие скорости жидкости у стенки корпуса для достижения
высоких коэффициентов теплоотдачи от теплоносителя к стенке. Поскольку гладкие
рубашки с большим свободным сечением для прохода жидкости (рис. 1, а) в этом
случае неприемлемы, создают спиралевидный канал малого сечения либо вокруг
корпуса реактора, приваривая к нему трубы, полутрубы или профильный прокат
(рис. 1, б), либо внутри гладкой рубашки, приваривая к корпусу или рубашке
винтообразно расположенную узкую полосу (рис. 1, в). Рубашка в виде приварного
змеевика (рис. 1, б) позволяет снизить толщину стенки корпуса реактора,
изготавливаемого из дорогостоящей нержавеющей или двухслойной (нержавеющая +
углеродистая) стали, поэтому рубашки такого типа применяют и при обогреве
паром.
В реакторах периодического действия при
ступенчатой загрузке исходных компонентов для исключения перегрева реакционной
смеси на стенках реактора рубашку делают многосекционной (рис. 1, г, д, е).
При обогреве реакторов продуктами сгорания
топлива и при индукционном электрообогреве рубашка отсутствует. Поскольку при
обогреве продуктами сгорания топлива наиболее быстро прогорает днище, его
делают сменным (рис. 1, ж).
Часто в реакторах, особенно периодического
действия, применяют погружные змеевики - однорядные (рис. 1, з) или двухрядные
(рис. 1, и), а также полые цилиндры (рис. 1, к) для основного или
дополнительного (помимо рубашек) охлаждения или нагревания реакционной смеси.
При выборе типа мешалки для реактора
руководствуются следующими наиболее важными факторами: обеспечение высоких
коэффициентов теплоотдачи от стенки аппарата или погружных теплообменных
устройств к реакционной смеси; интенсивное перемешивание реакционной смеси,
особенно при гетерогенных реакциях; минимальные затраты энергии на
перемешивание.
При низкой вязкости реакционной смеси (менее 5
Па*с) любая из мешалок, показанных на рис. 1, л - р, может обеспечить интенсивное
перемешивание содержимого реактора. Для осуществления жидкофазных гетерогенных
реакций при отсутствии погружных теплообменных устройств наиболее эффективны
турбинные (рис. 1, м) (при вязкости реакционной смеси менее 50 Па*с) и
пропеллерные (рис. 1, л) (при вязкости реакционной смеси менее 10 Па*с)
мешалки. Их применяют в тех случаях, когда необходима чистка стенок реактора.
При наличии погружных теплообменных устройств чаще всего применяют лопастные
(рис. 1, я), листовые (рис. 1, о), якорные (рис. 1, я), реже пропеллерные (рис,
1, л) мешалки. Использование комбинированных мешалок (рис. 1,ф) заметно
повышает передачу теплоты от днища и нижней части царги реактора. В процессе
синтеза некоторых пленкообразующих веществ вязкость реакционной смеси сильно возрастает,
что резко ухудшает процесс теплообмена. В этих случаях используют якорные (рис.
1, п) или якорно-рамные (рис. 1, р) мешалки. При этом, чем меньше зазор между
лопастями якорной мешалки и стенкой реактора, тем выше коэффициент теплоотдачи.
При высокой вязкости реакционной смеси применение скребковых мешалок позволяет
существенно увеличить коэффициенты теплоотдачи.
Таким образом, выбор оптимального тина мешалки:
определяется вязкостью реакционной смеси и наличием внутри реактора
теплообменных устройств. От правильного выбора типа мешалки зависит
производительность реактора, качество получаемого продукта (исключение
перегрева, снижение полидисперсности полимеров и олигомеров) и возможность
аварийных ситуаций, вызываемых трудностью отвода или подвода теплоты.
Итак реакторы для синтеза пленкообразующих
веществ представляют собой различные комбинации корпусов, мешалок и погружных
теплообменных устройств (см. рис. 1).
Основным конструкционным материалом для
реакторов является нержавеющая сталь. Для снижения расхода нержавеющей стали
корпус,
реакторов часто изготавливают из двухслойной стали (нержавеющая + низколегированная)
или эмалируют. Реакторы из углеродистой стали используют при получении основы
темных лаков и для полимеризации растительных масел.
Периодически действующие реакторы, применяемые
для синтеза алкидов должны отвечать следующим основным
требованиям:
1. стойкость материала реактора к
реакционной смеси и продуктам ее термического разложения;
2. возможность секционного обогрева
корпуса реактора при ступенчатой загрузке сырья и достижения температуры
реакционной смеси 260-280 °С;
3. наличие охлаждающих устройств;
4. эффективное перемешивание реакционной
смеси при максимальной интенсивности процесса теплообмена;
. возможность проведения синтеза под вакуумом;
. наличие в крышке реактора патрубков для
загрузки жидкого сырья и отвода газообразных веществ, а также люка диаметром
400-500 мм для осмотра ремонта и чистки аппарата без снятия крышки;
7. наличие смотрового люка и светового
фонаря для наблюдения за состоянием реакционной смеси в процессе синтеза и
осмотра внутренних частей реактора;
8. наличие погруженных в реакционную смесь
трубок, используемых в качестве гильз датчиков для измерения температуры или
для подачи в реактор инертного газа;
9. наличие не засоряемого осадком
спускного запорного устройства, в котором не может образоваться «пробка» из
затвердевшего продукта синтеза.
В последние годы, для синтеза пленкообразующих
веществ (в частности, для синтеза алкидов) получили применение реакторы с индукционным
электрообогревом.
Рисунок 2 - Реактор с индукционным
электрообогревом.
Индукционный электрообогрев основан на
использовании теплового эффекта вихревых токов, возникающих в толще стальной
стенки реактора под воздействием переменного электрического поля. Реактор с
индукционным электрообогревом (рис. 2) является
своеобразным трансформатором. Вокруг реактора расположены индукционные катушки,
представляющие собой как бы первичные обмотки трансформатора, по которым
проходит переменный электрический ток. Электрическая энергия передается
индукцией вторичной обмотке, роль которой выполняет короткозамкнутый виток -
стенка реактора. Вихревые токи в стенке реактора превращают электрическую
энергию в тепловую.
В реакторах для синтеза пленкообразующих веществ
часто устанавливают три катушки или число катушек, кратное трем.
При электроиндукционном обогреве можно получать
большие удельные тепловые нагрузки поверхности теплообмена, охватываемой
катушкой. Расход электроэнергии на 1 т синтезируемого
алкида составляет 350-500 кВт.
Электроиндукционный обогрев обладает рядом
дооинств:
· не происходит загрязнения атмосферы цеха
имеющими запах или токсичными газами (что возможно при использовании ВОТ), что
улучшает условия труда;
· отпадает необходимость в отдельном
помещении для установки генераторов теплоты;
· исключаются сложные коммуникации,
запорная арматура и насосы, необходимые при обогреве ВОТ.
Однако электроиндукционный обогрев связан с
высоким расходом электроэнергии, необходимостью в строительстве мощной
трансформаторной подстанции и прокладке соответствующей электросети. В
реакторах с электроиндукционным обогревом вследствие перегрева реакционной
смеси у стенок может происходить разложение синтезируемого пленкообразователя
и, следовательно, ухудшение его качества.
Аппараты из углеродистой, нержавеющей и двухслойной
стали с нормализованным объемом 1; 2; 3,2; 4; 5; 8; 10; 12,5; 16; 20; 25; 30 и
50 м3 могут иметь рубашку сплошную или в виде приварного змеевика из полутруб.
С пропеллерной и турбинной мешалками выпускаются реакторы объемом до 16 %-му с
лопастной и якорно-рамной мешалками - до 50 м3. Изготовление реакторов из
двухслойной стали сопряжено с расходом дорогостоящей нержавеющей стали, при
синтезе продуктов, налипающих на стенки реактора и мешалку (например,
поливинилацетатной дисперсии), приходится их полировать, что значительно
повышает стоимость аппарата. В последние годы широкое применение получили
эмалированные аппараты (налипаемость на эмаль резко снижается). Выпускаются
эмалированные вертикальные аппараты объемом до 50 м3, намечается тенденция дальнейшего
увеличения объемов. Эмалированные вертикальные аппараты объемом до 25 м3 имеют
верхний привод мешалки, а объемом 25 м3 - с нижним.
Ранее предельный объем реакторов периодического
действия ограничивался и зависел от того, какое пленкообразующее вещество
синтезируется. В настоящее время это ограничение сохранилось лишь для синтезов,
при которых недостаточно быстрый отвод теплоты реакции может вызвать сшивание
продуктов (желатинизацию или образование «козлов»). Аппараты для синтеза
алкидов в настоящее время имеют объемы до 80 м3, разрабатываются конструкции
реакторов больших объемов. Укрупнение аппаратуры позволяет снизить капитальные
и эксплуатационные затраты, повысить производительность труда. Например,
установка вместо двух реакторов одного реактора вдвое большего объема на 20-30
% уменьшает капитальные затраты и сокращает эксплуатационные расходы.
Удельная поверхность теплообмена с ростом объема
реактора уменьшается и, следовательно, увеличивается продолжительность
нагревания и охлаждения реакционной смеси. В результате снижается эффект,
достигаемый при увеличении объема реактора. Кроме того, при невозможности
быстрого отвода теплоты реакции в процессе синтеза многих алкидов возможно
бурное протекание реакции, сопровождающееся желатинизацией массы (образованием
«козлов») и нередко приводящее к аварии. Требования к быстроте нагревания и
охлаждения реакционной смеси и степень опасности, возникающей при замедлении
отвода теплоты реакции, зависят от вида синтезируемого алкида.
Для сокращения затрат времени на вспомогательные
операции нагревания и охлаждения реакционной смеси служат следующие приемы:
) с целью повышения коэффициентов
теплоотдачи от стенок реактора к реакционной смеси применяют эффективные типы
мешалок, например, комбинированные мешалки (см. рис. 1,о) или увеличивают их
частоту вращения, проводят ступенчатое изменение частоты вращения мешалки в
процессе синтеза, устанавливают на валу мешалки дополнительные перемешивающие
устройства (лопасти, пропеллеры и др.);
) используют погружные теплообменные
устройства не только для охлаждения, но и для нагревания реакционной смеси,
предпочтительно с развитой поверхностью (двухрядные змеевики и т. п.);
) загружают в реактор предварительно
нагретые в приемниках или в проточных теплообменниках исходные компоненты и
расплавленный фталевый ангидрид;
) блокируют реактор с выносным
теплообменником, с естественной (конвекционной) или принудительной циркуляцией
реакционной смеси через теплообменник.
Одним из наиболее эффективных способов повышения
поверхности теплообмена в реакторах периодического действия большой вместимости
является установка выносных теплообменных устройств. Примером может служить
используемый при синтезе алкидов горизонтальный реактор периодического действия
объемом 80 м3 с выносными рециркуляционными теплообменниками (рис. 3).
Рисунок 3 - Ректор с выносными
теплообменниками.
Практически полностью отсутствуют застойные зоны
в стационарных условиях работы реактора, достигается хорошее перемешивание при
циркуляции потока со скоростью 120-130 м3/ч, т. е. кратностью циркуляции 2.
Максимальный объем стандартных аппаратов с
вертикальным перемешивающим устройством составляет 50 м3. Недостатком таких
реакторов является их большая высота. В настоящее время для синтеза алкидов
применяют реакторы горизонтального типа объемом 50 м3 и более, не требующие
очень высоких помещений для их устайовки. Из-за малой удельной поверхности
нагрева горизонтальные реакторы большого объема снабжаются выносными
циркуляционными кожухотрубчатыми теплообменниками с большой поверхностью
теплообмена.
В процессе синтеза алкидов отгонка реакционной
воды азеотропным методом на стадии этерификации существенно ускоряется при
использовании пленочного испарителя. В этом случае пленочный испаритель
является тепло- и массообменным аппаратом, поскольку в нем протекает не только
процесс теплопередачи, но и синтез продукта. В реакторах большого объема с
недостаточной поверхностью теплообмена пленочный тепло- массообменный аппарат
является основной дополнительной поверхностью теплообмена. На рис. 4
приведена схема реактора для синтеза алкидов, сблокированного с
роторно-пленочным тепломассообменным аппаратом.
Рисунок 4 - Схема реактора,
сблокированного с пленочным тепломассообменным аппаратом.
В качестве пленочного испарителя могут быть
использованы аппараты со свободно падающей или восходящей пленкой,
роторно-пленочные испарители и испарители пленочно-трубчатого
типа. Из этих аппаратов наиболее сложным является роторно-пленочный.
Ускорить процесс отгонки реакционной воды
азеотропным методом при синтезе алкидов можно подачей в реактор вместо жидкого
ксилола его паров, как это показано на рис. 5.
Рисунок 5 - Реактор с подачей в него
паров ксилола при азеотропной отгонке реакционной воды.
При проведении реакции этерификации под вакуумом
обогрев испарителя ксилола можно проводить водяным паром, а не ВОТ.
Непрерывнодействующие колонные
реакторы полного смешения. К ним относятся многоступенчатые
(многосекционные) вертикальные реакторы с мешалками (рис. 6),
пульсационные колонны и колонные одноступенчатые реакторы с перемешиванием
реакционной смеси барботированием через нее газа.
Рисунок 6 - Непрерывнодействующий
многоступенчатый колонный реактор полного смешения.
Колонные многоступенчатые реакторы применяют в
тех случаях, когда исключено образование отложений на стенках реактора,
перемешивающих устройствах, переливных и пароотводящих трубах. Они занимают
значительно меньшую площадь, чем каскад одноступенчатых реакторов полного
смешения, их легко и недорого устанавливать, однако ремонт перемешивающих
устройств, расположенных внутри колонны, достаточно сложен.
Если же при синтезе пленкообразующих веществ
(алкидов, фенолоальдегидов и др.) образуются пары воды и летучих веществ, а
также газы, которые необходимо непрерывно отводить из реакционного объема,
применяют многоступенчатые колонные реакторы непрерывного действия.
Особенностью такого реактора (рис. 6) является ~
наличие труб для отвода паров, позволяющих поддерживать необходимый уровень
жидкости в каждой секции (определяемый высотой переливного патрубка). Паровые
пространства всех четырех секций соединены, и пары, пройдя через трубы 5,
уходят из верхней царги 2 в теплообменник. Реакционная смесь поступает в
верхнюю секцию и уходит из нижней.
Непрерывнодействующие реакторы
полного вытеснения находят ограниченное применение в
производстве пленкообразующих веществ(рис. 7). Для вязких реакционных смесей применяют
трубчатые реакторы с рециркуляцией смеси или со шнековым транспортером
(реакторы шнекового типа) обычно с L/D> 20 (где L - общая длина реактора, D
- его диаметр).
Рисунок 7 - Непрерывнодействующий
реактор вытеснения шнекового типа.
2. Технологическая часть
.1 Описание аналоговой
технологической схемы
В реактор периодического действия 14 загружают
пентаэритрит и нагретое до 240-250°С масло. Пентаэритрит на складе сырья
разгружается из мешков в бункер 2. Из этого бункера пентаэритрит направляется в
бункер с вибрирующим днищем, установленный над реактором, откуда пентаэритрит
подается шнековым питателем. По окончании загрузки пентаэритрита сразу же
устанавливают заглушку, исключающую проникновение паров в питатель.
После загрузки исходных компонентов содержимое
реактора нагревают до 240-250°С и проводят алкоголиз. По окончании алкоголиза
реакционную смесь охлаждают до 180-200°С, загружают в расплавленном виде
фталевый ангидрид из приемника, поднимают температуру до 250-260°С и при этой
температуре проводят этерификацию и поликонденсацию. Для ускорения реакции
этерификации ее осуществляют азеотропным методом, для чего загружают в реактор
ксилол. Пары ксилола, воды и частично увлекаемый фталевый ангидрид поступают в обратный
конденсатор 15 для улавливания фталевого ангидрида, а затем в конденсатор 16,
из которого их смесь стекает в разделитель непрерывного действия 19. Из
разделителя ксилол возвращается в реактор, а вода стекает в приемник 21. Для
более полного улавливания паров ксилола служит дополнительный охлаждаемый
рассолом теплообменник 17. После окончания процесса этерификации полностью
отгоняют ксилол и проводят поликонденсацию при 250-260 °С. Затем содержимое
реактора охлаждают до 150-170 °С и сливают в аппарат для растворения основы
лака.
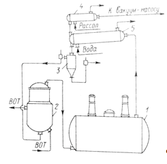
2.2 Описание усовершенствований
технологической схемы
В курсовом проекте были разработаны следующие
усовершенствования (см. чертеж):
. Установка реактора, сблокированного с
пленочным тепломассообменным аппаратом. Способствует повышению поверхности
теплообмена.
1. Метод обогрева жидкими ВОТ. Замена
дифенильной смеси на масло АМТ-300. Масло АМТ-300 менее токсично, не проникает
через места уплотнений( фланцевые соединения трубопроводов и арматуры, сальники
запорных приспособлений и насосов и т.д.),достаточно термостойко, обеспечивает
достижение высоких коэффициентов теплоотдачи.
2. Установка шестеренного насоса для
экономии объема помещений.
2.3 Характеристика исходного сырья
Таблица 1 - Характеристика исходного
сырья
|
Наименование
сырья, материала
|
ГОСТ
или ОСТ, ТУ или методика подготовки сырья
|
Показатели,
обязательные для проверки перед использованием в производстве
|
Регламентированные
показатели с допустимыми отклонениями
|
|
Масло
подсолнечное
|
ГОСТ
14083-68
|
Прозрачность
|
Прозрачное
без осадка
|
|
|
Цветность,
мг 12/100 см³
, не
более
|
10
|
|
|
Кислотное
число, мг КОН/г, не более
|
0,4
|
|
|
Количество
фосфатидов
|
Отсутствие
|
|
|
Йодное
число, г 12/100 г в пределах
|
119-145
|
|
Пентаэритрит,
технический, марок А и Б, сорт высший и I
|
ГОСТ
9286-89
|
Внешний
вид
|
Белый
кристаллический порошок без посторонних примесей, видимых невооруженным
глазом. Допускается серо-голубой и желтоватый оттенки
|
|
|
Массовая
доля воды и летучих компонентов, %, не более
|
0,2
|
|
|
Температура
плавления, °C, не ниже
|
255(250)
|
|
Ангидрид
фталевый, технический, марок А и Б, сорт высший, I, II
|
ГОСТ
7119-77
|
Внешний
вид
|
Чешуйки
и порошок белого цвета или расплав. Допускается желтый или розовый оттенки
|
|
|
Массовая
доля фталевого ангидрида, %, не менее
|
99,7
|
|
|
Температура
кристаллизации, °C, не ниже
|
130,6
|
|
Ксилол
нефтяной или каменноугольный
|
ГОСТ
9410-78 ГОСТ 9949-76
|
Внешний
вид и цвет
|
Прозрачная
жидкость, не содержащая посторонних примесей и воды, не темнее раствора
0,003г К2С1207 в 1 дм3
|
|
|
Плотность
при Т=(20,0±2,0) °C, г/см³
|
0,862-0,868
|
|
|
Температура
вспышки °C, не ниже
|
23
|
|
Сода
кальцинированная, техническая
|
ГОСТ
5100-85
|
Внешний
вид
|
Гранулы
белого цвета
|
Массовая
доля Na
СОз, %, не
менее
3. Расчетная часть
.1 Материальный баланс производства
основы лака ПФ-053
Расчет фонда времени работы проводим только для
основного технологического оборудования, определяющего производственную
мощность проектируемого объекта. В тех случаях, когда предусматриваются
остановки в праздничные дни или на капитальный ремонт коммуникаций, дни этих
остановок исключаются из календарного фонда времени.
Календарный фонд времени Т
принимаем
равным 365 дней или 8760 часов. В производствах с периодическим режимом работы
номинальный фонд времени работы оборудования Т
определяется путем исключения из
календарного фонда числа праздничных и выходных дней и часов сокращения рабочих
смен в предпраздничные дни (в соответствии с принятым режимом работы). На
основании данных о режиме работы цеха определяется баланс времени работы
оборудования в году (таблица 2).
Для всех производств с периодическим
режимом работы предусматриваются остановки оборудования на 12 праздничных дней.
Количество выходных дней в году при 5-дневной рабочей недели с 8-часовыми
сменами 104 (52 воскресения и 52 субботы):
Дв=52+52 = 104 дней
Таким образом, всего нерабочих дней
в году по режиму:
+ 104 = 116 дней,
а количество дней работы в году по
режиму (Др):
- 116 = 249 дней.
Для определения количества часов,
соответствующих количеству дней работы по режиму, число этих дней умножается на
продолжительность рабочей смены и на число смен в сутки. Тогда количество
рабочих часов по режиму составляет:
(365 -116)
16 = 3984
час.
Количество сокращенных часов в год
будет равно числу предпраздничных дней, умноженному на число смен в сутки: 8
2 = 16
дней. Затем из количества рабочих часов по режиму в производствах с
периодическим режимом работы исключаются сокращенные часы рабочих смен в
предпраздничные дни. В результате определяется номинальный (режимный) фонд
времени работы оборудования в году в часах (Тн):
- 16 = 3968 час
Таблица 2 - Баланс времени работы
оборудования в году
|
Элементы
времени
|
Баланс
времени
|
Календарный фонд времени 
:
в днях
в часах
|
8760
|
|
|
Нерабочие
дни по режиму - всего в том числе: праздников выходных
|
116
12 104
|
|
Остановки
на ремонт коммуникаций
|
-
|
|
Количество
дней работы в году по режиму (Др)
|
249
|
|
То
же - в часах (Чр)
|
3984
|
|
Внутрисменные
остановки (сокращенные часы рабочих смен в предпраздничные дни)
|
16
|
|
Номинальный
фонд  , час3968
|
|
|
Планируемые
остановки оборудования в рабочие дни, час: на капитальный ремонт на текущий
ремонт по технологическим причинам
|
19
- 40
|
|
ИТОГО
|
59
|
|
Эффективный
фонд времени работы Тэф час
|
3909
|
|
Коэффициент
экстенсивности использования оборудования Кэ
|
0,45
|
Эффективный
фонд времени работы оборудования в году Тэф определяется путем
исключения из нормального фонда времени в часах длительности простоя
оборудования во всех видах планово-предупредительного ремонта и по
технологическим причинам, которое рассчитывается исходя из норм
продолжительности межремонтных пробегов по каждому виду ремонтов, ремонтного
цикла и длительности каждого ремонта. Эти нормы принимаются по данным действующих
предприятий (таблица 3).
Таблица 3-Нормы межремонтных
пробегов и простоев оборудования в ремонте.
|
Наименование
оборудования
|
Нормы
пробегов оборудования между ремонтами, ч
|
Нормы
простоя оборудования в ремонте, ч.
|
|
Текущий
 Капитальный Т Текущий Р Капитальный
Р
|
|
|
|
|
Реактор
|
1440
|
25920
|
24
|
104
|
На основании принятых норм определяется
количество всех видов ремонтов за ремонтный цикл (Tр.ц.= Tкап)
и время простоя оборудования в ремонтах в среднем за год.
Количество ремонтов оборудования за ремонтный
цикл:
а) общее количество ремонтов (nрем):
nрем =
Тр.ц. / Тт = 25920/1440=18
Из общего числа ремонтов за ремонтный цикл один
ремонт является капитальным, тогда:
б) количество текущих ремонтов (nт):
nт
= Тр.ц. / Тт -1 = 18-1 = 17
Время простоя оборудования в ремонтах в среднем
за год:
а) в капитальном ремонте (Пк):
Пк = Рк
Тк.у./
Тр.ц.= 104
8640/25920 =
35 часа
б) в текущем Пт:
Пт = Рт
nт
Тк.у./
Тр.ц =24
17
8640/25920=136
часов
Тк.у - условный
календарный годовой фонд времени (принимается Тк.у =8640 ч).
В производствах с периодическим режимом работы
проведение всех видов ремонтов часто приурочивается к выходным дням. В таких
случаях, если нормы простоев оборудования в отдельных видах ремонтов не
превышают продолжительности выходного дня, то время простоев в этих ремонтах не
исключается при определении Тэф. Если же нормы простоя оборудования
в ремонте превышают продолжительность выходного дня, то в балансе не
учитывается время простоев в ремонте, приходящемся на выходные дни.
Пк =(104-24
2)
8640/25920=19
часов
Коэффициент экстенсивного
использования оборудования (Кэ):
Кэ = Тэф.ч / Тк.ч.
= 3909/8760 = 0,45
Таким образом, проектируемое время
работы - 3909 часов, то есть ~163 дня.
Коэффициент использования
оборудования:
%
Суточная производительность по
товарному продукту:
т/сутки
3.2 Определение потерь сырья
По данным завода, производящего лак ПФ-053,
калькуляционные расходные норы на 1 т лака составляют:
|
Наименование
расходуемых видов сырья
|
Количество,
кг
|
|
Масло
подсолнечное
|
314,1
|
|
Пентаэритрит
|
80,8
|
|
Фталевый
ангидрид
|
131,3
|
|
Сода
кальцинированная
|
0,3
|
|
Уайт-спирит
|
312
|
|
Ксилол
|
216
|
• сода
кальцинированная 0,06% от веса масла;
• ксилол для
азеотропа 1-3% от веса смолы (основы).
Если принять, что общие потери растворителя
составляют 2%, то абсолютные потери растворителя:
кг
Таким образом, в составе готовой
продукции содержится растворителя:
(312+216)-10=517кг;
а нелетучей основы - пентафталевого
полиэфира:
-517=483кг.
В основу расчета материального
баланса должна быть положена пентафталевая смола определенного состава.
Общий расход сырья на 1 т
пентафталевого полиэфира, содержащегося в готовом лаке, исходя из данных
завода:
подсолнечного масла
кг;
пентаэритрита
кг;
фталевого ангидрида
кг.
Если условно принять, что процент
потерь всех исходных компонентов при синтезе полиэфира одинаков, и пренебречь
загрязнениями, содержащимися в них, то в реакции синтеза будут участвовать
следующие количества компонентов:
подсолнечного масла
моль;
пентаэритрита
моль;
фталевого ангидрида
моля,
где 878-молекулярная масса
подсолнечного масла, 136-молекулярная масса пентаэритрита, 148-молекулярная масса
фталевого ангидрида.
При синтезе основы лака ПФ-053 в ее
состав войдут производные 2-х молей фталевого ангидрида, 1 моля пентаэритрита и
1 моль подсолнечного масла (3 моля ненасыщенных кислот).
Таблица 4 - Принятые условно потери
сырья на отдельных стадиях.
|
Наименование
операций
|
Выход,
%
|
|
|
кальцинированная
сода
|
подсолнечное
масло
|
пентаэритрит
|
фталевый
ангидрид
|
ксилол
|
|
Разгрузка
из цистерн и контейнеров в цеховые емкости
|
99,8
|
99,5
|
99,5
|
99,5
|
99,5
|
|
Переэтерификация
|
99,5
|
99,0
|
98,0
|
-
|
|
Поликонденсация
|
98,5
|
98,5
|
98,5
|
98,0
|
-
|
Исходя из приведенных в таблице потерь на
отдельных операциях, получаем суммарный выход:
по кальцинированной соде (0,998 +
0,995 + 0,985)
100 = 97,8%;
по подсолнечному маслу (0,995 +
0,990 + 0,985)
100 = 97,0
%;
по пентаэритриту (0,995 + 0,980 +
0,985)
100 = 96,0
%;
по фталевому ангидриду (0,995 +
0,980)
100 = 97,5
%;
по ксилолу 0,995
100 = 99,5
%.
Таким образом, суммарные потери,
отнесенные к реальному выходу:
для кальцинированной соды
для подсолнечного масла
для пентаэритрита
для фталевого ангидрида
для ксилола
3.3 Материальные расчеты
3.3.1 Реакция переэтерификации
Суточная производительность по
пентафталевому полиэфиру:
т/сутки
Расход пентаэритрита 100%-ной
чистоты с учетом его общего выхода 96,0%
кг/сутки
или в пересчете на технический
пентаэритрит марки А 1 сорта, содержащий согласно ГОСТ 9286-89 0,2% воды:
кг/сутки
Применяя рафинированное растительное
масло, получаем его расход с учетом общего выхода 97,0%:
кг/сутки
Количество кальцинированной соды
составляет 0,06% по отношению к подсолнечному маслу (по данным завода), что
составляет для проектируемого производства:
кг/сутки
или при пересчете на техническую
кальцинированную соду, содержащую согласно ГОСТ 5100-85 99,4% кальцинированной
соды:
кг/сутки
При загрузке тары и в результате
переэтерификации теряется:
подсолнечного масла
кг/сутки
пентаэритрита
кг/сутки
кальцинированная сода
кг/сутки
Всего 193,4+50,6+0,1=244,1кг/сутки
Поскольку в результате
переэтерификации не происходит выделения никаких летучих продуктов, исключая
принятые величины потерь, то количество переэтерифика
:
+12891-244,1=14665кг/сутки
Таблица 5 - Расход сырья при реакции
переэтерификации
|
Израсходовано:
|
Получено:
|
|
пентаэритрита
|
2022
|
кг
|
переэтерификата
|
14665
|
кг
|
|
в том числе:
|
|
|
потери:
|
244,1
|
|
|
пентаэритрита
|
2018
|
кг
|
соды кальцинированной
|
7,8
|
кг
|
|
воды
|
4
|
кг
|
примесь кальцинированной соды
|
0,1
|
кг
|
|
подсолнечного масла
|
12891
|
кг
|
испаряется воды
|
1,1
|
кг
|
|
соды кальцинированной
|
7,8
|
кг
|
|
|
|
|
в том числе
|
|
|
|
|
|
|
соды кальцинированной
|
7,7
|
кг
|
|
|
|
|
примеси
|
0,1
|
кг
|
|
|
|
|
Всего: 14918,8
|
Всего:14918,8
|
.3.2 Реакция поликонденсации
Раствор фталевого ангидрида 100%-ой чистоты с
учетом общего выхода 97,5%:
кг/сутки,
при пересчете на технический
фталевый ангидрид марки А 1 сорта, содержащий по ГОСТ 7119-77 99,7 фталевого
ангидрида:
кг/сутки
Выделится реакционной воды
кг/сутки
Из общего количества потерь
фталевого ангидрида 1,5% теряется в виде продуктов поликонденсации и 0,5% в
результате улетучивания.
Следовательно, теряется продукта
поликонденсации:
кг/сутки
Фталевого ангидрида при загрузке:
кг/сутки
Суммарные потери составляют:
+22=303кг/сутки
Получают полиэфир, пренебрегая
примесями, содержащимися во фталевом ангидриде:
+4324-303-263=18423кг/сутки.
Таблица 6 - Расход сырья при реакции
поликонденсации
|
Израсходовано
|
Получено
|
|
переэтерификата
|
14665
|
кг
|
полиэфира
|
18423
|
кг
|
|
фталевого
ангидрида
|
4337
|
кг
|
выделяется
реакционной воды
|
263
|
кг
|
|
в
том числе:
|
|
|
потери
|
303
|
кг
|
|
фталевого
ангидрида
|
4324
|
кг
|
примеси
|
13
|
кг
|
|
примеси
|
13
|
кг
|
|
|
кг
|
|
Всего:
19002кг
|
Всего:
19002кг
|
3.3.3 Расход сырья для получения
основы лака ПФ-053
Таблица 7 - Расход сырья для
получения основы лака ПФ-053
|
Сырье
|
Расход
на 1 тонну основы, кг
|
Потребность
в сырье
|
|
|
суточная,
кг
|
годовая,
т
|
|
Пентаэритрит
технический 1 сорта, 99,8%
|
109,9
|
2022,0
|
329,6
|
|
Масло
подсолнечное рафинированное
|
700,4
|
12891,0
|
2101,2
|
|
Фталевый
ангидрид технический 1 сорта, 99,7%
|
235,6
|
4337
|
706,9
|
|
Кальцинированная
сода техническая, 99,0%
|
0,4
|
7,8
|
1,3
|
|
Ксилол
|
20
|
368,5
|
60,1
|
|
|
|
|
|
.4 Расчет основного оборудования
3.4.1 Расчет реактора
Объем аппарата определяется по формуле:
где G- массовый
расход реакционной смеси, кг/сутки; φ-коэффициент
заполнения аппарата; ρ- плотность реакционной
смеси, кг/м³; τ
-время
технологического цикла, ч,
τ
=24ч.
Для аппаратов с перемешивающими
устройствами φ=0,75-0,8.
Плотность реакционной смеси при
температуре смеси равна:
где t - температура реакционной
смеси,
t = 260°С;
- плотность реакционной смеси при
20°С, кг/м³;
β -
коэффициент объемного расширения,
.[12]
Процентное содержание компонентов в
смеси:
Подсолнечное масло 59,62%
Пентаэритрит 15,41%
Фталевый ангидрид 24,97%
Всего 100%
Принимаем φ=0,8.
Плотность реакционной смеси при 20°C
рассчитывается по формуле:
,
где
- содержание подсолнечного масла в
смеси, %;
- содержание
пентаэритрита в смеси, %;
- содержание
фталевого ангидрида в смеси, %;
-плотность подсолнечного масла при
20°С,
= 924 кг/м³ ;
- плотность
пентаэритрита при 20°С,
= 1770 кг/м3;
- плотность
фталевого ангидрида при 20°С,
=1527 кг/м³.
кг/м³
Принимаем β=0,9
,
тогда плотность при 260°С:
кг/м³
Массовый расход подсолнечного
масла-12891кг/сутки
Массовый расход пентаэретрита-2022
кг/сутки
Массовый расход фталевого
ангидрида-4337 кг/сутки
Массовый расход реакционной смеси:
+2022+4337=19250 кг/сутки
В итоге объем реактора:
м³
На основании проведенных выше
расчетов производится выбор реактора. Принимаем номинальную емкость реактора
V=11 м³.
В
настоящее время производятся реакторы с индукционным обогревом объемом 3,2;
6,3; 12,5 м³,
следовательно,
целесообразно установить два реактора по 6,3 м³.
3.5 Тепловой расчет реактора
Температурно-временной режим работы
реактора принимается трехступенчатым:
1. 20 - 260°С (нагрев подсолнечного масла
от 20 до 150°С происходит в приемниках и от 150°С до 260°С в реакторе)
2. 260 - 180°С (охлаждение реакционной
смеси водой)
. 180 - 260°С (нагрев реакционной смеси)
. 260 - 170°С (охлаждение реакционной
смеси)
Произведем расчет этапов нагрева реакционной
массы:
Таблицы значений физических свойств
пентаэритрита и фталевого ангидрида отсутствуют. Для упрощения расчеты
выполняют применительно к подсолнечному маслу.
1. 150 - 260°С
Средняя температура нагреваемого продукта:
°C
Расход теплоты на нагревание
подсолнечного масла с учетом коэффициента 1,1 на нагрев аппарата и тепловые
потери:
Дж,
где
- масса нагреваемой реакционной
смеси в реакторе, кг;
-
теплоемкость подсолнечного масла при температуре 205°С, Дж/(кг • К). [12]
2. 180 - 260°C
Средняя температура нагреваемого продукта:
°C
Расход теплоты на нагревание
подсолнечного масла с учетом коэффициента 1,1 на нагрев аппарата и тепловые
потери:
Дж,
где
- масса нагреваемой реакционной
смеси в реакторе, кг;
- теплоемкость
подсолнечного масла при температуре 220°С, Дж/(кг • К). [12]
4. Охрана окружающей среды
На производстве должны быть
предусмотрены следующие мероприятия по охране окружающей среды:
. Ёмкостное оборудование
должно быть подсоединено к системе инертного дыхания через дыхательные бачки
для создания инертной подушки и снижения выделения вредных веществ в атмосферу.
. Газообразные продукты
реакции, выхлопы вакуум-насосов, реакционные сточные воды и твердые отходы
производства должны передаваться на станцию сжигания.
. Для предотвращения
попадания вредной пыли в помещение должны быть установлены местные вентотсосы,
а во избежание попадания в атмосферу на местных отсосах должны быть
предусмотрены рукавные фильтры.
Перечисленные выше мероприятия
позволяют снизить суммарное количество вредностей в технологических выбросах в
атмосферу ниже предельно-допустимых норм для населённой зоны.
Таблица 9 - Твердые и жидкие отходы
|
Наименование
отхода, отделение, аппарат
|
Куда
складируется, транспорт, тара
|
Количество
отходов, кг/сут
|
Периодичность
образования
|
Химический
состав отходов: твердых и жидких (влажность %)
|
|
1.Фильтр-патроны
«Куно» из отделения фильтрации
|
Автотранспортом
вывозится на сжигание
|
130
|
1
раз в 3 суток
|
1.Патроны
из натуральных и синтетических волокон, пропитанных смолой - 40 2.Смола
алкидная - 30 3.Растворитель - 30
|
|
2.Мешки
бумажные из отделения синтеза
|
Автотранспортом
вывозится на сжигание
|
600
|
1
раз в сутки
|
1.Бумага-
99,9 2.Пыль пентаэритрита и фталевого ангидрида- 0,1
|
|
3.Реакционная
вода
|
Автоцистернами
на сжигание
|
4360
|
1
раз в сутки
|
1.Вода-72,0
2.Ксилол- 6,5 3.Смолистые вещества и фталевая кислота- 21,5
|
|
4.Отходы
от замывки оборудования
|
Автоцистернами
на сжигание
|
650
|
1
раз в квартал 50-60 м³
|
1.Вода-
87 2.Натриевые соли жирных кислот- 10-12 3.Натриевая щелочь- 2-3 4.Взвешенные
частицы- 1,0
|
5. Техника безопасности и охрана
труда
Производство лаков на конденсационных смолах по
характеру применяемого сырья и методам производства, по нормам строительного
проектирования промышленных предприятий относится к категории
взрывопожароопасных производств.
В производстве применяются следующие
взрывоопасные продукты:
• ксилол, уайт-спирит - растворители;
• фталевый ангидрид, пентаэритрит -
сыпучие органические вещества, дающие с воздухом взрывоопасные смеси.
На производстве должны быть предусмотрены
следующие мероприятия по охране труда и технике безопасности:
1. Во всех производственных помещениях
должны быть запроектирована приточно-вытяжная вентиляция, обеспечивающая в зоне
пребывания рабочих состояние воздушной среды, соответствующее санитарным
нормам.
2. Всё электрооборудование должно быть
выполнено во взрывозащищенном исполнении. Технологическое оборудование и
материалопроводы, где возможно появления статического электричества, должны
быть заземлены. Должна быть предусмотрена молниезащита.
. Транспортирование жидкого сырья со
склада должно осуществляться по трубопроводам. Жидкое сырье и растворители
должны загружаться через автоматические счетчики - дозаторы.
. Для уменьшения выделения паров в цехе
должны быть предусмотрены герметичные насосы и аппаратура с фланцевыми
соединениями «шип-паз» и с торцевыми уплотнениями.
. Опоражнивание технологических аппаратов
с горючими и токсичными веществами перед ремонтом и в случае аварии или пожара
должно производиться в один из свободных смесителей.
. Все управление дозировкой, загрузкой и
передачей сырья и продукции должно осуществляться с пульта управления
оператором дистанционно.
. На трубопроводах и емкостях отделения
фильтрации должны быть установлены автоматические клапаны, исключающие
возможность перелива.
. Аппараты и установки должны быть
оборудованы типовыми приводами, обладающими при нормальной эксплуатации
шумовыми характеристиками в пределах допустимых норм.
. Производственные помещения должны быть
оснащены системой автоматического пожаротушения.
Таблица 10 -
Характеристика отделения синтеза по взрывопожароопасности и
электрооборудованию, санитарные характеристики
|
Наименование
показателя
|
Категория,
класс, группа
|
|
1.
Категория взрывопожарной и пожарной опасности производства по СниП II 90-81
|
А
|
|
2.
Класс помещения по правилам устройства электроустановок (ПУЭ) потребителей
|
В-Iа
|
|
3.
Категория и группа взрывоопасных смесей по правилам изготовления
взрывозащищенного и рудничного электрооборудования (ПИВРЭ)
|
ПА-Т3
|
|
4.
Группа производственных процессов по санитарной характеристике по СнииП
II-92-76
|
IIIа
|
Заключение
В данном курсовом проекте были предложены
следующие усовершенствования:
1. Установка реактора, сблокированного с
пленочным тепломассообменным аппаратом. Способствует повышению поверхности
теплообмена.
2. Метод обогрева жидкими ВОТ. Замена
дифенильной смеси на масло АМТ-300. Масло АМТ-300 менее токсично, не проникает
через места уплотнений( фланцевые соединения трубопроводов и арматуры, сальники
запорных приспособлений и насосов и т.д.),достаточно термостойко, обеспечивает
достижение высоких коэффициентов теплоотдачи.
. Установка шестеренного насоса для
экономии объема помещений.
Усовершенствования аппаратурного оформления,
предусмотренные проектом, направлены на обеспечение стабильности высокого
качества лака, позволят выход продукта на каждой стадии по сравнению с
действующим производством.
Список используемой литературы
1. Охрименко
И.С., Верхоланцев В.В. Химия и технология пленкообразующих веществ. -Л.: Химия,
1978. - 392 с.
2. Сорокин
М.Ф., Кочнова З.А., Шодэ Л.Г. Химия и технология пленкообразующих веществ. -
М.: Химия, 1989. - 377 с.
. Пэйн
Г.Ф. Технология органических покрытий. - Л.: Госхимиздат,1959. - 760с.
. Брок
Т., Гротеклаус М., Мишке П. Европейское руководство по лакокрасочным материалам
и покрытиям. - М.: Пэйнт-Медиа, 2004. - 550 с.
. Дринберг
С.А. Технология пленкообразующих веществ. - Л.: Ленгосхимиздат, 1955. - 652 с.
. Ливщиц
М.Л., Пшиялковский Б.И. Лакокрасочные материалы. - М.: Химия, 1982. - 360 с.
. Добровинский
Л.А. // ЛКМ. №10. 2007 г. с. 7
. Ульрих
Пот. Полиэфиры и алкидные смолы. - М.: Пэйнт-Медиа, 2009. - 232с.
. Евтюков
Н.З., Кузина Н.Г. Основы проектирования и оборудование производств полимеров. -
СПБГТИ(ТУ), 2010. - 116 с.
. Козулин
Н.А., Соколов В.Н., Шапиро А.Я. Примеры и задачи по курсу оборудования заводов
химической промышленности. - Л.: Машиностроение, 1966. - 490 с.
. Рабинович
В.А., Хавин З.Я., Краткий химический справочник. - Л.: Химия, 1978. - 260 с.
. Луцко
А.Н., Телепнев М.Д., Марцулевич Н.А. Прикладная механика. Пособие по
проектированию. - СПб.: Издательство СПБГТУЭФ, 2005. - 214 с.
. Евтюков
Н.З., Прорубщиков А.Ю. Проектирование производств лакокрасочных материалов. -
СПБГТИ(ТУ), 1994. - 15с.
. Романков
П.Г., Фролов В.Ф., Флисюк О.М. Методы расчета процессов и аппаратов химической
технологии (примеры и задачи): Учебное пособие для вузов. - СПб.: Химиздат,
2009. - 544 с.
. Производство
алкидных лаков. Настоящее и будущее/Л. А. Добровинский, И.В.
Руцкий//Лакокрасочные материалы и их применение. 2005. №5. с. 3-4
. Тепломассообмен
в процессах синтеза алкидных лаков// А. М. Кашников /Лакокрасочные материалы и
их применение. 2006. №6. с. 20-31
. Интенсификация
синтеза алкидных олигомеров/Ю.Г. Гоголев, В.Н. Блиничев, Н.В. Степычева//Лакокрасочные
материалы и их применение. 2002. № 5. с.12-15