Технологические аспекты промышленного внедрения волочения стальной проволоки в гидродинамическом режиме трения

  • Вид работы:
    Курсовая работа (т)
  • Предмет:
    Другое
  • Язык:
    Русский
    ,
    Формат файла:
    MS Word
    1,03 Мб
  • Опубликовано:
    2012-06-02
Вы можете узнать стоимость помощи в написании студенческой работы.
Помощь в написании работы, которую точно примут!

Технологические аспекты промышленного внедрения волочения стальной проволоки в гидродинамическом режиме трения

ГАУ ВПО Уральский Федеральный Университет

имени первого Президента России Б.Н.Ельцина

Кафедра «Обработки металлов давлением»










ТЕХНОЛОГИЧЕСКИЕ АСПЕКТЫ ПРОМЫШЛЕННОГО ВНЕДРЕНИЯ ВОЛОЧЕНИЯ СТАЛЬНОЙ ПРОВОЛОКИ В ГИДРОДИНАМИЧЕСКОМ РЕЖИМЕ ТРЕНИЯ

Курсовая работа

по дисциплине «Основы технологических процессов ОМД»

000 000 701 ПЗ







Екатеринбург

РЕФЕРАТ

Цель данной курсовой работы заключается в изучении современных технологий производства проволоки в режиме гидродинамического трения.

В работе изложены сведения о проблемах, вызываемых контактным трением. Приведены известные конструкции устройств, необходимых для осуществления режима гидродинамического трения при волочении проволоки, а так же их достоинства и недостатки, и перспективы развития.

Стр.44, рис.8, библ. ссылки 8.

Ключевые слова: гидродинамический режим трения, волочение проволоки, нагнетающее устройство, прямоточный волочильный стан, сборная волока.

ОГЛАВЛЕНИЕ

ВВЕДЕНИЕ

1. Проблемы снижения контактного трения при волочении проволоки

1.1 Механизм и роль контактного трения при обработке металлов давлением

1.2 Виды трения в условиях пластической деформации

1.3 Проблемы, создаваемые контактным трением в процессе волочения

2. Технологические особенности процесса волочения в гидродинамическом режиме трения

2.1 Устройства подачи смазки

2.2 Сборные волоки

2.3 Волочение с высокими скоростями и обжатиями

3. Пути дальнейшего совершенствования технологии волочения в режиме гидродинамического трения

3.1 Повышение скоростей волочения

3.2 Ужесточение маршрутов волочения

3.3 Испытание технологических смазок с наполнителями

3.4 Упрощение подготовки поверхности проволоки к волочению

3.5 Усовершенствование сборных волок

3.6 Использование ЭВМ

ЗАКЛЮЧЕНИЕ

БИБЛИОГРАФИЧЕСКИЙ СПИСОК

ПРИЛОЖЕНИЯ

П1. Патент РФ №2011449. Инструмент для волочения изделий в режиме гидродинамического трения

П2. Патент РФ №2038882. Сборная волока с гидродинамической подачей смазки

П3. Патент РФ №2030942. Инструмент для волочения в режиме гидродинамического трения

ВВЕДЕНИЕ

Контактное трение в процессах обработки металлов давлением оказывает определяющее влияние на характер деформации, напряженное состояние обрабатываемого материала, необходимые усилия и качество получаемых изделий. Развитие теории ОМД и совершенствование производства требуют дальнейшего изучения закономерностей этого сложного явления и разработки научно обоснованных рекомендаций для расчета величины сил трения.

При использовании для этой цели современных достижений науки о трении твердых тел необходимо дополнительное изучение трения тел, одно из которых испытывает пластическую деформацию. Так весьма существенное влияние на изменение величины сил трения в этом случае оказывает одновременное протекание и взаимосвязь явлений на поверхности контакта, присущих обычному трению, и нарастающих пластических деформаций в объеме деформируемого тела. Это совместно с особенностями теоретического изучения процессов ОМД делает весьма сложной задачу определения сил трения при пластической деформации. Ее решение должно базироваться на фундаментальных достижениях науки о трении твердых тел и результатах изучения специфических особенностей трения при обработке давлением. Последнее в значительной мере зависит от уровня развития экспериментальных методов исследований, позволяющих достаточно точно изучить механику контактного взаимодействия. Получаемая с их помощью опытная информация должна быть достаточно полной для установления закономерностей трения [1].

1.      
Проблемы снижения контактного трения при волочении проволоки


1.1 Механизм и роль контактного трения при обработке металлов давлением


Наряду с общностью большинства явлений, происходящих при трении, контактное трение в процессах ОМД имеет ряд существенных особенностей по сравнению с трением недеформируемых тел.

Основной отличительной особенностью механизма пластического трения является то, что сила, смещающая контактный элемент деформируемого материала по поверхности инструмента, возникает, прежде всего, в результате упруго-пластического течения материала в объеме деформируемого тела. Естественно поэтому, что и величина напряжений контактного трения, являющихся реакцией на эти смещения, будет зависеть от картины напряженного и деформированного состояния материала в очаге деформации (полей деформаций, напряжений, перемещений и т.п.) - от механики процесса деформации.

Кроме того, силы контактного трения, возникающие при пластической деформации, сами оказывают определяющее влияние на характер деформации. Широко известно, что неравномерность деформации в процессах ОМД связана именно с действием сил внешнего трения.

Таким образом, контактное трение и объемная деформация материала при ОМД являются одновременно протекающими и взаимосвязанными процессами. Так, неравномерность деформации определяет крайне неравномерное распределение напряжений трения по контактной поверхности.

Связь внешнего трения с характером деформации пластически обрабатываемого материала выражается, например, в том, что с величиной деформации связана степень обновления контактной поверхности, оказывающая существенное влияние на величину напряжений трения. В результате деформаций происходят увеличение контактной поверхности и ее обновление за счет разрушений окисной пленки и выхода на поверхность ювенильных частиц металла. Поэтому обновление поверхности при пластическом трении значительнее, чем при машинном, когда оно происходит только в результате износа трущихся тел. Кроме того, в отличии от условий машинного трения, контактные скольжения в большинстве случаев пластической деформации незначительны и различны для различных точек контактной поверхности. Совместно с неравномерностью деформаций в процессах ОМД это определяет сложную зависимость напряжений трения от координат точек контактной поверхности.

Так как напряженное и деформированное состояние в процессах ОМД зависит от целого ряда факторов (формы очага деформации, угла захвата, наличия натяжения, формы инструмента и т.д.), то и эпюры напряжений контактного трения оказываются так же в сложной зависимости от этих факторов.

Установлено, что при ОМД силы трения зависят от двух групп факторов.

К первой группе относятся факторы, связанные с физико-механическим и химическим взаимодействием поверхности инструмента с деформируемым телом, с наличием различных промежуточных сред (смазка, окалина и т.д.).

Ко второй группе относятся факторы, учитывающие изменение механических свойств и характеристик напряженного и деформированного состояния тела вблизи контактной поверхности. В частности, важное значение имеют силовые и кинематические условия на контактных поверхностях. Эти факторы определяются механическими условиями деформации.

Первая группа факторов характеризует состояние трущихся поверхностей, при котором развивается трение. Эти факторы влияют на процесс трения, но не определяют окончательную величину и распределение касательных напряжений по контактной поверхности. Касательные напряжения при данном состоянии трущихся поверхностей развиваются в соответствии с напряженным состоянием материала и кинематическими условиями на контактных поверхностях, т.е. факторами второй группы, зависящими от механики процесса деформации.

Следует учитывать влияние трения и технологических смазок на качество (прежде всего чистоту поверхности) продукции, получаемой обработкой металлов давлением [1].

1.2 Виды трения в условиях пластической деформации


До настоящего времени нет единого мнения о природе и механизме внешнего трения. Однако, очевидно, что внешнее трение, возникающее между инструментом и изделием в условиях пластической деформации при высоких давлениях и температурах, имеет природу и механизм действия, несколько отличный от трения в других процессах.

Рассмотрим кратко различие режимов сухого, граничного, жидкостного трения с точки зрения их возникновения и действия на поверхность обрабатываемого изделия.

При сухом трении движущиеся относительно друг друга трущиеся поверхности не должны иметь между собой никакой инородной прослойки. В реальных условиях на поверхности тел всегда присутствуют окислы металлов, следы смазки или адсорбированные молекулы жидкости или газа. Поэтому при исследовании механизма сухого трения поверхности трущейся пары тщательно очищают от естественных покрытий. Исследование скольжения совершенно чистых металлических поверхностей относительно друг друга показало невозможность осуществления сухого трения как внешнего ввиду того, что между поверхностными атомами трущихся тел возникают силы связи, подобные силам, связывающим атомы в кристаллической решетке металлов.

Получающееся при этом «приваривание» трущихся поверхностей приводит к тому, что скольжение происходит внутри более мягкого материала, и трение из внешнего переходит во внутриметаллическое с нарушением фрикционной связи.

Внешнее трение возможно только при наличии на поверхности материала боле мягкого слоя. Следовательно, разделение трения на сухое и граничное условно.

Граничное трение предполагает наличие пленки смазочного вещества между трущимися поверхностями. При обработке металлов давлением применяют как жидкие, так и твердые смазки. Механизм действия этих смазочных веществ в условиях граничного трения различен. Для образования на поверхности трения хорошей граничной пленки жидкие смазки должны обладать поверхностно активными свойствами, т.е. способностью молекул смазки прочно адсорбироваться на поверхностных атомах металлов.

Граничная поверхность твердого тела представляет собой поле свободных валентностей или поле действия электрических сил. Силы сцепления меду молекулами жидкой смазки и атомами металла и определяют эффективность смазочного слоя, его способность разделять от непосредственного контакта трущиеся поверхности.

Граничный слой смазки состоит их нескольких молекул и характеризуется ярко выраженной ориентированной структурой и слоистым строением. Толщина его невелика и может составлять около 2·10-8 м.

Поверхностно активные жидкие смазки не только экранируют поверхности трения, но и облегчают сдвиговые деформации, обусловленные трением, в тончайшем поверхностном слое толщиной около 5·10-8 - 10-7 м, снижая предел текучести металла. Это приводит к уменьшению сил трения и выравниванию деформации металла в объеме изделий.

Эффективность применения твердых смазок определяется их адгезионными и прочностными свойствами. В этом случае понижение трения вызывается низким напряжением сдвига слоя, образованного смазкой. Хорошее экранирование поверхностей достигается наличием твердой, достаточно толстой пленки между ними, расплавление которой под действием температуры приводит к исчезновению смазочного эффекта.

Прочность граничной пленки смазки иногда является недостаточной из-за высоких напряжений (удельных давлений) и температур при волочении, чтобы полностью разделить трущиеся поверхности. Разрыв смазочной пленки ведет к местному привариванию протягиваемого металла и волочильного инструмента в точках контакта и увеличению величины сил трения.

Необходимым условием существования качественного иного режима трения - гидродинамического является давление в слое смазки, способное разделить трущиеся тела. В этих условиях смазочный слой имеет толщину в десятки тысяч молекул и поэтому не лишен реологических свойств, присущих большому объему. Толщина пленки смазки превышает высоту шероховатости тела и надежно экранирует трущиеся поверхности от контакта между собой.

Приведенная выше классификация режимов трения условна, так как в процессах обработки металлов давлением обычно имеют дело со смешанными режимами [3].

1.3 Проблемы, создаваемые контактным трением в процессе волочения


При волочении между протягиваемым изделием и инструментом возникает трение, которое проявляется в виде тангенциальных сил, приложенных к поверхности контакта. В условиях высоких удельных давлений и температур, имеющихся в очаге деформации при волочении, трение является одним из главных отрицательных факторов, затрудняющих осуществляемый процесс.

Трение, требуя дополнительные силы для его преодоления, ограничивает единичные обжатия. На преодоление сил трения даже при условии применения удовлетворительной технологической смазки затрачивается 40-50% от общей силы волочения, а в некоторых случаях потери ее возрастают даже до 80%.

Силы трения в очаге деформации вызывают износ инструмента и тем больший, чем больше их величина. Потери времени на замену износившегося инструмента на машинах многократного волочения составляют 6 % от общего машинного времени, что равноценно простою одной машины из двадцати.

Как результат действия внешнего трения температура по сечению протягиваемого изделия распределена неравномерно. Так, если средняя температура проволоки в очаге деформации достигает 250°С, то температура на поверхности контакта с волоокой составляет 700°С. Такое неравномерное распределение температур приводит к возникновению термических напряжений в протянутом материале, ухудшению условий смазывания его в волоке и т.п.

Ухудшение качества поверхности изделия, повышение обрывности металла также связаны с трением в очаге деформации. Повышая температуру, внешнее трение приводит порой к ухудшению пластических свойств материала из-за развития процессов старения, к ограничению единичных обжатий и скоростей волочения.

Вследствие плохих условий трения порой происходит налипание металла изделия на инструмент [3].

Все это вместе взятое предъявляет особые требования как к самим смазочным материалам, а также к методам их подачи в зону деформации.  Снижение коэффициента трения при волочении в производственных условиях может быть достигнуто за счет:

-       наложения вибрации на волоку;

-       применения неприводных вращающихся за счет движения проволоки роликовых волок, у которых трение скольжения частично заменяется трением качения;

-       применение волочения с противонатяжением;

-       подачи смазки в зону деформации под большим давлением;

-       нанесения на поверхность проволоки качественного подсмазочного слоя;

-       интенсивного охлаждения проволоки и инструмента.

Из сказанного видно, какое огромное влияние на процесс волочения оказывает трение, возникающее между протягиваемым изделием и инструментом [3].

2.       
Технологические особенности процесса волочения в гидродинамическом режиме трения


В настоящее время в практике обработки металлов давлением накоплен значительный опыт использования гидродинамического эффекта технологической смазки для интенсификации производства. Правда, этот опыт относится в основном к волочению проволоки, прутков и труб [2].

Как уже указано выше, для осуществления режима гидродинамического трения требуется давление в слое смазки, способное полностью разделить трущиеся поверхности.

Жидкостный режим при волочении можно получить, если подавать смазку в очаг деформации под определенным давлением [3].

Конструкции устройств для волочения в режиме гидродинамического трения представлены авторами патентов [6] (см. прил. 1) и [8] (см. прил. 3).

2.1 Устройства подачи смазки


2.1.1 Устройство фирмы AEG

Способ подачи смазки в очаг деформации был предложен в 1931 г. фирмой AEG. По этому способу масло под давлением 196 Мн/м2 подается в специальное устройство (рис.1), которое представляет собой герметизированную камеру с двумя волоками, в одной из которых производится основная деформация проволоки. Во второй волоке, установленной на входе в камеру, обжатие металла небольшое - до 10%, и она служит для предотвращения утечки смазки [3].

Устройство фирмы AEG для волочения проволоки с принудительной подачей жидкой смазки в зону деформирования

Рис. 1

2.1.2 Устройство конструкции В.Ф. Мосеева и А.А. Коростелина

В.Ф. Мосеев и А.А. Коростелин установили величину давления, под которым должна подаваться смазка, чтобы можно было осуществить волочение в режиме жидкостного трения, и зависимость давления от механических свойств материала проволоки, угла рабочей зоны волоки и коэффициента вытяжки. В результате исследования было изготовлено устройство, опробованное в производственных условиях (рис.2).

Устройство конструкции В.Ф. Мосеева и А.А. Коростелина для волочения проволоки с принудительной подачей смазки

- втулка; 2 - рабочая волока; 3 - корпус; 4 - рабочая зона для смазки; 5 - штуцер; 6 - конические вкладыши; 7 - крышка.

Рис. 2

Необходимость лучшего уплотнения между инструментом и движущейся проволокой привела к созданию конструкции волок (рис.3), обеспечивающей непосредственную подачу смазки в зону деформации. В волоке просверлена система отверстий или имеется круговая выточка на рабочем конусе. Надежность уплотнения достигается благодаря тому, что удельное давление проволоки на входе в волоку максимальное и уменьшается к выходному отверстию. Однако, трудность изготовления отверстий в твердосплавных волоках, которые и применяются в основном в волочильном производстве, не позволяет считать в настоящее время этот способ приемлемым [3].

Конструкции волок, обеспечивающих подачу смазки под давлением непосредственно в очаг деформации

Рис. 3

2.1.3  Устройство Мак Леллана и Камерона

Более простой способ создания давления на входе в волоку заключается в нагнетании смазки в очаг деформации самой проволокой. Такой способ был предложен Мак Лелланом и Камероном, которые сконструировали устройство, предназначенное для очистки жидкой смазки от металлической пыли, возникающей в процессе волочения. По их способу аппаратура включает в себя трубу и шаровую камеру, установленные перед волокой, сквозь которые проходит проволока. Благодаря силам вязкости в зазоре между трубой и движущейся проволокой создается давление, которое имеет максимальную величину перед входом проволоки в волоку. Однако большой зазор между трубой и проволокой, низкая вязкость применяемых смазок не позволили создать сравнительно большое давление на входе в очаг деформации - оно составило лишь около 1,76 бар. Ясно, что такое давление, хотя и несколько улучшает условия смазывания в зоне деформации вследствие лучшей подачи смазки в волоку, не может создать жидкостного трения и поддержать его [3].

2.1.4 Устройство Кристоферсона и Найлора

Разработка инструмента и технологии волочения проволоки в режиме гидродинамического трения с применением жидких смазок впервые была начата Кристоферсоном и Найлором. Они сконструировали устройство (рис.4), обеспечивающее нагнетание смазки в очаг деформации движущейся проволокой.

Устройство Д.Г. Кристоферсона и Х. Найлора для создания условий жидкостного трения при волочении (с применением жидкой смазки)

- проволока; 2 - запорная труба или насадка; 3 - волока; 4 - уплотнительная шайба; 5 - волокодержатель.

Рис. 4

Массовыми производственными экспериментами было установлено, что на свежей смазке волочение идет нормально, при этом стойкость сборных волок была в три - четыре раза больше стойкости обычных, а скорости волочения были повышены до максимально возможных значений. Однако после нескольких суток работы, когда смазка была загрязнена, сборные волоки закупоривались, что приводило к многочисленным обрывам проволоки.

Опыт показал, что при работе на сборных волоках необходимо менять смазку не реже чем через 2 - 3 суток, однако в условиях производства это вызывает повышенные простои волочильного стана и невыгодно из-за резкого увеличения расходов на смазку. Следовательно, для успешного внедрения нового режима на станах мокрого волочения целесообразно применить очистку в процессе работы жидких смазок.

Исследованием установлено, что при работе на свежих смазках сборные волоки позволяют повысить скорость волочения до 1400 м/мин, при этом производительность стана составляет 217 кг в смену, т.е. она вдвое выше, чем при волочении со скоростью 740 м/мин. Удельная стойкость сборных волок при производстве проволоки диаметром 0,3 мм в среднем составляет 174 кг на 0,01 мм износа, что в 4 раза выше, чем у обычных волок [2].

2.1.5 Устройство конструкции BISRA

Опыты, проведенные Британской исследовательской ассоциации черной металлургии BISRA по замене масла другими более вязкими смазками, привели исследователей к использованию мыла. Мыло, применяемое при сухом волочении без насадок, само создает промежуточный режим трения в очаге деформации между жидкостным и граничным.

Устройство конструкции BISRA для создания режима жидкостного трения, показанное на рис.5, имеет насадку, которая изготовлена из закаленной стали или снабжена твердосплавной вставкой. Для облегчения захвата порошкообразной смазки вход в насадку выполнен либо конусным с углом наклона образующей около 0,244 рад и диаметром в 3 - 4 раза больше диаметра проволоки, либо чашеобразным с радиусом 100 мм. Между насадкой и рабочей волокой имеется фигурная уплотнительная шайба для предотвращения утечки смазки.

Конструкции насадок системы BISRA

1 - насадка; 2 - твердосплавная вставка; 3 - уплотнительная шайба; 4 - твердосплавный вкладыш; 5 - обойма; 6 - контрольное отверстие; 7 - волока; 8 - уплотнительное кольцо.

Рис.5

Промышленные испытания насадок конструкции BISRA показали повышение с ними стойкости рабочих волок от 3 до 20 раз. При этом в отдельных случаях было достаточно установить насадку на первый блок машины многократного волочения, чтобы заметно повысить стойкость волок по всему маршруту [4].

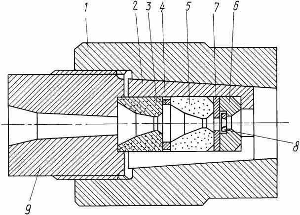
2.2     Сборные волоки


Cборная волока - волока, у которой в качестве напорной трубки применяются изношенные твердосплавные вкладыши.

Сборная волока (рис.6) состоит из рабочего твердосплавного вкладыша и твердосплавного же напорного вкладыша, свободно вставляемых в стальную коническую зажимную втулку, разрезанную по образующей. Втулка с волоками помещена в коническое отверстие стальной обоймы - корпуса и плотно впрессована в нее вначале на ручном прессе, а затем накидной гайкой с помощью гаечного ключа. При этом предварительное напряжение волок получается вполне достаточным для обеспечения их нормальной работы. Твердосплавная напорная волока имеет внутренний диаметр, несколько больший, чем исходная проволока, что создает давление смазки перед рабочей волокой. Во избежание прорыва смазки между рабочей и напорной волоками имеется стальное уплотнительное кольцо. Для предупреждения скалывания кромок напорного твердосплавного вкладыша при сильном зажатии гайкой служит нажимная шайба.

Сборная волока

Рис. 6

Корпус, крышки и зажимные втулки сборных волок должны быть изготовлены из материала, обладающего по возможности высоким пределом упругости, хорошей теплопроводностью и достаточной коррозионной стойкостью. Для изготовления деталей сборных волок можно использовать стали марок У7, У8, У9, 33ХН3МА.

Между твердосплавными вкладышами в процессе работы сборных волок иногда развивается очень высокое давление смазки, соизмеримое с пределом текучести протягиваемого материала. Такое высокое давление, действующее на твердосплавные вкладыши и другие детали сборной волоки, требуют достаточно высокой прочности и точности их изготовления. Малейшие отклонения от установленных технологических норм изготовления деталей вызывают их поломку или деформацию.

Уплотнительные шайбы между напорным и рабочим твердосплавными вкладышами можно изготовлять плоскими из сталей марок Ст0 или 10. Практика работы показывает, что при достаточном усилии запрессовки зажимной втулки с твердосплавными вкладышами в корпус сборной волоки и сильном зажатии крышки плоские шайбы из мягкой стали обеспечивают надежное уплотнение и исключают прорыв смазки.

Верхнюю шайбу, предназначенную для предохранения от скалывания кромок напорного твердосплавного вкладыша при сильном зажатии крышкой, можно изготовлять из сталей марки Ст3 или Ст5 с последующей термической обработкой.

В качестве напорных вкладышей, как правило, используют изношенные твердосплавные рабочие вкладыши.

Перед сборкой все детали сборной волоки (твердосплавные напорные и рабочие вкладыши, зажимные конусы, корпуса, крышки и шайбы) должны быть тщательно очищены от остатков смазки и др., в противном случае не будет достигнуто уплотнение, и в процессе работы не обеспечится необходимое давление смазки.

Одним из преимуществ сборных волок является возможность их применения на большинстве действующих проволочных станов без каких-либо конструктивных изменений мельниц и держателей волок в них. Сборные волоки внешне отличаются от обычных волок только размерами, имея несколько больший диаметр и высоту. Работа со сборными волоками практически не отличается от работы с обычными волоками [3].

Одна из конструкций сборных волок с гидродинамической подачей смазки представлена авторами патента [7] (см. прил. 2).

2.3    
Волочение с высокими скоростями и обжатиями


В метизной промышленности резкое повышение производительности волочильных станов может быть достигнуто при увеличении скоростей волочения и обжатий.

При граничном режиме трения увеличение скоростей приводит к чрезмерному разогреву инструмента и изделия и значительному увеличению износа вволок. В результате этого рост скоростей волочения замедлился. Возникший тепловой барьер являлся серьезным препятствием на пути создания новых высокоскоростных волочильных станов.

Некоторое повышение скоростей волочения и обжатий было достигнуто только при условии резкого снижения сил внешнего трения в результате гидродинамической подачи смазки в очаг деформации.

Повышение стойкости волок и уменьшение числа обрывов проволоки при волочении с гидродинамической смазкой позволили повысить скорости волочения и производительность.

Для увеличения выпуска готовой продукции во ВНИИметмаше были разработаны высокоскоростные волочильные станы для изготовления проволоки из углеродистой стальной катанки.

Конструкция высокоскоростных волочильных станов прямоточного типа давало возможность осуществлять волочение на скоростях до 1200 м/мин. Однако волочение с такими скоростями на обычных волоках в условиях граничного трения протекало весьма неустойчиво, а производительность этих станов из-за многочисленных обрывов проволоки оказалась ниже, чем волочильных станов петлевого или магазинного типа, предназначенных для волочения проволоки тех же сталей.

После того как на высокоскоростных волочильных станах начали применять технологию волочения в режиме гидродинамического трения, положение изменилось: скорость волочильного инструмента увеличилась в среднем по станам в 6 раз и составила на последнем проходе 1,9 т на 0,01 мм износа, количество замен волок в среднем по волочильному стану уменьшилось в 4 раза, благодаря чему машинное время увеличилось в среднем на 30 мин в смену, скорость волочения устойчиво доведена до 1000 м/мин, среднесменная производительность волочильных станов повысилась на 34%.

Опыт эксплуатации этих станов показывает, что с точки зрения скоростей волочения, простоты перехода от волоки к волоке, техники безопасности, отсутствия накопления проволоки, более надежной и простой механической части прямоточные станы являются самыми прогрессивными конструкциями.

На прямоточных станах грубо-среднего волочения применяют скорости до 1400 м/мин - таких скоростей не удалось достигнуть на волочильных станах других типов. Система управления прямоточными станами позволяет регулировать скорость и диапазоны обжатий в очень широких пределах, т.е. станы могут быть настроены практически на любой режим волочения. Производительность этих станов превышает производительность машин аналогичного назначения в 1,5 - 2 раза.

Кроме скорости волочения, на производительность волочильных станов в значительной степени влияет величина единичных обжатий.

Величина единичных обжатий зависит от предела прочности материала и допустимой температуры разогрева всего сечения проволоки. В рациональном маршруте волочения величина единичных обжатий постепенно снижается, что связано с увеличением предела прочности металла проволоки вследствие наклепа. Применение относительно небольших единичных обжатий приводит к снижению производительности волочильных станов из-за увеличения числа протяжек и, кроме того, к снижению пластических свойств проволоки из-за дополнительного нагрева ее внешних слоев.

Опыт работы показывает, что при волочении проволоки в режиме гидродинамического трения единичные обжатия могут быть значительно повышены в результате снижения усилия и уменьшения нагрева проволоки [2].

При волочении указанных выше сплавов цветных металлов скорости волочения более низкие и порой не превышают 5 - 8,3 м/сек при диаметре проволоки 1,4 - 2 мм. Основной причиной сравнительно низких скоростей волочения является большой износ волок.

Тепло, возникающее в процессе волочения, является результатом внешнего и внутреннего трения. При волочении проволоки из низкоуглеродистой стали почти вся механическая работа преобразуется в тепло, а при волочении проволоки из среднеуглеродистой стали (с содержанием углерода около 0,6%) около 10% механической работы переходит во внутреннюю энергию. Поэтому при волочении проволоки из среднеуглеродистой стали количество тепла, возникающего в очаге деформации, несколько меньше.

В результате внешнего трения температура поверхностных слоев проволоки, особенно при больших скоростях волочения, значительно выше температуры средних слоев, которая определяется работой деформации. Тепло внешнего трения составляет в среднем около 35% всего тела.

Большой разогрев поверхности, особенно из средне- и высокоуглеродистых сталей, приводит при некоторых условиях к образованию участков мартенсита, которые ухудшают качество готовой продукции. Так, в процессе эксплуатации канатов хрупкие участки на поверхности проволоки выкрашиваются, что приводит к сокращению срока службы канатов. По выходе проволоки из очага деформации температура внешних и внутренних слоев проволоки быстро выравнивается, при этом скорость охлаждения ее внешних слоев превышает минимальную критическую скорость, необходимую для образования мартенсита.

Для получения материала, характеризующегося высокой пластичностью, средняя температура при волочении не должна превышать 250 - 270°С. При средней температуре проволоки более 350°С процесс волочения становится неустойчивым из-за снижения предела текучести материала. Усиленное охлаждение волок не снимает существенно температуру контактных поверхностей в очаге деформации. При современных скоростях волочения волоки поглощают от 1 до 5% всего тепла, выделяющегося при волочении.

Следовательно, результатом внешнего трения при волочении является ухудшение качества протягиваемых изделий и снижение стойкости волочильного инструмента.

При низкой стойкости волочильного инструмента повышение скоростей волочения становится малоэффективным в связи с возрастанием простоев оборудования из-за частой смены волок. Результатом этого является ведение процесса волочения на скоростях, значительно менее максимальных и недоиспользование технических возможностей волочильных станов.

Созданы высокоскоростные прямоточные волочильные станы, позволяющие вести волочение на высоких скоростях. На прямоточном волочильном стане 6-7/350 возможно волочение проволоки со скоростью до 38 м/сек при суммарном обжатии 92%. При более высоких скоростях снижение стойкости волок можно предотвратить введением конструктивно простых нагнетающих приспособлений, улучшающих захват смазки, или улучшением подготовки металла к волочению.

Кардинальным решением вопроса значительного повышения скоростей волочения и, как результат этого, производительности волочильных станов является внедрение жидкостного трения при волочении проволоки, обеспечивающего уменьшение коэффициента внешнего трения в десятки раз. При волочении в режиме жидкостного трения снижается механическая работа, затрачиваемая на преодоление сил внешнего трения, разогрев инструмента вследствие чего повышается его стойкость и улучшается качество протягиваемой проволоки [3].

3.2     Ужесточение маршрутов волочения


Кроме скорости волочения, производительность волочильных машин в значительной степени зависит от величины обжатия. При волочении проволоки величина единичного обжатия за проход определяется прочностью и пластичностью проволоки. Пластичность металла, как известно, зависит от нагрева проволоки при волочении. Средняя температура проволоки после волочения не зависит от скорости волочения или ее диаметра, а определяется только временным сопротивлением материала, величиной единичного обжатия и температурой изделия до протяжки. Волочение проволоки с высоким временным сопротивлением при больших единичных обжатиях даже на низких скоростях волочения невозможно. Высокая пластичность металла при холодном волочении может быть достигнута лишь в том случае, когда средняя температура при волочении не превышает 250 - 270°С. Ввиду этого в действующих маршрутах волочения стальной проволоки большей частью предусматриваются такие единичные обжатия, при которых температура нагрева металла не достигает температуры искусственного старения. На контактных поверхностях температура нагрева металла ограничивается в основном температурой фазовых превращений в его поверхностных слоях и температурой красностойкости твердосплавных волок в случае, если образование участков мартенсита не противопоказано.

Значительное уменьшение усилия волочения, температуры контактных поверхностей, а так же средней температуры нагрева проволоки в процессе волочения может быть достигнуто уменьшением внешнего трения. Следовательно, волочение в режиме жидкостного терния создает возможность ужесточения маршрутов волочения.

Опыты по проверке возможности ужесточения маршрутов волочения были проведены на машине шестикратного волочения прямоточного типа ГСВА 5-6/560 при волочении проволоки из низкоуглеродистой стали с диаметра 6,5 мм до диаметра 1,6 мм. По действующей технологии волочение проволоки диаметра 1,6 мм производится на двух машинах. Маршрут первого стана 6,5 - 5,05 - 4,13 - 3,45 мм, а второго 3,5 - 2,92 - 2,44 - 2,06 - 1,77 - 1,55 мм. При опытном волочении проволоку диаметром 1,6 мм протягивали на одной машине шестикратного волочения по маршруту 6,5 - 5,05 - 3,76 - 2,93 - 2,40 - 1,94 - 1,59 мм. При этом обжатия соответственно составили 39,44, 39, 32, 34 и 32%.

Для получения сопоставимых результатов волочение проволоки по ужесточенному маршруту провели через обычные и сборные волоки. В течение обоих периодов наблюдений тянули проволоку одного вида: метизную группы А и телеграфную. Подготовку поверхности катанки к волочению производили по действующей технологии. Было протянуто проволоки: на обычных волоках 18 m и на сборных волоках 89 m.

Анализ сравнительных данных показал следующее:

а) при работе на сборных волоках большое увеличение эксплуатационной стойкости рабочих твердосплавных вкладышей получается на 3, 4, 5 и 6-м проходах. Повышение стойкости рабочих твердосплавных вкладышей по износу составило по проходам соответственно 8, 8, 7 и 8 раз. Среднее повышение эксплуатационной стойкости рабочих волок по машине в 6,2 раза;

б) простои на заправку машины при работе на сборных волоках снизилась на 68% по сравнению с обычными волоками;

в) производительность машины при работе на сборных волоках на 53% выше по сравнению с работой на обычных волоках;

г) расход электроэнергии при работе на сборных волоках на 48% ниже, чем на обычных волоках [3].

3.3     Испытание технологических смазок с наполнителями


Опыт, который накоплен по волочению проволоки со смазкой под давлением с применением насадок, показывает целесообразность применения технологических смазок с возможно большей вязкостью. Подходящими в этом отношении смазками являются натриевые и кальциевые мыла в сухом порошкообразном состоянии. Одним из недостатков применяемых в настоящее время натриевых мыл является низкая температура размягчения, равная примерно 220°С. Учитывая необходимость подбора более тугоплавких смазок для волочения проволоки со смазкой под давлением и снижения затрат из-за роста расхода смазки, был испытан ряд смазок в основном на основе натриевого мыла с различными наполнителями.

Испытание опытных смазок проводили на машине двукратного волочения типа ГСВ 2/250 при волочении проволоки метизной группы А и телеграфной диаметром 4,0 мм. Волочение осуществляли через сборные волоки.

Положительные показатели имели порошкообразные смазки представляющие смесь натриевого мыла с добавкой мела, извести и чистого медицинского талька.

Первая смазка представляла собой смесь порошка натриевого мыла (70%) и чистой порошкообразной извести (30%). На этой опытной смазке протянули 92 m проволоки. При этом расход чистого мыльного порошка на тонну проволоки уменьшился в 1,47 раза, стойкость сборных волок увеличилась в среднем по стану в 1,7 раза, обрывность проволоки снизилась в два раза; среднесменная производительность стана возросла на 10%.

Вторая смазка была составлена из порошка натриевого мыла (60%) и чистого порошкообразного мела (40%). На опытной смазке протянули 85 m проволоки. Преимущества такой смазки в сравнении с чистым порошком натриевого мыла следующие: расход мыльного порошка на тонну проволоки уменьшился в 1,57 раза, стойкость сборных волок в целом по машине увеличилась в 3,3 раза, обрывность проволоки уменьшилась в 1,4 раза, среднесменная производительность машины возросла на 8%.

Третья смазка имела порошок натриевого мыла (90%) и чистый порошкообразный тальк (10%). На этой опытной смазке протянуто 127 m проволоки. Испытания показали: расход чистого мыльного порошка на тонну проволоки уменьшился в 1,22 раза, стойкость сборных волок в целом по машине повысилась в 5,3 раза, обрывность проволоки снизилась в три раза.

Лучшие показатели работы сборных волок при применении твердых порошкообразный смазок с высокотемпературными наполнителями в виде мела, талька и извести объясняются меньшим ошлакованием смазок в процессе волочения и, как результат этого, улучшением стабильности работы сборных волок. Однако все указанные опытные смазки имели общий отрицательный показатель в сравнении с обычной смазкой - повышенный расход электроэнергии на тонну проволоки [3].

3.4    
Упрощение подготовки поверхности проволоки к волочению


По действующей технологии катанку из низкоуглеродистой стали перед волочением подвергают известкованию в ванне с известковым молоком. Однако известкование поверхности имеет отрицательные стороны: ухудшаются условия труда в связи с загрязнением атмосферы известковой пылью, повышается износ оборудования вследствие падания известковой пыли в трущиеся части машин, удорожается себестоимость продукции и др. Подготовка поверхности проволоки из высокоуглеродистой и легированной стали, а так же ряда цветных металлов и сплавов отличается еще большей сложностью.

Учитывая, что процесс волочения проволоки через волоки с насадками или через сборные волоки связан с повышением толщины смазочной пленки, которая при волочении в режиме жидкостного трения должна полностью разделять трущиеся поверхности, было решено проверить возможность исключения известкования катанки перед волочением. Опыты проводили при волочении проволоки метизной группы А диаметром 1,8 мм на машине ГСВА 5-6/560 мм. Проволоку из неизвесткованной катанки тянули по действующим маршрутам волочения на обычной смазке - порошке натриевого мыла.

Исследованием установлено, что после хорошего травления, промывки и сушки катанки волочение неизвесткованной катанки через сборные волоки идет нормально. Эксплуатационная стойкость сборных волок приметно такая же, как и при волочении известкованной катанки. В том случае, когда применяемая для волочения неизвесткованная катанка имеет на поверхности не удаленную при травлении окалину, стойкость сборных волок снижается и, кроме этого, повышается обрывность проволоки и расход смазки на единицу продукции.

Примерно аналогичные результаты получены и при волочении катаной проволоки из среднеуглеродистой стали в режиме жидкостного трения. Опытами установлена возможность исключения меднения проволоки при волочении с насадками, что имеет значение для повышения коррозионной стойкости и срока службы канатов [3].

3.5     Усовершенствование сборных волок


Практика работы со сборными волоками показала, что для обеспечения нормальной работы зазор между напорным твердосплавным вкладышем и входящей в волоку проволокой должен находится в узких пределах 0,02 - 0,08 мм. Сравнительно короткие напорные вкладыши и конический профиль канала не позволяют создать в ряде случаев (волочение прочных металлов) давление смазки, достаточное для продавливания ее между поверхностью рабочего вкладыша и проволокой.

Дальнейшего улучшения показателей работы сборных волок можно достигнуть путем применения твердосплавный напорных трубок вместо твердосплавных напорных вкладышей. Конструкция сборных волок с напорными твердосплавными трубками (рис.7) отличается длиной напорной волоки и внешними размерами. Для исследования эффективности напорных цилиндрических трубок были изготовлены твердосплавные вкладыши диаметром 16 мм и длиной 25 мм. Перед установкой в сборную волоку они были прошлифованы по наружному диаметру на диаметр 15,75 мм с допуском ±0,02. Обработку цилиндрического канала напорной твердосплавной трубки осуществляли абразивным способом в фильерной мастерской. Цилиндрическая часть канала напорной трубки была равна примерно 15 мм, остальную часть длины составляла входная зона, конфигурация которой была аналогична входной зоне рабочих твердосплавных вкладышей группы Д5.

Сборная волока с напорной трубкой

- сборная волока; 2 - держатель волоки; 3 - мыльница.

Рис. 7

Порядок эксплуатации сборных волок с напорными цилиндрическими трубками такой же, как и обычных волок.

Данные экспериментов показывают, что стойкость сборных волок с напорными цилиндрическими трубками примерно в 2 - 3 раза больше стойкости обычных сборных волок, в которых в качестве напорных трубок служат изношенные волоки. При этом износ напорных твердосплавных цилиндрических трубок был значительно меньше износа напорных вкладышей.

При волочении проволоки большое значение имеет перемешивание порошковой смазки и непрерывная подача ее к волоке. Применяемый в настоящее время на машинах сухого волочения инструмент не предусматривает автоматического смешивания смазки в процессе волочения. Ввиду этого при прохождении проволоки через мыльницу в смазке образуется воронка, происходит спекание ее стенок, что препятствует поступлению новых порций смазки в волоку. Это повышает обрывность проволоки и износ волок. Создаются большие трудности в повышении скоростей волочения и не обеспечивается стабильность работы насадок при волочении в режиме жидкостного трения.

В последнее время предложены механизмы для автоматического перемешивания порошковой смазки в процессе волочения. Внедрение в производство устройств автоматического перемешивания смазки и равномерной подачи ее к волоке позволят повысить стойкость и стабильность работы волочильного инструмента.

Для волочения проволоки со смазкой под давлением применяют стандартные твердосплавные вкладыши с ровными торцовыми поверхностями. При такой конфигурации вкладышей имеются трудности в достижении надежного уплотнения между насадкой и рабочей волокой, особенно при больших давлениях смазки, достигающих нескольких тысяч атмосфер. Применяемые в насадках уплотнения при помощи фасонных и плоских шайб еще не совсем надежны в эксплуатации ввиду того, что при длительной работе насадок из-за переменных температурных и силовых воздействий происходит ослабление уплотнения, что иногда приводит к прорыву смазки между волокой и насадкой. В результате режим жидкостного трения при волочении не обеспечивается и эффективность работы насадок снижается.

Для возможности применения лабиринтного уплотнения в сборных волоках была разработана новая форма твердосплавного вкладыша (рис.8), которая отличается наличием кольцевых канавок на торцах. При работе с такими вкладышами применяют плоские уплотнительные шайбы из мягкого металла. При запрессовке деталей сборной волоки уплотнительная шайба деформируется и заполняет кольцевые канавки в твердосплавных вкладышах, образуя лабиринтное уплотнение. Твердосплавные заготовки новой конструкции применимы также для изготовления обычных волок, так как кольцевые канавки на торцах почти не понижают их прочности.

Форма твердосплавного вкладыша

- напорная волока с рельефными торцами; 2 - рабочая волока с рельефными торцами; 3 - лабиринтное уплотнение.

Рис.8

Опыты подтвердили известные данные о том, что лабиринтное уплотнение работает более надежно.

При длительной эксплуатации сборных волок прорыва смазки между рабочим и напорным твердосплавными вкладышами не наблюдалось [3].

3.6     Использование ЭВМ


Современные машины волочения для производства проволоки оснащаются информационно-контрольным блоком на базе ПК. В процессе работы на дисплей непрерывно выводится информация о технологическом маршруте, скорости обработки, нагрузках на двигатели, расходуемой мощности, объемах производства проволоки (в метрах или единицах массы) за любой отрезок времени, о неисправностях отдельных узлов и механизмов. С помощью ЭВМ накапливается и обрабатывается оперативная информация о работе машины и ходе технологического процесса, проводится анализ отказов оборудования, причин остановки и простоя, нормального хода процесса. Однако при помощи ПК можно не только собирать, обрабатывать и выдавать информацию пользователю. Наибольший эффект возможен при использовании его в качестве управляющего органа машины, способного обеспечить ведение процесса производства проволоки в оптимальном режиме при учете всех факторов, влияющих на ход процесса [5].

контактный трение волочение гидродинамический

ЗАКЛЮЧЕНИЕ


Волочению в режиме гидродинамического трения подвергается проволока из углеродистой и легированной стали, из цветных металлов и сплавов, катанка с поверхностью, механически очищенной от окалины.

В некоторых случаях можно отказаться от нанесения технологических подсмазочных слоев, а также получить эксплуатационные покрытия увеличенной толщины и более равномерные по длине бухты.

Данный способ волочения может быть приспособлен к использованию любой смазки. Предпочтение отдается дешевым и легко удаляемым смазкам. Исследования показали, что при волочении толщина пленки смазки на проволоке возрастает сравнительно немного, и это небольшое утолщение смазочной пленки имеет значительные преимущества.

Внедрение такой технологии волочения дало следующие результаты: увеличение производительности волочильных станов без их реконструкции достигло 30 %; износостойкость инструмента - волок возросла в три-четыре раза; расход электроэнергии на волочение уменьшился на 11-20%; единичные обжатия металла повысились до 40-45%. Из-за меньшей обрывности проволоки при волочении и сокращении промежуточных термообработок удельный расход металла снизился на несколько килограммов на 1 т продукции. Упростился, а в некоторых случаях совершенно не производится подготовка поверхности изделий перед волочением. Улучшилось качество изделий [2].

БИБЛИОГРАФИЧЕСКИЙ СПИСОК


1.       Контактное трение в процессах обработки металлов давлением. А.Н. Леванов, В.Л. Колмогоров, С.П. Буркин и др. М.: Металлургия, 1976. 416 с.

.        Колмогоров В.Л., Орлов С.И., Колмогоров Г.Л. Гидродинамическая подача смазки. М.: Металлургия, 1975. 256 с.

.        Колмогоров В.Л., Орлов С.И., Селищев К.П. Волочение в режиме жидкостного трения. М.: Металлургия, 1967. 154 с.

.        Колмогоров Г.Л. Гидродинамическая смазка при обработке металлов давлением. М.: Металлургия, 1986. 168 с.

.        Битков В.В. Моделирование волочения проволоки с противонатяжением/Сталь, 1996. №11. С. 50 - 54.

.        Патент РФ №2011449. Инструмент для волочения изделий в режиме гидродинамического трения. МПК В21С3/14/ Заяв. 4917603/27 от 11.03.1991. Соколов И.А., Орлов С.И., Попов В.Г и др./ Патентообладатель АО "Научно-экспериментальное предприятие "Уральский научно-исследовательский институт черных металлов"/Опубл. 30.04.1994.

.        Патент РФ №2038882. Сборная волока с гидродинамической подачей смазки. МПК В21С3/14/ Заяв. 5016084/02 от 03.07.1991. Каменев Н.М., Митликин М.Д., Белолипецкий В.И. и др./ Патентообладатель Институт сверхтвердых материалов им. В.Н. Бакуля АН Украины /Опубл. 09.07.1995.

.        Патент РФ №2030942. Инструмент для волочения в режиме гидродинамического трения. МПК В21С3/14/ Заяв. 4904291/02 от 22.01.1992. Березуев А.И., Алексеев Ю.Г., Фетисов В.П. / Патентообладатель АО "ОСПАЗ"/ Опубл. 20.03.1995.

ПРИЛОЖЕНИЯ

Приложение 1

Патент РФ №2011449. Инструмент для волочения изделий в режиме гидродинамического трения






РОССИЙСКАЯ ФЕДЕРАЦИЯ  ФЕДЕРАЛЬНАЯ СЛУЖБА ПО ИНТЕЛЛЕКТУАЛЬНОЙ СОБСТВЕННОСТИ, ПАТЕНТАМ И ТОВАРНЫМ ЗНАКАМ  RU  2011449  C1    МПК B21C3/14  ОПИСАНИЕ ИЗОБРЕТЕНИЯ К ПАТЕНТУ    



Заявка: 4917603/27, 11.03.1991 Опубликовано: 30.04.1994 Заявитель(и): Уральский научно-исследовательский институт черных металлов Автор(ы): Соколов И.А., Орлов С.И., Попов В.Г., Покачко Н.В., Кирицев Б.Н., Трубинов А.Д., Носков Е.П. Патентообладатель(и): Акционерное общество "Научно-экспериментальное предприятие "Уральский научно-исследовательский институт черных металлов"  ИНСТРУМЕНТ ДЛЯ ВОЛОЧЕНИЯ ИЗДЕЛИЙ В РЕЖИМЕ ГИДРОДИНАМИЧЕСКОГО ТРЕНИЯ Реферат: Сущность: в корпусе установлена конусная разрезная втулка, в которой размещены напорная и рабочая волоки. Во втулке выполнены две глухие прорези, встречно направленные друг к другу с перекрытием, открытые к противоположным торцам втулки. Длины прорезей от торцов втулки равны соответственно 0,2 - 0,9 и 0,9 - 0,2 длины рабочей волоки, а расстояние между прорезями определяется из приведенной в формуле зависимости. 2 ил, 1 табл.  Изобретение относится к обработке металлов давлением, в частности к волочению проволоки, прутков, труб и фасонных профилей. Известен технологический инструмент для волочения изделий в режиме гидродинамического трения [1] , содержащий корпус, установленную в нем зажимную конусную втулку с двумя встречно-направленными друг к другу с перекрытием глухими прорезями, открытыми к противоположным торцам втулки, размещенные во втулке напорную и рабочую волоки и зажимную гайку. Недостатком этого инструмента является отсутствие конкретных данных по расположению прорезей в конусной зажимной втулке относительно рабочей волоки, их длины, расстояния между прорезями в зависимости от предела прочности материала зажимной конусной втулки. Кроме этого, выполнение прорези в зажимной конусной втулке, открытой навстречу хода заготовки, с "недоходом до торца втулки", когда она перекрывает рабочую волоку, не дает положительного эффекта в производственных условиях. Ввиду этого использование предложенного инструмента может привести к повышению расхода волок и технологической смазки, так как при завышенном расстоянии между глухими прорезями или недостаточном их перекрытии невозможно радиальное сжатие рабочей волоки в корпусе, при этом наряду с повышенным расколом волок происходит выход технологической смазки между волокой и зажимной втулкой, а при величине прорези, открытой навстречу хода заготовки более длины рабочей волоки, технологическая смазка, находящаяся перед рабочей волокой под давлением, будет выходить из инструмента. Цель изобретения - повышение стойкости рабочей волоки и снижение расхода технологической смазки. Это достигается тем, что в известном инструменте, включающем корпус, установленную в нем конусную разрезную втулку с двумя глухими прорезями, встречно направленными друг к другу с перекрытием, открытыми к противоположным торцам втулки, размещенные во втулке напорную и рабочую волоки и зажимную гайку, согласно изобретению длины прорезей втулки в зоне рабочей волоки от торцов этой волоки равны соответственно 0,2-0,9 и 0,9-0,2 длины рабочей волоки, а расстояние между прорезями, равно  d= 8,3 b L/ , где b - величина перекрытия прорезей, мм; L - длина рабочей волоки, мм; в - предел прочности материала втулки, кг/мм2; h - толщина зажимной втулки, мм. Повышение стойкости рабочих волок и снижение расхода технологической смазки в предложенном инструменте достигается за счет гарантированного радиального сжатия рабочей волоки в корпусе и исключения выхода технологической смазки через неплотности между рабочей волокой и зажимной конусной втулкой или через ее прорезь. В результате перед очагом деформации создается стабильное более высокое давление смазки, которая обеспечивает гидродинамическое трение при волочении изделий. Экспериментально установлено, что при величине перекрытия двух противоположно направленных прорезей менее 0,1 длины рабочей волоки растет раскол рабочих волок. По этой причине длина прорезей ограничивается в пределах 0,2-0,9 длины рабочей волоки. Минимальное расстояние каждой из прорезей от торцов рабочей волоки 0,1 ее длины. При меньшем расстоянии происходит прорыв технологической смазки между поверхностями рабочей волоки и зажимной втулки. На фиг. 1 представлено предлагаемое устройство; на фиг. 2 - зажимная втулка с продольными несквозными прорезями. Предлагаемый инструмент состоит из твердосплавной рабочей волоки 1, напорной волоки (втулки) 2 и уплотнительной шайбы 3 между ними, размещенных в зажимной конусной втулке 4, запрессованной в корпус 5 и зажатой накидной гайкой 6. Внутренние поверхности напорной волоки, уплотнительной шайбы и рабочей волоки образуют камеру, в которой помещается технологическая смазка. Эквивалентом является решение, когда в зажимной конусной втулке с прорезями установлена одна рабочая волока, а напорная втулка (напорный элемент) находится в корпусе перед рабочей волокой в свободном состоянии и не сжимается втулкой. Устройство работает следующим образом. Заготовка для волочения движется через напорную волоку (втулку) к рабочей волоке 1. Смазка, применяемая при волочении, вносится заготовкой и нагнетается перед рабочей волокой, создавая высокое давление смазки, которое создает напряжения в деталях волоки, включая конусную зажимную втулку. Дополнительные напряжения создаются действующими при волочении термическими и динамическими нагрузками. В предложенной конструкции выход технологической смазки из зажимной конусной втулки исключен благодаря оптимально выбранным параметрам втулки. Экспериментальные исследования предложенного инструмента были проведены при волочении проволоки из стали марки 75 с диаметром 5,0х4,3 мм с единичными обжатиями 25% на стане Грюна 2/560. Для сравнения в одинаковых условиях провели волочение той же проволоки через инструмент - прототип, в котором в зажимной конусной втулке была выполнена пара встречно-направленных друг к другу глухих прорезей, открытых к противоположным торцам втулки. При этом прорезь, открытая навстречу ходу заготовки, не доходила до торца зажимной конусной втулки со стороны входа заготовки на 5 мм. Зазор по диаметру между напорной волокой и входящей в нее заготовкой в обоих случаях был равен 0,05 мм. В качестве смазки применяли сухой порошок натриевого мыла. Скорость волочения 300 м/мин. Результаты наблюдений приведены в таблице. В предложенном инструменте технологическая смазка не выходила через глухую прорезь в зажимной конусной втулке, открытую навстречу ходу заготовки. При волочении через устройство-прототип смазка выжималась из волоки через прорезь в зажимной конусной втулке в среднем по 15 г/т протянутой проволоки. Она скапливалась возле мыльницы и частично падала на пол, распыляясь, загрязняя волочильный стан и окружающее пространство. Поверхность проволоки, протянутой через предложенный инструмент, матового цвета без бликов, что свидетельствует о полном разделении трущихся поверхностей слоем смазки, т. е. гидродинамическом режиме трения. Использование предложенного инструмента позволяет повысить его стойкость, уменьшить потери смазки и улучшить экологию процесса волочения, а также исключить затраты рабочего времени на уборку смазки со станов в волочильном отделении.  Формула изобретения ИНСТРУМЕНТ ДЛЯ ВОЛОЧЕНИЯ ИЗДЕЛИЙ В РЕЖИМЕ ГИДРОДИНАМИЧЕСКОГО ТРЕНИЯ, содержащий корпус, установленную в нем конусную разрезную втулку с двумя глухими прорезями, встречно направленными одна к другой с перекрытием и открытыми к противоположным торцам втулки, размещенные во втулке напорную и рабочую волоки и зажимную гайку, отличающийся тем, что, с целью повышения стойкости рабочей волоки и снижения расхода технологической смазки, длины прорезей втулки в зоне рабочей волоки от торцов волоки равны соответственно 0,2 - 0,9 и 0,9 - 0,2 длины L рабочей волоки, а расстояние d между прорезями равно d = 8.3b2/, где b - величина перекрытия прорезей, мм; в - предел прочности материала втулки, кг/мм2; h - толщина втулки, мм.      



Приложение 2

 

Патент РФ №2038882. Сборная волока с гидродинамической подачей смазки





РОССИЙСКАЯ ФЕДЕРАЦИЯ  ФЕДЕРАЛЬНАЯ СЛУЖБА ПО ИНТЕЛЛЕКТУАЛЬНОЙ СОБСТВЕННОСТИ, ПАТЕНТАМ И ТОВАРНЫМ ЗНАКАМ  RU  2038882  C1    МПК 6 B21C3/14  ОПИСАНИЕ ИЗОБРЕТЕНИЯ К ПАТЕНТУ 



Заявка: 5016084/02, 03.07.1991 Опубликовано: 09.07.1995 Список документов, цитированных в отчете о поиске: Колмогоров В.Л. и др. Гидродинамическая подача смазки, М.: Металлургия, 1973, с.20, рис.6. Заявитель(и): Институт сверхтвердых материалов им.В.Н.Бакуля АН Украины (UA) Автор(ы): Каменев Николай Михайлович[UA], Митликин Михаил Дмитриевич[UA], Белолипецкий Василий Иванович[RU], Ведерников Виктор Иванович[RU] Патентообладатель(и): Институт сверхтвердых материалов им.В.Н.Бакуля АН Украины (UA)  СБОРНАЯ ВОЛОКА С ГИДРОДИНАМИЧЕСКОЙ ПОДАЧЕЙ СМАЗКИ Реферат: Изобретение относится к конструкциям инструментов, применяемых в метизном производстве для волочения проволоки, и может быть использовано при гидродинамическом волочении высокопрочной проволоки, например, канатной. Сущность изобретения: рабочая и напорная волоки, уплотнительная прокладка установлены в разрезной втулке, запрессованной в корпусе. Между днищем втулки и через уплотнительную прокладку торцем рабочей волоки установлен кольцевой элемент со ступенчатой внутренней поверхностью. В первой по ходу волочения ступени полости свободно размещено упругое кольцо. 1 ил.  Изобретение относится к конструкциям инструментов, применяемых в метизном производстве для волочения проволоки, и может быть использовано при гидродинамическом волочении высокопрочной проволоки, например канатной. Применяемые в настоящее время конструкции сборных волок не обеспечивают надежного закрепления рабочей волоки, что является причиной преждевременного разрушения последней. Наиболее близким аналогом по технической сущности к изобретению является сборная волока для волочения с гидродинамическим вводом смазки, включающая рабочую и напорную волоки с уплотнительной прокладкой между ними, размещенные в разрезной втулке, запрессованной в корпусе, и зажимной резьбовой элемент. Причиной разрушения являются высокие напряжения, возникающие в зоне концентратора кольцевой границе свободной и опирающейся на днище втулки частей выходного торца. Разрушению сколом благоприятствует также и то, что область между выходной зоной и свободной частью торца находится в условиях трехосного растяжения. Технической задачей является увеличение долговечности за счет снижения напряжений в области выходной зоны и торца рабочей волоки. Поставленная задача решается тем, что в сборной волоке для волочения с гидродинамической подачей смазки, включающей рабочую и напорную волоки с уплотнительной прокладкой между ними, размещенные в разрезной втулке, запрессованной в корпус, и поджатые резьбовой пробкой, между дном разрезной конусной втулки и через уплотнительную прокладку задним торцом рабочей волоки установлен кольцевой элемент со ступенчатой внутренней поверхностью, а в первой по ходу волочения ступени полости свободно размещено упругое кольцо. На чертеже изображена сборная волока. Сборная волока состоит из корпуса 1, запрессованной в него разрезной конусной втулки 2, в которой предварительно установлены напорная волока 3 и контактирующая с ней через уплотнительную прокладку 4 рабочая волока 5, опирающаяся выходным торцом на кольцевой элемент 6 через уплотнительную прокладку 7. Кольцевой элемент 6 выполнен со ступенчатой внутренней поверхностью. В первой по ходу волочения ступени полости свободно размещено упругое кольцо 8. Волоки поджаты резьбовым элементом 9. В изобретении, учитывая, что прочность твердого сплава при сжатии в 4-7 раз выше, чем при растяжении, конструктивно обеспечены такие условия подкрепления рабочей волоки, при которых ее напряженное состояние близко к трехосному. Для этого при полном опирании выходного торца рабочей волоки 5 на торец элемента 6 предусмотрено также создание противодавления смазки на поверхность выходной зоны волочительного канала. Отжим смазки с поверхности протягиваемой проволоки осуществляется с помощью упругого кольца 8, внутренний диаметр которого в недеформированном состоянии меньше диаметра проволоки после волочения. Протягиваемая в процессе волочения проволока деформирует кольцо 8. При этом его внутренний диаметр становится равным, если пренебречь незначительным упругим последствием проволоки на выходе из калибрующей зоны, диаметру последней. Для полного опирания выходного торца рабочей волоки диаметр гнезда в элементе 6, предназначенного для установки кольца 8, не должен превышать наибольшего диаметра выходной зоны канала. Вследствие этого наружный диаметр кольца 8, деформированного проволокой, должен быть меньшим диаметра выходной зоны канала. Предельная величина противодавления смазки в выходной зоне канала рабочей волоки 5 ограничивается контактным давлением, возникающим при деформировании кольца 8 проволокой. Если противодавление смазки превысит значение контактного давления, то в результате дополнительной деформации кольца 8 происходят разгерметизация упомянутой ранее замкнутой полости и сброс избыточного давления. Упругое кольцо 8 свободно установлено в гнезде кольцевого элемента 6 и при волочении прижимается к основанию гнезда за счет силы трения на внутренней поверхности кольца 8, контактирующего с проволокой. С целью предотвращения выпадению кольца 8 из гнезда и облегчения заправки проволоки перед волочением внутренний диаметр уплотнительной прокладки 7 выполнен меньшим наружного диаметра недеформи- рованного упругого кольца. Применение предлагаемого сборного инструмента позволяет предотвратить разрушение твердосплавных волок и экономить ежегодно 2,1-3,5 дефицитного вольфрамо-кобальтового сплава.  Формула изобретения СБОРНАЯ ВОЛОКА С ГИДРОДИНАМИЧЕСКОЙ ПОДАЧЕЙ СМАЗКИ, содержащая корпус, установленную в корпусе разрезную конусную втулку, размещенные в ней напорную и рабочую волоки, разделенные уплотнительной прокладкой, и зажимной элемент, отличающаяся тем, что она снабжена кольцевым элементом со сквозной ступенчатой внутренней полостью, размещенным между дном разрезной конусной втулки и через уплотнительную прокладку задним торцом рабочей волоки, и упругим кольцом, свободно размещенным в первой по ходу волочения ступени полости кольцевого элемента.   



Приложение 3

 

Патент РФ №2030942. Инструмент для волочения в режиме гидродинамического трения





РОССИЙСКАЯ ФЕДЕРАЦИЯ  ФЕДЕРАЛЬНАЯ СЛУЖБА ПО ИНТЕЛЛЕКТУАЛЬНОЙ СОБСТВЕННОСТИ, ПАТЕНТАМ И ТОВАРНЫМ ЗНАКАМ  RU  2030942  C1     МПК 6 B21C3/14  ОПИСАНИЕ ИЗОБРЕТЕНИЯ К ПАТЕНТУ    



Похожие работы на - Технологические аспекты промышленного внедрения волочения стальной проволоки в гидродинамическом режиме трения

 

Не нашли материал для своей работы?
Поможем написать уникальную работу
Без плагиата!
Без нейросетей!