|
Материал режущего
инструмента
|
|
Обрабатываемый материал
|
|
|
Сталь
|
Чугун
|
|
|
σв<800
|
σвV800
|
|
|
Твердый сплав
|
с
|
+0,25
|
-5,0
|
+25.104
|
|
х
|
-8,0
|
+8,0
|
2,0
|
|
Быстрорежущая сталь
|
с
|
+11,0
|
+6,5.103
|
|
х
|
-1,0
|
1,2
|
Пусть, например, обрабатывается заготовка из стали sb= 1000 МПа при толщине среза а=0,5
мм. Тогда твердосплавному инструменту следует придать передний угол g=-50, задний »a90, а быстрорежущему g=+110 и »a90. Для чугуна НВ=200 получаем
соответственно g=+60;
»a70 и g=+110; »a70.
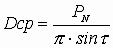
.2.5 СООТНОШЕНИЯ МЕЖДУ УГЛАМИ РЕЖУЩЕГО КЛИНА, ИЗМЕРЕННЫМИ В РАЗЛИЧНЫХ
ПЛОСКОСТЯХ
При проектировании инструментов, в том числе и предназначенных для
обработки сложных поверхностей, часто требуется рассчитать значения переднего и
заднего углов не только в главной секущей, но и в других координатных
плоскостях. Для этой цели используют формулы, методику получения которых
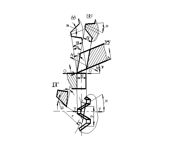
покажем на примере обычного проходного резца (рис.2).
Рис. 2
Через точку О на проекции главной режущей кромки инструмента проведем три
плоскости: главную секущую ГГ; плоскость ХХ, параллельную направлению
продольной подачи, и плоскость УУ, перпендикулярную оси заготовки. Покажем
сечения режущего клина плоскостями (Г-Г и У-У).
Рассмотрим далее какую-либо точку А, расположенную одновременно на
передней поверхности инструмента и в плоскости УУ. Ее расстояние от основной
плоскости ОО, равное А3 К3 обозначим mу. Теперь перейдем к точке В, также расположенной на передней поверхности
инструмента и одновременно в главной секущей плоскости ГГ. ее расстояние от
основной плоскости ОО, равное В1С, обозначим m (сечение Г-Г). Непосредственно из рисунка 1 видно, что m= mх+ mу,
где mх - расстояние точки В от
горизонтальной плоскости, проведенной через точку А параллельно основной
плоскости ОО (сечение Х1-Х1). В сечении Х1-Х1 проекции точек А и В обозначим А2
и В2. Поскольку
m=B1C1 tg g = OB tg g, а mx=AB
tg gx =
OB sin tg gx иу=OK3 tg gу = OK tg gу = OB cos j tg gу, то
OB tg g = OB sin j tg gx + OB cos j tg gу, откудаg= tg gx sinj + tg gу cos j . (1.6)
Выполнив аналогичные расчеты, можно получить
tg gx = tg g sin j + tg l cos j (1.7)gу = tg g cos j - tg l sin j (1.8)=ltggxcos-jtggysinj (1.9)
(1.10)
(1.11)
(1.12)
В
формулах (1.6)…(1.9)- gх и gу - углы наклона передней
поверхности инструмента по отношению к основной плоскости в сечениях ХХ и УУ, j - главный угол в плане инструмента, l - угол
наклона главной режущей кромки. В формулах (1.10) и (1.11)- aх и aу - задние углы в сечении режущего клина плоскостями
ХХ и УУ, a- главный задний угол инструмента, h- вспомогательный угол, значение которого рассчитывается по формуле
(1.12).
Формулы
(1.6) … (1.12) пригодны не только для описания соотношения между
геометрическими параметрами резца. Режущие лезвия любого сложного инструмента
можно представить в виде того или иного набора элементарных участков с кромками
прямолинейной формы. Модернизируя выражения (1.6) … (1.12) применительно к
конкретным обстоятельствам, можем с их помощью описать параметры геометрии
инструментов сложной формы. Именно поэтому выражения (1.1) … (1.12) часто
называют формулами единой геометрии режущих лезвий инструмента.
.3
ЗАДАНИЕ НА САМОКОНТРОЛЬ
.3.1
Инструментальные материалы
1. Какие общие требования к инструментальным материалам?
. Какие виды инструментальных материалов применяют при изготовлении
лезвийных режущих инструментов?
. Укажите пределы температуростойкости быстрорежущих сталей. Что
произойдет, если резания будет происходить при более высокой температуре?
. Проставьте знак >
или < между температуростойкостью
инструментальных материалов:
для композита 01 (альбор-Р) ………., чем для Т15К6;
для ВК8……., чем для Р18;
для Т30К4………, чем для У10А.
. Проставьте знак >
или < между характеристиками прочности
инструментальных материалов:
sизг. для Р9К10 ……., чем для ВК3;
sизг. для Т15К6 ……., чем для ВК10;
sизг. для ТТ7К12 ……, чем для В0К-60;
sизг. для АС……., чем для Т14К8;
sсж. для Т14К8……., чем для Р6М5.
6. Если у Вас нет под руками справочника, как Вы расшифруете химический
состав твердых сплавов и быстрорежущих сталей, упомянутых в п.5?
. В каких единицах измеряется твердость инструментальных материалов?
Какой инструментальный материал имеет наибольшую твердость?
. Почему нежелательно применение инструментальных материалов, имеющих
физико-химическое сродство с материалом заготовки? Приведите примеры.
. Эффективно ли применение алмазов в качестве режущего инструмента при
обработке незакаленной стали и чугуна?
. Заготовку из стали 20ХГ2 при черновом точении обрабатывали резцом с
пластины Т15К6, однако при этом часто имело место разрушение (скол) режущих
лезвий. Какими твердыми сплавами Вы порекомендуете оснащать инструмент, чтобы
при неизменных прочих условиях (режим резания, геометрические параметры
инструмента) поломки пластин сократились?
. Заготовки из стали Х13Н4Т9 при черновой обточке обрабатывали резцом с
пластиной Т5К10. По упущению службы снабжения пластин этой марки на складе не
оказалось, а имеются пластины марок Т15К6, Т30К4, ВК8, ВК6. Какими пластинами
следует оснащать резцы, чтобы не остановить производство? Какие изменения в
стойкости инструмента и разрушении его лезвий можно ожидать, если не менять
режим резания?
. При изготовлении опытного образца машины деталь из стали 40Х в
экспериментальном цехе обрабатывали резцами из стали Р6М5. Конструкция машины
утверждена, разрабатывается технология массового производства. По новому
техпроцессу черновая обработка деталей должна выполняться из заготовки в виде
штамповки. Какими режущими материалами следует оснастить резцы, чтобы
обеспечить повышение производительности операции и снижение удельных затрат на
инструмент по сравнению с условиями точения в экспериментальном цехе
предприятия?
. При обработке заготовок из титанового сплава технолог предусмотрел
применение фрез с пластинами из твердого сплава Т15К6. Однако, в процессе
производства выяснилось, что фрезы работают плохо, быстро изнашиваются и
разрушаются. В чем состоит ошибка технолога? Какой режущий материал Вы
предложите?
. При черновой токарной обработке заготовки из хромо-никелевой стали
12ХН3А диаметром d=100мм глубина
резания t=5мм, подача S=0,4мм/об, скорость резания v=136м/мин, длина прохода L=80мм. Годовая программа изделий N=100000 штук. Оценить экономическую целесообразность замены
резца с напайной пластиной Т14К8 резцом с четырехгранной сменной пластиной из
того же материала, если известно, что: 1) оптовая цена резца сечением 16х25мм2
с напайной пластиной Q1=4руб.30коп.;
2) количество переточек, которое может выдержать напайной резец за вес срок
службы m=7, а расходы, связанные с каждой
переточкой q=0,4 руб.; 3) стойкость напайного
резца между переточками Т1=60мин.; 4) оптовая цена комплекта, состоящего из
державки и 20 сменных четырехгранных пластин из твердого сплава Q2=38руб.90коп.; 5) стойкость одного
лезвия пластины Т2=50мин., пластина двухсторонняя.
. В условиях предыдущей задачи оценить целесообразность применения резцов
с четырехгранной сменной пластиной из сплава Т15К6, если при этом стоимость
комплекта (державка и 20 пластин) повышается до Q3=48,6 руб., но при стойкости Т=60мин.скорость резания может
быть повышена до 150 м/мин. Вследствие более высокой хрупкости сплава Т15К6 коэффициент
надежности работы инструментов h3=0,78.
1.3.2 Общие вопросы геометрии режущих
инструментов
1. Как проводится основная плоскость? Покажите положение основной
плоскости при точении резцом, при цилиндрическом фрезеровании и сверлении.
. Сформулируйте понятие «главная секущая плоскость». Покажите положение
главной секущей плоскости при точении проходным резцом.
. Как показать главную секущую плоскость для различных точек режущей
кромки спирального сверла с учетом того, что кромки не проходят через ось
вращения инструмента?
. Дайте определение понятия «передний угол режущего инструмента».
. Сформулируйте понятие «главный задний угол режущего инструмента».
. Как влияет значение переднего угла на процесс стружкообразования, силы
и температуры при резании материалов?
. На какие показатели процесса резания влияет главный задний угол
инструмента?
. Как влияет значение главного угла в плане на толщину и ширину среза?
. В каком случае угол наклона главной режущей кромки считают
положительным?
. Какой передний угол нужно придать инструменту из быстрорежущей стали,
обрабатывающему деталь из чугуна СЧ20, твердость которого НВ=180…200?
. Какой передний угол следует придать инструменту, оснащенному твердым
сплавом, если он предназначен для обработки стали 30ХГСА, имеющей твердость
НВ=270?
Указание: Чтобы воспользоваться формулой, приведенной в приложении,
следует иметь в виду, что между твердостью многих сталей и их прочностью
имеется зависимость, которая описывается выражением НВ»(0,28…0,3) sв, где sв - сопротивление разрыву, МПа.
12. Торцевая фреза диаметром 130 мм с числом зубьев Z=8, оснащенная твердым сплавом,
предназначена для обработки кронштейна из стали 30ХГСА при скорости резания V=315 м/мин и минутной подаче Sм=235 мм/мин. Какой главный задний
угол следует придать зубьями фрезы, если главный угол в плане j=700?
. Зенкер диаметром D=35мм,
изготовленный из быстрорежущей стали, обрабатывает отверстие в заготовке из
хромо-никелевой стали sв=750
МПа. Подача инструмента S=1,4
мм/об, число зубьев Z=4.
Угол спирали зенкера на наружном диаметре w=200, угол заборного конуса 2j=900. Рассчитать передний угол зенкера в точках
кромки, расположенных на диаметре d=30мм, если gу=
-50. Определить соответствует ли это значение рекомендуемому, а также
рассчитать рекомендуемое значение L.
. В отливке из чугуна СЧ25 (НВ=220) зенкером, оснащенным твердым сплавом
ВК8, обрабатывают отверстие диаметром D= 50мм. Число зубьев зенкера Z=4, угол заборнoго
конуса 2j=900, глубина резания t=3 мм, подача S=1,84 мм/об. Угол спирали зенкера на
наружном диаметре w=180,
угол gу= -80. Зенкер заточен так, что
среднее значение заднего угла на активном участке кромки αx=40. Эксплуатация зенкеров в цеховых
условиях показала, что они быстро изнашиваются, в процессе резания, возникают
скрип и вибрации.
Вам поручено проанализировать геометрические параметры инструмента,
высказать предположение о причинах неудовлетворительной работы инструмента,
дать предложение по улучшению его геометрии.
15. Известно, что направление стружки зависит от знака угла l. При l>00 стружка отходит в сторону задней бабки токарного
станка, что улучшает условия безопасности работающего.
Если заданы передний угол резца g и главный угол в плане j, какие значения должны иметь углы gу и gх, чтобы обеспечивалось условие l>0?
16. Токарный резец с углом в плане j=600 заточен по передней поверхности под углами g=80 и gу= 100. при этом стружка сходит в сторону патрона
токарного станка, что нежелательно. Как надо переточить резец, чтобы сохранив
значение переднего угла, обеспечить сход стружки в сторону задней бабки станка
?
. В условиях предыдущей задачи как надо заточить резец, чтобы обеспечить
угол наклона режущей кромки l=50?
. Сделайте эскиз резца, у которого gх=g ,
а l= +30. какой угол gу должен быть у этого резца?
.4 ОТВЕТЫ НА ЗАДАНИЕ ДЛЯ САМОКОНТРОЛЯ ПО ТЕМЕ
.4.1 Инструментальные материалы
1. Красностойкость, прочность, теплопроводность, износостойкость, малое
химическое средство с обрабатываемым материалом.
. Высокоуглеродистые стали, легированные стали, твердые сплавы,
керамические и металлокерамические материалы; сверхтвердые материалы (алмаз,
нитрид бора) композиты.
. Ткр=5600С при более высокой температуре резания инструмент потеряет
работоспособность.
. Температуростойкость для композита 01 ( эльбор Р) >чем для Т15К6, для ВК8>чем для Р1,8, для Т30К4>чем для У10А.
. sизг. для Р9К10> чем для ВК3, для Т15К6 < чем для ВК10, для ТТ7К12 > чем для ВОК-60, для АС < чем для Т14К8, для Т14К8 < чем для Р6М5.
. Р9К10 С-0,9% W-9% Co-10%
P6M5 С-0,9% W-6% M-5%
T15K6 TiC-15% Co-6% WC-79%R8 TiC-14% Co-8% WC-78%K12
(TiC+TaC)-7% Co-12% WC-81% синтетический алмаз
ВОК-60 оксидно- карбидный керамический материал.
7. Твердость инструментальных материалов измеряется в единицах HRA или HRC соответствующих шкал (А или С) Роквелла. Наибольшей
твердостью обладают естественные алмазы.
. При химическом средстве инструментального и обрабатываемых материалов
на контактных поверхностях, в условиях высоких температур и давлений, имеет
место адгезия материалов и, как следствие, повышенный износ. Нежелательно
применять титано-карбидные твердые сплавы при обработке титановых сплавов.
Керамические материалы не работают при обработке алюминиевых сплавов.
. Нет неэффективно, так как алмаз (одно из разновидностей углерода)
активно растворяется в железе, что приводит к быстрому износу.
. Поломки возникают из-за недостаточной прочности инструмента. Поэтому
следует применить твердый сплав с большим содержанием кобальта, например Т5К10
. Возможно применение Т15К6 или ВК6, свойство которых близки к Т5К10
|
Т5К10
|
Т15К6
|
ВК6
|
|
HRA
|
88,5
|
90
|
88
|
|
sи
|
120
|
115
|
120
|
|
qкр
|
850
|
850
|
800
|
При применении Т15К6 возможно хрупкое разрушение лезвий из-за уменьшения
прочности на изгиб, а ВК6 будет иметь меньшую стойкость из-за более низкой
температуростойкости.
12. Для черновой обработки стали 40Х рекомендуется применение твердого
сплава Т5К10.
. Сплав Т15К6 имеет химическое сродство с обрабатываемым материалом,
поэтому следует применить однокарбидный сплав ВК6.
. Алгоритм расчета и комментарии к нему:
Определяем машинное время обработки одного изделия на данной операции
Положив
коэффициент надежности работы цельного инструмента h=0,8, рассчитываем затраты на инструмент, приходящиеся на данную
операцию
Рассчитываем
расходы по линии инструмента на годовую программу изделий при работе цельными
резцами
P1=pN=850
руб.
Определяем
количество комплектов (державка+20 пластин), требуемых на годовую программу
изделий при работе резцами со сменными пластинами. При этом имеем ввиду, что срок
службы одного комплектом определяется одним выражением
A=2mn*T2*h2*i,
где
mn- число граней пластины, а h2- коэффициент, характеризующий надежность работы инструмента, i-
количество пластин в комплекте. Положив получаем А=2.4.50.0,9х20=7200мин.
Количество
комплектов
Рассчитываем
расходы на годовую программу изделий при работе сборными резцами
Р2=КQ2=7х38,9=272,3
руб.
Заключение:
замена напайных резцов резцами с многогранными сменными пластинами на данной
операции целесообразна, так как Р2<Р1.
15. Применение резцов с пластинами Т15К6 в данном случае нецелесообразно
(Р3=291,6 руб.)
.4.2 Общие вопросы геометрии режущих
инструментов
1. Основная плоскость в данной точке режущей кромки проводится
перпендикулярно вектору скорости относительного движения заготовки и
инструмента.
.
Главная секущая плоскость в данной точке режущей кромки проходит
перпендикулярно проекции режущей кромки на основную плоскость.
.
. Передний угол в данной точке режущей кромки измеряется в главной
секущей плоскости между следом основной плоскости и касательной к следу
передней поверхности инструмента.
. Задний угол в данной точке режущей кромки измеряется в главной секущей
плоскости между следом плоскости резания и касательной к следу задней
поверхности инструмента.
. Передний угол влияет на процесс стружкообразования, с его увеличением
уменьшается усадка стружки и степень слоя, уменьшается работа
стружкообразования и силы резания. Все это приводит и к уменьшению температуры
в зоне резания, но при чрезмерном увеличении переднего угла уменьшается
интенсивность теплоотвода в тело инструмента, что может привести к обратному
эффекту.
. Главным задним углом определяется величина площадки контакта по задней
поверхности. При малых задних углах площадка увеличивается, возникает большая
сила трения, увеличивается тепловыделения, интенсифицируется износ по задней
поверхности.
. С уменьшением угла в плане толщина среза уменьшается, а ширина среза
увеличивается.
. Угол наклона главной режущей кромки считается положительным, если
вершина резца является наинизшей точкой главной режущей кромки.
. Передний угол при обработке чугуна можно определить по формуле
для
резца из быстрорежущей стали
С=6.5х103,
Х=1,3, тогда
11. Передний угол при обработке стали можно определить по формуле:
,
МПа
при
обработке твердым сплавом
С=-5,0,
Х=8, тогда
Мпа
12. Задний угол при обработке стали 30ХГСА sb=964 находится по формуле
где
а- толщина среза.
При
торцовом фрезеровании
аmax=Szsinj
,
13
Алгоритм решения и комментарии к нему
Представим
зуб зенкера в виде расточного резца, перемещающегося по направлению подачи. Это
дает возможность определить положение плоскостей Х-Х, У-У, Г-Г, и в сечении
этими плоскостями показать углы g, gх и gу.
Как
показано в курсе _ Теория резания и инструмент общего назначения_ при рассмотрении конструкции спиральных сверл
где
wd-
значение угла спирали передней поверхности инструмента на диаметре d. В
нашем случае
,
откуда
wd=17018^.
Имея в виду, что gхw»d, а gу= -50 задано условиями задачи, по формулам единой
геометрии инструментов получаем:
tgg=tg17018^*sin45-tg50*cos450
или »g90.
Рекомендуемое значение g определяем по формуле (1.1) в приложении
Передний
угол на зенкере меньше рекомендуемого.
Определяем
толщину среза, приходящуюся на лезвие инструмента
По
формуле (1.2) рассчитываем рекомендуемое значение a:
.
Значение переднего угла зенкера близко к рекомендуемому (»g60). Чтобы обеспечить рекомендуемое значение заднего угла 7=a030, требуется придать зенкеру задний угол в плоскости Х-Х, равный aх=100. малым значением угла aх=40, под которым
заточен зенкер, объясняется ускоренный износ и разрушение лезвий инструмента.
Если заданы передний угол резца g и главный угол в
плане j, какие значения должны иметь углы gу и gх, чтобы условие l>0 ?
. tggу<tggcosj или tggх>tggsinj.
16. g<60 и соответствующее
значение gх или gх>10,30 и соответствующее значение gу.
. gх=12040^ ; gу=1040^
ГЛАВА 2 ФАСОННЫЕ РЕЗЦЫ
.1 ПРИЗМАТИЧЕСКИЕ ФАСОННЫЕ РЕЗЦЫ
Призматические фасонные резцы образуют профиль на изделии методом
копирования, т. е. относятся к инструментам первого типа, рассмотренным в 1.1.
они, в свою очередь, разделяются на резцы, работающие с радиальной или
тангенциальной подачей.
На рис. 2 показан эскиз резца, обтачивающего с радиальной подачей S, профиль 1-2-3-4. Такие резцы,
обычно, закрепляются в державке с помощью «ласточкиного хвоста», контур
которого виден в сечении N-N.
2.1.1 Геометрические параметры призматического
резца
Установка в державке обеспечивает заданные значения углов резца:
переднего gу и заднего gу. Однако, эти значения справедливы
лишь для участков кромки, расположенных на наименьшем (в пределах профиля)
диаметре изделия d0, который в
дальнейшем будем называть базовым. Для точек режущей кромки, расположенных на
базовой поверхности, например точек 1 и 2, основная плоскость проходит горизонтально.
Для любых других точек профиля, например, для точки 3, расположенной на
окружности d, основная плоскость не
горизонтальна, она занимает другое положение (для точки 3 - это 0.0), поскольку
должна быть проведена перпендикулярно вектору скорости резания в данной точке Vd. Так как передний угол - это угол
между основной плоскостью и передней поверхностью инструмента, то значения gуа
Рассматриваемые в плоскости у’-y’ углы будут отличаться от gу . Соотношение между gуd и gу можно рассчитать, рассматривая
треугольник oab
. (2.1)
Условия
резания, как известно, определяются передним углом в главной секущей плоскости.
Для точек 1 и 2 (а так же расположенных между ними) главная секущая плоскость
совпадает с плоскостью у-у . Что касается других точек (например, 3), то для
них главная секущая плоскость Г-Г повернута по отношению к плоскости, в которой
ведется отсчет gуd на угол jd. Строго говоря, угол в плане следовало бы отсчитывать
от касательной к кромке в точке 3 в проекции резца на основную плоскость 00`.
Однако, чтобы не усложнять чертеж, проведем главную секущую плоскость Г-Г так,
как показано на рис. 2, а углы режущего клина gd и ad покажем в сечении Г-Г. Связь
между углами gd и gуd получим, если воспользуемся формулой (1.1). Поскольку
в нашем случае gx=0,
то
(2.2)
Рассматривая
совместно выражения (2.1) и (2.2), можем сделать заключение о том, что при
заданном gу передний угол фасонного резца тем меньше, чем дальше
та или иная точка расположена от оси заготовки и чем больше угол в плане имеет
участок кромки, на котором расположена эта точка.
Для
того, чтобы обеспечить работоспособность в точке с наихудшими условиями резания
(наиболее неблагоприятная комбинация d и jd) в этой точке
должна быть gd ³ gmin, где gmin - минимально допускаемое значение переднего угла.
Решение задачи об обеспечении условия gd ³
gmin
возможно в прямом и обратном решениях. Прямое решение состоит в
последовательном выполнении следующих операций: 1) по литературным данным [3]
или по опыту предприятия выбрать для фасонного резца значение угла gу; 2) определить точку (или точки) на кромке инструмента, где могут
складываться наиболее неблагоприятные условия (комбинация d и jd) для
формирования переднего угла gd; 3) для этой точки (точек) по формуле (2.1)
рассчитать значение gуd и 4) рассчитать по формуле (2.2) значение gd, проверить
наличие условия gd ³ gmin.
Обратная
задача состоит в том, что принимается то или иное значение gmin (часто
полагают γmin
=2…30). Затем упомянутые выше операции проделывают в обратном порядке по схеме
gyd min
gy min,
определив минимально допускаемое значение переднего угла в плоскости У-У для
точек, расположенных на базовом диаметре профиля изделия.
Перейдем
к рассмотрению вопроса о задних углах фасонного резца на различных участках
профиля. Непосредственно на рис. 2 можем получить выражение
(2.3)
а
по формулам (1.11) и (1.12), положив l
0
(2.4)
Рассматривая
последние два выражения вместе с формулой (2.1), приходим к заключению, что
значение задних углов ad (в
главной секущей плоскости) тем меньше, чем ближе точка профиля к оси изделия и
чем больший угол в плане имеет участок кромки, которому принадлежит данная
точка.
Естественным
условием, обеспечивающим нормальную работу инструмента (в первую очередь с
точки зрения износа задних поверхностей резца), является ad ³ amin, где αmin - минимально- допускаемое значение заднего угла. Как
и в отношении переднего угла, что было отмечено выше, здесь возможны два пути
решения задачи - прямой и обратный - алгоритм которых каждый может составить
самостоятельно.
2.1.2 Профилирование призматического фасонного резца
Корректировка
высот профиля. При проектировании фасонных режущих инструментов всегда
возникает задача об их профилировании, т.е. определении размеров и конфигурации
режущей части инструмента, обеспечивающих получение заданного профиля на
изделии. Дело в том, что профиль изделия и профиль режущего инструмента
рассматриваются в различных плоскостях. Профиль изделия расположен в
диаметральном сечении последнего. В случае, показанном на рис.2, это линия
1-2-3-4. Профиль же инструмента рассматривается в плоскости NN,
перпендикулярной к заданной поверхности резца. На рис. 2 это линия
1`-2`-3`-4`,показанная в сечении N-N. Несмотря на внешнее сходство обоих профилей, они не
совпадают друг с другом. Поэтому определение координат точек профиля
инструмента в сечении N-N часто называют коррекционным расчетом по отношению к
профилю изделия.
То,
что профиль резца рассматривается в плоскости перпендикулярной к задней
поверхности инструмента связано с технологией его изготовления. Окончательное
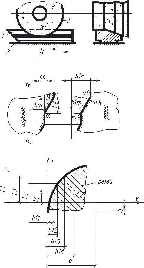
шлифование профильной части резца выполняется по схеме, показанной на рис.3.
Инструмент 1, установленный на магнитном столе 2 плоскошлифовального станка,
обрабатывают кругом 3. Профиль последнего, как видно из рис.3, соответствует
профилю инструмента в плоскости N-N.
Рассмотрим
порядок выполнения коррекционных расчетов.
Прежде
всего отметим, что все размеры профиля изделия, расположенные параллельно оси вращения
заготовки, сохраняют свои значения и на профиле инструмента.
Пусть,
например, на изделии (рис.2) заданы размеры p и g.
Ведя
отсчет от торца инструмента ,как единой базы, получаем l2=p+D, l3=p+g+D. Эти же размеры
служат одной из координат точек 2` и 3` в сечении N-N.
Правило переноса продольных координат с изделия на инструмент коротко
формулируют так: “продольные размеры не искажаются ”, имея в виду, что на
инструменте и изделии размеры одинаковы.
По-другому
обстоит дело с размерами профиля изделия, измеряемыми в направлении
перпендикулярном оси вращения последнего , именно они подвергаются коррекции.
Прежде всего, отметим, что при профилировании инструмента рассматриваемые
размеры отсчитываются от единой базовой линии. Базовой называется линия, параллельная
оси изделия, и проходящая через точку, расположенную на базовой окружности d0.
Так, для профиля, показанного на рис. 2, базовой является линия ВВ. Ординаты
всех точек, называемые обычно высотами профиля на изделия, отсчитываются от
нее. Так, для точки 3 высотой профиля на изделии является ордината h ,
показанная на рис. 2.
В
верхней проекции базовая линия ВВ преобразуется в точку a,
расположенную на базовой окружности d0. От точки a
можем отсчитать высоту профиля на передней поверхности инструмента ho, cоответствующую
размеру h на профиле изделия. Рассматривая треугольник 0ab,
получаем
(2.5)
Если далее опустим перпендикуляр из точки b на заднюю поверхность резца и рассмотрим треугольник abc, то можем рассчитывать высоту
(ординату) профиля резца h1,
соответствующую высоте h на
изделии
(2.6)
Нетрудно
видеть, что h1<h£h0.
Отметим,
что h0=h может быть при gy=0 . Однако, никогда не может быть равенства между h1 и h, всегда
h1 < h.
Мы
рассмотрели методику расчета координат одной из точек на профиле резца.
Аналогичные расчеты могут быть выполнены и для других точек профиля. При этом
каждый раз следует пользоваться выражениями (2.1), (2.5) и (2.6) , подставляя в
них различные значения диаметров d, для тех или иных точек, расположенных на профиле
изделия. Для сложных профилей такие расчеты могут выполняться по программе,
введенной в ЭВМ.
2.1.3 Корректирование углов и кривых на профиле резца
В
связи с тем, что продольные размеры при переходе от профиля изделия к профилю
резца не искажаются, а высоты точек искажаются (уменьшаются), то меняются и
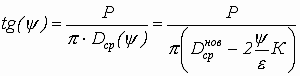
углы в плане для различных участков профиля инструмента. Пусть, например,
какой-либо участок профиля на изделии между точками m и n. Имеет
угол в плане j (рис. 4). Высоты профиля точек m и n на
изделии соответственно равны hm и hn , расстояние между ними l.
Корректирование приводит к тому, что на профиле резца возникают высоты h1m<hm и h1n<hn.
Сопоставляя
выражения
и
получаем
(2.8)
Возможно,
что какой-либо участок профиля изделия очерчен дугой окружности радиуса r
(рис.2 и 5). На профиле резца дуга окружности трансформируется в другую кривую,
теоретически отличающуюся от дуги окружности. Однако практически удобно эту
кривую заменить дугой окружности ее r1 и координаты центра a и d.
Используя уравнение окружности
, (2.9)
подставляя
в него координаты любых трех точек на интересующем нас участке дуги (например,
по рис.5 x0=y0=0 x2=l2 y2=h12 x4=l y4=h), получаем три
уравнения, разрешая которые, определяем r1, a, b.
Проверка пригодности такого решения выполняется путем подстановки в левую часть
формулы (2.9) координат промежуточных точек (например, 1 и 3, рис.5) с целью
определения разностей
;
.
Отклонения
d1, d3 должны быть сопоставлены с
допуском на неточность изготовления профиля инструмента d. Если d1 £ d и d3 £ d, то замена кривой дугой радиуса
r1 удовлетворяет производство. Если же d1 или d3 не укладываются в
допуск, кривую на профиле резца следует заменить дугами двух или нескольких
окружностей, характеристики которых могут быть рассчитаны изложенным выше
методом.
2.1.4 Особенности призматических резцов, работающих с
тангенциальной подачей
На
рис.6 показана схема обработки заготовки призматическим резцом, перемещающимся из
положения 1 в положение 2 по направлению стрелки S. В тот момент,
когда резец придет в положение 2, его геометрические параметры (углы gy, ay) и установка
по отношению к изделию, по сути, вполне аналогичны тем, которые имеют место при
работе резцом с радиальной подачей (рис. 2). Поэтому, профилирование фасонного
резца с тангенциальной подачей выполняется по тем же формулам, что и резца с
радиальным перемещением по отношению к заготовке.
Однако,
тангенциальные резцы отличаются тем, что значение переднего и заднего углов, по
мере перемещения инструмента из положения 1 в положение 2 не останется
постоянным. В момент входа в заготовку (положение 1) основная плоскость 00`
повернута по отношению к основной плоскости 00 на угол
В
связи с этим, передний угол инструмента, в момент входа в заготовку имеет
значение
а задний
Если
значение заднего угла ay` не
накладывает каких-либо ограничений на процесс резания, то при
передний
угол инструмента становится отрицательным gy`<0, что существенно отражается на процессе
стружкообразования и стойкости инструмента. Резцы, изготовленные из
быстрорежущей стали, вообще не могут работать при gy`<0.
Поэтому, при большой разнице между диаметрами d и d0,
т. е. при достаточно глубоких профилях фасонной поверхности на изделии, следует
применять призматические резцы, оснащенные пластинами из твердого сплава,
поскольку, такие инструменты могут работать как при gy>0, так и
при gy<0.
2.2 КРУГЛЫЕ ФАСОННЫЕ РЕЗЦЫ
Призматические резцы при затуплении режущих кромок перетачиваются по
передней поверхности. После переточки, вершину режущего клина вновь
устанавливают по линии центров, т. е. в положение, показанное на рис. 2.
количество переточек, которое может выдержать призматический фасонный резец, в
ряде случаев не удовлетворяет производство, особенно, в условиях массового
изготовления деталей. Более экономичными оказываются круглые фасонные резцы,
схема конструкции и установки которых показана на рис. 7. Несмотря на то, что
стоимость круглого фасонного резца (Q, формула 1.1) выше стоимости призматического, количество его переточек m настолько больше, чем у
призматического, что расходы на одно изделие по линии инструмента, как правило,
снижаются. Следует иметь в виду, что mq<<Q, поэтому главное влияние на величину
p оказывает общий срок службы
инструмента (m+1)Th.
2.2.1 Геометрические параметры круглого
фасонного резца
Как видно из рис. 7, ось круглого фасонного резца устанавливают выше
линии центров изделия на величину
(2.10)
Это необходимо для того, чтобы инструменту придать задний угол.
В формулу 2.10 входит величина наружного диаметра круглого резца. Этот
размер принимают из конструктивных соображений, имея в виду, что, как видно
непосредственно из рис.7
где
h- наибольшая высота профиля на изделии; c-
размер, обеспечивающий выход стружки; q- толщина тела резца в самом
тонком месте; D0- диаметр оправки. Опыт конструирования круглых
резцов показывает, что в среднем q=0.1, D0=0.3D. Тогда, положив cosay
1,
получаем
(2.11)
Размер
c зависит от режима резания и свойств обхватываемого
материала. Практически c=3…8 мм. Диаметр резца, рассчитанный по 2.11,
округляют до ближайшего значения по стандартному ряду размеров в
машиностроении.
Что
касается угла ay, то
его, как и другие геометрические параметры инструмента, рассчитывают по
формулам (2.1)….(2.4), поскольку между углами режущего клина круглого и
призматического фасонных инструментов является полная аналогия.
При переточке инструмента необходимо сохранять его геометрические
параметры. В связи с этим, перетачивая переднюю поверхность инструмента, следят
за тем, чтобы она всегда совпадала с касательной и так называемой окружности
заточки, радиус которой
, (2.12)
что
следует из рассмотрения DOpaf
(рис.7). При таком положении передней поверхности после переточки, повернув
резец вокруг его оси, и, приведя вершину режущего клина в точку a,
восстанавливают заданные значения ay и gy. Радиус окружности заточки указывают на чертеже
инструмента.
2.2.2 Профилирование круглого фасонного резца
При
проектировании круглого фасонного резца следует выполнять коррекционные расчеты,
поскольку профиль инструмента рассматривается в плоскости, отличающейся от
плоскости, в которой расположен профиль изделия. Профиль резца, исходя из
соображений технологии изготовления инструмента, рассматривается в плоскости,
перпендикулярной к его задней поверхности. В данном случае плоскость N-N
является любой диаметральной плоскостью фасонного круглого резца (рис. 7).
Зная
высоту h на каком - либо участке профиля изделия, по формуле
(2.5), справедливой и для круглых фасонных резцов, определяют высоту профиля h0 на
передней поверхности инструмента. Высота профиля в сечении N-N
описывается разностью
h1=R-R1 ,
где
R -радиус наружной поверхности резца R=Opa,
а R1=Opb - радиус внутренней окружности, проходящей через
точку. Рассматривая треугольник Opb, получаем
(2.13)
Если
профиль изделия состоит из ряда участков, то величины h0, R1 и h1
определяют для каждого из них, ведя отсчет от одной и той же базовой линии.
Корректировку углов в плане, а также замену кривых дугами окружностей выполняют
так же, как и для призматического резца. Коррекционные расчеты следует
выполнять на ЭВМ.
2.3 ФАСОННЫЕ РЕЗЦЫ ДЛЯ ОБРАБОТКИ ПРОФИЛЕЙ С
ОТДЕЛЬНЫМИ ХАРАКТЕРНЫМИ ОСОБЕННОСТЯМИ
.3.1 Kруглые
фасонные резцы для обработки профилей, имеющих участки, перпендикулярные оси
изделия
Как видно из формул (2.2)и (2.4), при jd=900, значения gd ad
оказываются равными 00 . Если при gd=0 резец в принципе может работать, то при ad=0, эксплуатация инструмента
практически невозможна. Следовательно, фасонные резцы обычной конструкции
неприменимы, если на профиле изделия имеются участки, расположенные
перпендикулярно к оси заготовки.
Пример показан на рис. 8. Участок профиля mn расположен перпендикулярно оси заготовки, в точке q касательная к дуге окружности
радиуса r также проходит перпендикулярно оси
изделия. Условия резания на этих участках вследствие нулевых значений заданных
углов будут неудовлетворительными.
Обеспечить условие ad>0 можно, если применить резец, ось которого повернута по отношению к
оси заготовки под некоторым угломm. В этом случае на участке mn возникает угол j = m,
следовательно
.
Аналогичная
величина заднего угла образуется и в точке q.
Для
профилирования резцов с осью, непараллельной оси заготовки, в качестве базовой
принимают линию, проходящую через точку наиболее удаленную от оси инструмента,
параллельно последней. Для примера, показанного на рис. 8, эта линия ВВ. От нее
ведут отсчет высот профиля на изделии, например, hm для точки m, hq для точки q и
т. д. В остальном, коррекционные расчеты выполняют по алгоритму, используемому
при профилировании резцов, ось которых параллельна оси заготовки.
2.3.2 Круглые фасонные резцы для обработки конических
поверхностей
Предположим,
что на изделии требуется получить участок в виде конуса, к которому
предъявляются повышенные требования в отношении чистоты обработанной
поверхности и прямолинейности образующей (a0b0
рис. 9). В свете этих требований, круглый фасонный резец обычной конструкции
имеет недостатки. Во-первых, как было указанно выше, в разных точках режущей
кромки ab передние углы инструмента gyd, а с ними и gd, имеют
различные значения. Следовательно, процесс стружкообразования в различных
точках будет протекать по-разному, а, значит, и шероховатость обработанной
поверхности будет на всей поверхности конуса различной.
Во-вторых,
режущая кромка инструмента расположена в плоскости Р-Р, которая проходит через
ось конуса на изделии. Известно, что в сечении конической поверхности
плоскостью, не проходящей через ось конуса, образуется не прямая, а кривая
второго порядка. В связи с этим возникает погрешность в виде отклонения формы,
образующей конуса a0b0 от прямой. Более того, плоскость Р-Р, пересекая
коническую поверхность резца, так же не проходит через ось последнего. Поэтому,
и сама кромка инструмента при изготовлении резца, так же оказывается не
прямолинейной, что вносит вторую погрешность в форму конической поверхности на
изделии.
Устранить часть этих недостатков можно, если переднюю поверхность
инструмента заточить так, чтобы она имела не только угол gy (в плоскости, перпендикулярной к оси
резца), но и угол gx (в
плоскости хх). Такой инструмент называется фасонным резцом с боковым наклоном
(рис 9. справа), имеет угол gx ¹ 0. При этом значении рассчитывается γх по формуле 1.9 из условия l=0
(2.14)
Если
угол наклона l на участке ab (рис. 9 справа) равен нулю и
кромка расположена в диаметральном сечении изделия, то передний угол gyd оказывается
одним и тем же на всей длине лезвия, формирующего коническую поверхность на
изделии. Это благоприятно сказывается на единообразии условий резания, а,
значит, и на стабильность шероховатости обработанной поверхности по длине
конуса.
При
l=0 и расположении кромки в диаметральном сечении
заготовки первая из погрешностей формы конуса, упоминавшаяся выше, устраняется,
что повышает точность изделия. Вторая погрешность, однако, сохраняется,
поскольку передняя поверхность резца, по-прежнему, пересекает коническую
поверхность инструмента, не проходя через ось.
Наиболее
точную коническую поверхность можно получить, если применить круглый фасонный
резец с осью, повернутой по отношению к оси заготовки на угол j (рис. 10). Тогда, кромка инструмента, формирующая коническую
поверхность, лежит в диаметральном сечении изделия и, одновременно, на
цилиндрической поверхности резца. Это устраняет обе, выше названные,
погрешности формы, образующей конуса, а так же обеспечивает одно и то же
значение переднего угла gy в
различных точках кромки.
Рис.11
.4
ЗАДАНИЯ ДЛЯ САМОКОНТРОЛЯ ПО ТЕМЕ «ФАСОННЫЕ РЕЗЦЫ»
. В какой точке (или в каких точках) режущей кромки фасонного резца
передний угол будет иметь наименьшее значение?
2. В какой точке (или в каких точках) режущей кромки фасонного резца
задний угол будет иметь наименьшее значение?
. В каких плоскостях рассматривают профили фасонных резцов, почему
определение параметров этих профилей иногда называют коррекционными расчетами?
. Для какой цели в процессе изготовления и эксплуатации фасонных резцов
используют результаты расчета профиля, расположенного в плоскости передней
поверхности инструмента?
. Для какой цели в процессе изготовления фасонных резцов используют
сведения о профиле инструмента в сечении плоскостью, перпендикулярной к его
задней поверхности?
. В чем особенности призматических фасонных резцов, работающих с
тангенциальной подачей?
. Какую роль в процессе эксплуатации круглых фасонных резцов играет, так
называемая, окружность заточки?
. Какие варианты конструкции круглых фасонных резцов применяют для
обработки конических участков на поверхности изделия? Сопоставьте их по
точности обработанных конических поверхностей.
. (3х). При изготовлении детали, показанной на рис. 2 (d1=30; d2=20; d3=10;
d4=18 мм; j1=60°; j2=45°) по условиям
резания, необходимо на любом участке кромки круглого фасонного резца получить
задний угол ³a80, а
передний ³g30.
наружный диаметр резца D=60
мм. Определить: 1) превышение оси резца над линией центра изделия; 2) диаметр
окружности заточки резца.
. Решить задачу №10 при условии, что d1=80; d2=66;
d3=68; d4=76 мм; j1=450; j2=600; D= 100 мм.
12.(3х). Какое наименьшее значение имеют передний и задний угол на
профиле резца, показанного на рис. 2, если gy=100; К=8,3 мм; D=80
мм; d1=40; d2=18; d3=27;
d4=36 мм; j1=j2 =750.
.На рис. 3 показан эскиз призматического фасонного резца, работающего с
радиальной подачей, а также изделие, которое изготавливают с его помощью.
Укажите, какой угол заточки g0 должен быть придан резцу при его изготовлении и под каким углом к
вертикали должна быть установлена его задняя поверхность, если передний и
задний углы в любой точке профиля в процессе резания не должны быть меньше, чем
20.
(3х). Применительно к условиям предыдущей задачи постройте график
изменения передних и задних углов резца для режущей кромки, профилирующей в
процессе резания участок изделия, очерченный дугой окружности Æ27 мм.
(3х). Изделие, показанное на рис.2, имеет участок в виде конической
поверхности. Выведите формулу для расчета переднего угла (в главной секущей
плоскости) для точек режущей кромки, обрабатывающей этот участок в зависимости
от текущего диаметра изделия. Конкретизируйте формулу применительно к условиям
задачи 16.
(2х). Призматический фасонный резец, показанный на рис. 3, был
запроектирован так, что при установке в державку он имел передний угол gу=80. При изготовлении деталей этим
инструментом процесс стружкообразования происходил неудовлетворительно, в
результате чего качество поверхности изделия было плохим. Токарь, не доложив
мастеру или технологу, переточил резец так, чтобы передний угол резца при
установке в державку был увеличен до gу@160.
Оказалось, что такой резец работает лучше, качество поверхности заметно
улучшилось. Однако, при контроле партии изделий, обработанных переточенным
резцом, ОТК признал их неисправным браком. В чем причина брака?
Как следовало поступить, чтобы облегчить процесс резания и обеспечить
получение изделий, параметры которых заданы чертежом?
. Профиль круглого фасонного резца, показанного на рис.2, в процессе
изготовления окончательно обрабатывают на круглошлифовальном станке фасонным
профилированным кругом. Рассчитайте и покажите на эскизе какие размеры должен
иметь профиль шлифовального круга, чтобы в условиях задачи 10 резец обеспечивал
заданные чертежом размеры изделий? В частности, под каким углом должен быть
заправлен шлифовальный круг, чтобы фасонный резец обеспечил получение на
изделии участка с углом между образующей конуса и осью детали 300?
Ответ: 25040
(3х). Профиль призматического фасонного резца, показанного на рис.3, при
изготовлении инструмента получают на оптическом шлифовальном станке. При этом
криволинейный участок профиля имеет вид дуги окружности, радиус которой к1
требуется определить, имея ввиду, что углы резца в рабочем положении при
изготовлении детали, показанной на рис.3 gу=150 и gу=60.
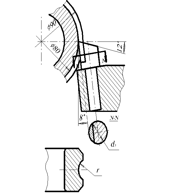
(3х). Внутреннее кольцо шарикового подшипника обрабатывают с помощью
стержневого твердосплавного резца (рис.4).Какой диаметр d1 должна иметь режущая часть
инструмента, чтобы при установке, показанной на рис.4, обеспечить получение
беговой дорожки радиусом r=10,45мм?
(2х) При обработки канавки под защитную шайбу в наружных кольцах
шарикоподшипников применяют круглый фасонный резец, оснащенный твердым сплавом
(рис.5). На участке профиля, перпендикулярном оси заготовки, задний угол
инструмента должен иметь наименьшее значение 20. Под каким углом m к оси заготовки следует расположить
ось фасонного резца?
(2х). Как следует из решения задачи 15, на коническом участке изделия,
показанного на рис.2 при gу=180
передний угол меняется примерно втрое, что не может не повлиять на качество
обрабатываемой поверхности. Какие варианты конструкции резца можно предложить,
чтобы обеспечить одинаковые условия резания на коническом участке профиля и
снизить погрешности обработки, в частности, не прямолинейность образующей
конуса?
.5 ОТВЕТЫ НА ЗАДАНИЯ ДЛЯ САМОКОНТРОЛЯ ПО ТЕМЕ «ФАСОННЫЕ РЕЗЦЫ»
(1) Передний угол фасонного резца тем меньше, чем дальше точка профиля
расположена от оси и чем больше угол в плане j у режущей кромки в данной точке.
(1) Задний угол фасонного резца тем меньше, чем ближе точка профиля
расположена к оси изделия и чем больше угол в плане j у режущей кромки в данной точке.
(1) Для образования заднего угла ось круглого фасонного резца
устанавливают выше линии центров заготовки.
(1) Профили фасонных резов рассматривают в радиальном сечении, в
плоскости, перпендикулярной задней поверхности и в плоскости передней
поверхности. Так как указанные профили отличаются от профиля детали, то их
определение называется коррекционным расчетом.
(1) Профиль инструмента в плоскости передней поверхности используют для
контроля на инструментальном микроскопе.
(1) Профиль инструмента в плоскости, нормальной его задней поверхности
используют для изготовления инструмента второго порядка (инструмента для
изготовления фасонного резца).
(1) Особенностью резцов, работающих с тангенциальной подачей, является
то, что в момент врезания передний угол резца имеет наименьшее значение, (часто
отрицательное), а затем увеличивается до расчетной величины. В связи с этим,
улучшаются условия стружкообразования на начальном этапе обработки.
(1) При заточке круглых фасонных резцов плоскость круга располагают
касательно окружности заточки. Это позволяет сохранить геометрические параметры
резца неизменными.
(1) При обработке конических поверхностей кроме обычных фасонных резцов
применяют резцы с боковым наклоном передней поверхности. Эти резцы имеют
постоянный передний угол вдоль режущей кромки и поэтому делают хорошее качество
поверхности, но они не исключают искажение профиля.
Наиболее точную коническую поверхность можно получить, если применить
круглый фасонный резец с осью, повернутый по отношению к оси заготовки на угол j.
(3х) Алгоритм решения и комментарии к нему.
.1 Наихудшие условия для переднего угла создаются в точке наиболее
удаленной от оси заготовки и имеющей наибольший угол в плане. Это точка С (d1=30 jd=j1=600).
Так как
то,
положив gd=30,
получаем gyd=60
.2.
Чтобы перейти к углу gy в сечении У-У (рис. 2), пишем
откуда
gy=18.20.
Принимаем gy=180.
.3
Наихудшие условия для заднего угла создаются на участках кромки, расположенных
ближе всего к оси заготовки и имеющих наибольший угол в плане. На данном
профиле это могут быть точки А (d3=10 j2=450) или В (d2=20
j1=600)
.4
Для точки А
.
Положив
a=80; j=450, получаем ay=11.20.
Следовательно, чтобы обеспечить в точке А задний угол a=80, резцу должен быть придан угол ay=110.
10.5 Для точки В
.
Причем,
singyd=0.5*sin180
откуда,
gyd=8.90.
Следовательно,
ayd=ay+180-8.90
.6
Для этой же точки
.
Положив
ad=80,
получаем ay=6.60
Следовательно,
чтобы обеспечить в точке В задний угол a=80, резцу требуется придать угол ay=6.60. из двух
значений (ay=6.60
ay=110)
принимаем наибольшее и придаем резцу задний угол, равный
.7
Превышение оси резца над линией центров изделия
k=0.5Dsinay=5.7 мм
.8
Радиус окружности заточки резца
Rзат=0,5sin(ay+gy)=14.5
мм
.gy=7°; ay=15,5; k=13,4; Rзаг=19,1 мм
Воспользуйтесь
решением предыдущей задачи .
.
Воспользуйтесь решением задачи №10.
.Алгоритм
решения и комментарии к нему
.1
Определим углы в плане
для точек А, В, С
jB=0
.2
Задний угол имеет наименьшее значение в точке, наиболее близкой к оси детали и
имеющей угол в плане наибольший. Такой точкой является точка А.
Для
этой точки
Отсюда
.
По
условию tgaA>20 ayA=4.360
Принимаем a0=ayA=4.300
.3
Передний угол имеет наименьшее значение в точке, наиболее удаленной от оси
детали и имеющей наибольший угол в плане. Для точки В dB=27 dA= d0=12.36
jB=0.
singyB=( d0/
d) singy;gy=(
d0/ d) singyB;gB= tggyBcosjB;gyB= tggB/cosjB;
по
условию tggB>20, cosjB=1,
поэтому gyB
20,
singy= sin20*27/12.36=0.0762 gy=4.370.
Примем gy=4.300
.4
Угол заточки резца g0
g0=a0+gy=4.300+4.300=90
.5
Проверим углы для точки С
singyC=( d0/
dC) singC=12.36/18.14* sin4.300=3.0640;gC= tggyC*cosjd= tg3.0640*
cos47.7890=0.6359;
gC=2.0590>20;
ayC=ay+gy-gyC=9-3.064=5.9960;aC= tgayC* cosjC= tg5.94*
cos47.780=0.0698;
aC=3.990>20.
Для точки АgA= tggyA*cosj= tg4.300* cos62.780=0.036;
gA=2.060>20.aA= tgayA*cosjA= tg4.300*
cos62.780=0.036,
aA=2.060>20.
Для точки В
singyB=( d0/ d) singy*12.36/27*sin4.30=0.0359,
gB=2.560>20,gB= tggyBcosjB=2.0560,
ayB=ay+gy-gyB=9-2.056=6.940,aB= tgayB*cosjB=6.94>20.
. Для предыдущей задачи определено
gy=4.300 a0=ayA=4.300
.1 Разобьем профиль детали на несколько участков и определим угол в плане
для этих точек и диаметры
|
|
A
|
E
|
F
|
B
|
K
|
C
|
|
D
|
12,36
|
18,14
|
25,08
|
27,0
|
25,08
|
18,14
|
|
jd
|
62,756
|
47,79
|
21,73
|
0
|
27,44
|
47,79
|
.2 Рассчитаем передние и задние углы для названных точек
|
A
|
E
|
F
|
B
|
K
|
C
|
|
gyd
|
4,3
|
3,064
|
2,2159
|
2,056
|
2,2159
|
3,064
|
|
gd
|
2,058
|
2,059
|
2,06
|
2,056
|
2,06
|
2,06
|
|
ayd
|
4,3
|
5,936
|
6,78
|
6,94
|
6,78
|
5,94
|
|
ad
|
2,058
|
3,99
|
6,3
|
6,94
|
6,3
|
3,99
|
Используя формулы
singyd=( d0/ d) singy,gB= tggyBcosjB,
ayd=ay+gy-gyd,ad= tgayd*cosjd.
14.3 Строим график по данным таблицы
а)
в общем виде
( d0- наименьший диаметр на профиле
изделия, - угол конуса)
б) для условий задачи 16 на коническом участке.
°8' £ gd £ 15°44'
. Ошибка состояла в том, что увеличив передний угол, токарь не учел
искажение профиля, которое возникает при таком изменении. Следовало профиль
резца пересчитать и перешлифовать.
. Алгоритм решения и комментарии к нему.
.1 Воспользуемся решением задачи №10. Было определено, что gy=180, а ay=6.60. Поверхность конуса под углом
300 к оси имеет d3=10 мм и d1=30 мм и диаметр резца 60 мм.
.2 Определим высоту профиля по передней поверхности резца
h0=0.5d*sin(gy-gyd)/ singy
Здесь - d диаметр точки L
singyd=( d0/ d) singy=10/30*sin18=0.1031
gyd=5.910
h0=0.5*30*sin(18-5.91)/ sin18=10.16 мм
17.3 Определим высоту профиля в радиальном сечении резца
h1=R-R1
=
=
h1=30-21.19=8.81
мм
длина
конического участка остается неизменной
L=(d1-d3)/2*tg300=17.32
мм
tgj=8.81/17.32=0.5086
j=26.960
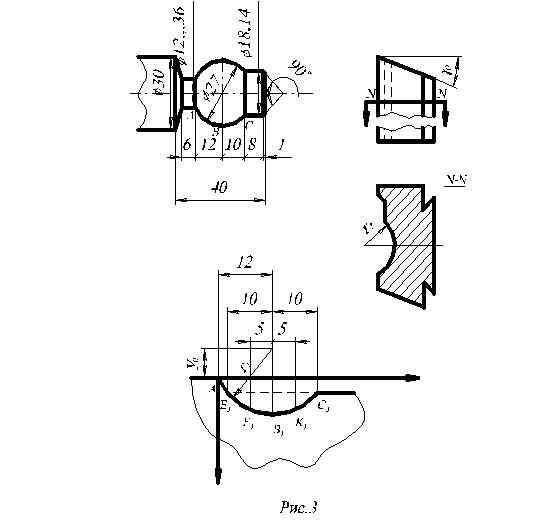
. Алгоритм решения и комментарии к нему.
.1. Отметим на криволинейной части профиля резца (рис. 4) несколько точек
(А1 Е1 С1), соответствующих аналогичным точкам на профиле изделия (рис. 3).
Приняв систему координат, рассчитаем ординаты этих точек (высоты профиля в
сечении, рис. 3) по соответствующим формулам.
Аналогичные расчеты выполним для других точек. Их координаты приведены в
таблице 1.
Таблица
1.
Координаты
точек профилей изделия и инструмента
|
изделие
|
резец
|
|
Точка
|
D
|
X
|
h
|
Точка
|
X
|
h1=y
|
|
А
|
12.36
|
0
|
0
|
А1
|
0
|
0
|
|
Е
|
18.14
|
2.0
|
2.89
|
Е1
|
2.0
|
2.766
|
|
F
|
25.08
|
7.0
|
6.36
|
F1
|
7.0
|
6.038
|
|
B
|
27.00
|
12.0
|
7.32
|
B1
|
12.0
|
6.942
|
|
K
|
25.08
|
17.0
|
6.36
|
K1
|
17.0
|
6.038
|
|
C
|
18.14
|
22.0
|
2.89
|
C1
|
22.0
|
2.766
|
18.2. Написав уравнение окружности радиусом r1 общем виде
(x-x0)2+( y-y0)2=r1,
поставим в него координаты любых трех точек из табл. 1, например, А1; В1;
С1 . Тогда,
x02+y02= r12;
(12- x0)2+(6.942-y0)2=r12;
(22- x0)2+(2.766-y0)2=r12;
решение этих уравнений позволяет получить
x0=12.06, y0=-7.00, r1=13.944.
.3. Поскольку, дуга окружности r1=13.944 проведена через точки А1; В1; С1 , то для этих точек высоты h1 на профиле резца будут
соответствовать табл. 1. Для других точек, замена расчетной кривой окружностью
вызовет отклонение величин h1 от
величин, полученных в результате профилирования. Так, для точки F1 получаем:
(7-12.06)2+(y-7.00)2=13.9442,
откуда
y=5.933,
видно, что высота профиля отличается от h1 на 6.038-5.933=0.044 м. Если такое отклонение может быть
допустимо, то расчет на этом заканчивается. Если же требуется более высокая
точность, то кривую А1…С1 следует заменить двумя или тремя дугами окружностей
различного радиуса, выполнив соответствующие расчеты.
. Алгоритм решения и комментарии к нему.
.1
Определим ширину профиля канавки
.2
Резец призматический с gy=120, ay=80, d0=80 d=90
определим
высоту профиля
h0=0.5d*sin(gy-gyd)/ singy;gyd=( d0/
d) singy=80/90*sin120=0.1848;
gyd=10.650;
h0=0.590*sin 1.350/ sin120=5.099 мм
Определим высоту профиля резца в нормальном к задней поверхности сечении
h1=h0*cos(gy+ay)=5.099*cos 200=4.7915 мм
.3 Так как резец принят круглым, то можно определить его радиус и
координаты центра привяжем координаты к точке С. Тогда координаты точек
А(-8.916;0) В(8.916;0) К(0;4.7916)
Проведем
окружность через эти точки
(x-a)2+(y-b)2=R2;
(-8.916-a)2+b2=R2;
(8.916- a)2+b2=R2;+(4.7916-b)2=R2;
(-8.916-a)2-(8.916- a)2=0;
*8.916a+2*8.916a=0;=0;-b2=8.9162;=(4.7916-b)2=4.79162-2*4.7916b+b2=0;=(8.9162-4.79162)/2*4.7916=5.899;=2*(h1+b)=2*(4.7915+5.899)=21.38.
. m = 14°
. . а) вариант 1 - спроектировать резец с боковым наклоном передней
поверхности gx »10030
б) вариант 2 - спроектировать резец, ось которого в плане была бы
повернута по отношению к оси заготовки на угол m=300
ГЛАВА 3 ИНСТРУМЕНТЫ ДЛЯ НАРЕЗАНИЯ РЕЗЬБ
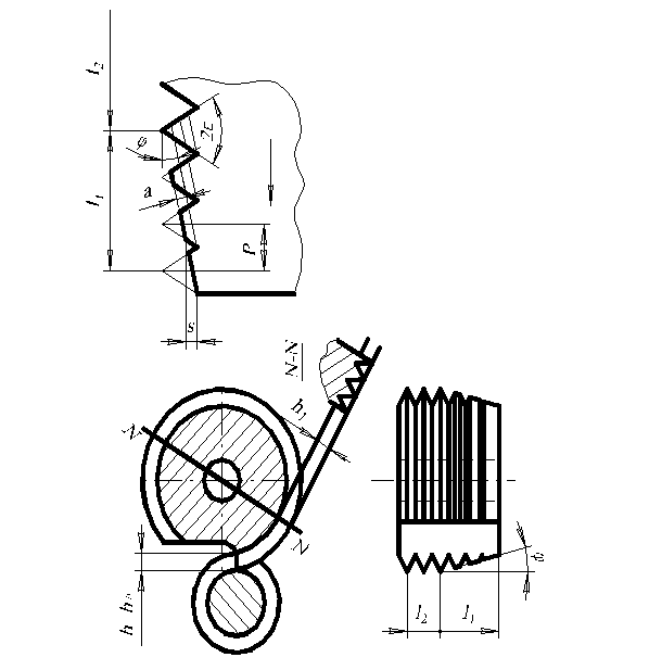
.1 РЕЗЬБОВЫЕ РЕЗЦЫ
Широко распространенной разновидностью стандартных фасонных профилей на
изделиях является резьба, для получения которой могут применяться
призматические и круглые фасонные, а также обычные стержневые резцы. В
зависимости от способа установки по отношению к заготовке резьбовые резцы
разделяются на два вида. У первых передняя поверхность инструмента
располагается в диаметральной плоскости изделия, у вторых - перпендикулярно
направлению средней винтовой поверхности. Рассмотрим оба варианта на примере
стержневого резьбового резца.
Рис. 11
На рис. 11а показан резьбовой резец первого вида с углом gу=00. Он предназначен для
изготовления резьбы с шагом p и
углом профиля 2e.
Передняя поверхность резца расположена в диаметральной плоскости изделия на
линии центров. Поэтому профиль передней поверхности инструмента полностью
совпадает с профилем резьбы, который, как известно, тоже расположен в
диаметральном сечении изделия. В этом одно из важных преимуществ резцов первого
вида. Кромки у них прямолинейны, а угол профиля 2e совпадает с углом профиля резьбы, что удобно с точки
зрения изготовления и контроля инструмента.
Резцам первого вида свойственен недостаток, состоящий в различных
условиях стружкообразования на левой и правой кромках инструмента. Рассечем
изделие и инструмент цилиндрической поверхностью диаметром dcp (средний диаметр резьбы) и развернем
сечение на плоскость ( эскиз сечения показан на рис.11б). Видно, что между
основными плоскостями O1O1 и O2O2, проведенными
перпендикулярно направлению резания в точках m и n и
передней поверхностью инструмента, возникают различные по знаку передние углы -
слева ^gх>0, а справа - _gх<0.
Если резец заточен симметрично с задним углом axo, то в процессе резания возникают задние углы ^ax= axo-t и _ax= ax+t, где t - угол подъема резьбы на среднем диаметре.
Неодинаковость задних углов, вызывающая неодинаковый износ задних поверхностей
инструмента у стержневых резцов, можно устранить, если инструмент заточить
несимметрично (рис.11в) под углами ^axo= ax+t и _axo= ax -t, где ax - задний угол, который желательно получить в процессе
резания. Что касается различия в передних углах, то его нельзя устранить, не
меняя форму передней поверхности, а с нею и профиль резца, что нежелательно. В
связи с этим сила резания на левой и правой кромках инструмента, особенно при
прорезке резьб с достаточно крупным шагом, будут разными, что повлияет на
точность изделия, различной будет и шероховатость поверхности на левой и правой
поверхностях резьбы.
Резьбовые резцы второго вида (рис.12) устанавливают перпендикулярно
направлению винтовой линии на среднем диаметре резьбы. В связи с этим передние
углы на левой и правой кромках инструмента ^ax = _ax =0,
а при симметричной заточке резца и задние углы ^ax = _ax.
Равенство углов обеспечивает идентичные условия резания на обеих сторонах
профиля инструмента. Вместе с тем, поскольку передняя поверхность, лежащая в
плоскости OO, пересекает винтовую поверхность
резьбы под углом t,
кромки инструмента, строго говоря, не должны быть прямолинейными, а должны
специально профилироваться. Если криволинейные кромки, форма которых получена
профилированием (линии1, рис.12), заменить прямолинейными (2, рис.12), то
винтовая поверхность на изделии будет иметь погрешности тем больше, чем больше
угол подъема резьбы.
Из изложенного вытекает, что резцы первого вида следует применять для
чистовой обработки резьбы, когда припуск невелик, невелики силы резания. Эти
резцы имеет смысл оснащать пластинами из твердых сплавов, способных работать
при g<0 и g>0.
Резцы второго вида целесообразно применять при черновой прорезке резьбы.
В этом случае нет необходимости в профилировании кромок. Достаточно
скорректировать угол профиля 2e^, оставив кромки прямолинейными. Поскольку высота K на передней поверхности резца и на
профиле резьбы одинакова, а b^=b*cost, где b- размер на профиле изделия, соответствующий среднему
диаметру резьбы (теоретически b=0,5p), то вместо угла e на изделии получаем угол e^ на передней поверхности резца,
причем
tg ^e= tg e* cost (3.15)
При нарезании резьб используют также и круглые фасонные резцы.
Конструкция этих инструментов в принципе не отличается от конструкции круглых
фасонных резцов общего назначения. Различие состоит в том, что резьбовым
круглым фасонным резцам часто придают передний угол gу=0 и устанавливают их по второму из
рассмотренных выше вариантов, то есть ось резца располагают под углом t к горизонту. Если обрабатывают
резьбу с малым шагом, то профиль резца в плоскости передней поверхности делают
прямолинейным, угол ^e
рассчитывают по формуле (3.15). Как всегда, при gу=0 , и в данном случае h0=h, где h=0,5(d-d1) - высота
профиля резьбы, наружным диаметром d, а внутренним d1.
Зная, h0, по формуле (3.13) можем рассчитать
высоту профиля h1 в диаметральном
сечении инструмента, а затем для этого сечения скорректировать угол профиля по
формуле
(3.16)
.2.
РЕЗЦОВЫЕ ГОЛОВКИ
Высокопроизводительным
способом изготовления резьб на ходовых винтах станков, тяговых винтах прессов и
других аналогичных деталях, является процесс обработки резцовыми головками
(вихревое резьбонарезание), схема которого показана на рис.13. Один, чаще
несколько (3…4) резцов, работающих по методу копирования, закреплены в резцовой
головке, вращающейся вокруг оси A с помощью отдельного привода с частотой n2.
Заготовка, установленная в центрах станка, вращается вокруг оси A1 с
частотой n1<< n2.
Величина
(3.17)
Представляет
собою подачу на один резец, измеренную по наружной окружности заготовки d.
Как видно из формулы (3.17), с увеличением частоты вращения головки n2
при заданной подаче SZ (например, допускаемой с точки зрения прочности
инструмента) или толщине среза
(3.18)
можно
увеличивать частоту вращения заготовки n1, а с нею и
производительность процесса. Поэтому головки для вихревого резьбонарезания
оснащают резцами с твердосплавными пластинами и применяют частоты вращения n2,
соответствующие высоким скоростям резания u=2…7 м/с. На
производительность процесса и качество поверхности резьбы влияет также
эксцентриситет e между режущим инструментом и заготовкой. Величина e
оказывает влияние как непосредственно, что видно из формулы (3.18), так и через
значение угла контакта
(3.19)
Формула
(3.19) получена из рассмотрения ∆AA1K
(рис.13).
Вихревое
резьбонарезание применяют для изготовления винтов с крупным шагом и достаточно
высокими требованиями к точности профиля резьбы. Поэтому инструмент
устанавливают по отношению к заготовке по второму варианту (см. выше) и
профилируют, т.е. определяют формулу кривых I (рис.12),
описывающих режущие кромки. Профилирование резца может быть выполнено
графически или аналитически.
При графическом способе следует, пользуясь методами начертательной
геометрии построить винтовые поверхности канавки резьбы (рис.14) и далее
построить сечение этой поверхности плоскостью, проходящей перпендикулярно
направлению средней винтовой линии. Аналитическое решение, в процессе которого
используется ЭВМ, менее трудоемко и более точно.
Рис. 15
Рассмотрим аналитическое профилирование резцов, предназначенных для
вихревого резьбонарезания. Винтовая поверхность M (рис.14) возникает при вращении прямой ab вокруг оси OZ и одновременном перемещении этой
прямой вдоль оси на величину шага R за каждый оборот. В системе координат CUOZ (ось OC в сечении U -U
проходит перпендикулярно плоскости чертежа) уравнение поверхности M, как известно из аналитической
геометрии, имеет вид:
(3.20)
где
e- угол между линией ab и осью UO. Нетрудно видеть, что в сечении плоскостью U-U (x=0) уравнение (3.20) обращается в уравнение прямой Z=y tge.
Нас
интересует сечение поверхности M плоскостью, проходящей через
середину дна впадины O1 под углом t к оси заготовки.
Решение этой задачи осуществим в три этапа:
)
уравнение (3.20) преобразуем, перейдя в систему координат Z1O1U1C1, начало
которой передвинуто из точки O в точку O1; 2) преобразуем уравнение, полученное в этапе 1, перейдя в систему
координат, перевернутую на угол t вокруг точки O1; 3) решим совместно полученное уравнение с уравнением плоскости x2=0
и этим путем опишем уравнение интересующей нас кривой.
На
первом этапе получаем для любой точки, расположенной на линии ab:
y1=y; x1=x; z1=z-f
где
¦=ac-m=0.5d1tge-m. Тогда
(3.21)
Второй
этап - переход в систему координат Z2O1U2C2, повернутую на угол t по отношению к оси O1Z1,
осуществляем по правилам аналитической геометрии
фреза
резец протяжка
z1=z2cost-x2sint,
x1= z2sint+x2 cost,
(3.22)
y1=y2.
Подставляя
(3.22) в (3.21), получаем
(3.23)
Формула
(3.23) описывает уравнение винтовой поверхности M в системе
координат, проходящей через центр впадины резьбы, причем ось Z2 расположена перпендикулярно к средней винтовой линии резьбы.
В
третьем этапе расчета, полагая x2=0, получаем
(3.24)
Это
выражение и есть искомое уравнение кромки резьбового резца, установленного по
второму варианту (рис.12).
В
формуле (3.24) связь между координатами y2 и z2
присутствует в неявном виде. Чтобы построить кривую z2=j (y2), описывающую профиль кромки, зададимся рядом
значений высот профиля на передней поверхности инструмента h01=0;
h02….h0i. Все эти высоты, как мы уже отмечали ранее,
отсчитываются от базовой линии BB (рис.15). Для точки, имеющей высоту профиля h0i,
получаем y2i=0,5d1+ h0i. Подставляя это значение в уравнение (3.24), с
помощью ЭВМ выполняем ряд итераций, определив соответствующее значение z2i.
Выполнив эту операцию для ряда точек, имеем возможность построить профиль
инструмента на его передней поверхности. При необходимости, кривая, описывающая
профиль, может быть заменена дугой окружности (или дугами окружностей), как
было показано выше.
.3
РЕЗЬБОВЫЕ ГРЕБЕНКИ
Резьбовые
гребенки представляют собой разновидность призматических или круглых фасонных
резцов. Характерной их особенностью является наличие заборной части,
позволяющей заложить в конструкцию инструмента радиальную подачу, необходимую
для обработки всего профиля резьбы за один проход инструмента. На рис. 16
показана круглая резьбовая гребенка, режущая (заборная) часть которой имеет
длину L1, а калибрующая - L2.
Рис.16
Из эскиза режущей части инструмента (рис.16, справа) видно, что при
движении гребенки вдоль оси изделия, кромки, расположенные на заборном конусе,
входят в обрабатываемый материал последовательно, снимая стружки различного
сечения (сечение стружек заштрихованы). Для всех кромок радиальная подача имеет
одно и то же значение
S=ptgj . (3.25)
Соответственно и толщина среза
a=Scosj =Psinj (3.26)
также для всех кромок одна и та же. Чем меньше угол заборного конуса j, тем тоньше стружка и выше качество
обработанной поверхности резьбы. Однако, с уменьшением j увеличивается длина заборного конуса
L1=h/tgj,
следовательно увеличивается общий габарит инструмента и время на его врезание в
заготовку. Практически применяют значения j =12…20°.
Высоту профиля h1 на
калибрующей части гребенки, измеренную в диаметральном сечении инструмента,
рассчитывают так, как и для обычного круглого фасонного резца.
.4 МЕТЧИКИ
Метчики, предназначенные для изготовления резьбы в отверстиях,
представляют собой инструмент, в котором объединены несколько резьбовых
гребенок. Они, как и обычные гребенки, имеют режущую (заборную) часть L1
(рис.17) и калибрующую L2 . Хвостовик инструмента заканчивается элементами
крепления - квадратом L3 или квадратом и фиксирующей канавкой m. Последняя используется при
установке метчика в быстросменном патроне.
Для режущей части метчика в принципе справедливы формулы (3.25) и (3.26),
однако в связи с тем, что метчик имеет z гребенок (зубьев), на каждый зуб приходится подача и толщина
среза, описываемые соответственно выражениями
; (3.27)
(3.28)
Метчиками
работают на металлорежущих станках (машинные и гаечные метчики) или вручную
(слесарные метчики). В зависимости от размеров резьбы метчики могут быть
одинарными или работать в комплекте из двух или трех штук. Одинарные метчики
применяют, как правило, при изготовлении вручную мелких крепежных резьб, а
также при работе на станках. При необходимости изготовить вручную резьбу более
высокого качества, особенно если диаметр резьбы больше 10-12 мм, применяют
метчики, работающие в комплекте.
В
этом случае возможны два способа распределения съема металла между метчиками,
работающими в комплекте, - генераторный и профильный. При генераторном способе
все метчики в комплекте имеют один и тот же средний диаметр, равный среднему
диаметру резьбы изделия, но разные наружные диаметры dI, dII и
dIII (в комплекте из трех штук). Профиль резьбы образуется
так, как показано на рис. 17а. Если же применяют профильную схему съема
материала (рис. 17б), то метчики в комплекте изготавливают с различными
средними dIср, dIIср и dIIIср и различными наружными диаметрами. Только у
последнего (в данном случае третьего) метчика средний и наружный диаметры резьбы
изделия равны.
В
обеих схемах на первый метчик приходится около 50% объема срезаемого материала,
на второй - 35% и на последний - 15%. Для выравнивания нагрузок им придают
разные толщины среза аIZ <аIIZ <аIIIZ. Как видно из формулы (3.2),
при заданном Z можно сделать это только путем придания метчикам
различных углов заборного конуса jI<jII<jIII.
Так как длина заборного конуса теоретически
, (3.29)
где
d1 и d2 -наружный и внутренний диаметры резьбы, то
l1I>l1II>l1III
Геометрические
параметры режущей части метчика (сечение Y-Y,
рис.17) выбирают в зависимости от качества обрабатываемого материала в пределах
gy=
10…25°, ay= 8…10°. Передняя поверхность вблизи
режущей кромки может быть очерчена частью цилиндра радиусом r или
плоскостью, наклонной под углом gy к основной плоскости. Задняя поверхность, как у
многих фасонных многолезвийных инструментов, очерчивается архимедовой спиралью
с падением затылка
(подробно
об этом см. ниже, стр.78).
Калибрующая
часть метчика (рис.17, сечение Y1-Y1) имеет тот же передний угол gy, что и режущая
часть. Задняя поверхность зубьев, однако, здесь имеет несколько другую форму,
чем на режущей части инструмента. На зубе предусматривают фаску длиною ¦ без заднего угла, а затем уже архимедову спираль с задним углом ak»0.25ay. Это удлиняет
срок службы, в течение которого периодически перетачиваемый метчик будет
обеспечивать получение изделий в задних пределах точности. Калибрующей части
метчика придают так называемый обратный конус, т.е. диаметр инструмента по
направлению к хвостику уменьшают примерно на 0,001 мм на каждый миллиметр
длины. Это делают с целью предотвратить защемление метчика в обрабатываемом
материале и облегчить его выворачивание из отверстия по окончании процесса
резьбонарезания. Защемление метчика в отверстии наиболее вероятно при обработке
жаропрочных материалов и нержавеющих сталей. Для улучшения условий
резьбонарезания при обработке этих материалов иногда применяют так называемые
шахматные метчики, у которых часть режущих и калибрующих зубчиков удаляют в
шахматном порядке ([1], стр.172).
Большую
роль в деле обеспечения эффективной работы метчиков играют канавки между зубьями,
по которым отводится стружка и подается охлаждающе-смазывающая жидкость.
Применяют метчики с прямыми канавками (рис.17), винтовыми (рис.18а), прямыми со
скосом (рис.18б) или несквозными (рис.18в). При прямых канавках каждый зубчик,
расположенный на заборной или калибрующей частях метчика, работает как
резьбовой резец первого варианта, со свойственным ему преимуществом и
недостатками. В частности, к последним относится различное качество
обработанной поверхности на левой и правой боковых поверхностях резьбы. Прямые
канавки просты в изготовлении, но мало содействует выводу стружки из
нарезаемого отверстия.
Рис.
18
Рис. 19
Ряда упомянутых выше недостатков лишены метчики с винтовыми канавками.
Режущие зубчики в них работают как резцы второго варианта, что ведет к
улучшению качества обработанной поверхности изделия. В связи с наличием угла w стружка направляется вперед (по ходу
движения метчика), что при обработке сквозных отверстий исключает повреждение
ею готовых участков резьбы. Вместе с тем, поскольку метчики с винтовыми
канавками не профилируются, прямолинейность боковых сторон профиля резьбы не
обеспечивается.
Промежуточным вариантом являются метчики со скосом l и прямыми канавками (рис.18б).
Режущая часть инструмента здесь работает по схеме резьбового резца первого
варианта, а калибрующая - второго. Обеспечивается транспортировка стружки по
направлению движения инструмента.
При нарезании резьб в сквозных отверстиях находят применение метчики с
несквозными канавками, иногда называемые бесканавочными (рис.18в). В этом
случае существенно повышается прочность инструмента, что особенно важно при
обработке отверстий небольшого диаметра в деталях из высокопрочных материалов.
Метчики хорошо направляются в отверстии, калибрующая часть инструмента
обеспечивает резьбы, что повышает качество последней.
.5 КРУГЛЫЕ ПЛАШКИ
Круглая плашка (рис.19) так же, как и метчик, представляет собой
инструмент, в котором объединены несколько резьбовых гребенок. Для того, чтобы
при нарезании резьбы плашку можно было устанавливать в плашкодержатель любым
торцем, резьбовые гребенки на ней имеют две заборные части l1 при одной калибрующей l2. На заборных частях плашки
затылованием (см. ниже) создается задний угол ay. На калибрующей части задний угол равен нулю. Передний угол gy образуется как угол между основной
плоскостью, проходящей через центр инструмента ( и изделия) и касательной к
поверхности стружечного отверстия диаметром d0. Размер стружечных отверстий и диаметр окружности D0, на которой расположены их центры O1, определяют расчетом.
Из ∆OO1K:
или

,
откуда
(3.30)
В
формуле (3.30): d1 - внутренний диаметр резьбы, 2w - центральный угол, соответствующий дуге MK. Величину
угла 2w определим, если зададимся соотношением между длиной
пера плашки LM и размером просвета между перьями MK а
именно LM =c.MK (на практике с=0,65…0,8). Поскольку
где
e=360°/z - центральный
угол между зубьями плашки, то
(3.31)
Из
∆O1OK: получаем также
(3.32)
В
держателе плашку закрепляют с помощью пяти винтов. Два из них, имеющие угол
конуса 60°, предназначены для зажатия инструмента, а остальные
три, показанные штриховыми линиями на рис.19, для закрепления и регулирования.
Регулировочный винт 1 входит в продольный паз на наружной поверхности плашки, а
винты 2 - в отверстия с углом конуса 90°, ось которых
смещена от диаметрального сечения инструмента на величину e=0,5…2мм.
При заворачивании винтов 2 каждый из них оказывает односторонее давление,
направленное в сторону наиболее гибкой части плашки. Это позволяет (при
ослабленном винте1) деформировать корпус инструмента и влиять на размер
нарезаемой резьбы. Особенно сильное влияние можно оказать на размер резьбы изделия,
если прорезать перемычку между пазом и стружечным отверстием под винтом 1.
.6
РЕЗЬБОНАРЕЗНЫЕ ГОЛОВКИ
Круглые плашки применяют при слесарных работах, а также при мелкосерийном
изготовлении резьбовых изделий на револьверных станках и автоматах. В массовом
производстве круглые плашки не применяют, так как из необходимо свинчивать по
окончании рабочего хода. Это увеличивает время операции и может вызвать
повреждение обработанной поверхности при обратном ходе инструмента. Срок службы
круглых плашек невелик.
Чтобы избежать упомянутых выше недостатков в массовом производстве
резьбовых изделий (особенно деталей крепежа) применяют резьбонарезные (или как
их иначе называют, самооткрывающиеся) головки. В головках используют плоские, а
чаще круглые резьбовые гребенки (рис.16). Гребенки установлены таким образом,
что при рабочем ходе они нарезают резьбу, а при холостом - быстро разводятся,
что позволяет ускоренно отвести резьбонарезную головку в исходное положение для
обработки, следующей заготовки.
3.7 ИНСТРУМЕНТЫ ДЛЯ НАКАТЫВАНИЯ РЕЗЬБЫ
Накатывание резьбы - это процесс пластического деформирования материала
заготовки. Накатной инструмент вдавливается в заготовку. Материал заготовки,
деформируясь, заполняет впадину инструмента, формируя выступ обрабатываемой резьбы.
Рис.
20
3.7.1 Для накатывания наружной резьбы применяют три способа: а) плоским инструментом с
тангенциальной подачей - накатывание плоскими плашками; b)
приводным круглым инструментом - накатывание роликами с радиальной подачей; c)
неприводным круглым инструментом с тангенциальной подачей - накатывание
роликами с осевой подачей.
a) Накатывание
резьбы плоскими плашками
Рис.
21. 1- подвижная плашка; 2- деталь; 3- неподвижная плашка
Резьба
на плашках изготавливается с тем же профилем, что и обрабатываемая резьба, угол
наклона резьбы на плашках изготавливается противоположным направлению резьбы у
обрабатываемой детали. Длина плашек выбирается в зависимости от среднего
диаметра резьбы по ГОСТ 2248-60. Плашки устанавливаются параллельно друг другу
со сдвигом на 0,5 шага в середине плашек.
b) Накатывание
резьбы цилиндрическими роликами с радиальной подачей инструмента
Рис.
22. 1- неподвижный ролик; 2- деталь; 3- упор; 4- подвижный ролик.
Ролики
вращаются синхронно, для этого в станке предусмотрена соответствующая
кинематическая связь. Один из роликов получает радиальное перемещение. На
роликах изготавливается многозаходная резьба противоположного направления, но с
одинаковым углом подъема с обрабатываемой деталью, поэтому
D2*N=D2*n
здесь
d2 и D2- средние диаметры резьбы обрабатываемой детали и
накатного ролика соответственно, а N и n- число заходов
резьбы ролика и обрабатываемой детали.
здесь
Т - длина хода резьбы у ролика
t - длина хода
резьбы обрабатываемой детали.
Применяют
ролики с открытым и закрытым контуром. У роликов с открытым контуром впадина
резьбы не участвует в формировании вершины накатываемой резьбы, а потому не
ограничивается точными размерами. У роликов с замкнутым контуром впадина резьбы
формирует вершину накатываемой резьбы, и поэтому форма и размеры изготавливаются
с соответствующими допусками. Ролики с замкнутым контуром применяются для
изготовления резьб с посадками с натягом. Размеры роликов для накатывания
метрических резьб регламентированы ГОСТ 9539-72.
c) Накатывание
резьбы с осевой подачей.
Наибольшее
распространение получил способ с роликами с кольцевой нарезкой. Преимущество
этого способа заключается в том, что выбор роликов зависит только от шага
накатываемой резьбы. В процессе работы ролики устанавливаются под углом к оси
детали так, чтобы совместить направление витков нарезаемой резьбы кольцевой
нарезки роликов (см. рис.).
Рис.
23. 1,2- накатные ролики; 3- деталь.
Ролики
со стороны входа детали в пространство накатки имеют конический заборный
участок с углом »j3ч50. при таком способе накатки ролики вращаются
свободно под действием вращения заготовки, при этом заготовка имеет осевое
перемещение на величину хода резьбы наоборот.
3.7.2 Накатывание внутренних резьб
Применяют
в основном два способа получения внутренней резьбы пластическим деформированием
с помощью метчиков- накатников, и с помощью самонарезающих винтов. Конструкция
метчика- накатника показана на рис.
В
поперечном сечении рабочая часть раскатника имеет форму многогранника со
скругленными гранями. Заборная часть представляет собой коническую резьбу с
полным профилем, угол »j5ч100, число граней для резьб до М6-3, до М20- 6.
Диаметр заготовки под накатку резьбы определяют исходя из баланса металла до
раскатки и после ее
здесь
d- наружный диаметр раскатника;
P- шаг резьбы;
dср- средний
диаметр резьбы раскатника;
d1- внутренний
диаметр резьбы.
.8
ВОПРОСЫ ДЛЯ САМОКОНТРОЛЯ
. Перечислите основные виды инструментов, применяемых для образования
наружных и внутренних резьб на деталях машин. Охарактеризуйте области их
применения, нарисуйте циклограммы их работы.
. Сопоставьте резьбовые резцы с передней поверхностью, расположенной в
диаметральной плоскости резьбы (1-й вариант) и с передней поверхностью,
расположенной в плоскости, перпендикулярной средней винтовой линии резьбы (2-й
вариант). Какие преимущества и недостатки имеет каждый из видов?
. Когда следует применять способ вихревого нарезания резьбы? Какова его
схема?
. Для какой цели на резьбовых гребенках предусматривают заборную часть?
. Как следует устанавливать ось круглой резьбовой гребенки по отношению к
линии (оси) заготовки?
. Совпадает ли профиль в диаметральном сечении круглой резьбовой гребенки
с профилем резьбы в диаметральном сечении изделия?
. Как влияет длина заборной части резьбонарезных инструментов на
производительность процесса обработки, точность резьбы и силы резания?
. По какой поверхности (или поверхностям) перетачивают резьбонарезные
инструменты?
. Охарактеризуйте способы распределения съема обрабатываемого материала
при нарезании резьбы метчиками, работающими в комплекте. Как отражается способ
распределения на наружном, среднем и внутренним диаметрах резьбы метчиков,
работающих в комплекте?
. Чем отличаются друг от друга заборные части метчиков, работающих в
комплекте?
. Должны ли машинные метчики жестко закрепляться в шпинделе станка?
. Как должно располагаться поле допуска на резьбу метчика по отношению к
полю допуска нарезаемой резьбы?
. Чем отличаются и когда применяются «шахматные» метчики?
. Как влияет на процесс резьбонарезания направление стружечных канавок
метчика?
. Чем отличаются и когда применяются бесканавочные метчики?
. Как регулируют диаметр резьбы круглой плашки?
. Как перемещаются гребенки резьбонарезной головки за цикл обработки
резьбы на заготовке? В чем преимущество резьбонарезных головок по сравнению с
круглыми плашками? Когда их следует применять?
. Назовите основные типы резьбонаканатных инструментов и поясните принцип
их работы.
. Почему резьбонаканатные ролики делают многозаходными, если накатываемая
резьба однозаходная?
. Под какими углами a1 и a2 следует
заточить резец (рис.6), предназначенный для нарезания двухзаходной метрической
резьбы шагом p=3мм на заготовке, наружный диаметр
которой d=40мм, если необходимо, чтобы в
процессе резания задние углы инструмента на каждой из режущих кромок составляли
a=6°. В процессе резания gC=gy=0° (резец первого варианта).
. Какой угол между кромками в плане 2e должен иметь резьбовой резец, показанный на рис.6, если в
процессе резания его передняя поверхность будет установлена по отношению к оси
изделия под углом, равным углу подъема винтовой линии на среднем диаметре
резьбы (резец второго варианта). Размеры изделия - по задаче 31, кривизной
профиля резьбы в сечении, перпендикулярном направлению средней винтовой линии,
пренебречь.
. Ходовой винт товарного станка обрабатывается методом вихревого
(скоростного) резьбонарезания (рис.7). Диаметр винта d=60мм, шаг резьбы p=12 мм, резьба трапециоидальная, высота профиля резьбы h=6мм. Диаметр резьбовой головки D=150 мм, число резцов в ней z=3. Скорость резания u=188,5 м/мин, частота вращения
заготовки n1=3,8 об/мин. Определите подачу,
приходящуюся на один зуб головки, а также наибольшую толщину среза на
поперечной кромке резца.
. При нарезании на проход наружной резьбы М24х1,5 применяется круглая
резьбовая гребенка диаметром D=30мм
с передним углом 00. Рассчитать угол в плане заборной части гребенки, если по
условиям качества поверхности изделия толщина среза не должна превышать 0,2 мм.
Какой угол должен иметь профиль кольцевых витков гребенки в ее диаметральном
сечении, если ось инструмента, параллельная оси заготовки, расположена по
отношению к последней с превышением 3,0 мм..
. При нарезании резьбы метчиками в заготовках из конструкционной
углеродистой стали sb=750
МПа момент резания рассчитывают по формуле
где
D и p - соответственно наружный диаметр и шаг резьбы
изделия [6]. Для машинных метчиков Cm=0,27
и Xm=1,4, а для гаечных Cm=0,041 и Xm=1,7.
Влияние угла заборного конуса метчика и его числа зубьев может быть учтено,
если эту формулу представить в виде
Причем
для гаечных метчиков C^m=0,015,
а для машинных C^m=0,12.
Рассчитать
момент резания для трехперового гаечного метчика М16х2, если толщина среза,
приходящегося на зуб az=0,1 мм.
25. Пользуясь формулой, приведенной в задаче 24, рассчитать угол
заборного конуса метчика М6*0,75, при котором обеспечивается прочность
инструмента. Метчик трехперый из быстрорежущей стали. Запас прочности метчика
должен быть не менее 3,0.
. При нарезании вручную резьбы М8х1,25 используют комплект из трех
метчиков. Рассчитать наружный диаметр калибрующей части каждого из метчиков,
входящих в комплект, если между ними предусмотрена генераторная схема
распределения площади срезаемого металла в пропорции 0,5:0,3:0,2.
.
Определить наружные диаметры метчиков М8х1,25, если комплект состоит из двух
инструментов, причем на первый из них приходится 60% общего съема металла.
.
В условиях задачи 26определить угол и длину заборного конуса каждого из
метчиков, работающих в комплекте, если z=3; диаметр
переднего торца метчика D0=6,3мм, а толщина среза aZ1=0,025, aZ2=0,05,
aZ3=0,13 мм/зуб.
.
Получить формулы для расчета наружного и среднего диаметров метчиков, работающих
в комплекте, если применяется профильная схема съема металла (рис.9).
. Рассчитать наружный и средний диаметры метчиков применительно к
условиям задачи 26, если применяется профильная схема распределения съема металла.
. Какой диаметр должны иметь стружечные отверстия круглой плашки из
быстрорежущей стали, предназначенной для нарезания резьбы М16х2 на болтах,
изготовленных из стали 45 (sb=600МПа).
Количество перьев плашки z=4,
угол заборной части 2j=400,
длина пера плашки, измеренная по внутренней окружности резьбы, составляет 60%
от длины промежутка между перьями.
. Центры стружечных отверстий плашки М12х1,5 (D1=10,4 мм) расположены на окружности диаметром D0=16мм. Число перьев плашки z=3, длина пера, измеренная по внутренней
окружности резьбы q=4мм, угол
заборной части 2j=500.
Определить передний угол инструмента в главной секущей плоскости, полагая
последнюю проходящей перпендикулярно к образующей заборного конуса.
. Десятизаходный резьбонаканатный ролик имеет средний диаметр Dср=120мм и шаг между витками p=1мм. Для какого из перечисленных
ниже изделий он предназначен:
М10х1; М12х1; М16х1 ?
.9 ОТВЕТЫ НА ВОПРОСЫ ДЛЯ САМОКОНТРОЛЯ
. Для нарезания наружных резьб применяются:
резьбовые резцы призматические, круглые и стержневые, резцы для
вихревого резьбонарезания, резьбовые гребенки, круглые плашки и накатные
ролики;
при нарезании внутренних резьб используют резцы, обычно
стержневые, метчики;
2. Резьбовые резцы первого варианта имеют прямолинейные кромки и угол
профиля совпадает с углом профиля резьбы. Недостаток - различаются: gх>0 слева, gх<0 справа,
a^х=aхо-t - слева и a_х=aхо+t - справа здесь t- угол подъема резьбы на среднем
диаметре.
Резьбовые резцы второго варианта имеют в процессе работы одинаковые
передний и задний угол на обеих режущих кромках, но при прямолинейных режущих
кромках резьба будет иметь место погрешность профиля.
3. Вихревое резьбонарезание применяют для изготовления ходовых винтов с
крупным шагом при высокой производительности процесса и точности получаемой
резьбы.
4. На резьбовых гребенках предусматривается заборная часть, в конструкцию
которой закладывается радиальная подача, необходимая для обработки всего
профиля резьбы за один проход инструмента.
. Ось круглой резьбовой гребенки устанавливают параллельно по отношению к
оси заготовки.
. Профиль круглой резьбовой гребенки не совпадает с профилем резьбы в
диаметральном сечении изделия.
. Увеличение длины заборной части резьбонарезных инструментов уменьшает
силы резания, увеличивает время обработки; точность резьбы зависит от качества
изготовления калибрующей части инструмента.
. Резьбонарезные инструменты перетачивают по передней поверхности.
. Применяют два способа распределения съема металла между метчиками,
работающими в комплекте: генераторный и профильный.
при первом способе все метчики имеют средний диаметр одинаковый
со средним диаметром изделия, но разные наружные диаметры;
при профильной схеме метчики изготавливают с различными средними
диаметрами резьбы и различными наружными диаметрами;
внутренний диаметр резьбы метчиков не зависит от номера метчика
в комплекте.
10. С целью выравнивания нагрузок, метчики комплекта имеют различные углы
заборного конуса jI<jII<jIII.
. Так как метчики хорошо центрируются в обрабатываемом отверстии, что не
следует жестко крепить метчик в шпинделе станка.
12. Предельный контур резьбы метчика приближают в верхней границе
предельного контура резьбы изделия, оставляя некоторый запас на величину
разбивки.
. У шахматных метчиков удаляют часть режущих и калибрующих зубьев в
шахматном порядке. Делается это для предотвращения защемления метчика в
обрабатываемом материале. Наиболее эффективны такие метчики при обработке
жаропрочных и нержавеющих сталей.
. Для обеспечения одинаковых условий резания на обеих сторонах режущего
зуба метчика (подобно резцам второго рода) применяют метчики с винтовой
стружечной канавки. Эти метчики дают хорошую поверхность резьбы, но вносят
некоторое искажение профиля нарезаемой резьбы.
. Бесканавочные метчики применяют для изготовления сквозных резьб
небольшого диаметра и длины в деталях из высокопрочных материалов.
. Для обеспечения регулирования диаметра нарезаемой резьбы у плашек
делают продольные пазы, в которые водят специальные регулировочные винты. Под
действием этих винтов корпус плашки деформируется. Для усиления этого эффекта
иногда плашки делают разрезными.
. Резьбонарезные головки отличаются тем, что их гребенки в конце рабочего
хода расходятся в радиальном направлении и тем самым позволяют ускоренно
вывести резьбонарезную головку в исходное положение для обработки следующей
заготовки.
. Основные типы инструментов для накатки резьб:
накатные плашки, накатные ролики с радиальной подачей и винтовой
нарезкой, накатные ролики с кольцевой нарезкой и осевой подачей для наружных
резьб;
метчики-раскатники и самонарезающие винты для внутренних резьб.
19. Накатные ролики изготавливают многозаходными для того, чтобы
обеспечить одинаковый наклон резьбы роликов и резьбы обрабатываемой детали.
. Известно, что для резцов I вида
рабочие задние углы равны:
a^х=a^хо-t; а a_х=a_хо+t.
Поэтому a^хо= a^х + t, а a_хо= a_х -t, где t- угол наклона резьбы, a^хо и a_хо - углы заточки на левой и правой кромках резца.
,
где
K-число заходов резьбы, p- шаг резьбы.
t=273°
По
условию на обеих кромках надо обеспечить главные задние углы a=6°, тогда,
,
где
j=60°
Определяем
углы заточки в плоскости X-X
a^хо= 6,91°+2,73°=9,64°
a_хо=6,91°-2,73°=4,18°
Задние
углы заточки в главной секущей плоскости
tga^о= tga^хо*sinj=tg
9,64°* sin 60°, a^о=8,37°.
tg a_о = tg a_хо * sinj = tg 9,64°* sin
60° , a_о=3,62°.
Ответ:
a^о=8,37°, a_о=3,62°
21. Из решения предыдущей задачи известно, что
P=3мм, t=2,73°;=P* cos j.
;
;
;
aN=59,94°=59°56^.
Ответ:
aN= 59°56^.
22. Алгоритм решения
22.1 Определяем частоту вращения резцовой головки
n=400
об/мин.
22.2 Определяем круговую подачу, приходящуюся на зуб головки
22.3 Определяем эксцентриситет между осями головки и винта:
e=0,5D-0,5(d-2h)= 51мм.
22.4 Определяем угол контакта
.
Толщина среза определяется для резьбовых гребенок по формуле
a = P sin j
или
здесь
j - угол заборного конуса гребенки, P -
шаг резьбы.
По
условиям задачи a=0,2мм, P=1,5мм
,
j =7°40^
Для определения угла профиля гребенки, рассмотрим гребенку, как круглый
фасонный резец, у которого высота профиля, из-за наличия заднего угла
уменьшится, по сравнению с исходным профилем нарезаемой резьбы
здесь
R- радиус гребенки, hо- высота
профиля резьбы
gу=0 (по условию)
;
a=11°30^
hо=0,866P=1,299,
.
Угол
профиля гребенки равен
.
a=61,12°
Ответ:
j =7°40^, a=61,12°.
24. Ответ: M=10Hm
. Указание: наибольшие напряжения, возникающие при кручении стержней
некруглого сечения, рассчитывают приближенно по формуле
tmax=Kt^max
Где
.
tmax- напряжения, возникающие в круглом стержне, а K-
так называемый коэффициент концентрации напряжений. Для профилей, близких к
профилю трехперового метчика K»3,2.
Допускаемое
напряжение на сдвиг для быстрорежущей стали ]t[ » 1800МПа.
Ответ: j V8,6°.
26. Алгоритм решения
26.1 Пользуясь эскизом профиля стандартной метрической резьбы (рис.26),
рассчитаем площадь, подлежащую удалению из одной впадины при нарезании резьбы в
гайке (площадь cnqf)
26.2 Определим площадь cnqf
для метчика наружным диаметром D(i)
26.3 Определим отношение
откуда
По
схеме, приведенной на рис.26, пишем
D(i)=d+0,25H-2Hi
26.4 Имея в виду, что
H=0,5p*ctg 30°=0.866p,
для первого метчика (b=0,5) получаем
H1=0,538H=0,466p;
D1=d-0,715p =7,1мм.
.6 Для второго метчика b=0,5+0,3=0,8;
H2=0,353H=0,306p;
D2=d-0,395p =7,5мм.
Ответ: D1= 7,1мм; D2= 7,5мм; D3=d=8мм.
. Ответ: D1= 7,22мм; D2= 8мм.
28. Ответ: j1 =3,4°;
;
j2 =6,9°; l2 »5мм.
.
Ответ:
,
D(i)=d+0,25H-2Hi;
D(i)cp= D(i) -0,75H.
. Ответ: D(1)=7,54; D(1)cp=6,728мм
D(2)=7,834;
D(2)cp=6,728мм
D(3)=8,00;
D(3)cp=7,188мм
. Ответ: dо »9мм. (»g15°; gу »16°; w=28°)
. Ответ: »g11°30^
. Угол наклона витков накатного ролика
, tp=1,518°
Это
соответствует резьбе М12х1.
ГЛАВА 4 ПРОТЯЖКИ
.1 ОБЩИЕ ОСНОВЫ РАСЧЕТА И КОНСТРУИРОВАНИЯ
ПРОТЯЖЕК
.1.1 Конструктивные элементы протяжек
Протяжки - это высокопроизводительный многолезвийный инструмент, предназначенный
для изготовления поверхностей сложной формы. По назначению их можно разделить
на основные три группы:
а) протяжки для обработки отверстий - цилиндрических или фасонных
(многогранных, шпоночных, шлицевых и т. д);
б) протяжки для обработки наружных поверхностей (плоскостей, фасонных
профилей);
в) протяжки для обработки наружных поверхностей на телах вращения.
Протяжки могут быть цельными или сборными (в том числе оснащенными
пластинами из твердых сплавов), нерегулируемыми или регулируемыми.
Несмотря на большое разнообразие типов и форм протяжек, всем им
свойственны некоторые общие элементы конструкции. К этим элементам относится,
прежде всего, хвостовая часть инструмента, предназначенная для установки и
закрепления протяжек в станке, передачи ей тяговой силы и движения. За
хвостовой частью (считая по направлению, обратному направлению движения
протяжки) располагается передняя направляющая часть инструмента, имеющая целью
осуществить ориентацию заготовки по отношению к режущей части протяжки. Последняя,
содержит определенное количество зубьев, осуществляющих съем припуска и
придающих обработанной поверхности заданную форму и размеры. Следующим
элементом конструкции является калибрующая часть протяжки, зубья которой
гарантируют получение заданной точности размеров и формы обработанной
поверхности. На некоторых протяжках для обработки отверстий за калибрующими
следуют выглаживающие зубья, предназначенные для повышения шероховатости и
твердости поверхностных слоев изделия методами пластического деформирования.
Заключительным элементом конструкции протяжек является задняя направляющая,
имеющая целью ориентировать изделие по отношению к протяжке при завершении
операции. Эта ориентация необходима, во-первых, для центрирования заготовки при
прохождении ею калибрующих зубьев, а, во-вторых, для того, чтобы в момент схода
заготовки с инструмента не повредить обработанные поверхности изделия. С этой
же целью на протяжках иногда предусматривают заднюю цапфу, которая, будучи
установлена в подвижном люнете, предотвращает провисание инструмента и
связанное с ним искажение формы изделия.
4.1.2 Схемы резания
Протяжки относятся к инструментам, в которых подача заложена в
конструкцию их режущей части. Это видно, например, на схеме, приведенной на
рис. 28. Режущие зубья возвышаются друг над другом на величину az. При движении по направлению стрелки
каждый из зубьев, находящихся в контакте с заготовкой, удаляет полоску металла
объемом l*B*az. Зубья
находятся друг от друга на расстоянии, равном шагу p, они имеют одинаковую ширину B и высоту h.
Подача обозначается Sz=a*z.
Схема резания, показанная на рис.28, называется одинарной. В ней не все
режущие зубья могут иметь один и тот же подъем. Припуск на обработку заготовки
может быть распределен между черновыми и чистовыми зубьями протяжки. Тогда
первые имеют подъем az, а вторые az’<az. Общий баланс съема материала при одинарной схеме резания
имеют вид:
Cmax=C1+C2,
где Cmax- максимально-возможная величина
припуска, рассчитываемая с учетом допуска на заготовку и изделие. Так, например,
для случая обработки протяжкой цилиндрического отверстия
Cmax=0/5(dmax-d0min),
где dmax - наибольший возможный диаметр
готового отверстия в пределах допуска по чертежу изделия ,а d0min - наименьший возможный диаметр отверстия заготовки в
пределах допуска на нее.
Рис 20
Рис. 21
Количество черновых зубьев протяжки при одинарной схеме рассчитывают по
формуле
z=(Cmax -C2)/ az = C1/ az
Поскольку z целое число, то
после предварительного расчета (если заданы C1 и az)
корректируют либо подъем на зуб az,
либо часть припуска C2, отведенную на
срезание чистовыми зубьями. Количество чистовых зубьев на протяжке обычно z’=1…4, а подъем на них иногда делают
свертывающимся, т.е. уменьшающимся от первого зуба к последующим, но при
условии, что
На
рис. 29 показана групповая схема резания, также применяемая при конструировании
протяжек (чтобы не затемнять эскиз, стружки не показаны). Здесь, в отличие от
одинарной схемы, несколько зубьев, объединенных в группу (на рис . 29 показан
пример, когда в группе три зуба) не имеют подъема по отношению друг к другу.
Подъем azгр имеют между собой только группы. Зато в каждой
группе зубы имеют различную ширину кромок, так что зубья 11 (первый зуб в
первой группе), 12 (первый зуб во второй группе) и аналогичные им 13, 14 и т.д.
удаляют металл объемом l*b1*azгр зубья 21 22 и т.д. - l*(b2-b1)*azгр.
Уменьшение активной ширины кромок позволяет увеличить подъем azгр
по сравнению с az при обработке того же материала. Увеличение толщины
среза, как известно, приводит к относительному снижению сил резания, а так же
улучшает условия врезания кромки в обрабатываемый материал.
Поэтому
протяжки с групповым подъемом (их разновидностью являются протяжки переменного
резания ([1], с.71 и [5] с.57-60), применяют для обработки заготовок с
повышенной прочностью поверхностного слоя (отливок, штамповок).
Баланс
объема материала при групповой схеме резания имеет вид:
Cmax=m*azгр+C2
где
m- количество групп черновых режущих зубьев ,а C2-
по-прежнему часть припуска, подлежащая съему чистовыми зубьями.
4.1.3 Геометрические параметры зубьев
Режущие
(черновые и чистовые) зубья протяжек имеют передний угол g и задний a. Передний угол выбирают в зависимости от свойств
обрабатываемого материала, причем, с целью уменьшить тяговую силу и обеспечить
хорошее стружкообразование всегда делают g>0. заднему углу
на режущих зубьях протяжек для обработки придают возможно меньшее значение (как
правило, a=2…30). Дело в том, что протяжки перетачивают по
передней поверхности, в связи с чем, размер каждого зуба (например, di
рис. 22а) периодически уменьшается. Это уменьшение, нежелательное с точки
зрения службы инструмента, тем больше, чем больше a, если положение зубьев можно регулировать (в частности, у протяжек для
наружнего протягивания), то a=100.
Угол
конуса, на котором расположены режущие зубья протяжки r = arctg(az/p) определяет интенсивность съема обрабатываемого
материала во времени.
Стружка
размещается в канавках между зубьями инструмента. Если протяжка обрабатывает
отверстие, поперечное сечение которого имеет форму замкнутого контура
(окружность), то стружку по окончании операции трудно удалить из канавок.
Поэтому, на режущих зубьях предусмотрены стружкоразделительные канавки. Угол
этих канавок j=45…600, глубина VDaz, а шаг q зависит от свойств обрабатываемого материала и
размеров зуба. Разделительные канавки делают и на других видах протяжек, в том
числе и на протяжках для наружнего протягивания, что облегчает удаление стружки
из канавок инструмента. Канавки располагают на режущих зубьях протяжки в
шахматном порядке. На калибрующих зубьях стружкоразделительные канавки не
делают.
Рис.22
Геометрические
параметры калибрующих зубьев (рис. 30б) отличаются от соответствующих
параметров режущих зубьев. Исключение составляет угол g, одинаковый для всех зубьев протяжки. Задняя поверхность калибрующих
зубьев вначале оформлена в виде фаски f, а затем уже имеет задний угол
ak»10, фаски на калибрующих зубьях нарастают по арифметической прогрессии,
так что f2=f1+d, f3= f1+2d и т. д. Такая конструкция калибрующих зубьев (их
количество zk=4…6) позволяет продлить срок службы протяжки, т. к.
при переточках калибрующие зубья инструмента теряют размер не сразу , а
поочередно и постепенно. Пока на протяжке остается хотя бы один калибрующий
зуб, гарантирующий форму и точность обработанной поверхности изделия, протяжка
еще готова к эксплуатации. Шаг калибрующих зубьев Pk=(0.7…1)p, а
высота зубьев hk
h.
Выглаживающие
зубья инструмента для внутреннего протягивания (рис.30 в) имеют конструкцию,
приспособленную к поверхностному пластическому деформированию обрабатываемого
материала.
4.1.4 Оптимизация режущей части протяжек
Проектируя
протяжку, целесообразно, методами математического моделирования осуществить
комплексную оптимизацию режущей части инструмента. Чтобы определить вид целевой
функции, необходимой для решения этой задачи, рассмотрим выражение (1.1).
нетрудно заметить, что оба члена суммы (1.1), описывающей себестоимость
операций зависят от длины протяжек. Длина протяжки, во-первых, влияет на
основное время операции t0. вспомогательное время tвсп в первую очередь, время на установку и снятие инструмента, зависит
от веса, а, значит, и от длины протяжки. Естественно, что от длины протяжки
зависит и ее стоимость, поскольку, расход инструментального материала и
технологические трудности при изготовлении протяжки вырастают с увеличением L.
Общая
длина протяжки включает длину режущей части Lp, причем,
последняя доминирует среди других величин, входящих в L. Оптимизируя
режущую часть инструмента, необходимо минимизировать длину.
Lp=p(z+z’+1), (4.2)
где
z и z’ - соответственно, количество черновых и чистовых зубьев,
а p- их шаг. Единица в формуле учитывает тот факт, что
первый зуб протяжки, расположенный непосредственно на передней направляющей,
обычно, проектируют так, чтобы он не участвовал в съеме припуска. Если учесть
далее выражения (4.1), то целевую функцию оптимизации можем представить в виде
P(C1/az+z’+1)
→ min (4.3)
В
выражении (4.3) переменными являются величины p и az,
поскольку z’, обычно, задают заранее (z’=1…4).
Чтобы
выполнить оптимизацию, необходимо математически описать технические ограничения,
налагаемые на конструкцию протяжки. К основным техническим ограничениям можно
отнести:
1. тяговую силу протяжного станка;
. помещаемость стружки в канавке между зубьями;
. прочность протяжки;
. ремонтопригодность протяжки;
. предельную длину протяжки;
. предельные значения толщины среза.
Рассмотрим последовательно упомянутые выше ограничения. Первое из них
может быть сформулировано в виде неравенства
P>1.1*Pz*q , (4.4)
где p- эффективное тяговое усилие станка, H; Pz - сила резания, приходящаяся на один зуб протяжки, H; q- наибольшее количество режущих
зубьев протяжки, находящихся, одновременно, в контакте с заготовкой. В свою
очередь,
Pz=Cp*B*azy, (4.5)
где Cp - коэффициент, зависящий от свойств
обрабатываемого материала, переднего угла и качества смазывающе-охлаждающей
жидкости [3] . Bеличина B,
входящая в формулу (4.5) представляет собой наибольшую ширину среза, снимаемую
зубом протяжки B=pd, где d - диаметр обработанного отверстия.
Наибольшее количество режущих зубьев, находящихся, одновременно в
контакте с заготовкой, при одинарной схеме резания рассчитывают по формуле
q=1+l/p, (4.6)
где l- длина обрабатываемой поверхности
(рис. 28). Значения 1+l/p, как правило, оказываются дробными.
Выделив из результата ближайшее меньшее целое число, определим наибольшее
количество одновременно работающих зубьев. Так, по эскизу, приведенному на рис.
28 1+l/p=5.4, а максимальное количество зубьев q=5.
В паспорте протяжного станка всегда приведено предельное значение
развиваемого им тягового усилия P.
Предусматривая, по отношению к этому усилию, запас в 10% на непредвиденные
случаи повышения силы резания, введем в правую часть формулы (4.4) коэффициент
1.1, а далее, с учетом выражений (4.5) и (4.6) получим:
P
>1.1*Cp*B*azy*(1+l/p)
Откуда,
(4.7)
Второе
техническое ограничение связано с необходимостью разместить стружку в канавке
между зубьями протяжки. Каждый зуб срезает полоску металла объемом l*B*az. В
зависимости от свойств обрабатываемого материала, эта полоска может завиваться
в клубок (рис. 28) или распадаться на отдельные элементы. Клубок получается при
обработке вязких материалов (сталь), а элементная стружка - при протягивании
хрупких (чугун, бронза). В обоих случаях, объем пространства, занимаемый
стружкой, должен быть больше, чем объем содержащегося в ней металла. Поэтому,
условие помещаемости стружки в канавке, объемом Wk можно описать
равенством
Wk V k*l* az
где
K- коэффициент помещаемости стружки, больший для вязких
материалов и меньший, для хрупких. Если принять, что полезный объем канавки
между зубьями (рис. 30а) Wk » pr2B и
положить далее r = 0.5h, то Wk » 0.25ph2B.
Следовательно,
.25p h2 V k*l* az (4.8)
Опыт
конструирования протяжек показывает, что в первом приближении можно положить
высоту зубьев протяжки пропорциональной их шагу, т. е. h»c*p. Тогда из формулы (4.8) получаем выражение
(4.9)
описывающее
второе техническое ограничение. Заметим, что в среднем с=0,35…0,4, а коэффициенты
помещаемости стружки для сталей К=3…4, а для чугуна К=2,5.
Техническое ограничение по прочности протяжки описывают неравенством
Pz*q < Fхв[σхв]
где Fхв - площадь поперечного сечения в
самом слабом месте хвостовика, мм2, а [σхв]- допускаемое напряжение материала
хвостовика на разрыв, МПа. Используя последнее неравенство вместе с формулами
(4.5) и (4.6), получаем
(4.10)
Ремонтопригодность
протяжек состоит в том, что в случае аварийной перегрузки протяжка должна
разорваться именно в хвостовике (в крепежной части), а не в другой режущей
части инструмента. Дело в том, что разрушенный хвостовик можно заменить другим,
приварив его к протяжке. Если же разрыв произойдет в другом месте, то при
ремонте невозможно обеспечить надлежащую точность расположения оторванной части
по отношению к остальной части инструмента. Наиболее слабое сечение режущей
части протяжки располагается перед первым зубом, непосредственно за передней
направляющей. Следовательно, условие ремонтопригодности приобретает вид
неравенства
FXB[σхв] < F1[σp], (4.11)
где
F1- площадь сечения режущей части протяжки перед первым
зубом, а [σp]- допускаемое напряжение на разрыв рабочей части
инструмента. Если протяжка целиком изготовлена из одного материала, то [σхв]= [σp] и условие (4.11) приобретает вид FXB<F1.
Величина F1 связана с высотой зубьев протяжки. Так, для круглой
протяжки
.
Поскольку
2h/d0, достаточно мало по сравнению с единицей, положим в
первом приближении
(1-2h/d0)2 »1- 4h/d0 .
Диаметр
первого зуба протяжки равен диаметру передней направляющей, а тот, в свою
очередь, диаметру отверстия под протягивание d0. Поэтому в
последнее выражение входит величина d0. Полагая, по-прежнему, h=c*p,
получаем условие ремонтопригодности для круглых протяжек в виде
FXB[σхв]< 0.25pd02(1- 4*c*p/d0) [σp]
Или
P<0.25d0/c*(1-
4 FXB[σхв]/ pd02[σp]) (4.12)
Аналогичные
выражения могут быть получены и для других видов протяжек.
Техническое
ограничение, учитывающее предельную длину протяжки, получают на основе
следующих соображений. Общая длина протяжки, в принципе, не может быть больше,
чем длина рабочего хода станка. Для целого ряда протяжек, особенно,
предназначенных для обработки отверстий, на длину инструмента накладывают также
ограничения, связанные с технологией изготовления (в частности, с
термообработкой) и эксплуатацией протяжки. Обычно полагают, что общая длина
протяжки Lmax=40d, где d- наибольший диаметральный размер в поперечном сечении
инструмента, однако, независимо от d принимают Lmax<1200
мм. Если положить, что
Lpmax=mLmax
где
m- коэффициент, значения которого, обычно, лежат в
пределах m=0.4…0.5, то
P(C1/az+z’+1)£ m*Lmax.
Откуда
(4.13)
Последнее
из упоминавшихся выше технических ограничений описывается неравенством
amin<az<amax (4.14)
Здесь
amin - наименьшая толщина среза, при которой кромка
способна начать процесс срезания стружки, а amax -
наибольшая толщина среза, при которой процесс стружкообразования при
протягивании может еще протекать удовлетворительно [3] .
Oписав
технические ограничения, следует далее определить область возможных сочетаний p и az.
Это делают либо с помощью ЭВМ, либо графически, построив в координатах az=φ(p) линии по уравнениям
(4.7), (4.9), (4.10), (4.12), (4.13), (4.14). Построение удобно выполнять в
логарифмической системе координат, где некоторые уравнения, например (4.9),
приобретают вид прямой, а другие - линий, близких к прямым.
В
качестве примера, на рис.23 построены линии, отображающие технические
ограничения для протяжки, предназначенной для обработки отверстия d=40
мм; l=40 мм в изделии из стали45. 3аготовка имеет
отверстие, диаметром d0=38 мм. Тяговая сила станка P=204*103 H. По
ходу расчета принимали: Cp=2400, y=0.8, k=3.5, c=0.35, FXB=615 мм2; [σхв]=250 МПа; [σp]=400 МПа; C1
1, z’=2,
amin=0.01, amax=0.15. Стрелками у линий показаны направления, в
которых то или иное условие ограничивает величины az и p.
Область возможных значений заштрихована.
Если
область возможных значений az и p определена, то далее, для каждой из вершин
многоугольника, описывающего эту область, следует по формуле (4.3) рассчитать
значение целевой функции и выбрать комбинацию az и p,
соответствующую оптимуму (минимуму целевой функции). Для примера, показанного
на рис. 23, это az =0.048 мм/зуб и p=8.3 мм.
Оформляя конструкцию протяжки, значение p следует
округлить до ближайшего по ГОСТ 20364-74 ([1], стр. 67), после чего, уточнить
некоторые другие величины, связанные с шагом.
4.1.5 Точность конструктивных элементов протяжек
При проектировании протяжек, важную роль играет значение полей допусков
на размеры некоторых элементов конструкции инструмента. Условно, эти элементы
можно разделить на две группы:
1. обеспечивающие нормальное течение процесса протягивания
. обеспечивающие заданную точность изделий и поддержание этой точности в
течение наибольшего возможного срока службы протяжки.
К первой группе отнесем размеры передней и задней направляющих, размеры и
шаг режущих зубьев. Передняя направляющая должна надежно ориентировать
заготовки по отношению к режущему аппарату протяжки. Причем, должны быть
полностью исключены случаи застревания заготовки на направляющей. Поэтому,
переднюю направляющую делают в пределах допуска е8 на наименьший диаметр
отверстия (или другой аналогичный размер) заготовки. Поэтому, величина допуска
на ее определяющий размер (например, диаметр обработанного отверстия) по
сравнению с допуском на переднюю направляющую может быть уменьшена, верхнее
отклонение от номинала также снижено. Здесь часто используют допуск f7.
Важную роль для обеспечения равномерной нагрузки режущих зубьев играет
точность их размера. Если, например, диаметры режущих зубьев круглой протяжки
будут иметь большие допуска на изготовление, то вместо расчетных значений az между соседними зубьями могут
реально получиться намного большие или меньшие подъемы. Это вызовет
неравномерность нагрузки и различную интенсивность затупления зубьев в пределах
режущей части инструмента. Чтобы такие явления исключить, допуск на режущие
зубья протяжки назначают в пределах (0,1…0,15) az при одинарной схеме резания и (0,1…0,15) (azгр : n)- при групповой (n- количество зубьев в группе). Рассчитанные таким образом величины
допуска желательно согласовать со стандартными. Например, если протяжка имеет
подъем на зуб az=0.048 мм/зуб, то расчетный допуск на
диаметры зубьев составляет (4.8…7.2) мкм. Ближайшее стандартное значение
допуска, например, для протяжки номинальным диаметром 40 мм составляет 7 мкм,
оно относится к IT4.
Следовательно, режущие зубья протяжки будут иметь допуски на диаметр q4.
Протягивание - процесс неравномерный. В связи с толчками, возникающими
при входе или выходе очередного зуба из контакта с заготовкой, и вибрациями,
связанными с этими толчками, иногда возникает специфический для протягивания
вид брака - кольцевые (при обработке круглых отверстий) полосы на обработанной
поверхности отстоящие друг от друга на величину шага протяжки. Этот вид брака
может быть устранен, если шаг p сделать
неравномерным, с отклонениями ±0.5 мм от расчетного значения. Например, при расчетном шаге p=10 мм расстояние между зубьями
следует назначать 9.5, 10, 10.5, 9.5 и т. д.
Особо важную роль в деле обеспечения заданной точности изделий играют
допуски, назначаемые на элементы, входящие во вторую из упомянутых выше групп,
в частности, на размеры калибрующих зубьев протяжки. Здесь используют общие
правила назначения допусков на инструмент. Этих правил два:
1. допуск на инструмент должен составлять часть допуска на обрабатываемое
изделие;
. поле допуска на инструмент должно быть расположено так, чтобы
обеспечить наибольший возможный запас на размерный износ инструмента.
Если обозначить допуск на размер A изделия (диаметр отверстия или
какой-нибудь другой размер, получаемый протягиванием) через δA (рис. 31), то допуск на калибрующий
размер инструмента, в соответствии с первым из упомянутых правил, δu.
На практике δu
= 0.2…0.3 δA. Конкретная
величина этого коэффициента зависит от уровня инструментальной технологии на
данном предприятии, а так же от величины. Как правило, чем больше, тем меньше
можно принять значение δu.
Переходим ко второму правилу. Определяя запас на размерный износ
инструмента, следует учесть, что при протягивании, в большинстве случаев,
возникает, так называемая, усадка размеров. Это значит, что после прохода
протяжки, размер изделия вследствие упругости обрабатываемого материала,
уменьшается по сравнению с размерами калибрующих зубьев инструмента на
некоторую величину. Усадка для различных условий обработки - различна, ее
определяют экспериментальным путем, среднестатистические значения Δ приведены в литературе [6]. Наличие
усадки позволяет разместить поле допуска на инструмент так, как показано на
рис. 31, а именно, вблизи верхнего предельного размера изделия. Теоретически,
можно даже выйти за пределы допуска δA на величину минимальной усадки Δ, увеличив запас на износ инструмента
(положение поля допуска в этом случае показано пунктиром). Можно так же
допустить, что калибрующие зубья протяжки износятся до величины Amin-Δ, что также увеличит срок службы
инструмента. Однако, в этих случаях, нужно быть твердо уверенным, что усадка
обязательно будет больше, чем ∆. Поскольку, ∆ зависит от многих
факторов и ее величина часто не может быть предсказана, поле допуска на
калибрующий размер протяжки размещают так, как показано на рис. 31 сплошными
линиями. В соответствии со схемой расположения полей допусков, исполнительный
размер калибрующих зубьев новой протяжки определяют по формуле
A=( Amin+
δA) - δu (4.15)
.2 ОСОБЕННОСТИ РАСЧЕТА И КОНСТРУИРОВАНИЯ НЕКОТОРЫХ ВИДОВ ПРОТЯЖЕК
Изложенные выше общие основы расчета и конструирования протяжек применимы
к любому из видов этого инструмента. Однако, некоторые разновидности протяжек,
используемые в различных технологических условиях, имеют свои особенности,
которые мы рассмотрим ниже.
.2.1 Шпоночные и шлицевые протяжки
Для того, чтобы изготовить шпоночную канавку в заготовке 1 (рис. 32) с
предварительно подготовленным отверстием диаметром d, протяжку 2 устанавливают в направляющую втулку 3.
Применение втулки, в пазу которой помещается протяжка, существенно упрощает
технологию изготовления и снижает себестоимость. Зубья режущей части протяжки
отличаются друг от друга высотой Hi.
Для уменьшения трения боковых сторон зубьев о стенки обработанной части
шпоночной канавки им придают углы φ1=1…1.50, оставляя, однако, фаску f >az (на практике f=0.5…1
мм).
Ввиду несимметричности нагрузки, шпоночная протяжка испытывает напряжения
не только от растяжения, но и от изгиба. Однако расчет прочности инструмента
делают только на разрыв, несколько снижая в формулах (4.10) и (4.11)
допускаемые напряжения [σXB] и [σP] чтобы учесть влияние изгиба.
Шлицевые протяжки, по сути, являются комбинацией из круглой и шпоночной
протяжек (рис. 33). Диаметр внутренней части канавок между зубьями
соответствует внутреннему диаметру шлицевого отверстия dвн. На режущих зубьях имеются фаски f и поднутрения φ1. На них предусмотрены
стружкоразделительные канавки, расположенные в шахматном порядке.
На калибрующих зубьях поднутрений φ1 и стружкоразделительных канавок нет.
Исполнительные размеры калибрующих зубьев рассчитывают по формулам
dk = (dнарmin + δdнар) - δ u
Bk = (Bmin + δB) - δ u1
где dнарmin и Bmin -
соответственно наименьшие предельные размеры наружнего диаметра шлицевого
отверстия и ширины шлица, δdнар и δB - допуски на эти размеры, а
δu и δu1 - допуски на изготовление
калибрующих зубьев инструмента по наружнему диаметру и ширине шлица.
Разность C=0.5(dнар-dвн) для некоторых шлицевых
отверстий может быть настолько большой, что для удаления этого припуска требует
значительное количество режущих зубьев. В связи с этим, протяжка оказывается
недопустимо длинной. В этом случае, шлицевое отверстие обрабатывают
последовательно комплектом из двух или трех протяжек, распределяя припуск С
между ними. Каждая из протяжек, входящая в комплект, имеет все конструктивные
элементы, свойственные одиночной протяжке (см. 4.1.1.).
4.2.2 Протяжки для обработки зубчатых колес
Высокопроизводительным инструментом, работающим по методу копирования
профилей, являются протяжки для изготовления зубчатых колес или аналогичных им
деталей, например, муфт с зубьями эвольвентного профиля. При обработке колес с
внутренними зубьями протяжки, в принципе, не отличаются от шлицевых (рис.34).
Черновые зубья работают по одинарной или групповой схемах резания, но оставляют
на боках профиля припуск под чистовые и калибрующие зубья (рис. 34), которые
завершают оформление эвольвентного профиля.
Для изготовления изделий с внешними зубьями могут применяться сборные
протяжки (рис. 35). Такая протяжка состоит из корпуса 1, в котором установлено
необходимое количество режущих колец 2, каждое из которых представляет собой
зуб протяжки (tg ρ=az/ρ), так же некоторое количество
калибрующих колец без подъема зубьев по отношению друг к другу. Изделие,
протянутое сборным инструментом, имеет форму зубчатого колеса.
Своеобразными протяжками, у которых зубья, расположенные по контуру
колеса, играют в начале роль режущих, а, затем, калибрующих, являются зуборезные
головки, конструкция которых приведена в [1] (стр.196).
Для прорезки зубьев на конических колесах в массовом производстве
применяют дисковые круглые протяжки ([5], стр. 219-223).
.3. ВОПРОСЫ И ЗАДАЧИ ДЛЯ САМОКОНТРОЛЯ
2. Какие схемы срезания припуска используют при протягивании, в чем их
отличие. Какие преимущества и недостатки имеет каждая из схем резания?
. Что называется балансом съема металла при протягивании?
. Чем отличается конструкция режущих зубьев протяжки от конструкции ее
калибрующих зубьев?
. Почему фаски на калибрующих зубьях протяжки делают неодинаковым?
Наименьшее значение они имеют на первом калибрующем зубе и наибольшее - на
последнем?
. Почему первый зуб режущей части протяжки не имеет подъема по сравнению
с передней направляющей инструмента?
. На какие показатели процесса протягивания влияет величина шага режущих
зубьев инструмента?
. В каком сечении протяжка должна иметь наименьшую прочность и почему?
. Как записать целевую функцию при оптимизации подъема на зуб и шага
протяжки? Перечислите технические ограничения, которые должны быть учтены при
оптимизации режущей части протяжки.
. Чем должны отличаться друг от друга протяжки, предназначенные для
обработки отверстий одного и того же диаметра, но разной длины?
. Каковы особенности конструкции режущей части протяжек переменного
резания?
. Чем отличаются прошивки от протяжек?
. Каковы особенности конструкции шпоночных и шлицевых протяжек?
. Каковы особенности конструкции протяжек для наружнего протягивания
поверхностей?
. Из каких соображений назначают допуски на размеры режущих и калибрующих
зубьев протяжек? Напишите выражение для расчета диаметра калибрующих зубьев
круглой протяжки.
. (2х). Круглой протяжкой обрабатывают отверстие, диаметром d=60 мм и длиной 120 мм в заготовке из
конструкционной стали σB=750 МПа. Шаг между зубьями протяжки р=10.5 мм, толщина среза
на черновых зубьях az=0.03 мм/зуб.
Может ли быть выполнена данная операция на горизонтально-протяжном станке
модели 7А520 с тяговой силой Р=204 кН?
Указание. В данной и следующих задачах для расчета силы резания,
приходящейся на 1 мм длины лезвия зуба протяжки использовать выражение
P1=Cp1*
σB* az0.85
Причем, для углеродистых и конструкционных сталей Cp1 »3.3, а для легированных Cp1»3.5,
σB в МПа, az в мм/зуб.
17.
(3х). Протягивание шлицевого отверстия в заготовке из стали 40Х (σB=665
МПа) длиною l=60 мм выполняется на протяжном станке7А510, имеющем
тяговую силу Р=102 кН и длину рабочего хода ползуна Lmax=1250 мм.
Наружный диаметр шлицев D=40+0.03 мм, внутренний d=31
мм, ширина шлицев В=8 мм, их количество m=6.
допустим ли с точки зрения тяговой силы станка подъем на зуб az=0.05
мм/зуб при шаге между зубьями протяжки р=10 мм? Обеспечит ли длина рабочего
хода станка возможность выполнения данной операции, если длина режущей части
протяжки составляет 50% от общей длины инструмента?
Ответ : по усилию протягивания подъем на зуб допустим. Длина рабочего
хода станка требует применения комплекта из двух шлицевых протяжек.
18. (3х). Круглое отверстие диаметром d0 преобразуют в многогранное с количеством граней m, причем, углы между гранями
закруглены по дугам окружности диаметром D, центр которой совпадает с центром окружности d0. По какому закону должен нарастать
подъем на зубья протяжки, имеющей постоянный шаг между зубьями, чтобы в
процессе протягивания сила тяги протяжки была бы постоянной, если на первом
режущем зубе предусмотрен подъем az1
мм/зуб?
Ответ
где
d- текущий диаметр отверстия (рис. 36), а yp-
показатель в формуле P1=CP1*σB*azYp
(на 1 мм ширины лезвия зуба).
.
(2х). Рассчитать из условий помещаемости стружки высоту зубьев и шаг
цилиндрической протяжки, обрабатывающей заготовку из чугуна с подъемом az=
0.06 мм/зуб, если длина отверстия l=100 мм.
2. (2х). Какой подъем на зуб можно придать черновым зубьям шпоночной
протяжки, обрабатывающей отверстие длиною l=80 мм в легированной стали, чтобы обеспечить помещаемость
стружки при шаге между зубьями р=10,8 мм?
. (2х). Дайте заключение по следующей ситуации. По вине заготовительного
цеха в механический цех поданы заготовки, твердость которых значительно
превышала требуемую по чертежу, в связи с чем, в процессе обработки заготовок
произошел разрыв дорогостоящей протяжки. Кому (заготовительному цеху,
конструкторскому бюро инструментального отдела) должен механический цех
предъявить счет за убытки, понесенные в связи с потерей инструмента, если: а)
протяжка разрушилась в хвостовике; б) разрыв произошел перед первым зубом
инструмента; в каком из вариантов сумма счета должна быть большей?
. (2х). Рассчитать напряжения, возникающие в хвостовике круглой протяжки,
при обработке легированной стали σB=780 МПа, если подъем az = 0.04 мм/зуб, длина изделия l=75 мм, диаметр обрабатываемого
отверстия D=80 мм, а требуемый коэффициент
помещаемости стружки К=3,8. Площадь поперечного сечения хвостовика в наиболее
слабом месте 2000 мм2.
. (2х). Проверить на ремонтопригодность круглую протяжку, часть которой
показана на рис. 37 в двух вариантах: а) протяжка целиком изготовлена из одного
материала; б) хвостовая часть (до места сварки) изготовлена из стали 40Х ([σXB]=250 МПа), а рабочая - из
быстрорежущей стали Р6М5 ([σ]=400 МПа).
Ответ: Ремонтопригоден только второй вариант конструкции.
. (3х). Протяжку, часть которой показана на рис. 37, применяли для
обработки отверстия диаметром 40Н7 (40+0.025) и длиною 120 мм в заготовке из
стали 45 (σB=665
МПа), причем, подъем на зуб в рабочей части протяжки составлял az=0.05 мм/зуб. Хвостовая часть
протяжки изготовлена из стали 40Х ([σXB]=250 МПа), а рабочая - из
быстрорежущей стали. Обработка проводилась на горизонтально-протяжном станке
модели 7520 с тяговой силой Р=204 кН.
При модернизации машины, к которой принадлежит обрабатываемая деталь,
конструкторы увеличили длину отверстия до 140 мм. Вам поручено дать заключение
о возможности использования применявшейся ранее протяжки для обработки
модернизированной детали или о необходимости проектирования нового инструмента.
. (3х). Выполнить оптимизацию рабочей части круглой протяжки,
предназначенной для изготовления отверстия, диаметром 20Н7 (20+0.021) мм и
длиной 40 мм в заготовке из стали ХГ (σB=700 МПа). Заготовка имеет отверстие,
обработанное под протягивание до диаметра d0=18,9±0.05
мм. Обработка производится на протяжном станке, модели 7А510 с тяговой силой
Р=102 кН.
. (2х). Нарисовать схему расположения допусков на изготовление диаметра
калибрующих зубьев круглой протяжки, сведения о которой приведены в задаче 24.
Определить исполнительный размер диаметра, который следует поставить на чертеже
инструмента. До какого наименьшего диаметра могут в процессе эксплуатации
износиться зубья протяжки, чтобы при усадке отверстия ∆=0.003 мм
инструмент обеспечивал получение годных изделий?
Указание: допуск на протяжку принять равным 0.25 допуска на изделие.
. (2х). Определить исполнительные размеры калибрующих зубьев протяжки по
наименьшему диаметру и ширине шлицев в условиях задачи, если допуск на протяжку
составляет 1/3 допуска на изделие.
. (2х). При обработке круглой протяжкой с равномерным шагом между
зубьями, на обработанной поверхности изделия обнаружен брак, в виде ряда
кольцевых полос, отстоящих друг от друга на расстоянии, примерно равном шагу
между зубьями инструмента. Анализ бракованных деталей в заводской лаборатории
показал, что поверхность отверстия в местах расположения колец имеет повышенную
степень наклепа, по сравнению с остальной поверхностью отверстия. Вам поручено
высказать предположение о причине брака и внести предположение по мероприятиям,
необходимым для его устранения.
.4 ОТВЕТЫ НА ВОПРОСЫ ДЛЯ САМОКОНТРОЛЯ
. К основным частям протяжки относятся:
- хвостовая часть; предназначена для установки и закреплении протяжки в
станке;
передняя направляющая для ориентации заготовки относительно режущей части
протяжки;
режущая часть; осуществляет съем припуска и придает обработанной
поверхности заданную форму и размеры;
задняя направляющая; ориентирует изделие по отношению к протяжке при
завершении операции;
задняя цапфа; предотвращает провисание инструмента и связанное с ним
искажение формы изделия;
2. Схема резания при протягивании может быть одинарной и групповой. При
первой схеме - каждый зуб протяжки снимает всю ширину среза и имеет свой подъем
на зуб. При второй схеме - группа зубьев имеет общий подъем, одинаковую высоту,
а срез распределяется по ширине между зубьями в группе.
- Профильная схема резания предполагает снятие слоев металла параллельно
обрабатываемой поверхности.
Генераторная схема резания предполагает снятие слоев металла зубьями,
которые расположены под углом к обрабатываемой поверхности.
3. Баланс съема металла при протягивании состоит в том, что
максимально-возможный припуск на детали должен быть распределен между режущей
черновой и чистовой частями протяжки.
. Комбинирующие зубья протяжки отличаются от режущих тем, что по задней
поверхности они имеют фаску с нулевым задним углом, а затем уже задний угол α=10.
У калибрующих зубьев шаг
и высота профиля делается меньше, чем у режущих Рк=0,7Рр.
. Фаски на калибрующих зубьях делают различной длины для продления срока
службы протяжки. Благодаря этому, при переточках калибрующие зубья постепенно
переходят в чистовые режущие.
. Первый зуб протяжки не имеет подъема по сравнению с передней
направляющей на случай, если у заготовки имеет место погрешность формы.
. Увеличение шага зубьев протяжки уменьшает количество одновременно
работающих зубьев и, как следствие, силу резания. При постоянном подъеме на
зуб, улучшает размещаемость стружки в канавках протяжки. С увеличением шага
увеличивается глубина стружечной канавки, а это уменьшает ее прочность.
. Протяжка имеет наименьшую прочность по сечению хвостовика. В этом
случае, протяжка может быть отремонтирована.
. Целевая функция при оптимизации протяжки имеет вид:
p(C1/az+z’+1)
min, а
ограничениями являются:
- тяговая сила протяжного станка;
- помещаемость стружки в канавках;
прочность протяжки;
предельная длина протяжки;
предельные значения толщины среза.
10. При изменении длины протягиваемого отверстия изменяется шаг между
зубьями, длина протяжки.
. Протяжки переменного резания - это инструменты с групповой схемой
резания. Их особенности описаны в ответе на вопрос №2
. Прошивка отличается от протяжки тем, что ее вдавливают в обрабатываемую
деталь, поэтому, она не имеет хвостовика. Все остальное одинаково с протяжкой.
. Особенностью является то, что они обрабатывают шпоночные и шлицевые
пазы. Зубья таких протяжек имеют форму отрезного резца. Шпоночная протяжка
применяется со специальным приспособлением, называемым адаптором. При большой
глубине пазов, применяют комплекты из нескольких протяжек.
. Наружные протяжки устанавливаются на ползуне наружно-протяжного станка,
изготавливается, как правило, сборным и предназначены для обработки наружных
поверхностей.
. Допуски на калибрующие зубья протяжки назначают в 3,,,4 раза меньше
допуска протягиваемого отверстия и располагают у верхней границы допуска
отверстия.
. Для решения этой задачи, необходимо определить усилие резания
Pz=P1*B*q;
P1=CP1*σB*az0/85 ;
B=π*d;
q=1+l/p;
здесь P1- удельная сила резания, B - ширина среза, q - число одновременно работающих
зубьев, l - длина детали, p - шаг между зубьями
Pz=CP1*σB*az0/85*π*d*(1+l/p)=
=4.3*750*0.030.85*3.14*60*(1+120/10.5)=370.122 kH.
Ответ: деталь не может быть обработана на станке 7А520, так как Pz>P
. Так же, как и в предыдущей задаче, определяем усилие резания, имея при
этом в виду, что
B=b*m=8*6=48 мм;
Pz =CP1*σB*az0/85*B*(1+l/p)=
=4.3*665*0.050.86*48*(1+60/10)=75.292 kH.
Длина режущей части протяжки
Lp=p*(z+1) или
Lp=(C1/az+z’+1)*p
z’ -
число калибрующих зубьев, примем z’=4;
Lp=[(40.03
- 31.03)/2*0.05+4+1)*10=950 мм.
Общая длина протяжки, из условия
L=2*950=1900
мм.
Ответ: по усилию протягивания подъем на зуб допустим Pz<P, длина рабочего хода Lmax=1250 мм, требует применения комплекта из 2-х
протяжек.
. При протягивании такого отверстия нужно сохранить постоянным усилие
протягивания
Рис.38
Pz=CP1*σB*azYp*B*q
или
Pz=A* azYp*B,
здесь А - постоянная величина;
B=m*r*α;
где r - текущий радиус протяжки, (см.
рис.)
α/2=β - ψ=(π/m - arccos(r0/r));
α=2(π/m-
arccos(r0/r));
B=2*m*r*(π/m-
arccos(r0/r));
azYp*2* m*r*(π/m-
arccos(r0/r))= az1Yp*2* π*r0;
.
Ответ
.
Условие помещаемости стружки в канавке между зубьями
.25*π*h2
K*l* az;
здесь
h - высота стружечной канавки; K- коэффициент
помещаемости стружки, для чугуна К=2, l- длина протягиваемой детали, az -
подъем на зуб.
,
принимая
h @ 0.35*p,
получаем
p=h/0.35=11
мм.
Ответ:
pV11 мм, hV3.9 мм
.
Как и в предыдущей задаче, исходим из условия помещаемости стружки 0.25*π*h2 VK*l* az,
здесь
h=0.35; p=0.35*10.8=3.8; К=3, при обработке стальных изделий он
выбирается большим
.
Ответ:
az _0.047 мм/зуб.
.
1. Если протяжка разрушилась в хвостовике, то она спроектирована правильно и
претензия может быть предъявлена только заготовительному цеху на сумму ремонта
протяжки.
.
при разрушении протяжки по первому зубу - протяжка была спроектирована
неправильно и ремонту не подлежит. Претензии к заготовительному цеху и
конструкторскому бюро должно быть предъявлено на полную стоимость изготовления
протяжки.
.
Усилие резания (см. задачу 16)
Pz=CP1*σB*az0/85*π*d*(1+l/p).
Здесь
неизвестным является p- шаг между зубьями протяжки, но из условия
помещаемости стружки
.25*π*h2 V K*l* az
.
При условии, что h=0.35p p=h/0.35=10.8 мм
Pz=4.3*780*0.040.85*3.14*80*(1+75/10.8)=382.324
kH.
Напряжения в хвостовике
σхв= Pz/F=382.324/2000=190
МПа
. Протяжка, варианта №1 имеет слабое место по впадине 1-го зуба. В этом
месте диаметр сердцевины равен
dсерд=38,75-0,05-2*(5,6+0,15)=27,2
мм
Sсерд=0.25*π* dсерд2=581 мм2
под хвостовиком слабым местом будет сечение диаметром
-0.24=27.76 мм
Рис.
39
площадь
фигуры находим
cosα=2*h/d=0.9366 α=20.51190
Очевидно,
что при перегрузках протяжка будет рваться под первым зубом, а стало быть, она
не ремонтопригодна
Протяжка
второго варианта будет иметь
PkpXB= Sхв*
[σхв]=250*599.46=149865 kН;
PkpCEP= Sсерд*
[σCEP]=400*581=232400
kН.
Этот
вариант протяжки ремонтопригоден
Ответ.
Ремонтопригоден второй вариант протяжки
.
Для ответа на поставленный вопрос нужно проверить условие помещаемости стружки,
достаточность тягового усилия станка и прочность протяжки по хвостовику.
.
Условие помещаемости стружки
.25*π*h2 V K*l* az
Коэффициент
помещаемости достаточен.
2. Усилие протягивания
Pz = CP1*σB*az0/85*π*d*(1+l/p) =
3.3*665*0.050.85*3.14*40(1+140/16) = 193 kH.
По усилию потягивания протяжка проходит 193 kH<204 kH.
3. Допускаемое усилие на хвостовике (см. решение задачи № 22)
PkpXB=149.8
kH 149.8_193
Протяжка не может быть использована, следует проектировать новую.
.1. Оптимизация рабочей части протяжки имеет цель обеспечить минимальное
машинное время и наименьший расход инструментального материала. В связи с этим,
целевая функция имеет вид
Lраб ® min
или
P(z+zчист+1) ®min
где p- шаг между зубьями протяжки, z и zчист - соответственно, количество черновых и чистовых зубьев
протяжки. Так как z=C1/az, где C1-
слой металла, удаляемый черновыми зубьями протяжки. В нашем случае
C1= Cmax-C2=0.5(20.021-18.85)-0.03=0.555 мм2,
где C2=0,03- припуск, оставляемый на
чистовые зубья протяжки, количество которых примем zчист=3. Тогда, целевая функция приобретает вид:
P(0,555/az+4) ® min
.2. Техническое ограничение по силе тяги станка
.3
Техническое ограничение по помещаемости стружки, при коэффициенте помещаемости
К=4 и отношении высоты зуба к шагу С=0.35
az _ 6.01*10-4p2
.4.
Техническое ограничение по прочности хвостовика. Принимаем хвостовик по ГОСТ
4044-70 [2] , диаметром dXB=18 мм, с площадью сечения в слабом месте FXB=193
мм2. Полагаем, что хвостовик из инструментальной легированной стали приварен
встык к протяжке из быстрорежущей стали. Допускаемые напряжения для хвостовика [σХВ]= 250 МПа, для режущей части протяжки [σ]=400 МПа [2].
или
.5
Техническое ограничение по ремонтопригодности протяжки
Или
P_7.7 мм
.6
Техническое ограничение по длине протяжки. Полагаем предельную длину Lmax=40
D=800 мм и Lp=0.5 Lmax=400 мм.
или
24.7
Техническое ограничение по предельным величинам толщины среза (az min и az max).
Принимаем
,01_az _0.1
.8
В логарифмической системе координат строим технические ограничения (рис. 40). В
узловых точках A…F области возможных значений az и p
(заштрихованный многоугольник) определяем значение целевой функции. Наименьшее
значение Lp(B)=206 и близкое к нему Lp(C)=215,
остальные намного больше. Имея в виду технологические условия изготовления
протяжки, остановимся на точке С.твет
az =0.023
мм/зуб; p=7.7 мм.
.
Ответ:
dk=20.021-0.005
dk min=20.003
.
Ответ
dk=40.03-0.01 B=8.03-0.01
27.
Описанная в задаче ситуация устраняется в изготовлении протяжки с неравномерным
шагом. Эта операция может быть выполнена при заточке протяжки.
ГЛАВА 7 ИНСТРУМЕНТЫ ДЛЯ ИЗГОТОВЛЕНИЯ ЦИЛИНДРИЧЕСКИХ ЗУБЧАТЫХ КОЛЕС,
РАБОТАЮЩИЕ ПО СХЕМЕ “РЕЙКА-КОЛЕСО”
.1 ЗУБОСТРОГАЛЬНЫЕ ГРЕБЕНКИ
7.1.1 Геометрические параметры зубьев
На рис.40 показана схема обработки гребенки 1 при изготовлении
прямозубого колеса 2, Главное движение - возвратно-поступательное, оно
направлено параллельно оси колеса. Поэтому основная плоскость 00 проходит
перпендикулярно оси заготовки. В нижней части рис. 40 показана проекция
инструмента на основную плоскость. Здесь профиль гребенки соответствует
теоретическому профилю инструментальной рейки. Каждый из зубьев инструмента
имеет три режущих кромки - одну поперечную и две боковых. Главная секущая
плоскость для поперечной кромки совпадает с плоскостью УУ для всего
инструмента. Поэтому для этой кромки передний и задний углы имеют значения,
определяемые установкой гребенки на станке.
Передний угол γ на боковой кромке рассчитываем, применив формулу (1.6)
из единой геометрии инструментов.
При γх = 0 и угле в плане φ = 90°- ω, где ω - угол зацепления.
tg γ =
tgγyÌsinω (7.1.)
Угол установки гребенки по отношению торцу заготовки на станках
современных конструкций γyÌ =6°30'.
В соответствии с формулой (7.1) при стандартном зацеплении с углом ω
= 20° на боковой кромке
зуба гребенки γ = 2°14 . Значение γÌ= 2° при обработке некоторых (особенно
вязких) материалов оказывается недостаточным. В этом случае применяют
зубострогальные гребенки с дополнительной заточкой. Два вида такой заточки
показаны на рис.41. Первый из них применяют для гребенок с модулем т < 10, а
второй т = 10...24 мм. По первому варианту (рис.41а) гребенку устанавливают под
углем η1
к горизонту и затачивают
всю переднюю поверхность небольшим абразивным кругом диаметром dк . При этом,
как следует из рассмотрения треугольника ОкMQ
(7.2.)
где:
S - текущая толщина зуба гребенки. Среднее значение угла γхср определяем из выражения
(7.3.)
подставив
в формулу (7.2) толщину зуба гребенки по начальной линии S и положив за
малостью угла
.
Имея
в виду выражение (7.3), .передний угол на боковых кромках зуба, полученной
заточкой, рассчитываем по формуле (1.6)
(7.4.)
Полное
значение переднего угла, возникающее за счет предварительной заточки и
последующей установки гребенки на металлорежущем станке, получаем, суммируя значения
углов, рассчитанных по формулам (7.1) и (7.4)
(7.5.)
Может
быть поставлена и обратная задача. Задав значение γ' по формуле (7.5) определяют γзат затем при известных dк и S - по формуле (7.4) угол
установки при заточке η1.
По
второму варианту (рис.14 б) передний угол
(7.6.)
имеет
постоянное значение по всей длине режущей кромки (b - ширина канавки).
Следовательно,
и в процессе резания
γ' ≈
const. В этом преимущество второго
способа заточки перед первым. Другим преимуществом второго способа заточки
является более высокая точность боковых кромок инструмента. Дело в том, что
кромка образуется как результат пересечения плоскости (передней поверхности до
заточки) с цилиндрической поверхностью круга. Во втором варианте заточки эта
плоскость пересекает поверхность круга параллельно оси его вращения, что, как
известно, дает прямую линию. В первом варианте заточки цилиндр (круг) пересекается
плоскостью, наклоненной к его оси под углом η1, что придает кромкам криволинейную форму и вносит погрешности в
геометрию боковой поверхности зубьев нарезаемого колеса.
К
сожалению, малые размеры зубьев гребенок при т < 10 не позволяют осуществлять
их заточку по второму варианту.
Рассмотрим
далее вопрос о задних углах гребенки. Обычно для прямозубых гребенок принимают αy = 5°30. По формуле (1.9) получаем при γy = 6° 30 и γy = 0 значение
λ
= - 6°, что позволяет положить в формуле
(I.I2) η
= 0°. Тогда по формуле (1.11) получаем
(7.6)
Для
стандартного зацепления (ω
=20°) получаем α = 1°53. Если это значение заднего угла не удовлетворяет по
каким-либо соображениям, то следует увеличить αy и соответственно предусмотреть в процессе изготовления
инструмента задний угол
7.1.2 Профилирование гребенки
Зубострогальной
гребенке, как и всякому фасонному инструменту, свойственны три профиля: I)
исходный, 2) по передней поверхности зубьев и 3) в плоскости, перпендикулярной
к задней поверхности инструмента.
Исходный
профиль расположен в проекции на основную плоскость (нижняя проекция на
рис.40). В этой плоскости размеры гребенки непосредственно связаны с размерами
зубьев нарезаемого колеса. Шаг гребенки равен шагу по делительной окружности
колеса. (Условимся все размеры, относящиеся к изделию, обозначать малыми
буквами, а к инструменту - большими; поэтому р - это окружной шаг между зубьями
колеса, а Р - шаг между зубьями гребенки)
Размер
впадины между зубьями колеса по делительной окружности теоретически должен быть
равен 0,5р , следовательно по делительной линии гребенки толщина зубьев
теоретически
. Однако, с целью обеспечения зазора в зубчатом
соединении, толщину зуба колеса делают меньше теоретической на некоторую
величину Δ.
Поэтому исходный профиль зубьев гребенки
по делительной линии имеет толщину, отличающуюся от Sтеор, a именно
Высота
головки зубьев гребенки На в исходном сечении равна высоте ножки зубьев колеса
hf, т.е. На = hf.
Теоретически
высота ножки зубьев гребенки должна быть равной высоте головки зубьев колеса
hа. Однако, для того, чтобы гребенка не обрабатывала заготовку по наружной
поверхности (в чем нет необходимости), высоту зуба на гребенке делают больше
высоты зуба колеса h на некоторую величину C (рис.40). Последнюю добавляют к
высоте ножки гребенки, так что Hf = ha+ C. Для стандартных зубчатых колес обычно
Hа=Нf= 1,25m, а полная высота исходного профиля гребенки
Н
= Hа + Нf = 2,5m
Приведенные
выше значения S, На, Нf, H относятся к так называемым чистовым гребенкам,
которые предназначены для окончательной обработки зубчатого колеса (“начисто”).
В производстве находят применение еще два вида гребенок: шлифовочные и
черновые.
Шлифовочные
гребенки предназначены для обработки профиля зубьев колеса с припуском на
последующую шлифовку, а черновые - для предварительной прорезки впадин у колес.
Естественно, что толщина зубьев чистовых, шлифовочных и черновых гребенок
должна подчиняться условию
черн
< Sшл < S
где:
Sчерн, Sшл и S - размеры, относящиеся соответственно к червовой, шлифовочной и
чистовой гребенкам. Обычно принимают
Шлифовочные
и черновые гребенки отличаются от чистовых также и высотой зубьев, причем
Нчерн
> Ншл >Н
Это
позволяет разгрузить поперечную кромку. шлифовочных и чистовых гребенок, чем
повышает точность обработки. Обычно
Схема
соотношения между исходными профилями упомянутых выше трех типов гребенок
показана на рис. 42.
Профиль
по передней поверхности (в плоскости А-А, рис.40) используют для контроля
размеров гребенки с помощью инструментального микроскопа или других оптических
измерительных устройств. Высота профиля Н0 может быть рассчитана по формуле
(7.7.)
что
следует непосредственно из рис.40. В связи с различием между высотами профилей
Н0 и Н при неизменных осевых размерах (толщина S и др.) угол профиля ω0 отличается от ω. Нетрудно увидеть, что
(7.8.)
Профиль
в плоскости, перпендикулярной к задней поверхности, как и для других фасонных
инструментов, например, призматических резцов (стр. 18), необходим для
профилирования гребенки инструментом второго порядка. Так называется
инструмент, предназначенный для изготовления инструмента, в частности, для
гребенки - это абразивный круг, шлифующий профиль зубьев.
Непосредственно
из рис. 40 получаем
а
с учетом значения Н0 по формуле (7.7)
(7.9)
Угол
профиля зубьев в сечении N - N рассчитываем по формуле
(7.10.)
Переточку
гребенки осуществляют путем шлифования её по плоскости А-А (рис.40). Изменений
в размерах Но и Н, a также в углах профилей ω0 и ω1
при переточке инструмента не возникает.
7.1.З Расчет минимальной длины гребенки
Для
того, чтобы без перерывов в процессе обкатки обработать зубчатое колесо с
делительной окружностью d
= mÌ z теоретически гребенка
(рейка) должна иметь длину L не меньше, чем длина окружности πd. Однако, даже при малом модуле и небольшом количестве
зубьев ни длина хода станка по направлению перемещения гребенки, ни технология
изготовления инструмента не позволяют воспользоваться условием L > πmz. Гребенки делают значительно меньшей длины. После
нарезания (в процессе обкатки) нескольких зубьев колеса гребенка выводится из
контакта с заготовкой и возвращается в исходное положение. Заготовку при этом
не поворачивают, что позволяет при новом ходе обработать еще несколько зубьев
колеса. В прерывистости процесса обкатки, влияющего на производительность
операции, состоит один из недостатков метода обработки колес зубострогальными
гребенками. Достоинствами этого метода является простота конструкции
инструмента, неизменность профиля при переточках, возможность обработки блоков
колес и колес с фланцами.
Возникает
вопрос; если нельзя сделать L > πd, то какую минимальную длину может иметь гребенка? Чтобы рассчитать эту
длину, рассмотрим схему, приведенную на рис.43. Гребенка, двигаясь в процессе
обкатки слева направо, начинает резание в точке Е на наружной окружности rа
зубчатого колеса. Уголок гребенки, начав резание в точке Е , закончит свою
работу в точке К, ,расположенной на пересечении линии профилирования ТТ с
горизонталью, проведенной через точку Е (см.правило 6). Следовательно,
минимальная длина гребенки
где:
S а-толщина зубьев инструмента на линии выступов.
В
свою очередь
причем
Тогда
(7.11)
Практически
гребенки делают большей длины, чем получается расчетом по формуле (7.11). Это
позволяет обеспечить обработку нескольких зубьев колеса до перерыва в процессе
обкатки.
Пользуясь
рис.43, отметим, что рабочий участок профиля зубьев нарезанных гребенкой, имеет
длину КM . Он расположен между окружностью выступов колеса ra и окружностью,
проходящей через точку К. Радиус последней
(7.12)
назовем
переходным радиусом, поскольку все точки зубьев колеса, расположенные на
участке rn - rf ( rf - радиус окружности впадин) будут принадлежать не
эвольвенте, а переходной кривой.
.2.
ЧЕРВЯЧНЫЕ ФРЕЗЫ ДЛЯ НАРЕЗАНИЯ ЗУБЧАТЫХ КОЛЕС
.2.2 Основные элементы конструкции
Червячная
фреза представляет собою червяк с дополнительными элементами, обеспечивающими
процесс резания при изготовлении изделий методом обкатки. Дополнительными
элементами являются стружечные канавки между зубьями которые формируют переднюю
поверхность зубьев фрезы. К дополнительным элементам конструкции относится
также затылование задних, поверхностей зубьев. Пересечение поверхности
стружечных канавок и затылованных задних поверхностей образуют профиль реек,
формирующих в процессе обкатки зубья нарезаемого колеса.
Геометрические
параметры зубьев червячных фрез (рис.44) мало отличаются от аналогичных
параметров фасонных затылованных фрез. Здесь, как и .для чистовых инструментов,
часто полагают γу = 0° а γу >0 применяют при черновой обработке колес. При γу >0 корректируют профиль фрезы (стр. 83). Задние
углы принимают в пределах αy=12...13°, что позволяет получить на боковых режущих кромках фрез с углом профиля ω = 20° задние углы α = 2...4° расчет α следует вести по формуле (7.6), приведенной выше.
В
остальном к конструкции и размерам зубьев червячных фрез относится все то, что
изложено по отношению к другим фасонным затылованным фрезам.
Отдельно
рассмотрим вопрос об угле подъема витков фрезы Как для любой винтовой
поверхности, в том числе и для червяка, угол подъема средней винтовой линии
рассчитывают по формуле
(7.13)
где:
Р - осевой шаг, a Dср - средний диаметр резьбы. В свою очередь между осевым
шагом Р и шагом РNпо нормали к виткам существует соотношение, вытекающее из
рассмотрения -рис.43
где:
λ
- угол между направлением стружечной канавки
и осью инструмента. Как правило, полагают λ = τ. Тогда зуб фрезы оказывается аналогичным резцу второго
варианта (стр. 34) со свойственными ему преимуществами в геометрии режущих
лезвий. Если положить λ
= τ, то можно получить
(7.I4)
Объединяя
далее выражения (7.13) и (7.14), получаем
Нормальный
шаг фрезы должен быть равен окружному шагу Р прямозубого колеса (рис.44).
Следовательно
(7.I5)
Если
обрабатывается косозубое колесо, то в (7,15) надо подставлять значения
нормального шага колеса РN и нормального модуля mN.
Конструируя
фрезу для обработки колес заданного модуля, следует принять то или иное
значение τ.
При этом надо иметь в виду такие
соображения.
Увеличение
τ,
как видно из формулы (7,15), ведет к уменьшению
диаметра фрезы. Это выгодно с точки зрения экономии инструментального материала
и снижения времени на врезание фрезы в заготовку. С другой стороны, однако,
уменьшение Dср вызывает необходимость уменьшить количество зубьев инструмента,
а следовательно и производительность процесса. Чем меньше диаметр фрезы, тем
труднее разместить в ней отверстие под достаточно прочную и жесткую оправку.
Следует также иметь в виду, что увеличение τ ведет к искажениям геометрии профиля зубьев нарезаемого колеса. Дело в
том, что с увеличением передняя поверхность зубьев все больше отличается от
плоскости.
Поэтому
профиль зубьев фактической рейки (вид А-А, рис.44) при установке инструмента
под углом μ
= 90°- τ (для прямозубых колес) все
сильнее отличается от теоретического профиля исходной рейки. Естественным
следствием этого являются погрешности формы зубьев колеса, возникающие в
процессе обкатки.
Учитывая
различные стороны влияния τ на
процесс зубообработки, приходится отдать предпочтение малым значениям угла.
Практически
τ
=2...6°, причем, меньшие значения углов
относятся к чистовым фрезам, а большие - к черновым.
К
точности профиля изделий непосредственное отношение имеет форма винтовой
поверхности червяка, лежащего в основе фрезы (его называют основным червяком).
Основной червяк может быть звольвентным, архимедовым или конволютным. Название
червяка соответствует виду кривой, которая получается как результат пересечения
боковой поверхности витка с плоскостью, перпендикулярной оси червяка. Если в
этом сечении получается эвольвента, то и червяк называется звольвентным. В двух
других случаях в сечении получается архимедова спираль (стр. 78), что
соответствует архимедовому червяку, укороченная или удлиненная эвольвента
(конволютный червяк).
Наиболее
точные изделия можно получить, если основной червяк является звольвентным.
Тогда поверхности червяка геометрически правильно зацепляются с звольвентным
профилем зубьев колеса. Однако профилирование червячных фрез с звольвентным
основным червяком вызывает ряд трудностей при изготовлении инструмента.
Второе
место по точности занимают фрезы, профилируемые на основе архимедового червяка.
Архимедов червяк отличается тем, что в диаметральном сечении У-У (рис.44)
боковые стороны профиля рейки имеют вид прямых линий. Такой червяк удобно изготавливать
резьбовым резцом первого варианта (стр. 33) и соответствующим шлифовальным
кругом (при двойном затыловании фрезы).
Наименее
точными получаются фрезы, профилируемые на основе конволютного червяка. У этого
червяка прямолинейными являются боковые стороны профиля рейки в нормальном
сечении А-А (рис.44).
Такие
фрезы применяют для обработки колес 9-й и 10-й степеней точности. Отметим,
кстати, что согласно ГОСТ 9324-80, цельные червячные фрезы модулем m=1..20мм
изготавливают пяти классов точности - АА , А , В , С и D. Фрезы класса АА
применяют для нарезания зубчатых колес 7-й степени точности, класса А - 8-й ст.
пени, остальные - 9-й и 10-й,
К
конструктивным элементам червячных фрез, не связанным непосредственно с
процессом резания, относятся специальные буртики а показанные на рис.43. Эти
буртики служат для контроля биения фрезы при установке её на оправку
зубофрезерного станка, поскольку проверка биения по режущей части инструмента
затруднительна. Биении же фрезы влияет на шероховатость обработанной поверхности.
Чтобы буртики были расположены концентрично режущей части фрезы, в процессе
изготовления инструмента их шлифуют, не меняя установку каждый раз, когда
обрабатывают профиль зубьев инструмента (затылование, шлифование).
Минимальную
длину фрезы Lmin рассчитывает так же, как и минимальную длину зубострогальной
гребенки по формуле (7.11). Фактическую длину фрезы L делают кратной Lmin для
того, чтобы иметь возможность передвигать инструмент по оправке по мере
изнашивания его зубьев.
7.2.2 Исходное сечение зубьев фрезы
Червячную
фрезу, как всякий затылованный инструмент, затачивают по передней поверхности.
В связи с заточкой диаметр фрезы уменьшается, профиль инструмента смещается к
центру. Если новая фреза имела наружный диаметр Daнов, то после переточки на
угол ψ
этот размер уменьшится на величину 2ef
(рис.45). В соответствии с законом падения архимедовой спирали, которой очерчен
затылок фрезы наружной поверхности, можем написать

где:
ε
- угол между зубьями, а К - падение
затылка.
Поскольку боковые поверхности зуба, очерчены конхоидами архимедовой
спирали, то и средний диаметр новой червячной фрезы Dсрнов при переточке на
угол ψ
уменьшится на величину 2Δ
= 2ef, и будет иметь
величину
(7.16.)
Осевой
шаг фрезы Р при переточках инструмента не меняется. Следовательно, как видно из
формулы (7.13.), изменяется угол подъема на средней винтовой линии. Его новое
значение из выражения
(7.17.)
Но
как следует кз формулы (7,14), при изменении τ изменится и шаг по нормали червячной фразы
(7.18)
а
с ним и окружной шаг прямозубого колеса (или нормальный шаг косозубого) . Это
изменение описывается формулой

(7.18а)
где
р - номинальное значение шага изделия.
Допуск
на величину р определяется предельными значениями рmax и pmin.
Построим
схему (рис. 46), на которой по оси координат будем откладывать значения шага, а
на оси абсцисс - углы ψ.
Вначале рассмотрим вариант, когда новой
фрезе (ψ
=0) будет придано номинальное значение PN
= p . По мере переточек (ψ>0)
нормальный шаг фрезы PN (ψ), а с ним и окружной шаг изделия р(ψ) будет уменьшаться по сравнению с р, что следует из
формул (7.17) и (7.18.). Это изменение показано на схеме линией ОМ (для
простоты рассуждений положим, что кривая р(ψ) может быть заменена прямой; при сравнительно малых значениях ψ это недалеко от истины). Как только линия ОМ при
некотором значении ψ
= ψт пересечет линию pmin, фрезу
следует снять с эксплуатации, и поскольку при дальнейших переточках (ψ >
ψт) она будет давать брак изделий -
р(ψ)<рmin Заметим, что при рассматриваемом варианте часть
поля допуска на шаг, расположенная между р и рmax не используется.
Задачу
можно решить более удачно, увеличив срок службы инструмента. Для этого новой
фрезе следует придать шаг РNнов = рmax. При переточках изменение шага будет
теперь описываться линией NM'. Моменту выхода инструмента из эксплуатации будет
теперь соответствовать значительно больший угол ψс, на который можно переточить фрезу. Фреза, как видно
из рис.46, вначале будет изготавливать колеса с шагом, имеющим погрешность со
знаком плюс. Затем, когда фрезу переточат на угол ψ = ψт , её щаг, а значит и шаг изделия будет
соответствовать теоретическому (номинальному) значению р. При дальнейших
переточках фреза будет изготавливать изделия с шагом в пределах между
номинальным и наименьшим значением т.е. использовать минусовую часть допуска.
Из
изложенного следует, что исходный профиль зуба червячной фрезы должен
находиться в сечении, расположенном под углом ψт к задней поверхности нового, инструмента. На
практике обычно
где
угол между зубьями. Предел стачивания соответствует
углу
.
На
основе этого правила строится алгоритм расчета среднего (Dcp) и наружного (Dа)
диаметров червячной фрезы. Он состоит в следующем.
.
Приняв предварительно значение угла подъема на средней линии витка основного
червяка τ
по формуле (7.15) рассчитывают
предварительное теоретическое значение Dcpтеор = Dcpисх.
.
Значение Dcpисх относят к исходному сечению, т.е. полагают Dcpисх = Dcp(ψт) и по формуле (7.16.) определяют предварительное
значение Dcpнов для новой фрезы
,
.
Определяют предварительно наружный диаметр новой фрезы
где:
На - высота головки профиля фрезы.
.
Стандартом (ГОСТ 324-80) рекомендованы определенные значения диаметров
окружности выступов (наружного диаметра) фрезы ([1], стр.220). Ориентируясь на
значение Daнов, рассчитанное в п.3, принимают ближайшее значение наружного
диаметра новой фрезы, которое обозначим Daст (стандартное).
.
Уточняют (пересчитывают) величину среднего диаметра фрезы в исходном сечении
.
Имея в виду, что для новой фрезы
по
формуле (7.15) рассчитывают угол подъема τнов для средней винтовой линии новой фрезы. Эту величину обычно клеймят
на торце инструмента.
ВОПРОСЫ
ДЛЯ САМОКОНТРОЛЯ:
.
В чём состоят преимущества и недостатки инструмента в виде зубосгрогальной
рейки по сравнению с фасонными дисковыми фрезами и червячными зуборезными
фрезами?
.
Какие методы заточки зуборезной гребенки применяют в случае, если не обходило
увеличить передние углы по сравнению с углами, образующимися при установке
гребенки на зубострогальном станке?
.
Что такое исходный профиль гребенки, где он расположен?
.
Зачем рассчитывают параметры профиля гребенки в плоскости, перпендикулярной к
задней поверхности инструмента?
.
В чем состоит различие между профилями черновой, шлифовочной и чистовой
гребенок?
.
Из каких соображений выбирают угол подъема винтовой поверхности основного
червяка червячной фрезы?
.
Сопоставьте между собой эвольвентный, архимедов и конволютный червяки с точки
зрения их применения в конструкции червячных зуборезных фрез.
.
По какой поверхности перетачивают червячную зуборезную фрезу? Как отражается
переточка фрезы на окружном шаге нарезаемого колеса?
.
Где располагают исходное сечение зубьев червячной фрезы и почему ?
ЗАДАЧИ
ДЛЯ САМОКОНТРОЛЯ:
(2х).
Прямозубая гребенка с плоской передней поверхностью установлена на станке под
углом у=6°30 к основной плоскости 0-0 (рис.17). Какой передний угол в
главной секущей плоскости имеет эта гребенка, если угол зацепления
=20°?
Ответ:
=2°14
(2х). Задний угол на боковых кромках гребенки в процессе резаная
(рис, 17) должен иметь значение не менее 2°. Какой задний угол 0
должен быть предусмотрен в конструкции гребёнки, если на зубострогальном станке
она устанавливается под углом у=6 30 ?
Ответ: 0=12 20 .
(3х). Стальную шестерню модулем m=4 обрабатывают стандартной
зубострогальной гребенкой из быстрорежущей стали. Гребенка установлена под
углом у=6°30 (рис.17), однако вследствие слишком малых
передних углов на боковых кромках зуба инструмента (см. задачу №75) качество
обработанной поверхности зубьев ниже требуемого. Поступило предложение
дополнительно заточить гребенку так, чтобы в процессе обработки передний угол в
средней части боковых сторон профиля был увеличен до 8°.
Вам поручено:
1. предложить вариант дополнительной заточки зубьев гребёнки;
2. определить, как должна быть установлена гребёнка в процессе
заточки.
При этом следует иметь в виду, что гребенка чистовая, а размер впадины
между зубьями колеса по делительной окружности должен быть больше толщины зуба
на 0,32 мм.
АЛГОРИТМ РЕШЕНИЯ И КОММЕНТАРИИ К НЕМУ
.1. Используя результат расчета, приведенный в задаче 76, определить
дополнительный передний угол, который должен быть получен заточкой
зат=8 - 2 14 =5 46
.2. Определить толщину впадины колеса по делительной окружности, имея
ввиду разницу между нею и толщиной зуба 0,32 мм:впад - Sзуба=0,32 мм.
Полагая
и
,
получаем
=0,16мм и
мм.
Следовательно,
толщина зуба гребёнки в средней части профиля
=Sвпад=6,443
мм.
.3.
Поскольку модуль гребёнки m<10, следует применить заточку по методу, схема
которого показана на рис .18.
Приняв,
что диаметр круга dк=80 мм, получаем
;
.4.
Использовать формулу
положив
= зат; х=
;
=90 - ; у= , и расчитать угол наклона гребёнки
при заточке
tg
=0,0734.
Ответ:
=4 12
(3х).
Определить, какой передний угол получится в средней части боковых кромок
профиля зуба гребёнки m=8, если в процессе резания её устанавливают под углом
у=6 30 , а до этого затачивают кругом диаметром 45 мм, наклонив
к горизонту под углом 10 . Гребёнка шлифовочная. После шлифования
колеса размер впадины между зубьями по его делительной окружности должен быть
больше толщины зуба на 0,42 мм.
Указание:
При расчёте толщины зуба шлифовочной гребёнки учесть припуск на шлифование
зубьев колеса
.
Ответ:
=14 25
(3х).
Определить диаметр круга для заточки гребёнки m=5 по схеме, показанной на рис.
18, если её устанавливают на станке под углом у=6 30 ,
а при дополнительной заточке под углом =10 . В процессе
резания требуется получить на боках профиля гребёнки передний угол =10
. Гребёнка черновая. У зубчатого колеса после чистовой обработки, следующей за
черновым зубодолблением, размер впадины между зубьями по делительной окружности
должен быть (по номиналу) равен 7,69 мм.
Ответ:
dк 83 мм.
(3х).
Черновая гребёнка модулем m=4 из быстрорежущей стали имеет толщину зуба по
начальной линии Sчерн=6,023 мм. Перед установкой на станок её затачивают кругом
dк=50 мм по схеме, показанной на рис. 18, устанавливая под углом =4
к горизонту. Проверить, согласуется ли значение , возникающее после
заточки и установки гребёнки ( у=6 30 ) с величиной
переднего угла, рекомендуемого при обработке заготовки из чугуна НВ=300.
Ответ:
Согласуется ( 7 ).
(2х).
Гребёнка, предназначенная для черновой обработки прямозубого колеса модулем
m=6, после шлифования профиля её зубьев подвергается контролю на инструментальном
микроскопе. Какую высоту Н0 и угол профиля 0 (рис.17) должна иметь
гребёнка, если в исходном сечении =20 , а в работе гребёнка
устанавливается под углом у=6 30 .
Ответ:
Высота профиля гребёнки
мм.
Угол
профиля 0=19 53 .
(2х).
Для гребенки, упомянутой в задаче 82, какими должны быть высота профиля зуба и
угол профиля в плоскости, перпендикулярной к задней поверхности инструмента,
если у=5°30 .
Ответ:
Н1=15,249 мм; 1=20 17 .
(2х).
Какое минимальное количество зубьев должна иметь гребенка, предназначенная для
нарезания колеса m=5 с числом зубьев Z=24, если угол профиля =20°?
Ответ:
Zmin=4.
ОТВЕТЫ
НА ВОПРОСЫ ДЛЯ САМОКОНТРОЛЯ:
.
Обкатные инструменты, благодаря своим преимуществам - высокой
производительности, удобству автоматизации процесса обработки, сравнительно
высокой точности изделий - находят широкое применение при изготовлении
разнообразных деталей с профилем сложной конфигурации, в том числе зубчатых
колес, шлицевых валов и т.д. При проектировании обкатных инструментов следует
иметь в виду определенные условия, которые можно назвать правилами обкатки. При
обработке зубострогальной рейкой меньшая погрешность шага и профиля.
.
Первый метод заточки применяют для гребенок с т < 10 (рис.41а). Гребенку
устанавливают под углем η1
к горизонту и затачивают всю переднюю
поверхность небольшим абразивным кругом диаметром dк . При этом, как следует из
рассмотрения треугольника ОкMQ
(7.2.)
где:
S - текущая толщина зуба гребенки. Среднее значение угла γхср определяем из выражения
(7.3.)
подставив
в формулу (7.2) толщину зуба гребенки по начальной линии S и положив за
малостью угла
Имея
в виду выражение (7.3), .передний угол на боковых кромках зуба, полученной
заточкой, рассчитываем по формуле (1.6)
(7.4.)
Полное
значение переднего угла, возникающее за счет предварительной заточки и
последующей установки гребенки на металлорежущем станке, получаем, суммируя
значения углов, рассчитанных по формулам (7.1) и (7.4) '
(7.5.)
Может
быть поставлена и обратная задача. Задав значение γ' по формуле (7.5) определяют γзат затем при известных dк и S - по формуле (7.4) угол
установки при заточке η1.
Второй
вариант применяется при , а второй т = 10...24 мм. (рис.14 б).
Передний
угол
(7.6.)
имеет
постоянное значение по всей длине режущей кромки (b - ширина канавки).
Следовательно, и в процессе резания
γ' ≈ const. В этом преимущество второго способа заточки перед
первым. Другим преимуществом второго способа заточки является более высокая
точность боковых кромок инструмента. Дело в том, что кромка образуется как
результат пересечения плоскости (передней поверхности до заточки) с
цилиндрической поверхностью круга. Во втором варианте заточки эта плоскость
пересекает поверхность круга параллельно оси его вращения, что, как известно,
дает прямую линию.
В
первом варианте заточки цилиндр (круг) пересекается плоскостью, наклоненной к
его оси под углом
η1, что придает кромкам
криволинейную форму и вносит погрешности в геометрию боковой поверхности зубьев
нарезаемого колеса.
К
сожалению, малые размеры зубьев гребенок при т < 10 не позволяют
осуществлять их заточку по второму варианту.
.
Исходный профиль - профиль, расположенный в проекции на основную плоскость
(нижняя проекция на рис.40). В этой плоскости размеры гребенки непосредственно
связаны с размерами зубьев нарезаемого колеса. Шаг гребенки равен шагу по
делительной окружности колеса.
.
Профиль в плоскости, перпендикулярной к задней поверхности, как и для других
фасонных инструментов, например, призматических резцов (стр. 18), необходим для
профилирования гребенки инструментом второго порядка. Так называется
инструмент, предназначенный для изготовления инструмента, в частности, для
гребенки - это абразивный круг, шлифующий профиль зубьев.
.
Приведенные ниже значения S, На, Нf, H относятся к так называемым чистовым
гребенкам, которые предназначены для окончательной обработки зубчатого колеса
(“начисто”).
.
Высота
головки зубьев гребенки На в исходном сечении равна высоте ножки зубьев колеса
hf, т.е. На = hf. Для стандартных зубчатых колес обычно Hа=Нf= 1,25m, а полная
высота исходного профиля гребенки
Н
= Hа + Нf = 2,5m
Шлифовочные
гребенки предназначены для обработки профиля зубьев колеса с припуском на
последующую шлифовку, а черновые - для предварительной прорезки впадин у колес.
Естественно, что толщина зубьев чистовых, шлифовочных и черновых гребенок
должна подчиняться условию
черн
< Sшл < S
где:
Sчерн, Sшл и S - размеры, относящиеся соответственно к червовой, шлифовочной и
чистовой гребенкам. Обычно принимают
Шлифовочные
и черновые гребенки отличаются от чистовых также и высотой зубьев, причем
Нчерн
> Ншл >Н
Это
позволяет разгрузить поперечную кромку. шлифовочных и чистовых гребенок, чем
повышает точность обработки. Обычно
.
Выбор угла подъема винтовой поверхности производят с учетом следующих
соображений:
Увеличение
τ,
как видно из формулы (7,15), ведет к
уменьшению диаметра фрезы. Это выгодно с точки зрения экономии
инструментального материала и снижения времени на врезание фрезы в заготовку. С
другой стороны, однако, уменьшение Dср вызывает необходимость уменьшить
количество зубьев инструмента, а следовательно и производительность процесса.
Чем меньше диаметр фрезы, тем труднее разместить в ней отверстие под достаточно
прочную и жесткую оправку. Следует также иметь в виду, что увеличение τ ведет к искажениям геометрии профиля зубьев нарезаемого
колеса.. Дело в том, что с увеличением передняя поверхность зубьев все больше
отличается от плоскости.
Поэтому
профиль зубьев фактической рейки (вид А-А, рис.44) при установке инструмента
под углом μ
= 90°- τ (для прямозубых колес) все
сильнее отличается от теоретического профиля исходной рейки. Естественным
следствием этого являются погрешности формы зубьев колеса, возникающие в
процессе обкатки.
Учитывая
различные стороны влияния τ на
процесс зубообработки, приходится отдать предпочтение малым значениям угла.
Практически
τ
=2...6°, причем, меньшие значения углов
относятся к чистовым фрезам, а большие - к черновым.
.
К точности профиля изделий непосредственное отношение имеет форма винтовой
поверхности червяка, лежащего в основе фрезы (его называют основным червяком).
Основной червяк может быть звольвентным, архимедовым или конволютным. Название
червяка соответствует виду кривой, которая получается как результат пересечения
боковой поверхности витка с плоскостью, перпендикулярной оси червяка.
Наиболее
точные изделия можно получить, если основной червяк является звольвентным.
Тогда поверхности червяка геометрически правильно зацепляются с звольвентным
профилем зубьев колеса. Однако профилирование червячных фрез с звольвентным
основным червяком вызывает ряд трудностей при изготовлении инструмента.
Второе
место по точности занимают фрезы, профилируемые на основе архимедового червяка.
Архимедов червяк отличается тем, что в диаметральном сечении У-У (рис.44)
боковые стороны профиля рейки имеют вид прямых линий. Такой червяк удобно
изготавливать резьбовым резцом первого варианта (стр. 33) и соответствующим
шлифовальным кругом (при двойном затыловании фрезы).
Наименее
точными получаются фрезы, профилируемые на основе конволютного червяка. У этого
червяка прямолинейными являются боковые стороны профиля рейки в нормальном
сечении А-А (рис.44).
.
Червячную фрезу, как всякий затылованный инструмент, затачивают по передней
поверхности. В связи с заточкой диаметр фрезы уменьшается, профиль инструмента
смещается к центру.
Осевой
шаг фрезы Р при переточках инструмента не меняется. Следовательно, как видно из
формулы (7.13.), изменяется угол подъема на средней винтовой линии. Но как
следует кз формулы (7,14), при изменении τ изменится и шаг по нормали червячной фразы
(7.18)
а
с ним и окружной шаг прямозубого колеса (или нормальный шаг косозубого) . Это
изменение описывается формулой
(7.18а)
где:
р - номинальное значение шага изделия.
.
Исходный профиль зуба червячной фрезы должен находиться в сечении,
расположенном под углом ψт к задней поверхности нового, инструмента., т.к.
когда фрезу переточат на угол ψ = ψт
, её щаг, а значит и шаг изделия будет соответствовать теоретическому (номинальному)
значению р. При дальнейших переточках фреза будет изготавливать изделия с шагом
в пределах между номинальным и наименьшим значением т.е. использовать минусовую
часть допуска.
ГЛАВА 8 ИНСТРУМЕНТЫ ДЛЯ ИЗГОТОВЛЕНИЯ ЦИЛИНДРИЧЕСКИХ
ЗУБЧАТЫХ КОЛЕС, РАБОТАЮЩИЕ ПО СХЕМЕ “КОЛЕСО-КОЛЕСО”
.1 ЗУБОРЕЗНЫЕ ДОЛБЯКИ
.1.1 Геометрические параметры инструмента
Зуборезный
долбяк представляет собой колесо с дополнительными элементами, обеспечивающими
процесс резания. На рис.47 показан зуб долбяка. Основная плоскость для этого
инструмента проходит перпендикулярно его оси, поскольку главное движение
резания совершается по направлению, параллельному этой оси. В нижней части
рис.47 дана проекция зуба на основную плоскость. Рассмотрим вопрос о
геометрических параметрах режущих кромок инструмента.
Для
поперечной кромки, расположенной на окружности выступов Rа, главная секущая
плоскость проходит через центр долбяка. Поэтому для нее передний угол γ = γу, а задний α = αу, что и показано в верхней проекции. Для решения
задачи о геометрических параметрах боковых кромок зуба долбяка используем
закономерности единой геометрии режущих лезвий. Элементарный участок проекции
бoковой режущей кромки на основную плоскость, расположенный вблизи точка М,
представим в виде элементарного прямолинейного режущего лезвия. Для этого
лезвия плоскость У-У проходит через ось долбяка, а плоскость Х-Х по касательной
к окружностит RМ. Нормалью к эвольвенте является, как известно, касательная к
основной окружности RВ, проведенная через точку М. С направлением этой
касательной совпадает главная секущая плоскость Г-Г для элементарного участка
кромки. Роль угла в плане, распологающегося обычно между касательной к кромке и
плоскостью Х-Х, играет угол 900- ωМ, где ωМ - угол давления для точки М.
Применяя
формулы (1.11) и (1.10) к основной окружности и полагая за малостью углов λ и α значение
η
≈ 00, получаем
(8.1)
(8.2)
Рассмотрим
далее вопрос о переднем угле γМ в
главной секущей плоскости. Для того, чтобы по формуле (1.6) рассчитать его
значение необходимо предварительно определить значение угла γХМ в сечении Х-Х. Применим приближенный метод расчета γХМ по эскизу, показанному на рис.48. Поскольку
передняя поверхность долбяка представляет собой конус с углом при основании γУ, то сечение этой поверхности плоскостью Х-Х дает
гиперболу. В первом приближении заменим её двумя хордами ВС. Тогда
Так
как
, то
(8.3.)
Далее
по формуле (I..6) получаем
(8.4.)
Для
точек, расположенных на делительном цилиндре долбяка RM=R=0,5mZи, где т -
модуль, Zи - число зубьев инструмента, a ωM= ω. Пусть высота головки зубьев долбяка, На =Сат . Тогда
для этих точек
(8.5)
(8.6)
У
стандартных долбяков обычно γу = 5°, αу = 6°. Для долбяка с числом зубьев Zи =20 при ω = 20° и Са = 1,25 получаем:
γх = 10З1'; γ
= 2050'; αх = 2011'; α = 2°
Иногда
(см. например, [I]) в формуле (8.6) пренебрегают первым слагаемым в скобках,
принимая γх =0°. Формула упрощается, однако погрешности в
определении угла γ
могут быть достаточно ощутимыми. В
условиях предыдущего примера получаем, например, γ=I°43 , что приводит к погрешности порядка 40%.
В
формулы (8.1)...(8.4) входит величина ωм . Напомним, что для эвольвентного зацепления
(8.7)
Из
формул (8.1)... (8.7) следует, что и задние углы на зубе долбяка увеличиваются
по направлению от основной окружности к окружности выступов инструмента.
8.1.2 Исходное сечение зубьев долбяка
По
соображениям, аналогичным тем, которые мы излагали, рассматривая вопрос об
исходном сечении зубьев червячной фрезы, исходное сечение зубьев долбяка
располагают в плоскости, перпендикулярной его оси и отстоящей на расстоянии А
от торцевой плоскости нового долбяка (рис.49). В исходном сечении профиль зуба
долбяка соответствует профилю инструментальной рейки, т.е. имеет высоту головки
На =1,25m и высоту ножки Hf=1,25m. У нового долбяка, следовательно
(8.8)
По
мере переточки (а переточка долбяков осуществляется путем шлифования конуса,
образующего переднюю поверхность зубьев) высота головки На уменьшается, а
высота ножки Hf - возрастает. Долбяк можно перетачивать до некоторого предела,
характеризуемого размером В, причем часто B ≈ 0,5A. Сточенный долбяк
имеет высоту головки зубьев Нанов = На - В tgαу, a высоту ножки Hf ст = Нf + В tgαу
Радиус
делительной окружности долбяка R=0.5m∙Zи при переточках остается
неизменным, а радиусы окружностей выступов и впадин меняются. У нового долбяка
(8.9)
где
Rа - радиус окружности выступов в исходном сечении., В связи с тем, что RaН
> Rа обкатка колеса с новым долбяком не может происходить по делительным
окружностям. Оси долбяка и колеса должны быть раздвинуты, иначе на изделии
получатся зубья чрезмерной высоты и неправильной формы. Межцентровое расстояние
при работе новым долбяком должно быть
(8.10)
Где
(8.11)
межцентровое
расстояние при А = 0 справедливое для условий, когда долбяк будет переточен до
исходного сечения. В формуле (8.11) z и ZИ - соответственно число зубьев
обрабатываемого колеса и долбяка, а m - модуль.
Когда
оси нового долбяка и изделия раздвинуты, то обкатка будет происходить по
центроидам rн и Rн ,именуемыми иногда начальными окружностями.
Соответствующе
изменения должны быть сделаны в межцентровом расстоянии при работе окончательно
сточенным долбяком, а именно
(8.12)
В
промежутке времени между началом и концом периода эксплуатации долбяка, когда
он будет переточен на величину у от плоскости 0-0, межцентровое расстояние
(8.I3)
определяет
диаметры центроид, по которым происходит обкатка.
Толщина
зубьев по делительной окружности долбяка в исходном сечении
(8.14)
где:
Δ
- утолщение зуба по сравнению с
теоретическим значением 0,5πm. Это
утолщение, необходимое для того„ чтобы создать гарантированный боковой зазор в
соединении зубьев колес, нарезанных долбяком. Размер SR показан на рис.49 в
развертке сечения зуба делительным цилиндром долбяка.
У
нового долбяка толщина зуба больше, чем SR, поскольку зуб имеет боковые задние
углы αх. Значение этих углов для точек, расположенных на
делительной окружности, рассчитываем по (8.2), положив ωм = ω.
Тогда
(8.15)
С
учетом значений αх определяем толщину зуба по делительной окружности
для нового долбяка
(8.16)
.1.3 Оптимизаций величины смещения исходного сечения
долбяка
Величину
смещения исходного сечения А для краткости иногда называют коррекцией долбяка.
тем более, что она действительно определяет высотное коррегирование зубьев по
отношению к их исходному (теоретическому) профилю. Коррекция является важным
элементом конструкции долбяка. Она влияет на эксплуатационные свойства
инструмента и колеса, нарезанного долбяком. Поэтому при конструировании долбяка
величину А желательно оптимизировать. Целевой функцией может служить выражение
А =тахiтиm поскольку c увеличением А (вернее А+В ≈ 1,5A) возрастает
количество переточек долбяка, его суммарный срок службы, а затраты на одно
изделие по линии инструмента снижаются.
Техническими
ограничениями при выборе величины А являются:
а)
необходимость обеспечить заданную длину эвольвентного участка зуба изделия;
б)
неподрезание ножки зуба колеса;
в)
несрезание головки ауба колеса g
г)
необходимость избежать чрезмерного утонения зуба на окружности выступов
долбяка.
Рассмотрим
математическое описание упомянутых выше технических ограничений.
Обеспечение
заданной длины эвольвентного участка на зубе колеса. На чертеже изделия должен
быть проставлен размер rn (рис. 50), определяющий место, где может начаться
переходная кривая профиля зуба. Между точками К (на окружности ra, ) и M (на
окружности rп ) располагается рабочий участок боковой поверхности зуба, который
должен быть очерчен эвольвентой. Как показано в теории эвольвентного зубчатого
зацепления.
(8.17)
где
rв и rв1 - соответственно радиусы основных окружностей нарезаемого и
сопряженного с ним колес, l1 - межцентровое расстояние при их зацеплении, ra1 -
радиус окружности выступов сопряженного колеса.
Точка
М на зубе колеса будет обрабатываться в момент,когда она вращаясь в процессе
обкатки вокруг оси колеса О , придет в точку N на линии зацепления Т Т. Сюда же
должна прийти и точка F, расположенная на окружности выступов долбяка Ra. Чтобы
обеспечить эвольвентный участок на зубе колеса длиною не менее, чем КM ,
необходимо, чтобы
.
Если
величина Ra известна, то, чтобы рассчитать переходный радиус rn' который будет
получен при нарезании зубьев, достаточно в формуле (8.17) заменить параметры
сопряженного колеса параметрами долбяка. Расчеты показывают, что это надо
делать применительно к новому долбяку поскольку при раздвижке осей вероятность
уменьшения длины эвольвентного участка на зубе колеса возрастает. Таким образом
(8.18)
Выражение
(8.18) можно получить и непосредственно из рис.50.
Теперь
важно обеспечить условие
Сопоставляя
выражения (8.17) и (8.18), получаем
Обозначим
и
заменим

Кроме
того
(8.19)
Тогда
(8.20)
Решая
с помощью ЭВМ уравнение (8.20) по отношению к А, получаем значение коррекции,
соответствуйте первому техническому ограничению.
Неподрезание
ножки зубьев колеса. Из теории зацепления известно, что окружность выступов
одного из колес ( в нашем случае долбяка) пройдет за пределами точки касания
линии зацепления с основной окружностью другого колеса (в нашем случае точка W
на изделии), то ножка зуба последнего будет подрезана. Чтобы не было
подрезания, должно, следовательно, иметь место условие (рис.50)
или
Нетрудно
показать, что в исходном сечении
QW = l∙ sinω
Тогда<
(8.21)
Расчеты
показывают, что подрезание ножки зуба наиболее вероятно при работе окончательно
сточенным долбяком, когда оси инструмента и заготовки предельно сдвинуты.
Поэтому в левую часть неравенства (8.21) подставим величину
а
в правую
Угол
давления ωс определяем по аналогии с (8.19)
(8.22)
Положим,
что предел стачивания характеризуется величиной В = 0,5A. С учетом изложенного
выше вместо (8.21) пишем

откуда
(8.23)
Выражение
(8.22) описывает второе техническое ограничение при оптимизации смещения
исходного контура долбяка.
Нарезание
головки зуба колеса. Это ограничение аналогично предыдущему, но обращено в
сторону обрабатываемого колеса, Предположим, что в процессе зубонарезания
возникают условия, в которых должна была бы подрезаться ножка долбяка. Однако,
вследствие различия в твердости инструментального и обрабатываемого материалов
поврежденной окажется не ножка зуба долбяка, а головка зуба колеса. Нетрудно
увидеть, что техническое ограничение, предусматривающее недопустимость срезания
головки зуба колеса, описывается условием
(рис.50)
или
где
raи rв2 - соответственно радиусы основной окружности и окружности выступов
колеса, а lc - межцентровое расстояние, рассчитываемое по формуле (8.12). Далее
по аналогии с (8.23) пишем
Выражение
(8.24) представляет собою описание третьего технического ограничения,
используемого при оптимизации величины А.
Практика
конструирования зуборезных долбяков для прямозубых коле о показывает, что в
ряде случаев технические ограничения, описываемые формулами (8.23) и (8.24), не
влияют на решение вопроса об оптимальной величине А. Исключение составляют
случаи, когда приходится обрабатывать колеса с малым количеством зубьев или
если используют долбяки малого диаметра.
Ограничения
по неподрезанию ножки или несрезанию головки зубьев колеса могут оказаться
существенными при обработке колес внутреннего зацепления, когда диаметр долбяка
вынужденно делают небольшим, а, следовательно, инструмент имеет малое
количество зубьев. Заметим, что для расчетов, связанных с нарезанием зубчатых
колес внутреннего зацепления, выражения (8.17) и (8.24) должны быть заменены
аналогичными, отображающими особенности внутреннего зацепления.
Минимальная
толщина зуба нового долбяка по окружности выступов инструмента. Наиболее
напряженным участком режущего контура долбяка является поперечная кромка,
расположенная на окружности выступов инструмента. На эту кромку, как показывает
анализ процесса удаления металла при формообразовании впадины между зубьями
колеса, приходится наибольшая толщина среза. На неё приходится в первоначальный
удар в момент входа зуба долбяка в обрабатываемый материал. Поэтому толщина
зуба долбяка по окружности выступов должна быть больше некоторой величины Sаmin
при которой сохраняется достаточная прочность и стойкость инструмента.
Толщина
зуба нового долбяка, измеренная по окружности выступов (Sан, Рис.49) зависит от
коррекции инструмента. Не приводя в полном объеме выкладки, с которыми можно
ознакомиться в курсе теории механизмов и машин, приведем только конечную
формулу
(8.25)
В
выражение (8.25) входят уже известные нам величины Rан, SRн и R, показанные на
рис.49, а также инвалютные функции угла зацепления ω и угла давления на окружности выступов нового долбяка ωан. Пользуясь формулой (8.25), имеем возможность
математически описать четвертое из перечисленных ранее технических ограничений.
С учетом формул (8.9) и (8.16) оно приобретает вид
(8.26)
причем,
или
(8.27)
Решая
с помощью ЭВМ выражение (8.26) в отношении А, можем найти значение коррекции,
которое для тех или иных исходных данных соответствует техническому ограничению
(минимальной толщине зуба на окружности выступов долбяка). Обратим внимание на
то, что обычно принимают
Изложенные
выю расчеты в виде формул (8.19), (8.22), (8.23) и (8.26) позволяют получить
четыре значения смещения исходного контура А.
Соответствующие
четырем техническим ограничениям. Обозначим их A1, A2, A3, A4. Для того, чтобы
оптимизировать величину коррекции, ив значений A1... A4, следует выбрать
наибольшее возможное. Это значение будет соответствовать целевой функции А =
macsimum и заданным техническим ограничениям.
8.1.4 Профилирование долбяков
При
конструировании долбяков, как и других фасонных инструментов, различают: I)
профиль в плоскости, перпендикулярной оси заготовки, 2) профиль в плоскости
передней поверхности инструмента и 3) профиль в плоскости, перпендикулярной к
задней поверхности зубьев долбяка. Эти профили показаны на рис.51 для долбяка,
переточенного до исходного сечения И-И (рис.49). Для простоты изображения и
дальнейших рассуждений эвольвенты на боковых поверхностях зубьев условно
заменены прямыми. Профиль долбяка в сечении И-И совпадает с профилем исходной
рейки только при условии, что передний угол =0°. Если же γу >0, то долбяк должен иметь высоту профиля Н ,
отличающуюся от высоты профиля исходной рейки Н=На + Hf . Из рис.51 видно, что
Н < Н΄
на величину р=qtgαy. В свою очередь q=Нtgγy Следовательно
Поскольку
при
γy > 0 меняется высота профиля,
то меняется и его угол. Из рис.51 следует, что если долбяку надлежит выполнить
профиль зуба колеса с утлом зацепления ω, то в сечении плоскостью И -И зуб инструмента должен на делительной
окружности иметь угол ω΄,
определяемый из соотношения
или
(8.28)
Высота
и угол профиля в плоскости, соответствующей передней поверхности инструмента
,
(8.29)
Что
касается параметров сечения в плоскости N-N, перпендикулярной к задней
поверхности зубьев долбяка, то
или
а
(8.30)
.2.
ШЕВЕРЫ
Типичным
инструментом, работающим по схеме обкатки "колесо-колесо", является
дисковый шевер. Шевер представляет собою цилиндрическое зубчатое колесо с
винтовыми зубьями, на боковой поверхности которых имеются канавки, необходимые
для образования режущих кромок. В качестве скорости резания при шевинговании
используют относительную скорость скольжения между зубьями заготовки и
инструмента в процессе их зацепления. На рис.52 показана схема зацепления
шевера 1 с прямозубым колесом 2. Их оси скрещиваются под углом τ равным углу наклона зубьев шевера по отношению к его
оси. Если же обрабатывают косозубчатое колесо, то
(8.31)
где:
- соответственно углы наклона зубьев шевера и колеса к
их осям. При одноименном направлении зубьев инструмента и колеса в формуле
(8.31) берут знак плюс, а при разноименном - минус.
Шевер
находится в зацеплении с заготовкой 2 и вращается с частотой n1 приводя во
вращение заготовку, которая вращается вокруг своей оси с частотой
,(ZИ и Z соответственно числа зубьев инструмента и
колеса). В месте соприкосновения зубьев шевера и заготовки возникает нормальная
скорость υN и относительная (скорость скольжения) υ. В случае, показанном на рис.52, скорость скольжения
Это
выражение является частным случаем более общего
(8.32)
справедливого
для условий, когда косозубчатый шевер обрабатывает косозубчатое колесо.
Скорость υ является при шевинговании скоростью резания, так как
срезание тонких стружек с поверхности зубьев заготовки осуществляют кромки,
расположенные на боковых поверхностях зубьев шевера перпендикулярно вектору υ. Для того, чтобы создать эти кромки на зубьях
инструмента предусмотрены мелкие канавки с шагом р (рис.53).
Известно,
что скорость резания неоднозначно влияет на качество обработанной поверхности.
Высокое качество можно получить либо при очень низких скоростях резания, либо
при достаточно высоких, превышающих известный предел. Исключая область низких
скоростей, не удовлетворяющую по производительности процесса„ приходим к
выводу, что шеверы должны работать с высокими скоростями υ, а значит, как следует из (8.32) в с высокими
окружными скоростями υ1. Высокие значения υ1 порядка 2-3 м/с можно получить двумя путями; применять больше частоты
вращения шевера или больше диаметры инструмента. Каждый из этих путей имеет
свои достоинства к недостатки. При высоких значениях n1, повышаются требования
к шпиндельным узлам ставков, возрастают погрешности профиля изделий, связанные
с возможным дисбалансом инструмента. Увеличение диаметра шевера с одной стороны
увеличивает расход инструментального материала, но с другой - повышает
плавность зацепления за счет большего количества зубьев Zи.
Увеличение
скорости резания υ1
как следует из формулы (8.32) возможно
также путем увеличения угла спирали шевера β1. Однако увеличение β1 ведет
к уменьшению размеров зоны касания сопряженных поверхностей зубьев инструмента
и заготовки, что снижает точность и качество изделий. С увеличением β1 повышаются трудности связанные со шлифованием боковых
поверхностей зубьев шевера и изготовлением режущи канавок.
Имея
в виду приведенные выше, а также некоторые другие соображения, шеверы делает
сравнительно большого диаметра (для m = 2…8 диаметр делительной окружности
инструмента D ≈ 240 мм) с углом β1 = 5…15° (возможно также применение шеверов с углом β1 =0° при обработке косозубчатных колес). Для того,
чтобы уменьшить влияние погрешностей формы зубьев шевера на точность изделия, в
частности, исключить возможность контакта одних ж тех же зубьев инструмента и
заготовки в процессе вращения обрабатываемого колеса и щевера, последнему
придает обычно число зубьев, выражающееся простым числом (29; 31; 37… 83).
После
того, как решен вопрос о количестве зубьев Zи и угле β1 уточняют диаметр делительной окружности инструмента
по формуле
где
mТ- торцевой, а mN - нормальный модули обрабатываемого колеса.
Рассмотрим
далее вопрос о форме и размерах зубьев шевера (рис. 53). Мы уже упоминали о
режущих канавках. Их шаг р = 1,5...2 мм, причем ширина зубчиков равна ширине
впадин, а глубина - (0,3...0,5)р. Глубину канавок не следует делать слишком
малой, поскольку это может ограничить количество переточек инструмента. Дело в
том, что переточка шевера состоит в шлифовании боковых поверхностей зубьев. На
шлифование за весь срок службы шевера предусматривают припуск Δ =0,2…0,5 мм на сторону в зависимости от модуля инструмента. Это
позволяет осуществить 4...8 переточек, так как при перешлифовке с каждой
стороны зубьев снимают слой толщиной 0,05... .0,07 мм.
В
связи с необходимостью обеспечить припуск на переточку инструмента толщина
зубьев нового шевера SRн отличается от теоретического размера по делительной
окружности SR, так что
Что
касается величины SR то её определяют, как и для долбяка, по формуле (8.14),
подставляя в последнюю торцевой модуль инструмента. Поскольку зуб нового
инструмента толще SR чем при наладке операции, следует предусмотреть раздвижку
осей шевера и заготовки на величину
где
- угол зацепления в торцевом сечении колеса.
Режущие
канавки на зубьях шевера изготавливают в специальном приспособлении с помощью
долбежной гребенки (резца). Чтобы обеспечить выход инструменту второго порядка
при этой операции у корня зубьев шевера сверлят отверстия, показанные на
рис.53.
ВОПРОСЫ
ДЛЯ САМОКОНТРОЛЯ
.
Чем отличается зуборезный долбяк от зубчатого колеса такого же модуля и числа
зубьев?
.
Для какой цели у долбяка предусматривают смещение исходного контура по
отношению к торцевой плоскости нового долбяка?
.
В каких точках профиля зуборезного долбяка задние углы имеют наименьшее
значение?
.
Как должно изменяться расстояние между центрами заготовки и инструмента, по
сравнению с его теоретическими значениями при на резании зубьев новым и
переточенным долбяками?
.
Какие технические ограничения возникают при выборе величины смещения исходного
контура у зуборезного долбяка?
.
Какие конструкции сборных зуборезных инструментов применяет в машиностроении, в
чем их преимущества и недостатки?
.
За счет чего осуществляется процесс резания при обработке зубчатых колес
шевером? Можно ли дисковым прямозубым шевером обрабатывать колесо с прямыми
зубьями?
.
Как перетачивают режущие кромки шевера? Как в конструкции зубьев и шевера
учитывают запас на переточку инструмента?
.
Отличаются ли друг от друга межцентровые расстояния при обработке зубчатых
колес новым и переточенным шевером?
.
Почему дисковые шеверы, как правило, имеют количество зубьев, выражающееся
простым числом?
ЗАДАЧИ
ДЛЯ САМОКОНТРОЛЯ
(3х).
Червячная фреза, предназначенная для нарезания прямозубого колеса ь=3, имеет
число зубьев Z=10, задний угол у=15 , передний угол
у=0 . Диаметр наружной окружности новой фрезы
=100 мм. Допуск на окружной шаг зубьев колеса
Ро=0,01 мм. Определить, будет ли обеспечена требуемая точность изделия при
работе новой и окончательно сточенной фрезой.
АЛГОРИТМ
РЕШЕНИЯ И КОММЕНТАРИИ К НЕМУ
.1.
Определить высоту головки зубьев фрезы
=1,25
m=3,75 мм.
.2.
Определять средний диаметр новой фрезы
мм.
.3.
Определить падение затылка зубьев фрезы
мм.
Поскольку
на затыловочном станке падение кулачков кратно 0,5мм, то
К=8,5
мм.
.4.
Определить угол между зубьями фрезы
.5.
Определить положение исходного сечения профиля фрезы, имея в виду, что обычно
угол между плоскостью исходного (теоретического) сечения и передней
поверхностью новой фрезы т 0,25 . В данном
случае т=9°.
.6.
Определить средний диаметр фрезы в исходном сечении
мм.
.7.
Определить угол подъема витка фрезы на среднем диаметре в исходном сечении
;
=1,948 .
.8.
Определить осевой шаг фрезы
мм.
.9.
Определить угол подъема витка на среднем диаметре новой фрезы
;
н=1,858
.10.
Определить шаг по нормали новой фрезы
мм.
Такое
же значение (если не учитывать случайные погрешности) должен иметь окружной шаг
зубчатого колеса при нарезании его новой фрезой.
.11.
Определить предел стачивания фрезы
с 0,5 =18
.12.
Определить угол подъема витка окончательно сточенной фрезы
;
с=2,046
.13.
Определить шаг по нормали окончательно сточенной фрезы
мм.
.14.
Определить отклонения окружного шага изделия за период эксплуатации фрезы
мм.
Ответ:
Поскольку << Ро, требуемая точность изделия будет
обеспечена.
(3Х).
Исходное сечение червячной фрезы, предназначенной для нарезания прямозубых
колес m=10 мм, расположено под углом 6° к передней поверхности нового
инструмента. Наружный диаметр новой фрезы 200 мм, количество зубьев 14, задний
угол у=15°. Допуск на окружной шаг зубчатых колес, нарезанных фрезой
Ро=0,03 мм, причем на неточности, связанные с переточкой инструмента, может
быть использовано не более 50% этой величины. Обеспечит ли фреза получение
заданной точности изделий за весь срок эксплуатации инструмента?
Ответ:
Поскольку =0,0085 мм, а 0,0085<0,5 Ро, точность
изделий будет обеспечена.
(3х).
Зубчатое колесо модулем m=5,5 должно быть нарезано червячной фрезой с точностью
по окружному шагу зубьев 0,01 мм. Наружный диаметр новой фрезы 50 мм,
число зубьев 10, угол подъема витка на среднем диаметре в исходном сечении 5°.
Предел стачивания зубьев фрезы определяется углом 20°,по отношению к передней
поверхности нового инструмента. Обеспечит ли фреза необходимую точность изделий
за весь срок службы инструмента, если на погрешности, связанные с переточкой
фрезы, может быть использовано 60% допуска?
Ответ:
Точность не обеспечивается, поскольку изменение окружного шага в связи с
переточкой фрезы =0,015 мм, а разрешено отклонение 0,5.0,02=0,01 мм.
(3х).
Как надо в условиях задачи 87 изменить предел стачивания фрезы, чтобы уложиться
в допускаемые отклонения по окружному шагу?
Ответ: Предел стачивания уменьшить до с=I4°.
(3х).
Зубчатое колесо с окружным шагом Р0=15,708±0,01 должно нарезаться фрезой с
углом подъема винтовой линии в исходном сечении на среднем диаметре червяка
=5°. Падение затылка зубьев фрезы 10 мм. До какого предела можно стачивать
фрезу, чтобы не выйти за отклонения по шагу, указанные выше?
Ответ:
с 16,5°.
(3Х).
Зубчатое колесо m=10 обрабатывали червячной фрезой с передним углом
у=0 . При высокопроизводительных режимах резания в связи с нулевым
передним углом стружкообразование было затруднено, качество обработанной
поверхности не соответствовало техническим условиям на изделие. С целью
обеспечения процесса резания фрезу переточили, придав ей передний угол
у=10 . Процесс резания действительно стал протекать лучше, качество
обработанной поверхности повысилось, снизились вибрации. Однако отдел
технического контроля забраковал партию изделий, нарезанных переточенной
фрезой, как не соответствующих чертежу.
Вам
поручено: 1) высказать предположение о возможной причине брака и параметрах, по
которым забракованы изделия; 2) показать, какое решение должно было быть
принято в данном случае, снабдив ответ необходимыми расчетами.
(3х).
В технологической карте, относящейся к наладке зуборезной операции при
изготовлении колеса модулем m=5 с числом, зубьев Z=24 и углом профиля
=20°, предусмотрена симметричная установка червячной фрезы по отношению к
изделию (рис.19а). От рабочего-станочника поступило предложение - с целью
повышения срока службы инструмента, установить фрезу вначале несимметрично по
отношению к изделию (рис. 19б), а после того, как часть её затупится,
переместить на оправке вдоль оси инструмента и использовать ещё не работавшие
зубья фрезы. Вам поручено дать заключение о возможности принятия этого
рацпредложения с учётом того, что рабочая часть фрезы имеет длину Lр=120 мм.
Ответ: Возможна переустановка фрезы один раз, так как минимально
необходимая длина рабочей части инструмента Lmin=57 мм.
(2Х). Рассчитать радиус делительной окружности, а также радиусы
окружностей выступов и впадин нового и окончательно сточенного долбяка модулем
m=5 при числе зубьев инструмента Zи=30, смещении исходного контура А=5 и заднем
угле на окружности выступов у=6°.
Указание: Предел стачивания определяется величиной А =1,5
А от торца нового долбяка.
Ответ
R=75;
;
;
;
.
93(2х).
Рассчитать межцентровые расстояния при обработке колеса Z=50 новым и
окончательно сточенным долбяком, упомянутом в задаче 92
н=200,52;
lс=199,74
(3х).
Рассчитать толщину зуба по делительной окружности долбяка m=4; Zи=25;
=20° и по окружности выступов в исходном сечении, а также у нового и
окончательно сточенного инструмента, если задний угол долбяка у=6°, а
смещение исходного контура А=3,5 мм. Для создания гарантированного бокового
зазора в зубчатом соединении, толщина зуба долбяка в исходном сечении по
делительной окружности должна быть больше теоретического значения на величину
=0,14 мм.
АЛГОРИТМ
РЕШЕНИЯ И КОММЕНТАРИИ К НЕМУ
.1.
Теоретическое значение толщины зуба долбяка в исходном сечении (по делительной
окружности)
мм.
.2.
Толщина зуба долбяка по делительной окружности в исходном сечении (SR рис.20) с
учетом создания бокового зазора в зубчатом соединении
мм.
.3.
Толщина зуба по делительной окружности нового долбяка
мм.
.4.
Толщина зуба по делительной окружности сточенного долбяка (при пределе
стачивания А =1,5 А)
мм.
.5.
Радиус окружности выступов нового долбяка (при На=1,25 m)
мм.
.6.
Угол давления на окружности выступов нового долбяка
;
=31,94
.7.
Толщина зуба на окружности выступов нового долбяка (рис.20)
мм.
.8.
Толщина зуба на окружности выступов сточенного долбяка рассчитывается
аналогично
мм.
(3х).
Определить толщину зуба долбяка m=6; Zи=26; =20 на окружности
выступов в исходном сечении, для нового и окончательно сточенного инструмента,
имея в виду, что у=6°, а толщина зуба долбяка в исходном сечении по
делительной окружности должна быть больше теоретической толщины зуба колеса на
0,15 мм. Смещение исходного контура А=8 мм.
Ответ
=2,51;
=2,65;
=2,98 мм.
(3х).
Примите решение в следующей производственной ситуации. Прямозубые шестерни m=3;
Z=20; =20° обрабатывали долбяками с числом зубьев Zи=25. К началу
второй смены в инструментальной кладовой цеха таких долбяков не оказалось, они
все находились в заточном отделении, работающем только в первую смену,
следовательно, могли поступить в производство только на следующий день. Чтобы
не срывать сменное задание мастер зуборезного участка разрешил переналадить
зубодолбежный станок и применить новые долбяки m=3 с числом зубьев Zи=50,
которые имелись в инструментальной кладовой.
Вам
поручено:
)
определить межцентровое расстояние, на которое должен быть настроен станок при
работе новым долбяком, имеющим смещение исходного контура А=4 мм и задний угол
у=6°;
)
проверить, не может ли возникнуть брак изделий по подрезанию ножки зубьев
шестерни при замене долбяка Zи=25 долбяком Zи=50.
Ответ
)
l =105,42 мм
)
подрезания не произойдёт, так как
или
79,17<79,657
где
- угол давления на начальной окружности шестерни при
раздвижке осей ( =20,62 ).
(3х).
Примите решение в следующей производственной ситуации. Зуборезный долбяк
модулем m=3 был спроектирован для обработки колес, изготовленных из серого
чугуна. С целью повышения срока службы инструмента конструктор принял
повышенную по сравнению с рекомендуемой величину смещения исходного контура А=8
мм, хотя при этом у нового долбяка вершина зубьев на окружности выступов
=0,78 мм оказалась меньше, чем рекомендуемая
=0,9 мм. Однако, поскольку силы резания при обработке
мягкого чугуна были невелики, долбяки работали в производстве
удовлетворительно. Картина резко изменилась, когда вследствие модернизации
продукции те же зубчатые колеса оказалось необходимым изготавливать из стали.
Долбяки при нарезании модернизированных колес начали сильно затупляться и даже
разрушаться у вершин зубьев.
Вам
поручено установить, на какую величину следует перешлифовать долбяки по
передней поверхности, уменьшив смещение исходного контура с тем, чтобы довести
толщину зубьев на окружности выступов инструмента до значения
0,9 мм.
Число
зубьев долбяка Zи=25, задний угол у=10 , угол зацепления
=20 , для создания бокового зазора в зубчатом соединении толщина зуба
долбяка в исходном сечении по делительной окружности должна быть больше
теоретического значения на =0,1 мм.
Указание:
С помощью ЭВМ решить уравнение
при
.
Ответ:
Перешлифовать долбяк до А 6,5 мм.
(2х).
Рассчитать задний угол в главной секущей плоскости зуборезного долбяка для
точек профиля, расположенных на делительной окружности инструмента, если
у=8° (рис.21).
Ответ: =2 45 .
(2х). Определить значение заднего угла в главной секущей плоскости для
точек профиля нового долбяка m=5; Zи=30; =20 , расположенных
на окружности выступов, при смешении исходного контура А=8 мм и заднем угле
у=6 .
Ответ:
=3°5 .
(2х).
В условиях предыдущей задачи выяснить, в какую сторону изменится значение
а для окончательно сточенного долбяка по сравнению с новым инструментом, приняв
предел стачивания А =1,5 А.
Ответ:
уменьшится до
=2 57 .
(3х).
В условиях задачи 99 определить значения передних углов в главной секущей
плоскости для точек профиля зуба нового и окончательно сточенного долбяка,
расположенных:
а)
на окружности выступов последнего,
б)
на делительном цилиндре, имея в виду, что долбяк заточен под углом у=5
, а предел стачивания А=12 мм.
Ответ:
а)
=2 34 ;
=2
27 ;
б)
; н=3 29 ;
аналогично
с=3 16 .
(2х).
Для долбяка с углом зацепления =20 и задним углом
у=8° определить величину бокового заднего угла х (рис .21) в точках
профиля зубьев, расположенных на делительном цилиндре инструмента.
Ответ:
х=2 56 .
(2х).
Зубчатое колесо m=5; Z=32; =20° обрабатывают долбяком с числом зубьев
Zи=20 и смещением исходного контура А=10 и у=8°. Определить радиус
окружности колеса, ниже которой на профиле зубьев будет не эвольвента, а
переходная кривая.
АЛГОРИТМ
РАСЧЕТА
.1.
Определить радиус основной окружности колеса
в=0,5
m Z cos =75,175 мм.
.2.
Определить межцентровое расстояние при работе новым долбяком
н=0,5
m (Z+Zи)+А tg y=131,405 мм.
.3.
Определить угол давления на начальной окружности при работе новым долбяком
.4.
Определить радиус окружности выступов нового долбяка
мм.
.5.
Определить радиус основной окружности долбяка
в=46,984мм.
.6.
Определить радиус окружности, соответствующей началу переходной кривой
мм.
Ответ:
мм.
(2х).
В условиях задачи 103 определить
при
обработке колеса окончательно сточенным долбяком, полагая предел стачивания А
=1,5 А=15 мм.
Ответ:
=76,246 мм.
(3х).
Достаточна ли длина эвольвентного участка профиля зубьев колеса, нарезанного по
условиям задачи 103, если в работе оно зацепляется с колесом Z1=100?
Ответ:
Требуется
.
Так
как
<
(76,411<76,658),
длина
эвольвентного участка профиля, нарезанного новым долбяком, не достаточна для
нормальной эксплуатации зубчатого соединения. Необходимо уменьшить смещение
исходного контура долбяка (переточить долбяк).
(2х).
В условиях задач 103 и 104 определить возможность интерференции профилей
долбяка и зубчатого колеса в виде срезания головки зуба колеса.
Ответ:
Условие отсутствия интерференции
выполняется
так
как ra=80; rв=75,175; lc=129,2973; c=l9,I26°.
(3х).
Оптимизировать величину смещения исходного сечения долбяка для обработки
прямозубого колеса m=2; Z=18; =20°, имея в виду, что:
)
данное колесо работает в паре с колесом Z1=80; 2) количество зубьев долбяка
Zи=25; 3) задний угол на окружности выступов долбяка у=10 .
АЛГОРИТМ
РЕШЕНИЯ И КОММЕНТАРИИ К НЕМУ
.1.
С точки зрения срока службы инструмента, а следовательно, снижения затрат на
инструмент, приходящихся на одно изделие, важно иметь наибольший возможный
предел стачивания долбяка А =1,5 А, где А - смещение исходного
сечения. Поэтому целевая функция имеет вид
А=maximum.
.2.
Рассчитать параметры колес и долбяка, которые будут необходимы при дальнейших
расчетах
=0,5
m (Z+Zи)=43; l1=0,5 m (Z+Z1)=98; ra1=r1+m=82;
rв1=77,0548; ra=20; rв=16,9144; Ra=R+1,25 m=27,5; Rв=23,4922.
.3.
Техническое ограничение по длине эвольвентного участка профиля зуба нарезаемого
колеса [1]
,
Где
.
В
данном случае
.
Решая
последнее уравнение с помощью ЭВМ, получаем
А<65
мм. (1)
.3.
Техническое ограничение по подрезанию ножки зуба колеса [1]
В
данном случае
А<4,36
мм. (2)
.4.
Техническое ограничение по нарезанию головки зуба колеса
В
данном случае
А<25,24
мм. (3)
.5.
Техническое ограничение по минимальной толщине зуба нового долбяка на
окружности выступов [1]:
где
мм;
;
;
=0,1 [3];
В
данном случае
Решая
последнее уравнение с помощью ЭВМ, получаем
А
3,5 мм. (4)
.6.
Сопоставляя значения А полученные по (1)...(4) с целевой функцией, принимаем
А=3,5.
Ответ:
А=3,5 мм.
(3х).
Оптимизировать величину смещения исходного сечения долбяка для обработки
прямозубого колеса m=3; Z=20; =20°, имея в виду, что:
)
данное колесо работает в паре о колесом Z1=90;
)
количество зубьев долбяка Zи=17;
)
задний угол на окружности выступов долбяка у=8 .
(3х).
Рассчитать наибольшую допускаемую величину смещения исходного сечения для
долбяка m=5; Zи=30; у=8°, обрабатывающего последовательно зубчатые
колеса с числами зубьев Z=24 и Z1=76, которые в дальнейшем образуют
кинематическую пару.
(3х).
Проверить возможность обработки двухвенцовой шестерни (блока) с числами зубьев
Z1=36; Z2=48; m=4; =20° долбяком с количеством зубьев Zи=25, задним
углом у=10° и смещением исходного сечения А=4 мм. Проверку провести на
отсутствие подрезания ножки и срезания головки зубьев каждого из венцов, а
также на обеспечение необходимой длины рабочего участка профиля зубьев, имея в
виду, что венцы шестерни предназначены для зацепления с колесами Z3=40 и Z4=28
соответственно.
(2х).
Рассчитать высоту профиля зубьев долбяка m=6 на передней поверхности
инструмента, если передний угол имеет значение у=6 .
Определить величину угла профиля зубьев на передней поверхности инструмента.
Ответ: Н0=15,083 мм; 0=19°54 .
(2х).
В условиях предыдущей задачи определить высоту и угол профиля зубьев долбяка в
плоскости, перпендикулярной к его задней поверхности, если у=8
.
Ответ:
Н1=14,635 мм; 1=20°27 .
(2х).
Примите решение в следующей производственной ситуации. Прямозубое колесо
обрабатывали шевером, достаточно длительное время находившимся в эксплуатации и
подвергавшимся нескольким переточкам.
В
связи с ухудшившимся качеством боковой поверхности зубьев колеса старый шевер
был заменен новым без каких-либо изменений в наладке зубошевинговального
станка, однако, вскоре после начала работы новым шевером, его зубья разрушились
- появились сколы на боках профиля. В чем причина разрушения шевера? Как надо
было изменить наладку при переходе к эксплуатации нового инструмента?
(3х).
Цилиндрическое прямозубое колесо m=5; Z=40 обрабатывают шевером с числом зубьев
Zи=37 и углом их наклона к оси инструмента 1=15 . Определить:
1) угол скрещивания осей шевера и заготовки; 2) частоту вращения шевера n1; 3)
нормальный и торцевой модули шевера; 4) толщину зубьев нового шевера в
нормальном сечении по дуге делительного цилиндра; 5) межцентровое расстояние
при обработке зубчатого колеса новым и окончательно переточенным
(перешлифованным) инструментом. Шевер допускает четыре переточки, причем за
одну переточку с каждой стороны профиля его зубьев удаляют слой 0,05 мм. С
целью обеспечения необходимого зазора в зубчатом соединении толщина зуба
обработанного колеса по его делительному цилиндру должна быть меньше
теоретической на 0,14 мм.
Ответ:
1) = 1=15 ; 2) n1 100 об/мин; 3) mN=5;
mт=5,176 мм; 4)
=8,114 мм;
)
мм;
)
мм.
(3х).
Зубчатое колесо с углом наклона зубьев 2=20° по отношению к его оси
обрабатывают шевером с углами наклона зубьев 1=10 . Винтовые
линии зубьев на колесе и инструменте имеют одноименное направление наклона.
Нормальный модуль обрабатываемого колеса mн=4, число зубьев Z=48. Толщина
зубьев колеса по дуге его делительного цилиндра SN меньше теоретического
значения на 0,1 мм, что необходимо для создания бокового зазора в зубчатой
передаче.
Шевер
Zи=61 допускает три переточки, причем за одну переточку с каждой стороны зуба
сошлифовывают слой толщиной 0,06мм. Для получения заданного качества
обработанной поверхности зубьев колеса, скорость резания (скорость скольжения
на делительном цилиндре) должна быть 40 м/мин.
Определить:
1) угол скрещивания осей инструмента и колеса; 2) частоту вращения каждого из
них; 3) толщину зубьев нового шевера по дуге его делительного цилиндра в
торцевом сечении; 4) межцентровое расстояние при наладке станка на работу новым
шевером.
Ответ:
1) =30°; 2) n1 80,6; n2=102,4 об/мин; 3)
мм;
)
lн 219 мм.
ОТВЕТЫ
НА ВОПРОСЫ ДЛЯ САМОКОНТРОЛЯ
.
Зуборезный долбяк представляет собой колесо с переменной коррекцией,
обеспечивающей процесс резания, преобразованное в режущий инструмент следующими
способами: Передняя поверхность долбяка представляет собой коническую
поверхность, Задняя поверхность (эвольвентная сложная винтовая поверхность)
получается в результате шлифования долбяка. Основная плоскость для этого
инструмента проходит перпендикулярно его оси, поскольку главное движение
резания совершается по направлению, параллельному этой оси. Для поперечной
кромки, расположенной на окружности выступов Rа, главная секущая плоскость проходит
через центр долбяка. Поэтому для нее передний угол γ = γу, а задний α = αу. Роль угла в плане, распологающегося обычно между
касательной к кромке и плоскостью Х-Х, играет угол 900- ωМ, где ωМ - угол давления для некоторой точки М Задние и передние углы долбяка
зависят от угла давления ω
2.
Величину смещения исходного сечения А для краткости иногда называют коррекцией
долбяка. тем более, что она действительно определяет высотное коррегирование
зубьев по отношению к их исходному (теоретическому) профилю. Коррекция является
важным элементом конструкции долбяка. Она влияет на эксплуатационные свойства
инструмента и колеса, нарезанного долбяком. Поэтому при конструировании долбяка
величину А желательно оптимизировать. Целевой функцией может служить выражение
А =тахiтиm поскольку c увеличением А (вернее А+В ≈ 1,5A) возрастает
количество переточек долбяка, его суммарный срок службы, а затраты на одно
изделие по линии инструмента снижаются.
.
Задние углы на зубе долбяка увеличиваются по направлению от основной окружности
к окружности выступов инструмента.
..
Межцентровое расстояние при работе новым долбяком должно быть
(8.10)
где:
(8.11)
межцентровое
расстояние при А = 0 справедливое для условий, когда долбяк будет переточен до
исходного сечения. В формуле (8.11) z и ZИ - соответственно число зубьев
обрабатываемого колеса и долбяка, а m - модуль.
Когда
оси нового долбяка и изделия раздвинуты, то обкатка будет происходить по
центроидам rн и Rн ,именуемыми иногда начальными окружностями.
Соответствующе
изменения должны быть сделаны в межцентровом расстоянии при работе окончательно
сточенным долбяком, а именно
(8.12)
В
промежутке времени между началом и концом периода эксплуатации долбяка, когда
он будет переточен на величину у от плоскости 0-0, межцентровое расстояние
(8.I3)
определяет
диаметры центроид, по которым происходит обкатка.
.
Техническими ограничениями при выборе величины А являются:
а)
необходимость обеспечить заданную длину эвольвентного участка зуба изделия;
б)
неподрезание ножки зуба колеса;
в)
несрезание головки зуба колеса g
г)
необходимость избежать чрезмерного утонения зуба на окружности выступов
долбяка.
.
Сборные торцовые, червячные и другие виды фрез.
.
Шевер представляет собою цилиндрическое зубчатое колесо с винтовыми зубьями, на
боковой поверхности которых имеются канавки, необходимые для образования
режущих кромок. Срезание тонких стружек с поверхности зубьев заготовки
осуществляют кромки, расположенные на боковых поверхностях зубьев шевера
перпендикулярно вектору υ. Для того, чтобы создать эти кромки на зубьях
инструмента предусмотрены мелкие канавки с шагом р (рис.53).
Нельзя,
т.к. при зацеплении шевера с прямозубым колесом их оси скрещиваются под углом τ равным углу наклона зубьев шевера по отношению к его
оси.
.
Глубину канавок не следует делать слишком малой, поскольку это может ограничить
количество переточек инструмента. Дело в том, что переточка шевера состоит в
шлифовании боковых поверхностей зубьев. На шлифование за весь срок службы
шевера предусматривают припуск Δ =0,2…0,5 мм
на сторону в зависимости от модуля инструмента. Это позволяет осуществить 4...8
переточек, так как при перешлифовке с каждой стороны зубьев снимают слой
толщиной 0,05... .0,07 мм.
В
связи с необходимостью обеспечить припуск на переточку инструмента толщина
зубьев нового шевера SRн отличается от теоретического размера по делительной
окружности SR, так что
Что
касается величины SR то её определяют, как и для долбяка, по формуле (8.14),
подставляя в последнюю торцевой модуль инструмента.
.
Поскольку зуб нового инструмента толще SR чем при наладке операции, следует
предусмотреть раздвижку осей шевера и заготовки на величину
где
- угол зацепления в торцевом сечении колеса.
.
Для того, чтобы уменьшить влияние погрешностей формы зубьев шевера на точность
изделия, в частности, исключить возможность контакта одних ж тех же зубьев
инструмента и заготовки в процессе вращения обрабатываемого колеса и шевера,
последнему придает обычно число зубьев, выражающееся простым числом.