Расчет и проектирование автоматизированного тиристорного электропривода
Министерство
образования и науки Украины
Севастопольский
национальный технический университет
Кафедра
автоматизированных технологических процессов и производств
Контрольная
работа
по дисциплине
«Основы автоматизированного электропривода»
на тему «Расчет
и проектирование автоматизированного тиристорного электропривода»
Выполнил: студент группы АКТ-41з Барзилович В.
Проверил: Сопин Юрий Константинович
Севастополь
2011
Дано:
. Выбор электродвигателя
Эквивалентная мощность электродвигателя определяется по формуле
где
мощность,
затрачиваемая на технологических операциях длительностью
Мощность
электродвигателя выбирается по величине
где
=1,2...1,4 -коэффициент запаса мощности.
По
рассчитанной мощности выбираем электродвигатель ПБВ 112 L
постоянного тока со встроенным тахогенератором из [1].

2.
Определение передаточных функций электродвигателя
Динамика
электродвигателя постоянного тока полностью описывается системой двух
уравнений, первое из которых является основным уравнением двигателей
постоянного тока и описывает переходные процессы в электрических цепях
электродвигателя, а второе уравнение описывает механическую систему
электродвигателя и построено на основании второго закона Ньютона для
вращательного движения.
(1)
(2)
где
U- напряжение, приложенное к якорной цепи; E - э.д.с. двигателя;
-активное сопротивление, ток и индуктивность якорной
цепи;
- активный момент двигателя и момент сопротивления,
приведенный к валу двигателя;
-круговая
частота вращения якоря двигателя.
Переходя
в область изображений по Лапласу уравнение (1) принимает вид
(3)
где
- комплексное сопротивление якорной цепи двигателя.
Уравнение
(2) в операторной форме примет вид
(4)
где
- “механическое” сопротивление электропривода.
Э.д.с.
двигателя пропорциональна частоте вращения
,
где
c
- конструктивный коэффициент двигателя, Ф- магнитный
поток возбуждения, n- частота вращения в об/мин, c- коэффициент
пропорциональности.
Активный
момент двигателя пропорционален току якоря
,
где
- конструктивный коэффициент.
Подставив
значения E и M в уравнения (3) и (4), получим новую систему уравнений
.
Решив
полученные выражения относительно w, получим передаточные функции
двигателя по управляющему и возмущающему воздействиям:
,
,
где
- электромеханическая и электромагнитная постоянные
двигателя.
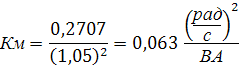
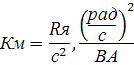
Коэффициент
передачи двигателя может быть определен по формуле
где
- номинальная круговая частота вращения,
- частота вращения в об/мин,
- номинальное напряжение двигателя,
-номинальный ток якоря.
Конструктивные
постоянные определяются по формулам
,
где
- номинальный момент двигателя, Iн -
номинальный ток.
Постоянные
времени двигателя определяются из выражений

мс;

мс;
где
J- момент инерции элементов электропривода, приведенный к валу электродвигателя:
.
Момент сопротивления, приведенный к валу двигателя находится по формуле
двигатель
электропривод сопротивление напряжение
где
- момент сопротивления, приложенный к
производственному механизму,
- к.п.д.
механизмов привода.
Рисунок 1 - Кинематическая схема привода
. Определение требуемого диапазона изменения напряжения на двигателе
При
выборе двигателя из справочника находят значения номинального напряжения
и значения частот вращения: минимальной
и максимальной
.
Предполагается, что номинальное напряжение соответствует середине диапазона
регулирования частоты вращения, тогда максимальное напряжение, обеспечивающее
наибольшую частоту вращения можно определить по формуле
;
,
где
- среднее значение частоты вращения.
.
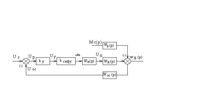
Определение передаточной функции разомкнутого электропривода
Функциональная
схема автоматизированного электропривода представлена на рисунке 2.
Рисунок 2 - Функциональная схема электропривода.
-задающее
воздействие,
-напряжение обратной связи,
-коэффициент усиления усилителя,
- коэффициент передачи системы импульсно-фазового
управления (СИФУ), передаточные функции тиристорного преобразователя ,
двигателя по управляющему и возмущающему воздействиям и звена обратной связи
соответственно,
- момент сопротивления, приведенный к валу
электродвигателя,
- угловая частота вращения вала электродвигателя.
Как
известно из теории автоматического управления при последовательном соединении
звеньев, их передаточные функции умножаются, таким образом, передаточная
функция разомкнутого электропривода (без обратной связи) может быть найдена
следующим образом
.
Коэффициент
усиления усилителя определяется по формуле
где
- изменение напряжения на входе усилителя,
- изменение выходного напряжения (подаваемого на вход
СИФУ). Усилитель составляется из двух каскадов, это необходимо для того, чтобы
сформировать сигнал, имеющий обратную зависимость по отношению к сигналу
рассогласования. Для первого каскада выходное напряжение (напряжение рассогласования)
определяется по формуле
,
а
для второго каскада -
, где
и
- коэффициенты усиления операционных усилителей с
обратными связями. Рекомендуется изменять сигнал рассогласования в пределах от
0 до 5В и принимать
, а значения U регулировать от 15В до нуля, тогда
коэффициент усиления второго каскада
.
Тогда
.
Коэффициент
передачи СИФУ может быть определен по формуле
,
где
- изменение фазы прямоугольных импульсов на выходе
СИФУ (угла отпирания тиристоров ) при изменении входного напряжения на
. Для нулевой схемы тиристорного преобразователя
максимальное значение
,а для мостовой схемы
.
Значения входного напряжения рекомендуется изменять в пределах от 0 до 15 В,
таким образом
.
для
нулевой схемы 
;
для
мостовой схемы 
Для
определение коэффициента передачи тиристорного преобразователя находится
среднее значение напряжения на его выходе. Для трехфазной нулевой схемы оно
определяется по формуле
,
где
- это амплитудное значение фазного напряжения на
вторичной обмотке трансформатора,
-
круговая частота питающего напряжения,
- угол
отпирания тиристоров. В нулевой схеме
регулируется
в пределах от 30 до 150 эл.град.
Для
трехфазной мостовой схемы тиристорного преобразователя среднее значение
напряжения находится по формуле
,
А
значение углов отпирания тиристоров регулируют в пределах от 60 до 120 эл.град.
Таким
образом, наибольшее значение напряжения на выходе тиристорного преобразователя
для нулевой схемы достигается при
=30
эл.град, а для мостовой схемы - при
=60
эл.град и требуемое значение
может
быть найдено как
при нулевом угле отпирания тиристоров.
Минимальные
напряжения на выходе тиристорных преобразователей достигаются при максимальных
углах отпирания тиристоров.
При
расчете тиристорного преобразователя необходимо построить график зависимости
среднего напряжения от углов отпирания тиристоров
, указать на нем значения
и определить максимальные углы отпирания тиристоров
.
Значение
коэффициента передачи тиристорного преобразователя определяется из выражения

Тиристорный
преобразователь, с точки зрения теории автоматического управления является
сложным импульсным звеном, однако с некоторым допущением его передаточную
функцию можно представить в виде апериодического звена первого порядка с
постоянной времени
-
.
Коэффициент
передачи тахогенератора определяется по формуле
,
где

-
номинальные напряжение и ток, 
-
сопротивление якорной цепи, 
-
номинальная частота вращения тахогенератора.
Таким
образом, передаточная функция разомкнутого электропривода описывается
выражением
.
5.
Построение логарифмических частотных характеристик разомкнутого электропривода
Для
построения частотных характеристик электропривода подставим в передаточные
функции вместо оператора Лапласа р комплексное число
, где
- мнимая
единица,
- круговая частота. В итоге получается комплексное
число, которое можно представить в виде:
,
где
U(
) и V(
) -
вещественная и мнимая части,
-
амплитудно-частотная характеристика,
-
логарифмическая амплитудно-частотная характеристика,
-фазовая частотная характеристика.
Рассматриваемую
передаточную функцию разомкнутого электропривода можно представить в виде
произведения передаточных функций типовых звеньев апериодического первого
порядка и апериодического второго порядка. Причем апериодическое звено второго
порядка можно представить в виде двух последовательно соединенных
апериодических звеньев второго порядка.
.
Для
построения ЛАЧХ передаточной функции рассчитаем все частоты сопряжения
составляющих функций и найдем их логарифмы. До первой частоты сопряжения
проводится горизонтальная прямая на уровне 
и в
каждой частоте сопряжения изменяют наклон характеристики в дополнение к
существующему, при этом каждое апериодическое звено первого порядка изменяет
наклон на -20 дБ/дек.
ФЧХ
получаются путем суммирования характеристик составляющих, при этом операцию
суммирования можно осуществлять геометрически или аналитически.
.
Построение желаемой ЛАЧХ
Желаемой называется такая ЛАЧХ системы, которая соответствует требуемым
параметрам переходного процесса. Для построения желаемой ЛАЧХ находят
минимальную частоту сопряжения по формуле
,
где
- коэффициент, зависящий от допустимого
перерегулирования (при заданном перерегулировании 10...15% -
); 
.
Через
полученную частоту сопряжения симметрично проводят среднечастотный участок с
наклоном -20дБ/дек шириной 1,6...2,0 дек. Слева от среднечастотного участка
строится низкочастотный, справа - высокочастотный. Низкочастотный участок
образуется путем соединения среднечастотного участка с исходной ЛАЧХ прямыми с
наклонами -20, -40 и -60дБ/дек. Высокочастотный участок мало влияет на вид
переходного процесса, поэтому для упрощения корректирующих звеньев его
рекомендуется проводить параллельно исходной некорректированной системе.
Устойчивость
рассматриваемого замкнутого электропривода по управляющему воздействию в данном
случае удобно использовать частотный критерий устойчивости для того, чтобы
замкнутая система автоматического регулирования была устойчива необходимо и
достаточно, чтобы ЛАЧХ разомкнутой системы пересекала ось абсцисс раньше, чем
ФЧХ пересекает уровень 
.
Значение 
называют
запасом устойчивости по амплитуде. Тогда иными словами можно сказать, что
замкнутая система устойчива в том случае, когда запас устойчивости по амплитуде
отрицателен.
Исходя
из этого рассматриваемая система автоматического регулирования неустойчива.
.
Синтез корректирующих звеньев
Независимо
от того устойчива система или нет, необходимо в нее ввести корректирующие
звенья для достижения требуемых параметров переходного процесса.
Существует
два вида коррекции: последовательная и параллельная. Реализуем последовательную
коррекцию. При последовательной коррекции корректирующее звено устанавливают
последовательно некорректированной системе.
-
передаточные функции корректирующего звена, некорректированной и
корректированной системы, тогда
,
,
,
где
- ЛАЧХ корректированной, некорректированной и
корректирующих звеньев.
Таким
образом, при последовательной коррекции ЛАЧХ корректирующего звена получается
путем вычитания из желаемой ЛАЧХ некорректированной системы.
Литература
1
Методические указания для студентов специальностей 7.092501 расчет и
проектирование автоматизированного тиристорного электропривода. Разработал
к.т.н., доц. А.Н. Круговой. Севастополь 2005.
Мправочник по
электрическим машинам. Под общ. ред. И.П.Копылова, Б.К. Клокова. - М.:
Энергоатомиздат,1988.
Топчеев Ю.И.
Атлас для проектирования систем автоматического регулирования: Уч. Пособие для
вузов. - М.: Машиностроение,1989.