Расчет двигателя орбитального маневрирования
Перечень
сокращений, условных обозначений, символов, единиц
ПГС - пневмогидравлическая схема;
ОМ- орбитального маневрирования;
T - температура, К;
а-
скорость маха,М;- давление, МПа;
β - расходный комплекс, м/с;
I -
импульс, м/с;
μ - молекулярная масса, кг/моль;
Р - тяга двигателя,кН;
Р - тяга, Н;
α - коэффициент избытка;
Кm - массовое соотношение компонентов;
Кm0-стехиометрическое соотношение компонентов;
m- массовый расход кг/с;
F-
площадь,м2;
w-
скорость истечения продуктов сгорания,м/с;
ρ- плотность компонента;
l- длина;
j
-приведенная расходонапряженность;
∆V- объем;
n -
количество;
∆р - перепад давления;
А - геометрическая характеристика;
h -
высота камеры закручивания;
Rk -
радиус камеры закручивания;
j - коэффициент потерь;
nиз - показатель изоэнтропы;
h -
толщина стенок камеры, мм;
Re -
число Рейнольдса;
А - геометрическая характеристика форсунки;
Тг.ст. и Тж.ст - температуры стенки камеры со
стороны газа и со стороны жидкости;
α - коэффициент теплоотдачи;
СР - теплоемкость горячих газов;
η - вязкость;
d-
средний диаметр участка;
К- комплекс теплофизических свойств;
dэ- эквивалентный диаметр охлаждающего
тракта;
F -
площадь всасывающего отверстия отсоса, м2;
W -
скорость воздуха в этом отверстии, м/с;
d -
диаметр круглого отверстия или гидравлический диаметр для квадратного
отверстия, м;
Rcпл.пож - радиус внутренней границы зоны возможных сплошных пожаров, м;
Твыг. - время выгорания «запасов топливного вещества»;
hохл - высота охлаждающего тракта, м;
ni - число размеров соответствующего квалитета точности;
Т
- квалитет точности конструкции;
Ш
- шероховатость поверхности изделия;
Rzi-1- высота неровностей поверхностей, оставшихся при выполнении
предшествующего перехода;
hi-1-глубина дефектного поверхностного слоя, возникшая на предшествующем
переходе;
∆i-1-пространственные отклонения,
возникшие на предшествующем переходе.
Индексы
уд.- удельный;
Т. - теоретический;
д. - действительный;
г. - горюче;
ок.- окислитель;
кр..-
критическое сечение;
а - сопло;
пр.- приведнная;
вх. - входная часть сопла;
ф- форсунка;
Введение
Двигатель орбитального маневрирования, используется при изменении и
коррекции орбиты космического ЛА, а также при межорбитальных переходах и
торможении при сходе с орбиты.
Двигательная установка должна отвечать следующим требованиям:
а) высокой надежности, гарантирующей безотказную работоспособность в
течение заданного времени в заданных условиях; б) минимальным удельной массе и
габаритам; в) технологичности конструкции с точки зрения ее изготовления,
сборки, испытаний, возможности проведения доработок;
г)
экономичности, то есть возможности получения максимального удельного импульса;
д)
использования доступных материалов с возможно меньшей стоимостью;
е)
возможности работы двигателя в широком диапазоне температур;
ж)
эксплуатационная технологичность;
з) возможности длительного хранения.
Требования к конструкции и схемы двигательной установки определяются
условиями эксплуатации: невесомость и пустота. Эти условия работы позволяют
создавать камеру двигатель с очень большой степенью расширения при небольшом
давлении в камере сгорания. Невесомость накладывает отпечаток на систему подачи
топливных компонентов в камеру.
В процессе проектирования двигателя необходимо провести термодинамический
расчет процессов сгорания, определения геометрических характеристик камеры и
сопла, провести расчет смесительных элементов. При расчете охлаждения условия
работы двигателя позволяют применить неохлаждаемый насадок. В проекте
необходимо провести расчеты несущей способности, прочностные расчеты отдельных
конструктивных элементов. Разработать конструкцию камеры и элементов ПГС.
В технологическом разделе необходимо спроектировать технологические карты
изготовления детали разработанного агрегата автоматики ПГС, выбрать заготовку и
рассчитать ее размеры, рассчитать режимы резания для основных формообразующих
операций. Необходимо спроектировать приспособления для проведения основных
операций.
В разделе БЖД необходимо выявить опасные и вредные факторы при
производстве и эксплуатации двигательной установки, разработать мероприятия их
влияния, и провести анализ чрезвычайных ситуаций. В проекте необходимо
разработать мероприятия по предупреждению этих ситуаций.
В экономическом разделе дипломного проекта необходимо провести расчеты
себестоимости разработанной детали, определить прибыль и отпускную цену.
1. Выбор облика и обоснование параметров двигателя
Выбор параметров существенно зависит от назначения двигательной установки
и от типа применяемого ЖРД. Двигатель ОМ должен обладать необходимой тягой,
которая определяется баллистическими расчетами.
Рассмотрим параметры двигателей подобного класса ЛА. Например,
космический корабль «Спейс-Шатл» имеет в своем составе два двигателя ОМ с тягой
по 27 кН, которые работают по 300с каждый, расположенных в хвостовой части ЛА.
Для проектируемого двигателя данные баллистического расчета отсутствуют.
Поэтому выбираем аналогичную схему из двух двигателей, как у «Спейс-Шатл». Тягу
одного двигателя принимаем равной 25 кН.
Выбор компонентов топлива является одним из важнейших решений при
проектировании ЖРД, предопределяющий многие детали конструкции двигателя и
последующие технические решения. Поэтому выбор топлива для ЖРД выполняется при
всестороннем рассмотрении назначения двигателя и ракеты, на которой он
устанавливается, условий их функционирования, технологии производства,
хранения, транспортировки к месту старта и т. п. Эта тенденция выразилась в
применении энергетически эффективных пар компонентов топлива.
Для того, чтобы правильно выбрать компонент необходимо учесть все
требования, предъявляемые к топливу двигательной установки, которая
представлена в данной работе.
Требования к топливам: - высокие энергетические характеристики, т.е.
высокие значения удельного импульса; - возможность создания в приемлемые сроки
эффективной и надежной двигательной установки;
высокое значение плотности топлива;
возможные оптимальные эксплуатационные характеристики;
хорошие экономические показатели.
Двигатель орбитального маневрирования работает длительное время, поэтому
топливо должно храниться длительное время. Именно поэтому в качестве топлива
были выбраны самовоспламеняющиеся компоненты - четырехокись азота и
несимметричный диметилгидразин. Инициация процесса горения не вызывает в этом
случае проблем.
На практике давление в камере сгорания двигателя, работающего в
невесомости, ограничивается величинами 1- 1,5 МПа. Из этих соображений оно
принято рк=1МПа.
Двигатель ЛА аналогичного типа «Апполон» имеет степень расширения сопла
примерно равную 250. Степень расширения проектируемого двигателя принимаем ε=200. Тогда давление на срезе
При
небольшой тяге двигателя (и, следовательно, небольшом расходе топлива)
турбонасосный агрегат становится слишком «тяжеловесным» элементом, ухудшающим
весовые характеристики двигательной установки. Альтернативой насосной топливной
системе служит вытеснительная, при которой поступление топлива в камеру
сгорания обеспечивается давлением наддува в топливных баках, создаваемое сжатым
газом, чаще всего азотом, который негорюч, неядовит, не является окислителем и
сравнительно дёшев в производстве. Поэтому система выбрана вытеснительная и газ
наддува - азот. Преимуществами вытеснительной системы является простота
конструкции и скорость реакции двигателя на команду пуска, особенно, в случае
использования самовоспламеняющихся компонентов топлива.
2. Выбор соотношения компонентов топлива и определеине
параметров газа в камере ЖРД
Коэффициент избытка окислителя определяем на основании термодинамического
расчета параметров продуктов сгорания, который приведен в [1].
Таблица 2.1- Данные термодинамического расчета
|
Iуд.пуст
|
3264
|
3297
|
3324
|
3327
|
3317
|
3297
|
|
αок
|
0,8
|
0,85
|
0,9
|
0,95
|
1
|
1,5
|
Построив зависимость Iуд.пуст.=
f (αок) [1], мы графически определили, при
каком коэффициенте избытка окислителя получаем максимальное значение удельного
импульса на расчетном режиме работы двигателя. График представлен на рис. 2.1.
3. Определение геометрических характеристик камеры и сопла
.1 Расчёт теоретического расхода через камеру ЖРД
Теоретический массовый расход рассчитываем без учета
потерь в камере сгорания и сопле:
где
Iу.Т=3327
м/с - удельный импульс на рабочем режиме; Р = 25·103 Н - тяга
двигателя.
Тогда
.
3.2
Определение действительных расходов компонентов топлива
Для определения действительных расходов необходимо учесть при расчете
потери в камере и сопле двигателя. Для учета этих потерь используем
коэффициенты jк- коэффициент, характеризующий потери
удельного импульса в камере сгорания и jс - коэффициент потерь удельного импульса в сопле двигателя. Значения
коэффициентов jк и jс выбираем из ряда значений рекомендуемых в [2]:
jк =0.96..0,99,
выбираем jк =0,97, так как используются активные
компоненты;
jс =0,96..0,98,
выбираем jс=0,98, так как сопло профилируется и
за счет больших габаритов возникают потери на трение.
Тогда
где Iу.д- действительный удельный импульс, с учетом потерь
в камере и сопле.
Рассчитываем массовый расход горючего:
.
Для этого нам потребуются значения km, которое необходимо определить
Массовый
расход горючего
Рассчитываем массовый расход окислителя:
3.3 Расчет
основных геометрических характеристик сопла двигателя
Теоретическую площадь критического сечения найду через расходный
комплекс:
где
b - расходный комплекс[1]
Действительная
площадь критического сечения учитывает потери:
Находим
диаметр критического сечения сопла:
Для нахождения диаметра среза сопла воспользуемся значением отношения (da/dкр
)2:
где
F=24,49[1].
Теоретическая площадь среза сопла
Действительная
площадь среза сопла
Тогда диаметр среза сопла будет равен:
.
3.4
Профилирование сопла двигателя
Сопло - газовый канал, предназначенный для разгона рабочего тела с
целью создания тяги. В минимальном (критическом) сечении газовый поток
приобретает скорость звука, в расширяющейся части ускоряется до сверхзвуковой
скорости.
Определим угол на выходе из сопла. Для сопел работающих в пустоте, связь
между величиной недорасширения и углом βа выражается зависимостью
,
где
αа =
3,524[1], wa=2993[1], ρa-
плотность продуктов сгорания на выходе из сопла.
.
.
.
Зная
βа, по
графикам зависимости
от длины
и радиуса
сопла
определяем угол раскрытия сверхзвуковой части сопла
, а также относительное удлинение
, откуда
. Находим
радиусы скругления докритической и закритической части сопла
;
.
По полученным данным строим сопловую часть двигателя по методу
касательных:
Рисунок 3.1- Контур сверхзвуковой части сопла
4. Расчет геометрических размеров камеры сгорания
Расчет заключается в определении объема, длины и диаметра камеры
сгорания. Используя методику, изложенную в работе [3], находим объем камеры
где
Тогда
объем камеры
Радиус
камеры сгорания
где
.
Тогда
Диаметр камеры
Длина
камеры
Для
построения профиля камеры, если ограничиться цилиндрической формой камеры
сгорания с плоской головкой, необходимо определить: объем, длину цилиндрической
части, форму и длину входной части сопла. С повышением давления в камере
сгорания радиус R2 следует принимать большим, так как при меньшей кривизне
контура выходной части сопла низкотемпературный пристеночный слой сохраняется
более устойчивым, т.е. теплозащита стенки будет более надежной. Рекомендовано
принимать
При
принятой форме входной части сопла ее длина
где
Тогда длина камеры
Координаты
точки сопряжения дуг окружностей R1 и R2
Тогда
.
Находим
длину цилиндрической части камеры сгорания
где
объем входной части сопла, равный
Площадь сечения камеры сгорания равна
Тогда
длина цилиндрической части камеры сгорания
Рисунок
4.1- Контур камеры сгорания
5. Расчет смесительных элементов камеры
.1 Выбор типа и схемы размещения смесительных элементов на
головке камеры ЖРД
Для подачи обоих жидких компонентов выбраны жидкостные однокомпонентные
форсунки, так как в случае двухкомпонентных форсунок при интенсивном протекании
процессов сгорания вблизи форсунок огневое днище головки и особенно узлы пайки
форсунок в днищах будут работать при повышенных температурах. В таком случае
пришлось бы еще организовывать вокруг каждой форсунки жидкостную завесу. В
двигателях, работающих на однокомпонентных форсунках, для обеспечения хорошего
смесеобразования необходимо равномерное чередование форсунок горючего и
окислителя. Так как в камере сгорания давление низкое, то при расчетах
увеличивается площадь камеры сгорания. Чтобы заполнить всю полость камеры
форсунками при соотношении компонентов Кm=2,919 необходимо выбрать
шахматную схему расположения форсунок на головке камеры.
Рисунок 5.1-Схема размещения форсунок
Для защиты стенок камеры сгорания от прогара, создаётся защитный
пристеночный слой с помощью определенного размещения форсунок с рациональным
соотношением компонентов Кm чтобы не использовать завесу. Посчитаем αок для пристеночного расположения
форсунок в варианте а)
для N2O4+НДМГ - Кm0 =3,1[2],
Тогда
для варианта б)
Тогда
Такое
значение αок позволяет
не использовать завесу.
5.2
Расчёт геометрических характеристик форсунок
При расчёте форсунки необходимо знать расход через одну форсунку. Чтобы
определить его при известных общих расходах компонентов, находим количество
форсунок горючего nф.г и окислителя nф.ок. Для этого
вычерчиваем днище головки камеры сгорания. Выбираем расстояние между центрами
форсунок и конструктивно их располагаем .Наружный диаметр форсунок 24 мм. После
этого подсчитываем количество форсунок каждого компонента. На диаметре камеры ,
с учётом периферийного пояса завесы: nф.г - количество форсунок
горючего, nф.г =52 ; nф.ок - количество форсунок
окислителя, nф.ок = 37 . Расходы через одну форсунку окислителя
Расходы
через одну форсунку горючего
Задаемся
углом распыливания
и перепадом давления на форсунке ∆рф.
Наиболее распространенные значения угла
лежат в
пределах
[5], а значения
[5].Так
как плотность окислителя выше плотности горючего, то зададимся такими значениями
угла
:
Зная
угол
по графику, [4], находим коэффициент расхода
и геометрическую характеристику А:
Далее
определяем площадь сечения сопла форсунки и диаметр сопла:
где
, [4];
Тогда
Откуда
получаем диаметры и радиусы сопел горючего и окислителя:
Из
конструктивных соображений, учитывая влияние различных параметров на работу
форсунки, задаемся числом входных отверстий
и
“плечом” закрутки
Зная
и i
определяем
Определим
коэффициент трения λ
для условий входа в форсунку
.
Здесь
где
динамическая вязкость, равная
Тогда коэффициент трения λ равен:
Определяем
эквивалентную геометрическую характеристику центробежной форсунки:
Сравним
Значит,
значения
принимаем за окончательные. Определяем остальные
размеры форсунок:
где
h - высота камеры закручивания; Rk -
радиус камеры закручивания.
6. Проектирование охлаждающего тракта камеры ЖРД
Организация охлаждения камеры ДЛА является одним из важнейших вопросов
его проектирования, так как связана с исключительно высокими тепловыми потоками
в стенки камеры.
Охлаждение будет состоять из двух видов: радиационное и наружное.
6.1 Радиационное охлаждение насадка сопла
Осуществляется излучением теплоты стенкой в пространство. Причем тепловое
излучение стенки будет тем интенсивнее, чем выше ее допускаемая температура.
Расчет радиационного охлаждения камеры осуществляем по следующему
алгоритму:
определяем конвективный тепловой поток qк:
где
αж -коэффициент
теплоотдачи
где
СРж.ст. =2,181, ηж.ст=26,396, Тк= 1937 К.
Таблица 6.1- Результаты расчетов охлаждения камеры
|
d *10-3, м
|
0,255
|
3,651
|
0,477
|
0,624
|
0,698
|
|
αг
|
6,681
|
3,47
|
2,13
|
1,30
|
1,07
|
|
qk(1000),Вт/м2
|
6260,617
|
3257,7
|
2002,2
|
1226,02
|
1000,71
|
|
qk(1500) ,Вт/м2
|
2533,536
|
1318,35
|
810,26
|
496,14
|
404,96
|
|
qk(1600) ,Вт/м2
|
1910,14
|
993,96
|
610,89
|
374,06
|
305,32
|
- выбираем материал для соплового насадка - ниобиевый сплав [3];
- определяем лучистый тепловой поток qл
где
εст-
степень черноты для ниобиевого сплава равна εст=0,2
[3].
Таблица
6.2- Результаты расчетов
|
Тг,К
|
1000
|
1500
|
1600
|
|
qk,Вт/м2
|
2000
|
10125
|
13107,2
|
строим график зависимости конвективного теплового потока от диаметра
соплового насадка;
строим график зависимости лучистого теплового потока от температуры
стенки соплового насадка;
проводим прямую через два графика и определяем диаметр, при котором можно
ставить сопловой насадок (рис. 6.1).
Рисунок 6.1-Условия радиационного охлаждения стенки сопла
Учитывая, что в КС и особенно в области критического сечения тепловые
потоки во много раз выше, то, очевидно, здесь эта система охлаждения
непригодна. Однако в соплах с большим расширением и низким давлением на срезе
тепловые потоки в области среза становятся настолько низкими, что радиационное
охлаждение оказывается вполне приемлемым.
Поэтому проектируемый двигатель будет иметь участок сопла, начиная с
относительной площади Fотн=4,059 и до конца сопла (Fотн=24,49) с радиационным охлаждением.
6.2 Проточное охлаждение камеры
Расчет охлаждения камеры осуществляем по следующему алгоритму:
свой газодинамический профиль разбиваем на 6 участков, расположенных на
небольших расстояниях друг от друга, так как уравнения для расчета охлаждения
предназначены только для цилиндрических участков.
задаемся температурой стенки со стороны газа на каждом участке для стали:
- определяем тепловой поток в газовую стенку от продуктов сгорания,
включающий конвективную и лучистую составляющие, решение проводим итерационным
методом с помощью следующих зависимостей. Для стали:
Коэффициенты
теплоотдачи от газа к стенке и от стенки к жидкости, которые определяются как:
,
,
находим
температуру подогрева охладителя вдоль проточной части по формуле:
;
определяем
температуру стенки со стороны жидкости;
-по
уравнению теплопроводности находим температуру газовой стенки
,
и
сравниваем ее с принятой в начале расчета; если расхождение превышает 5%, то
задаемся новой температурой газовой стенки и повторяем расчет.
Используя
данный алгоритм, с помощью программы Ohl, рекомендованной кафедрой,
был проведен расчет охлаждения. В программу были введены следующие значения:
массовые расходы охладителя и топлива, давления на срезе сопла и в камере
сгорания, температуры сгорания и входа охлаждающей жидкости в тракт, объемные
доли в газовой смеси камеры сгорания О2,N2,H2,CO,NO,CO2,H2O,
высота охладительного тракта (hохл=0,8мм),толщина горячей стенки (Sst=1мм),
расстояние между гофрами живого сечения(а sr=7мм), толщина
ребра и гофра (b=0,3мм).
Из
предложенных в программе материалов (Х12Н9Т, медь, бронза) был выбран первый. В
итоге выходит, что жидкость не закипает, скорость движения жидкости по тракту
охлаждения лежит в пределах допустимых значений, W=6,01 м/с.
Такие результаты нас удовлетворяют. Их и будем использовать в дальнейшем.
Результаты представлены в приложении А.
6.3 Расчет коллектора
Определяем диаметр подводящего патрубка - d1. Принимаем скорость жидкости в трубопроводе - wж=10 м/с, тогда площадь проходного сечения подводящего
патрубка вычисляется по формуле:
Получаем
Диаметр
подводящего патрубка
Площадь коллектора вычисляем по эмпирической формуле:
;
Радиус
коллектора
Площадь
охлаждающего тракта на срезе сопла
Суммарная
площадь всех отверстий подвода жидкости в охлаждающий тракт
.
Чтобы определить размеры отверстия подвода компонента, зададимся их
диаметром. Примем диаметр отверстия dотв=7 мм.
Зная площадь отверстия, найдём их количество. Определим площадь одного
отверстия
.
Определим
количество отверстий
7. Прочностные расчеты
.1 Расчет несущей способности двухслойной цилиндрической
оболочки с учетом осевой нагрузки
Дана двухслойная оболочка с размерами
Средние
температуры внутренней и наружной стенок равны:
Материал
оболочек - нержавеющая сталь. Температурные удлинения определяются по графику
изменений коэффициента линейного расширения сталей в зависимости от температуры
нагрева [5].
,
.
Задаемся
значениями
м[5].
Далее
находим давление газов, обеспечивающих радиальную деформацию. Для этого находим:
Находим
Затем
по графику
[5] находим значения напряжений σ’ и σ’’; получим
Так
как значение εхn выбрано произвольно, то
необходимо проверить правильность его подбора. Если ∆=0, то εхn выбрано правильно
,
Отношение
погонных осевой и окружной сил к - находим по формуле
.
Следовательно εхn выбрано правильно.
По заданному значению εуn и полученному εхn находим искомое рг в камере
Далее,
продолжаем расчет до получения полной кривой
,
задаваясь другими значениями радиальной деформации
. Результаты расчетов приведены в таблице 7.1.
Таблица
7.1 - Результаты расчета для построения кривой
|
ΔR(м)
|
0,25
|
0,50
|
0,75
|
1
|
1,25
|
1,50
|
|
σy’(МПа)
|
-2,25
|
-1,8
|
-1,5
|
0,20
|
2,2
|
2,3
|
|
σy’’(МПа)
|
3,3
|
5,8
|
6,3
|
6,4
|
7,1
|
7,5
|
|
σх’(МПа)
|
-3,4
|
-3,1
|
-1,8
|
-0,8
|
1,8
|
2,4
|
|
σх’’(МПа)
|
2
|
4,9
|
5,2
|
5,8
|
6
|
6,4
|
|
p(МПа)
|
-2,05
|
0,2
|
0,45
|
0,95
|
1,3
|
1,4
|
Результаты расчета представлены в виде кривой (рис.7.1). На ней же
показано изменение σу и σх в зависимости от ∆R.
Рисунок 7.1 Напряженность оболочек в зависимости от ΔR
Как
видно из кривой, при давлениях, больших
, в
оболочках происходит резкий рост пластических деформаций. Запас по несущей
способности оболочки будет равен:
Полученное
значение запаса прочности по общей несущей способности оболочек должен попадать
в допустимый диапазон значений этого коэффициента (nдоп=1,2…1,5).
7.2
Прочность спая
На
рабочем режиме под действием перепада давлений рк и рг
связи растягиваются, и в месте спая возникает напряжение отрыва
. Его можно определить по разности внешнего и
внутреннего погонных усилий в месте спая гофрированной проставки с внутренней
оболочкой:
где
с - ширина спая, принимаем с =
м; l -
шаг между связями, принимаем l=
м.
Тогда t - расстояние между соседними
подкреплениями
м.
-
давление жидкости в тракте охлаждения, равное
где
перепад давлений на форсунках;
перепад давлений в межрубашечном пространстве;
давление газов,
Тогда
Условие
прочности места спая на отрыв:
где
предел прочности спая при рабочей температуре, 
нормативный
коэффициент запаса прочности,
Тогда
В
случае режима гидроопрессовки необходимо принять давление
а давление
определяем
как давление гидроопрессовки.
Тогда
где
Кэ - коэффициент нагрузки оболочки, Кэ=(1,3-1,5), [3],
принимаем Кэ = 1,4.
Напряжение
отрыва равно:
Условие
прочности места спая на отрыв:
где stвсп=56 МПа - предел прочности спая при
рабочей температуре (t=20°C).
Тогда
.3 Прочность связей
Под действием давления в межрубашечном пространстве в связях реализуется
двухосное напряженное состояние с компонентами σр и σж, причем σр - напряжение растяжения связи, а σж напряжение сжатия, нормальное к боковой поверхности
связи.
Напряжение растяжение связи находим по формуле:
где
s - толщина гофра, s =
; θ -угол
наклона гофра,
.
Тогда θ
Напряжение
сжатия равно:
Условие прочности связей
где σвt
- предел прочности материала связи при рабочей температуре, σвt=380 МПа, [3].
σi - интенсивность напряженного состояние в связи,
равное
Тогда
При
гидроопрессовке
а давление
определить
как давление гидроопрессовки.
Тогда
Напряжение находим по формуле:
Напряжение сжатия равно:
Интенсивность напряженного состояние в связи равно:
Тогда
7.4 Местная прочность оболочки
На поведение неподкреплённого участка оболочки под действием перепада
давлений существенное влияние оказывает соотношение между длиной
неподкрепленного участка и толщиной оболочки l/h’. Если l/h’ мало (l/h’<4),(рис.5.2), то местную
прочность внутренней оболочки будет определять напряжение среза в месте
сочленения оболочки и связи.
Погонную перерезывающую силу в сечении находим по формуле:
Напряжение
среза
Запас
местной прочности в оболочке равен:
где
кt- коэффициент, учитывающий ослабление материала,
работающего на срез, кt =0,8
предел
прочности материала внутренней оболочки с учетом нагрева,
Тогда
.
При
гидроопрессовке рг=0 а давление pж определить как давление гидроопрессовки. Считаем
рассчитываемую оболочку не нагретой.
Тогда
Напряжение
среза
Запас
местной прочности в оболочке равен:
7.5 Прочность наружного днища
Наружное днище смесительной головки подвержено действию давления
жидкости. Таким образом, его можно рассматривать как днище сосуда, находящегося
под внутренним давлением.
При проектировании наружного днища необходимо обеспечить его высокую
прочность и жесткость при ограниченной массе и габаритных размерах.
Рациональной является оболочковая конструкция наружного днища, в которой на
достаточном удалении от заделки реализуется безмоментное напряженное состояние.
Для расчета днища будем использовать полуэмпирическую формулу, выработанную на
основании опыта эксплуатации и производства. Расчетная формула позволяет нам
определить толщину стенки в днище выбранной конструктивной формы. Наружное
днище смесительной головки выполним полусферической формы. Подобные формулы
дают приемлемую для инженерных расчетов точность при условии, что между толщиной
стенки днища h и его характерным радиусом R выполняется соотношение h/R≤0.2 .
При таких условиях днище можно рассматривать как безмоментную оболочку.
В нашем случае толщину стенки определим по формуле:
,
где
- предел прочности материала днища − стали
Х18Н9Т
-
коэффициент запаса прочности материала днища;
-
коэффициент, учитывающий ослабление днища отверстием;
−
давление газов на оболочку со стороны рабочего пространства, МПа;
b- малый радиус
эллипса, который равен
.
где
r0 - радиус
подводящего патрубка окислителя, который находим из соотношения:
где
F1- площадь
проходного сечения подводящего патрубка. Она равна:
Давление
газов
.
Определим
толщину стенки днища:
Проверим
выполнение условия приемлемой точности полученного результата:
следовательно,
условие выполняется.
Толщину
стенки конструктивно принимаем равной
в целях
увеличения жесткости наружного днища.
8. Расчет системы подачи топлива
.1 Обоснование и выбор системы подачи топлива
Преимущество вытеснительной системы над нагнетательной состоит в том, что
она (вытеснительная) обладает меньшей суммарной массой и компактностью по
сравнению с нагнетательной системой подачи. В состав системы подачи топлива
входят редуктор давления, пусковые и отсечные клапаны и другие устройства.
Стабильность работы ЖРД обеспечивается регуляторами, которые поддерживают
требуемое значение тяговых характеристик.
Топливные баки как элементы высентельной системы я являются устройствами,
вокруг которых объединяются практически все другие системы ДУ. Принципиальным
моментом при проектировании баков является выбор оптимального соотношения между
объемом заправленного топлива и объемом газовых подушек.
В качестве перегородки в баке используем сильфон. Он является самым
надежным средством разделения. Сильфон имеет цилиндрическую форму. Жидкость
располагается внутри него, так как это более экономично и при этом остаток
топлива минимален.
Под давлением газа для наддува , подаваемого в бак сильфон сжимается и
вытесняет жидкое топливо в расходную магистраль.
При выборе вытесняющего газа следует иметь введу, что он не должен
вступать в реакцию с компонентом или легко растворяться в нем. Также необходимо
учитывать, что при подаче или наддуве баков с низкокипящими компонентами
температура сжижения вытесняющего газа должна быть ниже температуры кипения
компонента. Вытесняющим газом выбран азот.
8.2 Расчет топливных баков
При расчете газобаллонной системе подачи задача сводится к определению
необходимого объема баков и объемов газовых баллонов.
По времени работы двигателя определяем массу горючего и массу окислителя:
Зная массу обоих компонентов, можем определить объемы их баков:
Необходимо
так же найти объем газовой подушки в баках. Он будет составлять 3% от основного
объема бака. Тогда
Давление
в баках примем равным р=2,5МПа, а в ресивере 50МПа. Тогда по закону PVб=PVр найдем
объем ресиверов:
,5Vб.г=50Vб.р
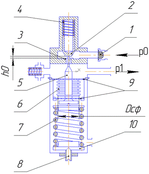
8.3 Описание работы ПГС
Пневмогидравлическая схема двигательной установки с вытеснительной
системой подачи топлива представлена на рисунке 8.1.
Рисунок 8.1- Схема ПГС
Запуск двигателя осуществляется следующим образом: по команде на запуск
открываются электроклапаны 19 и 13, которые обеспечивают доступ сжатого газа к
редукторам18 и 14. Проходя через редукторы, где понижается давление, азот
поступает в баки 8 и 24, для вытеснения компонентов, которые поступают в
магистрали подачи топлива к камере 1. При соответствующем положении 4 -
позиционного клапана 4 окислитель через систему пускоотсечных клапанов 3
попадает в камеру сгорания 1, а горючее через систему своих пускоотсечных 2
клапанов коллектор в рубашку охлаждения и далее через форсунки в камеру
сгорания. При контакте компонентов они самовоспломеняются и двигатель выходит
на заданный режим. Останов двигателя осуществляется подачей команды на
закрытие пускоотсечных клапанов горючего и окислителя. Одновременно подается
команда на продувку. Продувка всех магистралей, пускоотсечных клапанов и
рубашки охлаждения происходит, когда 4 - позиционные клапаны 4 и 5
устанавливаются в соответствующее положение, соединяя магистрали продувки.
Схема обеспечивает работу двигателя в условиях невесомости постановкой в
топливных баках специальных перегородок. Для повышения надежности работы ДУ
применено дублирование газовых редукторов и двойное дублирование пускоотсечных
клапанов.
8.4 Расчет схемной надежности
Чтобы посчиать схемную наденжость используем рекомендации описанные
Михайловым В.В. и Базаровым В.Г.
Составляем схему основного соединения элементов ДУ. В каждом
прямоуголнике этой схемы указано число однотипных элементов с интенсивностью
отказов λi. Считая, что распределение время
исправной работы подчинено экспоненциальному закону, определяют вероятность
исправной работы элементов и ДУ в целом по формуле
Практически для любых применений ЖРД можно считать, что максимальное время
работы не будет превышать 10 часов. Для времени работы двигателя τ=1…10
часов надежность ЖРД
показана на рисунке 8.2.
Для того чтобы расчитать схемную надежность необходимо учесть, что
редукторы и пускоотсечные клапаны дублируются. Надежность системы редукторов
,
где
n- количесвто элементов.
Надежность системы пускоотсечных клапанов находиться в два этапа, так как
они расположены как параллельно, так и последовательно
Последовательная надежность
.
Параллельная
надежность
.
Таким
образом, можем рассчитать схемную надежность двигательной установки, перемножая
надежности всех ее элементов
.
8.5
Расчет газового редуктора давления обратного хода затвора
.5.1
Общая характеристика газового редуктора
К разряду газовых редукторов относят регуляторы, стабилизирующие давления
до и после себя за счет управления расходом газообразной среды при существенном
понижении входного давления. Самостоятельное значение в качестве
газомеханического регулирующего устройства в эксплуатационных условиях систем
питания жидкостных ракетных двигателей имеют газовые редукторы, автоматически
поддерживающие уровень давления непосредственно за своим регулирующим органом.
Дросселирование газообразной среды не только ограничивает ее поступление к
потребителю за счет покрытия проходного сечения, но и связано с необратимым
рассеиванием энергии потока в результате интенсивных процессов разгона и
торможения.
8.5.2 Обоснование типа газового редуктора и рабочего тела
В данной работе необходимо рассчитать газовый редуктор системы наддува
бака горючего. Применяемый вид горючего - НДМГ. Исходными данными являются рвх
= 50 МПа, р1 = 1МПа, точность на выходе составляет 15 %.
В задании на проектирование газового стабилизатора
давления должны быть отражены основные условия, позволяющие выбрать
рациональную схему регулирующего устройства. Задачей газового редуктора
является понижение давления, при котором газ выходит из редуктора, по сравнению
с тем при котором он поступает в редуктор. Понижение давления газа в редукторе
происходит вследствие дросселирования газа при протекании его из полости
высокого давления в полость низкого давления через проходное сечение малой
площади, образованное клапаном и его седлом. Сущность дросселирования состоит в
том, что в сечении между клапаном и седлом за счет снижения давления газ
приобретает большую скорость, и энергия давления превращается в кинетическую
энергию газа. Попадая в полость низкого давления, газ тормозится; при этом его
кинетическая энергия теряется на трение во многочисленных завихрениях, сопровождающих
торможение газа. Поэтому при торможении газа его давление не восстанавливается.
В зависимости от направленности нагружения
исполнительного органа высоким входным давлением газовые редукторы имеют два
варианта принципиальной реализации - обратного и прямого хода. Если входное
высокое давление нагружает дросселирующую поверхность затворного элемента в
направлении его открытия, то соответствующий регулятор называют редуктором
прямого хода. В противном случае - регулятор называют редуктором обратного
хода. При проектировании газового редуктора необходимо учитывать ряд
требований, предъявляемых к газовому редуктору, которые должны быть
представлены в техническом задании. Такие требования подразделяются на
следующие группы: назначение и особенности эксплуатации газового редуктора
(контур регулирования, регулируемая среда (газ), тепловой режим
функционирования контура и др.); качественная и количественная характеристики
параметров потребителя регулируемой рабочей среды; вид и параметрическая
характеристика энергоисточника; кроме того, могут присутствовать какие-либо
специальные требования. В связи с вышесказанным сформулируем задачу для данной
работы.
Рассчитать геометрические параметры, построить
статические характеристики для регулятора давления обратного действия,
предназначенного для наддува «подушки» горючего ракеты. В качестве горючего
применяется НДМГ. Исходные параметрические условия следующие: начальная
температура Тнач=288 (К), начальное давление на входе в редуктор Р0нач=50
(МПа), необходимое значение давления на выходе из редуктора Р1ном=1
(МПа), диапазон массового расхода газа m=0...0,025 (кг/с), допуск на выходное давление ±15%.
Для выбора рационального рабочего тела в системе наддува необходимо
располагать сведениями о физических параметрах газов (характеристиками
критической точки) и сведениями о температуре и давлении рабочего тела в
аккумуляторе давления к моменту начала дросселирования. Эти сведения приведены
в таблице 1 .
Таблица 8.1 - Физические параметры газа
|
Название
|
Химическая формула
|
     
|
|
|
|
|
|
|
|
Азот
|
N2
|
1,399
|
296,73
|
77,22
|
62,99
|
109,208
|
125,87
|
3,284
|
8.5.3 Описание принципа работы и расчетная схема регулятора
На рисунке 8.3 приведена расчетная схема газового редуктора давления
прямого хода затвора.
Рисунок 8.3 - Расчетная схема газового редуктора давления:
1 - входной фильтр тонкой очистки; 2- затворный
элемент регулирующего органа клапанного типа; 3- кольцевой конический буртик
седла; 4 - пружина, прижимающая затворный элемент толкателя; 5 - толкатель
чувствительного элемента редуктора; 6 - сильфон-разделитель чувствительного
элемента редуктора; 7 - пружина чувствительного элемента редуктора; 8 - винт
настройки чувствительного элемента редуктора; 9 - перфорированные мембраны,
центрирующие толкатель и обеспечивающие строго осевое его перемещение; 10 -
опорная тарель пружины чувствительного элемента редуктора.
8.5.4 Аналитическое описание работы регулятора
Аналитическое описание стационарной параметрической обстановки в
газомеханической структуре регулятора давления обеспечивается в простейшем
случае двумя основными зависимостями. Первая из них представляет уравнение
массового расхода газообразной среды через регулирующий орган:
,
где
- конструктивно-кинематический показатель
дросселируемого сечения;
Р0 и (RT)0
- входные давления и работоспособность регулируемого потока газообразной среды;
А(кг;βро) - газодинамический показатель режима
течения газовой среды;
Нужно заметить, что при
режим
дросселирования осуществляется с звуковой скоростью в минимальном сечении
потока и
.
Если
же
, то
.
Вторая
зависимость характеризует баланс сил на подвижных элементах функциональной
части регулирующего устройства - чувствительном элементе:
,
где
р1 - регулируемое давление на выходе;
-
эффективная площадь чувствительного элемента;
- сила
затяжки основной пружины регулятора при h=0 (знак «+» у
последнего соответствует его сжатому состоянию);
-
суммарный коэффициент фиксированной жесткости упругой подвески подвижных частей
регулятора;
S3 - эффективная площадь фронтальной поверхности
затвора.
8.5.5
Результаты расчета регулятора
При
расчете газового редуктора (приложение Б) были получены следующие величины:
температура
в конце работы регулирующего органа
;
давление
в конце работы регулирующего органа
;
-максимально возможная площадь проходного сечения регулирующего органа
;
ход
затвора
;
Также
была рассчитана пружина с такими параметрами:
средний
диаметр пружины с;
наружный
диаметр пружины
;
внутренний
диаметр пружины
;
число
рабочих витков пружины
;
шаг
пружины
.
Далее были получены характеристики редуктора. К таким характеристикам
относят внешнюю, то есть зависимость давления на выходе от перемещения затвора,
и внутреннюю, то есть зависимость давления на выходе от давления на входе.
Необходимо, чтобы полученные зависимости укладывались в поле допуска ∆=15%.
По результатам расчетов были построены графики внешней и внутренней
характеристик, по которым видно, что они не попадают в заданное поле допуска,
так как точность на выходе составляет всего 15%(рис 8.2 и рис 8.3).
Рисунок. 8.4 - Внутренняя характеристика редуктора
Рисунок 8.5 - Внешняя характеристика редуктора
Для того, чтобы это исправить мы можем варьировать некоторыми
параметрами, например значением Δр, при увеличении которого увеличивается
поле допуска, так же показатель изоэнтропы находится в широком диапазоне,
которым можно варьировать, можно изменить размеры чувствительного элемента -
мембраны. Но на данном этапе работы редуктор прямого хода не удовлетворяет всем
требованиям и требует дальнейшей доработки.
8.6 Расчет отсечного клапан окислителя
Назначение пусковых клапанов - управлять запуском и остановкой
двигательной установки. Усилие, необходимое для открывания или закрывания
клапана, может быть создано с помощью пневматической или гидравлической
системы, электромагнита или пиропатрона.
Рисунок 8.6- Схема отсечного пневмоклапана
В корпус 4 запрессовано седло 5 с уплотняющей прокладкой 6. Шток 7
прижимается к седлу пружиной 3 и давлением компонента. Клапан открывается при
подаче на поршень 2 управляющего давления через штуцер 1. Утечка управляющего
газа предупреждается уплотнением 10, а дренирование газа из полости под поршнем
происходит через отверстие в корпусе. Уплотнение 9 препятствует утечке
компонента в полость под поршнем. Закрывается клапан под действием пружины 3
при сбрасывании давления управляющего газа в полости над поршнем 2.
Посчитаем диаметр штуцера в корпусе клапана. Пусть скорость движения
окислителя по магистрали Wок=10 м/с. Тогда площадь проходного
отверстия будет равна:
.
Диаметр
отверстия
.
9. Технологическая часть
двигатель сопло топливо подача
9.1 Анализ чертежа детали
.1.1 Анализ материала детали
Шток изготавливается из Стали 20Х13. Хром - дешевый элемент, широко
применяется в легированных сталях, повышает прочность и твердость стали и
одновременно незначительно понижает пластичность и вязкость, увеличивает
прокаливаемотсь стали. Хром вводится в состав быстрорежущей стали, а при
содержании хрома свыше 13% сталь становится нержавеющей. Дальнейшее увеличение
хрома повышает устойчивость стали против окисления при высоких температурах и
ее магнитные свойства. Данная сталь закаливается в масле, обладает хорошей
прокаливаемостью, применяется для изготовления механически обрабатываемых деталей,
подвергаемых закалке с отпуском.
Таблица 9.1-Химический состав стали 20Х13 (ГОСТ 5632-71)
9.1.2 Выбор заготовки детали
Самым главным при выборе исходной заготовки является обеспечение
заданного качества детали при ее минимальной себестоимости. Учитывая
назначение, условия работы детали, ее габариты и конфигурацию, свойства
материала и тип производства (мелкосерийное) для изготовления нашей детали
берем заготовку, полученную путем сортового проката.
В качестве заготовки выбираем пруток.
9.1.3 Количественная оценка технологичности
Данная деталь представляет собой тело вращения. Наибольший диаметр
составляет 34 мм и длина детали 93 мм. С точки зрения геометрии деталь является
технологичной, так как деталь состоит из простых поверхностей. Наиболее точные
поверхности детали изготавливаются по 9 квалитету точности. Точность
большинства поверхностей составляет 11,12 квалитет точности.
Уровень технологичности по точности обработки:
Ктч = 1-(1/Тср )> 0,8,
Тср - средний квалитет точности обработки изделия, который
определяется по формуле:
.
Тср =
Ктч
= 1- (1/11,3)= 0,91> 0,8,
что
удовлетворяет условию технологичности конструкции по точности обработки.
Уровень технологичности конструкции по шероховатости поверхности:
Кш = 1/Шср < 0,32,
где Шср - средняя шероховатость поверхности изделия,
которая определяется по формуле:
.
.
9.2
Расчет числа технологических переходов обработки основных поверхностей детали
Число
переходов, необходимое для обработки каждой из поверхностей детали и их состав
по применяемым методам обработки определяются соотношением характеристик
точности размеров, формы и шероховатости одноименных поверхностей исходной
заготовки и готовой детали.
Рисунок
9.1- Эскиз штока с проставленными поверхностями
Количество
ступеней обработки отдельной поверхности для достижения заданной точности
размера и шероховатости поверхности определяем по следующим зависимостям:
- из условия обеспечения заданной точности размера (расчет будет проведен
для 3-ей поверхности)
где
допуск размера заготовки,
допуск размера готовой детали,
из
условия обеспечения заданной шероховатости поверхности
.
где
шероховатость поверхности исходной заготовки,
мкм,
шероховатость
поверхности исходной детали.
Для
поверхности 6 заданную точность размера и формы, шероховатость поверхности
детали можно достичь после четырех переходов механической обработки:
черновое
точение;
чистовое
точение;
предварительное
шлифование;
чистовое
шлифование.
Аналогично
формируются возможные варианты других поверхностей детали. Результаты расчетов
приведены в таблице 10.2. Номера заданных поверхностей изображены на рисунке
10.1.
Таблица 9.2 - Методы обработки поверхностей
|
№ пов.
|
Размер
|
Заготовка
|
Деталь
|
nт
|
nШ
|
nпр
|
Точность по переходам
|
Rz по перходам
|
Маршрут обработки
|
|
|
|
Т,квалитет/мкм
|
Rz
|
Rz
|
|
|
|
1
|
2
|
3
|
1
|
2
|
3
|
4
|
|
|
1
|
 120 201,3
|
1,94
|
2
|
120Подрезать торец
|
|
|
|
|
|
|
|
|
|
|
|
|
|
|
|
|
|
|
|
|
|
|
20Точение получистовое
|
|
|
|
|
|
|
|
2
|
 120 200,8261,942 120Точение черновое
|
|
|
|
|
|
|
|
|
|
|
|
|
|
|
|
|
|
|
|
|
|
|
|
|
|
20Точение получистовое
|
|
|
|
|
|
|
|
3
|
 120 200,8651,942 120Точение черновое
|
|
|
|
|
|
|
|
|
|
|
|
|
|
|
|
|
|
|
|
|
|
|
|
|
|
20Точение получистовое
|
|
|
|
|
|
|
|
4
|
 120 200,8571,942 120Точение черновое
|
|
|
|
|
|
|
|
|
|
|
|
|
|
|
|
|
|
|
|
|
|
|
|
|
|
20Точение получистовое
|
|
|
|
|
|
|
|
6
|
 120 2,51,84,24 120Точение черновое
|
|
|
|
|
|
|
|
|
|
|
|
|
|
|
|
|
|
|
|
|
|
|
|
|
|
80Точение чистовое
|
|
|
|
|
|
|
|
|
|
|
|
|
|
|
|
|
|
40Предварительное шлифование
|
|
|
|
|
|
|
|
|
|
|
|
|
|
|
|
|
|
20 Чистовое шлифование
|
|
|
|
|
|
8
|
 120 200,821,942 Точение черновое
|
|
|
|
|
|
|
|
|
|
|
|
|
|
|
|
|
|
|
|
|
|
|
|
|
|
Точение получистовое
|
|
|
|
|
|
|
|
9
|
 120 200,821,942 Подрезать торец
|
|
|
|
|
|
|
|
|
|
|
|
|
|
|
|
|
|
|
|
|
|
|
|
|
|
|
Точение получистовое
|
|
|
|
|
|
|
|
|
7
|
 120 2,52,174,24 120Точение черновое
|
|
|
|
|
|
|
|
|
|
|
|
|
|
|
|
|
|
|
|
|
|
|
|
|
|
|
80Точение получистовое
|
|
|
|
|
|
|
|
|
|
|
|
|
|
|
|
|
|
|
40Предварительное шлифование
|
|
|
|
|
|
|
|
|
|
|
|
|
|
|
|
|
|
|
20Чистовое шлифование
|
|
|
|
|
|
|
|
|
|
|
|
|
|
|
|
|
|
|
|
|
|
|
|
|
|
|
|
|
|
|
11 
120
200,8221,942
Точение
черновое
|
|
|
|
|
|
|
|
|
|
|
|
|
|
|
|
|
|
|
|
|
|
|
|
|
|
|
Точение получистовое
|
|
|
|
|
|
|
|
12
|
 120 200,8651,942 Точение черновое
|
|
|
|
|
|
|
|
|
|
|
|
|
|
|
|
|
|
|
|
|
|
|
|
|
|
Точение получистовое
|
|
|
|
|
|
|
|
13
|
 120 200,8651,942 Точение черновое
|
|
|
|
|
|
|
|
|
|
|
|
|
|
|
|
|
|
|
|
|
|
|
|
|
|
Точение получистовое
|
|
|
|
|
|
|
Поверхность 10 образуется автоматически после чистового точения
поверхности 7. Поверхность 5 обрабатываем фрезерованием
9.3 Расчет припусков и операционных размеров на обработку
.3.1 Расчет припусков и операционных размеров на
диаметральные поверхности расчетно-аналитическим методом
При расчетно-аналитическом методе рассчитываемый минимальный припуск для
тел вращения на диаметр определяют по следующей зависимости:
Величины Rz и h, характеризующие состояние
поверхности заготовки после обработки различными методами, определяем по
таблицам точности и качества обработки [8]. Для заготовок из сортового проката
пространственные отклонения проявляются в виде кривизны (коробления) прутка.
Пространственные отклонения Δ находим по формуле:
где
∆кор и ∆см - пространственные отклонения,
обусловленные соответственно короблением заготовки и смещения ее элементов.
где
Ку- коэффициент уточнения [8]; εi
-погрешность установки [8]. Погрешность установки заготовки представляет собой
отклонение фактически достигнутого положения заготовки при ее установке от
требуемого. Это отклонение компенсируется дополнительной составляющей
промежуточного припуска:
где
εб и εз - погрешность
базирования и закрепления. Расчетный припуск определим по формуле:
при
этом используется только отрицательная часть заготовки.
Операционные
размеры определяются по формулам:
для
наружной поверхности
-
для внутренней поверхности
Один
из расчетов рассмотрим подробнее для поверхности № 6 с размерами 93 мм.
Пространственные
отклонения ∆ находим по формуле:
где
∆кор и ∆см- пространственные отклонения,
обусловленные непосредственно короблением заготовки и смещение ее элементов,
необходимо по таблицам [8]:
для
чернового точения:
мкм;
для
чистового точения:
мкм.
Отклонения,
обусловленные смещением элементов заготовки: -для точения чернового: ∆см=30мкм;
-для точения чистового: ∆см =20мкм.
Тогда
мкм-
черновое точение;
мкм-
чистовое точение.
Погрешность
установки заготовки находим по таблицам [9] -для чернового точения:
=300мкм; - для чистового точения:
=100мкм.
Минимальный
припуск для чернового точения
мкм.
Минимальный припуск для чистового точения
мкм.
Допуск
размера определяем по таблицам [8] -для чернового точения: Ti=220мкм;
-для чистового точения: Ti=87мкм.
Расчет
на минимальный припуск: - для чернового точения:
мм;
для чистового точения:
мм.
Расчетный
диаметр: -для заготовки:
мм; -для
чернового точения:
мм; - для
чистового точения:
мм.
9.3.2
Расчет припусков и размеров-координат на торцевые поверхности нормативным
методом
Припуски
при обработке торцевых поверхностей рассчитываются по формуле:
Для
примера рассмотрим расчет припуска торца 1:
черновое
точение: Rz=20мкм, h=60мкм;
черновое
точение: Rz=10мкм, h=30 мкм.
Пространственное
отклонение, обусловленное короблением заготовки, можно не учитывать ввиду малой
протяженности торцевых поверхностей.
Погрешность
установки ε
в осевом направлении по данным таблицы
[9] составляет:
черновое
точение: ε=50;
-чистовое
точение: ε=30.
Отсюда
минимальный припуск на :
черновое
точение:
чистовое
точение:
Остальные
минимальные припуски для тел вращения посчитаны нормативным методом и занесены
в таблицу 10.3
Таблица
9.3 - Расчет операционного размера на поверхности
|
№ пов.
|
Наименование операций
|
Опер.размер Di
|
Операц. допуск δi
|
ПрипускZi min
|
|
|
расчетный
|
приня тый
|
|
норматив ный
|
скорректи- рован
|
|
1
|
Подрезать торец
|
93
|
93
|
-0,54
|
0,9
|
1,4
|
|
Точение получистовое
|
94,25
|
94,3
|
-0,35
|
0,8
|
0,9
|
|
Заготовка
|
96,4
|
96,5
|
+0,5 -1,3
|
1
|
1
|
|
13
|
Точение чистовое
|
5
|
5
|
-0,30
|
0,4
|
0,38
|
|
Точение черновое
|
5,52
|
5,5
|
-0,12
|
1,3
|
1
|
|
Заготовка
|
7,3
|
7
|
+0,3 -0,5
|
1,5
|
1,5
|
|
4
|
Точение чистовое
|
2,5
|
2,5
|
0,25
|
0,2
|
0,4
|
|
Заготовка
|
3
|
3
|
+0,1 -0,3
|
1,2
|
1,2
|
|
10
|
Точение чистовое
|
30
|
30
|
-0,140
|
0,5
|
0,65
|
|
Точение черновое
|
30,75
|
31
|
-0,250
|
1,1
|
1,3
|
|
Заготовка
|
32,8
|
33
|
+0, 5 -0,7
|
1,5
|
1,5
|
|
9
|
Точение чистовое
|
12
|
12
|
-0,18
|
0,4
|
0,57
|
|
Точение черновое
|
12,83
|
13
|
-0,43
|
1,3
|
1,5
|
|
Заготовка
|
14,8
|
15
|
+0,3 -0,5
|
2
|
2
|
|
12
|
Точение чистовое
|
2,5
|
2,5
|
0,025
|
0,4
|
0,5
|
|
Точение получистовое
|
2,94
|
3
|
-0,04
|
0,5
|
0,5
|
|
Точение черновое
|
3,6
|
3,6
|
-0,10
|
1,3
|
2
|
|
Заготовка
|
4,1
|
4,5
|
+0,1 -0,3
|
1,5
|
1,5
|
9.4 Построение размерной схемы техпроцесса и схем
размерных цепей на торцевые поверхности
Расчет линейных операционных размеров начинают с построения размерной
схемы технологического процесса. Основой для построения схемы служит план
технологического процесс.
Размерную схему необходимо строить, располагая эскизами плана обработки
детали, следующим образом. Вычерчивают контур готовой детали, утолщенными
линиями указывают координаты торцов поверхностей в соответствии с координацией
размеров на рабочем чертеже.
Через пронумерованные поверхности проводятся вертикальные линии. Между
вертикальными линиями, начиная с последующей операции, с учетом эскизов
обработки, указывают технологические размеры. Размер представлен в виде стрелок
с точкой, причем точка совмещена с установочной базой, а стрелка своим остриём
упирается в ту поверхность, которую мы получили на данной операции после снятия
соответствующего межоперационного припуска.
Размерная схема технологического процесса представлена на рисунке 9.2
Любой замкнутый контур на размерной схеме, включающий в себя только один
конструкторский размер Аi или
один припуск Zi, образует технологическую размерную
цепь. Схемы размерных цепей показаны на рисунке 9.3.Расчет размерных цепей
приведён в таблице 9.4.
Рисунок 9.2 - Размерные цепи
Рисунок 9.3- Схемы размерных цепей
Рисунок 9.4 - Размерная схема технологического процесса
Таблица 9.4 - Расчет размерных цепей
|
Исходный размер
|
Исходное уравнение
|
Номинальный размер, мм
|
Допук,мм
|
Технолог. размер, мм
|
Предельное Значение припуска
|
|
Обозначение
|
Величина
|
|
|
|
|
|
|
Z10min
|
0,57
|
S6-S8-10=0 Z10=S6-S8
|
S6min=S8max+Z10min= =93+0,57=93,57;
S6max=93,57+0,180=9,75-0,180
|
0,180
|
S6=93,75-0,180
|
Z6=93,75-0,180 - 93= =0,75-0,180
|
|
Z8min
|
0,65
|
S4-S10-Z10+Z8=0 Z8=S10-S4+Z10
|
S4min=S10max+Z10min-
-Z8min=12+0,57-0,65=11,92; S4max=11,92+0,140=12,06-0,140
|
0,140
|
S4=12,06-0,140
|
Z8=12-12,06-0,140+ +0,75=0,69
|
|
Z2min
|
1,4
|
S3-S6-Z2=0 Z2=S3-S6
|
S3min=S6max+Z2min= =93,75+1,4=95,15;
S3max =95,15+0,540=95,69-0,540
|
0,540
|
S3=95,69-0,540
|
Z2=95,69-0,540 -93,75-0,180= 1,94
|
|
Z4min
|
0,38
|
S2-S7-Z2+Z4=0 Z4=S7-S2+Z2
|
S2min=S7max+Z2min-Z4min= =
6+1,4-0,38=7,02; S2max=7,02+0,300=7,32-0,300
|
0,300
|
S2=7,32-0,300
|
Z4=6-7,32-0,300+1,94= =0,62-0,300
|
|
Z5min
|
0,5
|
S9-S11-Z5=0 Z5=S9-S11
|
S9min=S11max+Z5min= =5+0,5=5,5;
S9max=5,5+0,025=5,525
|
0,025
|
S9=0,025-0,180
|
Z4=5,525-0,025-5= =0,525-0,025
|
|
Z6min
|
0,5
|
S5-S9-Z4-Z6=0 Z6=S5-S9-Z4
|
S5min=S9max+Z4min+Z6min=5,525+0,38+0,5=6,405;
S5max=6,405+0048=6,365
|
0,04
|
S9=6,365-0,04
|
Z6 =6,365-0,04-5,5-
-0,380=0,685-0,04
|
|
Z11min
|
1,5
|
S1-S3-Z11=0 Z1=S1-S3
|
S1min=S3max+Z11min=
=95,69+1,5=97,19; S1max=97,19+0,43=97,62
|
0,43
|
S1=97,62-0,430
|
Z11=97,62-0,430- -95,69-0,540
=1,93
|
|
Z1min
|
0,9
|
H1-S1-Z1=0 Z1=H1-S1
|
H1min=S1max+Z1min=
=97,62+0,9=98,52; H1max=98,52+0,35=98,87
|
0,35
|
H1=98,87-0,35
|
Z1=98,87-0,35-97,62= =1,25-0,35
|
|
Z3min
|
1
|
H2-S2-Z1+Z3=0 Z3=Z1+S2-H2
|
H2min=S2max+Z1min-Z3min
=7,32+0,9-1=7,22; H2max=7,22+0,12=7,34
|
0,12
|
H2=7,34-0,12
|
Z3=1,25+7,32-7,34-0,120=1,23-0,120
|
|
Z7min
|
2
|
H3-S5-Z7+Z3=0 Z7=H3-S5+Z3
|
H3min=S5max+Z7min-Z3min
=6,365+2-1=7,365; H3max=7,365+0,10=8,365
|
0,10
|
H3=8,365-0,10
|
Z7=8,365-0,10-6,365+1=3-0,10
|
|
Z9min
|
1,3
|
H4-S4-Z11+Z9=0 Z9=S4-H4+Z11
|
H4min=S4max+Z11min-Z9min
=12,06+1,5-1,3=12,26; H4max=12,26+0,25=12,51
|
0,25
|
H4=12,51-0,25
|
Z9=12,06-12,51-0,25+
+1,93=1,48-0,25
|
9.5 Расчет
режимов резания для операции 003при обработке на токарном станке
Рисунок 9.6 - Эскиз обработки детали
9.5.1
Черновая подрезка торца 1
Деталь
- шток, марка материала - 20Х13-Ш (
=550
МПа).
При
выборе режущего инструмента пользуемся рекомендациями справочного пособия [3],
и данными таблицы [4]. Выбираем материал резца - инструментальный твердый сплав
Т15К6.
Т.
о., для подрезки торца выбираем токарный подрезной отогнутый резец с пластиной
из твердого сплава Т15К6, размер державки резца 25х20 мм, главный угол в плане
=93°, стойкость резца 60 мин.
Глубина резания: t =Zmax = 3,5 мм, при черновой обработке
выбирают максимально возможную подачу, исходя из жесткости и прочности системы
СПИД, мощности привода станка и т.д., выбираем S=0,78 мм/об.
Скорость резания
,
где
T- стойкость инструмента, T=60мин,
Сv=47,
m=0,2, x = 0, y = 0,8,
Kv -
коэффициент, являющийся произведением коэффициентов
где
Кmv- коэффициент, учитывающий качество обрабатываемого
материала, равный
где
KГ -
коэффициент, характеризующий группу стали по обрабатываемости, KГ=1; nV- показатель степени, nV = 1; sB-
предел прочности стали, sB=550 МПа.
ПV- коэффициент, отражающий состояние поверхности
заготовки,
KИV- коэффициент, учитывающий качество
материала инструмента,
KИV =1,4.
Тогда
Расчет
частоты вращения шпинделя
об/мин,
где
Dmax- максимальный диаметр заготовки, Dmax=34 мм.
Выбираем токарный станок 16К20Т1, принимаем ближайшую
стандартную частоту n=380 об/мин [8].
Определяем фактическую скорость резания:
.
Сила резания
где
Сp, x, y, n - коэффициент и показатели степени в формуле силы
резанья, равные Cp=204, x=1, y=0,75, n=0 [8].p- поправочный коэффициент,
равен произведению коэффициентов учитывающих фактические условия резанья:
где Kmp- поправочный коэффициент, учитывает
влияние качества обрабатываемого материала, на силовые зависимости, Kmp=0,79,
-
поправочные коэффициенты, учитывающие влияние геометрических параметров режущей
части инструмента на составляющие силы резания: Kjp= 1; Kgp=
1; Klp=
1; Krp= 0,93.

Значение
составляющих сил резания Py и
Px вычисляем
по следующим зависимостям:
Крутящий
момент
где
D - диаметр обрабатываемой поверхности, D=34
мм.
Мощность, расходуемая на резания
кВт.
Мощность электродвигателя, необходимая для резания, определяется с учетом
КПД станка (0,7…0,8), кВт:
,
где
hст - КПД
станка, hст=0,8 .
кВт.
Вращающий момент станка
H*м.
Т.
к. мощность электродвигателя привода главного рабочего движения станка больше
рассчитанной величины
>
(11>3,33), и вращающий момент станка больше момента сопротивления резания Mвр>Mкр
(1057,1>291,7) => станок удовлетворяет требованиям резания. Далее
рассчитываем основное время обработки на переходе Т01:
где
мм.
мин.
9.5.2
Черновое точение поверхности 2
Выбираем режущий инструмент - ВК6.
Глубина резания принимаем равной одностороннему максимальному припуску на
обработку t = 0,45 мм.
Расчет скорости резания
где
Сv, x, y, m находим по справочнику [8].
Определяем
число оборотов шпинделя
В
результате согласования со станком принимаем частоту вращения шпинделя
.
Определяем
фактическую скорость резания
.
Определим усилие резания
Эффективная
мощность
Мощность
электродвигателя, необходимая для резания
Выбранный
режим осуществим, так как эффективная мощность на шпинделе станка N = 3
кВт больше мощности, требуемой для резания N=2,557 кВт.
Далее рассчитываем основное время обработки на
переходе T02:
,
где
мм.
мин.
Теперь
находим основное время обработки Т0
мин.
9.6 Расчет приспособления на точность
.6.1 Назначение станочного приспособления, описание работы
При фрезеровании поверхностей заготовок обычно возникает большие силы и
моменты от сил резания. Поэтому приспособления должны быть прочными и должны
обладать высокой жесткостью, а заготовки - надежно и жестко закреплены, чтобы в
процессе обработки не происходило вибрации смещения заготовки от установленного
положения.
Поэтому для нашей заготовки - штока выбираем самоцентрирующие тиски
улучшенной конструкции с самоустанавливающейся вспомогательной опорой. Тиски по
определению приспособление для закрепления заготовки или детали при обработке
или сборке. Одна из призматических губок тисков 1 заменена плоской губкой 2 со
скосом. Это позволяет устанавливать и снимать заготовки при минимальных
перемещениях губок. Губка 2 может несколько смещаться в горизонтальной
плоскости. Для того чтобы обеспечить центрирование обрабатываемых деталей,
левая и правая резьбы винта 3 имеют различные шаги, соотношение которых
согласовано с углом β призмы.
.6.2 Проектирование и расчёт станочного
приспособления на точность
Произведем расчет на точность самоцентрирующих тисков улучшенной
конструкции для фрезерования лысок на наружной поверхности заготовки.
Результирующая погрешность обработки любой поверхности и заготовки с
применением Приспособления не должна превышать заданного допуска на данный
геометрический параметр , т.е.
Анализ показывает, что выполнение размера Ш12-0,11 не зависит от
приспособления, а величина биения заготовки не более 0,18 мм зависит от
точности ее установки в самоцентрирующих тисках.
Проветрим
обеспечение допуска на биение
мм.
Погрешность
операционного размера складывается из двух составляющих, связанных с методом
обработки и с установкой:
.
Погрешность
установки складывается из погрешностей базирования, закрепления, неточности
приспособления:
.
В
рассматриваемом случае тиски устанавливаются по поверхности Ш12-0,11.
Погрешность,
связанная с методом обработки
,
определяется жесткостью технологической системы, температурными деформациями,
износом инструмента. Для рассматриваемого случая
мм.
Погрешность
базирования для призмы находится по следующей зависимости:
мм.
Для
данного способа закрепления заготовки принимаем
.
Погрешность
приспособления
включает в себя погрешность изготовления
, износа ωu и
погрешность установки приспособления
.
В
данном случае
, так как самоцентрирующие тиски устанавливаются без
погрешностей.
Погрешность
изготовления тисков есть биение опорной поверхности патрона относительно его
базовых поверхностей. Для данного случая в авиадвигателестроении
.
Износ
приспособления
мм.
Определим
результирующую погрешность
мм.
Отсюда
18 ≥ 0,008+0,03+0,016 → 0,18 ≥ 0,054 - условие точности
выполнено, т.е. приспособление обеспечивает заданную точность.
9.7
Расчет приспособления на усилие закрепления
При
фрезеровании поверхности заготовки, закрепленной в призме, заготовка может
перемещаться вдоль тисков под действием силы резания Рz и
провертывания в призме под действием момента резания М.
Необходимо
приложить такое усилие зажима, чтобы не было ни перемещения, ни провертывания
заготовки относительно призмы.
Коэффициенты
трения при перемещении заготовки в тисках вдоль оси и при провертывании будут
равны, т.е. f1=f2=0,25.
Силы
трения между кулачком и заготовкой будут составлять при перемещении F1=f1Q,
при провертывании F2=f2Q.
Определим
величину зажимного усилия при условии недопустимости перемещения заготовки в
призме. Пользуясь принятыми обозначениями, составим уравнение сил:
F1=Pz,
где
Pz - сила резания, вызывающая осевое перемещение или
сдвиг заготовки:
,
где
t - глубина фрезерования, Кмр - поправочный
коэффициент, учитывающий влияние качества обработки материала на силовые
зависимости:
,
z - число зубьев
фрезы, равное z=6,остальные коэффициенты берем из таблиц [1]:
Ср
= 82,5; x=0,95; y=0,8; u=1,1; q=1,1
Получим
.
После
подстановки значения F1 и введения коэффициента К(коэффициент надежности
закрепления), значение которого следует выбирать дифференцировано в зависимости
от конкретных условий выполнения операции и способа закрепления заготовки (для
получистовых этапов обработки рекомендуется принимать К=1,5…2,0), уравнение
примет вид
f1Q=KPz,
откуда
.
Теперь
определим величину зажимного усилия при условии недопустимости провертывания
заготовки в призме.
F2r=M,
где
r - радиус наружной цилиндрической поверхности
заготовки на участке закрепления ее в призме:
Момент
силы резания
.
После
подстановки значения F2 и введения коэффициента К уравнение примет вид
F2Qr=KM,
откуда
.
Из
полученных двух значений усилия закрепления выбирают наибольшее, т.е. Q=
784,8 H.
10. Расчет себестоимости изделия и цены единицы изделия
В данной работе была спроектирована камера сгорания ЖРД и разработан
технологический процесс производства штока. Определим себестоимость одной
единицы этого изделия.
10.1 Основные материалы Мο
где
- норма расходов основных материалов на единицу
изделия;
=7 грн/кг
- цена основных материалов (сталь 20Х13) [11].
Определим
норму расходов по известной формуле
=7670
кг/м3 - плотность материала;
= 64 10-6
м3 - объем заготовки. Тогда
кг.
грн.
10.2
Покупные, комплектующие изделия и полуфабрикаты, Пи
- норма
расходов покупных изделий,
- цена
покупных изделий.
Покупных,
комплектующих изделий и полуфабрикатов нет, следовательно, Пи=0.
10.3 Возвратные отходы Вотх
где
- норма отходов на единицу изделия, кг;
=5 грн/кг
- цена отходов [12].
Норма
отходов определяется разностью
где
= 0,38 кг - масса детали.
Тогда
кг,
грн.
10.4
Основная (прямая) зарплата производственным рабочим Зпр
Основная
зарплата производственным рабочим определяется по формуле
где
=8,75 грн/ч - средняя часовая ставка производственного
рабочего [12];
t= 0,95 ч -
трудоемкость одного изделия.
Таким
образом
грн.
10.5
Дополнительная зарплата производственным рабочим Здоп
Дополнительная
зарплата производственным рабочим берется в размере 30-40% от основной
заработной платы, то есть
[13]
Получим
грн.
10.6
Отчисления
Отчисления
определяются как
[13]
грн.
10.7
Расходы на содержание и эксплуатацию оборудования Рс. е
Расходы
на содержание оборудования вычислим по формуле
где
=120% - процент расходов на содержание и эксплуатацию
оборудования [12].
Тогда
грн.
10.8
Цеховые расходы
Цеховые
расходы на производство определяются как
где
=90% - процент цеховых расходов [13].
Тогда
грн.
Тогда
цеховая себестоимость:
грн.
10.9
Расходы на освоение новых видов изделий Росв
На
освоение новых видов изделий идут соответствующие затраты
грн.
10.10
Специальные расходы Рспец
Специальные
расходы обычно определяются как
грн.
10.11
Общезаводские расходы
Общезаводские
расходы определяются с учетом основной заработной платы рабочих
где
=70% - процент общезаводских расходов [12].
Тогда
грн.
Теперь
мы можем определить заводская себестоимость
грн.
10.12 Внепроизводственные расходы
Внепроизводственные расходы обычно принимают равными
[12]
грн.
Итого:
полная себестоимость
грн.
10.13
Прибыль
Прибыль
определяется по известной полной себестоимости
грн.
Таким
образом, оптовая цена детали определяется суммой
грн.
11. Виды цен и порядок их формирования.
Государственные регулируемые цены на продукцию (услуги)
производственно-технического назначения определяются таким образом [12]:
а) оптовая цена детали
грн.
б)
продажная (отпускная) цена детали
где
грн.
Тогда
грн.
Свободные
оптовые цены на продукцию (услуги) производственно-технического назначения
устанавливаются изготовителем на равной основе с потребителем продукции и
применяются с учетом налога на добавленную стоимость при расчетах изготовителей
со всеми потребителями (кроме населения), в том числе с посредниками (включая
снабженческо-бытовые, торгово-закупочные предприятия и прочее).
Свободные
(отпускные) цены на ТНП устанавливаются с учетом НДС изготовителями товаров по
согласованию с розничными торговыми предприятиями, реализующие товары
населению, а также с посредниками.
Эти
цены определяются исходя из коньюктуры рынка (спроса и предложения, качества и
потребительских свойств продукции). Цены с учетом акцизного налога в свободных
оптовых ценах на продукцию производственно-технического назначения и свободных
отпускных ценах на ТНП учитывается себестоимостью и НДС.
Цены
на продукцию и товары, поставленные через посредников (торгово-закупочные,
снабженческо-сбытовые организации и другие) определяются исходя из свободных
оптовых (отпускных) цен и снабженческо-сбытовой надбавки, уровень которой
определяется по согласованию сторон (между посредником и потребителем) [13].
грн.
При
производстве различных модификаций однородной продукции, в целях стимулирования
повышения ее качества, свободные оптовые цены могут дифференцироваться
изготовителем с учетом потребительских свойств из свободной цены базового вида
и доплат (скидок) за качество конкретного исполнения продукции.
Свободные
розничные цены формируются исходя из свободной отпускной цены с НДС и торговой
надбавки.
где
- торговая надбавка, включающая издержки торговли,
прибыль и НДС, грн.
грн.
Тогда
грн.
При
поставке продавцу товаров или продукции через посредников, свободная розничная
цена формируется из цены закупки и торговой надбавки [12].
12. Безопасность жизнедеятельности
Объект производства - камера сгорания жидкостного ракетного двигателя.
Конструкция камеры состоит из отдельных элементов (наружное днище, секции
внутренней и наружной оболочек, силовое кольцо, коллектор, фланец подвода
горючего, промежуточное и огневое днища, кольца жесткости, сопловой насадок и
другие), которые соединяются между собой при помощи сварки.
Сборку камер производят в сборочно-сварочных цехах. Основное оборудование
таких цехов: сварочные установки, приспособления для сборки, молотки, щетки,
зубила, зажимы или стальные шины, электро-держатели и другие.
В процессе сборки вначале элементам конструкции придают определенное
взаимное расположение в приспособлении, а затем непосредственно сборка, то есть
элементы свариваются посредством выбранного типа сварки.
Соединение между собой элементов камеры производится различными способами
сварки: ручной дуговой, контактной, диффузионной, полуавтоматической и
автоматической.
12.1
Выявление опасных и вредных факторов в цехе сборки деталей двигателя
В цехе сборки деталей двигателя (в нашем случае -
шлицевой вал), как и во всех агрегатно-сборочных цехах, основную площадь
занимают места для сборки узлов и агрегатов. Таким образом, в цехе имеют место
следующие факторы опасности и вредности:
а) повышенный уровень шума;
б) повышенный уровень вибрации;
в) ультразвук;
г) вредные химические вещества;
д) повышенный или пониженный уровень параметров
микроклимата;
е) вредные выделения от герметизирующих веществ;
ж) недостаточность освещения;
з) психофизиологические факторы.
Нормирование шума проводится в соответствии с ДНАОП 0.03-3.14-85 (Санітарні норми допустимих
рівнів шуму на робочих місцях №3223-85) и НАОП 1.4.72.-1.22-71 (Правила з техніки безпеки і промислової санітарії при
клепально-складальних роботах).
Шум в проектируемом цехе, в зависимости от частного состава, относят к III-му классу. Величина уровня звукового
давления 80…90 дБ. По нормам ГОСТ12.1.003-85 допустимый уровень шума 80 дБ
(при f = 1000 Гц).
В сборочных цехах источниками шума являются токарные
операции, выполняемые, как правило, токарными (проходными упорными, отрезными,
подрезными) резцами, а также штамповочными прессами. Кроме того, шум возникает
от сверлильных и зенковальных операций. В зависимости от уровня и характера
шума, его продолжительности, а также от индивидуальных особенностей человека,
шум может оказывать на него различное действие.
Производственный шум отрицательно действует не только
на людей, работающих на шумных производственных участках, он и на весь
контингент лиц, обслуживающих данное производство, и на население, проживающее
вблизи территории завода.
Инженерные методы борьбы с шумом на промышленных
предприятиях заключается в следующем: а) уменьшение шума в источнике
возникновения в процессе конструирования и изготовления машин, а также путём
правильной эксплуатации оборудования;
б) уменьшение механического шума от вращения подвижных
частей сверлильных установок регулярной смазкой контактирующих деталей;
в) применение звукоизолирующих конструкций и
звукопоглощающих материалов (стекловолокно, воздушные промежутки); локализация
ультразвуковых установок, генерирующих шум, превышающий допустимые значения,
при помощи звукоизолирующих кожухов и переносных или стационарных
звукоизолирующих экранов высотой не менее 2 м со звукопоглощающей
облицовкой; наличие блокировки, отключающей преобразователи при открывании
кожухов; размещение технологической части ультразвуковых установок в выгородках
или в звукоизолированных кабинах, стены которых должны быть изнутри облицованы
звукопоглощающими материалами в случае, когда с помощью кожухов и экранов
невозможно снизить ультразвук до допустимых величин. г) применение глушителей
шумов.
Все эти мероприятия обычно осуществляются раздельно
или (чаще) в комплексе, в зависимости от условий производства.
Организационно-технические мероприятия также
значительно снижают шум производства:
а) рациональное расположение машин и агрегатов в цехе;
б) планирование времени работы шумного оборудования;
в) озеленение территории предприятий и прилегающей к
ней территории. Шум представляет собой нежелательное для человека сочетание
звуков различной интенсивности и частоты в диапазоны 16…2000 Гц и
негативно влияющих на человека.
В связи с тем, что специфика авиационного производства
не позволяет уменьшить шум до требуемых величин, в цехе применяют
индивидуальные средства защиты:
а) наушники (ГОСТ 12.4.051-78): типа ВЦНИИОТ-4А (ТУ
400-28-127-76) для защиты от шума с уровнем до 110 дБ; ВЦНИИОТ-2М (ТУ
400-28-126-76), ВЦНИИОТ-74 (ТУ 1-01-0035-76) с уровнем шума до 120 дБ,
которые эффективны на высоких частотах, так как имеют большой диапазон
поглощения; применяются в зонах, расположенных вблизи стапеля сборки;
б)вкладыши (ГОСТ 12.4.051-78): беруши из материала ФПП-Ш (ТУ 6-162402-80)
для защиты от средне- и высокочастотного шума до 100 дБ; резинопластмассовые
вкладыши (ТУ 400-28-152-76) при уровне шума до 105 дБ;
в) противошумная каска ВЦНИИОТ-2 (ТУ 1-01-0201-70);
шумозащитное оголовье ШЗО-1 (ТУ 2АГ-9010-4400) для защиты от средне- и
высокочастотного шума с уровнем до 120 дБ.
Различают гигиеническое и техническое нормирование
вибраций. Нормирование вибраций производится в соответствии с ДНАОП
0.03-3.11-84 (Санітарні норми і правила при роботі
з машинами та обладнанням, які створюють локальну вібрацію, що передається на
руки працюючих №
3041-84) и ДНАОП 0.03-3.12-84 (Санітарні норми вібрації робочих місць №3044-84) при гигиеническом нормировании вибраций ограничивают среднеквадратичные
величины вибростойкости или виброускорения,
которые устанавливают в зависимости от вида вибрации,
природы её происхождения, направления действия и среднегеометрических частот октавных полос.
Локальная вибрация вызывает спазмы сосудов,
которые начинаются с концевых фаланг пальцев руки и распространяются на всю кисть, предплечье, захватывая сосуды сердца.
Вследствие этого происходит ухудшение
снабжения конечностей кровью. Одновременно наблюдается воздействие вибраций на нервные окончания, мышечные и костные
ткани, выражающиеся в нарушении
чувствительности кожи, окостенении сухожилий мышц и отложении солей в суставах рук и пальцев, что приводит к болям,
деформациям и уменьшению подвижности суставов. Все
указанные изменения усиливаются в холодный
и уменьшаются в теплый период года. При локальной вибрации наблюдаются нарушения деятельности центральной нервной
системы, как и при общей вибрации. Параметры вибрации не
должны превышать предельно допустимых уровней. В прессовых цехах общее время
воздействия вибраций зависит от числа ударов, наносимых в смену. Штамповочные
молоты наносят 3000-5500 ударов в смену.
Масса виброоборудования или его частей, удерживаемая руками в различных
положениях, не должна превышать 10 кг, а сила нажима не должна превышать
196 Н (20 кг), если технологические требования не водят более
жестких ограничений. Суммарное время работы в контакте с ручными машинами,
вызывающими вибрацию не должны превышать 2/3 рабочей смены. При этом
продолжительность одноразового непрерывного воздействия вибрации, включая
микропаузы, входящие в данную операцию, не должна превышать 15-20 мин.
Средства защиты от локальной вибрации: виброзащитные рукавицы при работе с ручным инструментом (ГОСТ 12.4.002-74);
перчатки и наколенники кожаные или замшевые, с прокладками из губчатой резины и без них;
специальная виброзащитная обувь (ГОСТ 12.4.024-76), группа Мb, для защиты от вибраций не менее 7 дБ
при f = 16 Гц и f = 63 Гц.
Кроме того используются различные противовибрационные
устройства ручного механизированного инструмента. Например, клепальные молотки выпускаются с пневматическими амортизаторами
и эластичными рукоятками, значительно
уменьшающими амплитуды вибраций. Значительный
эффект гашения вибрации инструмента вращающего действия достигается балансировкой вращающейся части.
В сборочном процессе при промывке и обезжиривании деталей, сварке и пайке
используется низкочастотный ультразвук (16…44 кГц) высокой интенсивности
(до 6-7 Вт/смІ), а при контроле сборочных соединений - высокочастотный
(> 80 кГц). Наиболее опасен контактный ультразвук при передаче через
жидкости или твердые материалы. Даже кратковременное и периодическое контактное
воздействие ультразвука может приводить к нарушению подвижности пальцев,
кистей, предплечий. Допустимые уровни ультразвука в зонах контакта рук и других
частей тела оператора с рабочими органами приборов и установок не должны
превышать 110 дБ.
Топлива, используемые в проектируемом двигателе, обладают сильным
токсичным действием.
Высокая ядовитость НДМГ связана с его значительной испаряемостью.
Предельно допустимая концентрация его паров в воздухе составляет 0,1мг/м3.
Действие НДМГ на организм человека: раздражение слизистых оболочек глаз,
дыхательных путей и легких; сильное возбуждение центральной нервной системы
вплоть до судорог; расстройство кишечно-желудочного тракта, сопровождающееся
тошнотой и рвотой. Попадание брызг в глаза может вызвать мгновенную боль,
слезотечение и покраснение, являющееся характерным признаком конъюнктивита. При
вдыхании паров НДМГ возможен кашель, боли в грудной клетке, хрипота и учащение
дыхания; при вдыхании больших количеств наступает отек легких.
Для предупреждения отравления все работы с НДМГ следует в фильтрующих
противогазах, в защитной одежде, резиновых сапогах и перчатках. При попадании
НДМГ на нательное белье горючее быстро окисляется с выделением большого
количества тепла и резким повышением температуры на пораженных участках, что
может вызвать ожоги кожных покровов. В этих случаях нужно быстро снять белье и
пораженные участки кожи промыть обильным количеством воды, а затем протереть
спиртом и 5%-ным раствором ментола.
Основные опасности воздействия окислителя на организм человека связаны с
попаданием их на кожные покровы и слизистые оболочки, а также в органы дыхания.
Пары окислителя раздражают дыхательные пути. При попадании на кожу и слизистые
оболочки окислители даже при непродолжительном контакте вызывают тяжелые ожоги,
требующие длительного лечения.
Предельно допустимая концентрация окислов азота в воздухе рабочей зоны
составляет 5 мг/м3, едва ощутимый запах обнаруживается при их
содержании 10 мг/м3.
При отравлении парами окислителей пострадавшего необходимо быстро удалить
из зараженной атмосферы, обеспечить полный покой, тепло, вдыхание кислорода.
При поражении глаз следует сразу промыть их большим количеством воды, а затем в
случае необходимости обработать 2%-ным раствором бикарбоната натрия.
Лица, страдающие бронхитом, астмой и болезнями сердца, к работе с
окислителями на основе четырехокиси азота не допускаются. Работа с указанными
окислителями проводится в специальных защитных костюмах с капюшоном, печатках,
сапогах и противогазах. Одежда изготавливается из кислостойких материалов,
например полиэтилена или стекловолокна, пропитанного тефлоном. Для защиты от
небольших концентраций паров азотной кислоты и окислов азота применяют
фильтрующий противогаз марки В.
Санитарно-гигиенические условия труда в кузнечно-прессовых цехах
характеризуются наличием в воздухе производственного помещения вредных
токсических веществ: масляного аэрозоля, образующегося при смазывании штампа, и
продуктов сгорания смазочных материалов (минеральных масел, масел животного
происхождения, сухих мыл и консистентных смазочных материалов, воска, эмульсий,
водяных растворов мыла, синтетических масел, графитных смазочных материалов);
сернистого газа, окиси углерода, сероводорода и др. Концентрации пылевидных
частиц, окалины и графита, сдуваемых сжатым воздухом с поверхности матриц,
штампов и поковок, в воздухе рабочей зоны составляют 3,9…4,1 мг/м3,
за прессами могут достигать 22…138 мг/м3 (при отсутствии
местных отсосов).
Неправильное обращение с органическими растворителями
(бензином, керосином), ароматическими углеводородами (бензолом, толуолом,
ксилолом), синтетическими моющими средствами и поверхностно-активными
веществами для очистки сборочных единиц, хромосодержащими притирочными и
полировальными пастами, свинцовыми припоями, различными герметиками и клеями
создает опасность отравлений. Промывку и обезжиривание деталей следует
производить в моечных машинах, ваннах или на специальных рабочих местах,
оборудованных вытяжной вентиляцией.
ПДК некоторых химических веществ: минеральные масла -
5 мг/м3, сероводород - 10 мг/м3, керосин -
300 мг/м3, бензин - 100 мг/м3, бензол - 15 мг/м3.
ксилол - 50 мг/м3, толуол - 50 мг/м3,
ацетон - 200 мг/м3.
Приведенные выше химические вещества относятся к 3
(умеренноопасные) и 4 (малоопасные) классу опасности, концентрация которых
составляет:5-10 мг/м3 и >10 мг/м3 соответственно.
В цехе осуществляется естественная вентиляция
(аэрация) и общеобменная механическая (СНиП II 33-75). В летнее время - методом естественной аэрации через
верхние фонари, в зимний и переходный периоды - через протяжно-вытяжные каналы
механической вентиляции. На участках, где производится работа с химическими
веществами, оказывающими вредное воздействие на организм, предусмотрена
вытяжная вентиляция, которая включается (СНиП 2.04.05-86).
Наличие металлической пыли, абразивной пыли в воздухе
рабочей зоны сборочного цеха может привести к заболеванию слесарей-сборщиков
пневмокониозом, хроническим пылевым бронхитом, профессиональной бронхиальной
астмой. Необходимо предусматривать средства для отсасывания пыли и удаления
стружки. Для защиты от металлической пыли диаметром частиц более 2 мкм
при концентрациях, превышающих ПДК не более чем в 100 раз, применяются такие
средства индивидуальной защиты: противопылевой респиратор Ф-62ш
(ТУ-6-16-2485-81)
Вредные выделения от герметизирующих веществ возникают
при естественном испарении растворителя из герметика, который необходим для
герметизации заклепочных швов и стыков агрегатов. Содержание вредных веществ в воздухе
рабочей зоны не должно превышать предельно допустимых концентраций (ПДК), что
должно обеспечиваться применением соответствующих защитных мер. Для вывода
испарений из цеха необходима вентиляция воздуха в помещении. Вентиляция в цехе осуществляется
механическим способом, она общеобменная по НАОП 1.4.72.2.32.81 (ОСТ
1.42.115.-83 Роботи
з герметизації. Загальні вимоги безпеки) та НАОП 1.4.72.-1.36-91 (Правила безпеки праці при
герметизації виробів),
что соответствует СНиПИ-30-75. Кроме того, в теплое время года используется
естественная вентиляция. На участках, где производится герметизация,
скапливаются пары герметика и бензина, оказывающие вредное воздействие на
организм человека предусмотрена вытяжная вентиляция, которая включается (СНиП
2.04.05-86).
На участках, где используются клеи на основе токсичных веществ и
соединений, должны иметься аптечки с набором средств и медикаментов,
обезвреживающих их действие.
Для обеспечения нормальной и безопасной работы
необходимо рациональное и соответствующее нормам СН и ПН-4-79 освещение.
Недостаточное освещение вызывает усталость рабочих, что ведёт к снижению
качества и производительности труда, а также к травматизму. В цехе
предусмотрено естественное и искусственное освещение. Естественное освещение -
через световые фонари и окна, нормируется коэффициентом естественной освещенности,
величина которого определяется нормами и правилами СН и ПН-4-79, в зависимости
от типа освещения и характера работ. В цехе применяется комбинированное
искусственное освещение: общее и местное. Общее освещение осуществляется
газоразрядными люминесцентными лампами типа ДРЛ-1000. Для местного освещения
предусматриваются светильники с люминесцентными лампами. Применяются
светильники пылеводозащитные с рассеивающим стеклом типа МЛ с h = 6%. Светильники исключают
пульсацию света. Они располагаются в ряд над рабочими местами. Ряды
располагаются параллельно стенам и окнам.
Производственные процессы в проектируемом цехе сборки
характеризуются: а) длительными физическими нагрузками, одновременной мышечной
нагрузкой на токарных операциях, сверления и прочее; б) нервными напряжениями,
зависящими в свою очередь от высокого уровня шума, мышечного напряжения,
сложности работы, точности и опасности труда; в) неудобным (ограниченным)
положением тела при выполнении работ в стапеле, а также очень неудобным положением
на участке внестапельной сборки; г) монотонностью работ, характеризующихся
многократным повторением операций.
Применение поточно-конвейерных методов на сборке, чрезмерное дробление
трудового процесса, увеличение однообразных движений вызывает состояние монотонности,
снижаются функциональные возможности организма, появляется сонливость.
Основными требованиями безопасности для сборочного и штамповочного
процесса являются: а) замена операций, связанных с возникновением опасных и
вредных производственных факторов, операциями, при которых этих факторов нет
или они обладают меньшей интенсивностью; б) замена вредных веществ безвредными
или менее вредными, сухих способов обработки пылящих материалов мокрыми; в)
повышение уровня механизации сборочных работ; г) комплексная механизация и
автоматизация производства; д)оснащение сборочных цехов средствами
внутрицехового транспорта; е) обеспечение рабочих специальной одеждой в
соответствии с действующими нормами, применение средств коллективной и
индивидуальной защиты работающих при превышении на рабочих местах уровней
вредных факторов;
для безопасной работы необходимо не только освещение рабочих мест, но и
рациональное направление света, отсутствие разных теней и бликов, вызывающих
слепящий эффект и снижение работоспособности. Достаточность естественного и
искусственного освещения регулируется СНиП II 04-79. ж) рациональная организация труда и отдыха с целью
профилактики монотонности и гиподинамии, а также ограничение тяжести труда; з)
проведение инструктажей по технике безопасности (первичных, повторных,
внеплановых); и) своевременное получение информации о возникновении опасных и
вредных производственных факторов на отдельных технологических операциях; к)
внедрение системы контроля и управления технологическим процессом,
обеспечивающее защиту работающих и аварийное отключение производственного
оборудования.
К выполнению работ в цехах окончательной сборки допускаются лица не
моложе 18 лет, прошедшие предварительный медицинский осмотр.
Рабочим, выполняющим работы на высоте, работы по герметизации изделия под
избыточным давлением, работы на установках для испытания пневмосистем с
применением высоких давлений и на подъемно-транспортном оборудовании, прошедшим
курсовое обучение и сдавшим экзамены, должны быть выданы удостоверения на право
производства указанных работ.
К выполнению токарных работ ручными резцами и поддержками могут быть
допущены лица мужского пола, достигшие 18-летнего возраста, и женского пола,
достигшие 20-летнего возраста, прошедшие предварительный осмотр, обучение по
токарным работам, работам со свёрлами и имеющие соответствующую квалификацию,
усвоившие инструктаж по правилам безопасного выполнения работы. Аттестация
рабочих, занятых на сверлильных работах, по вопросам техники безопасности,
техническим навыкам, культуре труда и выполнению физико-профилактических
мероприятий должна проводиться не реже одного раза в год.
Соблюдение всех требований и норм в Украине осуществляется согласно
основным законодательным документам об охране труда: Конституция Украины, Законы
Украины "Об охране труда" (1993), "Об охране здоровья",
"О пожарной безопасности", "Об использовании ядерной энергии и
радиационной защите", "Об обеспечении санитарного и эпидемического
благополучия населения", "Кодекс законов о труде Украины".
12.2 Мероприятия по уменьшению влияния вредных и опасных
факторов в цехе сборки деталей двигателя
Избыточное тепло, пыль и вредные испарения необходимо отводить из цеха
при помощи принудительной вентиляции. Во избежание травмирования рабочих
вентиляционные установки должны быть изолированы.
Вентиляция должна поддерживать следующие условия внутри помещения цеха
(ГОСТ 121005-88).
1.В
холодный период года (
= 10°С):
= 15...
20°C;
относительная
влажность воздуха не более 80 %;
скорость
движения воздуха не более 0,5 м/с.
.В
теплый период года:
≤ 28°C;
относительная
влажность воздуха:
при
+24°С -не более 75%; при +26°С - не более 65%; при+27°С -
не более 60%; при +28°С - не более 55%;
скорость
движения воздуха 0,3...0,7 м/с.
Уровень
шума по ГОСТ 121003-83 должен соответствовать
≤
85 дБ.
Для
исключения травмирования рабочих об острые кромки и заусеницы деталей
необходимо в технологических процессах обработки на металлорежущих станках
назначать слесарные операции и скруглять острые кромки до R = 1 мм.
Для
освещение цеха в светлое время суток в проекте предусмотрены встроенные в
стенки окна, а также потолочный фонарь. В темное время суток необходимо
организовать искусственное освещение цеха. На затемненных рабочих местах
необходимо организовать местное освещение. Достаточность освещения
регламентируется СН и ПИ 4-79.
Имеются
выходы для эвакуации рабочих. Курение разрешается в специально отведенных
местах.
Для
предотвращения или ослабления воздействия опасных и вредных производственных
факторов на работающих, следует уделять внимание созданию такой технологии и
организации производства, при которых эти воздействия были бы минимальными.
Далее приведен расчет воздухообмена в системе местной вентиляции рабочего
помещения.
При ручной сварке штучными электродами с покрытием, для снижения
концентрации вредных веществ на рабочих местах до предельно допустимой
концентрации, необходимо, прежде всего, применять местные отсосы.
Расход воздуха, удаляемый отсосом, определяется формулой [15]:
(12.1)
Площадь
отсоса
и его форму выбирают в зависимости от вида сварки,
используемого оборудования и так далее. Скорость W находят, исходя
из условий обеспечения заданной скорости воздуха Wx в
зоне сварки на расстоянии Х (м) от центра всасывающего отверстия.
При
ручной сварке скорость Wx должна быть не более 0,5 м/с.
Воздухоприемники
должны быть максимально приближены к источнику вредных выделений, поскольку
скорость движения воздуха при удалении от всасывающего отверстия падает обратно
пропорционально квадрату расстояний (примерно, так как реальные конструкции
воздухоприемников не являются точечными стоками).
Для
отсоса простейшей формы (круглого, квадратного отверстия без экрана) скорость
определим следующим образом [15]:
(12.2)
При (x/d)>0,5 имеем d=0,7
м, тогда
м.
Определим
площадь отсоса круглого сечения по формуле
(12.2)
м2.
Найдем
расход воздуха, удаляемого отсосом
м3/ч.
Расход
удаляемого воздуха равен 3992 м3/ч, этот расход могут обеспечить
воздухоприемники типа ЛИОТ-1 (L=4000 м3/ч).
13. Техногенная безопасность
.1 Анализ возможных чрезвычайных
ситуаций в сборочном цехе деталей двигателя
В цехе сборки деталей двигателя (в нашем случае -
вал-шестерня), как и во всех агрегатно-сборочных цехах, основную площадь
занимают места для сборки узлов и агрегатов. Таким образом, в цехе имеют место
следующие факторы чрезвычайной ситуации:
а) опасность поражения электрическим током;
б) пожарная опасность;
в) подъёмно-транспортное оборудование.
Воздействие электрического тока на организм человека
нормируются по ДНАОП 1.1.10-1.01-97 (Правила безпечної експлуатації електроустановок) и ДНАОП 0.03-3.16-86 (Гранично допустимі рівні
(ГДР) впливу електричних полів частот від 0,06 МГц до 30,0 МГц №4131-86). В сборочных
цехах существует опасность поражения электрическим током, так как здесь
эксплуатируется оборудование, использующее электрический ток высокой и
промышленной частоты напряжением до 380 В, но эта опасность очень
небольшая, ввиду отсутствия магистральных электроприводов и заземления.
Возможны поражения: от прикосновения к оголенным проводам, питающим переносные
лампы вследствие повреждения изоляции. Основными мерами защиты от поражения
электрическим током являются (ПУ7-85):
1. недоступность токоведущих частей, размещение
их на достаточной высоте и ограничении;
2. применение малого напряжения (в цехе применяются
переносные лампы 36 В).
При работе ручными машинами без двойной изоляции для
защиты работающих от поражения электрическим током применяют
защитно-отключающие устройства (ЗОУ), автоматически отключающие машину в случае
утечек тока. Для защиты сборщиков, на которых возможно воздействие
электромагнитных полей и токов высокой частоты, в конструкции оборудования
предусматривается экранирование генератора, защита расстоянием, защита
временем, средства индивидуальной защиты, автоматизация оборудования.
Рассмотрим пожар, как чрезвычайную ситуацию для сварочного цеха.
Пожар - неконтролируемое горение вне специального очага наносящее
материальный ущерб. Опасными факторами воздействующими на людей при пожаре
являются: открытый огонь и искры, повышенная температура воздуха, предметов,
токсичные продукты горения, дым, пониженная концентрация кислорода, обрушение и
повреждение зданий.
Горение - представляет собой быстропротекающее химическое превращение
веществ, сопровождающееся выделением больших количеств теплоты и обычно ярким
свечением (пламенем).
Процесс возникновения горения подразделяют на несколько видов: вспышку,
воспламенение, самовозгорание, самовоспламенение, взрыв и детонацию.
По горючести вещества подразделяют на три группы: негорючие (вещества,
которые не способны гореть в воздухе нормального состава при температуре до 9000С),
трудногорючие (вещества, могущие загораться под действием источника зажигания в
воздухе нормального состава, но не способного к самостоятельному горению),
горючие (вещества, способные загораться под действием источника зажигания в
воздухе нормального состава и продолжающие гореть после его удаления).
Причины возникновения пожара могут быть:
неэлектрического характера (неправильное устройство и эксплуатация
отопительных систем, неисправность оборудования и нарушение технологических
процессов, неосторожное обращение с огнем, неправильное устройство и
неисправность вентиляционных систем, самовозгорание веществ);
электрического характера (короткое замыкание, перегрузки, большие переходные
сопротивления, искрение и электрические дуги, статическое электричество,
разряды атмосферного электричества). Опознавательные признаки: пламя, дым,
визуальные признаки поврежденного электрооборудования.
Пожары на машиностроительных предприятиях представляют большую опасность для работающих и могут причинить материальный
ущерб. Статистика показывает, что в основном причиной
пожара служит нарушение технологического режима
(33% от всех случаев). Это объясняется разнообразием и сложностью технологических процессов. Сложность противопожарной защиты
усугубляется размерами предприятий, большой
плотностью застройки, увеличением вместимости товарно-материальных складов. В цехе особую пожароопасность представляет
помещение архива. Производство цеха по степени пожароопасности и
взрывоопасности относятся к категориям Д, а здания по II степени огнестойкости в соответствии со СНиГШ-90-81 и
СНиПП-2-80.
Использование при сборке легковоспламеняющихся (ЛВЖ) и горючих веществ в
виде, например, смеси ацетона, спирта или бензина с сухим льдом, аэрозолей и
пыли, с одной стороны, и источников тока с возможностью искрения или короткого
замыкания - с другой, создает опасность возникновения пожаров и взрывов.
Возможными причинами пожаров и взрывов, кроме неисправности электросети,
могут быть: на шлифовально-полировальных участках наличие органической пыли и
искрение шлифовальных кругов; на участках обезжиривания - ручная протирка
изделий бензином, при этом воспламенение может произойти в результате трения;
на участках пайки и сварки - использование источников открытого огня; источники
нагрева деталей при горячих посадках. Возможно самовоспламенение промасленных
органических материалов, одежды, ветоши.
Противопожарная техника предусматривает: а) Наличие
пожарных кранов, щитов, огнетушителей (производственные помещения - пенные и
углекислотные; помещение архива - порошковые, ОХП-10); б) Оборудование здания
цеха молниеотводами; в) Линии осветительной и силовой электропередачи
оснащается плавными предохранителями;
г) Наличие в цехе запасных выходов, которые позволяют эвакуировать людей
в случае пожара.
В цехе для устранения очагов возгорания электропроводки используются
огнетушители ОУ-2, находящиеся непосредственно возле стапельной сборки. Кроме
того, используются ОХП-10 и имеется пожарный щит. На лестничной клетке в
пристройке имеется пожарный кран. В соответствии со СНиПП-80 в цехе
предусмотрено 5 выходов, расположенных рассредоточено суммарной шириной 19 м,
включая выход из пристройки. Во избежание пожара следует выполнять: Правила пожежної безпеки в
Україні! ДНАОП
0.01-1.01-95 та НАОП 1.4.72.1.49-86. Во избежание самовозгорания
использованного обтирочного материала его следует хранить вдали от нагретых
предметов, отопительных устройств, электрооборудования и электроустановок в
плотно закрывающихся металлических ящиках. Использованный обтирочный материал
должен убираться из ящика не реже одного раза в смену. При использовании
горючих смазочных материалов (керосин, масла, спирты и пр.) во избежание взрыва
устанавливают взрывобезопасное электрооборудование и приточно-вытяжную
вентиляцию, чтобы не допустить образования в воздухе взрывоопасных
концентраций. Существует возможность замены горючих растворов огнеопасными:
замена бензина, керосина, дизельного топлива и других огнеопасных углеводородов
другими растворителями, например хлорированными углеводородами (трихлорэтилен,
тетрахлорэтилен, перхлорэтилен).
Нормирование подъемно-траспортного оборудования
проводится в соответствии с ДНАОП 0.00-1.03-93 .
В машиностроении широко используется подъёмно-транспортная
техника. Безопасность труда при подъеме и перемещении грузов в значительной
степени зависит от конструктивных особенностей подъёмно-транспортных машин и
соответствия их правилам и нормам Госгортехнадзора Украины. При эксплуатации
подъемно-транспортного оборудования следует отражать все доступные движущиеся
части механизмов, что и сделано в сборочном цехе. Это относится и к
штамповочным машинам, и к сверлильно-зенковальным аппаратам. Кроме того, в цехе
снижена возможность непредусмотренного контакта рабочих с перемещаемыми грузами
и самими механизмами при их передвижении, а также обеспечена надежность
механизмов, грузозахватных и страховочных приспособлений путём расчёта на
прочность этих приспособлений на динамичность и статику.
Это обеспечивается тем, что перемещение деталей из
стапелей к месту вне стапельной сборки, а также отдельных узлов и агрегатов к
стапелям сборки осуществляется на высоте, безопасной для человека, над местами
с минимальным количеством рабочих мест и с отсутствием их. Перемещение
сопровождается прерывающейся звуковой сигнализацией, предупреждающей об
опасности.
Для исключения вероятности поражения электротоком все оборудование должно
иметь двойную изоляцию и быть заземлено. Расчёт заземления приведен ниже. К
ремонту электродвигателя допускается только специальный персонал. Все источники
электромагнитного излучения должны находиться за защитным кожухом-экраном. Они
представляют собой металлические крышки, кожухи с хорошей отражательной
способностью по отношению к электромагнитным волнам.
Для исключения травмирования рабочих все приводные механизмы должны быть
оборудованными кожухами; лестницы, проходы, движущиеся части оборудования
должны иметь ограждения. Все работы рабочими должны производиться только в
спецодежде и после инструктажа мастера.
Противопожарные меры предусматривают сеть пожарных кранов и гидрантов,
наличие пожарных щитов в цехе, снабжение линий осветительной и силовой
электропроводки предохранителями, сеть оповещателей, наличие в цехе средств
первичного пожаротушения - огнетушителей.
Окислители на основе четырехокиси азота не горят, но поддерживают
горение. Если одновременно смешивается большое количество компонентов, может
произойти бурная реакция.
Пары четырехокиси азота могут образовать взрывчатую смесь с парами
горючего. Повышение температуры в различных емкостях может привести к
образованию разрушительного давления.
Сварочные и другие огневые работы должны проводиться в соответствии со
СНиП II-90-81, СНиП II-2-81, с Типовыми правилами пожарной безопасности для
промышленных предприятий .
Категории производств по взрывоопасной, пожаровзрывной и пожарной
опасности следует принимать по специальным ведомственным перечням, утвержденным
министерствами в установленном порядке. Цеха и участки, где ведутся работы по
электродуговой сварке, относятся к категории Г производств по пожарной и
взрывной опасности. Количество огнетушителей и других первичных средств
пожаротушения для таких цехов и участков должно выбираться в соответствии с
указанными выше Типовыми правилами.
Помещения, в которых выполняются газовая сварка, должны быть построены из
элементов конструкций по 4 категории противопожарной безопасности
(противопожарная стойкость не менее 2 ч.).
Места, отведенные для проведения сварочных работ, установки оборудования,
должны быть очищены от легковоспламеняющихся материалов в радиусе 5 м.
Сварочные работы вне производственного помещения могут производиться только по
согласованию с заводской пожарной охраной.
Запрещается производить сварку свежеокрашенных конструкций до полного
высыхания краски, сосудов, аппаратов, трубопроводов коммуникаций, находящихся
под напряжением, избыточным давлением, заполненных горючими и токсичными
материалами.
Категория производства по пожарной опасности в значительной степени
определяет требования к зданию предприятия, его конструкции и планировке,
организацию пожарной охраны и ее техническую оснащенность, требования к режиму
и эксплуатации.
Рисунок 13.1 - Карта ожидаемой пожарной обстановки:
Далее рассчитаем чрезвычайную ситуацию, которая может возникнуть в
помещении.
Если тепловая энергия выделяется в зоне горения первичного пожара
равномерно на протяжении всего времени горения «запасов топливного вещества»
объекта и световое излучение первичного пожара распространяется только в
верхнюю полусферу, тогда радиус наружной зоны пожара рассчитывается по формуле
[16]:
,
(13.1)
Где
Q - масса «запасов топливного вещества» - 2500 кг;
НТ-
теплоотводная способность (т.е. питомая теплота горения) топливного вещества-
Дж/кг;
Jспл.пож - плотность потока мощности светового излучения
первичного пожара на наружной границе зоны возможных сплошных пожаров -
Вт/м2 [16];
, (13.2)
где
gп.р.-
«загромождение», топливного вещества в месте его хранения, т.е. масса
топливного вещества который, находится на 1 м2 площади места его
хранения [17]
, (13.3)
где
S- площадь, где находятся «запасы топливного вещества»
- 5м2
Vвыг.мас. - скорость (массовая) выгорания топливного вещества -
0,015
,
Определим
радиуса наружной границы зоны возможных отдельных пожаров [18]
, (13.4)
где
Jсв.отд.пож -
плотность потока мощности светового излучения первичного пожара на внутренней
границе зоны возможных отдельных пожаров -
Выводы
1. На основе анализа условий работы ЖРД разработан облик двигателя:
тяга двигателя 25 кН ,топливные компоненты - N2O4 и НДМГ, давление в камере сгорания рк=1МПа,
вытеснительная система подачи топлива с учетом условий работы в космическом
пространстве.
2. Проведены термодинамический расчет горения в камере и на его
основе получены основные режимные параметры работы двигателя: Iуд.пуст.=3327 м/с, mок=5,8 кг/с и mг=2,09 кг/с. Рассчитаны смесительные
элементы топлива, принято их шахматное расположение, которое обеспечивает
необходимое соотношение компонентов в пристеночном слое камеры без постановки
пояса завесы. С использованием современных методик спроектирован профиль камеры
сгорания и сопла.
. Проведены расчеты проточного охлаждения камеры и радиационного
охлаждения насадка. Результаты удовлетворительные. Разработаны чертежи общего
вида камеры, редуктора давления и пускоотсечного клапана. Проведены расчеты
несущей способности камеры с учетом осевой нагрузки (запас n=1,2), а также местной прочности
отдельных элементов камеры.
4. Спроектирован технологический процесс изготовления детали.
Разработана последовательность технологических операций, применено
оборудование, необходимое для выполнения операций. Спроектировано
приспособление для фрезерной операции. Определена себестоимость детали - штока,
которая составила Спол=44,05 грн., рассчитана оптовая цена единицы
изделия Цопт=52,86, розничная цена Црозн=78 грн. Здесь же
рассмотрены виды цен и порядок их формирования. Рассмотрено влияние
вредных и опасных факторов при сборке камеры сгорания в сборочно-сварочном
цехе, рассчитана местная вентиляция для снижения концентрации вредных веществ
непосредственно на рабочем месте сварщика. Рассчитана зона чрезвычайной ситуации
- пожара.
Перечень ссылок
1. Термодинамические и теплофизические свойства продуктов
сгорания: Справочник / Под ред. В.П.Глушко -т.5.- М.: АН СССР, 1971-1979.
. Конструкция и проектирование жидкостных ракетных
двигателей. Камеры/ Д.И.Завистовский, В.В.Спесивцев. - Учеб. пособие.- Харьков:
Нац. аэрокосм. ун-т “ ХАИ”, 2006.- 122с.
. Основы теории и расчета жидкостных ракетных двигателей /
Под ред. В.М. Кудрявцева. - М.: Высшая школа, 1983. - 703 с.
. М.В.Добровольский. Жидкостные ракетные двигатели. Издательство
‘машиностроение’, М., 1968.- 391с.
. Конструкция и проектирование жидкостных ракетных
двигателей. Под общей редакцией проф. Г. Гахуна. - М.: Машиностроение, 1989.
. И.Тимнат. Ракетные двигатели на химическом топливе: Перевод
с англ. - Мир, 1990. - 294с.
. Отработка пневмогидросистем двигательных установок
ракет-носителей и космических аппаратов с ЖРД/ Д.А.Полухин, В.М.Орещенко,
В.А.Морозов. - М.: Машиностроение 1987. - 248с.
. В.Н. Зрелов, Е.П. Серегин. Жидкие ракетные топлива.М.,
«Хилия"1975г.320 с.
. Справочник технолога-машиностроителя, в двух томах, под
редакцией А.Г Косиловой, Р. К.Мещерякова, Москва, Машиностроение, 1985.
. В.Ю. Гранин, А.И. Долматов “Определение припусков на
механическую обработку и технологические размерные цепи”
. Гавва В.Н., Сафронов Я.В. Технико-экономическое обоснование
предпринимательских проектов. - Учебное пособие.- Харьков: ХАИ, 1995. -120 с.
. Гавва В.Н., Сафронов Я.В., Шумов В.П. Планирование
инвестиций в производство и анализ финансов предприятия. - Учебное пособие. -
Харьков: ХАИ, 1997. - 211 с. 13. Сафронов Я.В. Экономическое обоснование
бизнес-планов в машиностроении. Учебное пособие. - Харьков: ХАИ, 1997. - 80 c.
15. 14. Крылов В.А., Юченкова Т.В. Защита от
электромагнитных излучений. - М.: Сов. Радио, 1972. - 230 c. Князевский Б.А. Охрана труда. - М.:
Машгиз, 1972. - 310 c.
16. Безопасность производственных процессов. Справочник.
/ Под ред. С.В. Белова. - М.: Машиностроение, 1985. - 97 c.
17. Кулишова И.В., Азаревич А.Я., Ткачева А.Д., Еременко
Ю.К. Охрана труда. Учебное пособие по дипломному проектированию. - Харьков: ХАИ, 1987. - 144 c.
18. Красновский А.А., Курицкий Е.И. Гигиена и безопасность
труда электросварщика. - М.: Машгиз, 1974. - 156 c.