Разработка технологического процесса коксодробилки
Введение
Технология машиностроения является комплексной
научной дисциплиной, без которых невозможно современное развитие производства.
Изготовление современных машин осуществляется на базе сложных технологических
процессов, в ходе которых из исходных заготовок с использованием различных
методов обработки. Изготавливают детали и собирают различные машины и
механизмы. При освоении новых изделий необходимо их обработать на
технологичность, выбрать заготовки, методы их пооперационной обработки,
оборудование и технологическую оснастку. При этом приходится решать множество
других технологических задач 6 обеспечение точности, качество поверхностного
слоя, экономичности и др.
Развитие машиностроительной промышленности
способствует повышению благосостояния общества. Труд специалистов
машиностроителей становится все сложнее и интереснее. Именно машиностроение
является главной отраслью народного хозяйства, которая определяет возможность
развития других отраслей.
Термин «Технология» (от греческого techne
- искусство, мастерство, умение) означает совокупность методов обработки,
изготовления, изменения состояния, свойств, формы сырья, материала или
полуфабриката, осуществляемых в процессе производства продукции. Задачей
технологии как науки является выявление физических, химических, механических и
других закономерностей с целью определения и использования на практике наиболее
эффективных и экономичных производственных процессов.
Термин «Процесс» (от латинского procesius
- продвижение) означает действие, направленное на достижение результата.
В нашем случае имеются в виду достижения
результата в машиностроительной промышленности.
Машиностроение - комплекс отраслей
промышленности изготовляющих орудия труда для народного хозяйства, транспортные
средства, а также предметы потребления и оборонную продукцию. Машиностроение
материальной основной технологического перевооружения всего народного хозяйства
нашей страны.
Понятие «технология» применима практически ко
всем отраслям народного хозяйства, в которых можно выделить не только способы,
методы приема труда, но и установить, что собой представляет средства и
предметы труда, как их лучше использовать и легче установить между ними
взаимосвязи.
Одним из основных факторов, определяющих
ускорение научно-технического прогресса, является быстрое развитие технологии
при опережающем развитии фундаментальных исследований.
Главной целью разработки и освоения любой новой
технологии должно быть обеспечение заданных темпов роста производительности
труда при снижении себестоимости и повышении качества выпускаемых изделий.
Новые технологии должны обеспечивать снижение затрат на единицу конечной
продукции, причем чем ограниченные ресурсы, тем в большей мере
совершенствование технологии должно быть направлено на их экономию.
Однако под технологией машиностроения принято
понимать научную дисциплину, изучающую преимущественно процессы механической
обработки деталей и сборки машин, которая также затрагивает вопросы выбора
заготовок, методы их изготовления и т.д.
В машиностроении увеличиваются объемы применения
в машинах и приборах детали, изготовленных методом порошковой металлургии. Все
большую роль в производстве играют лазерный луч, магнитное поле, ультразвук и
другие способы воздействия на материал изделия. Внедрение новых технологий в
производство приводит к революционным изменениям в млн. названий, что в
пересчете на одного специалиста составляет 1500 страниц в день.
Проанализировать такой объем информации очень
сложно даже применение ЭВМ. Так как информацию можно хранить, перерабатывать и
передавать, то должны быть носитель передатчик и получатель информации. Часто
употребляют термин «данные», но он не является синонимом информации. Данные -
это величины, факты, то есть они являются сырьем для создания информации,
полученной в результате обработки данных. Информация - процент обучения и
анализа данных, которые человек превращает в знания. Человек обретает ценную
для себя информацию.
Проблема определения ценности информации в
настоящее время является наиболее актуальной. Значимость информации часто оценивается
специалистом интуитивно, на основании собственного интеллекта, опыта и
полученных данных. Компьютер стал основным источником информации, поэтому
необходимо уделять внимание совершенствованию форм и методов работы с
информационными технологиями, при этом следует учитывать, что компьютер решает
скорее расчетную информационную интеллектуальную задачу.
Технология машиностроения в той или иной степени
использует достижения науки и техники и развивается вместе с ними. Отсюда
технология машиностроения определяется как отрасль науки, занимающаяся
изучением связей и закономерностей процесса изготовления машин, задачами
которой являются: повышение качества, снижение себестоимости изделий и
повышение производительности труда на базе достижений науки и техники. При этом
конечной целью развития технологии машиностроения являются автоматическое
саморегулирование процессов изготовления изделий автоматически, без участия
человека. Для решения этой задачи необходимо досконально знать все
технологические процессы изготовления машин и уметь управлять ими.
1.
Общая часть
.1
Описание назначения детали и условие работы ее основных поверхностей
Конструктивные особенности. В механизмах
транспортных и технологических машин, колесных и гусеничных машин применяют
валы различной конструктивной формы: бесступенчатые (гладкие), ступенчатые с
прямой геометрической осью, коленчатые, эксцентриковые (кулачковые), кривошипы,
поворотные кулаки и др.
Наибольшее распространение в этих машинах (60 -
70% общего количества) получим ступенчатые валы средних размеров (диаметром
25…125 мм, длиной до 250мм) шлицевые с глухим или сквозным центральным
отверстием. Шлицевые валы изготавливают в основном с закрытыми шлицами
прямобочного или эвольвентного профиля.
Несмотря на разнообразие форм и размеров валов
необходимо, по возможности, учитывать следующие требования, обуславливающие их
технологичность
. Достаточная жесткость. Конструкция вала
считается жесткой при отношении длины к диаметру (l/d)
не более 10…12. В кривошипном случае токарная обработка вала требует применения
дополнительных опор - люнетов, что увеличивает трудоемкость. В зависимости от
отношения длины к диаметру валы закрепляют при обработке в патроне (l
: d ≤
5), в центрах(l : d
≤
10) или в центрах с люнетом(l/d
> 10…12)
. Наличие постоянных технологических баз
(центровые отверстия). Это позволяет повысить точность и сократить трудоемкость
обработки соосных ступенчатых поверхностей. Форма и размеры центровых отверстий
должны соответствовать ГОСТ 14034 - 74
. Предусматривать стандартные канавки для
выхода шлифовального круга. Форма и размеры канавок должны соответствовать ГОСТ
8820 - 69
. Для сокращения числа типоразмеров
канавочных резцов, канавки выполнять по возможности одинаковыми.
. Ступени должны быть с минимальными
переходами диаметров, убывающие или возрастающие(желательна симметричность).
6. Ступени по возможности
должны иметь одинаковую или граненую длину для обеспечения возможности
многоинструментальной обработки. Конические переходы между степенями вала и
фаски следует назначить под обработку с учетом стандартных токарных проходных
резцов с главными углами в плане 
равным 30,45,60 и 90
. При больших перепадах применять
высадку головок или составные конструкции для уменьшения объёма обработки
резанием и расхода металла.
. У гладких длинных валов
вместо ступени при необходимости упорных уступов, буртов, устанавливать
разжимные пружинные кольца. В этом случае бурты заменяются канавкой.
. У длинных нежестких валов
предусматривать резьбовое отверстие для обеспечения транспортировки,
термообработки и хранения в подвешенном состоянии.
. Крупные валы необходимо
выполнять полыми.
. Целесообразная простановка
продольных размеров облегчает наладку станка и сокращает трудоемкость
обработки.
. Наличие радиусов
закруглений между ступенями повышает стойкость инструмента.
. Форма и размеры выхода
внутренних и наружных резьб должны соответствовать ГОСТ 10549 - 80 (недорез
резьбы 
3
; сбег резьбы 
2,5
; проточка канавки под выходом
инструмента 
5
, где 
- шаг резьбы).
. Непрерывность шлифуемых
поверхностей постоянная длина образующей, это обеспечивает более высокую
точность формы, т. к площадь контакта детали, а следовательно, давления
шлифовального круга - постоянны.
. Наличие фасок в деталях
(особенно из хрупких материалов). Это предотвращает выкрашивание кромок
шлифовального круга при шлифовании.
. Заменять переходные
поверхности фасками.
. Не рекомендуются кольцевые
канавки на торцах, особенно со стороны стержня, т. к они трудоемки в работе.
. При наличии нескольких
шпоночных пазов на разных ступенях выполнять их на одной линии с одинаковой
шириной.
. Глубина и ширина шпоночных
канавок должна соответствовать размерам стандартных шпоночных фрез.
Предпочтительно шпоночные канавки обрабатывать дисковыми, а не концевыми
фрезами.
1.2
Тип производства
Типы производств и соответствующие им формулы
организации труда определяют характер технологических процессов и их
построение. Поэтому перед началом технологического проектирования устанавливают
тип производства - единичное, серийное или массовое. Тип производства
определяется номенклатурой и объемами выпуска изделий, их массой и габаритными
размерами, а также другими характерными признаками.
· Массовое производство
характеризуется большим объемом выпуска изделий, непрерывно изготовляемых или
ремонтируемых продолжительное время, в течении которого на большинстве рабочих
мест выполняется одна рабочая операция.
· Серийное производство
характеризуется изготовлением или ремонтом изделий периодически повторяющимися
партиями. В зависимости от количества изделий в партии или серии.
· Единичное производство характеризуется
малым объемом выпуска одинаковых изделий, повторное изготовление и ремонт
которых, как правило, не предусмотрено. Изделия выпускаются широкой
номенклатуры в относительно малых количествах и часто индивидуально.
Учитывая годовой выпуск деталей, определяем тип
производства по таблице 1.
Таблица 1-
Зависимость типа производства от объема годового выпуска и массы детали
|
Тип
производства
|
Количество
обрабатываемых в год деталей одного наименования и типоразмера
|
|
Крупные,
тяжелые детали большой трудоемкости массой свыше 30 кг
|
Детали
средних размеров и трудоемкости массой 8- 30кг
|
Небольшие,
легкие малотрудоемкие детали массой до 8 кг
|
|
Единичное
|
До
5
|
До
10
|
До
100
|
|
Серийное
|
Св.
5 до 1000
|
Св.10
до 5000
|
Св.100
до 50000
|
|
Массовое
|
Св.1000
|
Св.5000
|
Св.50000
|
Учитывая, что количество изготавливаемых деталей
8 штук в год, а масса одной готовой детали составляет 30,2 кг мы выбираем
единичный тип производства. Дадим ему более подробную характеристику.
Изготовление изделий либо совсем не повторяется,
либо повторяется через неопределенные промежутки времени. Продукты единичного
производства-машины, не имеющие широкого применения и изготовляемые по
индивидуальным заказам, предусматривающим выполнение специальных требований.
Единичное производство имеет свои особенности:
оборудование и приспособление, как правило,
общего назначения и универсальны;
оборудование располагается только по группам
станков;
грузопотоки изделий длинные, что обусловлено
значительными расстояниями между группами станков и прекращением направлений
движений;
высокая квалификация рабочих;
высокая себестоимость изделий.
Квалификация рабочих должна быть высокой, т.к.
работы носят самый различный характер. Подробной технологии нет, составляется
только последовательный перечень необходимых операций. Стоимость и время
изготовления изделий выше, чем в других видах производства [ ]..
Продукцией единичного производства обычно
являются экспериментальные образцы, индивидуальные заказы, крупные
металлорежущие станки, турбины, прессы и т.д.
При единичном производстве осуществляется
последовательная концентрация операций, например, ступенчатый вал можно
полностью или частично обработать с большим количеством технологических
переходов на одном станке.
2. Технологическая часть
.1
Обоснование выбора материала для изготовления детали
Материалом называют исходный предмет труда,
потребляемый для изготовления изделия.
Обоснованный выбор материала для изготовления
заготовок является важнейшим этапом проектирования технологического процесса.
Материал определяет эксплуатационные качества и долговечность работы изделия.
Основой при выборе материала заготовки изделия
являются следующие требования: он должен обеспечить необходимую прочность,
обладать оптимальными технологическими свойствами при минимальной стоимости
готовых изделий и хорошей обрабатываемости [ ]..
Выбор материала зависит от условий работы детали
в узле.
При анализе условий работы деталей следует
учитывать:
максимальную нагрузку, которая может возникнуть
в изделии при эксплуатации;
-характер приложенной нагрузки (статическая,
динамическая, знакопеременная и т.д.);
-температурные условия работы (интервал
температуры, постоянная или переменная температура);
-наличие агрессивной среды (кислотная, щелочная,
газовая);
-тип трения (скольжение, качение) рабочих
поверхностей изделия в процессе эксплуатации;
-характер износа (абразивный, окислительный);
-допуски на коробление и поводку, твердость, а
также пределы отклонения других показателей.
ПРИМЕРЫ МАТЕРИАЛОВ ДЛЯ ИЗГОТОВЛЕНИЯ
На основании анализа условий работы изделия
разрабатывают требования, обеспечивающие его максимальную долговечность и
наилучшую работоспособность.
Детали машин часто выходят из строя вследствие
повышенного износа или местной коррозии.
Повышение износостойкости трущихся стальных
деталей достигается различными видами химико-термической обработки.
При решении задачи по выбору материала
необходимо решить вопрос о способе термической обработки.
Если материал изделия является сплав, то вместо
таких показателей, как прокаливаемость, закаливаемость, характер превращений
,вводятся другие показатели ,например способность сплава к упрочнению. После
технологического обоснования выбранного материала и технологии термической
обработки детали следует обосновать экономическую целесообразность его
применения.
Механические свойства материалов являются одним
из важнейших критериев при выборе их для деталей машин. Под механическими
свойствами металлов понимают совокупность показателей, характеризующих их
сопротивление деформированию и разрушению при действии на них нагрузки.
Для нашей детали мы используем сталь 45,
углеродистая конструкционная качественная сталь, она выпускается в виде
различного сортового горячекатаного и калиброванного проката.
Углеродистая качественная сталь содержит
0,05…0,65% углерода, до 0,37% кремния, серы во всех качественных сталях
содержится не более 0,04%, фосфора - не более 0,035%. Кроме того, в сталях этой
группы имеется медь и никель, массовая доля которых не должна превышать 0,25%
для каждого элемента.
В состоянии поставки без термической
обработки углеродистая конструкционная сталь имеет следующие механические
свойства: твердость по Бринеллю 131…255HB предел
прочности при растяжении
330…690 МПа (33…69кгс/
), относительное удлинение 
до 33% и относительное сужение 
= 35…60%.
Наша сталь обладает следующими
свойствами.
|
Твердость
по Бринеллю HB, кг/мм2
|
Предел
текучести ℴТ , кг/мм2
|
Предел
прочности ℴвр, кг/мм2
|
Относительное
удлинение,  %Относительное сужение,  %
|
|
|
241
|
36
|
61
|
16
|
40
|
Механические свойства зависят от массовой доли углерода
и состояния проката.
2.2
Выбор вида заготовки и способ её получения
Заготовка-предмет производства, из которого
изменение формы, размеров, шероховатости поверхностей и свойств материала
изготавливают деталь или неразъемную сборочную единицу.
Выбор типа инструментального или
приборостроительного производства по массе детали.
|
Масса
детали (изделия) кг
|
Величина
годовой программы выпуска, шт.
|
|
единичное
|
Мелкосерийное
|
серийное
|
крупносерийное
|
массовое
|
|
1,0
|
10
|
10-2000
|
1500-100000
|
75000-200000
|
200000
|
|
1,0-2,5
|
10
|
10-1000
|
1000-50000
|
50000-100000
|
100000
|
|
2,5-5,0
|
10
|
10-500
|
500-35000
|
35000-75000
|
75000
|
|
10,0
|
10
|
10-300
|
300-25000
|
50000
|
|
10
|
10
|
10-200
|
20-10000
|
1000-25000
|
25000
|
Выбрать заготовку - значит: установить
рациональную форму, способ получения, размеры и допуски на изготовление,
пропуски только на обрабатываемые поверхности, наконец, круг дополнительных
технологических требований и условий, позволяющих разработать технологический
процесс её изготовления.
Формы и размеры заготовки должны обеспечивать
минимальную металлоемкость и достаточную жесткость детали, а также возможность
применения наиболее прогрессивных, производительных и экономичных способов
обработки на станках. В поточно-массовом и серийном производстве стремятся
приблизить конфигурацию заготовки к годовой детали, увеличить точность и
повысить качество поверхностей. При этом резко сокращается объем механической
обработки, а коэффициент использования ƞм
достигает
величины 0,7-0,8 и более. В условиях мелкосерийного и единичного производства
требования к конфигурации заготовки менее жесткие, а желательно величина ƞм>0,6
По виду базового технологического метода
изготовления выделяют следующие виды заготовок:
-Получаемые
литьем(отливки);
Получаемые
обработкой давлением( кованые и штампованные поковки);
-Заготовки из проката;
Сварные и комбинированные заготовки;
Получаемые методом порошковой металлургии;
Получаемые из конструкционной керамики;
Способ изготовления заготовки во многом
определяется материалом, формой и размерами детали, программой и сроками
выпуска, техническими возможностями заготовительных цехов, соображениями
экономического характера и прочими факторами. Считают, что выбранный способ
должен обеспечивать получение такой заготовки, которая позволила бы изготовить
деталь(включая полный цикл механической, термической и прочей обработки)
наименьшей себестоимости.
Исходные данные для выбора заготовки - это
чертеж детали с техническими требованиями на изготовления, с указанием массы и
марки материала; годовой объем выпуска и принятый тип производства, данные о
технологических возможностях и ресурсах предприятия и др. С их учетом принимают
метод получения заготовки и разрабатывают чертеж. Чертеж заготовки вычерчивают
с необходимым количеством проекций размеров и сечений. На каждую из обрабатываемых
поверхностей устанавливают припуск. Номинальный размер заготовок получают
суммированием(для отверстий вытачиванием) номинальных размеров деталей с
величиной принятого припуска. Предельные отклонения(или допуски) размеров
устанавливают исходя из достигаемой точности, исходного индекса и класса
точности Тj.
Одновременно на чертеже обязательно указывают необходимые технические
требования к заготовке: твердость материала, обычно в единицах Бриннеля (НВ);
точность; символами ЕСКД - допустимые погрешности формы и расположения
поверхностей; номинальные значения и предельные отклонения технологических
уклонов, радиусов, переходов; степени и методы очистки поверхностей; способы
устранения дефектов поверхностей; способы и качество предварительной обработки;
методы контроля размеров и твердости поверхностей, принимаемые за черновые
технологические базы.
Способ получения заготовки определяется
следующими факторами:
технологической характеристикой материала, его
физико-механическими и физико-химическими свойствами, способностью
термо-обрабатываться, пластически деформироваться, его литейной способностью и
др;
конструктивными формами и размерами детали ( и
заготовки);
требованиями к точности выполнения размеров
заготовки, к шероховатости поверхностей и качеству поверхностных слоев;
- объем программы выпуска и сроками ее
выполнения;
техническими возможностями заготовительных
цехов, в том числе сроками изготовления технологической оснастки ( штампов,
моделей, пресс - форм и пр. );
наличием оборудования и желаемой степенью
механизации и автоматизации процессов механической обработки;
соображениями экономического характера и прочими
факторами.
В машиностроении в качестве заготовок наиболее
часто употребляют отливки, поковки, заготовки, получаемые непосредственно из
проката и с применением сварки, сварные, комбинированные, металлокерамические и
пр.
В нашем случае для вала целесообразно выбрать
прокат.
Прокаткой получают заготовки, которые
непосредственно применяют для изготовления деталей на металлорежущих станках. Штучные
заготовки из проката используют для производства поковок и штамповок.
Товарные заготовки, сортовые и фасонные профили
общего, отраслевого и специального назначения, трубный и листовой прокат,
гнутые и периодические профили, специальный прокат представляет собой широкий
выбор исходных заготовок, обеспечивая экономию металлов и энергию на этапе
заготовительных процессов.
Сортовые профили круглые, квадратные и
шестигранные используют для изготовления гладких и ступенчатых валов, дисков,
втулок, фланцев, рычагов, клиньев.
Расчет
заготовки
Требуется сконструировать исходную заготовку
вала из стального горячекатаного проката.
Из стали 45(ГОСТ 1050-74) изготовляют вал массой
30,2 кг в условиях мелкосерийного производства (годовой объем выпуска 8 штук).
Диаметр проката определяют, исходя из
наибольшего диаметра заготовки (90), добавляя к нему общий припуск на
механическую обработку, равный 2Zобщd.
В нашем случае при длине заготовки свыше 720 до 1080 мм. Общий припуск на
диаметр 2Zобщ=20мм.
Допуск на диаметр устанавливается по ГОСТ
2590-71 и составляет +0,5-1,3 отсюда d0=dmax+2Zобщ=90+20=110мм.
Такой прокат имеется в сортаменте.
По формуле устанавливаем длину штучной
заготовки:
o = Ld
+ 2Zобщ,
Получаем Lo=1072+20=1092мм
Допуск на длину заготовки после разрезки по
10…12-му квалитетам составляет 250…630мкм.
2.3
Анализ технологичности детали
Технологичность конструкции изделия - совокупность
свойств конструкции изделия, определяющих её приспособленность к достижению
оптимальных затрат при производстве, эксплуатации и ремонте для заданных
показателей качества, объема выпуска и условий выполнения работ
(ГОСТ14.205-83,ЕСТПП).
Технологичность конструкции детали анализирует с
учетом условий её производства, рассматривая особенность конструкции и
требования качества как технологические задачи изготовления. Выявляет возможные
трудности обеспечения параметров шероховатости, размеров форм и расположение
поверхности, делают увязку с возможностями оборудования и метрологических
средств. Анализируют возможность тех или иных изменений, не влияющих на
параметры качества детали, но облегчающих изготовление её, открывающих
возможность применение высокой производительности технологических методов и
режимов обработки. Унифицируют элементарные поверхности деталей: фаски, галтели,
канавки, резьбы, отверстия и пр. Изменения, направленные на усовершенствование
и повышение технологичности конструкции, вносят в чертеж детали. ГОСТ14.201-83
устанавливают основные положения, систему показателей, последовательность, и
содержание работ по обеспечению технологичности. Согласно этому стандарту
обязательными показателями технологичности являются: трудоемкость изготовления
изделия, технологическая себестоимость и коэффициент использования материала.
Цели обеспечения
технологичности конструкции изделия (ТКИ) заключается в придании конструкции
изделия такого комплекса свойств, при котором достигаются оптимальные значения
затрат всех видов ресурсов при производстве, эксплуатации и ремонте изделия для
заданных показателей качества, объема выпуска и условий выполнения работ.
Конструкция сборочной единицы должна
удовлетворять требованиям изготовления, эксплуатации и ремонта.
Существует два вида оценки технологичности
конструкции изделия: качественная и количественная.
Качественные оценки технологичности конструкции
изделия субъективны. Оценки этого вида распространены на всех стадиях
проектирования, когда осуществляется выбор лучшего варианта конструкции
изделия.
Качественные оценки «хорошо - плохо», «допустимо
- не допустимо» и т.д… как правило, предшествуют количественным оценкам, при
этом совершенно не обязательно определять степень технологичности сравниваемых
вариантов. Иногда преимущества конструкции, выявленные в результате
качественного анализа технологичности, столь очевидны, что полностью исключают
необходимость количественных оценок.
Количественные оценки технологичности
конструкции изделий устанавливают по показателям, числовое значение которых
характеризует степень удовлетворения требований технологичности по существенным
для конкретного изделия показателям.
Оценки технологичности конструкции обычно
устанавливают в результате анализа выполнения комплекса технологических
требований, предъявляемых к изделиям и сборочным единицам, к деталям и
отдельным их поверхностям, к конструкциям исходных заготовок деталей.
Проведем количественную оценку технологичности
конструкции для четырехвалкового винта коксодробилки.
Количественная оценка технологичности
конструкции
|
№
|
Наименование
показателей
|
Обозначение
|
Весовые
коэффициенты
|
|
1
|
Показатель
унификации конструктивных элементов
|
Куэ
|
0,6
|
|
2
|
Коэффициент
точности
|
Ктч
|
0,8
|
|
3
|
Коэффициент
шероховатости поверхности
|
Кш
|
0,32
|
|
4
|
Показатель
использования материалов
|
0,6
|
|
Наименование
поверхности
|
Количество
поверхности
|
Количество
унифицированных поверхностей
|
Квалитет
точности
|
Параметры
шероховатости
|
|
Поверхность
1 Поверхность 2 Поверхность 3 Поверхность 4 Поверхность 5 Поверхность 6
Поверхность 7
|
1
1 1 1 1 1 1
|
1
1 1 1 1 1 1
|
12
12 12 12 12 12 12
|
20
2,5 20 20 10 20 20
|
При разработке нового изделия полученные коэффициенты
детали должны превышать базовые значения
1. Показатель
унификации конструктивных элементов
Куэ =
;
Nэ - общее
количество конструктивных деталей;
Nуэ -
количество унифицированных конструктивных элементов детали,
К унифицированным элементам
относятся такие элементы которые изготавливаются стандартными режущими
инструментами и не требуют применения специальной оснастки ( оправок, планшайб,
кондукторов и.т. д).
. Коэффициент точности
Ктч = 1 - (1/
)
Аср - средний квалитет точности

= 
n - число
поверхностей одного квалитета,
. Коэффициент шероховатости
Кш = 1/

n1, n2 и.т.д
количество поверхностей имеющие шероховатость соответствующую данному числовому
значению параметра 
4. Показатель
использования материала

mд - масса
детали mз - масса
заготовки
Расчет количественной оценки
технологичности детали
Nэ = 7
Nуэ = 7
Куэ = 
= 1
По данному коэффициенту точности 1 >0,6
деталь технологична
Аср = 12 Ħ 7 = 84/7 = 12
Ктч = 1 - (1 /12) 
0,91
0,9
По коэффициенту точности деталь
технологична т. к 0,91 >0,9
Бср = 20 Ħ 5 + 2,5 Ħ 1 +
10 Ħ 1 = 112,5
Кш = 1/112,5 = 0,9
Кш > 0,32 т. к коэффициент
шероховатости больше соответственно параметры шероховатости на чертеже задано
верно
Вывод: деталь по всем параметрам
технологична.
2.4
Разработка маршрутного технологического процесса
Рассматривают маршрут обработки отдельных
поверхностей и маршрут обработки заготовки в целом. В первом случае по
заданному квалитету точности и шероховатости данной поверхности и с учетом
размера, формы, материала и массы детали выбирают наиболее рациональный способ
окончательной обработки. Зная вид заготовки, таким же образом выбирают
начальный метод маршрута. Базируясь на завершающий и первый методы,
устанавливают промежуточные. При этом придерживаются следующего правила: каждый
последующий способ обработки должен быть точнее предыдущего. Это значит, что
каждая очередная операция, переход или рабочий ход должны выполняться с меньшим
технологическим допуском, обеспечивать повышение качества и снижение
шероховатости обрабатываемой поверхности.
При разработке технологического маршрута
обработки заготовки главной задачей является формулировка содержания каждой
технологической операции и составление общего плана их выполнения. От
логического порядка выполнений операций во многом зависят и качество, и
производительность, и экономичность обработки детали. При решении этой задачи
следуют общим указаниям:
сначала обрабатывают поверхности, служащие в
дальнейшем технологическими базами;
затем обрабатывают поверхности, с которых
снимается наибольший слой металла, что позволяет своевременно обнаруживать и
устранять внутренние напряжения;
Обработка остальных поверхностей ведется в
последовательности, обратной степени их точности;
Заканчивают обработку теми поверхностями,
которые являются наиболее важными для нормального функционирования детали;
Вспомогательные операции( сверление мелких
отверстий, снятие фасок, прорезка канавок, гантелей, зачистка заусенцев и т.п.)
выполняют на стадии чистовой обработки;
Отделочные операции, такие, как шлифование,
хонингование, притирка и прочие выполняют в последнюю очередь, обычно после
термической, химико-термической и других немеханических операций, делящих, как
правило, весь техпроцесс на части;
Технический контроль проводят после тех
операций, на которых вероятно повышение брака, после сложных дорогостоящих
операций, после законченного цикла, а также в конце обработки деталей.
Разрабатывая маршрут обработки детали,
одновременно производят предварительную наметку технологических операций без
подробной проработки их содержания (эскизный вариант маршрута).
Рекомендуется при разработке операций на данном
этапе ограничиться эскизами, на которых красными (или жирными) линиями выделить
поверхности, подлежащие обработке без нанесения размеров. Кроме того, символами
ЕСТД указывают технологические базы, по возможности совмещая их с
конструкторскими и измерительными.
Для выполнения каждой операции подбирают
оборудование (модель станка), оснастку и оговаривают прочие условия обработки.
В условиях массового производства применяют высокопроизводительные станки:
полуавтоматы и автоматы, агрегатные станки и автоматические линии. Для
сокращения вспомогательного времени станочные приспособления снабжают
быстродействующими зажимными механизмами; многоинструментальные наладки
комплектуют на ряду со стандартным, специальным режущим инструментом повышенной
стойкости; автоматизируют вспомогательные операции, такие, как загрузка,
перемещение обрабатываемых заготовок от станка к станку, технический контроль и
прочее.
.5
Расчет межоперационных припусков, допусков и размеров детали
Припуском называют слой материала, удаляемый в
процессе механической обработки в целях достижения заданных точности и качества
обрабатываемой поверхности детали.
Чертежи исходных заготовок отличаются от
чертежей готовых деталей тем, что на всех обрабатываемых поверхностях
предусматриваются припуски, изменяющие их размеры, а иногда и форму.
Промежуточным припуском называют слой, снимаемый
при выполнении данного технологического перехода механической обработки или
одной операции.
Общим припуском называют сумму промежуточных
припусков по всему технологическому маршруту механической обработки данной
поверхности. Его определяют как разность размеров заготовки и готовой детали.
Величиной общего и промежуточных припусков на обработку во многом определяется
рентабельность технологического процесса.
Преувеличенные припуски влекут за собой перерасход
материала, необходимость в дополнительных переходах, или операциях, в
результате чего производительность обработки снижается.
Уменьшенные припуски усложняют достижение
заданной точности размеров и качества обработки поверхностей, а при
определенных условиях являются причиной появления брака.
Величина минимального припуска, учитывает
необходимость удаления шероховатости (Rzj-1),
дефектного слоя(hj-1)
и пространственных отклонений заготовки, полученных на смежном
предшествующем переходе, и необходимость компенсации погрешности установки(Ej),
возникающей на выполненном переходе. Для каждой схемы базирования и вида
обработки заготовки разработана следующая зависимость:
Zjmin=f(Rzj-1,hj-1,
j-1,
j),
Максимальные припуски для каждого перехода по
этому методу(Zjmax)
определяют как сумму припуска(Zjmin)
с
разностью допуска заготовки(Тзаг) и детали(Тдет), т.е.
Zjmax=Zjmin+(Тзаг-Тдет)
С учетом значений Zjmin
и
Zjmax и допусков,
назначаемых на каждый технологический переход, устанавливают размеры по всему
технологическому маршруту обработки поверхности, округляя их до того знака
десятичной дроби, каким указан допуск: для валов - в сторону увеличения «+», а
для отверстий - в сторону уменьшения «-» .
Расчетно-аналитическим методом следует
воспользоваться для расчета припусков на одну из наиболее ответственных
поверхностей детали, отверстия или вал.
Далее составим схему расположения
всех промежуточных припусков и допусков и карту расчета припусков на обработку
и предельных размеров по технологическим переходам с внесением на неё всех
расчетных значений: Rz, h,
, 
,
После определения припусков на все
поверхности необходимо уточнить размеры на чертеже заготовки и окончательно
рассчитать её массу. Согласно принятому маршруту обработки отверстие получают
на два перехода, черновым и чистовым зенкерованием. Обработка ведется на
операции 05 в два установа с базированием по необработанным, а затем
обработанным наружным цилиндрическим поверхностям венца и торцам.
2.6
Выбор и характеристика технологического оборудования
Токарно-винторезный станок модели 16К20
Станок модели 16К20 представляет собой
современный высокопроизводительный станок высокой точности, жесткости,
быстроходности и мощности.
Наибольший диаметр, мм:
Устанавливаемой детали над станиной 400
Устанавливаемой детали над поперечным суппортом
200
Обрабатываемого прутка 50
Расстояние между центрами, мм 710, 1000, 1400,
2000
Наибольшая длина обтачивания, мм 640, 930, 1330,
1930
Частота вращения шпинделя, об/мин 12,5-1600
Пределы подач, мм/об:
Продольных 0,05-2,8
Поперечных 0,025-1,4
Нарезаемые резьбы:
Метрическая, шаг мм 05-112
Дюймовая, число витков на 1" 56-0,26
Модульная, шаг в модулях 0,5-112
Питчевая, шаг в питчах 56-0,25
Мощность главного электродвигателя, кВт 10
На рис. 31 показан общий вид станка с органами
управления. На станине 1 закреплены передняя бабка 9 с механизмом главного
движения и коробка подач 4. По продольным направляющим станины 33 перемещают
суппорт 22 с фартуком 30, переставляют заднюю бабку 19. По направляющим
суппорта 22 можно перемещать салазки 16. В электрошкафу 13 расположена часть
электрооборудования станка.
Электродвигатель станка размещен в тумбе
станины; включение и выключение электродвигателя производят кнопками 27.
Изменение частот вращения шпинделя осуществляют рукоятками 7 и 12.
Сблокированными рукоятками 2 и 25 управляют многодисковой фрикционной муфтой
механизма главного движения. Рукоятки управления механизма подач имеют
следующие назначение: 10-для установки нормального и увеличенного шага резьбы,
а также для нарезания многозаходных резьб, 11-для изменения направления
нарезаемой резьбы (левозаходная или правозаходная), 3,5 и 6-для установки
величины подачи или шага нарезаемой резьбы. Рукояткой 29 включают и выключают
реечную шестерню продольной подачи, 26-включают и выключают подачу, 24-включают
и выключают гайки ходового винта. Мнемонической рукояткой 23 производят
включение и выключение рабочих и ускоренных подач. Для ручного перемещения
применяют маховик 31-для продольного перемещения суппорта 22, рукоятку 28-для
поперечного перемещения салазок, а рукояткой 17 перемещают верхние салазки 16.
маховиком 21 перемещают пиноль задней бабки, а рукояткой 18 зажимают ее и
рукояткой 20 закрепляют заднюю бабку на станине. Ходовой винт 32 помещен в
кожух, который предохраняет резьбу винта от повреждения и загрязнения.
Для безопасности работы на станке предусмотрен
экран 14, щиток 15 и кожух 8, закрывающий ременную передачу.
Рисунок
31. Общий вид и размещение органов управления токарно-винторезного станка
16К20.
2.7
описание режущих инструментов
При разработке технологического
процесса механической обработки заготовки выбор режущего инструмента его вида,
конструкции и размеров в значительной мере предопределяется методами обработки,
свойствами обрабатываемого материала, требуемой точностью обработки и качества
обрабатываемой поверхности заготовки.
При выборе режущего инструмента
необходимо стремиться принимать стандартный инструмент, но, когда
целесообразно, следует применять специальный, комбинированный, фасонный инструмент,
позволяющий совмещать обработку нескольких поверхностей.
Правильный выбор режущей части
инструмента имеет большое значение для повышения производительности и снижения
себестоимости обработки для обработки стали рекомендуется применять инструмент,
режущая часть которого изготовлена из титановольфрамовых твердых сплавов
(т5к10, т14к8, т15к6, т15к6т, т30к4), быстрорежущих инструментальных сталей
(р18, р9, р9ф4, р14ф4) и др. Для обработки чугуна, цветных металлов и
неметаллических материалов используют инструмент из вольфрамокобальтовых
твердых сплавов (вк2, вк3м, вк6, вк8) и быстрорежущих инструментальных сталей.
выбор материала для режущего инструмента зависит от формы и размеров
инструмента, материала обрабатываемой заготовки, режимов резания и типа производства.
Если технологические особенности
детали не ограничивают применения высоких скоростей резания, то следует
применять высокопроизводительные конструкции режущего инструмента.
Резец - это режущий инструмент, предназначенный
для обработки деталей различных размеров, форм, точности и материалов.
Является основным инструментом, применяемым при
токарных, строгальных и долбёжных работах. Рабочая часть резца представляет
собой клин, который под действием приложенного усилия деформирует слой металла,
после чего сжатый элемент металла скалывается и сдвигается передней
поверхностью резца. При дальнейшем продвижении резца процесс скалывания
повторяется и из отдельных элементов образуется стружка.
Токарный проходной
резец состоит из следующих основных элементов:
· Рабочая
часть (головка);
· Стержень
(державка) - служит для закрепления резца на станке.
Рабочую часть резца
образуют:
· Передняя
поверхность - поверхность, по которой сходит стружка в процессе резания.
· Главная
задняя поверхность - поверхность, обращенная к поверхности резания заготовки.
· Вспомогательная
задняя поверхность - поверхность, обращенная к обработанной поверхности
заготовки.
· Главная
режущая кромка - линия пересечения передней и главной задней поверхностей.
· Вспомогательная
режущая кромка - линия пересечения передней и вспомогательной задней
поверхностей.
· Вершина
резца - точка пересечения главной и вспомогательной режущих кромок.
<#"554209.files/image028.gif">
Кулачковые патроны могут оснащаться
механизированным приводом - тяговым или встроенным. Патроны с тяговым приводом
имеют зажимные элементы, связанные цельными или пустотелыми тягами с пневмо-
или гидроцилиндром. На рисунке ниже представлена конструкция двухкулачкового
рычажного патрона со сменными кулачками 14, которые предварительно
устанавливаются по заготовке (относительно оси вращения) путем смещения сухарей
12 (скрепленных с кулачками 14 винтами 13) по пазам в ползунах 11. Ползуны 11
перемещаются к центру патрона рычагами 10, которые при движении упора 15
(вместе с тягой 3) поворачиваются вокруг оси 9 в корпусе 8. При повороте рычаги
10 опираются на поверхности 7. Перемещение ползунов 11 (вместе с кулачками 14)
от центра патрона производится конической поверхностью упора 15 при обратном
движении тяги 3, связанной с упором посредством направляющей втулки 6 и
соединительных деталей 2, 4 и 5. Патрон крепится к станку винтами 1.
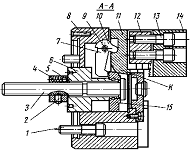
Патрон с встроенным приводом (рисунок ниже)
имеет встроенный пневмоцилиндр 6 с поршнем 5 и крепится к станку фланцем 1.
Резиновое кольцо 11 смягчает удары поршня о фланец 4. Уплотнительные кольца 10
и 12 обеспечивают герметичность пневмопривода. Ползуны 7 (с зажимными кулачками
8) имеют выступы 9, которые входят в пазы поршня 5. Угол наклона пазов 40,5
градуса, что обеспечивает условия самоторможения. При подаче воздуха по каналам
2 и 3 в левую или правую полость цилиндра ползуны 7 перемещаются от центра
патрона или к его центру и через кулачки 8 разжимают или зажимают заготовку.
Четырехкулачковый патрон с независимым
перемещением кулачков (рисунок ниже) состоит из корпуса 1, в котором выполнены
четыре паза, в каждом пазу смонтирован кулачок 4 с винтом 3, используемым для
независимого перемещения кулачков по пазам в радиальном направлении. От осевого
смещения винт 3 удерживается сухарем 2. При повороте кулачков на 180 градусов
патрон может применяться для крепления заготовок по внутренней поверхности. На
передней поверхности патрона нанесены концентричные круговые риски (расстояние
между рисками 10-15 мм), с помощью которых кулачки выставляются на одинаковом
расстоянии от центра патрона.
2.9
Описание измерительного и контрольного инструмента
Штангенциркуль с передвижной измерительной
губкой с цифровым отсчетным устройством предназначен для измерения наружных и
внутренних размеров, а также размеров между ступенчатыми поверхностями деталей
(изделий).
Применяется в машиностроении, приборостроении и
других отраслях промышленности. Штангенциркуль выпускается по ТУ
3933-145-00221072-2003.
<http://chtangel.90mb.ru/pict/12637586273157337.jpg>
ТЕХНИЧЕСКИЕ ХАРАКТЕРИСТИКИ
1. Шаг дискретности цифрового отсчетного
устройства 0,01мм.
. Диапазон измерений.
для наружных размеров 0-200 мм
для внутренних размеров 10-210 мм
. Пределы допускаемой погрешности штангенциркуля
при температуре окружающей среды (20±5) °С ±0,03 мм
. Электрическое питание от автономного
встроенного источника питания напряжением 1,55В.
. Габаритные размеры 305х115х15 мм.
. Металлические детали штангенциркуля
изготовлены из коррозионно-стойкой стали.
ФУНКЦИИ
ШТАНГЕНЦИРКУЛЯ
Штангенциркуль выполняет следующие функции:
выдача цифровой информации в прямом коде (с
указанием знака и абсолютного значения);
предварительная установка нуля;
вывод результатов измерения на внешние
устройства через цифровой интерфейс RS-232;
возможность измерения величин как в миллиметрах,
так и в дюймах.
Описание
Штангенциркуль состоит из рамки с двумя губками:
верхняя - для измерения наружных размеров, нижняя - для измерения наружных и
внутренних размеров.
Рамка перемещается по штанге, на которой под
защитной лентой находится емкостная шкала. На рамке установлен электронный блок
с цифровым табло и кнопками управления. С левого торца штанги в державке
устанавливается передвижная губка с измерительными поверхностями как на губках
рамки. Рамка и передвижная губка имеют стопорные винты. Для удобства
перемещения рамки по штанге служит ролик.
коксодробилка валковый деталь
заготовка
Заключение
Необходимость экономии материальных ресурсов
предъявляет высокие требования к рациональному выбору и подготовке
производственного процесса, выбору заготовки, к уровню их технологичности, в
значительной мере определяющей затраты на технологический процесс производства,
себестоимость, надёжность и долговечность изделий.
В соответствии с предъявляемыми требованиями в
курсовом проекте разработан технологический маршрут изготовления детали
«Четырех валковая коксодробилка Винт» (сталь 45), произведен анализ служебного
назначения детали, технических требований и точности. Приведена характеристика
индивидуального типа производства, проведено обоснование выбора способа
получения заготовки, а так же рассчитаны технологические припуски и выбраны
режимы резания. Оборудование, инструмент и приспособления применены с учетом
технической характеристики Четырех валковая коксодробилка Винт , вида
производства, точности, экономичности.
1.
Машиностроение, Энциклопедия. Том IV-7. Металлорежущие станки и
деревообрабатывающее оборудование- М.: Машиностроение, 2002.
.Колесов
И.М. Основы технологии машиностроения.- М.: Машиностроение. В 2-х т., 1977.
.
Технология машиностроения. Под ред. А.М. Дальского. В 2-х т.-М.: Изд. МГТУ им.
Н.Э. Баумана, 1998.
.
Маталин А.А. Технология машиностроения-Л.: Машиностроение, 1985.
.
Суслов А.Г. Технологическое обеспечение параметров состояния поверхностного
слоя деталей машин. - М.: Машиностроение,1987.
.
Проектирование технологии. Под ред. Ю.М. Соломенцева.-М.: Машиностроение,1990.
.
Справочник технолога- машиностроителя. В 2-х т. Под ред. А.Г. Косиловой, Р.К.
Мещерякова.-М.:Машиностроение,1988.
.
Кузнецов А.М., Клепиков В.В. Современные методы расчета припусков.-М.:
Машиностроение, 1988.
.
Уткин Н.Ф., Приспособления для механической обработки.-М.: Машиностроение,1969.
.
Лебедев Л.В., Погонин А.А., Тимирязев В.А., Технология машиностроения-М.: изд.
центр «Академия», 2006.
.
Меринов В.П., Козлов А.М., Схиртладзе А.Г.-2-е изд., Технология изготовления
детали,- Старый Оскол: ТНТ, 2010.
.
Лебедев Л.В., Погонин А.А., Схиртладзе А.Г., Шрубченко И.В., Курсовое
проектирование по технологии машиностроения: Старый Оскол: ТНТ,2011.