Разработка новой конструкции и дизайна упаковки свадебных бокалов
Курсовая работа
по дисциплине "Конструирование и
дизайн
тары и упаковки"
на тему "Разработка новой
конструкции и дизайна упаковки свадебных бокалов"
Содержание
Материалы для картонной тары
Выбор упаковочного материала и конструкции тары
Основные характеристики готовой тары
Унификация тары
Производство картонной коробки
Новизна конструкции изделия
Нанесение печати на картонную тару
Графическое решение художественного оформления
Размер упаковки
Основные сведения о технологичности конструкции изделия
Утилизация картонной тары
Заключение
Список использованной литературы
Приложения
Введение
Конструирование и дизайн
тары и упаковки - сложная оптимизационная задача. Это специфическое
конструирование соединяет в себе различные области знаний: эстетику, эргономику,
маркетинг, материаловедение, химию, сопромат, различные области технологии,
экономику, психологию и др.
Целью данной работы является создание
тары, характеризующуюся новизной конструкции и дизайна.
Выбранным продуктом, для которого будет
разрабатываться тара, являются свадебные бокалы. Они является востребованной
продукцией, так как все больше молодоженов предпочитают пить из бокалов,
значительно отличающихся от повседневных, но в настоящее время для них
разработано малое разнообразие видов упаковки, но в основном все они похожи
друг на друга.
В результате художественного
конструирования тары достигается целостность материально-технических и
социально-культурных потребительских свойств изделий, отвечающих различным
требованиям, предъявляемым к изделиям промышленного производства. Выявление
этих требований происходит в результате специальных предпроектных исследований,
в которых дизайнер использует методы и средства естественных и гуманитарных
наук, искусства и техники, объединяя и преобразуя их в соответствии с общими
целями проектирования.
Правильно сконструированная упаковка
призвана повысить функциональные, эстетические и, что еще важнее, коммерческие
характеристики продукта. Очень важно понимать, что покупатели, как правило,
воспринимают эти характеристики как само собой разумеющееся. Они редко осознают
и положительно оценивают преимущества упаковки, в которую заключен продукт.
Однако они прекрасно видят и выявляют все недостатки упаковки. Потребители
сразу определяют плохо открываемую упаковку, неудачно оформленную упаковку. Они
отмечают трудности извлечения продукта и т.д. Очень важно, что все недостатки
упаковки ассоциируются с качеством самого продукта. Неудовлетворенные упаковкой
покупатели в следующий раз приобретут такой же продукт, но с другой фирменной
маркой. Успех конструируемой упаковки неразрывно связан с успехом
упаковываемого продукта.
Для этого необходимо провести дизайнерские
разработки, подобрать правильную художественную композицию тары.
В данной работе я решила сконструировать оригинальную
упаковку необычной формой с правильно подобранным цветографическим решением.
Такая упаковка привлечет внимание покупателей и выделит данный продукт среди
других ему подобных.
Чтобы производство упаковки не шло в
убыток производителю, необходимо правильно подобрать материал, из которого
будет изготавливаться упаковка.
конструкция дизайн упаковка тара
Сравнение
с прототипами
Сравнивая разрабатываемый объект с прототипами, можно сказать
следующее: разрабатываемая тара имеет преимущества по сравнению с
предшествующими тарами. Это оригинальность формы; удобство открывания и
повторного укупоривания упаковки; клапаны крышки и донышка тары соединены
конструктивно, без использования клея; элементы замкового устройства
устанавливаются (заправляются) на место, не требуя склеивания; такие устройства
могут открываться и закрываться неоднократно, лепестковый замок обеспечивает
дополнительную защиту от открывания крышки от сил (усилий), направленных
изнутри коробки, прорези в лапке обеспечивают определенную защиту от хищений.
Разработка изделия представляет собой сложный
многоступенчатый процесс и главной составляющей его является выбор материала
упаковки.
Разработка технического
задания
представляет процесс установления исходных требований и формирование предварительных
(возможных и желательных) очертаний объекта разработки.
Техническое задание содержит результаты
выполненных научно-исследовательских и экспериментальных работ, научного
прогнозирования, анализа передовых достижений и технического уровня отечественной
и зарубежной техники, изучения патентной документации с учетом базовых
показателей качества.
Техническое задание является обязательным
исходным документом на разработку новых и модернизируемых изделий и
конструкторской документации на них.
Техническое задание в общем случае должно
состоять из следующих разделов: наименование и область применения; основание
для разработки (наименование документа); цель и назначение разработки;
источники разработки; технические требования; экономические показатели; стадии
и этапы разработки.
Материалы для
картонной тары
Для производства картонной и бумажной тары используют картон,
бумагу, фанеру, шпагат, металлическую ленту, металлическую проволоку,
склеивающие и уплотняющие вещества, влагозащитные и другие покрытия.
Картон и бумага в сочетании с другими материалами
обеспечивают готовому изделию (таре) необходимую механическую прочность,
легкость.
Выбор типа картона и бумаги производят исходя из требований к
прочностным показателям тары, для обеспечения сохранности упаковываемого
продукта, при оптимальной и экономичной конструкции тары.
Наилучшими материалами для картонной и бумажной тары являются
тарные картоны и бумаги, в состав которых в основном входит сульфатная
целлюлоза.
Для производства картонных коробок применяется картон
коробочный. Картон коробочный вырабатывается по ГОСТ 7933-89. Марки А и Б в
основном предназначены для производства потребительской тары. Вместе с тем
отдельные марки этого картона могут применяться для производства картонных
барабанов, а также для изготовления прокладок и решеток в картонные ящики,
особенно при упаковке мягких изделий. Для этих целей используются более низкие
марки коробочного картона: В, Г и Д.
Бумага и картон являются самыми распространенными материалами
в упаковочной отрасли.
Тонкий картон с плотностью от 141 до 400 г/м2 - часто
используемый упаковочный материал как самостоятельно, так и в сочетании с
другими материалами. Наибольшее распространение тонкий картон имеет в
производстве складных коробок. При производстве тонкого картона помимо
основного волокнистого материала используют вторичное сырье, красящие вещества,
пигменты, склеивающие вещества (каустическая сода, квасцы), крахмал для
придания более качественного внешнего вида его поверхности.
Выбор материала производят, исходя из
требования к прочностным показателям тары, при которых обеспечивается
сохранность упаковываемого продукта, требований к внешнему виду тары, к
качеству и способу нанесения изображения, к виду и технологии выполнения
отделочных процессов, к технологии и оборудованию для механической
формообразующей обработки, склеивания и фальцевания. Выбираем тонкий картон.
Это означает, что картон мелованный пищевой мягкий с плотностью 350-400 г/м2.
Упаковочными называются все сорта картона, которые подходят
для производства складных коробок. Кроме того, упаковочные картоны - прекрасный
материал для производства папок, стикеров, плакатов, сувениров, поздравительных
открыток.
Упаковочный картон состоит из нескольких слоев: верхнего слоя
(верхняя сторона), одного или нескольких внутренних слоев и нижнего слоя
(оборотная сторона). Все слои соединяются во влажном состоянии в процессе
производства на картоноделательной машине и спрессовываются.
В зависимости от конкретных требований, предъявляемых к
листу, целлюлозная масса обрабатывается таким образом, чтобы конечный продукт
обладал необходимыми качествами и по внешнему виду и по физическими
характеристиками.
Отбеливание придает материалу чистый белый цвет, в то время
как большинство низкосортных и получаемых в процессе рециркуляции (переработкой
макулатуры) листов имеют отчетливо выраженный коричнево-зеленый цвет. Лист
картона - это почти всегда многослойный материал, позволяющий наносить на него
печать. Для этого верхний (поверхностный) слой должен быть более высокого качества,
с тем, чтобы на поверхность упаковочной коробки можно было легко наносить
печать, в то время как внутренние слои изготавливаются из целлюлозы более
низкого сорта. Конечно, все эти характеристики могут варьироваться в
зависимости от назначения упаковки.
Верхний слой картона белый без древесной
массы, внутренний - серый, с содержанием макулатурной массы, нижний - серый, с
содержанием макулатурной массы. Для изготовления картонной упаковки с
полноцветной печатью, лакированием или тиснением огромное значение имеет
качество покрытия лицевой стороны. Поэтому используем картон с
двухслойным/полным мелованием. Жесткость картона является одной из главных
характеристик, так как упаковка должна, в первую очередь, выполнять функции
защиты содержимого. Жесткость представляет собой свойство материала
сопротивляться изгибу. Одним из качеств картонной коробки является ее
сопротивление сжимающему усилию. Другими словами, коробка не должна сильно
прогибаться, когда берут ее в руки и, сжимая, удерживают. Жесткость картона
определяется его толщиной и упругими свойствами сырья. Пухлость картона зависит
от композиции бумажной массы, используемой для изготовления картона.
Выбор
упаковочного материала и конструкции тары
При выборе материала для упаковки продукции, вида картонной
тары, необходимо руководствоваться следующими основными требованиями:
. Тара должна быть прочной гарантировать сохранность
упаковываемой продукции.
2. Стоимость тары должно составлять небольшой удельный
вес по отношению к стоимости упаковываемой продукции.
. Конструкция тары должна быть удобной в
использовании.
. Расход материала на тару должен быть минимальным.
. Тара должна быть унифицированной, отвечать
требованиям установленных стандартов.
. Производство тары должно осуществляться на
современном высокомеханизированном оборудовании.
. Конструкция тары должна позволять производить
упаковку продукции механизированным способом.
Основные
характеристики готовой тары
К общим техническим показателям картонных материалов относят:
массу одного квадратного метра (m), толщину (D), прочность на
разрыв (S), жесткость (S), сопротивление торцевому сжатию (qсж),
сопротивление продавливанию (P), прочность при многократных перегибах,
прочность при расклеивании (σp), влажность (W),
поверхностная влагопоглощаемость.
Выбор конкретного упаковочного материала чаще всего
производят исходя из эксплуатационного предназначения тары к ее прочностным
показателям.
Утилизация использованной и пришедшей в негодность тары может
происходить по следующим направлениям: повторное использование для производства
бумаги и картона, использование в качестве наполнителя в различных
производствах, захоронение или уничтожение в составе твердых бытовых отходов.
Качество, вид и состав макулатуры для вторичного
использования в производстве бумаги и картона регламентируются по ГОСТ
10700-89. Поскольку основным компонентом бумаги и картона являются волокна
целлюлозы, использованную бумагу или бумажный утиль можно подвергнуть
переработке (рециклу). Отходы свежей бумаги, образующиеся в процессе производства,
и чистой незапечатанной, могут быть непосредственно добавлены в пульпу. Однако
запечатанная бумага (газетная, журнальная) должна сначала пройти
предварительную обработку для удаления печатной краски и элементов переплета и
брошюровки: пластиковых колец, скрепок и т.д. В отличие от стекла, бумагу и
картон нельзя подвергать рециклу произвольное число раз: волокна целлюлозы
разрушаются при использовании, в производственных процессах и при удалении
краски; укороченные волокна настолько уменьшаются в длине, что проходят сквозь
сетку машины для производства бумаги. Для поддержания качества бумаги или
картона, особенно их цвета и прочностных свойств, приходится ограничивать
количество бумажного утиля, добавляемого в пульпу (его количество зависит от
качества бумаги или картона, которое необходимо получить). Бумага, получаемая
только из одного утиля (100 % рецикл), - серая: дальнейшее отбеливание
разрушило бы структуру волокон и, следовательно, ухудшило бы качество бумаги.
Отходы картона для вторичного использования перерабатываются
по следующей схеме. Поступившие с заготовительных предприятий отходы картона и
картонной упаковки, спрессованные в кипы, измельчаются, и после этого на
сепараторе отделяются металлические включения (скрепки, скобки). Измельченная масса
картона подается на машину, где используется для приготовления бумаги и
картона, который можно использовать для производства тары. По данной схеме
производится, например, картон типа хромэрзац, в котором только верхний слой
изготовлен из беленой целлюлозы, а нижний - из макулатуры.
Отходы комбинированных материалов на основе картона и бумаги,
в большинстве случаев, сжигаются на мусоросжигательных заводах. Сжигание в
печах не требует в значительных масштабах использования дополнительного
топлива. Горение поддерживается подачей воздуха через систему решеток,
обеспечивающую его доступ по всему объему сжигаемой массы.
Одной из основных целей мусоросжигательных заводов является
внедрение так называемых эффективных технологий, когда сжигание упаковочных
материалов позволяет производить энергию и тепло, не оказывая дополнительной
экологической нагрузки на окружающую среду.
Унификация
тары
Унификация тары производится по виду (форме), по типоразмерам
и конструкции или по отдельным конструктивным элементам. Унификация тара
необходима для сокращения числа ее видов. Она способствует снижению расходов на
разработку и изготовление тары, содействует организации специализированных
производств с высокопроизводительным оборудованием, механизации, автоматизации
и роботизации технологического процесса. Некоторое однообразие унифицированной
тары может быть компенсировано полиграфическим оформлением, варьированием
цветовой гаммы, декорированием отдельных элементов.
Унификация тары по типоразмерам базируется на модульной
системе, в основу которой положены площадки плоских поддонов, составляющие для
стран-членов ИСО 1200×800, 1000×800 и 1200×1000 мм. Принцип создания
унифицированных размеров состоит в том, что площадь поддона делится на сетку
кратных поддону размеров, определяющих наружные и внутренние размеры
транспортной тары.
Исходными данными при разработке тары являются внутренние
размеры. Они, в свою очередь, разделены на сетку кратных размеров, определяющих
наружные размеры потребительской тары.
Стандартизация тары призвана обеспечить современных уровень
упаковки. То есть единство четких показателей качества, механических и
амортизирующих свойств, возможность укладки в штабели, технологичность,
эстетичность, пригодность к нанесению красочной печать.
Производство
картонной коробки
Для изготовления коробки полученный картонный лист должен
пройти три стадии ее изготовления.
На первой стадии лист картона наносится цветная печать, чтобы
получить необходимые надписи и художественное оформление. Печать - не
единственный способ нанесения графики на коробку. Адекватными способами
визуальной информации являются также наклейки и тиснение.
Вторая стадия изготовления - это вырубная штамповка, в
результате чего получается требуемая контурная заготовка, основной элемент
коробки на плоском листе. Штампом просекаются или бигуются также линии сгиба, а
излишек материала идет в отходы.
Далее заготовка проходит третью заключительную стадию, на
которой выполняется последнее перед сборкой операции. Это может быть вырубка
(вырезание) смотровых проемов (окон) в панелях, нанесение клея, покрытий.
Проектируя картонаж, дизайнер должен постоянно иметь в виду,
что требования к упаковке, безусловно, определяет самую суть дизайна, его стиль
и выбор материала. В отличие от упаковки в общем понимании, назначение
картонажа не обязательно является защита содержимого, что дает возможность
большей свободы выбора дизайна и формы коробки. Однако же, дизайн упаковки, для
удобства во время перевозки должен предусматривать возможность ее укладки
плашмя или так, чтобы обеспечить защиту. Если упаковки выполняет защитную
функцию, дизайнеру необходимо учитывать характер продукта и, отсюда -
требования, предъявляемые к упаковке.
Весьма вероятно, что характер продукта определяет и способ,
каким заполняется упаковка, а это в свою очередь влияет и на сам дизайн. Если
коробка заполняется вручную, сборка должна быть простой и легкой. Если это
механизированный способ заполнения, дизайнеру необходимо понимать сущность
процесса и пределы его возможностей. Требуется ли заклеивать коробку или в ней
предусмотрено запорное устройство (замок)? С какой скоростью изготавливаются и
заполняются коробки? Заполняются ли они в специальном помещении?
Опытный дизайнер знает преимущества и недостатки одной
конструкции в сравнении с другой и поэтому очень быстро придет к правильному
решению при выборе варианта дизайна. Правда, следует заметить, что для
огромного большинства продуктов подходят однотипные, схожие решения. Несмотря
на то, что существует почти полностью стандартизированный свод типовых
конструкций, в дизайн отдельного упаковочного изделия (коробки) могут вноситься
различные изменения, чтобы приспособить его к конкретным целям упаковки. Часто
это не значительные изменения в способе закрывания, в основании коробки или в
способе сборки - на клею или заправкой складывающихся боковин.
Дизайн
Несмотря на имеющийся обширный перечень стандартизованных
типовых конструкций, в условиях постоянно насыщаемого рынка остается обширное
поле деятельности для творчества и подлинного новаторства в области создания
дизайна. Искусно выполненные, зачастую простые формы дизайна упаковки, могут
стать победителями на рынке, давая клиенту огромное преимущество перед
конкурентами, что неизмеримо важнее ограниченного, временного успеха
достигаемого прямой рекламой и маркетинговыми слоганами. Удачный дизайн
упаковки может способствовать формированию в глазах общественности имиджа
компании, передающего идею высокого класса и качества к зависти конкурентов. Об
этом свидетельствуют бесчисленные и неизменно безуспешные попытки плагиата и
убогих имитаций со стороны конкурентов, стремящихся приобщиться к успеху
хорошего дизайна. Если дизайнер хорошо понимает, насколько удачна его
конструкция, компании следует позаботится об оформлении авторского права и
патентной защиты, дабы плоды их упорной работы и мастерства не достались
другим.
Поскольку промышленность предъявляет серьезные требования к
проектировщику, тем самым существенно сужаю и ограничивая рамки процесса
создания оригинальной упаковки, задача дизайнера - продолжить поиск творческих,
смелых решений, побуждая промышленность постоянно расширять границы
производственной сферы, и тем самым содействовать претворению в жизнь уже
достигнутых успешных решений в дизайне. Мы не достигли бы того уровня, на
котором находимся сегодня, если бы дизайнеры и производственники отказались бы
от попыток расширить границы возможного. Однако все решения, принятые в
процессе создания упаковки должны соотноситься с их влиянием на окружающую
среду. Другого пути быть не может.
Успех дизайна сегодня во многом зависит от снижения
количества отходов и от повышения эффективности упаковки путем меньшего
количества материала, что безусловно является ключевой задачей дизайнера.
Хорошо знающий материалы, печатное дело и производство дизайнер упаковки, может
во всеоружии приступить к решению проблем, оказывающих все возрастающее
давление на упаковочную индустрию.
Новизна
конструкции изделия
Новизна конструкции изделия определяет
конструктивные дополнительные признаки, обусловливающие требования к
обеспечению преемственности конструкции изделия.
Являясь абсолютной характеристикой
изделия, новизна его конструкции может быть выражена относительным показателем
КН =МН/Мn,
где МН - число новых
составных частей (элементов) в разрабатываемом образце изделия.
Новизна конструкции изделия существенно
влияет на выбор рационального состава стадий и этапов технической подготовки производства,
обязательных в процессе создания и освоения изделия. Новизна конструкции
определяет возможность сокращения номенклатуры составных частей изделия и
необходимых для их изготовления средств технологического оснащения, развития
специализации основного и вспомогательного производств, снижения расходов
материалов и т.д.
На новизну конструкции изделия можно
воздействовать методами унификации его составных частей (элементов), типизации
структурных компоновок, группового и базового проектирования и т.п.
Эффективность этих методов проявляется на всех стадиях жизненного цикла изделия
в сокращении сроков проектирования и освоения новой техники, повышении гибкости
и мобильности производства, сокращении всех видов ресурсов, расходуемых на
изготовление и эксплуатацию изделия.
Нанесение
печати на картонную тару
Картон для производства тары должен обладать гладкой лицевой
поверхностью, пригодной для машинного печатания надписей и рисунков.
Главными факторами, влияющими на качество печатания на
картоне, являются прочность его лицевой поверхности, способность к поглощению
типографской краски, размерная устойчивость, сопротивляемость к истиранию.
Поверхностный слой картона должен изготавливаться из хорошо рафинированной
бумажной массы. С целью улучшения эстетического вида тары, повышения ее
красочного оформления применяется картон, верхний слой которого выполнен из
беленной целлюлозы, что позволяет производить качественную печать, используемую
в рекламных целях.
Нанесение печатного рисунка, текстового материала на тару
имеет большое значение для улучшения внешнего вида, художественного оформления
и помещения необходимых информационных сведений об упаковываемом продукте, о
таре и ее изготовителе. В последнее время все больше внимания уделяется
внимания красочному оформлению тары, при этом оформление носит прежде всего
рекламный характер.
Флексографическая печать является основным способом нанесения
печати на картонную тару. Печать на бумагу производится на печатных машинах с
рулона. Полотно бумаги последовательно пропускается через печатные секции,
количество которых зависит от требуемого количества цветов (от одной до пяти;
каждая секция печатает свой текст своим цветом).
Для печати на картоне почти всегда применяются водные краски,
поставляемые в готовом виде. Растворители (вода, спирт, целлюлоза, гликоль)
добавляют в краски в минимальном количестве только для получения требуемой
вязкости применительно к условиям печати и свойствам картона. Для достижения
требуемого качества печати и экономии краски вязкость ее и толщина красочной
пленки должна быть четко определены. Слишком высокая вязкость краски и,
следовательно, толстая красочная пленка вызывают изменение цвета, повышают
расход краски, ухудшают тональность изображения, приводят к забиванию мелких
деталей печатной формы. Слишком низкая вязкость ведет к снижению насыщенности
цвета, плохой кроющей способности и неравномерной печати.
Для печати на картоне применяют формы из светоотверждающегося
полимера, которые крепятся к печатному цилиндру или формы-фартуки, одеваемые на
барабан и застегивающиеся на нем.
Графическое
решение художественного оформления
Форма
Наибольшая опознавательная
(различительная) способность - у формы, у сочетания ее с цветом - практически
абсолютная различительная способность. Форма - более эффективное средство
коммуникации, чем цвет. Но экспрессивного воздействия цвета нельзя достичь с
помощью формы. Форма дает широкое разнообразие ясно различимых моделей, как,
например, человеческие лица, листья деревьев, отпечатки пальцев. В письменности
используется форма, а не цвет, так как она образует знаки, которые легко и
надежно опознаются, несмотря на их незначительный размер. Кроме того, форма
может использоваться внутри серии продуктов для их наиболее быстрой
идентификации.
Идентификационные возможности формы
успешно используются при создании упаковки. Существует такое понятие, как
объемный товарный знак. Его различительные способности в едином комплексе с
цветовым решением (иногда связанным с фирменными цветами) являются уникальными.
Форма может служить для идентификации
нужного препарата на ощупь, например для людей со слабым зрением или в
ситуации, когда нужно найти что-то на ощупь (в ванной комнате при мытье головы
и т.д.).
Кроме того, форма используется при
создании подарочных упаковок, предназначенных к реализации во время различных
праздников.
К форме предъявляется ряд требований.
. Прежде всего должно удобно
держать ее в руке, пользоваться при изменении наклона и т.д., то есть рука
человека выступает как основная точка отсчета.
2. Вес рассчитывается таким образом,
чтобы среднестатистический человек мог пользоваться упаковкой, не затрачивая
чрезмерных усилий.
. Форма должна быть такой, чтобы
при выкладке товара на полку в магазине она легко узнавалась и ее можно было бы
легко взять. Придумываются специальные мини-прилавки для продажи штучных
товаров. Форма определяет и композиционное решение упаковки.
Размер
упаковки
Размер упаковки связан прежде всего с
маркетинговыми исследованиями и решением о том, в какой ситуации или в расчете
на какую семью данная упаковка создается, но размер может нести в себе
определенные эмоциональные ассоциации: например, небольшие упаковки или
флакончики могут способствовать созданию ощущения изысканности, уникальности,
престижности. Конечно, если это не является упаковкой одноразового
использования, допустим, пакетик чая в условиях путешествия. Маленький размер
возможен при создании подарочных эксклюзивных упаковок с использованием дорогих
материалов, графическое решение в данном случае может быть миниатюрным и
особенно тщательным, но в то же время может быть создана подарочная упаковка
для конфет - большая эффектная коробка с минимальным наполнением, в данном
случае подарком, знаком уважения и внимания будет служить сама коробка,
стоимость которой может быть не меньше стоимости содержимого. Кроме того,
небольшие упаковки могут быть использованы как пробные образцы в рекламных
целях.
Требования, которые предъявляются к
упаковке, достаточно высоки. Прежде всего конструкция должна позволять легко
получить доступ к содержимому упаковки, если это не опасный продукт.
В данной работе размеры выбирались исходя
из размеров свадебных бокалов.
Цвет
Основным фактором, влияющим на
эмоциональное восприятие, наиболее действенным и первичным, является цвет.
Именно цвет прежде всего привлекает внимание. Цвет, являясь одним из первых
способов в познании мира и самого себя человеком, имеет наиболее глубокие корни
в психике человека.". В примитивных обществах три цвета - белый, красный и
черный - являются не просто различиями в зрительном восприятии разных частей
спектра; это сокращенные или концентрированные обозначения больших областей
психофизиологического опыта, затрагивающих как разум, так и все органы чувств,
и связанных с первичными групповыми отношениями. Лишь в результате последующей
абстракции из этих конфигураций возникают другие виды используемой человеком
социальной классификации".
Причем именно эти цвета связаны с наиболее
сильными психофизиологическими переживаниями человека. Первыми и главными
цветами являлись белый и черный. Белый - цвет чистоты, дневного света,
материнского молока и т.д. Таким образом, белый цвет - это всегда положительные
эмоции. Черный цвет - цвет ночи, цвет земли, цвет нечистот. Отношение к этому
цвету двояко, но преобладает чувство настороженности. Красный цвет наиболее
сложный. Это цвет крови, солнца, вызывает ассоциации как с жизнью, так и со
смертью. Красный цвет - цвет жизненной энергии, цвет власти. Различные оттенки
красного цвета рождают различные ассоциации. Красный цвет поднимает кровяное
давление.
Помимо цветовых предпочтений,
обусловленных культурной традицией и географической средой, существуют
предпочтения возрастные. Так, дети и молодежь, то есть наиболее эмоциональная и
энергичная часть социума, любят чистые и яркие цвета, особенно красный, правда,
нужно учитывать влияние моды.
Необходимо подчеркнуть, что для
адекватного восприятия и прочтения визуальных текстов необходимо было время,
чтобы сложились традиции в оформлении той или иной продукции, так как только
подготовленный потребитель, усвоивший язык визуальных построений текста, может
правильно его воспринимать. Художник-дизайнер и в этом случае обязан учитывать
культурный уровень того сегмента рынка, на который рассчитан данный товар,
географический, национальный, возрастной и т.д.
Существует еще такой феномен восприятия
цвета, как перенос цветовых ощущений на качество товара, содержащегося в
упаковке. Широко известным является эксперимент, проведенный американскими
специалистами по рекламе. Домохозяйкам раздали пачки стирального порошка различного
цвета. Первым - в пачках голубого цвета, вторым - желтого, третьим - в пачках
сине-голубого цвета. Порошок был идентичным. В результате первые жаловались на
то, что порошок слабый, плохо отстирывающий. У вторых порошок оказался слишком
едким, в результате его использования на белье появлялись дырки, а третьи были
очень довольны. Таким образом, цветовое ощущение было перенесено на качество
порошка.
Это явление используется при создании
упаковок. Белый цвет, цвет чистоты, - основной в упаковках лекарств. Продукты
питания часто закладывают в упаковки желто-коричневой гаммы как наиболее
съедобной. Оранжевый цвет наиболее приятен для пищеварения.
Обоснование цветографического решения. При разработке дизайна
упаковки для свадебных бокалов была выбрана следующая цветовая гамма:
преобладание розовых, оранжевых, желтых и золотых оттенков. Данный выбор
обосновывается на привлечении внимания покупателя яркими цветами и
тематического рисунка. Также эти оттенки дают представление покупателю о
предстоящем торжестве.
Принятое цветографическое решение отображает характеристику и
свойства продукта.
Шрифт
Буква является символической формой,
получившее в процессе эволюции точное значение, закрепленное за фонетическим
знаком, но ее графическое начертание сохраняет огромные возможности для
эмоционального воздействия, построенные на монотонном и ассоциативном
восприятии. Моторные - это острый или округлый шрифт различного наклона,
ассоциативные - связаны с историей развития человеческой культуры.
Хотелось бы отметить тот факт, что
название выполненное специально подобранным или созданным шрифтом, вначале
воспринимается как часть зрительного ряда и не должна вступать в противоречие с
изображением. Оно должно дополнять и усиливать его.
Когда уже сработал стоп-эффект и
потребитель обратил свое внимание на конкретный визуальный текст-сообщение,
последнему предстоит еще реализовать свою коммуникативную функцию, то есть
довести содержание визуального сообщения до получателя. Здесь ведущая роль
принадлежит, как правило, словесному, вербальному тексту. Упаковка содержит
большое количество вербальной информации, а кроме того, назовем это
промежуточной информацией, в виде пиктограмм, количество которых и значение
необыкновенно выросло.
Шрифт имеет свои способы эмоционального
воздействия: своим начертанием может вызывать ассоциации со временем своего
создания и наиболее частого использования.
Композиция
В упаковке чаще всего используется
симметричная композиция. Она более уравновешена, статична, вызывает ощущение
стабильности, надежности - качества. Диагональные композиции более
эмоциональны, динамичны и чаще используются при оформлении упаковок для
молодежных групп.
В композиции обязательно должна
учитываться и такая закрепленная в подсознании особенность восприятия, как
реакция на силу земного притяжения.
Ритм
Ритм является организующим способом в
создании композиции. В то же время ритм в композиции является не менее
значительным способом эмоционального воздействия. Декоративность
изобразительных элементов - геометрических знаков, орнамента - имеет связь с
проявлениями ритма и симметрии в природе, с положительной реакцией человека на
правильную форму. Чувство целесообразности правильной формы в виде инстинкта
закрепляется даже у животных. Положительная эмоциональная реакция на гладкую
поверхность, четкую линию, правильную форму, в конечном счете, выступает как
эстетическая реакция, связанная с чувством ритма, симметрии.
Основные
сведения о технологичности конструкции изделия
Взаимосвязь конструкции упаковки с
технологией ее изготовления обусловила одну из наиболее сложных функций
технологической подготовки производства - отработку конструкции на
технологичность. Основными целями отработки конструкции на технологичность
являются:
· выбор рациональных формы и размеров,
членения и компоновки конструкции;
· обеспечение преемственности конструктивных
решений;
· выбор оптимальных и наиболее рациональных
конструкционных материалов;
· обеспечение соответствия конструкции
упаковки условиям ее производства, упаковывания продукции и всему жизненному циклу
обращения;
· унификация упаковки и ее составных частей,
технологии изготовления и контроля;
· применение нормальных рядов размеров;
· обеспечение соответствия конструкции
требованиям типовых технологических процессов.
Под технологичностью конструкции
изделия (ТКИ) понимают совокупность свойств конструкции изделия,
проявляемых в возможности оптимальных затрат труда, средств, материалов и
времени при технологической подготовке производства, изготовлении, эксплуатации
и ремонте по сравнению с соответствующими показателями однотипных конструкций
изделий того же качества в принятых условиях изготовления, эксплуатации и
ремонта.
ТКИ выражает совокупность свойств
упаковки, определяющих приспособленность ее конструкции к достижению
оптимальных затрат ресурсов при производстве и эксплуатации для заданных
показателей качества, объема выпуска и условий выполнения работ.
При разработке конструкции изделия
учитывают взаимосвязь ТКИ с различными проявлениями их свойств:
· ТКИ и функциональность;
· ТКИ и надежность;
· ТКИ и экономичность;
· ТКИ и безопасность;
· ТКИ и экологичность.
Утилизация
картонной тары
Утилизация использованной и пришедшей в негодность тары может
происходить по следующим направлениям: повторное использование для производства
бумаги и картона, использование в качестве наполнителя в различных
производствах, захоронение или уничтожение в составе твердых бытовых отходов.
Качество, вид и состав макулатуры для вторичного
использования в производстве бумаги и картона регламентируются по ГОСТ
10700-89.
Поскольку основным компонентом бумаги и картона являются
волокна целлюлозы, использованную бумагу или бумажный утиль можно подвергнуть
переработке (рециклу). Отходы свежей бумаги, образующиеся в процессе
производства, и чистой незапечатанной, могут быть непосредственно добавлены в
пульпу. Однако запечатанная бумага (газетная, журнальная) должна сначала пройти
предварительную обработку для удаления печатной краски и элементов переплета и
брошюровки: пластиковых колец, скрепок и т.д. В отличие от стекла, бумагу и
картон нельзя подвергать рециклу произвольное число раз: волокна целлюлозы
разрушаются при использовании, в производственных процессах и при удалении
краски; укороченные волокна настолько уменьшаются в длине, что проходят сквозь
сетку машины для производства бумаги. Для поддержания качества бумаги или
картона, особенно их цвета и прочностных свойств, приходится ограничивать
количество бумажного утиля, добавляемого в пульпу (его количество зависит от
качества бумаги или картона, которое необходимо получить). Бумага, получаемая
только из одного утиля (100 % рецикл), - серая: дальнейшее отбеливание
разрушило бы структуру волокон и, следовательно, ухудшило бы качество бумаги.
Отходы картона для вторичного использования перерабатываются
по следующей схеме. Поступившие с заготовительных предприятий отходы картона и
картонной упаковки, спрессованные в кипы, измельчаются, и после этого на
сепараторе отделяются металлические включения (скрепки, скобки). Измельченная
масса картона подается на машину, где используется для приготовления бумаги и
картона, который можно использовать для производства тары. По данной схеме
производится, например, картон типа хромэрзац, в котором только верхний слой
изготовлен из беленой целлюлозы, а нижний - из макулатуры.
Отходы комбинированных материалов на основе картона и бумаги,
в большинстве случаев, сжигаются на мусоросжигательных заводах. Сжигание в
печах не требует в значительных масштабах использования дополнительного
топлива. Горение поддерживается подачей воздуха через систему решеток,
обеспечивающую его доступ по всему объему сжигаемой массы.
Одной из основных целей мусоросжигательных заводов является
внедрение так называемых эффективных технологий, когда сжигание упаковочных
материалов позволяет производить энергию и тепло, не оказывая дополнительной
экологической нагрузки на окружающую среду.
Заключение
В ходе данной работы был верно выбран материал для упаковки
свадебных бокалов.
Вверху коробки имеется двойной запирающий клапан, который
придает коробке более воздушный ид и не снижает конструктивную прочность тары.
Клапан дна является автоматически складывающимся, что способствует
автоматической сборке коробки и облегчению упаковывания в нее продукции
механическим способом.
Таким образом, можно сделать вывод о том, что дизайнерское
решение выигрывает как экономически, так и в конструктивном плане.
Список
использованной литературы
1. Арустумов
Э.А. Тара и упаковка: Учебное пособие - М: Издательский дом "Дашков и
Ко", 2000.
2. Букин
А.А. Тара и ее производство: учебное пособие / А.А. Букин, С.Н. Хабаров, П.С.
Беляев, В.Г. Однолько. - Тамбов: Изд-во Тамб. гос. техн. ун-та, 2006. - Ч.1. -
88 с.
. Ефремов
Н.Ф. Конструирование и дизайн тары: учебник для вузов, Н.Ф. Ефремов, Т.В.
Лемешко; Моск. гос. у - М.: МГУП, 2004.
. Ефремов
Н.Ф. Тара и ее производство. Учебное пособие. - 2-е изд., доп. - М.: МГУП,
2001. - 312 с.
. Панкратов
Ф.Г., Памбухчиянц В.К. Технология упаковочного производства. - М.: ИВЦ
"Маркетинг", 1994.
. Сокольников
Ю. Упаковки. Все об упаковке: учебное пособие. Тигра, 2001.
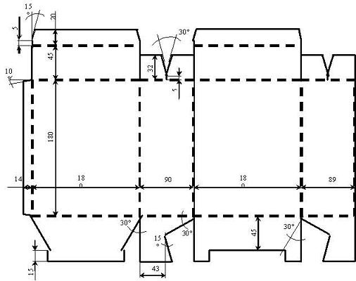
Приложения
Приложение 1.
Развертка складной коробки для упаковки свадебных бокалов
Приложение 2.
Развертка вкладыша в коробку
Приложение 3.
Коробка для упаковывания свадебных бокалов
Приложение 4.
Схема расположения вкладыша в коробке
