Проектирование послепечатных процессов, необходимых для изготовления реального книжного издания
Реферат
Пояснительная записка состоит из 40 страниц, 7 рисунков.
В ходе данного курсового проекта была произведена проектировка
послепечатных процессов, необходимых для изготовления реального книжного
издания, указанного в задании на курсовой проект. Проведены измерения и расчеты
материалов, подобрано оборудование для проведения всех необходимых операций.
Взяв уже существующее книжное издание, мы восстановили все послепечатные
операции, необходимые для его производства, с учетом тиража: составили
технологический план, подобрали технику исполнения, материалы и форматы.
Изучили возможное послепечатное оборудование, предположив его наличие на
производстве и составили все необходимые схемы производства.
Перечень
терминов
Тетрадь ― сфальцованный после запечатывания бумажный лист.
Блок ― комплект тетрадей или листов, скрепленных в корешке,
обрезанный с трех сторон и подготовленный для брошюровки.
Форзац ― сложенный пополам лист бумаги или оттиска (односгиб-ная
тетрадь), помещаемый между переплетной крышкой и блоком книги, служит связующим
звеном между книжным блоком и переплетной крышкой.
Издание ― произведение печати, полиграфически самостоятельно
оформленное, прошедшее редакционно-издательскую подготовку, имеющее
установленные выходные сведения и предназначенное для передачи содержащейся в
нем информации.
Фальц ― сгиб листа, образуемый при фальцовке.
Введение
Послепечатной обработкой называют операции, производимые с отпечатанной
продукцией не только для создания определенного вида и формата издания, но и для
придания ему уникальных качеств и презентабельного вида. Также послепечатная
обработка может быть направлена на то, чтобы сделать издание более удобным и
износостойким в долгосрочном применении.
В пройденном курсе «Технологии Послепечатных Процессов» мы ознакомились с
различными видами послепечатных работ, на лабораторных занятиях попробовали
самостоятельно провести некоторые из них.
Цель данной
курсовой работы состоит в получении практических навыков проектирования
процессов послепечатного участка для реального книжного издания.
1.
Описание проектируемого издания
.1
Характеристики издания
В данном курсовом проекте будет рассмотрена схема операций послепечатного
участка для книги:
Иван Ефремов «Лезвие бритвы. Рассказы», ЭКСМО 2009 г.
Формат 84Ч108/32, бумага офсетная. Объем ― 832 страницы. Книга в твердой
переплетной крышке с локальным тиснением фольгой на лицевой стороне переплетной
крышки и на корешке.
Книга скреплена ниткошвейным способом, обернута суперобложкой, форзацы
незапечатанные, вкладышей и иллюстраций нет.
Тираж 5000 экземпляров.
1.2
Операции послепечатного участка, необходимые для изготовления данного издания
. Создание книжного блока:
· подрезка печатных листов;
· фальцовка печатных листов в тетради;
· потетрадное шитье нитками на марле;
· приклейка каптала.
2. Создание переплетной крышки:
· раскрой картона;
· раскрой материала для отстава;
· раскрой покровного материала;
· сборка крышек;
· сушка крышек.
3. Окончательные операции:
· подрезка блоков с трех сторон;
· вставка блоков в крышки;
· прессование и сушка книг;
4. Отделочные операции
· тиснение на переплетных крышках;
· обертывание книг суперобложкой.
2. Выбор и
характеристики послепечатного оборудования
.1
Одноножевая бумагорезательная машина
Для резки и подрезки отпечатанных листов выбираем резательную машину POLAR 92 X производства Heidelberg.
POLAR
92 Х это высокоскоростная автоматическая резательная машина для бумаги,
картона, пластика и других полиграфических материалов среднего формата 500Ч700
мм, максимальный размер реза 920 мм.
Данная машина программно-управляема и проста в управлении. Она может быть
дополнена периферийным оборудованием (стек лифт, автоматический бегун и др.)
POLAR
92 Х оснащена цветным дисплеем и клавиатурой для ввода данных и
программирования. Она проста в обслуживании и расчитана на оперативную
качественную работу.
Технические характеристики:
|
Максимальная длина реза
|
920 мм
|
|
Производительность
|
45 цикл\мин
|
|
Высота стопы
|
130 мм
|
|
Уровень шума
|
77 дБ
|
|
Масса
|
1920 кг
|
|
Габариты
|
223 177 159 см
|
|
Память машины
|
1998 программ
|
2.2
Фальцевальная машина
Профессиональная установка Horizon AFC-744D предназначена для
параллельно-поперечной фальцовки листов. Она оснащена компьютеризированным пультом
управления с цветным ЖК и сенсорным дисплеем для настройки тиража.
Максимально машина может выполнять до четырех параллельных, двух
поперечных (один ножевой, один кассетный параллельно ножевому) и плюс один
перпендикулярный ножевой фальц.
Самонаклад оснащен системой пневматических раздувов, передней ротационной
головкой и задним механизмом отделения листов. Машина имеет комбинированные
фальцевальные валики, все кассеты оснащены электроприводами с точностью
позиционирования 0,1мм.
Технические характеристики:
|
Формат бумаги
|
от 210Ч297 до 740Ч1100 мм
|
|
Число сгибов
|
4 параллельных,
перекрестный ножевой, 1 кассета,
|
|
Тип самонаклада
|
плоскостапельн.
пневматический
|
|
Диапазон бумаг
|
от 35 до 220 г/м2
|
|
Производительность
|
43000 листов формата А4 в
час
|
|
Длина сгиба
|
от 30 мм
|
|
Масса
|
1600 кг
|
388Ч292Ч162 см
|
|
Потребляемая мощность
|
4,3 кВт
|
|
Электропитание
|
380 В, 50 Гц,
|
2.3
Сталкиватель бумаги
Сталкиватель бумаг Nagel Rimo 3 предназначен для сталкивания листов
бумаги в ровную стопу, в том числе перед резкой или другими постпечатными
операциями.
В модели Rimo 3 предусмотрено изменение угла наклона лотка и регулировка
амплитуды вибрации в зависимости от материала. Наличие зазора между
перпендикулярными направляющими на поверхности лотка сталкивателя облегчает
удаление стопы и предотвращает загибание уголков. Rimo 3 может устанавливаться
как в настольном, так и в напольном варианте. Имеет регулируемую по высоте
подставку.
Технические характеристики:
|
Максимальная ширина бумаги
|
420 мм
|
|
Регулировка высоты
|
1000 мм
|
|
Электропитание
|
230В/50Гц
|
|
Длина
|
260 мм
|
|
Ширина
|
530 мм
|
|
Высота
|
580 мм
|
|
Вес
|
12 кг
|
|
Напольная подставка
|
нет
|
2.4
Ниткошвейный автомат
Ниткошвейный автомат Purple Magna SX150 оснащен встроенными
механическими, электрическими, оптическими и пневматическими устройствами,
обеспечивающими удобство его эксплуатации.
Система сигнализации, следящая за укладкой тетрадей в магазине, подачей,
позициониро-ванием, сшиванием и выводом на приемку, делает его простым в
управлении. Рабочий процесс отражается на цветном сенсорном экране. Может
производить простой и переставной стежок.
Технические характеристики:
|
Минимальный размер тетради
|
80 х 150 мм
|
|
Максимальный размер тетради
|
320 х 420 мм
|
|
Максимальная механическая
скорость
|
9000 циклов/час
|
|
Максимальное число стежков
|
11
|
|
Расстояние между иглами
|
19 мм
|
|
Диаметр иглы
|
1,6 мм
|
|
Минимальное число тетрадей
|
2
|
|
Максимальное число тетрадей
|
4
|
|
Мощность
|
3,7 Квт
|
|
Вес машины
|
2450 кг
|
|
Габариты
|
2550Ч1700Ч1750 мм
|
2.5
Трёхножевая резальная машина
Трехножевая резальная машина Wohlenberg trim-tec 90e
является самой производительной в серии Wohlenberg. В основу ее
кострукции заложен принцип Dynamic Drive, благодаря которому все основные узлы
напрямую управляются компьютером.
Конструктивными преимуществами Wohlenberg trim-tec 90e являются
автоматическая фиксация резального стола и прижима; система быстрой смены
ножей, столов, давления прижима и скорости от 0 до 90 циклов/мин без потерь
качества (благодаря автоматической системе настроек на базе сервоприводов),
автоматическое управление скоростью работы в зависимости от интенсивности
поступающего потока продукции.
Машина оснащена противоотмарочным покрытием прижимных пластин и столов.
Все ножи имеют сабельную траекторию и автоматическую смазку.
Надежная защита персонала, сертификат CE и GS.
Технические характеристики:
|
Формат продукции макс. до
обрезки макс. после обрезки мин. после обрезки
|
410x320 мм 380x300 мм
145x100 мм
|
|
Производительность
|
0-90 цикл/мин.
|
|
Высота стопы (макс./мин.)
|
70/10 мм
|
|
Мин. толщина книги
|
2 мм
|
|
Мощность
|
≈20 кВт
|
|
Масса
|
≈5000 кг
|
2.6
Крышкоделательная машина
Автоматическая крышкоделательная машина ROBY 1800 может использоваться
для для производства папок-скоросшивателей, составных и цельнокрытых
переплётных крышек, внутренней оклейки переплётных крышек и др.1800 оснащена
вакуумным самонакладом, секцией нанесения клея, самонакладом покровного
материала и картона, секцией каландрирования и секцией загибки клапанов.
Технические характеристики:
|
Максимальный формат
покровного материала
|
|
Плотность покровного
материала
|
80-200 г/м2
|
|
Максимальный формат картона
|
450Ч800 мм
|
|
Толщина картона: 1- 5
|
мм
|
|
Скорость, м⁄мин
|
7-30 цикл/мин
|
|
Габариты, мм
|
820Ч120Ч210 см
|
|
Масса, кг
|
2800
|
|
Электропитание
|
380 Вт
|
2.7
Термоламинатор
Ламинатор Fellowes Titan A3 оснащен технологией HOT SWAP, которая
позволяет ламинировать документы, различные по толщине, без необходимости
ожидания остывания или нагрева аппарата. Данный процесс осуществляется за счет
изменения скорости ламинирования (при фиксированной температуре). Активная
система охлаждения позволяет оперативно перейти к более холодному
температурному режиму. Система безопасности работает таким образом, что можно
дотрагиваться до ламинатора, не боясь обжечься. Механизм Easi-Access позволяет
открыть корпус аппарата для чистки валов. Функция SleepMode позволяет снизить
объем потребляемой энергии за счет переключения ламинатора в "спящий
режим".
Технические характеристики:
|
Толщина пленки
|
80 - 250 мкм
|
|
Скорость ламинирования
|
90 см/мин.
|
|
Ширина входного отверстия
|
330 мм
|
|
Формат
|
А3
|
|
Время прогрева
|
3 мин
|
|
Габариты, мм
|
63Ч16,5Ч23 см
|
|
Масса, кг
|
9,9 кг
|
2.8
Автоматический тигельный пресс для тиснения
Yawa PRO-F106 ― Автоматическая машина для тиснения и
вырубки. Особенности конструкции: быстрый переход от вырубки к тиснению (10-15
мин); центральный пульт управления с сенсорным монитором на котором можно
задать все рабочие параметры машины и произвести диагностику ее узлов и
механизмов, безостановочная загрузка подающего стола и выгрузка продукции,
электронные датчики ограничения перемещения столов подачи и приемки в крайних
положениях и др.
Машина обладает рядо преимуществ для тиснения фольгой. Фольга отделяется
пневматическим механизмом, независимая регулировка 12-ти зон нагрева
обеспечивает эффективный нагрев штампа и экономию электроэнергии. Термосенсоры
обеспечат стабильность температурного режима в каждой из зон нагрева. Также
машина оснащена детектором обрыва или смятия фольги, и защитными ограждениями
из пластика, при открываниии которых машина останавливается.
Технические характеристики:
|
Максимальный формат вырубки
|
1040х730 мм
|
|
Плотность листа
|
150 - 500 г/м2
|
|
Толщина листа
|
до 1,5 мм
|
|
Максимальная скорость
тиснения
|
7000 л/час
|
|
Максимальное усилие вырубки
|
300 т
|
|
Система подачи листов
|
автомат. каскадная
|
|
Высота стапеля самонаклада
|
1350 мм
|
|
Механизм равнения листа
|
тянущего типа
|
|
Электропитание
|
380 В, 50 Гц, 3 фазы
|
|
Потребляемая мощность
|
42 кВт
|
|
Габариты
|
600Ч600Ч245 см
|
|
Мин. ширина фольги
|
15 мм
|
|
Максимальный шаг прокрутки
фольги
|
720 мм
|
|
|
2.9
Книговставочная машина
Книговставочная
машина MI 1000 (MITEC <#"554088.files/image002.gif">
Рис. 1. Цельнокрытая переплетная крышка
Технологический процесс изготовления переплетных крышек включает
следующие этапы:
· раскрой материалов;
· сборка переплетной крышки;
· обработка и отделка переплетной крышки.
Для изготовления переплетных крышек используют переплетный картон и
переплетные покровные материалы из бумаги, ткани и нетканых материалов.
Сторонки крышки изготавливаются из картона без покрытия, отстав - из обложечной
бумаги или картона в зависимости от толщины корешка.
Покровные материалы должны иметь долевой раскрой, то есть волокна должны
быть параллельны корешку, так как этот тип раскроя позволяет значительно
снизить вероятность коробления. То же самое рекомендуется и для картонных
сторонок.
Оборудование
Листы картона раскраиваются на картонорезальном оборудовании. Также
некоторые современные бумагорезательные машины хорошо справляются с задачей
резки картона. Это могут быть автоматические и полуавтоматические или ручные
механические устройства.
В автоматическом и полуавтоматическом оборудовании лист картона режется
вначале на полосы, а затем полосы разрезаются на сторонки. Разрезание картона
выполняется несколькими парами ротационных дисковых ножей. Листы и полосы
картона транспортируются в машине с помощью роликов.
Для раскроя покровного материала, а также материала отстава применяются
одноножевые резальные машины, а для материалов, поставляемых в рулонах -
бобинорезальное оборудование.
Размеры кантов устанавливаются равными 4 мм, а ширина расстава - 5 мм.
Рис. 2. Сторонка переплетной крышки.
Рассчет ширины и высоты сторонок переплетной крышки:
126+4 =
130 мм;
200+3+2
= 205 мм.
шс
- ширина сторонки;
вс - высота сторонки;
ш, в - ширина и высота блока;
кп кв кн - боковой, нижний и верхний канты.
Получаем 2 сторонки 130Ч205 мм.
Корешок 38Ч205 мм.
3.2
Раскрой покровного материала
Обычно покровные материалы закупаются в рулонах, и могут быть на
бумажной, тканевой, синтетической основе (ледерин, балакрон, коленкор и др.).
Покровный материал разрезается на части с учетом припусков на загиб -
примерно 15 мм с каждой внешней стороны, и расставами между корешком и
сторонками по 4 мм с каждой стороны.
Ширина блока составляет 30 мм, таким образом, формат переплетного
материала: 235Ч328 мм.
3.3
Раскрой материала суперобложки
Суперобложка
оборачивает книгу таким образом, что узкие концы листа (клапаны) загибаются под
переплёт
<#"554088.files/image007.gif">
где
шс и вс - ширина и высота суперобложки, мм; Тс - толщина блока (или длина дуги
корешка), мм; ш, в - ширина и высота блока после обрезки (формат издания), мм;
К-толщина картона переплетной крышки, мм; квн - ширина верхних и нижних кантов,
мм.
шс
= 38+2Ч130+4Ч1,1+2Ч80= 460 мм,
вс
= 205+2Ч0 = 205 мм;
Полученный
формат суперобложки: 460Ч205 мм.
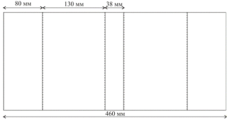
Рис.
4. Схема суперобложки с указанием фальцев.
В
случае данного издания высота суперобложки равна высоте блока в перелетной
крышке, так как нет верхних или нижних кантов. Ширина суперобложки учитывает
количество материала для подгиба внутрь.
3.4
Припрессовка полимерной пленки к суперобложке
Припрессовка пленки - термический процесс нанесения на оттиск, бумагу или
картон прозрачного полимерного пленочного материала. Полимерное покрытие
улучшает товарный вид и функциональные свойства изделия. Визуально повышается
насыщенность оттиска, лицевая поверхность издания становится влагонепроницаемой
и более устойчивой к износу и истиранию. Припрессовка полимерной пленки широко
используется в производстве обложек, в том числе и суперобложек.
Существует 3 способа припрессовки пленки:
) клеевой способ (склейка полимерой пленки с бумагой с помощью лаков и
клеев);
) бесклеевой способ (припрессовка двухслойной пленки, один слой которой
имеет значительно меньшую температуру плавления, в процессе плавится и
выполняет функцию термоклея)
) экструзионный способ (нанесение на оттиск расплава полимера, который
затвердевает при охлаждении, образуя защитное покрытие).
Мы используем бесклеевой способ термонанесения.
3.5
Биговка суперобложки
Биговка ― это продавливание канавки на листе для последующего сгиба.
Линии сгибов на материал наносятся с помощью тупых дисковых ножей или
планками в биговальных машинах, которые вдавливают и уплотняют материал.
При изготовлении суперобложки биговка применяется в местах сгиба,
образующих «клапаны», с помощью которых суперобложка держится на книжном блоке.
3.6 Сборка
переплетной крышки
Переплетная крышка является внешним элементом книжного издания, поэтому
она должна обеспечивать плетная крышка является внешним элементом книжного
издания, поэтому она должна обеспечивать е только е только его надежность и
износостойкость, но и декоративные качества.
Сборка цельнокрытых крышек 7-го типа может выполняться на
крышкоделательных машинах с разной степенью автоматизации процесса. На
заготовку из покровного материала с помощью клея крепятся картонные сторонки и
отстав, кромки покровного материала загибаются и приклеиваются к сторонкам и
отставу.
В случаях небольших тиражей или эксклюзивных изданий возможно ручная
сборка, или с использованием механизированных устройств для нанесения клея,
прессовки и сушки.
3.7
Тиснение переплетной крышки
Тиснение применяется в полиграфии для того, чтобы придать изданию
декоративный вид, выделить его среди других или обозначить определенную
информацию, наиболее важную для восприятия. Тиснение, как вид оформления
полиграфической продукции, имеет ряд преимуществ; фольга, является «сухой
краской», позволяя избегать сложностей, возникающих при печати пастообразными и
жидкими красками. Оттиск фольгой не надо сушить, отсутствует угроза
перетискивания краски и размытости контуров.
Для оформления переплетных крышек может применяться припрессовка
полиграфической фольги, конгревное тиснение с фольгой (выпуклая поверхность)
или блинтовое (вдавливание штампа без фольги).
В данном издании тиснение выполнено с использованием фольги, без
образования возвышающегося рельефа.
Воспользуемся методом плоского тиснения фольгой. Этот вид тиснения
выполняется с помощью нагретого клише, которое через фольгу под давлением
переносит изображение на запечатываемый материал без изменения рельефа
материала.
Фольга представляет собой основу с нанесенным на нее металлизированным
слоем и клеевым слоем для переноса на изделие. Применяя плоское тиснение
пигментированной фольгой по картону и бумаге мы получаем глянцевый насыщенный
слой на лицевой стороне переплетной крышки и на корешке.
4.
Изготовление блока тетрадей
В данном издании книжный блок скомплектован традиционным способом ―
из тетрадей. Этот способ
позволяет уменьшить количество брака и трудоемкость процесса, в отличии от
полистовой комплектовки (используется при термопереплете изданий).
Книжные блоки составляются из простых тетрадей, процесс включает в себя
· сталкивание и подрезку печатных листов;
· фальцовка;
· комплектовка и скрепление тетрадного блока;
· подрезка;
· изготовление форзацев.
4.1
Подрезка печатных листов
Подрезка выполянется для придания листам нужного формата, точной формы и
ровных краев.
Формат печатных листов данного издания 252Ч200 мм
Подрезка может выполняться на одноножевых резательных машинах с различной
степенью автоматизации процесса.
Перед
подрезкой выполняется сталкивание листов. Сталкивание
<#"554088.files/image010.gif">
Рис. 5. Расположение фальца на печатном листе
4.3
Комплектовка тетрадного блока
После фальцовки листы проглаживают косточкой по месту сгиба.
Сфальцованные листы собирают в том порядке, как они размещаются в книге. Этот
процесс (комплектовка книг) отвечает за потребительские свойства будущего
издания. При комплектовке необходимо следить за последовательностью порядковых
номеров страниц.
Различают два вида комплектовки: подборка (лист к листу) и вкладка (лист
в лист). В первом случае подбираемые по порядку листы прикладывают один к
другому, во втором ― один лист вкладывается в другой.
Подборку листов и тетрадей в книжный блок начинают с последней тетради в
порядке убывания сигнатур (цифра, обозначающая порядковый номер тетради),
кончая первой тетрадью, сигнатурой вверх головкой к себе, а корешком в правую
сторону. При комплектовке листов вкладку удобнее брать левой рукой и при помощи
большого пальца раскрывать разъем листа (середину), правой рукой берут вкладной
лист и вставляют его в середину (разъем) первого листа и т.д.
Скомплектованный блок сталкивают сначала на головку, затем на корешок.
Сталкивание производят очень тщательно до точного совмещения всей тетрадей
блока. Скомплектованные тетради перекладывают картоне и зажимают в пресс для
обжима. При большом объеме блока его делят на несколько частей и прессуют
каждую часть отдельно.
В данном издании скомплектовано 26 двенадцатистраничных тетрадей.
4.4
Скрепление тетрадей
Тетради, скомплектованные в книжные или в брошюрные блоки, необходимо скрепить
друг с другом, чтобы получить монолитный блок для последующей технологической
обработки.
Скрепление тетрадей в блок достаточно трудоемкий процесс и оказывает
существенное влияние на продолжительность всего производственного цикла.
Существуют различные способы скрепления тетрадей в блок: шитье нитками и
проволокой, бесшвейное скрепление, и менее распространенные ―
скрепление спиралями,
различными замками и пр.
Скрепление тетрадей в блоке различными способами может осуществляться как
потетрадно, так и поблочно. В первом случае последовательно скрепляются все
тетради в единый блок, а во втором - все тетради скомплектованного блока
скрепляются одновременно.
Потетрадное скрепление блока более трудоемкий процесс, но это
обеспечивает наилучшую раскрываемость изданий и их износостойкость.
Рассматриваемое издание скреплено потетрадным шитьем нитками на марле
простым переплетным стежком. Швейный наиболее распространен в полиграфии. Шитье
нитками применяется при изготовлении подавляющего большинства книжных изданий.
В настоящее время эта операция полностью механизирована и выполняется на
различном высокопроизводительном оборудовании.
Шитье на корешковом материале - переплетным.
Для потетрадного скрепления нитками отечественные заводы полиграфического
машиностроения выпускают различные типы ниткошвейных машин и автоматов.
При скреплении использован корешковый материал - марля, без которой
практически невозможно получить единый блок, она обеспечивает
надежноескрепление переплетной крышки с блоком.
При шитье на марле на штанге марлеподающего устройства устанавливается
рулон полиграфической марли (или другого нетканого материала).
4.5
Подрезка тетрадей с трех сторон
Лучше выполнять подрезку на трехножевых машинах, так как при кратном
повороте блока при работе с одноножевой машиной есть угроза стряхнуть или
неровно подрезать блок.
Все трехножевые резальные машины можно разделить на две группы:
полуавтоматы, блоки в которые загружают вручную, и автоматы, работающие в
составе поточной линии с автоматизированной загрузкой блоков в машину.
4.6 Расчет
размеров форзацев
Для изготовления форзацев применяют специальную форзацную бумагу, которая
должна обладать достаточной механической прочностью на разрыв и на число
двойных перегибов, а также быть обязательно проклеенной. При раскрое форзацев
следует учитывать направление отлива бумаги. Машинное (долевое) направление в
большинстве случаев соответствует длинной стороне бумажного листа. Чтобы
получить форзац с долевым раскроем, необходимо делить ширину бумажного листа на
ширину форзаца, а длину бумажного листа - на высоту форзаца.
Так как каждая книга имеет два форзаца, то при тираже 5000 экз.
необходимо изготовить 10 тыс. форзацев. Подрезка и разрезка форзацной бумаги
выполняется на одноножевой бумагорезальной машине.
Ширина шф и высота вф форзацев должны иметь размеры, соответствующие
номинальному формату блока до обрезки:
мм,
мм,
получаем
формат форзацев 252Ч200 мм.
4.7
Фальцовка форзацев
Основное назначение форзацев - скрепление книжного блока с переплетной
крышкой. Кроме того, форзац является элементом внешнего оформления книжного
издания.
По оформлению форзацы бывают:
) иллюстративно-тематическими; 2) декоративно-орнаментальными; 3) одноцветными.
По конструкции:
1) цельно-бумажные
) составные.
По способу прикрепления к тетрадям: приклейные и прошивные.
В данном издании форзацы цельнобумажные одноцветные (белые), без
использования декоративных элементов. Цельнобумажные форзацы представляют собою
бумажную заготовку, раскроенную в долевом направлении, которая после фальцовки
должна иметь размер, соответствующий формату издания до его обрезки с трех
сторон. Способ крепления ― приклейка.
Фальцовку форзацев производим так же, как фальцовку листов тетрадей ―
по корешку, для удобства
склейки форзаца с книжным блоком.
5. Сборка
книжного издания
.1
Скрепление блоков с форзацами
Форзацы и иллюстрации приклеивают к тетрадям на специальных станках, но
возможна приклейка вручную (для эксклюзивным или малотиражных работ). В этом
случае перед приклейкой клей наносят на корешковую часть форзаца и иллюстрации
с таким расчетом, чтобы ширина полоски клея не превышала 5 мм. На тетрадь клей
не наносят.
На приклеечных машинах осуществляется приклейка форзацев и иллюстраций к
первой и последней страницам тетради. Форзац у первой тетради блока приклеен к
нечетной странице, а форзац у последней тетради блока приклеен к четной
странице.
По степени механизации технологического процесса машины делятся на
полуавтоматы и автоматы. К полуавтоматам относятся такие машины, у которых
подача полуфабрикатов (тетрадей, форзацев, иллюстраций и т.д.) производится
вручную.
Полуавтоматы механизируют лишь операции промазки дополнительных
элементов, соединение их с тетрадью и вывод тетрадей на приемный стол; загрузка
приклеек и тетрадей в полуавтомат и съем продукции с приемного стола
производится вручную, поэтому они не совсем удобны в использовании.
Значительно ускоряет производственные процесс ипользование автоматических
форзацприклеечных автоматов. На них применяют быстросхватывающие клеи - ПВАД
или клеевую композицию с добавлением коллоидного раствора натриевой соли.
5.2
Вставка блока в переплетную крышку
Вставка книжного блока в переплетную крышку - завершительная операция
завершается изготовление книги. Убедившись, что книжный блок и переплетная
крышка точно соответствуют друг другу, приступают к скреплению их между собой.
Точность совмещения блока с крышкой зависит от точности их линейных
размеров и симметричности обработки корешка.
Качество вставки блоков в переплетные крышки зависит также от состава
используемого клея. Он должен иметь хорошее скольжение, чтобы можно было
поправить положение блока в крышке; относительно быстро сохнуть; быть
бесцветным; не изменять цвета бумаги с течением времени; обладать быстрым
схватыванием, чтобы блоки не смещались относительно крышек при транспортировке
книг. Вставка блоков может осуществляться как вручную, так и с помощью
специализированного полуавтоматического оборудования.
6. Выбор и
Расчет количества материалов
.1 Расчет
количества картона для переплетной крышки
В переплетных крышках с клеевым соединением деталей каронные сторонки
закрыты переплетным материалом, поэтому картон может е иметь презентабельного
вида.
Рекомендуется применять долевой раскрой, т.е. когда машинное направление
идет вдоль корешка издания, особенно для тонких картонов.
Необходимое количество картона складывается из двух сторонок и корешка в
расчете на каждое издание. При тираже 5000 экземпляров получаем 10 тыс.
сторонок (130Ч205 мм) и 5000 корешков (38Ч205 мм).
Выбираем бурый переплетный картон толщиной 1,0 мм, производства ООО
«Краснополянская бумажная фабрика», ГОСТ 7950-77, марка Б. Он поставляется
листами формата 105Ч110 см.
Количество сторонок и корешков на 1 лист картона:
/20,5 = 5;
/13=8; 110/3,8 = 28;
Ч8 = 40; 5Ч28 = 140;
/40=250; 5000/140=35.
На одном листе помещается 40 сторонок и 140 корешков. для обеспечения
производства 10 тыс. сторонок и 5 тыс. корешков нам потребуется 250 листов для
сторонок и 35 листов для корешков.
Итого: 285 листов без учета расхода на брак.
Количество отходов при резке ― менее 1%.
Общее количество картона:285+285Ч0,02 = 291 лист.
Рис. 6. Схема раскроя картона для переплетных крышек:

На одном листе картона помещается 5Ч8 сторонок и 5Ч28 корешков.
6.2 Расчет
количества форзацной бумаги
Форзацная
бумага ―
это бумага, специально предназначенная
для изготовления форзацев
<#"554088.files/image014.gif">
Необходимое
количество форзацной бумаги:
/9
= 555 листов, без учета расхода на брак
Общее
количество бумаги: 555+0,02Ч55 = 566 листов
Количество
отходов при резке ―
6%.
6.3 Расчет
количества покровного материала
Для изготовления переплетных крышек используется переплетные покровные
материалы на тканевой, бумажной и синтетической основе, с влагостойкой
поверхностью.
Для данного издания будем использовать коленкор.
Коленкор - переплетный материал, для изготовления которого применяется
хлопчатобумажная ткань. Ткань покрывают красителями которые проникают между
нитями ткани-основы и остаются там.
Возьмем темно-синий коленкор (№28), поставляемый рулонами, ГОСТ 5202-78.
Размер рулона - 200*0,82 метра.
Размер покровного материал для одной крышки составляет 235Ч328 мм.
Рассчитаем количество покровного материала необходимого для производства
тиража:
/235 = 3
/3 = 1667 шт;
Ч0,328 = 547 метров без учета расхода на брак. Общее количество:
547+547Ч0,02 = 558 метров.
Количество отходов при резке ― 14%.
6.4 Расчет количества бумаги для суперобложки
Суперобложка используется как элемент внешнего оформления, а также
предохраняет от повреждений и загрязнений переплёт, поэтому материал для ее
изготовления должен быть плотным. Суперобложку изготавливаем из мелованной
бумаги, 120 г/м2, используя долевой раскрой.
Выбираем Galerie
Art Gloss, стандарт UNI EN ISO 9002, матовую, 115 г/м2, формат
470Ч620 мм.
При размере одной суперобложки 460Ч205 мм на лист такой мелованной бумаги
помещается 3 суперобложки.
Необходимое количество бумаги для суперобложек:
/3 = 1667 листов без учета расхода на брак.
Общее количество: 1667+1667Ч0,03 = 1717 листов.
Количество отходов при резке ― менее 1%.
6.5 Расчет
количества полимерной пленки
При изготовлении суперобложки применяем полимерную пленку толщиной 20
мкм. Необходимая при изготовлении издания площадь полимерной пленки
соответствует площади всех суперобложек. Поставляется полимерная пленка
рулонами.
Выбираем полимерную пленку GMP в рулонах шириной 457 мм ―
так мы сможем отправлять
на припрессовку сразу два экземпляра суперобложки, расположив их вдоль (205 мм
+ 205 мм + расстояние между ними).
Необходимое количество полимерной пленки:
(5000/2)Ч(0,47+0,2) = 1175 метров
без учета расхода на брак, 0,2 м ― интервал между каждой партией
суперобложек.
Общее количество: 1775+1175Ч0,08 = 1317 метров.
6.6 Расчет
количества фольги для тиснения
Для оформления переплетной крышки используется тиснение фольгой. Для
тиснения используется фольга для горячего тиснения LR 88 золотистого цвета.
Основной ее характеристикой является высокая четкость изображения, широкий
температурный режим, что позволяет применять различные виды рисунка и шрифтов.
Ширина рулона - 0,175 метров.
Площадь тиснения золотой фольгой - 75Ч30 мм на лицевой части и 30Ч35 мм
на корешке (110Ч30 мм). По ширине рулона фольги для тиснения располагаем по
одному лицевому и одномукорешковому оттиску.
Интервал подачи фольги - 25 мм.
(30+25) Ч5000 = 275 метров без учета расхода на брак.
Общее количество фольги: 275+275Ч0,05 = 288 метров.
Количество отходов ― около 20%.
6.7 Учет
количества отходов производства
Любое производство сопровождается определенным количеством отходов,
которые стоит учитывать при проектирвоании производственного процесса и запасов
сырья и полуфабрикатов.
Причины возникновения отходов обуслолены не только неидеальностью
технологических процессов, но также несовпадением форматов материалов,
издержками при резке, подрезке, печати и других операциях.
Таблица 1. Величина отходов в процентах по операциям послепечатного
участка
|
№
|
Наименование операции
|
Количество отходов, %
|
|
1.
|
Подрезка после печати
|
0,2
|
|
2.
|
Фальцовка
|
0,3
|
|
3.
|
Подрезка блоков тетрадей с
трёх сторон
|
0,5
|
|
4.
|
Подборка тетрадей и шитье
|
0,5
|
|
5.
|
Приклейка форзацев
|
0,2
|
|
6.
|
Вставка в переплетную
крышку
|
0,5
|
|
7.
|
Тиснение
|
2
|
|
8.
|
Припрессовка полимерной
пленки
|
3
|
|
9.
|
Всего
|
7,2
|
Получившийся процент отходов соответствует существующим нормам реального
производства (6-8%).
7. Выходной
контроль качества продукции
7.1
Контроль резательных работ
Качество резки определяется по следующим показателям:
) точность получаемых размеров;
) отсутствие косины по длине и ширине;
) гладкость обреза стопы, отсутствие рисок, шероховатости;
) отсутствие следов прижимной балки;
) отсутствие слипания кромок листов на поверхности среза;
) полная разрезка всех листов в стопе, особенно нижних.
Допуски на точность резки определяются в зависимости от вида продукции.
При выполнении работ стоит следить за состоянием лезвий и марзанаво
избежание появления дефектов.
7.2
Контроль качества фальцовки
Качество фальцовки определяется:
1) плотностью затяжки фальцев;
) отсутствием складок и морщин;
) правильной последовательностью страниц в тетради;
) точностью фальцовки.
При появлении каких либо дефектов фальцовки стоит обратить внимание на
настройки фальцевального оборудования.
Также следует следить за правильностью макета фальцовки и соблюдением
порядка страниц в издании.
7.3
Контроль качества комплектовки
Скомплектованные блоки должны отвечать следующим требованиям:
) наличию полного комплекта тетрадей данного издания;
) отсутствие лишних тетрадей;
) наличие и ровность приклейки форзацев;
) наличие необходимых вклеек и иллюстраций;
) правильность взаиморасположения тетрадей в блоке;
) отсутствию перевернутых тетрадей и листов;
) отсутствие загрязненных, деформированных тетрадей.
При комплектовке блока должен быть эталонный образец, для сравнения с ним
новых скомплектованных блоков и своевременного выявления ошибок.
7.4
Контроль качества сборки блоков
Крайне важен контроль блоков после сборки, так как операции сшивания
блоков и приклейки форзацев характеризуются достаточным количеством брака.
Блоки, сшитые нитками, оценивается по показателям:
1) наличию полного числа тетрадей издания;
) отсутствию перевернутых тетрадей;
) правильности применения вида шитья;
) отсутствию обшивок, обрывов ниток и спущенных петель;
) отсутствию смещения в положении фальцев в корешке и по верхнему
краю от общей плоскости (+/-1 мм);
) отсутствию смещения проколов от сгиба тетрадей (+/-1 мм);
) правильности положения и ширины клеевой полоски на крайних
тетрадях (с учетом допусков);
) плотности шитья;
) ровность краев марли и ширина марлевых клапанов.
Приклейка форзацев контролируются следующими показателями качества:
1) величине отступа корешкового сгиба форзаца от корешкового сгиба
тетради;
2) ширине склейки;
) точности совмещения верхнего края форзаца с верхним краем тетради;
) плотности приклейки окантовки
7.5
Контроль качества тиснения
При тиснении на переплетных крышках точность положения оттиска
оценивается визуально. Для сравнения печатник должен иметь эталонный образец
переплетной крышки с правильным положением соответствующих деталей изображения.
Допуск составляет 1,5 мм на 100 мм длины.
Резкость тиснения - это отсутствие размытости, пилообразных выступов на
краях элементов оттиска. При тиснении фольгой резкость ухудшается в результате
чрезмерных давления и температуры. Допуск на показатель резкости составляет
0,15 мм и контролируется печатником визуально с помощью лупы.
В целом по изданию качество получаемой продукции должно контролироваться
на всех технологических стадиях и после выполнения каждой операции в отдельности,
дабы предотвратить попадание бракованно продукции на дальнейшие технологические
этапы производства или оформления. Кроме того, оперативная реакция на брак
зачастую способствует предотвращения развития дефектности всего тиража.
Заключение
При выполнении данной работы не только был усвоен материал по курсу
«Технологии Послепечатных Процессов», но и приобретены новые качественные
навыки в этой области. Пошаговое восстановление всех послепечатных операций
существующего издания позволило почувствовать проблемы при подборе материалов и
оборудования. Была использована различная информация о технических операциях,
машинах, методах и сырье послепечатного оборудования; произведен расчет
реального тиража; закреплены теоретические и практические навыки.