۷Ð
ïðè ÷èñëå
ìèêðîòâ¸ðäîñòè
Í îòðàæàþò
ôîðìó
îñíîâàíèÿ
ïèðàìèäû è
öàðàïàíèå,
âûïîëíåííîå
ðåáðîì
ïèðàìèäû.
Ìàòåðèàëû
âûñîêîé
òâ¸ðäîñòè
ðåêîìåíäóåòñÿ
èñïûòûâàòü
òð¸õãðàííîé
ïèðàìèäîé.
Äëÿ
íàíåñåíèÿ
êàíàâîê
öàðàïàþùåé
àëìàçíîé
ïèðàìèäîé è
èçìåðåíèÿ
øèðèíû b
êàíàâîê
ïðèìåíÿþò
ïðèáîðû äëÿ
èçìåðåíèÿ
ìèêðîòâåðäîñòè
òèïà ÒÇ ïî
ÃÎÑÒ 10717-75.
Ïðè
èçìåðåíèè
ìèêðîòâ¸ðäîñòè
öàðàïàíèåì
äîëæíû
ñîáëþäàòüñÿ
ñëåäóþùèå
óñëîâèÿ:
.
ïëàâíîå
âîçðàñòàíèå
íàãðóçêè äî
çàäàííîãî
çíà÷åíèÿ â
ìîìåíò
ïîãðóæåíèÿ
àëìàçíîé
ïèðàìèäû â
ìàòåðèàë äî
íà÷àëà ïðîöåññà
öàðàïàíèÿ;
.
ñîõðàíåíèå
ïîñòîÿíñòâà
ïðèëîæåííîé
íàãðóçêè â òå÷åíèå
ïðîöåññà
öàðàïàíèÿ;
.
äîïóñêàåìûå
ïîãðåøíîñòè
íàãðóæåíèÿ
íå äîëæíû
ïðåâûøàòü:
äëÿ
íàãðóçîê 0,1 Í
è ìåíåå - íå
áîëåå 2% îò
íîìèíàëüíîé;
äëÿ
íàãðóçîê
áîëåå 0,1 Í- íå
áîëåå 1% îò
íîìèíàëüíîé.
.
èñïûòóåìàÿ
ïîâåðõíîñòü
äîëæíà áûòü
ïëîñêîé,
ñâîáîäíîé
îò çàãðÿçíåíèÿ
íà ó÷àñòêå
íàíåñåíèÿ
êàíàâîê.
Øåðîõîâàòîñòü
èñïûòóåìîé
ïîâåðõíîñòè
äîëæíà áûòü
íå íèæå Ra = 0,32
ìêì.
. ïðè
ïîäãîòîâêå
ïîâåðõíîñòè
íåîáõîäèìî
ïðèíÿòü ìåðû
ïðåäîñòîðîæíîñòè
ïðîòèâ âîçìîæíîãî
èçìåíåíèÿ
òâåðäîñòè
èñïûòóåìîé
ïîâåðõíîñòè
âñëåäñòâèå
íàãðåâà èëè
íàêëåïà â
ðåçóëüòàòå
ìåõàíè÷åñêîé
îáðàáîòêè.
.
èñïûòóåìîå
èçäåëèå
äîëæíî áûòü
óñòàíîâëåíî
íà
ïðåäìåòíîì
ñòîëèêå
ïðèáîðà òàê,
÷òîáû â
ïðîöåññå
èñïûòàíèÿ
îíî íå
ñìåùàëîñü,
íå
ïðîãèáàëîñü
è íå
ïîâîðà÷èâàëîñü.
.
ïîâåðõíîñòü,
ïîäëåæàùàÿ
èñïûòàíèþ,
äîëæíà áûòü
óñòàíîâëåíà
ïåðïåíäèêóëÿðíî
ê îñè
ïèðàìèäû
öàðàïàþùåãî
íàêîíå÷íèêà.
.
ðàáî÷àÿ
ïîâåðõíîñòü
àëìàçíîé
ïèðàìèäû è
èñïûòóåìàÿ
ïîâåðõíîñòü
äîëæíû áûòü
ñóõèìè (áåç
ñìàçêè).
.
ìèíèìàëüíàÿ
òîëùèíà
ìàòåðèàëà
èëè ñëîÿ
äîëæíà
ïðåâûøàòü
ãëóáèíó
êàíàâêè íå
ìåíåå ÷åì â 10
ðàç.
. íà
îáîðîòíîé
ñòîðîíå
èñïûòóåìîãî
èçäåëèÿ
ïîñëå
íàíåñåíèÿ
êàíàâêè íå
äîëæíî áûòü
çàìåòíûõ
ñëåäîâ
äåôîðìàöèè
ìàòåðèàëà.
.
ðàññòîÿíèå
îò îñè
êàíàâêè äî
êðàÿ ïîâåðõíîñòè
äîëæíî áûòü
íå ìåíåå
äâîéíîé øèðèíû
b êàíàâêè.
.
ðàññòîÿíèå
ìåæäó
öåíòðàëüíûìè
îñÿìè íåñêîëüêèõ
ñìåæíûõ
êàíàâîê,
íàíåñåííûõ
íà îäíó
ïîâåðõíîñòü,
äîëæíî áûòü
íå ìåíåå 3b.
.
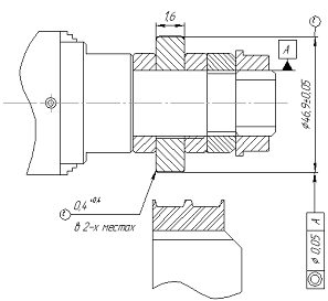
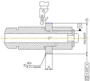
испытания проводят при температуре окружающей среды плюс 20±5°С.
При
испытании поверхности царапанием применяются нагрузки: 0,049; 0,098; 0,196;
0,490; 0,981 и 1,962 Н (0,005; 0,010; 0,020; 0,050; 0,100 и 0.200 кгс).
При
выборе значений нагрузок в случае однородного материала испытуемой поверхности
исходят из предполагаемой глубины канавки.
Длина
канавки должна быть не менее 0,25 мм. Канавку следует наносить равномерным и
непрерывным вращением рукоятки микрометрического винта предметного столика
примерно на пол-оборота за 10-12 с.
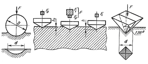
Рисунок
15 - Четырёхгранная пирамида в процессе царапания ребром:
-
ребро пирамиды; 2 - наплыв; h - глубина канавки; b - ширина
канавки; F - нагрузка, Н; А - направление царапания.
Механизм
образования канавок на испытуемой поверхности при царапании ребром состоит в
пластическом деформировании материала преимущественно сдвигом в сторону
(Рисунок 4) и смещением его в направлении от оси к краям канавки; при этом
сопротивление царапанию связывается с прочностью материала, которая считается
тем большей, чем меньше ширина (глубина) канавки.
При
царапании гранью механизм образования канавок в начале процесса также состоит в
пластическом деформировании, однако, со сдвигом вперед. В последующем,
вследствие подрезания материала ребрами, на концах фронта сдвига создаются
благоприятные условия для отделения сдвигаемого материала вверх - появляется
стружка.
Метод
царапания используется в таком приборе как склерометр.
Данный
метод наиболее эффективен, т.к. твёрдость определяется на глубине 3 мкм, а это
та глубина, где зарождаются трещины, наклёп, сдвиги и другие характерные
процессы.
2.2
Описание блок-схемы комплекса для измерения твёрдости
Рисунок
16 - Блок - схема комплекса для измерения твёрдости:
ДПС
- датчик положения стола; ДПТ - датчик положения тестера; ЦП - центральный
процессор; ШДВ - шаговый двигатель для перемещения винта; ШДС - шаговый
двигатель для перемещения стола; ШДТ - шаговый двигатель для перемещения
тестера
Центральный
процессор (ЦП) необходим для того, чтобы в него вносить настройки перед началом
измерения, а также для принятия данных о проведённом измерении, занесении
данных в протокол и выводе на печать [СамГТУ.200501.059.009.08].
Контроллер
используется для подачи управляющих сигналов на датчики положения (ДПС и ДПТ),
шаговые двигатели (ШД), а также для передачи полученных данных об измерении в
ЦП.
Датчики
положения необходимы для определения положения тестера и стола и возврата их в
исходное положение.
Шаговый
двигатель осуществляет внедрение индентора в деталь.
Линейные
двигатели нужны для перемещения тестера и стола с испытуемой деталью.
Источник
опорного напряжения необходим для питания полумоста, в котором содержатся два
тензорезистора, работающих в противофазе. Источник опорного напряжения выдаёт
стабилизированное напряжение 2,5 В. Сигнал с тензодатчика силы поступает на
усилитель, который осуществляет усиление малого сигнала.
Стабилизатор
осуществляет питание усилителей и выдаёт напряжение в 5 В.
Сигнал
с ёмкостного датчика перемещения усиливается усилителем.
Далее
сигналы с обоих усилителей передаются на контроллер для обработки, а затем на
центральный процессор, где фиксируются в бланках и выводятся на печать.
2.3
Методика выполнения измерения твёрдости на модернизированном тестере
При
подготовке к проведению измерений необходимо соблюсти следующие требования
(нормальные условия измерения) [13]:
.
температура окружающей среды 293±5К (+20±5ºС);
.
относительная влажность окружающего воздуха 30…80%;
.
атмосферное давление 100±4 кПа (750±30 мм.рт.ст.);
.
напряжение питания сети - 220±10В, частота - 50±5Гц.
В
помещении, где производятся измерения не должно быть дыма, пыли, агрессивных
паров. Только при выполнении данных условий возможно проведение измерений.
.
Модернизированный прибор установить на стол, обеспечивающий защиту прибора от
воздействия вибраций, передаваемых через стены и пол здания.
.
Прибор заземлить.
.
Перед проведением измерения необходимо тщательно протереть поверхности детали и
поверхность стола, на который деталь устанавливается.
.
В ЦП ввести все параметры необходимые для проведения измерения.
.
Далее включаются в работу датчики положения стола (ДПС) и тестера (ДПТ),
которые возвращают модуль и стол в первоначальное положение. Координаты
начального положения запрограммированы в контроллере.
.
Установить деталь на стол.
Рисунок
17 - Тестер и деталь
.
С контроллера поступает сигнал на линейный двигатель ЛДТ, перемещающий тестер
до касания с деталью. После касания индентора с мерой, подвеска, на которой
зафиксирована одна из обкладок измерительного конденсатора, упирается в
поверхность и перестаёт двигаться, а кронштейн, на котором установлена вторая
обкладка продолжает опускаться вниз. При этом на выходе ёмкостного датчика
появляется сигнал, по которому определяется момент касания. Этот сигнал
поступает на контроллер.
.
С контроллера поступает сигнал на шаговый двигатель, который давит на винт
через муфту, а винт, в свою очередь, давит на рамку с закрепленным на ней
тензодатчиком. Индентор внедряется в деталь на глубину 3 мкм.
.
Далее с контроллера подаётся сигнал на линейный двигатель (ЛДС), который
перемещает стол с деталью. Перемещение производится на расстояние, равное 250
мкм. Это расстояние программируется в контроллере.
.
Сигналы с ёмкостного датчика перемещения и тензодатчика силы поступают в
контроллер, где обрабатываются в формуле 9:
где
Р - нормальная нагрузка, кгс (с тензодатчика);
h - глубина
борозды, мм (с ёмкостного датчика).
Итогом
вычисления является значение твёрдости.
.
Далее значение твёрдости поступает на визуальный контроль оператору на ЦП.
.
После того, как стол переместился на 250 мкм, срабатывает датчик положения
(ДПТ), который перемещает тестер в вертикальном направлении в первоначальное
положение. Полученное значение твёрдости и другие параметры при измерении
фиксируются в протоколе измерений, а далее - выводятся на печать.
2.4
Описание схемы электрической принципиальной
Датчик
силы тензометрический реализован по полумостовой схеме.
[СамГТУ.200501.059.009.09]. В измерительном мосте содержатся два
тензорезистора, работающих в противофазе, два прецизионных постоянных резистора
с таким же сопротивлением. В одно из плеч моста включен подстроечный резистор
для балансировки моста, для повышения чувствительности подстроечного резистора
(многооборотного) параллельно ему дополнительно подсоединен постоянный резистор
с малым сопротивлением. Это позволяет снизить падение напряжение в данной ветке
моста и уменьшить изменение потенциала на движке резистора за один оборот. Питание
моста осуществляется от источника опорного напряжения, собранного на микросхеме
REF 192, выдающего стабилизированное напряжение 2,5В.
Полученная
разность потенциалов с плеч моста подается через резисторы R5 и R6 на
вход операционного усилителя, в котором коэффициент усиления задается
соотношением сопротивлений резисторов R7 и R5. В усилителе
использованы прецизионные резисторы с разбросом 0,1%. Питание усилителя
осуществляется от стабилизатора, собранного на микросхеме КР142ЕН5А, выдающего
напряжение 5В.
Датчик
вертикальных перемещений емкостный, состоящий из высокочастотного генератора,
собранного на базе двух элементов 2И-НЕ. Частота генерируемых колебаний
устанавливается в пределах нескольких мегагерц и устанавливается времязадающей
цепочкой R1, C1. Сигнал от генератора по экранированным проводам
поступает на емкостный датчик, состоящий из двух пластин (подвижной и
неподвижной), составляющих обкладки измерительного конденсатора. После
конденсатора высокочастотный сигнал детектируется диодами D1, D2 и
фильтруется конденсатором С2, после которого на выходе получаем постоянное
напряжение, величина которого зависит от емкости измерительного конденсатора.
Для повышения чувствительности емкостного преобразователя полученный сигнал
усиливается инструментальным усилителем, собранным на базе двух операционных
усилителей. При этом имеется возможность задавать нулевой уровень датчика при
помощи потенциометра, напряжение от которого поступает на один из входов
усилителя. Для установки нуля на движке потенциометра устанавливается
напряжение, равное сигналу емкостного датчика. При повышении измеряемого
сигнала, на выходе усилителя получаем напряжение, равное разностному сигналу,
умноженному на коэффициент усиления.
Сигналы
от емкостного и тензометрического датчиков поступают на аналоговый вход
контроллера, где происходит дальнейшая оцифровка сигналов и их преобразование
по заданному алгоритму.
.5
Обзор измерительных преобразователей для контроля силы и перемещения
Для
измерения силы и перемещения могут использоваться магнитоупругие, ёмкостные,
тензорезистивные, индуктивные и пьезоэлектрические измерительные
преобразователи [СамГТУ.200501.059.009.07].
2.5.1 Магнитоупругие ИП
Принцип действия и конструкции магнитоупругих ИП [1, 2, 4].
Принцип действия магнитоупругих ИП основан на магнитоупругом эффекте и
заключается в изменении магнитной проницаемости ферромагнитного материала под
действием упругих деформаций.
Магнитоупругие ИП являются разновидностью индуктивных ИП с замкнутым
магнитопроводом. При наличии второй обмотки он может работать как
трансформаторный преобразователь.
Различные варианты выполнения магнитоупругих ИП показаны на рис. 8.5. При
воздействии механической силы F в
чувствительном элементе 1 возникают механические напряжения s, которые обусловливают изменение
магнитной проницаемости m чувствительного элемента и магнитного сопротивления RM преобразователя. При этом изменяется
индуктивность L обмотки 2 (рис. 8.5 а) или взаимная
индуктивность М между обмотками 2 и 3 (рис. 8.5 б, в).
а)
б) в)
Рисунок 18 - Магнитоупругие ИП:
F -
нагрузка, Н; 1 - чувствительный элемент; 2, 3 - обмотки.
В
магнитоупругих преобразователях возможно использование изменения магнитной
проницаемости в одном направлении (рис.8.5 а, б) и использование изменения
магнитной проницаемости вследствие анизотропии магнитных свойств ферромагнитных
тел при их деформации, в двух взаимно перпендикулярных направлениях. В первом
случае реализуется цепь преобразований
. При
действии силы P в материале сердечника возникает механическое
напряжение σ,
изменяется μ, следовательно, и магнитное сопротивление сердечника Zм, а также индуктивность катушки L. А
во втором-
. При действии силы вследствие изменения магнитной
проницаемости изменяется взаимная индуктивность М между обмотками и ЭДС
вторичной обмотки Еz. Обмотки преобразователя 2 и 3 (рис. 8.5 в),
основанного на анизотропии свойств, располагаются под углом 900 друг
к другу. Преобразователь собран из пакета пластин, имеющих четыре отверстия. В
отверстия уложены две обмотки: питания w1 и измерительная w2. Они расположены под углом 450 к
направлению действия силы и под углом 900 друг к другу.
Достоинствами
магнитоупругих ИП являются:
)
большая выходная мощность, так как в них все тело чувствительного элемента,
воспринимающего измеряемое усилие, является активным;
)
малый прогиб под действием нагрузки;
)
малое электрическое сопротивление.
2.5.2
Тензорезистивные ИП
Принцип
действия тензорезистивных ИП [1, 2, 3, 4, 5] основан на явлении тензоэффекта,
который заключается в изменении электрического сопротивления проводников и полупроводников
при их деформации (т. е. при изменении размеров).
Рисунок
19 - Конструкция тензорезистора:
-
подложка; 2 - тонкая проволока; 3 - контакты; 4 - тонкая бумага; 5 -
исследуемая поверхность; а - ширина преобразователя; l0 - длина (база) преобразователя.
Устройство
наиболее распространённого прополочного тензорезистора схематически
представлено на рис 8.3.
На
полоску бумаги (пленку клея) 1, называемую подложкой, наносится зигзагообразно
тонкая проволока 2 (диаметром 0,02÷0,03 мм), к концам которой привариваются или припаиваются
контакты 3 из металлической фольги. Все это заливается клеем, а сверху
проволока часто заклеивается еще тонкой бумагой 4 для предохранения от
механических повреждений. Для изготовления проволок используются константам,
нихром, платиноиридиевый сплав и др.
Длина
l0 (рис.
19) называется базой преобразователя. Обычно l0 равна 8÷15 мм. Однако в специальных случаях применяют
тензорезисторы и с малой базой (до 2,5 мм). Ширина
преобразователей - от 3 до 10 мм;
сопротивление-порядка 50÷150
Ом. Когда размеры преобразователя не
ограничиваются, то длина базы достигает 100 мм, а сопротивление - 800÷1000 Ом.
Образованная
указанным способом решетка проволоки приклеивается к исследуемой детали 5 и
воспринимает деформацию последней. Вместе с деформацией детали деформируется
проволока, тем самым изменяется сопротивление преобразователя вследствие
явления тензоэффекта. Входной величиной преобразователя является деформация,
выходной-изменение сопротивления.
При
деформации проводника изменяется его длина l и площадь
поперечного сечения Q. Деформация кристаллической решётки приводит к
изменению удельного сопротивления ρ. Эти изменения приводят к изменению сопротивления проводника как
показано в выражении 10:
(10)
Этим
свойством обладают в большей или меньшей степени все проводники.
2.5.3 Ёмкостные преобразователи
Ёмкостные преобразователи [1, 2, 4, 5] представляют собой плоские или
цилиндрические конденсаторы, ёмкость которых изменяется под воздействием
неэлектрической величины.
Для плоского конденсатора емкость определяется по формуле 11:
(11)
а
для цилиндрического конденсатора - по выражению 12:
, (12)
где εа -
абсолютная диэлектрическая проницаемость среды между обкладками конденсатора;
Q -
площадь обкладок конденсатора;
δ - расстояние между обкладками;
X -
длина активной части электродов цилиндрического конденсатора;
d1,
d2 - радиусы внутреннего и внешнего электродов цилиндрического
конденсатора.
Рисунок 20 - Конструкция ёмкостного ИП:
Х - воздействие; δ - расстояние между электродами; b - ширина электродов; r - длина электродов.
Конденсатор состоит из двух электродов (рис.20), к которым подсоединены
выводные концы. Пространство между электродами заполнено диэлектриком. При
изменении взаимного положения электродов или при изменении диэлектрической
проницаемости среды, заполняющей межэлектродное пространство, изменяется
ёмкость конденсатора.
В качестве ёмкостного преобразователя широко используется плоский
конденсатор.
Емкостные ИП относятся к группе электростатических преобразователей, у
которых входная измеряемая величина связана с изменением емкости системы или с
величиной электрического заряда.
Действие емкостных преобразователей основано на преобразовании входной
величины в изменение емкости конденсатора, которая является функцией расстояния
h между электродами, площади электродов Q и диэлектрической проницаемости e диэлектрика между электродами C =
F(h, Q, e). Емкостные ИП могут быть
использованы для измерения любых физических величин, которые функционально
связаны с h, Q и e
(перемещений, силы, геометрических размеров - толщины, уровня и др.).
ЕИП в общем случае состоит из диэлектрика, электродов, между которыми
располагается диэлектрический материал, выводов и различных конструктивных
элементов. Диэлектрик может находиться в жидком, твердом и газообразном
состоянии. Электроды могут выполняться в виде плоскопараллельных пластин,
коаксиальных цилиндров и других конструкций и форм.
В основу принципа действия могут быть положены:
) изменение расстояния между обкладками;
2)
изменение площади перекрытия обкладок;
)
изменение e диэлектрика или части его.
К
достоинствам ЕИП можно отнести:
)
принципиальное отсутствие шумов, в отличие от резистивных и индуктивных ИП;
)
отсутствие самонагрева;
)
простоту конструкции, малую массу и габариты;
)
возможность соответствующим выбором формы подвижного и неподвижного электродов
получить заданную функциональную зависимость между изменением емкости и входным
линейным или угловым перемещением (в преобразователях с переменной площадью
перекрытия электродов);
)
малую силу притяжения электродов;
)
возможность применения как для статических, так и для динамических измерений;
)
высокую чувствительность к малым перемещениям (для преобразователей с
изменяющимся зазором);
)
высокую стабильность, так как в уравнение преобразования входят только
геометрические размеры, которые при надлежащей конструкции достаточно стабильны;
)
простоту конструкции;
)
малую массу и размеры.
Недостатками
емкостных преобразователей являются:
)
малая емкость и высокое выходное сопротивление преобразователя;
2)
зависимость результата измерения от изменения емкости кабеля;
)
малая выходная мощность;
)
необходимость использования источников питания повышенной частоты;
)
влияние паразитных ёмкостей.
При
современной технологии изготовления датчиков зазор может быть доведён до 5-10
мкм и порог чувствительности оценивается значениями 10-14м.
2.5.4 Пьезоэлектрические преобразователи
Принцип действия и материалы пьезоэлектрических ИП [1, 2, 3, 4, 5].
Принцип действия пьезоэлектрических измерительных преобразователей
основан на пьезоэлектрическом эффекте, т. е. возникновении электрических
зарядов на поверхности некоторых кристаллических диэлектриков под действием
механических сил или деформаций (рис.21).
Схема устройства пьезопреобразователя приведена на рис. 2.16.
Преобразователь состоит: из двух пьезопластинок 1, расположенных так,
чтобы их обращенные друг к другу грани имели заряды одного знака; из
металлической прокладки 2; основания 3; нажимного устройства 4; изолятора 5;
вывода 6. Под действием измеряемой силы F пьезопластины будут сжаты и на
выводе 6 появится отрицательный потенциал, а на основании 3 положительный;
отрицательный потенциал подается на усилитель, т.к. выходная мощность
пьезоэлектрических преобразователей очень мала.
Указатель прибора отградуирован в единицах силы F.
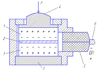
Рисунок 21 - Схема устройства пьезоэлектрического преобразователя:
F -
нагрузка, Н; 1 - пьезопластины; 2 - металлическая прокладка; 3 - основание; 4 -
нажимное устройство; 5 - изолятор; 6 - вывод.
Пьезоэлектрические преобразователи применяются для измерения: силы,
давления, перемещения и количества вещества.
Основная погрешность пьезоэлектрического манометра не превышает ±2%.
Выходной величиной преобразователя является напряжение. Функция
преобразования имеет вид, представленной в выражении 13:
, (13)
где
d - пьезомодуль;
d - расстояние межу электродами;
Q - площадь
электродов;
e - относительная диэлектрическая проницаемость пьезоэлектрика;
e0 -
абсолютная диэлектрическая проницаемость пьезоэлектрика;
Р
- давление.
При
измерении статических величин (сил, давлений и т. п.) на выходе
пьезоэлектрического ИП появляется постоянное напряжение, которое из-за утечки
заряда через конечное объемное сопротивление и по поверхности ИП быстро падает.
Заряд, возникающий на гранях преобразователя, будет сохраняться только в том
случае, если нет токов утечки. При действии переменной величины заряд постоянно
восполняется. Поэтому пьезоэлектрические ИП применяются для измерения
динамических величин.
Достоинствами
пьезоэлектрических ИП являются:
)
малые габариты;
)
простота конструкции;
)
высокая надежность;
)
возможность измерять быстропеременные процессы;
)
высокая точность преобразования механических напряжений в электрический заряд.
Например, для ИП из кварца погрешность преобразования составляет 10-4
- 10-6.
К
недостаткам следует отнести:
)
невозможность измерять статические величины;
)
наличие нелинейности и гистерезиса;
)
трудность градуировки;
)
сложность экранировки и защиты от помех и наводок;
)
необходимость в качественных усилителях.
2.5.5
Индуктивные ИП
Принцип
действия индуктивных ИП [1, 2, 4, 5] основан на изменении собственной
индуктивности катушки. Индуктивный преобразователь представляет
собой катушку индуктивности, параметры которой изменяются под воздействием
входной величины.
В
общем случае индуктивный преобразователь состоит из катушки индуктивности,
магнитопровода и подвижного ферромагнитного сердечника (якоря). Входная
величина Х изменяет взаимное расположение катушки и якоря, или отдельных частей
магнитопровода. При этом изменяется индуктивность катушки и ее полное
сопротивление. Индуктивность катушки можно изменить также путём изменения
площади воздушного зазора, изменением механического напряжения в ферромагнитном
сердечнике и, следовательно, его магнитной проницаемости.
На
рис. 22 представлен ИП: с переменной длиной воздушного зазора.
Рисунок
22 - Конструкция индуктивного ИП:
х
- перемещение якоря; δ
- зазор; 1 - катушка; 2 -якорь; 3 -
магнитопровод.
К
достоинствам индуктивных ИП можно отнести:
)
большой диапазон измеряемых линейных и угловых перемещений;
)
большую мощность выходного сигнала (до 5 Вт), что позволяет обойтись без
дополнительного усиления;
)
высокую чувствительность;
)
надежность;
)
возможность питания от сети (для многих случаев).
Недостатками
индуктивных ИП являются:
)
большая инерционность;
)
наличие электромагнитных сил притяжения.
)
функции преобразования одинарных ИП нелинейны;
)
аддитивные погрешности одинарных ИП велики;
)
сила притяжения якоря одинарного ИП значительна.
2.6
Датчик для измерения силы
Для
измерения силы используется тензодатчик 2ФКП-5х200 [16]
[СамГТУ.200501.059.009.10]. Тензодатчики обладают рядом преимуществ по
сравнению с другими измерительными преобразователями для измерения силы, а
именно: тензодатчику присущи высокая надёжность, миниатюрность, малогабаритность,
бесконтактность и др.
Тензорезисторы
(рис.23) предназначены для измерения деформации при статических нагрузках, а
также в качестве чувствительных элементов силоизмерительных датчиков в условиях
макроклиматических районов с умеренным и холодным климатом.
Диапазон
измеряемых деформаций - ± 3000 млн.-1
Ток
питания, не более - 25 мА.
Диапазон
рабочих температур эксплуатации от -50°С до +70°С.
Рисунок
23 - Тензорезистор 2ФКП-5х200
Характеристики
2ФКП-5х200:
электрическое
сопротивление 200±0,35% Ом;
предельное
относительное отклонение сопротивления
=0,35 %;
чувствительность
при нормальных условиях К=1,9…2,3;
температурный
коэффициент чувствительности
=0,8…1,1;
максимальное
значение температурной характеристики сопротивления (ТХС) в рабочей области
температур (xtm) ξτm=800…4000мкОм;
ползучесть
при нормальных условиях (П) Π=0,5%;
-
ползучесть при максимальной температуре (Пt) Πt=2,0%;
сопротивление
изоляции в рабочей области температуры Rизм.min=500Мом.
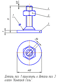
На
рисунке 24 представлены тензодатчики и тензопреобразователь.
Рисунок
24 - Тензодатчик и схема тензопреобразователя
Тензодатчик
и контактная колодка прикрепляются к пружине с помощью клея «Контакт - Гель».
Выводы тензодатчика припаиваются к контактной колодке при помощи припоя ПОС 61.
Рисунок
25 - Крепление тензодатчика
.7
Датчик для измерения перемещений
В
качестве датчика для измерения перемещений используется ёмкостный датчик (рис.
26), обладающий рядом преимуществ по сравнению с другими измерительными
преобразователями, выполняющими ту же функцию, а именно: высокой надёжностью,
не требует наладки и ремонта, выгоден с экономической точки зрения, так как в
разы дешевле, чем, например, индуктивный датчик и т.п. Емкостный датчик
представляет собой конструкцию, выполненную в виде двух текстолитовых пластин
площадью около 2-х квадратных сантиметров, фольгированных медной пленкой
толщиной 0,2 мм с зазором между ними около 1 мм.
Рисунок
26 - Ёмкостный датчик и схема ёмкостного преобразователя
Нижняя
обкладка конденсатора приклеена к подвеске (рис. 27). Верхняя приклеена к
регулировочному винту, с помощью которого можно устанавливать рабочую точку
емкостного датчика вертикальных перемещений индентора.
2.8
Датчик положения
Магнитные
системы измерения перемещений (магнитные линейки) - одно из наиболее
продвинутых решений в области точных измерений расстояний и углов и точного
позиционирования.
Магнитная
измерительная система состоит из гибкой магнитной линейки, жестко
устанавливаемой на измеряемую поверхность, например, станину или направляющую,
и подвижной сенсорной головки, которая крепится к подвижному узлу машины или
станка и служит для определения местоположения этого узла относительно
неподвижной части станка или механизма.
Устройство
и принцип работы
Принцип
работы магнитной измерительной системы заключается в определении местоположения
магнитного датчика относительно нулевой отметки магнитной линейки путем
определения направления и величины (напряженности) магнитного поля.
Магнитная
линейка представляет собой многослойную ленту, состоящую из подложки с
нанесенным на нее магнитным слоем и защитного покрытия. С изнаночной стороны на
магнитную линейку наносится адгезивный (клеящий) слой, защищенный
воздухонепроницаемой пленкой.
Магнитный
слой определяет характеристики магнитного поля линейки - оно зависит от
количества магнитных полюсов (масштабных штрихов) в магнитном слое и расстояния
между ними.
Расстояние
между полюсами магнитов напрямую влияет на скорость считывания данных магнитным
сенсором и определяет быстродействие системы и ее номинальные рабочие скорости.
Разрешающую способность, т.е. абсолютную точность измерений, обеспечивает
чувствительность магнитного датчика.
Скорость
поворотных перемещений определяется, соответственно, как скорость сдвига
магнитных полюсов относительно считывающей головки.
Отличительные
преимущества:
Основные
преимущества магнитной системы измерения:
простота
конструкции;
большие
допуски на погрешности при монтаже;
легкость
монтажа (магнитную линейку можно просто приклеить на рельс, станину, поворотный
стол);
простота
эксплуатации и ТО;
высокая
точность измерений (до 0,025 мм и выше);
высокое
разрешение (до 0,005 мм и выше);
высокие
рабочие скорости (до 25 м/с и выше);
защищенность
от внешних воздействий (класс защиты IP 67 по DIN 40050);
адекватная
цена.
Выбор
измерительной системы
Выбор
измерительной системы определяют несколько факторов. В первую очередь, это
назначение (характер применения) машины или механизма и предъявляемые в
соответствии с этим назначением технические требования к отдельным компонентам
системы. Как и в случае с любой другой высокотехнологичной продукцией, здесь
практически невозможно добиться одновременного сочетания в одном изделии таких
свойств, как высокое качество, высокая надежность и низкая цена.
В
случае с измерительными системами качество изделия подразумевает такие
показатели как скорость и точность измерения расстояния или угла, точность
позиционирования, повторяемость, скорость передачи данных.
Надежность
и цена магнитных измерительных систем сравнивается с аналогичными характеристиками
продукции других производителей или характеристиками измерительных систем с
иным принципом работы (дисковых энкодеров или лазерных датчиков расстояний).
Повторяемость. Высокие показатели повторяемости (многократный точный
останов в позиции по сигналу энкодера) требуются в автоматизированных сборочных
системах, промышленных роботах и манипуляторах.
Скорость. Быстрое считывание сигнала позиции необходимо в
высокодинамичных производствах, таких, как скоростная конвейерная обработка, а
так же для операций подвода/отвода инструмента (заготовки), захвата, подачи или
транспортировки.
Скорость
обмена данными. Этот показатель
напрямую влияет на качество обратной связи и определяется техническим уровнем
системы управления (ЧПУ), операционной системой, применяемыми протоколами,
рабочей частотой и пр., и является критическим для ряда применений, требующих
синхронизации разнесенных по месту процессов, таких как сопровождение цели и
точное наведение на цель, или для одновременного контроля нескольких взаимозависимых
операций.
Цена,
сроки и условия поставки, требования по техническому обслуживанию и т. д. тоже
важны, но в данном случае представляются второстепенными по отношению к
вышеперечисленным характеристикам.
Рисунок
27 - Крепление ёмкостного датчика:
-
винт; 2 - гайка; 3 - неподвижная обкладка конденсатора; 4 - корпус; 5 -
подвижная обкладка; 6 - рамка
2.9
Источник опорного напряжения
Источник
опорного напряжения необходим для выдачи стабильного напряжения, для питания
плеч моста.
В
качестве источника опорного напряжения используется модель REF192
- микромощная, с малой погрешностью (рис. 28) [17].
Рисунок
28 - Источник опорного напряжения REF192
Характеристики
REF192:
технология
кристалла - Bandgap;
выходное
напряжение - 2,5 В;
погрешность
- 2, 5, 10 мВ;
температурный
дрейф - 5, 10, 25 ppm/0С;
максимальный
ток питания - 0,045 мА;
температурный
диапазон - G - индустриальный;
количество
выводов - 8;
тип
корпуса - P-DIP, S-SOIC.
2.10
Стабилизатор
КР142ЕН5 трехвыводной стабилизатор (рис. 29) [18] с фиксированным
выходным напряжением в диапазоне от 5В до 27 В может найти применение в широком
спектре радиоэлектронных устройств. Диапазон напряжений, перекрываемых данной
серией стабилизаторов, позволяет использовать их в качестве источников питания,
логических систем, измерительной техники, устройств высококачественного
воспроизведения и других радиоэлектронных устройств. Несмотря на то, что основное
назначение этих приборов - источники фиксированного напряжения, они могут быть
использованы и как источники с регулированием напряжения и тока путем
добавления в схемы их применения внешних компонентов.
Стабилизатор питает операционные усилители.
Рисунок 29 - Стабилизатор КР142ЕН5.
Особенности:
встроенная защита от перегрева;
встроенный ограничитель тока КЗ;
коррекция зоны безопасной работы выходного транзистора.
Максимальные значения параметров и режимов:
рассеиваемая мощность - внутренне ограничена;
диапазон температур хранения: -55... +150 0С;
рабочий диапазон температур кристалла: -45... +125 0С.
Технические характеристики КР142ЕН5:вых.ном.= 5,0 В;
Uвых.мин.=4,9 В;
Uвых.макс.=5,1 В;
Iвых.макс.=1,5 А;
Uвх.макс.=15 В; Кнест.напр.макс.=0,05
%/В;
Кнест.тока макс.=1,33 %/А.
2.11 Усилитель
В качестве усилителя сигнала с датчиков используется усилитель марки OP293, аналог которого является
усилитель К1463УД2 [19].
К1463УД2 - сдвоенный, прецизионный, низковольтный операционный усилитель
(ОУ) является современной интегральной микросхемой, устойчиво работающей, как
от однополярного, так и от двухполярного источника питания в широком диапазоне
питающих напряжений и имеющей встроенные устройства защиты от перегрузок входов
и выходов микросхемы.
ОУ сочетает малый ток потребления 50 мкА на канал, высокую нагрузочную
способность до 5 мА, напряжение смещения нуля менее 150 мкВ и скорость
нарастания выходного напряжения 20-30 В/мс. Малые размеры, низкая потребляемая
мощность в сочетании с малым напряжением смещения нуля, высоким коэффициентом
усиления от 700000 и подавлением нестабильности питания более 100 дБ позволяют
использовать данные ОУ в малогабаритной аппаратуре, переносной аппаратуре, в
датчиках и в промавтоматике.
Характеристики К1463УД2:
. широкий диапазон питающих напряжений:
для однополярного источника +3,0 В до +33,0 В;
для двухполярного источника ±1,5 В до ±16,5 В
. высокий коэффициент усиления по напряжению 700000
. малое напряжение смещения нуля 150 мкВ
. малый ток потребления на канал 50 мкА
. частота единичного усиления 100 кГц
. высокий коэффициент ослабления синфазных входных
напряжений 100 дБ
. значительное подавление нестабильности питания 100 дБ
. встроенные устройства защиты от перегрузок входов и выходов микросхем
. диапазон рабочих температур от -45 оС до +85 оС
. максимальное выходное напряжение, В, U0 max +13,5…-13,5
. минимальное выходное напряжение, мкВ, U0 min не более 500
. входной ток, нА, II от -15 до +15
. ток потребления, мкА, ICC 100
. коэффициент усиления напряжения, В/мВ, AU не менее 700
2.12 Контроллер
Программируемый логический контроллер, ПЛК - микропроцессорное
устройство, предназначенное для управления технологическими процессами в
промышленности и другими сложными технологическими объектами. Принцип работы
ПЛК заключается в сборе сигналов от датчиков и их обработке по прикладной
программе пользователя с выдачей управляющих сигналов на исполнительные
устройства.
В системах управления технологическими объектами логические команды
преобладают над числовыми операциями, поэтому за этими процессорами остаётся
название ПЛК. Их программирование, диагностика и обслуживание производится
подключаемыми для этой цели программаторами - специальными устройствами
(устаревшая технология) или устройствами на базе PC или ноутбука, со
специальным программным обеспечением. В системах управления технологическими
процессами ПЛК взаимодействуют с системами человеко-машинного интерфейса:
операторскими панелями или рабочими местами операторов на базе PC. Датчики и
исполнительные устройства подключаются к ПЛК централизованно - в стойку ПЛК
устанавливаются модули ввода-вывода, подключенные к датчикам и исполнительным
устройствам отдельными проводами.
Для управления устройствами, используемыми в модернизированном тестере
используется контроллер марки EvalADuC7020 - 8-/10- канальный [20].
Отличительные особенности:
8-/10- канальный S-D АЦП имеет разрешающую способность 16 бит;
фабричная калибровка;
программируемый коэффициент усиления;
технология VREF SELECT, дающая возможность производить абсолютные и
относительные измерения;
потребление: 1,28 мА (типовое значение) при 3 В;
режим пониженного потребления мощности: 30 мкА
Применения:
управление производственными процессами;
контрольно-измерительная аппаратура;
датчики давления;
переносная контрольно-измерительная аппаратура;
мощные передатчики.
2.13 Шаговый двигатель
Шаговый двигатель - это электрический двигатель, преобразующий цифровой
электрический сигнал в механическое движение. Наиболее важной особенностью шагового
двигателя является то, что на каждый импульс управления ротор поворачивается на
фиксированный угол, значение которого в градусах называется шагом. Они имеют
высокую надежность и большой срок службы. В качестве шагового двигателя для
перемещения винта берётся марка FL20STH - маломощный ШД (рис. 30) [21]. Он
выбран из-за того, что необходимо получить перемещение всего лишь в 3 мкм.
Рисунок 30 - Шаговый двигатель FL20STH
Преимущества шагового двигателя:
угол поворота ротора определяется числом импульсов, которые поданы на
двигатель;
прецизионное позиционирование и повторяемость. Хорошие шаговые двигатели
имеют точность от 3 до 5% от величины шага. Эта ошибка не накапливается от шага
к шагу;
высокая надежность, связанная с отсутствием щеток, срок службы шагового
двигателя фактически определяется сроком службы подшипников;
возможность получения очень низких скоростей вращения для нагрузки,
присоединенной непосредственно к валу двигателя без промежуточного редуктора;
может быть перекрыт довольно большой диапазон скоростей, скорость
пропорциональна частоте входных импульсов.
В качестве шагового двигателя используется FL20STH - самые малогабаритные
шаговые двигатели.
Характеристики FL20STH:
величина полного шага 1,80;
погрешность углового шага ±0,090;
погрешность сопротивления обмоток двигателя 10%;
погрешность индуктивности обмоток двигателя 20%;
максимальное радиальное биение вала двигателя 0,02 мм;
максимальное осевое биение вала двигателя 0,08 мм;
максимальная допустимая осевая нагрузка на валу 10 Н;
максимальная допустимая радиальная нагрузка на валу 28 Н;
температурный диапазон эксплуатации от минус 200С до плюс 500С;
рабочий ток 0,6 А;
сопротивление 6,5 Ом;
индуктивность 1,7 мГн;
крутящий момент 0,18 кг·см;
длина 30 мм;
момент инерции ротора 0,2 г·см2;
вес 0,06 кг.
Шаговый двигатель через муфту давит на винт, который в свою очередь давит
на рамку, с которой связан индентор.
Принцип действия шагового двигателя (ШД) основан на дискретном изменении
состоянии электромагнитного поля в рабочем зазоре электрической машины. Это
достигается импульсным возбуждением (или переключением) ее обмоток.
Программируемый контроллер вырабатывает определенное количество импульсов,
которые через распределитель импульсов поступают на двигатель. ШД соединен с
шарико-винтовой парой (рис. 30), которая в свою очередь соединена со столом. ШД
начинает через определенные шаги поворачивать шарико-винтовую пару и
соответственно перемещать стол.
Рисунок 30 - Схема подачи шагового двигателя:
где 1 - шаговый двигатель; 2 - шарико-винтовая передача; 3 перемещаемый
стол
2.14 Шарико-винтовая передача
Для преобразования вращательного движения в поступательное можно
использовать систему винт-гайка. При вращении винта гайка движется
поступательно. В шарико-винтовых передачах (рис. 31) [22] трение скольжения
заменено трением качения.
Винт и гайку разделяют ряды шариков, катящихся в углублениях резьбы
винта. Рециркуляция шариков обеспечивается возвратными каналами, идущими параллельно
оси винта.
Такая система обеспечивает:
работу при больших нагрузках,
высокую плавность хода,
долговечность,
большой КПД,
легкие усилия по перемещению,
возможность работы при больших скоростях,
точность позиционирования,
большую жесткость,
отсутствие люфта,
возможность регулирования преднатяга.
ШВП (рис. 32) успешно применяются в высокоточных устройствах для
транспортировки, производства, в области здравоохранения, робототехники,
производства пластмасс и упаковки.
Рисунок 32 - Шарико-винтовая пара с двигателем
3. МЕТРОЛОГИЧЕСКОЕ ОБЕСПЕЧЕНИЕ ПРОЦЕССА КОНТРОЛЯ ТВЁРДОСТИ
Метрологическое обеспечение - установление и применение научных и
организационных основ, технических средств, правил и норм, необходимых для
достижения единства и требуемой точности измерений.
Цель метрологического обеспечения - повышение качества продукции и
эффективности управления производством, разработка изделий с высокими
технико-экономическими показателями, получение новых данных при исследовании
(как в процессе создания, так и во время эксплуатации технических изделий).
Единство измерений - состояние измерений, при котором их результаты
выражены в узаконенных единицах величин и погрешности измерений не выходят за
установленные границы с заданной вероятностью.
Погрешность измерения - это отклонение результата измерения от истинного
значения измеряемой величины.
Истинным значением измеряемой физической величины - значение физической
величины, которое идеальным образом отражало бы в качественном и количественном
отношениях соответствующее свойство объекта.
Точность измерений - понятие, отражающее меру близости результатов
измерений к истинному значению измеряемой величины.
Понятие "метрологическое обеспечение" применяется, как правило,
по отношению к измерениям (испытанию, контролю) в целом. В то же время
допускают использование термина "метрологическое обеспечение
технологического обеспечения процесса (производства, организации)",
подразумевая при этом МО измерений (испытаний или контроля) в данном процессе,
производстве, организации.
Методика выполнения измерений - это совокупность операций и правил,
выполнение которых обеспечивает получение результатов измерений с известной
погрешностью. Методика выполнения измерений является организационным
методическим документом, обязательным для выполнения. Документ включает метод
измерений, средства и условия измерений, отбор продукции, алгоритм выполнения
операций по определению одной или нескольких взаимосвязанных характеристик,
свойства объекта, формы представления данных, оценивание точности и
достоверности результатов, требований техники безопасности и охраны окружающей
среды. Методика выполнения измерений является основой обеспечения единства
измерений.
Методика выполнения измерений является одним из основных положений
метрологического обеспечения производственного процесса. Она должна быть
наиболее совершенной и гарантировать необходимую точность измерений.
При подготовке к проведению измерений необходимо соблюсти следующие
требования (нормальные условия измерения):
. температура окружающей среды 293±5К (+20±5ºС);
. относительная влажность окружающего воздуха 30…80%;
. атмосферное давление 100±4 кПа (750±30 мм.рт.ст.);
. напряжение питания сети - 220±10В, частота - 50±5Гц.
В помещении, где производятся измерения не должно быть дыма, пыли,
агрессивных паров. Только при выполнении данных условий возможно проведение
измерений.
Методика выполнения измерения на модернизированном тестере описана в п.
2.3.
3.1 Анализ точности системы
Качество измерений определяется совокупностью субъективных и объективных
факторов. Но в ряде случаев главным становится влияние средства измерений.
Инструментальные (аппаратурные, приборные) погрешности обусловлены
свойствами конкретного средства измерения, могут быть определены при его
испытаниях и занесены в его паспорт. Инструментальные погрешности отдельного
средства измерения методами обработки не устранимы, но их влияние на результат
измерения может быть уменьшено применением соответствующих методик измерения с
последующей обработкой результатов измерения.
В настоящее время используются следующие виды моделей инструментальных
погрешностей:
1) статистическое суммирование математических ожиданий и дисперсий всех
составляющих, с целью определения точечных и интервальных характеристик для
заданной доверительной вероятности определяется по формуле 14:
(14)
) арифметическое суммирование модулей наибольших значений составляющих
представлено в выражении 15:
(15)
Для разрабатываемой системы инструментальная погрешность будет
складываться из погрешностей: двух тензопреобразователей (0,01%), ёмкостного
преобразователя (0,03%), 4-ёх усилителей (0,05%), стабилизатора (0,1%)
контроллера (0,1%), двух датчиков положения (0,025%), персонального компьютера
(0,2%), источника напряжения (1%), 3-ёх шаговых двигателей (5%).
По первой модели:

По
второй модели:

По
второму способу оценка получается более завышенная.
Малое
значение погрешности свидетельствует о высокой точности системы.
3.2
Косвенные измерения с нелинейной зависимостью
Микротвердость
царапанием в соответствии с ГОСТ 21318-75 определяется из выражения 9.
Эта
формула прошита в контроллере. Следовательно, используются косвенные измерения.
Косвенные
измерения - это измерения, где значение искомой величины находится на основании
известной зависимости, представленной в формуле 16:
, (16)
где
Q1, Q2, … - измеряемые аргументы.
, (17)
где
- производная, вычисляемая в точке оценки i -
го аргумента.
=0,102
кгс;
=
;
;
.
Наибольшее
отклонение результатов от их оценок:
;
.
Оценка
результата измерения:
.
.
,
,
;
;
;
;
.
Определяется
предельное значение
:
Т.к.
0,505<6,45, поэтому линеаризацию проводить можно.
Тогда
абсолютная погрешность определяется по формуле 18:
(18)
Абсолютная
погрешность
Относительная
погрешность вычисляется по формуле 19:
(19)
Относительная
погрешность
.
3.3
Методика поверки тестера по образцовым мерам твёрдости
.
Периодичность поверки не реже одного раза в год.
Поверка
прибора осуществляется по государственной поверочной схеме, в которой
устанавливается порядок передачи значений твёрдости в числах HV от
государственного специального эталона при помощи рабочих эталонов рабочим
средствам измерений с указанием применяемых методов поверки.
.
Условия поверки:
температура
окружающего воздуха от 15 до 28 °С;
относительная
влажность воздуха (65±15)%;
атмосферное
давление от 84 кПа до 106 кПа;
напряжение
сети переменного однофазного тока для прибора должно быть 220 В, допускаемое
отклонение от плюс 10% до минус 15%, частота (50±1) Гц.
.
Поверяемый прибор установить на стол, обеспечивающий защиту прибора от
воздействия вибраций, передаваемых через стены и пол здания.
.
Прибор заземлить.
.
Перед проведением поверки необходимо тщательно протереть поверхности образцовых
мер твёрдости и поверхность стола, на который мера устанавливается.
.
Произвести внешний осмотр тестера.
.
Выбрать образцовую меру твёрдости.
Образцовые
меры твёрдости МТВ [15] имеют следующие параметры: прямоугольная мера
твёрдости: длина=(60±1) мм, ширина=(40±1) мм, высота - не менее 6 мм; круглая
мера твёрдости: диаметр (60±1) мм, высота не менее 6 мм.
Отклонение
от плоскосности рабочей и опорной поверхностей меры не должно быть более 0,005
мм.
Отклонение
от параллельности рабочей и опорной поверхностей на длине 50 мм не должно быть
более 0,01 мм.
Шероховатость
поверхностей мер должны быть: шероховатость рабочей поверхности Ra не
более 0,04 мкм; шероховатость опорной поверхности Ra не более 0,5
мкм; шероховатость боковых поверхностей Ra не более 2,5
мкм.
На
рабочей и опорной поверхностях должны отсутствовать трещины, следы коррозии,
тёмные пятна и другие повреждения.
На
боковых поверхностях допускаются отдельные незначительные царапины и следы
зажимов.
Меры
твёрдости должны быть размагничены.
.
В ЦП ввести все параметры необходимые для проведения поверки.
.
Далее включаются в работу датчики положения стола (ДП2) (рис. 34) и модуля
(ДП1), которые возвращают модуль и стол в первоначальное положение. Координаты
начального положения запрограммированы в контроллере.
.
Установить меру на стол.
Рисунок
34 - Тестер и мера
.
С контроллера поступает сигнал на линейный двигатель ЛДТ, перемещающий тестер
до касания с образцовой мерой твёрдости. После касания индентора с мерой,
подвеска, на которой зафиксирована одна из обкладок измерительного
конденсатора, упирается в поверхность и перестаёт двигаться, а кронштейн, на
котором установлена вторая обкладка продолжает опускаться вниз. При этом на
выходе ёмкостного датчика появляется сигнал, по которому определяется момент
касания. Этот сигнал поступает на контроллер.
.
С контроллера поступает сигнал на шаговый двигатель, который давит на винт
через муфту, а винт, в свою очередь, давит на рамку с закрепленным на ней
тензодатчиком. Индентор внедряется в образцовую меру на глубину 3 мкм.
.
Далее с контроллера подаётся сигнал на линейный двигатель (ЛДС), который
перемещает стол с мерой. Перемещение производится на расстояние, равное 250
мкм. Это расстояние программируется в контроллере.
.
Сигналы с ёмкостного датчика перемещения и тензодатчика силы поступают в
контроллер, где обрабатываются в формуле 9.
Итогом
вычисления является значение твёрдости.
.
Далее значение твёрдости поступает на визуальный контроль оператору на ЦП.
.
Образцовую меру твёрдости необходимо проконтролировать в 5 местах (рис. 35).
После того, как стол переместился на 250 мкм, срабатывает датчик положения
(ДПТ), который перемещает тестер в вертикальном направлении в первоначальное
положение.
.
В это время с контроллера подаётся сигнал на ЛДС на перемещение стола с мерой
дальше на расстояние 500 мкм.
Рисунок
35 - Нанесение царапины на деталь
.
Далее повторяются пункты с 11 по 15.
.
Аналогичным образом необходимо провести остальные три измерения этой же меры.
Если
значения твёрдости, полученное при измерении соответствует значению образцовой
меры твёрдости [Приложение «Государственная поверочная схема для средств
измерения твёрдости металлов и сплавов»], то протокол поверки выводится на
печать.
.
Далее протокол подписывается поверителем.
3.4
Государственный специальный эталон твёрдости металлов и сплавов
Государственный
специальный эталон твёрдости металлов и сплавов [14] предназначен для хранения,
воспроизведения и передачи значений твёрдости металлов и сплавов в числах HV
при помощи эталонных средств рабочим средствам измерений (Приложение В).
Диапазон
воспроизводимых государственным специальным эталоном значений составляет от 8
до 2000 чисел HV.
Государственный
специальный эталон обеспечивает воспроизведение значений микротвёрдости со
случайными
и систематическими
погрешностями
(характеризуемыми размахом), указанными в таблице 2.
Таблица
2
|
Микротвёрдость: HV
0,01; HV 0,025; HV 0,05; HV
0,1; HV 0,2; HV 0,3; HV 0,5
|
Воспроизводимое эталоном
значение твёрдости, HV
|
Размах
|
|
|
, не более , не
более
|
|
|
От 8 до 125 включ.
|
1,0
|
1,6
|
|
От 125 до 250 включ.
|
2,0
|
2,5
|
|
От 251 до 550 включ.
|
4,0
|
5,7
|
|
От 551 до 850 включ.
|
8,0
|
8,6
|
|
От 851 до 1000 включ.
|
16,0
|
12,3
|
|
От 1000 до 2000 включ.
|
30,0
|
19,6
|
Размах
значений HV,
- это
интервал между наибольшим и наименьшим значениями чисел твёрдости HV,
полученными при измерениях в ряде точек, расположенных равномерно по рабочей
поверхности меры твёрдости.
Допускаемая
абсолютная погрешность рабочих средств измерений,
- отклонение результата измерения числа HV от
значения твёрдости HV, присвоенного мере твёрдости при поверке.
Государственный
специальный эталон применяют для передачи значений твёрдости в числах HV
рабочим эталонам 1-го разряда методом косвенных измерений.
3.4.1
Рабочие эталоны
В
качестве рабочих эталонов микротвёрдости 1-го разряда применяют эталонные меры
твёрдости номинальными значениями чисел HV: 100, 200,
450, 600 и 800 с допускаемыми отклонениями, указанными в таблице 5.
Допускаемые
размахи
значений чисел HV эталонных мер
микротвёрдости рабочих эталонов 1-го разряда при их поверке не должны превышать
значений, указанных в таблице 3.
Таблица
3
|
Шкала твёрдости
|
Значения размаха , не более при нормальных значениях чисел HV
|
|
100±25
|
200±50
|
450±75
|
600±75
|
800±50
|
|
HV 0,01; HV
0,025
|
10
|
20
|
45
|
60
|
80
|
|
HV 0,05
|
8
|
16
|
36
|
46
|
64
|
|
HV 0,1
|
6
|
12
|
27
|
36
|
48
|
|
HV 0,2; HV 0,3;
HV 0,5
|
4
|
8
|
18
|
24
|
32
|
Рабочие эталоны 1-го разряда (эталонные меры микротвёрдости 1-го разряда)
применяют для поверки рабочих средств измерений микротвёрдости методом прямых
измерений.
3.4.2 Рабочие средства измерений
В качестве рабочих средств измерений микротвёрдости по шкалам HV 0,01; HV 0,025; HV
0,05; HV 0,1; HV 0,2; HV
0,3; HV 0,5 применяют стационарные
микротвердомеры, а также может применяться модернизированный прибор для
измерения твёрдости.
Пределы
допускаемых абсолютных погрешностей
стационарных
микротвердомеров и модернизированного прибора для измерения твёрдости:
от
6 до 48 HV - для шкал HV 0,01; HV 0,025; HV
0,05; HV 0,1;
от
5 до 40 HV - для шкал HV 0,2; HV 0,3; HV
0,5.
Таблица
4
Зависимость
шкалы микротвёрдости от значения нагрузки
|
Обозначение шкалы
микротвёрдости
|
Значение нагрузки, Н
|
|
HV 0,01
|
0,09807
|
|
HV 0,025
|
0,2452
|
|
HV 0,05
|
0,4903
|
|
HV 0,1
|
0,9807
|
|
HV 0,2
|
1,961
|
|
HV 0,3
|
2,942
|
|
HV 0,5
|
4,903
|
4. СТАНДАРТИЗАЦИЯ И МЕНЕДЖМЕНТ КАЧЕСТВА
ОАО "Волгабурмаш" в настоящее время производит более 650
типоразмеров буровых шарошечных долот диаметром от 76,0 мм до 660,4 мм, в том
числе высокооборотные (до 600 об/мин.), среднеоборотные (до 300 об/мин.),
низкооборотные (от 30 до 150 об/мин.), с открытыми или маслонаполненными
опорами качения или скольжения с боковой, центральной или комбинированной
промывкой (продувкой) для разрушения пород от самых мягких до очень крепких
абразивных [23].
Получение сертификатов качества ISO и API, а также других международных и
отечественных сертификатов и наград, - весомое доказательство способности
предприятия стабильно управлять качеством и производить буровые долота в полном
соответствии с требованиями заказчиков и действующих мировых стандартов.
ОАО "Волгабурмаш" имеет сертификат Российской Федерации
"Лидер Российской экономики", медаль "Факел Бирмингема"
Международной Академии лидеров бизнеса и администрации, а также Института
международных финансов и экономического партнерства, Кубок Качества и право
воспроизводить на своей продукции Эмблему Качества по результатам аудита
Швейцарской Независимой Компании "Global Quality Management, Ltd" и
многие другие награды за качество производимых буровых долот.
Система управления качеством на ОАО "Волгабурмаш" выполнена в
соответствии со стандартами 9001 Международной организации по стандартизации
(ISO) и Q1 Американского нефтяного института (API).
Система менеджмента качества (СМК) - это система для руководства и
управления организацией применительно к установленным государственным
стандартам качества.
СМК является частью системы менеджмента организации и направлена на
улучшение результатов с поставленными целями достижения качества для того,
чтобы удовлетворить требования всех участвующих в процессе сторон, в первую очередь
потребителей.
Требования СМК установлены стандартом ГОСТ Р ИСО 9001-2001.
Система менеджмента качества может быть использована во всех видах
управления, в первую очередь в процессах производства или предоставления услуг,
а также в финансах, продаже продукции, к маркетингу [6].
Разработка и внедрение системы менеджмента качества - тщательный и
длительный процесс, это зависит от различных факторов как количество
работников, аспекты производства и т.д. С привлечением мастеров консалтинга
процесс разработки значительно упрощается и ускоряется.
В настоящее время результаты измерений и контроля всё чаще и шире,
особенно на предприятиях, вставших на путь внедрения системы менеджмента
качества ISO. Вся используемая на предприятии
информация должна быть достоверна. Ведущие компании для подтверждения
пригодности данных, полученных в результате измерений или контроля используют
метод анализа измерительных процессов. Этот метод представляет собой набор
экспериментов и статистических методов, адаптированных для получения оценок
приемлемости результатов измерений. Исследования, проведённые на некоторых
российских предприятиях, показывают неприемлемость большинства применяемых
измерительных процессов. Поэтому применение метода раскрывает большие
возможности для улучшений. Необходимость и критерии приемлемости каждого вида
измерений должны быть чётко определены. Предприятие не должно тратить ресурсы
на ненужные или неэффективные процессы, в том числе измерительные.
Целью статистического анализа является выдача заключения о приемлемости
измерительного процесса для целей измерения. Заключение о приемлемости
измерительного процесса выдаётся на основе оценивания и сравнения величин:
изменчивости результатов измерений;
изменчивости измеряемого параметра.
В настоящее время на большинстве предприятий существуют, по меньшей мере,
три причины применения статистического анализа измерительных процессов:
выполнение требований потребителей;
снижение затрат на поверку средств измерительной техники;
развитие средств измерительной техники.
Использование статистических методов анализа измерительных процессов
позволяет узаконить применение усовершенствованных средств измерительной
техники. При традиционном российском подходе к обеспечению единства измерений
применение средства измерений можно узаконить с помощью измерения эталонов
физических величин. Поскольку средства измерения постоянно совершенствуются, то
не всегда соответствующие высокоточные эталоны измеряемых величин существуют
или доступны. В этом случае оценить приемлемость измерительного процесса,
использующего усовершенствованные средства измерительной техники, можно только
с помощью статистического анализа результатов измерений. Стоимость выполнения
поверок средств измерений достаточно высока. Статистический анализ позволяет
выявить тенденции измерительного процесса к выходу из управляемого состояния и
именно в этот момент, а не преждевременно, выполнить поверку средства
измерений.
Измерительные системы чрезвычайно важны для достоверного анализа данных.
Они должны быть хорошо изучены до начала сбора данных о процессе. Когда такие
системы выходят из состояния статистической управляемости или их изменчивость
составляет существенную долю полной изменчивости данных о процессе, то это
может привести к неправильным решениям.
Объектом анализа, с учётом расширенной области анализа MSA, является измерительный процесс.
Измерительный процесс - процесс, преобразующий значение измеряемого
параметра в результат измерений посредством использования ресурсов (средств
измерительной техники и другого оборудования, оператора, окружающей среды и
т.д.), регулируемый методикой выполнения измерения.
Средство измерительной техники - обобщающее понятие, охватывающее
технические средства, специально предназначенные для измерений.
Оператор - лицо, обычно выполняющее измерения.
Измерительный процесс можно рассматривать как процесс, на вход которого
подают измеряемый параметр, а на выходе получают результат измерения.
Измерительный процесс управляется методикой выполнения измерений, при помощи
ресурсов - средств измерительной техники, операторов, окружающей среды. Как и
для других процессов, для измерительного процесса возможно управление при
помощи контрольных карт и других статистических методов.
Для вновь используемых или модифицированных измерительных приборов необходимо
провести MSA с точки зрения приемлемости
следующих характеристик: стабильность, сходимость и воспроизводимость.
Изменчивость измерительного процесса - чем меньшую долю изменчивости
результатов измерений составляет изменчивость измерительного процесса, тем
лучше считается измерительный процесс.
В MSA рассматриваются две основные
составляющие изменчивости измерительного процесса: сходимость и
воспроизводимость.
Сходимость результатов измерений - степень близости результатов
последовательных измерений одной и той же измеряемой величины, выполненных в
одних и тех же условиях измерения.
Условия сходимости включают постоянство методики выполнения измерений,
оператора (наблюдателя), средства измерительной техники, используемого в
одинаковых условиях, места проведения измерений. Условием также является
повторение измерений через короткие промежутки времени.
Воспроизводимость результатов измерений - степень близости
результатов измерений одной и той же измеряемой величины, выполненных при
изменённых условиях измерения.
Изменённые условия могут включать изменение методики выполнения
измерений, оператора, средства измерительной техники, места проведения
измерений, времени.
Статистически управляемое состояние измерительного процесса - состояние
измерительного процесса, при котором удалены все особые причины изменчивости,
то есть наблюдаемая изменчивость процесса может быть объяснена постоянной
системой обычных причин.
Статистически
управляемое состояние измерительного процесса оценивается с помощью контрольной
карты процесса количественного признака (
-
карты), построенной для измерительного процесса, и характеризуется отсутствием
точек за контрольными границами, трендов, неслучайного поведения в контрольных
границах.
.
Для анализа сходимости и воспроизводимости традиционно используются три метода:
метод
размахов;
метод
средних и размахов;
метод
дисперсий.
Наиболее
распространённым является метод средних и размахов, т.к. сочетает в себе
относительную простоту эксперимента и обработки результатов. Он позволяет
разделить изменчивость измерительного процесса на сходимость и
воспроизводимость, сделать вывод о приемлемости измерительного процесса и
определить источники высокой изменчивости.
.
Для оценивания сходимости и воспроизводимости проводится серия экспериментов,
заключающихся в измерении параметра каждого из отобранных образцов каждым из
выбранных операторов определённое количество раз. Количество операторов,
образцов и повторных замеров одного и того же образца одним и тем же оператором
устанавливается при планировании эксперимента.
.
По полученным в результате эксперимента данным вычисляются составляющие
изменчивости результатов измерений:
сходимость
(обусловлена изменчивостью средства измерительной техники и метод / методики
проведения измерений);
воспроизводимость
(обусловлена различиями в измерениях операторов);
сходимость
и воспроизводимость (совокупность двух предыдущих составляющих, является
основной характеристикой изменчивости измерительного процесса);
изменчивость
параметра образца (не зависит от свойств измерительного процесса - чем больше
эта величина, тем лучше измерительный процесс).
.
Решение о приемлемости измерительного процесса принимается исходя из значения
относительной сходимости и воспроизводимости. Сходимость и воспроизводимость
оцениваются относительно допуска, если исследуемый процесс используется для
оценки соответствия измеряемого параметра допуска. Рекомендации по оцениванию
приемлемости процесса по относительной сходимости и воспроизводимости приведены
в таблице 5.
Таблица
5
Рекомендации
по оцениванию измерительного процесса
|
Значение относительной
сходимости и воспроизводимости
|
Результат анализа, выводы,
рекомендации
|
|
Менее 10%
|
Измерительный процесс
приемлем
|
|
От 10 до 30%
|
Измерительный процесс может
быть приемлем в зависимости от важности параметра, стоимости прибора и т.п.
|
|
Более 30%
|
Измерительный процесс не
приемлем и нуждается в улучшении. Найти и устранить причины высокой
изменчивости.
|
Когда причины изменчивости найдены, их необходимо устранить и провести
повторный анализ приемлемости измерительного процесса.
4.1 Анализ измерительного процесса измерения твёрдости
Для проведения эксперимента отобраны 10 аттестованных образцов, и три
оператора. Они имеют соответствующую квалификацию и тестируют каждый образец
трижды [СамГТУ.200501.059.009.05]. Измерения проводятся на разработанной новой
установке для контроля твёрдости.
Результаты замеров параметров образцов, а также предварительные расчёты
средних и размахов заносятся в «Контрольный лист для анализа измерительного
процесса».
Для
каждого образца рассчитываются средние значения
,
результатов его измерений каждым из операторов и размах
результатов его измерений каждым из операторов по
формулам 20 и 21 соответственно:
, (20)
, (21)
где
Q - число повторных измерений.
Результаты
расчётов средних и размахов заносятся в соответствующие для каждого образца и
для каждого оператора ячейки таблицы 3 (голубые и розовые ячейки).
Для
каждого оператора рассчитывается среднее значение
и средний размах
результатов
его измерений по формулам 22 и 23 соответственно:
, (22)
, (23)
где
N - число образцов.
Результаты
расчётов средних и размахов заносятся в соответствующие для каждого оператора
ячейки таблицы (красные и жёлтые ячейки). Для каждого образца рассчитывается
среднее значение
результатов его измерений всеми операторами по
формуле 24:
, (24)
где
М - число операторов.
Результаты
расчётов средних заносятся в соответствующие для каждого образца ячейки таблицы
(тёмно-серые ячейки).
Среднее
значение
всех результатов измерений образцов и размах Rр значений параметра образца рассчитываются по формулам
25 и 26 соответственно:
, (25)
(26)
Результаты
расчётов заносятся в таблицу (зелёные и коричневые ячейки).
Средний
размах всех измерений
рассчитывается по формуле 27:
(27)
Результат
заносится в таблицу (оранжевая ячейка).
Размах
R0 между
измерениями операторов рассчитывается по формуле 28:
(28)
Результат
заносится в ячейку серого цвета в таблице.
4.2
Анализ управляемости измерительного процесса контроля твёрдости
Для
оценивания измерительного процесса могут использоваться некоторые графические
методы. Эти методы позволяют «увидеть» измерительный процесс и факторы,
влияющие на его результат.
Обычно
для графического анализа измерительного процесса рассматриваются следующие виды
карт:
контрольная
карта размахов;
контрольная
карта средних.
Анализируя
контрольные карты необходимо:
оценить
наличие точек, выходящих за контрольные границы;
оценить
наличие серий и трендов;
оценить
наличие приближения точек к контрольным пределам.
При
анализе контрольной карты определяются следующие характеристики:
)
Выход за контрольные пределы - это такое состояние процесса, при котором точки
значений параметров лежат вне контрольных границ.
)
Серии - это такое состояние процесса, при котором точки неизменно оказываются
по одну сторону от центральной линии.
)
Тренд (дрейф) - это проявление такого состояния процесса, когда точки
(не менее семи подряд) образуют одну непрерывно повышающую или понижающую
кривую.
)
Приближение точек к контрольным пределам - это такое состояние процесса, при
котором точки находятся в области контрольных границ на расстояние не более
одного СКО.
4.2.1
Контрольная карта размахов
Каждая
точка на контрольной карте размахов соответствует размаху в повторных
измерениях одного образца одним оператором. Точки могут группироваться (анализ
может производиться) как по образцам, так и по операторам.
На
карту наносятся средняя линия и контрольные границы, которые вычисляются по
формулам 29 и 30 соответственно.
Rср=12,115;
(29)
(30)
Данные
для построения контрольной карты размахов берутся из «Контрольный лист для
анализа измерительного процесса».
Рисунок
36 - Контрольная карта размахов
Как
видно из контрольной карты (рис. 36):
на
ней нет:
.
серий;
.
трендов;
.
приближения к контрольным пределам;
процесс
не имеет чрезмерную изменчивость, обусловленную операторами, т.к. размахи
измерений одного (или нескольких) операторов не находятся за контрольными
пределами;
размахи
в измерениях каждого из операторов не сильно отличаются друг от друга что
свидетельствует о достаточной подготовленности каждого из операторов и правильность
использования ими метода и средства измерения (модернизированного прибора для
измерения твёрдости);
Так
как контрольная карта размахов показывает приемлемость измерительного процесса
по размахам (все размахи находятся в контрольных границах и размахи в
измерениях каждого образца всеми операторами близки), то можно переходить к
анализу контрольных карт средних.
4.2.2
Контрольная карта средних
Данные
для построения контрольной карты средних берутся из «Контрольного листа для
анализа измерительного процесса».
Каждая
точка на контрольной карте (рис. 37) соответствует среднему арифметическому
повторных измерений одного и того же образца одним и тем же оператором.
Рисунок
37 -Контрольная карта средних
Как
видно из контрольной карты:
на
ней нет:
.
серий;
.
трендов;
.
приближения к контрольным пределам;
Это
свидетельствует о стабильности измерительного процесса.
Анализ
сходимости, воспроизводимости и изменчивости представлен в Таблице 7.
Для
анализа причин изменчивости измерений используется диаграмма Исикавы.
Возможные
группы причин изменчивости измерительного процесса:
несоответствие
образцов измерений;
индивидуальные
особенности операторов;
несовершенство
методов измерений;
несоответствия
средств измерительной техники;
несоответствия
окружающей среды.
Рисунок
38 -Диаграмма Исикавы
Далее
по диаграмме Исикавы выбирается не менее 10 наиболее значимых факторов,
влияющих на измерение.
По
этим факторам строится диаграмма Парето, необходимая для того, чтобы выявить
«20% факторов, дающих 80% отказов», т.е., чтобы выявить факторы, оказывающие
наибольшее влияние на измерение.
4.3
Диаграмма Паретто
Анализ
Парето получил свое название по имени итальянского экономиста Вилфредо Парето,
который показал, большая часть капитала (80%) находится в руках незначительного
количества людей (20%).
Правило
Парето - «универсальный» принцип, который применим во множестве ситуаций, в
частности - в решении проблем качества. Джозеф Джуран отметил «универсальное»
применение принципа Парето к любой группе причин, вызывающих то или иное
последствие, причём большая часть последствий вызвана малым количеством причин.
Анализ Парето ранжирует отдельные области по значимости или важности и
призывает выявит и в первую очередь устранить те причины, которые вызывают
наибольшее количество проблем (несоответствий) (рис. 39).
Анализ
Парето как правило иллюстрируется диаграммой Парето, на которой по оси абсцисс
отложены причины возникновения проблем в порядке убывания, а по оси ординат - в
количественном выражении сами проблемы, причём как в численном, так и в
количественном (кумулятивном) процентном выражении.
Определяющим
достоинством диаграммы Парето является то, что она дает возможность
разгруппировать факторы на значительные, т.е. встречающиеся наиболее часто, и
на незначительные, т.е. встречающиеся относительно редко.
На
диаграмме отчётливо видна область принятия первоочередных мер, очерчивающая те
причины, которые вызывают наибольшее количество ошибок. Таким образом, в первую
очередь, предупредительные мероприятия должны быть направлены на решение именно
этих проблем.
Диаграмма
Парето основана на принципе Парето, который устанавливает, что из-за небольшого
числа причин зачастую возникает большинство последствий. Отделяя наиболее
важные причины от менее важных, можно достичь наибольшего улучшения при
наименьшем усилии.
Для
показа относительного влияния каждой причины используются столбики.
Для
показа накопленного влияния причин используется кумулятивная кривая.
факторов:
А
- отбор образцов;
Б
- изменчивость параметра;
C - практика,
опыт оператора;
D - обучение;
E - метод
измерения;
F - порог
чувствительности;
G - диапазон
измерения;
H - поверка;
I - вибрация;
J - температура.
Таблица
8
Данные
для построения диаграммы Паретто
|
B
|
C
|
D
|
E
|
F
|
G
|
H
|
I
|
J
|
|
A
|
A
|
A
|
A
|
A
|
A
|
A
|
A
|
A
|
|
B
|
-
|
C
|
B
|
B
|
F
|
B
|
B
|
B
|
B
|
|
C
|
-
|
-
|
C
|
E
|
F
|
G
|
H
|
I
|
C
|
|
D
|
-
|
-
|
-
|
E
|
F
|
G
|
H
|
I
|
D
|
|
E
|
-
|
-
|
-
|
-
|
F
|
G
|
H
|
I
|
E
|
|
F
|
-
|
-
|
-
|
-
|
-
|
F
|
F
|
F
|
F
|
|
G
|
-
|
-
|
-
|
-
|
-
|
-
|
G
|
I
|
G
|
|
H
|
-
|
-
|
-
|
-
|
-
|
-
|
-
|
H
|
H
|
|
I
|
-
|
-
|
-
|
-
|
-
|
-
|
-
|
-
|
I
|
|
J
|
-
|
-
|
-
|
-
|
-
|
-
|
-
|
-
|
-
|
Повторяемость факторов:
А - 8;
B - 6;
C - 3;
D - 1;
E - 3;
F - 9;
G - 5;
H - 5;
I - 5;
J - 0.
45.
Далее
необходимо определить какой процент занимает каждый фактор:
A=
;=
;=
;=
;=
;=
;=
;=
;=
;=
.
Рисунок
39 - Диаграмма Паретто
5.
ЭКОНОМИЧЕСКОЕ ОБОСНОВАНИЕ ПРОЕКТА
.1
Расчет исходного способа проведения испытаний
Для
проведения измерения твёрдости требуется склерометр и микроконтроллер.
Их
общая стоимость определяется по формуле 31:
, (31)
где
- цена склерометра;
- цена
микроконтроллера Eval - AduC7020;
- цена
источника опорного напряжения REF 192;
- цена
стабилизатора КР142ЕН5А;
- цена
усилителя OP 293;
- цена
тензодатчика 2ФКП-5х200.
руб.
Для
выполнения измерений твёрдости на склерометре требуется один оператор.
Время на техническое обслуживание в эксплуатации составляет 5 часов в
неделю.
Затраты на техническое обслуживание в эксплуатации составляют 10÷15
% от стоимости
оборудования, т.е.
руб.
Один раз в год прибор проходит поверку. Тарифная ставка поверителя 80
рублей в час, 3 часа занимает процесс поверки. Следовательно, затраты на
поверку составляют по формуле 32:
, (32)
где
- коэффициент отчислений на социальное страхование
(26%), (1,26);
-
количество часов;
-
тарифная ставка поверителя.
руб.
Заработная
плата оператора, проводящего испытания вычисляется по формуле 33:
, (33)
где
- трудоемкость работы (в часах);
-
часовая тарифная ставка (76,3 руб.);
-
коэффициент начисления на дополнительную заработную плату (24%), (1,24);
-
коэффициент отчислений на социальное страхование (26%), (1,26);
n - количество
рабочих дней в году.
руб.
Суммарные
текущие затраты на испытания по формуле 34:
(34)
руб.
Прочие
непредвиденные затраты составляют 3% от суммарных текущих затрат:
руб.
Таким
образом, общая стоимость использования исходных датчиков при испытаниях
вычисляется по формуле 35:
(35)
руб.
С
учетом НДС (18%)
руб.
5.2 Расчет варианта, предлагаемого по проекту
Для автоматизации процесса измерения к конструкции склерометра
предлагается добавить шаговый двигатель, линейный двигатель и ПК.
Стоимость шагового двигателя 1038 руб., линейного двигателя 2070 руб., ПК
- 15000 руб.
Их общая стоимость определяется по формуле 36:
(36)
где
Цбазового варианта - цена базового варианта;
ЦШД
- цена шагового двигателя;
ЦПК
- цена ПК;
Цус
- цена усилителя;
ЦДП
- цена датчика положения
руб.
В установке двигателей планируется задействовать одного сборщика с
основной и дополнительной заработной платой 560 руб. за смену.
Время на техническое обслуживание в эксплуатации 2 часа в неделю.
Затраты на техническое обслуживание в эксплуатации составляют 10÷15
% от стоимости
оборудования, т.е.:
руб.
Один раз в год прибор проходит поверку. Тарифная ставка поверителя 80
рублей в час, 4 часа занимает процесс поверки. Следовательно, затраты на
поверку составляют:
руб.
Заработная
плата оператора, проводящего испытания составляет:
руб.
Суммарные текущие затраты на испытания:
руб.
Прочие
непредвиденные затраты составляют 3% от суммарных текущих затрат:
руб.
Таким
образом, общая стоимость использования датчиков при испытаниях равна:
руб.
С
учетом НДС (18%)
руб.
5.3 Эффективность внедрения проекта
Эффективность внедрения проекта вычисляется по формуле 37:
(37)
где
- приведенные затраты на единицу работы, производимой
с помощью базовых и новых датчиков.
Количество
испытаний в смену равно 100.Общие затраты в одну смену при использовании
базового прибора вычисляются по формуле 38:
(38)
руб.
Общие
затраты в одну смену при использовании новой установки выражаются по формуле
39:
(39)
руб.
Годовые
затраты на проведение испытаний с базовой измерительной системой:
руб.
Годовые
затраты на проведение испытаний с предлагаемой измерительной системой:
руб.
Тогда
эффективность внедрения проекта составит:
руб.
5.4
Срок окупаемости проекта
Срок
окупаемости проекта вычисляется по формуле 40:
, (40)
где
- себестоимость продукции по сравниваемым вариантам;
-
капитальные вложения по сравниваемым вариантам.
Себестоимость
продукции по базовому варианту по формуле 41:
, (41)
где
, количество деталей, которые за смену проверяет
оператор.
руб.
На
программу:
руб.
Себестоимость
продукции по новому варианту:
руб.
На
программу:
руб.
Срок
окупаемости проекта:
Ток
=
г=27,9 дней.
6.
ОБЕСПЕЧЕНИЕ БЕЗОПАСНОСТИ ЖИЗНЕДЕЯТЕЛЬНОСТИ
Инструкция
по охране труда для оператора, работающего на тестере
1. Ê ðàáîòå â êà÷åñòâå
îïåðàòîðà èçìåðèòåëüíîãî
ïðèáîðà - òåñòåòðà
ìîãóò áûòü äîïóùåíû
ëèöà, ïðîøåäøèå
ñïåöèàëüíîå îáó÷åíèå,
ïðîèíñòðóêòèðîâàííûå
ïî áåçîïàñíîìó
âåäåíèþ ðàáîò,
ñâÿçàííûõ ñ ïðèáîðîì.
. Êàæäûé îïåðàòîð
äîëæåí õîðîøî
çíàòü è ñîáëþäàòü
âñå òðåáîâàíèÿ
èçëîæåííûå â
íàñòîÿùåé èíñòðóêöèè.
Àäìèíèñòðàöèÿ
îáÿçàíà ñîçäàòü
íîðìàëüíûå óñëîâèÿ
ðàáîòû è îáåñïå÷èòü
ðàáî÷åå ìåñòî
îïåðàòîðà âñåì
íåîáõîäèìûì
äëÿ áåçîïàñíîãî
âåäåíèÿ ðàáîò.
. Îïåðàòîð îáÿçàí
âûïîëíÿòü Ïðàâèëà
âíóòðåííåãî
òðóäîâîãî ðàñïîðÿäêà
è òðóäîâîé äèñöèïëèíû
ÇÀÎ.
. Âûïîëíÿòü òîëüêî
òó ðàáîòó, êîòîðàÿ
ïîðó÷åíà àäìèíèñòðàöèåé,
ïðè óñëîâèè, ÷òî
áåçîïàñíûå ìåòîäû
åå âûïîëíåíèÿ
èçâåñòíû. Â ñîìíèòåëüíûõ
ñëó÷àÿõ íóæíî
îáðàòèòüñÿ ê
çàâåäóþùåìó
çà ðàçúÿñíåíèåì.
Êîíñòðóêöèÿ
ðàáî÷åãî ìåñòà
îïåðàòîðà, åãî
ðàçìåðû è âçàèìíîå
ðàñïîëîæåíèå
ýëåìåíòîâ (îðãàíîâ
óïðàâëåíèÿ, ñðåäñòâ
îòîáðàæåíèÿ
èíôîðìàöèè, âñïîìîãàòåëüíîãî
îáîðóäîâàíèÿ
è äð.) äîëæíû îáåñïå÷èâàòü
áåçîïàñíîñòü
ïðè èñïîëüçîâàíèè
ïðîèçâîäñòâåííîãî
îáîðóäîâàíèÿ
ïî íàçíà÷åíèþ.
. Îïåðàòîð íå äîëæåí
ïðèêàñàòüñÿ ê
ýëåêòðîïðîâîäêå,
ðîçåòêàì, àðìàòóðå
îáùåãî îñâåùåíèÿ
è äðóãèì òîêîâåäóùèì
÷àñòÿì, íå ñíèìàòü
çàùèòíûå êîæóõà
ñ òîêîâåäóùèõ
÷àñòåé òåñòåðà.
6.1 Îáùèå òðåáîâàíèÿ
1. Çàïðåùàåòñÿ
ïðîèçâîäèòü ñòèðêó
è ÷èñòêó îäåæäû,
ñïåöîäåæäû, äðóãèõ
âåùåé è ïðåäìåòîâ
ñ ïðèìåíåíèåì
êèñëîò, áåíçèíà,
êåðîñèíà, àöåòîíà
è äðóãèõ õèìèêàòîâ
è ëåãêîâîñïëàìåíÿþùèõñÿ
æèäêîñòåé;
. Íå ðàçðåøàåòñÿ
çàãðîìîæäàòü
äîñòóïû è ïðîõîäû
ê ïðîòèâîïîæàðíîìó
èíâåíòàðþ, îãíåòóøèòåëÿì,
êðàíàì è ñèãíàëüíûì
óñòðîéñòâàì;
Íîðìû ïðåäåëüíî
äîïóñòèìûõ íàãðóçîê
ïðè ïîäúåìå è ïåðåìåùåíèè
òÿæåñòåé âðó÷íóþ
îïåðàòîðîì:
ïîäúåì è ïåðåìåùåíèå
(ðàçîâîå) òÿæåñòåé
(äî äâóõ ðàç â ÷àñ):
äëÿ æåíùèí äî
7 êã;
äëÿ ìóæ÷èí äî
15 êã
ïîäúåì è ïåðåìåùåíèå
òÿæåñòåé ïðè
÷åðåäîâàíèè
ñ äðóãîé ðàáîòîé
(ïîâåðêîé ñðåäñòâ
èçìåðåíèé):
äëÿ æåíùèí äî
10 êã;
äëÿ ìóæ÷èí äî
30 êã.
Ìàòåðèàëû êîíñòðóêöèè
òåñòåðà íå äîëæíû
îêàçûâàòü îïàñíîå
è âðåäíîå âîçäåéñòâèå
íà îðãàíèçì ÷åëîâåêà
íà âñåõ çàäàííûõ
ðåæèìàõ ðàáîòû
è ïðåäóñìîòðåííûõ
óñëîâèÿõ ýêñïëóàòàöèè.
Êîíñòðóêöèÿ
òåñòåðà äîëæíà
èñêëþ÷àòü íà
âñåõ ïðåäóñìîòðåííûõ
ðåæèìàõ ðàáîòû
íàãðóçêè íà äåòàëè
è ñáîðî÷íûå åäèíèöû,
ñïîñîáíûå âûçâàòü
ðàçðóøåíèÿ. Òàêæå
êîíñòðóêöèÿ òåñòåðà
è åãî îòäåëüíûõ
÷àñòåé äîëæíà
èñêëþ÷àòü âîçìîæíîñòü
èõ ïàäåíèÿ, îïðîêèäûâàíèÿ
è ñàìîïðîèçâîëüíîãî
ñìåùåíèÿ ïðè
âñåõ ïðåäóñìîòðåííûõ
óñëîâèÿõ ýêñïëóàòàöèè
è ìîíòàæà (äåìîíòàæà).
Ò.ê. â êîíñòðóêöèè
òåñòåðà ïðèñóòñòâóåò
áîëüøîå ÷èñëî
ñîåäèíèòåëüíûõ
êàáåëåé, òî èõ
íåîáõîäèìî çàêëþ÷èòü
â ýêðàí. Êàáåëè
äîëæíû ñîîòâåòñòâîâàòü
òðåáîâàíèÿì
ÃÎÑÒ 12.2.007.14-75. Êàáåëè
äîëæíû óäîâëåòâîðÿòü
òðåáîâàíèþ íåðàñïðîñòðàíåíèÿ
ãîðåíèÿ. Êîíñòðóêöèè
è õàðàêòåðèñòèêè
ýêðàíîâ äîëæíû
îáåñïå÷èâàòü
ïîæàðî- è ýëåêòðîáåçîïàñíîñòü
ýêñïëóàòàöèè
ïðè íîðìàëüíûõ
è àâàðèéíûõ ðåæèìàõ
ðàáîòû íà òåñòåðå.
Èçîëÿöèÿ æèë êàáåëåé
äîëæíà èìåòü
îòëè÷èòåëüíóþ
ðàñöâåòêó. Êàíàëû
äëÿ ïðîâîäîâ äîëæíû
áûòü ãëàäêèìè,
áåç îñòðûõ êðîìîê.
×àñòü òåñòåðà
çàùèù¸íà ñïåöèàëüíûì
êîæóõîì äëÿ òîãî,
÷òîáû îáåñïå÷èâàëàñü
íåîáõîäèìàÿ
çàùèòà îò ñëó÷àéíîãî
ñîïðèêîñíîâåíèÿ
ñ ÷àñòÿìè, íàõîäÿùèìèñÿ
ïîä íàïðÿæåíèåì.
Êîíñòðóêöèÿ êîæóõà
äîëæíà áûòü ïðî÷íîé
è èñêëþ÷àòü âîçìîæíîñòü
óäàëåíèÿ åãî
áåç ïðèìåíåíèÿ
èíñòðóìåíòà.
6.2 Òðåáîâàíèÿ
áåçîïàñíîñòè
ïåðåä íà÷àëîì
ðàáîòû
. Ïðèñòóïàÿ ê
ðàáîòå ïîñëå äëèòåëüíîãî
ïåðåðûâà (áîëåçíè,
îòïóñêà) èëè ïîëó÷åíèè
ðàáîòû, íå âõîäÿùåé
â êðóã îáÿçàííîñòåé
îïåðàòîðà, íåîáõîäèìî
ïîëó÷èòü îò çàâåäóþùåãî
äîïîëíèòåëüíûé
èíñòðóêòàæ ïî
òåõíèêå áåçîïàñíîñòè.
. Îïåðàòîð äîëæåí
íàäåòü ñïåöîäåæäó,
ïðåäóñìîòðåííóþ
îòðàñëåâûìè
íîðìàìè (õàëàò)
è ïðèâåñòè åå
â ïîðÿäîê: çàñòåãíóòü
ìàíæåòû ðóêàâîâ,
çàïðàâèòü ïîëû
îäåæäû òàê, ÷òîáû
íå áûëî ðàçâèâàþùèõñÿ
êîíöîâ, íàäåòü
ãîëîâíîé óáîð
è ïîäîáðàòü ïîä
íåãî âîëîñû.
. Îñìîòðåòü ñâîå
ðàáî÷åå ìåñòî,
óáðàòü âñå ìåøàþùèå
ïðåäìåòû, îñâîáîäèòü
ïðîõîäû è íå äîïóñêàòü
èõ çàãðîìîæäåíèÿ.
. Ïðîâåðèòü èñïðàâíîñòü
òåñòåðà, ïðèñïîñîáëåíèé,
óñòîé÷èâîñòü
è íàäåæíîñòü
èõ êðåïëåíèÿ, ïðàâèëüíîñòü
õðàíåíèÿ.
Âñå ñïåöèàëüíûå
èíñòðóìåíòû
äîëæíû õðàíèòüñÿ
íà ñòåëëàæàõ
ïî ÿ÷åéêàì, ñêëàäèðîâàíèå
èíñòðóìåíòà
íà ïîëó ïîìåùåíèé,
íà ïðîõîäàõ øòàáåëÿìè
èëè íàâàëîì çàïðåùàåòñÿ.
. Ïðîâåðèòü íàëè÷èå
è èñïðàâíîñòü
çàçåìëåíèÿ ïðèáîðîâ,
ðàáîòàþùèõ îò
ñåòè ýëåêòðè÷åñêîãî
òîêà.
Ïîâåðõíîñòè
ïðèñïîñîáëåíèé
íå äîëæíû èìåòü
îñòðûõ êðîìîê,
îñòðûõ óãëîâ,
ñêîëîâ.
. Ïåðåä íà÷àëîì
ðàáîòû íà òåñòåðå
íåîáõîäèìî ïðîâåðèòü
íàëè÷èå íà ðàáî÷åì
ìåñòå ñðåäñòâà
ïîæàðîòóøåíèÿ.
Ðàçìåðû ðàáî÷åãî
ìåñòà è ðàçìåùåíèå
åãî ýëåìåíòîâ
äîëæíû îáåñïå÷èâàòü
âûïîëíåíèå ðàáî÷èõ
îïåðàöèé â óäîáíûõ
ðàáî÷èõ ïîçàõ
è íå çàòðóäíÿòü
äâèæåíèé ðàáîòàþùåãî.
6.3 Òðåáîâàíèÿ
áåçîïàñíîñòè
âî âðåìÿ ðàáîòû
. Îïåðàòîð äîëæåí
âûïîëíÿòü òó ðàáîòó,
êîòîðàÿ ðåãëàìåíòèðîâàíà
äîëæíîñòíîé
èíñòðóêöèåé
è ïîðó÷åíà çàâåäóþùèì.
. Èçìåðåíèå íà÷èíàòü
òîëüêî òîãäà,
êîãäà ñ ïîâåðõíîñòè
óäàëåíû çàáîèíû,
çàäèðû, çàóñåíöû.
6.4 Òðåáîâàíèÿ
áåçîïàñíîñòè
â àâàðèéíûõ ñèòóàöèÿõ
Ïðè âîçíèêíîâåíèè
íà ðàáî÷åì ìåñòå
àâàðèéíîé ñèòóàöèè
îïåðàòîð îáÿçàí:
. íåìåäëåííî
îòêëþ÷èòü òåñòåð;
. åñëè åñòü ïîñòðàäàâøèå,
òî ïðèíÿòü ìåðû
äëÿ îêàçàíèÿ
äî âðà÷åáíîé
ìåäèöèíñêîé
ïîìîùè, âûçâàòü
âðà÷à, à â ýêñòðåííîì
ñëó÷àå îòïðàâèòü
ïîñòðàäàâøåãî
â áëèæàéøåå ëå÷åáíîå
ó÷ðåæäåíèå;
. ñîîáùèòü î ñëó÷èâøåìñÿ,
çàâåäóþùåìó;
. ïðèíÿòü ìåðû
ïî ñîõðàíåíèþ
ìåñòà àâàðèè,
êîãäà íåîáõîäèìî
ðàññëåäîâàíèå
íåñ÷àñòíîãî
ñëó÷àÿ.
.5 Òðåáîâàíèÿ
áåçîïàñíîñòè
ïî îêîí÷àíèè
ðàáîòû
. Âûìûòü ðóêè
è ëèöî ñ ìûëîì.
Çàïðåùàåòñÿ
ìûòü ðóêè êåðîñèíîì,
áåíçèíîì, ïðîèçâîäèòü
ñòèðêó è ÷èñòêó
ñïåöîäåæäû è äð.
âåùåé è ïðåäìåòîâ
ñ ïðèìåíåíèåì
õèìèêàòîâ.
. Ïðèâåñòè â ïîðÿäîê
ðàáî÷åå ìåñòî,
ñîáðàòü, ïðîòåðåòü
è óáðàòü âåñü
èíñòðóìåíò â
îòâåäåííîå ìåñòî.
ÇÀÊËÞ×ÅÍÈÅ
 ðåçóëüòàòå
ïðîâåä¸ííîé ðàáîòû
áûëà îñóùåñòâëåíà
ìîäåðíèçàöèÿ
ñêëåðîìåòðè÷åñêîãî
êîìïëåêñà. Îáîñíîâàí
âûáîð ìåòîäà
èçìåðåíèÿ ìèêðîòâ¸ðäîñòè,
âûáîð ¸ìêîñòíîãî
è òåíçîðåçèñòèâíîãî
äàò÷èêîâ. Ââåäåíà
àâòîìàòèçàöèÿ
ëèíåéíûõ ïåðåìåùåíèé,
÷òî ïîçâîëèëî
ïîâûñèòü ïðîèçâîäèòåëüíîñòü
èçìåðèòåëüíîãî
ïðîöåññà è ñíèçèòü
ó÷àñòèå îïåðàòîðà
â ïðîöåññå èçìåðåíèÿ.
Ïðîèçâåäåíî îáîñíîâàíèå
íåîáõîäèìîñòè
ìîäåðíèçàöèè
ñ òî÷êè çðåíèÿ
àíàëèçà èçìåðèòåëüíîãî
ïðîöåññà (êîíòðîëüíûå
êàðòû, äèàãðàììà
Ïàðåòî è Èñèêàâû).
Òàêæå â ïðîåêòå
ïðåäñòàâëåíî
ýêîíîìè÷åñêîå
îáîñíîâàíèå
öåëåñîîáðàçíîñòè
ìîäåðíèçàöèè
ñêëåðîìåòðè÷åñêîãî
ìîäóëÿ.
Êðîìå òîãî, ïîÿâèëàñü
âîçìîæíîñòü
ïîëó÷àòü ïðîòîêîëû
èçìåðèòåëüíîãî
ïðîöåññà â ïå÷àòíîì
âèäå, ÷òî òàêæå
ÿâèëîñü ïðåèìóùåñòâîì
ìîäåðíèçàöèè
êîìïëåêñà, ïîñêîëüêó
ñîêðàòèëî ó÷àñòèå
îïåðàòîðà â èçìåðèòåëüíîì
ïðîöåññå.
ÑÏÈÑÎÊ ÈÑÏÎËÜÇÎÂÀÍÍÛÕ
ÈÑÒÎ×ÍÈÊÎÂ
òâåðäîñòü
ñêëåðîìåòðè÷åñêèé
òåñòåð ìåòðîëîãè÷åñêèé
1. Ëåâøèíà Å.Ñ.,
Íîâèöêèé Ï.Â. Ýëåêòðè÷åñêèå
èçìåðåíèÿ ôèçè÷åñêèõ
âåëè÷èí. - Ë.: Ýíåðãîàòîìèçäàò,
1983. - Ñ. 80-129.
. Åâòèõååâ
Í.Í., Êóïåðøìèäò
ß.À. Èçìåðåíèå
ýëåêòðè÷åñêèõ
è íåýëåêòðè÷åñêèõ
âåëè÷èí. - Ì.: Ýíåðãîàòîìèçäàò,
1990. - Ñ. 126-148.
. Òóðè÷èí À.Ì.,
Íîâèöêèé Ï.Â. Ýëåêòðè÷åñêèå
èçìåðåíèÿ íåýëåêòðè÷åñêèõ
âåëè÷èí. - Ë.: Ýíåðãèÿ,
1975. - Ñ. 258-284.
4. Ðàííåâ Ã.Ã.,
Òàðàñåíêî À.Ï.
Ìåòîäû è ñðåäñòâà
èçìåðåíèé. Ó÷åáíèê.
- Ì.: Àêàäåìèÿ, 2003.
- Ñ. 164-180, 202.
. Ôðàéäåí Äæ.
Ìèð ýëåêòðîíèêè.
Ñîâðåìåííûå
äàò÷èêè. Ñïðàâî÷íèê.
- Ì.: Òåõíîñôåðà,
2005. - Ñ. 284, 287, 347, 356.
. Âàñèëü÷óê
À.Â. Àíàëèçû èçìåðèòåëüíûõ
è êîíòðîëüíûõ
ïðîöåññîâ. Ìåòîäè÷åñêèå
ìàòåðèàëû. - Ñàìàðà.:
Àêàäåìè÷åñêèé
èíæèíèðèíãîâûé
öåíòð, 2005. - 190 ñ.
Íîðìàòèâíî
- òåõíè÷åñêàÿ
äîêóìåíòàöèÿ
7. ÃÎÑÒ 23677-79 Òâåðäîìåðû
äëÿ ìåòàëëîâ
. ÃÎÑÒ 9012-59 Ìåòîä
èçìåðåíèÿ òâ¸ðäîñòè
ïî Áðèíåëëþ
. ÃÎÑÒ 22975-7 Ìåòîäû
èçìåðåíèÿ òâ¸ðäîñòè
ïî Ðîêâåëëó ïðè
ìàëûõ íàãðóçêàõ
(ïî Ñóïåð-Ðîêâåëëó)
. ÃÎÑÒ 2999-75 Ìåòîäû
èçìåðåíèÿ òâ¸ðäîñòè
ïî Âèêêåðñó
. ÃÎÑÒ 23273-7 Èçìåðåíèå
òâ¸ðäîñòè ìåòîäîì
óïðóãîãî îòñêîêà
áîéêà (ïî Øîðó)
. ÃÎÑÒ 21318-75 Èçìåðåíèå
ìèêðîòâ¸ðäîñòè
öàðàïàíèåì àëìàçíûì
íàêîíå÷íèêîì
. ÃÎÑÒ 8.050-73 Ãîñóäàðñòâåííàÿ
ñèñòåìà îáåñïå÷åíèÿ
åäèíñòâà èçìåðåíèé.
Íîðìàëüíûå óñëîâèÿ
âûïîëíåíèÿ ëèíåéíûõ
è óãëîâûõ èçìåðåíèé
. ÃÎÑÒ 8.063-2007 Ãîñóäàðñòâåííàÿ
ñèñòåìà îáåñïå÷åíèÿ
åäèíñòâà èçìåðåíèé.
Ãîñóäàðñòâåííàÿ
ïîâåðî÷íàÿ ñõåìà
äëÿ ñðåäñòâ èçìåðåíèé
òâåðäîñòè ìåòàëëîâ
è ñïëàâîâ ïî øêàëàì
Âèêêåðñà
. ÃÎÑÒ 9031-75 Ìåðû
òâ¸ðäîñòè îáðàçöîâûå
Ñåòåâûå ðåñóðñû
16. Òåíçîðåçèñòîð
2ÔÊÏ-5õ200
<http://www.tenzo-pribor.ru/cat622.html>
. Èñòî÷íèê
îïîðíîãî íàïðÿæåíèÿ
REF 192-
<http://datasheets.ru/datasheets/73223/REF192.html>
. Ñòàáèëèçàòîð
ÊÐ142ÅÍ5-
<http://doc.chipfind.ru/vzpp/kr142en5a.htm>
. Óñèëèòåëü
Ê1463ÓÄ2 -
<http://www.radiant.su/files/images/_PDF/IC/rzpp_alfa.pdf>
. Êîíòðîëëåð
-
<http://eicom.ru/data_sheets/Analog_Devices_PDFs_1/Eval-ad7708Eb/>
. Îáçîð
øàãîâûõ äâèãàòåëåé
-
<http://www.electroprivod.ru/st_motor.htm>
. Øàðèêî
- âèíòîâàÿ ïåðåäà÷à
-
<http://www.bergab.ru/lmscrewnut.shtml>
. Ñàéò
ÎÀÎ Âîëãàáóðìàø
-
<http://www.vbmbits.com>
Ðàçìåùåíî
íà Allbest.ru