Механизмы деформации и дислокации металлов
Введение
Компетенции - приобретение основных знаний и
умений в определенной области.
Основные компетенции:
знать:
а) металлы - кристаллические и аморфные
состояния;
б) кристаллическая структура не идеальна -
дефекты структуры (дислокации); в) условия пластической деформации при низких
температурах:
· возможность появление дислокаций;
· размножение дислокаций;
· механизмы разрушения (плоское
скопление дислокаций и образцы трещин);
Дислокации лежат в основе деформации. Чем больше
деформация, тем сильнее деформация.
· взаимодействие дислокаций с
примесями (примеси увеличивают прочность);
· деформационное упрочнение при
холодной деформации (увеличение прочности; уменьшение пластичности,
следовательно, увеличивается вероятность разрушение);
г) механизмы горячей деформации:
· переползание дислокаций (при которой
происходит возврат свойств и рекристаллизация);
· законы рекристаллизации;
· влияние скорости деформации;
умение: определение механических свойств
металла:
· твердость;
· пластичность
· прочность;
I- упругая
деформация; II-
пластическая деформация;
- напряжение;
. прочность:
- предел
текучести временной;
.
- предел
прочности (сопротивление);
. пластичность:
-
относительное удлинение;
;
- относительное поперечное сужение;
дислокация
деформация металл
Лекция 1
Курс изучает механизмы пластической деформации,
изучает явления, сопровождающие пластическую деформацию.
Течение (металлов) - отличается тем, что металл
является кристаллическими средами; отличаются движением дислокаций.
При этом доказывается природа деформации, тем,
что характеристики значительно ниже, чем обусловленные в кристаллах.
Задача ТОМД:
1. расчет
напряженно-деформируемого состояния (
);
. Наложение ограничений
связанных с разрушением, то есть при определении разрушений может происходить
разрушение;
. Определение конкретных
режимов деформации;
. определение силовых
параметров (усилие деформации, крутящий момент, мощность деформации);
Процесс пластической деформации - сложный
физико-химический процесс, поэтому ТОМД можно рассматривать как 2 основных
раздела:
1. математическая теория
(решение задач методом механики сплошной среды, кривых
,величина
напряжения деформации в объеме тела, условия течения металла). Тело считается
непрерывным и изотропным, так как теория предусматривает условия перехода.
. изучение физики и
физико-химического процесса, при которой учитывается связь пластической
деформации с физико-химическими и фазовыми состояниями.
В данном курсе лекций изучаем теоретически и
экспериментально механизмы пластической деформации и определяем влияние
различных факторов:
· температура;
· деформация
;
· скорость деформации;
· виды напряженных состояний;
Основную роль в пластической деформации играют
дефекты структуры, главными из которых являются дислокации. Деформация
осуществляется за счет движения дислокаций.
Кристаллическая природа металла
Металлы - поликристаллические вещества,
состоящие из отдельных зёрен (разные зёрна имеют разную ориентацию структуры).
Атомы размещаются в 3 структуры: ГЦК, ОЦК и ГПУ.
Приведем примеры некоторых металлов:
|
ГЦК
|
ОЦК
|
ГПУ
|
|
Li
|
Li
|
|
|
Na
|
Na
|
|
K
|
Mg
|
|
Ca
|
Ca
|
|
|
Ti
|
Ti
|
|
Zr
|
Zr
|
|
V
|
|
|
Cr
|
|
|
Nd
|
|
|
Mo
|
|
|
Ta
|
|
|
Mn
|
Mn
|
|
|
Fe Fe
|
|
|
|
Fe
|
|
|
Co
|
|
Co
|
|
Ni
|
|
|
|
Cu
|
|
|
|
Ag
|
|
Zn
|
|
Au
|
|
Cd
|
|
Pt
|
|
Ds
|
|
|
Re
|
Силы связи в кристаллах
1. Ионная связь: характерна для групп
элементов А и В в таблице Менделеева.
Они имеют электронную структуру, подобно
структуре электронных газов, принимая по одному электрону на свои оболочки.
Такие оболочки весьма не активные.
2. Ковалентная связь: стабильная структура
электронной оболочки может происходить обобщением разных атомов. Cl
= Cl. К числу таких
кристаллов относится алмаз.(высокая температура плавления, прочность и
твердость, но отсутствует проводимость.
3. металлическая связь: образуется за счёт
притяжения между решётки положительно заряженных ионов и окружающих их газа
свободных электронов. Обуславливает их высокую тепло и энерго проводимость.
Энергия связи в электронах описывается следующим
выражением :
, где
- атомный объем;

-потенциальная энергия свободных
электронов;
- кинетическая энергия свободных
электронов;
- кинетическая энергия электронов,
занимающих более низкие орбиты .
Полная энергия;
Лекция 2
Типичные структуры металла
ОЦК и ГЦК: 
; а=в=с=а; ГПУ: а = в
с;
;
;
Есть технологии при которых размер
зерна приближается к наноструктуре. Для определения кристаллографических
плоскостей и направлений принята система индексации.
Плоскости- 3 взаимо-простых числа в
(…),обратно пропорциональны отрезкам, отсекаемых плоскостью на координатных
осях.
(1; 0: 0) (1; 1; 0)
(1; 1; 1) (1; 1; 2)
Направление в качестве прямой,
определяющей кристаллографическое направление выбирают прямую, проходящую через
начало координат. Положение прямой определяется координатами атома,
расположенными на этой прямой за единицу измерения принимаются параметры
решётки(3 числа) и записываются в
.
Расположение атомов на плоскостях и
направлениях различно. Расстояния между атомами различно. Свойства вещества
зависят от расстояний между атомами и их взаимным расположением. Поэтому для
любого кристаллического вещества характерна анизотропия свойств. Этим
математическая теория пренебрегает. Связано это с тем что реальные металлы
имеют поликристаллическую структуру. Внутри зерен имеется правильная
кристаллическая структура, но ориентация зерен различна. Поэтому материалы
можно считать изотропными. Зависит от вида обработки и деформации.
Текстура - преимущественное направление
ориентации зерен (характерна для прессования и продольной прокатки).
Полосатость микроструктуры- границы
зерен, вытягивающиеся в направлении деформации (характерна для прессования
продольной прокатки). Это вызывает анизотропию.
ГЦК -структура.
Каждый атом окружают 12 соседних
атомов, на расстоянии
.Это
координационное число решетки.
Существуют 2 вида пустот, в которые
размещается более мелкие примеси:
1. октаэдрические- пустоты расположенные в
центре куба.
2. тетроэдрические- пустоты расположены на
гранях куба.
Если представить кристалл виде сфер ( R
), то в октаэдрические пустоты можно вписать окружности радиусом 0,211R
а в тетроэдрические- 0,225R.
И в каждой из этих плоскостей три наиболее плотно упакованных направления.
ОЦК-структура
Менее плотно упакованная структура 8
соседей на расстоянии
и 6
следующих на расстоянии
.
вида пустот:
1. тетраэдрическая ( радиус вписанной
окружности R =0.291r)
2. октаэдрическая (радиус вписанной
окружности R =0,154r)
ГПУ-структура
В случае если
, то
координационное число равно 12, и такая структура называется идеально плотно
упакованной.
вида пустот:
1. октоэдрические (радиус вписанной
окружности равно R=0,41r)
2. тетраэдрические(радиус вписанной
окружности R= 0.225r)
Таким образом ГЦК и ГПУ- структуры родственные.
Это видно из следующих рисунков.
Металлические силы сцепления
Трудно определить экспериментальным путем. Силы
сцепления определяются косвенно, исследуя величины: температура плавления,
температура сублимации( количество тепловой энергии для перевода твердого
вещества в газообразное состояние), по определению сжимаемости ( изменение
объёма вещества при повышения гидростатического давления на единицу).
Сжимаемость коэффициент термического расширения.
Теплота сублимации и температура плавления характеризуется величину энергии,
необходимую для разрушения межатомных связей.
Если сжимаемость мала, то силы связи велики.
Объем кристалла определяет отношение силы сцепления и силы отталкивания. При
малых силах сцепления кристалл занимает больше объема. В этом случае растет
величина сжимаемости.

четвертый период V, Cr- 2000
; Fe- 1500
;
пятый период Nb, Mo- 2500
;
шестой период W- 3500
;
Второй экстремум элементы подгруппы
4b Si- 1500
; C(алмаз)-
5000
Эти данные характеризуют поведение
веществ необходимых сопоставить с коэффициентом
.
Чем больше (выше) сила сцепления,
тем ниже коэффициент термического сцепления.
Сплавы
Обычно сплавы это твердые растворы
или химические соединения. Растворимость их меняется в очень широких пределах(
в зависимости от содержания серы и фосфора).По ГОСТ допустимо:
в стали-0,035%
в стали А- 0,025%
в металлургии выше 0,015%
Цинк в меди можно растворить 39%,
при этом структура не изменяется. Это зависит от характера кристаллической
решётки
Типы химических растворов(твердых):
1. Замещения(в меди атомы могут замещаться
атомами никеля; соотношение элементов любое; назначение не ограниченный ряд
твердых растворов.(компоненты имеют одинаковую структуру; размеры атомов
близки).
Существуют промежуточные фазы, имеющие структуру
отличную от трех основных структур. Если растворимость сильно
ограничена(водород), то такие фазы называются интерметаллическими соединениями
или валентными соединениями.(падает пластичность и металл охрупчивается).
2. Внедрения размеры атомов сильно
отличаются. Атомы внедрения помещаются в пустоты( кислород, бор, углерод, азот)
Оба типа твердых растворов 1) и 2) могут быть
как упорядоченные, так и не упорядоченными. Если растворы полностью
упорядочены, то такие растворы называют сверхструктурой.
Дефекты структуры
Не совершенства трёх типов:
1. точечные: вакансии - точечные узлы
решётки; межузельные смещенные атомы.
2. линейные: дислокации.
. поверхностные: деформационные упаковки;
малоугловые границы.
Вакансии образуются в результате закалки,
облучения ( в реакторах),пластическая деформация, легирование.
Дефекты упаковки (ГЦК) :
1. дефект упаковки типа вычитания:
СВАСВАСВА
ВАСВ СВА
2. дефект упаковки типа внедрения: СВА (В)
СВА
Лекция 3
Дислокации
Это наиболее важный дефект, так как поведением
дислокаций объясняются многие свойства; механизмы, связанные с пластической
деформацией; упрочнение при пластической деформации.
типа дислокации:
. краевая
. винтовая
Краевая дислокация
г - линия дислокации.
Точки пересечения линии дислокации с
перпендикулярными плоскостями называются центрами дислокации. (после отжига
кристаллы содержат
дислокаций
на см
)
Появляется дополнительная плоскость,
значительно разрушающая взаимное расположение атомов и создающая дополнительные
напряжения (силовое поле). Чем ближе к центру силового поля, тем больше
напряжения.
Дислокации можно сравнить с
действием клина. Создаются области растяжения и сжатия.
Под действием напряжений дислокации
могут перемещаться в области скольжения.
Дислокация имеет напряжению и
величину.(вектор Бюргерса)
Рассмотрим два кристалла: 1-
совершенный кристалл;2-кристалл, содержащий одну дислокацию.
Для 1 кристалл: обход по замкнутому
пути вокруг кристалла;
Для 2 кристалла: аналогичный путь не
будет замкнут, тогда не завершенная часть пути- вектор Бюргерса; путь обхода -
контур Бюргерса.
Линейный дефект вокруг, которого
контур Бюргерса не замкнут, называется дислокация.
Дислокация полностью определяется
вектором Бюргерса и напряжение её оси.
Винтовая дислокация
Рассмотрим цилиндр. Разрежем стенку
параллельно оси и сдвинем. Тогда плоскости перпендикулярно оси и параллельно
плоскости превращаются в спираль
Поверхность скольжения -
поверхность, задаваемая осью дислокаций и вектора Бюргерса. В частном случае
плоскость скольжения при условии, что ось дислокации прямая линия.
Дислокация сдвига определяется
положением:
, где
- плотность
дислокации- число дислокаций в единицу объёма;
- вектор Бюргерса;
- средняя
длина пробега дислокации;
Движение дислокации по плоскостям
скольжения называется консервативным (нормальным). Неконсервативным движением
дислокации- преползание, то есть перпендикулярно плоскости скольжения.
Переползание- взаимодействие дислокаций с вакансиями.
Правило знаков
Выбираем положительное направление
оси дислокации, положительное направление вектора Бюргерса против часовой
стрелки. Если вектор Бюргерса замыкает контур Бюргерса, то бесконечная точка
переходит в начальную.
Напряженное состояние дислокации
расстояние от начала координат до
точки
поворот
Винтовая дислокация:
нормальные
напряжения;
;
касательные
напряжения;
Краевая дислокация:
нормальные
напряжения;
;
касательные напряжения;
Вблизи винтовых дислокаций
отсутствуют нормальные напряжения, значит нет области растяжения- сжатия, а
вблизи краевой - есть. Это означает, что только вблизи краевой дислокации могут
концентрироваться атомы примесей.
Лекция 4
Энергия дислокации
Для винтовой дислокации энергия
определяется как:
Для металла
составляет
2,5*
Дислокация в кристаллах: в реальных
кристаллах может быть только ограниченное число векторов Бюргерса. Для их
определения дислокации разбивают на:
.полные;
.частичные (расщеплённые,
растянутый);
3. вершинные;
Полные - после образования дислокации сохранение
прежнего положения атомов. В случае ГПУ может появляться дефекты упаковки.
- полная дислокация;
Переход
осуществляется:
, при этом
появляется дефект упаковки вычитания, то сеть:
Источники Франка-Рида
Источники Франка-Рида показывают
возможность размножения дислокаций и этим можно объяснить большое число
пластической деформации.
Схема размножения дислокаций
Плоское скопление дислокаций (ПСД)
С помощью ПСД можно объяснить механизмы
упрочнения при холодной деформации и разрушения, разупрочнения.
Работает источник Франка-Рида,
генерируя дислокации, но по пути движения возникают непреодолимое препятствие
(выделяются частицы второй фазы). Дислокации наиболее плотно располагаются
вблизи препятствий. На легирующую дислокацию действует напряжение
и поля
напряжений других дислокаций
Для дальнейшей деформации необходимы
более высокие напряжения - происходит упрочнение материала. Как правило,
упрочнения сопровождается снижение пластичности.
Дислокации могут быть началом
образования трещин, трещины могут создавать основу для разрушения. При нагреве
начинает действовать второе движение дислокации - переползание.
Увеличение количества вакансий
позволяет дислокации преодолевать препятствия.
Дислокационные реакции
Две дислокации
и
могут
вступать в дислокационные реакции с образованием:
. Если дислокация
имеет отрицательный знак, то
, то есть аннигиляция. Кроме того, в
результате таких реакций могут образовываться «сидячие» дислокации, которые
могут образовать препятствия для движения дислокации. Такие возможности так же
могут определять деформационное упрочнение.
Образования трещин
Плоское скопление дислокаций(ПСД)-
могут приводить к смещению ведущих дислокаций и зародышу трещин.
Существует механизм, при котором дислокации
могут обходить препятствия: при этом создается напряжение:
, где
- среднее расстояние между
препятствиями;
Силы трения, возникающие при перемещении
дислокаций
Рассмотрим силы необходимые для движения
дислокаций, для работы источников Франка- Рида.
1. Трение, связанное
зависимостью от положения расположения внедрения ядра от положения эти силы
составляют:
1. при движении дислокации атомы переходят
из одного ассиметричного состояния в другое;
2. при движении дислокации возникает
поперечное колебание решётки, при этом излучаются упругие волны, на которые
затрачивается энергия;
. при движении краевой дислокации
образуется зона растяжения- сжатия, при этом происходит не большое нагревание и
охлаждения, энергия рассеивается.
Зависимость скорости движения дислокации от
напряжения
где n=40
-кремнистое железо; n=25-фтористый литий;
Взаимодействие дислокаций с другими
дефектами
Блокировка дислокаций атмосферами
Котрелла
Для краевой и смешанной дислокации
существуют области растяжения-сжатия. В результате дислокация притягивает,
внедрённые так и замещённые атомы примесей, объем которой всегда отличается от
атомов матрицы. При этом атомы, у которых радиус больше, чем радиус матрицы
притягиваются в область растяжения, в противном случае - в область сжатия. В
результате в области таких дислокаций образуется повышенная концентрация
примесей. Это может происходить в процессе диффузии. Возникает атмосфера (
облако) Котрелла из примесных атомов с концентрацией:
, где Со-
средняя концентрация; U- энергия связи;
В результате дислокации приобретает
«якорь»- атмосферы Котрелла.
Два механизма движения дислокации:
1. Дислокация обрывает «якорь»;
2. Дислокация тащит «якорь» за собой;
В первом случае необходима работа, равная
энергии связи дислокации с примесными атомами.
Во втором случае - энергия необходимо меньше, но
движение будет медленное- явление ползучести. Этим объясняется упрочнение при
легировании.
Лекция 5
Блокировка дислокаций по Судзуки
Наблюдается разность растворимости атомов в ГЦК
и ГПУ решётках. Это приводит к блокировке дислокации по Судзуки. В этом случае
примесные атомы стремятся в область дефекта упаковки или уходят из неё.
Блокировка, обусловленная электрическими
взаимодействиями
Связано с тем, что растянутые области несут
отрицательные заряды, а сжатые- положительные заряды. Существует взаимодействие
дислокаций с заряженными атомами, которые повышают или понижают концентрацию
примесных атомов.
Взаимодействие дислокаций с вакансиями
Разнообразные механизмы: концентрация вакансий
может приводить к образованию краевой дислокации.
Переползание- взаимодействие дислокаций с
вакансиями.
Зарождение дислокаций
Размножение дислокаций происходит при помощи источников
Франка-Рида, но для того, что бы эти механизмы работали, необходимо изначально
присутствие дислокации. Дислокации зарождаются при процессе рекристаллизации.
Кристаллизация активно происходит вблизи
винтовой дислокации.
Основные механизмы: при кристаллизации периоды
решётки всегда различаются. Для самых тонких (эпитаксиальных) в результате
появляются напряжения, как в подлодке, так и в растущем слое. Возникают
растягивающие напряжения. При определенной толщине слоя эти напряжения приводят
к тому, что энергетически выгодно становиться снятие напряжения сеткой
дислокаций. Эти слоя снимаются чередованием слоя с дислокацией, затем слой без
неё.
Возможна кристаллизация, которая происходит при
выпадении определённых, гораздо более толстых слоёв (ламели или пластичны). В
них действуют те же механизмы. И их на поверхности Ламели образуется сетка
дислокаций
Концентрация вакансий
Под действием высоких напряжений в кристалле
образуется сетка дислокаций. В дальнейшем пластическая деформация происходит
при низких напряжениях.
Если отсутствуют подвижные дислокации (металл
совершенен), дислокационные петли способные к размножению, то пластическая
деформация не возможна пока хотя бы в отдельных областях не будет достигнут
предел теоретической прочности.
Методы исследования дислокаций
- первые экспериментальные данные о дислокации.
Было подтверждено:
Наличие дислокаций: обнаружение механических
движения дислокации экспериментально обнаружены разные типы дислокации
(винтовая, смешанная, краевая, расщеплённая, призматическая, криволинейная,
разветвлённая и вершинная). Удалось наблюдать экспериментально:
· Действие поперечного сечения;
· Источник Франка- Рида;
· Дислокационные реакции;
· Плоское скольжение дислокации;
Методы:
1. Метод линии дислокации: если выходит
Толька одна дислокация, то образуется ступенька, но когда на поверхность
выходит группа дислокаций, то в результате образуются полосы или линии
скольжения. Изучение их позволяет определять некоторые численные значения:
количество дислокаций, является источник плоский или пространственный, какая
плоскость скольжения является предпочтительной.
2. метод декорирования: Способности
дислокации притягивать атомы примесей. Для этого в чистое прозрачное вещество
вводят примеси. За счёт соответствующей термообработки создаётся условие
перемещения примесей в область краевых дислокаций и в этом случае дислокации
можно обнаруживать непосредственно.
Лекция 6
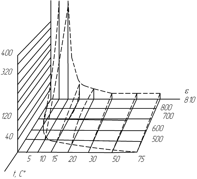
Условия пластической деформации при низких
температурах
Пластическая деформация зависит от:
· типа структуры;
· температуры;
· скорости деформации;
· предшествующая деформация;
· монокристалл (размером зерна) или
поликристалл;
Закономерности пластической
деформации оцениваются по кривым напряжения-деформации(
)
1. Любой кристаллический материал
подвергается наклёпу в деформационном упрочнении, то есть если была
пластическая деформация, то для дальнейшей пластической деформации требуется
более высокое напряжение. Это характерно особенно для пластической деформации:
Данная оценка деформации не очень
показательна, необходимо рассматривать:
Рассмотрим кривые
для
малоуглеродистой стали:
(*)
Разрушение: образование шейки;
вязкое или хрупкое разрушение (высоуглеродистые стали). Причина вязкого
разрушения неоднородность образца (образование шейки)
Кривая (*) относится к
поликристаллическому телу. Для исследования закономерности пластической
деформации по монокристаллу не отражает закономерность разных кристаллов.
Пластическая деформация в
монокристаллах
Движения дислокации в плоскости
скольжения. Вектор Бюргерса параллелен направлению скольжения.
В результате деформации гладкая
поверхность монокристалла становится ступенчатой; ступеньки это выход на
поверхность определенного количества дислокаций.
При большой степени деформации
образуются полосы (или пачки) скольжения, то есть выход дислокации на
поверхность больше.
Кривые
для ГПУ структуры:
При этом скольжение происходит по
базовым плоскостям скольжения(наиболее плотно упакованным)
1- упругая область деформации:
2- кривая пластической деформации:
критическое напряжение (переход
пластической деформации в упругую);
модуль упругости;
При деформациях
степень
деформационного упрочнения возрастает, поэтому область 2- область легкого
скольжения. Деформация не обратима.
Если повторить эксперимент нагрузки
(разгрузки) с применением точных приборов, то заметим, что кривая нагрузки и
разгрузки не совпадает:
Образуется петля Гистерезиса. Этот
случай называют эффектом Баушингера. Объяснение критической величины привело к
значению критической деформации.
Кривая
для ГЦК
структуры:
I - область
легкого скольжения (по одной из параллельных плоскостей скольжения)
II -
Возрастает степень деформации. Объясняется это появлением плоских скоплений
дислокаций, затрудняющих движение.
III - зависит
от температуры. При температуре
К этот участок может отсутствовать.
Кривая
для ОЦК
структуры
Для большинства металла характерно
наличие второй фазы, но очень чистый Nb имеет все
три участка.
Влияние примесей
1- участок упругой деформации;
2- переход упругой деформации в
пластическую в точке
;
-
,
горизонтальный участок до
Влияние температуры
мало зависит от температуры для
чистых металлов. При появлении примесей:
1- чистый алюминий
2- 3,43Zn
3- 5.28Zn
Температура влияет на характер перехода:
С повышением температуры становиться короче
область легкого скольжения (I
участок) и меньше степень деформации при которой наступает III
стадия.
Лекция 7
Механизмы деформационного упрочнения
Тейлор объяснил причины деформационного
упрочнения. Это влияние полей напряжений вокруг дислокаций.
Тейлор считал, что на первом участке деформация
происходит под влиянием полей напряжений дислокаций; препятствие для движения
деформации нет. При этом считают, что в единице объема содержится «N»
источников дислокации, при этом количество источников остается постоянным при
легком скольжении, При этом число петлей от каждого источника есть «n».
Это подтверждается экспериментально.
Вторая стадия: возникают плоские скопления
дислокаций, то есть препятствуют для движения. Это объясняется увеличением
дислокаций.
Третья стадия: в результате второй фазы растет
напряжение и в результате начинается новое движение дислокаций по плоскостям
менее плотно упакованным.
При этом степень деформационного упрочнения
уменьшается, так как эти плоскости ещё чистые и не забиты дислокациями. Для
перехода к третей стадии необходимо высокое напряжение.
В зависимости от температуры, при повышении,
переход ко второй и третей стадиям происходит быстрее.
Для металла и материала с примесями введен
предел текучести.
Полосы Чернова - Людерса и предел текучести
Верхний
и нижнего
предела
текучести имеет место для монокристаллов (ОЦК) и поликристаллов с примесями.
При этом при напряжении, соответствующем
деформация происходит путем
распространения пластической волны- полосы Чернова - Людерса.
До тех пор пока полосы Чернова -
Людерса не охватят весь образец, не будет деформационного упрочнения.
Поперечная ширина уменьшается.
В образце под действием
начинают
образовываться полосы Чернова - Людерса, которые распространяются под действием
.
Механизм процесса ( относится к
материалу с примесями):
Примеси концентрируются в близи
дислокаций, атмосферы Котрелла. Дислокации закреплены атомами примесей
Поля напряжений с дислокациями
взаимодействуют с полями напряжения примесных атомов, в результате общая
напряженность уменьшается и уменьшается общая энергия системы. Так же
появляется
, при
которой дислокации выходят из атмосфер Котрелла. И
- результат
отрыва дислокаций от «облаков примесей».
Деформация происходит при постоянном
напряжении
Механизмы деформации поликристаллов
Деформация в поликристаллах
начинается при достижении
в одном из
зерен, Начинают работать источники, испуская дислокационные капли, которые
движутся к границе зерна и там они задерживаются, скапливаются и образуют
плоское скопление дислокаций. В соседнем зерне так же разблокируется источник и
начинается деформация всего тела.
Начинают движение полосы Чернова -
Люверса, соответствует уравнение:
,где k - const;
d - средний
размер зерна;
Разрушение
Результат пластической деформации
имеет разрушение
Вида разрушения:
1. вязкое;
2. хрупкое;
Вязкое разрушение происходит после пластической
деформации:
Образуется шейка - ножевидный излом
Хрупкое разрушение происходит за счёт
распространение трещины по обазцу
, где E -модуль
упругости;
- поверхностная энергия на ед.
площади;
С - диаметр трещины;
Лекция 8
Горячая деформация. Механизмы
горячей деформации
Повышение температуры приводит к
росту амплитуды колебаний атомов, к диффузии; так же появляются вакансии.
Поэтому это приводит к включению
механизма переползания дислокации.
Переползание - движение дислокаций,
то есть дислокация получила дополнительную степень свободы. Это даёт
возможность движение дислокаций по дополнительным плоскостям скольжения
(дислокации начинают обходить препятствия). Это связано с повышением
температуры. Это механизм разупрочнения.
Так же активизируется механизм
ползучести движение дислокации вместе с облаками Котрелла (примесными атомами).
Мы получаем диффузию: диффундируют примесные атомы.
Дефекты упаковки
При деформации с повышением
температуры проявляется 2 механизма:
1. возврат;
2. рекристаллизация;
По мере роста температуры первая стадия процесса
возврат: происходит изменение в деформационной структуре (внутри зерен), кроме
границ зерен, но при этом уменьшается плотность дефектов (плоское скопление
дислокаций)
При этом возникает микродеформация, происходит
снятие остаточных напряжений.
Следующая стадия: рекристаллизация:
При рекристаллизации образуется новая структура
(с изменением ориентации).
Несколько стадий рекристаллизации:
1. первичная рекристаллизация: самая
низкотемпературная.
В деформационной структуре дефекты скапливаются
на границах зерен (самая большая концентрация энергии) - там начинается
первичная рекристаллизация. Эта энергия и способствует образованию новой
структуры (недеформированной) и приводит к снижению упрочнения.
Упрочнение- повышение прочности, понижение
пластичности. Следовательно, приводит к разрушению. Наиболее эффектное
разупрочнение происходит в процессе разупрочнение.
На стадии первичной рекристаллизации в пределах
старых зерен образуются новые, до полного поглощения старой структурой.
Затем могут начаться миграция границ зерен. При
этом происходит поедание одних зерен другими. Но при этом средний размер зерна
остается прежний, а затем увеличивается.
2. вторичная рекристаллизация
При вторичной рекристаллизации растут отдельные
зерна (углубления зерна). С ростом температуры вступает в действие процесс
переползания дислокации (взаимодействие дислокаций с вакансиями). Уменьшается
число дефектов. Происходит разупрочнение, уменьшается вероятность разрушения.
С повышением температуры происходит горячая
деформация. Два процесса: упрочнение и разупрочнение.
Изменение свойств металла при горячей деформации
Возврат. При возврате восстанавливаются
физические и механические свойства до значений, которые имели место в
недеформируемой структуре. Не восстанавливается предел текучести.
В процессе холодной деформации возникают
остаточные внутренние напряжения. Различают три вида:
. объемные остаточные напряжения, которые
уравновешиваются во всём объёме;
. локальные (наклеп поверхности). В локальной
плоскости происходит упрочнение;
3. на уровне кристаллической решетки или
зерна
При возврате снимаются остаточные напряжения
первого рода , остаточные напряжения второго рода - более стойкие.
Законы рекристаллизации
-ый закон: Для рекристаллизации необходимо
минимальная деформация.
Зарождение новых зерен. Появление на участках,
где сконцентрировано большое количество упругой энергии (максимальная
концентрация дислокации).
-ой закон: Чем меньше степень деформации, тем
выше температура рекристаллизации.
-ий закон: С увеличением времени температура
рекристаллизации уменьшается.
Инкубационный период имеет важное значение при
рекристаллизации.
Большое влияние на инкубационный период
оказывает:
температура (тем выше температура, тем быстрее
проходит инкубационный период);
деформация, её величина;
влияние скорости деформации при горячей
обработке.
-ый закон: размер зерна зависит от степени
деформации и меньше, от температуры, а именно: чем выше степень деформации и
ниже температура рекристаллизации, тем зерно меньше.
Размер зерна зависит от:
степень деформации;
температуры;
Наиболее благоприятна мелкозернистая структура.
Размер зерна зависит от:
скорость образования зародышей;
скорости их роста;
-ый закон: чем больше исходной размер зерна, тем
больше требуется степень деформации для рекристаллизации.
Связывает исходный размер зерна со степенью
деформации. Так как зародыши образуются вблизи границ зерен, то требуется более
высокая степень деформации.
Упрочнение вызывается увеличением плотности
дислокации под влиянием внешних сил, а так же взаимодействие дислокаций между
собой. А процесс разупрочнения заключается в уменьшении плотности дислокаций, а
так же их перераспределением с образованием энергетически более стабильных
конфигураций.
Применение методов горячей деформации:
· изготовление крупных заготовок;
· труднодеформированные металлы;
· малопластичные металлы;
· литые изделия;
Первичная рекристаллизация:
|
Металлы
|
W
|
Mo
|
Fe
|
Cu
|
Al
|
Zn
|
Pb
|
|
3400262515351084660419327
|
|
|
|
|
|
|
|
|
120090046020010020<20
|
|
|
|
|
|
|
|
При температуре выше температуры
рекристаллизации пластическая деформация сопровождается двумя процессами:
1. упрочнение
2. разупрочнение
Процессы упрочнения так же происходят
одновременно
Чем выше температура и скорость деформации, тем
выше скорость разупрочнения. Если скорость разупрочнения обеспечивает создание
новых равновесных зерен, а структура им соответствует структуре
недеформированных зерен, упрочнения нет.
Лекция 9
Влияние скорости деформации
Так как для полного протекания процесса
рекристаллизации требуется время, то есть инкубационный период отсюда влияние
скорости деформации.
При высокой скорости деформации времени для
полной рекристаллизации мало и для деформации требуется большее напряжение.
Текстура
В результате пластической деформации структуру
металлов в зернах обретает преимущественную (структура поворачивается) - это
называется структурой деформации.
Это приводит к анизотропии (свойства по
различным направлениям отличаются).Возникает в результате текстура
рекристаллизации при отжиге. Она отличается с текстурой деформации. Это связано
с преимущественным ростом зерен, зарождение зерен с приемущественной
ориентацией.
Способы, приводящие к анизотропии:
· прессование;
· продольная прокатка;
Сопротивление деформации
Сопротивление деформации это предел текучести в
условиях деформации.
На напряжение необходимое для пластической
деформации учитывается ряд факторов:
1. Температура холодной (горячей)
деформации;
2. при холодной деформации: деформационное
упрочнение (наклеп) зависимость сопротивление деформации от предшествующей
степени деформации.
. скорость деформации
- сопротивление деформации -
величина напряжения, вызывающая пластическую деформацию при линейном
напряженном состоянии при определение степени деформации (холодная деформация)
и температурно- скоростных условиях (горячая деформация).