Методы оценки технического состояния газоперекачивающих агрегатов

  • Вид работы:
    Магистерская работа
  • Предмет:
    Другое
  • Язык:
    Русский
    ,
    Формат файла:
    MS Word
    1,27 Мб
  • Опубликовано:
    2012-06-09
Вы можете узнать стоимость помощи в написании студенческой работы.
Помощь в написании работы, которую точно примут!

Методы оценки технического состояния газоперекачивающих агрегатов

Содержание

 

Введение

. Анализ критериев надежности ГПА

.1 Виды отказов и периоды функционирования технической системы

.1.1 Классификация отказов оборудования

.1.2 Основные периоды функционирования оборудования

.1.3 Связь характера отказов с периодами функционирования оборудования

.2 Анализ статистических данных отказов ГПА

.3 Классификация и анализ причин отказов ГПА

.3.1 Ранжирование основных неисправностей ГПА

.3.2 Анализ причин возникновения неисправностей ГПА

. Анализ методов неразрушающего контроля технического состояния ГПА

.1 Характеристика технического состояния ГПА

.2 Методы неразрушающего контроля технического состояния ГПА

.2.1 Вибрационная диагностика (динамический метод контроля)

.2.2 Параметрическая диагностика (динамический метод контроля)

.2.3 Диагностика деталей, омываемых маслом

.3 Анализ методов диагностики ГПА

.4 Алгоритм диагностирования ГПА

. Методы оценки технического состояния ГПА

.1 Идентификация неисправностей прогнозируемого ГПА

.2 Алгоритмизация прогнозирования технического состояния ГПА

.3 Управление работой КС с учетом фактора надежности

.3 Повышение эффективности системы ТО и Р ГПА

Выводы

Список использованных источников

Введение

Актуальность темы. Надежность и бесперебойная перекачка природного газа невозможна без эффективной работы газоперекачивающих агрегатов. Основными направлениями развития и оптимизации работы агрегатного парка остается повышение: надежности; экономичности; ремонто-пригодности; ресурса. Эти задачи, в определенной мере, являются противоречивыми, т.к. конструктивные недостатки практически невозможно исправить в процессе эксплуатации оборудования. Принципиальные возможности совершенствования эксплуатации и ремонта ГПА, отвечающие современным требованиям экологичности и безопасности основаны на решении теоретических и практических задач анализа надежности и безотказности сложных технических систем. Поэтому исследование и разработка эффективных методов контроля технологических параметров энергетической установки в период функционирования, выявление дефектов и неисправностей на ранней стадии их возникновения является весьма актуальной проблемой. Отечественный и зарубежный опыт свидетельствует, что применение комплексных методов диагностики, позволяюших оптимизировать структуру обслуживания и снизить стоимость ремонта оборудования, является одним из важнейших средств повышения качества, надежности и экономической эффективности эксплуатации компрессорных установок магистральных газопроводов.

Комплексная оценка технического состояния потенциально опасных элементов технической системы в период эксплуатации в основном базируется на структурном анализе надежности ее компонентов, динамических безразборных методах контроля (диагностика по параметрам вибрации и термогазодинамическим характеристикам) и анализе загрязнений. Успех диагностирования в значительной мере обусловлен правильностью выбора информативных компонент для построения принципиальных диагностических моделей объекта и моделей распознавания и идентификации сигналов измерительных систем.

Однако далеко еще не решен вопрос распознавания трудноразличимых неисправностей по количественной и качественной оценке параметров колебательных процессов.

В целом, комплексное использование методов технической диагностики, обеспечивает возможность (при наличии современных универсальных аппаратных средств) эффективного контроля работоспособности энергетических установок, совершенствования системы обслуживания, снижения затрат на ремонтные операции, увеличения ресурса и оптимизации управления компрессорными станциями в составе АСУ газопроводов.

Состояние изученности темы. Исследованию задач повышения надежности трубопроводных систем, а также энергетического оборудования посвящены работы многих авторов. Наибольший вклад внесли А.И. Гриценко, Д.Т. Аксенов, В.Л. Березин, В.В. Болотин, Е.И. Яковлев, Р.Н. Бикчентай, СП. Зарицкий, В.А. Иванов, А.С. Лопатин, И.А. Иванов, Б.Н. Порщаков, А.Б. Шабаров, О.А. Степанов, и др.

Проведенный анализ литературных источников позволяет выделить то, что до последнего времени исследования в области повышения эксплуатационной надежности ГПА носили ограниченный характер и сводились в основном к решению отдельных частных задач по разработке упрощенных методов контроля и испытаний применительно к отдельным типам ГПА.

Цель работы. Исследование методов оценки технического состояния ГПА основанного на комплексных факторах и параметрах работы агрегата.

Для достижения поставленной цели решались следующие задачи:

•        систематизировать неисправности ГПА и проанализировать причины их возникновения;

•        проанализировать методы исследования текущего технического состояния ГПА в период эксплуатации;

•        исследовать методы оценки технического состояния ГПА и на основе этого, выявить основные аспекты повышения эффективности системы ТО и Р ГПА.

Объектами исследования являются ГПА компрессорных станций с газотурбинным приводом.

Научная новизна. На основании выполненных исследований получены следующие результаты:

•        Выполнен системный анализ методов технической диагностики и исследованы оптимальные методы оценки текущего технического состояния компрессорной установки в период эксплуатации;

•        Научно обоснованы принципы и предложены методы качественного анализа работоспособности, позволяющие описывать техническое состояние ГПА;

•        Выявлены основные критерия повышения эффективности ТО и Р ГПА.

Структура и объем работы. Диссертационная работа состоит из введения, трех разделов, заключения, списка литературы из 25 наименований.

1. Анализ критериев надежности ГПА

 

.1 Виды отказов и периоды функционирования технической системы


Отказы никогда не возникают мгновенно - всегда прослеживается некоторый конечный промежуток времени между причиной и следствием. Отказ возникает в случае, если вызвавшая его причина (или причины) не устранена за некоторый промежуток времени, в течение которого возможно предотвращение возникновения опасной ситуации, при условии, что опасность однозначно определена. Поэтому, методы исследования технического состояния агрегатов (техническая диагностика) базируются на поэлементной классификации отказов, которая является основой установления истинной причины выхода из строя оборудования.

1.1.1 Классификация отказов оборудования

Отказы, в соответствии со своей физической природой, могут характеризоваться как [2,5]:

·              связанные с разрушением деталей и их поверхностей - поломки, различные виды повреждений и износа, коррозия, старение;

·              не связанные с разрушениями - недостаточная вязкость масла, облитерация каналов подачи топлива и смазки, ослабление резьбовых, прессовых и т.д. соединений, нарушение регулировки узлов, дисбаланс. В соответствии с этим, отказы устраняют заменой деталей или комплектов, регулированием или очисткой.

По возможности дальнейшего использования изделий отказы различают:

         полные, исключающие возможность работы изделия до их устранения;

         частичные, при наличии которых изделие может использоваться с неполной мощностью или на пониженной скорости.

По характеру возникновения отказы определяются как: быстроразвивающиеся (аварийные) и постепенные (износ, старение, загрязнения и т.д).

При всем своем многообразии, в зависимости от вызвавших их причин, отказы можно подразделить на три группы [2,6]:

·              первая группа - конструкционные отказы, являющиеся следствием: дефектов конструкции, погрешностей технологии производства и эксплуатационно-технической документации. Они одинаковы для всех других экземпляров данной системы или же для некоторой группы изделий. При обнаружении отказов этой группы на отдельных экземплярах могут приниматься решения о проведении доработок на остальных экземплярах или же выполнении мероприятий, исключающих появление подобного вида отказов;

·              вторая группа - производственные отказы, которые вызваны случайным разбросом или ограниченностью сроков службы комплектующих элементов, случайными неблагоприятными сочетаниями разбросов параметров отдельных элементов в пределах установленных допусков, случайными неблагоприятными сочетаниями режимов работы или условиями эксплуатации и т.д. Характерной особенностью отказов данной группы является то, что они вызываются зачастую не повторяющимися для разных экземпляров системы причинами. Обнаружение отказов второй группы на одном экземпляре данной системы не дает оснований делать заключение о ненадежности остальных;

·              третья группа - неизбежно-эксплуатационные отказы, происходящие в результате износа подвижных сопряжении и рабочих органов под влиянием сил трения или вследствие долговременного воздействия пульсирующих и знакопеременных нагрузок (силовых и температурных), коррозии.

При проектировании оборудования практически ни одно подвижное соединение (сопряжение) не проверяют на износостойкость и далеко не всегда используются наиболее эффективные средства снижения износа, учитывающие конкретные условия работы. Разрушения при износе имеют кумулятивный характер и являются результатом последовательного и многократного накопления повреждений. Отказы могут возникать также вследствие взаимодействия жидкостей и газов с поверхностями твердых тел - в процессе трения формируется «третье тело», что существенно изменяет молекулярную составляющую трения.

Все отказы, вне зависимости от принадлежности к той или иной группе, классифицируются по принципу [2]:

         первичные отказы;

         вторичные отказы;

         ошибочные команды.

Первичный отказ элемента определяют как нерабочее состояние, причиной которого является сам элемент, и необходимо выполнить некоторый объем ремонтных работ для возвращения его в рабочее состояние. Первичные отказы происходят при входных воздействиях, значения которых находятся в пределах, лежащих в расчетном диапазоне, а причины отказов обусловлены естественным старением элементов (например, «появление трещины в корпусной детали в результате естественного старения»).

Вторичный отказ подобен первичному, за исключением того, что сам элемент не является причиной отказа [2]. Эти отказы появляются из-за воздействия предыдущих или текущих избыточных напряжений на элементы, которые могут быть вызваны любым видом нагрузок (или их комплексом), действующих на систему. Примером может служить сигнал «срабатывание системы защиты при повышенной вибрации подшипника», то есть подача сигнала защиты системы при превышении предельных значений функциональных параметров.

Ошибочные команды интерпретируются как элемент, находящийся в нерабочем состоянии из-за неправильного сигнала управления или помехи, при этом, как правило, для возвращения элемента в рабочее состояние ремонт не требуется.

Для оценки надежности системы и достоверности определения ее действительного технического состояния следует рассмотреть такое важное понятие как дефект - повреждение (нарушение целостности, сплошности, или нарушение правильности регулировки узлов и агрегатов) не приведшее к потере работоспособности оборудования. Обычно любому отказу предшествуют развивающиеся дефекты и неисправности. Поиск дефекта заключается в указании с определенной степенью точности его местоположения в объекте (и) или прогнозирование его развития на установленном отрезке времени эксплуатации агрегата. Сложность этого поиска в том, что каждый элемент, участвуя в рабочем процессе, испытывает воздействие со стороны соседних элементов. Степень этого воздействия обусловлена структурой системы и процесс поиска дефектов неизбежно должен прослеживать эту взаимосвязь. Анализ причин возникновения отказов в период эксплуатации, а так же классификация отказов по группам, являются важнейшими этапами исследования надежности технических систем и их своевременной диагностики.

1.1.2 Основные периоды функционирования оборудования

В целях правильной классификации типа отказов и оценки возможности их возникновения следует различать три периода функционирования оборудования [2,7,8]:

·              период приработки - обычно происходит при работе агрегата на холостом ходу с постепенным нагружением для предотвращения повреждений в начальный период работы. Этот период характеризуется повышенной интенсивностью отказов, с его окончанием связывают срок гарантийного обслуживания;

·              период нормальной эксплуатации - интенсивность отказов снижается, стабилизируется и изменяется во времени незначительно. Время появления отказа не связывают с предыдущей наработкой изделия;

·              период интенсивного износа элементов системы характеризуется увеличением общего количества отказов.

1.1.3 Связь характера отказов с периодами функционирования оборудования

Опыт эксплуатации показывает, что изменение интенсивности отказов функционально связанных элементов по времени для большинства узлов и агрегатов носит характер кривой [2,9] изображенной на рисунке 1.2.

Рисунок 1.1. Зависимость интенсивности отказов от времени эксплуатации

Для выявления и устранения дефектов в первом периоде проводят приемосдаточные испытания. Ресурс изделия назначают от окончания первого периода до окончания третьего. Считается, что замена изношенных деталей новыми, целесообразна только во втором периоде, так как профилактическая замена узлов и элементов в третьем периоде снижает общий уровень надежности изделия [2]. В этой связи ставится задача соотнесения видов отказов с периодами работы оборудования, которые, в зависимости от типа машины, могут считаться довольно стабильными. Вследствие этого возникает необходимость оценить количественную сторону появления той или иной группы отказов в установленный период функционирования системы.

Каждый период эксплуатации характеризуется определенными проявлениями видов отказов первой, второй и третьей групп. В начале периода приработки системы преобладают отказы первой группы, а с течением времени, по мере накопления информации об отказах и проведении мероприятий по их устранению в конце этого периода они практически достигают своего минимума. В период нормальной эксплуатации преобладают отказы второй и третьей групп, а в начале третьего периода снова появляются отказы первой группы, обусловленные износом элементов и системы в целом. Во временном промежутке этого периода удельный вес отказов первой и третьей групп увеличивается [2,11].

Помимо воздействий со стороны функционально связанных элементов, некоторые системы компрессорной установки подвергаются воздействию внешних факторов и управляющих команд [2,3]. Влияние внешних воздействий обычно может проявляться, например, для турбоагрегата, в разбросе плотности и состава компонентов топливного или перекачиваемого газа, давлений на входе в камеры сгорания (турбокомпрессоры) или камеры сжатия (центробежные нагнетатели), геометрических параметров конструкции (действие разноразмерности в пределах установленных допусков), гидравлических характеристик маслосистем, магистралей и газовых трактов и т.д.

Степень влияния отказов элементов на работоспособность всей системы в целом выражают с помощью структурной схемы надежности. Статистика отказов является до настоящего времени основным источником информации для суждения о надежности изделия. Это сигнал обратной связи, дающий представление (с большим запозданием) о том, насколько конструкция, технология, условия эксплуатации и технология проведения ремонтных операций обеспечивают желаемые показатели надежности.

1.2 Анализ статистических данных отказов ГПА


Для ГПА одним из основных критериев надежности является его безотказная работа в течение установленного периода времени во всем диапазоне режимов работы.

Наибольшую опасность для ГПА представляют внезапные отказы, в результате которых разрушается механическая часть агрегата и теряется его работоспособность. Возникает необходимость аварийной остановки ГПА для уменьшения последствий разрушений и безопасности персонала КС [12].

Возникновение отказов, как правило, связано с первичной неисправностью конструктивного или эксплуатационного характера и постепенным накоплением повреждений, ухудшающих работоспособность агрегата. Однако, существует и постепенное накопление изменений, вызывающих в какой-то момент релаксацию, воспринимаемую техническим персоналом как мгновенное повреждение. Наибольший интерес при исследовании надежности агрегатов представляют мгновенные и износные отказы. Знание характера распределения, а также видов износных отказов крайне необходимо для научного обоснования сроков проведения объема планово-предупредительных работ на станциях. Правильная организация планово-предупредительного ремонта в значительной мере способствует снижению числа отказов в период нормальной эксплуатации. В промежутках между планово-предупредительными работами проявляются внезапные и лишь частично износные отказы, обусловленные интенсивным износом, превышающим нормативные пределы. В период нормальной эксплуатации отказы являются следствием несовершенства отдельных конструктивных элементов или резкого изменения режимов эксплуатации. Поскольку они носят случайных характер и не могут быть полностью устранены, то при оценке надежности КС основное внимание уделяется учету именно этого вида отказов. Внезапные отказы отдельных деталей агрегата, как правило, между собой независимы.

Основные комплексные показатели надежности агрегатов свидетельствуют о том, что применяемые на КС ГПА эксплуатируются при оптимальных условиях и выполнены на достаточно высоком конструкторско-технологическом уровне, т.к.:

коэффициент готовности 1,00

коэффициент технического использования 0,85

коэффициент загрузки 0,46

При исследовании механического состояния деталей агрегата для удобства анализа причин возникновения аварийных ситуаций агрегаты подразделяют на механическую часть и систему автоматики. Такое условное деление позволяет объективно изучить виды аварий.

Следует отметить, что основными причинами отказов агрегатов являются:

·              нарушения в электроснабжении;

·              функциональные неисправности, представляющие наибольший интерес для их детального анализа. К ним относятся дефекты лопаточного аппарата и ротора газовой турбины (40-50%), камеры сгорания (25%), подшипников (6%), лабиринтовых уплотнений (4%) и оставшихся вспомогательных устройств;

·              нарушения в работе КИП и А. Дефекты электронных мостов и потенциометров (59%).

В качестве показательного примера представлены данные об аварийных остановках ТУМГ за 2002 год (табл. 1.1).

Таблица 1.1 - Показатели аварийных остановок газоперекачивающих агрегатов Тюменского УМГ за 2002 год

Тип ГПА

Количество агрегатов данного типа

Неисправность электрообеспечения

Нарушения, внешнего электроснабжения

Неисправность КИП

Неисправности механической части

Нарушения правил эксплуатации

ИТОГО

ГПА-16.01

10

-

4

1

-

-

5

ГПА-16.04

6

-

-

3

1

-

4

СТД

32

1

-

-

-

-

1

Коберра-182

11

-

-

1

-

-

1

ГТК-10

16

-

-

-

3

2

5

ГПА-10

4

-

-

1

-

-

1

ИТОГО

79

1

4

6

4

2

17


Функциональные неисправности условно можно разделить на две группы:

·              конструктивные дефекты, т.е. нарушения в технологии изготовления оборудования и узлов агрегата - около 80%;

·              эксплуатационные неисправности - около 10% от всех причин отказов агрегатов.

Таким образом, для сокращения множества внезапных отказов в период нормальной эксплуатации ГПА необходимо создать системы контроля технического состояния для распознавания неисправностей на ранней стадии их развития, путем внедрения расширенных средств диагностики, а также повысить общую культуру эксплуатации и получения информации о показателях надежности энергетического оборудования КС.

газотурбинный привод технический агрегат

1.3 Классификация и анализ причин отказов ГПА

 

.3.1 Ранжирование основных неисправностей ГПА

Для осуществления процесса распознавания неисправностей необходимо все неисправные состояния соответствующим образом классифицировать и описать их признаки. Количество классов зависит от того, насколько достоверно и полно описаны все неисправные состояния, имеющие ясно выраженные признаки в виде характерного изменения параметров рабочего процесса.

Информацией о неисправных состояниях являются реализации некоторых параметров рабочего процесса, которые могут быть приняты в качестве диагностических признаков. Реализация признаков и вероятностей неисправных состояний определяет априорные сведения о состоянии агрегатов. В общем случае количество неисправных состояний и их классов бесконечно велико. Для формулирования и решения задачи распознавания принимается допущение о том, что все неисправности можно объединить в конечное число классов, каждый из которых характеризуется конечным числом признаков. К определенному классу относятся неисправности одного наименования и вида.

Неисправности ГПА можно классифицировать по следующим признакам.

· Принадлежность к отдельным узлам.

· Влияние на работоспособность:

а)неисправности, приводящие к снижению ресурса узлов и детали;

б)неисправности, приводящие к изменению характеристик функционирования.

-Описывающие их признаки:

а)неисправности, диагностические параметры которых определяются прямым измерением;

б)неисправности, диагностируемые;

в)неисправности, оцениваемые по условиям, приводящим к их возникновению, определяются по косвенным признакам.

Перечень возможных неисправностей ГПА в процентном состоянии представлен в таблице 1.2 [14].

Элементы и узлы отдельно ГТД по возникновением неисправностей располагаются в следующей последовательности по убывающей частоте:

· рабочие лопатки, ротор, направляющие лопатки и диафрагма турбины;

· подшипники;

· камера сгорания и газоходы горячих газов;

· рабочие лопатки и ротор компрессора; направляющие лопатки компрессора;

· теплообменники и выходные газоходы;

· корпус и уплотнения;

· вспомогательные устройства и системы;

· фундамент и прочие [3].

Таблица 1.2 - Перечень эксплуатационных неисправностей ГПА компрессорных станций

№ п/п

Наименование неисправности

Число неисправностей от общего количества, %

1

Рабочие и направляющие лопатки ОК

7,1

2

Направляющие и рабочие лопатки ТВД

9,4

3

Рабочие и направляющие лопатки ТНД

2,2

4

Ротор турбокомпрессора

1,8

5

Ротор ТНД

4,8

6

Ротор ЦБН

8,3

7

Рабочее колесо ЦБН

1,3

8

Вкладыши подшипников

32,3

9

Колодки подшипников

15,7

10

Торцевые уплотнения ЦБН

12,3

11

Элементы камеры сгорания

4,8


Рассмотрев более подробно причины возникновения основных неисправностей, пути их выявления и устранения, можно сделать выводы о значимости основных параметров характеризующих возникновение и развитие неисправного состояния агрегата.

1.3.2 Анализ причин возникновения неисправностей ГПА

Лопатки ОК выходят из строя по следующим причинам:

·              динамические напряжения из-за усилий со стороны потока циклового воздуха и центробежных сил (от массы), действующих на всех режимах работы ГТД;

·              низкая конструктивная надежность лопаточного аппарата;

·              плохое состояние поверхности, нарушение посадки лопаток;

·              нарушение технологии изготовления.

Разрушение лопаток приводит к нарушению устойчивой работы ОК и всего агрегата в целом. Очень редко, но случаются разрушения пазов лопаток с их выбросом в проточную часть, что приводит к крупнейшим поломкам [14, 15].

Как правило, разрушение лопаток начинается с образования усталостных трещин, которые возникают в основном на выходных кромках и реже на входных. Признаками разрушения металлических деталей компрессора при оценке технического состояния лопаточного аппарата являются вкрапления, риски, задиры, обломы. Отклонения от технологии изготовления приводят к нарушению частотных характеристик лопаток как ротора, так и статора, а следовательно, к расширению диапазона резонансных режимов лопаток, что может служить причиной образования трещин. К образованию трещин также может приводить срыв потока с появлением на концах лопаток вихрей, из-за которых возникают колебания лопаток, причем формы колебаний могут быть изгибно-крутильными или пластинчатыми в зависимости от частот резонансных колебаний. В связи с этим при оценке состояния лопаток в качестве диагностического параметра рассматривается не только максимальное напряжение σmax, но и амплитуда напряжений amax/amin [14, 15, 16].

Основные причины, влияющие на разброс напряжения в пределах проточной части ОК, носят конструктивно-производственный и эксплуатационный характер.

К конструктивно-производственным относятся случайные отклонения в геометрии профиля, в технологии изготовления, регулирования, к эксплуатационным - неравномерность воздушного потока при отклонениях рабочих режимов, различная наработка отдельных лопаток, а следовательно, и их разный износ. Очень часто разрушения лопаток происходят вследствие эрозионного износа, причем он тем больше, чем больше концентрация пыли. На износ также влияет взаимное расположение направляющих и рабочих лопаток ротора и статора и характер механических примесей. Причем больше всего этому виду износа подвержены входная и выходная кромка, верхняя часть рабочих лопаток и лопатки направляющего аппарата.

Разрушение лопаток ОК связано с высоким уровнем динамических нагрузок, вызванных потоками циклового воздуха и неустойчивостью работы ОК.

При постоянной частоте вращения и неустойчивой работе наблюдается уменьшение расхода циклового воздуха и увеличение степени повышения давления. Причинами возникновения неустойчивости работы компрессора являются следующие эксплуатационные факторы:

·              повышение сопротивления всасывающего тракта вследствие загрязнения фильтров;

·              эрозионный износ лопаток, трещины и обрыв направляющих и рабочих лопаток, что ухудшает КПД компрессора ηок неудовлетворительное состояние проточной части из-за загрязнения лопаточного аппарата, т. е. увеличение сопротивления δок [16].

Потеря устойчивости, помпаж проявляются в повышении температуры перед турбиной Т2, уменьшении частоты вращения n, повышении расхода топливного газа Мт, а также в повышении уровня вибрации ротора турбокомпрессора и всего агрегата.

Неисправности дисков турбин возникают из-за неправильной их сборки, низкого качества поковок и механической обработки, коррозии поверхности, плохого контроля диска после его изготовления и из-за перегрева во время работы.

Состояние диска и лопаток турбины связано с воздействием высоких температур, вызывающих прогары и коробление в корпусе турбин, трещины в дисках ротора турбины, трещины и обрыв рабочих и сопловых лопаток, что связано с изменением политропического коэффициента полезного действия турбины ηт и площади соплового аппарата Fc. К основным неисправностям относятся также рост утечек в газовоздушном тракте высокого давления вследствие разрушения лабиринтных уплотнений, а также загрязнения газовоздушного тракта и изменения его геометрии, что связано с изменением гидравлического сопротивления δвз [14, 15, 16].

Основные неисправности камеры сгорания, встречающиеся в эксплуатации:

·              трещины и прогар жаровых труб термического происхождения вследствие нагарообразования на стенах труб и рабочих форсунок, что связано с неполным сгоранием топлива, характеризующимся Nкс, и вызывает значительную неравномерность температурного поля перед турбиной высокого давления;

·              загрязнение фильтров и закоксованность горелок, сказывающееся на уменьшении расхода топливного газа и изменении температуры рабочего тела после камеры сгорания.

Разрушения в камере сгорания могут явиться причиной вторичных разрушений лопаток и дисков турбины.

Подшипники опор ротора могут выйти из строя, если использовался материал с дефектами, нарушались технологии изготовления и монтажа детали и узлов опор, условие работы подшипника, происходил срыв масляного клина или наблюдалась хотя бы кратковременная неподача масла в опору, все указанные причины приводят к усталостным режимам.

Одними из основных причин выхода из строя подшипников опор являются изменение зазоров и посадок и неподача масла. Зазор изменяется вследствие температурных перепадов при пуске двигателя в условиях низких температур, проворачивания колец на валу или корпусе из-за нарушений технологии сборки. При неподаче масла к подвижным частям подшипника возможны оплавления поверхности сепаратора и его гнезда, при недостаточной подаче смазки или ее периодическом нарушении беговые дорожки имеют приработанную, гладко укатанную поверхность с завальцо-ванными краями, а наплавленный слой имеет гладкую поверхность и равномерную толщину на всей окружности беговых дорожек. В этом случае происходит повышение температуры поверхностей тел качения, в результате чего зазор уменьшается и может произойти заклинивание и скольжение по беговой дорожке. Это приводит к оплавлению материала тел качения и его налипанию на беговые дорожки, материал колец подвергается усиленному износу, оплавляются и изнашиваются гнезда под тела качения. Как показывает опыт эксплуатации, в первую очередь разрушается подшипник средней опоры, который расположен в зоне более высоких температур. Передние и задние подшипники, как правило, разрушаются при работе турбины длительное время в условиях недостаточной подачи масла. Разрушение средней опоры приводит к смещению ротора в осевом направлении, выбору зазора между деталями ротора и корпуса, в результате чего происходит интенсивное изнашивание деталей ротора и корпуса и возникает резкое торможение ротора из-за задевания его лопаток за лопатки направляющего аппарата с последующим помпажем и заклиниванием ротора. Ротор ГТУ может подвергаться повреждениям при работе на критических режимах вследствие возникновения высокого уровня вибрации при резонансах. Это может привести к появлению трещин на силовых стойках элементов корпуса, одностороннему износу опор, разрушению сепараторов подшипников, деформации вала, заклиниванию ротора и др [14, 15, 16].

Ухудшение состояния регенератора связано с повышением сопротивления тракта низкого давления, а также с ростом утечек рабочего тела через неплотности теплообменных поверхностей.

Работоспособность нагнетателя определяется устойчивостью работы, надежностью уплотнения «масло-газ», упорного подшипника, состоянием проточной части. Аэродинамические нагрузки, возникающие при неустойчивой работе, передаются на элементы рабочего колеса и опорные подшипники, вызывая их разрушение, что обусловливает увеличение момента сопротивления, рост уровня вибрации ротора силовой турбины. Разрушение подшипников характеризуется ростом температуры смазки подшипника.

Неисправности в системах КИП и А, смазки, регулирование, охлаждение, подача топливного газа также являются причинами аварийных ситуаций и отказа оборудования.

Основной дефект ротора ТВД - повышенное торцевое биение, приводящее к неуравновешенности ротора, а следовательно, к повышенной вибрации. Этот дефект возникает главным образом на роторах, имевших его раньше и отремонтированных на заводе. Таким образом, вторичное появление торцевого биения объясняется неудовлетворительной технологией восстановительных работ. Первоначальное торцевое биение возникает в результате действия переменных сил при задевании лопаток [15].

В процессе длительной эксплуатации происходит постепенное ухудшение физических и механических свойств материала, нарушение соединений отдельных узлов и деталей, рост статических, динамических, термических напряжений в элементах агрегатов. Возникают процессы старения, износа, коробления, растрескивания материалов. Отдельные узлы и детали приходят в неисправное состояние. Хотя в целом агрегат продолжает сохранять работоспособность, такое состояние определяется как постепенный отказ. Возникновение постепенных отказов связано с длительностью работы агрегатов и проявляется в ухудшении технических показателей этих агрегатов [14, 15, 16].

Отрицательные последствия постепенных отказов заключаются в снижении мощностей и КПД ГПА, увеличении затрат на восстановление его работоспособности, создании предпосылок для появления аварийных ситуаций. Для ГПА наибольшую опасность представляют внезапные отказы, в результате которых разрушается механическая часть агрегата и теряется его работоспособность. Возникает необходимость аварийной остановки ГПА для уменьшения последствий разрушений и для безопасности персонала КС.

К наиболее напряженным элементам агрегатов относятся: ОК, турбина, нагнетатель и камера сгорания. Их детали работают в условиях действия высоких статических, динамических и тепловых нагрузок и определяют надежность механической части агрегатов в целом. Надежность ОК определяется главным образом надежностью лопаточного аппарата. Основную нагрузку на лопаточный аппарат ОК создают динамические усилия со стороны потока циклового воздуха и центробежные силы от собственного веса, которые действуют постоянно при всех режимах работы ГПА.

Надежность турбины определяется работоспособностью диска ТВД и аппарата лопаток, которые подвержены действию различных нагрузок. Наиболее благоприятным по температуре режимом для диска ТВД является пусковой. В момент пуска возникают повышенные термические напряжения, которые в сочетании с напряжениями от центробежных сил могут значительно ухудшить состояние узла посадки диска на вал и привести к перегрузке штифтов.

Наиболее опасный режим для лопаток турбины - аварийная остановка агрегата, когда отключается камера сгорания и резко снижается температура потока. При этом вследствие значительной неравномерности температурного поля возникают высокие напряжения растяжения, складывающиеся с напряжением от центробежных сил.

Надежность нагнетателя определяется работоспособностью колеса, уплотнения «масло-газ» и упорного подшипника. Колеса нагнетателей при работе нагружены центробежными силами собственного веса и силами аэродинамического характера, влияние которых зависит от объемной производительности. При малых расходах и высоких степенях сжатия возможна неустойчивая работа нагнетателя, при которой на колесо со стороны потока газа действуют значительные переменные усилия. Происходит резкое колебание давления и расхода газа. Неустойчивая работа нагнетателя, т. е. помпажный режим, может возникнуть из-за увеличения сопротивления на входе или выходе из нагнетателя и т. д.

Работоспособность торцевого уплотнения зависит от перепада давления и сжатия пружины, частоты и температуры масла, вибрации ротора.

Работоспособность камеры сгорания оказывает существенное влияние на надежность ГПА, так как повреждение ее элементов приводит к вынужденным остановкам, а неудовлетворительная организация горения снижает долговечность лопаток турбины. Основные элементы камеры сгорания (жаровая труба, экран, смеситель, фронтовое устройство и пламеперекидной патрубок) работают при высоких температурах и подвержены влиянию пульсаций потока продуктов сгорания [14, 15, 16].

К важному фактору, определяющему работоспособность ГПА, относится уровень вибрации опорных систем ОК и турбины. Вибрация подшипников нагнетателя не является показательной характеристикой действующих усилий, поскольку корпус имеет несоизмеримо более высокую жесткость и массу по сравнению с ротором, и поэтому изменение вибрационного состояния ротора практически не меняет уровень вибрации его подшипников.

.        Произведен анализ причин возникновения отказов в период эксплуатации, а так же классификация отказов по группам, которые являются важнейшими этапами исследования надежности технических систем и их своевременной диагностики.

.        Для сокращения множества внезапных отказов в период нормальной эксплуатации ГПА необходимо создать системы контроля технического состояния для распознавания неисправностей на ранней стадии их развития, путем внедрения расширенных средств диагностики, а также повысить общую культуру эксплуатации и получения информации о показателях надежности энергетического оборудования КС.

2. Анализ методов неразрушающего контроля технического состояния ГПА

 

.1 Характеристика технического состояния ГПА


Под термином "техническое состояние" (ТС) понимается совокупность подверженных изменениям в процессе эксплуатации свойств объекта, характеризуемая в определенный момент времени признаками, установленными стандартами или его технической документацией. Совокупность условий, удовлетворяющих или не удовлетворяющих требованиям, определяющим исправность, работоспособность или заданную точность функционирования объекта, образует соответствующие виды его технического состояния [2].

Определение вида технического состояния возможно, если известны:

·              конфигурация технической системы в целом и ее элементов в частности;

·              требования и оптимальные параметры функционирования системы, заданные в технической документации;

·              предельно-допустимые значения функциональных параметров;

·              эталонные характеристики конкретного агрегата, полученные экспериментальным путем;

·              действительное техническое состояние как системы в целом, так и отдельных ее элементов, выявленное доступными методами диагностирования.

При определении технического состояния системы необходимо с высокой степенью достоверности установить начальные состояния входящих в нее элементов - то есть следует осуществить проведение диагностики агрегата непосредственно после окончания ремонтных операций. Все элементы, как уже отмечалось ранее, которые могут иметь больше одного рабочего состояния, создают различные начальные условия. Например, начальное количество смазочного материала в маслобаке может быть регламентировано: событие "бак полный" становится одним рабочим состоянием, а "бак с предельно-допустимым уровнем масла" является другим состоянием. Необходимо так же, с достаточной степенью точности установить рабочий отрезок времени функционирования технической системы: режимы работы компрессорных установок при пуске и остановке могут создавать разного рода опасные условия, отличающиеся от установившихся режимов работы. Это наиболее наглядно можно проследить по изменению параметров запуска турбоприводов или конвертированных авиационных двигателей в условиях пониженных (ниже 0°С) или повышенных (выше 40°С) температур окружающей среды [2,9].

Виды технических состояний:

•        Исправен - полное соответствие требованиям технической документации;

•        Неисправен - несоответствие хотя бы одному из этих требований;

•        Работоспособен - может выполнять заданные функции;

•        Неработоспособен - не может выполнять заданные функции, не выходя за пределы, оговоренные технической документацией;

•        Правильное функционирование - выдерживание заданных алгоритмов, особенно при пуске, маневрировании;

•        Неправильное функционирование - броски нагрузки, помпаж нагнетателя, компрессора и т.п.;

ГПА может быть неисправным, но работоспособным с какими-то ограничениями, например по степени сжатия нагнетателя, по оборотам турбины.

•        Внезапный отказ - неожиданное аварийное изменение технического состояния;

•        Постепенный отказ - развивающееся изменение технического состояния узлов и систем ГПА и контролируемых параметров [15].

Техническое состояние ГПА описывается совокупностью диагностических признаков. Достаточное количество информации по возможным техническим состояниям, как отдельных элементов, так и самой системы в целом, дает возможность составить подробные описания вариантов развития процессов (сценария) деструкции оборудования, их взаимосвязей и конкретно определить возможные конечные нежелательные события (возникновение дефекта, неисправности, отказа).

2.2 Методы неразрушающего контроля технического состояния ГПА


В настоящее время для диагностики газоперекачивающих агрегатов практикуется в основном пять групп методов неразрушающего контроля текущего технического состояния сложной технической системы [2, 7].

.        Динамические методы - контроль вибраций, шумов, ПДК вредных выбросов, путевой контроль текущих параметров (параметрическая диагностика).

.        Дефектоскопия - совокупность методов неразрушающего контроля, предназначенных для обнаружения и предупреждения появления дефектов или определенного типа разрушений таких как: нарушение сплошности и однородности материала и изделия, испытания на герметичность, контроль за скоростью коррозии, эмиссией волны от нагрузки, определение запахов и т.д. (большая часть этих методов используется при определении повреждений элементов машин после разборки в процессе ремонта).

.        Контроль загрязнений - метод определения присутствия продуктов износа в смазке, который соотносится качественно и количественно со степенью изнашивания того или иного элемента в парах трения.

.        Анализ тенденций - это прогнозирование развития обнаруженного дефекта (или неисправности) во времени с целью предупреждения возникновения критических ситуаций.

.        Анализ предпосылок - задачи «генеза», предупреждение появления возможных нежелательных событий в соответствии с разработанным деревом отказов, на основании «прецедентов», изучения технической и ремонтной документации, опыта эксплуатации.

Первые три метода можно отнести к активному (оперативному) контролю, остальные - к пассивному. Наилучшим образом задачи диагностики решаются при комплексном использовании различных методов.

Из методов активного контроля текущего технического состояния системы, в период нахождения агрегата в рабочем состоянии наиболее важны первый и третий: динамический (вибрационная и параметрическая диагностика) и контроль загрязнений.

2.2.1 Вибрационная диагностика (динамический метод контроля)

При работе ГПА все его детали, узлы и агрегаты совершают вынужденные и резонансные колебания, которые зависят от величины и характера возмущающих сил, упругомассовых характеристик элементов конструкции, на которые, в свою очередь, влияет ряд конструктивных, технологических и эксплуатационных факторов. В общем случае вынужденные колебания систем ГПА имеют в основном механическое, аэродинамическое и электрическое (в случае использования в качестве привода компрессора электродвигателя) происхождение. К источникам колебаний механического происхождения относятся: неуравновешенные силы процесса, обусловленные силами трения (качения или скольжения) и взаимодействие элементов конструкции через упругие связи. Источники колебаний аэродинамического происхождения - переменные силы возмущающего потока газа в проточной части агрегата вследствие пульсации потока, неравномерность потока в радиальном и осевом направлениях, переменные импульсы, создаваемые вращающимися лопатками ротора, неравномерность сгорания топлива, вибрация трубопроводов и т.д.

В общем случае диагностика повреждений по параметрам вибрации конструкций осуществляется в три этапа [2, 5]:

.        Улавливание и регистрация сигналов вибраций, исходящих от работающего агрегата с помощью специальных датчиков. На этом этапе получают исходные данные, необходимые для последующего анализа вибрации (этап сбора информации).

.        Первичная обработка сигналов с помощью измерительных устройств, предварительный анализ сигналов, с выделением существенных и отбрасыванием несущественных данных.

.        Оценка состояния конструкции. Этап принятия решений, на котором экспериментальные данные сравнивают с эталонными, что позволяет оценить состояние системы и, при необходимости, принимать оперативные решения.

При исследовании вибраций в широком диапазоне датчик посылает сигналы, образованные всеми составляющими спектра колебаний, которые воспринимаются прибором, регистрирующим не только частоты следования сигналов, но и модуляции амплитуд. Это дает возможность не только с большой степенью точности установить наличие развивающегося дефекта или неисправности, но и проследить интенсивность его развития за определенный период времени. Чтобы установить элемент, подвергающийся износу, нужно выделить сигналы колебаний, полученных от каждого компонента агрегата. Таким образом, каждая деталь вибрирует на определенной дискретной частоте, с амплитудой, изменяющейся в зависимости от интенсивности развития дефекта. Будучи отображенной на виброграмме, эта амплитуда образует пик, выходящий за пределы «белого шума» (спектральный анализ в виде огибающей) или отдельные всплески (в случае линейчатого отображения спектра). Если эти пики или всплески с течением времени в последующих спектрах имеют тенденцию к возрастанию, то это означает, что дефект продолжает развиваться. Все методики расшифровки виброграмм, а, следовательно, и установления места нахождения и степени развития неисправности, базируются, в основном, на соотнесении найденных экспериментально или теоретически графических форм спектров вибрации со спектрами колебаний, полученными при исследовании объекта диагностики [2]. Однако, в настоящее время имеется довольно много проблем с расшифровкой спектров вибраций взаимозависимых неисправностей - то есть таких, когда сложно указать первопричину возникновения одной из них.

Поэтому весьма важны разработки новых методов, дающих возможность распознать по спектрам вибрации трудноразличимые неисправности.

2.2.2 Параметрическая диагностика (динамический метод контроля)

Поиск неисправностей и зарождающихся дефектов в проточной части центробежного компрессора (осевого компрессора, турбины) не может ограничиваться только данными вибродиагностики, которая дает около 60% достоверной информации о состоянии газовоздушного тракта. Поэтому, для своевременного получения информации о состоянии проточной части и характере течения потока газа необходимо произвести оценку текущих параметров газового потока, отклонение которых от допускаемых норм может привести к выходу из строя узлов и агрегатов компрессора. Своевременное выявление опасных режимов, в случае их возникновения, позволит предотвратить отказы и избежать аварийных ситуаций.

Определение технического состояния газового тракта центробежного нагнетателя компрессорной установки (а так же осевого компрессора при использовании газотурбинного привода) осуществляется методами функционального диагностирования [2, 16], основанного на анализе результатов измерений отклонений основных измеряемых рабочих параметров (признаков)- прямой метод анализа. В случае, если некоторые значения диагностических параметров не поддаются непосредственному измерению, их значения определяются математической обработкой других измеряемых параметров, связанных с ними физическими и математическими зависимостями с учетом возможных погрешностей систем и способов измерения (косвенный метод анализа). Метод позволяет выявить только те неисправности, которые вызывают изменение отклонений термогазодинамических параметров (давлений, температур, расхода газа) от средних, заданных технической документацией значений. Основная сложность контроля технического состояния проточной части центробежного нагнетателя заключается в трудности математического моделирования или количественной оценки процессов, протекающих в нагнетателе, что приводит к сложным проблемам установления достоверного диагноза за приемлемый промежуток времени.

Сущность параметрической диагностики заключается в [2, 17]:

·   постоянном или периодическом контроле текущих параметров газового потока и состояния проточной части;

·   сравнения полученных данных с эталонными характеристиками;

·   количественное и качественное определение отклонений, учитывая погрешности измерения;

·   предупреждение обслуживающего персонала компрессорной установки о приближении режима работы системы к критическим точкам (задолго до срабатывания аварийных систем) или появлении нежелательных явлений в работе газового тракта.

Следует отметить, что, несмотря на сложность составления методик параметрической диагностики и проведения расчетов по разработанным математическим моделям, этот метод оценки технического состояния проточной части ГТУ и нагнетателя, как показали экспериментальные проверки, дает весьма удовлетворительный результат.

2.2.3 Диагностика деталей, омываемых маслом

При вполне удовлетворительном техническом состоянии агрегата и его опорных узлов необходимо иметь сведения об интенсивности и характере износа поверхностей трения. В этом случае требуется диагностирование состояния узлов трения на основе анализа смазочного масла [2]. Метод диагностирования технического состояния деталей компрессора, омываемых маслом, по содержанию в нем продуктов износа характеризует высокая достоверность оценки. Его применение основывается на допущении, что при взаимном перемещении контактирующих поверхностей деталей происходит их износ и перенос субмикроскопических частиц износа потоком масла. Подвижный контакт между металлическими деталями любой механической системы всегда сопровождается износом, который является причиной последующего увеличении количества частиц износа. При вполне удовлетворительном техническом состоянии агрегата и его опорных узлов необходимо иметь сведения об интенсивности и характере износа поверхностей трения. В этом случае требуется диагностирование состояния узлов трения на основе анализа смазочного масла.

Следует отметить, что при эксплуатации исправной системы частицы допустимого износа образуют в масле пастообразную массу с низкой вязкостью и практически не оказывают заметного влияния на изменение темпов износа контактирующих поверхностей. Размер этих частиц остается практически постоянным, примерно 25-10-3 мкм.

В процессе постепенного разрушения деталей поток масла, омывающий их, систематически уносит продукты разрушения из зоны трения. В смазываемой системе эти частицы находятся во взвешенном состоянии в циркулирующем масле. Период времени от начала до полного разрушения достаточно велик при условии обеспечения нормального режима смазки. В этом случае масло можно эффективно использовать как носитель информации о техническом состоянии узлов трения. Сигналом обнаружения неисправности является присутствие в масле частиц, выносимых из контактных зон. Это позволяет выявить неисправность на начальной стадии ее проявления.

Создание и применение в условиях эксплуатации эффективных систем контроля загрязнений смазочных материалов весьма сложная проблема, для решения которой необходимы специальные знания в области химии углеводородов, физической химии, способов получения и композитного состава масел и т.д., поэтому, в настоящей работе, автором не ставилась задача проведения исследований в этой области [2, 16].

Схема влияния возможных факторов воздействия на реальную техническую систему и методы их обнаружения показаны на примере центробежного нагнетателя ГПА (рис. 2.1).

Рис. 2.1. Основные параметры и методы контроля технического состояния ГПА

2.3 Анализ методов диагностики ГПА


Оценка вклада каждого из методов в изучение текущего состояния компрессорной установки (рисунок 2.2.) ведет к тому, что большая часть дефектов и неисправностей, примерно 60%, может быть установлена методами вибродиагностики, пригодными для обнаружения дефектов практически во всех элементах агрегата; около 20% неисправностей компрессора и примерно половина опасных режимов работы проточной части нагнетателя (или осевого компрессора) обнаруживается только анализом термогазодинамических параметров (параметрическая диагностика), примерно 20% неисправностей элементов компрессора, обнаруженных методами вибродиагностики можно подтвердить анализом термогазодинамических параметров машины и около 20% неисправностей (в основном для пар трения) можно зарегистрировать по изменению температуры, состава, уровню загрязнений смазочного масла.

Рис. 2.2. Распределение методов активного контроля в общем объеме задач технической диагностики ГПА

Кроме того, достоверность диагноза о состоянии проточной части компрессора, поставленного при использовании методов вибродиагностики, может быть подтверждена или опровергнута результатами анализа термогазодинамических параметров.

На основании анализа данных по эксплуатации газопроводов Западной Сибири выявлены основные неисправности турбин и указаны методы их определения [18]. Эти данные приведены в таблице 2.1.

Таблица 2.1 - Основные неисправности ГТД

Неисправность

Диагностические параметры

Методы диагностирования

1

2

3

Осевой компрессор

Разрушение лопаток

Момент отрыва лопаток, параметры шума и вибрации, падение частоты вращения вала ОК, рост температуры продуктов сгорания

Виброакустический, газодинамических параметров, визуально-оптических

Усталостные трещины

Распределение напряжений по лопаткам, амплитуда и частота колебаний, параметры вибрации и шума

Бесконтактное измерение колебаний лопаток, виброакустический, визуально-оптический, ультразвуковой, магнитный

Потеря натяжения между антивибрационными полками лопаток

Зазор между лопатками, параметры вибрации

Инструментальная прямая оценка зазора, виброакустический

Эрозионный износ лопаток

КПД, расход газа, воздуха

Газодинамических параметров

Износ втулок в замках лопаток шарнирного тпа

Зазор

Инструментальная прямая оценка зазора, визуально-оптический

Камера сгорания

Термические усталостные трещины, деформация, коробление, деформация, прогар, растрескивание

Длина и место расположение трещин, температура камеры сгорания (локальная)

Визуально-оптический, рентгенография, пирометрический

Нагарообразование - возбуждение резонансных колебаний лопаток турбины

Параметры шума, вибрации, локальная температура, место расположение нагара

Виброакустический, пирометрический, визуально-оптический

Износ сопрягаемых деталей КС, следы фретинга

Степень износа, параметры шума и вибрации

Визуально-оптический, рентгенография, виброакустический

Засорение форсунок

Давление топлива перед КС, распыление и расход топлива, температура продуктов сгорания, температурное поле перед турбиной

Инструментальная оценка прямым измерением, газодинамический, пирометрический

1

2

3

Пульсационное горение

Давление топлива перед КС, в КС, шум и вибрация

Инструментальная оценка прямым измерением, виброакустический

Перегрев полотна диска

Нагар, воронение, лакирование поверхности, вытяжка диска

Инструментальная оценка прямым измерением, виброакустический, пирометрический

Трещины в пазах диска

Параметры вибрации, длина и место расположения трещин

Вибрационный, визуально-оптический, ультразвуковой

Неравномерный износ элементов замкового соединения «диск-лопатка»

Степень износа

Визуально-оптический

Лопатки турбины

Разрушение лопаток

В момент разрушения параметры шума и вибрации, при дальнейшей работе увеличение амплитуды и частоты колебаний лопаточного аппарата, падение частоты вращения турбины, рост расхода топлива и температуры продуктов сгорания

Виброакустический, бесконтактное измерение колебаний лопаток, газодинамический

Вытяжка лопаток

Вытяжка лопаток, надиры на корпус, зазор между торцом лопатки и корпусом, параметры шума и вибрации, выбег ротора, повышение температуры продуктов сгорания и расход топлива

Инструментальная оценка прямым измерением, визуально-оптический, виброакустический, газодинамический

Обгорание лопаток

Неравномерность температурного поля перед турбиной, повышенная температура продуктов сгорания

Пирометрический

Резонансные колебания лопаток

Амплитуда и частота колебаний, предел напряжения, расход топлива перед горелками, температурное поле перед турбиной

Бесконтактное измерение колебаний лопаток, инструментальная оценка прямым измерением, пирометрический

Усталостные и термические трещины лопаток

Размер и место расположение трещин

Визуально-оптический, ультразвуковой, магнитный

Перегрев лопаток

Температурное поле перед турбиной

Пирометрический

Трещины по пазам хвостовиков лопатки

Размер трещины, геометрические размеры замкового соединения

Ультразвуковой, магнитный, визуально-оптический

1

2

3

 

Износ дорожек качения подшипника *

Параметры вибрации и шума, температура масла на выходе из опоры, стружка в масле, предел напряжения в местах контакта подшипника со опорой, выбег ротора, радиальный и осевой зазор в подшипнике, частота вращения сепаратора, химические и физические параметры масла

Виброакустический, термометрирование, спектральный анализ масла, визуально-оптический, тензомет-рирование, инструментальная оценка прямым измерением зазора

 

Система смазки

 

Утечка масла*

Температура и давление масла на выходе и входе, температура подшипников

Инструментальная оценка прямым измерением, визуально-оптический

 

Засорение маслофильтров, образование воздушной пробки на входе в нагнетающий мас-лонасос

Течь масла, давление и температура масла, частицы в масле и на маслофильтре

Инструментальная оценка прямым измерением, визуально-оптический, спектральный анализ масла

 

Разгерметизация масляной системы и разрушение 1 качающего узла

Течь масла, падение давления масла на выходе из насоса, металлические частицы на фильтре, температура опор подшипников ротора, параметры вибрации и шума

Визуально-оптический, физико-химические, инструментальная оценка прямым измерением, виброакустический

 

Разрушение маслопроводов, трещины, деформации

Размер и место расположения трещин, параметры вибрации и шума

Визуально-оптический, виброакустический

 

Подшипники

 

Износ дорожек качения подшипника, разрыв сепаратора, усталостные выкрашивания, проскальзывание

Вибрация н шум, температура корпуса опоры подшипника, температура масла на выходе из опоры, стружка в масле, выбег ротора, радиальный зазор между лопатками и корпусом ОК и турбины, химические и физические параметры масла

Виброакустический, термометрирование, спектральный анализ масла, температура опор подшипников

 

Износ подшипника скольжения, разрушение, отслаивание баббита, электроэрозия

Вибрация и шум, температура баббита, температура масла на выходе из опоры, частицы в масле, радиальный зазор между лопатками и корпусом ОК и турбины, радиальный зазор в подшипнике, химические и физические параметры масла, пульсация давления за ОК

Виброакустический, термометрирование, спектральный анализ масла, термогазодинамический

 

 

.4 Алгоритм диагностирования ГПА


В большинстве случаев наблюдение за процессом изменения рабочих параметров технической системы ведется не от начала ее эксплуатации, поэтому диагноз устанавливается по непосредственному проявлению неисправности и исследование может осуществляться в условиях ограниченной информации о предыдущих состояниях объекта. Для определенного вида механических устройств (подшипников качения, скольжения, зубчатых передач, роторных групп и т.д.) выделены наиболее типичные неисправности, наличие которых довольно точно устанавливается с помощью неразрушающих методов контроля [2,11]. Эту информацию получают: в результате расчетов при проектировании агрегатов, на основании теоретических исследований, стендовых испытаний отдельных блоков и устройств в искусственно созданных неблагоприятных условиях, опыта эксплуатации или приработки всего изделия в целом. База данных постоянно пополняется, так как современные средства измерений и регистрации признаков, присущих тем или иным дефектам, позволяют проводить более эффективный анализ причин нарушений функционирования как всего агрегата в целом, так и отдельных его элементов, что оказывает весьма ощутимое влияние на снижение затрат обслуживания и ремонта. Поэтому, обоснованная и оперативная оценка технического состояния ГПА имеет важное информационное значение для успешного решения текущих задач и прогнозирования остаточного ресурса работы системы.

В общем случае диагностика повреждений по параметрам вибрации конструкций осуществляется в три этапа.

.        Улавливание и регистрация сигналов вибраций, исходящих от работающего агрегата с помощью специальных датчиков. На этом этапе получают исходные данные, необходимые для последующего анализа вибрации (этап сбора информации).

.        Первичная обработка сигналов с помощью измерительных устройств, предварительный анализ сигналов, с выделением существенных и отбрасыванием несущественных данных.

.        Оценка состояния конструкции. Этап принятия решений, на котором экспериментальные данные сравнивают с эталонными, что позволяет оценить состояние системы и, при необходимости, принимать оперативные решения.

Спектр вибрации работающего агрегата имеет довольно широкий диапазон параметров: вибрационных, энергетических, конструктивно - технологических, инерционно - жесткостных, эксплуатационных, и определяется:

· частотой вращения роторов;

· частотой прохождения лопаток;

· частотой вращения элементов подшипников качения;

· частотой вращения зубчатых колес, пересопряжения зубьев, элементов шестеренчатых масляных насосов;

· частотой собственных колебаний элементов конструкции;

· частотой акустических воздействий;

· турбулентностью и пульсацией потока газа в проточной части и подводящих трубопроводах;

· кинематическими и технологическими погрешностями изготовления и сборки;

· изменением шероховатости, геометрии контактирующих поверхностей в результате процессов износа и окисления;

· нарушениями целостности и сплошности материалов, конструкций и т.д.

Как уже отмечалось ранее, ГПА представляет собой сложный объект диагностирования, в котором необходимо выделить такие части, с точностью до которых желательно проводить поиск дефектов. В качестве таких элементов могут быть системы, подсистемы, узлы, функциональные блоки и даже отдельные детали. Работоспособность того или иного элемента оценивается на основе поэлементного анализа спектра вибраций и идентификации полученных данных с возможностью возникновения или развития той или иной неисправности.

Для принятия решения о способности объекта контроля выполнять свои функции, на первом этапе диагностики необходимо определить область значений показателя качества (общего уровня вибрации), который соответствует понятию «годен - не годен». Результаты измерения интенсивности колебаний на этом этапе показывают только превышение (или его отсутствие) параметров вибрации агрегата над допустимыми нормированными значениями, что еще ничего не говорит о составе или причинах возбуждения этих колебаний. Для правильного определения характера и качественно-количественных оценок зарождающегося или развивающегося дефекта (неисправности) необходимо выполнить разложение спектра вибраций на элементарные составляющие, которые можно идентифицировать с определенной причиной интенсификации колебаний машины. Эта информация может быть получена только при помощи амплитудно-частотного анализа.

В ряде случаев адекватная связь между параметрами спектра и неисправностями в изделии может оказаться весьма сложной для теоретического анализа. Поэтому вполне обосновано использование экспериментальных методов распознавания, базирующихся на наборе статистических данных, отражающих связь между дефектами, обнаруженными при разборке изделия и особенностями спектров, полученных до разборки или в результате испытаний с искусственно созданными неисправностями, связь которых с параметрами спектра изучается.

Построение алгоритма диагностирования базируется на многошаговых процедурах, на каждом шаге которых выполняется одна или несколько элементарных проверок, являющихся частичным решением поставленной задачи. Объединение этих фрагментов в одну систему контроля дает представление о техническом состоянии агрегата в целом. Поэтому как при ручной обработке информации, так и в процессе разработки систем мониторинга используют некоторый набор программ диагностики каждого конкретного узла (или элемента), по которым, на основании результатов обследования, и выдается заключение о возможности дальнейшей эксплуатации ГПА.

Для эффективного проведения процедур диагностики, как уже упоминалось ранее, необходимо сложный объект диагностирования расчленить на такие составные части, с точностью до которых (на втором и третьем уровнях диагностики) целесообразно проводить поиск дефектов и неисправностей. В свою очередь, каждый выделенный узел (агрегат) следует рассматривать как информационный блок, в состав которого входят элементарные объекты, исправное состояние которых определяет работоспособность технической системы в целом (третий уровень диагностики). Примерное дерево решений для анализа технического состояния компрессорных агрегатов с центробежными нагнетателями и различными видами приводов по параметрам вибрации представлено на рисунке 2.3. При разбиении агрегата на блоки для решения задач третьего уровня диагностики (рис. 2.4) следует включать в один блок все элементы, входящие в контур обратной связи, что существенно упрощает задачу поиска дефектов с глубиной до отдельных элементов, так как неисправности последних при отсутствии обратных связей всегда различны между собой.

Разбивка (классификация) агрегата на составные части позволяет идентифицировать колебания, по принадлежности к отдельным узлам. Удобство подобной классификации заключается в непосредственной связи вибрации с ее источником и возможностью прогнозирования в общих чертах структуры и характера вибрации. По сути дела это один из вариантов построения дерева решений.

Рассмотренная постановка проблемы поэлементного диагностирования силовой установки дает возможность определить последовательность задач, возникающих при идентификации конкретного дефекта или неисправности. Такой системный подход позволит в реальных условиях при наличии неизбежных ограничений, отклонений от заданного технологического режима, всевозможных помех и погрешностей измерительной аппаратуры добиться наибольшей эффективности анализа технического состояния ГПА [19].

Рис. 2.3. Дерево решений для построения алгоритма диагностирования ГПА

Рис. 2.4. Примерное дерево решений для диагностики опорного подшипника скольжения

На основании этого поэлементного рассмотрения технической системы для распознавания неисправностей и дефектов применяются различные программные блоки, основанные на полученных расчетным или экспериментальным путем тест - спектрах вибрации. В ряде случаев адекватная связь между параметрами спектра и неисправностями в изделии может оказаться весьма сложной для теоретического анализа.

Поэтому вполне обосновано использование как математических, так и экспериментальных методов распознавания, базирующихся на наборе статистических данных, отражающих связь между дефектами, обнаруженными при разборке изделия и особенностями спектров, полученных до разборки или в результате испытаний с искусственно созданными неисправностями, связь которых с параметрами спектра изучается.

Однако, как уже отмечалось ранее, данные, полученные на основании анализа спектров вибрации, не дают возможности составить полную картину состояния проточной части центробежного нагнетателя ГПА. Вследствие этого, возникает целесообразность рассмотрения технического состояния проточной части нагнетателя с точки зрения получения сведений о характере течения газового потока, то есть методами параметрической диагностики. Оценка состояния газодинамического тракта учитывают влияние динамических и термических воздействий потока газа на выходные параметры компрессорной установки, что дает возможность своевременного решения задач оптимального управления технологическими процессами газоперекачивающего агрегата.

.        Сформулированы и систематизированы все основные методы и способы контроля технического состояния ГПА. Проведен анализ динамических методов диагностики ГПА, позволяющий утверждать о необходимости разработки расширенных методов идентификации неисправностей на ранней стадии их развития с использованием средств параметрической и виброакустической диагностики.

.        Техническое состояние ГПА описывается совокупностью диагностических признаков. Достаточное количество информации по возможным техническим состояниям, как отдельных элементов, так и самой системы в целом, дает возможность составить подробные описания вариантов развития процессов (сценария) деструкции оборудования, их взаимосвязей и конкретно определить возможные конечные нежелательные события (возникновение дефекта, неисправности, отказа).

3. Методы оценки технического состояния ГПА

 

.1 Идентификация неисправностей прогнозируемого ГПА


Одной из важнейших задач прогнозного описания ГПА является идентификация неисправностей, которая базируется на теории распознавания образов. Неисправности состояния ГПА разбиваются на конечное число классов и типов, в качестве которых приняты неисправные состояния, наиболее часто встречающиеся при эксплуатации и моделируемые с помощью логической диагностической модели. Для принятия классов неисправных состояний выбираются диагностические признаки из выявленных параметров рабочего процесса.

При наличии достоверных статистических данных по отказам агрегатов, полученных в результате обработки эксплуатационной информации или моделировании неисправных состояний, процесс определения неисправностей базируется на статистической теории проверки гипотез [12].

В случае трудностей со сбором статистической информации и высокой стоимости проведения натурных испытаний агрегата в основу распознавания неисправностей целесообразно использовать детерминированный метод, связанный с описанием агрегата логической детерминированной моделью [19]. Распознавание неисправностей базируется на логических системах, использующих методы булевой алгебры.

В процессе эксплуатации при проявлении неисправности после контроля должна увеличиваться вероятность того класса состояний, в котором находится агрегат. Если используется идеальная по достоверности система распознавания, то после контроля вероятность действительного класса состояния агрегата будет равна единице.

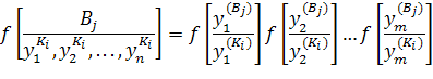
Однако из-за ошибок системы распознавания некоторая неопределенность состояния агрегата останется. Она может быть выражена через апостериорные вероятности классов состояния Рап1), Рап2), ..., Рапi) характеризующие нахождение состояний объекта в соответствующем классе, если получены определенные результаты измерений. Эти вероятности можно определить, используя формулы Байеса. Пусть в результате контроля получена реализация параметров Bj(yl,y2,...,yn). Апостериорные вероятности принадлежности реализации к каждому классу определяются уравнением:

 3.1

Р(Кi) - априорная вероятность К - класса;(Bj / Ki) - апостериорная вероятность гипотезы о принадлежности B-реализации к Кi - классу;(Кj / Вi) - условная вероятность принадлежности состояния к j-му классу, если в действительности имеет место i-й класс.

Если система идеальна, то она укажет на принадлежность состояния агрегата к j-му классу только в том случае, когда состояние агрегата в действительности находится в этом классе. Тогда:

P(Bj / Кi) =1, i = j;

P(Bj / Кi) =1, i ≠ j.

Следовательно, знаменатель формулы (3.36) примет вид:

 3.2



Таким образом, при использовании идеальной системы распознавания достоверность предположения о принадлежности состояния агрегата к Ki -классу увеличивается по сравнению с априорными данными на значение

Реальная система распознавания обладает ошибками, поэтому:

Следовательно, Р(Ki / Bj) <1, что говорит о не полной достоверности априор-ной информации в прогнозирования состояния ГПА.

Пусть имеется N классов, представляющих полную группу состояний агрегата. В результате контроля получена реализация параметров для какого-то пока неизвестного класса аварийных состояний  Требуется определить последовательно апостериорные вероятности гипотез:

H1 - принадлежности реализации Bj к классу K1; Н2 - соответственно, к классу К2 и т.д., до KN-i; H - принадлежность реализации Вj к классу КN.

Тогда апостериорная вероятность гипотез определяется по зависимости:

3.3

где P(Hi) - априорная информация гипотез;

 - многомерная функция правдоподобия;

 - образ (эталон) класса Кi, выраженный совокупностью признаков.

Зависимость можно значительно упростить, если воспользоваться следующими допущениями:

. Априорные вероятности классов одинаковы, т.е.

P(K1 )= P(K2 )=...= P(KN )= P(K)

Тогда Р(Н1) = Р(Н2) = ... = Р(НN) = Р(Н) и

. Статистическая зависимость признаков. В этом случае многомерную

функцию  можно представить в виде:


где  - одномерные функции распределения.

Для нормального закона распределения признаков функция распределения определяется, как [17]:

 3.4

где ,  - математическое ожидание и среднее квадратичное отклонение признаков Ki - класса, или статистические характеристики образа Кi - класса, полученные до контроля;

- значение признака Bj - реализации, полученное системой прогнозирования.

С учетом приведенных допущений зависимость для определения апостериорных вероятностей можно представить в виде:

 3.5

По полученному распределению апостериорных вероятностей определяется, к какому классу Кi из N принадлежит Bj - реализация.

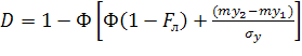
Выбор критерия решения о принадлежности реализации к соответствующему классу относится к типу задач проверки статистических гипотез. Вероятность правильного решения D и соответствующее ему значение параметра находятся при наличии границы прогнозируемого интервала Fл = Fn . Для нормального распределения Fл определяется, как [8, 10,17].

 3.6

откуда , где  - табулированная величина.

Тогда:

 3.7

В том же случае, когда используется детерминированная модель ГПА, задача распознавания класса неисправности упрощается. Детерминированная система использует совокупность признаков, определенным образом характеризующих состояние агрегата, и построена на логических системах распознавания, использующих методы булевой алгебры [20].

Логические признаки распознаваемых неисправностей рассматриваются как элементарные высказывания, к которым относится прямой способ определения параметров состояния. Логические признаки могут быть качественными, т.е. определяющими наличие или отсутствие некоторых свойств или процессов, а также, количественными, т.е. определять попадание признака в определенный интервал, соответствуя значению «исправен» - «неисправен».

На основании анализа диагностических признаков можно составить идентификационную основывающуюся на прогнозируемых функциональных параметрах. Решающее правило распознавания класса или типа неисправности базируется на принципах булевой алгебры: если параметр не отражает заданное состояние, то в соответствующей клетке ставится прочерк, если параметр отражает состояние, то в соответствующей клетке фиксируется наличие признака: с плюсом при соответствии характера изменения параметра состояния характеру отклонения прогнозируемого признака, с минусом, если отклонение параметра состояния вызывает отклонение прогнозируемого признака противоположного значения.

Идентификация неисправности ГПА базируется на разностном методе, а не на абсолютных значениях прогнозируемых величин, поэтому абсолютная точность прогнозирования функциональных параметров не имеет существенного значения [12].

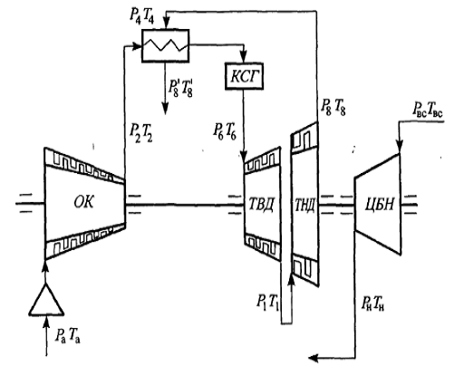
Рисунок 3.1. Принципиальная схема ГПА типа ГТК-10-4

Следует учитывать тот факт, что при не полной информации о функциональных параметрах ГПА, т.е. в случае, когда невозможно однозначно установить тип неисправности согласно представленной таблицы, возрастает значимость экспертной оценки (априорной информации), которая в последующем должна быть использована для уточнения информативности параметра и степени его влияния на ТС агрегата.

3.2 Алгоритмизация прогнозирования технического состояния ГПА


В процессе эксплуатации проводятся постоянные замеры параметров определяющих техническое состояние (ПТС) ГПА с использованием штатных средств КИП. Если КПД агрегата рассматривать как ресурсный параметр, то момент достижения ресурсным параметром некоторого установленного значения соответствует отказу. Таким образом, задача сводится к прогнозированию изменения или динамики ресурсного параметра индивидуального ГПА при эксплуатации с заданными режимами.

В качестве исходной информации принимаются значения ПТС ряда агрегатов-аналогов (j), изменяющиеся со временем (i):

агрегатами-аналогами, соответственно, служат ранее поступившие в эксплуатацию или снятые с эксплуатации ГПА, аналогичные прогнозируемому.

Однако, из-за ограниченности объема фактических данных по изменению ПТС агрегата используется модельная задача прогнозирования ПТС. Алгоритм решения которой следующий.

1. Выбирается модель процесса

 3.8

Вид функции ,задается индивидуально в каждом конкретном случае.

. Моделируются значения параметров


где  - среднее значение ПТС для объектов-аналогов;

- случайная величина, характеризующая отклонение параметра конкретного объекта от среднего; - дисперсия.

. Задаются дополнительные статистические данные


где - дисперсия, которая может задаваться как зависящий от значения контролируемой величины:  (где vv - коэффициент вариации), так и постоянной = const.

.Моделируются временные ряды  в дискретные равностоящие моменты времени ti, c задаваемой продолжительностью  В результате получаются наборы коэффициентов для ПФ из системы

 3.9

. Моделируется прогнозируемый ряд при своем наборе параметров Am

Вычисляется его прогнозное значение

 3.10

Прогнозное значение сравнивается с истинным Yk+l и определяется ошибка прогноза

6. Этапы 2 - 5 повторяются NR раз. Определяется средняя ошибка прогноза

 3.11

. Точность прогноза

 3.12

Исследования показали, что при коэффициенте вариации vv = 0,1 стабилизация результатов наблюдается при NR = 20 и N>20 [10]. При «разумном» объеме выборки (N = 20) точность прогноза сравнима с дисперсией помехи.

Технически гарантированная интервальная оценка ПТС (т.е. оценка, реализуемая с вероятностью не менее 0,9) при N > 20 задается соотношением

 3.13

В соответствии с изложенной методикой обобщенная блок схема алгоритма решения задачи прогнозирования индивидуального остаточного ресурса имеет вид, представленный на рисунке 3.2. За обобщенный ПТС ГПА, как уже отмечалось выше, целесообразно брать эффективного КПД.

Рисунок 3.2. Блок-схема решения задачи индивидуального прогнозирования остаточного ресурса ГПА

Рисунок 3.3. Блок-схема принятия решения по типу неисправности прогнозируемого агрегата

После получения результатов об остаточном ресурсе ГПА, определенному по разработанной методике, осуществляется переход к определению класса возможной неисправности.

Обобщенный алгоритм определения класса неисправного состояния прогнозируемого агрегата представлен на рисунке 3.3. В данной схеме, в качестве п принят номер информативного признака П12,...,Пп.

3.3 Управление работой КС с учетом фактора надежности


В условиях производства четко различаются две сферы хозяйствования, которым соответствуют две службы - эксплуатация и обслуживание оборудования. Цели и задачи у них насколько различны, настолько же едины.

Общность целей этих сфер деятельности заключается в том, что правильный диагноз состояния оборудования, оценку проведенных работ по ремонту и восстановлению должна уметь производить не только служба обслуживания, но и служба эксплуатации. В свою очередь, пуск, остановку и определение возможных неполадок, контроль над работой оборудования должна уметь осуществлять и служба обслуживания.

Все взаимоотношения обеих служб - составление различной документации, дефектных ведомостей, актов о сдаче или приемке оборудования - осуществляются по время операций пуска, остановки и работе оборудования на ходу.

Исходя из выше сказанного, необходимо четко различать две сферы производства, объединенных технической эксплуатацией оборудования газотранспортных предприятий, газотурбинных газоперекачивающих агрегатов.

Эксплуатация оборудования изучает систему положений, методов, инструкций и позволяет определить эксплуатационные характеристики применяемого оборудования, его качество, надежность и эффективность; контролировать и поддерживать рабочее его состояние; изучать и анализировать режим работы; устанавливать влияние внешних условий на работу оборудования, т.е. все то, что в дальнейшем с учетом практического опыта эксплуатации машин может быть использовано для совершенствования их входе обслуживания и разработки новых проектов.

Обслуживание оборудования характеризует систему мер, способов и процессов, позволяющих улучшить техническое состояние машин, которое ухудшилось в ходе эксплуатации, повысить эксплуатационные характеристики на основе изучения режимов работы оборудования, применения различных способов технического обследования (диагностики) и ремонта.

В сфере обслуживания четко разграничиваются две подсферы: техническое обследование и ремонт.

Для эффективного управления и рационализации производства следует разработать комплексную, организационно-методическую структуру технического обслуживания энерготехнологического оборудования.

Техническое обследование энерготехнологического оборудования газовой отрасли и в том числе ГПА проводится с применением различных способов диагностирования, особенности которых отмечены в предыдущих главах. На рисунке 3.4 приводится комплексная методическая структура технического обслуживания энергетического технологического оборудования и структурное определение технической диагностики. Различают, прежде всего, диагностическое инспектирование (ДИН), которое ведется с применением различных средств: регламентов, инструкций, правил, технических условий (ТУ) на проектирование, изготовление и эксплуатацию оборудования и т.д. При этом применяют в качестве метода инспектирования -метод экспертных оценок, сравнения, контроля в соответствии с требованиями различные ТУ, регламентов и т. д. для условий эксплуатации. Основной задачей ДИН является исследование опасностей и работоспособности оборудования с целью сокращения вынужденных, аварийных остановок, простоев, уменьшения числа неполадок, повышения эффективности производства, качества осуществляемых процессов и продления ресурсов оборудования. Исследование опасностей и работоспособности основывается на анализе конструкций и условий эксплуатации с обязательным прогнозированием потенциальных опасностей и снижения работоспособности всего комплекса оборудования.

Рисунок 3.4. Комплексная структура технического обслуживания энерготехнологического оборудования магистральных газопроводов

Следующий наиболее распространенный способ диагностирования проводится с помощью испытания (диагностическое испытание - ДИС).

В последнее время значительное внимание уделяется диагностике, основанной на применении специальных приборов (диагностика специальными приборами - ДСП).

Существующие методы определения состояния агрегатов и в первую очередь ДИС, ДСП являются сложными и дорогостоящими, так как связаны с проведением испытаний оборудования, вывода его в специальный базовый режим, с приобретением дорогостоящих приборов, специального программного обеспечения, т.е. связаны со значительными затратами на дополнительные материальные и людские ресурсы.

При эксплуатации и обслуживании ГПА на компрессорных станциях (КС) на основании данных о работе агрегатов КС газопроводов проводят изучение и анализ режимов работы агрегатов КС и газопровода с определением их технического состоянии. Таким образом, речь идет о диагностике на основании анализа режимов работы оборудования (сокращенно ДАР) методом обработки ограниченного числа данных штатных замеров, всегда имеющихся в распоряжении у штатного персонала в условиях эксплуатации [21, 22].

При определении технического состояния ГПА КС и газопровода способом ДАР используются фактические данные отчетов о работе всех агрегатов КС в условиях эксплуатации, применяются альтернативные методы определения основных характеристик. Экономический эффект методов ДАР связан с определением технического состояния оборудования во всей гамме режимов работы его за отчетный период и отсутствием надобности проведения дорогостоящих испытаний оборудования, связанных с привлечением специальных инженерных кадров, что создает условия для проведения технического обследования оборудования силами эксплуатационного персонала КС.

Кроме отмеченных методов диагностики по формализованным показателям в условиях эксплуатации большое значение имеют методы диагностики по неформализованным показателям контроля. К ним относятся методы по обнаружению неисправностей, неполадок, неработоспособности оборудования по различным симптомам, преимущественно распознаваемым заблаговременно.

Различают следующие способы ремонта ГПА (рис. 3.5):

·              сборка, разборка, чистка, профилактика оборудования;

·              замена, подгонка, сопряженных изношенных деталей, узлов оборудования;

·              восстановление изнашиваемых деталей, узлов различными методами (наплавкой, термическим упрочнением и т.д.);

·              модернизация;

·              реконструкция;

·              техническое перевооружение.

Различают также ремонт по видам: просмотровый, технический осмотр ежедневный, еженедельный, ежемесячный; средний и капитальный ремонты.

Различают ремонты по степени надежности: регламентные, типовые ремонты согласно техническим условиям заводов-изготовителей и нерегламентные, специальные ремонты. Последние проводятся по причине вынужденных, аварийных остановок или же по результатам вскрытия оборудования при очередных плановых ремонтах и приурочиваются ко времени проведения регламентных работ.

На рисунке 3.5 приводится также классификация по ответственности и стратегии проводимых ремонтных работ. Для устранения недостатков системы плановых предупредительных ремонтов (ПНР), стратегия которых основана на времени (ТОВ) (в зарубежной литературе такое техническое обслуживание называется time base maintenance - TBM) в практику ремонта агрегатов вводится техническое обслуживание по состоянию - ТОС (condition base maintenance - CBM).

Программа ТОС предусматривает сбор и анализ доступной информации о состоянии агрегата, разработку ряда методов количественных показателей технического состояния, проведение ремонта, когда это действительно необходимо и вводить коррективы в предписанный график ППР и т.д.

Рисунок 3.5. Классификация видов ремонта ГПА

Для совершенствования форм технического обслуживания в программу работ включается оценка технического состояния не только для текущего момента, но вводятся и прогнозирующие оценки на основе большого объема специальной информации. Такое ТО получило название информационное - ТОИ (information base maintenance - IBM).

Наиболее сложная задача ТОИ - не сбор информации, а возможность создать базу данных, содержащую максимально емкий информационный и эффективный материал, позволяющий определить техническое состояние в реальном режиме времени. Формы ТО могут развиваться, совершенствоваться путем создания "экспертных" программ, основанных на знаниях различных особенностей технологического процесса производства, т.е. путем создания базы знаний. Такая форма ТО называется ТО, основанная на знании, сокращенно ТОЗ (knowledge base maintenance - KBM).

Классификация ремонта основного оборудования КС - ГПА приводится с учетом современных особенностей и совершенствования форм технического обслуживания и ремонта. Приведенная комплексная структура технического обслуживания, диагностики и ремонта (рис. 3.4, 3.5) справедлива как для централизованного, так и децентрализованного производства со своими специфическими особенностями.

Так, например, при децентрализованном производстве различные способы, методы, виды и стратегии технического обслуживания, диагностирования и ремонта проводятся непосредственно газотранспортным предприятием. Работа в каждой сфере представляют универсальный, многопрофильный характер. Например, одна и та же служба может проводить все виды ремонта, применяя различные способы (рис. 3.5).

При централизованном производстве организуются ряд специализированных предприятий для обслуживания ГТП, проведения различных способов более глубокого технического обследования; создаются специализированные базы и заводы в отрасли по ремонту отдельных деталей, узлов и систем энерготехнологического оборудования, ГПА отрасли. Для проведения более сложных работ при ремонте, реконструкции и модернизации привлекаются также заводы-изготовители этого оборудования. В настоящее время при реконструкции в отрасли ряд газотранспортных предприятий включают в сферу своей деятельности ряд специализированных работ по техническому обслуживанию, раннее проводимые специализированными предприятиями.

Представленная комплексная структура технического обслуживания оборудования с определением предмета и содержания всех сфер производства, связанного с технической эксплуатацией энерготехнологического оборудования отрасли, позволяет правильно организовать систему управления производством. Техническое обслуживание представляется как две самостоятельные подсферы. При этом рассматриваются разновидности форм технического обследования и ремонта по различным диагностическим признакам классификации.

Управление обслуживанием является важным этапом в процессе создания эффективной системы технического обслуживания. Основным методом технико-экономического управления обслуживанием в настоящее время является система планово-предупредительных ремонтов (ППР). Система ППР включает совокупность организационно-технических мероприятий по надзору, техническому обслуживанию и ремонту, проводимых соответствующими подразделениями и способствующих увеличению срока службы и предупреждению аварий. Плановые ремонты в системе ППР в соответствии с назначением и характером выполняемых предупредительных и восстановительных работ основного оборудования КС подразделяются на текущие (регулярные в течение года), средние (не менее одного раза в год) и капитальные.

Системе ППР свойственны следующие недостатки:

- плановые профилактические осмотры и различные виды ремонтов производятся после отработки определенного числа часов, независимо от технического состояния обслуживаемого оборудования;

· не учитываются внеплановые и аварийные остановки, их последствия и связанные с ними ремонтные затраты на улучшение показателей качества функционирования системы в целом;

· не принимаются во внимание роль и место обслуживаемого объекта в общих задачах системы, а также конкретные эксплуатационные условия.

Практика эксплуатации показывает, что в некоторых действующих инструкциях не отражено реальное изменение состояния технологического оборудования и режимов эксплуатации. Основные положения системы ППР относятся к отдельным ГПА и другому оборудованию, а не их комплексам и не учитывают достаточно полно специфическую структуру и особенности эксплуатации оборудования всего технического комплекса.

Решение проблемы оптимизации профилактического обслуживания (оптимального управления режимами профилактики) технологических объектов газотранспортной системы является важной задачей, имеющей большое значение для повышения эксплуатационной надежности и эффективности функционирования.

Управление техническим состоянием оборудования КС предусматривает выбор стратегии, обеспечивающие высокие качества их функционирования. Структурные составные единицы КС в зависимости от возможности определения в каждом конкретном случае их отказов, связанных со снижением уровня работоспособности, можно условно разделить на две основные группы:

)        элементы, для которых число состояний равно двум (работоспособное и неработоспособное);

)        объекты (подсистемы), изменение состояния которых приводит к изменению уровня функционирования.

Процесс управления техническим обслуживанием ГМ осуществляется путем подчинения управляющих воздействий некоторым стратегиям обслуживания и ремонта. Стратегия технического обслуживания и ремонта устанавливает виды, объем и периодичность управляющих воздействий, основным назначением и содержанием которых являются контроль и поддержание работоспособного состояния эксплуатируемого объекта в межремонтные периоды и восстановление исправности или работоспособности его до уровня, который обеспечивал бы его использование с заданными или удовлетворительными значениями параметров в течение очередного межремонтного периода.

К настоящему времени решены некоторые задачи управления обслуживанием отдельных ГПА при заданной стратегии, например проведение планово-предупредительных осмотров и ремонтов при достижении определенной наработки и аварийных ремонтов по мере возникновения отказов. Решены также отдельные задачи организационного характера, например, такие, как составление плана-графика ремонта при заданных межремонтных сроках.

Задачи выбора целесообразной стратегии обслуживания и определения оптимальных показателей профилактического обслуживания и ремонта сводятся к нахождению таких значений управляющих переменных Xi (i = 1, 2,..., m), при которых в условиях воздействия неуправляемых переменных Yi (i = 1, 2,..., п) и множества фиксированных параметров Ai (i = 1,2,..., r) некоторая заранее определенная функция W( X, Y, А) принимает экстремальное значение.

Для ГТС управляемыми переменными являются периодичность предупредительных ремонтов, объем (глубина) предупредительных и аварийных ремонтов, длительности рабочего цикла и пребывания в резерве оборудования, периодичность контроля и др.

В условиях существующей организации обслуживания фиксированными параметрами являются, как правило, стоимость предупредительных и аварийных ремонтов, их продолжительность, удельный ущерб в результате отказа и другие, а не управляемыми переменными - продолжительность безотказной работы, эксплуатационные условия. Продолжительность безотказной работы обычно случайная величина, распределенная по некоторому закону.

Стратегии обслуживания можно классифицировать следующим образом:

· предусматривающие регламентированную периодичность операций технического обслуживания и ремонта;

· с нерегламентированной периодичностью операций технического обслуживания и ремонта, в том числе и со смешанными регламентами.

На рисунке 3.6 представлена классификация типов стратегий технического обслуживания и ремонта оборудования КС. Детерминированные стратегии обслуживания (с регламентированной периодичностью операций технического обслуживания и ремонта) основаны на проведении плановых ремонтных работ, которые назначаются в определенные моменты времени (календарные сроки или при достижении определенной наработки).

Рисунок 3.6. Типы стратегий технического обслуживания и ремонта оборудования газотранспортных магистралей

Группа рандомизированных стратегий включает стратегии обслуживания, предусматривающие проведение ремонтных работ в моменты времени, которые нельзя заранее запланировать (при достижении определенного технического состояния объекта или минимизации очереди ожидающего обслуживания оборудования и др.) Два типа стратегий (по состоянию и не по состоянию) образуют класс последовательных (неслучайных и внеплановых) стратегий обслуживания (рис. 3.6).

Наиболее общим классом стратегий обслуживания являются стратегии, предусматривающие проведение регламентных работ в случайных моментах времени. При формализации последних предполагается, что решения об управляющих воздействиях принимаются в результате разыгрывания (жребия) какой-нибудь случайной величины с законом распределения G(x).

Общий подход к исследованию и оптимизации стратегий технического обслуживания и ремонта технических изделий и систем, и, в частности, объектов КС включает следующие этапы:

·              выбор достаточно обширного подмножества целесообразных стратегий обслуживания V0 = {V01, V02,..., V0s} из множества возможных стратегий V= {VI, V2,..., Vs} путем отбора заведомо нецелесообразных или нереализуемых для данных эксплуатационных условий стратегий;

·              проведение оптимизации в классе V0 и выбор оптимальных стратегий V0*.

Любая стратегия обслуживания и ремонта, включая систему ППР, предусматривает проведение определенных видов восстановительных работ. Работоспособным называется состояние объекта, при котором он способен выполнять заданные функции, сохраняя значения основных параметров, установленных нормативно-технической документацией, а неисправным - состояние, при котором объект не соответствует хотя бы одному из требований, т.е. восстановление неисправности соответствует полному восстановлению работоспособности.

Классификация исследований, посвященных формализации стратегий обслуживания и ремонта, затруднительна в связи с разнообразием постановок задач, сформулированных преимущественно для сложных электронных систем, и различными математическими методами и подходами к их решению, основанными на теориях случайных процессов, восстановления и массового обслуживания. Возможна классификация стратегий обслуживания и ремонта по структурному признаку оборудования: одиночная система, система с резервом, группа систем. Такая классификация является удобной с позиции математического подхода к анализу процесса обслуживания и управления профилактикой и ремонтами оборудования, но является менее целесообразной для характеристики управляющих воздействий и принципов реализации стратегии обслуживания, что более существенно для условий эксплуатации ГМ. Придерживаясь классификации (рис. 3.6), обзор исследований, посвященных решению рассматриваемых задач, удобно проводить при разделении их на группы.

Задача выбора оптимальных моментов времени проведения восстановительных работ состоит в определении таких законов распределения, при которых минимизируется показатель качества функционирования. Общность этой стратегии заключается в том, что если реализацией случайного вектора  является вектор наработки, то формируется класс стратегий по наработке и т.д.

Вопрос о целесообразности и состоятельности стратегии обслуживания в случайные моменты времени хорошо разработан. Доказано, что если критерием оптимизации процесса обслуживания является экстремум дробно-линейного функционала относительно функции распределения некоторых положительных случайных величин, который ограничен на множестве всевозможных наборов функций распределения и сохраняет постоянный знак при любых значениях аргументов, то локальные экстремумы функционала достигаются на множестве вырожденных функций распределения. Эта теорема имеет большое значение для поиска оптимальных стратегий обслуживания и ремонта. При выполнении ее условия целесообразно назначать предупредительные восстановительные работы в неслучайные (детерминированные) моменты времени, так как случайные межремонтные периоды не улучшают качества функционирования обслуживаемого объекта.

Следует отметить, что для большинства, практически важных задач условия этой теоремы выполняются, и поэтому искомые периодичности и объем ремонтов являются неслучайными величинами. Следовательно, заранее можно отбросить из рассмотрения класс стратегий по обслуживанию в случайные моменты времени (рис. 3.7) как заведомо нецелесообразный.

В исследованных к настоящему времени моделях детерминированных стратегий обслуживания предполагается, что в обслуживаемой системе (объекте, устройстве) можно выделить два состояния (исправности и отказа). Тогда в качестве определяющих параметров в общем случае можно задать следующее:

         закон распределения времени безотказной работы оборудования (для его описания используется одна из нескольких удобных функций, а именно функция распределения (ФР) времени безотказной работы или интенсивность отказов);

         среднее значение числа отказов на интервале;

         ФР проявления (индикации) отказов;

         ФР продолжительности аварийного ремонта;

         ФР обнаружения (идентификации) отказа;

         ФР продолжительности предупредительных ремонтов;

         вероятность идентификации.

Необходимо определить периодичность предупредительных плановых мероприятий или наработку δ между ними при заданных объемах профилактических и аварийных ремонтов, обеспечивающих максимум коэффициента готовности в стационарном режиме обслуживания или приносящих экстремум любого другого показателя надежности. Введение в рассмотрение средних удельных доходов при эксплуатации, потери при пребывании оборудования в отказе, затрат на проведение плановых и аварийных ремонтов позволяет использовать в качестве функции цели технико-экономические показатели. Для сформулированной задачи решение в общем виде не получено.

Предполагается, что аварийные ремонты не сказываются на характеристиках надежности (сводятся к замене лишь отказавшего элемента), а плановые ремонты направлены на полное восстановление работоспособности обслуживаемого оборудования. Выбирается один из типов плановых ремонтов. Однако для объектов ГТС целесообразно предположить, что можно разграничить два работоспособных состояния обслуживаемого объекта на исправное с ФР F(t) и неисправное, но работоспособное с ФР Ф(t). При обнаружении первого состояния (при проверке через искомое время δ) профилактические восстановительные работы отменяются и, наоборот, при обнаружении второго состояния - проводятся. Эта стратегия обслуживания является предпосылкой к формализации рассматриваемого класса стратегий для объектов обслуживания с числом состояния более двух.

Дальнейшее изложение материала связано именно с этой перспективной стратегией обслуживания, которая в ближайшее время позволит перейти к прогрессивной стратегии обслуживания ГПА по фактическому состоянию. Полученные результаты ориентированы в основном применительно к объектам линейной части, но могут быть использованы и при обслуживании любого другого оборудования газопроводов. Каждая проверка состояния независимо от момента ее проведения требует в среднем затрат С. Экономический ущерб с момента появления повреждения до момента времени t определяется произвольной функцией Сt, которая является неубывающей функцией своего аргумента. Самостоятельное проявление повреждения (авария) причиняет дополнительный ущерб в среднем Са. В качестве показателя, характеризующего эффективность проверок, принимаются средние суммарные затраты С сначала функционирования объекта до момента прекращения проверок по причине обнаружения или самостоятельной индикации повреждения в пределах интервала времени планирования проверок Т.

Задачей исследований является определение оптимальных моментов проведения проверок {tk}nk = 0, (to = 0, tn+1 = Т). Практическое использование данной стратегии в ряде случаев затруднено ввиду отсутствия достаточного объема информации о надежности. Чаще всего это касается оценки ФР F(t) и Ф(t). Поэтому представляет интерес разработка методов оптимизации режима обслуживания в условиях различной степени полноты информации о надежности.

3.3 Повышение эффективности системы ТО и Р ГПА


Исследование действующей системы технического обслуживания и ремонта энерготехнологического оборудования в ГТС, основных тенденций в развитии магистрального транспорта показывает необходимость повышения эффективности мероприятий по обеспечению надежности КС в ходе эксплуатации с целью сокращения общих затрат, потерь и ущербов.

Надежная работа КС неразрывно связана с организацией ремонта и межремонтного обслуживания эксплуатируемого оборудования и аппаратуры. Как известно, при этом расходы на поддержание работоспособности оборудования зачастую значительно превосходят его первоначальную стоимость [23].

Однако, как показывает опыт эксплуатации, широко применявшаяся до настоящего времени планово-предупредительная система (ППР), регламентирующая заранее установленные сроки и объемы ремонта, имеет ряд существенных недостатков, главные из которых - недоиспользование ресурса деталей, что приводит к завышению общего количества, а следовательно, и суммарной трудоемкости ремонтных работ; эксплуатация агрегатов с заниженными значениями КПД; невозможность поддержания требуемых показателей надежности, что может привести к невыполнению требований промышленной безопасности и сокращению объемов перекачки газа.

Техническое обслуживание и ремонт по фактическому техническому состоянию представляет собой совокупность правил по определению режимов и регламента диагностирования оборудования КС и принятию решений о необходимости его обслуживания, замены или ремонта на основе информации о фактическом техническом состоянии. При данной стратегии обслуживания и ремонта оборудование КС эксплуатируется до предотказового состояния.

Таким образом, в основе метода ТО и Р по техническому состоянию заложен принцип предупреждения отказов оборудования, систем КС и их элементов - при условии обеспечения максимально возможной наработки их до замены и минимально возможных затрат на ТО и Р.

С учетом большой номенклатуры оборудования на КС, отличий по начальному их техническому состоянию и наработки, разной степени их сложности, значительного числа дефектов и резервирования использование системы ТО и Р по техническому состоянию на базе диагностики для всего оборудования экономически нецелесообразно. В связи с этим система ТО и Р должна быть смешанной: для некоторой части узлов оборудования - по техническому состоянию на основе диагностирования, для другой - планово-предупредительная система, а для остальной - по потребности после отказа. Поэтому в основу выбора стратегии ТО и Р для каждого типа оборудования (при переводе всей КС на систему ТО и Р по фактическому техническому состоянию) должен быть положен технико-экономический критерий.

На основе контроля и анализа вибрации, как наиболее информативного метода обнаружения неисправности, определяется глубина развития дефектов, причина их появления, прогнозируется ресурс работы или время работы оборудования до ремонта.

Если вибродиагностика, в первую очередь, решает задачи повышения надежности оборудования, то параметрическая диагностика газоперекачивающих агрегатов способствует достижению более экономичных эксплуатационных параметров. В основу параметрической диагностики положены оценка мощности и КПД агрегата в целом, определение причин, вызывающих ухудшение данных параметров, разработка и реализация мероприятий по улучшению или восстановлению энергетической характеристики ГПА, определение тенденции их изменения по мере наработки.

Этот метод диагностики необходимо использовать на начальной стадии работы агрегата, чтобы выявить дефекты заводского характера, монтажа и ремонта, а также в период эксплуатации для своевременного обнаружения и оценки причин, ухудшающих рабочие параметры агрегата.

В ряде случаев приобретение, установка и обслуживание диагностических средств для вспомогательного оборудования дороже, чем проведение ремонта по графику ППР, т.е. для вспомогательного оборудования минимум приведенных затрат на единицу наработки при планово-предупредительной системы ТО и Р меньше, чем минимум приведенных затрат для ТО и Р по техническому состоянию.

С другой стороны, оперативный контроль технического состояния должен обеспечивать высокую безотказность и предотвращать внезапные отказы.

Поэтому область применения стратегии обслуживания и ремонта с контролем параметров целесообразно ограничить системами и оборудованием, которые по соображениям безотказной работы всей КС не могут быть допущены к эксплуатации до отказа (т.е. ограничить тем оборудованием, отказ которого приведет к остановке всей КС или опасной аварийной ситуации).

При выборе оборудования для перевода на ТО и Р по техническому состоянию следует учесть и "возрастной" состав оборудования.

Необходимость ограничения срока службы оборудования КС обусловливается его физическим и моральным износом, повышением отказов, снижением технико-экономических характеристик и требуемой надежности.

Система технического обслуживания и ремонта по фактическому техническому состоянию (ТО и Р по техническому состоянию) основывается на проведении профилактических, восстановительных и диагностических работ через интервалы времени (наработки), определенные по фактическим показателям надежности, результатам предыдущих диагностических контролей, значениям параметров оценки работоспособного состояния данного вида оборудования с учетом срока службы каждой единицы оборудования.

В системе технического обслуживания и ремонта по фактическому техническому состоянию проводятся: техническое обслуживание; диагностические контроли, в том числе оперативный, плановый, неплановый; ремонт по фактическому состоянию в объеме текущего, среднего и капитального ремонта; регламентные остановки.

Для ТО и Р по техническому состоянию обязательными являются:

         проведение диагностических обследований с оценкой работоспособности оборудования и прогнозированием дальнейшей эксплуатации;

         выполнение ремонтных работ по результатам диагностических обследований;

         ведение нормативной, исполнительной, оперативной (эксплуатационной) баз данных, формирование периодических сводок по наработке оборудования, ведение базы данных отказов, хранение в электронном виде документации по организации и выполнению ремонтных работ на уровнях предприятий транспорта газа.

Выполнение условий реализации ТО и Р по состоянию, является обязательным в первую очередь для того оборудования и систем КС, которые с точки зрения безопасной эксплуатации не могут быть допущены к эксплуатации до отказа, а по экономическим соображениям - к эксплуатации до выработки установленного межремонтного периода.

С целью выделения основных объектов КС, подвергаемых первоочередному обязательному контролю, диагностическому обследованию и ремонту, все механотехнологическое оборудование КС должно быть разделено на три условные категории.

Первая категория - оборудование, которое с точки зрения безопасной эксплуатации и по экономическим показателям не может быть допущено к эксплуатации до отказа, а следовательно, переводится на систему ТО и Р по техническому состоянию:

·              ГПА;

·              трубопроводная арматура;

·              системы маслоснабжения, охлаждения;

·              система приточной вентиляции;

·              система пожаротушения.

Вторая категория - оборудование, которое по экономическим показателям переводится на систему ТО и Р по техническому состоянию по мере необходимости:

·              технологические трубопроводы;

·              котлы и котельно-вспомогательное оборудование, тепловые сети; камеры пуска и приема скребка;

·              компрессоры.

Третья категория - оборудование, которое по экономическим показателям нецелесообразно переводить на систему ТО и Р по техническому состоянию:

·              здания и сооружения;

·              система водоснабжения и канализации, очистные сооружения.

В переходный период, т.е. до внедрения ТО и Р по состоянию, для оборудования второй и третьей условных категорий система технического обслуживания и ремонта оборудования КС основывается на выполнении восстановительных работ через заранее определенные по фактическим показателям надежности интервалы времени (наработки) - плановая система ТО и Р. При этом ТО, TP, CP, КР выполняются в плановом порядке на основании графиков, составленных в соответствии с ремонтным циклом и показателями надежности. При отклонениях параметров работы оборудования, регистрируемых установленными контрольно-измерительными приборами или полученных в результате проведения оперативных контролей, оборудование выводится в неплановый ремонт.

Вид системы ТО и Р для каждого типа оборудования выбирается на основании технико-экономического обоснования.

При реализации системы ТО и Р по фактическому техническому состоянию для оборудования, оставляемого на обслуживании по планово-предупредительной системе, устанавливают периодичность оценки (проверки) технического состояния равную межремонтной наработке, а для оборудования, обслуживаемого по фактическому техническому состоянию, -допускаемое значение контролируемого параметра и межконтрольную наработку.

Межконтрольную наработку, а следовательно, и периодичность диагностического контроля можно устанавливать различными способами. Периодичность контролей может быть жесткой и гибкой.

При жесткой системе последовательность проверок определена заранее и в процессе эксплуатации не изменяется. При гибкой системе срок очередного контроля устанавливается в ходе диагностического процесса, т.е. решение о проведении следующего контроля принимается после анализа результатов предыдущего контроля, на основании прогнозных оценок надежностных параметров с учетом наработки и фактических эксплуатационных показателей.

Так как на первоначальном этапе перевода системы на обслуживание и ремонт по фактическому техническому состоянию опыт прогнозных оценок не накоплен, то следует говорить о жесткой системе проверок. В этом случае межконтрольная наработка регламентируется и остается неизменной в процессе всего времени эксплуатации.

Для обеспечения достаточной надежности работы оборудования, обслуживаемого по фактическому техническому состоянию, значение межконтрольной наработки должно быть не больше, чем значение наработки на отказ узла с самым большим значением параметра потока отказов, т. е. определение объема и сроков выполнения ТО и Р базируется на методе "слабейшего звена".

1.       Исследованы методы оценки работоспособности ГПА, основанные на идентификации возможных неисправностей и прогнозировании остаточного ресурса, что дает возможность перейти от стратегии планово-предупредительного ремонта (не полностью удовлетворяет задачи надежной транспортировки газа) к эксплуатации агрегатов по их фактическому техническому состоянию.

.        С учетом большой номенклатуры оборудования на КС, отличий по начальному их техническому состоянию и наработки, разной степени их сложности, значительного числа дефектов и резервирования использование системы ТО и Р по техническому состоянию на базе диагностики для всего оборудования экономически нецелесообразно. В связи с этим система ТО и Р должна быть смешанной: для некоторой части узлов оборудования - по техническому состоянию на основе диагностирования, для другой - планово-предупредительная система, а для остальной - по потребности после отказа. Поэтому в основу выбора стратегии ТО и Р для каждого типа оборудования (при переводе всей КС на систему ТО и Р по фактическому техническому состоянию) должен быть положен технико-экономический критерий.

Выводы


.        На основе существующей информации об отказах ГПА проанализированы причины их возникновения в период эксплуатации, а так же произведена классификация и ранжирование неисправностей ГПА по группам, которые являются важнейшими этапами исследования надежности технических систем и их своевременной диагностики.

.        Исследованы и систематизированы все основные методы и способы контроля технического состояния ГПА. Произведен анализ динамических методов диагностики ГПА, позволяющий утверждать о необходимости разработки расширенных методов идентификации неисправностей на ранней стадии их развития с использованием средств параметрической и виброакустической диагностики.

.        Исследованы методы оценки работоспособности ГПА, основанные на идентификации возможных неисправностей и прогнозировании остаточного ресурса, что дает возможность перейти от стратегии планово-предупредительного ремонта (не полностью удовлетворяет задачи надежной транспортировки газа) к эксплуатации агрегатов по их фактическому техническому состоянию. Но использование системы ТО и Р по техническому состоянию на базе диагностики для всего оборудования компрессорной станции экономически нецелесообразно, в связи с чем система должна быть смешанной: для систем и оборудования, которые по соображениям безотказной работы всей КС не могут быть допущены к эксплуатации до отказа, - по техническому состоянию; для остального оборудования - система планово-предупредительного ремонта.

Список использованных источников


1.       Алиев Р.А., Березина Л.Г., Телегин Л.Г., и др. Сооружение и ремонт газонефтепроводов, газохранилищ и нефтебаз. Учебник для вузов. -М.:Недра, 1987. - 271с.

.        Кунина П.С, Павленко П.П.. Диагностика газоперекачивающих агрегатов с центробежными нагнетателями. Ростов-на-Дону, изд-во РГУ, 2001. - 362 с.

.        Микаэлян Э.А. Эксплуатация газотурбинных газоперекачивающих аппаратов компрессорных станций, газопроводов. М.: Недра. 1994. -304 с.

.        Микаэлян Э.А. Техническое обслуживание газотурбинных газоперекачивающих агрегатов. Методология, исследования, анализ, практика. РГУ нефти и газа им. Губкина И.Н. 1998. - 318 с.

.        Васильев Ю.Н., Бесклетный М.Е., Игуменцов Е.А., Хризестен В.Е. Вибрационный контроль технического состояния газотурбинных и газоперекачивающих агрегатов. М.: Недра. 1987. - 197 с.

.        Червонный А.А., Лукьяненко В.И., Котин Л.В. Надёжность сложных систем. М.: Машиностроение. 1976. -288с.

.        Зарицкий СП. Диагностика газоперекачивающих агрегатов газотурбинными приводами. М.: Недра. 1987. -198 с.

.        Кудашев Э.Р. Идентификация неисправностей газоперекачивающего агрегата методом «слабых резонансов» / Э.Р. Кудашев, В.А. Иванов, А.С. Семенов // Сб. науч. тр. «Мегапаскаль. Выпуск 1». - Тюмень: ТюмГНГУ, 2005.-С. 57-61.

.        Боев Б.В., Бугровский В.В., Вершинин М.П. и др. Идентификация и диагностика в информационно-управляющих системах аэрокосмической отрасли. М.: Наука, 1988. -157 с.

.        Березин В.Л., Бобрицкий Н.В. Сооружение насосных и компрессорных станций: Учебник для вузов. - М.: Недра, 1985. - 288 с.

.        Васильев Ю.Н., Бесклетный М.Е., Игуменцев Е.А. и др. Вибрационный контроль технического состояния газотурбинных газоперекачивающих агрегатов - М.: Недра, 1987. - 197 с.

.        Ерёмин Н.В., Степанов О.А., Яковлев Е.И. Компрессорные станции магистральных газопроводов (надежность и качество) - СПб.: Недра, 1995. - 336 с.

.        Антонова E.О., Иванов И.А., Степанов О.А., Чекардовский М.Н. Мониторинг силовых агрегатов на компрессорных станциях - СПб.: Недра, 1998. - 216 с.

.        Семенов А.С. Классификация и анализ эксплуатационных неисправностей газоперекачивающих агрегатов // Сб. науч. тр. «Нефть и газ. Новые технологии в системах транспорта». - Тюмень: ТюмГНГУ, 2004. - с. 65-69.

.        Щуровский В.А., Зайцев Ю.А. Газотурбинные газоперекачивающие агрегаты. - М.: Недра, 1999. - 191 с.

.        Б. С. Ревзин Газоперекачивающие агрегаты с газотурбинным приводом: Учебное пособие 2-е изд., Екатеринбург: ГОУ УГТУ-УПИ, 2002. 269 с.

.        Поярков Виктор Викторович Разработка и освоение в промышленных условиях алгоритмов параметрической диагностики газотурбинных установок газоперекачивающих агрегатов: Автореф. дис. на соиск. учен, степ. канд. техн. наук. - СПб.: Науч.- производ. объед. по исслед. и проектированию энергетического оборудования, 1992.

.        Терентьев А.Н., Седых З.С., Дубинский В.Г. Надежность газоперекачивающих агрегатов с газотурбинным приводом. - М.: Недра, 1979. - 207 с.

.        Неразрушающий контроль и диагностика. Справочник/ под ред. Клюева В.В. - 2-ое изд. перераб. и доп. - М.: Машиностроение, 2003. - 656 с.

.        Микаэлян Э.А. Повышение качества, обеспечение надежности и безопасности магистральных газонефтепроводов для совершенствования эксплуатационной пригодности / под ред. Маргулова Г.Д. - М.: Топливо и энергетика, 2001. - 640 с.

.        Микаэлян Э.А. Техническое обслуживание энерготехнологического оборудования газотурбинных газоперекачивающих агрегатов системы сбора и транспорта газа

.        . Методология, исследования, анализ и практика - М.: Топливо и энергетика, 2000. - 314 с.

.        Козаченко А.Н. Эксплуатация компрессорных станций магистральных газопроводов - М.: Нефть и газ, 1999. - 463 с.

.        Семенов А.С, Иванов В.А., Кузьмин СВ., Гимадутдинов А.Р. Идентификация неисправностей газоперекачивающих агрегатов по функциональным признакам // Сб. науч. тр. «Нефть и газ. Новые технологии в системах транспорта». - Тюмень: ТюмГНГУ, 2004. с. 69-74.

.        Семенов А.С. Прогнозирование технического состояния газоперекачивающих агрегатов // Сборник научных трудов «Вопросы состояния и перспективы развития нефтегазовых объектов Западной Сибири». - Тюмень: ТюмГНГУ, 2004. - с. 82 - 87.

.        Пиотровский А.С, Старцев В.В. Повышение надежности и эффективности работы компрессорных станций с газотурбинными ГПА. - М.: ООО «ИРЦ-Газпром», 1993. - 80 с.

.        Антипьев В.Н., Бахмат Г.В., Земенков Ю.Д. и др. Эксплуатация магистральных газопроводов: Учебное пособие / под ред. Земенкова Ю.Д. - Тюмень: ТюмГНГУ, 2002. - 525 с.

Похожие работы на - Методы оценки технического состояния газоперекачивающих агрегатов

 

Не нашли материал для своей работы?
Поможем написать уникальную работу
Без плагиата!
Без нейросетей!