Интенсификация работы систем аэротенков и биофильтров

  • Вид работы:
    Реферат
  • Предмет:
    Другое
  • Язык:
    Русский
    ,
    Формат файла:
    MS Word
    166,22 Кб
  • Опубликовано:
    2012-05-12
Вы можете узнать стоимость помощи в написании студенческой работы.
Помощь в написании работы, которую точно примут!

Интенсификация работы систем аэротенков и биофильтров
















Реферат

Интенсификация работы систем аэротенков и биофильтров

аэротенк очистка биофильтр водоотведение

Введение

Современные системы водоснабжения и водоотведения находится в динамическом состоянии: с одной стороны, непрерывно изменяются требования к работе элементов этих систем (более глубокая очистка природных и сточных вод, ухудшение качества воды в природных источниках, изменение степени и разнообразия загрязнения сточных вод), с другой стороны, изменяется состояние самой системы (уменьшается пропускная способность водоводов и водопроводных сетей за счёт коррозии металлических труб, уменьшаются напоры, развиваемые насосами, происходит износ как физический, так и моральный). Изменение состояние систем водоснабжения и водоотведения особенно усилилось в последние годы в так называемый постперестроичный период, когда в силу экономических причин нарушилась их нормальная эксплуатация. Средства, выделяемые на развитие этих систем, явно недостаточны, и поэтому увеличилось внимание к поиску оптимальных, зачастую более дешёвых решений. Больше внимания стало уделяться реконструкции существующих сооружений на базе современных достижений науки и техники как отечественной, так и зарубежной. Такие реконструированные сооружения могут ещё в течении одного-двух десятков лет удовлетворять современным требованиям.

Интенсификация работы аэротенков

Увеличение дозы активного ила в зоне аэрации является одним из наиболее важных направлений интенсификации биохимической очистки сточных вод в аэротенках. Считается, что при повышении дозы активного ила с 1-2 до 25-30 г/л пропорционально возрастает окислительная мощность аэротенка от 0,5-1 до 12-14 кг БПКп/(м3∙сут). Однако для системы аэротенк-вторичный отстойник существует предельная концентрация активного ила, превышение который ведёт к дестабилизации работы системы и ухудшению качества очистки. При наличии систем доочистки в данном случае увеличивается нагрузка на них и может превысить предельную величину. Наиболее слабым местом в этой системе является вторичный отстойник, для которого доза ила составляет 1,5-2 г/л. Увеличивать дозу активного ила в аэротенке можно разными путями. Наиболее простой - введение отдельной регенерации активного ила. Это достигается возвратом на стадии регенерации уплотнённого во вторичных отстойниках активного ила. Его доза в регенераторе может быть 7-8 г/л , а в рабочей зоне 1,5-2,5 г/л. Дальнейшее увеличение вынуждает применять двухступенчатое илоотделение , модифицировать вторичные отстойники тонкослойными модулями или применять более сложные сооружения: флотаторы, осветлители со слоем взвешенного осадка, фильтры.

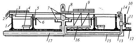
Другим путём увеличение дозы активного ила является создание аэротенков с фильтрационным разделением иловой смеси. В рабочей зоне такого сооружения поддерживается доза активного ила до 25 г/л. Однако перед подачей очищенной сточной жидкости во вторичный отстойник она пропускается через специальные фильтровальные перегородки сетчатого или пористого типа. При этом во вторичный отстойник посткпает не более 3-4 г/л взвешанных веществ. Фильтротенки могут успешно применяться для очистки высококонцентрированных сточных вод, образующих труднооседаемые илы (рис.1).

Рис.1. Фильтротенк радиального типа: 1 - распределительный лоток; 2 - лоток возвратного ила; 3 - зона аэрации; 4 - фильтрующая насадка; 5 - камера дегазации; 6 - струенаправляющая насадка; 7 - сборные лотки; 8 - ферма илососа; 9 - мостик; 10 - камера управления; 11 - воздуховод; 12 - трубопровод избыточного ила; 13 - эрлифт; 14 - иловая камера; 15 - трубопровод возвратного активного ила; 16 - илососы; 17 - трубопровод очищенных сточных вод.

При использовании в качестве фильтрующих элементов новых материалов, например пористой нержавеющей стали, появилась возможность отказаться от вторичных отстойников, т.к. вынос активного ила не превышает 20 мг/л. Технико-экономическими расчётами установлено, что в фльтротенке возможно достижение высокой окислительной мощности (8000-1200 г БПКп/м3) при низкой нагрузке на активный ил (400-600 мг/л). При этом достигается 12-15%-е снижение себестоимости очистки и 35-40%-я экономия капитальных вложений.

Другим сооружением биологической очистки сточных вод с высокими дозами активного ила является флототенк. Флотационные илоотделители, совмещённые с аэротенками, разработаны как в нашей стране, так и за рубежом. Принципиальная схема работы флототенка состоит в том, что сточные воды после механической очистки подаются в безнапорную зону аэрации, которая оборудована соответствующими аэрационными устройствами. Иловая смесь в зоне аэрации насыщается воздухом с помощью насосов и эжекторов. Воздухом также может насыщаться часть расхода рециркулирующей осветленной сточной жидкости, которая затем подаётся в безнапорную зону флотационного илоотделителя. Сфлотированный ил концентрацией 30-50 г/л из пенного флотатора удаляется скребками различной конструкции или самотечным переливом на рециркуляцию в зону аэрации и частично в качестве избыточного активного ила отводится на сооружения обработки осадка.

Как показал опыт эксплуатации флототенков, количество избыточного активного ила невелико, и в ряде случаев можно обойтись без его выведения из системы. Это объясняется тем, что снижение удельной окислительной мощности активного ила при увеличении его дозы автоматически переводит активный ил в фазу продленной аэрации, которая характеризуется весьма малым или даже нулевым приростом биомассы.

Флототенки, как и фильтротенки, целесообразно применять для неполной биологической очистки высококонцентрированных производственных сточных вод в двух ступенчатых схемах в качестве первой ступени или на локальных сооружениях промышленных предприятий.

Одним из способов увеличения массы активного ила в аэротенках может быть заполнение всего или части объёма инертными материалами с развитой поверхностью, обрастающей биологической плёнкой (биотенки). Такое закрепление микроорганизмов позволяет увеличить количество ила в аэротенках без существенного увеличения концентрации иловой смеси, поступающей во вторичные отстойники. В аэротенках размещаются блоки плоских или волнистых асбестоцементных листов, пластмассовые решётки, щиты в виде металлического или деревянного каркаса с закреплёнными на них листами поролона, стекловолокна, синтетическими тканями и другими материалами. Возможно заполнение объёма аэротенка полиуретаном, полистиролом, пластмассовыми элементами , кольцами и др. В аэротенках с закрепленной биомассой необходимо обеспечивать соответствующие условия для аэрации и циркуляции иловой смеси во всём объёме сооружения с тем, чтобы избежать возможного появления застойных зон .

Совершенствование гидродинамического режима аэротенков позволяет интенсифицировать их работу. Аэротенки-вытеснители обеспечивают высокое качество и стабильность нагрузки, однако доза ила в них невелика, и нагрузка на него распределяется неравномерно. Аэротенки-смесители отличаются равномерностью нагрузки на активный ил по органическим загрязнениям, что обеспечивает скорость изъятия загрязнений. Однако в них возможен проскок неочищенной сточной воды.

В конструкции аэротенка с неравномерно рассредоточенной подачей сточной жидкости (АНР) сочетаются преимущества аэротенка-смесителя и аэротенка-вытеснителя. Подача сточной жидкости в аэротенки такого типа осуществляется по длине сооружения через затворы-водосливы, обеспечивающие регулирование расхода пропорционально концентрации активного ила в зоне аэрации. Общая масса активного ила в АНР выше, чем в аэротенках-вытеснителях, вследствие чего окислительная мощность сооружения повышается на 25-30%.

С целью повышения эффективности работы действующих коридорных аэротенков целесообразно переоборудовать их в многокамерные аэротенки. В таком устройстве, разделённом перегородками с отверстиями на ряд камер, осуществляется полное перемешивание жидкости в пределах каждой из них, но отсутствует, перемешивание между ними. Последовательное перетекание иловй смеси из одной камеры в другую создаёт гидродинамический режим, в большей степени отвечающий режиму идеального вытеснения, причём мера этого соответствия возрастает с увеличением числа камер.

Разделение аэротенка на камеры можно осуществить с помощью перегородок из разнообразных материалов (железобетона, дерева, пластмасс и др.). Отверстия для перетекания жидкости из одной камеры в другую надо размещать у дна аэротенка , скорость потока в отверстии должна быть при максимальном притоке около 0,2 м/с.

В последние годы получили развитие глубинные аэротенки с вертикальным движением воды, названные шахтными. Такие аэротенки выполняются диаметром от 250 мм до нескольких метров и глубиной до 360 м. Общий рабочий объём шахтного аэротенка разделён на две секции: восходящего и нисходящего потоков. Обычно это реакторы «труба в трубе» или перегородчатые. В секциях шахтного аэротенка подаваемый компрессором воздух создаёт эрлифтную циркуляцию сточных вод. Возможно создание циркуляции иловой смеси насосом.

Глубокие аэротенки обладают рядом преимуществ по сравнению с традиционными: их объём в 2-2,5 раза меньше, капитальные затраты на строительство сокращаются на 20%. Они занимают значительно меньше площади. Благодаря высокому гидростатическому давлению растворимость кислорода в шахтных аэротенках в 2 раза выше, что позволяет снизить мощность компрессоров и уменьшить количество подаваемого воздуха. Так, на 1кВт∙ч затраченной электроэнергии при глубине аэротенка 100-300 м за час обеспечивается ввод в сточную жидкость 3 кг кислорода на 1 м3 аэротенка. Количество избыточного активного ила в шахтных аэротенках снижается на 50% вследствии чего обеспечивается его переработка. Высокая турбулентность при аэрации в аэротенках большой глубины исключает возможность протекания анаэробных процессов и выделения запахов. Степень использования кислорода в шахтных аэротенках составляет до 90%.

Разделение иловаой смеси после шахтных аэротенков может успешно осуществляться во флотационных илоотделителях. Флотация происходит самопроизвольно за счёт мельчайших пузырьков воздуха, выделяющихся из раствора при уменьшении давления в выходящем потоке.

На реконструируемых очистных сооружениях шахтные аэротенки целесообразно использовать как первую ступень биологической очистки пред аэротенками-вытеснителями или биофильтрами.

Интенсификация работы биофильтров

Рециркуляция, то есть повторная подача на биофильтря части очищенных сточных вод вместе с неочищенными стоками, увеличивает производительность биофильтров и повышает эффективность биологической очистки. Возвращаемая на биофильтры очищенная вода несёт с собой кислород, нитриты и нитраты, аэробные микроорганизмы и ферменты. Вследствие этого смесь рециркуляционной воды с неочищенными сточными водами приобретает свойства, обеспечивающие повышение скорости окисления загрязнённой биоплёнкой. При рециркуляции в процессе очистки с большей эффективностью участвует нижний слой загрузки фильтра, уменьшается опасность заиливания загрузки, сглаживаются пики концентраций загрязнений сточных вод, обеспечивается более равномерная гидравлическая нагрузка биофильтра в течении суток.

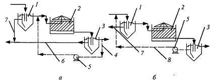
Рис. 2. Схема очистки сточных вод на биофильтрах с рециркуляцией очищенной воды:

- первичный отстойник; 2 - биофильтр; 3 - вторичный отстойник; 4 - рециркуляционная вода; 5 - насос; 6 - биоплёнка; 7 - сырой осадок; 8 - рециркуляционная вода с биоплёнкой.

Рециркуляция как способ интенсификации работы действующих биофильтров может быть осуществлена несколькими путями. Рециркуляционную воду отбирают из канала после вторичных отстойников и смешивают её со сточными водами, осветлёнными в первичных отстойниках (рис. 2,а). В этом случае введение рециркуляции увеличивает нагрузку на вторичные отстойники, поэтому в большинстве случаев необходимо строительство дополнительных отстойников.

Роль рециркуляции существенно повышается, если рециркуляционная вода забирается вместе с осевшей биоплёнкой из осадочной части вторичных отстойников и смешивается с неочищенными сточными водами перед первичным отстойником (рис. 2,б)

В смеси сточных вод уже на этапе первичного их осветления начинаются процессы биологической очистки, часть растворённых и коллоидных загрязнений удаляется из воды за счёт биокоагуляции их биоплёнкой. Применение рециркуляции с подачей биоплёнки в первичные отстойники позволяет в сравнении с обычной схемой повысить эффект очистки сточных вод на биофильтрах 75-80% до80-85% при нагрузке по БПК20 3,2 кг/м3∙сут. Описанный способ рециркуляции позволяет сохранить прежний объём вторичных отстойников, рабочая зона которых в этом случае рассчитывается только на расход очищаемых сточных вод, но требует увеличения объёма первичных отстойников пропорционально рециркуляционному расходу. Нужно отметить, что суммарный объём первичных и вторичных отстойников при описанных способах рециркуляции не меняется, если продолжительность первичного и вторичного отстаивания, а также коэффициенты рециркуляции одинаковы.

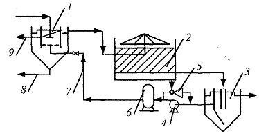
Разработан способ очистки сточных вод, в котором рационально сочетаются рециркуляция очищенной воды и флотационное осветление её перед подачей на биологические фильтры. Сущность способа заключается в том, что рециркуляционная вода , отбираемая вместе с биоплёнкой из осадочной части вторичных отстойников, используется в качестве рабочей жидкости биокоагулятора, используемого для предварительного осветления сточных вод (рис. 3).

Рис. 3 . Схема очистки сточных вод на биофильтрах с предварительным флотационным осветлением воды: 1 - флотационный биокоагулятор; 2 - биофильтр; 3 - вторичный отстойник; 4 - насос; 5 - водоструйный эжектор; 6 - напорный бак; 7 - рециркуляционная рабочая жидкость; 8 - осадок; 9 - флотационный шлам.

Опытно-промышленным испытанием способа установлено, что высокий и устойчивый эффект предварительной очистки сточных вод наблюдается при гидравлических нагрузках составляющих 6-8 м3/м2∙ч. При коэффициентах рециркуляции 0,5-1 эффект удаления взвешанных веществ составил 61,0-64,4%, органических веществ БПК5 35-38%. Коэффициент рециркуляции при очистке был принят равным 0,5.

Максимальная гидравлическая нагрузка на контрольный биофильтр 16 м3/м2∙ч, а на биофильтр , очищающий сточные воды после флотационного осветления, 22 м3/м2∙ч. Качество очищенной воды в обоих случаях практически одинаково.

Достигнутое увеличение производительности опытного биофильтра на 37-40% в сравнении с контрольным даёт основание считать, что рекомендуемый способ может с успехом применяться на станциях биофильтрации.

Заключение

Реконструкция систем водоотведения выполняется в основном путём интенсификации работы сооружений механической и биологической очистки сточных вод. С одной стороны , это обеспечивает задержание наибольшего количества загрязнений, с другой - желательно получить наименьшее количество осадка.

Среди используемых приёмов можно отметить более активную аэрацию сточных вод , применение загрузки в аэротенках для увеличения дозы активного ила , рециркуляционный метод для биофильтров, принудительную вентиляцию загрузки биофильтров, применение новых видов загрузочных материалов для увеличения количества биологической плёнки в фильтрующей загрузке и др. Всё это и дальнейшие исследования с применением нанотехнологий и наноматериалов позволит улучшить качество и надёжность очистных систем .


.Водоснабжение и водоотведение. Наружные сети и сооружения: Справ./ Б.Н. Репин, С.Е. Запорожец, В.Н. Ереснов и др.; Под ред. Б.Н. Репина. - М.: Высш. шк., 1995г.

.Реконструкция систем сооружений водоснабжения и водоотведения: Учеб. Пособие. - Ижевск: Издательство ИжГТУ, 2003г.

Похожие работы на - Интенсификация работы систем аэротенков и биофильтров

 

Не нашли материал для своей работы?
Поможем написать уникальную работу
Без плагиата!
Без нейросетей!