Дробление щебня. Виды дробилок и их сравнительные характеристики
Федеральное
агентство по образованию Российской Федерации
Государственное
образовательное учреждение высшего профессионального образования
Самарский
государственный архитектурно-строительный университет
Кафедра
Производства строительных материалов, изделий и конструкций
Курсовая
работа
по
дисциплине: Заполнители для бетонов
на тему:
Дробление щебня. Виды дробилок и их сравнительные характеристики
Самара, 2011
Введение
Щебень из горных пород - неорганический зернистый сыпучий материал с зернами
крупностью св. 5 мм, получаемый дроблением горных пород, гравия и валунов,
попутно добываемых вскрышных и вмещающих пород или некондиционных отходов
горных предприятий по переработке руд (черных, цветных и редких металлов
металлургической промышленности) и неметаллических ископаемых других отраслей
промышленности и последующим рассевом продуктов дробления.
Является наиболее качественным крупным заполнителем для высокопрочных
бетонов. Он, как правило, дороже гравия, но тем не менее объем производства
щебня превышает объем добычи гравия в несколько раз. Это объясняется
отсутствием гравия во многих районах страны и использованием его для
высокопрочных бетонов.
Сырьем для получения щебня служат в основном: изверженные горные породы
типа - гранита, габбро, диабаза, базальта; и карбонатные осадочные горные
породы - известняки и доломиты. Меньшее промышленное значение имеют песчаники и
метаморфические горные породы.
Разновидности щебня:
Гранитный
щебень - это щебень из твердой горной породы зернистого строения, которая
является самой распространенной на Земле. Гранитная скала представляет собой
магму, выброшенную на поверхность земли и затвердевшую.Состоящую из хорошо
сформированных кристаллов полевого шпата, кварца, слюды и т.д. И имеет цвет
красный, розовый или серый, оправляемый от преобладания в нём шпата и слюды.
Глыбы получают обычно путем взрыва монолитной скалы, затем они дробятся в
машине, а полученный щебень просеивается по фракциям. Это последний этап
производства щебня.
По
техническим характеристикам гранитный щебень является прочным
<#"553481.files/image001.gif">
Рис. 1. Технологические схемы:
а - одностадийное дробление с открытым циклом; б - одностадийное
дробление с замкнутым циклом; в - двухстадийное дробление; г - трехстадийное
дробление
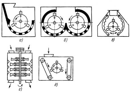
Способы дробления (рис. 2): раздавливание, раскалывание, истирание и удар.
Прочные и абразивные материалы дробят преимущественно раздавливанием, прочные и
вязкие - раздавливанием с истиранием, мягкие и хрупкие - раскалыванием и
ударом.
Рис. 2. Способы дробления:
Дробление
характеризуют степенью дробления, т. е. отношением размеров наибольших кусков в
материале до и после дробления. Другой показатель - удельный расход энергии, т.
е. количество кВт·ч на 1 т дроблёного материала. Дробление комбинируют, как
правило, с грохочением.
Различают
дробление в открытом (рис. 3, а) и замкнутом (рис. 3, б) цикле. В 1-м случае
готовый по крупности продукт отсеивают на грохоте перед дробилкой, а также
получают после дробления; во 2-м - материал после дробилки просеивается на
грохоте на крупный и мелкий (готовый); крупный материал возвращается для
додрабливания в ту же дробилку.
Рис.
3. Схемы дробления в открытом (a) и замкнутом (б) цикле: 1 - грохот; 2 - дробилка.
1.3 Сортировка (грохочение)
Грохочение
- процесс разделения (сортировки) сыпучих материалов по крупности частиц
(кусков) на грохотах.
По
технологическому назначению различают грохочение: вспомогательное, в том числе
предварительное - отделение мелких классов исходного материала, которые
нецелесообразно направлять в дробилку (при дроблении в открытом цикле);
контрольное или поверочное - отделение мелких классов дроблёного материала (при
дроблении в замкнутом цикле); совмещённое (предварительное и контрольное),
когда обе операции совмещены в одну (при дроблении в замкнутом цикле);
подготовительное - выделение продуктов различных классов крупности с целью
раздельной обработки, обусловленной требованиями технологии на
рудоуглеобогатительных и брикетных фабриках; самостоятельная или механическая
сортировка - получение готовых продуктов (сортов), отправляемых потребителю.
Технологическая
схема установки для получения фракционированного щебня грохочением продукта
дробления
щебень дробление сортировка гравийный
1. Вибропитатель (емкостью бункера 15 куб.м.)
2. Агрегат сортировки с грохотом ГИС-42 (с ситами 40х40; 70х70)
. Агрегат сортировки с грохотом ГИС-43 (с ситами 5х20; 10х10;
20х20)
. Конвейер 800-15
. Конвейер 650-20
. Конвейер 650-15 (6 шт.)
. Агрегат управления
2. Виды дробилок и их сравнительные характеристики
Дробилки по конструкции и принципу дробления подразделяются на щековые,
конусные, валковые, молотковые и др.
2.1 Щековые дробилки
Исходный материал поступает в пространство между щеками сверху.
Дробленный продукт разгружается снизу при отходе подвижной щеки. Крупность
максимальных кусков в дроблённом продукте определяется шириной выходной щели
между подвижной и неподвижной щёками
2.2 Конусные дробилки
Конусная дробилка по своему типоразмерному ряду делятся на дробилки
крупного, среднего и мелкого дробления. Основное дробящее действие конусной
дробилки - раздавливание, но имеет место и разлом. Дробление материала
происходит непрерывно, что позволяет делать конусные дробилки без тяжёлых
маховиков, а также, по сравнению с щековыми дробилками увеличить время
нахождения материала в камере дробления, и как следствие, степень сокращения.
2.3 Роторные дробилки
Роторная дробилка предназначены для дробления мягких, малоабразивных
материалов. Использование роторных дробилок для дробления прочных пород
малоэффективно из-за высокого расхода быстроизнашивающихся дробящих элементов.
Не смотря на свою узкую специализацию роторная дробилка имеет ряд
неоспоримых преимуществ:
· высокая производительность
· простота конструкции
· возможность селективного дробления (более слабые по прочности
зёрна лучше дробятся и попадают в отсев дробления)
2.4 Молотковые дробилки
Молотковая дробилка используют в основном для среднего и мелкого
дробления. Также как и роторные дробилки их используют для дробления
малоабразивных материалов.
Размер готового продукта регулируется количеством и формой молотков,
изменением частоты вращения ротора, на котором закреплены молотки, зазором
между колосниками разгрузочной решетки, а также расстоянием между окружностью
вращения молотков и окружностью колосниковой решетки. Количество возможных
изменений в работе дробилки является преимуществом молотковых дробилок, так как
позволяет подобрать режим максимально соответствующий поставленной задачи.
Основные преимущества молотковой дробилки:
· надежная, простая конструкция
· высокая степень сокращения материала
· молотковая дробилка не нуждается в специально организованных
строительных площадках и бетонных фундаментах. Она может работать как
непосредственно на объекте, так и в карьере.

2.5 Валковые дробилки
Валковая дробилка является компрессионной дробилкой, раньше широко
использовалась в горной промышленности.
Валковая дробилка дробит материал в минимальную зернистость (2 мм) и
использует компрессию для дробления с двумя вращающими валками. Промежуток
между этими валками установит требующий размер продукции, и реализует
максимальное питание. Главные преимущества валковой дробилки заключаются в том,
что она даёт хороший размер продукции и остается немного пыли.
Рабочим органом в валковой дробилке являются два валка, вращающиеся
навстречу друг другу и раздвинутые на расстояние, определяемое максимальным
размером выходящего продукта. Материал, подлежащий дроблению, вследствие трения
затягивается между валками и при этом постепенно измельчается. Крупность
продуктов дробления зависит от регулировки зазора между ними.
Список литературы
1. С. М. Ицкович - Технология заполнителей бетона - М.; 1991
год - 273 с.
2. http://www.sgm-eng.ru/