Разработка программного обеспечения конфигурирования аппаратно-программного комплекса распределённой обработки видеообразов

  • Вид работы:
    Дипломная (ВКР)
  • Предмет:
    Информационное обеспечение, программирование
  • Язык:
    Русский
    ,
    Формат файла:
    MS Word
    755,83 Кб
  • Опубликовано:
    2012-06-13
Вы можете узнать стоимость помощи в написании студенческой работы.
Помощь в написании работы, которую точно примут!

Разработка программного обеспечения конфигурирования аппаратно-программного комплекса распределённой обработки видеообразов

ВВЕДЕНИЕ

Задачей выпускной квалификационной работы являлась разработка программного обеспечения конфигурирования аппаратно-программного комплекса распределённой обработки видеообразов (ISS, DSSL). Программный комплекс должен эффективно обрабатывать и передавать информацию на любом оборудовании, на котором установлен. А так же снижать нагрузку с сетей и находить оптимальный и короткий маршрут для передачи большого объёма информации. Выполненная работа состоит из введения, семи разделов, заключения, приложений и списка использованных источников.

В первом разделе выпускной квалификационной работы сделан обзор существующих систем видеоанализа объектов и распознавания образов и анализ основных структур программно-аппаратного комплексов видеоконтроля.

Во втором разделе приведены основные технические условия и выполнено формирование требований к комплексу распределенного децентрализованного адаптивного видеоконтроля.

В третьем разделе описано исследование предметной области автоматизации, осуществлена разработка структуры и алгоритма функционирования децентрализованного комплекса определения объектов и их перемещений, а также представлено функционально-структурное описание объекта автоматизации, сформулированы основные требования к комплексу.

В четвертом разделе выпускной квалификационной работы рассмотрено применение средств автоматизации, проектирования, представлена функциональная модель комплекса с использованием методологии IDEF3 и их декомпозиция на составляющие процессы, выполнено построение диаграмм.

В пятом разделе рассмотрены алгоритмы функционирования комплекса, организации вычислительных средств комплекса в структуру поэтапного решения задачи анализа видео-объектов, математическая модель задачи, алгоритмы и программа анализа маршрута передачи информации средствами комплекса, приведены результаты работы программы.

В шестом разделе содержится организационно-экономическая часть работы, где приведено технико-экономическое обоснование и оценка технико-экономических показателей программного средства, дается оценка трудоемкости разработки программы, расчёт сметной стоимости разработки и качественная оценка программного продукта.

В седьмом разделе рассмотрены вопросы экологичности и безопасности проекта, представлен анализ требований к разрабатываемому программно-аппаратному комплексу, решения по охране труда (защитное заземление), по обеспечению устойчивости его функционирования в чрезвычайных ситуациях.

Основной задачей проектирования являлось рассмотрение вопросов построения пространственно-распределенной аппаратно-программной и алгоритмически децентрализованной структуры, способной поэтапно обрабатывать видеообразы, и выполнять расчёт маршрута для эффективной передачи данных по сети.

Для выполнения задачи был выбран алгоритм Беллмана-Форда по нахождению кратчайшего пути в графе. Выбор был сделан в его пользу, т.к. алгоритм Дейкстры хоть и более совершенен, но более сложен в реализации и обладает огромным минусом - намного большим потреблением аппаратных средств при реализации. Таким образом, программа позволит эффективно использовать сетевые ресурсы, снижая нагрузку на сеть и передавать информацию наиболее быстро и эффективно.

По результатам работы можно сделать выводы о том, что предложенный подход и созданная программа формирования комплекса средств видеоанализа, могут быть использованы на практике при организации и функционировании сложных распределенных систем видеоанализа объектов, т.к. программа позволяет наиболее эффективно использовать ресурсы сети и значительно снизить уровень нагрузки.

1. АНАЛИТИЧЕСКИЙ ОБЗОР ВИДЕОСИСТЕМ С ЭЛЕМЕНТАМИ ИНТЕЛЛЕКТУАЛЬНОЙ ОБРАБОТКИ ВИДЕОКОНТЕНТА

.1 Обзор систем видеоанализа объектов

видеоконтент обработка вычислительный средство

1.1.1 FaceInspector (ISS)

Программно-аппаратный комплекс, обеспечивающий автоматическое выделение из "живого" видеопотока оптимальное изображение лица для распознавания, сохранения в базе данных и последующей идентификации в режиме реального времени.

Инновационная технология распознавания лиц обеспечивает высокую (не менее 80%) вероятность распознавания лиц, в том числе, при изменении физических характеристик лица: старении, появлении бороды и усов, изменении прически.

Отсутствие физического контакта с системой, распознавание лиц всех людей, попавших в поле зрения видеокамеры, работа с внешними базами данных и другие преимущества - аргумент для использования системы в местах массового скопления людей, на секретных и стратегически важных объектах.

Интеграция системы "Face-Инспектор" в единый комплекс безопасности для обеспечения необходимой реакции его компонент по результатам распознавания и идентификации - высокоэффективный способ обеспечения безопасности самых различных объектов.

Использование системы "Face-Инспектор" для видеоконтроля обеспечит в реальном времени регистрацию всех людей, прошедших через рубеж контроля, предоставление данных о присутствии разыскиваемых персон. Полученная информация будет необходима в случае совершения правонарушений, беспорядков, при поиске пропавших людей. Надежная работа в широком диапазоне условий освещенности, одновременное распознавание лиц многих людей в движении является дополнительным аргументом в пользу использования системы.

Правоохранительные органы могут эффективно использовать систему "Face-Инспектор" для идентификации террористов, преступников, нарушителей при интеграции с собственными базами данных. Система обеспечит мгновенное оповещение о нахождении разыскиваемых лиц на контролируемом объекте, а, следовательно, оперативное реагирование и принятие необходимых мер со стороны силовых структур.

Использование системы "Face-Инспектор" - высокотехнологичное решение задачи контроля миграционных процессов, борьбы с террористами, контрабандистами. Службы пограничного и паспортного контроля аэропортов, вокзалов, иммиграционные службы имеют все основания использовать систему для автоматического сравнения фотографии на документе с "живым" лицом, поиска и предоставления информации из собственных баз данных, формирования видеоархива прибывающих в страну.

Система "Face-Инспектор" является эффективным инструментом для предотвращения проникновения "нежелательных людей" на охраняемую территорию за счет идентификации допущенных лиц. По результатам бесконтактной регистрации лица, сравнения с изображениями из базы данных по "черному" или "белому" списку, полномочия личности на проход будут автоматически удостоверены. В случае регистрации человека, не имеющего прав доступа в определенное помещение или территорию, автоматически будет реализована заданная реакция системы контроля доступа, установленного охранного оборудования (блокирование дверей, включение сирены), а также оперативное оповещение соответствующих подразделений.

Система "Face-Инспектор" эффективна для автоматического контроля и ведения базы данных сотрудников и посетителей предприятий, банков, офисов: в архиве сохраняется и будет при необходимости мгновенно найдена информация о дате, времени, направлении прохода интересующего человека, видеокадр с изображением его лица.

1.1.2 VideoInspector Xpress

Система "VideoInspector Xpress" - экономичная цифровая система видеонаблюдения с функциональными возможностями, необходимыми для решения задач охраны и видеоконтроля малых и средних объектов: предназначена для организации до 16 видеоканалов.

Высокие технические характеристики обеспечивают эффективность применения системы для обеспечения безопасности: полное разрешение видеокадра, сжатие данных с помощью алгоритма компрессии Delta-Wavelet, передача данных по сети, просмотр изображения через Web-браузер и др.

Система "VideoInspector Xpress" является готовым комплектом для быстрой и легкой инсталляции, надежной эксплуатации на базе персонального компьютера.

В стоимость комплекта поставки включены: максимально возможное количество каналов аудиозаписи и управления поворотными камерами, удаленное рабочее место оператора.

Область применения:

Система "VideoInspector Xpress" - лучший выбор для организации видео наблюдения на таких объектах как:

офисы;

магазины;

школы, детские сады;

банковские помещения: операционные залы, кассовые узлы, пункты обмена валюты, кабинеты;

залы игровых автоматов;

загородные дома и др.

Функциональные возможности:

Система "VideoInspector Xpress" предоставляет пользователю все необходимые в работе возможности профессиональных систем:

многоканальная видеозапись и аудиозапись каналов видеозаписи/аудиозаписи/телеметрии: до 16;

детекция движения с настройкой заданных параметров по каждому видеоканалу;

отображение и воспроизведение видеозаписи, работа с видеоданными с использованием удобного пользовательского интерфейса;

формирование архива большого объема с сохранением при этом высокого качества изображения благодаря высокопроизводительному алгоритму компрессии Delta-Wavelet;

удаленный доступ к данным.

Многоканальная видеозапись:

количество видеоканалов: от 1 до 16;

высокая скорость видеозаписи - до 25 кадров в секунду на канал;

общая скорость до 400 кадров в секунду (16 живых каналов);

предтревожная видеозапись;

управление поворотными камерами;

разрешение видеокадра - 704х576, 704х288, 352х288;

индивидуальные настройки параметров продолжительности и скорости записи, цветности, яркости и контрастности изображения для каждой видеокамеры;

запись видеоданных по принципу замкнутого кольца;

автоматическая и ручная программная обработка для улучшения качества изображения.

Детекция движения:

помехоустойчивый программный детектор движения с возможностью индивидуальной настройки по каждому видеоканалу;

настройка на детекцию объектов заданных параметров;

накладываемая маска зон разрешенного/запрещенного движения для обнаружения движения в одних участках кадра и игнорирования в других - настройка начала видеозаписи по факту детекции движения.

Отображение и воспроизведение видеозаписи:

удобный пользовательский русскоязычный интерфейс;

многократное - до 16 - цифровое увеличение изображения, контрастирование, переключение цветности, увеличение четкости для детализации объекта;

деинтерлейсинг - восстановление видеоизображения после оцифровки с целью устранения эффекта "гребенки" кадра максимального разрешения;

многоэкранное представление видеозаписи с возможностью настройки количества изображений на экране от 1 до 32;

удаленный просмотр с использованием каналов связи, поддерживающих протокол TCP/IP, через стандартный Web-браузер;

настройка режима воспроизведения: прямой, обратный и покадровый просмотр;

триплексный режим работы: одновременные отображение / запись / просмотр записанной видеоинформации;

автоматическая и ручная программная обработка для улучшения качества изображения.

Формирование архива:

формирование видеоархива большого объема с сохранением высокого качества изображения;

сжатие видеозаписи с использованием уникального алгоритма компрессии Delta-Wavelet;

выбор степени компрессии для оптимального использования дискового пространства;

мгновенный поиск видеозаписи в архиве по признаку места и времени события, номеру видеокамеры;

экспорт видеоизображения в формат AVI, видеокадров - в формат JPG;

печать видеокадров на принтере;

покадровый и ускоренный просмотр видеоархива;

удаленный доступ к архиву с использованием каналов связи, поддерживающих протокол TCP/IP, через стандартный Web-браузер;

1.1.3 VideoInspector Global

Это сетевая система видеонаблюдения повышенной производительности с многосерверной архитектурой, предназначенная для решения сложных задач обеспечения безопасности средних и крупных объектов с территориально распределенной структурой.

Данная система - уникальная платформа для организации работы неограниченного количества видеосерверов и видеокамер, оборудования необходимого количества рабочих мест мониторинга и администрирования.

Использование архитектуры "клиент-сервер" при реализации сетевых решений эффективный способ обеспечения видеонаблюдения крупных территориально распределенных объектов. Поддержка механизма макрокоманд и скриптов позволяет осуществлять настройку реакции системы на регистрируемые события.  

Системы «VideoInspector Global» - гарантия безопасности объектов независимо от их масштаба, особенностей территориальной структуры, удаленности друг от друга или единого центра управления системой будет надежно обеспечена. Система «VideoInspector Global» - оптимальный выбор для организации видеонаблюдения:

крупных промышленных предприятий и всех объектов их инфраструктуры, в том числе, территориально разнесенных;

транспортных магистралей любой протяженности;

торговых сетей;

объектов со сложной филиальной структурой.

Система «VideoInspector Global» предоставляет пользователю полный спектр функциональных возможностей необходимых для решения задач видеонаблюдения на объектах различной сложности и масштаба, их надежной охраны и обеспечения высокого уровня безопасности.

Многоканальные видео- и аудиозапись: сбор, передача по сети, отображение информации, поступающей от видеокамер и микрофонов.

Формирование архивов большого объема с обеспечением высокого качества видеоизображения; возможность организации единого хранилища данных.

Широкий спектр пользовательских возможностей: поиск информации по заданным параметрам, покадровый и ускоренный просмотр видеоархива, цифровое увеличение, контрастирование, увеличение четкости видеоизображения.

Удаленная работа с территориально распределенной системой видеонаблюдения: контроль обстановки на объекте в режиме реального времени, доступ к удаленному архиву для поиска и просмотра необходимой информации, мониторинг состояния и управление компонентами системы.

Автоматическое оповещение при регистрации определенных событий, например, при срабатывании детектора движения.

Сетевые возможности:

построение сетевых решений с использованием архитектуры «клиент-сервер»: количество видеосерверов и видеокамер неограниченно;

управление, работа с компонентами системы с использованием единого пользовательского интерфейса;

настройка реакции компонентов системы на определенные события с использованием механизма макрокоманд и скриптов;

удаленный мониторинг обстановки в режиме реального времени;

удаленный доступ к работе с видеоархивом;

дистанционное администрирование системы;

удаленное управление поворотными видеокамерами;

удалённый аудиомониторинг;

многоуровневое разграничение прав доступа при работе с системой.

Передача данных и удаленная работа с системой с использованием каналов связи, поддерживающих протокол TCP/IP, через стандартный Web-browser.

Многоканальная видеозапись:

настройка режима записи: непрерывно, по расписанию, по детекции движения;

предтревожная видеозапись;

управление поворотными камерами;

высокая скорость видеозаписи- до 25 кадров в секунду на канал;

разрешение видеокадра - 704х576, 704х288, 352х288;

индивидуальные настройки параметров продолжительности и скорости записи, цветности, яркости и контрастности изображения для каждой видеокамеры;

запись видеоданных по принципу замкнутого кольца;

автоматическая и ручная программная обработка для улучшения качества изображения.

Детекция движения:

помехоустойчивый программный детектор движения с возможностью индивидуальной настройки по каждому видеоканалу;

настройка на детекцию объектов заданных параметров;

накладываемая маска зон разрешенного/запрещенного движения для обнаружения движения в одних участках кадра и игнорирования в других;

настройка начала видеозаписи по факту детекции движения.

Отображение и воспроизведение видеозаписи:

удобный пользовательский русскоязычный интерфейс;

поддержка интерактивных многоуровневых планов помещений;

вывод данных на несколько физических мониторов;

многократное - до 16 - цифровое увеличение изображения, контрастирование, переключение цветности, увеличение четкости для детализации объекта;

деинтерлейсинг - восстановление видеоизображения после оцифровки с целью устранения эффекта "гребенки" кадра максимального разрешения;

многоэкранное представление видеозаписи с возможностью настройки количества изображений на экране от 1 до 32;

настройка режима воспроизведения: прямой, обратный и покадровый просмотр;

триплексный режим работы: одновременные отображение / запись / просмотр записанной видеоинформации.

1.1.4 «Face-интеллект»

Модуль распознавания лиц предназначен для автоматической идентификации личности по видеоизображению. Он производит распознавание лиц, захваченных детектором лиц «Интеллекта», сравнивая их с заранее созданной базой эталонных изображений. Помимо автоматической идентификации личности по видеоизображению, модуль позволяет:

добавлять и удалять лица из базы эталонных изображений;

печатать и сохранять в файл формата bmp или jpeg фотографии распознанных лиц;

вести в базе поиск и отображать статистику распознавания;

просматривать видеозапись, соответствующую моменту распознавания лица;

проверять фотографии на соответствие стандартам для систем автоматической идентификации личности.

Модуль захвата и распознавания лиц обеспечивает высокий процент распознавания и может использоваться совместно со СКУД <#"552420.files/image002.jpg">

Рисунок 2.1 - Структура распределенного децентрализованного комплекса

Очевидно, что при корректной работе аппаратуры дискретный видеообраз не теряет своей информативности при последующих передачах для выполнения процедур анализа (Od + (Od)+...+ aq(Od)) образов, их сцен и ситуаций. Определенное снижение этого уровня произойдет лишь при сжатии дискретного видеообраза, что, таким образом, целесообразно делать на заключительных стадиях его анализа и при формировании соответствующих архивов, но с компенсацией учетом результатов предшествующих обработок: (ai(Od)+...+ aq(Od)).

Поэтому основным направлением совершенствования систем удаленного мониторинга является внедрение средств и процедур интеллектуальной обработки видеоконтента для автоматического анализа объектов и ситуаций на как можно более ранних стадиях получения видеоинформации.

2.2 Требования к программно-аппаратному комплексу анализа видеообразов

В настоящее время видеоаналитика являются необходимым требованием для всех систем безопасности, поэтому комплекс видеоанализа должен обладать:

) поддержкой нетривиальных функций видеоаналитики;

) мощным инструментарием автоматической обработки видеопотока - отбора и выделения из него данных, событий, объектов, представляющих интерес для контроля ситуации и выявления угроз безопасности;

) эффективной аналитической обработкой данных, обеспечивающей идентификацию людей или обнаружении предметов, представляющих потенциальную угрозу;

) автоматизированной обработкой и анализом видеоданных с дополнением видеоинформации данными от систем жизнеобеспечения, связи и пр., для повышения результативности системы;

) интегрируемостью новых компонентов, поскольку новые задачи и появляющиеся угрозы вызывают необходимость постоянного развития, в первую очередь это касается добавления новых функций видеоаналитики как наиболее эффективного способа решения;

) возможностью включения новых видов технических средств и увеличения количества уже установленного оборудования с учетом неизбежного со временем расширения комплекса, вызванного появлением магистралей, строительством инфраструктуры, и этот процесс должен быть относительно легко реализуем без перехода на новую программную платформу, фундаментальной переработки проекта, длительной настройки для работы в новой конфигурации;

) новые средства жизнеобеспечения, технологического и охранного оборудования, информационные системы должны естественно включаться в состав функционирующей системы;

) предотвращением несанкционированной работы с системой, изменения настроек оборудования, работы с данными для пользователей на всех уровнях посредством многоуровневого распределения прав доступа.

Внедрение комплекса с автоматическими функциями видеоаналитики должно обеспечить:

) постоянное максимально автоматизированное видеонаблюдение за обстановкой на территориях и в административных зданиях, учреждения, в том числе, автоматическое выявление оставленных и представляющих потенциальную опасность предметов;

) оперативное информирование в случаях нарушений общественного порядка, коммунальных аварий и техногенных катастроф;

) сплошным визуальным контролем на отдельных объектах с применением технологии автоматизированной идентификации объектов по изображению и сравнением с эталонной базой данных, в том числе, для проведения розыскных мероприятий как в реальном времени, так и по архивным материалам, при этом могут решаться как задачи обнаружения, так и предотвращения будущих инцидентов (например, отказ в проходе, предотвращение попыток террористического захвата);

) контролируемый доступ на определенные объекты и в помещения на основе комбинированного анализа видеоизображения, предъявленных документов и, возможно, других биометрических данных;

) контролем передвижения транспортных средств, включая мониторинг обстановки на транспортных развязках, въездов/выездов, выявление в потоке транспорта с определенными регистрационными номерами;

) контролем работы технических систем жизнеобеспечения (электроснабжение, водопровод, лифтовое хозяйство, газовое хозяйство).

Пример распределённого комплекса представлен на рисунке 2.2.

Рисунок 2.2 - Распределенный комплекс видеонаблюдения TRASSIR

Нераспределенные же решения в этом случае неработоспособны, поскольку накладывают жесткие ограничения на расстояния контроля и возможность децентрализации, требуют создания сверхсложных кабельных сетей и соответствующих им инфраструктур.

3. РАЗРАБОТКА СТРУКТУРЫ И АЛГОРИТМА РАБОТЫ АДАПТИВНОГО ДЕЦЕНТРАЛИЗОВАННОГО КОМПЛЕКСА ВИЗУАЛЬНОГО ОПРЕДЕЛЕНИЯ ОБЪЕКТОВ И ТРАЕКТОРИЙ ИХ ПЕРЕМЕЩЕНИЙ

.1 Предметная область автоматизации

Разработка адаптивного децентрализованного программно-аппаратного комплекса автономного визуального определения объектов и их перемещений на основе систем преследует цели:

) контроля за технологической дисциплиной для повышения качества работы организации, предприятия;

) предотвращения несанкционированного прохода и проезда на контролируемую территорию;

) контроля перемещения и поведения персонала, учет эффективности использования рабочего времени;

) обеспечения безопасности персонала и контролируемой территории;

) предотвращения хищений продукции и сырья с предприятия;

) анализа перемещений и параметров (характера) перемещений (поведения) иных (транспортных и пр.) объектов наблюдения;

) адаптации структуры средств анализа видеообразов комплекса к конкретной задача опознавания.

Объектами внимания системы видеоконтроля являются зоны возможных внешних и внутренних воздействий, периметры всех производственных и административных зданий, площадки хранения продукции, внутренние площади складских и административных помещений, проходные пункты.

3.2 Постановка задачи проектирования

Основной задачей дипломного проектирования является рассмотрение вопросов построения пространственно-распределенной аппаратно-программной алгоритмически децентрализованной структуры, способной поэтапно обрабатывать видеообразы, при необходимости, с возможностью автономного решения части задач до определенной глубины их проработки на локальных уровнях своей аппаратно-программной иерархии средств.

Таким образом, система должна представлять собой распределенную, частично гетерогенную, аналого-цифровую, структуру средств с рассредоточенным выполнением процедур с интеллектуальной обработкой видеоконтента, начиная от этапа работы «интеллектуальных» видеокамер, через уровень автономных видеорегистраторов и до уровня принятия общих результирующих решений центральными видеосерверными средствами.

Следовательно, требуется разработать гибкую структуру средств видеонаблюдения, совмещающую внешнее и внутреннее видеонаблюдение. Реализующих интеллектуальный анализ видеообразов, в том числе: идентификацию объектов заданного класса, определение объектов в их совокупности - сцене, определение и анализ динамики изменения контролируемых сцен, рассматриваемых как формирование конкретных ситуаций, при возможности ее адаптации к условиям выполнения конкретной задачи распознавания и анализа перемещения (пространственного поведения).

Так, например, комплекс должен реагировать на присутствие в зоне видеонаблюдения объектов заданного класса, как правило, людей, с распознаванием характерных черт этих объектов и производить анализ их действий, как правило, направлений и динамики перемещений, и их «поведения» в указанном смысле.

Таким образом, разрабатываемая структура системы должна быть ориентирована на анализ ситуаций в пространстве наблюдений при децентрализации обработки видеообразов с этапа формирования аналогового сиг нала видеокамерами с функциями интеллектуальной предобработки, до их завершающего анализа видеосерверами, реализующими соответствующие (ai) - алгоритмы обработки изображений из набора А.

Комплекс должен представлять собой распределенную структуру видеоанализа с децентрализацией и автономизацией процедур предобработки видео-информации при адаптации к условиям обработки конкретного видеоконтента посредством оптимизации объединения элементов ее структуры со свободными вычислительными ресурсами (видеосерверов ш из набора А) для эффективного решения конкретной текущей задачи опознавания.

Поскольку 1Р-видеомониторинг реализуется на базе открытых индустриальных 1Т-стандартов, то при этом существенно уменьшаются расходы на аппаратные средства и может быть использованы различные стандартные устройства для сетевой передачи сигналов, регистрации изображений и хранения видеоинформации. Использование в комплексе 1Р-сетей снижает расходы на создание кабельных коммуникаций и соединений, сводит к минимуму изменения на рабочих местах при установке 1Р-вндеомониторинга на действующем объекте и обеспечивает развертывании системы в более короткие сроки и с минимальными затратами. Расширение систем видеонаблюдения, построенных на основе 1Р - видеомониторинга, реализуется относительно просто, быстро, эффективно и с минимальными материальными затратами. Увеличение количества средств наблюдения или расширение объема памяти видеосерверов решается в минимальные сроки .

.3 Обоснование выбора средств аппаратно-программных средств

Построение сложной видеосистемы подразумевает ее предварительное проектирование, при котором должны учитываться: планы охраняемых помещений и территорий, со схемами размещения технических средств проектируемой системы, описание технических решений, описание условий эксплуатации проектируемой системы, полную спецификацию технических средств проектируемой системы с указанием марок и моделей оборудования, техническое задание на проведение монтажных и пусконаладочных работ.

На основании результатов выполненного анализа, в качестве основы элементной базы для построения и комплексирования системы, выбраны аппаратно-программный комплекс TRASSIR , обеспечивающий решение задач идентификации образов, захвата видеоцелей и контроля траектории их перемещений. В результате исследования установлено, что внедрение видеонаблюдения с функциями интеллектуального анализа видеоданных, в том числе: распознавания транспортных средств, живых объектов, детекции их движения, определения оставленных предметов, контроля их перемещения.

В настоящее время является необходимым условием, и для се реализации требуется его комплексирование из существующей номенклатуры средств в аппаратно-программный комплекс с заданными свойствами, на основе выбранного элементного базиса DSSL. Па этом базисе возможна техническая реализация масштабных пространственных проемов, стабильное функционирование и решения задач любой сложности при использовании современного гетерогенного оборудования с рациональным сочетанием аналоговых и IP - технических характеристик. IP-решения DSSL TRASSIR отличаются возможностью создания масштабных и более простых в эксплуатации, чем аналоговые структуры, распределенных систем видеонаблюдения. Гибкие по организации и топологии, производительные и вполне экономичные цифровые технологии TRASSIR способны объединить в распределенную систему комплексы контроля территориально удаленных объектов.

Отечественная система TRASSIR является не только одной из самых функциональных из известных систем видеомониторинга, но и представляет собой уникальный инструмент интеллектуального опознавания и видеоанализа. Функциональные возможности системы заложены в ее аппаратурном и программном обеспечении, которое унифицировано для всех аппаратных моделей. Структура и возможности TRASSIR ориентированы на профессиональное применение в системах контроля тех пол отческой и общей безопасности. Она поддерживает и обеспечивает:

) многозадачный режим работы;

) многоуровневый доступ, удаленную работу по IP сети (TCP/IP);

) распределенный многомониторный режим работы;

) поддержка IP-устройств, интеллектуальных видеокамер, а также средств других производителей;

) правление телеметрией (PTZ) устройств получения видеоинформации;

) предобработку и анализ видеообразов;

) детектирование и определение траекторий движения;

) определение и подключение «тревожных» сигналов;

) Informer - сервис оповещения о тревожных событиях;

) запись по расписанию Синхронная запись видео и аудио образов объектов наблюдения;

) формирование журнала событий;

) архивирование и возможность просмотра видеоданных без поддержки средствами TRASSIR;

) задание качества и степени компрессии видеоинформации:

) реализацию интеллектуального поиска и анализа видеоинформации в архиве (Active Search);

) задание правил (алгоритмов) интеллектуальной обработки и анализа видеоинформации, а также специальные возможности: интерактивного управления видеокамерами в режиме Active Dome и роботизированного управления видеокамерами Active Dome+ , возможность организации распределенной структуры и станции централизованного мониторинга, интеграции аппаратуры TRASSIR с иными системами контроля, например, ОПС, СКД.

3.3.1 Характеристики программно-аппаратной системы

Интерфейс системы TRASSIR интуитивно понятен, установка автоматизирована и осваивается без подробного изучения инструкции. Управление просмотром может осуществляться манипулятором или сенсорным экраном. Архив за любую дату и время вызывается двумя-тремя кликами. В программе создана эргономичная двухуровневая система настроек, предназначенная для пользователей с разным уровнем подготовки и полномочий. Все настройки системы сгруппированы по уровням сложности. Основной уровень для оператора предназначен для пользователя ПК, обладающего навыками работы со стандартными приложениями Windows и не имеющего полномочий администрирования системы. Преимуществом этого уровня является мгновенный доступ - для открытия панели настроек этого уровня достаточно щелкнуть правой клавишей мыши по нужному окну видеоканала. Оператор может ре1улировать разрешение записи, уровень сжатия, задать скорость ввода, настроить яркость, контрастность и освещенность. Расширенный уровень для администратора и инсталлятора TRASSIR - пользователь, обладающий статусом администратора системы, имеет доступ к системным настройкам и полной информации о работе системы. А инсталлятор, осуществляющий монтаж видеонаблюдения, настройку и дальнейшее сопровождение продукта, использует этот расширенный уровень как встроенный инструмент диагностики работы системы. Здесь доступны: расширенное управление настройками видеозаписи, мониторинг и диагностика системы в сети, одновременное управление настройками всех каналов, статистическая сводка о состоянии архивов и емкости хранилищ, отладочный журнал.

3.3.2 Характеристика многозадачного режима работы и многоуровневого доступа удаленной работа по сети

Существуют дуплексные, триплексные и пентаплексные видеосистемы. А TRASSIR можно назвать мультифункциональной: все операции, включая мониторинг, запись архива, просмотр архива, настройки, доступ по сети, просмотр архива по сети, а также взаимодействие с иными интегрированными системами осуществляются параллельно в едином интерфейсе, и пользователь может выполнять все необходимые ему действия одновременно, не останавливая работы других приложений.

В программном обеспечении TRASSIR реализована многоуровневая система распределения прав доступа - возможность создания пользователей с различными правами доступа (например, только просмотр текущих событий, просмотр + просмотр архива, возможность менять настройки системы и т.д.) Эта функция позволяет предотвратить несанкционированный доступ к системе.

Сетевая архитектура ПО TRASSIR позволяет строить распределенные системы любого масштаба к одному серверу может подключиться неограниченное количество сетевых клиентов, как по локальной, так и по глобальной сети (Интернет). Система обеспечивает не только просмотр текущих событий, но и полноценный доступ к архивам безопасного хранения данных. В системе реализовано удаленное администрирование и управление поворотными камерами.

Программа «Клиент» обеспечивает доступ к видеосерверу с удаленного рабочего места и предусматривает поддержку неограниченного количества сетевых клиентов. Возможность организации станции централизованного мониторинга обеспечивает контроль огромного количества устройств с помощью специализированного программного обеспечения TRASSIR CMS.

3.3.3 Поддержка интеллектуальной фиксации видео и аудио образов объектов наблюдения в предлагаемой структуре

Все модели систем TRASSIR. кроме линейки с программной компрессией, оснащены высококачественной синхронной аудиозаписью по каждому каналу, а некоторые модели семейства IP-видеосерверов TRASSIR Lanser и IP видеокамеры поддерживают дуплексную аудиосвязь. Командная структура записи по расписанию позволяет задать интервалы записи в произвольном порядке и с дополнительными параметрами. Расписание устанавливается на календарную неделю и циклично повторяется. TRASSIR имеет уникальный функционал - детектор лиц в поле зрения камеры, специализированные детекторы смещения, засветки и закрытия (саботажа) видеокамеры и пр. TRASSIR выполняет детектирование лиц, специальные детектирования и детектирования движений. В арсенале системы имеется набор детекторов движения и различных их фильтров. В TRASSIR функционирует базовый Generic Detector и специальный детектор объектного трассирования SIMT(Simple Intelligent Motion Trassir).Detector обеспечивает: детектирование медленного и быстрого движения, выставление произвольных зон детектирования, детектирование лиц, детектирование расфокусировки, детектирование сдвига, определение ослепления видеокамеры, ее закрытия.

Все эти функции создают события в журналах TRASSIR, тревожные сообщения оператору и по ним в дальнейшем можно осуществлять поиск. Детектор объектного трассирования SIMT обеспечивает: отличные результаты восстановления изображений при уличном применении и в сложных погодных условиях, эффективно фильтрует случайные шумы, селектирует объекты по размерам, селектирует объекты по направлению, селектирует объекты по скорости движения, детектирование только объектов с заданными параметрами, аналитическое предсказание дальнейшей траектории движения объекта с помощью вектора скорости (применяется в автоматическом режиме работы функции ActiveDome+).

Также существует дополнительный детектор, обеспечивающий: выявление медленного движения и детекцию оставленных предметов.

3.3.4 Интеграция TRASSIR с ОПС и СКД

Предусмотрена возможность подключения дополнительных информационных (тревожных) входов и выходов, и задаются правила их анализа. Используя в качестве аппаратной платформы IP-видеосерверы Lanser4M/4HDD/l Real, IP-камеры, можно дополнить функционал системы видеонаблюдения операциями анализа охранно-пожарной и охранной обстановки путем подключения датчиков соответствующей информации к тревожным входам и выходам устройств системы, что становится целесообразным и рентабельным, например, при подключении интегрированных систем типа «Болид» в качестве задающих соответствующие тревожные сигналы.

В TRASSIR предусмотрена возможность задания реакции на определенные события. Благодаря этой возможности можно установить на любое событие индивидуальную реакцию или несколько типов реакции: включение/выключение записи, изменение скорости записи, звуковые сигналы, отправка CMC, наведение поворотных видеокамер на объект. Поддерживаются каскадные правила - множественные реакции с заданной задержкой на одно событие.

Интеграция TRASSIR с ОПС и СКД, возможность совместной работы системы видеонаблюдения TRASSIR с системами охранно-пожарной сигнализации и контроля доступа, например, АРМ «ОРИОН» и ПК «APACS» позволяет построить комплексную систему безопасности, управляемую из единого центра и единым интерфейсом.

3.3.5 Функции мониторинга

Расположение видеоканалов на мониторе можно создавать произвольно, используя редактор неограниченного количества шаблонов их расположения - различных комбинаций как локальных, так и сетевых каналов, ip-видео каналов и планов помещений. С каждым отдельным окном можно связать камеру путем её «перетаскивания» в форму окна (drag&drop) при редактировании. На дополнительных мониторах можно комбинировать любые IP системы, программные системы и планы. Ma MDI - мониторах только Н.264 видео (1 канал на монитор) или до 16 каналов предпросмотра несжатого видео с аппаратных плат. Поддержка многомониторного режима работы TRASSIR обеспечивает базовую поддержку до 8 VGA мониторов и ее расширение далее. Возможность организации станции централизованного мониторинга обеспечивает контроль огромного количества устройств с помощью специализированного программного обеспечения TRASSIR CMS.

3.3.6 Задачи и процедуры архивирования

Запись видеоданных на дисковые накопители производится по циклическому принципу, когда текущие данные заменяют самые старые. Используется прогрессивная технология "MultiStor": при наличии нескольких накопителей запись с каждой камеры ведется одновременно на все, повышая надежность и снижая нагрузку на каждый накопитель в отдельности. За счет этого в случае выхода из строя одного из накопителей, информация на других сохраняется. В настройках записи в архив можно указывать объем оставляемого места на диске, какой объем информации удалять за один раз, какой объем места может занимать архив, а также предусмотрена система диагностики и статистики свободного места на каждом из накопителей. Каждый пользователь сможет оценить мгновенный доступ к архиву. Фрагменты из архива можно просматривать в любом порядке, вперед и назад, увеличивать и уменьшать скорость просмотра, просматривать покадрово, создавать снимки в форматах *.ВМР или *JPG. Осуществляется запись по расписанию и по детекции, предусмотрена предзапись и дозапись. TRASSIR поддерживает неограниченное количество жестких дисков записи - можно создавать архивы емкостью в десятки терабайт. Системой поддерживается горячее отключение и подключение цифровых носителей, в том числе и таких популярных как CD, USB-накопители и Fire Wire, на которые можно копировать как отдельные кадры так и целые фрагменты видеозаписей.

Возможен просмотр архивов без TRASSIR, поскольку существует 3 способа внешнего их просмотра и с системой поставляется внешний плеер архива (несколько вариантов для разных систем). Кроме того можно установить специальный кодек для основного формата системы - Н.264 и проигрывать видео со звуком в Windows Media Player, а также, с помощью TRASSIR, можно сконвертировать Н.264, mjpeg, mpeg4 файлы системы в .avi формат, читаемый на любом компьютере как с помощью Windows Media Player, так и другими средствами просмотра. Встроенные в систему внешние плееры позволяют вырезать нужные части видеофрагментов, делать скриншоты и проверять сохранность Н.264 видео (для защиты от редактирования - проверка на watermark).

Регулирование качества архивного видео и компрессии видеоинформации для задания оптимального соотношения объема и качества видеозаписи выбором степени компрессии из десятков вариантов простым (по принципу лучшехуже) способом или настраивая детально в системном меню (для администраторов системы).

3.3.7 Журнал событий и интеллектуальный поиск

Журнал событий предоставляет поиск системных тревожных и информационных уведомлений. Все события для их поиска и анализа сохраняются в БД TRASSIR, а пользователи журнала могут сохранять собственные фильтры как для online режима, гак и для поиска в БД. С помощью гибкой системы фильтров в журнале TRASSIR можно найти важную информацию согласно заданным критериям анализа. Сервис TRASSIR оповещения о тревожных событиях «Informer», - обеспечивает оперативной информацией о событиях вне зависимости от местоположения приемника информации. В Informer предусмотрено несколько каналов оповещения: индивидуальные звуковые сигналы для каждого типа событий, отправка писем по электронной почте, отсылка SMS на мобильный телефон. Пользовательский интерфейс функции максимально прост и не требует настройки внешних почтовых программ. Информер так же поддерживает воспроизведение звуковых сообщений, которые можно задавать для обозначения любого события.

Интеллектуальный поиск в архиве Active Search основан на «интеллектуальном» объектном детекторе SIMT (Simple Intelligent Motion TRASSIR) и интерактивном инструменте визуального поиска, открывает новое измерение для доступа анализа и распознавания видеоданных.

.3.8 Поддержка IP-устройств программным обеспечением

Программное обеспечение поддержки TRASSIR является одним из самых мощных по функциональности и технологиям, отечественным софтверным продуктом для IP-видеонаблюдения. Программное обеспечение TRASSIR обеспечивает полноценную работу как с IP-видеоустройствами производства DSSL, так и других производителей. Структурная схема устройства для работы с программным обеспечением представлена на рисунке 3.1.

Рисунок 3.1 - Структурная схема устройства получения и предобработки видеоинформации

Для применения IP-видеокамер и организации гибридных систем целесообразно выбрать видеорегистраторы NVR, имеющие рекордные мощности среди существующих в мире NVR. В линейке IP-видеорегистраторов TRASSIR, позволяющих записывать и отображать до 128 каналов мегапиксельного видео, имеется компактный бюджетный Mini NVR, на базе которого решена поддержка стандарта ONVIF и гибридный видеорегистратор, объединяющий аналоговые и IP-видеокамеры. Модели в линейке IP-видеосерверов TRASSIR Lanser представлены Lanscr-Mobilc II (усовершенствованная версия популярной модели) и Lanser-Mobile F - мобильный регистратор нового поколения. Все они поддерживают совершенно новые функции работы с IP-системами, включая стандарт ONVIF, уникальный автоматический поиск IP- видеокамер и NVR в пределах подсети распределенной структуры, видеоаналитику, без которой немыслимо ультрасовременное IP-видеонаблюдение (автоматический поиск событий в архиве видеоконтента ActiveSearch+ , а также оптического детектирования огня и дыма - TRASSIR Fire&Smoke Detector), детектор саботажа.

.3.9 Функции роботизированного управления

Роботизированное управление видеокамерами Active Dome* обеспечивает автоматическое управление телеметрией с помощью интеллектуального детектора объектного трассирования SIMT. TRASSIR осуществляет управление телеметрией (PTZ) поворотных камер, которые поддерживают распространенные протоколы Pelco-P или Pelco-D, а так же видеокамерами таких производителей как Lilin, Samsung, Pelco, CNB и Hitron, Infinity и Tedd, а также модели камер других производителей, если они поддерживают перечисленные протоколы.

Для удобства предусмотрено управление с цифровой панели компьютерной клавиатуры. TRASSIR обладает и уникальной запатентованной системой управления скоростными поворотными камерами - ActiveDome. Функция интерактивного управления поворотными видеокамерами Active Dome, позволяет оператору одним кликом мыши увеличить нужный объект в 15-20 раз, не прерывая общего наблюдения.

На основе анализа рассмотренных характеристик элементной базы делаем вывод о том, что аппаратно-программная платформа DSSL TRASSIR наилучшим образом соответствует задаче комплексирования на ее основе проектируемого комплекса опознавания объектов наблюдения, траекторий и характера их перемещений. Представляя собой программно-аппаратную гетерогенную структуру, с выполнением операции предобработки и конечной обработки видеоконтента от уровня аналоговых приемников видеопотока до цифровых интеллектуальных преобразователей сформированных видеообразов.

Адаптивность распределенной сети обработки видеоконтента с децентрализованным выполнением процедур (алгоритмов) в видеосерверах реализуется на уровнях:

) варьируемой возможности предобработки визуальных образов на уровне интеллектуальных видеокамер (видеокамер с процессорами интеллектуального анализа и обработки изображений);

) варьируемой совокупности сенсорных средств (аналоговые и IP видео камеры, тепловизорные и радиочастотные средства и пр.);

) изменяемого набора процедур обработки на уровне предобработчика и видеосервера;

) изменяемого направления и топологии информационных потоков к видеосерверам обработки, рисунки 3.2, 3.3.

Рисунок 3.2 - Топология видеопотоков

3.3.10 Структура, топология и алгоритм работы комплекса

Выбранным вариантом создания распределенной системы на базе DSSL TRASSIR является базовая IP- платформа.

На внешнем уровне комплекса целесообразно применить гибридные конфигурации DSSL TRASSIR с установкой необходимого количества аналоговых видеокамер и IP-Hub (1Р-видеосерверов) для оцифровки и анализа поступающего от них видеосигнала. Поскольку потенциально избыточная аналоговая видео-информация дает возможность локального (автономного) решения задач анализа и опознавания непосредственно в устройствах ее получения в состав комплекса включаются интеллектуальные видеокамеры, имеющие дополнительную буферную память для записи и работающие как «автономное» устройство записи. Если они находятся в «спящем» режиме, изображения непрерывно записываются в буферную память, а при возникновении нештатной ситуации в них активизируется начало регистрации и анализа изображений, включая сохраненные IP-камерой в буфере предшествовавшие сигналу тревога, что, в итоге, значительно снижает нагрузку на каналы связи системы и позволяет более экономично использовать ее ресурсы.

Рисунок 3.3 - Структура гетерогенной системы

Цифровой видеопоток по оптоволоконным каналам поступает в устройства обработки и хранения данных (видеосервера с установленным программным обеспечением), а затем распределяется на удаленные средства комплекса для продолжения дальнейших аналитических действий, таких как:

) анализ внесённых и убранных предметов, анализ появления и элементов поведения людей в охраняемой зоне, запись видеоинформации при обнаружении контролируемого события и идентификация нарушений;

) идентификация человека по лицу, радужной оболочке глаза, но определённым элементам поведения, метрическим характеристикам;

) слежение за персоналом в рабочих помещениях, выявление отсутствующих сотрудников, распознание сотрудников отлучившихся от работы в рабочее время, выявление внештатных ситуаций.мониторинг комплекса позволяет контролировать с одного компьютера несколько зон наблюдения. Одновременно без необходимости вести просмотр и запись многочасовых архивов при наличии большого числа камер в одной системе видеомониторинга, позволяя изменять чувствительность видеокамер и датчиков в зонах контроля, что способствует уменьшению ложных срабатываний из-за технологических или технических факторов (вентиляция, вибрация).

Оборудование видеоконтроля комплекса имеет сопряжение с иными системами контроля и безопасности и, в зависимости от характера ситуации, может подключать системы пожарной сигнализации и пожаротушения, оповещения, СКУД, а также технические устройства дымоудаления, пример функционирования представлен на рисунке 3.4.

Рисунок 3.4 - IP-мониторинг

4. ПРИМЕНЕНИЕ СРЕДСТВ АВТОМАТИЗАЦИИ ПРОЕКТИРОВАНИЯ

.1 Выбор средств автоматизации

Конкретные типы средств автоматизации выбирают с учетом особенностей технологического процесса и его параметров. В первую очередь принимают во внимание такие факторы, как пожаро- и взрывоопасность, агрессивность и токсичность среды, число параметров, участвующих в управлении, и их физико-химические свойства, дальность передачи сигналов информации и управления, требуемые точность и быстродействие. Эти факторы определяют выбор методов измерения технологических параметров, требуемые функциональные возможности регуляторов и приборов (законы регулирования, показание, запись и т.д.), диапазоны измерения, классы точности, вид дистанционной передачи и т.д. Выбирая тот или иной прибор по функциональному признаку, необходимо простоту и дешевизну аппаратуры сочетать с требованиями контроля и регулирования данного параметра. Проектирование осуществлялось при помощи следующих средств: операционные средства, которые поддерживают проектирование операций обработки информации. В данной работе в качестве таких средств используется среда программирования, осуществляющая обработку и захват видео по технологии DirectShow; средства, поддерживающие разработку проекта на стадиях и этапах процесса проектирования, к ним относятся CASE - средства. В данной работе функционально-структурного моделирования системы использовалось CASE - средство BPWin.

4.2 Построение диаграмм

Наиболее трудоемкими этапами разработки ИС являются этапы анализа и проектирования, в процессе которых CASE - средства обеспечивают качество принимаемых технических решений и подготовку проектной документации.

Для проектирования комплекса с коллективным распознаванием объектов заданного класса применялось CASE - средство BPWin. BPWin - средство функционального моделирования, реализующее методологию IDEF. Методология IDEF0 может использоваться для моделирования широкого круга предметных областей. Процесс моделирования какой-либо системы в IDEF0 начинается с построения контекстной диаграммы, т.е. наиболее абстрактного уровня описания системы в целом. Контекстная диаграмма является вершиной древовидной структуры диаграмм и представляет собой самое общее описание системы и ее взаимодействие с внешней средой.

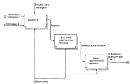
Диаграммы - главные компоненты модели, все функции системы и интерфейсы на них представлены как блоки и дуги. Место соединения дуги с блоком определяет тип интерфейса. Управляющая информация входит в блок сверху, в то время как информация, которая подвергается обработке, показана с левой стороны блока, а результаты выхода показаны с правой стороны. Механизм (человек или автоматизированная система), который осуществляет операцию, представляется дугой, входящей в блок снизу. Одной из наиболее важных особенностей методологии IDEF0 является постепенное введение все больших уровней детализации по мере создания диаграмм, отображающих модель. Контекстная диаграмма аппаратно-программного комплекса автоматического визуального определения объектов изображена на рисунке 4.1.

Рисунок 4.1 - Контекстная диаграмма аппаратно-программного комплекса

Входная информация представлена информацией с видеокамер и интеллектуальных камер, которая поступает для обработки на видеосервер. На выходе получаем информацию о принадлежности объекта к заранее заданному в программе классу объектов. Управляющей информацией является информация об объекте, который появился в зоне видеонаблюдения. Механизмом, который реализует работу программного средства, является интеллектуальные видеокамеры и видеосервера.

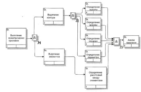
Процесс проектирования комплекса состоит из этапов рисунке 4.2: выделение объекта; выявление геометрических признаков объекта, анализ геометрических признаков объекта.

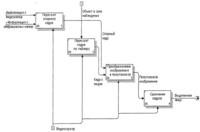
Этап «Выделение объекта» разбивается на функциональные блоки рисунке 4.3: перехват опорного кадра, перехват кадра по таймеру, преобразование изображения в полутоновое; сравнение кадров.

Рисунок 4.2 - Диаграмма декомпозиции первого уровня

Рисунок 4.3 - Диаграмма декомпозиции второго уровня

Основные элементы модели представлены в таблицах 4.1-4.4.

Таблица 4.1 - Словарь

Термины

Определение

Аппаратно - программный комплекс

Совокупность технического и программного обеспечения, баз данных, используемых для управления

Имеющиеся ресурсы

Аппаратно - программный комплекс в распоряжении предприятия

Обработанные данные

Данные, получаемые на выходе аппаратно- программного комплекса

Входящие документы

Данные, предоставляемые от внешнего источника, например, информация с видеокамер


На диаграмме, представленной на рисунке 4.4, изображен процесс выявления геометрических признаков объектов: выделение контура объектов, выделение элементов объектов.

По контуру объектов рассчитываются его характеристики: высота объекта, ширина объекта, периметр контура объектов, занимаемая объектом площадь.

При анализе геометрических признаков рассматриваются рассчитанные по абсолютным показателям их инвариантные значения (такие, как отношение ширины к высоте, отношение удвоенного квадрата периметра контура объекта к его площади). Это необходимо для того, чтобы процедура распознавания была инвариантна относительно изменения поворота и масштаба объекта.

Далее все рассчитанные характеристики сравниваются с эталонными значениями, и принимается решение об отнесении объекта к соответствующему классу или решение о невозможности распознавания объекта. Основные элементы модели представлены в таблицах 4.4 - 4.6.

Таблица 4.2 - Основные элементы модели

Название проекта: Организация аппаратно-программного комплекса автоматического визуального определения характерных признаков наблюдаемых объектов

Цель проекта: Реализация структурно-функциональной модели аппаратно программного комплекса автоматического визуального определения характерных признаков наблюдаемых объектов

Технология моделирования: метод функционального моделирования IDEF0

Инструментарий: программный продукт BP Win 4.0

Список данных

Перечень функций

Информация с видеокамер Информация с интеллектуальных камер Объект в зоне видеонаблюдения Видеосервер Информация о принадлежности объекта какому-либо классу

А0. Аппаратно - программного комплекса автоматического визуального определения характерных признаков наблюдаемых объектов

Информация с видеокамер Информация с интеллектуальных камер Объект в зоне видеонаблюдения Видеосервер Информация о принадлежности объектов какому-либо классу Выделенный объект Геометрические признаки

А1. Выделение объекта А2. Выявление геометрических признаков объектов АЗ. Анализ геометрических признаков объектов

Информация с видеокамер Информация с интеллектуальных камер Объект в зоне видеонаблюдения Видеосервер Опорный кадр Кадр с объектом Полутоновое изображение Выделенный объект

A11. Перехват опорного кадра А12. Перехват кадра по таймеру А13. Преобразование изображения в полутоновое А14. Сравнение кадров


Таблица 4.3 - Описание функциональных блоков

Наименование блока

Описание решаемых задач

1

2

А1. Выделение объектов

На этом этапе происходит перехват опорного кадра, который остается неизменным, и перехват кадра в реальном времени через каждую секунду. Кадры сравниваются между собой. Если кадры отличаются, то выделяется появившийся в кадре объект для дальнейшего распознавания.

А2. Выявление геометрических признаков объектов

На данном этапе происходит выделение контура объектов, основных элементов объектов. Геометрические признаки выявляются путем анализа контура объектов и расстояний между элементами объектов.

АЗ. Анализ геометрических признаков объектов

Здесь происходит сравнение полученных значений геометрических признаков с эталонными значениями и отнесение объектов к соответствующему классу.

А11. Перехват опорного кадра

На данном этапе происходит перехват опорного кадра, который остается неизменным.

А12. Перехват кадра по таймеру

Здесь происходит перехват кадра из видеопотока по таймеру каждую секунду.

А13. Преобразование изображения в полутоновое

На этом этапе происходит преобразование опорного кадра и перехваченного по таймеру кадра в полутоновое изображение.

А14. Сравнение кадров

На данном этапе сравнивается перехваченный по таймеру кадр с опорным кадром. Если они различаются то происходит выделение объектов.


Построение диаграммы IDEF3. IDEF3 является технологией, ориентированной на описание процедур сбора данных при структурном анализе.

Рисунок 4.4 - Диаграмма IDEF3 функции выявления геометрических признаков объектов

Таблица 4.4 - Основные элементы модели

Название проекта: Организация аппаратно-программного комплекса автоматического визуального определения характерных признаков наблюдаемых объектов

Цель проекта: Реализация структурно-функциональной модели аппаратно программного комплекса автоматического визуального определения характерных признаков наблюдаемых объектов

Технология моделирования: метод функционального моделирования IDEF3

Инструментарий: программный продукт BP Win 4.0

Идентификационный №

Наименование действий

1

Выявление геометрических признаков объектов

2

Выделение контура объектов

3

Выделение элементов объектов

4

Наименование действия

5

Определение ширины

6

Определение площади

7

Определение периметра

8

Определение расстояний между элементами объектов

9

Анализ признаков


Таблица 4.5 - Словарь

Термины

Определение

Сворачивающееся соединение

Объединяет потоки, завершение одного или нескольких действий, вызывает начало выполнения другого действия.

Разворачивающееся соединение

Используется для разбиения потока и завершение одного действия вызывает начало выполнения нескольких других.

Временное предшествование

Исходное действие должно завершиться прежде, чем конечное действие сможет начаться.

Выход исходного действия является входом конечного.


Таблица 4.6 - Описание действий

Наименование действия

Описание действия

Выявление геометрических признаков объектов

Вызов процедур выделения контура объектов и выделения элементов объектов.

Выделение контура объектов

Определяются координаты точек контура объектов.

Выделение элементов объектов

Определяются координаты точек элементов объектов как средних линий частей объектов.

Определение высоты

Определяются минимальная и максимальная координата по Y, находится их разность.

Определение ширины

Определяются минимальная и максимальная координата по X, находится их разность.

Определение площади

Определяется количество пикселей, занимаемых объектом на изображении.

Определение периметра

Определяется количество пикселей в контуре объекта

Определение расстояний между элементами объектов

Определяется количество пикселей между элементами объектов.

Анализ признаков

Рассчитываются отношения абсолютных геометрических признаков объекта, которые анализируются для принятия решения об отнесении объектов к классу.


Построение диаграммы потоков данных DFD. Диаграммы потоков данных DFD в основном необходимы для разработки программного обеспечения, моделируя систему, как набор действий, соединенных друг с другом. В диаграмме имеются хранилища данных (эталонные признаки объектов). Такая диаграмма представлена на рисунке 4.5.

Рисунок 4.5 - DFD диаграмма декомпозиции функции распознавания выделенного объекта

Основные элементы модели представлены в таблицах 4.7, 4.8, 4.9.

Таблица 4.7 - Словарь

Термины

Определение

Хранилище данных

Объекты собирающие и хранящие информацию.

Внешние сущности

Объекты моделирующие взаимодействие с теми частями системы, которые выходят за границы моделирования.

Процесс

Преобразование входной информации в выходную.

Потоки данных

Механизмы, которые показывают передачу информации от одного процесса к другому.

DFD-диаграмма

DFD-диаграммы моделируют систему как набор действий, соединенных друг с другом стрелками


Таблица 4.8 - Основные элементы модели

Название проекта: Разработка аппаратно - программного среды визуального определения характерных признаков видео объектов

Цель проекта: Реализация структурно - функциональной модели комплекса визуального определения характерных признаков объектов

Технология моделирования: метод функционального моделирования DFD

Инструментарий: программный продукт BP Win 4.0

Тип элемента

Наименование элемента модели

Хранилище данных

Эталонные признаки объектов

Внешние сущности

Выделенный объект

Тип элемента

Наименование элемента модели

Функциональные блоки

Выделение контура объектов Выделение элементов объектов Выявление геометрических признаков объектов Анализ геометрических признаков объектов Отнесение объектов к соответствующему классу


Таблица 4.9 - Описание элементов модели DFD

Наименование элемента

Описание

Выделенный объект

Распознается системой

Эталонные признаки объектов

С эталонными признаками сравниваются в геометрические признаки объектов

Выделение контура объектов

Определяются координаты контура объектов для расчета геометрических признаков объектов

Выделение элементов объектов

Определяются координаты элементов объектов для расчета геометрических признаков объектов

Выявление геометрических признаков объектов

Расчет отношений абсолютных значений геометрических признаков, полученных при анализе контура и элементов объектов

Анализ геометрических признаков объектов

Сравнение полученных отношений с эталонными признаками объектов

Отнесение объектов к соответствующему классу

На основе анализа делается вывод о принадлежности объектов к какому-либо классу

5. РАЗРАБОТКА АЛГОРИТМА ФУНКЦИОНИРОВАНИЯ КОМПЛЕКСА АНАЛИЗА ВИДЕООБЪЕКТОВ

.1 Разработка алгоритма организации вычислительных средств комплекса, в структуру поэтапного решения задачи анализа видеообъекта

Рассматриваемый подход к выполнению задачи анализа видео объекта можно считать методом коллективного, поэтапного распознавания, подразумевающего, что объект будет анализироваться не но какому-либо параметру, а по набору различных характеристик (например, геометрических характеристик контурных линий объекта, иных характерных элементов объектов). Последовательность распознавания представлена на рисунке 5.1.














Рисунок 5.1 - Блок-схема последовательности этапов распознавания

В этой связи необходимо осуществить выбор наборов (подпространств) признаков объектов и вариативный набор решающих правил при реализации коллективного подхода к задаче их распознавания. В качестве признаков могут быть построенные не только на анализе видеоизображений видимого диапазона, но и не менее точные образы, например, термографические. Использование же интеллектуальных камер с непосредственной предобработкой дает уникальную строго индивидуальную картину образов объектов, например, человека. Сочетание методов формирования образов для распознавания, например, по видеоизображению и термографическому изображению, имеет серьезные перспективы в решении проблем идентификации. Так, рассматриваемый адаптирующийся распределенный комплекс способен выполнять анализ различных подпространств признаков поэтапным коллективным способом, включающим в себя последовательно-параллельное интеллектуальное распознавание в диапазоне различных данных. Итоговый результат такой работы должен складываться из результатов распознавания на всех его этапах, что дает более достоверный результат.

Как отмечалось, анализ изображения, в интеллектуальных камерах и видеосерверах, представляют собой сложную комплексную процедуру. Не менее сложную задачу представляет из себя алгоритм маршрутизации по передаче данных. Выполнение такого алгоритма представлено на рисунке 5.2.

Рисунок 5.2 - Выполнение алгоритма Беллмана-Форда

На рисунке в вершинах графа показаны значения атрибутов d на каждом этапе работы алгоритма, а выделенные ребра указывают на значения предшественников: если ребро (u, v) выделено, то prev[v] = u. В рассматриваемом примере при каждом проходе ребра ослабляются в следующем порядке: (t, х), (t, у), (t, z), (x,t), (у,х), (у, z), (z,x), (z,s), (s,t), (s,y). В части а рисунка показана ситуация, сложившаяся непосредственно перед первым проходом по ребрам. В частях б-д проиллюстрирована ситуация после каждого очередного прохода по ребрам. Значения атрибутов d и prev, приведенные в части д, являются окончательными.

.2 Методы, алгоритмы и программа анализа изображений средствами комплекса

Искусственные системы восприятия и анализа технологической и общей обстановки являются объектами одного из наиболее быстро и эффективно развивающихся направлений. Однако вместе с развитием и усложнением структур подобных систем увеличивается и сложность их схемотехнических решений, - распределенных и децентрализованных комплексов преобразователей и анализаторов видеоконтента объектов, их сцен и ситуаций. Структура и топология их информационных потоков может быть представлена такой моделью, как двоичная логическая матрица. Оптимизация процессов преобразования видеоконтента во многом зависит от оптимизации направления их информационных потоков на свободные вычислительные ресурсы системы. Результат работы децентрализованной распределенной сетевой во многом зависит от оперативной адаптации, оптимизации ее информационно-топологических параметров, представленных на рисунке 5.3.

Рисунок 5.3 - Пример распределенного комплекса

Поэтому важной задачей представляется оптимизация, т.е. сокращение текущих «размеров» свободной для обработки информации вычислительной структуры, например, путем нахождения кратчайшего и наименее загруженного пути для передачи информации. Реализация алгоритма нахождения кратчайшего пути достаточно ресурсоемка при относительно больших размерах сети. Определение кратчайшего пути необходимо выполнять автоматически и оперативно для определения достаточного набора средств решения задач, где эффективность и качество методов и алгоритма оказывает существенное влияние на конечный результат.

5.2.1 Математическая модель задачи

Алгоритм маршрутизации является тем фундаментом, на котором строится вся работа базовой сети с архитектурой TCP/IP. Обеспечение надёжных сетевых услуг требует определённой динамики маршрутизации. Неожиданные изменения в связности базовой сети должны рассматриваться как обычные явления и соответствующим образом обрабатываться, так же как и перегрузки отдельных направлений и каналов.

Просмотр таблицы маршрутизации происходит в три этапа:

ищется соответствие адреса, записанного в IP-пакете, адресу места назначения в маршрутной таблице. В случае успеха пакет посылается соответствующему IP-маршрутизатору или непосредственно хост-ЭВМ. Связи “точка-точка” выявляются именно на этом этапе;

ищется соответствие адреса, записанного в IP-пакете, адресу некоторой региональной сети места назначения (одна запись в таблице маршрутизации соответствует всем хостам, входящим в данную региональную сеть). В случае успеха система действует так же, как и в предыдущем пункте;

ищется маршрут «по умолчанию», если таковой предусмотрен; дейтаграмма посылается в соответствующий маршрутизатор.

Существуют статические и динамические алгоритмы обновления таблицы.

Статический алгоритм есть способ маршрутизации, не изменяющийся при изменении топологии и состояния сети. Примерами являются алгоритмы случайной и лавинной маршрутизации.

Случайная маршрутизация - передача данных из узла в любом, случайным образом выбранном направлении, кроме направления, по которому данные поступили в узел. Данные, совершая «блуждания» по сети с конечной вероятностью когда-либо достигают адресата.

Лавинная маршрутизация - передача данных из узла во всех направлениях, кроме того, по которому поступили данные. Очевидно, что хотя бы одно направление обеспечит доставку пакета за минимальное время, т.е. лавинная маршрутизация гарантирует малое время доставки.

Шлюзы, входящие в состав одной автономной системы, могут выполнять алгоритм динамической маршрутизации - протоколы на основе алгоритма Беллмана-Форда.

Каждой дуге графа ставится в соответствие действительное число, называемое длиной дуги; тогда длина пути определяется суммой длин составляющих его дуг.

Обычно это число переприёмов или средняя задержка пакетов, но возможны и другие метрики, например, пропускная способность канала связи, надёжность.

5.2.2 Алгоритм Беллмана-Форда

Алгоритм Беллмана-Форда позволяет решить задачу о кратчайшем пути из одной вершины в общем случае, когда вес каждого из ребер может быть отрицательным. Для заданного взвешенного ориентированного графа G = (V, Е) с истоком s и весовой функцией w: Е -» R алгоритм Беллмана-Форда возвращает логическое значение, указывающее на то, содержится ли в графе цикл с отрицательным весом, достижимый из истока. Если такой цикл существует, в алгоритме указывается, что решения не существует. Если же таких циклов нет, алгоритм выдает кратчайшие пути и их вес.

В этом алгоритме используется ослабление, в результате которого величина d[v], представляющая собой оценку веса кратчайшего пути из истока s к каждой из вершин v є V, уменьшается до тех пор, пока она не станет равна фактическому весу кратчайшего пути из s в v. Значение TRUE возвращается алгоритмом тогда и только тогда, когда граф не содержит циклов с отрицательным весом, достижимых из истока.

Формальное описание:_Ford(G, w, s)

Initialize_Single_Source(G, s)

for i «- l to |V[G]|-1

do for (для) каждого ребра (u, v) є E[G]

do RELAX(u,v,w)

for (для) каждого ребра (u, v) є E[G]

do if d[v] > d[u] + w(u, v)

then return FALSE

return TRUE

После инициализации в строке 1 всех значений d и prev, алгоритм осуществляет |V| - 1 проходов по ребрам графа. Каждый проход соответствует одной итерации цикла for в строках 2-4 и состоит из однократного ослабления каждого ребра графа. После |V| - 1 проходов в строках 5-8 проверяется наличие цикла с отрицательным весом и возвращается соответствующее булево значение.

Алгоритм Беллмана-Форда завершает свою работу в течение времени O(V*E), поскольку инициализация в строке 1 занимает время O(V), на каждый из |V| - 1 проходов по ребрам в строках 2-4 требуется время в O(E), а на выполнение цикла for в строках 5-7 - время O(Е). .

Шлюзы, работающие по алгоритму Беллмана-Форда, хранят вектор длин кратчайших маршрутов до всех сетей, входящих в состав объединённой сети.

Периодически каждый шлюз передаёт свой вектор соседним шлюзам автономной системы, а элементы вектора, принятого от соседнего шлюза, складываются с длинами исходящих линий связи.

На основе полученной таблицы строится новый вектор длин кратчайших маршрутов - алгоритм Беллмана-Форда (DV - алгоритм Distance Vector).

Протоколы на основе DV-алгоритма достаточно просто реализуются, требуют мало памяти и процессорного времени, однако они обладают рядом общих недостатков. При увеличении количества сетей, входящих в состав автономной системы, резко возрастает количество передаваемой информации, т.к. DV-алгоритм требует, чтобы все шлюзы периодически передавали свои векторы длин маршрутов.

5.3 Программная реализация

Алгоритм, нахождения кратчайшего пути графа позволяет программно реализовать процедуры определения оптимальной (в указанном смысле) топологии информационной взаимосвязи видеосерверов - обработчиков видеоконтента. И тем самым, оптимизировать использование вычислительных ресурсов общей распределенной сети видеоанализа объектов, их сцен и ситуаций посредством поиска покрытий получаемой сети. В качестве средства программирования выбрана интегрированная среда разработки Borland Delphi 7. в операционной системе Windows 7 Pro SP1. Скомпилированная и отлаженная программа (road.exe) с аппаратно системными требованиями Pentium-4 ~2.3 Gh.

.3.1 Интерфейс программы

При запуске программы отображается окно дополнительной информации и появляется основная форма, представленная на рисунке 5.4.

Рисунок 5.4 - Меню программы и задание параметров построения графа

Далее требуется построить вершины и связать их в любом порядке, а также выбрать начальную вершину и конечную.

5.3.2 Результаты работы программы

Если построен граф А, представленный на рисунке 5.5, и выбрана начальная вершина R1 и конечная R8:

Рисунок 5.5 - Граф А

Тогда кратчайший путь будет выведен в результате, представленный на рисунке 5.6:

Рисунок 5.6 - Кратчайший путь от вершины R1 до R8 в графе А

Разработанная на языке программирования Delphi в среде программирования Borland Delphi 7 и апробированная на ряде контрольных примеров программа позволяет находить кратчайшие покрытия графов, в том числе с большим количеством вершин методом Беллмана-Форда.

На основании приведенных результатов, можем считать, что рассмотренная программа достаточно эффективно реализует алгоритмы нахождения кратчайшего пути матрицы А.

Любая вершина графа представляет собой маршрутизатор (роутер/компьютер/сервер), через который проходит информация. И чем меньше таких вершин на пути, то тем быстрее будет доходить информация. А дуги и их длины - это кабели и степень их загруженности (пропускная способность сети).

6. ОРГАНИЗАЦИОННО-ЭКОНОМИЧЕСКАЯ ЧАСТЬ

.1 Технико-экономическое обоснование создания проектируемой системы

В ходе производства при помощи информационных систем осуществляется текущий контроль и управление технологическими операциями.

На этапе исследования определяется ожидаемый экономический эффект. Он служит критерием выбора наиболее целесообразного варианта создания и внедрения новой системы, принятия решения о включении научных исследований и разработок в планы работы.

Для проведения технико-экономического обоснования проектируемой системы необходимо:

рассчитать затраты на эксплуатацию вычислительной техники (Сэ) которые включают:

основную и дополнительную заработную плату персонала;

единый социальный налог;

амортизационные отчисления;

затраты на электроэнергию;

затраты на текущий и профилактический ремонт;

стоимость расходных материалов;

прочие расходы;

рассчитать себестоимость автоматизированного проектирования проектируемой системы;

рассчитать себестоимость проектируемой системы вручную;

определить экономическую эффективность создания проектируемой системы, которая характеризуется следующими показателями:

снижение трудоемкости;

экономия текущих затрат;

определить срок окупаемости капитальных вложений;

сделать вывод по полученным результатам.

.1.1 Расчет затрат на содержание и эксплуатацию вычислительной техники (ВТ)

Основная заработная плата персонала в месяц:

Е=∑Зпп ,(6.1)

где Зп.п. - заработная плата одного сотрудника АРМ в месяц;

Е - основная заработная плата персонала АРМ в месяц.

Заработная плата персонала АРМ взята по данным отдела кадров:

начальник АРМа - 1405 руб.;

инженер - программист - 1000 руб.;

уборщица - 830 руб.=1405+1000+830=3235 руб.

Дополнительная заработная плата персонала в месяц принимается равной 10% от основной (по данным отдела кадров):

Зпд=Еˑ10%(6.2)

Зпд=3235ˑ0,1=323,5 руб.

Основная и дополнительная заработная плата в год составит:

Зп=(Е+Зпд)ˑ12,(6.3)

Зп= (3235+323,5)ˑ12=42702 руб.

Единый социальный налог составляет 36,67% [7] от основной и дополнительной заработной платы:

Осоц= Зпˑ36,67%,(6.4)

Осоц=42702ˑ0,3667=15658,82 руб.

Амортизационные отчисления (А) составляют 10% от стоимости вычислительной техники [9]. Балансовая стоимость оборудования Квт для выполнения работ взята по первоначальной стоимости, которая включает в себя стоимость одного компьютера - 15000 руб. и лазерного принтера - 7000 руб., Квт=22000 руб.

А=Квтˑ10%,(6.5)

А=22000ˑ0,1=2200 руб.

Затраты на электроэнергию:

Зэл=РустˑФдˑКмˑМэ ,(6.6)

где Руст - установленная мощность вычислительной техники;

Фд - действительный годовой фонд времени работы оборудования;

Км - коэффициент использования мощности, Км =0,9;

Мэ - стоимость 1 кВт/час, Мэ=62 коп.

Установленная мощность вычислительной техники Руст определяется по формуле:

Руст=Рсу+Рпр+Рм , (6.7)

где Рсу - мощность системного устройства, Рсу = 180 Вт;

Рпр- мощность принтера, Рпр = 90 Вт;

Рм - мощность монитора, Рм = 100 Вт.уст=180+90+100=370 Вт;уст=0,37 кВт;

Действительный годовой фонд времени работы оборудования Фд рассчитывается по формуле:

Фд=(D-d)ˑhˑsˑКз , (6.8)

где D - количество календарных дней в году, D = 365;- количество выходных и праздничных дней, d = 114;- время работы оборудования в смену, предусмотренное СНиП, h= 4,5;- количество рабочих смен, s = 2;

Кз- коэффициент загрузки оборудования, Кз = 0,9.

Фд=(365-114)ˑ4,5ˑ2ˑ0,9=2033 ч.;

Затраты на электроэнергию по формуле (6.6) составят:

Зэл=0,37ˑ2033ˑ0,9ˑ0,62=419,73 руб.

Затраты на профилактический и текущий ремонт составляют 5% от балансовой стоимости вычислительной техники:

Зрем=Квт ˑ 5% ,(6.9)

Зрем=22000ˑ0,05=1100 руб.

Стоимость расходных материалов составляет 1% от балансовой стоимости вычислительной техники:

М= Квт ˑ 1%,(6.10)

М=22000ˑ0,01=220 руб.

Прочие затраты составляют 0,5% от балансовой стоимости вычислительной техники:

Зпроч=Квтˑ0,5%,(6.11)

Зпроч=22000ˑ0,005=110 руб.

Затраты на содержание и эксплуатацию вычислительной техники равны сумме всех вышеперечисленных затрат

Сэ=Зп+Осоц+А+Зэл+Зрем+М+Зпроч (6.12)

Сэ=42702+15658,82+2200+419,73+1100+220+110=62410,55 руб.

Себестоимость одного машино-часа работы АРМ в расчете на одно рабочее место:

, (6.13)

 руб.

Общая стоимость затрат указана в таблице 6.1.

Таблица 6.1 - Затраты на содержание и эксплуатацию вычислительной техники

Затраты

Стоимость

Основная и дополнительная заработная плата в год Единый социальный налог Амортизационные отчисления Затраты на электроэнергию Затраты на профилактический и текущий ремонт Стоимость расходных материалов Прочие расходы Итого:

42702 15658,82 2200 419,73 1100 220 110 62410,55

Себестоимость одного машино-часа

30,7

6.1.2 Себестоимость автоматизированного проектирования проектируемой системы

Фонд времени, затрачиваемый на проектирование с применением системы автоматизированного проектирования.

Фв=DˑhˑКз , (6.14)

где D - количество дней, затраченных на проектирование , D=2;- время работы в день, h=8 час.;

Кз - коэффициент загрузки оборудования, Кз=0,9.

Фв=2ˑ8ˑ0,9=14,4 час.

Основная заработная плата инженера-специалиста, выполняющего автоматизированное проектирование, составляет 910 руб. в месяц.

Основная заработная плата в час при 8ми часовом рабочем дне и 22х днях в месяц:

 руб.

Дополнительная заработная плата принимается 10% от основной:

Зпд=74,45ˑ0,1=7,44 руб.

Основная и дополнительная заработная плата за время, затраченное на проектирование, составит:

Зпд=74,45+7,44=81,89 руб.

Единый социальный налог принимается в размере 36,67% от суммы основной и дополнительной заработной платы:

Осоц=81,89ˑ0,3637=30,03 руб.

Себестоимость автоматизированного проектирования проектируемой системы:

Сап=81,89+30,03+30,7ˑ14,4=554 руб.

6.1.3 Себестоимость ручного проектирования проектируемой системы

Общая трудоемкость:

, (6.15)

где t - время, затраченное на проектирование;о - время оформления чертежей.

 час.

Основная заработная плата персонала в месяц включает:

специалист 950 руб.;

чертежник 850 руб.

Основная заработная плата персонала в час:

специалист:

 руб.

чертежник:

 руб.

Дополнительная заработная плата персонала принимается 10% от основной:

специалист:

Зпд=0,1ˑ216=21,6 руб.;

чертежник:

Зпд=0,1ˑ540,96=54,1 руб.

Основная и дополнительная заработная плата за время, затраченное, на проектирование и создание проектируемой системы:

Зп=216+540,96+21,6+54,1=832,66 руб.

Единый социальный налог принимается в размере 36,67% от суммы основной и дополнительной заработной платы:

Осоц=832,66ˑ0,3667=305,34 руб.

Себестоимость работ без учета затрат на расходные материалы

Ср=832,66+305,34=1138 руб.

.1.4 Определение экономической эффективности создания проектируемой системы

При определении экономической эффективности за основу для сравнения принимается действующий метод (ручной) решения задачи проектирования. Экономическая эффективность внедрения вычислительной техники характеризуется следующими показателями:

. снижение трудоемкости, определяемое по формуле:

, (6.16)

где Тр - трудоемкость ручной работы;

Тн - трудоемкость автоматизированной работы.

 ч.

Снижение трудоемкости при автоматизированном проектировании по сравнению с ручным определяется по формуле:


. экономия текущих затрат:

, (6.17)

 руб.

Экономия текущих затрат при автоматизированном проектировании по сравнению с ручным:

.

.1.5 Определение срока окупаемости капитальных вложений

Срок окупаемости капитальных вложений определяется по формуле:

, (6.18)

где Крз - капитальные вложения, которые определяются по формуле:

, (6.19)

где Т - трудоемкость решения задачи на ЭВМ, час;

Фд - действительный годовой фонд времени, в час.

 руб.

 года

 месяца.

Все рассчитанные показатели сводим в таблице 6.2.

Таблица 6.2 - Затраты на ручное и автоматизированное проектирование проектируемой системы

Показатель

Автоматизированное проектирование

Ручное проектирование

1

2

3

Фонд времени, затрачиваемый на проектирование, час

14,4

152

Основная заработная плата, руб.

74,45

756,96

Дополнительная заработная плата, руб.

7,44

75,7

Основная и дополнительная заработная плата, руб.

81,89

832,66

Единый социальный налог, руб.

30,03

305,34

Затраты на эксплуатацию вычислительной техники, руб.

442,08

-

Себестоимость проектирования проектируемой системы, руб.

554

1138

 

Снижение трудоемкости: час. %

137,6 90,52

-

 

Экономия текущих затрат: руб. %

584 51,3

-

 

Срок окупаемости капитальных вложений, мес.

4

-

 


Разработанная методика по созданию проектируемой системы автоматизированного проектирования позволяет снизить трудоемкость работы на 90,52%, при этом экономия текущих затрат составляет 51,3% по сравнению с традиционным (ручным) способом черчения. Срок окупаемости капитальных вложений составляет 4 месяца.

7. БЕЗОПАСНОСТЬ ЖИЗНЕДЕЯТЕЛЬНОСТИ

Система охранная телевизионная (СОТ) - система видеонаблюдения замкнутого типа, предназначенная для получения телевизионного изображения с охраняемого объекта в целях обеспечения противокриминальной защиты. Системы видеонаблюдения представляют собой отдельный вид систем безопасности для охраны объекта, которые способны обеспечить постоянный визуальный контроль над определенной территорией в целях моментального реагирования на непредвиденные ситуации. На сегодняшний день системы видеонаблюдения позволяют следить как за целыми зданиями, так и за отдельными помещениями. А удешевление этих систем дает возможность устанавливать их даже в небольших офисах, на мелких предприятиях и в частных домах, квартирах.

Охрана с использованием видеонаблюдения решает ряд задач по наблюдению за объектами охраны без участия человека, что позволяет значительно экономить на персонале при организации грамотной работы системы.

СОТ позволяет значительно повысить эффективность охраны на объекте и сократить время принятия решения при возникновении внештатной ситуации.

По желанию заказчика система видеонаблюдения для охраны может комплектоваться и другими дополнительными элементами (распознавание лиц, регистрация государственных номерных знаков на автомобилях, подключение к POS терминалам и т.л.). На сегодняшний день можно создать системы любого уровня сложности, благодаря чему обеспечивается безопасность на самом высоком уровне.

Но прежде чем приступить к разработке системы необходимо ознакомиться с техническими требованиями, которые предъявляются к проектированию мер безопасности при эксплуатации систем видеонаблюдения. Рассчитаем дальше меры безопасности и узнаем о работе системы в условиях ЧС

7.1 Проектирование мер безопасности при эксплуатации систем видеонаблюдения

Меры предосторожности:

во избежание поражения электрическим током не вскрывайте работающих блоков и не допускайте попадания в них воды;

не рекомендуется использование сетевых адаптеров питания сторонних производителей;

не устанавливайте в отсеки питания совместно аккумуляторы и батарейки, так же соблюдайте полярность установки источников питания;

не используйте разряженные батарейки и новые совместно;

не пытайтесь заряжать обычные элементы питания алкалиновые или солевые;

не создавайте короткого замыкания у сетевых адаптеров, это приведет к выходу их из строя;

не допускайте попадания блоков камер посторонним в руки;

во избежание ударов током не включайте блоки питания в комнатах с повышенной влажностью;

избегайте сильного нагрева блоков, не размещайте их рядом с повы- шенными источниками тепла, не закрывайте вентиляционные отверстия в них;

перед использованием убедитесь что кабели от блоков питания не мешают проходу и защищены от механических повреждений;

не допускайте падение блоков, помните, что в случае их выхода из строя в следствие падения является не гарантийным случаем;

при использовании аналоговой модели важно понимать, что сигнал никак не защищен от перехвата подобным устройством. При сильных помехах имеет смысл переключиться на другой канал;

при установке камеры старайтесь избегать размещения ее вблизи металлических конструкций большой площади, поскольку расстояние работы может быть сильно сокращено.

Работы, при выполнении которых электромонтажник находится выше 1,5м от поверхности рабочего настила, перекрытия или фунта, называются работами на высоте. К работе на высоте допускаются лица не моложе 18 лет, прошедшие медицинский осмотр, обучение требованиям безопасности труда, получившие специальное удостоверение.

Лица, допущенные к работе на высоте, проходят медицинский осмотр ежегодно.

Электромонтажные работы на высоте можно производить с лесов или подмостей с настилами шириной не менее 1 м, имеющих надежное ограждение в виде перил высотой не менее 1 м, а также с исправных стремянок и приставных лестниц. Раздвижные лестницы-стремянки должны иметь устройства, которые исключают возможность их самопроизвольного раздвигания. Приставные лестницы, устанавливаемые в местах движения транспорта или людей, ограждают или охраняют.

В необходимых случаях работать на высоте можно с неогражденных поверхностей или с постоянно укрепленных лестниц, но с обязательным применением проверенных и испытанных предохранительных поясов.

Предохранительные пояса должны быть снабжены паспортами и бирками. Пользоваться поясами, на которые нет паспортов, запрещается. Карабин предохранительного пояса должен иметь или сломанной запирающей пружиной не допускается. Предохранительные пояса через каждые 6 месяцев испытывают на статическую нагрузку 30 Н в течение 5 минут. При работе с приставных лестниц и стремянок прикрепляться к ним предохранительными поясами запрещается.

Запрещается работать с лестниц и стремянок около работающих машин, оборудования и над ними, а также вблизи токоведущих частей, находящихся под напряжением и не защищенных от случайного прикосновения к ним. При необходимости работы в таких местах машины и оборудование должны быть отключены, а токоведущие части отключены и заземлены.

При выполнении монтажных работ разрешается применять только исправный ручной инструмент. Ручной инструмент не должен иметь повреждений (трещин, сколов, выбоин) рабочих кромок, заусенцев и зазубрин в месте захвата инструмента рукой работающего, трещин и заусенцев на затылочной части рукояток.

Деревянные рукоятки ручных инструментов должны быть изготовлены из древесины твердых и вязких пород, гладко обработаны и надежно закреплены. На поверхности рукояток не допускаются выбоины и сколы.

Рукоятки молотков и кувалд должны быть заклинены металлическими клиньями. Насадка кувалды производится через нижний конец ручки.

Сверлить отверстия и пробивать борозды в стенах, панелях, перекрытиях, в которых может быть расположена скрытая электропроводка, а также выполнять другие работы, при которых может быть повреждена изоляция проводов (кабелей) и установок, следует только после их отключения от источников питания. Монтаж, регулировка, замена или ремонт оборудования систем безопасности и их составных частей, соединительных линий производятся только при снятом напряжении.

Металлические корпуса приборов, аппаратуры, оборудования и других систем безопасности, за исключением аппаратуры, питающейся от автономных источников питания постоянного тока ниже 110 В и переменного тока ниже 42В, должны быть надежно заземлены.

При монтаже, техническом обслуживании и ремонте дверных извещателей, доводчиков, электрозамков необходимо закреплять дверь для предотвращения травм при ее случайном закрытии или открытии.

Если пробиваются или сверлятся сквозные отверстия в стенах и перекрытиях, а по другую сторону пробиваемого отверстия могут находиться или проходить люди, то специально выделенный работник должен предупреждать их об опасности.

.3 Расчет мер безопасности (защитное заземление)

Заземление следует выполнять:

а) при напряжениях переменного тока 380 В и выше и постоянного тока 440 В и выше во всех электроустановках;

б) при напряжениях переменного тока выше 42 В и постоянного тока выше 110 В только в электроустановках, размещенных в помещениях с повышенной опасностью и в особо опасных, а также в наружных установках;

в) при любом напряжении переменного тока и постоянного тока во взрывоопасных установках;

Заземлители могут быть использованы как естественные, так и искусственные. Причём, если естественные заземлители имеют сопротивление растеканию, удовлетворяющие требованиям ПУЭ, то устройство искусственным заземлителями не требуется.

В качестве естественных заземлителей могут быть использованы:

а) проложенные в земле водопроводные и другие металлические трубопроводы, за исключением трубопроводов горючих и легковоспламеняющихся жидкостей, горючих или взрывчатых газов и смесей;

б) обсадные трубы, металлические и железобетонные конструкции зданий и сооружений, находящиеся в непосредственном соприкосновении с землёй;

в) свинцовые оболочки кабелей, проложенных в земле и т.д.

В качестве искусственных заземлителей чаще всего применяют угловую сталь 60x60 мм, стальные трубы диаметром 35-60 мм и стальные шины сечением не менее 100 мм2.

Стержни длиной 2,5...3м погружаются (забиваются) в грунт вертикально в специально подготовленной траншее.

Вертикальные заземлители соединяются стальной полосой, которая приваривается к каждому заземлителю.

По расположению заземлителей относительно заземляемого оборудования системы заземления делят на выносное и контурное.

Выносное заземление оборудования показано на рисунке 7.1. При выносной системе заземления заземлители располагаются на некотором удалении от заземляемого оборудования. Поэтому заземленное оборудование находится вне поля растекания тока и человек, касаясь его, окажется под полным напряжением относительно земли

пр=Uз

Выносное заземление защищает только за счёт малого сопротивления грунта.



Рисунок 7.1 - Схема выносного заземления: 1 - заземляемое оборудование; 2 - заземлители

Контурное заземление показано на рисунке 7.2. Заземлители располагаются по контуру заземляемого оборудования на небольшом (несколько метров) расстоянии друг от друга. В данном случае поля растекания заземлителей накладываются, и любая точка поверхности земли внутри контура имеет значительный потенциал. Напряжение прикосновения будет меньше, чем при выносном заземлении.

пр=Uз - ϕосн ,

где ϕосн - потенциал земли




Рисунок 7.2 - Схема контурного заземления

Защитное заземление предназначено для обеспечения безопасности человека при прикосновении к нетоковедущим частям оборудования, случайно оказавшимся под напряжением, и при воздействии напряжения шага. Эти величины не должны превосходить длительно допустимых.

пр ≤ U пр.д.д.ш ≤ U ш.д.д.

В ПУЭ нормируются сопротивления заземления в зависимости от напряжения электроустановок.

В электроустановках напряжением до 1000 В сопротивление заземляющего устройства должно быть не выше 4 Ом; если же суммарная мощность источников не превышает 100 кВА, сопротивление заземления должно быть не более 10 Ом.

В электроустановках Uпр>1000 В с током замыкания Jз<500 А допускается сопротивление заземления Rз≤ 250/ Jз , но не более 10 Ом.

Если заземляющее устройство используется одновременно для электроустановок напряжением до 1000 В и выше 1000 В, то Rз≤ 125/ Jз но не выше нормы электроустановки (4 или 10 Ом). В электроустановках с токами замыкания Jз> 500 A, Rз ≤ 0,5 Ом.

Расчет заземления сводится к определению числа заземлителей и длины соединительной полосы исходя из допустимого сопротивления заземления.

Таблица 7.1 - Исходные данные

Показатель

Значение

Вид заземления

выносное

Длина заземлителя l, м

2,7

Глубина заложения заземлителя в грунт h, м

0,65

Коэффициент сезонности Kc

2,0

Удельное сопротивление грунта ρ, Ом∙м

70

Диаметр заземлителя d, м

55

Ширина соединительное полосы b, м

50

Допускаемое сопротивление системы заземления по ПУЭ RЭ.Н., Ом

4


В качестве заземлителя выбираем стальную трубу диаметром , а в качестве соединительного элемента - стальную полосу шириной .

Выбираем значение удельного сопротивления грунта соответствующее или близкое по значению удельному сопротивлению грунта в заданном районе размещения проектируемой установки.

Определяем значение электрического сопротивления растеканию тока в землю с одиночного заземлителя

где  - удельное сопротивление грунта,

 - коэффициент сезонности,

 - длина заземлителя,

 - диаметр заземлителя,

 - расстояние от поверхности грунта до середины заземлителя.

Рассчитываем число заземлителей без учета взаимных помех, оказываемых заземлителями друг на друга, так называемого явления взаимного “экранирования”

 ≈ 10.

Рассчитываем число заземлителей с учетом коэффициента экранирования

≈ 18

где  - коэффициент экранирования.

Принимаем расстояние между заземлителями

Определяем длину соединительной полосы

Рассчитываем полное значение сопротивления растеканию тока с соединительной полосы

Рассчитываем полное значение сопротивления системы заземления

где =0.51 - коэффициент экранирования полосы

7.2 Система видеонаблюдения в условиях ЧС

Данная система будет полезна в условиях чрезвычайных ситуаций для оценки положения и разрушений (если таковые имеются). Она же поможет избежать случаев мародёрства и иных противозаконных действий

Экстремальные ситуации для функционирования объектов видеонаблюдения могут создаваться в результате резких изменений температуры, избыточного давления, электромагнитных и ионизирующих излучений, вредных загрязнений окружающей среды.

В настоящее время при проектировании объектов и систем видеонаблюдения должны рассматриваться вопросы эксплуатации не только в штатных, но и в экстремальных условиях, поэтому на случай различных ЧС должны разрабатываться практические рекомендации по восстановлению работоспособности объектов связи и их элементов.

Под устойчивостью функционирования способность работать в нештатных, т.е. чрезвычайных ситуациях мирного и военного времени, а при нарушениях их работы - это способность восстанавливать работоспособность в кратчайшие сроки.

Основные требования, выполнение которых ведет к повышению устойчивости функционирования объектов связи:

снижение возможных потерь и разрушений от воздействия поражающих факторов, вызванных стихийными бедствиями, производственными авариями и военными действиями;

создание оптимальных условий для восстановления разрушенных, поврежденных объектов в минимально короткие сроки;

обеспечение безопасности жизнедеятельности людей.

Здания и сооружения. Оборудование, которое размещается внутри зданий и сооружений чаще всего выходит из строя из-за обломков, пожаров, а поэтому несущие конструкции зданий, сооружений необходимо изготавливать из легких, несгораемых материалов (сталь повышенной прочности, алюминиевые сплавы и т.д.). У каркасных зданий большой эффект достигается за счет применения облегченных конструкций стенового заполнения и увеличения световых проемов с использованием стекла, стеклоблоков, легких панелей из пластиков и других легко разрушаемых материалов. Эти материалы хорошо разрушаются ударной, сейсмической волной и этим уменьшается действие избыточного давления на каркас сооружения, а их обломки наносят меньший ущерб оборудованию. Целесообразно использовать легкие поворачивающиеся панели с шарнирным креплением. Такие панели под воздействием ударной волны поворачиваются, что снижает ее воздействие на несущие конструкции. Гаражи должны быть приспособлены для проведения дегазации и дезактивации техники.

Электроснабжение. Для повышения устойчивости электроснабжения объекта необходимо иметь дублирующие и аварийные источники электроснабжения, поэтому на объектах связи должно быть не менее двух вводов от независимых источников, обязательно с разных сторон, и подведение электроэнергии должно осуществляться подземным кабелем. Кроме того, объекты связи должны иметь свои автономные источники электропитания (аккумуляторные батареи, дизель-электрические станции и т.д.). включающиеся автоматически при выходе из строя основных источников питания.

Для повышения устойчивости функционирования сети необходимо предусматривать строительство дублирующих, обычно неработающих узлов, которые в случае выхода из строя основных узлов берут на себя их функции, также необходимо дублировать каналы, линии связи (кабельные линии - радиорелейными, и наоборот, кабельные линии - линиями радиосвязи и т. д., по которым одновременно может передаваться одна и та же информация).

Подготовка к выполнению работ по восстановлению объекта связи в случае его повреждения. Для обеспечения этих работ необходимо прогнозировать характер возможных повреждений и разрушений по вариантам возможных поражений и разрабатывать методы ведения спасательных, неотложных и восстановительных работ по этим вариантам. Создавать восстановительные бригады, оснащенные инструментарием, приборами и запасным имуществом, из наиболее подготовленных работников.

оконечная радиоэлектронная аппаратура должна иметь систему защиты от действия ЭМИ (амплитудные ограничители, быстродействующие разрядники, фильтры и т. д.);

входные и выходные цепи радиопередающих и радиоприемных устройств должны иметь защиту от наводимых в антенных устройствах высоких напряжений (диодные амплитудные ограничители, газоразрядники, полосовые фильтры, экранированные фидерные линии и т. д.);

кабели в аппаратных залах, кабинах должны прокладываться общим пучком (жгутом) в общем экране или экранированными проводами, что ослабляет наводки от электромагнитных полей.

Меры, повышающие радиационную стойкость РЭА. Наиболее эффективной мерой защиты от воздействия ионизирующих излучений является размещение аппаратуры в защитных или специально приспособленных сооружениях с большим коэффициентом ослабления Косл.

Кроме того, в современной аппаратуре связи необходимо использовать радиационно-стойкие элементы и схемы, некритичные или малокритичные к появлению дополнительных токов, возникающих в результате ионизации элементов схем РЭА, применять экранирование аппаратуры и ее элементов.

ЗАКЛЮЧЕНИЕ

В выполненной выпускной квалификационной работе проведено исследование аппаратно-программных средств анализа видеообъектов и осуществлен их выбор из номенклатуры DSSL для организации адаптивного децентрализованного комплекса визуального определения объектов и их перемещений с функциями автономной интеллектуальной обработки изображений.

Созданную программу можно интегрировать к существующим сегодня системам видеоконтроля для наиболее оптимального их использования и увеличения быстродействия по передаче данных, а так же снижения нагрузки с сетей.

Рассмотрены методы и приведены алгоритмы поэтапной обработки изображений для опознавания объектов и их перемещений, а также осуществлен выбор поддерживаемых системой TRASSIR устройств с интеллектуальными функциями реализации соответствующих этапов анализа.

Предложены методы, разработан алгоритм и программная реализация механизма динамической настройки (адаптации) структуры комплекса, оптимизирующей ее по числу используемых вычислительных ресурсов и эффективному пути передачи информации для решения текущей задачи опознавания.

В выпускной квалификационной работе выполнен организационно- экономический раздел, где дана оценка качества разработанного программного продукта и определены затраты на его разработку, а также раздел обеспечения безопасности жизнедеятельности, в котором определены меры по обеспечению устойчивости функционирования системы в чрезвычайных ситуациях, рассмотрено защитное заземление для защиты от поражения электрическим током.

СПИСОК ИСПОЛЬЗОВАННЫХ ИСТОЧНИКОВ

1. Официальный сайт компании DSSL. - Режим доступа: www.dssl.ru <http://www.dssl.ru>

. Буков В.Н. Вложение систем. Аналитический подход к анализу и синтезу матричных систем / В.Н. Буков. - Издательство научной литературы Н.Ф. Бочкаревой, 2006.- 800 с.

. Инженерно-техническая укрепленность. Технические средства охраны. Требования и нормы проектирования (РД 78.36.003-2002). - М., 2002.- 433с. - Режим доступа: http://www.complexdoc.ru

. Системы технического зрения / А.Н. Писаревский, А.Ф. Чернявский, Г.К. Афанасьев [и др.]; под ред. А.Н. Писаревский. - СПб.: Машиностроение, 2008.- 424 с. - Режим доступа: http://lib2.narod.ru/

. Очин Е.Ф. Вычислительные системы обработки изображений / Е.Ф. Очин. - СПб.: Энергоатомиздат, 2009.- 136 с.

. Мороз В.А. Трансформирование снимков / В.А. Мороз, Л.И. Яблонский. - М.: Недра, 1991.-244 с. - Режим доступа: http://books.google.ru

. Терехов C.A. Нейронные сети и их приложения / С.А. Терехов. - М.: alife, 2006.-49 с. - Режим доступа: <http://alife.narod.ru>

. Старовойтов В.В. Модель Распознавание человека по изображению объектов и нейросетевые методы / В.В. Старовойтов. - М.: neuroface, 2007.- 342с.

. Котов И.И. Алгоритмы машинной графики / И.И. Котов, B.C. Полозов, Л.В. Широкова. - М.: Машиностроение, 2007.- 231 с. - Режим доступа: www. padabum.com

. Гриб С.М. Модель мышления / С.М. Гриб. - М.: neural, 2003.- 175с.

. Официальный сайт компании ISS. - Режим доступа: www.iss.ru <http://www.iss.ru>

. Скороходов А.П. «Face-Интеллект» - идентификация личности по изображению / А.П. Скороходов. - М.: ITV, 2006.- 75 с. - Режим доступа: <http://www.itv.ru>

. Маклаков С.В. BPWin и ERWin. CASE-средства разработки информационных систем. / С.В. Маклаков - М.: Диалог МИФИ, 1999. - 255с.

. Справочник по СКУД. - Режим доступа: www.kardmaster.ru <http://www.kardmaster.ru>

. Справочник по энергобезопасности. - Режим доступа: www.sio.su <http://www.sio.su>.

. Инструкция по охране труда для операторов ПК - Режим доступа: www.sewer.3dn.ru <http://www.sewer.3dn.ru>.

. Маньков В.Д. Защитное заземление и зануление электроустановок: Справочник. / В.Д. Мньков, С.Ф. Заграничный. - СПб.: Политехника, 2005.- 266с.

ПРИЛОЖЕНИЕ A

Алгоритмы модулей распознавания объектов

А.1 Алгоритм модуля выделения объектов

Модуль выделения объектов - первый модуль, который должен выполняться при начале работы комплекса. Его блок-схема представлена на рис А.1.

Сначала перехватывается опорный кадр (первый кадр в видеопотоке), на котором отсутствуют появившиеся объекты. Их изображение преобразуется в полутоновое по следующему алгоритму: цветность изображения каждой точки отражают значения RGB. С помощью функций getrvalue, getbvalue и getgvalue для каждой точки изображения определяются красная (red), синяя (blue) и зеленая (green) составляющая соответственно, находится среднее значение этих трех величин и значение каждой цветовой составляющей изменяется на полученное среднее.

Преобразование изображения в полутоновое необходимо для более точного выделения объекта и для минимизации проявления возможных помех. Через определенный промежуток времени t по таймеру перехватывается второй кадр, который так же преобразуется в полутоновое изображение. Полутоновое изображение характеризуется одной компонентой на каждый пиксель изображения, отражающей градации серого цвета. Значение компоненты каждой точки полученного кадра сравниваются со значением компоненты соответствующей точки на опорном кадре. Если значения совпадают или отличаются совсем незначительно, то точка с данными координатами закрашивается белым, иначе точка остается неизменной. Для более точного выделения объектов на кадре после сравнения с опорным изображение необходимо очистить от шумов, т.е. отдельно расположенных точек. Эти точки так же закрашиваются белым. Процедура выделения объектов связана с обработкой большого объема данных, поэтому данная процедура выполняется четырьмя параллельно запущенными процессами для того чтобы гарантировать выполнение операций в реальном времени без задержки вывода информации о появившемся объекте, как показывает блок-схема на рисунке А.1.






















Рисунок А.1 - Блок-схема функционирования модуля выделения объектов

А.2 Алгоритм модуля выделения контура объектов

Существует несколько разновидностей алгоритмов выделения контураобъектов на изображении: отслеживающие и сканирующие.

Отслеживающие алгоритмы основаны на том, что на изображении отыскивается объект и контур объектов отслеживается и векторизуется. Достоинством данных алгоритмов является их простота, к недостаткам можно отнести их последовательную реализацию и некоторую сложность при поиске и обработке внутренних контуров. Пример отслеживающего алгоритма - «алгоритма жука», который начинает движение с пустой области по направлению к изображению, как только он попадает на его элемент, он поворачивает налево и переходит к следующему элементу. Если этот элемент пуст, то поворачивает направо, иначе - налево. Процедура повторяется до тех пор, пока не вернется в исходную точку. Координаты точек перехода с изображения и на изображение и описывают границу объекта. Сканирующие алгоритмы основаны на просмотре (сканировании) всего изображения и выделения контурных точек без отслеживания контура объекта.

А.З Алгоритм модуля выделения контура.

Его можно отнести к классу сканирующих алгоритмов, так как происходит сканирование всего изображения. Программа анализирует изображение по точкам. Выбираются только точки, которые удовлетворяют условию: справа или слева имеется белая точка, или сверху или снизу имеется белая точка.

Координаты записываются в линейные массивы «KontX» и «KontY». В массив «KontX» записывается координата по оси X, в массив «KontY» координата по Y. По значениям, хранящимся в этих массивах, рассчитываются геометрические признаки распознаваемого объектов, а по координатам формируется контур объектов. Данный алгоритм представлен на рисунке А.2.















Рисунок А.2 - Блок-схема модуля выделения контуров объектов

А.4 Алгоритм модуля выделения элементов объектов

Для распознавания объектов необходимо выделить его элементы, что является одной из сложных задач, которые решает комплекс.

Выделение элементов объектов происходит по алгоритму, в котором изображение сканируется по строкам, в каждой строке выделяются отрезки, по цвету отличные от белого; если точка не белая, а слева точка белая, то эта точка является началом отрезка, её координаты записываются в линейные массивы х1 и yl; если точка не белая и точка справа белая, то эта точка является концом отрезка, её координаты записываются в линейные массивы х2 и у2; для каждого найденного отрезка находятся координаты его середины; точки с координатами середин отрезков образуют элементы объектов. Данный алгоритм, на рисунке А.3 позволяет выделить так называемые средние линии частей элементов объектов, что является достаточным для расчетов, производимых системой.

























Рисунок А.З - Блок-схема модуля выделения элементов объектов

А.5 Алгоритм модуля варианта распознавания объектов

В процессе работы программы измеряются абсолютные характеристики объекта: высота; ширина; площадь; периметр.

На основе абсолютных характеристик рассчитываются относительные признаки, которые, в отличие от абсолютных, являются инвариантными по отношению к изменениям масштаба и угла поворота объектов: отношение ширины объектов к его высоте, отношение квадрата периметра объектов к его площади, отношение расстояний между элементами объектов.

После обучения система может функционировать в режиме распознавания.

Для вычисления характеристик объектов анализируются линейные массивы, в которых записаны координаты контура объектов и их элементы. Высота объектов находится как разность максимального и минимального значений, найденных по массиву «KontY», который содержит ординаты точек контура объектов. Ширина вычисляется как разность максимального и минимального значений, найденных по массиву «KontX», который содержит абсциссы точек контура объектов. Периметр объектов как количество точек в их контуре рассчитывается по массиву KontX как количество элементов в массиве. Площадь объектов равна числу точек, которое занимает объект на изображении. Расстояние между элементами объектов рассматривается как количество точек между ними. После нахождения всех геометрических признаков объектов они сравниваются с эталонными значениями соответствующих признаков. Если из рассчитанных признаков большее количество совпадает с эталонными, то принимается решение о том, что объект относится к соответствующему классу.
































Рисунок А.4 - Блок-схема функционирования модуля распознавания объектов.

ПРИЛОЖЕНИЕ Б

Б.1 Листинг программы поиска кратчайшего пути по алгоритму Беллмана-ФордаUnit1;, Messages, SysUtils, Classes, Graphics, Controls, Forms, Dialogs,, ExtCtrls, StdCtrls, XPMan, Menus;= class(TForm): TSpeedButton;: TSpeedButton;: TSpeedButton;: TSpeedButton;: TSpeedButton;: TSpeedButton;: TMemo;: TLabel;: TLabel;: TEdit;: TEdit;: TLabel;: TXPManifest;: TImage;: TLabel;: TSpeedButton;FormMouseMove(Sender: TObject; Shift: TShiftState; X, Y: Integer);SpeedButton1Click(Sender: TObject);ImageMouseUp(Sender: TObject; Button: TMouseButton;: TShiftState; X, Y: Integer);ImageMouseMove(Sender: TObject; Shift: TShiftState; X, Y: Integer);ImageMouseDown(Sender: TObject; Button: TMouseButton;: TShiftState; X, Y: Integer);SpeedButton2Click(Sender: TObject);FormCreate(Sender: TObject);SpeedButton3Click(Sender: TObject);SpeedButton4Click(Sender: TObject);SpeedButton5Click(Sender: TObject);SpeedButton6Click(Sender: TObject);Quitter1Click(Sender: TObject);APropos2Click(Sender: TObject);FormCenter;SpeedButton7Click(Sender: TObject);: Boolean;, MovePt: TPoint;: byte;

{Private declarations}DrawShape(TopLeft, BottomRight: TPoint; AMode: TPenMode);

{Public declarations};: TForm1;

{$R *.DFM}disktrat, Unit2;max = 30;Vertek = record,posy: Integer;;= Array [1..max] of Vertek;count: byte;,akhir: byte;: AVertek;_awal,bool_akhir: Boolean;,node2: byte;: TJarak;: TPath;TForm1.DrawShape(TopLeft, BottomRight: TPoint; AMode: TPenMode);Image.Canvas do.Mode:= AMode;DrawingTool of

: {LINE}.Canvas.MoveTo(TopLeft.X, TopLeft.Y);.Canvas.LineTo(BottomRight.X, BottomRight.Y);;;;;TForm1.FormMouseMove(Sender: TObject; Shift: TShiftState; X, Y: Integer);Drawing then(Origin, MovePt, pmNotXor);:= Point(X, Y);(Origin, MovePt, pmNotXor);;;TForm1.SpeedButton1Click(Sender: TObject);:= 1;.Canvas.Pen.Mode:= pmcopy;;TForm1.ImageMouseUp(Sender: TObject; Button: TMouseButton;: TShiftState; X, Y: Integer);XX,YY,i: byte;Drawing then(Origin, MovePt, pmNotXor); //afficher;drawingtool=2 then_akhir:= False;i:= 1 to count do(X>Node[i].posX-10) and (Y>Node[i].posY-10) and (X<Node[i].posX+10) and (Y<Node[i].posY+10) then_akhir:= True;:= i;;; (node1<>0) and (node2<>0) and bool_awal and bool_akhir then(Point(Node[node1].posx,Node[node1].posy), Point(Node[node2].posx,Node[node2].posy), pmCopy);[node1,node2]:=round(sqrt(sqr(abs(Node[node2].posy-Node[node1].posy)/9) + sqr(abs(Node[node2].posx-Node[node1].posx)/9)));[node2,node1]:= Data[node1,node2];:= Node[node1].posx;:= Node[node1].posy; := Node[node2].posx;:= Node[node2].posy;;; //if:= False;drawingtool=1 then:= count + 1;Node[count] do:= x;:= y;;Image.Canvas do.Canvas.Pen.Mode:= pmcopy;(X-15,Y-15,X+15,Y+15);count div 10 > 0 then(x-12,y-6,'R'+IntToStr(count))(x-5,y-6,'R'+IntToStr(count));;;;;TForm1.ImageMouseMove(Sender: TObject; Shift: TShiftState; X, Y: Integer);Drawing then(Origin, MovePt, pmNotXor);:= Point(X, Y);(Origin, MovePt, pmNotXor);;;TForm1.ImageMouseDown(Sender: TObject; Button: TMouseButton;: TShiftState; X, Y: Integer);i: byte;:= True;.Canvas.MoveTo(X, Y);:= Point(X, Y);:= Origin;drawingtool=2 then_awal:= False;i:= 1 to count do(X>Node[i].posX-10) and (Y>Node[i].posY-10) and (X<Node[i].posX+10) and (Y<Node[i].posY+10) then_awal:= True;:= i;;;drawingtool in [3,4] theni:= 1 to count do(X>Node[i].posX-10) and (Y>Node[i].posY-10) and (X<Node[i].posX+10) and (Y<Node[i].posY+10) thendrawingtool of

: begin:= i;.Text:= IntToStr(i);;

: begin:= i;.Text:= IntToStr(i);;; //case;; //if;;TForm1.SpeedButton2Click(Sender: TObject);:= 2;;TForm1.FormCreate(Sender: TObject);: TBitmap;,yy: byte;.Left:= Screen.Width div 2 - Width div 2;.Top:= Screen.Height div 2 - Height div 2;

{ Application de la fonction: AnimateWindow }(Handle, 500{Vitesse}, AW_CENTER);;:= True;:= nil;:= TBitmap.Create;.Width:= 350;.Height:= 300;.Picture.Graphic:= Bitmap;.Free;;.Clear;:= 1;:= 0;:= 0;:= 0;.Text:= '';.Text:= '';xx:= 1 to max doyy:= 1 to max doxx=yy then[xx,yy]:= 0[xx,yy]:= 999;;;TForm1.SpeedButton3Click(Sender: TObject);:= 3;;TForm1.SpeedButton4Click(Sender: TObject);:= 4;;TForm1.SpeedButton5Click(Sender: TObject);i: byte;,YY: byte;.Clear;:= 2;(Data,Closed,awal,akhir,count);(awal<>0) and (akhir<>0) and (closed.jarak<>0) and (closed.jarak<>999) then:= True;i:= 1 to closed.nodeke-1 do.Text:= memo1.Text + IntToStr(closed.arraypath[i]) + '-';.Canvas.Pen.Color:= clred;(Point(Node[closed.arraypath[i]].posx,Node[closed.arraypath[i]].posy), Point(Node[closed.arraypath[i+1]].posx,Node[closed.arraypath[i+1]].posy), pmCopy);:= Node[closed.arraypath[i]].posx;:= Node[closed.arraypath[i]].posy;Image.Canvas do.Canvas.Pen.Mode:= pmcopy;(XX-15,YY-15,XX+15,YY+15);node2 div 10 > 0 then(xX-12,Yy-6,'R'+IntToStr(closed.arraypath[i]))(Xx-5,Yy-6,'R'+IntToStr(closed.arraypath[i]));;;:= Node[closed.arraypath[closed.nodeke]].posx;:= Node[closed.arraypath[closed.nodeke]].posy;Image.Canvas do.Canvas.Pen.Mode:= pmcopy;(XX-15,YY-15,XX+15,YY+15);closed.nodeke div 10 > 0 then(xX-12,Yy-6,'R'+IntToStr(closed.arraypath[closed.nodeke]))(Xx-5,Yy-6,'R'+IntToStr(closed.arraypath[closed.nodeke]));;.Canvas.Pen.Color:= clblack;.Text:= memo1.Text + IntToStr(closed.arraypath[closed.nodeke]);:= False;.Text:= 'iln''ya pas de connections';;:= 5;;TForm1.SpeedButton6Click(Sender: TObject);:= 6;(Sender);Click(Sender);

//edit1.Clear;;TForm1.Quitter1Click(Sender: TObject);;;TForm1.FormCenter;Form2 do begin:= Screen.Width div 2 - Width div 2;:= Screen.Height div 2 - Height div 2;;;TForm1.APropos2Click(Sender: TObject);Form2 do begin:= TForm2.Create(Application);

{Centre la fiche};

{Application de la fonction: AnimateWindow}(Handle, 250{Vitesse}, AW_CENTER);;;;TForm1.SpeedButton7Click(Sender: TObject);.Close;.Close;;.Unit2;, Messages, SysUtils, Classes, Graphics, Controls, Forms,, Buttons, ExtCtrls, StdCtrls;= class(TForm): TSpeedButton;: TSpeedButton;: TLabel;: TLabel;SpeedButton1Click(Sender: TObject);SpeedButton2Click(Sender: TObject);

{Déclarations privées}

{Déclarations publiques};: TForm2;

{$R *.DFM}disktrat, Unit1;TForm2.SpeedButton1Click(Sender: TObject);.Show;;TForm2.SpeedButton2Click(Sender: TObject);.Terminate;;.

Похожие работы на - Разработка программного обеспечения конфигурирования аппаратно-программного комплекса распределённой обработки видеообразов

 

Не нашли материал для своей работы?
Поможем написать уникальную работу
Без плагиата!
Без нейросетей!