Проектирование информационной системы планирования организационно-технических мероприятий ОАО 'Спектр'

  • Вид работы:
    Дипломная (ВКР)
  • Предмет:
    Информационное обеспечение, программирование
  • Язык:
    Русский
    ,
    Формат файла:
    MS Word
    1,52 Мб
  • Опубликовано:
    2012-05-25
Вы можете узнать стоимость помощи в написании студенческой работы.
Помощь в написании работы, которую точно примут!

Проектирование информационной системы планирования организационно-технических мероприятий ОАО 'Спектр'













ВЫПУСКНАЯ КВАЛИФИКАЦИОННАЯ РАБОТА

на тему:

Проектирование информационной системы планирования организационно-технических мероприятий ОАО «Спектр»

Оглавление

 

Введение

Глава 1.     Основные направления деятельности предприятия ОАО «Спектр»

.1      Общие сведения о компании ОАО «Спектр»

.2      Имеющиеся на предприятии вычислительные и программные средства

.3      Схема принятого в компании бизнес-процесса планирования организационно-технических мероприятий

.4      Обоснование необходимости проектирования информационной системы планирования организационно-технических мероприятий

Глава 2.     Проектирование информационной системы планирования организационно-технических мероприятий

.1      Постановка задач для информационной системы планирования организационно-технических мероприятий

.2.     Разработка алгоритма решения поставленных задач

.3      Проектирование пользовательского интерфейса и главного меню

.4      Проектирование форм входной и выходной информации

.5      Проектирование структуры базы данных информационной системы

Глава 3.     Программная реализация информационной системы планирования организационно-технических мероприятий и расчет показателей экономической эффективности

.1      Обоснование выбора программных и технических средств для проектирования информационной системы

.2      Программная реализация информационной системы

.3      Расчет показателей экономической эффективности

Заключение

Список литературы

Приложения

Введение


Базой для настоящего дипломного проектирования является предприятие ОАО «Спектр», г. Великий Новгород.

Задача, поставленная в рамках информатизации деятельности предприятия, - проектирование информационной системы планирования организационно-технических мероприятий.

Актуальность выбранной темы обусловлена необходимостью поиска механизмов и инструментов повышения эффективности управления предприятиями. Современные условия хозяйствования характеризуются нестабильностью и возросшими информационными потоками. Информационные технологии реорганизуют управленческие отношения. Непременным условием успешной работы является анализ информации о положении фирмы. Информатизация данного процесса позволяет существенно повысить эффективность подготовки и принятия управленческих решений.

Информационные технологии играют все более важную роль в деятельности современных предприятий, преобразуют организацию его бизнеса, изменяют инструментарий управления фирмой, а также методы работы менеджеров. Определение путей повышения эффективности управления предприятиями на основе применения современных информационных технологий является актуальной проблемой.

Источниками информации послужили материалы, собранные на предприятии ОАО «Спектр»; учебные пособия; сводные аналитические обзоры; периодические издания и ресурсы сети Internet.

Полученные результаты в дальнейшем могут быть использованы при формировании стратегии снижения издержек предприятия, при разработке программ развития предприятия.

Глава 1.     Основные направления деятельности предприятия ОАО «Спектр»


1.1    Общие сведения о компании ОАО «Спектр»


Наименование объекта: ОАО «Спектр».

Организационно-правовая форма: Открытое акционерное общество.

Отраслевая принадлежность: машиностроительная отрасль.

Краткая история возникновения и развития объекта:

Завод «Спектр» основан в 1978 году для производства видеотехники. В 1992 году на базе завода было создано открытое акционерное общество.

В процессе приватизации всё имущество и земля, общей площадью 11 га, выкуплены обществом полностью, 4,7 га площади свободны от построек, подготовлены к продаже (аренде). Предприятие частное. Контрольным пакетом акций владеет Совет директоров ОАО «Спектр».

ОАО «Спектр» имеет большой опыт в разработке и изготовлении тепловентиляторов, насосов различных модификаций, трансформаторов, магнитопроводов, блоков питания, автоматических зарядных устройств для малогабаритных аккумуляторов, обогревательных электропечей, почтовых ящиков, изделий из пластмасс, изготавливает штампы и пресс-формы в инструментальном производстве. Цех металлообработки имеет участки холодной штамповки, механической обработки, изготовления деталей из металлических порошков, сварки, порошковой покраски.

Объем производства и услуг за 2008 год составил 90,5 млн. р. Среднесписочная численность персонала - 200 человек. Завод расположен в центре Великого Новгорода, на трассе между Санкт-Петербургом и Москвой, на расстоянии 180 километров от Санкт-Петербурга.

Бухгалтерский Баланс на 31 Декабря 2009 г. находится в Приложение 1. Отчет о Прибылях и Убытках за период с 1 Января по 31 Декабря 2009 г. находится в Приложение 2.

Основные виды деятельности

ОАО «Спектр» обладает широкими возможностями по переработке полистиролов, полиамидов, полиэтиленов, полипропиленов различных марок. Парк термопласт-автоматов обеспечивает качественное изготовление деталей в довольно широком диапазоне.

В производстве витых магнитопроводов для получения качественных изделий, особое внимание уделяется высокой повторяемости и точности исполнения геометрических размеров.

Две конвейерные линии обеспечены всеми необходимыми контрольно-измерительными приборами для производства бытовой телевизионной техники.

ОАО «Спектр» оказывает услуги по разработке конструкторской документации на штампы и пресс-формы, а также проводит климатические и механические испытания.

Компания ОАО «Спектр» оснащена современным оборудованием для проведения испытаний изделий.

Основные направления деятельности:

·        производство трансформаторов, магнитопроводов, блоков питания, зарядных устройств;

·        производство товаров народного потребления: почтовых ящиков, электропечей обогревательных, желобов для кабельных систем, ящичной продукции;

·        производство изделий из металлических порошков;

·        изготовление оснастки, штампов, пресс-форм;

·        холодноштамповочное производство, сварка, гибка, порошковая покраска;

·        механическая обработка деталей;

·        оказание услуг по климатическим и механическим испытаниям.

Основные потребители

Основными потребителями трансформаторного производства ОАО «Спектр» являются заводы, производящие радио- и другие электроприборы различного применения: медицинского, промышленного, бытового.

Потребителями теплоприборов являются крупные оптовые базы, которые занимаются продажей бытовых теплоприборов.

Основные потребители продукции ОАО «Спектр» находятся в Москве и Санкт-Петербурге, потребителями трансформаторного производства являются очень многие города России, в том числе Нижний Новгород, Новосибирск.

Примеры потребителей:

·        ОАО «Елатомский приборный завод» (г. Елатьма Рязанской области);

·        ФГУП «Калужский завод телеграфной аппаратуры» (г. Калуга);

·        ООО «МПП ВЭРС» (г. Новосибирск);

·        ООО «ЭЛМА» (г. Псков).

За границу продукция ОАО «Спектр» не поставляется.

Основные конкуренты

Кроме ОАО «Спектр» по тематике Трансформаторное производство существует еще 8 заводов в России, в частности:

·        ОАО «Уралэлектротяжмаш»;

·        ОАО «Электрозавод»;

·        ОАО «Электросила»;

·        ООО «Тольяттинский трансформатор».

На август 2009 года доля ОАО «Спектр» на Российском рынке трансформаторного производства составляет 3%. В Великом Новгороде доля предприятия составляет 10%.

Аналогичных заводов по производству витых магнитопроводов в России 5, процент ОАО «Спектр» на Российском рынке составляет 7%. В Великом Новгороде 3 аналогичных завода, крупнейший - ОАО «Трансвит». Доля ОАО «Спектр» на рынке витых магнитопроводов Великого Новгорода составляет 10%.

В Северо-Западном регионе присутствуют 5 конкурирующих предприятий по производству теплоприборов, доля ОАО «Спектр» менее 1%.

Сборочное производство на ОАО «Спектр» простаивает.

По пластмассовому производству в Великом Новгороде 2 конкурирующих завода:

·        ООО «Амкор Флексиблз Новгород»;

·        ОАО «Новгородский завод стекловолокна».

Доля ОАО «Спектр» на рынке пластмассовых изделий Великого Новгорода составляет 22%.

Описание организационной структуры

Предприятие является акционерным обществом открытого типа, высшим руководящим органом является Собрание Акционеров. Контрольным пакетом акций владеет Совет Директоров предприятия. Исполнительным органом является Генеральный директор, действующий на основании Устава и Контракта.

Главный инженер занимается техническим и энергетическим обеспечением деятельности предприятия.

Энергомеханический отдел отвечает за:

·        обслуживание:

o   электросетей;

o   теплосетей;

o   сетей связи;

·        пусконаладку и обслуживание производственного оборудования.

Общий отдел занимается:

·        хозяйственным обеспечением деятельности предприятия;

·        ремонтно-строительными работами;

·        уборкой территорий, помещений.

Рис. 1. Организационная структура ОАО «Спектр»

На Рис. 2 показана структура отделов и цехов предприятия.

Рис. 2. Структура подразделений ОАО «Спектр»

 

1.2    Имеющиеся на предприятии вычислительные и программные средства


Каждый отдел предприятия оборудован как минимум одним IBM PC-совместимым компьютером. Имеющиеся компьютеры не являются высокопроизводительными:

·        Частота процессора, как правило, составляет 433,0 МГц;

·        Наиболее часто встречающийся объем оперативной памяти - 128 Мб.

На каждом компьютере установлены:

·        Операционная система Windows 2000 или более поздней версии;

·        Пакет прикладных программ Microsoft Office 2000 или более поздней версии, включающий:

o   Microsoft Access;

o   Microsoft Excel;

o   Microsoft Word;

·        Менеджер электронных сообщений Microsoft Outlook Express.

На предприятии функционирует проводная локальная сеть типа Ethernet. Предприятие не имеет в своем штате системного администратора, обслуживание и настройку сети производит наемная фирма.

Как минимум один компьютер в каждом отделе имеет доступ к локальной сети предприятия. На выделенном компьютере организована папка с открытым сетевым доступом. Ряду пользователей открыт общий доступ для работы с этой папкой. В папке находятся офисные файлы, содержащие планы оргтехмероприятий. Часть планов выполнена в формате документов Word, большинство планов выполнено в формате Excel.

Большинство компьютеров в отделах предприятия не имеет доступа в интернет.

В Таблица 1 приведен перечень средств вычислительной техники для некоторых отделов предприятия.

Таблица 1.

Перечень средств вычислительной техники ОАО «Спектр»


Обмен документами и другой информацией между компьютерами осуществляется посредством одноранговой локальной сети. Полный перечень абонентов локальной сети приведен в Таблица 2.

Таблица 2.

Перечень абонентов локальной сети ОАО «Спектр»

Пользователь

Сетевое имя

Электронный адрес

1.

Генеральный директор

direktor

direktor@spectr.center

2.

Главный инженер

glavniyinzhener

glavniyinzhener@spectr.center

3.

Приемная

priemnaya

priemnaya@spectr.center

4.

ФЭО

feo

feo@spectr.center

5.

Коммерсанты

kommersanti

kommersanti@spectr.center

6.

Главный бухгалтер

glavgalteriy

glavgalteriy@spectr.center

7.

Бухгалтерия

buhgalteriya

buhgalteriya@spectr.center

8.

Начальник производства

proizvodstvo

proizvodstvo@spectr.center

9.

ПДО

pdo

pdo@spectr.center

10.

Технический отдел

tehnicheskiy

tehnicheskiy@spectr.center

11.

Отдел кадров

otdelkadrov

otdelkadrov@spectr.center

12.

ЭМО

ogm

ogm@spectr.center

13.

ОМ

om

om@spectr.center

14.

Трансформаторный цех

tc

tc@spectr.center

15.

Сборочный цех

sbc

sbc@spectr.center

16.

Цех металлообработки

cmo

cmo@spectr.center

17.

Цех пластмассовых изделий

cpi

cpi@spectr.center

18.

Юрист

urist

urist@spectr.center

19.

Общий отдел

oo

oo@spectr.center

20.

ГрТБиЭ

gtb

priemnaya@spectr.center

21.

Служба охраны и ПБ

coipb

priemnaya@spectr.center

22.

Котельная

cotelnaya

priemnaya@spectr.center

 

1.3    Схема принятого в компании бизнес-процесса планирования организационно-технических мероприятий

 

Описание бизнес-процессов на объекте информатизации

Для выявления и анализа проблем в деятельности объекта были смоделированы существующие бизнес-процессы планирования мероприятий организационно-технического направления.

Следует отделить рассматриваемую проблему планирования оргтехмероприятий от проблем основной деятельности предприятия. Мероприятия, входящие в организационно-технические планы, носят обслуживающий, вспомогательный характер. Основная деятельность предприятия по производству продукции хорошо отлажена и структурирована, персонал в своей работе руководствуется должностными инструкциями и профессиональными знаниями. В свою очередь оргтехмероприятия характеризуются большой степенью неопределенности порядка их выполнения, способом их организации и распределения ответственности. Для большинства сотрудников данные работы являются не основными, они четко не определены существующими документами, носят разовый, случайный характер, что требует повышенного внимания при их организации. В настоящее время на предприятии ведется особенно большой объем оргтехмероприятий, связанных с реструктуризацией, реорганизацией, модернизацией завода.

Для организации оргтехмероприятий на заводе имеется два вида общезаводских планов оргтехмероприятий:

·        Постояннодействующий;

·        Разовый.

Постояннодействующие планы существуют постоянно, формируются на один год, утверждаются на совещании завода. Совещания проводятся в соответствии с утвержденным графиком проведения совещаний (в зависимости от плана ежемесячно, ежеквартально или ежегодно). Пример графика проведения совещаний на январь 2008 года приведен в Приложение 3. На совещании проводится обсуждение итогов по пунктам плана, принятых ранее, а также обсуждение корректировок по предстоящим пунктам плана и добавление новых пунктов. В процессе совещания сотрудник экономического отдела ведет протокол совещания. По итогам совещания протокол является основанием для внесения корректировок в планы оргтехмероприятий. Фрагмент общезаводского плана представлен в Приложение 4.

В обязанности экономиста входит ознакомление начальников отделов (исполнителей мероприятия согласно плану) со всеми корректировками и новыми пунктами, в которых этот начальник отдела является исполнителем.

Также экономист производит контроль выполнения мероприятий.

В случаях, если для выполнения заявки исполнителю требуется привлечь другие отделы, он подает служебную записку генеральному директору. В случае ее утверждения генеральный директор дает соответствующее указание требуемой службе.

Начальник отдела, определенный в качестве заказчика мероприятия, отчитывается о выполнении мероприятий на регулярных коротких рабочих совещаниях, посвященных ходу выполнения плана. Причем докладывается факт выполнения или невыполнения мероприятия только после наступления даты, не позднее которой мероприятие должно было быть выполнено.

К числу постояннодействующих планов относятся следующие планы:

·        План сертификации предприятия;

·        Бюджет по отгрузке, оплате и видам деятельности;

·        План мероприятий по охране труда;

·        План оргтехмероприятий по охране окружающей среды;

·        Мероприятия по содержанию опасных производственных объектов;

·        План мероприятий по пожарной безопасности и др.

Разовые планы утверждаются для координирования и согласования мероприятий разового характера. Перечень разовых планов изменяется в соответствии с потребностями предприятия. В остальном процесс планирования разовых мероприятий схож с постояннодействующими планами. Примеры разовых планов:

·        План мероприятий по организации цеха металлообработки на площадях корпуса №5 (ПИ-18);

·        План мероприятий по переводу цеха трансформаторного производства на производственные площади в корп. №2 и др.

Разовые и постояннодействующие планы являются общезаводскими. Мероприятия в этих планах могут затрагивать любой отдел предприятия.

На основании общезаводских (постояннодействующих и разовых) планов каждый отдел предприятия формирует месячный план оргтехмероприятий. В этот план входят мероприятия из общезаводских планов, для которых:

.        Исполнителем заявки является данный отдел;

.        Срок исполнения заявки принадлежит данному месяцу.

Выборка таких мероприятий и формирование месячных планов на основе общезаводских производится в ручном режиме, без использования автоматизирующих программных средств.

1.4    Обоснование необходимости проектирования информационной системы планирования организационно-технических мероприятий


Существующая на предприятии система организации выполнения оргтехмероприятий не совершенна.

В соответствии со сложившейся структурой, для того, чтобы решить какую-либо проблему организационно-технического характера, начальник отдела подает служебную или докладную записку руководителю предприятия. Когда руководитель сочтет проблему актуальной, он созывает совещание для обсуждения этой проблемы. По итогам совещания заявка может быть включена в план, после чего исполнитель приступит к выполнению работы.

Такая схема приводит к проблемам, типичным для класса линейных организационных структур:

·        Низкая ответственность и инициативность персонала. Вся ответственность и инициатива перекладывается на руководство;

·        Инерционность и отсутствие оперативности в принятии решений;

·        Нерациональное использование трудовых и финансовых ресурсов предприятия.

В процессе анализа существующего положения был выявлен ряд частных проблем:

.        Отдел не может поручить работу другому отделу напрямую. Включение мероприятий в планы происходит только по итогам совещания либо по указанию генерального директора. Время от появления проблемы до выполнения работы по ее решению очень велико. Заявки на работы, поступившие в данном месяце, могут быть включены в план только в следующем месяце.

.        В случае если исполнителю для выполнения порученного ему мероприятия требуется привлечь другой отдел, для этого также необходимо обратиться к генеральному директору. В то же время исполнитель не контролирует, выполнил ли другой отдел это мероприятие. Заявки, требующие взаимодействия отделов, не выполняются в срок без участия генерального директора.

.        При составлении планов не учитывается стоимость мероприятий и бюджет отделов. Не учитывается приоритетность рассматриваемой заявки перед другими. Как следствие, стоимостный объем запланированных мероприятий во много раз превышает возможности завода.

.        Не формируются выборочные планы по отделам. Исполнители не имеют представления об объеме работ, запланированном для их отделов на данный период. Вследствие отсутствия такой информации работы распределяются неравномерно и нерационально: на короткий период времени может быть запланировано слишком много работы одному отделу. Как следствие, такие работы не выполняются в срок.

.        Учет выполненных и невыполненных в срок мероприятиях проходит только на совещаниях в соответствии с графиком проведения совещаний. Текущего и промежуточного контроля выполнения оргтехмероприятий не производится. До наступления срока, до которого должна быть выполнена заявка, не производится учет, какая часть работы выполнена.

.        Контроль исполнения заявок производит сотрудник планово-экономического отдела, а не заказчик. Он может не обладать требуемыми знаниями в предметной области, чтобы достоверно определить полноту и качество исполнения заявки. Исполнитель и заказчик не чувствуют ответственности за неисполнение заявок.

В целом существующая система планирования характеризуется слабой структурированностью, отсутствием горизонтальных взаимодействий отделов предприятия. Функционирующая система отчетности не позволяет в реальном времени получить адекватную оценку выполнения планов. Бόльшая часть мероприятий не выполняется в срок.

Составление бумажных планов и доведение их до сведения исполнителей требует значительных временны́х затрат.

Итак, проблемами, требующими решения, являются:

.        Несоответствие объема подаваемых заявок возможностям предприятия;

.        Невозможность исполнителей организовать работу соисполнителей;

.        Невозможность контроля исполнения заявок в текущем времени;

.        Значительное время от подачи до выполнения заявки;

.        Невозможность текущего изменения принятых планов;

.        Невозможность предоставления исполнителям и заказчикам информации о заявках в реальном времени;

.        Низкая ответственность исполнителей.

Глава 2.     Проектирование информационной системы планирования организационно-технических мероприятий


2.1 Постановка задач для информационной системы планирования организационно-технических мероприятий


Задача, поставленная в рамках информатизации деятельности предприятия, - проектирование информационной системы планирования хозяйственных организационно-технических мероприятий.

В соответствии с проведенным анализом существующего положения предприятия и выявленными проблемами в его деятельности перед информационной системой поставлены следующие задачи:

·        ведение учета заявок оргтехмероприятий;

·        согласование заявок между Заказчиком и Исполнителем без участия руководства;

·        контролирование лимитов Заказчиков и Исполнителей бюджета и трудового ресурса;

·        возможность сортировки и фильтрации заявок по всем признакам;

·        автоматическая генерация планов всех видов и для всех отделов;

·        обеспечение должного уровня безопасности информации.

Рассмотрим описание каждой задачи более подробно:

.        Ведение учета заявок мероприятий. Система должна позволять хранить все активные заявки на мероприятия и все их реквизиты.

.        Согласование заявок между Заказчиком и Исполнителем без участия руководства. Система должна позволять исполнителю видеть заявки, оставленные в его адрес. Исполнитель и заказчик должны иметь возможность откорректировать в заявке такие атрибуты, как «Срок исполнения заявки», «Приоритет», «Трудоемкость Н\Ч», «Сумма финансирования».

.        Контролирование лимитов Заказчиков и Исполнителей бюджета и трудового ресурса. В систему должны быть введены сведения о максимально возможном объеме заявок на данный период в денежном и трудовом выражении. При вводе новой заявки система должна осуществлять контроль соблюдения лимита стоимости и трудоемкости запланированных мероприятий на данный период.

.        Возможность сортировки и фильтрации заявок по всем признакам. В системе должна быть предусмотрена возможность просмотра заявок с последующей сортировкой и фильтрацией по любым атрибутам заявки.

.        Автоматическая генерация планов всех видов и для всех отделов. На основании введенной первичной информации система должна генерировать планы для всех отделов на любой требуемый период времени.

.        Обеспечение должного уровня безопасности информации. Система должна разграничивать права пользователей. Нужно предусмотреть парольную аутентификацию. Параметры заявки должен изменять только заявитель или исполнитель. Утверждать заявку должен только генеральный директор. Заказчик должен оставлять заявку только от своего имени.

2.2 Разработка алгоритма решения поставленных задач


Для решения задач, поставленных в п.2.1, предлагается произвести реинжиниринг бизнес-процесса по ведению планов оргтехмероприятий. Таким образом, необходимо провести переосмысление и перепроектирование бизнес-процесса для достижения улучшений в показателях деятельности предприятия: сроках, качестве, затратах.

Идея, предлагаемая в качестве решения выявленных проблем, состоит в реорганизации системы административного управления предприятием. На сегодняшний день взаимодействие отделов строится на сугубо иерархичных, вертикальных принципах функционирования.

Требуется наладить горизонтальное взаимодействие отделов предприятия между собой. Начальники отделов должны быть заинтересованы в качественном и своевременном выполнении мероприятий, чувствовать ответственность за неисполнение планов. Для этого заказчики должны самостоятельно оценивать приоритетность задач, а также имеющиеся трудовые и финансовые ресурсы перед подачей заявки исполнителю.

В соответствии с предлагаемой концепцией необходимо:

.        Организовать процесс согласования мероприятий напрямую между заказчиком и исполнителем, без участия генерального директора. Это позволит значительно ускорить процесс принятия решения о мероприятии и его параметрах. В то же время это не приведет к бесконтрольному появлению заявок, так как заявка попадает в план только после утверждения генеральным директором.

.        Возложить функции контроля за исполнением заявок на начальников отделов, являющихся заказчиками мероприятий. Таким образом, проверку качества и сроков выполнения заявки будет выполнять непосредственно заинтересованное лицо. Необходимо также возложить ответственность за исполнение мероприятий на заказчиков мероприятий, а не на исполнителей. В этом случае заказчик не станет подавать излишние низко приоритетные заявки.

.        Определить лимиты денежных и трудовых ресурсов отделов, определить приоритеты между различными планами. Это позволит адекватно оценивать возможности отделов и вынудит рационально расставлять приоритеты между задачами, что в свою очередь позволит избежать планирования излишних мероприятий.

.        Материально мотивировать начальников отделов к исполнению плана. Наличие неисполненных в срок заявок должно отражаться на размере премии отдела.

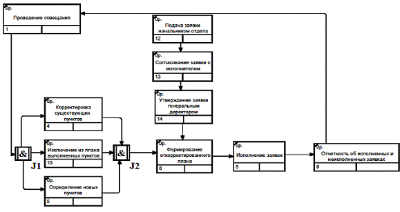
В результате реинжиниринга бизнес-процесс по ведению общезаводских планов примет вид, представленный на Рис. 4.

Рис. 4. Бизнес-процесс по ведению общезаводских планов после реинжиниринга

Для решения некоторых из приведенных задач требуется привлечение мер административно-организационного характера (например, внесение изменений в положение о премирование). Остальные вопросы позволит решить внедрение информационной системы на предприятии.

Проектируемая информационная система должна состоять из двух подсистем:

.        Подсистема формирования планов и отчетов.

.        Подсистема организации взаимодействия отделов.

Подсистема организации совместной работы подразделений предприятия функционирует по алгоритму, представленному на Рис. 5.

Алгоритм работы подсистемы составлен в соответствии с этапами жизненного цикла заявки:

.        Подача заявок.

.        Согласование заявок.

.        Редактирование заявок.

.        Утверждение заявок.

.        Исполнение заявок.

Рис. 5. Алгоритм работы подсистемы организации взаимодействия отделов

2.3 Проектирование пользовательского интерфейса и главного меню


Порядок проектирования меню предусматривает следующую последовательность работ:

.        проектирование содержания меню;

.        проектирование формы меню;

.        программное обеспечение меню.

Проектирование содержания меню требует изучения предметной области и обоснования состава задач, образующих функциональную часть системы, и их иерархической взаимосвязи. Для этого требуется выяснить должностные обязанности пользователя системы, которые зависят от назначений подразделения, в котором он работает.

Согласно стандарту CUA (Common User Access) при проектировании меню необходимо придерживаться следующих правил:

1.      Количество уровней в меню должно быть не более 2-3.

2.      Пользователь должен знать, в какой точке иерархического меню он находится, то есть следы предыдущих уровней должны оставаться.

3.      Пункты меню не нумеруются.

4.      Название пунктов меню должно быть коротким.

5.      Пункты, к которым часто обращаются, должны быть расположены в начале меню.

6.      Логически взаимосвязанные пункты всплывающего меню объединяются в группы и могут получить свои подзаголовки.

Схема меню для проектируемой информационной системы представлена на Рис. 6.

Рис. 6. Схема меню проектируемой информационной системы

2.4    Проектирование форм входной и выходной информации


Порядок проектирования экранной формы подразумевает следующие этапы:

.        проектирование содержания экранной формы;

.        проектирование ее формы представления (формы экрана);

.        программное обеспечение экранной формы.

Проектирование сценария диалогового режима решения задачи состоит в разработке взаимосвязанной последовательности экранных форм и правил перехода между ними.

Следует обратить особое внимание на контроль правильности вводимой информации, поскольку основная доля ошибок происходит по вине пользователя, а не машины. Универсальным методом контроля является визуальный контроль. Для этого необходимо предусмотреть предварительный ввод информации во временные переменные, иначе исправление ошибки потребует корректировки файла. Контроль количественных реквизитов может состоять в проверке на соответствие области допустимых значений. Повышение достоверности при вводе реквизитов-признаков может быть достигнуто за счет того, что они не вводятся с клавиатуры, а выбираются из предложенного на экране списка.

Информация на экране размещается в четырех зонах.

1.      Заголовок экранной формы содержит ее наименование и характеризует путь к ней по иерархическому меню. Обычно заголовок располагается в верхней строке экрана.

2.      Предметная часть экранной формы предназначена для размещения вводимой или выводимой информации, идентификаторов объектов, значений показателей, параметров обработки и выборки и т.д. Предметная часть строится по анкетной, зональной или табличной форме. Рекомендуется форму предметной части для ввода информации проектировать по аналогии с формой первичного документа. Конечному пользователю удобнее работать с такой экранной формой, которая напоминает ему первичную форму бумажного документа.

3.      Зона управляющих элементов включает в себя различные виды меню. Это зона действий (транзакций) конечного пользователя.

4.      Зона сообщений содержит подсказки и сообщения об ошибках. Обычно она занимает нижнюю строку экрана.

Для выполнения поставленных задач информационной системе требуется следующая входная информация:

.        Информация об отделах предприятия: Полное наименование, Сокращенное наименование, Фамилия руководителя, Имя руководителя, Отчество руководителя, Телефон городской, Телефон местный, Электронная почта, Бюджет исполнителя, Нормо-часы исполнителя, Бюджет заказчика, Нормо-часы заказчика.

.        Информация о категориях всех видов планов: Вид плана, Сокращенное наименование вида плана, Тип плана, Сокращенное наименование типа плана, Раздел плана, Сокращенное наименование раздела плана, Ответственный.

.        Информация о заявках на мероприятия: Вид плана, Тип плана, Раздел плана, Наименование выполняемых работ, Заказчик, Исполнитель, Дата поступления заявки, Дата включения в план, Срок исполнения заявки, Приоритет, Трудоемкость Н\Ч, Сумма финансирования, Согласовано, Утверждено, % выполнения, Дата выполнения, Примечание.

В результате своей работы система должна предоставлять следующую выходную информацию:

.        Список заявок на мероприятия со всеми реквизитами с возможностью их сортировки и фильтрации по всем реквизитам.

.        Список заявок, ожидающих согласования с конкретным исполнителем.

.        Список заявок, готовых к утверждению генеральным директором.

.        Список заявок, ожидающих исполнения конкретным исполнителем.

.        Планы мероприятий всех видов и отчеты в соответствии с формами, утвержденными на предприятии:

·        Постояннодействующие общезаводские планы;

·        Разовые общезаводские планы;

·        Ежемесячные планы по отделам;

·        Отчеты о завершенных заявках по исполнителям;

·        Отчеты о незавершенных заявках по исполнителям;

·        Отчеты о завершенных заявках по заказчикам;

·        Отчеты о незавершенных заявках по заказчикам;

·        Отчеты о выполнении заявок по всему предприятию.

2.5 Проектирование структуры базы данных информационной системы


Для функционирования проектируемой информационной системы необходимы следующие таблицы:

·        Подразделения;

·        Вид плана;

·        План;

·        Раздел плана;

·        Планы и разделы;

·        План мероприятий.

В таблице «Подразделения» хранится информация обо всех структурных единицах предприятия, включающая наименование подразделения, данные о руководителе, контактную информацию, а также информацию о лимитах суммы финансирования и трудоемкости, доступных для заказа. Структура таблицы «Подразделения» приведена в Таблица 3.

Таблица 3.

Структура таблицы «Подразделения»

Имя поля

Тип данных

Размер поля (байт)

Ключевое поле

ID

Счетчик

8

Ключевое поле

Сокращенное наименование

Текстовый

3


Полное наименование

Текстовый

50


Фамилия руководителя

Текстовый

20


Имя руководителя

Текстовый

20


Отчество руководителя

Текстовый

20


Телефон городской

Текстовый

8


Телефон местный

5


Электронная почта

Текстовый

50


Бюджет исполнителя

Денежный

8


Нормо-часы исполнителя

Числовой

8


Бюджет заказчика

Денежный

8


Нормо-часы заказчика

Числовой

8



В таблице «Вид плана» содержится информация о том, какие разновидности планов имеются на предприятии. Для каждой разновидности плана указано полное и сокращенное наименование вида плана. Структура таблицы «Вид плана» приведена в Таблица 4.

Таблица 4.

Структура таблицы «Вид плана»

Имя поля

Тип данных

Размер поля (байт)

Ключевое поле

ID

Счетчик

8

Ключевое поле

Наименование

Текстовый

50


Сокращенное наименование

Текстовый

3



В таблице «План         » представлена информация об имеющихся на предприятии планах. Для каждого плана указано полное и сокращенное наименование плана, ID вида плана, фамилия ответственного. Структура таблицы «План» приведена в Таблица 5.

Таблица 5.

Структура таблицы «План»

Имя поля

Тип данных

Размер поля (байт)

Ключевое поле

ID

Счетчик

8

Ключевое поле

ID вида

Числовой

8


Наименование

Текстовый

255


Сокращенное наименование

Текстовый

40


Ответственный

Текстовый

25



Таблица «Раздел плана» содержит названия разделов планов, применяемых на предприятии. Для каждого раздела указано полное и сокращенное наименование раздела. Структура таблицы «Раздел плана» приведена в Таблица 6.

Таблица 6.

Структура таблицы «Раздел плана»

Имя поля

Тип данных

Размер поля (байт)

Ключевое поле

ID

Счетчик

8

Ключевое поле

Наименование

Текстовый

255


Сокращенное наименование

Текстовый

60



В таблице «Планы и разделы» содержится информация о соответствии разделов конкретным планам. Структура таблицы «Планы и разделы» представлена в Таблица 7.

Таблица 7.

Структура таблицы «Планы и разделы»

Имя поля

Тип данных

Размер поля (байт)

Ключевое поле

ID

Счетчик

8

Ключевое поле

ID плана

Числовой

8


ID раздела

Числовой

8


Таблица «План мероприятий» непосредственно содержит всю информацию о заявках на мероприятия организационно-технического характера. Для каждой заявки указывается, в какой план она входит, какой отдел является исполнителем и заказчиком для данной заявки, какие работы и в какой срок нужно произвести. В этой таблице также указывается и процент выполнения каждой заявки. Структура таблицы «План мероприятий» приведена в Таблица 8Таблица 9.

Таблица 8.

Структура таблицы «План мероприятий»

Имя поля

Тип данных

Размер поля(байт)

Ключевое поле

ID

Счетчик

8

Ключевое поле

ID плана и раздела

Числовой

8


Наименование выполняемых работ

Текстовый

255


ID заказчика

Числовой

8


ID исполнителя

Числовой

8


Дата поступления заявки

Дата/время

8


Дата включения в план

Дата/время

8


Срок исполнения заявки

Дата/время

8


Приоритет

Числовой

8


Трудоемкость Н\Ч

Числовой

8


Сумма финансирования

Денежный

8


Согласовано

Логический

1


Утверждено

Логический

1


% выполнения

Числовой

8


Дата выполнения

Дата/время

8


Примечание

Текстовый

255



Таблицы, представленные выше, удовлетворяют условиям 3-й нормальной формы, поскольку все неключевые атрибуты этих таблиц взаимонезависимы и полностью зависят от первичных ключей.

Структура базы данных для проектируемой информационной системы представлена на Рис. 7.

Таблица «План мероприятий» связана с таблицей «Планы и разделы» по полю «ID раздела и плана» отношением типа «один ко многим». Также таблица «План мероприятий» связана по полю «ID заказчика» с экземпляром таблицы «Подразделения» отношением типа «один ко многим». Аналогично таблица «План мероприятий» связана по полю «ID исполнителя» с экземпляром таблицы «Подразделения» отношением типа «один ко многим». Таблица «Вид плана» связана по полю «ID» с таблицей «План» по полю «ID вида» отношением типа «один ко многим». Таблица «Планы и разделы» связана по полю «ID плана» с таблицей «План» по полю «ID» отношением типа «один ко многим». Аналогично таблица «Планы и разделы» связана по полю «ID раздела» с таблицей «Раздел» по полю «ID» отношением типа «один ко многим».

Глава 3.     Программная реализация информационной системы планирования организационно-технических мероприятий и расчет показателей экономической эффективности


3.1    Обоснование выбора программных и технических средств для проектирования информационной системы


Как известно, существует четыре пути внедрения информационной системы:

·        приобретение готового проектного решения (типового пакета прикладных программ);

·        адаптация существующего проектного решения;

·        разработка нового проекта силами сторонней организации;

·        разработка нового проекта силами сотрудников самой фирмы.

На рынке информационных систем представлено несколько вариантов продуктов, способных после соответствующей адаптации решить поставленные задачи. Сравнительные характеристики этих продуктов приведены в Таблица 9.

Таблица 9.

Информационные системы, представленные на российском рынке

Решение

Срок внедрения

Стоимость внедрения

Примеры внедрений в России

Microsoft Axapta, Navision

6 мес. - 2 года и более

В среднем стоимость решения на одно рабочее место - $3,5 тыс. Стоимость внедрения составляет 100-250% стоимости решения.

Останкинский молочный комбинат, МВО, "Юнимилк", РУССО, "Интерспорт", "Ростелеком", книжная сеть "Буквоед", аэропорт "Кольцово" и др.

iScala

3 мес. - 1,5 года и более

Cредняя стоимость iScala 2.1 составляет $2-5 тыс. за одно рабочее место.

"Электроизделия", "Соник Дуо", TETRA PAK-Кубань, фабрика "Большевик", Челябинский электро-металлургический комбинат.

MFG/PRO

3 мес. - 1,5 года и более

Стоимость лицензии на одно рабочее место $2-5 тыс. в зависимости от конфигурации. Внедрение обходится в 100-200% этой суммы.

"Кока-Кола" (Москва), НПК "БЫСТРОВ", "Электромеханика", "Gillette" (Санкт-Петербург), Kraft Foods (Санкт-Петербург), Пивоваренный завод "Браво".

J.D.Edwards OneWorld

7 мес. - 1,5 года и более

Cтоимость рабочего места OneWorld варьируется от $400 до $4000.

Торговый Дом ГУМ, завод Caterpillar (Тосно), холдинг "Рамзай", "Лаверна" и др.

SyteLine ERP

6 - 9 месяцев и более.

Стоимость лицензии на одно рабочее место $2-4 тыс. Примерно во столько же обойдется внедрение.

Воронежская кондитерская фабрика, "Компрессорный комплекс", "Иркутсккабель", Полиграфический комплекс "Пушкинская площадь", группа "Метран".

Галактика

4 мес. - 1,5 года и более

В среднем лицензия обходится в $2 тыс. за одно рабочее место. Стоимость внедрения составляет около 100% этой суммы.

"Русский продукт", "Металлист - Пермские моторы", "Запсибгазпром", Красноармейский машиностроительный завод, Балтийская трубопроводная система.

"Парус"

4 мес. - 1 год и более

Стоимость лицензии на одно рабочее место $1-2 тыс. Стоимость внедрения 100-200% цены решения.

"Пензаэнерго", "НАСТА", "Татойл-Сервис", "Сибирский берег", Рязанский нефтеперерабатывающий завод и др.

"1С: Предприятие 8.0."

3 - 9 мес. и более

Лицензия на одно рабочее место $150-600. Стоимость внедрения на одно рабочее место $200-1000

"Торжокский вагоностроительный завод", "Цветлит", "Плитпром", "Карельский окатыш", "Остров", "НИИЭФА-ЭНЕРГО" и др.

Однако поставленная задача для информационной системы отличается узкой направленностью и специфичностью. Исходя из стоимостных соображений, представляется нецелесообразным приобретать дорогое готовое решение с целью его последующей доработки. Искомая информационная система не направлена на автоматизацию основного вида деятельности предприятия, а значит, не принесет значительного сокращения денежных затрат в деятельности предприятия. В случае значительных материальных вложений в информационную систему она не окупит себя в разумные сроки. Единственным решением, доступным по стоимости лицензии и внедрения, является «1С: Предприятие».

Более подходящим вариантом является разработка новой системы силами сторонней организации или сотрудниками самой фирмы.

Существует несколько вариантов создания нового продукта в зависимости от выбранной технологии:

.        Разработка на базе технологий Oracle.

.        Разработка на базе технологий MySQL.

.        Разработка на базе технологий Microsoft SQL Server.

.        Разработка на базе технологий Microsoft Access.

.        Разработка на базе технологий Microsoft Excel.

СУБД Oracle содержит набор функций для разработки приложений, в том числе объектно-реляционные возможности SQL, программные интерфейсы PL/SQL и Java, предназначенные для написания хранимых процедур и триггеров. Oracle Database Enterprise Edition предоставляет функции для повышения производительности, масштабируемости, доступности и безопасности. Данный вариант позволяет решить поставленные задачи, однако предоставляет и множество избыточных функций. Кроме того, могут возникнуть трудности освоения этого проектного решения пользователями на объекте информатизации.- кроссплатформенная СУБД для создания малых и средних приложений. Работает как сервис на нескольких типах платформ, обеспечивая параллельный доступ пользователей к нескольким базам данных. MySQL поддерживает большое количество языков, таких как PHP, Perl, Java, Python и Ruby. В случае, когда требуется высокая скорость обработки информации для веб, игровых, средних или небольших хранилищ данных, MySQL превосходит остальные системы управления базами данных. Функциональная направленность данного варианта не в полной мере соответствует поставленной задаче.SQL Server - популярная СУБД, разработанная корпорацией Microsoft. Предназначена для создания различных по размеру баз данных, включая крупные базы данных масштаба предприятия. Используется в различных целях и на разных уровнях и помогает управлять приложениями быстро и эффективно. MS SQL Server создан для управления терабайтами данных, способный обрабатывать такие компоненты, как видео, фотографии, бинарные данные, текст, и многое другое. Эта технология способна решить все поставленные задачи, однако ее внедрение потребует модернизации технических вычислительных средств предприятия.Access - популярная файл-серверная СУБД, применимая для создания приложений малого размера. MS Access сочетает средства разработки программного обеспечения и механизм реляционной СУБД Microsoft Jet с удобным графическим интерфейсом. Это подходящее решение для создания ограниченных по размеру и количеству данных приложений.Excel - это популярная программа для работы с таблицами, предоставляющая возможности расчетов и графические инструменты. Она может применяться для введения численных значений или данных в строки или столбцы электронной таблицы, и для использования введённых значений для хранения и дальнейшей обработки. Программа содержит в себе такие функции как вычисление, средства для составления диаграмм, сводные таблицы и язык макропрограммирования под названием Visual Basic для приложений. Данная технология не предоставляет достаточного функционала для решения поставленных задач.

Для проведения сопоставительных технико-экономических расчетов были отобраны следующие возможные варианты информатизации:

.        Приобретение и адаптация системы «1С: Предприятие 8.0.»

.        Разработка собственного решения на базе Microsoft SQL Server.

.        Разработка собственного решения на базе Microsoft Access.

Сопоставляемые варианты различаются единовременными и эксплуатационными затратами.

Произведем сравнение по критерию минимума приведенных годовых затрат Пà min. Приведенные затраты определяются по формуле:

[р./год],

где:

 - годовые эксплуатационные затраты на решение задач управления в условиях соответствующего варианта информатизации [р./год];

 - единовременные затраты (капиталовложения), связанные с созданием и внедрением варианта информатизации [р.];

 - норма прибыли (информативная прибыльность), характеризующая отдачу от капиталовложений в соответствующей отрасли экономики [1/год].

При использовании данного метода основную проблему составляет определение корректного значения коэффициента , обеспечивающего приведение единовременных затрат к годовым затратам. На рассматриваемом предприятии принята норма прибыли Е=20%, начиная с которой инвестиционные проекты принимаются на рассмотрение.

Единовременные затраты, связанные с созданием и внедрением 1C:Предприятие 8.0 состоят из 20 лицензий и работ по адаптации и внедрению. Согласно текущим ценам (например, компании-дистрибьютора «1С:Бухучет и Торговля (БИТ)») полная стоимость составит примерно 210 000 р.

Единовременные затраты по разработке и внедрению решения на базе Microsoft SQL Server 2005 складываются из 20 лицензий и стоимости разработки клиентского приложения. По данным компании-дистрибьютора ООО «АЙТИ ПРОГРЕСС», полная стоимость может составить 120 000 р.

Единовременные затраты по созданию решения на базе Microsoft Access состоят только из стоимости разработки и внедрения и не включают стоимость лицензии, поскольку предприятие уже оснащено пакетом офисных программ, в состав которых входит Microsoft Access. Затраты на разработку и внедрение могут составить 30 000 р.

Годовые эксплуатационные затраты будут минимальны в случае приобретения готового решения (1С:Предприятие). Стоимость годовой эксплуатации зависит от количества обращений в службу технической поддержки компании 1С и может составлять 15 000 р.

Эксплуатационные затраты в случае разработки собственного решения на базе Microsoft SQL Server будут более значительными, так как при разработке собственной системы потребуется дальнейшая доработка и улучшение, требующее привлечение специалистов. Затраты могут составить 50 000 р. в год.

Затраты по эксплуатации решения на базе Microsoft Access будут менее значительными, так как технология Access является более простой и распространенной, чем SQL. Часть работ по улучшению и исправлению системы на базе Access предприятие сможет выполнять своими силами. Ежегодные затраты составят 20 000 р.

Финансовые показатели сведены в Таблица 10.

Таблица 10.

Сравнение затрат вариантов информатизации

Решение

Показатель


C

Е

К

П

15 000р.

20%

210 000р.

57 000р.

SQL

50 000р.

20%

120 000р.

74 000р.

Access

20 000р.

20%

30 000р.

26 000р.

Произведенные расчеты показывают, что наиболее подходящим вариантом является разработка собственного решения на базе технологии Access. Этот вариант информатизации позволяет не расходовать средства на лицензии по использованию программного обеспечения, а также не требует модернизации технической базы предприятия.

3.2    Программная реализация информационной системы

 

Общие параметры информационной системы

Информационная система имеет клиент-серверную архитектуру. Фактически роль сервера для данной информационной системы выполняет сервер предприятия ОАО «Спектр», на котором располагается общий сетевой ресурс, доступный для всей локальной сети предприятия. На общем сетевом ресурсе располагается файл базы данных Microsoft Access, который кроме данных содержит все экранные формы, отчеты и всю бизнес-логику информационной системы.

Для работы проектируемой информационной системы на клиентской машине необходимо наличие операционной системы Windows 2000 или более поздней версии. Минимальные требования к компьютеру сведены в Таблица 11.

Таблица 11.

Системные требования

Описание

Требования

1

Процессор

процессор с тактовой частотой не ниже 166 МГц

2

Оперативная память

Не менее 128 Mb

3

Объем места на HDD

Не менее 40 Mb

4

Установленные программы

Microsoft Office 2000






Запуск информационной системы осуществляется с помощью ярлыка, расположенного на рабочем столе клиентского компьютера, который ссылается на общий ресурс сервера предприятия. Ярлык имеет следующие параметры:

·        Наименование:             Запуск Базы АСП (автоматизированной системы планирования);

·        Рабочая папка:            Y:\Общие\АСП\;

·        Объект:

"C:\Program Files\Microsoft Office\OFFICE11\MSACCESS.EXE" "Y:\Общие \АСП\База АСП.mdb" /WRKGRP "Y:\Общие\АСП\Security.mdw".

Ссылка на объект и рабочую папку может варьироваться в зависимости от параметров установленного пакета Microsoft Office на клиентской машине, а именно:

.        Может отличаться путь к папке Microsoft Office, если пакет установлен не в папке Program Files.

.        Может отличаться путь внутри папки Microsoft Office в зависимости от версии пакета Microsoft Office:

·        для Microsoft Office 2000 - \Microsoft Office\Office9\;

·        для Microsoft Office 2002 - \Microsoft Office\Office10\;

·        для Microsoft Office 2003 - \Microsoft Office\Office11\;

·        для Microsoft Office 2007 - \Microsoft Office\Office12\;

.        Может отличаться буква сетевого диска, под которой сетевой ресурс подключен к клиентской машине.

Разграничение прав пользователей

После запуска информационной системы пользователю предлагается авторизоваться в системе.

Введенное имя определяет набор привилегий, выделяемых пользователю.

Защита базы данных Access, а именно разграничение прав пользователей информационной системы осуществляется посредством файла рабочей группы «Security.mdw». Этот файл содержит все сведения об объектах базы данных (таблицы, запросы, формы, отчеты), группах пользователей, пользователях, их паролях и правах.

В информационной системе существуют следующие группы пользователей:

.        Admins - в эту группу входит администратор базы данных, пользователи, входящие в эту группу обладают неограниченными правами. Администратор может создавать, изменять и удалять любые объекты базы данных, имеет права на чтение, изменение и удаление любых данных. Администратор имеет право на монопольный доступ к базе данных. Для разработки форм, отчетов, макросов и модулей в многопользовательской среде необходимо открывать базу данных Microsoft Access в монопольном режиме, для чего необходимо иметь разрешение «Монопольный доступ» для базы данных Microsoft Access.

.        Clients - в эту группу входят все пользователи информационной системы, в том числе начальники отделов предприятия. Эта группа предоставляет стандартные разрешения, как-то: открытие и запуск базы данных, чтение данных из таблиц «Подразделения» и «Категории общезаводских планов», чтение, обновление и вставка данных в таблицу «План мероприятий», открытие и запуск всех форм, открытие и запуск всех отчетов кроме отчета по всему предприятию. У членов этой группы нет права на монопольный доступ к базе данных, они не могут изменять макет существующих объектов или создавать новые объекты базы данных. Пользователи, входящие в эту группу, не могут добавлять, изменять, удалять данные о подразделениях и о категориях планов.

.        Privileged Users - в группу привилегированных пользователей входит директор предприятия и начальник финансово-экономического отдела. Пользователи этой группы обладают всеми правами группы Clients. В добавление к этим правам пользователи, входящие в эту группу, могут создавать новые таблицы и запросы, добавлять, изменять и удалять данные о подразделениях и категориях общезаводских планов. Пользователи, входящие в эту группу не могут изменять макет существующих таблиц и форм. В отличие от группы Clients у членов этой группы есть право на открытие и запуск Отчета по всему предприятию. Кроме того некоторые отличия в работе пользователей группы Privileged Users реализованы на уровне бизнес-логики базы данных, а не файла рабочей группы.

В группу Admins входит всего один пользователь - Администратор.

В группу Privileged Users входят пользователи: Директор; Менеджер.

В группу Clients входят пользователи со следующими именами: ГД; ГлБ; ГлИ; ИОС; ИТБ; КО; Кот; НП; ОК; ОМ; ОО; ПДО; СО; ТО; ТрУ; ФЭО; ЦМО; ЦТП; ЭМО; Юр.

В базе данных не зарегистрированы пользователи, не входящие в какую-либо их трех групп.

Главная форма меню информационной системы

После ввода имени и пароля пользователя открывается главная форма меню. В случае если текущий пользователь входит только в группу Clients и не входит в группы Admins и Privileged Users, то форма предоставит ему ограниченный функционал для работы с базой данных.

Если текущий пользователь входит в группу Admins либо группу Privileged Users, то форма представляет полный функционал для работы с базой данных. Дополнительно к стандартным функциям ему будут доступны следующие функции:

.        «Открыть таблицу» - позволяет открыть таблицу «План мероприятий» для работы с ней без ограничений, реализованных посредством бизнес-логики. В этом режиме возможен импорт и экспорт данных во внешние источники (например, в целях резервного копирования).

.        «Открыть сводную таблицу» - позволяет перейти в режим создания сводной таблицы на основе данных таблицы «План мероприятий». С помощью этого инструмента пользователь может оперативно сформировать любые числовые данные по организационно-технической деятельности предприятия в любом разрезе. На Рис. 10 представлена сводная таблица, отражающая сумму финансирования отделов предприятия в разрезе категорий планов на четвертый квартал 2009 года.

.        «Открыть диаграмму» - позволяет создать сводную диаграмму на основе любых данных из таблицы «План мероприятий». Этот режим предоставляет пользователю возможность оперативно формировать графические данные на основе информации о планах оргтехмероприятий. На Рис. 11 представлена диаграмма, отражающая суммарную трудоемкость по различным типам постояннодейтсвующих планов.

В соответствии со схемой меню информационной системы все режимы работы с системой разделены на два класса: просмотр информации и редактирование информации. Режимы, входящие в класс просмотра информации, предназначены для чтения данных, генерирования отчетов и планов. Режимы, входящие в класс редактирования информации, позволяют создавать новые заявки и вносить изменения в атрибуты существующих заявок.

Подсистема формирования планов и отчетов

При выборе режима «Просмотр» из главной формы информационной системы пользователю представляется форм просмотра информации о заявках, представленная на Рис. 13.

Заявки представлены в виде таблицы, в которой отражены все атрибуты, а именно вид плана, тип плана, раздел плана, наименование выполняемых работ, заказчик, исполнитель, дата поступления заявки, дата включения в план, срок исполнения заявки, приоритет, статус согласования, трудоемкость, сумма финансирования, статус утверждения, процент выполнения, дата выполнения, примечание. При перемещении курсора на заявку, поля внизу формы заполняются соответствующими значениями атрибутов выбранной заявки. Таким образом, пользователь может изучить атрибуты заявки в случае, если, например, наименование работ слишком длинное и отображается в таблице не полностью. Данные поля не позволяют изменить значения атрибутов заявки.

Под столбцами Трудоемкость и Сумма финансирования расположены поля, отражающие сумму соответствующих показателей для отображаемых заявок.

Отображаемые заявки могут быть отсортированы и отфильтрованы по любым атрибутам.

На данной форме пользователю также доступны кнопки «Распечатать план» и «Распечатать другие отчеты». С помощью элемента управления «Распечатать план» пользователь может сформировать любой из утвержденных на предприятии планов оргтехмероприятий.

Для формирования конкретного плана пользователю необходимо выбрать:

.        Вид плана (постояннодействующий, разовый или ежемесячный).

.        В случае, если выбран постояннодействующий или разовый план, необходимо выбрать конкретный тип плана (например, Сертификация, Дублирование оснастки, Отопительный сезон).

.        Выбрать год, для которого будет составляться план.

.        В случае, если выбран ежемесячный план работ, необходимо выбрать подразделение, для которого будет составляться план и месяц, на который будет составлен план.

Формирование планов оргтехмероприятий

Для генерации планов используются объекты базы данных Access «Отчет Месячный план мероприятий» и «Отчет План мероприятий».

В случае если пользователь формирует Ежемесячный план, то используется объект базы данных под названием «Отчет Месячный план мероприятий». Источником данных для этого отчета является SQL-запрос. В процессе выполнения этого запроса динамически определяются значения столбцов «Новые разделы» и «Новый тип плана». В процессе формирования плана все заявки, попадающие в этот план, делятся на разделы в зависимости от срока их исполнения:

.        Переносы - работы, которые должны были быть уже выполнены к началу действия плана. Заявка попадает в этот раздел, если срок ее исполнения наступает раньше, чем первое число месяца, на который составляется план.

.        Текущие работы - работы, которые должны быть выполнены в том месяце, на который составляется план. Заявка попадает в этот раздел, если срок ее исполнения находится в пределах месяца, на который составляется план.

.        Предстоящие работы - работы, которые запланированы на последующие месяцы. Заявка попадает в этот раздел в случае, если срок ее исполнения установлен позже, чем последнее число месяца, на который составляется план.

Наименование соответствующего заявке раздела указывается в столбце «Новые разделы». Столбец «Новый тип плана» содержит информацию об источнике данной заявки. В случае если она была подана в составе общезаводского плана, то этот столбец отображает наименование этого общезаводского плана. В случае если она была подана в рамках ежемесячного плана, то столбец сохраняет пометку «ЕЖМ». Благодаря этому есть возможность увидеть источник заявки, включенной в ежемесячный план работ отдела. К заявкам, отобранным в результате SQL-запроса, применяется фильтр, отбирающий только утвержденные директором заявки и только заявки для выбранного исполнителя на выбранный месяц. В отчете применена группировка по полю «Новые разделы», что позволяет сгруппировать вместе переносы, текущие и предстоящие работы. Пример плана, сформированного для Финансово-экономического отдела на февраль 2010 года, представлен на Рис. 17.

Рис. 17. Пример ежемесячного плана

Сформированный план содержит:

·        поле для утверждения плана генеральным директором;

·        название плана, содержащее наименование отдела и период, на который составлен план;

·        фамилию ответственного - руководителя отдела;

·        перечень мероприятий для исполнения данным отделом;

·        итоги по мероприятиям, входящим в раздел «Текущие работы»: общее количество заявок, суммарная трудоемкость, общая сумма финансирования;

·        справочные нормативы трудоемкости и суммы финансирования для данного отдела;

·        дату формирования плана.

В случае если пользователь формирует Постояннодействующий или Разовый план, то используется объект базы данных под названием «Отчет План мероприятий».

К заявкам, отобранным в результате SQL-запроса, применяется фильтр, отбирающий только утвержденные директором заявки и только заявки, входящие в выбранный план, со сроком исполнения в выбранном году. Пример сформированного постояннодействующего плана мероприятий по снижению затрат на 2009 год приведен на Рис. 18. Структура плана аналогична структуре ежемесячного плана.

Рис. 18. Пример постояннодействующего плана

 

Формирование отчетов по оргтехмероприятиям

Для формирования отчетов используется форма «Распечатать другие отчеты». Пользователю доступна возможность формирования двух видов отчетов: «О завершенных заявках» и «По всему предприятию».

Для формирования отчета о завершенных заявках используется объект базы данных «Отчет о завершенных заявках».

На Рис. 20 приведен пример отчета о завершенных заявках, в которых исполнителем является Производственно-диспетчерский отдел, за декабрь 2009 года.

Рис. 20. Пример отчета о завершенных заявках

Отчет по всему предприятию, пример которого приведен на Рис. 22, представляет пользователю консолидированную информацию о количестве и доле завершенных и незавершенных заявок по всем отделам. Отчет удобен тем, что позволяет отразить состояние выполнения заявок по всему заводу всего на одном листе. Для каждого подразделения отчет представляет сводную статистику по заказанным этим подразделением работам и по запланированным для этого подразделения работам. Для заказанных и запланированных работ рассчитывается:

.        Общее количество заявок.

.        Общая сумма финансирования заявок.

.        Количество невыполненных заявок.

.        Сумма финансирования невыполненных заявок.

.        Процент выполненных заявок по трудоемкости.

.        Процент выполненных заявок по стоимости.

В итогах отчета представлены те же параметры для всего предприятия. Итоговые значения этих шести атрибутов совпадают для запланированных работ и заказанных работ. Это свойство может использоваться для проверки правильности расчета показателей отчета.

Рис. 22. Пример отчета по всему предприятию

интерфейс меню информационный база данное

Подсистема организации взаимодействия отделов

В группе редактирования главной формы информационной системы представлен функционал для добавления заявок и изменения их атрибутов. Состав и расположение элементов управления в этой группе совпадает с этапами жизненного цикла заявки:

.        Подача заявок - добавление новой заявки в какой-либо план мероприятий.

.        Согласование заявок - после подачи заявки ее исполнитель ознакомляется с составом работ, сроками исполнения, трудоемкостью и суммой финансирования и в случае, если он согласен с указанными условиями, он ставит пометку «Согласовано».

.        Редактирование заявок - в случае, если исполнитель не согласен, например, со сроком исполнения поступившей в его адрес заявки, он уведомляет заказчика по телефону или иным способом о своих рекомендациях. Заказчик, используя режим «Редактирование», вносит поправки в поданную им заявку. Отредактировать можно только те заявки, которые еще не были согласованы. В случае если исполнитель сразу принимает заявку, то заявка минует этап редактирования.

.        Утверждение заявок - после согласования заявки между заказчиком и исполнителем она попадает на утверждение директора. Это требование позволяет избежать бесконтрольного появления заявок. В процессе утверждения директор имеет возможность откорректировать параметры заявки. После утверждения заявки она непосредственно включается в планы.

.        Исполнение заявок - в этом режиме заказчик отмечает ход исполнения заявок, поданных им ранее в адрес других отделов, путем заполнения такого параметра заявки как «процент выполнения».

Для упрощения пользовательского интерфейса и структуры информационной системы для всех режимов используется один и тот же объект базы данных - форма «Работа с заявками». Форма состоит из заголовка, табличной части, полей для редактирования и кнопок для управления. В зависимости от выбранного режима в форме изменяется:

.        Заголовок формы.

.        Содержимое табличной части.

.        Набор кнопок.

.        Набор полей, доступных для редактирования.

Рассмотрим каждый из этапов работы с заявками более подробно.

Подача заявок

В случае, если пользователь не входит в группу привилегированных пользователей, ему отображаются только заявки, поданные от его имени. Подать новую заявку он может также только от своего имени. Для подачи заявки ему необходимо заполнить информацией такие поля, как: вид плана, тип плана, раздел плана (для общезаводских планов), наименование выполняемых работ, наименование исполнителя, срок исполнения, приоритет, трудоемкость, сумм финансирования, примечание.

Поле «Заказчик» автоматически принимает значение имени текущего пользователя. Поле «Дата поступления заявки» заполняется автоматически текущей датой при вводе заявки. Остальные поля (такие как «Согласовано», «Утверждено», «% выполнения») недоступны для редактирования.

Поле со списком «Тип плана» изменяет набор допустимых значений в зависимости от выбора «Вида плана». Аналогично значения списка «Раздел плана» заполняются после выбора «Типа плана».

При подаче заявки происходит контроль лимита бюджета заказчика и исполнителя, контроль лимита трудоемкости заказчика и исполнителя. Для каждого подразделения установлен лимит суммы финансирования и трудозатрат, которые он может использовать за один месяц. В случае если новая заявка не удовлетворяет установленным лимитам, то заявка не принимается, пользователю выдается сообщение о превышении лимита, пример которого приведен на Рис. 24.

Рис. 24. Сообщение о превышении лимита

Программная реализация контроля лимитов заказчика и исполнителя приведена в Листинг 1.

Листинг 1. Программная реализация контроля лимитов

Private Function checkLimits() As Boolean= True

'выбор текущего заказчика, исполнителя, месяцаrst As Recordsetrst = CurrentDb.OpenRecordset("Для контроля лимита").MoveFirst.Edit.Fields("Год") = Year(DateOfCompletingWished).Fields("Месяц") = Month(DateOfCompletingWished).Fields("Исполнитель") = Executor.Fields("Заказчик") = Customer.Update.Close

'определение лимитов исполнителя и заказчикаexecutorLimit, customerLimit As SingleexecutorLabor, customerLabor As Integerrst = CurrentDb.OpenRecordset("Подразделения").MoveFirstrst.Fields("Сокращенное наименование") <> Executor.MoveNext= rst.Fields("Бюджет исполнителя")= rst.Fields("Нормо-часы исполнителя").MoveFirstrst.Fields("Сокращенное наименование") <> Customer.MoveNext= rst.Fields("Бюджет заказчика")= rst.Fields("Нормо-часы заказчика").Close

'проверка лимитов заказчикаrst = CurrentDb.OpenRecordset("Использовано заказчиком").MoveFirstNot rst.EOF Thenrst.Fields("Финансирование") + Sum > customerLimit Then= False("Лимит бюджета заказчика превышен на " & CStr(CCur (rst.Fields("Финансирование") + Sum - customerLimit)) & "! Заявка не принята.")Ifrst.Fields("Трудоемкость") + LaborRatio > customerLabor Then= False("Лимит трудоемкости заказчика превышен на " & CStr(rst.Fields("Трудоемкость") + LaborRatio - customerLabor) & "! Заявка не принята.")IfIf

'проверка лимитов исполнителяrst = CurrentDb.OpenRecordset("Использовано исполнителем").MoveFirstNot rst.EOF Thenrst.Fields("Финансирование") + Sum > executorLimit Then= False("Лимит бюджета исполнителя превышен на " & CStr(CCur (rst.Fields("Финансирование") + Sum - executorLimit)) & "! Заявка не принята.")Ifrst.Fields("Трудоемкость") + LaborRatio > executorLabor Then= False("Лимит трудоемкости исполнителя превышен на " & CStr(rst.Fields("Трудоемкость") + LaborRatio - executorLabor) & "! Заявка не принята.")IfIfFunction

Согласование заявок

При выборе режима согласования заявок пользователю представляются заявки, поданные в его адрес, то есть заявки, в которых он является исполнителем. В таблице отображаются только заявки, ожидающие согласования. Пользователь может ознакомиться с параметрами заявки и либо принять ее, поставив отметку «Согласовано», либо не принять. Если пользователь не принимает заявку по каким-либо причинам, он должен связаться и заказчиком данной заявки и объяснить ему причины, по которым заявка не может быть принята (например, в заявке занижена сумма финансирования). Сам пользователь не имеет возможности изменить какие-либо параметры заявки кроме отметки «Согласовано» и «Примечание».

Форма содержит поля, расположенные ниже табличной части, которые принимают значения атрибутов заявки, выбранной из таблицы. Таким образом пользователь может изучить ее атрибуты, если, например, наименование выполняемых работ слишком длинное и отображается в таблице не полностью.

Редактирование заявок

В режиме редактирования заявок табличная часть формы отображает заявки, в которых заказчиком является текущий пользователь. Таблица содержит только те заявки, которые еще не были согласованы. Это ограничение делает невозможным изменение параметров заявок, которые уже были согласованы с исполнителем. С помощью этого режима пользователь может внести изменения в поданные им заявки в случае, если это требуется для согласования заявки с исполнителем. В режиме редактирования заявок пользователю доступны для изменения следующие поля: «Наименование выполняемых работ», «Срок исполнения заявки», «Приоритет», «Трудоемкость», «Сумма финансирования» и «Примечание».

Утверждение заявок

Режим утверждения заявок доступен только привилегированным пользователям, а именно Директору и Менеджеру. В случае если в этот режим попытается войти рядовой пользователь, он получит сообщение об ошибке.

В этом режиме пользователю отображаются заявки, прошедшие согласование между заказчиком и исполнителем и ожидающие утверждения директором. При утверждении заявки пользователю доступны для редактирования поля: «Наименование выполняемых работ», «Срок исполнения», «Приоритет», «Трудоемкость», «Сумма финансирования», «Согласовано», «Утверждено», «Примечание».

Исполнение заявок

В режиме исполнения заявок табличная часть формы содержит утвержденные заявки, заказчиком которых является текущий пользователь. Пользователю доступны для изменения только поля «% выполения» и «Примечание». В случае если пользователь отмечает 100% выполнения заявки, то автоматически заполняется поле «Дата выполнения» текущей датой. В режиме исполнения заявок пользователю доступна дополнительная кнопка «Перенос сроков». Пользователь может воспользоваться этой кнопкой в случае, если становится очевидным, что его заявка не будет выполнена в срок. После изменения сроков в примечание заявки вносится запись о том, что сроки были перенесены.

3.3    Расчет показателей экономической эффективности


Для того чтобы определить, насколько целесообразна разработка, функционирование и дальнейшее развитие информационной системы необходимо провести анализ экономической эффективности.

В соответствии с ГОСТ 24.702-85 при оценке экономической эффективности используют обобщающие и частные показатели. Основными обобщающими показателями экономической эффективности являются: годовой экономический эффект; расчетный коэффициент эффективности капитальных затрат на разработку и внедрение информационной системы; срок окупаемости капитальных затрат на разработку и внедрение информационной системы.

К основным частным показателям, характеризующим экономическую эффективность, относят: годовую экономию; снижение издержек организационно-технической деятельности на объекте управления в результате разработки и внедрения информационной системы; повышение производительности труда; экономию по видам ресурсов; высвобождение работающих.

В настоящее время существуют разные методики определения экономической эффективности внедрения информационной системы. Для расчета экономической эффективности была выбрана методика, описанная в книге Р.В.Соколова, В.Н. Бугорского «Экономика и проектирование информационных систем» [10]. Оценка экономической эффективности основана на сопоставлении затрат и результатов, выраженных в денежной форме.

Расчет затрат на разработку информационной системы силами сторонней организации

Подсчеты затрат на разработку приведены на основе цен, предлагаемых фирмой ООО «Феррум Студио». Рассчитаем единовременные затраты на разработку информационной системы.

К = Кр + Киб + Куч + Коэ+ Кд,

где:

Кр - затраты на разработку информационной системы;

Киб - затраты на формирование информационной базы;

Куч - затраты на обучение персонала;

Коэ - затраты на опытную эксплуатацию;

Кд - затраты на документальное сопровождение.

Результаты расчета сведены в Таблица 12.

Таблица 12.

Расчет затрат на разработку сторонней организацией

Статья расходов

Обозн.

Расчет

Сумма

Стоимость разработки

Кр


60 000 р.

Формирование информационной базы

Киб

Краб + Ксвт

18 300 р.

Разработчик

Краб

300 р./час * 10 дн. * 6 час.

18 000 р.

Затраты машинного времени

Ксвт

5 р./час * 10 дн. * 6 час.

300 р.

Обучение персонала

Куч

Краб + Ксвт

2 020 р.

Cтавка консультанта фирмы

Краб

500 р./час * 4 час.

2 000 р.

Стоимость машинного времени

Ксвт

5 р./час * 4 час.

20 р.

Опытная эксплуатация

Коэ

Краб + Ксвт

9 150 р.

Разработчик

Краб

300 р./час * 30 час.

9 000 р.

Стоимость машинного времени

Ксвт

5 р./час * 30 час.

150 р.

Документальное сопровождение

Кд


3 000 р.

Итого

Кф


92 470 р.

 

Расчет затрат на разработку информационной системы силами сотрудников организации.

Рассчитаем единовременные затраты на разработку информационной системы силами сотрудников организации.

К = Кпр + Ктс + Клс + Кпо + Киб + Куч + Кво + Коэ,

где:

Кпр - затраты на проектирование информационной системы;

Ктс - затраты на технические средства управления;

Клс - затраты на линии связи локальных сетей;

Кпо - затраты на программное обеспечение;

Киб - затраты на формирование информационной базы;

Куч - затраты на обучение персонала;

Кво - затраты на вспомогательное оборудование;

Коэ - затраты на опытную эксплуатацию.

Результаты расчета сведены в Таблица 13Таблица 12..

Пояснения к расчетам:

1.      Затраты на проектировщика. Работу над проектированием выполняет наемный программист. Вознаграждение за весь объем работ по проектированию согласно договору подряда (копия приведена в Приложение 6) составляет 11 500 р. В общих затратах, связанных с оплатой труда разработчика, учитываются начисления на заработную плату в государственные фонды (26%) и накладные расходы, которые по данным организации составляют 52%.

2.      Затраты на средства вычислительной техники. К затратам на проектирование необходимо отнести затраты на машинное время в период разработки. Стоимость компьютера составляет 32 500 р., нормативный срок службы компьютера от 3 до 5 лет. Рассчитаем годовой фонд машинного времени, исходя из того, что в среднем в месяце 21 рабочий день по 8 часов:

21 день в месяце * 12 месяцев * 8 часов = 2 016 часов.

Рассчитаем стоимость одного часа машинного времени. Для этого определим следующие составляющие:

·        Амортизация составляет (32 500 р./ 5 лет) = 6500 р. в год.

·        Затраты на обслуживание и на электроэнергию составляют 200 р. в месяц за 1 ПК.

200 р. в месяц * 12 месяцев = 2 400 р. в год.

Стоимость 1 часа машинного времени составляет:

(6500          р. в год + 2400 р. в год) / 2016 час. = 4,41 р./час.

При разработке на работу с ЭВМ приходится: 6 месяцев, 21 рабочий день в каждом, в среднем по 1,5 часа в день.

мес * 21 дн/мес * 1,5 ч/дн = 189 часов.

3.      Затраты на инструментальные программные средства. Разработка производится с помощью средств Microsoft Office 2003. Данный пакет на предприятии уже установлен. Рассчитаем затраты на пакет Microsoft Office 2003, который был куплен 4 года назад за 8000 р. Учитывая, что срок службы средства составляет 5 лет, остаточная стоимость составляет 20% от первоначальной, то есть 1600 р. Разработка проводилась в течение полугода. Соответственно за это время затраты составят 800 р.

4.      Прочие затраты на проектирование. Для создания документации понадобится бумага - 2 пачки по 100 листов стоимостью 120 р.; диски (CD-RW) 2 шт. по 20 р.

5.      Расчет затрат на технические средства управления. Стоимость сервера составляет 100 000 р., он прослужил 3 года из 5 положенных; коэффициент износа (по линейному способу амортизации) составляет 60%. Остаточная стоимость сервера составляет 40 000 р. На решение задач в рамках проектируемой информационной системы сервер затрачивает не более 10% своего процессорного времени, так как все процедуры выполняются на стороне клиента. Стоимость компьютера начальника отдела составляет 32 500 р. С информационной системой работают 20 подразделений предприятия. Компьютеры в различных подразделениях прослужили как минимум 4 года из 5 положенных; коэффициент износа составляет 80%. На выполнение задач, связанных с оргтехмероприятиями, приходится 15% рабочего времени ЭВМ.

6.      Затраты на линии связи. Общая стоимость оборудования, включая комплектующие и стоимость работ по прокладке сетей, составляет 44 000 р. Эксплуатировалось оно 4 года из 5-ти положенных, соответственно коэффициент износа составляет 80%. Остаточная стоимость составляет 8800 р. На решение задач информационной системы приходится 5% времени работы сети.

7.      Формирование информационной базы заняло у сотрудника ФЭО 8 дней, по 2 часа в день. Зарплата сотрудника ФЭО составляет 12000 р. в месяц.

8.      Затраты на обучение персонала. На обучение персонала требуется 4 часа. Обучение проводится с помощью ПК, поэтому в затратах на обучение следует учитывать затраты на машинное время.

Таблица 13.

Расчет затрат на разработку своими силами

Статья расходов

Обозн.

Расчет

Сумма

Проектирование информационной системы

Кпр

Краб + Ксвт + Кипс + Кпроч

16 242,49 р.

ЗП разработчика

Краб

11 500 р. * (1 + 0,26 + 0,52) * 70%

14 329,00 р.

Средства вычислительной техники

Ксвт

4,41 р./час * 189 час.

833,49 р.

Инструментальные программные средства

Кипс

8 000 р. * 20% * 0,5

800,00 р.

Прочие затраты

Кпроч

2*120 р. + 2*20 р.

280,00 р.

Технические средства управления

Ктс

Ктс1 + Ктс2

23 500,00 р.

Стоимость сервера

Ктс1

40 000 р. * 10%

4 000,00 р.

Стоимость компьютеров

Ктс2

32 500 р. * 20% * 15% * 20

19 500,00 р.

Линии связи локальных сетей

Клс

8800 р. * 5%

440,00 р.

Программное обеспечение

Кло

8 000 р. * 20% * 0,5

800,00 р.

Формирование информационной базы

Киб

Кзп + Ксвт

2 420,16 р.

ЗП сотрудника ФЭО

Кзп

8 дн. * 660 р./день * (1 + 0,26 + 0,52) * 25%

2 349,60 р.

Средства вычислительной техники

Ксвт

4,41 р./час * 16 час.

70,56 р.

Обучение персонала

Куч

Кпр + Ксвт

2 064,64 р.

ЗП разработчика

Кпр

11 500 р. * (1 + 0,26 + 0,52) * 10%

2 047,00 р.

Средства вычислительной техники

Ксвт

4,41 р./час * 4 час.

17,64 р.

Вспомогательное оборудование

Кво

не требуется

0,00 р.

Опытная эксплуатация

Коэ

Краб + Ксвт

4 235,12 р.

ЗП разработчика

Краб

11 500 р. * (1 + 0,26 + 0,52) * 20%

4 094,00 р.

Средства вычислительной техники

Ксвт

4,41 р./час * 32 час.

141,12 р.

Итого

К


49 702,41 р.

 

Расчет эксплуатационных затрат по предлагаемому варианту.

В состав эксплуатационных входят следующие затраты:

С = Сзп + Сао + Сто + Слс + Сни + Спр,

где:

Сзп - зарплата управленческого персонала;

Сао - амортизационные отчисления;

Сто - затраты на техническое обслуживание;

Слс - аренда линий связи;

Сни - затраты на носители информации;

Спр - прочие затраты.

Результаты расчета сведены в Таблица 14Таблица 12..

Пояснения к расчетам:

1.      Заработная плата персонала. Фонд оплаты труда начальников рассчитывается исходя из среднего оклада 14 000 р., учитываются отчисления в государственные фонды (26%) и накладные расходы (52%). После внедрения информационной системы в среднем начальник тратит не более 10% рабочего времени на решение задач, связанных с планированием оргтехмероприятий.

2.      Амортизационные отчисления. Стоимость сервера составляет 100 000 р., он прослужил 3 года из 5 положенных; коэффициент износа (по линейному способу амортизации) составляет 60%. Остаточная стоимость сервера составляет 40 000 р. На решение задач в рамках проектируемой информационной системы сервер затрачивает не более 10% своего процессорного времени, так как все процедуры выполняются на стороне клиента. Стоимость компьютера начальника отдела составляет 32 500 р. С информационной системой работают 20 подразделений предприятия. Компьютеры в различных подразделениях прослужили как минимум 4 года из 5 положенных; коэффициент износа составляет 80%. На выполнение задач, связанных с оргтехмероприятиями, приходится 15% рабочего времени ЭВМ.

3.      Затраты на носители информации. После внедрения электронных планов и отчетов одному отделу достаточно половины пачки бумаги на 1 год для решения задач, связанных с планированием оргтехмероприятий.

Таблица 14.

Эксплуатационные затраты по предлагаемому варианту

Статья расходов

Обозн.

Расчет

Сумма

Заработная плата персонала

Сзп

20 * 14 000 р.* (1 + 0,26 + 0,52) * 12 мес.* 10%

598 080,00 р.

Амортизационные отчисления

Сао

Сас + Сак

21 500,00 р.

Сервер

Сас

100 000 р./5 лет * 10%

2 000,00 р.

20 компьютеров

Сак

20 * 32 500 р./5 лет * 15%

19 500,00 р.

Техническое обслуживание

Сто

Сс + Ск

10 100,00 р.

Сервер

Сс

5000 р. * 10%

500,00 р.

20 компьютеров

Ск

20 * 3200 р. * 15%

9 600,00 р.

Аренда линий связи

Слс

не требуется

0,00 р.

Носители информации

Сни

20 отделов * 0,5 пачки * 120 р.

1 200,00 р.

Прочие

Спр

нет

0,00 р.

Итого

С


630 880,00 р.


Выбор лучшего варианта осуществляется по критерию минимума совокупной стоимости владения. Графики совокупной стоимости владения для рассмотренных вариантов информатизации приведены на Рис. 29.

Рис. 29. Сравнение совокупной стоимости владения

Приведенные способы информатизации (разработка сторонней организацией и разработка своими силами) эквивалентны по своим функциональным характеристикам и не различаются по планируемым эксплуатационным расходам. Таким образом, сравнивая капитальные затраты на разработку силами собственной организации (К = 49 702,41 р.) и затраты на разработку силами сторонней организации (Кф = 92 470 р.), можно сделать вывод, что выгоднее осуществлять разработку силами своей организации.

Для расчета показателей годовой экономии Эгод и внутреннего экономического эффекта Эвнут необходимо рассчитать эксплуатационные расходы по базовому варианту.

Расчет эксплуатационных затрат по базовому варианту (Сб).

В состав эксплуатационных затрат входят следующие затраты:

Сб = Сзпб + Саоб + Стоб + Слсб + Сниб + Спрб,

где:

Сзпб - зарплата управленческого персонала в базовом периоде;

Саоб - амортизационные отчисления в базовом периоде;

Стоб - затраты на техническое обслуживание в базовом периоде;

Слсб - аренда линий связи в базовом периоде;

Сниб - затраты на носители информации в базовом периоде.

Спр - прочие затраты в базовом периоде.

Результаты расчета сведены в Таблица 15Таблица 12..

Пояснения к расчетам:

1.      Зарплата персонала. До внедрения информационной системы начальники отделов вели учет заявок на оргтехмероприятия вручную, все документы подшивались в отдельные папки, поиск информации был длительным и трудоемким. При этом на выполнение задач, связанных с оргтехмероприятиями, начальники тратили 11% своего рабочего времени.

2.      Амортизационные отчисления. До внедрения информационной системы формирование планов оргтехмероприятий производилось большей частью посредством служебных записок. Работа за компьютером занимала 12% от общего времени работы компьютера начальника.

3.      Затраты на аренду линий связи равны нулю, т.к. не требуется подключения к Internet.

4.      Затраты на носители информации. Дополнительная бумага тратилась на многочисленные служебные записки и промежуточные отчеты.

Таблица 15.

Эксплуатационные затраты по базовому варианту

Статья расходов

Обозн.

Расчет

Сумма

ЗП персонала

Сзпб

20 * 14 000 р.* (1 + 0,26 + 0,52) * 12 мес.* 11%

657 888,00 р.

Амортизационные отчисления

Саоб

20 * 32 500 р./5 лет * 12%

15 600,00 р.

Техническое обслуживание

Саоб

Сас

7 680,00 р.

20 компьютеров

Скб

20 * 3200 р. * 12%

7 680,00 р.

Аренда линий связи

Слсб

не требуется

0,00 р.

Носители информации

Сниб

20 отделов * 2 пачки * 120 р.

4 800,00 р.

Прочие

Спрб

нет

0,00 р.

Итого

Сб


685 968,00 р.


Таким образом, можно рассчитать годовую экономию, вызванную сокращением трудозатрат на выполняемый начальниками отделов учет в связи с внедрением информационной системы планирования хозяйственных организационно-технических мероприятий.

Внутренний экономический эффект обусловлен экономией затрат на реализацию функций управления за счет применения прогрессивных информационных технологий. Расчет показателей экономической эффективности представлен в Таблица 16.

Таблица 16.

Показатели экономической эффективности

Показатель

Обозн.

Формула

Значение

Годовая экономия

Эгод

Сб - С

55 088,00 р.

Годовой экономический эффект

Э

Эгод - ЕК

45 147,52 р.

Расчетная прибыльность

ЕР

Эгод /К

1,1

Срок окупаемости

Ток

К/Эгод

0,9 лет

Годовые приведенные затраты по базовому варианту

Пб

Сб + Е*К

Годовые приведенные затраты по предлагаемому варианту

П

С + Е*К

640 820,48 р.

Внутренний экономический эффект

Эвнут

Пб -П

55 088,00 р.


Согласно приведенным расчетам, годовая экономия составляет 55 088,00 р. По данным отчета о прибылях и убытках (Приложение 2) прибыль предприятия до налогообложения за 2009 год составила 1033 тыс. р. Соответственно внедренная информационная система позволяет увеличить прибыль предприятия на 5,3%.

Внешний экономический эффект обусловлен улучшением функционирования самого объекта управления вследствие более эффективного управления объектом за счет применения прогрессивных информационных технологий. В результате внедрения информационной системы планирования организационно-технических мероприятий внешний экономический эффект будет достигаться за счет сокращения числа заявок, не выполненных в срок. На предприятии в год планируется мероприятий на 10,5 млн. р., в то время как бюджет оргтехмероприятий составляет лишь 1,5 млн. р.. Заявки на 9 млн. р. не выполняются в срок. 7% всех заявок направлено на освоение новых технологий и сокращение затрат. На предприятии принята норма прибыли Е=20%, начиная с которой инвестиционные проекты принимаются на рассмотрение. Ожидаемый экономический эффект по заявкам, направленным на сокращение затрат:

Э = 9 млн. * 7% * Е = 126 тыс. р. в год

В случае, если заявки, направленные на сокращение затрат, не выполняются в срок, предприятие недополучает 126 тыс. р. в год. Внедренная информационная система дает возможность контролировать подачу и исполнение заявок, что позволяет добиться исполнения мероприятий в поставленные сроки.

Заключение


В данной квалификационной работе была проанализирована организационно-техническая деятельность предприятия ОАО «Спектр». Были выявлены проблемы в существующем на предприятии бизнес-процессе по ведению планов организационно-технических мероприятий. На основании этих проблем были поставлены задачи для дальнейшего решения в данной квалификационной работе.

Были рассмотрены и сопоставлены различные варианты решения поставленных задач и выбран наиболее оптимальный - реализация проекта собственными силами организации.

На основе поставленных задач был предложен вариант разработки информационной системы планирования организационно-технических мероприятий. Были спроектированы формы входной и выходной информации, схема меню, структура таблиц и базы данных.

Полученные расчеты показателей экономической эффективности свидетельствуют о целесообразности разработки информационной системы.

Эффективность спроектированной информационной системы также подтверждается актом о приеме работ (см. Приложение 7).

Информационные технологии играют все более важную роль в деятельности современных предприятий. Предложенный проект по реинжинирингу процесса управления оргтехмероприятиями предполагает решение существующих на предприятии проблем с использованием современных информационных технологий.

Список литературы


1.      Бугорский В.Н., Прикладная информатика в экономике: Учебное пособие.- СПб: СПбГИЭУ, 2005.

2.      ГОСТ 15.467-79 - Управление качеством продукции. - Москва: Государственный комитет СССР по стандартам, 1992.

.        ГОСТ 19.701-90 - Схемы алгоритмов, программ, данных и систем. - Москва: Государственный комитет СССР по управлению качеством продукции и стандартам, 1992.

.        ГОСТ 24.702-85 - Эффективность автоматизированных систем управления. - Москва: Государственный комитет СССР по стандартам, 1985.

.        Моисеева Н. К., Конышева М. В. Управление маркетингом. Теория, практика, информационные технологии. М.: «Финансы и статистика», 2002.

.        Петров В. Н. Информационные системы. Учебник для вузов. Москва, Санкт-Петербург: Издательство «Питер», 2003.

.        Рабочая программа и методические указания к дипломному проектированию для студентов всех форм обучения. Специальность 230201 - Информационные системы и технологии. - СПб: СПбГИЭУ, 2008.

.        Сергеев А.В., Access 2007. Новые возможности.- СПб.: Питер, 2008.

.        Смирнова Г. Н., Сорокин А. А., Тельнов Ю. Ф. Проектирование экономических информационных систем. М.: «Финансы и статистика», 2001.

.        Соколов Р.В., Бугорский В.Н. Экономика и проектирование информационных систем. - СПб: РИФ «Роза мира», 1998.

Приложения


Приложение 1. Бухгалтерский баланс

Приложение 2. Отчет о прибылях и убытках


Приложение 3. План проведения совещаний на январь 2008 года

Приложение 4. Фрагмент плана мероприятий по охране труда

«УТВЕРЖДАЮ»

Генеральный директор ОАО «СПЕКТР»

______________________

План мероприятий по охране труда на 2008 год

№ п/п

Наименование мероприятий

Срок исполнения

Ответственный исполнитель

Примечание

1

2

3

4

5

ЦЕХ МЕТАЛЛООБРАБОТКИ

1

Оборудовать участок сварки вытяжной вентиляцией

Январь

Сорокин П.В.


2

Выполнить напольное покрытие в гардеробах

Май

Крикота В.Г.


3

Выполнить реконструкцию умывальных и туалетных комнат

Август

Крикота В.Г.


ТРАНСПОРТНЫЙ УЧАСТОК

1

Заделать отверстия в крыше и стенах модульного гаража

июль

Крикота В.Г.


2

Отремонтировать и утеплить ворота модульного гаража

июнь

Крикота В.Г.


3

Провести косметический ремонт подсобных помещений и санитарно-бытовых помещений участка

сентябрь

Крикота В Г.


ОБЩЕЗАВОДСКИЕ РАБОТЫ

1

Оборудовать заточные станки и заточные колонки защитными экранами , подручниками и местными отсосами

Май-Июнь

Сорокин П. В.


2

Провести испытания гидравлических укладчиков (УМ-300) с оформлением протоколов во всех цехах и участках

Май

Сорокин П.В.



ПРИМЕЧАНИЕ: План мероприятий составлен на базе производственных совещаний и обследования подразделений

Инженер по охране труда _________________________ Л. И. Жаринов

«СОГЛАСОВАНО»

Главный инженер ______________________ С.М.Касеян

Приложение 5. Фрагмент листинга программного кода

Sub Form_Load().MaximizeIsNull(Me.OpenArgs) ThenSub("No input agruments")If.Caption = Me.OpenArgs + " заявок".Width = ModuleGeneral.getMonitorWidth.Auto_Title0.Caption = Me.OpenArgs + " заявок"whereCond As String= " WHERE " & _

"(((([План мероприятий].[% выполнения])<100)) OR ((([План мероприятий].[Дата выполнения])> " & _

"CDate(""01."" & Month(Now()-1) & ""."" & Year(Now()-1))))) "Case Me.OpenArgs"Просмотр"

'===============================================

'===================ПРОСМОТР====================

[Form_Подчиненная Список мероприятий].FilterOn = False

[Form_Подчиненная Список мероприятий].RecordSource = "SELECT * FROM [План мероприятий]" + whereCond

КнопкаРаспечататьПлан.Visible = True

КнопкаРаспечататьДругиеОтчеты.Visible = True

КнопкаПринятьИзменения.Visible = False

КнопкаВернутьЗначения.Visible = False

КнопкаПереносСроков.Visible = False.Enabled = False.Enabled = False

'==============================================="Подача"

'===============================================

'====================ПОДАЧА=====================

[Form_Подчиненная Список мероприятий].FilterOn = FalseCurrentUser = "Администратор" Or _= "Менеджер" Or CurrentUser = "Директор" Then

[Form_Подчиненная Список мероприятий].RecordSource = _

"SELECT * FROM [План мероприятий]" + whereCond

[Form_Подчиненная Список мероприятий].RecordSource = _

"SELECT * FROM [План мероприятий]" + whereCond + _

"AND [Заказчик]='" + CurrentUser + "'"If

'изменение набора доступных полей

КнопкаВернутьЗначения.Visible = True

КнопкаПереносСроков.Visible = False

'===============================================.Enabled = True.Enabled = False

'===============================================

'изменение значений по умолчанию= ""= Date

'===============================================Not (CurrentUser = "Администратор" Or _= "Менеджер" Or CurrentUser = "Директор") Then= CurrentUser.Enabled = FalseIf"Согласование"

'===============================================

'=================СОГЛАСОВАНИЕ==================

КнопкаРаспечататьПлан.Visible = False

КнопкаПринятьИзменения.Visible = True

'===============================================

[Form_Подчиненная Список мероприятий].FilterOn = FalseCurrentUser = "Администратор" Or _= "Менеджер" Or CurrentUser = "Директор" Then

[Form_Подчиненная Список мероприятий].RecordSource = _

"SELECT * FROM [План мероприятий]" + whereCond + " AND [Согласовано]=False"

[Form_Подчиненная Список мероприятий].RecordSource = _

"SELECT * FROM [План мероприятий]" + whereCond + _

" AND [Согласовано]=False and [Исполнитель]='" + CurrentUser + "'"If.Enabled = False.Enabled = True

'==============================================="Редактирование"

'===============================================

'================РЕДАКТИРОВАНИЕ=================

[Form_Подчиненная Список мероприятий].FilterOn = FalseCurrentUser = "Администратор" Or _= "Менеджер" Or CurrentUser = "Директор" Then

[Form_Подчиненная Список мероприятий].RecordSource = _

"SELECT * FROM [План мероприятий] " + whereCond + " AND [Согласовано]=False"

[Form_Подчиненная Список мероприятий].RecordSource = _

"SELECT * FROM [План мероприятий] " + whereCond + " AND [Согласовано]=False AND [Заказчик]='" + CurrentUser + "'"If

КнопкаРаспечататьДругиеОтчеты.Visible = False

КнопкаПринятьИзменения.Visible = True

'===============================================.Enabled = False.Enabled = False.Enabled = False.Enabled = True

'==============================================="Утверждение"

'===============================================

'==================УТВЕРЖДЕНИЕ==================

КнопкаРаспечататьДругиеОтчеты.Visible = False

КнопкаПринятьИзменения.Visible = True

'===============================================

[Form_Подчиненная Список мероприятий].RecordSource = "SELECT * FROM [План мероприятий]" + whereCond

[Form_Подчиненная Список мероприятий].Filter = "Согласовано = True and Утверждено = False"

[Form_Подчиненная Список мероприятий].FilterOn = True.Enabled = True.Enabled = True.Enabled = True.Enabled = True.Enabled = True

'==============================================="Исполнение"

'===============================================

'==================ИСПОЛНЕНИЕ===================

[Form_Подчиненная Список мероприятий].FilterOn = False

КнопкаРаспечататьПлан.Visible = False

КнопкаПереносСроков.Visible = True

'===============================================CurrentUser = "Администратор" Or _= "Менеджер" Or CurrentUser = "Директор" Then

[Form_Подчиненная Список мероприятий].RecordSource = _

"SELECT * FROM [План мероприятий] " + whereCond + " AND [Утверждено]=True AND [% выполнения] < 100"

[Form_Подчиненная Список мероприятий].RecordSource = _

"SELECT * FROM [План мероприятий] " + whereCond + " AND [Утверждено]=True AND [% выполнения] < 100 " & _

" AND [Заказчик]='" + CurrentUser + "'"If.Enabled = True.Enabled = False.Enabled = True

'===============================================Else("Error")SelectSub

Похожие работы на - Проектирование информационной системы планирования организационно-технических мероприятий ОАО 'Спектр'

 

Не нашли материал для своей работы?
Поможем написать уникальную работу
Без плагиата!
Без нейросетей!