Электроснабжение комбината стройиндустрии
Содержание
Введение
. Краткая характеристика промышленного предприятия
. Характеристика источников электроснабжения и потребителей
электроэнергии.
.1 Определение расчётных электрических нагрузок.
.1.1 Расчёт осветительной нагрузки.
.1.2 Определение расчётных нагрузок по предприятию, цехам
.2 Выбор компенсирующих устройств
.3 Определение числа и мощности цеховых ТП.
.3.1 Выбор оптимального числа цеховых трансформаторов.
. Построение картограмм электрических нагрузок
. Выбор схемы и напряжения питающих сетей.
.1 Технико-экономическое сравнение вариантов.
. Выбор сечения и марки кабелей 10 кВ системы
электроснабжения.
. Определение потерь энергии в элементах систем
электроснабжения.
.1 Расчёт токов короткого замыкания.
. Выбор оборудования на стороне 10 кВ.
.1 Выбор вводных и секционных выключателей.
.2Выбор и проверка шин камер КРУ - TEL.
.3 Выбор опорных и проходных изоляторов для РП - 10кВ.
.4 Выбор трансформаторов тока.
.5 Выбор трансформаторов напряжения.
.6 Конструктивное выполнение цеховых КТП.
.6.1 Выбор оборудования КТП.
. Светотехнический расчет.
.1 Выбор источника света.
.2 Выбор вида и системы освещения.
.3 Выбор освещенности.
.4 Выбор типа светильника.
.5 Выбор расположения светильников.
.6 Определение числа и мощности источника света.
.7 Электрический расчет
.7.1 Выбор напряжения
.7.2 Выбор схемы питания осветительной установки
.7.3 Расчет электрических нагрузок осветительной сети.
.7.4 Выбор проводов.
.7.5 Выбор аппаратов защиты
. Заземляющие устройства электроустановок.
.1 Расчет заземляющих устройств ЦРП
.2 Защита электроустановок от грозовых и внутренних
перенапряжений
. Эксплуатация электрооборудования
Введение.
.1 Общие положения.
.2 Эксплуатация кабельных линий
.3 Эксплуатация трансформаторов.
.4 Эксплуатация распределительных устройств.
.5 Эксплуатация электродвигателей.
.6 Осветительные установки
.7 Эксплуатация заземляющих устройств.
. Релейная защита и автоматика
.1 Выбор релейной защиты.
. Спецчасть.
Введение
.1 Расчет электрических нагрузок.
.2 Выбор схемы электроснабжения.
.2.2 Выбор шинопровода.
.1.3 Расчет токов короткого замыкания в сети 0,4 кВ.
.2 Выбор аппаратов защиты, марки и сечения питающих
проводников.
.2.1 Выбор автоматических выключателей .
.2.2 Выбор магнитных пускателей.
. Учет электроэнергии.
. Диспетчеризация
.Организационно-экономическая часть.
.1 Организация ремонтных работ.
.2 Определение численности ремонтно-эксплуатационного
персонала.
.3 Определение численности персонала.
.4 Основная заработная плата.
.5 Амортизационные отчисления.
.6 Определение стоимости полученной от сети электроэнергии.
.7 Расчет себестоимости потребляемой электроэнергии.
.8 Технико - экономические показатели и их анализ.
Список литературы.
Введение
Главной задачей промышленности является более полное
удовлетворение потребностей хозяйства в высококачественной продукции,
осуществление технического перевооружения и
интенсификации производства во всех отраслях. Для этого предусматривается
расширение выпуска прогрессивных экономичных видов машин, оборудования и
приборов, систематическое усовершенствование действующего оборудования,
улучшение эксплуатационных свойств изделий.
В связи с этим большое значение приобретают вопросы
правильного выбора оборудования, в частности электротехнического, знание
технико-экономических показателей машин, устройств и механизмов.
Современное электрооборудование и электропривод
отдельных установок оснащаются к комплектными распределительными устройствами,
подстанциями, системами автоматизированного электропривода, чтобы обеспечить
экономичную и надежную работу и рациональный расход электроэнергии.
Система электроснабжения: представляет собой
совокупность электрических сетей всех применяемых напряжений.
Для принятия той или иной системы построения
электросети необходимо учитывать мощность и число потребителей, их взаимное расположение,
расстояние от питающего центра, требования по уровню и надежности
электроснабжения. Кроме того, схема сети должна обеспечивать наиболее
экономичное решение по капитальным вложениям и эксплуатационным: расходам.
Темой данного дипломного проекта является
электроснабжение комбината стройиндустрии. Современный комбинат является
энергоемким потребителем, электрической энергии, оснащен общепромышленным и
нетиповым оборудованием и энергоприемниками, которые характеризуются
специфическим режимом эксплуатации.
В последние годы электроэнергетика таких предприятий
стала важнейшим элементом подъема производительности труда.
1. Краткая
характеристика промышленного предприятия
В комплекс комбината входит двадцать пять объектов.
Среди них: бетонорастворный цех, цех железобетонных изделий, цех ячеистых
бетонов, цех гипсошлаковых перекрытий, цех строй деталей и т.д.
Число
рабочих дней в году 253, число смен 2, продолжительность рабочей смены 8 часов
годовое, число потерь
=3200 ч. при числе часов использования максимума
нагрузки Tmax= 4000 ч.
На заводах железобетонных изделий применяются
конвейеры по производству панелей перекрытий, бетономешалки емкостью 600-4500л
бетоноукладчики, формовочные машины с вибраторами. Последние работают на
повышенной частоте 200 Гц при напряжении 220 В; остальные приводы переменного
тока работают на промышленной частоте 50 Гц. Электротехнологическими
установками для заводов железобетонных изделий являются электросварка - дуговая
и контактная, и электронагрев для предварительного напряжения арматуры.
Напряжение силовых приемников в промышленности
строительных материалов 380В; для мощных приводов (крупных насосов,
компрессоров дымососов и др,) - 6 и 10 кВ. Большинство механизмов работает в
продолжительном режиме, иногда периодическими циклами; производство имеет
непрерывный характер.
Специфическими механизмами комбината, определяющими
его производительность, являются вращающиеся печи длиной 1.27-230 м, диаметром
3,6-8 м; масса вращающихся частей 3000 т и выше. Печи устанавливаются под углом
4 к горизонту и непрерывно вращаются с частотой вращения 1-1,5 об/мин.
В цехе строй деталей используются деревообрабатывающие
станки. При первичной обработке древесины применяются: механизмы: мощностью
1-440 кВт (лесопильные рамы). Мощность деревообрабатывающих станков 1-120кВт.
Режим работы длительный, но с очень неравномерной нагрузкой вследствие
неоднородности материала (сучки) и зависимости сопротивления резанию от
состояния влажности. Мощность двигателя выбирается с запасом, как правило, на
деревообрабатывающих установках низкий коэффициент мощности.
Деревообрабатывающие станки работают на трехфазном токе напряжением 380В.
Для получения повышенных частот вращения (до 20000
об/мин.) применяются электродвигатели повышенной частоты (100-400 Гц) с
питанием от индивидуальных и групповых, преобразователей частоты. По степени
бесперебойности эта станки относятся ко второй категории, расположение станков
стабильное.
К потребителям I категории относится компрессорная (цех 16). Компрессоры
применяются во многих отраслях промышленности для получения сжатого воздуха
давлением 6-8 кгс/см, сжатия и охлаждения газов в химической промышленности,
где давление до 2000 кгс/см и выше. Приводы компрессоров сжатого воздуха
являются наиболее крупными потребителями электроэнергии.
2.
Характеристика источников электроснабжения и потребителей электроэнергии
В соответствии с заданием кафедры, питание возможно осуществить от
подстанции энергосистемы, на которой установлены два двухобмоточных
трансформатора мощностью 16000 кВА каждый, с первичным напряжением 110кв и
вторичным 35,10, 6 кВ.
Мощность системы 700 мВА, реактивное сопротивление системы на стороне
110кВ, отнесенное к мощности системы 0,8.
Расстояние от подстанции энергосистемы до комбината 6 км.
Рис.1 генплан предприятия
Таблица 1. Характеристика потребителей электроэнергии и классификация по
степени бесперебойности электроснабжения.
|
№ цеха
|
Наименование потребителей
|
Руст. кВт.
|
U, В.
|
Характеристика среды
|
Категория.
|
|
1
|
Склад заполнителей
|
180
|
380/220
|
пыльная
|
III
|
|
2
|
Склад цемента
|
320
|
380/220
|
пыльная
|
III
|
|
3
|
Бетонорастворный узел
|
250
|
380/220
|
пыльная
|
III
|
|
4
|
Дробильносортировочный узел
|
130
|
380/220
|
пыльная
|
II
|
|
5
|
Открытый склад ЖБИ
|
180
|
380/220
|
пыльная
|
III
|
|
6
|
Лаборатория
|
240
|
380/220
|
нормал
|
III
|
|
7
|
Столярный цех
|
30
|
380/220
|
нормал
|
III
|
|
8
|
Извести гасительная
|
80
|
380/220
|
пыльная
|
III
|
|
9
|
Арматурный цех №1
|
290
|
380/220
|
пыльная
|
III
|
|
10
|
Мастерская термоизоляции
|
100
|
380/220
|
нормал
|
III
|
|
11
|
Котельная
|
580
|
380/220
|
влажн
|
I
|
|
12
|
Теплопункт
|
250
|
380/220
|
влажн
|
I
|
|
13
|
Арматурный цех №2
|
1530
|
380/220
|
нормал
|
II
|
|
14
|
Цех №1
|
1420
|
380/220
|
пыльная
|
II
|
|
15
|
Цех №2
|
580
|
380/220
|
пыльная
|
II
|
|
16
|
Компрессорная
|
160
|
380/220 6 кВ
|
нормал
|
II
|
|
17
|
Цех ячей. Бетонов
|
760
|
380/220
|
пыльная
|
II
|
|
18
|
Цех гипсошлаковых
перекрытий
|
150
|
380/220
|
пыльная
|
II
|
|
19
|
Механический цех
|
1360
|
380/220
|
нормал
|
II
|
|
20
|
База механизации
|
760
|
380/220
|
нормал
|
II
|
|
21
|
Цех метал. Конструкций
|
900
|
380/220
|
нормал
|
III
|
|
22
|
Блок мастерских
|
80
|
380/220
|
нормал
|
III
|
|
23
|
Столовая
|
350
|
380/220
|
нормал
|
III
|
|
24
|
Управление
|
40
|
380/220
|
нормал
|
III
|
|
25
|
Ремонтно-механический
|
200
|
380/220
|
нормал
|
III
|
.1
Определение расчётных электрических нагрузок
.1.1 Расчёт
осветительной нагрузки
Расчет производим используя метод удельной мощности
Где
Руд - удельная мощность общего равномерного освещения пари освещенности 100 лк.
-
площадь помещения
Кс-
коэффициент спроса
В
общекомбинатских службах и помещениях устанавливаем лампы накаливания (ЛН),
коэффициент мощности для которых составляет cosφ=1 следовательно
tgφ=0.
Руд=0,10
кВт/м²
В
бытовых помещениях устанавливаем люминесцентные лампы (ЛЛ), cosφ=0,95 следовательно tgφ=0,33.
Руд=0,16кВт/м²
В
производственных помещениях устанавливаем дугоразрядные лампы (ДРЛ) с cosφ=0,95 и tgφ=0,33
Руд=0,21кВт/м²
Расчёты приведены в таблице 2.1
Таблица 2.1 Расчетная осветительная нагрузка по цехам предприятия
№
цеха Наименование потребителей Площадь цеха S,м2 Удельная освещенность Ро Вт/м2 Установленная мощность
освещения Рно,кВт Коэффициент спроса осветительной нагрузки Ксо Расчетная
активная мощность освещения Рро,кВт Коэффициент мощности
|
Расчетная реактивная
мощность освещения QрокВт.
|
|
|
|
1
|
Склад заполнителей
|
3324
|
6
|
20
|
0,8
|
16
|
1,0/0
|
0
|
|
2
|
Склад цемента
|
2100
|
6
|
12,6
|
0,8
|
10,08
|
1,0/0
|
0
|
|
3
|
Бетоннораствор. узел
|
3144
|
6
|
18,8
|
0,8
|
15,04
|
1,0/0
|
0
|
|
4
|
Дробил. Сор-ный узел
|
2100
|
6
|
12,6
|
0,8
|
10,08
|
0,58/1,4
|
14,1
|
|
5
|
Открытый склад ЖБИ
|
4200
|
8
|
33,6
|
0,8
|
26,88
|
0,58/1,4
|
37,6
|
|
6
|
Лаборатория
|
654
|
14
|
9,2
|
0,8
|
7,22
|
0,9/0,48
|
3,8
|
|
7
|
Столярный цех
|
1476
|
12
|
17,7
|
0,8
|
14,16
|
0,9/0,48
|
6,8
|
|
8
|
Извести гасительная
|
732
|
10
|
7,3
|
0,8
|
5,8
|
1,0/0
|
0
|
|
9
|
Арматурный цех №1
|
690
|
12
|
8,3
|
0,8
|
6,6
|
0,9/0,48
|
3,2
|
|
10
|
Мастерская термоизоляции
|
648
|
5,8
|
0,8
|
4,64
|
0,9/0,48
|
2,2
|
|
11
|
Котельная
|
972
|
12
|
11,7
|
0,8
|
9,9
|
1,0/0
|
0
|
|
12
|
Теплопункт
|
462
|
8
|
3,7
|
0,8
|
3
|
0,58/1,4
|
0
|
|
13
|
Арматурный цех №2
|
2772
|
8
|
22,2
|
0,8
|
17,7
|
0,58/1,4
|
25
|
|
14
|
Цех №1
|
5316
|
9
|
47,8
|
0,8
|
38,2
|
0,58/1,4
|
53,5
|
|
15
|
Цех №2
|
5790
|
9
|
52,1
|
0,8
|
41,6
|
1,0/0
|
58,3
|
|
16
|
Компрессорная до1 кВ
Компрессорная выше1 кВ
|
360 1476
|
12
|
4,3
|
0,8
|
3,4
|
0,58/1,4
|
0
|
|
17
|
Цех ячей. Бетонов
|
3790
|
9
|
34,1
|
0,8
|
27,2
|
0,58/1,4
|
38,1
|
|
18
|
Цех гипсошлаковых пер.
|
1848
|
9
|
16,6
|
0,8
|
13,2
|
0,58/1,4
|
18,6
|
|
19
|
Механический цех
|
10116
|
9
|
91
|
0,8
|
72,8
|
1,0/0
|
101,9
|
|
20
|
База механизации
|
2400
|
10
|
24
|
0,8
|
19,2
|
0,58/1,4
|
0
|
|
21
|
Цех метал. Конструкций
|
10116
|
10
|
118
|
0,8
|
94,4
|
0,95/0,33
|
132,2
|
|
22
|
Блок мастерских
|
2034
|
12
|
24,4
|
0,8
|
19,5
|
0,95/0,33
|
6,4
|
|
23
|
Столовая
|
462
|
12
|
5,5
|
0,8
|
4,7
|
0,95/0,33
|
1,6
|
|
24
|
Управление
|
972
|
14
|
13,6
|
0,8
|
11,5
|
0,95/0,33
|
3,8
|
|
25
|
Ремонтно-механический
|
1758
|
12
|
21,0
|
0,8
|
16,8
|
0,95/0,33
|
5,5
|
|
26
|
Освещение цехов завода и
территории предприятия
|
33496635,9509,6512,6
|
|
|
|
|
|
|
2.1.2
Определение расчётных нагрузок по предприятию и цехам
Определение
расчётных нагрузок по предприятию в целом допускается производить по средним
величинам коэффициентов спроса Кс, коэффициентов мощности cos.
и установленной мощности групповых потребителей в
цехах по формулам: Электрические нагрузки систем электроснабжения определяют
для выбора числа и мощности силовых трансформаторов, мощности и места
подключения компенсирующих устройств, выбора и проверки токоведущих элементов
по условию допустимого нагрева, расчета потерь и колебаний напряжения и выбора
защиты.
Расчетные электрические нагрузки определяем используя метод коэффициента
спроса:
где
Kc - коэффициент спроса, Pу -
установленная мощность
Расчётную нагрузку узла системы электроснабжения завода определяем
суммированием расчётных нагрузок отдельных групп электроприёмников, входящих в
узел с участием коэффициента разновремённости максимума нагрузки:
Sp=
;
где
Кр.м.- коэффициент разновремённости максимума нагрузки отдельных групп
приёмников (0.85-1).
Потери
в трансформаторах, линиях соответственно на первом этапе проектирования
принимаем:
;
;
.
Результаты
сведены в таблицу 2.2.
Таблица 2.1. Результаты расчетов электрических нагрузок.
|
Наименование
|
Установленная мощность
|
Коэффициент спроса
|
соs
|
Расчетная нагрузка за
наиболее загруженную смену
|
Осветительная нагрузка
|
Расчетная суммарная
нагрузка нагрузка
|
|
Ру, кВт
|
Кс
|
|
Ррс
|
tq
|
Qрс
|
Рро
|
Qро
|
Рр
|
Qp
|
Sp
|
|
1
|
2
|
3
|
4
|
5
|
6
|
7
|
8
|
9
|
10
|
11
|
12
|
|
Склад заполнителей
|
180
|
0,2
|
0,5
|
36
|
1,02
|
36,7
|
16
|
0
|
145,75
|
36,72
|
150,3044
|
|
Склад цемента
|
320
|
0,2
|
0,5
|
64
|
1,7
|
109
|
10
|
0
|
74
|
108,8
|
131,5805
|
|
Бетонорастворный узел
|
250
|
0,5
|
0,6
|
125
|
0,75
|
93,8
|
15
|
0
|
140
|
93,75
|
168,4905
|
|
Дробильносортировочный
|
130
|
0,3
|
0,6
|
39
|
1,3
|
50,7
|
10
|
14,1
|
49
|
64,8
|
81,24063
|
|
Открытый склад ЖБИ
|
180
|
0,7
|
1
|
126
|
0
|
0
|
27
|
37,6
|
152,8
|
37,6
|
157,3582
|
|
Лаборатория
|
240
|
0,5
|
0,6
|
120
|
1,3
|
156
|
7,8
|
3,8
|
127,8
|
159,8
|
204,6189
|
|
Столярный цех
|
30
|
0,3
|
0,7
|
9
|
1,02
|
9,18
|
14
|
6,8
|
23,2
|
15,98
|
28,17091
|
|
Извести гасительная
|
80
|
0,3
|
0,7
|
24
|
1,02
|
24,5
|
5,8
|
0
|
29,8
|
24,48
|
38,56566
|
|
Арматурный цех №1
|
290
|
0,3
|
0,7
|
87
|
1,02
|
88,7
|
6,6
|
3,2
|
93,6
|
91,94
|
131,2018
|
|
Мастерская
термоизоляционный узел
|
100
|
0,3
|
0,7
|
30
|
1,02
|
30,6
|
4,6
|
2,2
|
34,6
|
32,8
|
47,67599
|
|
Котельная
|
580
|
0,8
|
0,8
|
435
|
0,75
|
326
|
10
|
0
|
445
|
326,25
|
551,7826
|
|
Теплопункт
|
250
|
0,8
|
0,8
|
188
|
0,75
|
141
|
3
|
0
|
190,5
|
140,625
|
236,7818
|
|
Арматурный цех №2
|
1530
|
0,6
|
0,5
|
918
|
1,7
|
1561
|
18
|
25
|
935,7
|
1585,6
|
1841,103
|
|
Цех №1
|
1420
|
0,5
|
0,5
|
710
|
1,7
|
1207
|
38
|
53,5
|
748,2
|
1465,832
|
|
Цех №2
|
580
|
0,4
|
0,5
|
232
|
1,7
|
394
|
42
|
58,3
|
273,6
|
452,7
|
528,9558
|
|
Компрессорная до1 кВ
|
160
|
0,8
|
0,8
|
128
|
0,75
|
96
|
3,4
|
0
|
131,44
|
96
|
162,7651
|
|
Цех ячей. Бетонов
|
760
|
0,4
|
0,5
|
304
|
0,75
|
228
|
27
|
38,1
|
331,2
|
266,1
|
424,856
|
|
Цех гипсошлаковых пер.
|
150
|
0,4
|
0,5
|
60
|
1,7
|
102
|
13
|
18,6
|
73,2
|
120,6
|
141,0766
|
|
Механический цех
|
1360
|
0,6
|
0,5
|
816
|
1,7
|
1387
|
73
|
101,6
|
888,8
|
1488,8
|
1733,924
|
|
База механизации
|
760
|
0,5
|
0,6
|
380
|
1,3
|
494
|
19
|
0
|
399,2
|
494
|
635,1351
|
|
Цех метал. Конструкций
|
900
|
0,5
|
0,5
|
450
|
0,75
|
338
|
94
|
132,2
|
544,4
|
469,7
|
719,0198
|
|
Блок мастерских
|
80
|
0,5
|
0,6
|
40
|
1,3
|
52
|
20
|
6,4
|
59,52
|
58,4
|
83,38579
|
|
Столовая
|
350
|
0,4
|
0,7
|
140
|
1,02
|
143
|
4,7
|
1,6
|
144,7
|
144,4
|
204,4247
|
|
Управление
|
40
|
0,4
|
0,7
|
16
|
1,02
|
16,3
|
12
|
3,8
|
27,56
|
20,12
|
34,12284
|
|
Ремонтно-механический
|
200
|
0,3
|
0,7
|
60
|
1,02
|
61,2
|
17
|
5,5
|
76,8
|
66,7
|
101,7208
|
|
Итого по заводу до 1кВ
|
10920
|
|
|
5537
|
|
7145
|
510
|
512,3
|
6140,37
|
7657,165
|
9815,107
|
|
Потери в тр-рах
|
|
|
|
|
|
|
|
|
196,3021
|
981,5107
|
1000,948
|
|
Потери в линии
|
|
|
|
|
|
|
|
|
294,4532
|
|
|
|
Итого без учета КУ
|
|
|
|
|
|
|
|
|
6631,125
|
8638,676
|
10890,3
|
|
|
|
|
|
|
|
|
|
|
|
|
|
Компрессоры
|
1200
|
0,8
|
1
|
960
|
0,4
|
384
|
|
|
960
|
384
|
1033,952
|
|
Итого по заводу без КУ
|
|
|
|
|
|
|
|
|
7591,125
|
9022,676
|
11791,26
|
.2 Выбор
компенсирующих устройств
Одним из основных вопросов, решаемых при проектировании и эксплуатации
систем электроснабжения промышленных предприятий, является вопрос о компенсации
реактивной мощности.
Передача значительного количества реактивной мощности из энергосистемы к
потребителям не рациональна по следующим причинам: возникают дополнительные
потери активной мощности и энергии во всех элементах системы электроснабжения,
обусловленные загрузкой их реактивной мощностью, и дополнительные потери
напряжения в питающих сетях.
Компенсация реактивной мощности с одновременным улучшением качества
электроэнергии непосредственно в сетях промышленных предприятий является одним
из направлений сокращения потерь электроэнергии и повышения эффективности
электроустановок предприятий.
Ввод источника реактивной мощности приводит к снижению потерь в период
максимума нагрузки в среднем на 0,081 кВт/квар. В настоящее время степень
компенсации в период максимума нагрузки составляет 0,25 квар/кВт, что
значительно меньше экономически целесообразной компенсации, равной 0,6
квар/кВт. Поэтому решение этой проблемы даст большой экономический эффект.
Следует отметить, что с точки зрения экономии электроэнергии и регулирования
напряжения компенсацию реактивной мощности наиболее целесообразно осуществлять
у ее потребителей.
Для правильного решения вопросов компенсации реактивной мощности составим
уравнение баланса:
Значение
реактивной мощности передаваемой энергоснабжающей организацией потребителю в
часы максимальных нагрузок энергосистемы:
э1=6452,35
кВар
uде a=0,6-
для предприятий питающихся от сети 10 кВ.
Рр
- расчетная активная мощность предприятия
Реактивная
мощность генерируемая синхронными электродвигателями компрессорной:
Принимаем
наименьшее значение для расчета КУ.
Суммарную
мощность КУ Qк1 определяют по балансу реактивной мощности на
границе электрического раздела предприятия и энергосистемы в период наибольшей
активной нагрузки энергосистемы
-
следовательно требуется установка компенсирующих устройств (КУ).
Для
промышленных предприятий с присоединенной суммарной мощностью трансформаторов
менее 750 кВА значение мощности КУ Qк1 задается непосредственно
энергосистемой и является обязательным при выполнения проекта электроснабжения
предприятия.
По
согласованию с энергосистемой, выдавшей технические условия на присоединения
потребителей, допускается принимать большую по сравнению с Qк1
суммарную мощность КУ (соответственно меньше значение Qэ1), если это
снижает приведенные затраты на систему электроснабжения предприятия в целом.
Средствами
компенсации реактивной мощности являются: в сетях общего назначения - батареи
конденсаторов (низшего напряжения - НБК и высшего напряжения - ВБК) и
синхронные двигатели (СД); в сетях со специфическими нагрузками, дополнительно
к указанным средствам, - силовые резонансные фильтры (СРФ) (называемые также
фильтр компенсирующими устройствами ФКУ).
К
сетям напряжением до 1 кВ на промышленных предприятиях подключается большая
часть потребителей реактивной мощности. Коэффициент мощности нагрузки НН обычно
не превышает 0,8. Сети напряжением 380 - 660 В электрически более удалены от
источников питания, поэтому передача реактивной мощности в сеть НН требует
увеличения сечения проводов и кабелей, повышения мощности силовых
трансформаторов и сопровождается потерями активной и реактивной мощностей.
Затраты обусловленные перечисленными факторами, можно уменьшить или даже
устранить, если осуществлять компенсацию реактивной мощности непосредственно в
сети НН.
Источниками
реактивной мощности в сети НН являются СД напряжением 380 - 660 и
конденсаторные батареи. Недостаточная часть (некомпенсированная реактивная
нагрузка НН) покрывается перетоком реактивной мощности из сети ВН Qмах
тр.
При
решении задачи КРМ требуется установить оптимальное соотношение между
источниками реактивной мощности НН и ВН, принимая во внимание потери энергии на
генерацию реактивной мощности источниками НН и ВН, потери электроэнергии на
передачи Qмах,тр из сети ВН в сеть НН и удорожание цеховых ТП в
случае загрузки их реактивной мощностью.
Выбор
оптимальной мощности НБК осуществляют одновременно с выбором цеховых ТП.
2.3.
Определение числа и мощности цеховых ТП
Предварительный выбор числа и мощности трансформаторов подстанций,
питающих потребителей цехов производим на основании требуемой надёжности
электроснабжения.
Основными потребителями электроэнергии на комбинате являются
электроприемники второй и третьей категории, котельная и теплопункт относятся к
потребителям первой категории.
Все
потребители питаются от подстанций, в которых установлено по два трансформатора
одинаковой мощности. Нормальный режим работы - раздельная работа
трансформаторов. Номинальная мощность подстанций выбирается по средней мощности
за наиболее загруженную смену, исходя из условия загрузки трансформаторов 90
95 % в нормальном режиме и допустимой перегрузки на 40
% от Sном.т. в аварийном режиме.
где
N - число трансформаторов; Кз - коэффициент загрузки
трансформатора.
2.3.1 Выбор
оптимального числа цеховых трансформаторов
Выбор трансформаторов производится с учетом условий их установки,
охлаждения, температуры и состояния окружающей среды и т.п.
Для цеховых подстанций с первичным напряжением 6 или 10 кВ могут быть
применены масляные трансформаторы, сухие трансформаторы и сухие трансформаторы
с литой изоляцией, заменяющие трансформаторы с негорючим заполнением.
Основное применение на промышленных предприятиях находят двухобмоточные
трансформаторы. Трехобмоточные трансформаторы 110/35/6 - 10 кВ применяются на
ГПП сравнительно редко при наличии удаленных потребителей средней мощности,
относящихся к данному предприятию или району. Широкое применение находят
трансформаторы с расщепленными обмотками 110-220/6-6 кВ или 110-220/6-10 кВ.
Они применяются при необходимости выделения ударных нагрузок, снижения тока
короткого замыкания и при наличии на предприятии вторичных сетей с напряжением
6 и 10 кВ.
Двухтрансформаторные цеховые подстанции следует применять при
значительной мощности нагрузок 1 категории, при трехсменной работе
электроприемников II категории и при сосредоточенных нагрузках цехов.
Двухтрансформаторные цеховые подстанции иногда могут оказаться целесообразными
также в следующих случаях:
при неравномерном суточном или годовом графике нагрузки, в частности, при
наличии сезонных нагрузок или при одно и двухсменной работе со значительной
разницей загрузки смен;
когда мощность трансформаторов лимитируется условиями их транспортировки,
высотой помещения и другими соображениями, требующими уменьшения массы или
габаритов;
при расширении подстанции, если окажется нецелесообразной замена
существующего трансформатора на более мощный.
Цеховые подстанции с числом трансформаторов более двух повышают
надежность электроснабжения и во многих случаях более целесообразны, чем
двухтрансформаторные подстанции.
Выбор мощности трансформаторов производится на основании
технико-экономических расчетов, исходя из полной расчетной нагрузки объекта,
удельной плотности нагрузки, стоимости электроэнергии и других факторов.
Оптимальная мощность трансформатора соответствует минимальным приведенным
затратам.
При выборе трансформаторов следует учитывать их перегрузочную
способность, которая зависит, в частности, oт характера графика нагрузки и от предшествовавшей
послеаварийному режиму загрузки трансформатора.
Мощность цеховых трансформаторов следует выбирать, исходя их сроднен
нагрузки в наиболее загруженную смену.
На цеховых подстанциях чаще применяются трансформаторы 1000 и 630 кВА;
трансформаторы мощностью до 630 кВА применяются при малой плотности нагрузок, в
частности, на мелких и средних предприятиях, на периферийных участках крупных
предприятий, для административных зданий, клубов и т. п. При удельной плотности
нагрузок 0,2 кВ·А/м2 и выше применяются ,трансформаторы 1600 кВ·А, а
при удельной плотности нагрузок 0,3 кВ·А/м2 и выше целесообразно применять
трансформаторы мощностью 2500 кВ·А.
Определим удельную плотность нагрузки на предприятии:
,
необходимо
принять номинальную мощность трансформаторов
,
принимаем трансформаторы ТМ-630.
Определим
минимально возможное число цеховых трансформаторов:
Nmin-минимальное
число трансформаторов.
Кз
- коэффициент загрузки трансформатора.
Наибольшая
реактивная мощность, которую целесообразно передать через трансформатор:


Суммарная
мощность конденсаторных батарей:
Дополнительная мощность НБК:
-расчетный
коэффициент зависящий от расчетных параметров Кр1 и Кр2
γ = 0,21 (Кр1 = 15 и Кр2 = 27)
Определим
мощность компенсирующих устройств непосредственно присоединенных к ТП. Выбор
оптимальной мощности НБК осуществляют одновременно с выбором цеховых ТП.
Расчетную мощность НБК округляют до ближайшей стандартной мощности комплектных
конденсаторных установок (ККУ).
Исходя
из условий выбираем низковольтные конденсаторные установки, результаты сводим в
таблицу 2.3:
Таблица
2.4. Результаты расчетов и выбора компенсирующих устройств.
|
№ цеховой подстанции
|
Тип номинальная мощность
компенсирующих устройств
|
Номинальная мощность
компенсирующих устройств Qку, кВАр
|
|
ТП1
|
УКЛН-0,38-600-150УЗ
|
600 х 2
|
|
ТП2
|
УКЛН-0,38-600-150УЗ
|
600 х 2
|
|
ТП3
|
УКЛН-0,38-600-150УЗ
|
600 х 2
|
|
ТП4
|
УКЛН-0,38-600-150УЗ
|
600 х 2
|
|
ТП5
|
УКЛН-0,38-200-150УЗ
|
200х4
|
|
ТП6
|
УКЛН-0,38-200-150УЗ
|
200х2
|
Полная мощность с учетом компенсирующих устройств.
Таблица 2.4 Результаты выбора числа и мощности трансформаторов ТП, с
учетом компенсации реактивной мощности
|
№ цеховой подстанции
|
Присоединенная нагрузка
|
Расчетная нагрузка
|
Реактивная нагрузка
выделяемая для компенсации
|
Номинальная мощность
компенсир. устройств
|
Расчетная мощность
присоединенная к цеховой ТП
|
Тип номинальная мощность и
количество трансформаторов
|
Коэффициент загрузки трансформаторов
|
|
|
Pp, кВт
|
Qр, кВАр
|
Q”ку, кВАр
|
Qку, кВАр
|
Sр, кВА
|
Sном х N
|
kз
|
|
ТП1
|
2, 10, 14, 16
|
987,6
|
1497
|
1189
|
600 х 2
|
603х20,78
|
|
|
|
ТП2
|
13
|
935
|
1585
|
1268
|
600 х 2
|
603х20,76
|
|
|
|
ТП3
|
4, 7, 9, 15, 17, 20
|
1168
|
1384,4
|
1107
|
600 х 2
|
603х20,88
|
|
|
|
ТП4
|
19
|
888,8
|
1488,8
|
1190,4
|
600 х 2
|
603х20,67
|
|
|
|
ТП5
|
1, 3, 8, 11, 12, 22
|
1009
|
679
|
543
|
200х2
|
603х20,79
|
|
|
|
ТП6
|
5, 6, 18, 21, 23, 24, 25
|
1144
|
1015
|
812
|
200х4
|
603х20,88
|
|
|
. Построение картограмм электрических нагрузок
Нахождения центра электрических нагрузок предприятия.
Для определения условного центра электрических нагрузок (ЦЭН) применяется
методика определения центра тяжести однородных плоских фигур сложной формы.
Для выбора места расположения цеховых подстанций и ЦРП на генплане завода
строится картограмма нагрузок:
Хс=
;
Yc=
где
Хс, Ус - коэффициенты центра электрических нагрузок плоской фигуры в принятом
масштабе.
Sb - площади
участков на которые разбита плоская фигура.
Если
объекты представляют собой правильный многоугольник, то их центры находятся на
пересечении диагоналей.
Определение
условного электрического центра нагрузок предприятия:
Х0=
; У0=
;
где
Хо, У0 - координаты центра нагрузок предприятия;
Хi, Уi -
координаты центра электрических нагрузок цехов.
Расчёты
сводятся в таблице 3.
Определение радиусов окружностей на картограммах электрических нагрузок:
;
где
ri - радиус окружности, мм;
Рi -
расчётная активная нагрузка данного цеха, кВт;
m - масштаб,
кВт/мм2;
Выбираем
масштаб, равный
кВт/мм2 , определяем радиусы окружностей.
Осветительная нагрузка наносится в виде сектора круга.
Угол сектора (2) определяется из отношения (Рр,общ.) осветительных
нагрузок (Рр,осв.) к Рр.общ цехов.
αn=
;
α1=
Таблица
3. Результаты расчетов картограммы нагрузок.
|
№
|
Наименование
|
Расчетная нагрузка
|
Координаты, радиус центра
электрических нагрузок
|
Угол осветительной нагрузки
|
|
|
Pp, кВт
|
Fном, м2
|
Хс, м.
|
Ус, м.
|
r
|
, град
|
|
1.
|
Склад заполнителей
|
36
|
3324
|
400
|
345
|
1,2
|
11
|
|
2.
|
Склад цемента
|
64
|
2100
|
135
|
310
|
1,5
|
5
|
|
3.
|
Бетоннораствор. узел
|
125
|
3144
|
415
|
455
|
2,1
|
38
|
|
4.
|
Дробил. Сор-ный узел
|
39
|
2100
|
190
|
530
|
1,2
|
73
|
|
5.
|
Открытый склад ЖБИ
|
126
|
4200
|
80
|
240
|
2,1
|
69
|
|
6.
|
Лаборатория
|
120
|
654
|
210
|
178
|
2
|
19
|
|
7.
|
Столярный цех
|
9
|
1476
|
270
|
525
|
3,2
|
219
|
|
8.
|
Извести гасительная
|
24
|
732
|
490
|
460
|
0,9
|
60
|
|
9.
|
Арматурный цех №1
|
87
|
690
|
310
|
435
|
1,7
|
22
|
|
10.
|
Мастерская термоизоляции
|
30
|
648
|
60
|
315
|
1
|
41
|
|
11.
|
Котельная
|
435
|
972
|
550
|
450
|
3,9
|
8
|
|
12.
|
Теплопункт
|
188
|
462
|
555
|
390
|
2,5
|
5
|
|
13.
|
Арматурный цех №2
|
918
|
2772
|
25
|
445
|
5
|
7
|
|
14.
|
Цех №1
|
710
|
5316
|
80
|
470
|
4,8
|
18
|
|
15.
|
Цех №2
|
232
|
5790
|
220
|
460
|
2,9
|
54
|
|
16.
|
Компрессорная до1 кВ Компрессорная
выше1 кВ
|
128
|
360 1476
|
195
|
315
|
2
|
8
|
|
17.
|
Цех ячей. Бетонов
|
304
|
3790
|
475
|
70
|
3,2
|
29
|
|
18.
|
Цех гипсошлаковых
перерекрытий.
|
60
|
1848
|
210
|
240
|
1,5
|
64
|
|
19.
|
Механический цех
|
816
|
10116
|
338
|
245
|
5,3
|
29
|
|
20.
|
База механизации
|
380
|
2400
|
335
|
80
|
3,5
|
17
|
|
21.
|
Цех метал. Конструкций
|
450
|
10116
|
110
|
75
|
4,2
|
62
|
|
22.
|
Блок мастерских
|
40
|
2034
|
525
|
520
|
1,3
|
114
|
|
23.
|
Столовая
|
140
|
462
|
130
|
173
|
2,2
|
12
|
|
24.
|
Управление
|
16
|
972
|
60
|
178
|
0,9
|
146
|
|
25.
|
Ремонтно-механический
|
60
|
1758
|
210
|
43
|
1,5
|
80
|
4. Выбор
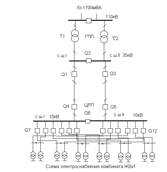
схемы и напряжения питающих сетей
.1
Технико-экономическое сравнение вариантов
С учётом требований, предъявленных к электроснабжению предприятий,
указаний СНиП и Инструкций по проектированию. «Комбинат ЖБИ» с потребляемой
расчётной мощностью 6308 кВА относится к небольшим предприятиям, входит в
интервал более 7,5 МВА нижнего предела установленной мощности для средних
предприятий.
Приближенное определение рационального питающего напряжения по номограмме
позволяет принять для внешнего электроснабжения напряжения 6,10 и 35 кВ.
Выбор рационального напряжения проведём по готовым приведённым затратам
по следующим вариантам:
Вариант 1 - обеспечение внешнего электроснабжения по воздушным линиям
напряжением 6, 10 и 35 кВ.
Вариант 2 - обеспечение внешнего электроснабжения по кабельным линиям 6 и
10 кВ.
Исходные данные: расчётная мощность -6308 кВА. Годовое число часов работы
- 4000. Расстояние от пункта питания до ЦРП завода 6 км. Питающие линии
двухцепные, каждая из которых должна быть рассчитана на полную нагрузку для
обеспечения бесперебойности питания потребителей 3 и 2 категории, потребителей,
относящихся к 1 категории.
Вариант 1. Для сокращения объёма расчётов определение годовых затрат
производится на напряжение 10 кВ, а для варианта 6, 35 кВ приведены
окончательные результаты расчёта.
Годовые эксплуатационные расходы рассчитываются по формуле
Сэ=Ср.+Скр+С’э+См (4.1)
или
Сэ=Са+Сн+С’э (4.2)
Амортизационные расходы на реновацию Ср в расчётах не учитываем,
поскольку срок службы системы электроснабжения принимаем не менее 30 лет
(воздушные линии на бетонных пасынках обеспечивают данный срок эксплуатации).
Годовые расходы на эксплуатацию С’э , включающие в себя расходы на
текущий ремонт, заработную плату, общепроизводственные расходы принимаем для
эксплуатации одинаковыми и исключаем из расчётов, как не влияющие на выбор
вариантов напряжения.
Годовые расходы См принимаем равным стоимости потерь электроэнергии в
линиях Сп.
Годовые расходы на капитальный ремонт Ск.р. принимаем равными
амортизационным отчислениям Са.
Для воздушных линий амортизационные отчисления принимают равным 6, для
подстанций 10%. Следовательно,
Сэ=Сп+Са (4.3)
В соответствии с изложенным выше годовые затраты определяем по выражению:
=Сэ+Кнэ*К(4.4)
Определяем приведённые затраты при напряжении 10 кВ.
) Капиталовложения
где Кл - стоимость сооружения воздушных линий 10 кВ;
Кэ.а.10 - стоимость электрической аппаратуры на 10 кВ.
Все капиталовложения определяем по укрупнённым технико-экономическим
показателям.
Находим Кл10. Для определения капиталовложений по сооружению двухцепной
линии 10 кВ определяем сечение проводов линии. Выбор сечения проводим из
расчёта обеспечения питания предприятия по одной линии в случае повреждения или
отключения другой. Принимаем допустимую перегрузку линии в аварийном режиме
равной 1.3; тогда сечение линии должно соответствовать пропускной мощности:
Sa=Sи=6308/1.3=5281,кВА;
Iп=305А
Принимаем
две цепи линии 10 кВ с проводами АС(3*95). Для данного сечения линии в
нормальном режиме работы длительно допустимая токовая нагрузка равна 320 А. При
полной загрузке потери
. Стоимость линии 1,95 тыс/км где:
и стоимость линии приняты по таблице 4 - 4 [31].
Принимая допустимые потери напряжения в аварийном режиме равными 10 %,
получаем допустимую длину передачи:
Lдоп=
что
примерно равно действительному расстоянию, 6км.
Проверку воздушных линий на термическую стойкость к токам К.З. не
производим.
Механическая прочность и минимальные потери на коронирование на
напряжении 10 кВ при сечении 95 мм2 обеспечены.
Таким образом, по техническим условиям выбираем две линии 3*95 мм2 на
деревянных опорах с железобетонными пасынками.
Выбор
экономического сечения линии производим упрощённым способом по экономической
плотности тока
(таблица 1.3.36 ПУЭ)
э=
(4.6)
Окончательно
принимаем две линии с проводами АС(3*120мм2) на деревянных опорах Iдоп=375
А.
;
К1км=2,35 тыс. руб.; Кл10=2*6*2,35=28,2 тыс. руб.
Находим
Кэа10.
Задаваясь
условием, что отключающая способность выключателя должна быть не более 350 тыс.
кВА, выбираем выключатель типа ВПМП - 10 - 1000 - 20 УЗ стоимостью 1,57 тыс.
руб.
Капиталовложения
в электрическую аппаратуру составляют
Кэа10
=LКв=6*1,57=9,42 тыс. руб.(4.7)
Итого
капиталовложения в систему электроснабжения 10 кВ.
К10=Кл10+Кэа10=28,2+9,42=37,62
тыс. руб.(4.8)
.
Эксплуатационные расходы определяем по формуле:
Сэ=Сп+Са(4.9)
Находим
потери мощности и энергии на 1 км в линиях 10 кВ сечением А (3*120). При полной
загрузке потери мощности
. Номинальная нагрузка линии Sн=6,3 тыс.
кВА., расчётная нагрузка Sр=6308/2=3154 кВА, при этом коэффициент загрузки
Кз=3,1/6,3=0,49.
Определяем
расчётные потери мощности в двух линиях
(4.10)
Определяем
расход электроэнергии на потери tпот=4000 ч.
1,64*4500=6560
кВтч/год.(4.11)
Стоимость
потерь Сп10=
=6560 *0,224=14,44 тысруб/год(4.12)
Определяем
годовые амортизационные расходы. Амортизационные отчисления на линии принимаем
равными 6%, по подстанции 10%.
Следовательно,
Сал10=0,06*28,2=1,69 тыс. руб./год.
Са,эа10=0,1*9,42=0,942
тыс. руб./год.
Са10=Са,л10+Са,э,а10=1,69+0,942=2,634
тыс. руб./год.
Суммарные эксплуатационные расходы.
Сэ10=Сп10+Са10=14,44+2,634=17,0724 тыс. руб./год.(4.13)
В итоге при передаче электроэнергии на напряжении 10 кВ получаем
К
=37,62 тыс. руб.; Сэ10=17,0724 тыс. руб./год.
Годовые
приведённые затраты по варианту 10 кВ
З10=Сэ10+0,15
К
=17,0724 +0,15*37,62=22,71 тыс. руб./год.
Подсчитывая
аналогичным образом годовые затраты на напряжение 6 и 35 кВ, получим.
З6=33,8
тыс. руб./год. З35=26,9 тыс. руб./год.
Вариант
2. - внешнего электроснабжения предприятия по двум параллельно проложенными в
траншее кабельными линиями напряжением 10 или 6 кВ с расстоянием 100 мм между
ними, каждая из которых рассчитана на полную нагрузку.
Определение
приведённых годовых затрат выполнено для напряжения 10 кВ, а для напряжения 6
кВ приведены окончательные результаты расчёта.
Расчётный
ток в нормальном Iр и аварийном Iмах,р режимах
р=
; Iр10=
; Iр6=303,4
А.
Iмах,р=
; Iмах,р10=
; Iмах,р6=606,8
А.
По
справочным материалам [3]принимаем кабель марки ААБл с алюминиевыми жилами;
изоляция из пропитанной бумаги, в алюминиевой оболочке, бронированной стольными
лентами с подушкой из битума.
Выбираем
сечение жил кабельных линий, учитывая допустимую перегрузку в аварийном режиме
и снижение допустимого тока в нормальном режиме при прокладке кабелей в одной
траншее. Принимаем время ликвидации аварии максимальным (5 суток), а
коэффициент загрузки линии в нормальном режиме 0.6. В соответствии с таблицей
1.3.26[7] принимаем коэффициент снижения токовой нагрузки Кс.н равным 0.9.
Допустимый
ток кабельных линий определяем из соотношения
.25
Ксн*Iдоп
Iмах,р(4.14)
Iдоп
182*(1,25*0,9)
Iдоп10
204 А; Iдоп6
323,5 А.
По
таблице 1.3.16 ПУЭ принимаем сечение жил трёхжильного кабеля для напряжения 10
кВ равным 95 мм2 [Iдоп - 205 А] и 185 мм2 [Iдоп - 340 А для
напряжения 6 кВ]
Проверим
принятое сечение жил по экономической плотности тока:
S=
; S10=
мм2; S6=
мм2(4.15)
Проверяем
принятое сечение кабелей на потери напряжения:
(4.16)
В
нормальном режиме:
(2,6%)
В
аварийном режиме:
(4.17)
С
учётом выполнения требования ПУЭ по допустимым потерям напряжения в
осветительных (-2.5 до +5%) и силовых сетях (-5 до +10%) предпочтительным
является напряжение 10 кВ.
Определяем
коэффициент загрузки кабелей в нормальном режиме:
Кз=
; (4.18)
Кз.10=
; Кз.6=
где
I Iдоп=Кс.н*Iдоп
I’доп10=0,9*204=183
А; II доп6=0,9*340=339 А.
По
3.5[33] определяем потери мощности
в линии
при действительной нагрузке:
=
(4.19)
=3*1832*0,258*6*0,92*10-3=125,2
кВт
=3*3392*0,129*6*0,892*10-3=211,4
кВт
Потери
энергии в линии составят:
(4.20)
Стоимость
потерь энергии в линии равна:
Сп=
(4.21)
Сп95=500800*0,224=112179,2руб./год.
Сп240=844000*0,224=
189056 руб./год.
Капитальные
вложения на сооружение 2 линий определяем по УПС:
К=Куд*L(4.22)
К95=Куд.95*L=2*3,37*6=40.44
тыс.руб.
К240=Куд.240*L=2*4,75*6=57
тыс.руб.
где
Куд - стоимость 1 км кабельной линии, проложенной в траншее. Ежегодные
амортизационные отчисления составляют:
По
КЛ Са=К*Ка(4.23)
где
Ка=0,03 коэффициент амортизационных отчислений, принятый по таблице 2 - 1 [2]
Са95=40,44*0,03=
1,2132тыс.руб./год.
Са240=57*0,03=1,71
тыс.руб./год.
По
электрической аппаратуре. Принимаем аналогично и равным по воздушным линиям 10
и 6 кВ в размере Саэ=0,785 тыс.руб/год.
Годовые
эксплуатационные расходы составляют:
Сэ=Сп+Са+Саэ(4.24)
Сэ95=112,179+1,2132+0,785=
114,17532 тыс.руб/год.
Сэ240==
189,056+1,71+ 0,785=191,546 тыс.руб/год.
Приведённые
затраты на линию равны:
З95=Сэ95+0,125*К95=
114,17532 + 0,125*40.44 =119,2303252 тыс.руб/год.
З240=Сэ240+0,125*К240=191,546
+0,125*57=126,35532 тыс.руб/год.
Таким
образом, в результате расчётов имеем:
Годовые
приведённые затраты по вариантам:
ВЛ-35
кВ З35=26,9 тыс. руб./год.
ВЛ-10
кВ З10=22,71 тыс. руб./год.
ВЛ-6
кВ З6=33,8 тыс. руб./год.
КЛ-
10 кВ З95=119,23 тыс.руб/год.
КЛ-6
кВ З240=126,35532 тыс.руб/год.
На
основании сравнения результатов расчётов по годовым приведённым затратам по
воздушным линиям 6,10,35 кВ и кабельным линиям 6 и 10 кВ окончательно принимаем
для электроснабжения предприятия вариант двух кабельных линий ААБл 3*95 на
напряжение 10 кВ.
Учитывая
разностороннее расположение нагрузок цехов относительно ЦРП принята
одноступенчатая радиальная схема электроснабжения цеховых КТП по кабельным
линиям напряжением 10 кВ, позволяющая с достаточной надёжностью питать как
сосредоточенные нагрузки (котельная, компрессорная, насосная, теплопункт)
основного так и небольшие нагрузки вспомогательного производств.
Рис.2 Схема электроснабжения комбината
5. Выбор
сечения и марки кабелей 10 кВ системы электроснабжения
Кабели выбираются:
1. По длительно допустимому току
нагрузки;
2. По экономической плотности тока;
Проверяются:
·
По термической
устойчивости;
·
По потере
напряжения.
КЛ ЦРП - КТП№5.
1. Определяем: ток в нормальном режиме.

Сечение жил принимаем с учётом допустимой перегрузки в аварийном режиме и
снижении допустимого тока в нормальном режиме при прокладке кабелей в одной
траншее.
Допустимый ток кабельной линии определяем из выражения
1.25*Ксн*I’доп
Ιмах; I’доп
Ιмах/(0,9*1,25)
где:
Ксн - коэффициент снижения нагрузки
I’доп
72,8/(0,9*1,25); I’доп
102,8
1. По таблице 1.3.16 ПУЭ принимаем
кабель с алюминиевыми жилами сечением 3*35 Iдоп=115 А.
2. По экономической плотности тока:
э=Iнор/Jэ=72,8/1,4=52 мм2 принимаем сечение 3*50,
где: Jэ=1,4 А/мм2 таблица 1.2.36 ПУЭ
3. . Проверяем принятое сечение кабеля
на потери напряжения:
(5.1)
где:
L=0,14 - длина питающего кабеля, км.
(5.2)
Таким
образом, выбираем сечение кабеля ААШв 3*50 удовлетворяет всем требованиям и
принимается к прокладке.
Выбор
сечения кабеля к остальным КТП сведён в таблицу 12.
Таблица
12.
|
Участок кабельной сети.
|
Марка и сечение кабеля
|
Токавая нагрузка, А
|
Сечение, мм2
|
|
|
Расчетная Ip,max
|
Номинальная Iнорм
|
По экономической плотности
тока Jэк, А/мм2
|
По доп. нагреву
|
По току КЗ.
|
Принято
|
|
ПС110/10кВ - ЦРП
|
2*ААБл 3*120
|
364
|
182
|
130
|
120
|
53,5
|
3*120
|
|
ЦРП-КТП - 1
|
2*ААШв3*50
|
59,6
|
29,8
|
21,285714
|
41,3
|
48,1
|
3*50
|
|
ЦРП-КТП - 2
|
ААШв 3*35
|
58,4
|
29,2
|
20,857143
|
26
|
47,6
|
3*50
|
|
ЦРП-КТП - 3
|
ААШв 3*50
|
67,5
|
33,75
|
24,107143
|
41,3
|
33
|
3*50
|
|
ЦРП-КТП - 4
|
ААШв 3*16
|
51,37
|
25,685
|
18,346429
|
13,2
|
39,4
|
3*50
|
|
ЦРП-КТП - 5
|
ААШв 3*50
|
60,4
|
30,2
|
21,571429
|
41,3
|
47,7
|
3*50
|
|
ЦРП-КТП - 6
|
ААШв 3*35
|
67,2
|
33,6
|
24
|
26
|
45,8
|
3*50
|
6.
Определение потерь энергии в элементах систем электроснабжения
Определяем потери мощности ΔР в кабельных линиях при
действительной нагрузке на примере потерь в питающем кабеле «ГПП- ЦРП» ААБл
3*120, [выполненного в разделе «выбор схемы и напряжения электроснабжения»
Вариант1.]
ΔРд=3(Iдоп)2*rуд*L*Кз*10-3=3*2042*0,258*6*0,592*10-3=67,27
кВт.(6.1)
Потери энергии в двух линиях составят:
ΔЭ=2ΔРд*Тг=2*67,3*4000=538400
КВт.ч./год.(6.2)
Стоимость потерь активной энергии в линиях внешнего электроснабжения:
Сп=ΔЭа*Со.п.= 538400*0,224=1206,01 руб.год.(6.3)
Зарядная (ёмкостная) мощность кабельных линий (кВар) определена по
выражению
-ΔQс=
Iз*U*L*10-3
где:
Iз - зарядный ток линии, принимается по таблице
4.14.[35].
Iз=0,54 - для
кабеля сечением 50 мм2 при напряжении 10 кВ, А/км.;
Iз=0,75 - для
кабеля сечением 120 мм2 при напряжении 10 кВ, А/км.;
L - длина
кабельной линии, км.;
U - линейное
напряжение кабельной линии, В;
ΔQс=(
*0,54*10000*1,642*10-3+
*0,75*10000*5,6*10-3)=87,99
кВар.
Потери
реактивной энергии от зарядной мощности кабельных линий принимается с
отрицательным знаком.
6.1 Расчёт
токов короткого замыкания
Расчёт токов короткого замыкания производится для выбора оборудования по
условию электродинамической стойкости и производится по расчётной схеме системы
электроснабжения (рис. 1) в базисных единицах.
1. Принимаем за базисные единицы номинальную мощность трансформатора
Sб=Sном.т=16 МВА и среднее напряжение ступени с током КЗ Uб=Uср=10.5 кВ.
2. Определяем базисный ток:
Iб=
3. Составляем схему замещения (рис.2) и принимаем её элементы в
порядке их расположения от системы бесконечной мощности в направлении к точкам
КЗ.
Рис.2 Схема замещения системы электроснабжения для расчетов тока к.з.
4. Определяем сопротивления элементов схемы замещения в базисных
единицах.
Трансформаторы Т1 и Т2 системы.
(7.1)
Х1*=Х2*=
(7.2)
Кабельные
линии:
Х3*=Х4*=Худ*L
(7.3)
r3*=r4*=rуд*L
(7.4)
ЦРП-ТП2
Х5*=Худ*L
r5*=rуд*L
где:
Худ и rуд - значения удельного индуктивного и активного
сопротивления кабелей принятых по таблице 3.5[33];
ЦРП-ТП3
Х6*=0,09*0,258*16/10,52=0,0035
r6*=0,62*0,258*16/10,52=
0,0223944
ЦРП-ТП4
Х7*=0,09*0,432*16/10,52=
0,0054432
r7*=0,62*0,432*16/10,52=
0,0374976
ЦРП-ТП5
Х8*=0,09*0,51*16/10,52=
0,006426
r8*=0,62*0,51*16/10,52=
0,044268
ЦРП-ТП6
Х9*=0,09*0,492*16/10,52=
0,0061992*=0,62*0,492*16/10,52= 0,0427056
Суммарное
сопротивление до точки К1 при равенстве:

При
равенстве в параллельных ветвях индуктивное и активное сопротивления
и
(7.5)
Суммарное
сопротивление до точки К2.
.
Суммарное
сопротивление до точки К3.
.
Суммарное
сопротивление до точки К4.
.
Суммарное
сопротивление до точки К5.
.
Суммарное
сопротивление до точки К6.
.
Суммарное
сопротивление до точки К7.
.
Так
как условие
<XI/3 не выполняется для всех точек, кроме 1, то в
расчётах будем учитывать полное сопротивление
.
5. Ток КЗ в рассматриваемых точках составит:
Ik k1=
где:
.
Iк к2=Iб/
к
к3=
Iк к4=
Iк к5=
Iк к6=
Iк к7=
Iк к8=
Iк к9=
6. пределяем ударные токи, определив ударный коэффициент по кривой,
представляемой на рис. 6.22[33] в зависимости от отношения Т:
Для точки К1 Т1=0,0498/0,0032=15,56; Куд 1=1,8.
К2
2=0,06625/0,0556=1,19; Куд 2=1,08.
К3
3=0,0681/0,0682=1; Куд 3=1,05.
К4
4=0,06679/0,077=0,87; Куд 4=1,04.
К5
5=0,667/0,09=7,4; Куд 5=1,6.
К6
6=0,13/0,0996=0,175; Куд 6=1.
К7
7=0,0125/0,0976=0,12; Куд 7=1.
Ударный ток в рассматриваемых точках составит:
iуд 1=Куд
Ik k1=1.8*
*17.67=44.84
кА; (7.6)
уд
2=1.08*
*10.2=15.53 кА;
iуд 3=1.05*
*9.14=13.53 кА;
iуд 4=1.04*
*8,8=12,8128 кА;
iуд 5=1.6*
*5,9=13,216 кА;
iуд 6=1*
*7.3=10,22 кА;
iуд 7=1*
*6.77=9,478 кА;
По
данным расчета токов короткого замыкания будет произведена проверка основного
защитного и коммутационного оборудования
7.
Выбор оборудования на стороне 10 кВ
.1Выбор
вводных и секционных выключателей
Выбор вводных и секционных выключателей производим в режиме максимальных
нагрузок при питании ЦРП по одной линии при отключении второй.
Iраб.мах.=Sраб./
Uн=6308/1,73*10=364
А;
Выбираем
выключатель ВВ ТЕL - 10
Таблица
7.1
|
Условия выбора.
|
Каталожные данные.
|
Расчётные данные.
|
|
Uном.а Uном.у., кВ.1010
|
|
|
|
Iном.а. Iр.у., А.630364
|
|
|
|
Iном.о. Iр.о., кА2010,2
|
|
|
|
Sном.о. Sр.о. МВА200185,4
|
|
|
|
Iном.дин iу.р. кА5215,53
|
|
|
|
Iном.т.с  кА2010,2
|
|
|
где: tном.т.с - время, к которому отнесён
номинальный ток термической стойкости (у выключателей ответственного
производства tном.т.с принимают равным 5 и 10 сек.)
tи= приведённое время КЗ. сек.
Выбор линейного выключателя ВВ ТЕL - 10
Таблица 7.2.
|
Условия выбора.Каталожные
данные.Расчётные данные.
|
|
|
|
Uном.а Uном.у., кВ.1010
|
|
|
|
Iном.а. Iр.у., А.630182,6
|
|
|
|
Iном.о. Iр.о., кА2010,2
|
|
|
|
Sном.о. Sр.о. МВА200185,4
|
|
|
|
iном.дин iу.р. кА5215,53
|
|
|
|
Iном.т.с  кА2010,2
|
|
|
7.2 Выбор и
проверка шин камер КРУ - TEL

Выбор шин по длительно допустимому току производится по выражению:
доп=К1*К2*К3*I’доп.о
Где: I’доп.о - длительно допустимый ток для
прямоугольных шин, А; при температуре шины Θ=70 0С, температуре окружающей среды Θо.с.=250С и расположении шин
вертикально (на ребро).
К1=0,95 - поправочный коэффициент при расположении шин горизонтально
(плашмя);
К2=1 - поправочный коэффициент длительно допустимого тока для
многополосных шин;
К3=1 - поправочный коэффициент для шин при температуре окружающей среды
(воздуха) Θо.с. отличной от 25 0С.
Iраб.мах=Sраб/
U=256,12
А.
Выбираем
однополосные прямоугольные алюминиевые шины сечением 120*8, расположенные
горизонтально с длительно допустимым током I’доп=2400 А.
Iдоп=0,95*1*1*2400=2280
А.
Проверяем шины на электродинамическую и термическую стойкость к токам КЗ.
Определяем расчётные напряжения:
Gрасч.=
где:
М=
F(3)=1.76
F - наибольшая
сила, действующая на среднюю шину при трёхфазном коротком замыкании, кг.;
L=350 длина и
а=25 расстояние между токоведущими в точках крепления шин к опорным изоляторам,
см.;
I(з)у - ударный
ток, кА.;
=
=0.167 вh2=0,167*122*0,8=19,2
где:
в=0,8 толщина шины, см.;
h=12 ширина
шины, см.;
Расчётное напряжение в шине на изгиб.
Gрасч.
Gдоп.
108,2<650, где G - 650 значение допустимого напряжения в АТ шине,
кгс/см2 (табл 9.9 [31]).
Проверка на термическую устойчивость.
Сечение шины по термической стойкости.
Sт.с.=
,
где
α=11 - коэффициент термической стойкости.
.3 Выбор
опорных и проходных изоляторов для РП - 10кВ
Опорные изоляторы выбираем и проверяем по разрушающему воздействию от
ударного тока КЗ.
Проходные изоляторы выбираем и проверяем на электродинамическое и
термическое действие тока КЗ.
Таблица 7.3
|
Параметр.
|
Каталожные данные.
|
Формулы.
|
Расчётные данные.
|
|
Номинальное напряжение, кВ
|
10
|
Uном.а. Uном.у10
|
|
|
Номинальный ток для
проходных изоляторов и линейных выводов Iном.а., А.
|
100
|
Iном.а Iр.м.256,12
|
|
|
Допустимое усилие на
головку изолятора Fном,а., кгс.
|
100
|
Fдоп Fр, где Fр=1,76*10-2i2урL/a F’доп=Кh*Fдоп59,4
|
|
|
Допустимый ток термической
стойкости для проходных изоляторов и линейных выводов Iном.т.с.,
А.
|
20
|
Iном.т.с. I 10,2
|
|
где: Uном.а - номинальное напряжение
изолятора, допускающее длительное повышение в рабочем режиме на 15%;
Uном.у.
- номинальное напряжение установки в месте с возможным в условиях эксплуатации
повышением напряжения;
Fдоп -
допустимое усилие на головку изолятора, Fдоп=0,6Fразр.
Fp -
усилие на головку изолятора из расчёта тока КЗ.;
Кh=1 - коэффициент дополнительного
снижения нагрузки при расположении колпачков изоляторов в одной плоскости и
шины на головке изоляторов на «ребро».
Выбираем: опорный изолятор ОФ - 10 - 1250.
проходной изолятор ОФП - 10 - 1000.
.4 Выбор
трансформаторов тока
Выбор производится по номинальному току, номинальному напряжению,
нагрузке вторичной цепи, обеспечивающей погрешность в пределах выбранного
класса точности. Трансформаторы тока проверяют на внутреннюю и внешнюю
электродинамическую и термическую стойкость к тока КЗ. Выбор трансформаторов
тока состоит в соблюдении условий и приведён в таблице 17.
Выбираем трансформатор тока ТЛ - 10 - 1000/5 (вводная, секционная
камеры).
Таблица 7.4.1
|
Проверяемая величина.
|
Каталожные данные
|
Формулы.
|
Расчётные данные.
|
|
Номинальный первичный ток,
А
|
1000
|
Iном.т.т. Iном.у.256.12
|
|
|
Номинальное напряжение, кВ
|
12
|
Uном.т.т. Uном.у.10
|
|
|
Нагрузка вторичной обмотки,
В*А
|
20/30
|
S2ном S2р
|
|
|
Кратность допустимого тока
внутренней электродинамической стойкости.
|
Iзс=31,5 кА Iк=31,5 кА.
|
 11
|
|
Допустимое
усилие на головку изолятора трансформатора тока (внешняя динамическая
стойкость) 100 
|
*50/254.24
|
|
|
|
Кратность односекундного
тока термической стойкости.
|
Iт.д.с.=81 кА.
|
5.9
|
|
где: нагрузка вторичной обмотки: для измерения /защиты при cosφ=0.8 и классах точности 0,5 для
измерения, 10Р для защиты.
Номинальный вотричный ток - 5 А;
Iу.р.
- ударный расчётный ток КЗ., кА.;
-
установившийся ток КЗ., кА.;
tп - приведённое
время КЗ., с.;
Iном.т.т
-номинальный ток трансформатора тока в первичной цепи, кА.
а
- расстояние между линиями фаз, см.;
L - расстояние
от трансформатора до ближайшего опорного изолятора, см.;
Проверка трансформаторов тока по нагрузке вторичной цепи для обеспечения
его работы в заданном классе точности состоит в соблюдении условия:
н2>Zрасч.
Индуктивное сопротивление токовых цепей невелико, поэтому:
Н2=rрасч.
rрасч.
=rк+rпров.+rприб.
где: rк=0,1 - сопротивление контактов, Ом.;
rпров
- сопротивление проводников, Ом.;
rприб.
- сопротивление приборов, Ом..
где:
IН2=5 - номинальный вторичный ток прибора, А.;
-
мощность потребляемая приборами, ВА.;
=SA+SW+2SWh=5+0.52+2*1.5=8.52
ВА.
Чтобы трансформатор тока работал в выбранном классе точности, необходимо
выдержать условие:
rk+rпров+
<ΖΗ2
rпров=ZH2-
-rк=0,8-0,341-0,1=0,359 Ом.
где:
ZH2=
, где SН2=20
ВА - номинальная нагрузка вторичной цепи; IН2 -
номинальный ток вторичной цепи.
Зная
rпров. определяем сечение соединительных проводов
=ρ*Lрасч./ rпров.=3*0,0283/0,359=0,23 мм2
где:
Lрасч=L=3 м. - расчётная длина проводов при соединении
трансформаторов тока по схеме полной звезды;
ρ=0,0283 - удельное сопротивление провода из алюминия.
Принимаем
контрольный кабель АКВРГ с жилами сечением 2.5 мм2.
Выбор
остальных трансформаторов тока сводим в таблицу 18.
Таблица
7.4.2. Выбор трансформаторов тока
|
Место установки.
|
Uн, КВ
|
Iр.мах, А
|
Тип
|
Iн, кА
|
Класс точности
|
Zн2, Ом
|
Марка и сечение проводов
|
Кд
|
Кт
|
|
Ячейки ввода №1и2
|
10
|
364
|
ТЛ-10-1000/5
|
1
|
 АКВРГ-2,5
мм2115,9
|
|
|
|
|
|
Ячейки на КТП
|
10
|
51-67
|
ТЛ-10-300/5
|
0,3
|
 АКВРГ-2,5
мм231,912,5
|
|
|
|
|
.5 Выбор
трансформаторов напряжения
Выбор производится по напряжению сети, по конструкции, по классу точности,
по мощности питаемых вторичных цепей.
Трансформаторы напряжения служат для питания электроизмерительных
приборов и для контроля изоляции в сетях с малыми токами питания приборов.
Контроль состояния изоляции можно осуществить через трёхфазный трансформатор
напряжения типа НАМИ.
Трансформаторы напряжения трехфазные, масляные, антирезонансные
предназначены для выработки сигнала измерительной информации для электрических
приборов, цепей учета, автоматики, релейной защиты и сигнализации в сетях с
изолированной или заземленной через дугогасящий реактор нейтралью. Они
устойчивы к феррорезонансу и однофазным замыканиям сети на землю через
перемежающуюся дугу. Выдерживают все виды однофазных замыканий сети на землю
без ограничения длительности замыкания.
Класс точности трансформаторов: 0,2; 0,5; 1,0; 3,0 в зависимости от
нагрузки вторичных обмоток. Схема соединения обмоток эквивалентна схеме У / У /
П / звезда с нулем/звезда с нулем/разомкнутый треугольник/.
С 1997 года трансформаторы выпускаются модернизированные с улучшенными
весовыми и габаритными характеристиками с более рациональным расположением
вводов высокого напряжения.
Трансформатор напряжения НАМИ, который имеет две вторичные обмотки: одну
соединённую по схеме звезды для присоединения обмоток и приборов, вторую
соединённую по схеме открытый треугольник, для контроля за состоянием изоляции.
Трансформаторы напряжения устанавливаются по одному на каждую секцию шин.
Рис. 3. Схемы включения трансформаторов напряжения:
а-двух однофазных; б - трех однофазных; в - одного
трехфазного; г - одного пяти-стержневого
Таблица 7.5.1.Тип приборов присоединенных к трансформатору напряжения
|
Наименование прибора.
|
Тип.
|
Sпотр ВА
|
Число приб.
|
cosφ
|
sinφ
|
Общая потребляемая
мощность.
|
Qвар
|
|
Вольтметр.
|
Э-377
|
2,6
|
1
|
1
|
-
|
2,6
|
-
|
|
Счётчик активное мощности.
|
САИУ- И672
|
1,75
|
10
|
0,38
|
0,925
|
17,5
|
42,5
|
|
Счётчик реактивной
мощности.
|
СРУУ 673М
|
1,75
|
10
|
0,38
|
0,925
|
17,5
|
42,5
|
|
ИТОГО:
|
|
|
|
|
|
37,6
|
85
|
Выбираем
трансформатор напряжения типа НАМИ-10-66 SH2=120 ВА класс
точности 0,5. Таким образом
трансформатор
будет работать в выбранном классе точности.
7.6
Конструктивное выполнение цеховых КТП
Комплектные трансформаторные подстанции наружной установки КТП 630 кВА
6(10)/0.4 кВ
Комплектные трансформаторные подстанции наружной установки тупикового
исполнения серии КТП ТУ95.1203-11-98 мощностью 630 кВА служат для приема,
преобразования и распределения электрической энергии трехфазного тока частотой
50 Гц при номинальном напряжении 0,4 кВ в сетях с глухозаземленной нейтралью.
КТП имеют воздушный или кабельный ввод напряжением 6 или 10 кВ, вывод отходящих
линий 0,4 кВ - кабелем.
Основные характеристики
·
Мощность, кВА 630
·
Номинальное
напряжение 6/0.4, 10/0.4
·
Допустимое
тяжение проводов подводящей воздушной линии
·
с учетом ветра и
гололеда, H (кгс) (не более)..245(25)
·
Ввод кабельный,
воздушный
·
Вывод кабельный
·
Степень защиты по
ГОСТ 14254-80.... IP23
·
Вид
климатического исполнения по ГОСТ 15150-69 …. У1
·
Габаритные
размеры (ширины х глубина х высота), мм
·
-Для КТП с
кабельным вводом ... 2250 х 2934 х 2670
·
-Для КТП с
воздушным вводом …… 2250 х 2934 х 5100
·
Масса подстанции
без трансформатора, кг (не более).1500
КТП приспособлены к длительной работе на открытой площадке на высоте до
1000 м над уровнем моря во невзрывоопасной среде, не содержащей едких паров,
пыли, газов в концентрациях, разрушающих металлы, защитные покрытия и изоляцию
элементов подстанции при следующих условиях окружающей среды:
·
максимальная
температура, градусов Цельсия . +40
·
минимальная
температура, градусов Цельсия …… -40
·
относительная
влажность воздуха
при температуре плюс 20 градусов Цельсия, % (не более)……… 90
Подстанция состоит из следующих основных узлов:
·
корпус с
распределительными устройствами высокого напряжения(УВН), низкого напряжения
(РУНН) и масляного трансформатора (ТМ);
·
шкаф ввода
высокого напряжения с порталом (вариант для воздушного ввода);
Корпус подстанции представляет собой металлический каркас из листогнутых
профилей и панелей, соединенных между собой посредством сварки. Панели, двери и
крыша крепятся к каркасу болтами. Для транспортирования КТП с помощью
грузоподъемных средств в углах крыши предусмотрены рым-болты. Для вентиляции отсеков
предусмотрены жалюзи с регулируемыми шторками.
Основанием корпуса КТП общепромышленного исполнения служит сварная рама с
приваренными для удобства перемещения по горизонтали скобами. В варианте
изготовления для нефтеразработок основание имеет сплошной настил (дно) с
соответствующими проемами для кабелей отходящих линий. Проем для кабелей
закрывается сдвижной панелью. Корпус КТП для нефтеразработок выполнен на
салазках. В КТП общепромышленного назначения основание дна не имеет и салазки
отсутствуют, но по требованию заказчика подстанция может быть выполнена в
корпусе КТП для нефтеразработок.
Доступ в отсеки осуществляется через боковые и торцовую двухстворчатые
двери. Через боковые двери обслуживается отсек ТМ, через торцовую - отсеки РУНН
и УВН. В варианте для нефтеразработок на наружной стене подстанции имеется
дверь, за которой установлен штепсельный трехфазный разъем на 25А и пакетный
выключатель, используемые для питания переменным напряжением 380/220 В
переносного электроинструмента.
С целью обеспечения безопасных условий для обслуживающего персонала, а
также для правильной очередности коммутационных операций при эксплуатации в
подстанции предусмотрены блокировки, не допускающие:
·
отключение-включение
главных ножей разъединителя под нагрузкой
·
включение главных
ножей разъединителя при включенных ножах заземления
·
включение ножей
заземления при включенных главных ножах разъединителя
·
открывание двери
УВН при включенных главных ножах разъединителя
·
включение главных
ножей разъединителя при открытой двери УВН
·
открывание дверей
отсека ТМ при отключенных заземляющих ножах разъединителя
·
отключение
заземляющих ножей разъединителя при открытых дверях отсека ТМ
·
возможность
подачи напряжения до 1000 В через трансформатор на включенные заземляющие ножи
разъединителя
В КТП предусмотрены следующие виды защит:
·
от атмосферных
перенапряжений с помощью разрядников, установленных в шкафу воздушного ввода
(для подстанций с воздушным вводом)
·
от междуфазных
коротких замыканий силового трансформатора с помощью высоковольтных
предохранителей ПКТ
·
от коротких
замыканий и перегрузок отходящих линий с помощью автоматических выключателей
серии ВА51 с встроенными комбинированными расцепителями и предохранителей ПН2
рубильников РПС.
7.6.1.Выбор
оборудования КТП
Таблица 7.6. Выбор и проверка выключателя ВB ТЕL 10
|
Условия выбора.
|
Каталожные данные.
|
Расчетные данные.
|
|
Uном.а<Uн., кВ.
|
10
|
10
|
|
Iр.мах.<Iн., А.
|
630
|
75.1
|
|
Ι”= <I, кА209.14
|
|
|
|
S”=Sр. <Sн. МВА
|
200
|
166.02
|
8.
Светотехнический расчет
.1 Выбор
источника света
Высота помещения >8м, будем применять лампы ДРИ, которые применяют в
следующих случаях:
·
Для общего освещения
производственных помещений высотой более 8м, в которых не требуется правильной
цветопередачи;
·
Для освещения
территории промышленных предприятий;
Лампа ДРИ (дуговая ртутная с иодидными добавками) состоит из кварцевой
трубки помещенной в стеклянный баллон эллипсоидной формы они имеют следующий
состав металлогалогенных добавок: первая группа иодиды натрия, таллия и индия;
вторая группа - иодиды натрия, скандия. На внутренней поверхности последнего
нанесен слой люминофора. Видимое излучение ртутного разряда проходит через слой
люминофора, который поглощая ультрофеолетовое излучение кварцевой горелки
превращает его в видимое излучение красного цвета, процент которого указывается
в скобках маркировки лампы. Так как люминофор дает наибольшую яркость при
3000С, то это позволяет увеличить удельную нагрузку и повысить яркость ламп
примерно в 10 раз по сравнению с люминесцентными лампами.
8.2 Выбор
вида и системы освещения
Различают следующие виды искусственного освещения:
·
Аварийное;
·
Рабочее;
·
Эвакуационное.
Рабочее освещение бывает двух систем: общее (нормальное или
локализованное) и комбинированное.
При общем равномерном освещении светильников одного типа и мощности
устанавливаются по всему помещению и на одинаковой высоте.
.3 Выбор
освещенности
Уровень нормативной освещенности для производственных и вспомогательных
зданий устанавливают по СниП 23-05-95 с учетом разряда зрительных работ,
выбранного источника света, применяемой системы освещения, отсутствия или
наличия естественного освещения, а также по отраслевым нормам.
Одновременно с выбором освещенности рабочей поверхности выбирается и
коэффициент запаса, который учитывает факторы, приводящие к снижению
освещенности рабочей поверхности с течением времени.
Для данного помещения: разряд работы - 6.
Ен = 75Лк; [2]
зап = 1,5; [2] - для производственных помещений с воздушной средой,
содержащей в рабочей зоне менее 1мг/м пыли, дыма, копоти
8.4 Выбор
типа светильника
Выбор типа светильника делается с учетом:
1. требования к его светораспределению;
2. условий среды по степени защиты от поражения током;
. требований к ограничению ослепленности;
. экономичности установки в целом.
Помещения, где отношение высоты к площади велико целесообразно применять
светильники глубокого светораспределения, направляющая основную часть светового
потока непосредственно на рабочие поверхности, что повышает эффективность их
использования.
При выборе светильников по условиям среды обязательны требования к
исполнению их в пожароопасных и взрывоопасных зонах.
В сухих, влажных, сырых и жарких помещениях допустимо любое исполнение
светильников, но в сырых помещениях корпус патрона должен быть из изоляционных,
влагостойких материалов, а в жарких помещениях все части светильника должны
быть из материала необходимой теплостойкости.
В сырых помещениях слабым местом светильников является узел ввода
проводов, поэтому здесь необходимы светильники, имеющие уплотненный или
раздельный для каждого проводника ввод.
В пыльных помещениях, в зависимости от количества и характера пыли,
допустимы полностью или частично пылезащищенное или пыленепроницаемое
исполнение.
Исходя из всего этого намечаем следующие светильники:
СПОГ - 250 - по ГОСТ - 13828 - 68.
С - лампа ДРИ;
П - подвесной;
О - одинарный для промышленных предприятий;
Г - глубокая сила света.
Принимаем степень зашиты светильника в соответствии с ГОСТ 14254 - 80: IP 23;
- защита от соприкосновения с токоведущими частями и попадания предметов
СП;
- защита от воды - брызгозащищенный - от брызг, падающих под углом.
8.5 Выбор
расположения светильников
Основным вопросом устройства осветительных установок является правильное
расположение выбранных светильников. От его решения зависят экономичность,
качество освещения и удобство эксплуатации.