Электромеханические измерительные приборы
Тема:
Электромеханические измерительные приборы
1. Общие вопросы устройства и теории
электромеханических приборов
электромеханический
измерительный прибор
1.1 Устройство электромеханических приборов
В аналоговых электромеханических измерительных
приборах непосредственной оценки электромагнитная энергия, подведенная к
прибору непосредственно из измеряемой цепи, преобразуется в механическую
энергию углового перемещения подвижной части относительно неподвижной.
Эти приборы относят к приборам прямого действия.
Они состоят из электрического преобразователя (измерительной цепи),
электромеханического преобразователя (измерительного механизма), отсчетного
устройства (рис. 1).
Рис. 1 Структурная схема электромеханического
прибора
Измерительная цепь обеспечивает преобразование
электрической измеряемой величины X
в некоторую промежуточную электрическую величину Y
(ток или напряжение), функционально связанную с измеряемой величиной X.
Величина Y непосредственно
воздействует на измерительный механизм (ИМ).
По характеру преобразования измерительная цепь
может представлять собой совокупность элементов (резисторов, конденсаторов,
выпрямителей, термопар и др.). Различные измерительные цепи позволяют
использовать один и тот же ИМ при измерениях разнородных величин, напряжения,
тока, сопротивления, меняющихся в широких пределах.
Измерительный механизм, являясь основной частью
конструкции прибора, преобразует электромагнитную энергию в механическую
энергию, необходимую для отклонения его подвижной части относительно
неподвижной. У большинства измерительных механизмов перемещение подвижной части
состоит в повороте относительно неподвижной на угол α.
Отсчетное устройство состоит из указателя и
шкалы. Оно преобразует угловое перемещение подвижной части в перемещение
указателя l, которое
выражается в делениях шкалы.
В зависимости от принципа преобразования
электромагнитной энергии в механическое угловое перемещение подвижной части
измерительного механизма, электромеханические приборы подразделяются на
следующие группы (системы): 1) магнитоэлектрические; 2) электромагнитные; 3)
электродинамические; 4) ферродинамические; 5) электростатические; 6)
индукционные.
.2 Моменты, действующие на подвижную часть
электромеханических приборов
Подвижная часть ИМ представляет собой
механическую систему с одной степенью свободы относительно оси вращения. Момент
количества движения равен сумме моментов, действующих на подвижную часть.
Дифференциальное уравнение моментов, описывающее
работу ИМ, имеет вид
(1)
где J - момент инерции подвижной
части ИМ; α - угол
отклонения подвижной части.
На подвижную часть ИМ при ее
движении воздействуют:
вращающий момент М, определяемый для
всех ЭИП скоростью изменения энергии электромагнитного поля Wэм,
сосредоточенной в механизме, по углу отклонения α подвижной
части
(2)
Вращающий момент является некоторой
функцией измеряемой величины X и может также зависеть от угла
поворота подвижной части α, т.е.
;
противодействующий момент Мпр.,
создаваемый механическим путем с помощью спиральных пружин, растяжек, и
пропорциональный углу отклонения α подвижной части:
(3)
где W - удельный
противодействующий момент на единицу угла закручивания пружины (зависит от
материала пружины и ее геометрических размеров);
момент успокоения Мусп, т.е. момент
сил сопротивления движению, всегда направленный навстречу движению и
пропорциональный угловой скорости отклонения:
,(4)
где Р - коэффициент успокоения
(демпфирования).
Подставив (2), (3) и (4) в (1),
получим дифференциальное уравнение отклонения подвижной части ИМ:
или
.(5)
Установившееся отклонение подвижной
части ИМ определяется равенством вращающего М и противодествующего Мпр.
моментов, т.к. два первых члена левой части дифференциального уравнения (5)
равны нулю. Подставив в равенство
аналитические выражения моментов,
получим уравнение преобразования (функцию преобразования, статическую
характеристику)
где
- параметры прибора.
2. Магнитоэлектрические измерительные механизмы
и приборы
.1 Устройство и принцип действия магнитоэлектрического
измерительного механизма
В магнитоэлектрических приборах вращающий момент
создается в результате взаимодействия магнитного поля постоянного магнита и
проводника с током, выполняемого обычно в виде катушки. Применяются как приборы
с подвижной катушкой и неподвижным магнитом, так и приборы с неподвижной
катушкой и подвижным магнитом. Больше распространены приборы с подвижной
катушкой, которые мы и будем рассматривать.
Основными узлами магнитоэлектрического
измерительного механизма являются магнитная система и подвижная часть. В
зависимости от взаимного расположения постоянного магнита и катушки подвижной
системы различают приборы с внешним магнитом и приборы с внутрирамочным
магнитом.
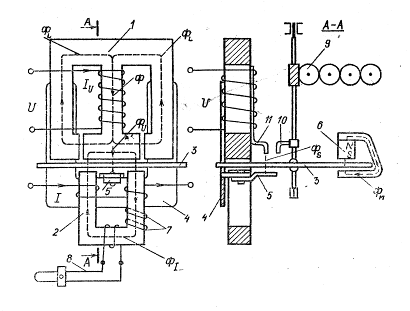
Рис. 2 Устройство магнитоэлектрического
измерительного механизма
Магнитная система прибора с внешним магнитом
(рис. 2) состоит из постоянного магнита 1, магнитопровода 2 (в некоторых
конструкциях, например, в случае применения кольцеобразного магнита,
магнитопровод может отсутствовать), полюсных наконечников 3 и неподвижного
сердечника 4. Магнит выполняется из материалов с большой коэрцитивной силой,
чаще всего из железоникельалюминиевых сплавов, и является источником магнитного
потока. Магнитопровод, полюсные наконечники и сердечник проводят магнитный
поток и изготовляются из магнитно-мягких материалов с возможно меньшим
магнитным сопротивлением. Цилиндрическая форма сердечника и расточки полюсных
наконечников, а также их концентрическое расположение обеспечивают
равномерность поля в воздушном зазоре, т. е. в любой точке рабочей части
воздушного зазора магнитная индукция В = const.
Воздушный зазор имеет радиальную длину порядка 1-2 мм.
В воздушном зазоре располагается рамка 5. Она
свободно охватывает сердечник и жестко крепится на полуосях 6, поворот которых
вызывает перемещение стрелки 7 по шкале 8. Рамка имеет обмотку из медного или
алюминиевого изолированного провода диаметром от 0,03 до 0,2 мм и чаще всего
бывает прямоугольной формы. Применяются бескаркасные и каркасные рамки.
В бескаркасной рамке необходимая жесткость
катушки обеспечивается путем склеивания ее витков бакелитовым лаком. В
каркасных рамках обмотка наматывается на каркас, выполняемый из алюминия,
толщиной порядка 0,1-0,2 мм. Каркас необходим не только для того, чтобы увеличить
механическую прочность рамки, но также и для получения нужного успокоения
подвижной части. В магнитоэлектрических приборах используется
магнитоиндукционное успокоение, но без применения специальных успокоителей. При
движении рамки в поле постоянного магнита момент успокоения создается за счет
взаимодействия вихревых токов, возникающих в цепи обмотки рамки, с полем
магнита. Этот момент зависит от величины внешнего сопротивления, на которое
включена обмотка рамки, и имеет незначительную величину, Для увеличения момента
успокоения на рамку наматывается несколько короткозамкнутых витков. Если же
этого недостаточно, то применяется металлический каркас, представляющий собой в
электрическом отношении как бы один короткозамкнутый виток.
Уравнение преобразования для
магнитоэлектрического измерительного механизма имеет следующий вид:
(6)
где α - угол
поворота подвижной части;
- вектор магнитной индукции в
воздушном зазоре;
- площадь рамки;
- число витков обмотки рамки;
- ток в рамке;
- удельный противодействующий момент
спиральных пружин;
- чувствительность механизма по
току.
Из уравнения (6) видно, что чувствительность
магнитоэлектрического прибора не зависит от угла отклонения и постоянна по всей
шкале, т. е. магнитоэлектрические приборы имеют равномерную шкалу. Это
позволяет выпускать их комбинированными и многопредельными.
Магнитоэлектрические приборы относятся к числу
наиболее точных. Они изготовляются вплоть до классов 0,1 и 0,2. Высокая
точность этих приборов объясняется рядом причин. Наличие равномерной шкалы
уменьшает погрешности градуировки и отсчета, благодаря сильному собственному
магнитному полю влияние посторонних полей на показания приборов весьма
незначительно. Внешние электрические поля на работу, приборов практически не
влияют. Температурные погрешности могут быть скомпенсированы с помощью
специальных схем.
Большим достоинством магнитоэлектрических приборов
является высокая чувствительность и малое собственное потребление мощности. В
этом отношении магнитоэлектрические приборы не имеют себе равных.
Благодаря этим достоинствам магнитоэлектрические
приборы могут применяться с различного рода преобразователями переменного тока
в постоянный и для измерений в цепях переменного тока.
К недостаткам магнитоэлектрических приборов
следует, отнести несколько более сложную и дорогую конструкцию, чем, например,
у электромагнитных приборов, невысокую перегрузочную способность (при
перегрузке обычно перегорают токоподводящие пружинки для создания
противодействующего момента) и, самое главное, отмеченную выше возможность
применения, при отсутствии преобразователей, лишь для измерений в цепях
постоянного тока.
Магнитоэлектрические приборы используются
главным образом в качестве амперметров, вольтметров и омметров.
.2 Магнитоэлектрические амперметры и вольтметры
Измерительные механизмы магнитоэлектрических
амперметров и вольтметров принципиально не различаются между собой. В
зависимости от назначения прибора (для измерения тока или напряжения) меняется
его измерительная цепь. В амперметрах измерительный механизм включается в цепь
непосредственно или при помощи шунта. В вольтметрах последовательно с
измерительным механизмом включается добавочное сопротивление, и прибор
подключается к тем точкам схемы, между которыми необходимо измерить напряжение.
Амперметр без шунта применяется в том случае,
если весь измеряемый ток можно пропустить через токоподводящие пружинки и
обмотку рамки измерительного механизма.
Так как рамка прибора намотана тонким проводом,
это не позволяет пропускать через нее токи, превышающие десятки миллиампер.
Превышение указанных значений может привести к повреждению провода рамки или
спиральной пружинки. Таким образом, возникает задача расширения пределов
измерения магнитоэлектрических амперметров и вольтметров.
Расширение пределов измерения амперметров
достигается включением шунта параллельно прибору (Рис. 3).
Сопротивление шунта
должно быть
меньше сопротивления рамки измерительного механизма
и
подбирается так, чтобы при измерении основная часть измеряемого тока проходила
через шунт, а ток, протекающий через рамку прибора, не превышал допустимого
значения.
Рис. 3
Если необходимо иметь верхний предел
измерения амперметра I, а верхний предел измерения без шунта Iим , то
сопротивление шунта Rш рассчитывается исходя из
соотношения (сопротивление шунта и измерительного механизма включены
параллельно и следовательно на них одно и тоже напряжение):
(7)
=
(8)
По 1-му закону Кирхгофа
(9)
Если обозначить отношение токов
(коэффициент
шунтирования), то с учетом (9) соотношение (8) можно записать в виде:
(10)
Шунты изготавливаются из манганина,
имеющего температурный коэффициент сопротивления близкий к нулю. Амперметры для
измерения сравнительно небольших токов (до нескольких десятков ампер) имеют
внутренние шунты, вмонтированные в корпус прибора. Для измерения больших токов
применяются наружные шунты.
Для расширения пределов измерения
вольтметров применяют добавочные сопротивления (резисторы). Добавочные
сопротивления включают в цепь последовательно с измерительным механизмом (Рис.
4).
Рис. 4
При выборе величины добавочного
сопротивления исходят из условия, чтобы сила тока через измерительный механизм
не превышала значения, предельного для данного измерительного механизма (тока
полного отклонения).
(11)
Обозначив
из (11)
получим соотношение для расчета добавочного сопротивления:
(12)
Добавочные сопротивления также изготавливаются
из манганина и представляют обычно катушки из манганиновой проволоки,
намотанные бифилярно.
.3 Магнитоэлектрические логометры
Как было указано ранее, в логометрах
противодействующий момент создается не механическим путем, а электрическим. Для
этого в магнитоэлектрическом логометре (рис. 5) подвижная часть выполняется в
виде двух жестко скрепленных между собой рамок 1 и 2, по обмоткам которых
протекают токи
и
. Пружинки
для создания механического противодействующего момента не ставятся, а ток к
обмоткам подводится с помощью безмоментных токоподводов, выполняемых в виде
тонких неупругих ленточек.
Рис. 5 Устройство
магнитоэлектрического логометра
Направления токов в обмотках
выбираются так, чтобы моменты М1 и М2, создаваемые рамками, действовали
навстречу друг другу. Один из моментов может считаться вращающим, а второй -
противодействующим. Кроме того, хотя бы один из моментов должен зависеть от
угла поворота. Это условие необходимо соблюдать и для логометров. Значит, один
(или несколько) из параметров, определяющих величину момента, должен являться
функцией угла α.
Технически наиболее просто сделать
зависящей от угла поворота индукцию В. Для этого магнитное поле в зазоре должно
быть неравномерным, что достигается неравномерностью зазора (с этой целью
сердечник сделан эллипсоидальным). Можно показать, что, в конечном счете,
уравнение преобразования для логометра имеет следующий вид:
(13)
Из выражения (13) видно, что
логометр измеряет отношение токов в обмотках (отсюда и название логометр, что в
переводе с греческого означает - измеритель отношения).
2.4 Магнитоэлектрические омметры
В конструкциях омметров используются
измерительные механизмы с механическим противодействующим моментом («обычные»)
и логометрические измерительные механизмы.
.4.1 Омметры на основе «обычного» ИМ
В зависимости от величины
измеряемого сопротивления используются две схемы, представленные на рис. 6а и
6б.

Рис. 6а Рис.
6б
В первом случае (рис. 6а), ток через
измерительный механизм определяется по формуле:
(14)
Из уравнения преобразования (6), с
учетом (14) получим:
(15)
При постоянных значениях Rим, Rд и E
отклонение указателя прибора α однозначно определяется измеряемым
сопротивлением Rx, т.е. шкала прибора может быть проградуирована в единицах
сопротивления. Как видно из (15) шкала такого омметра неравномерна, при этом
нулевая отметка располагается на правом краю (нулевому значению измеряемого
сопротивления Rx соответствует максимальный ток I).
Для второй схемы (рис. 6б) уравнение
преобразования имеет вид:
(16)
Как видно из (16) шкала прибора
также неравномерна, но нулевая отметка находится на «привычном» месте, т.е.
слева.
Первая схема чаще используется для
измерения средних и больших сопротивления, вторая - малых.
Общий недостаток данных приборов -
зависимость показаний от напряжения источника питания, что требует подстройки
«нуля» перед каждым измерением.
.4.2 Омметры на основе
логометрического ИМ
Схема представлена на рис. 7.
Рис. 7 Схема омметра на основе
логометрического исполнительного механизма
Из схемы (рис. 7):
;
(17)
С учетом (17) уравнение
преобразования имеет вид:
(18)
Из (18) видно, что показания данного
омметра не зависит от напряжения источника питания, что является его
достоинством.
.5 Магнитоэлектрические приборы с
преобразователями
Использование преобразователя
переменного тока в постоянный, позволяет выполнять измерения
магнитоэлектрическим прибором в цепях переменного тока. В зависимости от вида
используемого преобразователя различают выпрямительные и термоэлектрические
приборы.
На рис. 8а приведена одна из возможных схем
амперметра выпрямительной системы, а на рис. 8б - термоэлектрической.
Рис. 8а
Рис. 8б
В амперметре выпрямительной системы измеряемый
ток i(t)
выпрямляется и проходит через обмотку катушки магнитоэлектрического
измерительного механизма ИМ. Показание прибора пропорционально среднему по
модулю за период T значению
тока:
. (19)
Значение Iср
пропорционально действующему значению тока, однако коэффициент пропорциональности
зависит от вида функции i(t). Все
приборы выпрямительной системы градуируются в действующих значениях токов (или
напряжений) синусоидальной формы и не предназначены для измерений в цепях с
токами произвольной формы.
В амперметре термоэлектрической системы
измеряемый ток i(t) проходит
через нагреватель термопреобразователя ТП. При его нагреве на свободных концах
термопары возникает термо-ЭДС, вызывающая постоянный ток через обмотку катушки
магнитоэлектрического измерительного механизма ИМ. Значение этого тока
нелинейно зависит от действующего значения I измеряемого
тока i(t) и мало
зависит от его формы и спектра.
Схемы вольтметров выпрямительной и
термоэлектрической систем отличаются от схем амперметров наличием добавочного
сопротивления, включенного последовательно в цепь измеряемого тока i(t) и
выполняющего функцию преобразователя измеряемого напряжения в ток.
Наиболее распространенные амперметры
и вольтметры выпрямительной системы с классами точности 1,0 и 1,5 позволяют
измерять переменные токи от 10-3 до 10 А и напряжения от 1 до 600 В в частотном
диапазоне от 45 Гц до 10 кГц.
Наиболее распространенные амперметры
и вольтметры термоэлектрической системы с классами точности 1,0 и 1,5 позволяют
измерять переменные токи от 10-4 до 102 А и напряжения от 0,1 до 600 В в
частотном диапазоне от 1 Гц до 50 МГц.
Обычно приборы выпрямительной и
термоэлектрической систем делают многопредельными и комбинированными, что
позволяет использовать их для измерения как переменных, так и постоянных токов
и напряжений.
3. Электромагнитные измерительные
механизмы и приборы
Принцип действия приборов электромагнитной
системы основан на взаимодействии магнитного поля, создаваемого током в
неподвижной катушке, с подвижным ферромагнитным сердечником.
Одна из конструкций электромагнитного механизма
представлена на рис. 9, где 1 - катушка; 2 - сердечник, укрепленный на оси
прибора; 3 - воздушный успокоитель; 4 - спиральная пружина, создающая
противодействующий момент.
Рис. 9 Устройство прибора электромагнитной
системы
При включении прибора под действием магнитного
поля катушки сердечник втягивается внутрь катушки. Подвижная часть механизма
поворачивается до тех пор, пока вращающий момент не уравновесится
противодействующим моментом, создаваемым пружинкой.
Уравнение преобразования для электромагнитного
ИМ имеет следующий вид:
где L -
индуктивность катушки с ферромагнитным сердечником;
I - сила
постоянного тока или действующее значение переменного тока.
Таким образом, электромагнитные
приборы одинаково пригодны для измерений в цепях постоянного и переменного
тока. В соответствии с (20) шкала прибора квадратичная, однако на практике ее
можно приблизить к линейной (линеаризовать) подбором формы сердечника.
Достоинствами приборов
электромагнитной системы являются простота конструкции, способность выдерживать
значительные перегрузки, возможность градуировки приборов, предназначенных для
измерений в цепях переменного тока, на постоянном токе.
К недостаткам приборов можно отнести
большое собственное потребление энергии, невысокую точность, малую
чувствительность и сильное влияние магнитных полей.
Промышленностью выпускаются
амперметры электромагнитной системы с верхним пределом измерения от долей
ампера до 200 А, и вольтметры с пределами измерения от долей вольта до сотен
вольт.
Приборы электромагнитной системы
применяются в основном в качестве щитовых амперметров и вольтметров переменного
тока промышленной частоты. Класс точности щитовых приборов 1,5 и 2,5. В
некоторых случаях они используются для работы на повышенных частотах:
амперметры до 8000 Гц, вольтметры до 400 Гц. Выпускаются также переносные
приборы электромагнитной системы классов точности 0,5 и 1,0 для измерения в
лабораторных условиях.
4. Электродинамические и
ферродинамические измерительные механизмы и приборы
.1 Устройство и принцип действия
электродинамического ИМ
Работа измерительных механизмов
электродинамической системы (рис. 10а и 10б) основана на взаимодействии
магнитных полей двух катушек с токами: неподвижной 1 и подвижной 2. Подвижная
катушка, укрепленная на оси или растяжках, может поворачиваться внутри
неподвижной.
Рис. 10а Рис.
10б
При протекании в обмотках катушек токов I1
и I2 возникают
электромагнитные силы, стремящиеся так повернуть подвижную часть, чтобы
магнитные потоки подвижной и неподвижной катушек совпали.
Неподвижная катушка 1 обычно выполняется из двух
одинаковых частей, разделенных воздушным зазором. Благодаря этому
обеспечиваются требуемая конфигурация магнитного поля и удобство расположения
оси. Неподвижная и подвижная катушки механизма (обычно бескаркасные) имеют
круглую или прямоугольную форму и изготовляются из медного или алюминиевого
провода. Подвижная катушка укрепляется на опорах или растяжках. Для подвода
тока к подвижной катушке используются спиральные пружины или растяжки.
Применяются стрелочные или световые указатели.
Собственное магнитное поле электродинамических
механизмов, силовые линии которого замыкаются по воздуху, невелико. Внешнее
магнитное поле вызывает появление дополнительного момента от взаимодействия
тока в подвижной катушке с потоком этого поля. При работе электродинамического
механизма на постоянном токе оказывают влияние постоянные магнитные поля. Если
же измерительный механизм применяется в цепи переменного тока, то возникает
погрешность от действия переменных магнитных полей той же частоты, что и
частота тока в катушках. Для защиты от влияний внешних магнитных полей
применяется экранирование, т.е. измерительный механизм помещают внутри одного
или двух экранов из ферромагнитного материала.
Уравнение преобразования для
электродинамического ИМ, работающего на переменном токе имеет следующий вид:
,(21)
где
- взаимная индуктивность между
катушками;
- угол сдвига фаз между токами в
катушках.
Следовательно, характер шкалы
зависит от произведения
и
производной dM12/dα . Взаимная индуктивность между
катушками определяется их формой, размерами и взаимным расположением.
При протекании по катушкам
постоянных токов уравнение преобразования можно представить в следующем виде:
(22)
Основными достоинствами
электродинамических механизмов являются одинаковые показания на постоянном и
переменном токе (при последовательном соединении катушек), что позволяет с
большой точностью градуировать их на постоянном токе, а также стабильность показаний
во времени. Электродинамические механизмы не содержат ферромагнитных
сердечников.
Указанные свойства
электродинамических механизмов позволяют выпускать на их основе лабораторные
многопредельные приборы высоких классов точности 0,5; 0,2; 0,1 для измерений на
постоянном и переменном токе. Выпускаются миллиамперметры и амперметры с
пределами от 1 мА до 10 А на частоты до 10 кГц, многопредельные вольтметры с
пределами от 1,5 В до 600 В на частоты до 5 кГц с током полного отклонения от
60 до 3 мА, многопредельные однофазные ваттметры с пределами по току от 25 мА
до 10 А и по напряжению от 15 до 600 В.
Недостатки электродинамических
механизмов: невысокая чувствительность, большое собственное потребление
мощности, чувствительность к перегрузкам.
.2 Ферродинамические измерительные
механизмы
Принцип действия ферродинамических
ИМ не отличается от электродинамических. Механизмы ферродинамической системы
отличаются от рассмотренных выше электродинамических тем, что неподвижная
катушка имеет магнитопровод из магнитомягкого листового материала.
На рис. 11 приведена одна из
конструкций такого ИМ.
Рис. 11 Устройство
ферродинамического ИМ
Неподвижная катушка 1, состоящая из
двух половин, расположена на двух стержнях магнитопровода, между концами
которого укреплен цилиндрический сердечник. Обе части магнитопровода
выполняются из листовой стали.
В воздушном зазоре помещается
подвижная катушка 2, укрепленная на одной оси со стрелкой. Подвижная катушка
выполняется без каркаса во избежание появления в нем индуктированных токов.
B воздушном
зазоре образуется сильное равномерное магнитное поле, индукция которого
пропорциональна току неподвижной катушки.
Взаимодействие тока подвижной
катушки с магнитным полем в воздушном зазоре, создает вращающий момент,
который, как и в электродинамическом измерительном механизме, пропорционален
произведению токов катушек и косинусу угла сдвига между ними.
Благодаря малому сопротивлению
магнитной цепи в воздушном зазоре может быть получена весьма значительная
магнитная индукция, а следовательно, и весьма большой вращающий момент.
Значительное увеличение вращающего
момента по сравнению с электродинамическими механизмами дает возможность
увеличить вес подвижной части без увеличения погрешности от трения и, следовательно,
обеспечивает возможность получения прочной подвижной части.
Большая магнитная индукция в
воздушном зазоре делает показания прибора практически независимыми от внешних
магнитных полей.
С другой стороны, применение стали
влечет за собой появление составляющих основной погрешности от гистерезиса и
вихревых токов.
.3 Амперметры и вольтметры
электродинамической и ферродинамической системы
У электродинамических амперметров
для токов до 0,5 А неподвижная и подвижная катушки соединяются последовательно
(рис. 12а).
Рис. 12а
Рис. 12б
Весь измеряемый ток при этом проходит через
подвижную и неподвижную катушки, поэтому угол ψ
= 0, и уравнение (21) принимает вид:

(23)
У амперметров на токи от 0,5 А и
выше катушки соединяются параллельно (рис. 12б). Сопротивления параллельных
цепей подбираются так, чтобы ток I2 не превышал допустимого значения, т.е.
;
(при этом
), и
уравнение (21) приводится к виду:
(24)
Следовательно, у механизмов
амперметров угол отклонения подвижной части зависит от квадрата измеряемого
тока
и
производной dM12/dα.
У электродинамических вольтметров
неподвижная и подвижная катушки соединены последовательно вместе с добавочным
резистором из манганина (рис. 13). Секционированием добавочного резистора можно
получить разные пределы измерения U1ном, U2ном, U3ном.
Рис. 13 Схема электродинамического
вольтметра
Если ток полного отклонения I = U/Zв, где Zв - полное
сопротивление вольтметра, то подставив его в (21), получим:
,(25)
т.е. характер шкалы у вольтметра
такой же, как и у амперметра.
Для получения шкалы, близкой к
равномерной, у амперметров и вольтметров размеры подвижной катушки выбирают
так, чтобы она находилась в практически равномерном магнитном поле.
Устройство ферродинамических
амперметров и вольтметров аналогично.
.4 Ваттметры электродинамической и
ферродинамической системы
Электродинамический
(ферродинамический) измерительный механизм позволяет построить прибор для
измерения активной мощности - ваттметр.
В этом случае (рис. 14) неподвижную
катушку включают последовательно с нагрузкой с сопротивлением
, мощность
которой измеряется.
Рис. 14 Схема включения ваттметра
Подвижная катушка с добавочным
сопротивлением
включается
параллельно нагрузке. Цепь неподвижной катушки называют последовательной цепью
(токовой обмоткой), а цепь подвижной катушки - параллельной цепью (обмоткой
напряжения).
При таком включении
(26);
(27),
где
- полное сопротивление параллельной
цепи.
Из треугольника сопротивлений для
параллельной цепи (рис. 15а)
(28)
где
- активное сопротивление обмотки
напряжения;
С учетом (28) выражение (27)
принимает вид
(29)
Рис. 15а Рис.
15б
Тогда (21), с учетом (26), (29) и векторной
диаграммы (рис. 15б)
(30)
Конструктивным путем добиваются
постоянства производной dM12/dα. Обозначив,
(чувствительность
по мощности), получим
(31)
Если обеспечить γ = 0, то
(32)
Т.е. угол поворота подвижной части
прямо пропорционален активной мощности нагрузки и, следовательно, шкала такого
прибора равномерная. Равенство γ = 0 может быть обеспечено включением
параллельно Rд конденсатора с емкостью C (на рис. 14
показан штриховой линией). Однако нужно иметь в виду, что равенство γ = 0, будет лишь
при определенной частоте и с изменением частоты от номинального значения
появляется погрешность, называемая угловой.
5. Электростатические измерительные
механизмы и приборы
В электростатических измерительных механизмах
перемещение подвижной части происходит под действием энергии электрического
поля системы двух или нескольких электрически заряженных проводников.
Следовательно, в данном механизме, в отличие от механизмов других систем,
перемещение подвижной части осуществляется за счет действия непосредственно
приложенного напряжения. Поэтому основной областью применения
электростатических механизмов являются приборы, измеряющие напряжение -
вольтметры.
Перемещение подвижной части во всех конструкциях
электростатических механизмов связано с изменением емкости системы.
Распространение получили два вида механизмов: изменение емкости в одних
осуществляется за счет изменения активной площади электродов, а в других - за
счет изменения расстояния между электродами. Первые применяются в щитовых и
переносных вольтметрах на напряжения от десятков до сотен вольт, вторые - в
щитовых киловольтметрах.
Устройство механизма с изменением активной
площади электродов схематически показано на рис. 16.
Рис. 16 Устройство электростатического
измерительного механизма
Неподвижная часть (неподвижный электрод) состоит
из одной или нескольких камер 1, которые представляют две одинаковые
металлические пластины, соединенные вместе и имеющие воздушный зазор. В
воздушный зазор входит подвижный секторообразный электрод 2, укрепленный на оси
4. Электрод 2 и указатель 3, также укрепленный на оси 4, образуют подвижную
часть. Под действием подведенного к электродам напряжения U
создаётся электрическое поле. Силы электрического поля стремятся повернуть
подвижную часть так, чтобы энергия электрического поля была наибольшей, т. е.
чтобы подвижный электрод втягивался в пространство между неподвижными
электродами и поворачивал указатель. Подвижная часть может быть, укреплена на
опорах, растяжках или подвесе, а в качестве указателя кроме стрелки применяют
также световой луч. Электроды изготовляются из алюминия.
В электростатических измерительных механизмах
применяют большей частью магнитоиндукционные успокоители, реже - воздушные.
Уравнение преобразования для электростатического
ИМ имеет следующий вид:
,(33)
где С - емкость между подвижным и
неподвижным электродами.
Следовательно, угол поворота
подвижной части - электростатического измерительного механизма пропорционален
квадрату действующего значения напряжения и множителю dC/dα, т. е.
между измеряемой величиной (напряжением) и углом отклонения нет прямо
пропорциональной зависимости. Выбором соответствующей формы электродов, их
размеров и взаимного расположения получают такую зависимость dC/dα, которая
позволяет обеспечить практически равномерную шкалу, начиная от 15 до 100 %
верхнего предела измерения.
Чувствительность электростатических
механизмов мала. Для ее повышения подвижную часть укрепляют на растяжках или
подвесе, применяют оптический световой отсчет, а также увеличивают емкость
механизма, делая его многокамерным.
Вращающий момент электростатического
механизма мал, это не позволяет сделать на его базе вольтметр с пределом
измерения меньше 10В.
Собственное электрическое поле
электростатических вольтметров незначительное, поэтому на работу приборов
сильное влияние оказывают внешние электрические поля. Для уменьшения этого
влияния приборы экранируют. Экраном может служить корпус прибора, если он
металлический. Если корпус выполнен из пластмассы, то экраном служит
металлическая фольга из немагнитного материала или алюминиевая краска, которой
покрывается внутренняя поверхность корпуса. Экран соединяется с одним из
электродов и заземляется.
На электростатические вольтметры
почти не влияют температура, частота и форма кривой приложенного напряжения и
внешние магнитные поля.
Собственное потребление мощности
вольтметра на переменном токе мало, а при включении в цепь постоянного тока при
установившемся режиме равно нулю (с точки зрения входного сопротивления такие
вольтметры близки к идеальным).
Перечисленные свойства
электростатических вольтметров обусловливают их применение в широком частотном
диапазоне в маломощных цепях, а также в цепях высокого напряжения до сотен
киловольт.
6. Индукционные измерительные
механизмы и приборы
.1 Устройство и принцип действия
индукционного измерительного механизма
Принцип действия индукционных
измерительных механизмов основан на взаимодействии переменных магнитных потоков
электромагнитов и вихревых токов, индуктированных этими магнитными потоками в
подвижной части, выполненной обычно в виде алюминиевого диска.
По числу потоков, пересекающих
подвижную часть, измерительные механизмы могут быть однопоточными и
многопоточными. Наибольшее распространение получили многопоточные механизмы, а
именно - двухпоточные (рис. 17).
Переменные токи I1 и I2 протекающие
по обмоткам электромагнитов 1 и 2 создают переменные магнитные потоки Ф1 и Ф2,
смещенные по фазе на угол ψ.
Переменные магнитные потоки Ф1 и Ф2,
пересекая диск 3, индуктируют в нем (в соответствии с явлением электромагнитной
индукции) э.д.с. Е1 и Е2, отстающие от своих потоков на 90º.
Рис. 17 Индукционный двухпоточный измерительный
механизм:
а - устройство; б - векторная диаграмма; в -
диск со следами потоков и контурами токов
Под действием наведенных э.д.с. в алюминиевом
диске появляются вихревые токи I1, 2 и I2, 2.
От взаимодействия вихревого тока I2, 2 с
магнитным потоком Ф1 и вихревого тока I1, 2 с магнитным потоком Ф2 создается
вращающий момент, действующий на диск.
Можно показать, что значение для вращающего
момента определяется выражением:
,(34)
где k - коэффициент,
определяемый конструктивными параметрами;
f - частота
переменного тока.
Из (34) видно, что вращающий момент
достигает своего максимального значения, если сдвиг по фазе между потоками
равен 90º,
и
зависит от частоты тока.
.2 Индукционные счетчики электрической
энергии
На рис. 18а схематично показано
устройство одноэлементного индукционного счетчика, а на рис. 18б приведена
упрощенная векторная диаграмма, поясняющая принцип работы счетчика.
Напряжение U, приложенное к обмотке
напряжения, создает ток IU, имеющий угол сдвига фаз
относительно напряжения U, близкий к 90º из-за
большого реактивного сопротивления обмотки. Ток IU создает
магнитный поток Ф в среднем стержне магнитопровода 1 (рис. 18а). Поток Ф
делится на два потока: ФU и ФL. Рабочий
поток ФU пересекает
диск 3 и замыкается через противополюс 4. Нерабочий поток ФL замыкается
через боковые стержни магнитопровода 1 и непосредственного участия в создании
вращающего момента не принимает. Потоки ФU и ФL отстают от
тока IU на углы
потерь αU и αL. Угол αU > αL, так как
поток пересекает диск 3 и проходит через противополюс 4, в котором возникают
дополнительные потери.
Рис. 18а. Одноэлементный индукционный счетчик:
- трехстержневой магнитопровод с обмоткой цепи
напряжения; 2 - двухстержневой магнитопровод с двумя последовательно
соединенными токовыми обмотками; 3 - алюминиевый диск; 4 - противополюс из
магнитомягкого материала; 5 - поводокиз магнитомягкого материала; 6 -
постоянный магнит; 7 - короткозамкнутые витки; 8 - обмотка; 9 - счетный
механизм; 10 и 11 - крючок и пластина с флажком из магнитомягкого материала
Рис. 18б. Векторная диаграмма индукционного
счетчика
Ток I
создает в магнитопроводе 2 магнитный поток ФI,
который дважды пересекает диск 3 и проходит через нижнюю часть среднего стержня
магнитопровода 1. Поток ФI
отстает от тока I на угол
αI. Таким образом,
диск пересекает два не совпадающих в пространстве и имеющих фазовый сдвиг
потока ФU и ФI.
Возникающие при этом в диске вихревые токи, взаимодействуя с потоками, создают
вращающий момент, и (34) в рассматриваемом случае принимает вид
(35)
При работе на линейном участке
кривой намагничивания материалов магнитопроводов имеем
и
,
где ZU - полное
сопротивление цепи напряжения.
Учитывая, что реактивное
сопротивление цепи напряжения много больше активного, можно считать
где LU-индуктивность
обмотки напряжения. Тогда
где
Подставив значения ФU и ФI в (35),
получим
(36)
Анализируя (36), нетрудно видеть,
что вращающий момент счетчика пропорционален активной мощности, если
выполняется равенство sinψ = cosφ. Это
возможно, если ψ + φ = 90°. Для
этого необходимо иметь угол β (рис. 18б) больше 90°. Значение угла β >90°
обеспечивается наличием весьма существенного нерабочего потока ФL , а
выполнение равенства ψ + φ = 90°
осуществляется изменением угла потерь αI. Значение
угла αI зависит от
числа коротко-замкнутых витков 7 (грубая регулировка) и сопротивления резистора
8 (плавная регулировка).
При выполнении равенства sinψ = cosφ выражение
(36) принимает вид
(37)
Для создания тормозного момента и
обеспечения равномерной угловой скорости диска при каждой данной нагрузке
служит постоянный магнит 6. При пересечении вращающимся диском потока магнита 6
в диске наводится ЭДС, возникает ток, а следовательно, и тормозной момент МТ,
пропорциональный угловой скорости диска:
(38)
(39)
Равенство (39) можно представить
следующим образом:
Интегрируя последнее равенство за
какой-либо интервал времени от t1 до t
, имеем
(40)
где W - активная
энергия, учтенная счетчиком за время от t1до t2, N - число
оборотов диска за тот же интервал времени;
- постоянная счетчика.
Следовательно, для учета
израсходованной энергии необходимо подсчитывать число оборотов диска, что
осуществляется с помощью счетного механизма 9.
7. Условные обозначения
электромеханических приборов на шкалах