Электрифицированные ручные машины и электроинструменты

  • Вид работы:
    Контрольная работа
  • Предмет:
    Физика
  • Язык:
    Русский
    ,
    Формат файла:
    MS Word
    625,32 Кб
  • Опубликовано:
    2012-06-18
Вы можете узнать стоимость помощи в написании студенческой работы.
Помощь в написании работы, которую точно примут!

Электрифицированные ручные машины и электроинструменты

"Электрифицированные ручные машины и электроинструменты"

ручной электроинструмент электрический рубанок

Ручные электроинструменты

Ручным электрифицированным инструментом называется такой инструмент, у которого рабочие органы (пилы, сверла и другие резцы) приводятся в движение от электродвигателя, а перемещают инструмент вручную. Производительность труда при использовании электроинструмента увеличивается в 8-10 раз, повышается качество работ, уменьшается утомляемость рабочего, снижается себестоимость ремонта. Электроинструмент портативный, удобный в работе и обслуживании; вес от 5 до 15 кг. Электроинструменты подразделяются на безредукторные и редукторные. У безредукторного электроинструмента число оборотов режущего инструмента совпадает с числом оборотов электродвигателя. Он легче, чем редукторный инструмент.

У редукторного электроинструмента число оборотов режущего инструмента число оборотов режущего инструмента несколько меньше числа оборотов электродвигателя. В производстве и ремонте мебели применяют следующие электрифицированные инструменты: электропилы дисковые, электрорубанки, электрофрезеры, электродолбежники, электросверла, электролобзики, электрошуруповерты, электроточила, электрошлифовальный инструмент, электрифицированные полировальные машины, ударный электрифицированный инструмент. Каждый из перечисленных состоит из трех основных частей: корпуса, электродвигателя и режущего инструмента. Кроме того, имеется провод для заземления и провода для подводки электрического тока.

Электроинструмент используют наряду с применением станочного оборудования и ручных средств обработки древесины. Более того некоторые виды электроинструментов допускают закрепление его на верстаке, что позволяет работать на них как на стационарных станках.

Классификация электроинструмента

Из за большого разнообразия производителей и инструментов сложно выделить единый признак ,который лег бы в основу классификации, но, чтобы сориентироваться во всем этом многообразии, нужно обращать внимание на такие факторы:

специализация, или для каких работ предназначен данный инструмент;

точность, или насколько зависит результат работы этим инструментом от степени подготовки рабочего;

себестоимость;

источник питания;

энергопотребление;

эргономичность, или удобство в использовании, позволяющее больше работать и меньше при этом уставать;

безопасность;

экологичность;

нагруженность, или способность инструмента работать определенное время в максимальном режиме без повреждений и нежелательных последствий;

класс опасности, или можно ли данный инструмент использовать в особо опасных условиях;

зависимость от условии эксплуатации, или может ли инструмент работать в условиях влажности, пыли, взрыво- и удароопасности, продолжит ли работу, получив незначительное повреждение;

унификация, или возможность работы с расходными материалами других производителей, а также можно ли ремонтировать данный инструмент в мастерских других производителей;

Учитывая все эти свойства, ручные электроинструменты можно подразделить на четыре класса:

) Industrial. Эти инструменты отличаются максимальной высокой прочностью материала и точностью сборки. Им присуще высокая эргономичность, полная экологичность, безопасность, рассчитанная на то, что работать с инструментом будет профессионал. Такие инструменты реже нуждаются в ремонте, при условии обязательного правильного хранения и регулярного техобслуживания. Важно помнить, что этот класс инструментов нуждается в мягких, неагрессивных условиях работы. Это компенсируется предельно высокой выносливостью инструмента - он способен работать на самой большой мощности без повреждений неограниченно долго. У таких инструментов высокая степень специализации и полное отсутствие унификации оснастки, однако есть унификация расходных материалов.

) Heavy duty, тяжело нагруженные инструменты. Этот класс во всем похож на индустриальный, кроме способности работать в агрессивных условиях (с продуманной защитой от этих условий ) и унификацией оснастки и расходников в пределах своего класса и класса Professional.

)Professional, или профессиональные инструменты. Этот класс характеризуется повышенной точностью сборки, особой прочностью основных деталей и узлов, высокой рабочей исполнительностью и способностью работать в жестких условиях. Удобно наличие унификации, нетребовательность в техобслуживании и тарировке и более широкая специализация выполняемых операций. К минусам можно отнести ограниченное время работы в максимальном режиме, минимальную эргономичность и экологичность, средний уровень безопасности.

) Hobby, любительские инструменты. Этому классу свойственны низкая прочность, универсальность выполняемых операций, непродолжительное время включения, высокий уровень безопасности, низкий ресурс и ремонтопригодность, отсутствие унификации, работа только в мягких условиях. Такие инструменты не нуждаются ни в тарировке, ни в техобслуживании.

Виды ручных машин

В строительстве преимущественное распространение получили электрические и пневматические ручные машины. Электрические ручные машины выгоднее применять при выполнении работ сравнительно небольших объемов, пневматические - при работах средних и больших объемов на объектах, обслуживаемых передвижной компрессорной установкой или располагающих централизованной сетью сжатого воздуха.

По сравнению с пневматическими, электрические машины имеют значительно больший (в 4...6 раз) коэффициент полезного действия. Многие виды ручных машин (машины для обработки древесины - дисковые пилы, рубанки, трамбовки для уплотнения грунта, перфораторы и др.) выпускаются только с электрическим приводом.

Таблица

Виды ручных машин

Выполняемые операции

1.Сверлильные машины

Бурение отверстий(шпуров): в скальных грунтах; в кирпиче; бетоне и железобетоне. Сверление отверстий: в деревянных конструкциях и деталях; в металле.

2.Режущие машины

Резание: профильного проката; полимерных материалов; стеклопластика; листового металла. Обработка кромок под сварку.

3.Шлифовальные машины

Резание: арматуры и профильного металла; мелкого проката. Зачистка: голов ж/б свай; металла; сварных швов. Шлифование: шпаклеванных поверхностей; дощатых и паркетных полов; мозаичных и бетонных полов. Подгонка отдельных деталей.

4.Резьбозавертывающие и резьбонарезные машины

Завертывание: шурупов, болтов, гаек, винтов, шпилек. Нарезание резьбы в различных материалах.

5.Машины ударного действия

6.Уплотняющие машины

Уплотнение: бетонной смеси при формовании монолитных бетонных и ж/б конструкций; бутобетона при устройстве фундаментов; несвязного грунта. Уплотнение и разравнивание бетона при устройстве оснований и покрытий. Трамбование поверхностей оснований.

7.Краскораспылители

Увлажнение и обеспыливание грунта. Смазка: щитов опалубки перед установкой; металлических форм, кассет. Нанесение на поверхность: лакокрасочных покрытий; шпаклевочных масс; грунта. Огрунтовка поверхности жидким стеклом. Лакирование поверхностей.

8.Деревообрабатывающие машины

Строгание и фугование древесины. Обрезка паркетной клепки, фугование кромок, фрезерование пазов. Распиловка лесоматериалов. Выборка отверстий и гнезд прямоугольной формы и шпунтовых пазов. Выпиливание деталей из дерева.

9.Прочие машины

Затирка и заглаживание поверхностей бетонных конструкций и изделий. Очистка арматуры и металлоконструкций от ржавчины и старой краски, окалины, грязи и т.п. Забивка крепежных деталей дюбелей в бетон и кирпичные конструкции. Заточка инструментов. Затирка накрывочного слоя. Развальцовка отверстий.

Электрическая сверлильная машина

Ручные машины состоят из привода, передаточного устройства, рабочего органа и системы управления.

К основным видам ручных машин относятся электрические и пневматические.

Электрические сверлильные машины применяют для получения отверстий в стали, цветных металлах, пластмассах и дереве. По размерам различают легкие, средние и тяжелые машины (диаметры сверления соответственно до 8,15 и 23 мм); по конструкции - прямые и угловые; по роду тока - высокочастотные, низковольтные (36 В) и с приводом, работающим от одно- и трехфазного тока напряжением 127-220 В.

Конструктивно сверлильные машины (рис. 1) весьма просты и состоят из корпуса с ручкой, в который встроен электродвигатель, приводящий через редуктор во вращение шпиндель с закрепляемым в нем сверлом.

Рис. 1. Электрическая сверлильная машина для работы под углом: 1 - шпиндель, 2 - корпус, 3 - электродвигатель

Сверлильная машина типа ИЭ-1030 имеет следующие насадки. Насадка вращательного действия ИК-8001 предназначена для сверления кирпича шлямбурным резцом (кольцевой коронкой). Наибольший диаметр шлямбурного резца (коронки) 87 мм, производительность при работе по кирпичу 15 мм/мин.

Насадка ИК-8002 ударно-вращательного действия предназначена для сверления отверстий в кирпиче, бетоне, шлакобетоне, гипсолите сверлами, оснащенными пластинками из твердого сплава. Производительность при работе по бетону - 37 мм/мин,, по кирпичу - 77,5 мм/мин. Сверлильная машина с комплектом насадок ИЭ-600 размещается в чемодане. Электросверлильная машина ИЭ-1017А относится к числу тяжелых электросверлилок. Она предназначена для сверления металлов, пластмасс и дерева, но может быть использована и для сверления кирпича и бетона с малоабразивным наполнителем.

Специальная электросверлильная машина ИЭ-1029 для сверления отверстий в железобетоне алмазными кольцевыми сверлами.

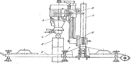
Для сверления отверстий в железобетонных стенах, перекрытиях и фундаментах предназначен изображенный на рис. 2 электрический станок ИЭ-1801. Он состоит из сварной разъемной двухколесной тележки с шестью выдвижными опорами (для жесткости установки конструкции при сверлении), цилиндрической опорной колонки, реечного механизма и узла привода с подачей к месту сверления за счет усилия, прикладываемого к рукояткам маховика.


Цепная электрическая пила-очень популярный инструмент, широко применяемый как в быту, так и в производстве. К несомненным достоинствам цепной электропилы относится минимальная трата времени на ее обслуживание, достаточно высокая мощности и эффективность в работе, отсутствие необходимости в работе с токсичными жидкостями (бензином).

Применение электрической цепной пилы во время проведения ремонтных работ не всегда оправдано. Дело в том, что пильная часть -шина и цепь, постоянно смазывается специальным маслом для смазки цепи. В результате масло может испачкать строительный материал, что не всегда приемлемо в работе. Основная задача, стоящая перед электрической цепной пилой - распиловка древесины, работы в саду по обрезке деревьев, заготовка дров и другие работы. Принцип работы электрической цепной пилы прост. Цепь приводится в движение через редуктор с помощью коллекторного электродвигателя. Это один из самых уязвимых узлов цепной электропилы. Дело в том, что одна из шестеренок изготавливается из пластика. К негативным факторам, которые могут вывести из строя электрическую цепную пилу, относятся пониженное напряжение в электросети, работа с плохо наточенной и не правильно натянутой цепью. Кроме того , нужно иметь определенные навыки в работе с цепной пилой и соблюдать меры безопасности при работе. Только в таком случае инструмент прослужит долго и без поломок. Электрические цепные пилы (рис. 3) применяются для распиловки брусков и досок и состоят из электродвигателя с редуктором и пильной рамы, вокруг которой перемещается рабочая Цепь. Натяжение цепи регулируют с помощью механизма, перемещающего ведомую звездочку.

Рис. 3. Электрическая цепная пила по дереву:

- электродвигатель, 2 - редуктор, 3 - пильная рама, 4 - ведомая звездочка, 5- регулировочный механизм, 6 - рабочая цепь с зубьями.

Электрические ножницы

Электрические ножницы применяются для резки листового металла. Это основной инструмент кровельщиков и строителей. Также ножницы по металлу применяются в автомастерских при кузовных работах, монтажниками систем отопления и вентиляции.

Они обеспечивают идеально чистую линию реза - без заусенцев и скручивания, даже для самого тонкого листа. Металл можно свободно резать в любом направлении, а также выполнять фигурную резку. Электрические ножницы можно использовать не только для резки или раскройки, но и для удаления заусенцев, обрезания углов и вырезания выемок.

Ножницы по металлу делятся в своем многообразии на несколько видов, наиболее популярными из которых являются листовые, высечные и шлицевые.

Шлицевые ножницы применяются для фигурной или прямой резки металла. Верхние лезвие у них выполнено в виде буквы «П» и зафиксировано неподвижно, а нижнее, двигаясь, заходит в паз верхнего. Главное достоинство шлицевых ножниц в том, что они не деформируют материал, а стружка, образующаяся при работе, не проникает внутрь детали.

Вырубные (высечные) ножницы <#"551661.files/image004.gif">

Рис. 4. Электрические ножницы:

- редуктор, 2 - рукоятка, 3 - выключатель, 4 - курок, 5 - электродвигатель, б - улитка, 7 - подвижное лезвие, 8 - ползун.

Электрические рубанки

Электрический рубанок применяется везде: от строгания реек до сборки срубов. Предварительное строгание, обработка в размер, подгонка, скашивание кромки, выборка четверти - все это не далеко полный перечень операций, выполняемых с помощью электрорубанков. Использование дополнительных приспособлений и режущего инструмента еще более расширяет эти функции.

Отечественные рубанки.

ЭР-2 - бытовой рубанок производства Московского радиотехнического завода, который в последнее время пользуется высоким спросом. Его достоинство - высокая мощность, которая в сочетании с высокой скоростью вращения и большой шириной платформы (100 мм), обеспечивает высокую производительность.

Байкал Е-313 - бытовой рубанок. Мощная, легкая, качественная и удобная машина, недорогая, лучшая в своем классе( 82 мм ширины) из производимых в СНГ. Ножи изготовлены из быстрорежущей стали. Достоинства инструмента - легкость, компактность, так что даже при отсутствии управляющей электроники работать очень комфортно.

ИЭ-5708/ИЭ-5709 - позволяют плавно регулировать глубину строгания, выбирать четверть, строгать под углом от 0 до 45 градусов к опорной поверхности с применением универсальной линейки, снимать кромки посредством паза в передней опоре.

Электрические рубанки (рис. 5) предназначены для механизации столярных работ и оборудованы обращенным трехфазным асинхронным электродвигателем с короткозамкнутым ротором. Электродвигатель размещен в предохранительном кожухе, а концы его статора неподвижно закрепляются на раме. Сидящий на статоре ротор несет на себе ножевой барабан с закрепленными на нем ножами.


Рис. 5. Электрический рубанок:

, 8 - подвижная и задняя лыжи, 2 - поворотная ручка. 3 - стрелка, 4 - корпус редуктора, 5 - редуктор, 6 - выключатель, 7 - основная рукоятка, 9 - устройство для подавления радиопомех, 10 - барабан, 11 - нож

Похожие работы на - Электрифицированные ручные машины и электроинструменты

 

Не нашли материал для своей работы?
Поможем написать уникальную работу
Без плагиата!
Без нейросетей!