Свойства веществ при низких температурах. Жидкий гелий
КУРСОВАЯ РАБОТА
тема:
"Свойства веществ при низких температурах. Жидкий гелий"
Содержание
Введение
Глава 1. Свойства вещества при низких температурах
.1 Газы при низких температурах
.2 Жидкости при низких температурах
.3 Получение низких температур
Глава 2. Жидкий гелий
.1 Сверхтекучесть
.2 Гелий-3
Заключение
Список использованной литературы
Введение
Работы в области жидкого гелия представляют интерес в основном потому,
что проводятся вблизи абсолютного нуля, т.е. при очень низких температурах. В
то время как область высоких температур, связанная обычно с горением, нам
хорошо известна из опыта повседневной жизни, с областью низких температур нам
приходится сталкиваться гораздо меньше, и даже лабораторий, работающих с
глубоким холодом, мало. Поэтому целый ряд представлений о холоде, сложившихся
из повседневного опыта и не измененных сведениями, полученными в средней школе,
надо несколько пересмотреть, чтобы понять значение изучения явлений при низких
температурах в жидком гелии. Все вы знаете, что существует так называемая
абсолютная шкала температур, по которой температура отсчитывается только вверх
от абсолютного нуля. Комнатная температура по этой шкале составит около 300 К.
Дальше идут температуры более высокие, и они достигают самой высокой
температуры, какую можно получить в лабораторных условиях, - это 27000 К.
Создается такое представление, что от комнатной температуры до абсолютного нуля
только 300 К, а там - 27000 К, так что область низких температур лежит гораздо
ближе к нам, чем область высоких, например температур самых горячих звезд.
Однако это представление неправильно. Как раз диапазон температур от комнатной
до температуры абсолютного нуля гораздо больше, чем до более высоких
температур. Наши житейские понятия о температуре не соответствуют тем понятиям,
которые созданы в физике.
На самом деле диапазон явлений природы, которые можно наблюдать от
комнатной температуры до предельно достижимых высоких температур, гораздо менее
разнообразен по своему характеру и по интерпретации, чем те явления природы,
которые мы наблюдаем при более низких температурах.
Физика низких температур - раздел физики, изучающий явления, которые
наблюдаются при температурах ниже температуры перехода кислорода в жидкое
состояние (182,97 С, 90,19 К). Большинство обычных веществ с
понижением температуры сначала переходит из газообразного состояния в жидкое, а
затем из жидкого - в твердое. Поэтому получение, поддержание и изучение низких
(криогенных) температур связано в первую очередь с ожижением газов и замораживанием
жидкостей. В низкотемпературных исследованиях обычно пользуются ваннами из
ожиженных газов.[6]
Первым систематически исследовать низкотемпературные проблемы и
возможности ожижения газов начал в 1823 М.Фарадей. Он показал, что многие газы,
например хлор, диоксид серы и аммиак, могут быть ожижены и при этом достигаются
низкие температуры (до 110 С). Но многие другие газы, в частности кислород,
азот, водород, углекислый газ и метан, не поддавались ожижению его методами
даже при крайне высоких давлениях, за что позднее получили название постоянных
газов. И только в 1877 Л.Кальете (Франция) и Р.Пикте (Швейцария) сообщили о
том, что им удалось впервые ожижить один из постоянных газов - кислород.
Криогенная лаборатория, которой заведовал Камерлинг-Оннес, позднее стала
выдающимся центром физики низких температур. В 1895 У.Гемпсон (Англия) и К. фон
Линде (Германия) независимо друг от друга разработали новый метод ожижения
воздуха, а затем более совершенные методы ожижения воздуха были найдены
Ж.Клодом во Франции и К.Гейландтом в Германии. Этими работами был заложен
фундамент промышленности разделения газов, в которой результаты
низкотемпературных исследований нашли самое важное и самое широкое техническое
применение.
Ожижение гелия с массой 4 (гелия-4) осуществил Камерлинг-Оннес в 1908
методом, почти совпадавшим с методом ожижения воздуха Линде. Этим было не
только установлено существование жидкой фазы для всех газов, но и открыта новая
важная область низких температур. Позднее гелий был ожижен и другими методами,
в частности разработанными в 1930 Ф.Саймоном, работавшим в Германии, и в 1934
П.Л.Капицей в Кембридже (Англия). Метод Капицы усовершенствовал в 1946
С.Коллинз (США).
Гелий-3, получаемый как дочерний продукт распада радиоактивного трития,
впервые удалось ожижить в 1948 в Лос-Аламосской научной лаборатории (США). Этот
менее распространенный изотоп гелия дал возможность работать с жидкими ваннами,
температура которых всего лишь на 0,25 К выше абсолютного нуля.
В этой работе, мы будем рассматривать свойства веществ, которыми обладают
вещества при низких температурах. Особое внимание необходимо уделить жидкому
гелию, который при низких температурах обладает рядом интересных свойств.[5]
Глава 1.
Свойства вещества при низких температурах
При низких температурах, когда интенсивность тепловых движений
оказывается ослабленной, должны, конечно, наблюдаться существенные изменения
свойств вещества. Однако при рассмотрении этих изменений нужно, прежде всего,
установить, какие именно температуры должны считаться низкими. Нетрудно видеть,
что по отношению к разным веществам и для различных свойств этих веществ
"низкими" должны считаться совершенно различные температуры. Так,
например, если речь идет о свойствах жидкостей, то ясно, что для них не имеет
смысла говорить о температурах более низких, чем температура их отвердевания
Тотв (мы не говорим пока об исключительном случае жидкого гелия). Для воды,
например, комнатная температура может считаться весьма низкой, так как
отношение ее к Тотв мало отличается от единицы.
Нет возможности описать здесь сколько-нибудь подробно все особенности
поведения веществ при низких температурах. Поэтому ограничимся лишь некоторыми
общими замечаниями о низкотемпературных явлениях и о свойствах различных
классов веществ в этих условиях.
При самых низких температурах - тех, которые получаются с помощью жидкого
гелия ("гелиевые" температуры) и тем более магнитным способом, -
тепловые движения оказываются настолько ослабленными, что они во многих случаях
не играют большой роли. Благодаря этому как бы вскрываются те сложные
взаимодействия между атомами и молекулами, которые обусловлены их строением и
которые при более высоких температурах полностью или частично маскируются
влиянием тепловых движений. А так как атомы и молекулы состоят из частиц,
подчиняющихся законам квантовой механики, то при температурах, близких к
абсолютному нулю, квантовые эффекты становятся весьма заметными, а некоторые
явления имеют чисто квантовый характер.[2]
1.1 Газы при
низких температурах
При обычных температурах и давлениях газы с большой точностью могут
считаться идеальными. Это значит, что молекулы газа ведут себя так, как будто
они совершенно не взаимодействуют между собой, и поэтому каждой молекуле
приписывается только кинетическая энергия тепловых движений.
В действительности, однако, взаимодействие между частицами всегда
существует и молекулы газа на самом деле обладают не только кинетической, но и
потенциальной энергией, обусловленной силами взаимодействия и зависящей от их
взаимных расстояний. Но при высоких температурах, когда энергией можно по
сравнению с ней пренебречь и считать газ идеальным. При низкой же температуре
относительная роль потенциальной энергии возрастает, что и вызывает отклонения
свойств газов от идеальности.
Закон соответственных состояний, основанный на приведенном уравнении
Ван-дер-Ваальса
,
позволяет
сразу определить, является ли данная температура высокой или низкой для того
или иного вещества. Низкими, очевидно, должны считаться температуры, при
которых
близко к единице или меньше единицы.
Так,
например, для паров воды (Тк=647,1 К) комнатная температура (Т=290 К) - это
очень низкая температура, потому что
.
Ее
можно считать низкой и для ксенона (Тк=289,1 К):
.
Но
для кислорода (Тк=154,2 К) комнатная температура должна уже считаться высокой,
так как
значительно больше единицы:
.
Сложность
сил взаимодействия между молекулами газа приводит к тому, что при низких
температурах уравнение Ван-дер-Ваальса оказывается недостаточно точным. При
температурах вблизи и ниже критической лучше всего согласуется опытом уравнение
состояния в виде ряда (для 1 моля)
, (*)
в котором силы взаимодействия находят свое отражение в зависящих от
температуры вириальных коэффициентах В, С и т.д.
Первый член ряда соответствует отсутствию сил взаимодействия: если
ограничиться этим членом, то, как видно из уравнения (*), мы получим уравнение
состояния идеального газа. Второй вириальный коэффициент В отражает такие
взаимодействия, в которых участвуют две сближающиеся молекулы (парное
взаимодействие), третий учитывает взаимодействия, связанные с одновременным
сближением трех частиц, и т.д.
Если давление газа не слишком велико, то играет роль только второй член
ряда, т.е. второй вириальный коэффициент, так как и вероятность встречи
(столкновения) трех частиц (тем более четырех и больше) может стать заметной
только при больших плотностях газа. Точное вычисление второго вириального
коэффициента может быть произведено только с учетом строения атомов и квантовых
законов.
При определенных приближениях уравнение (*) переходит в уравнение
Ван-дер-Ваальса.
При самых низких температурах только два вещества - водород и гелий -
могут находиться в газообразном состоянии с заметным давлением. все прочие газы
при значительно более высоких температурах твердеют, а упругости их паров
становятся ничтожно малыми. Но в обоих "низкотемпературных" газах
обнаруживаются заметные квантовые эффекты.[2]
.2 Жидкости
при низких температурах
Область существования жидкого состояния ограничена критической точкой со
стороны высоких и точкой отвердевания со стороны низких температур (последняя
зависит от давления). Изменения свойств жидкостей при переходе к низким
температурам (близким к точке отвердевания) сводятся к росту коэффициента
поверхностного натяжения и к сильному увеличению коэффициента внутреннего
трения. У некоторых веществ рост вязкости приводит даже к тому, что жидкость
приобретает некоторые признаки твердого тела и прежде всего способность
сохранять не только объем, но и форму.
Как уже упоминалось, при самых низких температурах наблюдаются некоторые
специфические квантовые явления, которые нельзя считать результатом
постепенного изменения свойств вещества с понижением температуры. Явления эти
возникают скачком при вполне определенной температуре и не имеют аналогов при
высоких температурах. Мы имеем в виду явление сверхпроводимости и сверхтекучести.
Первое из них заключается в скачкообразном исчезновении электрического
сопротивления в металлах и наблюдается у довольно большого числа чистых
металлов и сплавов. Второе относится одному-единственному в природе веществу -
жидкому гелию.[2]
1.3 Получение
низких температур
низкий температура газ жидкость гелий
Получение низких температур, от 200 К и ниже, имеет огромное значение для
лабораторных исследований свойств веществ и для некоторых промышленных целей.
Температуру 195 К дает твердая углекислота, кипящий жидкий азот имеет
температуру 78 К, кипящий водород 20 К, кипящий гелий 4,19 К. При понижении
давления над кипящей жидкостью каждая из этих температур может быть еще
понижена. Наибольший интерес представляет получение сверхнизких температур,
лежащих ниже температуры кипения гелия. Путем уменьшения давления над гелием
можно достигнуть температуры 0,72 К, но это уже предел для данного метода.
Сверхнизкие
температуры порядка 0,001 К можно получить, используя метод адиабатного
размагничивания. Этот метод основан на зависимости энтропии парамагнитной соли
от напряженности магнитного поля, в которое помещен образец. TS-диаграмма
такой соли при отсутствии магнитного поля и при его наложении показана на
рисунке 1. При наложении магнитного поля парамагнитные ионы таких солей, как,
например, хромокалиевые или железоаммониевые квасцы, ориентируются полем
подобно тому, как ориентируются магнитные компасные стрелки в поле Земли. Так
как энтропия есть мера неупорядоченности, то всякое упорядочение приводит к
уменьшению энтропии. Поэтому энтропия при наличии достаточно большого
магнитного поля, достигающего 10-15000 а/см, будет значительно меньше, чем в
отсутствии поля, как это видно на рисунке 1. Если при некоторой достаточно
низкой температуре, полученной в гелиевом испарителе, на образец наложить
магнитное поле, то энтропия вследствие упорядочения спинов магнитных моментов
электронов уменьшится, и этот процесс изобразится линией аб. При хорошем
тепловом контакте соли и гелия процесс будет изотермическим. Так как
, то намагничивание происходит с выделением теплоты
солью, которая передается гелию. Если теперь устранить тепловой контакт соли и
гелия, создав тем самым условие адиабатности, и выключить магнитное поле, то
процесс пойдет по линии бв. Действительно, при адиабатном процессе энтропия не
меняется. точке в, характеризующей конечное состояние процесса, соответствует очень
низкая температура, порядка сотых и тысячных долей градуса по абсолютной шкале.
Если при наложении магнитного поля парамагнитные ионы получили параллельную
ориентацию, т.е. произошло упорядочение, что вызвало понижение энтропии, то при
снятии магнитного поля ионы опять ориентируются беспорядочно, что дает
увеличение энтропии ионов. Но поскольку общая энтропия соли при адиабатном
процессе не меняется, то должна уменьшится энтропия, связанная с тепловыми
колебаниями кристаллической решетки соли, что приводит к понижению температуры.
Вследствие неполной адиабатности процесса бв конечное состояние соли будет
характеризоваться не точкой в, а точкой г, лежащей несколько выше на кривой
энтропии нулевого поля.
Тепловой
эффект адиабатного охлаждения весьма велик. Используя для адиабатного
размагничивания всего лишь несколько граммов квасцов, можно понизить
температуру нескольких килограммов диамагнитного вещества с 1 К до сверхнизких
температур порядка 10-3 К.
Используя
рассмотренный принцип, Доунт построил периодически действующую магнитную
холодильную машину, работающую по циклу Карно и понижающую температуру с 1 К до
0,25 К. Используя более сложный процесс адиабатного размагничивания системы
атомных ядер, обладающих магнитными моментами (ядерных спинов), моно получить
температуры порядка 10-5 - 10-6 К. Этот метод может дать еще большее понижение
температуры до 10-7 К.
Большие
трудности представляет измерение сверхнизких температур. Температуры от
нескольких градусов абсолютной шкалы и выше можно измерять термометрами
сопротивления и термопарами. Сверхнизкие температуры обычно измеряются путем
определения парамагнитной восприимчивости, зависящей от температуры.[4]
Глава 2.
Жидкий гелий
Как только в распоряжении физиков появился жидкий гелий, они занялись
изучением его свойств и сразу же столкнулись с тем, что он не похож ни на какую
другую жидкость.
У всех веществ есть особая точка называемая тройной. В ней граничат сразу
3 фазы: твердая, жидкая и газообразная, и их все три можно наблюдать
одновременно. Так что если начать откачивать пары жидкости, то при достаточно
малом притоке тепла ее температура начнет падать, и наконец вещество
затвердеет. По-видимому, Камерлинг-Оннес ожидал, что это произойдет и с гелием,
когда впервые в мире он стал откачивать пары полученной им новой жидкости. То,
что предстало его взору, видит любой исследователь, работающий с жидким гелием.
Первоначальное давление паров равно атмосферному, температура 4,2 К, и жидкость
спокойно кипит, т.к. благодаря излучению, к ней неизбежно подводится тепло.
Видимо много мелких пузырьков, которые отрываются от стенок и всплывают вверх.
Начинаем откачку. Кипение становится более интенсивным, так как теперь с паром
уносится и та энергия, которая связана с теплоемкостью жидкости. Вдруг при
давлении ~40 мм рт.ст. (температура ~2,17 К) кипение мгновенно прекращается,
все пузырьки исчезают, и гелий становится совершенно прозрачным. Что-то
произошло, но он остался жидким. Хорошо видна его свободная поверхность и
мениск возле стенки. Если качнуть прибор, то гелий начинает колебаться и не
успокаивается очень долго.
Продолжим откачку. Камерлин-Оннесу в первых опытах удалось добраться до
температуры 1,4 К, через десять с лишним лет до 0,8 К, т.е. до температуры в
семь раз ниже критической, но гелий все еще остался жидким. А ведь для
водорода, например, тройная точка лежит при ~14 К, критическая при Тк33
К, различие всего лишь в два с небольшим раза. Сейчас ученые добрались уже до
тысячных кельвина, и картина та же, и нет никаких сомнений, что вплоть до
абсолютного нуля с парами гелия граничит жидкость. Значит, у гелия нет тройной
точки. Это единственное вещество, обладающее таким свойством. Нарисуем фазовую
диаграмму гелия, на которую мы уже можем нанести линию пар-жидкость (рис. 2) и
поместить на ней особую точку, в которой прекратилось кипение при ~2,17 К.
Итак, сразу два необычных явления видно буквально невооруженным глазом.
Надо понять, почему гелий перестал кипеть и почему он не становится твердым.
Объяснить, почему гелий не затвердевает, можно, если воспользоваться законом
квантовой механики, называемым "принцип неопределенности". Согласно
этому закону, если область движения частицы ограничена, то ее импульс не может
стать равным нулю, т.е. никогда не может быть достигнут абсолютный покой. Даже
при Т=0 остается движение, по уже не тепловое, а квантовое. В атомах это
движение электронов на своих орбитах, в макроскопических телах - колебания
атомов относительно друг друга, которые так и называются "нулевые
колебания".
Выясним,
какое отношение принцип неопределенности имеет к тому, что гелий не замерзает.
Можно сказать, что конденсация вещества - это процесс ограничения области
пространства, отводимой каждой из частиц. Значит, при конденсации должна
увеличиваться кинетическая энергия атомов. Подсчитаем это увеличение для
жидкого гелия: при Т=0, его плотность равна 0,145 г/см3, атомная масса 4. На
один атом приходится объем
см3. Значит,
диаметр занимаемой атомом области
A. А
так как
, то энергия нулевых колебаний атомов гелия имеет
величину порядка
Дж.
Эта
энергия в шкале температур соответствует 10 К. Для плавления твердых тел все
равно, какая причина заставляет колебаться атомы - тепловое движение или законы
квантовой механики. Потому-то жидкий гелий и не кристаллизуется: его охлаждение
от температуры кипения до абсолютного нуля почти не изменяет кинетическую
энергию. Это обстоятельство и послужило причиной того, что жидкий гелий стали
называть квантовой жидкостью, подчеркивая то громадное влияние, которое
оказывают на его свойства законы микромира.
У
водорода энергия нулевых колебаний, еще выше, чем у гелия, но зато и
взаимодействие молекул значительно сильнее, так что он уже кристаллизуется. Ну,
а всех других веществ нулевые колебания вообще слабо сказываются на их фазовых
превращениях.
Твердый
гелий получить все же удалось. В принципе это оказалось не очень сложным -
нужно было только приложить к жидкому гелию давление ~30 атм., и он
кристаллизовался. Впервые такой эксперимент осуществил Кеезом, долгое время
работавшим вместе с Камерлинг-Оннесом и продолжившим его дело.
Вернемся
к диаграмме состояния гелия. Линия жидкость-пар на ней уже есть, теперь можно
нанести и линию жидкость-твердое тело. И тут появляется еще одно интересное
обстоятельство - касательная к этой линии при Т=0 горизонтальна. Обычно
давление
, при котором происходит фазовый переход, растет с
ростом температуры. Давление насыщенного пара
,
где
q - теплота испарения, приходящаяся на одну молекулу. Значит, чем больше q, тем
быстрее падает до нуля
при уменьшении температуры. Но для гелия
не падает до нуля и мы неизбежно должны придти к
заключению, что для гелия при Т0 теплота перехода тоже стремится к
нулю. Только при этом условии q/T не будет бесконечно возрастать, а
уменьшаться до нуля.
Собственно,
иного нельзя было и ожидать. Ведь если бы внутренняя энергия, например,
твердого гелия при T=0 и P=Pф.п. была бы хоть чуть-чуть меньше, чем жидкого,
то, согласно формуле Больцмана, было бы невозможно наблюдать их одновременно -
число атомов гелия в жидкой фазе было бы порядка
, т.е.
равно нулю.
Отсутствие
теплоты перехода было обнаружено давно, и не только по зависимости Рф.п.(Т), но
прямыми калориметрическими измерениями. И уже начало казаться, что больше
никаких сюрпризов ожидать не приходится. Выяснилось, что это не так, и
квантовые свойства гелия, обеспечившие равенство нуля теплоты перехода,
послужили причиной еще одного явления, разыгрывающегося на границе жидкого и
кристаллического гелия. Оказывается, что у кристалла гелия есть грани
атомно-жидкие - это те грани, на которых атомы на поверхности расположены
близко друг к другу. При росте кристалла эти грани остаются все время
совершенно плоскими. А другие грани, на которых атомы разнесены друг от друга
на большое расстояние - шероховатые, и в их направлении кристалл растет очень
быстро, но без всякой огранки. Скругленная форма ребер, так же как и для капель
воды диктуется тем, что есть силы поверхностного притяжения, стремящиеся
уменьшить площадь границы.
Чем
ближе температура к абсолютному нулю, тем быстрее могут расти кристаллы гелия,
и скорость их роста ограничивается единственным фактором - инерцией, так как
нет ни выделения, ни поглощения тепла. А инерция связана с тем, что плотность
твердого гелия выше, чем жидкого, поэтому передвижение границы сопровождается
переносом вещества. Допустим, что на плоской границе раздела жидкий - твердый
гелий появилась вмятина. Т.к. из-за нее площадь поверхности становится больше,
то силы поверхностного натяжения будут стремиться выровнять границу. Но в тот
момент, когда граница станет плоской движение не прекратиться, а будет
продолжаться по инерции. Появится выпуклость, силы поверхностного натяжения
остановят движение и повернут его вспять. Если трения мало, то такое
колебательное движение будет продолжаться долго. Можно сделать такое общее
утверждение: если упругая сила (в нашем случае поверхностное натяжение), есть инерция
и нет больших потерь энергии (т.е. сильного трения), то неизбежно возникновение
колебаний после нарушения равновесия и такие колебания границы
жидкость-кристалл гелий удалось наблюдать.
Твердый
гелий оказался очень интересным веществом, столь же не похожим на другие
твердые тела, как жидкий гелий - на другие жидкости, и за ним прочно
закрепилось название: "квантовый кристалл".[1]
2.1
Сверхтекучесть

Разберемся, что происходит с гелием ниже 2,17 К, когда он перестает
кипеть. Камерлинг-Оннес впервые указал, что при этой температуре свойства гелия
имеют особенность. Получив жидкий гелий он занялся измерением его параметров, в
первую очередь определением его плотности при разных температурах. Делалось то
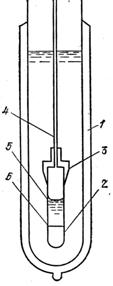
так. В жидкий гелий, находившийся в дьюаре, был погружен в стеклянный сосуд -
мензурка с известным объемом, к верху которого была подпаяна стеклянная трубка
с определенным диаметром и нанесенными делениями (рис. 3). К этому сосуду была
подпаяна тонкая металлическая трубка-капилляр, которая через крышу, герметично
закрывающую дьюар, выходила в комнату. Там она была подсоединена к другому
сосуду заданного объема, в который напускался газообразный гелий. Его давление
измерялось манометром. Полное количество гелия, содержащееся в измерительной
системе, определялось до начала опыта с помощью формулы Менделеева -Клайперона.
При
охлаждении часть гелия конденсировалась в мензурке, и по положению мениска в
капилляре можно было определить объем жидкости. По давлению в объеме,
остававшемся при комнатной температуре, определялось количество гелия, не
перешедшего в конденсаты. Ясно, что этих данных было достаточно для вычисления
плотности жидкости
. Откачивая пары гелия из дьюара, можно изменять
температуру жидкости и измерить зависимость
(Т),
приведенную на рис. 4. Максимум при
К
заинтриговал исследователей. Он явно указывал, на какое-то качественное
изменение, происходящее в гелии при этой температуре. Дело в том, что любое
нарушение монотонности изменения физических величин от температуры, обязательно
связано со скачкообразным изменением в структуре вещества фазовым переходом.
Например, это может быть переход пар-жидкость, жидкость-твердое тело и т.п. При
подобных переходах, называемых фазовыми переходами I рода, все
свойства изменяются скачком: и плотность, и порядок в расположении атомов, и
теплоемкость, и коэффициент теплового расширения… Но бывают фазовые переходы и
другого типа, при которых, в отличии от первых, плотность, например, изменяется
непрерывно, но на зависимости
(Т)
проявляется излом. Такие перепады носят название фазовых переходов II
рода.
Итак,
излом зависимости
(Т) свидетельствовал о наличии такого перехода, при
котором бесконечно малое изменение какого-то количества приводит к новому
качеству и ученым предстояло, в первую очередь, проверить действительно ли это
переход II рода. Этой цели должны были послужить
калориметрические измерения. Дело в том, что переходы первого рода - за
единственным исключением квантового кристалла - сопровождаются поглощением или
выделением тепла. При переходах второго рода, когда одна фаза переходит в другую
непрерывно, теплота перехода отсутствует.
Собственно,
даже независимо от этих соображений, надо было измерять тепловые свойства
жидкого гелия, именно его теплоемкость, так как она характеризует тепловое
движение. Эти измерения, выполненные впервые Кеезомом и Клузиусом, показали,
что теплоты перехода ет, и чрезвычайно убедительно подтвердили присутствие
аномалии - при
К теплоемкость С резко возрастала (рис. 5).
По
форме кривой С(Т), напоминающей греческую букву
, точка
фазового перехода получила название
-точки.
Последующие измерения гелия под давлением показали, что пока существует жидкая
фаза, в ней всегда наблюдается этот переход, так что надо говорить о
-линии, которую мы нанесем теперь на диаграмму
состояния жидкого гелия (см. рисунке 2). Эта линия разделяет область
существования жидкого гелия на две, которые долгое время назывались гелий I и
гелий II.
То,
что с теплопроводностью происходит что-то необычное, стало ясно в ходе опытов
по измерению теплоемкости. Чтобы ее измерить, был собран такой прибор: два
медных сосуда были соединены между собой тонкой трубкой с диаметром 0,6 мм и
длиной от ~20 до ~90 см (в разных опытах) из материала с плохой
теплопроводностью. Сосуды заполнялись жидким гелием, так что столбик жидкости в
трубке служил средой, передающей тепло. В одном из блоков помещался
нагреватель, и в обоих термометры. Создавалось впечатление, что тепло даже по
этому длинному и тонкому столбику из гелия II передается
практически без сопротивления, и заметной разности температур не наблюдается. А
это может быть лишь при очень большом коэффициенте теплопроводности
, в сони раз превосходящем его для меди. А вот у гелия
I теплопроводность низкая, примерно как у газов при
обычных температурах. Поэтому при переходе через
-точку
скачком меняет ее - по измерениям, проведенным
Кеезомом вместе со своей дочерью, по крайне мере в 3.106 раз. Этот результат
объясняет, почему в гелии II не видно пузырьков газа.
Но
в чем причина высокой теплопроводности. Может быть все дело в конвекции? Но
конвекция тоже не приводит к мгновенной передаче тепла, тем более по узким
длинным капиллярам, в которых она обычно вообще не возникает. Ведь при
конвекции надо привести в движение инертные массы вещества и все время поддерживать
это движение, стремящееся затухать из-за внутреннего трения, мерой которого
служит вязкость.
Капица
стал измерять вязкость методом перетекания. В результате этих экспериментов
вязкость гелия II оказалась чрезвычайно мала - по крайней мере, в
десятки тысяч раз меньше, чем для любой другой среды. Это был пока что
качественный результат, но Капица понял, насколько он важен, и сообщил о нем,
назвав обнаруженное явление сверхтекучестью, выдвинув очень смелую гипотезу,
что вязкость не просто мала, а полностью отсутствует.
В
жидкости или твердом теле возбуждаются тепловые акустические колебания,
называемые фононами. Их число и энергия подчиняется тем же законам, что и
фотоны в черном теле. Чем ниже температура, тем меньше фононов. И тем больше
характерные длины волн
. Так, в жидком гелии при Т=1 К
см, т.е. действительно тепловое движение - это
согласованное движение большого количества атомов.
Понятие
того, что нагревание жидкости сопровождается увеличением числа фононов,
позволило объяснить почему гелий может течь без трения.
Итак,
гелий II состоит как бы из двух частей, пронизывающих друг
друга. Одна часть - это система фононов, обладающих всеми свойствами обычной
вязкой жидкости увлекаемой движущейся стенкой и имеющей плотность
. Эту часть жидкости называют также нормальной
компонентой. А остальная часть, плотность которой
, это сверхтекучая компонента, не взаимодействующая со
стенкой, т.е. имеющая нулевую вязкость. Ясно, что при
плотность
тоже
уменьшается до нуля, так как фононы - это результат теплового движения.
Наоборот при увеличении температуры число фононов, а с ними и
возрастает, и когда
становится
равным
, происходит фазовый переход - сверхтекучесть
исчезает.
Говоря
о сверхтекучести нельзя не упомянуть о течении пленки жидкого гелия. Хотя
стенка гелия имеет микроскопическую толщину, но ведь гелий II
сверхтекуч. Поэтому, перенос жидкости по ней происходит довольно быстро.
Например, наполненная гелием II пробирка опорожняется за несколько минут. Это
перетекание гелия по пленке необходимо часто учитывать. Ведь течение
сверхтекучего гелия происходит не только под действием гравитации. Вспомним о
термомеханическом эффекте. Если есть разность температур, то гелий потечет по
пленке туда, где теплее. Но в любом криостате температура снизу вверх
изменяется от самой низкой до комнатной. И гелий течет вдоль стенки снизу до
того места, где
. Здесь он быстро испаряется - ведь при
давление насыщенных паров высоко. Это пар частично
откачивается насосом, частично конденсируется на свободной поверхности гелия. А
при конденсации выделяется тепло. Другими словами, как только наступает
сверхтекучесть, так сразу же ухудшается качество криостата: возрастает
теплоподвод к жидкости. Это очень непрятное обстоятельство не позволяет
понизить температуру гелия откачкой его паров существенно ниже ~1 К. Ценой
значительного усложнения прибора, помещая один гелиевый дьюар в другой, тоже
заполненный гелием, удалось добраться до ~0,8 К. И это предел. А не будь
течения по пленке, можно было бы простой откачкой достичь и 0,5 К.[1]
2.2 Гелий-3
Раньше мы писали просто "гелий", не обращая внимания на то, что
атомы гелия бывают разные: есть несколько изотопов с зарядом ядра Z=2. Из них
для физики низких температур важны два, и оба стабильные: гелий с массовым
числом 3, обозначаемый 3Не, и с массовым числом 4, т.е. 4Не, о котором выше и
шла речь и который и впредь мы будем, как правило, называть по-прежнему просто
гелий.
Не кипит при 3,69 К, при 1,2 К давление его паров ~20 мм рт.ст. Поэтому в
приборе вида "дьюар в дьюаре", показанном на рис. 6, 3Не, попав в трубку,
стенка которой имеет температуру ~1,2 К, станет жидким и сольется вниз. Теперь,
если мы начнем откачивать его пары, то он, испаряясь, начнет охлаждаться и
будет охлаждать все, что находиться с ним в тепловом контакте.
Жидкий 3Не менее плотен, чем жидкий 4Не: 0,08 г/см3 по сравнению с 0,145
г/см3. Кипит он при более низкой температуре, и теплота испарения у него много
меньше. Жидкий 3Не - еще одна квантовая жидкость, и не удивительно, что она не
затвердевает вплоть до Т=0.
Чтобы получить твердый 3Не, его нужно, как и 4Не, подвергнуть давлению.
Теплота плавления 3Не - отрицательна. Второе удивительное свойство 3Не - он не
становится сверхтекучим до очень низких температур ~10-3 К.
У атомов 3Не, даже при температуре Т=0 К, из-за действия принципа Паули
остается кинетическая энергия, превышающая энергию нулевых колебаний на ~10 К,
т. е. "фононы" просто не "остывают" до той температуры, при
которой могла бы начаться сверхтекучесть.
А
ведь отсутствие сверхтекучести, оказывается, очень полезное свойство. Когда мы
говорили о понижении температуры откачкой паров гелия, то выяснили, что
сверхтекучая пленка мешает получить
К. А у
3Не такой пленки нет. Поэтому, откачивая его пары, можно добраться уже до ~0,3
К - большой прогресс! Но когда физики изучили, что происходит, если смешать 3Не
и 4Не, то они нашли способ понизить температуру еще ниже - всего до нескольких
тысячных кельвина.
Зачем понадобилось смешивать эти изотопы? Одно из очевидных соображений:
чистый 4Не сверхтекуч, а при тех же температурах 3Не - нет. Стали составлять
смеси разного состава из этих изотопов и смотреть, что же получится, а заодно
исследовать их физические свойства. И тут возник вопрос номер один: а будут ли
вообще смешиваться эти жидкости? Ответ мог дать только эксперимент, и
оказалось, что и здесь результат получился неожиданным. Если температура выше
~0,8 К, то при любом соотношении смешиваемых частей оба гелия образуют
однородный раствор. Но, если температура становится ниже, то можно приготовить
либо слабый раствор 3Не в 4Не, либо слабый раствор 4Не в 3Не. Предельная
концентрация зависит от температуры.
Чтобы
показать эту зависимость, построим диаграмму, подобную диаграмме фазового
состояния (рис. 7). По оси абсцисс будем откладывать х - относительную
концентрацию 3Не в 4Не. Очевидно, х может меняться лишь в пределах от 0 до 1,
значит, поле диаграммы ограничено. А по оси ординат будет отложена температура.
Нанесем теперь слева линию, отвечающую предельной концентрации 3Не в 4Не, а
справа - обратному случаю. Эти линии сходятся только в одной точке при
К. На диаграмме получился "колокол", ограничивающий
область концентраций и температур, при которых не может существовать однородный
раствор 3Не и 4Не.
Что
же будет, если мы, например, смешаем равные объемы газообразных 3Не и 4Не, а
потом охладим эту смесь до температуры, скажем, 0,5 К? Мы видим, что точка с
такими координатами попадает внутрь "колокола". И тогда появится две
разные жидкости. Одна - почти чистый 3Не, в котором всего ~10% 4Не, другая -
4Не с ~20% примеси 3Не. первая смесь имеет меньшую плотность, и она всплывает.
Происходит расслоение, совсем как в смеси бензин - вода, и границу между
жидкостями можно отчетливо увидеть (рис. 8 7.4).
А
как же насчет сверхтекучести? Оказывается, тяжелая фракция - сверхтекуча,
легкая - нет. А там, где расслоение прекращается, можно провести
-линию, разделяющую области, где есть и где нет
сверхтекучести. конечно же, при х=0 она упирается в ось ординат в точке
. А примесь 3Не мешает сверхтекучести - она приводит к
понижению температуры перехода.
У
этих растворов есть замечательное свойство. Оказалось, что при
максимальная возможная концентрация 3Не в 4Не не
падает до нуля, а остается равной ~6,5%. Это позволило создать очень
эффективную холодильную машину, называемую криостат растворения, с помощь
которой удается получать температуры ниже 10-2 К.[3]
Заключение
Низкие температуры очень важны в нашей жизни. Окружающий нас космос - это
природный гигантский холодильник, не дающий нам сгореть от палящих лучей
солнца. Но и созданный человеком рукотворный холод нашел не мало применений:
это и получение кислорода для современной металлургии, и громадные
сверхпроводящие магниты, предназначенные приблизить осуществление управляемого
термоядерного синтеза, и целая отрасль медицины - криохирургия, и наиболее
чувствительные приборы для обнаружения радиосигналов и измерения магнитных
полей, это в перспективе создание машин нового поколения и многое, многое
другое.
В результате изучения материалов по рассматриваемому вопросу, были
сделаны следующие основные выводы:
1. Вещества при изменении температуры
меняют свои свойства. При понижении температуры большинство веществ меняют
фазовое состояние. При самых низких температурах только два вещества - водород
и гелий - могут находиться в газообразном состоянии с заметным давлением, все
прочие газы при значительно более высоких температурах твердеют, а упругости их
паров становятся ничтожно малыми.
2. Получение низких температур, от 200 К
и ниже, имеет огромное значение для лабораторных исследований свойств веществ и
для некоторых промышленных целей, о которых мы говорили выше. Основными
методами получения очень низких температур является магнитный способ и метод с
применением жидкого гелия.
3. У всех веществ есть особая точка
называемая тройной. В ней граничат сразу 3 фазы: твердая, жидкая и
газообразная, и их все три можно наблюдать одновременно. Как выяснил в своих
исследованиях Камерлинг-Оннес, у гелия нет тройной точки. Это единственное
вещество, обладающее таким свойством.
4. Капица, измеряя вязкость методом
перетекания, выяснил, что вязкость гелия II чрезвычайно мала. Он назвал обнаруженное явление
сверхтекучестью. Сверхтекучесть - чисто квантовое явление, а жидкий гелий
является единственной квантовой жидкостью, в то время как другие жидкости
отвердевают при значительно более высоких температурах, при которых описываемый
квантовый эффект еще не проявляется.
Список
использованной литературы
1. В.С. Эдельман. Вблизи абсолютного
нуля. Москва, 1983г.
2. А.К. Кикоин, И.К. Кикоин.
Молекулярная физика. Москва, 1976 г.
3. Д.В. Сивухин. Термодинамика и
молекулярная физика. Москва, 1990 г.
4. Р.В. Телеснин. Молекулярная физика.
Москва, 1973г.
5. Академик П.Л. Капица. Свойства
жидкого гелия.1987г.
6. Физический энциклопедический словарь.
Москва, 1984г.