Расчет трёхфазного симметричного и несимметричного коротких замыканий в сложной электрической системе
МИНИСТЕРСТВО ОБРАЗОВАНИЯ И НАУКИ
РОССИЙСКОЙ ФЕДЕРАЦИИ
Государственное образовательное учреждение высшего
профессионального образования
«НАЦИОНАЛЬНЫЙ ИССЛЕДОВАТЕЛЬСКИЙ
ТОМСКИЙ ПОЛИТЕХНИЧЕСКИЙ УНИВЕРСИТЕТ»
Энергетический институт
Направление - Электротехника, электромеханика и электротехнологии
Кафедра - Электроэнергетические системы и сети
Расчет трехфазного СиммЕтричного и несимметричного коротких
замыканий в сложной электрической системе
Пояснительная записка к
курсовой работе по дисциплине
«Переходные процессы в CЭС»
Вариант № 16
Исполнитель
студент группы 7а84
Снесарев А.В.
Руководитель
Доцент Юшков А.Ю.
Томск - 2011
Введение
Под переходными процессами понимается неустановившиеся состояние,
причиной которых является разнородные возмущения (КЗ, сбросы и набросы
мощности, отключение ЛЭП, трансформаторов и т.д.) Основной причиной
возникновения электромагнитных переходных процессов являются преимущественно
короткие замыкания. В трехфазных системах с заземленной нейтралью различают
следующие основные виды коротких замыканий в одной точке:
а) трехфазное;
б) двухфазное;
в) однофазное;
г) двухфазное на землю.
Трехфазное короткое замыкание является симметричным, т.к. при нем все
фазы остаются в одинаковых условиях. Все остальные виды коротких замыканий
являются несимметричными.
КЗ в электрических системах вызываются повреждением фазовой и линейной
изоляции токоведущих частей. Основными причинами нарушения изоляции являются:
удары молний в токоведущие части; перетирание изоляции при неправильных
операциях с разъединителями; старение изоляции; механические повреждения
кабелей и т.д.
КЗ сопровождаются понижением уровня напряжения и резким увеличением тока.
Особенно вблизи места повреждения. Резкое понижение напряжения при КЗ может
привести к системной аварии.
Целью работы является усвоение практических методов расчетов основных
параметров тока и напряжений при симметричном и несимметричном КЗ.
Исходные данные
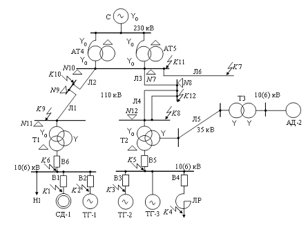
№ схемы - 2 (рис.1) Точка короткого замыкания К1.
Параметры оборудования:
Турбогенераторы ТГ1 - ТГ3:
Т-12-2
Реактор:
РБДУ-10-2500-0,2
Система:
Трансформаторы Т1, Т2:
СД
Автотрансформаторы
АТ4, АТ5
Трансформатор
Т3:
АД:
ЛЭП:
Все
ЛЭП 110 кВ выполнены проводом АС-240 (х = 0,4 Ом/км)
ЛЭП
35 кВ выполнены проводом АС-120 (х = 0,4 Ом/км)
Л1,
Л2, Л3 - одноцепные со стальным тросом
Л4
- двухцепная с хорошо проводящим тросом
Л5
- одноцепная без троса
Рис.1
Принципиальная схема №2 сложной электрической сети
1. Расчет трёхфазного короткого замыкания в сложной электрической
системе
Задание
Для электрической системы, принципиальная схема которой приведена на рис.
1, выполнить расчет трехфазного к.з. в указанной точке.
·
-
действующие значения периодической слагающей тока к.з. в точке к.з. и
протекающего через выключатель с тем же номером, что и номер точки к.з.,
соответственно для
·
- ударные
токи, соответствующие
;
Расчет проведем в системе относительных единиц (о.е.) при приближенном
учете коэффициентов трансформации. Сущность приближенного учета заключается в
том, что для каждой ступени трансформации вместо действительного напряжения
начала и конца, устанавливается среднее номинальное напряжение для каждой
ступени.
Рис.2 Разбиение схемы №2 сложной электрической сети по ступеням
Принимаем
базисные величины мощности и напряжения, рассчитываем базисные токи:
Для
того, чтобы перейти к электрической схеме замещения необходимо привести
сопротивления всех элементов к напряжению одной из ступеней (базисной).
1.1 Расчет параметров схемы замещения
Схема замещения со значениями реактивных составляющих сопротивлений
элементов и сверхпереходных ЭДС источников питания в о.е. приведена на рис.3.
Рис.3 Схема замещения сложной электрической сети
. Турбогенераторы ТГ1-ТГ3
;
;
;
=
=
.
2. Синхронный двигатель (СД-1, режим перевозбуждения)
о.е.
о.е.
о.е.
3. Трансформаторы
(Т1,Т2)
. ЛЭП (Л1,Л2,Л3,Л4)
о.е.
о.е.
о.е.
о.е.
.
Автотрансформаторы (АТ4, АТ5)
о.е.
о.е.
о.е.
.
Система
о.е.
о.е.
.
Реактор: Не учитываем реактор в ходе расчетов. Ошибка в пределах допустимой.
.2
Преобразование схемы замещения
Схема
замещения (рис. 3) преобразуется до эквивалентной ветви относительно точки к.з.
с результирующим значением ЭДС (
) и
сопротивлением (
). Используемые приемы преобразования основываются на
последовательном, параллельном сложении элементов схемы; разрезании схемы по
вершине приложенной ЭДС.
Этапы преобразования схемы замещения.
1.
Рис.
4. Упрощение схемы замещения (1)
Рис.5
Упрощение схемы замещения (2)
Рис.6
Упрощение схемы замещения (3)
Рис.7
Упрощение схемы замещения
Определим периодическую слагающую тока КЗ (действующее значение):
о.е.
1.3 Расчет коэффициентов токораспределения по ветвям сети
Коэффициент
токораспределения ветви Ci численно равен току, протекающему по этой ветви Ii
при условии, что суммарный ток в месте к.з. принят за единицу, т.е.
.
Расчет коэффициентов Ci основан на законах Кирхгофа и Ома. Предполагают, что в месте КЗ ток
равен 1 (о.е.), а ЭДС всех ветвей равны по модулю и по фазе, т.е. токи
находятся в долях от 1. Значит коэффициент токораспределения характеризует долю
участия каждого источника в питании места КЗ.
) за основу С0
Проверка:
С23+С1=С0 0,873+0,127=1 проверка выполняется.
)
за основу С23:
Проверка:
С22+ С2=С23 0,313+0,56=0,873 проверка
выполняется.
)
за основу С30:
Проверка:
С17+С21=С22 0,283+0,03=0,313 проверка
выполняется.
)
за основу С21:
Проверка:
С3+С4=С21 0,015+0,0015=0,03 проверка
выполняется.
Итоговая
проверка:
Проверка
выполняется, следовательно, расчет на данном этапе произведен, верно.
ток напряжение трехфазный замыкание
Рис.8. Токораспределение в схеме замещения
.4 Расчет параметров аварийного режима для начального момента времени t=0
Параметры тока к.з. в месте короткого замыкания
Периодическая составляющая тока КЗ в именованных единицах:
Ударный ток КЗ:
где
- ударный коэффициент, показывает превышение ударного
тока над амплитудой периодической составляющей; для рассчитываемого места КЗ
принимаем единый
,
для всех
источников подпитки места КЗ.
Тогда ударный ток:
Наибольшее действующее значение полного тока к.з. имеет место за первый
период переходного процесса, соответствующего времени t=0,01 c,
т.е. моменту наступления ударного тока и рассчитывается по формуле:
Параметры тока к.з., протекающего через выключатель
Действующее значение периодической слагаемой тока к.з., протекающего
через выключатель:
Ударный
ток, действующий на выключатель:
Периодические
слагаемые токов источников питания, приведённые к ступеням напряжения этих
источников
Периодическая
слагаемая тока, приведенная к Uбi в любой ветви (
) схемы, определяется по выражению
.
В результате расчётов для t=0 с
имеем:
· СД-1
· ТГ-1
· ТГ-3
· ТГ-2
· система
2. Расчет режима несимметричного КЗ в сложной электрической сети
В практических расчетах несимметричных режимов используются те же
допущения, что и при анализе симметричного трехфазного КЗ. Расчет проводим в
системе относительных единиц при тех же базисных условиях.
Используем те же исходные данные, что и при симметричном режиме.
Сопротивления системы для всех последовательностей принимаем одинаковыми и
равными сопротивлению прямой последовательности.
Для расчета несимметричного КЗ используем метод симметричных
составляющих.
.1 Схема замещения прямой последовательности
Сопротивление элементов и ЭДС источников питания в относительных единицах
для исходной схемы выбираем из схемы замещения сети для трехфазного короткого
замыкания.
Определим
результирующее сопротивление
и
результирующую ЭДС
относительно точки КЗ. В качестве исходной позиции
принимаем схему, представленную на рис. 10, и максимально используем ранее
полученные результаты.
Рис. 9. Схема замещения прямой последовательности.
Этапы преобразования схемы замещения прямой последовательности.

Рис.
10. Упрощение схемы замещения (1)
Рис.11.
Упрощение схемы замещения (2)

Рис.12.
Упрощение схемы замещения(3)
.2
Схема замещения обратной последовательности
Схема обратной последовательности по структуре полностью совпадает со
схемой прямой последовательности. Отличие схемы обратной последовательности
состоит в том, что в ней ЭДС всех генерирующих источников питания принимаются
равными нулю, а в месте КЗ приложено напряжение обратной последовательности U2К.
Принимаем, что схема обратной последовательности и её сопротивления
совпадают со схемой прямой последовательности, т.е.
,
.3
Схема замещения нулевой последовательности
Схема
нулевой последовательности существенно отличается от схемы прямой
последовательности и в значительной мере определяется соединением обмоток
трансформаторов. Началом схемы нулевой последовательности считают точку, в
которой объединены ветви с нулевым потенциалом. А её концом - место КЗ, в
которой приложено U0К.
Для
автотрансформаторов АТ4, АТ5, трансформаторов Т1, Т2 и системы сопротивления
нулевой последовательности равны сопротивлениям прямой последовательности.
В
упрощенных практических расчетах сопротивление нулевой последовательности Х0
воздушных линий электропередач допускается определять через коэффициент К=Х0/Х1
, значение которого зависит от конструктивного исполнения ЛЭП.
Определим
сопротивления нулевой последовательности ВЛЭП. «К» определяем в соответствии с
заданным в исходных данных конструктивным исполнением по [2, табл. П2.1,
стр.58]:
Преобразование
схемы замещения
Рис. 13. Схема замещения нулевой последовательности
Этапы преобразования схемы замещения прямой последовательности.
Рис.
14. Упрощение схемы замещения(1)
Рис.
15. Упрощение схемы замещения(5)
Рис.
16. Упрощение схемы замещения(3)
Определим сопротивление шунта:
Определим
периодическую слагающую для фиктивного трехфазного замыкания:
.5.
Расчет параметров аварийного режима для начального момента времени t=0
Все
выше приведенные расчеты сделаны для фактического трехфазного короткого
замыкания. А в данном расчете необходимо рассчитать несимметричное однофазное
короткое замыкания на землю. Т.е. необходимо найти дополнительное сопротивление
(реактанс), чтобы попасть в реальное место КЗ. Также необходимо выбрать
коэффициент пропорциональности m, чтобы вычислить модуль In поврежденной
фазы при несимметричном КЗ.
Вид
замыкания. К(1): m(1)=3
Пересчитаем
In тока прямой последовательности для К(1)
особой фазы по месту КЗ:
Для
того, чтобы найти токи обратной и нулевой последовательностей фазы А
воспользуемся [1, табл.П2.3, стр.64]:
Модуль
In тока
КЗ:
Ударный
ток КЗ:
2.6 Построение векторной диаграммы по месту КЗ
Векторная
диаграмм токов в точке К(1) представлена на рисунке 17:
Симметричные
составляющие напряжения в месте КЗ особой фазы А определяем по [1, табл.П2.3,
стр.64] для К(1).
В
относительных единицах:
В
именованных единицах
Векторная
диаграмм напряжений в точке К(1) представлена на рисунке 18:
Рис.17.
Векторная диаграмма токов
Рис.18.
Векторная диаграмма напряжений
Заключение
Расчеты режимов КЗ трехфазных симметричных схем производятся на одну фазу
вследствие подобия явлений, происходящих в каждой из фаз, и равенства значений
одноименных величин.
При несимметрии в произвольной точке системы, которая может быть
поперечной при коротком замыкании между фазами или между фазой и землей, или
продольной - при неодинаковых сопротивлениях в фазах и обрывах, явления по
фазам различны. Неодинаковы в том случае величины токов и напряжений, а также
узлы сдвига между ними. Для нахождения токов и напряжения в любой фазе
несимметричной системы необходимо составить трехфазную схему замещения и
написать необходимое число уравнений с учетом взаимоиндукции, что сильно
усложняет решение задачи, особенно для синхронных генераторов.
Сравнительно прост расчет несимметричных режимов в трехфазных схемах с
помощью метода симметричных составляющих. Вычисление токов и напряжений при несимметричных
КЗ сводится к вычислению этих величин при некотором фиктивном трехфазном КЗ. А
это предоставляет возможность воспользоваться однолинейной схемой замещения и
производить расчет на одну фазу. В этом состоит одно из достоинств метода
симметричных составляющих.
Список используемых источников
1. Готман
В.И., Хрущёв Ю.В. Электромагнитные переходные процессы в электрических
системах: Учебное пособие по курсовому проектированию по дисциплине
«Электромагнитные переходные процессы в электрических системах», Томск: изд-во
ТПУ, 2002, - 68с.
. Борисов
Р.И., Готман В.И. Основы переходных процессов в электрических системах. Учебное
пособие, Томск: изд-во ТПИ, 1969.