Прибор контроля постовой охраны
АНОТАЦИЯ
Прибор контроля постовой охраны. А.А.Шмелев - Челябинск: ЮУрГУ, ПС, 2011,
-100 с. Библиография литературы 20 наименований, 10 чертежей и плакатов ф. А1.
В настоящем дипломном проекте разработан прибор контроля постовой охраны.
Составлен комплект графического материала в соответствии с заданием на
дипломное проектирование. Выполнено проектирование печатных узлов, произведен
расчет надежности печатного узла, разработано программное обеспечение. В
организационно-экономическом разделе дипломного проекта рассмотрено сетевое
планирование НИОКР, произведен расчет параметров сетевого графика и
экономических показателей изделия, оценены затраты на подготовку мелкосерийного
производства. В разделе «Безопасность жизнедеятельности» проведен анализ
опасных и вредных производственных факторов, приведён ряд мероприятий, целью
которых является уменьшение их вредного воздействия на человека.
ОГЛАВЛЕНИЕ
1. АНАЛИЗ ТЕХНИЧЕСКОГО ЗАДАНИЯ
.1 ИЗУЧЕНИЕ ЛИТЕРАТУРЫ, ПАТЕНТОВ, НОРМАТИВНОЙ ДОКУМЕНТАЦИИ.
.2 АНАЛИЗ ВАРИАНТОВ ТЕХНИЧЕСКИХ РЕШЕНИЙ
.3 ОПРЕДЕЛЕНИЕ СОСТАВА И НАПОЛНЕНИЯ БЛОКА.
. СХЕМОТЕХНИЧЕСКАЯ ЧАСТЬ
.1 РАЗРАБОТКА СТРУКТУРНОЙ ЭЛЕКТРИЧЕСКОЙ СХЕМЫ.
.2 РАЗРАБОТКА ПРИНЦИПИАЛЬНОЙ ЭЛЕКТРИЧЕСКОЙ СХЕМОЙ.
. КОНСТРУКТОРСКАЯ ЧАСТЬ. КОМПОНОВКА, ВЫБОР И ОБОСНОВАНИЕ
ИСПОЛЬЗУЕМЫХ МАТЕРИАЛОВ, ПОКРЫТИЙ.
. ОБЕСПЕЧЕНИЕ ТРЕБОВАНИЙ ПО ЗАЩИТЕ ОТ МЕХАНИЧЕСКИХ
ВОЗДЕЙСТВИЙ
. РАЗРАБОТКА ПЕЧАТНОЙ ПЛАТЫ
.1 РАЗРАБОТКА УЗЛА НА ПЕЧАТНОЙ ПЛАТЕ
. РАСЧЕТ НАДЕЖНОСТИ ПЕЧАТНОГО УЗЛА
. ТЕПЛОВОЙ РАСЧЕТ
. ПРОГРАММНАЯ ЧАСТЬ
.1 ПОСТАНОВКА ЗАДАЧИ
.2 ОПРЕДЕЛЕНИЕ ЦЕЛИ РАЗРАБОТКИ ПРОГРАММЫ
.3 ВЫБОР ЯЗЫКА ПРОГРАММИРОВАНИЯ И КРОСС - СРЕДСТВ
.4 ОПРЕДЕЛЕНИЕ СТРУКТУРЫ ВХОДНЫХ И ВЫХОДНЫХ ДАННЫХ
.5 РАЗБИЕНИЕ НА МОДУЛИ (ФУНКЦИИ)
.6 РАЗРАБОТКА ТЕКСТА ПРОГРАММЫ.
. ЭКОНОМИЧЕСКАЯ ЧАСТЬ
.1 СЕТЕВОЕ ПЛАНИРОВАНИЕ
.2 ПОСТРОЕНИЕ СЕТЕВОГО ГРАФИКА
.3 РАСЧЕТ ПАРАМЕТРОВ СОБЫТИЙ СЕТЕВОГО ГРАФИКА
.4 РАСЧЕТ ПАРАМЕТРОВ РАБОТ СЕТЕВОГО ГРАФИКА
.5 РАСЧЕТ ПРЕДПРОИЗВОДСТВЕННЫХ ЗАТРАТ НА РЕАЛИЗАЦИЮ
МЕРОПРИЯТИЙ НИОКР
.6 РАСЧЕТ ТЕКУЩИХ ЗАТРАТ НА СТАДИИ ЕДИНИЧНОГО ПРОИЗВОДСТВА
.7 СТОИМОСТНАЯ ОЦЕНКА РЕЗУЛЬТАТОВ МЕРОПРИЯТИЯ
. ОХРАНА ТРУДА
.1 АНАЛИЗ ОПАСНЫХ И ВРЕДНЫХ ПРОИЗВОДСТВЕННЫХ ФАКТОРОВ,
ИСТОЧНИКОМ КОТОРЫХ ЯВЛЯЕТСЯ ПРОЕКТИРУЕМОЕ УСТРОЙСТВО.
.2 АНАЛИЗ УСЛОВИЙ ЭКСПЛУАТАЦИИ ПРОЕКТИРУЕМОГО УСТРОЙСТВА.
.3 СООТВЕТСТВИЕ ПРОЕКТИРУЕМОГО УСТРОЙСТВА ТРЕБОВАНИЯМ
БЕЗОПАСНОСТИ.
.4 ЭРГОНОМИКА
.5 ЗАЩИТА ОТ ШУМА
ЗАКЛЮЧЕНИЕ
БИБЛИОГРАФИЧЕСКИЙ СПИСОК
ПРИЛОЖЕНИЯ
ПРИЛОЖЕНИЕ А. ТЕКСТ ПРОГРАММЫ
ПРИЛОЖЕНИЕ Б. РУКОВОДСТВО ОПЕРАТОРА
ПРИЛОЖЕНИЕ В. ПОСАДОЧНЫЕ МЕСТА ДЛЯ ЭРЭ
ВВЕДЕНИЕ
Современные охранные средства все чаще используются для повышения
надежности охраны промышленных объектов, мест массового скопления людей,
частной собственности. Очень важно, чтобы применяемые приборы были недорогими,
надежными и простыми в обслуживании, поскольку от этого зависят стоимость охранного
оборудования и качество охраны.
Очень важным моментом в сфере охранных услуг на сегодняшний день является
контроль охранного персонала - как оперативных групп быстрого реагирования, так
и постовых охранников, ведь от них напрямую зависит безопасность в таких
общественных местах, как вокзалы, аэропорты.
Прибор контроля постовой охраны будет работать в сети стандарта GSM на частоте 800 МГц, 900 МГц, и 1800
МГц. Данное решение намного упрощает способ организации связи объект-пульт. Не
требуется дополнительной разработки радиопередающих и радиоприемных устройств,
кодеров и декодеров сигналов. А также отпадает потребность в регистрации
рабочей частоты. Сети стандарта GSM
достаточно распространены по территории Челябинской области, имеют высокую
скорость передачи данных, возможность передачи факсимильных сообщений.
Для работы в сети GSM
существует множество так называемых GSM-модулей. Эти модули имеют большой набор инструкций, с помощью которых
можно управлять работой в сети GSM,
передавать различные данные, выходить во всемирную сеть Интернет. Сам GSM модуль управляется
микроконтроллером.
Данный прибор является аналогом мобильного телефона. Отличия состоят в
том, что у него есть возможность дозваниваться лишь на конкретный заданный
номер, и в том, что он устанавливается неподвижно, что гарантирует нам, что
охранник в заданное время находится на заданном объекте.
Цель данного проекта - разработка простого, дешевого, экономичного и
технологичного прибора контроля постовой охраны. Данное изделие позволит
увеличить эффективности работы охранников, улучшить качество охранных услуг.
1. АНАЛИЗ
ТЕХНИЧЕСКОГО ЗАДАНИЯ
Разработка прибора контроля постовой охраны в настоящее время является
актуальной проблемой, которой занимаются многие отечественные и зарубежные
фирмы.
Внедрение данного устройства позволит повысить эффективность работы
охранников на охраняемых объектах, соответственно, повысится безопасность в
таких общественных местах, как вокзалы, аэропорты. Так же такой прибор
необходим для контроля работы охранников на удаленных объектах. Данный прибор
устанавливается на охраняемых объектах неподвижно. Через него постовой охранник
связывается с диспетчером, который обслуживает пульт охраны. Специальное
программное обеспечение контролирует время выхода охранников на связь, и в
случае нарушения, немедленно сообщает об этом диспетчеру. Разработка
программного обеспечения пульта в данный проект не входит.
В состав прибора входит GSM-модуль,
работающий на частотах 800 МГц, 900 МГц, и 1800 МГц. По заданным алгоритмам
микроконтроллер вырабатывает сигналы управления GSM модулем в зависимости от нажатой одной из трех
кнопок.
Подобный вариант связи охранника с диспетчером не требуется
дополнительной разработки радиопередающих и радиоприемных устройств, кодеров и
декодеров сигналов.
Питание прибора осуществляется от сети постоянного тока 12В. Прибор
предназначен для работы в обычных условиях.
Кроме того, при разработке конструкции прибора нужно учитывать
эргономические и эстетические требования, которые включают в себя: габариты
корпуса и цвет его окраски, расположение и форму органов управления.
Только используя современную элементную базу и конструкционные технологии
возможно уменьшение массы и габаритов устройства.
1.1 Изучение литературы, патентов, нормативной документации
Разработка
данного устройства непосредственно связана с программированием
микроконтроллера, который в свою очередь, будет управлять GSM
модулем. Литературы, посвященной микроконтроллерам, огромное количество. Для
разработки данного устройства изучалась книга под названием «практическое
программирование микроконтроллеров Atmel ATMEL
на языке ассемблера» автора Юрия Ревича. Данная книга подойдет как для опытных
пользователей микроконтроллеров, так и для начинающих их изучать. В данной
книги описываются микроконтроллеры ATMEL, их технические
характеристики, возможности. Рассматриваются примеры программ. Так как
программа для прибора пишется на языке С, то литература по данному языку
программирования микроконтроллеров «CodeVisionAVR. Пособие для
начинающих» Лебедева Михаила. Так же, в книге рассматривается синтаксис работы
языка С, и его особенности применения к микроконтроллерам. К сожалению, список
литературы по GSM модулям достаточно короток. И поэтому, разработчики
изучают литературу, выпускаемую заводом-изготовителем, на английском языке.
Также присутствует достаточно большое количество интернет ресурсов, содержащих
описание работы различных электронных устройств, обучающий материал,
разнообразные форумы разработчиков электронной аппаратуры. К рекомендуемым
сайтам можно отнести www.easyelectronics.ru
<#"551401.files/image001.gif">
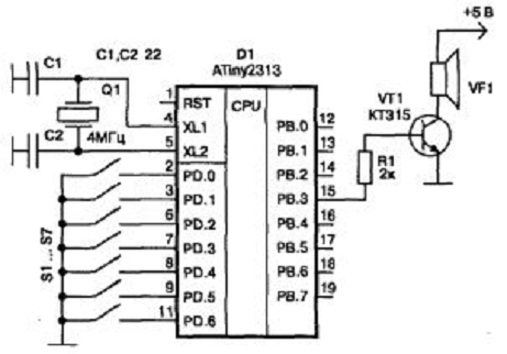
Рисунок 2.1 - Структурная схема прибора
Значение температуры может измеряться от 0 до 40˚С. Входным сигналом
является сигнал, поступающий с микрофона на GSM модуль.
Блок управления - представляет собой три кнопки (вызов, ответить,
завершение вызова).
Процессорный блок - состоит из микроконтроллера и элементов необходимых
для его правильной работы. Микроконтроллер считывает информацию, опрашивая
кнопки, и в случае нажатия одной из них, выдает соответствующую команду
управления GSM модулем.
Блок выходных цепей - предназначен для обеспечения громкой связи с
постовым охранником. Громкая связь обеспечивается пассивным динамиком,
импедансом равным 8 Ом, а также дифференциальным аудио-усилителем, выполненным
в интегральном исполнении, который усиливает аудиосигнал, идущий от GSM модуля и подает его на динамик. Это
лишает нас необходимости использовать тангенты и телефонные трубки, которые
могут быть повреждены. Благодаря этому конструкция прибора уменьшается в
объеме, повышается надежность прибора, и защищенность от вандализма.
Источник питания. От качества работы источника питания напрямую зависит
надежность работы всей системы. Анализ статистики отказов различных устройств
показывает, что неустойчивая работа и выход из строя приборов зачастую связаны
именно со сбоями и помехами в питающей сети. В качестве источника питания для
прибора было принято использовать блок источника резервированного питания
БИРП-12/4,0, устанавливаемый на охраняемых объектах.
2.2 Разработка принципиальной электрической схемой
В качестве самого сложного и самого дорогого устройства выступает GSM модуль SIM300DZ,
производства компании SIMCOM.DZ
- трехдиапазонный GSM/GPRS модуль, производства SimCom, который предназначен
для передачи голоса, данных, SMS сообщений, факсимильных сообщений. Маленькие
размеры и высокая функциональность модуля SIM300DZ - идеально подходит для
встраиваемых решений, где важны размеры конечного устройства. SMD форм-фактор
модуля SIM300D дает возможность интегрировать модуль на автоматической линии в
устройство (на печатную плату) без применения дорогостоящего оборудования,
дорогостоящих методов проверки припоя по сравнения с BGA корпусом. Встроенный
полнофункциональный TCP/IP стек. Возможность контроля и управления зарядом Li-iоn аккумулятора.
Применение GSM/GPRS модуля SIM300DZ сокращает время производства и удешевляет
конечное изделие.
Основные сферы применения модуля: коммерческий учет электроэнергии,
тепла, газа; охранно-пожарные сигнализации; банковское оборудование и платежные
терминалы; носимые устройства GSM связи; мониторинг состояния пациента.
Основные характеристики модуля SIM300DZ:
Диапазон частот: GSM-GPRS 900/1800/1900 МГц;
Излучаемая мощность: 2 Вт (900МГц), 1 Вт (1800МГц);
Управление модулем: AT Команды (GSM 07.07, 07.05, SIMCOM);
Передача голоса: Кодеки FR/EFR/HR;
Функции снижения шума: Подавление эха;
Два аудио канала: Трубка, гарнитура;
Наличие встроенного таймера реального времени;
Мониторинг температуры модуля;
Функция заряда аккумулятора;
Ток потребления: В режиме ожидания 23 мА, в режиме передачи <470 мА;
Пиковый ток 2 А;
Напряжение питания: от 3.4 до 4.5 В;
Температура рабочая: от -30 °С до +70 °С ;
Размеры 33 х 33 х 6.2 мм, Вес 7.8 г;
Установка на плату: SMD (пайка).
Центральное место в схеме занимает микроконтроллер ATMEGA8 фирмы ATMEL, который работает под управлением программы
записанной во внутреннюю FLASH память. Основные характеристики микроконтроллера
ATMEGA8:
высокопроизводительных команд, большинство команд выполняется за один
тактовый цикл, 32 восьмиразрядных рабочих регистра общего назначения,
энергонезависимая память программ и данных, 8 Кбайт внутрисистемно
программируемой Flash, встроенная периферия, два восьмиразрядных
таймера/счетчика с отдельным предварительным делителем, один с режимом
сравнения, один шестнадцатиразрядный таймер/счетчик с отдельным предварительным
делителем и режимами захвата и сравнения, программируемый последовательный
USART, рабочие напряжения 4,5 - 5,5 В, рабочая частота 0 - 16 МГц.
Расположение выводов микроконтроллера ATMEGA8 в корпусе TQFP представлено на рисунке 2.2.
Рисунок 2.2 - Расположение выводов ATMEGA8.
Для тактирования микроконтроллера необходим либо резонатор, либо
независимый тактовый генератор. Генератор, построенный на основе кварцевого или
керамического резонатора, требует некоторого времени на установление колебаний.
Во время установления режима генератора процессор не должен работать. Для этой
цели имеется встроенный таймер запуска, который после появления уровня
логической единицы на выводе MCLR и истечения задержки таймера включения
питания в течении 1024 тактов внешнего генератора удерживает процессор в
состоянии сброса. Этой задержки достаточно для стабилизации тактового
генератора. Конденсаторы С1 и С2 увеличивают стабильность работы кварцевого
генератора, но при этом несколько увеличивается время его запуска.
Производитель рекомендует между выводами кварцевого резонатора и «землей»
устанавливать конденсаторы номиналом около 20пФ. Обмен данными между
микроконтроллером и GSM-модулем будет
происходить через последовательный асинхронный порт UART на скорости 9600 бит в секунду. Так как ошибка
передачи данных по данному порту напрямую зависит от частоты работы
контроллера, применим кварцевый резонатор, который работает на частоте 4 МГц.
При этом погрешность составляет 0,2%. Рассчитаем значение регистра UBBR, который отвечает за скорость
последовательного интерфейса UART:
UBBR= XTAL/(16*baudrate)-1,
Где XTAL-частота кварцевого резонатора в
герцах в секунду, baudrate -
скорость передачи данных в битах в секунду. Получаем:
UBBR=
4 000 000/(16*9600)-1=25;
Блок выходных цепей организован на микросхеме TDA2003:
Основные характеристики микросхемы TDA2003 представлены в таблице 1:
Таблица 1 - основные характеристики TDA2003
|
Pвых max, Вт, при Kг=10 %
|
4,5
|
|
Rнагр, Ом, не менее
|
2
|
|
Kг, %, не более
|
0,5
|
|
Iпот, мA, при Uвх=0
|
10...80
|
|
Uвх, мВ, не более
|
42
|
|
Uпит, В
|
8,5...16,5
|
Типовая схема включения микросхемы TDA2003 представлена на рисунке 2.4.
Рисунок 2.4 - Типовая схема включения микросхемы TDA2003
Вход аудиоусилителя подключается к порту «SPK1N» GSM модуля.
Стабилизаторы напряжения прибора стабилизируют сетевое напряжение 12В до
следующих постоянных напряжений:
+4В - для питания GSM-модуля.
+5В - для питания микроконтроллера.
Питание +5В организуется линейным стабилизатором напряжения КР142ЕН5А.
Питание модуля +4В требует особого подхода. Простой линейный стабилизатор не
подойдет, так как модуль требует возможности пикового тока в 2А, что обычный
линейный стабилизатор не способен обеспечить. Вследствие, приходится
использовать более дорогой стабилизатор напряжения LM1085. Изображение стабилизатора напряжения LM1085 представлено на рисунке 2.5.
Типовая схема включения стабилизатора напряжения LM1085 представлена на рисунке 2.6.
Рисунок 2.6 - Типовая схема включения стабилизатора напряжения LM1085
Выходное напряжение модуля рассчитывается по следующей формуле:
(1)
Для выходного напряжения в 4 вольта подбираем номиналы:
R1=5.6
кОм, R2=10 кОм.
Блок индикации. В приборе использована как световая индикация
(светодиод), так и звуковая индикация (звуковой излучатель). Типовая схема
подключения светодиода к микроконтроллеру представлена на рисунке 2.7.
Рисунок 2.7 - Типовая схема подключения светодиода к микроконтроллеру
При логическом нуле на порту микроконтроллера, через резистор R2 ток не протекает, соответственно
транзистор VT1 закрыт. Следовательно, ток в цепи
коллектор-эмиттер отсутствует и светодиод не горит. При подаче логической
единицы на порт микроконтроллера (пять вольт), на базу транзистора поступает
ток, ограничивающийся резистором R2
(обычно около 4 кОм), который открывает транзистор. В цепи коллектор-эмиттер
протекает ток, ограничивающийся резистором R1. Светодиод зажигается. Применение транзисторной развязки
защищает порт микроконтроллера от короткого замыкания и не зависит от питания
микроконтроллера.
Типовая схема подключения звукового излучателя к микроконтроллеру
представлена на рисунке 2.8.
Рисунок 2.8 - Типовая схема подключения звукового излучателя к
микроконтроллеру
Логика работы такой схемы включения аналогична логике индикации
светодиодом. Отличается лишь тем, что транзистор открывается и закрывается на
звуковой частоте, которая может регулироваться широтно-импульсной модуляцией,
регулируемой микроконтроллере. Изменяя скважность импульсов, мы изменяем
частоту, соответственно, изменяем тональность звука. Но в данном курсовом
проекте будем использовать пьезо-излучатель. Управляется так же, но частота
регулируется в небольших пределах. Это достаточно для индикации нажатия кнопок.
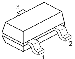
В данном курсовом проекте все транзисторы используются исключительно в
качестве ключей. Так как к транзисторным ключам не предъявляется больших
требований, достаточно использовать так называемые цифровые транзисторы -
транзисторы, выполненные в корпусе со встроенными токоограничивающими
резисторами. Это избавляет нас в необходимости от монтажа дополнительных
резисторов на плату, что экономит место на плате, резисторы, а, соответственно,
уменьшает стоимость готового изделия. Подключаются транзисторы непосредственно
к портам микроконтроллера. Будем использовать в качестве цифрового транзистора BCR108, выполненным в корпусе SOT23. Изображение данного транзистора
представлено на рисунке 2.9.
Рисунок 2.9 - Цифровой транзистор BCR108
Блок управления организован тремя управляющими кнопками. Типовая схема
подключения кнопок к микроконтроллеру представлена на рисунке 2.10.
Рисунок 2.10 - Типовая схема подключения кнопки к микроконтроллеру
При разомкнутой кнопке напряжение на порту становится равным напряжению
питания (пять вольт) - логическая единица. При замыкании кнопки напряжение на
порту становится равным напряжению земли (ноль волт) - логический ноль.
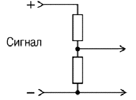
Так как логические уровни у GSM модуля и микроконтроллера не совпадают (0 и 3.3В у модуля, и 0 и 5В у
контроллера, соответственно), необходимо иметь средства понижения сигнлала с 5В
до 3.3 вольт, и повышения сигнала с 3.3 вольт.
Понижение сигнала выполним с помощью обычного резистивного делителя.
Типовая схема резистивного делителя представлена на рисунке 2.11.
Рисунок 2.11 - Типовая схема резистивного делителя
Резисторы рассчитываются таким образом, чтобы было верным следующее
выражение:
, (2)
где
R1 - резистор верхнего плеча, R2 - резистор
нижнего плеча резистивного делителя.
Для простоты расчетов, примем выходное напряжение как половину входного,
так как параметры модуля это позволяют. Следовательно, требуется выполнить
резистивный делитель на резисторах одинаковых номиналов. Примем номиналы
равными 10 кОм.
Вход резистивного делителя подключается к порту микроконтроллера TX (порт выхода последовательного
порта). А выход делителя подключается к порту RX (порт входа последовательного порта модуля GSM).
Повышение уровня сигнала с 3.3 вольт до 5 вольт выполним по схеме
усилителя на операционном усилителе LM358P. Схема типового включения
неинвертирующего усилителя на ОУ представлена на рисунке 2.12.
Рисунок 2.12 - Типовая схема неинвертирующего усилителя на ОУ
Рассчитаем требуемые параметры резисторов, используя известную формулу
для коэффициента усиления идеального ОУ с ООС:
Av = 1 + R2/R1, (3)
где R1 и R2 - резисторы указанные на рисунке 2.12.
Схему включения резисторов R1 и R2 смотреть на рисунке 2.11. Коэффициент
усиления вычисляется по следующей формуле
Av=5/3,3=1.5 (4)
Следовательно, рассчитаем задающие резисторы:
R2/R1=Av - 1=0.5 (5)
Соответственно, примем R1=1 кОм R2=2 кОм.
К неинвертирующему входу ОУ подключается порт ТХ GSM модуля (выход последовательного порта), а к выходу
усилителя подключается порт RX
микроконтроллера (вход последовательного порта).
Таким образом, у нас организована двусторонняя связь между
микроконтроллером и GSM модулем.
Порт «Reset» подключаем через резистор 10 кОм к
питанию 5В. Это подтягивает порт к логической единице, и гарантирует случайный
сброс микроконтроллера.
Порт «Netlight» GSM модуля предназначен для индикации сотовой сети.
Светодиод индикации сети подключается к порту через транзисторный ключ и диод, что
гарантирует стопроцентную развязку порта модуля от питания, и исключает выход
порта из строя из-за короткого замыкания, или превышения тока порта. Типовая
схема подключения светодиода к порту «Netlight» GSM модуля
представлена на рисунке 2.12.
Рисунок 2.12 - Типовая схема подключения светодиода к порту «Netlight» GSM модуля
Для подключения sim-карты
к GSM модулю будем использовать держатель sim-карт ICA-501-006. Держатель
устанавливается шестью ножками на печатную плату. Пять выводов из шести
используются, а один не подключен. Вывод VCC - вывод питания sim-карты. Подключается к порту Sim-VDD GSM модуля. Также,
вывод VCC шунтируется с шиной земли через
фильтрующий керамический конденсатор емкостью 200 нФ (емкость рекомендуемая
изготовителем. Емкость номиналом ниже ставить не рекомендуется). Вывод
держателя RST - вывод сброса сим-карты.
Подключается к порту Sim-RST GSM модуля. Вывод держателя CLK - вывод тактирования сим-карты. Подключается к порту Sim-CLK GSM модуля. Вывод держателя GND - вывод заземления сим-карты. Подключается
непосредственно к шине земли. Вывод держателя VPP - неиспользуемый вывод. Вывод держателя DATA - вывод данных сим-карты.
Подключается к порту Sim-DATA GSM модуля последовательно через резистор номиналом 22
Ом. Резистор предназначен для ограничения тока и защиты порта GSM модуля от превышения
максимально-допустимого тока. Так же необходим подтягивающий резистор номиналом
10 кОм, подключенный к порту Sim-DATA.
К порту ANTENNA GSM модуля подключается GSM - антенна через ВЧ тракт. Волновое сопротивление
питающей линии GSM антенны - 50
Ом. В конструкторской части дипломного проекта приводится расчет копланарной
линии передачи с волновым сопротивлением 50 Ом.
Порты GND и AGND микроконтроллера и GSM модуля подключаются непосредственно к «земле».
3.
КОНСТРУКТОРСКАЯ ЧАСТЬ. КОМПОНОВКА, ВЫБОР И ОБОСНОВАНИЕ ИСПОЛЬЗУЕМЫХ МАТЕРИАЛОВ,
ПОКРЫТИЙ
Корпус, в котором будет выполнен прибор постовой охраны, должен быть
простым, дешевым, и прочным. Для разрабатываемого нами устройства оптимальным
является вариант готового универсального корпуса, что экономит силы и средства
для разработки и производства собственного корпуса. Особых требований по
жесткости и прочности конструкции нет, поэтому в качестве материала корпуса
могут выступать различные пластмассы. В настоящее время на рынке представлен
широкий выбор готовых пластмассовых корпусов. Выбор пал на универсальный корпус
КМ-38 польского производителя из ударопрочного полистирола марки УПМ-0508.
Данные корпуса представлены в таблице 2
Таблица 2 - Характеристики УПМ05-08
|
Рабочий диапазон температур
|
-40оС…+70оС
|
|
Электрическая прочность
|
20 кВ/мм
|
|
Удельная ударная вязкость
|
До 50 кг *см/см2
|
Корпус состоит из основания и крышки, по бокам расположены два выступа с
отверстиями для крепления к стене. Крышка крепится к основанию винтами М3-6gx8 ГОСТ 10339-80.
Плата прибора контроля постовой охраны является основной платой
устройства, на неё коммутируются все функциональные узлы. Плата изготовлена
размером 105 х 80 мм. Материал платы - двусторонний фольгированный
стеклотекстолит. Плата изготовливается комбинированным негативным методом.
Такой метод изготовления позволяет нам использовать металлизированные
отверстия. Проводники изготовленной печатной платы покрываются сплавом РОЗЕ
МРТУ 6-09-6708-70В. Припой обладает высокими проводящими свойствами. Хорошо
защищает проводники от коррозии. Достаточно дешев и распространен.
Прибор управляется тремя кнопками PSW-4016. Изображение кнопок
представлено на рисунке 3.1
Рисунок 3.1 - Кнопки PSW-4016
Кнопки выдерживают напряжение до 125 B и ток до 3A. Сопротивление
контактов не более 0,05 Ом, сопротивление изоляции не менее 100 Мом,
температурный диапазон: -25…+65 °С.
Для размещения трех кнопок управления прибором, необходимо просверлить в
крышке корпуса три отверстия диаметром 11 мм.
Коммутация органов управления (трех кнопок) выполняется припаиванием
проводов МГТФЭ 3х0.12 ТУ 16-505.185-71 одним концом к выводам кнопок. В свою
очередь, другим концом провода закрепляются в разъемах, расположенных на плате
прибора.
В качестве ВЧ разъема для GSM антенны будем использовать разъем SMA-JR,
который устанавливается на плату. SMA серия - распространенные разъемы для
разнообразных приложений в диапазоне до 18 ГГц.
Разъемы серии SMA характеризуются высокой механической прочностью,
долговечностью, надежностью и низким КСВ. Данный разъем представлен на рисунке
3.2.
Рисунок 3.2 - Разъем SMA-JR.
В качестве самой антенны можно использовать вариант двухдиапазонной GSM
антенна ADA-0070 с магнитным основанием.
Тип этой антенны 1/4-волны. Частотный диапазон 824-960/1770-1880 МГц.
Коэффициент усиления 2 dB, КСВ <1,5. Материал Пластик + магнитная основа.
Кабель RG174 u/a (низкие потери).Длина кабеля 2,5 м. Данная антенна представлен
на рисунке 3.3.
Рисунок 3.3 - Антенна ADA-0070
Можно использовать другую подходящую GSM антенну, подходящую под требуемые требования.
Используемый микрофон для прибора - конденсаторный микрофон EM-9767.
Рисунок 3.4 - Конденсаторный микрофон EM-9767
Используемый динамик для прибора - 0.25ГДШ-8, сопротивлением 8 Ом.
Рисунок 3.5 - Динамик 0.25ГДШ - 8
Используемые разъемы для подключения кнопок - соединители клеммные серии
SH 133 2*5мм.
Рисунок 3.6 - Соединители клеммные серии SH 133 2*5мм
Материал корпуса клеммников: полистирол, усиленный стекловолокном.
Материал контактов: латунь. Материал выводов: латунь, покрытая оловом.
Температурный диапазон:-30...+120 °C. Сечение проводника 1 мм2, максимальный
ток 10А, максимальное напряжение 250В. Клеммники обеспечивают надежное
соединение проводов, минимальное переходное сопротивление.
4.
ОБЕСПЕЧЕНИЕ ТРЕБОВАНИЙ ПО ЗАЩИТЕ ОТ МЕХАНИЧЕСКИХ ВОЗДЕЙСТВИЙ
Корпус прибора контроля постовой охраны выполнен из ударопрочного
полистерола. Все элеметы конструкции жестко закреплены внутри корпуса, поэтому
при падении прибора с небольшой высоты выхода из строя не последует.
Наибольшее механическое воздействие при эксплуатации придется на кнопки
управления прибором.
5. РАЗРАБОТКА
ПЕЧАТНОЙ ПЛАТЫ
Конструирование печатной платы это процесс объединения группы
электро-радиоэлементов в функциональный узел с обеспечением требуемых
механических и электрических параметров в заданном диапазоне эксплуатационных
характеристик при минимальных затратах. Для этого необходимо: выбрать тип
печатной платы (ПП), определить класс точности, выбрать способ изготовления ПП,
установить размеры и конфигурацию платы, определить тип установки ЭРЭ, разместить
ЭРЭ на ПП с учетом электросовместимости и технических допусков, осуществить
трассировку, изготовить конструкторскую документацию.
На выбор материала основания и его толщину влияют эксплуатационные
характеристики изделия. Материал основания должен обеспечивать стабильность
физико-механических и электрических параметров ПП после воздействия
механических нагрузок, климатических факторов и агрессивных химических сред.
Неплоскостность поверхностей основания платы должна быть не более 0,1 мм на 100
мм. Непараллельность поверхностей основания платы - не более 0,5 мм.
Температурный коэффициент линейного расширения (ТКЛР) основания платы должен
быть близок к ТКЛР элементов поверхностного монтажа, устанавливаемых на
печатную плату.
Выбор фольгированного диэлектрика для печатного узла можно осуществить,
учитывая конструктивные особенности применения узла (размеры, механическую
прочность, температурные воздействия), а также технологию изготовления печатной
платы.
Толщина ПП выбирается из предпочтительного ряда и должна быть увязана с
диаметрами применяемых металлизированных отверстий (для качественной
металлизации отношение диаметра металлизированного отверстия к толщине платы
должно быть более 0,33). В качестве материала ПП выбираем теплостойкий
фольгированный стеклотекстолит СФ-2-35Г-1 ТУ 16-503.271-86.
Существует пять классов точности изготовления печатных плат, отличающихся
конфигурацией рисунка печатных проводников. Класс плотности выбирается, исходя
из плотности монтажа и технологических возможностей производства. Для печатной
платы прибора контроля постовой охраны выбран 3 класс точности. Шаг
координатной сетки 1,25 мм. Так как предусматривается использовать интегральные
микросхемы, выполненные в корпусе для поверхностного монтажа, целесообразно
применить двухсторонние ПП с металлизацией сквозных отверстий.
Габаритные размеры, конфигурация и места крепления ПП выбирают в
зависимости от установочных размеров, эксплуатационных характеристик и с учетом
класса точности. Рекомендуется соотношение сторон для разрабатываемых печатных
плат - не более 3:1, размеры не более 470х470 мм. Длину стороны печатной платы
выбирают таким образом, чтобы она была кратной: 2,5мм при длине до 100мм; 5мм
при длине от 100 до 350 мм; 10мм при длине свыше 350 мм. Все используемые геометрии
плат не входящие в этот ряд необходимо обосновывать. Габаритный размер платы
составляет 105´80мм.
Платы изготавливать комбинированным негативным методом. Шаг координатной
сетки 1,25мм. Печатная плата должна соответствовать ГОСТ 23752-79.
При трассировке проводников на печатной плате, необходимо учитывать
следующие требования: минимальная суммарная длина проводников, минимальное
число переходных отверстий, расстояния между проводниками в узких местах не
менее 0,25 мм, размеры проводников и переходных отверстий должны обеспечивать
максимальное число соединений в единице объема;
Цель трассировки печатной платы - провести проводники, соединяющие
контактные площадки, при условии минимальной длины, и минимального числа
переходов на другие слои с целью устранения пересечений.
Одним из главных элементов конструкции печатных плат являются отверстия.
Большинство параметров печатных плат связано именно с размерами этих отверстий,
которые могут быть металлизированными, гладкими. По назначению отверстия могут
быть монтажными, куда устанавливаются и запаиваются выводы элементов, и
переходными, обеспечивающими только электрические соединения между слоями
платы. Диаметр отверстий в печатной плате должен быть больше диаметра
вставляемого в него вывода, что обеспечит возможность свободной установки ЭРЭ.
Диаметр металлизированного отверстия зависит от диаметра вставляемого в него
вывода и от толщины платы. Диаметр металлизированного отверстия должен
составлять не менее половины толщины платы.
На плате ЭРЭ располагаются с обоих сторон. На верхней стороне
располагаются GSM модуль, держатель сим-карты,
выводные элементы (стабилизаторы напряжения, кварцевый резонатор, клеммники, ВЧ
разъем, электролитические и керамические конденсаторы, операционные усилители)
и некоторые элементы поверхностного монтажа (чип-резисторы, чип-конденсаторы).
На нижней стороне располагаются микроконтроллер и остальные элементы
(чип-резисторы, чип-транзисторы). Центры монтажных и переходных отверстий
располагаются в узлах координатной сетки.
Расчет печатного монтажа проведем на примере платы индикации.
Исходные данные для расчета:
Двухсторонняя печатная плата;
Комбинированный негативный метод;
Класс плотности - 3;
Толщина печатной платы 1,5 мм;
Шаг координатной сетки - 1,25 мм;
Диаметр выводов dЭ1=0,7
мм.
Минимальный диаметр металлизированного отверстия печатной платы:
(6)
т.к.
класс плотности 3-ий, то
=0,33 (ГОСТ 23751-86).
Следовательно,
(7)
Номинальное значение диаметра металлизированного отверстия:
, (8)
рассчитанные значения сводят к предпочтительному ряду.
Минимальный диаметр контактной площадки:
(9)
где
и
-
минимальный эффективный диаметр площадки;
-
толщина фольги - 35мкм;
-
толщина гальванически наращенной меди;
-
толщина наращенного металлического резиста.
, (10)
где bм=0,1 мм (ГОСТ 23751-86);
Максимальный диаметр просверленного отверстия:
(11)
, (12)
где
- погрешность расположения отверстия относительно
координатной сетки, обусловленная точностью сверлильного станка;
-
погрешность базирования плат на сверлильном станке.
Допуск
на расположение контактных площадок:
, (13)
где
- погрешность расположения контактной площадки
относительно координатной сетки на фотошаблоне;
-
погрешность расположения контактной площадки при ее экспонировании;
-
погрешность расположения базовых отверстий на фотошаблоне;
-
погрешность расположения базовых отверстий на заготовке.
Таким образом
(14)
(15)
Максимальный диаметр контактных площадок
(16)
5.1 Разработка узла на печатной плате
Печатным узлом называют печатную плату с навесными элементами.
Разработка узла на печатной плате включает в себя:
. Компоновку - оптимальное размещение электрорадиоэлементов и
других компонентов на печатной плате.
. Трассировка - прокладка проводников между контактными площадками
. Оформление чертежа с соблюдением требований стандартов.
На первом этапе требуется так расположить ЭРЭ на печатной плате, чтобы
размещение было равномерным, трассировка была максимально упрощена, вероятность
наводок была минимальной. Также требуется максимально далеко расположить
входные и выходные цепи. Необходимо также предусмотреть эффективный теплоотвод
и ремонтопригодность. Полупроводниковые приборы и микросхемы не желательно
располагать близко к элементам, выделяющим большое количество теплоты, таким
как усилители или стабилизаторы, на которые устанавливаются радиаторы
охлаждения, а также к источникам сильных магнитных полей. Должна быть предусмотрена
возможность конвекции воздуха в зоне расположения элементов, выделяющих большое
количество теплоты.
На втором этапе разработки печатного узла требуется учитывать следующие
требования: минимальная суммарная длина проводников, минимальное количество пересечений
проводников, минимальное количество переходных отверстий на плате. Необходимо
также разносить друг от друга сигнальные проводники и проводники, которые
являются источником сильных наводок. Желательно на одной из сторон печатной
платы организовать металлизацию поверхности полигоном, также являющимся общим
проводником (землей). Это упрощает трассировку печатной платы, и также является
хорошим экраном от сторонних помех.
Компоновка и трассировка печатной платы являются процессы непосредственно
связанные друг с другом. В процессе трассировки выявляются ошибки компоновки, и
новые, более рациональные решения.
Для каждого вывода ЭРЭ, устанавливаемого на плате было предусмотрено
отдельное монтажное отверстие. Для элементов под поверхностный монтаж предусмотрены
контактные площадки.
В настоящие системы автоматизированные компьютерные системы
проектирования (САПР) позволяют упростить труд разработчика печатных плат,
увеличить их качество, увеличить производительность труда. Компоновка и
трассировка были выполнены в САПР P-CAD 2006.
В разрабатываемом нами приборе ЭРЭ, установленные на платы не требуют
дополнительных способов крепежа, так как обладают небольшой удельной массой и
габаритами.
Формовку выводов и установку ЭРЭ на печатную плату следует производить таким
образом, чтобы маркировка ЭРЭ просматривалась в процессе контроля.
Необходимо рассчитать копланарную линию передачи для передачи ВЧ энергии
от GSM модуля к ВЧ разъему. Расчет будем
производить в специальной программе TXLINE AWR v5.52.
Копланарная линия передачи представляет собой следующую линию передачи:
Рисунок 5.1 - Копланарная линия передачи
Копланарная линия передачи в нашем приборе также имеет металлизацию на
нижнем слое печатной платы. Для расчета данной полосковой линии передачи,
необходимо задать параметры для расчета:
Рисунок 5.2 - Параметры копланарной линии передачи
H -
толщина диэлектрика;
εr - относительная диэлектрическая проницаемость диэлектрика;
Т - толщина медного слоя.
G -
ширина между центральным и общим проводником в копланарной линии передачи.
Необходимо ввести параметры материала: Тангенс диэлектрических потерь
диэлектрика, проводимость меди. Также необходимо ввести волновое сопротивления
и электрическую длину линии передачи.
Для нашего случая:
Н=1мм, εr
=5.5, Т=0,035мм, G=1.5мм (равно
расстоянию между контактными площадками GSM модуля), тангенс диэлектрических потерь δ=0.035,
проводимость меди 5,88ּ107 ñì/ì,
âîëíîâîå
ñîïðîòèâëåíèå
50 Îì, ýëåêòðè÷åñêàÿ
äëèíà 90°. В результате вычислений, мы получили ширину
центрального проводника W=1,5
мм, и длину копланарной линии = 21,3 мм.
Установку элементов производить по ОСТ4 010.030-81 и чертежу.
Меры защиты от статического электричества по ОСТ 92-1615-74. Группа жесткости
I по ОСТ 11.073.062-2001.
Ìàðêèðîâêà ñîäåðæèò
ñåðèéíûé íîìåð
ïëàòû, íàççâàíèå
ïëàòû è íàíîñèòñÿ
ìåòîäîì ôîòî-ëèòîãðàôèè
øðèôòîì 3 òèï À
ÃÎÑÒ 2.304-81 â ìåñòå,
óäîáíîì äëÿ ÷òåíèÿ.
6. ÐÀÑ×ÅÒ
ÍÀÄÅÆÍÎÑÒÈ ÏÅ×ÀÒÍÎÃÎ
ÓÇËÀ
Íàäåæíîñòü
èçäåëèÿ - ýòî åãî
ñâîéñòâî ñîõðàíÿòü
âñå ïàðàìåòðû,
õàðàêòåðèçóþùèå
ñïîñîáíîñòü
âûïîëíåíèÿ òðåáóåìûõ
ôóíêöèé â ñîîòâåòñòâèè
ñ òåõíè÷åñêèìè
óñëîâèÿìè íà
ýêñïëóàòàöèþ,
õðàíåíèå è ðåìîíò
â òå÷åíèå îïðåäåëåííîãî
âðåìåíè. Íàäåæíîñòü
- âàæíåéøàÿ ñîñòàâëÿþùàÿ
êà÷åñòâà èçäåëèÿ.
Ðàñ÷åò íàäåæíîñòè
íå äàåò ñòîïðîöåíòíî
ïðàâèëüíûõ ðåçóëüòàòîâ,
à íîñèò ëèøü îöåíî÷íûé
õàðàêòåð. Ðàñ÷åò
íàäåæíîñòè ïðîèçâîäÿò,
îïèðàÿñü íà îðèåíòèðîâî÷íûå
äàííûå, êîòîðûå
îïðåäåëÿþò óñëîâèÿ
ðàáîòû. Ðàñ÷åò
íàäåæíîñòè ïîçâîëÿåò
ïðåäñêàçàòü òàêèå
ïàðàìåòðû, êàê
ñðåäíåå âðåìÿ
íàðàáîòêè íà
îòêàç, âåðîÿòíîñòü
îòêàçà ïðèáîðà
çà êàêîé-ëèáî
ïðîìåæóòîê âðåìåíè.
Îöåíêà íàäåæíîñòè
ïðîèçâîäèòñÿ
èñõîäÿ èç èìåþùåéñÿ
èíôîðìàöèè î
íàäåæíîñòè ìàòåðèàëîâ,
ýëåêòðîðàäèîýëåìåíòîâ
è ñîåäèíåíèé,
âõîäÿùèõ â ñîñòàâ
ïðèáîðà êîíòðîëÿ
ïîñòîâîé îõðàíû.
Ñðåäíåå âðåìÿ
íàðàáîòêè íà
îòêàç ÿâëÿåòñÿ
îñíîâíûì ïîêàçàòåëåì
íàäåæíîñòè ðàçðàáàòûâàåìîãî
ïðèáîðà. Ýòîò
ïîêàçàòåëü õàðàêòåðèçóåò
ñðåäíåå âðåìÿ,
â òå÷åíèå êîòîðîãî
ïðèáîð áóäåò ñîõðàíÿòü
ñâîè ïàðàìåòðû
ðàáîòîñïîñîáíîñòè
â ïðåäåëàõ óñòàíîâëåííûõ
íîðì.
Äëÿ ðàçðàáàòûâàåìîãî
èçäåëèÿ îñíîâíûì
ïîêàçàòåëåì
íàäåæíîñòè ÿâëÿåòñÿ
ñðåäíåå âðåìÿ
íàðàáîòêè íà
îòêàç, ò.ê. èçäåëèå
ðàáîòàåò íåïðåðûâíî
â òå÷åíèè äëèòåëüíîãî
âðåìåíè. Íàðàáîòêà
íà îòêàç äëÿ ïðîåêòèðóåìîãî
èçäåëèÿ äîëæíà
ñîñòàâëÿòü íå
ìåíåå 5000 ÷àñîâ.
Âåëè÷èíó îáðàòíóþ
íàäåæíîñòè íàçûâàþò
èíòåíñèâíîñòüþ
îòêàçîâ:
, (17)
Èñõîäíûìè äàííûìè
äëÿ ðàñ÷åòà ïîêàçàòåëåé
íàäåæíîñòè èçäåëèÿ
ÿâëÿþòñÿ:
·
ïðèíöèïèàëüíàÿ
ýëåêòðè÷åñêàÿ
ñõåìà èçäåëèÿ;
·
ñïðàâî÷íûå
çíà÷åíèÿ èíòåíñèâíîñòè
îòêàçîâ êîìïëåêòóþùèõ
ýëåìåíòîâ â
íîðìàëüíûõ óñëîâèÿõ
ýêñïëóàòàöèè;
·
õàðàêòåðèñòèêè
ýëåêòðè÷åñêèõ
ðåæèìîâ ðàáîòû
ýëåìåíòîâ;
·
õàðàêòåðèñòèêè
óñëîâèé ýêñïëóàòàöèè
èçäåëèÿ.
Íèæåïðèâåäåííàÿ
ìåòîäèêà ðàñ÷åòà
íàäåæíîñòè ïðèâåäåíà
ñîãëàñíî [11].
Òàê êàê èíòåíñèâíîñòü
îòêàçîâ êîìïëåêòóþùèõ
èçäåëèå ýëåìåíòîâ
ÿâëÿþòñÿ ñëîæíîé
ìíîãîïàðàìåòðè÷åñêîé
ôóíêöèåé, òî ìàòåìàòè÷åñêàÿ
ìîäåëü ïðîãíîñòè÷åñêîãî
ðàñ÷åòà íàäåæíîñòè
ïðîñòîãî èçäåëèÿ
ïðåäñòàâëÿåòñÿ
â âèäå:
, (18)
ãäå
- ñóììàðíîå
çíà÷åíèå èíòåíñèâíîñòè
îòêàçîâ ìîäóëÿ
èçäåëèÿ;
- êîýôôèöèåíò
çàâèñèìîñòè
îò óñëîâèé ýêñïëóàòàöèè
(äëÿ ñòàöèîíàðíîé
àïïàðàòóðû ðàâåí
1);;
- êîýôôèöèåíò
ðîñòà íàäåæíîñòè
êîìïëåêòóþùèõ
èçäåëèé ïðèíèìàåì
0,85);
- ðàáî÷àÿ
èíòåíñèâíîñòü
îòêàçîâ i-ãî êîìïëåêòóþùåãî
ýëåìåíòà;
n - êîëè÷åñòâî
êîìïëåêòóþùèõ
ýëåìåíòîâ â èçäåëèè
(ìîäóëå).
Ðàáî÷àÿ èíòåíñèâíîñòü
îòêàçîâ i-ãî ýëåìåíòà
îïðåäåëÿåòñÿ
ïî ôîðìóëå:
, (19)
ãäå
- ìîæåò áûòü
îïðåäåëåí ïî [ïðèë.
4, 11];
- êîýôôèöèåíò,
îïðåäåëÿåìûé
ïî ãðàôèêó [ðèñ.
3.1, 11];
- èíòåíñèâíîñòü
îòêàçîâ i-ãî êîìïëåêòóþùåãî
èçäåëèÿ, óêàçàííîãî
â [ïðèë. 4, 11].
Ïîðÿäîê ðàñ÷åòà
ïîêàçàòåëåé
íàäåæíîñòè
Ðàñ÷åò ïîêàçàòåëåé
íàäåæíîñòè áàçèðóåòñÿ
íà ñëåäóþùèõ
äîïóùåíèÿõ:
·
êàæäûé
ýëåìåíò èçäåëèÿ
ìîæåò áûòü â ðàáîòîñïîñîáíîì
èëè íåðàáîòîñïîñîáíîì
ñîñòîÿíèè;
·
îòêàçû
ýëåìåíòîâ - íåçàâèñèìûå
ñëó÷àéíûå ñîáûòèÿ
è îáðàçóþò ïðîñòåéøèé
ïîòîê îòêàçîâ.
Ðàñ÷åò ïàðàìåòðîâ
íàäåæíîñòè ïðîèçâîäèòñÿ
â ñëåäóþùåé ïîñëåäîâàòåëüíîñòè.
1. Àíàëèç
âëèÿíèÿ ðàáîòîñïîñîáíîñòè
îòäåëüíûõ ýëåìåíòîâ
è ìîäóëåé (ïå÷àòíûõ
ïëàò èëè óçëîâ)
íà ðàáîòîñïîñîáíîñòü
èçäåëèé. Åñëè
îòêàç ýëåìåíòà
(ìîäóëÿ) ïðèâîäèò
ê îòêàçó èçäåëèÿ,
òî òàêèå ýëåìåíòû
(ìîäóëè) èìåþò
îñíîâíîå ñîåäèíåíèå
â ñõåìå íàäåæíîñòè.
Åñëè îòêàç êàêîãî-ëèáî
ýëåìåíòà (ìîäóëÿ)
íå âëèÿåò íà ðàáîòîñïîñîáíîñòü
èçäåëèÿ, òî îíè
âíîñÿòñÿ îòäåëüíî
è â ðàñ÷åòå áåçîòêàçíîñòè
èçäåëèÿ íå ó÷èòûâàþòñÿ
(ýòî ìîãóò áûòü
ýëåìåíòû ñàìîêîíòðîëÿ,
âñïîìîãàòåëüíûå
÷åêè è äð.).
2. Ñîñòàâëÿåòñÿ
ïåðå÷åíü ýëåìåíòîâ
(ìîäóëåé), îòêàç
êîòîðûõ âûçûâàåò
îòêàç èçäåëèÿ.
3. Ïî ñïðàâî÷íèêàì
íàõîäÿòñÿ èíòåíñèâíîñòè
îòêàçîâ ýëåìåíòîâ
â íîðìàëüíûõ
óñëîâèÿõ.
Îïðåäåëÿþòñÿ
êîýôôèöèåíòû
íàãðóçêè
òÿæåëî íàãðóæåííûõ
ýëåìåíòîâ. Äëÿ
îñòàëüíûõ ýëåìåíòîâ
èçäåëèÿ ðåêîìåíäóþòñÿ
óñðåäíåííûå
çíà÷åíèÿ
:
Ðåçèñòîðû - 0,1;
Ïîëÿðíûå êîíäåíñàòîðû
- 0,5;
Ïðî÷èå êîíäåíñàòîðû
- 0,2;
Äèîäû - 0,3;
Òðàíçèñòîðû
- 0,4;
Ñîåäèíèòåëè
- 0,6;
Ïðî÷èå - 1.
Ó÷èòûâàåòñÿ
êîýôôèöèåíò
òåïëîâîé íàãðóçêè
ïî [ïðèë. 4, 11]. Ïî
ñïðàâî÷íûì äàííûì
íàõîäÿòñÿ ïîïðàâî÷íûå
êîýôôèöèåíòû
äëÿ èíòåíñèâíîñòè
íà ðåæèìû ýëåêòðè÷åñêîé
è òåïëîâîé íàãðóçîê.
1. Âû÷èñëÿåòñÿ
èíòåíñèâíîñòü
îòêàçîâ èçäåëèÿ
(ìîäóëÿ).
2. Ïî ñïðàâî÷íûì
äàííûì íàõîäÿòñÿ
ïîïðàâî÷íûå êîýôôèöèåíòû
äëÿ èíòåíñèâíîñòåé
îòêàçà íà óñëîâèè
ýêñïëóàòàöèè
èçäåëèÿ (åñëè
îíè íå ó÷òåíû
ïî ïóíêòó 3).
3. Âû÷èñëÿåòñÿ
èíòåíñèâíîñòü
îòêàçîâ èçäåëèÿ.
4. Ðàññ÷èòûâàþòñÿ
èñõîäíûå ïîêàçàòåëè
íàäåæíîñòè.
Èíòåíñèâíîñòè
îòêàçîâ ýëåìåíòîâ
â íîðìàëüíûõ
óñëîâèÿõ, êîýôôèöèåíòû
íàãðóçêè, êîýôôèöèåíòû
òåïëîâîé íàãðóçêè,
ïîïðàâî÷íûå êîýôôèöèåíòû
äëÿ èíòåíñèâíîñòåé
îòêàçà íà óñëîâèÿ
ýêñïëóàòàöèè
èçäåëèÿ îïðåäåëåíû
ïî ñïðàâî÷íèêó.
 êà÷åñòâå ïîêàçàòåëåé
íàäåæíîñòè ìîãóò
èñïîëüçîâàòüñÿ:
- λ - ñóììàðíîå
çíà÷åíèå èíòåíñèâíîñòè
îòêàçîâ èçäåëèÿ;
- T0 - ñðåäíåå âðåìÿ
íàðàáîòêè èçäåëèÿ
íà îòêàç;
- p(t) - âåðîÿòíîñòü
áåçîòêàçíîé
ðàáîòû èçäåëèÿ
â òå÷åíèå âðåìåíè
íàðàáîòêè t.
Äëÿ îïðåäåëåíèÿ
èíòåíñèâíîñòè
îòêàçîâ âñåãî
óñòðîéñòâà ïðèìåì
ïîñëåäîâàòåëüíóþ
ìîäåëü íàäåæíîñòè,
òî åñòü îòêàç
îäíîãî ýëåìåíòà
ïðèâîäèò ê îòêàçó
âñåãî óñòðîéñòâà.
Ñîñòàâëÿåì
ïåðå÷åíü ýëåìåíòîâ
ó÷àñòâóþùèõ
â ðàñ÷åòå ïîêàçàòåëåé
íàäåæíîñòè.
Ïî ñïðàâî÷íèêàì
íàõîäèì èíòåíñèâíîñòè
îòêàçîâ ýëåìåíòîâ
â íîðìàëüíûõ
óñëîâèÿõ.
Ðàñ÷åò ñóììàðíîé
èíòåíñèâíîñòè
îòêàçîâ âñåõ
êîìïîíåíòîâ
óñòðîéñòâà ïðèâåäåí
â òàáëèöå 3.
Ñóììàðíàÿ èíòåíñèâíîñòü
îòêàçîâ âñåãî
óñòðîéñòâà îïðåäåëÿåòñÿ
êàê ñóììà èíòåíñèâíîñòåé
îòêàçîâ âñåõ
ãðóïï ÝÐÝ:
λ = ∑ λÃi. (20)
Òàáëèöà 3 - Èíòåíñèâíîñòü
îòêàçîâ ýëåìåíòîâ
áëîêà.
|
Ñîñòàâ
èçäåëèÿ
|
Ðåæèì
ðàáîòû
|
Èíòåíñèâíîñòü
îòêàçîâ
|
Ïîïðàâî÷íûå
êîýôôèöèåíòû
|
Ýëåìåíò
èëè ãðóïïà ýëåìåíòîâ Êîëè÷åñòâî
ýëåìåíòîâ ãðóïïû 

, 1/÷
1/÷


,
|
1/÷
|
|
|
|
|
|
|
|
|
Ðåçèñòîðû
ïîñòîÿííûå íåïðîâîëî÷íûå
|
23
|
0,1
|
0,01
|
0,00052
|
1
|
0,85
|
0,01017
|
|
Êîíäåíñàòîðû
êåðàìè÷åñêèå
|
9
|
0,08
|
0,12
|
0,014
|
0,00013
|
1
|
0,85
|
0,00103
|
|
Êîíäåíñàòîðû
ýëåêòðîëèòè÷åñêèå
|
9
|
0,51
|
0,25
|
0,01
|
0,00128
|
1
|
0,85
|
0,00975
|
|
Äèîäû
êðåìíèåâûå
|
2
|
0,135
|
0,14
|
0,1
|
0,00189
|
1
|
0,85
|
0,00321
|
|
Òðàíçèñòîðû
|
3
|
0,28
|
0,23
|
0,3
|
0,01932
|
1
|
0,85
|
0,04927
|
|
ñâåòîäèîäû
|
2
|
0,25
|
1
|
0,85
|
0,2125
|
1
|
0,85
|
0,36125
|
|
ATMEGA8
|
1
|
1
|
1
|
0,8
|
0,8
|
1
|
0,85
|
0,68
|
|
SIM300DZ
|
1
|
1
|
1
|
0,8
|
0,8
|
1
|
0,85
|
0,68
|
|
TDA2003
|
1
|
1
|
1
|
0,4
|
0,4
|
1
|
0,85
|
0,34
|
|
Ìèêðîñõåìû
ñòàáèëèçàòîðû
íàïðÿæåíèÿ
|
2
|
1
|
1
|
0,4
|
0,4
|
1
|
0,85
|
0,68
|
|
Í× ñîåäèíèòåëè
|
11
|
2,4
|
0,6
|
0,25
|
0,36
|
1
|
0,85
|
3,366
|
|
Â× ñîåäèíèòåëè
|
1
|
1,28
|
0,6
|
0,25
|
0,192
|
1
|
0,85
|
0,1632
|
|
Ïüåçîèçëó÷àòåëè
|
1
|
1,6
|
1
|
0,01
|
0,016
|
1
|
0,85
|
0,0136
|
|
Ìèêðîôîí
|
1
|
1
|
1
|
0,3
|
0,32
|
1
|
0,85
|
0,025
|
|
Äèíàìèê
|
1
|
1
|
1
|
0,3
|
0,32
|
1
|
0,85
|
0,025
|
|
Êàáåëüíûå
èçäåëèÿ ìîíòàæíûå
íèçêîâîëüòíûå
ñ ïëåíî÷íîé èçîëÿöèåé
Ô
|
12
|
16
|
1
|
0,25
|
4
|
1
|
0,85
|
27,2
|
|
Êàáåëüíûå
èçäåëèÿ âûñîêî÷àñòîòíûå
ñ èçîëÿöèåé ÏÝ
|
1
|
10,32
|
1
|
0,25
|
2,58
|
1
|
0,85
|
2,193
|
|
Êâàðöåâûé
ðåçîíàòîð
|
1
|
1,6
|
1
|
0,52
|
0,832
|
1
|
0,85
|
0,7072
|
|
Êíîïêè
|
3
|
0,5
|
0,13
|
0,5
|
0,0325
|
1
|
0,85
|
0,08288
|
|
Èòîãî:
|
36,54
|
Èñïîëüçóÿ äàííûå
òàáëèöû 1 ïîëó÷àåì
λ
= 36,54·10-6 ÷-1.
Îò ñþäà ïî ôîðìóëå
îïðåäåëÿåì ñðåäíþþ
íàðàáîòêó íà
îòêàç.
(21)
Ïîëó÷åííîå â
ðåçóëüòàòå ÷èñëî
áîëüøå òîãî, êîòîðîå
çàäàíî â òåõíè÷åñêîì
çàäàíèè, ÷òî
ãîâîðèò î âûñîêîì
óðîâíå íàäåæíîñòè
è îá óäîâëåòâîðåíèè
òðåáîâàíèÿì
çàäàíèÿ.
7. ÒÅÏËÎÂÎÉ
ÐÀÑ×ÅÒ
ïå÷àòíûé óçåë
ïðîãðàììíûé ïðèáîð
êîíòðîëü
Äëÿ ðàñ÷åòà òåïëîâûõ
ðåæèìîâ áëîêà
ðåàëüíàÿ êîíñòðóêöèÿ
ñõåìàòèçèðóåòñÿ
òåïëîâîé ìîäåëüþ,
ñîñòîÿùåé èç
òåïëîâûäåëÿþùèõ
ýëåìåíòîâ è òåïëîðàññåèâàþùèõ
äåòàëåé êîíñòðóêöèè.
Òàêàÿ ìîäåëü ñëóæèò
äëÿ ðàñ÷åòà òåìïåðàòóðû
ýëåìåíòîâ è âûáîðà
êîíñòðóêòèâíûõ
ìåðîïðèÿòèé, îáåñïå÷èâàþùèõ
èõ íîðìàëüíûé
òåïëîâîé ðåæèì.
 ëþáîé ðàäèîýëåêòðîííîé
ëèøü ÷àñòü ïîäâîäèìîé
ìîùíîñòè ðàñõîäóåòñÿ
íà ïîëåçíóþ ðàáîòó,
à îñòàëüíàÿ ÷àñòü
âûäåëÿåòñÿ â âèäå
òåïëîâîé ýíåðãèè
- íàãðåâàíèå ýëåìåíòîâ,
èíôðàêðàñíîå
èçëó÷åíèå. Ïðèõîäèòñÿ
ïðåäóñìàòðèâàòü
îõëàæäåíèå, êîòîðîå
ïðåäîòâðàòèò
âûõîä ýëåìåíòîâ
èç ñòðîÿ âñëåäñòâèå
èõ íàãðåâàíèÿ.
Íî ýòî ïðèâîäèò
ê óâåëè÷åíèþ
âåñà è ãàáàðèòîâ.
Êîìïëåêñ ìåðîïðèÿòèé,
íàïðàâëåííûé
íà ñíèæåíèå òåìïåðàòóðû,
ñâÿçàí ñ äîïîëíèòåëüíûìè
ìàòåðèàëüíûìè
çàòðàòàìè, ïîýòîìó
â ïðîöåññå ðàçðàáîòêè
ÐÝÀ íåîáõîäèìî
óäåëÿòü âíèìàíèå
ýêîíîìè÷åñêè
îáîñíîâàííîìó
ðåøåíèþ êîíñòðóêöèè
ïðè ïðèåìëåìîì
ïåðåïàäå òåìïåðàòóð.
 ðàçðàáàòûâàåìîì
óñòðîéñòâå ïî
ñîîáðàæåíèÿì
ýêîíîìè÷íîñòè,
ïðåæäå âñåãî, íåîáõîäèìî
ñòðåìèòüñÿ ê
åñòåñòâåííîìó
îõëàæäåíèþ.
 êîíñòðóêöèÿõ
ÐÝÀ ïðè íîðìàëüíûõ
êëèìàòè÷åñêèõ
óñëîâèÿõ è åñòåñòâåííîì
îõëàæäåíèè îêîëî
70% òåïëà îòâîäèòñÿ
çà ñ÷åò êîíâåêöèè,
ïðèáëèçèòåëüíî
20% - çà ñ÷åò èçëó÷åíèÿ
è 10% - çà ñ÷åò òåïëîïðîâîäíîñòè.
Ðàñ÷åò òåïëîâîãî
ðåæèìà ïðîâîäèòñÿ
äëÿ òîãî ÷òîáû
îïðåäåëèòü íåîáõîäèìîñòü
äîïîëíèòåëüíîãî
òåïëîîòâîäà îò
êîìïîíåíòîâ
è óçëîâ ïðèáîðà.
Äëÿ ýòîãî íåîáõîäèìî
îïðåäåëèòü òå
óçëû è êîìïîíåíòû,
íàèáîëåå ïîäâåðæåííûå
ïåðåãðåâó.
Ïðèáîð êîíòðîëÿ
ïîñòîâîé îõðàíû
ñîñòîèò èç êîðïóñà
è ïå÷àòíîé ïëàòû.
Îñíîâíûì è åäèíñòâåííûì
òåïëîâûäåëÿþùèì
ýëåìåíòîì ÿâëÿåòñÿ
ïå÷àòíàÿ ïëàòà.
Îñîáåííîñòè
ýëåêòðè÷åñêîé
ïðèíöèïèàëüíîé
ñõåìû òàêîâû,
÷òî ïî öåïÿì íå
ïðîòåêàþò áîëüøèå
òîêè, âñå êîìïîíåíòû
íàõîäÿòñÿ â íîðìàëüíîì
òåïëîâîì ðåæèìå.
Îñíîâíûìè èñòî÷íèêàìè
âûäåëåíèÿ òåïëà
â áëîêå ïèòàíèÿ
è â áëîêå óïðàâëåíèÿ
ÿâëÿþòñÿ:
Ìèêðîêîíòðîëëåð
ATMEGA8, ñòàáèëèçàòîð
íàïðÿæåíèÿ ÊÐ142ÅÍ5À,
ñòàáèëèçàòîð
íàïðÿæåíèÿ LM1085, GSM ìîäóëü SIM300DZ, àóäèî óñèëèòåëü
TDA2003.
Ïðèâåäåííûå
âûøå ýëåìåíòû
îáëàäàþò ñëåäóþùèìè
õàðàêòåðèñòèêàìè:
Òàáëèöà 4 - Òåïëîâûå
õàðàêòåðèñòèêè
ýëåìåíòîâ óñòðîéñòâà.
|
Ýëåìåíò
|
Ìàêñèìàëüíàÿ
Âûäåëÿåìàÿ ìîùíîñòü,
Âò
|
Ïëîùàäü
âûäåëÿåìîé ïîâåðõíîñòè
îäíîãî ýëåìåíòà,
ñì2
|
Êîë-âî
ýëåìåíòîâ
|
Ñóììàðíàÿ
ïëîùàäü âûäåëÿåìîé
ïîâåðõíîñòè,
ñì2
|
Ñóììàðíàÿ
ìàêñèìàëüíàÿ
âûäåëÿåìàÿ ìîùíîñòü,
Âò
|
|
ATMEGA8
|
0,2
|
2,4
|
1
|
2,4
|
0,2
|
|
ÊÐ142ÅÍ5À
|
1
|
1,5
|
1
|
1,5
|
1
|
|
LM1085
|
4
|
1,5
|
1
|
1,5
|
4
|
|
SIM300DZ
|
1
|
10,0
|
1
|
10,0
|
1
|
|
TDA2003
|
4
|
1,5
|
1
|
1,5
|
4
|
|
Èòîãî
|
16,9
|
10,2
|
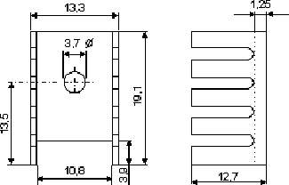
Äîïóñòèìàÿ
òåìïåðàòóðà íàãðåòûõ
çîí âíóòðè áëîêà
täîï=70°Ñ; òåìïåðàòóðà
îêðóæàþùåé ñðåäû
tc=20°Ñ. Ãàáàðèòíûå
ðàçìåðû óñòðîéñòâà,
L1õL2xL3, ìì:
152õ115õ89.
Óäåëüíàÿ ìîùíîñòü,
ïðèõîäÿùàÿñÿ
íà åäèíèöó ïîâåðõíîñòè
óñòðîéñòâà [2]:
, (22)
ãäå ∑Ði - ñóììàðíàÿ
ìîùíîñòü èñòî÷íèêîâ
òåïëà âíóòðè
áëîêà;
L1,L2,L3 - ãàáàðèòíûå
ðàçìåðû óñòðîéñòâà.
Ðèñóíîê 7.1 - Äèàãðàììà
äëÿ ïðèáëèæåííîé
îöåíêè òåïëîâîãî
ðåæèìà ÐÝÀ ïðè
âîçäóøíîì îõëàæäåíèè
Èñïîëüçóÿ äèàãðàììû
ïðèìåíåíèÿ ñïîñîáîâ
êîíâåêòèâíîãî
îõëàæäåíèÿ â
çàâèñèìîñòè
îò ïëîòíîñòè
òåïëîâîãî ïîòîêà
è ïåðåãðåâà, îïðåäåëÿåì,
÷òî íàéäåííàÿ
òî÷êà ëåæèò âûøå
ëèíèè «à». Â ýòîì
ñëó÷àå âîçìîæíà
ãåðìåòè÷íàÿ
êîíñòðóêöèÿ áëîêà.
Äëÿ äàííîãî óñòðîéñòâà
îïòèìàëüíûì
áóäåò åñòåñòâåííîå
âîçäóøíîå îõëàæäåíèå.
Äîïîëíèòåëüíî
ðàññìîòðèì ðåæèì
ðàáîòû ñòàáèëèçàòîðà
ïèòàþùåãî íàïðÿæåíèÿ
- ÊÐ142ÅÍ5À, êîòîðûé
ïðåîáðàçóåò âíåøíåå
ïèòàíèå 12Â â 5Â,
ñòàáèëèçàòîðà
LM1085, êîòîðûé
ïðåîáðàçóåò âíåøíåå
ïèòàíèå 12Â â 4Â
äëÿ ðàáîòû GSM-ìîäóëÿ
è óñèëèòåëÿ TDA2003, êîòîðûé
ÿâëÿåòñÿ àóäèî-óñèëèòåëåì
äëÿ âíåøíåãî
äèíàìèêà. Ðàññ÷èòàåì
ðàññåèâàåìóþ
ìîùíîñòü:
Îñíîâíûå ïîòðåáèòåëÿìè
ýíåðãèè îò ñòàáèëèçàòîðà
ÊÐ142ÅÍ5À - ýòî ìèêðîêîíòðîëëåð
ATMEGA8, äâà ñâåòîäèîäà
è äåâÿòü ðåçèñòîðîâ:
äâà ðåçèñòîðà
íîìèíàëîì 300 Îì
îãðàíè÷èâàþò
íàïðÿæåíèå è
òîê ñâåòîäèîäîâ,
ñåìü íîìèíàëîì
10 êÎì ÿâëÿþòñÿ
ðåçèñòîðàìè
ïîäòÿæêè.
Ïîòðåáëÿåìûå
òîêè ýëåìåíòîâ:
ATMEGA8
- 2ìÀ;
ñâåòîäèîä - 20ìÀ;
ðåçèñòîð íîìèíàëîì
300 Îì - (5-2)/300=10 ìÀ.
ðåçèñòîð íîìèíàëîì
10 êÎì - (5)/10000=0,5 ìÀ.
Âñåãî 65,5 ìÀ. ÊÐ142ÅÍ5À
- ëèíåéíûé ñòàáèëèçàòîð
íàïðÿæåíèÿ, ïîýòîìó
åãî ðàññåèâàåìàÿ
ìîùíîñòü îïðåäåëÿåòñÿ
êàê:
(ìÂò),
(23)
ãäå Io, Uo - âûõîäíûå
òîê è íàïðÿæåíèå,
Ui - âõîäíîå
íàïðÿæåíèå.
Ïàðàìåòðû ìèêðîñõåìû
ÊÐ142ÅÍ5À:
Ìàêñèìàëüíàÿ
ðàññåèâàåìàÿ
ìîùíîñòü Pðàññ ìàêñ
=3 Âò;
Ìàêñèìàëüíûé
ïðÿìîé òîê IM, =100ìÀ;
Ìàêñèìàëüíîå
âõîäíîå íàïðÿæåíèå
UM =35 Â;
Ìàêñèìàëüíàÿ
ðàáî÷àÿ òåìïåðàòóðà
êðèñòàëëà TJ
=150ºÑ;
Òåïëîâîå ñîïðîòèâëåíèå
êðèñòàëë-êîðïóñ
RqJC
= 0.35ºÑ/Âò;
Òèïè÷íîå òåïëîâîå
ñîïðîòèâëåíèå
êîðïóñ-îêð. Ñðåäà
RqCA=60ºÑ/Âò.
Åñëè ìèêðîñõåìó
óñòàíàâëèâàòü
áåç äîïîëíèòåëüíîãî
òåïëîîòâîäà, òî
ïî ïðèâåäåííûì
ïàðàìåòðàì ìîæíî
ïðèáëèçèòåëüíî
îïðåäåëèòü ðàçíèöó
ìåæäó òåìïåðàòóðîé
êðèñòàëëà è îêðóæàþùèì
âîçäóõîì:
. (24)
Ïðè ýòîì ðàñ÷åòíàÿ
òåìïåðàòóðà êðèñòàëëà
äîñòèãíåò âåëè÷èíû:
, (25)
ãäå ÒÀ - òåìïåðàòóðà
îêðóæàþùåãî
âîçäóõà.
 íàøåì ñëó÷àå
ïðè ðàññåèâàåìîé
ìîùíîñòè 458,5 ìÂò
ðàçíèöà â òåìïåðàòóðå
ñîñòàâèò 27ºÑ. Òàê êàê
êîðïóñ ïëàíèðóåòñÿ
ñäåëàòü çàêðûòûì,
è òåìïåðàòóðà
âîçäóõà ìîæåò
äîñòèãàòü 50ºÑ. Ïðè ýòîì
ðàñ÷åòíàÿ òåìïåðàòóðà
êðèñòàëëà ñîñòàâèò
101ºÑ. Òàêàÿ
òåìïåðàòóðà íå
âûõîäèò çà ãðàíèöó
äîïóñòèìîé è,
ñëåäîâàòåëüíî,
ðàáîòà ñòàáèëèçàòîðà
â òàêîì ðåæèìå
íå ïðèâåäåò ê åãî
âûõîäó èç ñòðîÿ.
Òàêîé ðåæèì ðàáîòû
ñòàáèëèçàòîðà
ñòàáèëåí è èìååò
áîëüøîé çàïàñ
ïî ïðåâûøåíèþ
ñòàáèëèçèðîâàííîãî
òîêà.
Àíàëîãè÷íî,
ðàññ÷èòàåì òåïëîâûäåëåíèå
ñòàáèëèçàòîðà
LM1085 è óñèëèòåëÿ
TDA2003. Ýòè ýëåìåíòû,
êàê è ÊÐ142ÅÍ5À, âûïîëíåíû
â îäíîòèïíîì
êîðïóñå ÒÎ220. Ñîîòâåòñòâåííî,
ìîæíî ïðèíÿòü
òåìïåðàòóðíûå
ïàðàìåòðû ýòèõ
ýëåìåíòîâ îäèíàêîâûìè.
Ñëåäîâàòåëüíî,
ðàñ÷åò ñâîäèòñÿ
ê ïîäñòàíîâêå
ðàçëè÷íûõ çíà÷åíèé
ðàññåèâàåìîé
ìîùíîñòè Pðàññ.
 ðåæèìå ïåðåäà÷è,
GSM ìîäóëü
ïîòðåáëÿåò <470 ìèëëèàìïåð,
ñëåäîâàòåëüíî,
ðàññ÷èòàåì ìîùíîñòü
ðàññåèâàíèÿ
(ìÂò); (26)
Òîãäà ðàçíèöà
â òåìïåðàòóðå
ñîñòàâèò
; (27)
Ïðè ýòîì ðàñ÷åòíàÿ
òåìïåðàòóðà êðèñòàëëà
ñîñòàâèò 273ºÑ. Ñëåäîâàòåëüíî,
ïðè òàêèõ íàãðóçêàõ
êðèñòàëë ìîæåò
âûéòè èç ñòðîÿ.
Ñëåäîâàòåëüíî,
íåîáõîäèìî èñïîëüçîâàòü
äîïîëíèòåëüíûé
òåïëîîòâîä îò
ýëåìåíòà. Ðåêîìåíäóåòñÿ
èñïîëüçîâàòü
àëþìèíèåâûé
òåïëîîòâîä èìïîðòíîãî
ïðîèçâîäñòâà
FK301.
Ðèñóíîê 7.2 - Ðàäèàòîð
FK301
Ðàññ÷èòàåì
òåïëîâûäåëåíèå
ìèêðîñõåìû TDA2003:
 ðåæèìå ìàêñèìàëüíîé
íàãðóçêè, âûõîäíàÿ
ìîùíîñòü TDA2003 ñîñòàâëÿåò
4,5 Âàòòà. Áóäåì
ñ÷èòàòü, ÷òî
ÊÏÄ ìèêðîñõåìû
ñîñòàâëÿåò 75%, ñîîòâåòñòâåííî,
ìèêðîñõåìà ðàññåèâàåò
1,5 Âàòòà.
Òîãäà ðàçíèöà
â òåìïåðàòóðå
ñîñòàâèò
.
Ïðè
ýòîì ðàñ÷åòíàÿ
òåìïåðàòóðà êðèñòàëëà
ñîñòàâèò 140 ºÑ. Òàêàÿ òåìïåðàòóðà
íå âûõîäèò çà
ãðàíèöó äîïóñòèìîé
è, ñëåäîâàòåëüíî,
ðàáîòà ñòàáèëèçàòîðà
â òàêîì ðåæèìå
íå ïðèâåäåò ê åãî
âûõîäó èç ñòðîÿ.
Íî ðåêîìåíäóåòñÿ
èñïîëüçîâàòü
ðàäèàòîð FK301 äëÿ
äîïîëíèòåëüíîãî
îõëàæäåíèÿ.
8. ÏÐÎÃÐÀÌÌÍÀß
×ÀÑÒÜ
8.1 Ïîñòàíîâêà
çàäà÷è
 ïðîãðàììíîé
÷àñòè ðàññìîòðèì
ðàçðàáîòêó óïðàâëÿþùåé
ïðîãðàììû ìèêðîêîíòðîëëåðà.
Ïðîãðàììà - íàáîð
èíñòðóêöèé, êîòîðûå
èñïîëíÿåò ìèêðîêîíòðîëëåð.
 çàâèñèìîñòè
îò ðàçëè÷íûõ
óñëîâèé ïðîãðàììà
ìîæåò âåòâèòüñÿ,
òî åñòü ìèêðîêîíòðîëëåð
âûïîëíÿåò òå èëè
èíûå èíñòðóêöèè
â çàâèñèìîñòè
îò ýòèõ óñëîâèé.
 ñâîþ î÷åðåäü,
ìèêðîêîíòðîëëåð,
èñïîëíÿÿ çàëîæåííóþ
â íåãî ïðîãðàììó,
óïðàâëÿåò âñåìè
ïîäêëþ÷åííûìè
ê íåìó óñòðîéñòâàìè
(èíäèêàòîðû, äâèãàòåëè,
ðåëå è ò.ä.). Òàêèì
îáðàçîì, íà îñíîâå
ìèêðîêîíòðîëëåðà
ìîæíî ñêîíñòðóèðîâàòü
óñòðîéñòâî ïðàêòè÷åñêè
ëþáîãî óðîâíÿ
ñëîæíîñòè. Çàëîãîì
óñïåõà ïîäîáíîé
ðàçðàáîòêè áóäåò
÷åòêî ïðîäóìàííàÿ
è îòëàæåííàÿ
ïðîãðàììà ïðîøèâêè
ìèêðîêîíòðîëëåðà.
8.2 Îïðåäåëåíèå
öåëè ðàçðàáîòêè
ïðîãðàììû
Öåëè ðàçðàáàòûâàåìîé
ïðîãðàììû ñëåäóþùèå:
ñ÷èòûâàíèå
êíîïîê;
óïðàâëåíèå GSM ìîäóëåì
â çàâèñèìîñòè
îò íàæàòîé êíîïêè;
óïðàâëåíèå çâóêîâîé
ñèãíàëèçàöèåé;
8.3 Âûáîð ÿçûêà
ïðîãðàììèðîâàíèÿ
è êðîññ - ñðåäñòâ
Ïðîãðàììà ïðåäíàçíà÷åíà
äëÿ âûïîëíåíèÿ
íà ïðîöåññîðå
ATMEGA8 ôèðìû
ATMEL. Ïðîãðàììà
íàïèñàíà íà
ÿçûêå C â
ñðåäå CodevisionAVR.
CodevisionAVR - ýòî óñëîâíî
áåñïëàòíàÿ èíòåãðèðîâàííàÿ
ñðåäà ðàçðàáîòêè
äëÿ ìèêðîêîíòðîëëåðîâ
ôèðìû ATMEL. Íå ñòîèò çàáûâàòü,
÷òî ïðîèçâîäèòåëü
ìèêðîêîíòðîëëåðîâ
ATMEL âûïóñêàåò
áåñïëàòíóþ ïðîãðàììó
äëÿ íàïèñàíèÿ
è îòëàäêè êîäà
AVRStudio. Â ñðåäå
ðàçðàáîòêè AVRStudio ðàçðàáîò÷èê
ïèøåò êîä íà ÿçûêå
àññåìáëåðà, êîòîðûé
êîìïèëèðóåòñÿ
âñòðîåííûì â
ïðîãðàììó êîìïèëÿòîðîì.
CodevisionAVR òàêæå
ïîçâîëÿåò ïèñàòü,
îòëàæèâàòü è
îïòèìèçèðîâàòü
òåêñò ïðîãðàììû,
âêëþ÷àåò â ñåáÿ
ðåäàêòîð òåêñòà,
ñèìóëÿòîð è ìåíåäæåð
ïðîåêòîâ, ïîääåðæèâàåò
ðàáîòó ïðîãðàììàòîðîâ
ôèðìû ATMEL è
äðóãèõ îòëàäî÷íûõ
ñðåäñòâ ôèðìû.
Êðîìå òîãî CodevisionAVR îáåñïå÷èâàåò
ðàçíîîáðàçíûå
ñðåäñòâà ñèìóëÿöèè
è ýìóëÿöèè èñïîëíÿåìîãî
êîäà äëÿ âûÿâëåíèÿ
ëîãè÷åñêèõ îøèáîê
Åñòü áîëüøîå
ðàçíîîáðàçèå
ðàçëè÷íûõ ïðîãðàììàòîðîâ
äëÿ ïðîäóêöèè
ATMEL, íà÷èíàÿ
îò ñàìîäåëüíûõ
ïðîãðàììàòîðîâ,
òàêèõ êàê ïðîãðàììàòîð
Ãðîìîâà, è êîí÷àÿ
ïðîìûøëåííûìè
ïðîãðàììàòîðàìè,
ñ âîçìîæíîñòüþ
âíóòðèñõåìíîé
îòëàäêè JTAG, òàêèìè êàê
AVR Dragon. Âûáîð ïðîãðàììàòîðà
ïðîèçâîäèòñÿ
èñõîäÿ èç ïîòðåáíîñòåé
â äîïîëíèòåëüíûõ
âîçìîæíîñòÿõ
ïðîãðàììàòîðà,
åãî ñòîèìîñòè.
Äëÿ ïðîøèâêè êîíòðîëëåðà
ATMEL ATMEGA8 èñïîëüçóåòñÿ
ïðîãðàììàòîð
STK200. Äàííûé
ïðîãðàììàòîð
ïîäêëþ÷àåòñÿ
ê COM-ïîðòó ïåðñîíàëüíîãî
êîìïüþòåðà.
8.4 Îïðåäåëåíèå
ñòðóêòóðû âõîäíûõ
è âûõîäíûõ äàííûõ
Âõîäíûìè äàííûìè
äëÿ ïðîãðàììû
ÿâëÿþòñÿ íàæàòèÿ
íà êíîïêè.
 áåñêîíå÷íîì
öèêëå ïðîãðàììà
ìèêðîêîíòðîëëåðà
ñ÷èòûâàåò ñîñòîÿíèå
ïîðòîâ, ê êîòîðûì
ïîäêëþ÷åíû òðè
êíîïêè. (ñîñòîÿíèå
ïîðòîâ - ëîãè÷åñêèé
íîëü èëè ëîãè÷åñêàÿ
åäèíèöà). Ïðè ïðîñàäêå
íàïðÿæåíèÿ äî
íàïðÿæåíèÿ ëîãè÷åñêîãî
íóëÿ (íàæàòèå
êíîïêè) ïðîèñõîäèò
îáðàáîòêà äàííîãî
âíåøíåãî ïðåðûâàíèÿ
â ìèêðîêîíòðîëëåðå.
Ñàìà îáðàáîòêà
âíåøíåãî ïðåðûâàíèÿ
çàêëþ÷àåòñÿ
â ñëåäóþùåì: êàê
òîëüêî âîçíèê
ëîãè÷åñêèé íîëü
â ïîðòó, ïðîãðàììà
æäåò 50 ìèëëèñåêóíä
è ñíîâà ïðîâåðÿåò,
ñîõðàíèëîñü
ëè ñîñòîÿíèå
ëîãè÷åñêîãî
íóëÿ íà ïîðòó.
Ýòî òàê íàçûâàåìàÿ
çàùèòà îò äðåáåçãà
êîíòàêòîâ, êîòîðàÿ
èíîãäà âîçíèêàåò
ïðè ñëó÷àéíîì
íàæàòèè, èëè
ïðè ïðîñêîêå ýëåêòðè÷åñêîé
èñêðû ìåæäó êîíòàêòàìè.
Åñëè ñîñòîÿíèå
ëîãè÷åñêîãî
íóëÿ ñîõðàíèëîñü
â ïîðòó, çàïóñêàåòñÿ
ôóíêöèÿ, êîòîðàÿ
óïðàâëÿåò GSM ìîäóëåì
â çàâèñèìîñòè
îò òîãî, êàêóþ
êíîïêó íàæàëè.
Òî åñòü, åñòü òðè
ðàçíûõ ôóíêöèè.
Ïåðâàÿ ôóíêöèÿ
- âûçîâ äèñïåò÷åðà,
âòîðàÿ - îòâåò
íà âûçîâ äèñïåò÷åðà,
òðåòüÿ - êîíåö ñâÿçè.
Êîìàíäû óïðàâëåíèÿ
GSM ìîäóëåì
ïîñûëàþòñÿ ÷åðåç
óíèâåðñàëüíûé
ïîñëåäîâàòåëüíûé
àñèíõðîííûé
ïîðò (UART).
Ñêîðîñòü ïîðòà
9600 á/ñ, 8 áèò äàííûõ,
1 ñòîï-áèò. ×åòíîñòü
îòêëþ÷åíà. Ïîñëåäîâàòåëüíûé
ïîðò ïîçâîëÿåò
îäíîâðåìåííî
ïåðåäàâàòü è ïðèíèìàòü
äàííûå. Íî, â ìèêðîêîíòðîëëåðå
ïðåäóñìîòðåí
ëèøü îäèí ðåãèñòð
UDR êàê áóôåð
äëÿ õðàíåíèÿ äàííûõ
ïîñëåäîâàòåëüíîãî
ïîðòà. Ñëåäîâàòåëüíî,
ïðè ïîïûòêå ñ÷èòàòü
äàííûå ïðè îäíîâðåìåííîé
ïåðåäà÷è äàííûõ,
ìîæåò âîçíèêíóòü
îøèáêà è çàâèñàíèå
ìèêðîêîíòðîëëåðà.
×òîáû ýòî èçáåæàòü,
ïåðåäà÷ó è ïðèåì
äàííûõ ïðîèçâîäÿò
ïîñëåäîâàòåëüíî,
ñ ïðîìåæóòî÷íîé
î÷èñòêîé áóôåðà
UDR.
Âûõîäíûìè äàííûìè
äëÿ ïðîãðàììû
ÿâëÿåòñÿ çâóêîâûå
ñèãíàëû è êîìàíäû
óïðàâëåíèÿ GSM ìîäóëåì.
8.5 Ðàçáèåíèå
íà ìîäóëè (ôóíêöèè)
Ðàçáèåíèå ïðîãðàììû
íà ôóíêöèè èìååò
íåñêîëüêî ïîëîæèòåëüíûõ
ñòîðîí. Ðàçáèåíèå
ïîçâîëÿåò óìåíüøèòü
îáúåì çàíèìàåìîé
ïàìÿòè â ÏÇÓ ìèêðîêîíòðîëëåðà,
òàê êàê ïðîãðàììà
áóäåò îáðàùàòüñÿ
ìíîãî ðàç ê íàáîðó
îäíèõ è òåõ æå
èíñòðóêöèé, êîòîðûå
áóäóò â îäíîé
ôóíêöèè. Òàêæå,
ðàçáèåíèå ïðîãðàììû
íà ôóíêöèè ïîçâîëÿåò
âèçóàëüíî óïðîñòèòü
êîä â ñðåäå ðàçðàáîòêè
ïðîãðàììû äëÿ
ìèêðîêîíòðîëëåðà.
 ðàçðàáàòûâàåìîé
ïðîãðàììå áóäóò
ñëåäóþùèå ôóíêöèè:
Ôóíêöèÿ main - ýòî ñàìàÿ
ãëàâíàÿ ôóíêöèÿ,
íàëè÷èå êîòîðîé
â ïðîãðàììå íåîáõîäèìî,
òàê êàê áåç ýòîé
ôóíêöèè êîìïèëÿòîð
âûäàñò îøèáêó.
 ôóíêöèè main èìååòñÿ
áåñêîíå÷íûé
öèêë, êîòîðûé îïðàøèâàåò
ïîðòû íà íàæàòèå
êíîïêè.  ñëó÷àå,
åñëè êíîïêà íàæàòà,
âûçûâàåòñÿ ñîîòâåòñòâóþùàÿ
ôóíêöèÿ: call, answer èëè
call_end.
Ôóíêöèÿ call ïðåäíàçíà÷åíà
äëÿ âûçîâà äèñïåò÷åðà.
Îíà ïåðåäàåò ñîîòâåòñòâóþùèå
êîìàíäû GSM ìîäóëþ, êîòîðûé,
â ñâîþ î÷åðåäü,
çâîíèò íà ïóëüò.
Àíàëîãè÷íî
ôóíêöèè call, ôóíêöèÿ answer îòâå÷àåò
íà âõîäÿùèé âûçîâ
ñî ñòîðîíû äèñïåò÷åðà,
à ôóíêöèÿ call_end çàâåðøàåò
ðàçãîâîð.
Ôóíêöèÿ beep èçäàåò
çâóêîâîé ñèãíàë
îïðåäåëåííîé
òîíàëüíîñòè
è äëèòåëüíîñòè
ñ ïîìîùüþ øèðîòíî-èìïóëüñíîé
ìîäóëÿöèè.
Ôóíêöèÿ getchar ñ÷èòûâàåò
ñèìâîë èç ïîñëåäîâàòåëüíîãî
ïîðòà.
Ôóíêöèÿ putchar çàïèñûâàåò
ñèìâîë â ïîñëåäîâàòåëüíûé
ïîðò.
8.6 Ðàçðàáîòêà
òåêñòà ïðîãðàììû
Äëÿ óäîáñòâà
â òåêñòå áóäåì
èñïîëüçîâàòü
äîïîëíèòåëüíûå
êîììåíòàðèè
ñòðîê êîäà ïîñëå
äâîéíîãî ñëýøà
“//”.
Âíà÷àëå íåîáõîäèìî
ïîäêëþ÷èòü çàãîëîâêè
áèáëèîòå÷íûõ
ôàéëîâ:
#include <mega8.h>
#include <delay.h>
#include <stdio.h>
#include <stdlib.h>
Êîìàíäû, íà÷èíàþùèåñÿ
ñî çíàêà “#”, ÿâëÿþòñÿ
êîìàíäàìè ïðåïðîöåññîðà.
Îíè íèêàê íå îòíîñÿòñÿ
ê èñïîëíÿåìîìó
êîäó, à ëèøü óêàçûâàþò
êîìïèëÿòîðó èíñòðóêöèè
êîìïèëèðîâàíèÿ.
Ôàéë “mega8.h” ÿâëÿåòñÿ
çàãîëîâêîì áèáëèîòå÷íîãî
ôàéëà, â êîòîðîì
ñîáðàíà èíôîðìàöèÿ
î ìèêðîêîíòðîëëåðå
ATMEGA8. Ôàéë “delay.h” ÿâëÿåòñÿ çàãîëîâêîì
áèáëèîòå÷íîãî
ôàéëà, ñîäåðæàùåãî
ôóíêöèè çàäåðæêè,
òàêèå êàê “delay_ms” è “delay_us”. Ïåðâàÿ
ôóíêöèÿ îðãàíèçóåò
çàäåðæêó â ìèëëèñåêóíäàõ,
à âòîðàÿ â ìèêðîñåêóíäàõ.
Ýòî î÷åíü óäîáíî
èñïîëüçîâàòü,
íàïðèìåð, äëÿ îðãàíèçàöèè
äèíàìè÷åñêîé
èíäèêàöèè íà
ñåìèñåãìåíòíûõ
èíäèêàòîðàõ,
è äëÿ äðóãèõ ïîòðåáíîñòåé.
Ôàéë “ stdio.h” ÿâëÿåòñÿ çàãîëîâêîì
áèáëèîòå÷íîãî
ôàéëà, ñîäåðæàùåãî
ôóíêöèè ââîäà-âûâîäà
÷åðåç óíèâåðñàëüíûé
ïîñëåäîâàòåëüíûé
àñèíõðîííûé
ïîðò UART. Ôàéë
“stdlib.h” ÿâëÿåòñÿ
çàãîëîâêîì áèáëèîòå÷íîãî
ôàéëà, ñîäåðæàùåãî
îñòàëüíûå ñòàíäàðòíûå
áèáëèîòå÷íûå
ôóíêöèè.
Êîìàíäà ïðåïðîöåññîðà
“#define x y” çàñòàâëÿåò
êîìïèëÿòîð ðàñïîçíàâàòü
âñå ñèìâîëû è
çíàêè ó, âñòðå÷àþùèåñÿ
â òåêñòå ïðîãðàììû,
è çàìåíÿòü èõ
íà ñèìâîëû è çíàêè
õ. Äàííàÿ êîìàíäà
ïðåïðîöåññîðà
çíà÷èòåëüíî
îáëåã÷àåò ÷èòàåìîñòü
òåêñòà ïðîãðàììû,
è óâåëè÷èâàåò
ñêîðîñòü ðàçðàáîòêè
ïðîãðàììû.
Äëÿ óäîáñòâà,
òåêñò ïðîãðàììû
ïðèëîæåíèÿ Ç áûë
ðàçáèò íà áëîêè.
Áëîê 1 ïðîãðàììû
ÿâëÿåòñÿ íàãëÿäíûì
ïðèìåðîì èñïîëüçîâàíèÿ
ôóíêöèè “#define x y”. Äàííàÿ ÷àñòü
ïðîãðàììû ïðîèçâåäåíå
àâòîìàòè÷åñêèì
ãåíåðàòîðîì êîäà
â ñðåäå ðàçðàáîòêè
CodevisionAVR. Ýòîò êîä
ïðåäíàçíà÷åí
äëÿ îðãàíèçàöèè
ïåðåäà÷è äàííûõ
ïî UART - èíòåðôåéñó.
#define sign1 PINB.0 //
íàçíà÷àåì íàçâàíèå
ïîðòà ïåðâîé êíîïêè
#define sign2 PINB.1 //
íàçíà÷àåì íàçâàíèå
ïîðòà âòîðîé êíîïêè
#define sign3 PINB.2 //
íàçíà÷àåì íàçâàíèå
ïîðòà òðåòåé êíîïêè
Êàê âèäèì, êîä
âûøå íàçíà÷àåò
èìåíà ïîðòàì
ââîäà. Òåïåðü, íàïðèìåð,
åñëè â òåêñòå
ïðîãðàììû âñòðåòèòñÿ
òåêñò “sign1=0” êîìïèëÿòîð
ïîéìåò ýòî êàê
“PINB.0=0” è íå âûäàñò
îøèáêó êîìïèëÿöèè.
#define LED1 PORTD.2 //íàçíà÷àåì
íàçâàíèå ïîðòà
ïåðâîãî ñâåòîäèîäà
#define LED2 PORTD.3 //íàçíà÷àåì
íàçâàíèå ïîðòà
ïüåçîèçëó÷àòåëÿ
#define vol 100 //ïåðåìåííàÿ
çàäàåò óðîâåíü
âûõîäíîãî //ñèãíàëà
â ïðîöåíòàõ
Äàëåå ïîñëå êîìàíä
ïðåïðîöåññîðà
îïðåäåëÿåì ãëîáàëüíûå
ïåðåìåííûå. Ãëîáàëüíûå
ïåðåìåííûå - ýòî
ïåðåìåííûå, êîòîðûå
ìîãóò èçìåíÿòüñÿ
â ëþáîé ÷àñòè
ïðîãðàììû. Ëîêàëüíûå
ïåðåìåííûå - ýòî
ïåðåìåííûå, êîòîðûå
ñóùåñòâóþò òîëüêî
â ôóíêöèÿõ, â êîòîðûõ
îíè îáúÿâëåíû.
Òî åñòü, åñëè ìû
îáúÿâèëè ïåðåìåííóþ
âåùåñòâåííîãî
òèïà “var” â
ôóíêöèè beep, òî ïðè ïîïûòêå
çàäàòü ýòîé ïåðåìåííîé
íîâîå çíà÷åíèå
â ôóíêöèè main êîìïèëÿòîð
âûäàñò îøèáêó
êîìïèëÿöèè.int
ms=0; // Ïåðåìåííàÿ
äëÿ ñ÷åòà ìèëëèñåêóíäu,m; //
ïðî÷èå ïåðåìåííûå
Ãëîáàëüíûå ïåðåìåííûå
îáúÿâëÿþòñÿ â
áëîêå 2 ïðèëîæåíèÿ
Ç.
Äàëåå ïîñëå îáúÿâëåíèÿ
ãëîáàëüíûõ ïåðåìåííûõ
îáúÿâèì ôóíêöèþ
beep. Ôóíêöèÿ
ïðèâåäåíà â áëîêå
3 ïðèëîæåíèÿ Ç.
Ôóíêöèÿ íè÷åãî
íå âîçâðàùàåò.
Âíóòðè ôóíêöèè
îáúÿâëÿåòñÿ ëîêàëüíàÿ
ïåðåìåííàÿ “b”, c ïîìîùüþ êîòîðîé
îðãàíèçóåòñÿ
öèêë óïðàâëåíèÿ
ïîðòîì LED2, ê êîòîðîìó
ïîäêëþ÷åí ïüåçîèçëó÷àòåëü.
Äëèòåëüíîñòü
çâó÷àíèÿ îïðåäåëÿåòñÿ
êàê êîëè÷åñòâî
öèêëîâ óìíîæåííîå
íà 424 ìèêðîñåêóíäû.
 èòîãå ïîëó÷àåì
äëèòåëüíîñòü
çâóêîâîãî îïîâåùåíèÿ
0,9 ñåêóíäû. Øèðîòíî
- èìïóëüñíàÿ ìîäóëÿöèÿ
îðãàíèçîâàíà
òàêèì îáðàçîì,
÷òî ÷åðåç êàæäûå
212 ìèêðîñåêóíä
ïîðò îòêðûâàåòñÿ
èëè çàêðûâàåòñÿ,
ñëåäîâàòåëüíî
ïåðèîä èìïóëüñà
ñîñòàâëÿåò 424 ìèêðîñåêóíäû,
à ÷àñòîòà ñèãíàëà
1/0,000424=2360 Ãö.
Áëîê 4 ïðåäñòàâëÿåò
ñîáîé îáðàáîò÷èê
ïî ïðåðûâàíèþ
íà âõîäÿùèé ñèìâîë
ïîñëåäîâàòåëüíîãî
ïîðòà, ñãåíåðèðîâàííûé
ïðîãðàììîé CodevisionAVR. Ýòî îçíà÷àåò,
÷òî êîíòðîëëåð
ïåðåõîäèò àâòîìàòè÷åñêè
íà îáðàáîòêó
äàííîãî ñåãìåíòà
êîäà åñëè ïîñòóïèë
êàêîé-ëèáî ñèìâîë
÷åðåç âõîäÿùóþ
ëèíèþ ïîðòà UART.
 ðåçóëüòàòå
âûïîëíåíèÿ äàííîãî
îáðàáîò÷èêà
ïðåðûâàíèÿ ñèìâîëüíûé
ìàññèâ rx_buffer çàïîëíÿåòñÿ
ñèìâîëàìè, âõîäÿùèìè
èç ïîðòà UART (óíèâåðñàëüíîãî
àñèíõðîííîãî
ïðèåìî-ïåðåäàþùåãî
ïîñëåäîâàòåëüíîãî
ïîðòà).
Êîä áëîêà 5 ïðèëîæåíèÿ
Ç îòâå÷àåò çà
ïåðåäà÷ó èñõîäÿùèõ
äàííûõ â ïîðò
UART ïî ëèíèè
ïåðåäà÷è.
 ïðèâåäåííûõ
âûøå ôóíêöèÿõ
åñòü è äðóãèå
èíñòðóêöèè ïðåïðîöåññîðà,
êîòîðûå íà÷èíàþòñÿ
ñ ñèìâîëà “#”. Íàïðèìåð,
èíñòðóêöèÿ
“#asm("sei")
“#asm("sei") âûïîëíÿåò
êîìàíäó àññåìáëåðà,
êîòîðàÿ ðàçðåøàåò
îáðàáîòêó ïðîãðàììû
ïî ïðåðûâàíèÿì
(set enable interrupt).
 ìèêðîêîíòðîëëåðå
ATMEGA8 ïðåäóñìîòðåíû
òàéìåðû-ñ÷åò÷èêè,
êîòîðûå ìîãóò
íàñòðàèâàòüñÿ
â çàâèñèìîñòè
îò ïîòðåáíîñòåé
ðàçðàáîò÷èêîâ.
Î÷åíü øèðîêî
èñïîëüçóåòñÿ
ôóíêöèÿ ïðåðûâàíèÿ
ïî ïåðåïîëíåíèþ
ðåãèñòðà òàéìåðà-ñ÷åò÷èêà.
 ðåçóëüòàòå,
ìû ìîæåì íàñòðîèòü
ïðåðûâàíèå â ìèêðîêîíòðîëëåðå
íà îïðåäåëåííûé
âðåìåííîé èíòåðâàë.
 íàøåì ñëó÷àå,
òàéìåð - ñ÷åò÷èê
íàñòðîåí òàêèì
îáðàçîì, ÷òî ïðåðûâàíèå
ïðîèñõîäèò ðîâíî
÷åðåç êàæäóþ
1/16 ñåêóíäû. Îáðàáîò÷èê
ïðåðûâàíèÿ ñäåëàí
òàê, ÷òî êàæäóþ
ñåêóíäó (òî åñòü
ïîñëå øåñòíàäöàòè
ïðåðûâàíèé òàéìåðà-ñ÷åò÷èêà)
ïðîèñõîäèò èíâåðñèÿ
ïîðòà, ê êîòîðîìó
ïîäêëþ÷åí ñâåòîäèîä.
Òàêèì îáðàçîì,
îðãàíèçîâàíî
ìèãàíèå ñèñòåìíîãî
ñâåòîäèîäà. Â
áëîêå 6 ïðèëîæåíèÿ
Ç ïðèâåäåí êîä
îáðàáîò÷èêà
ïðåðûâàíèÿ.
Âûðàæåíèå “num%2” ïðèìåíÿåòñÿ
äëÿ ïîëó÷åíèÿ
îñòàòêà îò äåëåíèÿ
ïåðåìåííîé “num” íà äâà.
Òàê êàê ïåðåìåííàÿ
“num” óâåëè÷èâàåòñÿ
êàæäóþ ñåêóíäó
íà îäèí, ñîîòâåòñòâåííî
îñòàòîê ýòîé
ïåðåìåííîé îò
äåëåíèÿ íà äâà
êàæäóþ ñåêóíäó
ñòàíîâèòñÿ ëèáî
1 ëèáî 0, ñîîòâåòñòâåííî
ñòðî÷êà “LED1= num%2” ââîäèò
ïîðò â ñîñòîÿíèå
ëîãè÷åñêîé åäèíèöû
èëè ëîãè÷åñêîãî
íóëÿ.
Äàëåå â òåêñòå
ïðîãðàììû â áëîêå
7 ïðèëîæåíèÿ Ç
îáúÿâëÿþòñÿ òðè
ôóíêöèè: call,answer,call_end.
Äàëåå îáúÿâëÿåòñÿ
îñíîâíàÿ ôóíêöèÿ
main. Ñâîþ ïðîãðàììó
ìèêðîêîíòðîëëåð
íà÷èíàåò èìåííî
ñ ýòîé ôóíêöèè.
 íà÷àëå ëþáîé
ôóíêöèè èäåò
îáúÿâëåíèÿ ëîêàëüíûõ
ïåðåìåííûõ. Â
ôóíêöèè main òàêèõ ïåðåìåííûõ
íåò, ñëåäîâàòåëüíî,
ñðàçó èäåò íàñòðîéêà
ìèêðîêîíòðîëëåðà
- íàñòðîéêà ïàðàëëåëüíûõ
è ïîñëåäîâàòåëüíûõ
ïîðòîâ ââîäà-âûâîäà,
íàñòðîéêà òàéìåðîâ-ñ÷åò÷èêîâ.
Ïåðåìåííàÿ “PORTx” âûâîäèò
ïàðàëëåëüíûé
ïîðò “x” â
ðåæèì âõîäà åñëè
“PORTx=0” è â ðåæèì
âûõîäà, åñëè “PORTx=1”. Ñîîòâåòñòâåííî,
ïîðòû B,C è D âûñòàâëÿþòñÿ
â ðåæèì âõîäà.
 áëîêå 8 èíèöèàëèçàöèÿ
òàéìåðà-ñ÷åò÷èêà
0.
Èíèöèàëèçàöèÿ
îñòàëüíûõ òàéìåðîâ
ñ÷åò÷èêîâ îòêëþ÷àåò
èõ ðàáîòó. Áëîê
9 ïðîãðàììû èíèöèàëèçèðóåò
òàéìåð-ñ÷åò÷èê
1.
Áëîê 10 èíèöèàëèçèðóåò
òàéìåð-ñ÷åò÷èê
2, îòêëþ÷àåì ôóíêöèþ
âíåøíåãî ïðåðûâàíèÿ
(MCUCR=0x00) è îòêëþ÷àåì
ôóíêöèþ àíàëîãîâîãî
êîìïàðàòîðà, çàïèñûâàÿ
ñîîòâåòñòâóþùèå
çíà÷åíèÿ â ñèñòåìíûå
ðåãèñòðû. Áëîê
11 ïðîãðàììû ïðèëîæåíèÿ
Ç íàñòðàèâàååò
óíèâåðñàëüíûé
ïîñëåäîâàòåëüíûé
àñèíõðîííûé
ïîðò (UART) íà
ñêîðîñòü 9600 á/ñåê,
8 áèò äàííûõ, îäèí
ñòîï-áèò, ÷åòíîñòü
îòêëþ÷åíà.
Èíèöèàëèçàöèÿ
GSM ìîäóëÿ
îïèñàíà â áëîêå
12 òåêñòà ïðîãðàììû
ïðèëîæåíèÿ Ç.
Âêëþ÷åíèå ìîäóëÿ
ïðîèñõîäèò ïî
êîìàíäå “AT+CFUN=1”. Êàê
è âñå êîìàíäû
óïðàâëåíèÿ GSM ìîäóëåì,
ýòà êîìàíäà ïîñûëàåòñÿ
ïî ïîñëåäîâàòåëüíîìó
ïîðòó UART ïðè
ïîìîùè ôóíêöèè
printf, êîòîðàÿ
âûõîäèò â áèáëèîòåêó
ñ çàãîëîâî÷íûì
ôàéëîì “stdio.h”.
Äàëåå êîìàíäîé
“AT+CHFA=1” äåëàåì àêòèâíûì
âòîðîé (ìèêðîôîííûé)
àóäèîâõîä è âòîðîé
àóäèîâûõîä. Êîìàíäîé
“ AT+CLVL=70” çàäàåì ãðîìêîñòü
àóäèîâûõîäà
70%. Êîìàíäîé “ AT+CMIC=1,9” çàäàåì óñèëåíèå
ìèêðîôîíà +6äÁ.
Áëîê 12 ïðîãðàììû
ÿâëÿåòñÿ áåñêîíå÷íûì
öèêëîì îïðîñà
êíîïîê ïðèáîðà
êîíòðîëÿ ïîñòîâîé
îõðàíû. Ôóíêöèÿ
delay_ms(50) ïðåäñòàâëÿåò
ñîáîé çàäåðæêó
50 ìèëëèñåêóíä
è îðãàíèçîâàíà
äëÿ çàùèòû îò
äðåáåçãà êîíòàêòîâ.
Ñëåäîâàòåëüíî,
÷òîáû ïðîãðàììà
ïðèíÿëà íàæàòèå
êíîïêè, òðåáóåòñÿ
÷òîáû ýòà êíîïêà
áûëà çàæàòà ìèíèìóì
íà 50 ìñ.
9. ÝÊÎÍÎÌÈ×ÅÑÊÀß
×ÀÑÒÜ
Îðãàíèçàöèîííî-ýêîíîìè÷åñêèé
ðàçäåë âêëþ÷àåò
â ñåáÿ òðè îñíîâíûå
÷àñòè:
. Ñåòåâîå ïëàíèðîâàíèå
ðàáîò, â êîòîðîì
ðàññìàòðèâàåòñÿ
ñîñòàâ è
ïîðÿäîê ðàáîò
ïðè ïîäãîòîâêå
äèïëîìíîãî ïðîåêòà,
à òàêæå
ñðîêè èõ ïðîâåäåíèÿ;
. Ðàñ÷åò çàòðàò
íà ïðîâåäåíèå
ðàáîò;
. Àíàëèç òåõíèêî-ýêîíîìè÷åñêîé
ýôôåêòèâíîñòè,
ãäå îáúÿñíÿåòñÿ
öåëåñîîáðàçíîñòü
ïðîåêòà.
9.1 Ñåòåâîå ïëàíèðîâàíèå
Ïëàíèðîâàíèå
ðàáîò ïðîèçâîäèòñÿ
ñåòåâûì ìåòîäîì,
òàê êàê îí ïîçâîëÿåò
óâèäåòü âåñü
êîìïëåêñ ðàáîò
êàê åäèíûé ïðîöåññ,
îïðåäåëèòü íàèáîëåå
òðóäîåìêèå âèäû
ðàáîò, ðàáîòû,
êîòîðûå ìîãóò
âûïîëíÿòüñÿ îäíîâðåìåííî,
è ñïëàíèðîâàòü
èõ âûïîëíåíèå
òàêèì îáðàçîì,
÷òîáû îáåñïå÷èòü
îïòèìàëüíûå
ñðîêè âûïîëíåíèÿ
ðàáîò, áîëåå ðàâíîìåðíóþ
çàíÿòîñòü ïåðñîíàëà,
à, ñëåäîâàòåëüíî,
è ëó÷øåå êà÷åñòâî
âûïîëíåíèÿ ðàáîò.
 ðåçóëüòàòå
ýòî âåäåò ê íàèáîëåå
ýôôåêòèâíîìó
ðåøåíèþ ïîñòàâëåííîé
çàäà÷è. Êîíå÷íîé
öåëüþ ïîñòðîåíèÿ
ñåòåâîãî ãðàôèêà
(ÑÃ) ÿâëÿåòñÿ ïîëó÷åíèå
èíôîðìàöèè î
ïëàíîâûõ ñðîêàõ
âûïîëíåíèÿ ðàáîò,
íàõîäÿùèõñÿ
íà êðèòè÷åñêîì
ïóòè.
9.2 Ïîñòðîåíèå
ñåòåâîãî ãðàôèêà
Îæèäàåìàÿ ïðîäîëæèòåëüíîñòü
ðàáîòû tij â Ñà ðàññ÷èòûâàåòñÿ
ïî äâóõ îöåíî÷íîé
ìåòîäèêå, èñõîäÿ
èç ìèíèìàëüíîé
t ij ìèí è ìàêñèìàëüíîéij
ìàêñ îöåíîê ïðîäîëæèòåëüíîñòè,
îïðåäåëÿåìûõ
ïî ýêñïåðòíûì
îöåíêàì, îñíîâàííûì
íà ëè÷íîì îïûòå
ðóêîâîäèòåëÿ
äèïëîìíîãî ïðîåêòà.
Îæèäàåìàÿ ïðîäîëæèòåëüíîñòü
êàæäîé ðàáîòû
ðàññ÷èòûâàåòñÿ
ïî ôîðìóëå:
tîæ=0,6∙tìèí+0,4∙tìàêñ,
(28)
ãäå tîæ - îæèäàåìàÿ
ïðîäîëæèòåëüíîñòü
ðàáîòû, äí.;ìèí
- ìèíèìàëüíàÿ
ïðîäîëæèòåëüíîñòü
ðàáîòû, äí.;ìàêñ
- ìàêñèìàëüíàÿ
ïðîäîëæèòåëüíîñòü
ðàáîòû, äí.
Ñ äàëüíåéøèì
îêðóãëåíèåì
äî áëèæàéøåãî
öåëîãî ÷èñëà.
Ïðè ýòîì ïðåäïîëàãàåòñÿ,
÷òî ìèíèìàëüíàÿ
îöåíêà ñîîòâåòñòâóåò
íàèáîëåå áëàãîïðèÿòíûì
óñëîâèÿì ðàáîòû,
à ìàêñèìàëüíàÿ
- íàèáîëåå íåáëàãîïðèÿòíûì.
Ñðåäíåêâàäðàòè÷åñêîå
îòêëîíåíèå ïðîäîëæèòåëüíîñòè
ïî äâóõ îöåíî÷íîé
ìåòîäèêå ðàññ÷èòûâàåòñÿ
ïî ôîðìóëå:
δ=0,2∙(tìàêñ - tìèí),
(29)
Äèñïåðñèÿ îïðåäåëÿåòñÿ
ïî ôîðìóëå:
=0,04∙(tìàêñ - tìèí)2,
(30)
Âñå ðàáîòû ïî
ïðîåêòó îñóùåñòâëÿåò
ãðóïïà â ñîñòàâå:
Ðóêîâîäèòåëü
- 1 ÷åëîâåê; Òåõíèê
- 1 ÷åëîâåê; Èíæåíåð
- 1 ÷åëîâåê.
Îïèñàíèå ðàáîò,
èõ ïðîäîëæèòåëüíîñòè,
íåîáõîäèìîå
êîëè÷åñòâî èñïîëíèòåëåé
ïî êàæäîé èç íèõ,
à òàêæå ñðåäíåêâàäðàòè÷íîå
îòêëîíåíèå è
äèñïåðñèÿ ïðèâåäåíû
â òàáëèöå 5.
Òàáëèöà 5 - Ïåðå÷åíü
è ïàðàìåòðû ðàáîò
ñåòåâîãî ãðàôèêà
|
Êîä ðàáîòû
|
Íàèìåíîâàíèå
ðàáîòû
|
Ïðîäîëæè-
òåëüíîñòü, äí.
|
Èñïîëíèòåëè,
÷åë.
|
ìàêñ
|
îæ
|
Ðóêîâîäèòåëü
|
Èíæåíåð
|
Òåõíèê
|
|
0,1
|
Ðàçðàáîòêà
è óòâåðæäåíèå
ÒÇ íà ïðîåêòèðîâàíèå
ïðèáîðà êîíòðîëÿ
ïîñòîâîé îõðàíû
|
4
|
5
|
4
|
1
|
1
|
0
|
|
1,2
|
Àíàëèç
ÒÇ
|
3
|
5
|
4
|
1
|
1
|
0
|
|
2,3
|
Ñîñòàâëåíèå
ãðàôèêà ñåòåâîãî
ïëàíèðîâàíèÿ
|
1
|
3
|
2
|
1
|
1
|
0
|
|
3,4
|
Ñáîð
èíôîðìàöèè ïî
ñóùåñòâóþùèì
ðåøåíèÿì
|
7
|
8
|
7
|
0
|
1
|
1
|
|
3,5
|
Ïîäáîð
ëèòåðàòóðû ïî
áåçîïàñíîñòè
æèçíåäåÿòåëüíîñòè
|
4
|
6
|
5
|
0
|
1
|
1
|
|
3,6
|
Ñîñòàâëåíèå
ñòðóêòóðíîé
ñõåìû ïðèáîðà
|
3
|
6
|
4
|
1
|
1
|
1
|
|
4,7
|
Ðàñ÷åò
òåõíèêî-ýêîíîìè÷åñêèõ
ïîêàçàòåëåé
|
3
|
5
|
4
|
1
|
1
|
0
|
|
5,8
|
Ðàñ÷¸ò
ïîêàçàòåëåé
íà䏿íîñòè ïðèáîðà
|
2
|
4
|
3
|
1
|
1
|
0
|
|
6,9
|
Ðàçðàáîòêà
ïðèíöèïèàëüíîé
ýëåêòðè÷åñêîé
ñõåìû
|
5
|
7
|
5
|
0
|
1
|
0
|
|
7, 10
|
Ïîèñê
ãîòîâûõ êîðïóñîâ,
è âûáîð
|
2
|
4
|
3
|
1
|
1
|
1
|
|
8, 10
|
Ðàçðàáîòêà
ñõåìû ïðîãðàììû
äëÿ ìèêðîêîíòðîëëåðà
|
4
|
4
|
5
|
0
|
1
|
0
|
|
9, 10
|
Êîìïàíîâêà
ðàäèîýëåìåíòîâ
íà ïëàòå
|
7
|
10
|
8
|
1
|
1
|
1
|
|
10,11
|
Ðàçðàáîòêà
ðèñóíêà ïå÷àòíîé
ïëàòû
|
3
|
4
|
3
|
1
|
1
|
0
|
|
10,12
|
Ðàçðàáîòêà
ìîíòàæíîé ñõåìû
|
3
|
4
|
3
|
1
|
1
|
1
|
|
11,13
|
Âûáîð
GSM àíòåííû
|
1
|
3
|
2
|
1
|
1
|
1
|
|
12,13
|
Äîðàáîòêà
êîðïóñà
|
1
|
2
|
3
|
0
|
1
|
1
|
|
13,14
|
Ìîíòàæ
ðàäèîýëåìåíòîâ
|
4
|
4
|
5
|
0
|
0
|
1
|
|
14,15
|
Ðàçðàáîòêà
ïðîãðàììû ìèêðîêîíòðîëëåðà
|
4
|
6
|
5
|
0
|
1
|
1
|
|
14,16
|
Ðàçðàáîòêà
ðóêîâîäñòâà
îïåðàòîðà
|
5
|
8
|
6
|
1
|
1
|
1
|
|
15,19
|
Îòëàäêà
ïðîãðàììû ïóëüòà
|
3
|
5
|
4
|
0
|
1
|
1
|
|
16,17
|
Àíàëèç
ïîëó÷åííûõ ðåçóëüòàòîâ
|
1
|
2
|
1
|
1
|
1
|
1
|
|
17,18
|
Îôîðìëåíèå
ãðàôè÷åñêîé
è òåêñòîâîé äîêóìåíòàöèè
|
14
|
15
|
16
|
1
|
1
|
0
|
|
18,19
|
Çàùèòà
ïðîåêòà
|
1
|
1
|
1
|
0
|
1
|
0
|
|
|
|
|
|
|
|
|
|
|
9.3 Ðàñ÷åò ïàðàìåòðîâ
ñîáûòèé ñåòåâîãî
ãðàôèêà
Âàæíåéøèìè
ïàðàìåòðàìè
ëþáîé ñåòåâîé
ìîäåëè ÿâëÿþòñÿ
ðàííèå è ïîçäíèå
ñðîêè íàñòóïëåíèÿ
åå ñîáûòèé.
Ðàííèé ñðîê
ñâåðøåíèÿ èñõîäíîãî
(íóëåâîãî) ñîáûòèÿ
ÑÃ ïðèíèìàåòñÿ
ðàâíûì íóëþ. Ðàííèé
ñðîê ñâåðøåíèÿ
äàííîãî ïðîìåæóòî÷íîãî
ñîáûòèÿ ðàññ÷èòûâàåòñÿ
ïóòåì ñðàâíåíèÿ
ñóìì, ñîñòîÿùèõ
èç ðàííåãî ñðîêà
ñâåðøåíèÿ ñîáûòèÿ,
íåïîñðåäñòâåííî
ïðåäøåñòâóþùåãî
äàííîìó è äëèòåëüíîñòè
ðàáîòû.
Ðàñ÷åò ðàííåãî
ñðîêà (Òpj) íàñòóïëåíèÿ
ñîáûòèÿ j âåäåòñÿ
ïî ñëåäóþùåé
ôîðìóëå:
Òpj = max { Òpi + tij } , j Î Ê , i Î H (j),
(31)
ãäå Í (j) - ìíîæåñòâî
íà÷àëüíûõ ñîáûòèé
òåõ ðàáîò, êîòîðûå
èìåþò ñâîèì
êîíå÷íûì ñîáûòèåì
îäíî è òî æå ñîáûòèå
j ;
Ê - ìíîæåñòâî
êîíå÷íûõ ñîáûòèé
ñåòåâîãî ãðàôèêà,
êîòîðîå âêëþ÷àåò
âñå ñîáûòèÿ
ñåòåâîãî ãðàôèêà,
êðîìå èñõîäíîãî.
Ðàññ÷èòàííûé
òàêèì ñïîñîáîì
ðàííèé ñðîê ñâåðøåíèÿ
çàâåðøàþùåãî
ñîáûòèÿ âñåãî
ÑÃ ïðèíèìàåòñÿ
â êà÷åñòâå åãî
æå ïîçäíåãî ñðîêà
ñâåðøåíèÿ. Ýòî
îçíà÷àåò, ÷òî
çàâåðøàþùåå
ñîáûòèå ÑÃ íèêàêèì
ðåçåðâîì âðåìåíè
íå ðàñïîëàãàåò.
Ïîçäíèé ñðîê
ñâåðøåíèÿ äàííîãî
ïðîìåæóòî÷íîãî
ñîáûòèÿ îïðåäåëÿåòñÿ
ïðè ïðîñìîòðå
ÑÃ â îáðàòíîì
íàïðàâëåíèè.
Äëÿ ýòîãî ñîïîñòàâëÿþòñÿ
ðàçíîñòè ìåæäó
ïîçäíèì ñðîêîì
ñâåðøåíèÿ ñîáûòèÿ,
íåïîñðåäñòâåííî
ñëåäóþùåãî çà
äàííûì, è ïðîäîëæèòåëüíîñòè
ðàáîòû, ñîåäèíÿþùåé
ñîîòâåòñòâóþùåå
ñîáûòèå ñ äàííûì.
Ðàñ÷åò ïîçäíåãî
ñðîêà (Òïi) íàñòóïëåíèÿ
ñîáûòèÿ i âåäåòñÿ
ïî ñëåäóþùåé
ôîðìóëå:
Òïi = min { Òïj - tij } ,i Î H,j Î Ê (i) (32)
ãäå Ê (i) - ìíîæåñòâî
êîíå÷íûõ ñîáûòèé
òåõ ðàáîò, êîòîðûå
èìåþò ñâîèì íà÷àëüíûì
ñîáûòèåì îäíî
è òî æå ñîáûòèå
i ;- ìíîæåñòâî âî
âñåõ íà÷àëüíûõ
ñîáûòèé ñåòåâîãî
ãðàôèêà, êîòîðîå
âñå ñîáûòèÿ ñåòåâîãî
ãðàôèêà, êðîìå
çàâåðøàþùåãî.
Ðåçåðâ âðåìåíè
îáðàçóåòñÿ ó
òåõ ñîáûòèé,
äëÿ êîòîðûõ ïîçäíèé
ñðîê ñâåðøåíèÿ
áîëüøå ðàííåãî,
è îí ðàâåí èõ ðàçíîñòè.
Ðåçóëüòàòû ðàñ÷åòîâ
ïðåäñòàâëåíû
â òàáëèöå 6.
Òàáëèöà 6 - Ïàðàìåòðû
ñîáûòèé ñåòåâîãî
ãðàôèêà
|
¹ ñîáûòèÿ
|
Ñðîê
ñâåðøåíèÿ
|
Ðåçåðâ
âðåìåíè
|
¹ ñîáûòèÿ
|
Ñðîê
ñâåðøåíèÿ
|
Ðåçåðâ
âðåìåíè
|
|
ðàííèé
|
ïîçäíèé
|
|
|
ðàííèé
|
ïîçäíèé
|
|
|
0
|
0
|
0
|
0
|
10
|
29
|
29
|
0
|
|
1
|
4
|
4
|
0
|
11
|
32
|
32
|
0
|
|
2
|
7
|
7
|
0
|
12
|
32
|
33
|
1
|
|
3
|
10
|
10
|
0
|
13
|
34
|
34
|
0
|
|
4
|
18
|
23
|
5
|
14
|
38
|
38
|
0
|
|
5
|
15
|
19
|
4
|
15
|
43
|
60
|
17
|
|
6
|
15
|
15
|
0
|
16
|
44
|
44
|
0
|
|
7
|
21
|
26
|
5
|
17
|
45
|
45
|
0
|
|
8
|
17
|
21
|
4
|
18
|
63
|
63
|
0
|
|
9
|
21
|
21
|
0
|
19
|
64
|
64
|
0
|
9.4 Ðàñ÷åò ïàðàìåòðîâ
ðàáîò ñåòåâîãî
ãðàôèêà
Âàæíåéøèìè
ïàðàìåòðàìè
ëþáîé ñåòåâîé
ìîäåëè ÿâëÿþòñÿ
ðàííèå è ïîçäíèå
ñðîêè íà÷àëà
è îêîí÷àíèÿ åãî
ðàáîò, ïî êîòîðûì
îïðåäåëÿåì ðåçåðâû
âðåìåíè: ïîëíûé,
÷àñòíûå 1-ãî è
2-ãî ðîäà, ñâîáîäíûé.
Ðàííèé ñðîê
íà÷àëà ðàáîòû
Òðíij ñîâïàäàåò
ñ ðàííèì ñðîêîì
ñâåðøåíèÿ åå
íà÷àëüíîãî ñîáûòèÿ:
Òðíij=Tpj (33)
Ïîçäíèé ñðîê
íà÷àëà ðàáîòû
Òïíij ðàâåí ðàçíîñòè
ìåæäó ïîçäíèì
ñðîêîì ñâåðøåíèÿ
åå êîíå÷íîãî
ñîáûòèÿ è îæèäàåìîé
ïðîäîëæèòåëüíîñòè
ðàáîòû:
Òïíij=Tïj - tij (34)
Ðàííèé ñðîê
îêîí÷àíèÿ ðàáîòû
Tpoij îáðàçóåòñÿ
ïðèáàâëåíèåì
åå ïðîäîëæèòåëüíîñòè
ê ðàííåìó ñðîêó
ñâåðøåíèÿ åå
íà÷àëüíîãî ñîáûòèÿ:
= Tpij+ tij, (35)
Ïîçäíèé ñðîê
îêîí÷àíèÿ ðàáîòû
Òïîij ñîâïàäàåò
ñ ïîçäíèì ñðîêîì
ñâåðøåíèÿ åå
êîíå÷íîãî ñîáûòèÿ:
Òïîij=Tïj, (36)
Ðàáîòû, íå ëåæàùèå
íà êðèòè÷åñêîì
ïóòè, îáëàäàþò
ðåçåðâàìè âðåìåíè.
Ïîëíûé ðåçåðâ
âðåìåíè ðàáîòû
Rïij îáðàçóåòñÿ
âû÷èòàíèåì èç
ïîçäíåãî ñðîêà
ñâåðøåíèÿ åå
êîíå÷íîãî ñîáûòèÿ
ðàííåãî ñðîêà
ñâåðøåíèÿ åå
íà÷àëüíîãî ñîáûòèÿ
è åå îæèäàåìîé
ïðîäîëæèòåëüíîñòè:
ïij=Tïj - Tði - tij, (37)
×àñòíûé ðåçåðâ
âðåìåíè ïåðâîãî
ðîäà R1ïij ðàâåí ðàçíîñòè
ïîçäíèõ ñðîêîâ
ñâåðøåíèÿ åå
êîíå÷íîãî è íà÷àëüíîãî
ñîáûòèé çà âû÷åòîì
åå îæèäàåìîé
ïðîäîëæèòåëüíîñòè:
R1ïij=Tïj - Tïi - tij,
(38)
×àñòíûé ðåçåðâ
âðåìåíè âòîðîãî
ðîäà R2ïij ðàâåí ðàçíîñòè
ðàííèõ ñðîêîâ
ñâåðøåíèÿ åå
êîíå÷íîãî è íà÷àëüíîãî
ñîáûòèé çà âû÷åòîì
åå îæèäàåìîé
ïðîäîëæèòåëüíîñòè:
R2ïij=Tðj - Tði - tij, (39)
Ñâîáîäíûé ðåçåðâ
âðåìåíè ðàáîòû
Rcij îáðàçóåòñÿ âû÷èòàíèåì
èç ðàííåãî ñðîêà
ñâåðøåíèÿ åå
êîíå÷íîãî ñîáûòèÿ
ïîçäíåãî ñðîêà
ñâåðøåíèÿ åå
íà÷àëüíîãî ñîáûòèÿ
è åå îæèäàåìîé
ïðîäîëæèòåëüíîñòè:
Rcij=Tpj - Tïi - tij, (40)
Ïðàâèëüíîñòü
ðàñ÷åòà ðåçåðâîâ
âðåìåíè ðàáîòû
ïðîâåðÿåì ïî ñëåäóþùèì
ñîîòíîøåíèÿì:
à) ñóììà ïîëíîãî
è ñâîáîäíîãî
ðåçåðâà âðåìåíè
ðàáîòû ðàâíà
ñóììå äâóõ ÷àñòíûõ
åå ðåçåðâîâ;
á) ïîçäíèé è ðàííèé
ñðîêè íà÷àëà
ðàáîòû, à òàêæå
ïîçäíèé è ðàííèé
ñðîêè îòëè÷àþòñÿ
íà âåëè÷èíó åå
ïîëíîãî ðåçåðâà.
Äëÿ ðàáîò, ëåæàùèõ
íà êðèòè÷åñêîì
ïóòè, íèêàêèõ
ðåçåðâîâ íåò è,
ñëåäîâàòåëüíî,
êîýôôèöèåíò
íàïðÿæåííîñòè
Êíij òàêèõ ðàáîò
ðàâåí åäèíèöå.
Åñëè ðàáîòà íå
ëåæèò íà êðèòè÷åñêîì
ïóòè, îíà ðàñïîëàãàåò
ðåçåðâàìè âðåìåíè
è åå êîýôôèöèåíò
íàïðÿæåííîñòè
ìåíüøå åäèíèöû.
Åãî âåëè÷èíà
ïîäñ÷èòûâàåòñÿ
êàê îòíîøåíèå
ñóììû ïðîäîëæèòåëüíîñòåé
îòðåçêîâ ìàêñèìàëüíîãî
ïóòè, ïðîõîäÿùåãî
÷åðåç äàííóþ
ðàáîòó, íå ñîâïàäàþùèõ
ñ êðèòè÷åñêèì
ïóòåì, ê ñóììå
ïðîäîëæèòåëüíîñòåé
îòðåçêîâ êðèòè÷åñêîãî
ïóòè, íå ñîâïàäàþùèõ
ñ ìàêñèìàëüíûì
ïóòåì, ïðîõîäÿùèì
÷åðåç ýòó ðàáîòó.
 çàâèñèìîñòè
îò êîýôôèöèåíòà
íàïðÿæåííîñòè
âñå ðàáîòû ïîïàäàþò
â îäíó èç 3-õ çîí
íàïðÿæåííîñòè:
à) êðèòè÷åñêóþ
Êíij > 0.8
á) ïðîìåæóòî÷íóþ
0.5 £ Êíij £ 0.8
â) ðåçåðâíóþ Êíij
< 0.5
Ðåçóëüòàòû ðàñ÷åòîâ
ïàðàìåòðîâ ðàáîò
ñåòåâîãî ãðàôèêà
ñâåäåíû â òàáëèöó
7.
Òàáëèöà 7 - Ïàðàìåòðû
ðàáîò ñåòåâîãî
ãðàôèêà
|
Êîä ðàáîòû
|
Îæèä.
ïðîä-òü, äí.
|
Ñðîê
íà÷àëà, äí.
|
Ñðîê
îêîí÷àíèÿ, äí.
|
Ðåçåðâû
âðåìåíè, äí
|
Êîýôô.
íàïð.
|
|
|
ðàííèé
|
ïîçä-íèé
|
ðàííèé
|
ïîçä-íèé
|
ïîë-íûé
|
÷àñò-íûé
1-ãî ðîäà
|
÷àñò-íûé
2-ãî ðîäà
|
ñâîáîäíûé
|
|
|
0,1
|
4
|
0
|
0
|
4
|
4
|
0
|
0
|
0
|
0
|
1
|
|
1,2
|
3
|
4
|
4
|
7
|
0
|
0
|
0
|
0
|
1
|
|
2,3
|
3
|
7
|
7
|
7
|
10
|
0
|
0
|
0
|
0
|
1
|
|
3,4
|
8
|
10
|
15
|
18
|
23
|
5
|
0
|
0
|
-5
|
0,74
|
|
3,5
|
5
|
10
|
14
|
15
|
19
|
4
|
0
|
0
|
-4
|
0,79
|
|
3,6
|
5
|
10
|
10
|
15
|
15
|
0
|
0
|
0
|
0
|
1
|
|
4,7
|
3
|
18
|
23
|
21
|
26
|
5
|
0
|
0
|
-5
|
0,74
|
|
5,8
|
2
|
15
|
19
|
17
|
21
|
4
|
0
|
0
|
-4
|
0,79
|
|
8, 10
|
8
|
17
|
21
|
25
|
29
|
4
|
0
|
0
|
-4
|
0,79
|
|
6,9
|
6
|
15
|
15
|
21
|
21
|
0
|
0
|
0
|
0
|
1
|
|
7, 10
|
3
|
21
|
26
|
24
|
29
|
5
|
0
|
0
|
-5
|
0,74
|
|
9, 10
|
8
|
21
|
21
|
29
|
29
|
0
|
0
|
0
|
0
|
1
|
|
10,11
|
3
|
29
|
29
|
32
|
32
|
0
|
0
|
0
|
0
|
1
|
|
10,12
|
3
|
29
|
30
|
32
|
33
|
1
|
0
|
0
|
-1
|
0,8
|
|
11,13
|
2
|
32
|
32
|
34
|
34
|
0
|
0
|
0
|
0
|
1
|
|
12,13
|
1
|
32
|
33
|
33
|
34
|
1
|
0
|
0
|
-1
|
0,8
|
|
13,14
|
4
|
34
|
35
|
37
|
38
|
0
|
0
|
0
|
0
|
1
|
|
14,16
|
6
|
38
|
38
|
44
|
44
|
0
|
0
|
0
|
0
|
1
|
|
16,17
|
1
|
44
|
44
|
45
|
45
|
0
|
0
|
0
|
0
|
1
|
|
17,18
|
18
|
45
|
45
|
63
|
63
|
0
|
0
|
0
|
0
|
1
|
|
18,19
|
1
|
63
|
63
|
64
|
64
|
0
|
0
|
0
|
0
|
1
|
Êîëè÷åñòâî
ñîáûòèé nc=19
Êîëè÷åñòâî
ðàáîò np=24
Êîýôôèöèåíò
ñëîæíîñòè ÑÃ,
ðàâíûé îòíîøåíèþ
êîëè÷åñòâà ðàáîò
ê êîëè÷åñòâó
ñîáûòèé â ÑÃ
- 1,26.
9.5 Ðàñ÷åò ïðåäïðîèçâîäñòâåííûõ
çàòðàò íà ðåàëèçàöèþ
ìåðîïðèÿòèé ÍÈÎÊÐ
Äëÿ ðàñ÷åòà ñìåòû
çàòðàò ïî ïðîâåäåíèþ
ÍÈÎÊÐ íåîáõîäèìî
îïðåäåëèòü êîëè÷åñòâî
èñïîëíèòåëåé,
òðóäîåìêîñòü
ðàáîò, ìàòåðèàëüíûå
çàòðàòû è äð. Ñîãëàñíî
ñåòåâîìó ãðàôèêó
äëÿ âûïîëíåíèÿ
ðàáîòû òðåáóåòñÿ
òðè ÷åëîâåêà.
Äëÿ ðàñ÷åòà ïðåäïðîèçâîäñòâåííûõ
çàòðàò íà ïðîâåäåíèå
ÍÈÐ íóæíî ðàññ÷èòàòü
ñëåäóþùèå ñòàòüè
çàòðòàò:
Ìàòåðèàëû;
Êîíòðàãåíòñêèå
ðàñõîäû;
Ïîêóïíûå èçäåëèÿ,
ïîëóôàáðèêàòû
è ñïåöèàëüíîå
îáîðóäîâàíèå;
Çàðàáîòíàÿ
ïëàòà è îò÷èñëåíèÿ
ñ çàðàáîòíîé
ïëàòû;
Íàêëàäíûå ðàñõîäû.
Çàòðàòû ïî ñòàòüå
«Ìàòåðèàëû » ñâåäåíû
â òàáëèöó 8.
Òàáëèöà 8 - Çàòðàòû
ïî ñòàòüå «Ìàòåðèàëû»
|
Íàèìåíîâàíèå
|
Åäèíèöà
èçìåðåíèÿ
|
Öåíà
çà åäèíèöó, ðóá.
|
Êîë-âî
|
Ñòîèìîñòü,
ðóá.
|
|
Ðó÷êà
|
øò.
|
3,00
|
2
|
6,00
|
|
Òåòðàäü
|
øò.
|
10,00
|
1
|
10,00
|
|
Êàðàíäàø
|
øò.
|
3,00
|
2
|
6,00
|
|
Ñïèðò
ãèäðîëèçíûé
Á ÃÎÑÒ11299-71
|
êã
|
100,0
|
0,1
|
10
|
|
Âàòìàí
|
øò.
|
6,00
|
10
|
60.00
|
|
Áóìàãà
ïèñ÷àÿ
|
óïàêîâêà
|
60,00
|
1
|
60,00
|
|
Áóìàãà
äëÿ ïðèíòåðà
|
óïàêîâêà
|
130,00
|
1
|
130,00
|
|
Ñòåêëîòåêñòîëèò
ÑÔ-2-35Ã-1 ÒÓ 16-503.271-86
|
Ëèñò
|
1200,00
|
0,1
|
120,00
|
|
Êàíèôîëü
ÎÑÒ81-07
|
Óïàêîâêà
|
20,00
|
1
|
20,00
|
|
Ïðèïîé
ÏÎÑ61 ÃÎÑÒ21931-76
|
êã
|
1000
|
0,1
|
100,00
|
|
Èòîãî:
|
462
|
|
|
|
|
|
|
|
|
 ñòàòüþ «êîíòðàãåíòñêèå
ðàñõîäû» âêëþ÷àåòñÿ
ñòîèìîñòü ðàáîò,
âûïîëíÿåìûå ñòîðîííèìè
îðãàíèçàöèÿìè
è ïðåäïðèÿòèÿìè
ïî çàêàçó îðãàíèçàöèè,
ïðîâîäÿùåé ÍÈÐ.
 íàøåì ñëó÷àå
òàêèìè ðàñõîäàìè
ÿâëÿþòñÿ çàêàç
èçãîòîâëåíèÿ
ïå÷àòíûõ ïëàò.
 òàáëèöå 9 ïðåäñòàâëåí
ðàñ÷åò çàòðàò
ïî ñòàòüå «Êîíòðàãåíòñêèå
ðàñõîäû».
Òàáëèöà 9 - Êîíòðàãåíòñêèå
ðàñõîäû
|
Íàèìåíîâàíèå
ðàáîòû
|
Åäèíèöû
èçìåðåíèÿ
|
Öåíà
çà åäèíèöó, ðóá.
|
Êîë-âî
|
Ñòîèìîñòü,
ðóá.
|
|
Èçãîòîâëåíèå
ïå÷àòíîé ïëàòû
|
Øòóêà
|
500
|
1
|
500
|
|
Èòîãî:
|
500
|
Îáû÷íî â ñòàòüþ
«Çàðàáîòíàÿ ïëàòà»
âêëþ÷àåòñÿ îñíîâíàÿ
çàðàáîòíàÿ ïëàòà
(Çîñí) íàó÷íûõ
è èíæåíåðíî-òåõíè÷åñêèõ
ðàáîòíèêîâ, íåïîñðåäñòâåííî
ó÷àñòâóþùèõ
â âûïîëíåíèè
ðàáîò ïî äàííîé
òåìå. Â ýòó æå
ñòàòüþ âêëþ÷àåòñÿ
äîïëàòà ïî ïîÿñíîìó
êîýôôèöèåíòó
(ÇÏïê) 15% îò îñíîâíîé
çàðàáîòíîé ïëàòû
è ïðåìèè (ÇÏïð)
- 20% îò (Çîñí+ ÇÏïê).
Âåëè÷èíà ðàñõîäîâ
ïî çàðàáîòíîé
ïëàòå îïðåäåëÿåòñÿ,
èñõîäÿ èç òðóäîåìêîñòè
ðàáîò ñåòåâîãî
ãðàôèêà è äåéñòâóþùåé
ñèñòåìû îêëàäîâ
è òàðèôíûõ ñòàâîê.
 íàøåì ñëó÷àå
îïëàòà ïðîèçâîäèòñÿ
íà êîíòðàêòíîé
îñíîâå, ïîýòîìó
â ðàñ÷åòàõ îòñóòñòâóþò
ïîÿñíîé êîýôôèöèåíò
è ïðåìèÿ.
Ïðÿìóþ çàðàáîòíóþ
ïëàòó ðàññ÷èòûâàåì
ïî ôîðìóëå:
, (41)
ãäå Ti - òðóäîåìêîñòü
ðàáîò, ÷åë×äí;- ÷àñîâàÿ
òàðèôíàÿ ñòàâêà,
ðóá/÷àñ.
Ðàñ÷åò çàðàáîòíîé
ïëàòû ïðåäñòàâëåí
â òàáëèöå 10.
Òàáëèöà 10 - Ðàñ÷åò
çàðàáîòíîé ïëàòû
|
Èñïîëíèòåëü
|
×àñîâàÿ
òàðèôíàÿ ñòàâêà,
ðóá.
|
Òðóäîåìêîñòü,
÷åë./äí.
|
Çàð.ïëàòà,
ðóá.
|
|
Ðóêîâîäèòåëü
|
120
|
65
|
7800
|
|
Òåõíèê
|
80
|
102
|
8160
|
|
Èíæåíåð
|
90
|
78
|
7020
|
|
Èòîãî:
|
22980
|
Âàæíîé ÷àñòüþ
ïðè ðàñ÷åòå ïëàíîâîé
ñåáåñòîèìîñòè
ÿâëÿþòñÿ ïëàíîâûå
îò÷èñëåíèÿ íà
ñîöèàëüíûå íóæäû
è â áþäæåò, êîòîðûå
ïðåäñòàâëåíû
â òàáëèöå 11.
Òàáëèöà 11 - Çàòðàòû
ïî ñòàòüå «Îò÷èñëåíèÿ
ñ çàðàáîòíîé
ïëàòû»
|
Ñòàòüÿ
îò÷èñëåíèÿ
|
% îò çàðàáîòíîé
ïëàòû
|
Ñóììà,
ðóá.
|
|
Îò÷èñëåíèÿ
íà ñîöñòðàõîâàíèå
|
34
|
5975
|
Ðàñøèôðîâêà
çàòðàò ïî ñòàòüå
«Êîìïëåêòóþùèå»
ïðåäñòàâëåíà
â òàáëèöå 12.
Òàáëèöà 12 - Çàòðàòû
ïî ñòàòüå «Êîìïëåêòóþùèå»
|
Íàèìåíîâàíèå
èçäåëèé
|
Öåíà
åäèí,ðóá.
|
Êîëè÷åñòâî,
øò.
|
Ñóììà,
ðóá.
|
|
ATMEGA8-8PU
|
140,0
|
1
|
140,0
|
|
SIM300DZ
|
1020
|
1
|
1020,0
|
|
TDA2003
|
20
|
1
|
20,0
|
|
BCR108
|
1.5
|
4
|
|
×èï-ðåçèñòîðû
1206
|
0,5
|
23
|
11,5
|
|
ÊÐ142ÅÍ5
|
15
|
1
|
15
|
|
LM1085
|
80
|
1
|
80
|
|
Êâàðöåâûé
ðåçîíàòîð JTTCC-4ÌÃö
|
5
|
1
|
5
|
|
LM358P
|
15
|
1
|
15
|
|
Êîíäåíñàòîðû
|
19
|
1,5
|
28,5
|
|
Êîðïóñ
|
150
|
1
|
150
|
|
ICA-501-006
|
15
|
1
|
15
|
|
ST-222
|
5
|
1
|
5
|
|
Ì3 ×
6.58.039
|
0,1
|
4
|
0,4
|
|
Èòîãî:
|
|
|
1562
|
Çàòðàò íà ñïåöîáîðóäîâàíèå
äëÿ äàííûõ ðàáîò
íåò, òàê êàê ñïåöîáîðóäîâàíèå
äëÿ äàííîé ðàáîòû
íå ïðèîáðåòàëîñü.
Íàêëàäíûå ðàñõîäû,
âêëþ÷àþùèå çàòðàòû
íà óïðàâëåíèå
è õîçÿéñòâåííîå
îáñëóæèâàíèå,
êîòîðûå íå ìîãóò
áûòü îòíåñåíû
ïðÿìûì ñ÷åòîì
íà êîíêðåòíóþ
òåìó ñîñòàâëÿþò
5% îò ñóììû çàòðàò
ïî ïðåäûäóùèì
ñòàòüÿì. Ñìåòà
çàòðàò ñâåäåíà
â òàáëèöó 13.
Òàáëèöà 13 - Çàòðàòû
íà ÍÈÎÊÐ
|
Íàèìåíîâàíèå
ñòàòüè çàòðàò
|
Ñóììà,
ðóá.
|
|
Ìàòåðèàëû
|
462
|
|
Êîíòðàãåíòñêèå
ðàñõîäû
|
500
|
|
Çàðàáîòíàÿ
ïëàòà
|
22980
|
|
Îò÷èñëåíèÿ
íà ñîöñòðàõîâàíèå
|
5975
|
|
Êîìïëåêòóþùèå
|
1562
|
|
Íàêëàäíûå
ðàñõîäû
|
8185
|
|
Èòîãî:
|
39664
|
9.6 Ðàñ÷åò òåêóùèõ
çàòðàò íà ñòàäèè
åäèíè÷íîãî ïðîèçâîäñòâà
Ðàñ÷åò òåêóùèõ
çàòðàò áóäåì
ïðîèçâîäèòü äëÿ
äàííîãî âûïóñêà
ïðîäóêöèè. Ïëàíèðóåòñÿ
âûïóñòèòü N=100 èçäåëèé.
Çàòðàòû íà îñíîâíûå
ìàòåðèàëû è êîìïëåêòóþùèå
ðàññ÷èòàåì ïî
äàííûì òàáëèöàì
8 è 12 óìíîæåíèåì
íà ïðîãðàììó
âûïóñêà ïðîäóêöèè
N=100 øò.
Ðàñõîäû íà òîïëèâî
è ýíåðãèþ íà òåõíîëîãè÷åñêèå
öåëè ðàññ÷èòûâàåì
èç óñëîâèÿ, ÷òî
â ÷àñ íà äàííîì
ïðåäïðèÿòèè òðàòèòñÿ
â ñðåäíåì 2 êÂò
ýëåêòðîýíåðãèè,
ñòîèìîñòü êîòîðîé
3,94 ðóá. Óìíîæèâ
ñòîèìîñòü ýëåêòðîýíåðãèè
â ÷àñ íà âðåìÿ,
çàòðà÷åííîå
íà ñáîðêó è íàëàäêó
âñåõ èçäåëèé,
ïîëó÷èì íåîáõîäèìûå
çàòðàòû íà ýëåêòðîýíåðãèþ.
Äëÿ ðåàëèçàöèè
ïðîãðàììû âûïóñêà
èçäåëèÿ íà ïðåäïðèÿòèè
íåîáõîäèìî îðãàíèçîâàòü
îäíî ðàáî÷åå
ìåñòî òåõíèêà
- ñáîðùèêà. ×àñîâàÿ
òàðèôíàÿ ñòàâêà
ðàáî÷åãî ñîñòàâëÿåò
80 ðóá./÷àñ. Ñáîðêà
îäíîãî èçäåëèÿ
çàíèìàåò 2 ÷àñà.
Ïðÿìàÿ çàðàáîòíàÿ
ïëàòà ðàâíà ïðîèçâåäåíèþ
ñòàâêè ðàáî÷åãî
íà êîëè÷åñòâî
÷àñîâ, çàòðà÷åííûõ
íà ïðîèçâîäñòâî
èçäåëèé.
Ôîíä îñíîâíîé
çàðàáîòíîé ïëàòû
îïðåäåëÿåòñÿ
êàê ñóììà ïðÿìîé
çàðàáîòíîé ïëàòû,
äîïëàòû ïî ïîÿñíîìó
êîýôôèöèåíòó,
ïðåìèè. Äîïëàòû
ïî ïîÿñíîìó êîýôôèöèåíòó
ñîñòàâëÿþò 15% îò
ïðÿìîé çàðàáîòíîé
ïëàòû. Ïðåìèè
ñîñòàâëÿþò 20% îò
ñóììû ïðÿìîé
çàðàáîòíîé ïëàòû
è äîïëàòû ïî ïîÿñíîìó
êîýôôèöèåíòó.
Äîïîëíèòåëüíàÿ
çàðàáîòíàÿ ïëàòà
ïðîèçâîäñòâåííûõ
ðàáî÷èõ ñîñòàâëÿåò
14,5% îò ôîíäà îñíîâíîé
çàðàáîòíîé ïëàòû.
Ðàñõîäû íà ïîäãîòîâêó
ïðîèçâîäñòâà
ñîñòàâëÿþò 5% îò
ôîíäà îñíîâíîé
çàðàáîòíîé ïëàòû.
Èçíîñ èíñòðóìåíòà
è ñïåöèàëüíûå
ðàñõîäû ñîñòàâëÿþò
10% îò ôîíäà îñíîâíîé
çàðàáîòíîé ïëàòû.
Öåõîâûå ðàñõîäû
ïðèíÿòû èñõîäÿ
èç îïûòà ðàáîòû
ïðåäïðèÿòèÿ â
ðàçìåðå 80% îò îñíîâíîé
çàðàáîòíîé ïëàòû
ïðîèçâîäñòâåííûõ
ðàáî÷èõ. Îáùåçàâîäñêèå
ðàñõîäû ñîñòàâëÿþò
65% îò ôîíäà îñíîâíîé
çàðàáîòíîé ïëàòû
ïðîèçâîäñòâåííûõ
ðàáî÷èõ. Ïðî÷èå
ïðîèçâîäñòâåííûå
ðàñõîäû ñîñòàâëÿþò
0,7% îò îñíîâíîé
çàðàáîòíîé ïëàòû.
Âíåïðîèçâîäñòâåííûå
ðàñõîäû ñîñòàâëÿþò
0,45% îò âåëè÷èíû
ïðîèçâîäñòâåííîé
ñåáåñòîèìîñòè.
Òåêóùèå çàòðàòû
íà ñòàäèè åäèíè÷íîãî
ïðîèçâîäñòâà
ñâåäåíû â òàáëèöó
14.
Òàáëèöà 14 - Çàòðàòû
íà ñòàäèè åäèíè÷íîãî
ïðîèçâîäñòâà
|
Íàèìåíîâàíèå
|
Îáîçí.
|
Ñóììà,ðóá.
|
|
Ñûðüå
è ìàòåðèàëû
|
Ðì
|
46200
|
|
Êîìïëåêòóþùèå
èçäåëèÿ
|
Ðêîìïë
|
156200
|
|
Ýíåðãèÿ
íà òåõíîëîãè÷åñêèå
öåëè
|
Ðò.ý
|
394
|
|
Îñíîâíàÿ
çàðàáîòíàÿ ïëàòà
ïðîèçâîäñòâåííûõ
ðàáî÷èõ
|
Çîñí
|
20000
|
|
Äîïîëíèòåëüíàÿ
çàðàáîòíàÿ ïëàòà
ïðîèçâîäñòâåííûõ
ðàáî÷èõ
|
Çäîï
|
4002
|
|
Îò÷èñëåíèÿ
íà ñîöèàëüíûå
íóæäû
|
Îñ.ñ
|
6240
|
|
Ðàñõîäû
íà ïîäãîòîâêó
è îñâîåíèå ïðîèçâîäñòâà
|
Ðïîäã
|
1350
|
|
Èçíîñ
èíñòðóìåíòà
è ïðèñïîñîáëåíèé
öåëåâîãî íàçíà÷åíèÿ
è ñïåöèàëüíûå
ðàñõîäû
|
Èèí
|
2760
|
|
Ðàñõîäû
íà ñîäåðæàíèå
è ýêñïëóàòàöèþ
îáîðóäîâàíèÿ
|
Ðñýî
|
13800
|
|
Îáùåçàâîäñêèå
ðàñõîäû
|
Ðîç
|
17940
|
|
Öåõîâûå
ðàñõîäû
|
Ðö
|
16000
|
|
Ïðî÷èå
ïðîèçâîäñòâåííûå
ðàñõîäû
|
Ðïðî÷
|
200
|
|
Ïðîèçâîäñòâåííàÿ
ñåáåñòîèìîñòü
|
Ñïð
|
285086
|
|
Âíåïðîèçâîäñòâåííûå
ðàñõîäû
|
Ðâï
|
100
|
|
Èòîãî
ïîëíàÿ ñåáåñòîèìîñòü
|
Ñïîëí
|
285186
|
Èñõîäÿ èç ãîäîâîé
ñåáåñòîèìîñòè
ïðîãðàììû âûïóñêà,
íàéäåì ñåáåñòîèìîñòü
îäíîãî èçäåëèÿ
ïî ôîðìóëå:
, (42)
ãäå
Ñïîëí - ïîëíàÿ
ñåáåñòîèìîñòü
ïðîãðàììû âûïóñêà,
ðóá.;
N - îáúåì
âûïóñêà, øò.
Ïîëó÷èì
Ñèçä = 2852 ðóá.
Åäèíîâðåìåííûõ
çàòðàò íà òðàíñïîðòèðîâêó
èçäåëèé íåò ò.ê.
ïðè ïðîäàæå äåéñòâóåò
ñàìîâûâîç.
Ìîíòàæ,
íàëàäêà è ïóñê
èçäåëèÿ îñóùåñòâëÿåòñÿ
ïîêóïàòåëåì çà
ñâîé ñ÷åò.
9.7 Ñòîèìîñòíàÿ
îöåíêà ðåçóëüòàòîâ
ìåðîïðèÿòèÿ
Îòïóñêíàÿ öåíà
åäèíèöû ïðîäóêöèè
ñêëàäûâàåòñÿ
èç ñåáåñòîèìîñòè
èçãîòîâëåíèÿ
è íîðìèðîâàííîé
ïðèáûëè.
Ñòîèìîñòíàÿ
îöåíêà ðåçóëüòàòîâ
ìåðîïðèÿòèÿ â
îäèí ãîä îöåíèâàåòñÿ
ïî ôîðìóëå:
Pt=N (Ñèçä+0,3Ñèçä)=100(2852+856)=370800
ðóá. (43)
Ýêîíîìè÷åñêèé
ýôôåêò ìåðîïðèÿòèÿ
çà âðåìÿ tÐê ðàññ÷èòûâàåòñÿ
ïî ôîðìóëå:
(44)
ãäå
Pt - ðåçóëüòàòû
ìåðîïðèÿòèÿ â
ãîäó t;
Çt - çàòðàòû
â ãîäó t; at - êîýôôèöèåíò
äèñêîíòèðîâàíèÿ;
Êîýôôèöèåíòû
äèñêîíòèðîâàíèÿ
ïðèíèìàþòñÿ
ðàâíûìè (1,00; 0,91; 0,83; 0,69;
0,58).
Ðàññ÷èòàåì
ýêîíîìè÷åñêèé
ýôôåêò ïðîèçâîäñòâà
ñðîêîì íà ïÿòü
ëåò. Â ïåðâûé ãîä
ïðîèçâîäèòñÿ
íàó÷íî-òåõíè÷åñêàÿ
ïîäãîòîâêà ïðîèçâîäñòâà,
ïîñëå åå çàâåðøåíèÿ
íà÷èíàåòñÿ ìåëêîñåðèéíîå
ïðîèçâîäñòâî,
êîòîðîå ïðîäîëæàåòñÿ
÷åòûðå ãîäà. Ðàñ÷åò
ýêîíîìè÷åñêîãî
ýôôåêòà ïðåäñòàâëåí
â òàáëèöå 15.
Òàáëèöà
15 - Ðàñ÷åò ýêîíîìè÷åñêîãî
ýôôåêòà
|
Ãîä öèêëà
|
2011
|
2012
|
2013
|
2014
|
2015
|
|
Ñòàäèè
|
ÍÈÎÊÐ
|
Ïð-âî
|
Ïð-âî
|
Ïð-âî
|
Ïð-âî
|
|
Çàòðàòû
ïðè ïðîèçâîäñòâå
|
Åäèí.
|
39664
|
0
|
0
|
0
|
0
|
|
Òåêóùèå
|
0
|
285186
|
285186
|
285186
|
285186
|
|
Çàòðàòû
íà äîï. óñëóãè
|
0,0
|
0
|
0
|
0
|
0
|
|
Ðåçóëüòàòû
|
0,0
|
370800
|
370800
|
370800
|
370800
|
|
at
|
1
|
0,91
|
0,83
|
0,69
|
0,58
|
|
Ðåçóëüòàòû
çà âû÷åòîì çàòðàò
|
Ôàêò-êèå
|
-39664
|
59496
|
59496
|
59496
|
59496
|
|
Äèñêîí-íûå
|
-39664
|
59496
|
49382
|
41052
|
34507
|
|
Íàêîï-íûå
|
-39664
|
14477
|
63859
|
104911
|
139418
|
Ýêîíîìè÷åñêèé
ýôôåêò çà ïÿòü
ëåò ñîñòàâëÿåò
139418 ðóáëåé. Ñðîê îêóïàåìîñòè
âëîæåíèé â ðàçðàáîòêó
è îñâîåíèå ïðîèçâîäñòâà
ñîñòàâëÿåò äâà
ãîäà.
Ïðîâåäåííîå
ïëàíèðîâàíèå
ðàáîò ïîçâîëèëî
âûïîëíèòü ïîñòàâëåííóþ
çàäà÷ó â óñòàíîâëåííûé
ñðîê. Ýêîíîìè÷åñêèå
ðàñ÷åòû ïîêàçàëè
ýôôåêòèâíîñòü
è öåëåñîîáðàçíîñòü
ðàçðàáîòêè è
ïðîèçâîäñòâà
ïðèáîðà êîíòðîëÿ
ïîñòîâîé îõðàíû.
10. ÎÕÐÀÍÀ
ÒÐÓÄÀ
10.1 Àíàëèç îïàñíûõ
è âðåäíûõ ïðîèçâîäñòâåííûõ
ôàêòîðîâ, èñòî÷íèêîì
êîòîðûõ ÿâëÿåòñÿ
ïðîåêòèðóåìîå
óñòðîéñòâî
Ñîãëàñíî ÃÎÑÒ
12.2.007.0-75 «Èçäåëèÿ ýëåêòðîòåõíè÷åñêèå.
Îáùèå òðåáîâàíèÿ»
áëîê ïðèáîðà äîëæåí
îòâå÷àòü òðåáîâàíèÿì
áåçîïàñíîñòè,
êîòîðûå ïðåäîòâðàùàþò
èëè óìåíüøàþò
äî äîïóñòèìîãî
óðîâíÿ âîçäåéñòâèå
íà ÷åëîâåêà: ýëåêòðè÷åñêîãî
òîêà; ýëåêòðè÷åñêîé
äóãè è èñêðû; ÷àñòåé
èçäåëèÿ, íàãðåâàþùèõñÿ
äî âûñîêèõ òåìïåðàòóð;
îïàñíûõ è âðåäíûõ
ìàòåðèàëîâ, èñïîëüçóåìûõ
â êîíñòðóêöèè
èçäåëèÿ, à òàêæå
îïàñíûõ è âðåäíûõ
âåùåñòâ, âûäåëÿþùèõñÿ
ïðè åãî ýêñïëóàòàöèè.
À òàêæå äîëæíà
îòâå÷àòü òðåáîâàíèÿì,
ñíèæàþùèì âåðîÿòíîñòü
âîçíèêíîâåíèÿ
ïîæàðà îò: ýëåêòðè÷åñêîé
äóãè è èñêðû; ÷àñòåé
èçäåëèÿ, íàãðåâàþùèõñÿ
äî âûñîêèõ òåìïåðàòóð;
ïðèìåíåíèå ïîæàðîîïàñíûõ
ìàòåðèàëîâ, âûäåëÿþùèõ
îïàñíûå è âðåäíûå
âåùåñòâà ïðè
ýêñïëóàòàöèè
è õðàíåíèè.
10.2 Àíàëèç óñëîâèé
ýêñïëóàòàöèè
ïðîåêòèðóåìîãî
óñòðîéñòâà
Áëîê ïðèáîðà
êîíòðîëÿ ïîñòîâîé
îõðàíû ïðåäíàçíà÷åí
äëÿ ðàáîòû â çàêðûòûõ
ïîìåùåíèÿõ. Êëèìàòè÷åñêîå
èñïîëíåíèå - Ó4.
·
Òåìïåðàòóðà
îêðóæàþùåé ñðåäû
îò 0 äî +400Ñ.
·
Îòíîñèòåëüíàÿ
âëàæíîñòü âîçäóõà
íå áîëåå 80% ïðè 250Ñ.
·
Àòìîñôåðíîå
äàâëåíèå 100±4êÏà
(750±30 ìì.ðò.ñò.).
 èçäåëèè èñïîëüçóþòñÿ:
·
ðàáî÷àÿ
èçîëÿöèÿ òîêîâåäóùèõ
÷àñòåé;
·
ìàëîå
íàïðÿæåíèå â ýëåêòðè÷åñêèõ
÷àñòÿõ - 12Â;
·
âíåøíèé
ïëàñòìàññîâûé
êîðïóñ, ïðåäîòâðàùàþùèé
âîçìîæíîñòü
ñëó÷àéíîãî ïðèêîñíîâåíèÿ
ê òîêîâåäóùèì
÷àñòÿì.
10.3 Ñîîòâåòñòâèå
ïðîåêòèðóåìîãî
óñòðîéñòâà òðåáîâàíèÿì
áåçîïàñíîñòè
Ïðèáîð êîíòðîëÿ
ïîñòîâîé îõðàíû
îòíîñèòñÿ ê 0 êëàññó
ýëåêòðîòåõíè÷åñêèõ
èçäåëèé ïî ñïîñîáó
çàùèòû ÷åëîâåêà
îò ïîðàæåíèÿ ýëåêòðè÷åñêèì
òîêîì. Ê 0 êëàññó
îòíîñÿòñÿ èçäåëèÿ,
ïðåäíàçíà÷åííûå
äëÿ ðàáîòû ïðè
áåçîïàñíîì íèçêîì
íàïðÿæåíèè (íîìèíàëüíîå
íàïðÿæåíèå, êîòîðîå
íå ïðåâûøàåò
42Â ìåæäó îòäåëüíûìè
ïðîâîäíèêàìè
èëè ìåæäó ïðîâîäíèêîì
è çåìëåé, ïðè ýòîì
áåç íàãðóçêè
íàïðÿæåíèå íå
ïðåâûøàåò 50Â), èìåþùèå,
ïî êðàéíåé ìåðå,
ðàáî÷óþ èçîëÿöèþ
è íå èìåþùèå ýëåìåíòîâ
äëÿ çàçåìëåíèÿ.
Ïðîåêòèðóåìîå
óñòðîéñòâî íå
ÿâëÿåòñÿ ïåðåíîñíûì
è èìååò îòâåðñòèÿ
äëÿ æåñòêîãî êðåïëåíèÿ
ê ãîðèçîíòàëüíûì
ïîâåðõíîñòÿì.
Óñòðîéñòâî íå
ÿâëÿåòñÿ èñòî÷íèêîì
âèáðàöèè è øóìà,
ïîýòîìó â êîíñòðóêöèè
ïðèáîðà íå ïðåäóñìàòðèâàåòñÿ
äîïîëíèòåëüíûõ
ñðåäñòâ øóìî-
è âèáðîçàùèòû.
Ïðèáîð ïðåäïîëàãàåòñÿ
ýêñïëóàòèðîâàòü
åäèíè÷íî.
Âíóòðè ïðèáîðà
ðàñïîëàãàþòñÿ
êðàñíûå ñâåòîäèîäû,
èçäåëèå íå ÿâëÿåòñÿ
èñòî÷íèêîì èíôðàêðàñíîãî,
òåïëîâîãî è ðåíòãåíîâñêîãî
èçëó÷åíèÿ.
 ïðîöåññå ðàáîòû
óñòðîéñòâî ìîæåò
ñîçäàâàòü ýëåêòðîìàãíèòíûå
ïîëÿ, íî îíè èìåþò
ìàëóþ ìîùíîñòü
èçëó÷åíèÿ â îäèí
Âàòò, ëîêàëèçèðóþòñÿ
âûñîêî÷àñòîòíîé
ëèíèåé ïèòàíèÿ
è íå âîçäåéñòâóþò
íà ÷åëîâåêà.
Ýëåêòðè÷åñêàÿ
ñõåìà èçäåëèÿ
èñêëþ÷àåò âîçìîæíîñòü
åãî ñàìîïðîèçâîëüíîãî
âêëþ÷åíèÿ è îòêëþ÷åíèÿ.
Âñå ñîåäèíåíèÿ
÷àñòåé, à òàêæå
èõ ðàñïîëîæåíèå
è ïîñëåäîâàòåëüíîñòü
ñáîðêè âûïîëíåíû
ñ ó÷åòîì óäîáñòâà
áåçîïàñíîñòè
íàáëþäåíèÿ çà
èçäåëèåì ïðè âûïîëíåíèè
ñáîðî÷íûõ ðàáîò,
ïðîâåäåíèå îñìîòðà,
èñïûòàíèé è îáñëóæèâàíèÿ.
Ââîä ïðîâîäîâ
â êîðïóñ îñóùåñòâëÿåòñÿ
÷åðåç èçîëÿöèîííûå
äåòàëè. Êîíñòðóêöèÿ
è ìàòåðèàë ââîäíûõ
óñòðîéñòâ èñêëþ÷àåò
âîçìîæíîñòü
ñëó÷àéíîãî ïðèêîñíîâåíèÿ
ê òîêîâåäóùèì
÷àñòÿì, ýëåêòðè÷åñêèõ
ïåðåêðûòèé, à òàêæå
çàìûêàíèÿ ïðîâîäíèêîâ
íà êîðïóñ è íàêîðîòêî.
Òàê êàê ïèòàíèå
áëîêà ñîñòàâëÿåò
12Â, íèêàêèå äîïîëíèòåëüíûå
òðåáîâàíèÿ ê
èçîëÿöèè íå ïðåäúÿâëÿþòñÿ.
10.4 Ýðãîíîìèêà
Ðàáîòà
ñ áëîêîì ìèêðîêîíòðîëëåðà
áóäåò îñóùåñòâëÿòüñÿ
ñòîÿ. Ðàáî÷åå
ìåñòî îïåðàòîðà
äîëæíî áûòü ñïðîåêòèðîâàíî
ñîãëàñíî ÃÎÑÒ
12.2.033-78 (2001) ÑÑÁÒ. Ðàáî÷åå
ìåñòî ïðè âûïîëíåíèè
ðàáîò ñòîÿ. Îáùèå
ýðãîíîìè÷åñêèå
òðåáîâàíèÿ
<http://www.tehdoc.ru/files.769.html>.
Ñîãëàñíî
ÃÎÑÒ ðàáî÷åå
ìåñòî äîëæíî
îáåñïå÷èâàòü
âûïîëíåíèå òðóäîâûõ
îïåðàöèé â ïðåäåëàõ
çîíû äîñÿãàåìîñòè
ìîòîðíîãî ïîëÿ.
×àñòîòó âûïîëíåíèÿ
îïåðàöèé ïðèíèìàþò
ðåäêî - íå áîëåå
äâóõ îïåðàöèé
â 1 ÷. Îðãàíèçàöèÿ
ðàáî÷åãî ìåñòà
è êîíñòðóêöèÿ
îáîðóäîâàíèÿ
äîëæíû îáåñïå÷èâàòü
ïðÿìîå è ñâîáîäíîå
ïîëîæåíèå êîðïóñà
òåëà ðàáîòàþùåãî
èëè íàêëîí åãî
âïåðåä íå áîëåå
÷åì íà 15°. Ýòî îñóùåñòâëÿåòñÿ
òåì, ÷òî îõðàííèê
ïîäõîäèò ê ïðèáîðó
íà ëþáîå óäîáíîå
åìó ðàññòîÿíèå
è âûïîëíÿåò îïåðàöèè
ñ ïðèáîðîì. Òàê
êàê íåâîçìîæíî
îñóùåñòâèòü
ðåãóëèðîâàíèå
âûñîòû ðàáî÷åé
ïîâåðõíîñòè
è ïîäñòàâêè äëÿ
íîã, äîïóñêàåòñÿ
ïðîåêòèðîâàòü
è èçãîòîâëÿòü
îáîðóäîâàíèå
ñ íåðåãóëèðóåìîé
âûñîòîé ðàáî÷åé
ïîâåðõíîñòè
è ïîäñòàâêè äëÿ
íîã. Âñëåäñòâèå
òîãî, ÷òî â áëîêå
ïðèáîðà ðàñïîëàãàþòñÿ
çâóêîèçëó÷àþùèé
äèíàìèê è ìèêðîôîí,
öåëåñîîáðàçíî
ðàçìåñòèòü ïðèáîð
íà òàêîé âûñîòå,
÷òîáû îí ðàñïîëàãàëñÿ
ïðèìåðíî íàïðîòèâ
ëèöà îõðàííèêà.
Ñëåäîâàòåëüíî,
ïðèáîð áóäåò ðàñïîëàãàòüñÿ
â çîíå äëÿ ðàçìåùåíèÿ
ðåäêî èñïîëüçóåìûõ
îðãàíîâ óïðàâëåíèÿ.
Ïî íîìîãðàììå
çàâèñèìîñòè
âûñîòû ðàñïîëîæåíèÿ
ñðåäñòâ îòîáðàæåíèÿ
èíôîðìàöèè îò
ðîñòà ÷åëîâåêà
âûñîòà ðàñïîëîæåíèÿ
ïðèáîðà ðàâíà
1550 ìì. Ýëåìåíòû
óïðàâëåíèÿ (êíîïêè)
ðàñïðåäåëåíû
òàêèì îáðàçîì,
÷òî áû îáåñïå÷èòü
ñâîáîäíûé äîñòóï
ê äàííûì ýëåìåíòàì.
Êîíñòðóêöèÿ
îðãàíîâ óïðàâëåíèÿ
ó÷èòûâàåò òðåáóåìóþ
òî÷íîñòü è ñêîðîñòü
äâèæåíèé ïðè
îñóùåñòâëåíèè
óïðàâëåíèÿ, à
òàêæå ÷àñòîòó
èñïîëüçîâàíèÿ
îðãàíîâ óïðàâëåíèÿ
(êíîïîê). Ìåñòà
êîíòàêòîâ îðãàíîâ
óïðàâëåíèÿ ñ ðóêàìè
âûïîëíåíû èç
íåòîêñè÷íûõ
íåòåïëîïðîâîäíûõ
ýëåêòðîèçîëÿöèîííûõ
ìàòåðèàëîâ. Äëÿ
îáîçíà÷åíèÿ
ôóíêöèîíàëüíîãî
íàçíà÷åíèÿ îðãàíîâ
óïðàâëåíèÿ (êíîïîê)
ïðåäíàçíà÷åíû
íàäïèñè, êîòîðûå
ðàñïîëîæåíû íà
ýëåìåíòàõ êîíñòðóêöèè
ðàáî÷åãî ìåñòà
â íåïîñðåäñòâåííîé
áëèçîñòè îò îðãàíîâ
óïðàâëåíèÿ. Òàêæå
îðãàíû óïðàâëåíèÿ
(êíîïêè) êîäèðóþòñÿ
öâåòîì.
Â
êà÷åñòâå ýëåìåíòîâ
èíäèêàöèè èñïîëüçóþòñÿ
êðàñíûå ñâåòîäèîäû
ßðêîñòü
ýëåìåíòîâ èíäèêàöèè
íå ïðåâûøàåò
äîïóñòèìûõ ïðåäåëîâ
(ÿðêîñòü ñâåòÿùèõñÿ
ïîâåðõíîñòåé
(îêíà, ñâåòèëüíèêè
è äð.), íàõîäÿùèõñÿ
â ïîëå çðåíèÿ, äîëæíà
áûòü íå áîëåå
200 êä/ì).
10.5 Çàùèòà îò
øóìà
Òàê êàê â ïðèáîðå
ïðåäóñìîòðåí
çâóêîèçëó÷àþùèé
äèíàìèê, íåîáõîäèìî
îáåñïå÷èòü óðîâåíü
çâóêîâîãî äàâëåíèÿ
äèíàìèêîì, íå
ïðåâûøàþùèé
äîïóñòèìûå íîðìû
ñîãëàñíî ÑàíÏèÍ
2.2.2/2.4.1340-03. Ãèãèåíè÷åñêèå
òðåáîâàíèÿ ê
ïåðñîíàëüíûì
ýëåêòðîííî-âû÷èñëèòåëüíûì
ìàøèíàì è îðãàíèçàöèè
ðàáîò. Äîïóñòèìûå
óðîâíè çâóêîâîãî
äàâëåíèÿ ïðåäñòàâëåíû
â òàáëèöå 16.
Òàáëèöà 16 - Ïðåäåëüíî
äîïóñòèìûå óðîâíè
çâóêîâîãî äàâëåíèÿ
|
¹ ïï
|
Âèä òðóäîâîé
äåÿòåëüíîñòè,
ðàáî÷åå ìåñòî
|
Óðîâíè
çâóêîâîãî äàâëåíèÿ,
äÁ, â îêòàâíûõ
ïîëîñàõ ñî ñðåäíåãåîìåòðè÷åñêèìè
÷àñòîòàìè, Ãö
|
Óðîâíè
çâóêà è ýêâèâàëåíòíûå
óðîâíè çâóêà
(â äÁÀ)
|
|
|
31,5
|
63
|
125
|
250
|
500
|
1000
|
2000
|
4000
|
8000
|
|
|
1
|
êîíñòðóèðîâàíèå
è ïðîåêòèðîâàíèå,
ïðîãðàììèðîâàíèå.
Ðàáî÷èå ìåñòà
â ïîìåùåíèÿõ
ïðîåêòíî-êîíñòðóêòîðñêèõ
áþðî, ïðîãðàììèñòîâ
âû÷èñëèòåëüíûõ
ìàøèí.
|
86
|
71
|
61
|
54
|
49
|
45
|
42
|
40
|
38
|
50
|
Ñîãëàñíî ÃÎÑÒ
12.1.036-81. Øóì. Äîïóñòèìûå
óðîâíè â æèëûõ
è îáùåñòâåííûõ
çäàíèÿõ, äîïóñêàåòñÿ
ìàêñèìàëüíûé
óðîâåíü çâóêà
â äÁÀ îò òåõíè÷åñêîãî
îáîðóäîâàíèÿ,
ðàñïîëîæåííîãî
â çäàíèÿõ, ïðîìûøëåííûõ
è îáùåñòâåííûõ
ïîìåùåíèé (âíóòðè
çäàíèÿ) íà 10 äÁÀ
âûøå ñîîòâåòñòâóþùåãî
äîïóñòèìîãî
ýêâèâàëåíòíîãî
óðîâíÿ çâóêà
â òåõ æå ñàìûõ
òî÷êàõ èçìåðåíèÿ,
â êîòîðûõ îïðåäåëÿþò
ýêâèâàëåíòíûé
óðîâåíü çâóêà.
 äàííîì ïðèáîðå
èñïîëüçóåòñÿ
äèíàìèê, ìàêñèìàëüíàÿ
ìîùíîñòü èçëó÷åíèÿ
êîòîðîãî ñîñòàâëÿåò
40 Äá, ÷òî íå ïðåâûøàåò
ñàíèòàðíûõ íîðì
ïî óðîâíþ çâóêîâîãî
äàâëåíèÿ. Òàêæå
äàííàÿ âåëè÷èíà
íå ïðîòèâîðå÷èò
ÃÎÑÒ 12.1.036-81 äëÿ ýêâèâàëåíòíûõ
óðîâíåé çâóêà
ëþáûõ ïîìåùåíèé.
Òàêèì îáðàçîì,
ïðîåêòèðóåìûé
áëîê áóäåò óäîáåí
â ýêñïëóàòàöèè,
íå áóäåò ÿâëÿòüñÿ
èñòî÷íèêîì âðåäíûõ
ïðîèçâîäñòâåííûõ
ôàêòîðîâ.
ÇÀÊËÞ×ÅÍÈÅ
 äèïëîìíîì ïðîåêòå
áûëà ðàçðàáîòàíà
ïðèáîð êîíòðîëÿ
ïîñòîâîé îõðàíû:
ðàçðàáîòàíà
êîíñòðóêöèÿ áëîêà,
êîíñòðóêöèÿ ýëåêòðè÷åñêîãî
óçëà, óïðàâëÿþùàÿ
ïðîãðàììà äëÿ
ìèêðîêîíòðîëëåðà,
âûðàáàòûâàþùåãî
óïðàâëÿþùèé ñèãíàë
äëÿ GSM ìîäóëÿ
â çàâèñèìîñòè
îò íàæàòîé êíîïêè.
Ñîçäàíà òðåõìåðíàÿ
ìîäåëü êîíñòðóêöèè,
íà îñíîâå êîòîðîé
áûëè ïîëó÷åíû
÷åðòåæè äåòàëåé
è ñáîðî÷íûå ÷åðòåæè
èçäåëèÿ. Ðàçðàáîòàí
êîìïëåêò ãðàôè÷åñêîãî
ìàòåðèàëà, êîòîðûé
ñîäåðæèò: ÷åðòåæ
ïå÷àòíîé ïëàòû,
ñáîðî÷íûå ÷åðòåæè
áëîêà, ïå÷àòíîãî
óçëà, ÷åðòåæ êîðïóñíîé
äåòàëè. Òàêæå
ðàçðàáîòàí êîìïëåêò
ïðîãðàììíîé äîêóìåíòàöèè,
â ñîñòàâ êîòîðîãî
âêëþ÷åí òåêñò
ïðîãðàììû è ðóêîâîäñòâî
îïåðòîðà.
Áûë ïðîèçâåäåí
ðàñ÷åò íàäåæíîñòè
ïå÷àòíîãî óçëà.
Íàðàáîòêà íà
îòêàç ñîñòàâèëà
27366 ÷àñîâ, ÷òî ïðåâûøàåò
çàäàííîå â òåõíè÷åñêîì
çàäàíèè çíà÷åíèå.
Ýêîíîìè÷åñêèé
ýôôåêò ðàçðàáàòûâàåìîãî
óñòðîéñòâà çà
ïÿòü ëåò ñîñòàâèë
139418 ðóá. Ñðîê îêóïàåìîñòè
âëîæåíèé â ðàçðàáîòêó
è îñâîåíèå ïðîèçâîäñòâà
ñîñòàâëÿåò äâà
ãîäà. Ýêîíîìè÷åñêèå
ðàñ÷åòû ïîêàçàëè
ýôôåêòèâíîñòü
ðàçðàáîòêè è
ïðîèçâîäñòâà
ïðèáîðà êîíòðîëÿ
ïîñòîâîé îõðàíû.
ÁÈÁËÈÎÃÐÀÔÈ×ÅÑÊÈÉ
ÑÏÈÑÎÊ
1. Ïðîåêòèðîâàíèå
è òåõíîëîãèÿ
ÐÝÑ: Ìåòîäè÷åñêèå
óêàçàíèÿ ïî äèïëîìíîìó
ïðîåêòèðîâàíèþ
/ Ñîñòàâèòåëè:
Á.Â. Ïåðìÿêîâ, Â.Í.
Ñòåïàíåíêî; ïîä
ðåä. Á.Â. Ïåðìÿêîâà.
- ×åëÿáèíñê: èçäàòåëüñòâî
ÞÓðÃÓ, 2000. - 40 ñ.
2. Ðåâè÷
Þ.Â. Ïðàêòè÷åñêîå
ïðîãðàììèðîâàíèå
ìèêðîêîíòðîëëåðîâ
Atmel AVR íà ÿçûêå àññåìáëåðà.
- ÑÏë.: ÁÕÂ-Ïåòåðáóðã,
2011, -384 ñ.: èë.
. Áåëîâ
À.Â. Ìèêðîêîíòðîëëåðû
AVR â ðàäèîëþáèòåëüñêîé
ïðàêòèêå. - ÑÏá.:
Íàóêà è Òåõíèêà,
2007. -352 ñ.: èë.
. Ôîðóì
ðàçðàáîò÷èêîâ
ýëåêòðîíèêè.
- http://electronix.ru/forum/index.php?showforum=130
. AVR.
Ó÷åáíûé êóðñ.
- http://easyelectronics.ru/category/avr-uchebnyj-kurs
6. SimCom
Wireless solutions. - http://wm.sim.com/Sim/FrontShow_en/service/document.aspx
7. Ãåëëü
Ï.Ï., Èâàíîâ-Åñèïîâè÷
Í.Ê. Êîíñòðóèðîâàíèå
è ìèêðîìèíèàòþðèçàöèÿ
ðàäèîýëåêòðîííîé
àïïàðàòóðû: Ó÷åáíèê
äëÿ âóçîâ. - Ë.: Ýíåðãîèçäàò.
Ëåíèíãð. îòä-íèå.
1984. - 536 ñ., èë.
. Ôðóìêèí
Ã.Ä. Ðàñ÷åò è êîíñòðóèðîâàíèå
ðàäèîàïïàðàòóðû:
Ó÷åáíèê äëÿ ðàäèîòåõíè÷.
ñïåö. òåõíèêóìîâ.
- 5-å èçä., ïåðåðàá.
è äîï. - Ì.: Âûñø. øê.,
1989. - 463 ñ.: èë.
. Íåíàøåâ
À.Ï. Êîíñòðóèðîâàíèå
ðàäèîýëåêòðîííûõ
ñðåäñòâ: Ó÷åá.
äëÿ ðàäèîòåõíè÷.
ñïåö. âóçîâ. - Ì.:
Âûñø.øê.,1990. - 432ñ.: èë.
10. Êóäðèí
Ë.Ï. Êîíñòðóèðîâàíèå
ÐÝÑ: Ó÷åáíîå ïîñîáèå
ïî êóðñîâîìó
ïðîåêòèðîâàíèþ.
- ×åëÿáèíñê: Èçä-âî
ÞÓðÃÓ, 2000. - 19 ñ.
11. Åäðåíêèí
Ý.Ä., Áåðåçèí Â.Ì.
Ðàñ÷åò íàäåæíîñòè
ýëåêòðîííûõ
ñðåäñòâ: Ó÷åáíîå
ïîñîáèå. - ×åëÿáèíñê:
Èçä-âî ÞÓðÃÓ,
1999. -18 ñ.
. Ñåòåâûå
ìåòîäû ïëàíèðîâàíèÿ
è óïðàâëåíèÿ:
Ìåòîäè÷åñêèå
óêàçàíèÿ ê êóðñîâîìó
ïðîåêòó äëÿ ñòóäåíòîâ
ïðèáîðîñòðîèòåëüíîãî
ôàêóëüòåòà/Ñîñòàâèòåëè:
Â.Ñ. Çèíêåâè÷,
Ë.À. Áàåâ, Í.Ï. Ìåøêîâîé.
- ×åëÿáèíñê: Èçä.
ÞÓðÃÓ, 1998. - 22 ñ. [658.51(07) / Ç-633].
. Îðãàíèçàöèîííî-ýêîíîìè÷åñêèé
ðàçäåë äèïëîìíîãî
ïðîåêòà êîíñòðóêòîðñêîãî
íàïðàâëåíèÿ: Ó÷åá.
Ïîñîáèå äëÿ ñòóäåíòîâ
ïðèáîðîñòðîèòåëüíîãî
ôàêóëüòåòà/ Ìåøêîâîé
Í.Ï., Çàêèðîâ Ð.Ø.,
Çèíêåâè÷ Â.Ñ.,
Ïîïîâ Ã.Ñ.; Ïîä ðåä.
Í.Ï. Ìåøêîâîãî.
- ×åëÿáèíñê: ×ÃÒÓ,
1990. - 53 ñ.
. Ìåòîäè÷åñêèå
óêàçàíèÿ ïî äèïëîìíîìó
ïðîåêòèðîâàíèþ
äëÿ ñòóäåíòîâ
ïðèáîðîñòðîèòåëüíîãî
ôàêóëüòåòà. (Ðàçäåë
«Áåçîïàñíîñòü
æèçíåäåÿòåëüíîñòè»)
/ Ñîñòàâèòåëè
Í. Â. Ãëîòîâà, È.
Ñ. Îêðàèíñêàÿ;
Ïîä ðåä. À. È. Ñèäîðîâà.
¾ ×åëÿáèíñê:
ÞÓðÃÓ, 1999. (658.382(07) Ã548).
. ÃÎÑÒ
12.2.007.0-75 «Èçäåëèÿ ýëåêòðîòåõíè÷åñêèå.
Îáùèå òðåáîâàíèÿ»
. Ñàíèòàðíûå
íîðìû ÑÍ 2.4/2.1.8.562-96 "Øóì
íà ðàáî÷èõ ìåñòàõ,
â ïîìåùåíèÿõ
æèëûõ, îáùåñòâåííûõ
çäàíèé è íà òåððèòîðèè
æèëîé çàñòðîéêè"
. ÃÎÑÒ
12.2.033-78 «Ðàáî÷åå ìåñòî
ïðè âûïîëíåíèè
ðàáîò ñòîÿ. Îáùèå
ýðãîíîìè÷åñêèå
òðåáîâàíèÿ»
. Ðàçðàáîòêà
è îôîðìëåíèå
êîíñòðóêòîðñêîé
äîêóìåíòàöèè
ðàäèîýëåêòðîííîé
àïïàðàòóðû: Ñïðàâî÷íèê
/ Ý.Ò. Ðîìàíû÷åâà,
À.Ê. Èâàíîâà, À.Ñ.
Êóëèêîâ è äð.; Ïîä
ðåä. Ý.Ò. Ðîìàíû÷åâîé.
- 2-å èçä., ïåðåðàá.
è äîï. - Ì.: Ðàäèî è
ñâÿçü, 1989.- 448 ñ.: èë.
. Ñòàíäàðò
ïðåäïðèÿòèÿ. Êóðñîâîå
è äèïëîìíîå ïðîåêòèðîâàíèå.
Îáùèå òðåáîâàíèÿ
ê îôîðìëåíèþ.
ÑÒÏ ÞÓðÃÓ 04-2001/ Ñîñòàâèòåëè:
Ñûðåéùèêîâà
Í.Â., Ãóçååâ Â.È.,
Ñóðèêîâ È.Â., Âèíîêóðîâà
Ë.Â.,-×åëÿáèíñê:
ÞÓðÃÓ, 2001.- 49 ñ., èë.
. ÃÎÑÒ
2.105-95 Îáùèå òðåáîâàíèÿ
ê òåêñòîâûì äîêóìåíòàì.-
ÑÒÏ ÞÓðÃÓ 02-1995/ Ñîñòàâèòåëè:
Ñûðåéùèêîâà
Í.Â., Âèíîêóðîâà
Ë.Â., - ×åëÿáèíñê:
ÞÓðÃÓ, 1995. - 19ñ., èë.
Ðàçìåùåíî
íà Allbest.ru