Гидравлические машины, подъемно-транспортные устройства и приводы машин. Технология процесса производства капролактама

  • Вид работы:
    Отчет по практике
  • Предмет:
    Другое
  • Язык:
    Русский
    ,
    Формат файла:
    MS Word
    1,31 Мб
  • Опубликовано:
    2012-09-17
Вы можете узнать стоимость помощи в написании студенческой работы.
Помощь в написании работы, которую точно примут!

Гидравлические машины, подъемно-транспортные устройства и приводы машин. Технология процесса производства капролактама

Белорусский государственный технологический университет

Факультет ХТиТ

Кафедра МиАХиСП










Отчёт по общеинженерной практике на ОАО «Гродно Азот»













Минск, 2010

Реферат

В отчете рассмотрены гидравлические машины, подъемно-транспортные устройства, приводы машин, включая гидроприводы и пневмоприводы используемые в цехе капролактама. Изучена технология процесса производства капролактама.

Введение

Коллективу открытого акционерного общества «Гродно Азот» 3 декабря 2010 года исполняется 47 лет.

В соответствии с направлениями развития народного хозяйства СССР на 1959-1969 годы 10.04.1959г, Совет Министров СССР постановлением утвердил в числе строек семилетнего плана Белорусский азотно-туковый завод (АТЗ). Было определено место строительства АТЗ - район г. Гродно, на расстоянии нескольких километров от восточных границ перспективного развития города, недалеко от реки Неман.

Проект строительства завода выполнялся десятью проектными организациями во главе с ГИАП.

Согласно государственных актов на право пользования землей предприятию передано в постоянное пользование свыше 600 га земли.

Первоначальный проект предусматривал годовое производство аммиака 167 тыс. тонн, слабой азотной кислоты 240 тыс. тонн, карбамида 70 тыс. тонн, аммиачной селитры 313 тыс. тонн.

В октябре 1961г начала работать дирекция строящегося АТЗ.

Ноября 1963г. строители и монтажники сдали пусковой комплекс Государственной приемочной комиссии. 3 декабря 1963г в отделении аммиачной селитры были выработаны первые тонны удобрения на привозном аммиаке.

В начале января 1965г. была введена в эксплуатацию первая нитка цеха аммиака-1, а затем и карбамида-1. Вторая линия цеха аммиака-1 была введена в январе 1967г. мощность цеха достигла 200 тыс. тонн в год.

Второй этап развития предприятия предполагал строительство второй очереди производства аммиака и карбамида проектной мощностью соответственно 218 и 180 тыс. тонн в год и производство капролактама проектной мощностью 50 тыс. тонн.

В марте 1970 года введен в действие цех аммиак-2, в апреле того же года были введены в строй цеха производства калролактама-1, а в июне 1971г - цех карбамид-2.

В октябре 1970г Гродненский азотно-туковый завод преобразован в химический комбинат, которому было присвоено имя С.О. Притыцкого.

В мае 1975г. Гродненский химический комбинат преобразован в Гродненское производственное объединение «Азот».

Третий этап развития связан со строительством в 1976-1979гг. крупнотоннажных мехов аммиака-3 (мощностью 450 тыс. тонн/год), который введен в действие в мае 1979г., и карбамида-3 (мощностью 330 тыс. тонн/год), введенного в октябре 1979г., оснащенных современной автоматической техникой в большей степени, чем действующее производства.

В ноябре 1981г, было лущено в эксплуатацию производство капролактама 2-ой очереди.

В 1985г введён в действие цех аммиака 4-ой очереди мощностью 400 тыс. тонн в год.

В 1986г. начал давать продукцию цех карбамида 4-ой очереди мощностью 330 тыс. тонн в год.

С декабря 1993г. производство аммиачной селитры переведено на производство жидких азотных удобрений (КАС), и с 1 июля 1992г. производство карбамида кристаллического переведено на производство раствора карбамида для КАС.

В 1994 году налажен выпуск гидроксиламинсульфата кристаллического.

В 1996г. на базе выведенного из эксплуатации цеха аммиак-2 организованно производство метанола-сырца. В конце 1999 г. в соответствии с государственной программой импортозамещения было освоено производство метанола-ректификата мощностью 55400 тонн в год.

За конкурентоспособную и качественную продукцию и активное участие в развитии экономики страны, интеграцию в мировую экономику Гродненское производственное объединение «Азот» в 1994 году было удостоено международного приза «Золотой Глобус», утвержденного Фондом содействия развития восточных стран (EDF).

По итогам работы за 1997 год РУП ГПО «Азот» удостоено приза «Гран При» Международной программы "Партнерство ради Прогресса" в Париже.

В апреле 2000 г предприятие награждено призом «За лучшую торговую марку» (XXV Международный приз), а в ноябре - Почетной грамотой Госстандарта Республики Беларусь «За высокое качество продукции». В этом же году предприятие получило очередную международную награду - «Эртсмейкер 2000» в номинации «За динамику и прогресс экономического развития».

августа 2000г. Решением исполкома Гродненское производственное объединение «Азот» преобразовано в Гродненское производственное республиканское унитарное предприятие «ГПО Азот».

В декабре 2001г. завершен монтаж и наладка первой в мире установки получения карбамида в кипящем слое по технологии фирмы "Стамикарбон", Голландия.

сентября 2002г. Решением Гродненского городского исполнительного комитета Гродненское производственное республиканское унитарное предприятие «ГПО Азот» преобразовано в открытое акционерное общество «Гродно Азот».

По итогам работы за 2002 год коллектив рационализаторов и изобретателей ОАО "Гродно Азот" награжден Почетной грамотой Гродненского областного совета Белорусского общества изобретателей и рационализаторов.

С сентября 1999 года на предприятии действует сертифицированная система качества, соответствующая требованиям международных стандартов серии ИСО 9000. Были выданы сертификаты соответствия: национальный - на соответствие СТБ ИСО 9002-96 (БелГИСС) и международный - на соответствие ИСО 9002-94 (Бюро Веритас).

В декабре 2002г. ОАО «Гродно Азот» назван лауреатом областного конкурса за достижения в области качества.

В 2000г. на ОАО «Гродно Азот» проведена большая работа по совершенствованию системы менеджмента качества.

1. Гидравлические машины

1.1 Гидроцилиндры

Гидроцилиндры являются простейшими гидродвигателями, которые применяются в качестве исполнительных механизмов, гидроприводов различных машин и механизмов с поступательным движением выходного звена по принципу действия и конструкции гидроцилиндры весьма разнообразны, и применение того или иного типа гидроцилиндра диктуются конкретными условиями работы, назначением и конструкцией той машины, в которой он используется.

Ниже рассмотрены основные типы гидроцилиндров при меняемых в машиностроении в гидроцилиндрах одностороннего движения выходного звена под действием потока рабочей жидкости осуществляется только в одном направлении. Движение в обратном направлении происходит под действием внешних сил, например под действием веса поднимаемого груза или пружины. Такие гидроцилиндры применяются в основном в грузоподъемном.

По конструкции гидроцилиндры одностороннего действия бывают:

а) поршневые, где выходным звеном является поршень 4 со штоком 3, перемещающиеся относительно корпуса 2. Рабочая камера образована внутренней поверхностью корпуса и поршнем. Герметичность обеспечивается уплотнениями 1;

б) плунжерные здесь в качестве выходного звена используется плунжер 1 они наиболее просты по конструкции и технологии изготовления, поскольку внутренняя поверхность корпуса 2 не подлежит точной обработке, а обрабатывается только поверхность плунжера и часть корпуса (букса), по которой происходит герметизация рабочей камеры уплотнением 3;

в) телескопические в них выходным звеном являются несколько концентрически расположенных поршней или плунжеров, перемещающихся друг относительно друга. Общий ход выходного звена равен сумме входов каждого поршня относительно соседнего. Телескопические гидроцилиндры применяются в случаях, когда при небольшой длине корпуса необходимо получить большой ход выходного звена. Выдвижение начинается с поршня большего диаметра. Затем, когда поршень 1 доходит до упора, относительного него начинается перемещаться поршень 2.

В гидроцилиндрах двустороннего действия движение выходного звена в обоих направлениях осуществляется под действием потока рабочей жидкости. Такие гидроцилиндры наиболее широко применяются в гидроприводах станков и различных строительных машин. Они выполняются в двух вариантах:

) поршневой гидроцилиндр с односторонним штоком, когда шток находится только с одной стороны поршня;

) поршневой гидроцилиндр с двусторонним штоком штоком - шток расположен по обе стороны поршня.

1.2 Электронасос 1ЦГ 12,5(50-4-2(5))

Назначение:

Тип электронасоса - герметичный горизонтальный с асинхронным трехфазным электродвигателем с короткозамкнутым ротором, взрывозащищенный.

Электронасос 1ЦГ 12,5(50-4-2(5)) предназначен для перекачивания в стационарных условиях жидкостей, пары и газы которых могут быть нейтральными, агрессивными и вредными всех классов.

В перекачиваемых жидкостях допускается наличие твердых неабразивных включений размером до 0,2 мм, массовая доля которых не превышает 0,2%

Электронасос 1ЦГ 12,5(50-4-2(5)) изготовлен в климатическом исполнении и категории размещения У2 по ГОСТ 15150-69 и предназначен для работы как в закрытых помещениях, так и под навесом.

Электронасос имеет взрывобезопаснвй уровень взрывозащиты с видами взрывозащиты и может устанавливаться во взрывоопасных зонах всех классов.

Детали электронасоса, соприкасающиеся с перекачиваемой жидкостью, в зависимости от исполнения, изготавливаются из углеродистой стали, паронит ГОСТ 481-80, силицированный графит СГ-Т, графитофторопласт марки КВ.

Подбор электронасосов соответствующего исполнения по материалу для перекачивания соответствующей жидкости осуществляется заказчиком из условия, что линейная скорость коррозии материалов проточной части должна быть не выше 0,00002мм/год по ГОСТ9.908-85.

Устройство и принцип работы электронасоса:

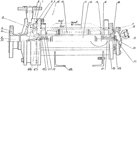
Электронасос 1ЦГ 12,5(50-4-2(5)) представляет собой моноблок, включающий насосную часть и специальный трехфазным электродвигателем с короткозамкнутым ротором.

Насосная часть представляет собой одноступенчатый центробежный насос и состоит из рабочего колеса 5, закрепленного на роторе посредством шпонки 3 и винта 1, и корпуса 4 с напорными всасывающими трубками. Корпус насоса крепится щиту электродвигателя шпильками и гайками и уплотняется прокладкой. В нижней части корпуса имеется бобышка для слива перекачиваемой жидкости. Смазка и охлаждение подшипников, а также отвод тепла от гильзы статора и ротора осуществляется перекачиваемой жидкостью, поступающей в полость ротора из напорной зоны через щелевое уплотнение на колесе и отверстия в переднем корпусе подшипника.

Из полости ротора жидкость через отверстие в задней крышке 19 по трубе поступает во всасывающую линию.

Подвод электропитания осуществляется через коробку выводов. Коробка выводов имеет три силовых шпильки и одну для заземляющего привода. Коробка выводов крепится к фланцу на станине болтами 32.

Рисунок 1.2-Электронасос 1ЦГ 12,5(50-4-2(5))

1.3 Вакуумный насос серии SZO

Вакуумные насосы серии SZO Исполнение ОО-это горизонтальные ротационные машины простого действия.

Вакуумный насос состоит из двух основных функциональных частей: статора и ротора. Статор образован тонкостенным корпусом 1 цилиндрической формы, внутренность которого имеет слегка овальную форму. У двусторонних вакуумных насосов корпус закрыт с обеих сторон распределительными щитами клапанов 4, 5 и крышкой корпуса 3. Распределительный щит клапанов закреплен между колесом и крышкой корпуса, а также крепится на крышке корпуса самостоятельно винтами.

У односторонних вакуумных насосов корпус выполнен так, что он открыт только с одной стороны, на другой стороне торцевая поверхность образована прямо в корпусе. Вакуумные насосы в исполнении ОО имеют распределительные щиты клапанов, оснащенные пластинчатыми клапанами. Пластинчатый клапан состоит из упора 31, пластинки 30 и ограничивающей трубки 25, совместно они соединены винтами 127, которые фиксированы шайбой.

Крышка корпуса-это отливка круглой формы, оснащенная всасывающим и напорным патрубками, опорами для крепления вакуумного насоса на раму. В крышке сделаны овальные смотровые люки, через которые имеется доступ рукой к пластинчатым клапанам и к торцевой поверхности лопаток рабочего колеса. Смотровые люки закрыты сегментами 12,13. В крышке корпуса сделана одновременно проводка рабочей воды, необходимой для захлебывания сальников и правильной функции вакуумного насоса. Штуцеры для подачи воды в вакуумный насос сделаны в месте опор. Для частичного дренажа вакуумного насоса при их частичном выведении из эксплуатации, служит автоматический дренажный вентиль 80, который размещен на крышке корпуса или на сегменте. Для полного дренажа вакуумного насоса служит пробка, находящаяся в нижней части корпуса. Всасывающие патрубки на крышках корпусов соединены Т-элементом 6 в один общий патрубок. Напорные патрубки соединены воздухоотделителем 36.

Ротор вакуумного насоса состоит из рабочего колеса 2, расположенного на валу 16. Крутящий момент с вала на рабочее колесо передается пружиной.

Ротор вакуумного насоса расположен на подшипниках качения, которые посажены в корпусах подшипников.

Вакуумный насос поставляется с трубопроводом 51 с монавакууметром, приспособленным для присоединения к водопроводной сети, по которому подается добавочная вода.

Стандартное исполнение чугунное, вал из конструкционной стали.

Рисунок 1.3-Разрез вакуумного насоса

Рисунок 1.4-Вакуумный насос

2. Подъёмно-транспортные машины

.1 Козловые краны

Предназначены для работы со штучными грузами на складах, для загрузки и разгрузки транспортных средств и производства монтажных работ. В качестве грузозахватного устройства они имеют крюк. Краны, используемые на строительстве, связанном с монтажом крупногабаритных элементов большой массы, имеют грузоподъемность более 200т, пролет до 100м. И высоту подъема крюка до 50м. Имеются также козловые краны грузоподъемностью 800т, применяемые при секционном судостроении.

Козловые краны для удобства монтажа часто изготовляют самомонтирующимися. В этом случае мост 1 (см.рис.l.2) собирают на подставках, что облегчает монтаж. Поддерживающие стойки 4 шарнирно соединяют с мостом и балансирными тележками 3. Для подъема моста стойки соединяют полиспастами стягивающих механизмов. Когда мост займет рабочее положение, балансирные тележки 3 соединяют балкой 5,а полиспастную систему разбирают. К кранам мостового типа также относится полукозловой кран, мост которого опирается с одной стороны непосредственно на крановый путь, а с другой - на опорную стойку.

Рисунок 2.1-Козловой кран

2.2 Погрузчики

Для внутрицехового и межцехового транспорта, а также для погрузочно-разгрузочных работ на складах, железных дорогах и в портах широко применяют погрузчики (рис.2.2). Они выполняют операции захватывания, вертикального перемещения груза и укладки его в штабель или на транспортные средства. Отечественная промышленность выпускает погрузчики с приводом от двигателя внутреннего сгорания или с электроприводом, питающимся от аккумуляторной батареи. При работе в закрытых помещениях и цехах применяют аккумуляторные погрузчики. Отечественные аккумуляторные погрузчики выпускают грузоподъемностью не более 5т, погрузчики с двигателем внутреннего сгорания - грузоподъемностью 3,2т и более.

В зависимости от назначения погрузчики выполняют в виде самоходных тележек, имеющих подвижную платформу с подъемным грузозахватным устройством, или в виде тягачей для буксирования прицепных тележек. В зависимости от характера выполняемой работы и вида груза погрузчики оборудуют различными специальными приспособлениями для захватывания штучных грузов и укладки их в штабеля или на стеллажи.

Универсальность погрузчика и возможность его использования определяются числом и конструкцией сменных грузозахватных приспособлений, основным их которых является вилочный захват. Для работы с некоторыми грузами (бочки, рулоны, ящики и т.п.) на каретке грузоподъемного устройства устанавливают захват с челюстями плоской или полукруглой формы, которые можно поворачивать на угол 90 ... 3600. Это позволяет установить его на требуемом положении. Для удобства захватывания, транспортирования и укладки· грузов рама погрузчика может отклоняться вперед на угол 3 ... 6° (рис.1.2) и назад на угол 10 ... 15°. Наклон рамы вперед, про изводимый при помощи гидроцилиндра, облегчает сталкивание груза с вилочного захвата при штабелировании, наклон назад увеличивает устойчивость погрузчика при пере возке груза.

Отечественные погрузчики имеют гидравлический или механический привод грузоподъемного устройства. Преимуществом гидравлического привода является плавность подъема и опускания каретки, широкий диапазон регулирования скорости и простота конструктивной схемы. Механический привод требует применения специального редуктора и весьма длинной грузовой цепи.

Рисунок 2.2-Погрузчик

2.3 Ленточные конвейеры

Общее устройство, типы. Ленточные конвейеры являются наиболее распространенными машинами непрерывного действия. Технико-экономические исследования, опыт проектирования и эксплуатации ленточных конвейеров показывают, что для транспортирования сыпучих грузов с грузооборотом 5...25млн.т в год на расстояние до 100км применение ленточных конвейеров экономичнее, чем использование железнодорожного и автомобильного транспорта.

Ленточные конвейеры отличаются высокой производительностью (до 30-40тыс т в час), простотой конструкции, малой массой на единицу производительности, надежностью. небольшим расходом энергии, возможностью перемещения груза с большими скоростями. К недостаткам конвейеров следует отнести относительно малую долговечность ленты вследствие влияния температуры окружающей среды, ограниченное применение диапазоном температур от -60 до +200СС, а также пылеобразование при транспортировании легких сыпучих грузов.

Ленточные конвейеры (рис. 1.3) имеют тяговый элемент 7, выполненный в виде бесконечной ленты, являющейся одновременно несущим элементом конвейера, привод 14. приводящий в движение приводной барабан 15. натяжное устройство 2 с натяжным барабаном 3 и натяжным грузом 1, роликоопоры 6 на рабочей ветви ленты и роликоопоры 5 на холостой ветви ленты, отклоняющий барабан 8. загрузочные устройства 9 и 10. разгрузочный желоб 11 и устройство для очистки ленты 12. Все элементы конвейера смонтированы на металлической конструкции.

Рисунок 2.3-Ленточный конвейер

         in      15

По конструкции и назначению различают ленточные конвейеры общего назначения (ГОСТ 22644-77 и ГОСТ 22647-77) и специальные.

По конструкции полотна конвейера, опорных ходовых устройств и передаче тягового усилия различают ленточные конвейеры, в которых лента является грузонесущим и тяговым элементом (основной тип), и конвейеры, в которых лента служит только грузонесущим элементом, а тяговым элементом являются два каната или цепи (ленточно-канатные и ленточно-цепные).

3. Приводы машин

.1 Ременные передачи

гидроцилиндр машиностроение производство капролактам

Ременная передача состоит из ведущего и ведомого шкивов и надетого на них ремня. В состав передачи могут также натяжные устройства и ограждения. Возможно применение нескольких ремней и нескольких ведомых шкивов. Основное назначение - передача механической энергии от двигателя передаточным и исполнительным механизмом, как правило, с понижением частоты вращения.

По принципу работы различаются передачи трением и зацеплением (зубчато-ременная).

Ремни передач трением по форме поперечного сечения подразделяют на плоские, клиновые, поликлиновые, круглые, квадратные.

Условием работы ременных передач трением является наличие натяжения ремня.

Клиновые, поликлиновые, зубчатые и быстроходные плоские изготавливают бесконечными замкнутыми. Плоские преимущественно выпускают конечными в виде длинных лент.

Достоинства ременных передач трением: 1) возможность передачи на значительные расстояния; 2) возможность работы с высокими скоростями; 3) плавность и малошумность работы; 4) предохранение механизмов от резких колебаний нагрузки и ударов; 5) защита от перегрузки в результате проскальзывания ремня по шкиву; 6) простота конструкции, отсутствие необходимости смазочной системы.

Недостатки: 1) значительные габаритные размеры; 2) значительные силы, действующие на валы и опоры; 3) непостоянство передаточного отношения; 4) малый срок службы ремней; 5) необходимость защиты ремня от попадания масла.

Зубчато-ременная передача.

Зубчатые ремни выполняют бесконечно плоскими с выступами на внутренней поверхности, которые входят в зацепление с зубьями на шкивах. Достоинства передач: относительно малые габариты, постоянство передаточного числа, высокий КПД, малые силы, действующие на валы. Их применяют при высоких скоростях (до 50 м/с ), передаточных числах до 12, мощностях до 100 кВт. Недостаток передач - привод не защищён от перегрузок от перегрузок за счёт проскальзывания ремня.

Ремни изготавливают двух видов: литьевые (длинной до 800 мм ) или сборочные из армированного металлотросом или стеклокордом неопрена или полиуретана. Зубья ремня выполняют с трапецеидальным или полукруглым профилем.

3.2 Гидравлическая передача Берингер-Штурм

Устройство: гидравлическая передача Берингер-Штурм состоит из насоса, вращаемого первичным двигателем, и гидромотора, передающего соответственно измененное движение приводимому механизму. Оба узла, простым образом соединенные между собой, помещены в одном корпусе, одновременно служащем резервуаром для масла. Насос и гидромотор представляют собой ячейковые агрегаты с меняющимися рабочими полостями. Корпус вращается вместе с лопастями, лопастным барабаном и рабочим маслом.

Принцип действия: гидравлическая передача Берингер-Штурм работает по замкнутому циркуляционному контуру. Насос, вращаемый первичным двигателем, подсасывает масло, поступающее из гидромотора и резервуара, нагнетая его в гидромотор, который в результате этого приводится в движение. При неизменном числе оборотов вторичного выходного вала зависит от соотношения между производительностью всасывающего гидромотора.

Перестановка: у гидравлической передачи Берингер-Штурм бесступенчатое регулирование чисел оборотов может производиться как путем изменения подачи со стороны насоса, так и путем изменения объема гидравлического мотора. При неизменном числе оборотов входного вала перестановка насоса (рукояткой) в основном вызывает изменение числа оборотов при постоянном крутящем моменте, в то время как в результате перестановки гидромотора (штурвалом) достигается изменение числа оборотов при постоянной мощности. Остановка гидравлической передачи осуществляется путем переключения насоса на нулевую подачу, а реверсирование-путем перемены направления подачи со стороны насоса.

Гидравлическая передача Берингер-Штурм даже в условиях нагрузки в обоих направлениях вращения может регулироваться совершенно бесступенчато с нуля вплоть до максимального числа оборотов. Обратная перестановка в нейтральное положение возможна и в период бездействия. Стандартная гидравлическая передача обеспечивает перестановку насоса (посредством рукоятки) и гидромотора (посредством штурвала) независимо друг от друга. Более удобным и простым обслуживание оказывается тогда, когда прибегают к центральной перестановке, предусматривающей совместное регулирование насоса и гидромотора только одним органом, или же к электрической дистанционной перестановке. Перестановочные органы пристроены к гидропередаче, если смотреть на нее со стороны входного вала, справа или слева, однако при всех типах серии ДА они располагаются сверху.

4. Технологический процесс производства капролактама

.1 Общая характеристика производства

Цех капролактам-1 предназначен для получения капролактама из циклогексанона и гидроксиламинсульфата, введен в эксплуатацию в мае 1970 года. Цех в составе производства капролактама первой очереди закуплен комплектно у голландской фирмы "CONTINENTAL ENGINEERING". Технологический процесс разработан голландской фирмой "STAMICARBON".

Технологическая схема получения жидкого капролактама выполнена в два потока каждый мощностью 25 тысяч тонн капролактама в год. Проектная мощность производства 50 тысяч тонн в год при 8 000 часов работы. Проектом предусмотрено отделение кристаллизации капролактама совмещенное со складом жидкого и кристаллического капролактама. Выпуск кристаллического капролактама предусматривался на установке кристаллизации барабанного типа мощностью 50 тысяч тонн в год. В связи с переходом на более прогрессивный способ отгрузки капролактама - в жидком виде, установка кристаллизации капролактама в 1970 году была законсервирована и частично демонтирована. В 1983 году установка частично восстановлена. Достигнутая мощность установки 36 000 тонн кристаллического капролактама в год при 8 000 часов работы.

Склад капролактама входит в состав цеха капpолактама-1 и предназначен для получения и хранения кристаллического капролактама, хранения и выдачи жидкого капролактама.

Генеральный проектировщик производства капролактама ГИАП г. Москва.

Проект обеспечения установки сырьем и энергоресурсами выполнен ГИАП г.Гродно.

В декабре 1974 года и июне 1975 года в два этапа было произведено расширение производства капролактама на 10 000 тонн в год.

Проект расширения цеха капролактама (корпус 2007) выполнен: - технологическая, электрическая части, КИПиА, сметы - ГИАП г. Москва; - строительная часть, отопление и вентиляция, водопровод, канализация - Гродненским комплексным отделом ГИАП.

Реконструкция стадии оксимирования по проекту "Улучшение качества капролактама и перевод отделения капролактама на гидроксиламинсульфат, получаемый прямым синтезом" с изменениями, внесенными предприятием (проектно конструкторским отделом) осуществлена в 1978 году.

Проект разработан ГИАП г. Москва.

В 1983 году по проекту ГИАП смонтирован ректификатор капролактама.

В июле 1989 года внедрено научно-техническое мероприятие «Изменение схемы работы испарителей капролактама Х - 706 А/В».

В августе 1989 года внедрено два научно-технических мероприятия «Реконструкция установки ректификации капролактама» и «Измененная схема стадии выпаривания на привозном циклогексаноне».

В декабре 1989 году внедрено научно-техническое мероприятие « Увеличение производительности стадии ионообмена за счет изменения конструкции ионообменных колонн на 3-ем потоке».

Проекты выполнены ПКО «Гродно Азот». В результате внедрения мероприятия производительность цеха по жидкому капролактаму увеличилась на 1 200 тонн в год.

Достигнутая мощность производства по жидкому капролактаму 61,2 тысячи тонн в год.

В 1997 году смонтирована и введена в эксплуатацию установка кристаллизации капролактама ленточного типа. Проект получения и упаковки кристаллического капролактама разработан фирмами SANDVIK и MЦLLERS Технологическая схема получения кристаллического капролактама выполнена в два потока. Проектная мощность установки 48 тысяч тонн капролактама в год при 8 000 часов работы.

В 2005 году с цель экономии олеума, аммиака по проекту « Двухступенчатая перегруппировка циклогексаноноксима в капролактам» произведена реконструкция стадии перегруппировки. Проект во всех частях выполнен проектно конструкторским отделом ОАО «Гродно Азот»

По технико-экономическому уровню производство капролактама первой очереди, включая цех капролактама, относится к высшей категории.

4.2 Общая характеристика производимой продукции

Капролактам (лактам e - аминокапроновой кислоты) выпускается в жидком или кристаллическом виде по ГОСТ 7850-86.

Важнейшей областью применения полиамидного волокна является шинная промышленность. Полиамидное волокно используется при производстве тросов, канатов, веревок, рыболовецких сетей. В производстве товаров народного потребления из полиамида получают чулочно-носочные и трикотажные изделия, пленки.

Составлено экспертное заключение о проверке на патентную чистоту процесса получения капролактама в отношении стран США, ФРГ, Англии, Югославии и стран СНГ и на его основе патентный формуляр (по форме 1 ГОСТ 2.110868)

Согласно экспертному заключению производство капролактама из циклогексанона на ОАО "Гродно Азот" обладает патентной чистотой в отношении стран СНГ, ФРГ, Франции, Англии, США.

Капролактам - белое кристаллическое вещество или жидкость без механических примесей. Структурная формула

Эмпирическая формула C6H11NO

Таблица 4.1 - Физико-химические показатели по ГОСТ 7850-86

 Наименование показателя

Норма для сорта

Метод испытания


высшего

первого

второго



ОКП 24 33220120

ОКП 24 332200130

ОКП 24 33220140


1 Перманганатный индекс, ед., не более

4

5

7

По ГОСТ 26743.7-86

2 Цветность водного раствора капролактама с массовой долей 50 %, ед. Хазена, не более

3,0

4,0

5,0

По ГОСТ 26743.1-91

3 Содержание летучих оснований, ммоль/кг, не более

0,4

0,5

0,6

По ГОСТ 26743.8-86

4 Температура кристаллизации, °С, не ниже

68,8

68,8

68,8

По ГОСТ 26743.2-91

5. Массовая доля железа, %, не более

0,00002

0,00002

0,00002

По ГОСТ 26743.4-85

6 Массовая доля циклогексаноноксима, %, не более

0,002

0,002

0,002

По ГОСТ 26743.3-91

7 Оптическая плотность раствора капролактама с массовой долей 50 %, не более

0,04

0,05

0,06

По ГОСТ 26743. 3-91

8 Щелочность, ммоль/кг, не более

0,1

0,1

0,05

По ГОСТ  26743.5-91

9 Кислотность, ммоль/кг, не более

0,05

0,05

0,1

По ГОСТ 26743.5-91

10 рН 20%-ного водного раствора, ед.рН

6,7-7,3

6,7-7,3

6,7-7,3

По ГОСТ 26743.5-91


Молекулярный вес - 113,16

Температура вспышки - 135 °С

Температура самовоспламенения - 400 °С

Нижний температурный предел воспламенения - не менее 123 °С Нижний концентрационный предел взрываемости в смеси с воздухом - 43 г·м

Продукт гигроскопичен и легко растворяется в воде, спирте, бензоле, трихлорэтилене.

4.3 Описание технологического процесса и схемы производства

Процесс получения капролактама состоит из следующих стадий:

Перегруппировка и нейтрализация.

Экстрагирование.

Ионообменная очистка.

Выпаривание воды из водного раствора капролактама.

Дистилляция и ректификация капролактама.

Кристаллизация капролактама.

В связи с тем, что технологический процесс получения капролактама выполнен в два потока (А и В) аналогичных друг другу, описание технологического процесса и схемы производства приводится для потока А.

Для стадий ионообменной очистки, выпаривания технологический поток С и ректификация капролактама описываются отдельно. Стадия дистилляции потока С аналогична потокам А, В.

4.3.1 Стадия оксимирования

Циклогексаноноксим (далее по тексту оксим) получают по открытой Мейером в 1882 г. реакции между гидроксиламинсульфатом (далее по тексту ГАС) и циклогексаноном (далее по тексту анон).

Взаимодействие анона с ГАС протекает по механизму электрофильного замещения. Электрофильный характер атома углерода карбонильной группы в молекуле анона усиливается протонированием кислородного атома карбонильной группы кислотой. При этом атом углерода приобретает положительный заряд.

. Присоединение атома азота ГАС за счет неподеленной электронной пары к положительно заряженному атому углерода.

. Миграция атома водорода к кислородному атому карбонильной группы:

Лимитирующей стадией процесса оксимирования является стадия два, присоединение атома азота ГАС за счет неподеленной электронной пары к положительно заряженному атому углерода.

Оптимальной величиной для проведения реакции оксимирования является значение рН от 3,0 до 4,5 ед. рН. В реальных условиях процесс осуществляется при рН от 4,5 до 5,8 ед. рН

Для обеспечения достаточно полного превращения анона в оксим и подавления побочных реакций процесс проводят в две ступени по противоточной схеме.

На второй ступени во избежание проскока анона в оксиме, создают 30 - 40 %-ный избыток ГАС. На первой ступени избыточный ГАС извлекается из раствора сульфата аммония при взаимодействии с аноном.

При умеренно высоких температурах, реакцию на первой ступени, где имеется избыток анона, проводят при температуре от 50 °С до 60 °С. При этой температуре ограничиваются побочные реакции. При температуре менее 40 °С на 1-ой ступени возникает опасность кристаллизации смеси анон-оксима в трубопроводах и оборудовании.

Температура процесса оксимирования на второй ступени поддерживается в      пределах от 78 °С до 90 °С. Нижний предел определяется температурой кристаллизации оксима (при массовой доле влаги в оксиме 5 % - 78 °С); при повышении температуры выше 90 °С интенсивно протекают побочные реакции. Протекание побочных реакций на 2-ой ступени сдерживается за счет 30 - 40 %-ного избытка ГАС, так как скорость реакции анона с ГАС значительно выше скорости реакции димеризации анона.

При проведении процесса оксимирования большое значение имеет хорошее смешение реагирующих компонентов. Смешение реагентов на 1-ой ступени осуществляется за счет циркуляционных насосов, а также тангенциального ввода линии нагнетания этих насосов в реактор первой ступени. Перемешивание реагентов в реакторе оксимирования 2-ой ступени, осуществляется пропеллерной мешалкой, кроме того, за счет циркуляционных насосов и тангенциального ввода линии нагнетания этих насосов в реактор оксимирования 2-й ступени. Оксим, полученный на второй ступени процесса оксимирования, содержит значительное количество воды, что отрицательно сказывается при проведении процесса перегруппировки, поэтому он подвергается осушке при помощи 40 % - ного раствора сульфата аммония, подаваемого из цеха сульфата аммония. Для подавления гидролиза оксима в реактор - осушитель 2-й ступени оксимирования подается раствор ГАС и 25 % - ная аммиачная вода.

Примеси, содержащиеся в исходных продуктах, могут повлиять на процесс оксимирования и как следствие на качество готового продукта следующим образом:

повышенное содержание железа в аммиачной воде, при высокой температуре, оказывает каталитическое действие на окисление анона в циклогексадион

повышенное содержание меди в аммиачной воде приводит к ухудшению окраски при получении оксима;

повышенное содержание циклогесанола в аноне приводит к увеличению оптической плотности чистого капролактама;

повышенное содержание гептанона-2 в аноне приводит к увеличению содержания летучих оснований в капролактаме.

4.3.2 Стадия перегруппировки и нейтрализации

В основе процесса переработки оксима в капролактам (далее по тексту лактам) лежит реакция.

Реакция идет с выделением тепла в количестве 235 кДж - в пересчете на 1 моль оксима.

Реакция перегруппировки протекает при катализе сильными минеральными кислотами (олеумом). Механизм является ионным и включает образование катиона с положительным зарядом на атоме азота и миграцию к нему алкильной группы. На заключительной стадии лактимная форма ε - капролактама переходит в лактамную.

Выход реакции в промышленных условиях составляет 99,5 % при температуре от 96 °С до 125 °С.

Механизм Бекмановской перегруппировки оксима в лактам можно представить в следующем виде: 1 стадия

стадия

При этом происходит образование катиона с положительным зарядом на атоме азота. 3 стадия

Гидролиз сульфоэфира лактимной формы ε - капролактама с образованием ε- капролактама в лактимной форме и серной кислоты:

Стадия гидролиза сульфоэфира в крепком олеуме протекает незначительно, этим и обусловлена необходимость стадии нейтрализации, где в основном проходит гидролиз сульфоэфира. 5 стадия

Переход e - капролактама из лактимной формы в лактамную (лактим-лактамная таутомерия)

Лимитирующей стадией Бекмановской перегруппировки является разрыв связи С - С с образованием связи С - N. Ввиду незначительного гидролиза сульфоэфира в 21,5 - 24 %-ном олеуме, перегруппированный продукт состоит из следующих соединений:

В связи с этим процесс получения лактамного "масла" заканчивается обработкой перегруппированного продукта аммиачной водой на стадии нейтрализации.

Процесс Бекмановской перегруппировки оксима в лактам проводится в реакторах перегруппировки по двухступенчатой схеме. Предусмотрена возможность ведения процесса перегруппировки по одноступенчатой схеме. Вторая ступень перегруппировки работает параллельно с одной из первых ступеней или одновременно с двумя первыми ступенями. Перегруппировка оксима на первой ступени при работе по двухступенчатой схеме осуществляется при температуре от 96 °С до 115 °С, на второй ступени при температуре от 100 °С до 125 °С. При работе в стадии перегруппировки в одну ступень перегруппировка оксима осуществляется при температуре от 114 °С до 125 °С. Данные температуры обеспечивают наивысшую скорость целевой реакции при относительно низких скоростях побочных реакций. При более низкой температуре происходит накопление оксима вследствие понижения скорости реакции и увеличения вязкости циркулирующего перегруппированного продукта. Оксим и олеум подаются в молярном соотношении 1/1,65, так чтобы кислотность перегруппированного продукта составила от 57,5 % до 61,5 % при работе по одноступенчатой схеме и от 61 % до 65 % при работе по двух ступенчатой схеме. При кислотности менее 57,5 % происходит увеличение вязкости перегруппированного продукта и как следствие этого, ухудшение теплосъема и накопление оксима в продукте, что может привести к выбросу. Кроме того, при снижении кислотности происходит неполное связывание воды в оксиме, что приводит к гидролизу оксима на анон и ГИАМ. Выделившийся анон в свою очередь вступает в реакции поликонденсации с образованием продуктов конденсации и воды. Реакция идет как цепная и приводит к выбросу токсичных продуктов. Увеличение кислотности перегруппированного продукта более 65 % ведет к неоправданному перерасходу олеума, а также снижает эффективность процесса перегруппировки, так как SO3 в олеуме оказывает окисляющее действие на лактам.

Критерием отсутствия воды в перегруппированном продукте является массовая доля свободного SО3 в перегруппированном продукте в пределах от 1 % до 5 %.

Примеси, содержащиеся в исходных продуктах, могут влиять на процесс следующим образом:

повышенное содержание анола в аноне ведет к возрастанию экстинкции чистого лактама.

При перегруппировке анол реагирует с олеумом с образованием продуктов разложения;

повышенное содержание анона в оксиме ведет к возможности сульфирования анона и вспенивания при перегруппировке.

В процессе перегруппировки могут иметь место следующие побочные реакции:

две молекулы оксима могут давать декагидрофеназин-I и октагидрофеназин-II.

Этим побочным реакциям способствует повышенное содержание оксима в перегруппированном продукте, что является следствием снижения скорости реакции перегруппировки, происходящей при снижении температуры процесса.

Температура более 140 °С может привести к выбросу. Свободная вода в перегруппированном продукте приводит к гидролизу оксима на анон и гидроксиламин:

Реакция идет как цепная.

Процесс нейтрализации перегруппированного продукта проводится при температуре от 40 °С до 55 °С. При более высокой температуре происходит гидролиз лактама в ε - аминокапроновую кислоту, что снижает выход полезного продукта, а также нарушается технологический режим стадии экстрагирования:

При более низкой температуре возникает опасность кристаллизации сульфата аммония в циркуляционных холодильниках нейтрализации. рН процесса нейтрализации поддерживается в пределах от 4,5 до 6,0 ед. рН. Отклонение от них может привести к неудовлетворительному разделению фаз в сепараторе поз. S - 706, в результате чего в лактамном «масле» окажется значительное количество сульфата аммония, который, пройдя через стадию экстрагирования, попадает на стадию дистилляции, где явится инициатором полимеризации капролактама. По этой же причине необходимо строго выдерживать массовую долю раствора сульфата аммония после сепаратора поз. S - 706, от 38 % до 43 %. При более высокой массовой доле сульфата аммония возможна его кристаллизация.

4.3.3 Стадия экстрагирования

Для выделения лактама, содержащегося в лактамном "масле", применяется двухступенчатая экстракция. Первая ступень - экстракция лактама бензолом, при этом в водном остатке (далее по тексту рафинат) остаются водорастворимые примеси. На второй ступени лактам экстрагируют водой из бензольного раствора лактама, примеси органического характера, нерастворимые в воде, остаются в бензоле.

Проведение экстрагирования лактамного "масла" бензолом с получением бензольного раствора лактама с концентрацией не более 20 % приводит к небольшому увеличению энергетических расходов, это оправдано тем, что в экстракт с лактамом переходит меньшее количество примесей, особенно водорастворимых смол.

Часть бензола, используемого для экстрагирования, подвергается дистилляции и ректификации для предотвращения накопления примесей. Бензольная и водная экстракции осуществляются при температуре от 30 °С до 45 °С, так как при более высокой температуре в экстракте растворяется больше примесей, а при более низкой температуре снижается эффективность экстрагирования. Двухступенчатая экстракция проводится в роторно-дисковых экстракторах диаметром 1 400 мм и высотой экстракционной части 16,3 м.

4.3.4 Стадия ионообменной очистки

После экстракционной очистки водный раствор лактама проходит очистку с использованием ионообменных смол. Сначала раствор очищают на анионите, где удаляют анионы (например, НSО3 - , НСОО-, SO32-, SO42-) и происходит адсорбция органических примесей. Процесс в общем виде можно представить уравнением: 2 Ро1-NR-OH + SO42- → (Ро1-NR)2 SO4 + 2 OH- Ионы ОН - поступают в раствор. Затем раствор лактам-воды очищают катионообменной смолой для удаления катионов (например NH4+, NR+). Процесс в общем виде можно представить уравнением: Ро1-SO3-H + NH4+ → Ро1-SO3-NH4 + H+

Ионы Н+ поступают в раствор, взаимодействуют с ионами ОН- с получением воды: ОН- +Н+ → Н2О После этого водный раствор снова проходит через анионит для удаления оставшихся анионов и органических примесей.

Для вытеснения примесей, адсорбированных на смолах, проводят процесс их регенерации. Смолы переводят в солевую форму обработкой раствором азотной кислоты или едкого натра. В колонны, заполненные анионитом, подают раствор азотной кислоты:

Ро1-NR-OH + HNO3 → Ро1-NR-NO3 + H2O

В колонны, заполненные катионитом, подают раствор едкого натра:

Ро1-SO3-H + NaOH → Ро1-SO3-Na + H2O

Избыток кислоты и щелочи удаляют обессоленной водой и проводят активацию смол.

В колонны, заполненные анионитом, подают раствор едкого натра:

Ро1-NR-NO3 + NaOH → Ро1-NR-OH + NaNO3

В колонны, заполненные катионитом, подают раствор азотной кислоты:

Ро1-SO3-Na + HNO3 → Ро1-SO3-H + NaNO3

Затем проводят отмывку колонн обессоленной водой.

Колонны стадии ионообменной очистки эксплуатируют при температуре не более 50 °C, температура более 50 °С вызывает разрушение термолабильных ионообменных смол.

4.3.5 Стадия выпаривания воды из водного раствора лактама

При работе стадии выпаривания необходимо поддерживать заданный температурный режим. Неудовлетворительная работа стадии выпаривания приводит к образованию олигомерных соединений и снижает технико-экономические показатели процесса, затрудняет проведение очистки лактама на последующих стадиях дистилляции и ректификации.

4.3.6 Стадия дистилляции и ректификации лактама

В соответствии с классификацией процессов перегонки, капролактам относится к тяжелокипящим продуктам. Дистилляцию и ректификацию капролактама проводят при остаточном давлении от 260 до 660 Па. В связи с тем, что капролактам является термически нестойким продуктом, в процессе его перегонки необходимо обеспечить минимально возможное термическое воздействие.

Этому требованию соответствуют роторные тонкопленочные и тепло- массообменные аппараты - испарители и ректификаторы. Они обладают низким гидравлическим сопротивлением, время пребывания в них перерабатываемого продукта составляет несколько секунд.

В связи с тем, что при нагревании капролактама образуется ε -аминокапроновая кислота, перед дистилляцией капролактама в него добавляется натриевая щелочь для связывания кислоты в нелетучую соль:

4.3.7 Кристаллизация лактама

Процесс кристаллизации лактама ведется из расплава лактама на поверхности кристаллизатора (барабана или ленты), охлаждаемой с внутренней стороны водой. Поскольку идет застывание расплава лактама (отсутствует маточный расплав), то все примеси из расплава капролактама переходят в кристаллический продукт. В процессе кристаллизации может происходить окисление капролактама, а также десорбция легколетучих примесей с поверхности кристаллического продукта. Все это приводит к различию в качестве расплава капролактама и качестве получаемого из него кристаллического продукта.

При ведении процесса кристаллизации в производственном помещении установки ленточной кристаллизации поддерживается температура окружающего воздуха не более 30 оС и относительной влажности не более 80 % промышленным кондиционером.

Заключение

В результате прохождения общеинженерной практики закрепил знания по общим дисциплинам такие как:

· гидравлика;

· гидромашины и гидропривод;

· детали машин и ПТМ;

· материаловедение и защита от коррозии;

· технология машиностроения;

· общая химическая технология и тд.

А также были приобретены навыки по правильному выбору конструкционных материалов и технологии изготовления детали, что в свою очередь является немало важной задачей общеинженерной практики.

Список использованной литературы

• Ф.Андреев, Л.Козлов и др., «Технология связанного азота», издательство «Химия», Москва, 1966 г.

• М. Позин «Расчеты технологии неорганических веществ», издательство «Химия», Москва, 1977 г.

• В. Перельман «Краткий справочник химика», издательство «Химия», Москва. 1964 г.

• «Проектирование технологических процессов механической обработки в машиностроении» В. В. Бабука - Мн.; Высш. шк., 1987 г.

• «Гидравлика и гидравлические машины» В. Ф. Медведев, Мн; Высш. шк., 1998 г.

• М. П. Александров «Подъемно-транспортные машины», - Москва, Машиностроение, 1984 г.

Похожие работы на - Гидравлические машины, подъемно-транспортные устройства и приводы машин. Технология процесса производства капролактама

 

Не нашли материал для своей работы?
Поможем написать уникальную работу
Без плагиата!
Без нейросетей!