Выполнение тяговых расчетов и производительности машин на примере аэродромной уборочной универсальной машины ДЭ-235
1. Определение силы тяги базовой машины
Кроме главного параметра - общей массы машины 
к числу основных параметров относится: сцепной вес без съемного
рабочего органа.
машина снегоочиститель аэродромный уборочный

,
где ξ - коэффициент
нагрузки ведущих колес.
где 
- масса машины, приходящаяся на ведущие колеса, кг;

- масса машины, кг;

- ускорение свободного падения, м/с².
∑М(А)=0 
Сцепной вес со съемным рабочим органом.

,
где 
- масса сменного рабочего органа, кг.

,
Сила тяги 
базовой машины без съемного рабочего органа:
где 
- коэффициент сцепления
Коэффициент сцепления 
выбирается из таблиц.

для шин низкого давления
Сила тяги 
базовой машины со съемным рабочим органом:
Суммарное сопротивление ∑W, возникающее во время работы машины ДЭ-235, не должно превышать
тягового усилия снегоочистителя по сцепному весу 
и 
.
Давление воздуха в шинах низкого давления изменяется от 0,05 до
0,2…0,25 МПа, высокого давления - свыше 0,25 МПа.
2. Выбор основных параметров отвала
Основной функцией отвала является сгребание снега и направление
его в сторону от очищаемой полосы. Принимаем, что при сгребании свежевыпавшего
неуплотненного снега, частицы во время движения перед отвалом будут отклоняться
перпендикулярно к поверхности отвала на угол δ в сторону сдвигания, т.е. 
, где 
- коэффициент трения о поверхность отвала. Эффективность
сдвигания снега отвалом обычно оценивается по коэффициенту эффективности.
где φ - угол
захвата между направлением скорости движения машины и поверхности отвала.
Схема сил, действующих при работе отвала, показана на рис. 1.
Рис. 1 - Схема сил, действующих на отвал при очистке снега с
поверхности покрытия
Проведенные исследования плужных снегоочистителей показали, что
подъем снега по поверхности отвала начинается в диапазоне скоростей
снегоочистителя 15÷20 км/ч.
Начало отбрасывания снега с верхней кромки примерно со скоростью 25 км/ч. Таким
образом, критической скоростью, при достижении которой срезанный снежный слой
начинает приобретать, упорядоченное движение по отвалу, можно считать скорость
25 км/ч. Поэтому тяговый расчет при работе машины с плужным снегоочистителем
(отвалом) производится при скорости передвижения базовой машины 25 км/ч.
3. Тяговый расчет машины при работе с
отвалом
При работе с отвалом возникают силы сопротивления W' равные сумме
сопротивлений, которые вызываются взаимодействием отвала со средой и покрытием
взлетно-посадочной полосы, рулежных дорожек мест стоянки воздушных судов.
где 
- сила сопротивления снега резанию, Н

- сила сопротивления перемещению снега перед отвалом, Н

- сила сопротивления перемещению снега вдоль отвала, Н

- сила, учитывающая инерцию снега, Н

- сила сопротивления снега перемещению по отвалу, Н

- сопротивление перемещению по отвалу, Н

- сопротивление перемещению машины, Н
Сила сопротивления снега резанию находится:

,
где 
- ширина захвата отвала, м;

- средняя высота удаляемого слоя снега, м;

- коэффициент сопротивления снега резанию, Па.

,
где 
- длина отвала, м;

- угол установки отвала, град.

=2 кПа;

.
Сила сопротивления снега перемещению перед отвалом возникает в
результате трения призмы волочения снега о поверхность покрытия.
где 
- масса призмы волочения, кг;

- коэффициент внутреннего трения снега о снег;
φ - угол установки отвала, град;

- угол трения о поверхность отвала, град;
где 
- средняя высота убираемого снега, м;

- плотность снега, кг/м³;
Данные о плотности снега 
и коэффициента внутреннего трения снега 
выбираются из таблиц по соответствующим этим единицам параметрам.

=200 кг/м³;

=0,33°С.
Сопротивление перемещения снега вдоль отвала возникает под
воздействием силы трения в результате движения призмы волочения вдоль отвала.
где 
- нормальная к отвалу составляющая сил инерции и трения призмы
волочения, Н.
где ρ - угол
внутреннего трения снега о снег, град.
При рабочей скорости плужных снегоочистителей 
1,5…2 м/с учитывается сила инерции снега 
, возникающая вследствие затрат энергии на разгон снега при
переходе из неподвижного массива, движущуюся вдоль оси движения машины, призму
волочения.
где 
- рабочая скорость машины, м/с
Сопротивление снега перемещению по отвалу.
где 
- угол резания, град.

.
Сопротивление перемещению отвала по снегу при установке его в
плавающее положение.
где 
- уклон покрытия (принимает 
);

- вес отвала, Н (
).

.
Сопротивление перемещению универсальной машины

,
где 
- масса машины, кгс;

- коэффициент сопротивления перекатывания колеса (
=0,025…0,03 при толщине снега 2…3 см).

,

.
4. Теоретическая объемная производительность
машины при работе с отвалом
Теоретическая объемная производительность (м³/с) определяется сечением снимаемого слоя снега и рабочей скоростью
снегоочистителя.
где 
- рабочая скорость машины, км/ч.
5. Мощность необходимая для работы плужного
снегоочистителя
Мощность необходимая для работы плужного снегоочистителя.
где 
- коэффициент полезного действия (
);

- суммарное сопротивление, возникающее при взаимодействии отвала
со средой и покрытием, Н;

- скорость машины, м/с.

=414+512,6+145,9+77,8+424,4+1334,2+7636,1=10545 H

условие выполнено.
6. Тяговый расчет снегоочистителя при работе
со щеткой
Во время работы цилиндрической снегоочистительной щетки
возникают следующие силы сопротивления.
Сила сопротивления, вызываемая волочением ворса щетки по
дорожному покрытию.
где 
- вертикальная реакция покрытия на ворс щетки, Н

- коэффициент трения ворса о поверхность покрытия
где 
- радиус щетки, м;

- модуль упругости материала ворса, Па;

- осевой
момент инерции сечения прутка, 
;

- свободная
длина прутка, м;

- деформация прутка, м

- окружная скорость конца прутка ворса, м/с
Момент инерции сечения прутка
где 
- диаметр прутка, м.

для стального ворса.
где 
- рабочее число прутков ворса;

- длина щетки, м;

- угол поворота ворсинки от начала контакта с покрытием до ее
вертикального положения.
где 
- частота вращения щетки, об/мин;

- диаметр щетки, м.

для
стальной проволоки;

для стального ворса;

.
Сила сопротивления, возникающая при срезании щеткой, остающегося
после работы отвала, слоя снега равна:
где 
- ширина захвата щетки, м;

- длина дуги, м;

- длина базовой машины за поворот щетки на угол 
, м.
где 

- частота вращения щетки, 
.

.
Суммарное сопротивление при работе плужного снегоочистителя и
щетки в проекции на ось движения машины приложено к режущей кромке отвала и в
начале контакта очередного прутка ворса щетки с покрытием.

H.
7. Производительность и мощность привода
цилиндрической щетки
Техническая производительность цилиндрической щетки

,
где 
- ширина полосы, очищаемой за один проход машины, м;

- коэффициент перекрытия снежных проходов (
=1,1÷1,5).
Мощность необходимая для привода цилиндрической щетки
где 
- мощность, затраченная на передвижение машины, кВт;

- мощность, затраченная на привод щетки, кВт.
Во время работы цилиндрической щетки часть мощности передается
через ведущее колесо базового шасси.
где 
- КПД передачи от двигателя до ведущих колес.
Кроме того, мощность передается от гидромотора двигателя привода
щетки, равная сумме мощностей затраченных на преодоление сопротивлений при
волочении ворса и срезании снега.
где 
- КПД передачи от гидромотора к щетке, м/с.

8. Определение поперечной устойчивости
машины при работе с отвалом и щеткой
Схема расчета продольного нагружения универсальной уборочной
машине при работе с отвалом и щеткой показана в приложении 2. Для определения
реакций 
и 
составляем уравнения моментов относительно точек А и В.
∑M(B)=0 
;
∑M(B)=0 
.
где 
- реакции от массы отвала;

- масса машины без отвала;
Зная усилия на рабочих органах и реакции опор, на колесах могут
быть выполнены необходимые прочностные расчеты основных узлов машины.
Для определения поперечной устойчивости машины по приложению 3
необходимо определить реакции колес 
и 
в поперечном направлении, для этого составим уравнение моментов
относительно точек Б и Г.
Сцепной вес, приходящийся на переднюю ведущую опору колес, равен
реакции опоры передних колес 
, на заднюю - 
.

,

,
где 

,

,

.
∑M(Б)=0 
;
∑M(Г)=0 
.

,
где 
- угол установки отвала.

.
где 
- угол установки щетки.

.
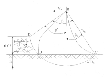
Условие поперечного перемещения задних колес соблюдается.
9. Определение поперечной устойчивости
машины при работе с отвалом, щеткой и воздушным потоком
Сила реакции струи воздуха при истечении из направляющего
кожуха равна произведению площади поперечного сечения струи воздуха на напор,
под которым струи вытекает из направляющего кожуха.

,
где 
- площадь поперечного сечения кожуха воздушной струи;

- напор струи, Па.

,
где 
- ширина отверстия выходного кожуха, м;

- высота отверстия выходного кожуха, м.
∑М(Б)=0 
∑М(Г)=0 
где 
- реакция струи холодного воздуха, Н.
10. Определение поперечной устойчивости машины
при работе со съемной (тепловым) рабочим органом
Для определения реакций 
и 
составим уравнения моментов относительно точек В и Д.
∑М(В)=0 
∑М(Д)=0 
Сила сцепления, удерживающая от поперечного перемещения передних и
задних колес при работе со съемным органом.

,

.

.
Для определения поперечной устойчивости машины при работе со
съемным органом необходимо определить реакции колес 
и 
в поперечном направлении.
∑М(Б)=0 
∑М(Г)=0 
где 
- реакция тепловой газовой струи на машину.
Расчеты для определения поперечной устойчивости машины при работе
со съемным рабочим органом показали, что условия 

выполняются.
Заключение
Таким образом, выполненные тяговые расчеты показали, что тяговая
характеристика аэродромной уборочной универсальной машины обеспечивает режим
работы со всеми рабочими органами в продольном направлении и устойчивость от
перемещения в поперечном направлении. Мощность базовой машины достаточна для привода
ведущих колес и щетки.
Список источников
1. Желукевич
Р.Б. Машины и Агрегаты для содержания аэродромов: учеб. пособие/ Р.Б.
Желукевич, В.Н. Подвезенный. Красноярск: ИПЦ КГТУ, 2003. - 294 с.
3. Система менеджмента
качества. Общие требования к построению, изложению и оформлению документов
учебной и научной деятельности СТО 4.2-07-2008, Красноярск, 2008. - 47 с.