|
Типоразмер
бака
|
Типоразмер
колонки
|
Объем,
м3
|
Диаметр
бака, мм
|
Максимальная
длина, мм
|
|
БДП-65-1
|
КДП
- 500
|
65
|
3024
|
9500
|
2.2.3 Расчет деаэратора
Назначение, устройство и работа деаэратора
Деаэраторы повышенного давления (ДПВ) в тепловой
схеме станции выполняют целый ряд функций: помимо своей основной - деаэрации
питательной воды, они служат ступенью подогрева в регенеративной схеме
подогрева воды, аккумулирующей и буферной емкостью между конденсатными и
питательными насосами, являются источником пара постоянного давления и
температуры, а также местом ввода в схему разного рода высокопотенциальных
дренажей. Однако основной функцией деаэраторов является удаление из питательной
воды коррозионно-активных газов. Такими газами являются кислород (02) и
свободная двуокись углерода (С02).
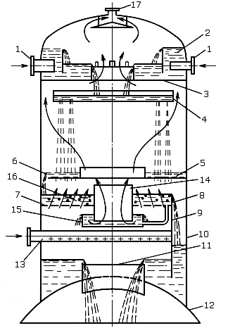
На рисунке 2.5 представлена принципиальная схема
деаэратора. Установка состоит из деаэрациоиной колонки и бака аккумулятора.
Подача деаэрируемой воды осуществляется в верхнюю, а греющего пара в нижнюю
часть колонки. Поступающая в бак-аккумулятор вода имеет температуру, близкую к
температуре насыщения. Процесс дегазации воды в основном осуществляется в колонке,
хотя и в баке-аккумуляторе за счет отстоя происходят частичное выделение
мельчайших пузырьков газа и их удаление.
Рисунок 2.5 - Принципиальная схема деаэратора: 1
- деаэраторная колонка; 2 - бак-аккумулятор; 3 - охладитель выпара; 4 -
регулятор давления. 5 - регулятор уровня; 6 - гидравлический затвор; 7 -
предохранительный клапан: 8-подвод химически очищенной воды; 9 - подвод
основного конденсата; 10 - подвод дренажа подогревателей высокого давления; 11
- подвод греющею пара; 12 - отвод деаэрированной воды; 13 - отвод выпара; 14 -
выхлоп в атмосферу; 15 - дренаж; 16 - теплообменник для охлаждения проб воды;
17 - водоуказательное стекло
Эффективность деаэрации воды в деаэраторах
зависит от конструкции деаэраторов, давления, при котором происходит деаэрация,
а также от режима эксплуатации.
По способу организации контакта воды с греющим
паром деаэраторы разделяются на пленочные, струйные, капельные, барботажные и
комбинированные, сочетающие в себе два или несколько из перечисленных способов
увеличения свободной поверхности воды.
Нагрев деаэрируемой воды до температуры
насыщения еще не является достаточным условием для качественной деаэрации. Не
менее важной задачей является создание условий для быстрой эвакуации выделившихся
из воды газов. В деаэраторных колонках газы удаляются паровой продувкой колонки
снизу вверх навстречу потоку падающей воды, после чего парогазовая смесь
удаляется в атмосферу. Этот поток называется «выпаром». Данные эксплуатации
показывают, что эффективность деаэрации в значительной мере зависит от величины
«выпара» (рисунок 2.6). Для деаэраторов повышенного давления эта величина не
должна быть ниже 1,5-2 кг пара на тонну воды.
Рисунок 2.6 - Зависимость эффективности
деаэрации от величины выпара
На эффективность деаэрации влияет также
температура поступающей в деаэратор воды. С повышением температуры воды,
подводимой к деаэратору, вязкость и поверхностное натяжение воды уменьшаются,
скорость диффузии кислорода в слое воды возрастает и эффект деаэрации
улучшается. Однако подавать в колонку воду с температурой, близкой к
температуре насыщения, тоже не рекомендуется, поскольку это сокращает расход
греющего пара и ухудшает условия вентиляции колонки. Минимальный нагрев воды в
деаэраторе должен быть не ниже 5-6°С. Величину нагрева порядка 10-15°С следует
считать оптимальной.
В настоящее время в установках высокого давления
применяются деаэраторы повышенного давления 0,6 - 1,2 МПа. Это позволяет
уменьшить число ПВД. а также улучшить условия деаэрации.[4]
Исходные данные для расчета деаэратора
Давление в деаэраторе: р = 0,6 МПа;
Температура насыщения: tн = 158,8 оС;
Энтальпия пара по насыщению: h'' = 2756,1
кДж/кг;
Удельный объём сухого насыщенного пара (по tн):
Vп = 0,31558 кг/м3;
Энтальпия жидкости по насыщению: h' = 670,5
кДж/кг;
Расход основного конденсата: Dок = 56,5 кг/с;
Энтальпия основного конденсата: hок = hв4 =
642,24 кДж/кг.
Расход дренажа из вышестоящего ПВД:ПВД = Dп1 +
Dп2 + Dп3 + Dу = 2,99+2,64+3,86+0,61= 10,1 кг/с.
Энтальпия дренажа из вышестоящего ПВД: hПВД =
829,6 кДж/кг;
Расход питательной воды: Dпв = 66,67 кг/с;
Энтальпия питательной воды: hпв = h' = 636,6
кДж/кг;
Расход греющего пара из отбора турбины: Dд =
0,266 кг/с;
Энтальпия греющего пара: hд = 2850,7 кДж/кг;
Расход пара из уплотнений штоков: Dшт = 0,194
кг/с;
Энтальпия свежего пара: hшт = h0 = 3357 кДж/кг;
Расход пара из расширителя непрерывной продувки:
D''пр = 0,43 кг/с;
Энтальпия пара из расширителя: h'пр = h'' = 2756
кДж/кг;
Расход пара на эжектор и уплотнения: Dэу = 0,873
кг/с.
Удельная теплота парообразования: = h'' - h' =
2756- 663,6 = 2092,4 кДж/кг.
Тепловой расчёт деаэратора
Проверка теплового баланса:
Входящие потоки: Di hi =
;
Исходящие потоки: Dэу hд + Dпв hпв =
.
Проверка материального баланса:
Расходы входящих потоков Dв = 67,56
кг/с;
Расходы исходящих потоков Dн = 67,56
кг/с.
Суммарный расход воды, подающийся в
водораспределитель:ок = D1 = 56,6 кг/с.
Энтальпия воды в
водораспределителе:ок = hв4 = 642,24 кДж/кг.
Температура воды в
водораспределителе:в1 = f (р; hв4) = 152,27 0С.
Горячие потоки (греющий пар и
конденсат ПВД) поступают в нижнюю часть колонки деаэратора. При этом за счёт
теплоты перегрева греющего пара из потока конденсата ПВД образуется пар в
количестве, которое может быть определено из уравнений теплового и
материального балансов:
где
расход насыщенного пара в деаэраторе
ниже активной зоны.
расход воды в деаэраторе ниже
активной зоны.
отсюда находим:
1,77 кг/с;
9,23 кг/с.
Конструкторский расчёт деаэратора
Принимаем диаметр отверстий в днище
тарелки d=0,005 м и высоту подпора воды на тарелке при расчетной нагрузке
h=0,05 м [9].
Скорость истечения воды из отверстий
тарелки:
;
м/с.
Необходимое число отверстий в
тарелке:
шт.
Площадь тарелки, занятая
отверстиями, размещёнными в шахматном порядке с шагом S = 1,5d0 = 0,0075 м.
тар=
тар=
= 0,092 м2.
Принимаем наружный диаметр
размещения отверстий в тарелке
2 м, тогда внутренний диаметр [9]:
м.
Площадь живого сечения для прохода
по внутренней границе струйного отсека при длине струй l = 0,6 м:
м².
Площадь живого сечения для прохода
по внешней границе струйного отсека:
;
м².
Скорость пара на входе в струйный
отсек:
м/c;
Скорость пара на выходе из струйного
отсека:
м/c.
Средняя скорость пара в струйном
отсеке:
энергоблок турбина 
м/c.
Температурный подогрев воды в струйном
отсеке:
;
где A=0,05-коэффициент зависящий от
теплофизических свойств воды и пара [9].
в2=157,87 ºС,
кДж/кг.
Количество пара, конденсирующегося в
струйном отсеке пара.
кг/c.
Концентрация кислорода в потоке
воды, поступающем в водораспределительное устройство, СисхО2 = 100 мкг/кг.
Концентрация кислорода в потоке воды, поступающем на барботажную тарелку,
определяется по выражению:
откуда С2 = 15,5 мкг/кг.
Расход пара, поступающего на
барботажную тарелку:п.барб. = Dд = 0,266 кг/с.
Общий расход воды через барботажную
тарелку:
56,56+1,36+9,23=61,15кг/с.
Принимаем ширину порога барботажной
тарелки b=1,5м при диаметре колонки dк = 1,816 м [9]
Расход воды через 1 м ширины
водослива барботажной тарелки:
кг/м с.
Высота слоя воды над порогом
водослива:
;
м.
Высота слоя воды на барботажной
тарелке=hп+hв=0,1+0,095=0,195 м.
Минимально допустимая скорость пара
в отверстиях барботажной тарелке:
;
м/с.
Принимаем расчетную скорость пара в
отверстиях барботажного листа wп=3,5∙wмин=3,5∙11,57=40,5 м/c [9].
Живое сечение для прохода пара в
барботажном листе:
;
м².
Необходимое число отверстий при d0 =
0,005 м6
шт.
Высота паровой подушки под
барботажным листом. При коэффициенте гидравлического сопротивления дырчатого
барботажного листа ξ=1.8
и
поверхностном натяжении воды σ=0,0454 H/м.
;
м.
Из конструктивных соображений
принимаем ширину и длину барботажной области равными ширине водослива. Диаметр
пароперепускного патрубка гидрозатвора dвых принимаем равным 0,45 м. Тогда
площадь барботажной области (площадь тарелки, занятой отверстиями)
м2 .
Приведённая скорость пара при
барботаже:
;
м/с.
Высота динамического слоя жидкости
на тарелке
;
Количество кислорода, подлежащего
удалению при барботаже (СвыхО2=10мкг/кг)
Скорость течения воды на барботажном
листе:
;
Коэффициент массопередачи на
барботажной тарелке:
;
Среднелогарифмический
концентрационный напор:
Необходимая площадь барботажной
тарелки:
.3 Расчет деаэратора питательной
воды (ДПВ) после реконструкции (на два котла установлен один деаэратор)
.3.1 Расчет теплового баланса
деаэратора питательной воды (ДПВ)
Искомыми величинами при расчёте
деаэратора являются расход пара в деаэратор Dд и расход основного конденсата на
входе в деаэратор Dок.
Материальный баланс деаэратора
питательной воды
ок+Dшт+Dп1+Dп2+Dп3+ Dу+ D''пр +Dд =
Dпв+Dэу;ок= Dпв+Dэу-Dд-Dшт-Dп1-Dп2 -Dп3- Dу-D''пр;
ок=133,34+0,538- Dд
-1,26-5,98-5,28-7,72-1,22;ок=113,74- Dд.
Тепловой баланс деаэратора
питательной воды
д×h3+(Dп1+Dп2+Dп3+Dу)×h'п3+Dшт×hшт+Dок×hв4+D''пр×h'пр=(Dпв×hв.д+Dэ.у×hд)/ŋп
где hшт=3357 кДж/кг - энтальпия пара
из уплотнений штоков клапанов, тогдад×2978+(5,98+5,28+7,72+1,22)×829,61+0,388×3357+Dок×642,24+2,78×2756=(133,34×636,6+1,746×2978)/0,995
Решая систему уравнений, получим:
Dд=0,532 кг/с, Dок=113 кг/с.
2.3.2 Выбор деаэратора питательной
воды (ДПВ)
Исходными данными для выбора
деаэратора являются рабочее давление в деаэраторе pд=0,6 МПа, а также расход
питательной воды на два котла DПВ = 240∙2=480 т/ч.
При расходе питательной воды DПВ =
480 т/ч выбираем деаэратор струйно-барботажного типа ДП-500/65 [8].
Бак аккумулятор предназначен для
сбора питательной воды и создания ее аварийного запаса не менее, чем на 5 минут
работы котла в аварийных ситуациях.
Объем бака:
;
.
Следовательно новые параметры
(производительность и объем бака) соответствуют параметрам выбранного
деаэротора .
2.3.3 Расчет деаэратора
Давление в деаэраторе: р = 0,6 МПа;
Температура насыщения: tн = 158, 8
оС;
Энтальпия пара по насыщению: h'' =
2756,1 кДж/кг;
Удельный объём сухого насыщенного
пара (по tн): Vп = 0,31558 кг/м3;
Энтальпия жидкости по насыщению: h'
= 670,5 кДж/кг;
Расход основного конденсата: Dок =
113 кг/с;
Энтальпия основного конденсата: hок
= hв4 = 642,24 кДж/кг.
Расход дренажа из вышестоящего
ПВД:ПВД = Dп1 + Dп2 + Dп3 + Dу = 5,98+5,28+7,72+1,22= 20,2 кг/с.
Энтальпия дренажа из вышестоящего
ПВД: hПВД = 829,6 кДж/кг;
Расход питательной воды: Dпв =
133,34 кг/с;
Энтальпия питательной воды: hпв = h'
= 636,6 кДж/кг;
Расход греющего пара из отбора
турбины: Dд = 0,532 кг/с;
Энтальпия греющего пара: hд = 2850,7
кДж/кг;
Расход пара из уплотнений штоков:
Dшт = 0,388 кг/с;
Энтальпия свежего пара: hшт = h0 =
3357 кДж/кг;
Расход пара из расширителя
непрерывной продувки: D''пр = 0,86 кг/с;
Энтальпия пара из расширителя: h'пр
= h'' = 2756 кДж/кг;
Расход пара на эжектор и уплотнения:
Dэу = 1,746 кг/с.
Удельная теплота парообразования: =
h'' - h' = 2756- 663,6 = 2092,4 кДж/кг.
Тепловой расчёт деаэратора
Проверка теплового баланса:
Входящие потоки: Di hi =
;
Исходящие потоки: Dэу hд + Dпв hпв =
.
Проверка материального баланса:
Расходы входящих потоков Dв = 135,12
кг/с;
Расходы исходящих потоков Dн =
135,12 кг/с.
Суммарный расход воды, подающийся в
водораспределитель:ок = D1 = 113 кг/с.
Энтальпия воды в
водораспределителе:ок = hв4 = 642,24 кДж/кг.
Температура воды в
водораспределителе:в1 = f (р; hв4) = 152,27 0С.
Горячие потоки (греющий пар и
конденсат ПВД) поступают в нижнюю часть колонки деаэратора. При этом за счёт
теплоты перегрева греющего пара из потока конденсата ПВД образуется пар в
количестве, которое может быть определено из уравнений теплового и материального
балансов:
где
расход насыщенного пара в деаэраторе
ниже активной зоны.
расход воды в деаэраторе ниже активной
зоны.
отсюда находим:
3,54 кг/с;
18,46 кг/с.
Конструкторский расчёт деаэратора
Принимаем диаметр отверстий в днище
тарелки d=0,005 м и высоту подпора воды на тарелке при расчетной нагрузке
h=0,05 м [9].
Скорость истечения воды из отверстий
тарелки:
;
м/с.
Необходимое число отверстий в
тарелке:
шт.
Площадь тарелки, занятая
отверстиями, размещёнными в шахматном порядке с шагом S = 1,5d0 = 0,0075 м.
тар=
;
тар=
= 0,184 м2.
Принимаем наружный диаметр
размещения отверстий в тарелке
2 м, тогда внутренний диаметр[9]:
водоснабжение вентиляция
деаэратор котел
м.
Площадь живого сечения для прохода
по внутренней границе струйного отсека при длине струй l = 0,6 м:
;
м².
Площадь живого сечения для прохода
по внешней границе струйного отсека:
;
м².
Скорость пара на входе в струйный
отсек:
;
м/c.
Скорость пара на выходе из струйного
отсека:
;
м/c.
Средняя скорость пара в струйном
отсеке:
энергоблок турбина
;
м/c.
Температурный подогрев воды в
струйном отсеке:
;
где A=0,05-коэффициент зависящий от
теплофизических свойств воды и пара [9].
;в2=157,87 ºС,
кДж/кг.
Количество пара, конденсирующегося в
струйном отсеке пара.
кг/c.
Концентрация кислорода в потоке
воды, поступающем в водораспределительное устройство, СисхО2 = 100 мкг/кг.
Концентрация кислорода в потоке воды, поступающем на барботажную тарелку,
определяется по выражению:
откуда С2 = 15,5 мкг/кг.
Расход пара, поступающего на
барботажную тарелку:п.барб. = Dд = 0,266 кг/с.
Общий расход воды через барботажную
тарелку:
113+2,72+18,46=122,3 кг/с.
Принимаем ширину порога барботажной
тарелки b=1,5м при диаметре колонки dк = 1,816 м [9].
Расход воды через 1 м ширины
водослива барботажной тарелки:
кг/м с.
Высота слоя воды над порогом
водослива:
м.
Высота слоя воды на барботажной
тарелке=hп+hв=0,1+0,141=0,241 м.
Минимально допустимая скорость пара
в отверстиях барботажной тарелке:
м/с.
Принимаем расчетную скорость пара в
отверстиях барботажного листа wп=3,5∙wмин=3,5∙11,57=40,5 м/c [9].
Живое сечение для прохода пара в
барботажном листе:
м².
Необходимое число отверстий при d0 =
0,005 м
;
шт.
Высота паровой подушки под
барботажным листом. При коэффициенте гидравлического сопротивления дырчатого
барботажного листа ξ=1.8
и
поверхностном натяжении воды σ=0,0454 H/м.
.
м.
Из конструктивных соображений
принимаем ширину и длину барботажной области равными ширине водослива. Диаметр
пароперепускного патрубка гидрозатвора dвых принимаем равным 0,45 м. Тогда
площадь барботажной области (площадь тарелки, занятой отверстиями)
;
м2 .
Приведённая скорость пара при
барботаже:
;
м/с.
Высота динамического слоя жидкости
на тарелке
;
.
Количество кислорода, подлежащего
удалению при барботаже (СвыхО2 = 10 мкг/кг)
;
.
Скорость течения воды на барботажном
листе:
;
.
Коэффициент массопередачи на
барботажной тарелке:
Среднелогарифмический
концентрационный напор:
Необходимая площадь барботажной
тарелки:
.4 Расчет на прочность элементов
деаэратора
Расчет толщины стенки деаэратора:
где P=0,6 МПа - расчетное избыточное
давление;в=3,018 м - внутренний диаметр днища;
Сталь15К - материал днища;
[σ], МПа - номинально
допускаемое напряжение для материала колонки. [σ]=128 МПа [11],
Прилож. 1, табл. 5;
φ=0.85 - ослабление
цилиндрических элементов продольным сварным швом;
С=0,002 м - прибавка к расчетной
толщине стенки.
м.
Принимаем номинальную толщину стенки
деаэратора: Sном=0,02 м.
Расчет толщины днища корпуса с
учетом крепления отверстия штуцером.
Минимальная толщина стенки днища при
φ=1,
С=0.
м.
Минимальная расчетная толщина стенки
штуцера при φ=1,
С=0.
;
где d=0,092 м - внутренний диаметр
штуцера;
Сталь20 - материал штуцера;
[σ]ш, МПа - номинально
допускаемое напряжение для материала штуцера. [σ]ш=130,23 МПа [11], Прилож. 1,
табл. 5;
м.
Высота укрепляющего участка штуцера,
расположенного снаружи днища:
где dн=0,108 м - наружный диаметр
штуцера;ш=0,008 м - номинальная толщина стенки штуцера;
Сш=0,002 м - прибавка на коррозию к
расчетной толщине стенки штуцера
м.
Площадь укрепляющего сечения штуцера
на участке, расположенном снаружи днища:
;
м²
Высота укрепляющего участка штуцера,
расположенного внутри днища:
;
м.
Площадь укрепляющего сечения штуцера
на участке, расположенном внутри днища
;
м².
Σf=fн.ш.+fв.ш;
Σf=0,000284+0,00016=0,00044 м².
2.5 Расчет снижения мощности на
перекачку пара от турбины до деаэратора
Потери в трубопроводе IV категории
подачи пара на деаэраторы блока №5 после реконструкции снизились на ΔРп =0,002
МПа
Объемную производительность насоса
определяем по формуле [7]
м3/с;
где k=1,05- коэффициент запаса,
учитывающий потери;
=12 т/час - расход пара;
, кг/м3- удельный объем пара. При
2000С и давлении 0,62 МПа
=0,34035
кг/м3 [4].
м3/с;
Снижение мощности, отдаваемой
насосом [7]
кВт4;
кВт.
Снижение мощности, потребляемой
насосом [7]
кВт;
где ηн=86% -
механический КПД насоса, учитывающий потери на трение и гидравлические
сопротивления [7].
кВт;
В результате проведения
реконструкции мощность, потребляемая на собственные нужды, снизится на 2,05
кВт/ч.
3. Экономическая часть
.1 Расчет экономического эффекта от
реконструкции системы водоснабжения парового котла ТП-230-2
Эффективность вложения капитала в
инвестиционный проект в условиях рыночной экономики является решающим условием
финансовой устойчивости предприятия.
Капитальные вложения всегда
ограничены финансовыми возможностями предприятия, а достижение результата
отдалено во времени, потому возникает необходимость планирования инвестиционных
решений и оценки экономической эффективности в результате разработки
инвестиционного проекта [11].
Инвестиционный проект - это
комплексный план создания производства с целью получения экономической выгоды.
Предприятие может преследовать
различные цели при принятии решения об инвестировании проекта. Как правило,
главная цель это прибыльность инвестиций, соответствующая определенному заранее
установленному минимуму (норме рентабельности, прибыльности) или превышающая
его. Могут быть поставлены и другие цели более низкого порядка, иерархия
которых в убывающем порядке представлена ниже:
увеличение торгового оборота и доли
контролируемого рынка;
сохранение контролируемой доли рынка
и репутации у потребителей;
достижение высокой
производительности труда;
производство новой продукции.
В условиях рынка период разработки и
реализации инвестиционного проекта называют инвестиционным циклом.
Инвестиционный цикл состоит из трех стадий: прединвестиционной, инвестиционной
и производственной.
На прединвестиционной стадии
заказчик (организатор проекта или инвестор) выбирает управляющего проектом.
Изучаются различные варианты проекта (строительной площадки, конструктивных
особенностей, инвестиционных решений, выполняется первоначальная оценка
издержек), проводятся технико-экономические исследования. Заканчивается эта
стадия составлением программы финансирования проекта.
На второй - инвестиционной стадии
отбираются организации, реализующие проект, готовится детальная проектная
документация, определяются подрядчики и поставщики. Проводятся строительные
работы, монтаж, отладка.
Третья стадия это стадия текущей
эксплуатации объекта.
Прединвестиционная фаза закладывает
основы для последующих фаз инвестиционного цикла и во многом определяет успех
инвестиционного проекта. Результат исследований на этой стадии - коммерческая
оценка проекта - заключительное звено проведения прединвестиционных
исследований. В ходе этих исследований обычно составляется бизнес-план
инвестиционного проекта, важнейший раздел которого - его экономическое
обоснование. Смысл экономического обоснования проекта - предоставление
информации в виде, позволяющем инвестору сделать заключение о целесообразности
или нецелесообразности осуществления инвестиций.
Информация именно этого раздела
бизнес-плана является ключевой для принятия решения потенциальным инвестором об
участии в проекте.
Экономическое обоснование
подразделяется на экономическую оценку (экономическую эффективность) и финансовую
(финансовую состоятельность). Первая оценка характеризует способность проекта к
сохранению и обеспечению прироста капитала, вторая - анализ ликвидности
(платежеспособности) предприятия в ходе реализации проекта.
3.1.1 Расчет себестоимости новой системы
водоснабжения парового котла
ТП-230-2 установленного на
территории ОАО «Экспериментальная ТЭС», г. Красный Сулин.
Смета затрат на систему
водоснабжения
Определяем трудоемкость
конструкторских работ в целом по разработке системы водоснабжения.
Расчеты сведены в таблицу 3.1
Таблица 3.1 - Расчет основной
заработной платы
|
Наименование
работ (статей расходов)
|
Трудоемкость,
(н-ч)
|
Стоимость,
(тыс.руб.)
|
|
Общие
виды
|
40
|
4
|
|
Сборочные
чертежи
|
70
|
7
|
|
Деталировочные
чертежи
|
120
|
12
|
|
Детальная
опись
|
60
|
6
|
|
Расчеты
|
320
|
32
|
|
Прочие
работы
|
50
|
5
|
|
ИТОГО:
|
660
|
66
|
Примечание: ставка - 100 руб./н-ч. (по данным
ОАО «Экспериментальная ТЭС»)
Основная заработная плата исполнителей всего
комплекса работ
660∙100=66 тыс. руб.
Дополнительная заработная плата
,(1)
где
- планируемый процент
дополнительной заработной платы с премией
66=7,92 тыс. руб.
Отчисления на социальные нужды
,(2)
где
=30% - отчисления на социальные
нужды.
22,18тыс.руб.
Накладные расходы конструкторского
отдела
,(3)
где
=30 % - процент накладных расходов
от величины основной и дополнительной заработной платы.
22,18 тыс. руб.(4)
Суммарные затраты на проектные
работы по реконструкции котла
66+7,92+22,18+22,18=118,27 тыс.руб.
(5)
Планирование себестоимости и цены
реконструкции системы водоснабжения
Расчет плановых затрат на реконструкцию
котла осуществляется по следующим статьям расходов:
материалы (основные и
вспомогательные) за вычетом расходов -
;
полуфабрикаты покупные -
;
транспортно-заготовительные расходы
-
;
зарплата основная -
;
зарплата дополнительная
;
отчисления на социальные нужды -
;
расходы на содержание и эксплуатацию
оборудования
;
расходы на внутризаводские помещения
;
цеховые расходы
;
общезаводские расходы
;
возмещение износа инструмента и
приспособлений
;
внепроизводственные расходы
.
Расходы на материалы (основные и
вспомогательные) и полуфабрикаты
Расходы по этим статьям калькуляции
рассчитываются на основе чистого веса материала, полуфабрикатов, количества
покупных изделий и цен на них. Данные по массе оборудования для реконструкции
системы водоснабжения приведены в таблице 3.2.
Таблица 3.2 - Масса и стоимость
материалов монтируемого оборудования
|
Монтируемое
оборудование
|
Материал
|
Масса,
т
|
Стоимость
тыс. руб./т
|
Цена,
тыс. руб.
|
|
Трубопровод
|
Сталь
20
|
4,8
|
85
|
408
|
|
Арматура
|
Сталь
20
|
0,5
|
85
|
42,5
|
|
Опоры
|
Сталь
Вст3сп
|
0,6
|
79
|
47,4
|
|
Теплоизоляция
|
Сегменты
перлито-цементные
|
0,5
|
50
|
25,0
|
|
ИТОГО:
|
|
6,4
|
|
522,9
|
Транспортно-заготовительные расходы
Транспортно-заготовительные расходы принимаются
в процентах от затрат на материалы
,(6)
где
- процент ТЗР, %;
0,065∙522,9=33,99 тыс. руб.
Определение стоимости демонтируемого
оборудования
Масса и стоимость материалов
демонтируемого оборудования представлена в таблице 3.3
Таблица 3.3 - Масса и стоимость
материалов демонтируемого оборудования
|
Демонтируемое
оборудование
|
Материал
|
Масса,
т
|
Стоимость,
тыс. руб./т
|
Цена,
тыс. руб.
|
|
Деаэратор
|
Сталь
10
|
14,7
|
12
|
176,4
|
|
Трубопроводы
|
Сталь
20
|
3,2
|
6,9
|
22,08
|
|
Опоры
|
Вст3сп
|
0,8
|
4,5
|
3,60
|
|
ИТОГО:
|
|
18,7
|
|
202,08
|
Основная заработная плата производственных
рабочих
Рассчитывается на основе трудоемкости
изготовления элементов котла, которые принимаются по данным практики.
Трудоемкость работ при демонтаже составляет 40% от трудоемкости изготовления
Расчеты сведены в таблицу 3.4.
Таблица 3.4 - Стоимость элементов трубопровода
|
Наименования
элемента, узла
|
Вес,
т
|
Трудоемкость
|
|
|
удельная,
(н-ч.)/т
|
общая,
н-ч.
|
|
Демонтаж
трубопроводов, опор, деаэратора
|
18,7
|
40
|
748
|
|
Монтаж
трубопровода, опор, теплоизоляции
|
6,4
|
100
|
640
|
|
ИТОГО :
|
1388
|
|
|
Основная заработная плата составляет
,(7)
где
=100 - средняя тарифная ставка по
заводу, руб./ч;
=40 - средний процент премии производственным
рабочим по заводу, %;
1388
194,32тыс.руб.
Дополнительная заработная плата
производственных рабочих и отчисления на социальные нужды
Дополнительная заработная плата
производственных рабочих и отчисления на социальные нужды рассчитываются
аналогично приведенным выше.
Дополнительная заработная плата
,(8)
где
=10 - планируемый процент
дополнительной заработной платы, %.
194,32=19,43тыс. руб.
Отчисления на социальные нужды:
(9)
64,13 тыс. руб.
где
=30%- отчисления на социальные
нужды.
Расходы по содержанию и эксплуатации
оборудования, включающие амортизационные отчисления, затраты на эксплуатацию,
ремонт.
Определяются по формуле:
,(10)
где
=205 - расчетный норматив расходов
по содержанию и эксплуатации оборудования, %.
194,32=398,36 руб.
Цеховые расходы, включающие затраты
на содержание цехов и управление
Цеховые расходы, включающие затраты
на содержание цехов и управление ими, рассчитываются по формуле:
,(11)
где
=187 - расчетный норматив цеховых
расходов, %.
194,32=363,38 тыс.руб.
Расходы на внутризаводские
перемещения
Принимаются в процентах
=21% от
основной заработной платы
(12)
194,32=40,81
тыс. руб.
Общезаводские расходы, включающие
затраты на содержание аппарата заводоуправления, эксплуатацию и ремонт
внепроизводственных зданий и сооружений
Рассчитываются по формуле:
,(13)
где
=430 - расчетный норматив
общезаводских расходов, %;
194,32=835,58 тыс. руб.
Возмещение износа инструмента и
приспособлений
Определяется в процентах
=2% от суммы
всех ранее рассчитанных статей расхода
,руб. (14)
(522,9+33,99+194,32+19,43+64,13+363,38+40,81+835,58)=41,49
тыс. руб.
Заводская (производственная)
себестоимость реконструкции
Определяется как сумма затрат по
всем вышеперечисленным статьям калькуляции
, руб. (15)
522,9+33,99+194,32+19,43+64,13+363,38+40,81+835,58+41,49=2116,02
тыс. руб.
Внепроизводственные расходы
Принимаются в процентах
=2,5% к
заводской себестоимости
,руб.(16)
2116,02 =52,9 тыс. руб.
Коммерческая (полная) себестоимость
Определяется как сумма заводской
себестоимости и внепроизводственных расходов:
, руб.(17)
2116,02 +52,9=2168,92 тыс. руб.
Таблица 3.5 - Калькуляция
себестоимости системы водоснабжения
|
Наименование
статей расхода
|
Сумма,
тыс. руб.
|
Структура
себестоимости, %
|
|
Материалы
и полуфабрикаты
|
522,9
|
24,1
|
|
Транспортно-заготовительные
расходы
|
34,0
|
1,6
|
|
Основная
заработная плата производственных рабочих
|
194,3
|
9,0
|
|
Дополнительная
заработная плата производственных рабочих
|
19,4
|
0,9
|
|
Отчисления
на социальные нужды
|
64,1
|
3,0
|
|
Расходы
на содержание и эксплуатацию оборудования
|
398,4
|
18,4
|
|
Цеховые
расходы
|
363,4
|
16,8
|
|
Расходы
на внутризаводские перемещения
|
40,8
|
1,9
|
|
Общезаводские
расходы
|
835,6
|
38,5
|
|
Возмещение
износа инструмента и приспособлений
|
41,5
|
1,9
|
|
Заводская
(производственная) себестоимость
|
2116,0
|
97,6
|
|
Внепроизводственные
расходы
|
52,9
|
2,4
|
|
Коммерческая
(полная) себестоимость
|
2168,9
|
100
|
На основе коммерческой себестоимости
и плановой прибыли
(накопления),
рассчитанной исходя из предельного уровня рентабельности
=10%,
определяется оптовая цена реконструкции котла:
2168,92
2385,81 тыс.
руб.(18)
Оптовая отпускная цена с учетом НДС
(18 %)
1,18∙2385,81 =2559,32 тыс.
руб. (19)
.1.2 Капитальные вложения на
реконструкцию системы водоснабжения
Транспортные расходы по доставке
оборудования от завода-изготовителя до предприятия-потребителя
Принимаются в процентном отношении
=5% к
отпускной цене (без НДС) котла:
, руб.(20)
2385,81=715,86 тыс. руб.
Стоимость строительно-монтажных
работ
Принимается в процентах
=80% от
отпускной цены котла (без НДС);
, руб.(21)
2385,81=1908,65 тыс. руб.
Затраты на вспомогательное оборудование
Рассчитываем (укрупненно) стоимость
дополнительного оборудования.
,(22)
где
= 60 тыс. руб. - стоимость дополнительного
оборудования
60
113,4тыс. руб.
Капитальные вложения по
реконструкции системы водоснабжения у потребителя
Капитальные вложения по
реконструкции системы водоснабжения у потребителя рассчитываются по формуле:
, руб.(23)
715,86 +1908,65 +113,4=2141,34 тыс.
руб.
Расчеты сведены в таблицу 3.6.
Таблица 3.6 - Капитальные вложения
ОАО «Экспериментальная ТЭС»
|
Наименование
|
Сумма,
тыс. руб.
|
|
Стоимость
проекта
|
118,27
|
|
Оптовая
отпускная цена котла
|
2559,32
|
|
Транспортные
расходы
|
119,29
|
|
Стоимость
строительно-монтажных работ
|
1908,65
|
|
Затраты
на вспомогательное оборудование с учетом строительно-монтажных работ
|
113,40
|
|
Прибыль
от реализации демонтированных узлов
|
202,08
|
|
ИТОГО:
|
4616,86
|
Расчет себестоимости продукции представлен в
таблице 3.7.
Таблица 3.7 - Расчет себестоимости продукции до
и после реконструкции
|
Наименование
|
Формула
или источник
|
Расчет
|
|
|
|
До
|
После
|
|
|
1
|
2
|
3
|
4
|
|
|
Число
часов работы установленной мощности hотп, час/год
|
По
данным ОАО «Экспериментальная ТЭС»
|
6000
|
6000
|
|
|
Мощность
блока №5, Nбл, МВт
|
По
данным ОАО «Экспериментальная ТЭС»
|
110
|
110
|
|
|
Мощность,
потребляемая на собственные нужды, Nсн, кВт/ч
|
См.
п. 2.5
|
330,00
|
327,95
|
|
Годовой
расход энергии на собственные нужды, Эсн, кВт
|
1
980 0001 967 700
|
|
|
|
Тариф
на электроэнергию, ТЭ, руб./кВт ч
|
По
данным ОАО «Экспериментальная ТЭС»
|
1,4
|
1,4
|
|
Затраты
электроэнергии на собственные нужды, Иээ, тыс. руб.
|
2
772 0002 599 800
|
|
|
|
Годовой
отпуск энергии, Nгод , МВт
|
660
000660 000
|
|
|
|
Себестоимость
единицы электроэнергии С, руб./МВт
|
4200,004173,91
|
|
|
|
|
|
|
|
|
3.1.3 Определение годовой экономии
Уменьшение затрат на производство электроэнергии
В результате проведенной реконструкции системы
водоснабжения котла ТП-230-2 себестоимость отпускаемой электроэнергии уменьшилась
на
∆С =4200,00-4173,91=26,09 руб./МВт;
Эгод=ΔИ;
Эгод=17 220 тыс. руб./год.
3.1.4. Срок окупаемости проекта
Срок окупаемости проекта определяем по формуле
месяца.
В результате проведения
реконструкции системы водоснабжения котла ТП-230-2, снизятся затраты
электроэнергии на собственные нужды. Себестоимость отпускаемой электроэнергии
снизится на 26,09 руб./МВт. Проект по реконструкции окупится за 3,2 месяца.
В дальнейшем, в течение расчетного
срока службы планируемая прибыль составит 17 220 тыс. руб./год.
4. Безопасность жизнедеятельности
4.1 Отнесения помещений и уставок
проектируемой ТЭС по пожаро-взрывоопасности
Все предприятия, на которых
применяются или хранятся горючие вещества, относятся к пожароопасным. Помещения
и наружные установки по пожарной опасности делятся на 5 категорий [1]:
категория А - производства,
связанные с применением:
а) жидкостей, веществ, имеющих
температуру вспышки паров 28 0С и ниже;
б) паров или газов, нижний предел
взрываемости которых 10 % и менее, в таких количествах, которые могут
образовывать с воздухом взрывоопасные смеси;
в) горючих жидкостей с температурой
нагрева их 250 0С и выше.
категория Б - производства,
связанные с применением:
а) веществ, имеющих температуру
вспышки паров от 28 до 61 0С;
б) паров или газов, нижний предел
взрываемости которых более 10 %, в таких количествах, которые могут
образовывать с воздухом взрывоопасные смеси;
в) веществ, образующие горючие
волокна или пыль в таких количествах, которые могут образовать с воздухом
взрывоопасные смеси с нижним концентрационным пределом воспламенения до 65 г/м3.
категория В - производства,
связанные с применением или обработкой твёрдых сгораемых веществ и материалов,
а также горючих жидкостей с температурой вспышки паров выше 61 0С.
категория Г - производства,
связанные с применением или обработкой несгораемых веществ и материалов в
горючем, раскалённом состоянии и сопровождающиеся выделением лучистого тепла,
систематическим выделением искр и пламени, а также производства, связанные со
сжиганием жидкого и газообразного топлива.
категория Д - производства, связанные
с обработкой несгораемых веществ и материалов в холодном состоянии.
Помещения или наружные установки, в
которых по условиям технологического процесса могут образоваться взрывоопасные
смеси, называются взрывоопасными. По степени взрываемости помещения и наружные
установки делятся на следующие категории:
В - I - взрывоопасные смеси паров и
газов с воздухом могут возникать не только при аварии, но и в нормальных
условиях;
В - Iа - взрывоопасные смеси газов и
паров с воздухом могут возникать только при неисправности оборудования, в
аварийных случаях;
В - Iб - те же помещения, что и
класса В - Iа, но отличающиеся одной из следующих особенностью:
горючие газы в этих помещениях
обладают высоким пределом взрываемости (15 % и более) и резким запахом при
предельно-допустимых по санитарным нормам концентрациях.
возможна в помещениях лишь местная
взрывоопасная концентрация;
горючие газы и легковоспламеняющиеся
горючие жидкости в помещениях в небольших количествах, не создающие общей
взрывоопасной концентрации, и работа с ними производится без применения
открытого пламени.
В - Iг - к ним относятся наружные
установки, содержащие взрывоопасные газы, пары, горючие и легковоспламеняющиеся
жидкости, где взрывоопасные смеси возможны только в результате аварии или
неисправности.
В - II - взрывоопасные смеси пыли с
воздухом, возникающие при нормальных условиях производства.
Общие требования техники
безопасности к расположению и устройству пожаро- и взрывоопасных зданий и
помещений сводятся к следующему:
обеспечить условия, предотвращающие
возможность образования взрывоопасной газовоздушной смеси;
не допускать образования или
появления в помещениях источника пламени или искр, а также высоко нагретых
предметов, чтобы исключить возможность взрыва;
предельно ограничить эффект взрыва с
целью сведения к минимуму зоны его действия и разрушительных последствий.
На проектируемой ТЭС
пылеприготовление относится к категории В; В - II; котельная установка - Г; В -
Iа; турбинная установка - В; Iб; электрофильтры и дымовая труба - Б; В - Iб;
маслохозяйство - А; В - Iа.
4.2 Мероприятия по обеспечению
безопасности при эксплуатации котла и вспомогательного оборудования
При обслуживании котлоагрегата, при
нормальной его работе под нагрузкой, настоящим проектом предусматриваем [6]:
Поддержание необходимого
тепловыделения в топке в соответствии с нагрузкой турбогенератора, давление
пара в барабане котла при всех нагрузках не должно превышать 155 ати.
Питание котла водой в соответствии с
паровой нагрузкой, колебания от среднего уровня не должны превышать ±20 мм.
Поддержание температуры свежего пара
на уровне 560 0С в расчётном диапазоне нагрузок, отклонения не должны превышать
+ 5 0С и - 10 0С.
Достижение максимальной
экономичности сжигания топлива при минимальном расходе электроэнергии на собственные
нужды.
Наблюдение за показаниями всех
контрольно-измерительных приборов.
Наблюдение за плотностью закрытия
арматуры. Через 1 - 1,5 часа после закрытия клапана или задвижки нужно
производить их подтяжку. Это требование относится к дренажной арматуре, плотность
которой проверяется ежесменно на ощупь по отсутствию нагрева труб за арматурой.
Наблюдение за состоянием сальников
всей запорной и регулирующей арматуры.
Наблюдение за отсутствием
неплотностей топки и газоходов котла, за состоянием обмуровки и обшивки.
Обнаружение неплотности устраняется.
Наблюдение за состоянием
карборундовой обмазки и шипов в камере горения (при остановах котла).
Наблюдение за работой отдельных
узлов котла. Периодически прослушивать топку и газоходы котла в области
пароперегревателя и водяного экономайзера с целью своевременного обнаружения
свищей.
Наблюдение за температурой пара и
металла по тракту пароперегревателя, не допуская превышения их сверх предельных
величин.
Наблюдение за работой
вспомогательного оборудования.
Наблюдение за состоянием основного и
аварийного освещения оборудования и рабочих мест.
Не реже одного раза в смену
производить проверку совпадения показаний водоуказательной колонки (на барабане
котла) и сниженных указателей уровня воды. При помутнении стекла в колонке -
заменить его.
Один раз в сутки проверять
готовность к действию всех задвижек котла путём поворота штурвала на долю
оборота.
При резком нагружении или
разгружении турбины быстро приводить в соответствие нагрузку котла, изменяя
подачу воды, топлива, воздуха, расходы конденсата на впрыски в пароохладители.
В диапазоне нагрузок 50-100 % в работе находятся оба дутьевых вентилятора.
Если показания уровнемеров не
совпадают с показаниями водоуказательных колонок, необходимо немедленно
выяснить истинный уровень воды в барабане и устранить причину неправильных
показаний.
Систематически вести наблюдение за
работой горелок и процессом горения. Цвет факела должен быть ослепительно
ярким, без дымовых полос. Окраска дымовых газов на выходе из котла должна быть
светло-серой.
В диапазоне нагрузок котла 50-100 %
номинальной в работе должны находиться все 6 горелок.
Правильным ведением режима горения
выдерживать параметры пара. Регулирование температуры пара производится с
помощью впрыска. Основное количество конденсата подавать на первый впрыск,
вторым впрыском производить окончательную подрегулировку.
Во время растопки и работы котла на
мазуте особое внимание уделять контролю температуры газов за РВП. Резкое
возрастание температуры свидетельствует о загорании сажи в пакетах РВП.
В случае, если температура пара
после ширмо-конвективного пароперегревателя превышает допустимый предел,
следует убедиться, что авторегулятор перегрева увеличил расход конденсата на
соответствующий впрыск. Если, несмотря на подачу максимального количества
конденсата в пароохладитель, температура пара продолжает оставаться завышенной,
необходимо принять следующие меры:
проверить положение факела в камере
горения и в случае затягивания в область камеры охлаждения принять меры к
восстановлению нормального режима;
изменить избыток воздуха в пределах
заданного содержания кислорода в дымовых газах;
проверить загрузку горелок топливом;
проверить температуру питательной
воды, если температура ниже нормы, потребовать принять меры к её повышению;
потребовать у дежурного инженера
станции снижения нагрузки на котле.
В случае понижения температуры пара
за ширмо-конвективным пароперегревателем проверить, что авторегулятор перегрева
уменьшил подачу конденсата на впрыск вплоть до полного закрытия. Изменить избыток
воздуха в пределах заданного значения кислорода в дымовых газах, загрузить
горелки.
Температуру пара в обеих нитках
следует поддерживать одинаковой при одинаковом расходе конденсата на впрыск.
Появление температурного перекоса может быть следствием:
неравномерной подачи топлива или
воздуха к горелкам;
ненормальной работы горелок.
При обнаружении температурного
перекоса следует немедленно выяснить причину и устранить её (отрегулировать
расход воздуха или топлива к горелкам).
Нормальное количество пара обеспечивается
поддержанием норм качества питательной воды, режимов фосфатирования и
непрерывной продувки. Качество питательной воды должно поддерживаться в строгом
соответствии с нормами. Контроль за качеством пара и воды, а также режима
продувок и фосфатирования осуществляется хим. лабораторией. Регулирование
непрерывной продувки производится с блочного щита управления (БЩУ).
Периодическая продувка производится вручную. Периодичность продувок и их
величина устанавливается хим. лабораторией.
Следить за работой механизмов
непрерывного шлакоудаления, поддерживать постоянный уровень вод в ванне. Особое
внимание обратить на выход шлака из лёток при понижении нагрузки котла, не
допуская затягивания лётки, образования над ними козырьков и наростов.
Режим работы котла должен
осуществляться в соответствии с режимной картой, составленной после наладочных
испытаний.
При работе котла с отключенной
группой ПВД, когда температура питательной воды 160 0С, нагрузка котла должна
быть не выше 300 т/ч.
Не реже одного раза в смену
производить осмотр главных предохранительных и импульсных клапанов. При этом
особенно следить за тем, чтобы:
демпферные камеры главных
предохранительных клапанов постоянно были заполнены водой;
импульсный клапан не пропускал пар
через поршневую камеру главного предохранительного клапана;
запорные вентили диаметром 10 мм в
процессе эксплуатации должны быть полностью открыты, маховики сняты, а шпиндели
опломбированы;
Следить за подачей воды на
охлаждаемые лазы камеры горения. В период работы котла температура воды после
охлаждаемого лаза на должна быть выше 80 0С.
подача воздуха для охлаждения
лючков-гляделок не должна прерываться, иначе произойдёт нагрев и пережог
гляделок.
Перед растопкой котла подаётся вода
на шлакоудалитель. В период работы котла необходимо следить за температурой и
уровнем воды в шлаковой ванне. Температура воды не должна превышать 60 0С, а
уровень в шлаковой ванне должен быть таким, чтобы не происходило проскоков газа
через шлаковую ванну.
При работе под нагрузкой на
котлоагрегате должны быть включены авторегуляторы и защиты. В случае отклонения
регулируемых величин от допустимых значений, при появлении каких-либо
ненормальностей в работе авторегуляторов, нужно перейти на дистанционное
управление.
.3 Мероприятия по противопожарной
безопасности котлотурбинного цеха
Настоящим проектом предусматриваем
ответственным лицом за противопожарное состояние всего цеха, а также за
своевременное выполнение противопожарных мероприятий назначить начальника
котлотурбинного цеха (КТЦ) [1].
В пределах смены ответственным лицом
за противопожарное состояние является начальник смены КТЦ, а по рабочим местам
эксплуатационный персонал каждого рабочего места, принявшие смену.
Все вновь принимаемые в цех рабочие
и служащие должны быть проинструктированы о мерах противопожарной безопасности.
Противопожарный инструктаж
проводится:
в пожарной охране - по соблюдению
общих правил пожарной безопасности и по пользованию средствами пожаротушения и
связи;
администрацией цеха - на рабочем
месте - по соблюдению правил пожарной безопасности в цехе и на обслуживаемом
оборудовании;
персоналу цеха при производстве
плановых инструктажей.
Персонал цеха при приёме смены
обязан производить осмотр средств пожаротушения на своих рабочих местах и обо
всех замечаниях по ним докладывать начальнику смены.
Весь пожарный инвентарь на каждом
рабочем месте должен содержаться в исправном состоянии, чистым, в количестве,
соответствующем противопожарной смене. Весь инвентарь должен быть готов к
немедленному действию.
Категорически запрещается использование
пожарного инвентаря и оборудования для хозяйственных, производственных и прочих
нужд, не связанных с пожаротушением.
Весь персонал должен постоянно
следить на своих рабочих местах за соблюдением противопожарного режима всеми
рабочими, а также требовать, чтобы перед сдачей смены, при окончании работы
проводилась тщательная уборка рабочих мест, особенно от горючих веществ,
пролитого масла, мусора, производственных отходов.
Территория и помещения цеха должны
постоянно содержаться в чистоте. Должен быть обеспечен свободный подъезд и
подход к въездным воротам и входным дверям главного корпуса, к пожарным кранам
и первичным средствам пожаротушения.
При производстве электро- и
газосварочных, бензорезных и паяльных работ на электростанции должны соблюдаться
требования “Инструкции о мерах пожарной безопасности при проведении сварочных и
других огневых работ”.
Огневые работы на трубопроводах с
горючими газами, водородных установках, маслосистемах и другом взрывоопасном
оборудовании, а также одновременное проведение огневых и других пожароопасных
работ допускаются с письменного разрешения начальника цеха.
Пожарные краны должны быть
оборудованы рукавами, стволами, хранящимися в специальных закрытых и
опломбированных ящиках.
Все средства пожаротушения должны быть
проверены и испытаны. Пожарные ящики должны быть заполнены чистым, мелким,
сухим песком и иметь совки.
Работы, связанные с отключением
средств обнаружения и тушения пожаров, а также участков водопроводной сети,
могут проводиться только после уведомления пожарной охраны и с разрешения
начальника цеха.
Пожароопасными местами в КТЦ
являются:
места опасные в отношении
загазованности - район генераторов с водородным охлаждением, газового поста
генераторов;
район маслобаков, маслопроводов,
маслонасосов турбин, маслоочистных установок;
места установки бачка доливочного
масла турбин, баков грязного масла, ёмкости для аварийного слива масла из
маслобаков;
все сооружения в районе прохода
маслопроводов, мазутопроводов, водопроводов;
ацетиленовые, кислородные и газовые
разводки по цеху;
места установки мазутных форсунок
котлов;
подшипники насосов, дымососов,
вентиляторов и электродвигателей;
электрооборудование: кабельные
каналы и трассы, электрические щиты и распредустройства, двигатели,
возбудители, трансформаторы;
леса для ремонтных работ,
выполненные из дерева, временные деревянные настилы и стеллажи.
Вероятными причинами возникновения
пожара могут быть:
огневые работы, проводимые в цехе;
курение в пожароопасных местах;
короткое замыкание на
электрооборудовании;
некачественная или недостаточная
изоляция горячих поверхностей нагрева котлов, турбин и трубопроводов при
наличии вблизи них горючих материалов;
нарушение правил безопасности при
посещении или производстве работ в местах опасных в отношении загазованности;
повреждение подшипников механизмов.
Необходимо обеспечивать безопасность
в противопожарном отношении режима работы котельных агрегатов, для чего:
внимательно следить за режимом тяги
и дутья;
при обрыве факела в топке котла
обеспечить прекращение подачи газа в топку, провентилировать топку в течение 10
мин. и только после этого разжигать горелки;
следить, чтобы на площадках,
лестницах, перекрытиях котлов отсутствовали посторонние предметы, особенно
легковоспламеняющиеся;
следить за исправностью обмуровки
котла и изоляции трубопроводов в пределах котла, а также за плотным закрытием
всех люков, лазов и гляделок;
следить за температурой дымовых
газов перед и за РВП.
В случае загорания в хвостовых
поверхностях нагрева котла действовать согласно инструкции по предупреждению и
ликвидации аварий котлоагрегатов.
4.4 Мероприятия по обеспечению
безопасности работ ЦТАИ
При обслуживании устройств тепловой
автоматики, теплотехнических измерений и защит персоналу цеха ТАИ настоящим
проектом предусматриваем [19]:
Включать и отключать первичные
(запорные) вентили датчиков автоматики, КИП и защит должен персонал,
обслуживающий тепломеханическое оборудование. Обслуживание вторых вентилей,
установленных перед датчиками автоматики, КИП и защит, а также осмотр устройств
цеха ТАИ на тепломеханическом оборудовании и внутренний осмотр тепловых щитов,
панелей и т.д., должен производить персонал указанного цеха с ведома персонала,
обслуживающего тепломеханическое оборудование.
Отключать датчики от трубопроводов
(сосудов) следует закрытием первичных (отборных) вентилей на импульсных линиях
без применения рычага. Если импульсные линии датчика подключены к разным
отборным устройствам, должны быть закрыты первичные (отборные) вентили на всех
этих устройствах.
Отключать датчики от трубопроводов
(сосудов) с давлением выше 6 МПа следует закрытием двух последовательно
установленных запорных вентилей, один из которых (отборный) находится
непосредственно у трубопровода (сосуда), другой - на импульсной линии перед
датчиком.
Импульсные линии с давлением выше 6
МПа можно ремонтировать лишь при отключённых трубопроводах (сосудах).
Возможность ремонта без отключения трубопроводов (сосудов) определяет главный
инженер электростанции.
Если трубопровод или сосуд, к
которому подключены линии, остаётся под давлением, то запорные вентили
импульсных линий должны быть закрыты, обвязаны цепями и заперты на замок.
Отсутствие давления в отключенной
импульсной линии должно проверяться соединением её с атмосферой. Если на
импульсной линии не имеется продувочных устройств, отсутствие давления
необходимо проверять отсоединением этой линии от датчика: накидную гайку,
присоединяющую линию к датчику, следует осторожно отвёртывать гаечным ключом до
тех пор, пока из-под гайки не появится вода, не понизится давление в линии и не
уменьшится истечение. Выждав 30-40 с, надо ещё отвернуть гайку на пол-оборота -
оборот и снять давление. По мере падения давления гайку следует отвёртывать
далее с таким расчётом, чтобы ко времени полного снятия давления она была
завёрнута на штуцер на три - четыре оборота. Если по мере отвёртывания гайки со
штуцера давление в линии не падает, следует затянуть гайку и принять меры к
более полному отключению импульсной линии. Эти операции необходимо выполнять в
рукавицах.
Врезку импульсных линий на трубопроводах
и сосудах, разборку фланцев измерительных диафрагм, арматуры, установку гильз
термопар должен производить персонал основных цехов, за которым закреплено
оборудование, в присутствии представителя цеха ТАИ. Указанные работы должны
выполняться после снятия давления в трубопроводах и сосудах и при открытых
дренажах.
Замену, наладку термопар и
термопреобразователей сопротивления, расположенных в труднодоступных местах и в
местах с температурой более 33 0С, должны осуществлять не менее чем два лица.
Вентиляция рабочих мест должна производиться передвижными воздушно-душирующими
установками.
Продувку импульсных линий воды и
пара при отсутствии специальных продувочных устройств или забитых продувочных
линиях должны выполнять с разрешения дежурного персонала технологического цеха
на менее чем два лица в соответствии с местной инструкцией, в которой должны
быть указаны технологическая последовательность операций и меры безопасности.
При возникновении аварийного
положения на тепломеханическом оборудовании продувка должна быть прекращена,
арматура перекрыта.
При работах на масляных импульсных
линиях из них должно быть полностью спущено масло. Спуск масла должен
осуществляться отсоединением линии у первичного вентиля и прибора через нижнюю
точку. Если линия у первичного вентиля приварена и спустить из неё масло
невозможно, то со стороны манометра в линию должна вводиться хлорвиниловая
трубка, через которую грушей должно отсасываться масло. Длина трубки должна
выбираться из расчёта освобождения от масла участка импульсной трубки не менее
1,5 м от места сварки.
Масло из трубок должно сливаться в
какой-либо сосуд во избежание попадания масла на пол.
Заменять манометры, датчики следует
только после закрытия первичных (отборных) вентилей. Накидные гайки у
манометров, датчиков надо отвёртывать постепенно.
Контрольно-измерительные приборы к
газопроводам давлением более 0,1 МПа следует присоединять металлическими
трубками. При давлении газа до 0,1 МПа эти приборы разрешается присоединять
резиновыми трубками длиной не более 1 м, закреплёнными хомутами. На отводах к
приборам должны предусматриваться отключающие устройства.
При снятии датчиков КИП, автоматики,
защит на отключённые от датчика импульсные линии следует устанавливать
заглушки.
На манометрах, установленных на
газопроводах, должна быть указана красной чертой отметка рабочего давления.
Подлежащие ремонту импульсные линии,
арматуру и датчики, подключаемые к кислото- и щелочепроводам или к емкостям с
кислотами и щелочами, необходимо освободить от кислоты или щелочи и отсоединить
от работающих трубопроводов и резервуаров заглушками. После этого импульсные
линии, арматуру, датчики, подвергаемые ремонту, следует тщательно промыть водой
до нейтральной реакции промывочных вод. Перед началом работ персонал цеха ТАИ в
присутствии дежурного персонала смены химического цеха должен убедиться в том,
что импульсные линии, подлежащие ремонту, отглушены от действующего
оборудования и что исключена возможность попадания в них кислоты или щелочи и
полностью удалены реагенты.
Работа на импульсных линиях и
аппаратуре цеха ТАИ, установленных в химическом цехе, при выполнении которых
могут произойти случайные выбросы агрессивных сред (кислоты, щелочи,
коагулянта), должны производиться в резиновых перчатках, прорезиненном фартуке
и защитных очках.
Персонал цеха ТАИ, работающий в
помещениях химического цеха, должен знать основные свойства используемых
реагентов и правила обращения с ними.
Противопожарная инструкция для
персонала цеха тепловой автоматики и измерений
Ответственным лицом за противопожарное
состояние всего цеха, а также за своевременное выполнение противопожарных
мероприятий является начальник цеха ТАИ [1].
Ответственность за пожарную
безопасность помещений и оборудования, закреплённых за цехом ТАИ, несёт
непосредственный руководитель участка, за которым закреплено то или иное
помещение и оборудование.
В течение смены ответственным лицом
за противопожарное состояние помещений и оборудования цеха ТАИ является ст.
ДЭС.
Все вновь принимаемые в цех рабочие
и служащие должны быть проинструктированы о мерах противопожарной безопасности.
Противопожарный инструктаж
проводится:
в пожарной охране - по соблюдению
общих правил пожарной безопасности и по пользованию средствами пожаротушения и
связи;
администрацией цеха - на рабочем
месте - по соблюдению правил пожарной безопасности в цехе и на обслуживаемом
оборудовании;
персоналу цеха при производстве
плановых инструктажей.
Каждый рабочий,
инженерно-технический рабочий должен хорошо знать расположение ближайших
телефонов, первичных средств пожаротушения и уметь приводить их в действие при
пожаре.
Весь пожарный инвентарь должен
содержаться в исправном состоянии, чистым и быть готов к немедленному действию.
Запрещается использовать не по
назначению средства пожаротушения и загромождать к ним подходы и подъезды.
Готовность средств пожаротушения к
действию и их комплектность проверяется повседневно на обходах ст. ДЭС, ИТР, за
которым закреплен данный участок, и руководством цеха при плановых обходах. Все
замечания отклонения от норм должны немедленно устраняться.
Все средства пожаротушения должны
быть проверены и испытаны. Пожарные ящики должны быть заполнены чистым, мелким,
сухим песком и иметь совки.
Пожарными местами (опасными)
являются:
кабельные полуэтажи, кабельные
каналы и трассы;
щиты водородного охлаждения, район
генератора;
теплик;
мазутонасосная;
маслохозяйство.
При производстве электро- и
газосварочных работ на электростанции должны соблюдаться требования “Инструкции
о мерах пожарной безопасности при проведении сварочных и других огневых работ”.
В кабельных полу этажах запрещается:
устройство временных и постоянных
кладовок;
курение и применение открытого огня;
работа с легковоспламеняющимися и
горючими веществами.
В помещениях лабораторной
разрешается хранить недельный эксплуатационный запас горючесмазочных материалов
и других легко воспламеняющихся веществ в прочной закрывающейся металлической
таре. Открытое хранение горючесмазочных и легковоспламеняющихся веществ
запрещается.
В помещениях лабораторной ежедневно
очищать урны от промасленной ветоши в специально отведённые для этого места.
Не допускать попадания влаги (воды,
пара) на электродвигатели, электрическую аппаратуру, кабели.
Не допускать механических
повреждений электропроводов и кабелей, самовольных подключений к
электроустановкам, а также не применять некалиброванные плавкие вставки в
электропредохранителях и непроверенные автоматические выключатели.
Всякие работы с открытым огнём
(электро- и газосварочные) производить только по специальному распоряжению.
Курение в местах опасных в пожарном
отношении запрещается.
Спецодежда должна храниться в
специальных ящиках в бытовых цеха. Промасленная спецодежда должна храниться
только в развешенном виде. В карманах спецодежды запрещается оставлять
промасленные тряпки и обтирочные конпы. Оставлять после работы спецодежду у
рабочих мест запрещается.
Щиты управления являются наиболее
ответственной частью электрической установки, поэтому наибольшее внимание при
тушении пожара должно уделяться сохранению в целостности установленной на них
аппаратуры.
При загорании кабелей, проводов,
аппаратуры на панелях щита управления оперативный персонал должен, по
возможности, снять напряжение с панелей, на которых возник пожар, и приступить
к тушению пожара, не допуская перехода огня на соседние панели. При этом применяются
углекислотные огнетушители, а также распыленная вода.
В случае тушения пожара без снятия
напряжения при применении углекислотных огнетушителей не допускается
прикосновение к кабелям, проводам и аппаратуре, а при тушении пожаров
компактными и распылёнными водяными струями без снятия напряжения в
электроустановках допускается только в электроустановках, открытых для обзора
ствольщика. При этом ствол должен быть заземлён, а ствольщик работать в
диэлектрических перчатках и обуви и находиться на расстоянии не менее 3,5 - 4
м.
4.5 Мероприятия по обеспечению
персонала ЦТАИ в условиях ЧС. Режим повседневной деятельности
В целях предупреждения аварии на
ТЭС, снижения масштабов последствий возможных чрезвычайных ситуаций (ЧС),
вызванных крупными авариями, катастрофами на соседних и снижения последствий
стихийных бедствий на ТЭС и в его цехах и отделах разрабатываются и
осуществляются организационно-технические предупредительные профилактические
мероприятия:
Положение по объективной комиссии по
предупреждению и ликвидации ЧС.
Объектовая комиссия по чрезвычайным
ситуациям (КЧС), рабочий аппарат объектовой КЧС и состав оперативной группы.
На базе невоенизированных
формирований гражданской обороны силы и средства по предупреждению и ликвидации
ЧС.
Обучение и поддержание в готовности
к действиям в ЧС органы управления, силы и средства ТЭС.
Обучение рабочих и служащих способам
защиты и действиям в возможных ЧС.
Меры безопасности при работе с
сильнодействующими ядовитыми веществами и при работе на участках, где возможно
возникновение аварийных ситуаций.
План мероприятий по обеспечению
устойчивой работы ТЭС в ЧС и его корректировка в установленные сроки.
Постоянное наблюдение за состоянием
и работой технологического оборудования станции.
Поддержание в постоянной готовности систем
связи и оповещения персонала станции о ЧС.
Рабочие места работающих на ТЭС в
основном обеспечены средствами индивидуальной защиты, а дежурная смена
оперативного персонала дополнительно противогазами, коробками и патронами ДПГ-3
от СДЯВ и СО.
Режим повышенной готовности
В случае угрозы возникновения ЧС на
ТЭС, вызванной крупной аварией или катастрофой на соседних потенциально опасных
объектах, или угрозы возникновения стихийного бедствия необходимо выполнить
предупредительные мероприятия направленные на снижение возможного ущерба от
производственной аварии или стихийного бедствия:
Произвести прогнозирование и оценку
возможной обстановки на станции. Ответственный начальник ГО, начальник штаба ГО
и ЧС.
Оповестить об угрозе возникновения
ЧС руководящий состав, членов КЧС, рабочих и служащих ТЭС. В рабочее время
ответственные: НШГО ЧС и начальник связи. В нерабочее время: начальник смены
станции (НСС).
Собрать руководящий состав ГО,
членов КЧС и КНС. В рабочее время ответственный НШГО ЧС. В нерабочее время ответственный
НСС.
Провести инструктаж руководящего
состава, членов КЧС и командиров формирований о проведении необходимых
мероприятий в цехах и отделах ТЭС. Проводит начальник ГО (председатель КЧС).
Выставить пост РХН и поставить ему
задачу. Ответственный начальник службы ПРХЗ.
Привести в повышенную готовность
силы и средства, предназначенные для ликвидации последствий возможных ЧС.
Ответственные: НЩГО ЧС по оперативным вопросам, командиры формирований.
Проверить и уточнить порядок
оповещения органов управления, невоенизированных формирований, рабочих и
служащих, членов их семей о возникновении аварии, катастрофы или стихийного
бедствия и порядке действия при ЧС. Ответственный начальник службы связи.
Привести защитное сооружение в
готовность к приему укрываемых (без высвобождения от складского имущества).
Ответственный начальник службы убежищ и укрытий.
Уточнить порядок наблюдения за
соседним объектом, на котором произошла авария или за ухудшающимися
метеоусловиями, которые могут отрицательно повлиять на жизнедеятельность ТЭС.
Ответственные: начальник ГО НЩГО ЧС.
Приступить к проведению плановых
мероприятий по повышению устойчивости ТЭС при ЧС. Ответственный председатель
КЧС.
Режим чрезвычайный
При возникновении крупной
производственной аварии на тес первоначальное руководство по ликвидации
производственной аварии возложено на НСС, который после принятия первоначальных
мер по локализации аварийной ситуации оповещает директора ТЭС, председателя
КЧС. В случае необходимости НСС дает команду на развертывание и применение
средств пожаротушения, вызывает пожарную команду города, скорую помощь,
привлекает аварийно техническую службу ТЭС к ремонтно-восстановительным
работам.
Оперативный персонал ТЭС, в
зависимости от характера угрозы поражения обслуживающего персонала. На
основании имеющихся инструкций по предупреждению и ликвидации аварий на
оборудовании ТЭС, принимает меры по её ликвидации путем отключения
оборудования, паропроводов, газопроводов, эвакуации находящихся людей. При
прибытии на ТЭС директора или председателя КЧС руководство по устранению
последствий аварии переходит к ним.
При возникновении аварии на складе
химических реагентов ТЭС в результате повреждений баков хранения или разлива
СДЯВ на потенциально химически опасных соседних объектах НСС:
Включает электрическую сирену
звучанием на две минуты (сигнал: «Внимание, всем!»).
Передает на узел связи ТЭС, чтобы
передали речевое сообщение по местной радиосети о времени, месте, масштабе
аварии, о безаварийном останове вспомогательного оборудования ТЭС и убытия работающих
в защитное сооружение, кроме дежурной смены оперативного персонала, которым
подготовить средства индивидуальной защиты и надеть их при подходе токсичных
химических веществ (ТХВ).
При возникновении аварии на
радиационно опасных объектах НСС получив сообщение по прямому телефону о
времени, месте, возможных её последствиях, направлении и скорости ветра
докладывает директору ТЭС и председателю КЧС, если позволяет время, а если нет,
то включает сирену и действует так, как при подходе токсичных веществ к
территории ТЭС. Разведку и наблюдение за изменением обстановке, сложившейся в
результате производственной аварии или стихийного бедствия, вести силами поста
РХН с задачей своевременно обнаружить заражение объекта радиоактивными или
отравляющими веществами, подать сигнал оповещения и определить направление
распространения облака. К ведению дополнительно привлечь звено разведки с
задачей установить характер радиоактивного и химического заражения, наличие и
распространение пожаров, степени разрушений, наличие и распространение пожаров,
степени разрушений, наличие пострадавших людей. Ответственность за организацию
разведки возложить на спасательных и неотложных работ - на командиров
формирований ГО.
Начальнику службы ПРХЗ организовать
дозиметрический и химический контроль.
Организовать систематический
контроль за зараженностью продуктов питания, выдаваемых рабочими и служащим.
Контроль за степенью зараженности возложить на лабораторию химического цеха
ТЭС.
Для ведения спасательных и
неотложных работ привлечь формирования ГО: спасательную группу,
аварийно-техническую команду, отделение пожаротушения.
Формирования ГО заблаговременно
должны быть укомплектованы и оснащены необходимой техникой и имуществом.
Установить единый срок приведения
формирований ГО в готовность для ведения спасательных и неотложных работ при
внезапном возникновении бедствия.
Для решения задач медицинского
обеспечения привлечь медицинский пункт ТЭС, санитарные посты и медицинское
звено защитного сооружения. Первую медицинскую помощь пораженным отравляющими
или радиоактивными веществами и пострадавшим при производственных авариях
оказывать путем само- и взаимопомощи, составом медицинского пункта ТЭС и
санитарных постов, подготовленных и оснащенных для этой цели.
Для управления силами ГО ТЭС при возникновении
производственных аварий и стихийных бедствий использовать оборудованный пункт
управления (ПУ) в защитном сооружении, а при аварии со СДЯВ - щит управления
химической водоочистки.
В состав расчета ПУ включить:
Начальника ГО ТЭС и его первого заместителя.
Начальника штаба по делам ГО и ЧС и
его заместителей.
Формирования обслуживания ПУ (связи
и охраны).
Оперативного дежурного ПУ ГО ТЭС.
На ПУ организовать круглосуточное
дежурство. Все сигналы, распоряжения и информацию на ТЭС принимает и записывает
в журнал оперативный дежурный. О получении сигналов и распоряжений оперативный
дежурный докладывает начальнику ГО и начальнику штаба по делам ГО и ЧС ТЭС и по
их распоряжению обеспечивает их доведение до исполнителей по схеме оповещения.
4.6 Расчет вентиляции
Производство электроэнергии на ТЭС
связано с высокими температурами и влажностью, что требует обеспечения
нормального микроклимата в цехе ТАИ. Для этой цели предусматриваем вентиляцию.
Для ЦТАИ оптимальными и допустимыми нормами являются /16/:
Температура воздуха, °С
оптимальная 20÷23
допустимая 19÷25
Относительная влажность, %
оптимальная 40÷60
допустимая 75
Скорость движения воздуха, м/с
оптимальная 0,2
допустимая 0,2
В дипломном проекте применяем
приточную, общеобменную вентиляцию. Согласно СНиП 11-33-94 количество воздуха,
обеспечивающее требуемые параметры определяем расчетом.
Объем V подаваемого свежего воздуха,
необходимо для удаления избыточного тепла, определяем по формуле /17/:
=Qизб/c·ρ·(tу-tп),
где Qизб - избыток тепла; с -
теплоемкость воздуха; ρ
- плотность
воздуха; tу,tп - температуры уходящего и приходящего воздуха.
ЦТАИ относится к помещениям с
незначительным избытком удельного тепла, QизбУД = 23 Дж/(м3·с).
Размеры помещения ЦТАИ следующие:
площадь пола S = 144 м2;
высота h = 3,5 м.
Таким образом:изб = 23·144·3,5 =
11,6 кДж/с
ρ = 1,029 кг/ м3;
с = 1 кДж/(кг·К);у = 45°С;п = 20°С.
Объём подаваемого воздуха будет
равен:= 11,6/1,029·1·(40-20) = 0,563 м3/с = 2000 м3/ч;
Определим кратность воздухообмена:
= V/VП,
где VП - объём помещения, VП = 144
·3,5 = 504 м3;= 2000/504 ~ 4.
Подберем вентилятор для
воздухообмена. По рисунку 5.12/18/ определим давление от напора воздуха: Р=430
Па, циклическая частота ω=150
рад/с,
коэффициент полезного действия η=0,4.
Для расчета мощности используем формулу:
N = V·P/1000·η = 0,563·430/1000·0,4
= 0,61 кВт;
С учетом запаса N3 = N·k,
где k - коэффициент запаса, k=1,1.
Получим:= 0,61·1,1 = 0,67 кВт.
Из /18/ выбираем подходящий
двигатель серии А2: А02-12-4:
мощность 0,8 кВт,
частота вращения 150 рад/с.
Заключение
Дипломный проект выполнен в
соответствии с заданием в объеме стр. пояснительной записки с таблицами и
рисунками и чертежей.
В соответствии с техническим
заданием была проведены расчеты по разработке системы водоснабжения парового
котла ТП-230-2.
При выполнении дипломного проекта
была разработана системы водоснабжения парового котла ТП-230-2.
В процессе разработки были проведены
тепловые, конструкторские, прочностные и гидравлические расчеты системы
водоснабжения.
При выполнении дипломного проекта
было произведено изменение конструкции деаэратора. Проведены расчеты
энергопотребления на собственные нужды до и после реконструкции.
В результате разработки создана
система водоснабжения парового котла ТП-230-2 с улучшенными показателями.
В результате экономических расчетов
определено, что после реконструкции системы водоснабжения общая годовая
экономия составит 17 220 тыс. руб./год. Проект окупится за 3,2 месяца.
Разработаны мероприятия по
обеспечению безопасности реконструкции и эксплуатации оборудования.
Список использованной литературы
1. Инструкция
по эксплуатации парового котла ТП-230-2, 36 с.
2. ПБ
10-573-03. Правила устройства и безопасной эксплуатации трубопроводов пара и
горячей воды. 54 с.
. Никитина
И.К. Справочник по трубопроводам тепловых электростанций. - М.:
Энергоатомиздат, 1983.-176 с.
. Тепловой
расчет котельных агрегатов. Нормативный метод. М.: Энергия, 1973 г. 296 с.
. Гидравлический
расчет котельных агрегатов: (Нормативный метод)/ Балдина О.М., Логшин В.А.,
Петерсон Д.Ф. и др.; под ред. В.А. Локшина и др.-М.: Энергия, 1978.-256 с.
. РД
10-249-98 Нормы расчета на прочность стационарных котлов и трубопроводов пара и
горячей воды (УТВЕРЖДЕНЫ постановлением Госгортехнадзора России от 25.08.1998 №
50, с Изменением № 1 (РДИ 10-413(249)-01), утвержденное постановлением
Госгортехнадзора России от 13.07.01 № 31) -184 с.
. Инструкция
СН 527-80 по проектированию технологических стальных трубопроводов Ру до 16 МПа
(Утверждена постановлением Государственного комитета СССР по делам
строительства от 4 августа 1980 г. № 120).
. ГОСТ
16860-88 Деаэраторы термические. Типы, основные параметры, приемка, методы
контроля, 5 с.
. Назмеев
Ю.Г., Лавыгин В.М. Теплообменные аппараты ТЭС. - 4-е изд. М.: Издательский дом
МЭИ, 2007. - 61 с.
. Клименко
А.В., Зорин В.М. Теплоэнергетика и теплотехника. - 3-е изд., перераб. и доп. -
М.: Издательство МЭИ, 1999.
. ГОСТ
14249-89 Сосуды и аппараты. Нормы и методы расчета на прочность, 15 с.
. Пономарева
Н.А. Методические указания по оценке эффективности инвестиций в дипломных
проектах для студентов специальности 1005, 1003. / Юж.-Рос. гос. техн. ун-т.
Новочеркасск: ЮРГТУ(НПИ), 2002 - 18 с.