Принципиальная схема, состав и характеристики основного оборудования АЭС с реакторной установкой РБМК-1000

  • Вид работы:
    Курсовая работа (т)
  • Предмет:
    Физика
  • Язык:
    Русский
    ,
    Формат файла:
    MS Word
    730,05 Кб
  • Опубликовано:
    2012-08-10
Вы можете узнать стоимость помощи в написании студенческой работы.
Помощь в написании работы, которую точно примут!

Принципиальная схема, состав и характеристики основного оборудования АЭС с реакторной установкой РБМК-1000

СОДЕРЖАНИЕ

I ВВЕДЕНИЕ

II ОСНОВНЫЕ ХАРАКТЕРИСТИКИ РЕАКТОРА РБМК-1000

.1 Внутриреакторные конструкции

2.2 Запорно-регулирующий клапан

2.3 Разгрузочно-загрузочная машина

.4 Тепловыделяющие сборки (твс)

.5 Конструкция защиты от ионизирующего излучения ректора

III ЗАКЛЮЧЕНИЕ

IV СПИСОК ИСПОЛЬЗОВАННОЙ ЛИТЕРАТУРЫ

I ВВЕДЕНИЕ

Реактор РБМК-1000 является реактором с неперегружаемыми каналами, в отличие от реакторов с перегружаемыми каналами, ТВС и технологический канал являются раздельными узлами. К установленным в реактор каналам с помощью неразъемных соединений подсоединены трубопроводы - индивидуальные тракты подвода и отвода теплоносителя. Загружаемые в каналы ТВС крепятся и уплотняются в верхней части стояка канала. Таким образом, при перегрузке топлива не требуется размыкания тракта теплоносителя, что позволяет осуществлять ее с помощью соответствующих перегрузочных устройств без остановок реактора.

При создании таких реакторов решалась задача экономичного использования нейтронов в активной зоне реактора. С этой целью оболочки ТВЭЛов и трубы канала изготовлены из слабо поглощающих нейтроны циркониевых сплавов. В период разработки РБМК температурный предел работы сплавов циркония был недостаточно высок. Это определило относительно невысокие параметры теплоносителя в РБМК. Давление в сепараторах равно 7,0 МПа, чему соответствует температура насыщенного пара 284° С. Схема установок РБМК одноконтурная. Пароводяная смесь после активной зоны попадает по индивидуальным трубам в барабаны-сепараторы, после которых насыщенный пар направляется в турбины, а отсепарированная циркуляционная вода после ее смешения с питательной водой, поступающей в барабаны-сепараторы от турбоустановок, с помощью циркуляционных насосов подается к каналам реактора. Разработка РБМК явилась значительным шагом в развитии атомной энергетики СССР, поскольку такие реакторы позволяют создать крупные АЭС большой мощности.

Из двух типов реакторов на тепловых нейтронах - корпусных водо-водяных и канальных водографитовых, использовавшихся в атомной энергетике Советского Союза, последние оказалось проще освоить и внедрить в жизнь. Это объясняется тем, что для изготовления канальных реакторов могут быть использованы общемашиностроительные заводы и не требуется такого уникального оборудования, которое необходимо для изготовления корпусов водо-водяных реакторов.

Эффективность канальных реакторов типа РБМК в значительной степени зависит от мощности, снимаемой с каждого канала. Распределение мощности между каналами зависит от плотности потока нейтронов в активной зоне и выгорания топлива в каналах. При этом существует предельная мощность, которую нельзя превышать ни в одном канале. Это значение мощности определяется условиями теплосъема.

Первоначально проект РБМК был разработан на электрическую мощность 1000 МВт, чему при выбранных параметрах соответствовала тепловая мощность реактора 3200 МВт. При имеющемся в реакторе количестве рабочих каналов (1693) и полученном коэффициенте неравномерности тепловыделения в активной зоне реактора максимальная мощность канала составляла около 3000 кВт. В результате экспериментальных и расчетных исследований было установлено, что при максимальном массовом паросодержании на выходе из каналов около 20 % и указанной мощности обеспечивается необходимый запас до кризиса теплосъема. Среднее паросодержание по реактору составляло 14,5%. Энергоблоки с реакторами РБМК электрической мощностью 1000 МВт (РБМК-1000) находятся в эксплуатации на Ленинградской, Курской, Чернобыльской АЭС, Смоленской АЭС. Они зарекомендовали себя как надежные и безопасные установки с высокими технико-экономическими показателями. Если их специально не взрывать.

Для повышения эффективности реакторов РБМК были изучены возможности увеличения предельной мощности каналов. В результате конструкторских разработок и экспериментальных исследований оказалось возможным путем интенсификации теплообмена увеличить предельно допустимую мощность канала в 1,5 раза до 4500 кВт при одновременном повышении допустимого паросодержания до нескольких десятков процентов. Необходимая интенсификация теплообмена достигнута благодаря разработке ТВС, в конструкции которой предусмотрены интенсификаторы теплообмена. При увеличении допустимой мощности канала до 4500 кВт тепловая мощность реактора РБМК повышена до 4800 МВт, чему соответствует электрическая мощность 1500 МВт. Такие реакторы РБМК-1500 работают на Игналинской АЭС. Увеличение мощности в 1,5 раза при относительно небольших изменениях конструкции с сохранением размеров реактора является примером технического решения, дающего большой эффект.

II ОСНОВНЫЕ ХАРАКТЕРИСТИКИ РЕАКТОРА РБМК-1000

.1 ВНУТРИРЕАКТОРНЫЕ КОНСТРУКЦИИ

реакторная установка ионизирующее излучение

ТВС в РБМК состоят из двух частей-нижней и верхней, каждая из которых содержит 18 твэлов стержневого типа из таблеток спеченной двуокиси урана, заключенных в оболочку из циркониевого сплава. Высота активной части топлива в твэле 3,5 м, общая высота активной зоны в РБМК 7,0 м. Диаметр твэла 13,5 мм. Расположение твэлов в ТВС с требуемым шагом (минимальный зазор между твэлами 1,7 мм) обеспечивается с помощью дистанционирующих решеток, состоящих из 19 ячеек, из которых 18 служат для дистанционирования твэлов, а центральная ячейка - для крепления решетки к каркасной трубке ТВС. Ячейки сварены между собой точечной сваркой в единую конструкцию. В ТВС с интенсификацией теплообмена в решетках верхней части имеются устройства для турбулизации потока теплоносителя, что и обеспечивает интенсификацию теплообмена. ТВС крепятся к подвеске, в верхней части которой находится запорное устройство-пробка, предназначенная для закрепления подвески с ТВС в канале и одновременно герметизации канала. Крепление подвески осуществляется с помощью шариков, которые фиксируются в кольцевой канавке, выполненной на внутренней поверхности верха стояка канала, распорной втулкой при ее перемещении за счет вращения винта. При фиксированных шариках и дальнейшем вращении винта производится уплотнение подвески в канале путем обжатия герметизирующей прокладки. Все указанные операции производятся разгрузочно-загрузочной машиной. Помимо топливных каналов в активной зоне РБМК имеется 179 каналов СУЗ. Стержни СУЗ предназначены для регулирования радиального поля энерговыделения (PC), автоматического регулирования мощности (АР), быстрой остановки реактора (A3) и регулирования высотного поля энерговыделения (УСП), причем стержни УСП длиной 3050 мм выводятся из активной зоны вниз, а все остальные длиной 5120 мм, вверх.

Для контроля за энергораспределением по высоте активной зоны предусмотрено 12 каналов с семисекционными детекторами, которые установлены равномерно в центральной части реактора вне сетки топливных каналов и каналов СУЗ. Контроль за энергораспределением по радиусу активной зоны производится с помощью детекторов, устанавливаемых в центральные трубки ТВС в 117 топливных каналах. На стыках графитовых колонн кладки реактора предусмотрено 20 вертикальных отверстий диаметром 45 мм, в которых устанавливаются трехзонные термометры для контроля за температурой графита.

Общий вид реактора РБМК: 1 - опорная металло-конструкция; 2 - индивидуальные водяные трубопроводы; 3 - нижняя металлоконструкция; 4 - боковая биологическая защита; 5 - графитовая кладка; 6 - барабан-сепаратор; 7 - индивидуальные пароводяные трубопроводы; 8 - верхняя металлоконструкция; 9 - разгрузочно-загрузочная машина; I0 - верхнее центральное перекрытие; 11 - верхнее боковое перекрытие; 12 - система контроля герметичности оболочек твэлов; 13 - главный циркуляционный насос; 14 - всасывающий коллектор; 15 - напорный коллектор.

Реактор размещен в бетонной шахте размером 21,6х21,6х25,5 м. Нижняя плита толщиной 2 м и диаметром 14,5 м состоит из цилиндрической обечайки и двух листов, в которые герметично вварены трубные проходки для топливных каналов и каналов управления.. Весь объем внутри плиты между проходками заполнен серпентинитом, благодаря чему она, являясь биологической защитой, обеспечивает возможность проведения работ в под реакторном пространстве во время остановки реактора.

Нижняя плита через сварную металлоконструкцию в виде креста опирается на бетонное основание шахты реактора. Реактор окружен боковой защитой в виде кольцевого бака с водой, который установлен на опорных конструкциях, крепящихся к бетонному основанию шахты реактора. Наружный диаметр бака равен 19 м, внутренний на высоте 11 м - 16,6 м. На верхнем торце бака на 16 Катковых опорах установлена верхняя плита, аналогичная по конструкции нижней. Толщина верхней плиты 3 м, диаметр 17,5 м. Вокруг верхней плиты имеется дополнительная боковая защита в виде кольцевого бака с водой высотой 3,2 м, наружным диаметром 19 м, а внутренним 17,8 м.

Нижняя и верхняя плиты соединены между собой герметичным кожухом из листового проката толщиной 16 мм. В нижней части кожуха имеются компенсаторы линейного удлинения с толщиной стенки 8 мм. Вверху и внизу кожух и бак боковой защиты соединены диафрагмами с компенсаторами, линейных удлинений. Таким образом, между кожухом и боковой защитой образуется кольцевая, также герметичная, полость.

Внутри герметичного кожуха реактора на нижней плите установлена графитовая кладка реактора, состоящая из 2488 вертикальных графитовых колонн, собранных из прямоугольных блоков высотой 200, 300, 500 и 600 мм, с основанием 250x250 мм я внутренним отверстием диаметром 114 мм. 1693 колонны предназначены для установки в них топливных каналов, 179 - для каналов СУЗ реактора, а остальные являются боковым отражателем. В отверстиях периферийных колонн установлены металлические охлаждаемые водой штанги, фиксирующие графитовую кладку при перемещениях в радиальном направлении. Каждая графитовая колонна установлена на опорный стакан, прикрепленный к нижней плите. На опорные же стаканы крепится стальная диафрагма толщиной 5 мм, предназначенная для уменьшения теплопередачи излучением от кладки к нижней плите и для организации распределения потока газа внутри реактора. Для кладки реактора используется графит плотностью 1,65 г/см3. Общий эквивалентный диаметр кладки 13,8 м (диаметр активной зоны 11,8 м, толщина бокового отражателя 1 м). Высота кладки 8 м (высота активной зоны 7 м, толщины торцевых отражателей по 0,5 м).

Внутренняя полость реактора заполнена прокачиваемой через кладку азотно-гелиевой смесью с небольшим избыточным давлением, благодаря чему обеспечивается нейтральная атмосфера для находящегося при высокой температуре графита, что предотвращает его выгорание. В результате добавки гелия увеличивается теплопроводность газовой смеси и улучшаются условия теплоотвода от графитовой кладки к теплоносителю внутри каналов. Газовая среда реактора служит также для вентиляции внутриреакторного пространства и для контроля целостности каналов. Откачка газа из реактора осуществляется из вваренных в верхнюю плиту проходок-стояков по индивидуальным импульсным трубкам, проложенным над верхней плитой. Газ в эти трубки поступает снизу кладки, проходя вдоль канала. В случае нарушения целостности канала газ увлажняется, что и определяется проводимым анализом влажности газа. Полость вокруг кожуха реактора заполнена азотом, давление которого несколько больше давления газа внутри кожуха. Благодаря этому исключаются утечки газа из внутриреакторного пространства через кожух.

В вертикальные сквозные отверстия, образованные стояками нижней и верхней плит и отверстиями в графитовых колоннах, вставляются 1693 топливных канала и 179 каналов для стержней СУЗ реактора. Каналы представляют собой трубчатую конструкцию, состоящую из центральной, выполненной из циркониевого сплава части на высоте активной зоны и нижней и верхней концевых частей, выполненных из нержавеющей стали. Концевые части присоединяются к центральной циркониевой трубе через заранее изготовленные переходники сталь-цирконий. Циркониевая часть топливного канала изготовлена из трубы 0 88х4, а канала СУЗ из трубы 0 88х3. Длина топливного канала 18,2 м, диаметр в нижней части 60 мм, а в верхней 121 мм, длина канала СУЗ 21,3 м. Каналы привариваются к внутренней поверхности стояков верхней плиты, а со стояками нижней плиты соединяются через сильфонные узлы, обеспечивающие компенсацию линейных удлинений канала при разогреве и в результате осевой ползучести циркониевого сплава. Тем самым в пределах реактора формируется тракт для теплоносителя, образуемый собственно технологическим каналом и частью стояков верхней плиты выше шва приварки каналов к этим стоякам. На циркониевую часть канала надеты разрезные графитовые кольца. Эти кольца через одно плотно облегают трубу канала или прижаты к поверхности отверстия графитовой кладки. По торцам кольца имеют плотный контакт. Разрезные кольца обеспечивают теплопередачу от графитовой кладки к теплоносителю, протекающему в канале, и дают возможность изменяться размерам каналов за счет ползучести, и отверстиям в графите за счет усадки.

К нижним частям каналов приварены трубопроводы для подхода в топливных каналах и для отвода в каналах СУЗ теплоносителя. К стоякам выше мест вварки в них каналов также приварены трубопроводы для отвода теплоносителя в топливных и для подвода - в каналах СУЗ. Трубопроводы подвода воды к топливным каналам - нижние водяные коммуникации имеют диаметр 57 мм, а толщину стенки 3,5 м. Вода в них поступает из 44 групповых коллекторов (по 22 коллектора на каждую сторону реактора). К групповым коллекторам вода подается от напорных коллекторов главных циркуляционных насосов. Вся разводка как подводящих, так и отводящих трубопроводов выполнена симметрично относительно осевой плоскости. Также симметрично расположено и основное оборудование реакторной установки.

Индивидуальные трубопроводы для отвода пароводяной смеси от каналов к сепараторам - пароводяные коммуникации диаметром 76 мм и толщиной стенки 4 мм образуют два ряда перед входом в каждый сепаратор. Между этими рядами установлены специальные короба с биологической защитой, внутри которых пере-мещаются детекторы контроля герметичности оболочек твэлов (КГО). С определенным интервалом времени детекторы проходят мимо каждого трубопровода с теплоносителем, фиксируя при этом активность теплоносителя в нем. В случае разгерметизации оболочек твэлов в каком-либо канале активность в трубопроводе возрастет, что и зафиксируется системой КГО, которая вырабатывает сигнал, по которому ТВС с дефектными твэлами должна быть извлечена из канала.

.2 ЗАПОРНО - РЕГУЛИРУЮЩИЙ КЛАПАН

Характерная особенность канальных реакторов - возможность регулирования и контроля расхода теплоносителя по каждому каналу. Это позволяет получать на выходе всех каналов примерно одинаковые теплотехнические параметры и иметь минимально необходимый расход теплоносителя через реактор. Требуемый для каждого канала расход определяется его мощностью, которая в свою очередь зависит от места нахождения канала в реакторе и от выгорания топлива. В связи с этим мощность, а следовательно, и необходимый расход теплоносителя в течение кампании постепенно (при перегрузке топлива скачкообразно) изменяются. Регулирование расхода осуществляется с помощью запорно-регулирующего клапана (ЗРК), изображенного на рис. 2. Расход регулируется путем изменения зазора между наконечником и седлом дросселя. ЗРК вместе с расходомерами устанавливают на индивидуальных водяных трубопроводах около групповых коллекторов. Управление ими осуществляется из помещения, расположенного над групповыми коллекторами и отделенного от последнего бетонной защитой.

- указатель положения;

- винт указателя;

- привод;

- хвостовик привода;

- резьбовая втулка;

- фонарь;

- кольцо;

- вал;

- втулка;

- прокладка;

- сильфон;

- корпус;

- дроссель;

- наконечник;

- седло дросселя;

- групповой коллектор.

.3 РАЗГРУЗОЧНО-ЗАГРУЗОЧНАЯ МАШИНА

Перегрузка топлива в реакторах РБМК осуществляется с помощью разгрузочно-загрузочной машины (РЗМ), обеспечивающей возможность замены топлива без остановки реактора (рис. 3). В РЗМ имеется окруженный биологической защитой (контейнером) герметичный пенал-скафандр, снабженный поворотным магазином с четырьмя гнездами для ТВС и других устройств. Скафандр оборудован специальными механизмами для выполнения работ по перегрузке.

Скафандр установлен на тележке мостового крана с пролетом 21 м, перемещающегося по рельсам, проложенным вдоль стен реакторного зала. При перегрузке топлива скафандр уплотняется по наружной поверхности стояка канала, и в нем создается давление воды, равное давлению теплоносителя в каналах. В таком состоянии разуплотняется запорная пробка, извлекается отработавшая ТВС с подвеской, устанавливается новая ТВС и уплотняется пробка. Во время всех этих операций вода из РЗМ поступает в верхнюю часть канала и, смешиваясь с основным теплоносителем, выводится из канала по отводящему трубопроводу. Таким образом, при перегрузке топлива обеспечивается непрерывная циркуляция теплоносителя через перегружаемый канал, при этом вода из канала не попадает в РЗМ.

Управление машиной осуществляется из операторской кабины, расположенной за торцевой стеной реакторного зала. Установка машины над соответствующим каналом производится по координатам, а точное наведение на канал с помощью оптико-телевизионной системы, через которую можно наблюдать головку пробки канала, или с помощью контактной системы, в которой возникает сигнал при касании детектора с боковой поверхностью верха стояка канала.

Механизмы для подъема и опускания ТВС с подвеской расположены в верхней части скафандра. Перемещение захвата и управление им осуществляется через две цепи. С верхом стояка канала скафандр соединяется через стыковочный патрубок, который управляется механизмом перемещения. По наружной поверхности стояка канала патрубок уплотняется с помощью резиновых надувных манжет. Уплотнение и разуплотнение запорной пробки в канале осуществляется приводом герметизации. В скафандре имеется еще запорное устройство, герметизирующее его снизу при перемещениях РЗМ по реакторному залу. На ферме машины, установленной на тележке, расположено технологическое оборудование для снабжения РЗМ водой конденсатом и воздухом, необходимым для ее работы. воздухом, необходимым для ее работы.

Схема разгрузочно-загрузочной машины (РЗМ):

- поворотный магазин;

- технологическое оборудование;

- верхняя часть скафандра;

- привод перемещения и управления захватом;

- цепи перемещения и управления захватом;

- ферма;

- механизм перецепки;

- привод поворота механизма;

- средняя часть скафандра;

- запорное устройство;

- оптико-телевизионная система наведения;

- контактная система наведения;

- нижняя часть скафандра;

- привод герметизации канала;

- механизм перемещения стыковочного патрубка;

- контейнер;

- мост;

- тележка.

.4 ТЕПЛОВЫДЕЛЯЮЩИЕ СБОРКИ (ТВС)

К твэлам и ТВС предъявляются высокие требования по надежности в течение всего срока службы. Сложность реализации их усугубляется тем, что длина канала составляет 7000 мм при относительно небольшом его диаметре, и при этом должна быть обеспечена машинная перегрузка кассет как на остановленном, так и на работающем реакторе. Напряженные условия работы ТВС в реакторах РБМК предопределили необходимость проведения большого комплекса предреакторных и реакторных испытаний.

Тепловыделяющая кассета РБМК-1000

- подвеска,

- штифт,

- переходник,

- хвостовик,

- твэл,

- несущий стержень,

- втулка,

- наконечник,

- гайки.

.5 КОНСТРУКЦИЯ ЗАЩИТЫ ОТ ИОНИЗИРУЮЩЕГО ИЗЛУЧЕНИЯ РЕКТОРА

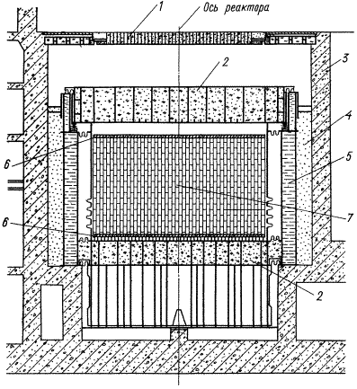
Поскольку реактор является мощным источником ионизирующего излучения, представляющего опасность, как для персонала, так и для оборудования он снабжен защитой, которая снижает поток излучения до приемлемого уровня и делает возможной нормальную эксплуатацию всей установки в целом. Реактор РБМК размещен в бетонной шахте квадратного сечения размером 21,6х21,6х25,5 м. Графитовые блоки, из которых собрана активная зона, располагаются в герметичной полости (реакторном пространстве), образованной нижней и верхней металлоконструкциями и цилиндрическим кожухом. Разрез по шахте реактора показан на рисунке 5. Радиационная защита стального кожуха и компенсаторов от потока быстрых нейтронов осуществляется боковым графитовым отражателем толщиной 100 см. Между торцевыми отражателями, имеющими толщину 50 см, и верхней и нижней металлоконструкциями на каждой графитовой колонне устанавливаются стальные блоки, предназначенные для снижения флюенса быстрых нейтронов на листы несущих нагрузку металлоконструкций, а также для уменьшения энерговыделения в них за счет поглощения излучений. Толщина нижних блоков 20 см; верхние блоки выбраны несколько большей толщины (25 см), поскольку в процессе работы реактора из-за неравномерного перемещения отдельных колонн графитовой кладки они могут сместиться относительно друг друга по высоте. Дальнейшее увеличение толщины этих блоков было признано нецелесообразным, так как радиационное энерговыделение в близлежащих к активной зоне листах металлоконструкций уже при этой толщине определяется захватным гамма - излучением, образующимся в самих листах металлоконструкций. При запроектированной толщине блоков температура листов металлоконструкций определяется не радиационным теплом, а теплом, переданным от стальных защитных блоков.

Защита реактора РБМК:

- плитный настил (тяжелый бетон, 4 т/м3);

- засыпка серпентинита (1,7 т/м3);

- обычный бетон (2,2 т/м3);

- песок (1,3 т/м3);

- бак водяной защиты;

- стальные защитные блоки;

- графитовая кладка

Периферийная часть верхнего перекрытия представляет собой металлические короба высотой 70 см, которые заполнены на первом блоке Ленинградской АЭС материалом ЖБСЦК, а на последующие рекомендован более дешевый материал - смесь чугунной дроби (86% по массе) с серпентинитом.

В радиальном направлении за кожухом реактора располагается кольцевой бак с водой, которая снижает потоки излучения на бетон шахты; служит тепловым экраном; способствует охлаждению кожуха реактора; бак одновременно является опорой для верхней металлоконструкции. Пространство между баком и шахтой реактора засыпано обычным песком, что позволило сократить толщину бетона примерно на 75 см.

В защите канального реактора РБМК имеются многочисленные неоднородности. Верхняя и нижняя опорные металлоконструкции пронизаны направляющими трубами, через которые проходят технологические каналы, каналы системы управления реактора и специальные каналы для датчиков температуры, детекторов нейтронного потока и др. Кроме того, через металлоконструкции проходят трубы подачи и отвода газа, парогазовой смеси, а также дренажные трубопроводы. Внутренняя полость технологических каналов с ТВС в верхней части заполнена малоэффективной по защите пароводяной смесью плотностью 0,2 г/см3, а в каналах специального назначения - газом.

При разработке конструкции каналов проектирование велось таким образом, чтобы ликвидировать прострел излучения по цилиндрическим и кольцевым отверстиям. Значительное снижение интенсивности излучения в верхнем направлении по зазору между трубами каналов диаметром 88 мм и отверстиями в графитовых блоках отражателя и защитных блоках диаметром 114 мм достигается благодаря установке в этом зазоре втулок из графита. Для защиты от прострела по зазору между трубой канала диаметром 95 мм и трактом с внутренним диаметром 121 мм в верхней металлоконструкции размещаются стальные втулки высотой 700 мм. Зазор между трубой канала и трактом в районе нижней металлоконструкции заполнен графитовыми втулками.

Во внутренней полости канала в районе расположения стальной втулки размещена стальная пробка диаметром 80 мм и высотой 1 м. Для прохода пароводяной смеси пробка выполнена винтовой, эффективная толщина стали 0,5м. Защита от прострельного излучения, проходящего по каналам СУЗ в зависимости от положения стержня, обеспечивается либо столбом воды, либо стержнем-поглотителем, или вытеснителем, заполненным графитом. Газовые трубопроводы, проходящие через защитные конструкции, выполнены изогнутыми. В каналах с датчиками контроля энерговыделения, ионизационными камерами, в температурных каналах размещаются защитные пробки с уступами. Согласно проекту, стены боксов с технологическим оборудованием выполнены из обычного строительного бетона объемной массой 2,2 т/м3.

III ЗАКЛЮЧЕНИЕ

Разработчики данной реакторной установки не предусмотрели создания таких систем безопасности, которые бы полностью исключили возможность неконтролируемого роста потока нейтронов при непредсказуемом, казалось бы, невероятном сочетании различных нарушений технологического регламента, правил эксплуатации. Подчеркнем, именно при невероятном, никак не предусмотренном обычной логикой действий. А на практике произошло именно так.

К известным недостаткам РБМК прежде всего относится наличие большого положительного эффекта реактивности, когда при уменьшении плотности теплоносителя, а такое происходит, в частности, при увеличении содержания в каналах пара (вода в этом реакторе играет еще и роль поглотителя нейтронов), происходит возрастание положительной реактивности.

Далее, в переходных режимах при нарушении персоналом требования иметь в активной зоне определенный запас стержней и в результате возникновения вследствие этого опасных нейтронных полей действие автоматической защиты могло быть недостаточно оперативным. Кроме того, как было выяснено позднее учеными, не исключалась возможность роста положительной реактивности в первые секунды после нажатия кнопки АЗ.

После аварии на ЧАЭС эти недостатки РБМК были устранены на всех действующих и строящихся АЭС с РБМК. Осуществляются также организационно-технические мероприятия, исключающие нарушение оперативным персоналом технологического регламента и возможность выведения им из работы (отключения) некоторых элементов аварийной защиты.

IV СПИСОК ИСПОЛЬЗОВАННОЙ ЛИТЕРАТУРЫ

http://ru.wikipedia.org/wiki/%D0%C1%CC%CA://petuhoff.chat.ru/rbmk/03_rbmk.htm

Похожие работы на - Принципиальная схема, состав и характеристики основного оборудования АЭС с реакторной установкой РБМК-1000

 

Не нашли материал для своей работы?
Поможем написать уникальную работу
Без плагиата!
Без нейросетей!