Низшая теплота сгорания древесины в заданные моменты времени

  • Вид работы:
    Дипломная (ВКР)
  • Предмет:
    Физика
  • Язык:
    Русский
    ,
    Формат файла:
    MS Word
    5,39 Мб
  • Опубликовано:
    2012-04-21
Вы можете узнать стоимость помощи в написании студенческой работы.
Помощь в написании работы, которую точно примут!

Низшая теплота сгорания древесины в заданные моменты времени

ВВЕДЕНИЕ


Ретроспективный взгляд на развитие цивилизаций убеждает, что чем быстрее движется вперед научная и техническая мысль, чем динамичнее темпы роста промышленности и других сфер человеческой деятельности, чем активнее развивается социально-бытовая область, тем острее становится проблема пожаров и пожарной безопасности.

Проблема пожаров за последние десятилетия вышла на уровень глобальных проблем, затрагивающих не только национальные, но и международные интересы. Это обусловлено тем, что, несмотря на повышение уровня противопожарной защиты и совершенствования пожарной охраны, ежегодно на Земле возникает до 6 миллионов пожаров, то есть каждые 5-6 секунд происходит в среднем один - два пожара. Человечество несет колоссальные материальные потери, превышающие сотни миллиардов денежных единиц.

Сколь долго огонь угрожает людям, почти столь же долго они пытаются найти от него защиту. Рост населения и технический прогресс - два фактора, один из которых повышает пожарную опасность, а другой призван ее предотвращать, - не могли помешать увеличению числа катастрофических пожаров в наше время. В нынешнем мире, отягощенном множеством забот, тревог, проблем, проблема пожаров пока еще не дошла до людей, не стала звучать в их сознании беспокойной нотой, не породила чувства огнеопасности внешней среды.

Вместе с тем, все социальные, экономические и экологические анализы и исследования показывают, что именно в изменении сознания и отношения людей к пожарной опасности заложены основные резервы сокращения количества пожаров.

Обеспечение противопожарной защиты народного хозяйства с каждым годом становится все более важным делом не только для решения узловых проблем экономики, но и для решения многих социальных и экологических вопросов. При этом все требование времени становится не просто обеспечение противопожарной защиты любыми средствами, а создание оптимальной системы, предусматривающей неуклонное повышение уровня пожарной безопасности без увеличения расходов на эти цели. Сегодня даже самая развитая экономика ощущает серьезные удары от пожаров, причем их болезненность усиливается непредсказуемостью самого явления.

С каждым годом общество вынуждено выделять для целей противопожарной защиты все более значительные средства, которые направляются, главным образом, на выполнение противопожарных инженерно-технических мероприятий, связанных с обеспечением безопасности различного рода зданий, сооружений и производственных процессов, на содержание и оснащения пожарной охраны, а также для ликвидации последствий пожара.

В последние годы особенно большое развитие получило направление прогнозирования динамики развития пожара с помощью математического моделирования. Но и для моделирования пожаров необходимы определенные входные данные, в число которых входят некоторые физико-химические величины объектов пожара - горючих материалов, например, теплота и температура пиролиза, массовая и линейная скорости горения.

При изучении процессов горения твердых материалов обращалось внимание на то, что определение основных параметров пожара во времени и пространстве: температуры, скорости развития, дымовыделения и т.д. требует знание низшей теплоты сгорания. Поэтому определение такого параметра внутреннего пожара как низшая теплота сгорания играет большую роль в эффективности использования выделяемых средств, позволяет спрогнозировать предполагаемый ущерб пожара.

Сущность рассматриваемой проблемы можно охарактеризовать следующим образом. Система обеспечения пожарной безопасности народного хозяйства является сложной социально-экономической системой, призванной предупреждать возникновение пожаров и ликвидировать их с минимальными последствиями в случае возникновения. Определение низшей теплоты сгорания является составной частью этой системы.

Цель данной дипломной работы заключалась в том, чтобы найти низшую теплоту сгорания древесины в заданные моменты времени.

. ЛИТЕРАТУРНЫЙ ОБЗОР

Основным законом термохимии является описанный в 1840 году русским химиком академиком Петербургской Академии наук Германом Ивановичем Гессом, названным его именем. Он устанавливает, что "если из данных исходных веществ можно различными путями получить заданные конечные продукты, то независимо от путей получения, т.е. от вида промежуточных реакций, суммарный тепловой эффект для всех путей будет одним и тем же". Кратко говоря: тепловой эффект химической реакции зависит только от вида исходных и конечных продуктов.

Закон Гесса является вполне строгим для процессов, протекающих при постоянном объёме (изохорический), когда тепловой эффект равен изменению внутренней энергии:

Qv = ∆U. (1.1)

Или при постоянном давлении (изобарический), когда тепловой эффект равен изменению энтальпии:

Qр = ∆Н. (1.2)

Для изохорных процессов изменение давления ∆Р = 0.

Таким образом, для изобарных процессов:

∆Н = ∆U + Р∆V. (1.3)

Для идеальных газов РV = nRT, т.е. если в реакции расходуется n1 молей газа, а образуется n2 молей газообразных продуктов, то ∆(РV) = (n2 - n1) RT = ∆ nRT, т.е.:

∆Н = ∆U + ∆ nRT. (1.4)

С2Н2 + 2,5О2 = 2СО2 + Н2О

n1 = 1 + 2,5 = 3,5; n2 = 2

∆n = 2 - 3,5 = -1,5.

Для иллюстрации закона Гесса представим процесс превращения исходных веществ (А1, А2, А3 …) в конечные продукты (В1, В2, В3 …), который может протекать:

)        непосредственно с тепловым эффектом ∆Н;

)        через последовательные реакции с ∆Н2, ∆Н3, ∆Н4;

)        через последовательные реакции с тепловым эффектом ∆Н5, ∆Н6, ∆Н7, ∆Н8.

Рис. 1.1 Схема, иллюстрирующая закон Гесса

Закон Гесса гласит: ∆Н1 = ∆Н2 + ∆Н3 + ∆Н4 = ∆Н5 + ∆Н6 + ∆Н7 + ∆Н8. (1.5)

Для большей наглядности проведём конкретный расчёт, где в качестве исходных веществ взяты кислород и уголь, а конечным продуктом СО2.

Рис. 1.2 Схема, иллюстрирующая закон Гесса в приложении к реакции окисления угля до СО2

Переход от исходных веществ к конечному продукту можно осуществить:

)        снижая С непосредственно до СО2;

)        снижая С до СО, а затем СО до СО2.

Так при работе газогенераторного двигателя твёрдое горючее сжигается в генераторе до СО, а уже в двигателе газообразная СО до СО2.

Очевидно, что: ∆Н1 = ∆Н2 + ∆Н3. (1.6)

Если, например, известно, что ∆Н1 = 392, 9 кДж/моль, а ∆Н1 = 283,4 кДж/моль, тогда ∆Н2 = ∆n1 - ∆n3 = 392,9 - 283,4 = 109,5 кДж/моль или  на 1 кг угля.

.1 Расчёты тепловых эффектов химических реакций

При расчётах тепловых эффектов химических реакций на основе закона Гесса рассматриваются два вида тепловых эффектов:

)        теплота (энтальпия) образования;

)        теплота (энтальпия) сгорания.

Теплота образования - тепловой эффект реакции образования данного соединения из простых веществ.

В справочной литературе приводятся теплоты образования весьма многих веществ. А поскольку тепловые эффекты зависят от условий их проведения, в частности, температуры, давления и др., то их относят, как правило, к стандартным условиям: Р = 101325 Па, Т = 298 К.

Из закона Гесса следует, что тепловой эффект химической реакции равен разности между теплотами образования всех веществ, указанных в правой части уравнения и теплот образования всех веществ, указанных в левой части уравнения, взятых с их стехиометрическими коэффициентами, т.е.

∆Нх = ∑( ni - ∆Нi обр)к - ∑( nj - ∆Нj обр)н.

Действительно:

СН4 + 2NO2 = CO2 + 2H2O + N2 + ∆Нх


Теплотой сгорания (Qx = ∆Нх) назывaется тепловой эффект реакции окисления данного соединения до высших окислов соответствующих элементов (СО2, SO2, Al2O3, H2Oп, Н2Ож).

Различают высшую (Н2Ож) и низшую (Н2Оп) теплоты сгорания.

Разность между низшей и высшей теплотой сгорания является тепловым эффектом парообразования воды:

 

.2 Экспериментальное определение тепловых эффектов

Для определения тепловых эффектов, сопровождающих химические реакции или физические процессы (плавление, горение, десорбция и др.) прилагаются следующие приборы-калориметры.

Калориметрическое определение ведётся так, что вся энергия выделялась в виде теплоты (изохорический процесс) или частично затрачивалась на совершение внешней работы расширения газа, которая может быть учтена (изобарический процесс).

Конструкции параметров весьма разнообразны и зависят от особенностей изучаемого процесса - длительность, величина теплового эффекта, температура, необходимая точность измерения.

Многие современные калориметры сложны по своей конструкции. Однако принцип их действия одинаков практически для всех калориметров.

Рис. 1.3 Схема калориметра

Он представляет собой сосуд Дьюара с посеребренными внутри двойными стенками, из пространства между которыми выкачан воздух. Вследствие чего стенки сосуда почти не проводят тепло. Для более равномерного теплообмена с окружающей средой сосуд помещают в термостат, наполненный водой.

Сосуд Дьюара заполнен водой, снабжён мешалкой, термометром и пробиркой, в которой помещают навески испытуемых веществ.

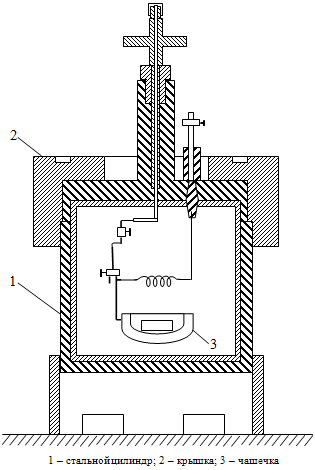
Если определяется теплота сгорания вещества, то вместо пробирки в калориметр помещается калориметрическая бомба, в которой сжигается навеска вещества. Чтобы горение протекало энергично до образования высших окислов, в бомбу закачивается кислород под давлением.

Рис. 1.4 Калориметрическая бомба

Калориметрическая бомба должна выдерживать высокие давления, поэтому её делают в виде толстостенного цилиндра из нержавеющей стали. В чашечку помещают навеску исследуемого вещества, под чашечкой прикрепляется спираль из железной проволоки определённой массы. Бомбу завинчивают крышкой и наполняют кислородом под давлением. Через проволоку пропускают электрический ток, перегорая, она зажигает вещество в чашечке и оно мгновенно сгорает.

Определив температуру в калориметре до сгорания (t) и после сгорания вещества (tг) наблюдают вызванные процессом изменения температуры:

∆t = tг - t1. (1.7)

Если известно "тепловое значение" калориметра (B), то теплота, полученная калориметром, вычисляется по формуле:

Q = B∆t. (1.8)

"Тепловое значение" калориметра или его теплоёмкость (В) по своему физическому смыслу представляет количество теплота, требуемое для нагревания калориметра на 1оС (В кДж/К).

Тепловое значение В находят опытным путём. Для этого в том же калориметре сжигают вещество, тепловой эффект которого известен и измеряют изменение температуры ∆t.

Отсюда:  . (1.9)

Измерение температуры в калориметре проводится термометрами чувствительностью 0,001 оС, в современных приборах она может достигать даже 0,0003 оС.

Несмотря на попытки исключить теплообмен калориметра с окружающей средой в действительности он в той или иной мере протекает. Кроме того при такой чувствительности термометров оказывается ощутимой теплопотери мешалки при вращении, теплота испарения воды в калориметре. Поэтому в определенную величину ∆t′ вводят поправку (δ):

∆t = ∆t′ ± δ. (1.10)

Существует несколько способов определения поправки δ. Рассмотрим графический метод "усреднения по температуре" определения ∆t с учётом поправки на теплообмен. Строится графическая зависимость температуры в калориметре от времени.

Кривая АВСD характеризует изменение температуры в ходе калориметрического опыта

АВ - начальный переход; изменение температуры до начала теплового процесса;

ВС - главный период; изменение температуры в процессе протекания теплового процесса;

СD - конечный период; изменение температуры калориметра после окончания теплового процесса.

Рис. 1.5 Графическая зависимость температуры в калориметре от времени.

Для определения изменения температуры в главном периоде, с учетом поправки на теплообмен, расстояние между точками m и n, соответствующим начальной и конечной температуре главного периода делят пополам (точка К) и проводят параллельно оси абсцисс прямую КР. Точка её пересечения с кривой АВСD (точка L) определяет положение прямой EF, перпендикулярной оси абсцисс. Экстраполируя прямые АВ и СD до пересечения с этой прямой. Отрезок tn ÷ tk является искомой величиной ∆t.

В современных калориметрах, оснащённых компьютерной техникой определение ∆t с учётом поправки на теплообмен и теплового значения калориметра (В) проводится с помощью специальных программ, и результаты выводятся на монитор.

. УСТРОЙСТВО И ПРИНЦИП РАБОТЫ КАЛОРИМЕТРА

Рис. 2.1 Калориметр: система IKA- С 5000 control и С 5000 duo-control

.1 Калориметрические измерения

Рис. 2.2 Калориметрическая система

.1.1 Определение общей теплотворности

а) Калориметрическая система

Процессы горения протекают в калориметре при чётко определённых условиях. Для этой цели сосуд разложения заправляется взвешенным образцом топлива. Образец топлива зажигается и измеряется возрастание температуры в калориметрической системе. Общая теплотворность образца вычисляется из:

веса образца;

теплоёмкости (значения С) калориметрической системы;

возрастания температуры воды во внутреннем сосуде измерительной камеры.

б) Условия эксперимента

Для оптимизации процесса горения сосуд разложения наполняется чистым кислородом (99,95 %). Давление кислородной атмосферы в сосуде разложения составляет 30 бар.

Для точного определения общей теплотворности вещества необходимо, чтобы горение протекало при строго определённых условиях. Применяемые стандарты основываются на следующих предпосылках:

температура вещества, которое должно подвергнуться горению, перед горением составляет 22 0С;

вода, содержащаяся в веществе, а также вода, образовавшаяся во время горения компонентов водородосодержащего вещества, после горения находится в жидком состоянии;

не происходит окисления атмосферного азота;

газообразные продукты горения состоят из кислорода, азота, углекислого газа и диоксида серы;

образуется твёрдый пепел.

Однако, зачастую в результате горения образуются не только те вещества, которые перечислены в стандартах. В таких случаях, следует провести анализ образца топлива и продуктов горения, который предоставит данные для поправки в расчётах. При таком вычислении стандартная общая теплотворность определяется на основе измеренной общей теплотворности и данных анализа.

в) Общая теплотворность Но

Общая теплотворность Но вычисляется как частное от деления освобождённого в течение полного сгорания твёрдого или жидкого топлива количества теплоты на вес образца топлива. При таком вычислении образовавшаяся до горения горючих топлива вода должна находится в жидком состоянии после горения.

Исходная температура равна 22 °С.

г) Чистая теплотворность Нu

Чистая теплотворность Нu является разностью общей теплотворности и энергии конденсации воды, образовавшейся в результате горения топлива. С технической точки зрения, чистая теплотворность является более важной величиной, так как во всех важных технических применениях только чистая теплотворность может быть оценена в энергетическом отношении.

.1.2 Поправки

Согласно условиям системы, в течение эксперимента на сгорание теплота выделяется не только в результате горения образца, но поступает также от внешней энергии.

Рис. 2.3 Теплота и внешняя энергия

Внешняя энергия может значительно варьироваться по отношению к теплоте горения образца топлива:

а) зажигатель

Теплота горения хлопкового фитиля, который зажигает образец, и теплота электрического зажигания могут нарушить измерения. Этот эффект учтён при вычислении с величиной поправки;

б) вспомогательные виды топлива

Вещества с низкой воспламеняемостью, которые не загораются сразу, сжигаются вместе с вспомогательным топливом. Вспомогательное топливо сначала взвешивается и затем помещается в тигель вместе с образцом. Из веса вспомогательного топлива и уже известной свойственной ему теплотворности возможно определить выделяемое вспомогательным топливом количество теплоты. Следует исправить результат эксперимента на это количество теплоты;

в) сгораемый тигель С14

Сгораемый тигель С14 может быть использован вместо более традиционного тигля. Сгораемый тигель сгорает полностью без остатка. При использовании сгораемого тигля вспомогательный хлопковый фитиль не требуется. Тигель приводится в непосредственный контакт с закреплённой зажигательной проволокой сосуда разложения и зажигается. Чистота материала сгораемого тигля предотвращает химическое загрязнение образца материала (нет неучтённых значений).

Сосуд разложения, в котором используется сгораемый тигель, должен быть оборудован дополнительной деталью. Обычно образец дозируется в сгораемый тигель. В большинстве случаев не требуется вспомогательного топлива, так как сам сгораемый тигель способствует горению.

Не допускается использовать сгораемый тигель С14 в комбинации с подставкой для образца;

г)кислотная поправка

Почти все анализируемые вещества содержат серу и азот. При условиях, которые превалируют в калориметрических измерениях, сера и азот горят и преобразуются в SO2, SО3 и NOx. Помимо теплоты раствора, в комбинации с влагой и образовавшейся в результате горения водой образуются серная и азотная кислоты. Для того, чтобы получить стандартную общую теплотворность, общая теплотворность исправляется на эффект теплоты раствора.

Чтобы достичь определённого конечного состояния и количественно измерить все кислоты, в сосуд разложения до проведения эксперимента помещается 5 мл дистиллированной воды. Освобождённые в течение горения газы образуют с дистиллированной водой оксиды. После эксперимента сосуд разложения тщательно ополаскивается дистиллированной водой, для того чтобы также собрать отложившийся на внутренних стенках сосуда осадок. При титрации на кислотное содержание вода, которая была помещена в сосуд разложения, совмещается с ополаскивающей водой.

.1.3 Полное сгорание

Для правильного определения общей теплотворности первостепенное значение имеет полное сгорание образца. После эксперимента тигель и твёрдый остаток должны быть проверены на предмет неполного сгорания:

а) твёрдые вещества

Обычно образцы твёрдого топлива могут сжигаться непосредственно в порошкообразном состоянии. Легко воспламеняющиеся вещества, т.е. вещества, горение которых имеет природу взрыва, например бензойная кислота, не должны сжигаться в свободном виде. Эти вещества склонны давать искру, вследствие чего полное сгорание более не может быть гарантировано. Также может быть повреждён сосуд разложения. Такие вещества следует спрессовать в таблетки перед экспериментом;

б) вещества с низкой воспламеняемостью

Вещества с низкой воспламеняемостью (вещества с высоким содержанием минералов, низкокалорийные вещества) зачастую могут гореть только с помощью горючих ампул или пакетов. Также возможно использовать такие жидкие вспомогательные средства, как парафиновое или углеводородное масла;

в) жидкие и быстро улетучивающиеся вещества

Большинство жидких веществ могут быть дозированы непосредственно в тигель. Быстро улетучивающиеся вещества помещаются в ампулы для сжигания (желатиновые или ацетобутиратовые ампулы) и сжигаются вместе с ампулами. Воспламенители (хлопковый фитиль) также должны быть полностью сожжены. Если остаются недожженные остатки воспламенителя, следует повторить эксперимент или выполнить поправку результата на внешнюю энергию);

г) галогены

Вещества с высоким галогенным содержанием могут вызвать коррозию сосуда разложения. В этих целях следует использовать сосуд разложения С 5012.

.1.4 Градуировка

Для гарантии точных воспроизводимых результатов измерения, калориметрическая система градуируется после первого приведения в рабочее состояние, технического обслуживания, замены деталей и по истечении определённых промежутков времени. В течение градуировки заново определяется теплоёмкость системы.

Правильная градуировка исключительно необходима для обеспечения правильности измерений. Более того, система должна быть градуирована согласно тому режиму работы, который будет использован в эксперименте (адиабатический, изопериболический или динамический).

Для этой цели сжигается определённое количество эталонного вещества в сосуде разложения при условиях эксперимента. Так как общая теплотворность эталонного вещества известна, возрастание температуры калориметрической системы можно использовать для расчёта теплоёмкости, когда вещество сгорит.

Бензойная кислота является эталонным веществом, признанным в калориметрии на международном уровне и приобретается в Государственном Бюро Стандартов (Стандартный Образец 39 ГБС) вместе с гарантированной общей теплотворностью.

Если калориметр эксплуатируется при более чем одним сосудом разложения, теплоёмкость системы должна определяться отдельно для каждого сосуда разложения.

.2 Характеристика системы

Калориметрические системы С 5000 control и С 5000 duo-control используются для рутинного определения общей теплотворности твёрдых и жидких веществ. Обе системы соответствуют всем стандартам общей теплотворности в общепринятом применении, и поэтому являются признанными во всём мире. Широкий выбор принадлежностей и модульный дизайн системы гарантируют адаптацию к лабораторным задачам по заказу. В течение процесса эксперимента программа обеспечивает сообщение с внешними приборами (например, аналитическими весами шкалой и подставкой для образца), а также манипуляции с образцами, сосудами разложения и результатами эксперимента, что исключает ошибки.

Эти две системы отличаются следующими чертами:

а) полностью автоматизированная система измерения исключает необходимость трудоёмких рутинных операций;

б) интегрированная подача кислорода и дегазирование;

в) измерение общей и чистой теплотворности согласно DIN 51900, части 5 BS 1016 1977, ASTMD3286-91, ASTM D240-87, ASTM Е711-87, ISO 1928-1976, ASTMD1989-91 и BSI;

г) диапазон измерений: максимум 40000Дж. Это соответствует увеличению температуры во внутреннем сосуде на 4 К;

д) работа может выполняться в адиабатическом, изопериболическом и динамическом режимах;

е) вычисление общей теплотворности основывается на следующих методах поправки:

) стандартный без титрации;

) стандартный с титрацией;

) углерод: подача Н2 без титрации;

) углерод: подача Н2 с титрацией;

) углерод: подача летучих компонентов без титрации;

) углерод: подача летучих компонентов с титрацией;

) кислотная поправка на основе ASTM 240;

) кислотная поправка на основе ASTM 1989.

.3 Описание компонентов системы

.3.1 Регулятор и измерительная камера

Рис. 2.4 Регулятор вместе с измерительной камерой

Регулятор вместе с измерительной камерой составляют ядро калориметрической системы.

Регулятор функционирует как центральное управление, согласующий и отображающий блок для всех компонентов системы. Рабочие команды и параметры экспериментов могут быть введены через пульт управления.

В течение эксперимента по определению величины общей теплотворности он следит за всеми фазами процесса и управляет ими. Текущие состояния системы и данные эксперимента появляются на табло. Для гарантии того, чтобы эксперимент протекал без затруднений, компоненты системы находятся под постоянным наблюдением. В случае сбоя, на табло появляется соответствующее сообщение. Результаты эксперимента сохраняются вместе с его параметрами и, по желанию, могут быть распечатаны.

Рис. 2.5 Измерительная камера

Сжигание образцов топлива происходит в измерительной камере при строго определённых условиях. При определении общей теплотворности, в измерительной камере создаются следующие условия эксперимента:

Адиабатический метод согласно DIN 51900ТЗ, ASTM 240 D;

Изопериболический метод согласно ASTM 1989 D.

.3.2 Компоненты измерительной камеры

Для достижения таких условий эксперимента в измерительную камеру помещаются следующие компоненты:

внутренний сосуд с ватержакетом;

магнитная мешалка для создания равного распределения тепла во внутреннем сосуде;

водяная система с насосом, расширительный резервуар и патрубок для внешнего охладительного блока;

нагреватель и регулятор температуры;

кислородоподающий и дегазирующий аппарат.

Измерительная камера получает от регулятора сигналы для выполнения отдельных шагов эксперимента. Регулятор записывает и следит за данными эксперимента и режимом эксплуатации, которые регистрируются при помощи датчиков в измерительной камере.

В течение определения общей теплотворности в измерительной камере протекают следующие процессы:

крышка измерительной камеры автоматически закрывается и сосуд разложения с образцом топлива погружается во внутренний сосуд;

в сосуд разложения поступает чистый кислород через устройство подачи кислорода до достижения заданного оператором давления (обычно 30 бар);

насос наполняет внутренний сосуд и обеспечивает циркуляцию воды в системе;

магнитная мешалка поддерживает воду в сосуде в постоянном движении для равномерного распределения тепла;

образец топлива зажигается посредством электричества зажигательным устройством;

вода в цикле охлаждается внешним охладительным блоком, после чего снова нагревается до требуемой температуры нагревателем в измерительной камере;

после завершения эксперимента из сосуда разложения выпускается избыточное давление, внутренний сосуд опорожняется и открывается крышка измерительной камеры. После этого можно вынимать сосуд разложения.

2.4 Сборка и приведение в рабочее состояние

.4.1 Наполнение цикла системы

Порядок начала работы с калориметрической системой:

а) жидкость, которой наполняется система, (около 5 л для каждой измерительной камеры) следует подготовить следующим образом:

) наполните чистую ёмкость примерно 2,5 л дистиллированной воды;

) добавьте 5 мл Aqua-Pro;

) добавьте в ёмкость ещё 2,5л дистиллированной воды;

) перемешайте получившуюся смесь, или закройте ёмкость и взболтайте.

Для наполнения цикла системы водой следует использовать чистую ёмкость, которую удобно держать. Отвинтите крышку расширительного резервуара и добавьте 1 л жидкости в сосуд расширения измерительной камеры.

Рис. 2.6 Крышка измерительной камеры

В случае с duo-control, во время первого наполнения следует отключить вторую измерительную камеру. Не допускается включать и наполнять вторую измерительную камеру до полного завершения процедуры наполнения первой измерительной камеры;

б) вставьте вилку в источник энергии. Включите рубильник измерительной камеры (на этом этапе ещё не следует включать охладительный блок).

Система начинает загружаться. Створка измерительной камеры автоматически откроется и на табло пульта управления появится вступительное окно. Подтвердите начальный экран нажатием на клавишу ОК.

Рис. 2.7 Изначальный экран

Поскольку в резервуаре недостаточное количество воды то на экране появиться сообщение:

"Refill water or empty IV" (Наполните снова водой или опорожните IV).

В это же время слышен звуковой сигнал. Проигнорируйте данное сообщение и нажимаете на клавишу ОК;

Рис. 2.8 Сообщение об уровне воды

Рис.2.9 Вентиляционный болт

в) теперь следует проветрить водяную систему. Поверните вентиляционный болт на 3-5 мм при помощи отвертки (не откручивайте вентиляционный болт полностью). Следите за вентиляционным винтом до тех пор, пока вода не выйдет полностью, после чего снова закройте его. В водяной системе ещё остались воздушные карманы, но они должны рассеяться через расширительный резервуар в течение следующих 2 -3 минут. После этого звуки откачивания воды значительно утихнут;

г) продолжайте наполнение приготовленной жидкостью до исчезновения сообщения на экране. Влагоёмкость системы составляет около 4,5литров. Круговым движением установите обратно крышку расширительного резервуара. Остаток жидкости потребуется позднее во время эксплуатации прибора.

Во время повторного наполнения системы следует проверить сито в наполняющем рукаве расширительного резервуара на предмет осадка.

В течение рутинной эксплуатации жидкость теряется вследствие испарения и оседания на сосуде разложения.

Если в течении нормальной эксплуатации на экране появиться сообщение "Refill water or empty IV" (Наполните снова водой или опорожните IV) в расширительный резервуар следует добавить по крайней мере 50 мл смеси. Если сообщение не исчезает, следует продолжать наполнение порциями по 50 мл;

д) в данный момент можно включить охладительный блок. Теперь система готова к эксплуатации.

.4.2 Элементы управления и табло

Перед тем как Вы перейдете к следующим этапам подготовки системы к эксплуатации, Вам следует ознакомиться с табло и пультом управления.

Пульт управления оборудован следующими элементами:

) жидкокристаллическое табло для отображения данных системы, данных эксперимента, а также окон меню и диалоговых блоков для ввода данных;

) рабочие клавиши. Предназначение рабочих клавиш зависит от стадии эксплуатации системы на данный момент. F1 вызывает справочную систему в зависимости от ситуации. Нижняя строка табло показывает текущее назначение рабочих клавиш;

) клавиша отмены (cancel). Функция отмены является активной в окнах меню и диалога. Вы можете использовать эту клавишу, чтобы выйти из окна без принятия системой любых введённых данных;

Рис. 2.10 Пульт управления

) клавиша Del. Если Вы ввели в диалоговое окно ряд символов, например, вес образца топлива, Вы можете стереть символ, находящийся непосредственно по левую сторону от курсора при помощи клавиши Del. У клавиши Del есть ещё одна функция: нажатием этой клавиши вне диалогового окна Вы можете активизировать панель меню в верхней части экрана;

) клавиша ОК. Клавиша ОК может быть использована для активизации функций меню, а также для подтверждения и закрытия диалоговых окон. Помимо этого, клавиша ОК используется для принятия системой введённых в диалоговое окно данных;

) клавиша TAB. Клавиша TAB передвигает курсор внутри диалогового окна из одного блока ввода в другой.

Клавиша TAB также используется для передвижения из табло для измерительной камеры 1 в табло для измерительной камеры 2;

) клавиши стрелки "влево", "вправо", "вверх", "вниз". Клавиши стрелки передвигают курсор внутри строк ввода, окон меню, таблиц и протоколов;

) цифровые блоки. При помощи этих клавиш Вы можете ввести цифры, десятичные дроби и пробелы. Вне диалогового окна при помощи клавиши десятичной дроби Вы можете открыть или закрыть вспомогательное окно с дополнительной информацией. Вы можете распечатать содержание этого окна при помощи клавиши "пробел";

) регулятор контраста. Регулирует контраст на табло.

Запорный винт. Ослабление запорного винта изменяет угол наклона табло. Чтобы зафиксировать положение табло, следует снова плотно закрутить винт. В диалоговом блоке табло возможно выбрать различные диалоговые элементы. Доступны следующие диалоговые элементы:

строка ввода;

кнопка;

простая таблица;

таблица отбора - таблица вариантов;

элементы табло (не являются доступными).

Рис. 2.11 Пример диалогового окна

В диалоговом окне отображаются:

а) активный диалог

Все диалоговые элементы выделены. Активные диалоговые элементы идентифицируются посредством символа. Повторными нажатиями клавиши TAB Вы можете просмотреть все элементы и активизировать каждый из них по очереди. Только активный диалоговый элемент является доступным, т.е. только он может выполнять какую-либо функцию. Кнопка является исключением из этого правила;

б) вводная строка

В активную вводную строку могут быть введены цифры и знаки десятичной дроби. Последний введённый символ можно удалить при помощи клавиши DEL. Некоторые вводные строки позволяют выбирать буквы и дополнительные символы из числа отображённой на экране таблицы символов при помощи клавишей стрелок и переносить их вводимый текст при помощи клавиши ".". Клавиша TAB останавливает ввод и активизирует следующий элемент диалога. Клавиша ОК останавливает ввод и закрывает окно;

в) таблица

Вы можете выбрать или проигнорировать строки активной таблицы (также таблицы отбора и таблицы вариантов) при помощи клавишей стрелок "вверх" и "вниз". Возможность отбора помечена в таблице для отбора знаком (.), В таблице вариантов можно активизировать (помеченный (х)) или дезактивизировать (помеченный []) вариант в выбранной строке при помощи клавиши "пробел". Клавиша TAB завершает работу в таблице и активизирует следующий элемент диалога. Клавиша ОК останавливает действия в таблице и закрывает окно;

г) активная кнопка

Активная кнопка включается при помощи клавиши ОК. Если таблица активизирована и кнопка отмечена цифрой, то её можно включить непосредственно при помощи клавиши соответствующей цифры;

д) диалоговый блок

Почти каждый диалоговый блок имеет клавиши ОК и Cancel. Если клавиша ОК помечена знаками -> или <-, её также можно включить клавишей ОК из активной таблицы или вводной строки. В результате этого диалоговый блок закрывается, и ввод или набор принимается. Кнопка, помеченная Cancel, может быть всегда включена при помощи клавиши Cancel, что также приводит к закрытию окна, но ввод и набор не принимается. Ни в одном из случаев не отменяются действия, начатые при помощи других клавишей.

Рис. 2.12 Диалоговое окно

.5 Включение системы

При включении калориметрической системы (измерительной камеры и охладителя) сначала появляется вступительное окно (автоматически открывается крышка измерительной камеры).

Рис. 2.13 Вступительное окно

В нижней строке высвечивается текущее назначение функциональных клавиш. Нажатием клавиши ОК следует подтвердить вступительное окно и войти в главное окно.

Рис.2.14 Главное окно

Из главного окна можно войти во все меню и диалоговые окна. В некоторые из них возможно войти через строки меню, которые вызываются при помощи клавиш Menu и Del (duo-control)

Рис. 2.15 Главное окно с обозначением

Вы можете передвигать курсор по строкам меню при помощи клавишей стрелок. Также возможно открыть окно меню при помощи стрелки "вниз" или ОК, и диалоговое окно при помощи ОК.

Рис. 2.16 Главный экран к активизированным окном меню

Если сообщение об ошибке "Refill water or empty IV" (IV = внутренний сосуд) появляется в то время, пока Вы подтверждаете вступительное окно, проконтролируйте визуально уровень воды во внутреннем сосуде.

Рис. 2.17 Сообщение об ошибке уровня воды

2.6 Настройки системы

Следует выполнить еще несколько настроек системы для процедур эксперимента, метода работы, инициализации эксперимента, эталонной общей теплотворности, и единиц измерения общей теплотворности. Чтобы выполнить это, следует установить курсор в строке меню на Conf., открыть окно меню и вызвать диалоговый блок Settings ("Настройки").

Рис. 2.18 Диалоговое окно "Настройки"

Окно показывает конфигурационные блоки Operation (эксплуатация), Operating mode (способ эксплуатации), Reference gross calorific value (эталонная общая теплотворность), Experiment init. (инициализация эксперимента) и Unit (единица). Вы можете передвинуть курсор в следующую ячейку конфигурации при помощи TAB. Для того, чтобы выполнить настройки в вводном блоке Operation, следует установить курсор на желаемую строку при помощи стрелок "вверх"/"вниз" и нажать клавишу "пробел". Ваш ввод подтвердится знаком V. Если Вы еще раз нажмете клавишу "пробел", знак "х" исчезнет".

Вводный блок Operation (эксплуатация):

а) рrotocol (протокол)

Если Вы проверите этот выбор, для каждого эксперимента будет распечатываться запись или протокол. Это также относится к сделанным в течение измерения отдельными значениям измерения температуры;

б) sample Rack (подставка для образцов)

Подставка для образцов присоединены и будет использоваться. Больше нельзя вызывать вручную диалоговую ячейку для образцов (Sample), вместо этого эта диалоговая ячейка активизируется, когда образцы помещаются на подставку или снимаются с неб. Это гарантирует надёжность в манипуляции большим количеством образцов;

в) bomb ID (идентификация бомбы)

Сосуды разложения идентифицируются автоматически по их кодировке. Не существует ввода номера кода сосуда разложения вручную;

г) rest experiment (повторное начало эксперимента)

Если эксперимент был прерван до зажигания, он может быть начат в другое время. Параметры эксперимента сохраняются. Для того чтобы начать эксперимент заново, следует вынуть сосуд разложения из измерительной камеры, и снова вставить его.

.7 Градуировка системы

До выполнения точных измерений при помощи калориметрической системы её следует градуировать. Это выполняется посредством сжигания пластин сертификационной бензойной кислоты общая теплотворность которой известна. Это делает возможным определение теплоёмкости (величины С) системы, основанной на количестве теплоты, необходимой для повышения температуры системы на 1 градус Кельвина. Эта величина используется в последующих определениях общей теплотворностей. Теплоёмкость определяется при помощи измерительной камеры и сосуда разложения. Она имеет значительное влияние на точность измерения, и её особенно важно определить во время первого запуска в эксплуатацию, после технического обслуживания, ремонта или замены запчастей.

Если измерительная камера эксплуатируется с несколькими сосудами разложения, теплоёмкость системы должна определяться посредством градуировки для каждого сосуда разложения. Сосуд разложения допускается использовать только в измерительной камере, для которой он был градуирован.

Следует градуировать калориметрическую систему в соответствии с каждым режимом работы (адиабатический, изопериболический и динамический), в котором впоследствии будут производиться измерения. Соблюдайте применяемые в этом отношении стандарты.

Градуировку следует производить при тех же условиях, при каких будут выполняться последующие эксперименты. Если в сосуде разложения будут использоваться измеренные количества веществ (например, дистиллированная вода или растворы), в течение градуировки следует использовать точно такие же количества этих веществ.

Замечания по градуировке:

для достижения точных результатов, следует предусмотреть, чтобы горение не превышало повышения температуры на 4 К. Если в течение градуировки не используется бензойная кислота, это применяется как способ измерения;

следует упомянуть заранее, что при определении общих теплотворностей увеличение температуры должно быть примерно таким же, как при градуировке (например, для 1 г бензойной кислоты (около 4-х таблеток) ~2.6 К).

.7.1 Кодировка

При работе с калориметрической системой могут быть использованы максимум 4 сосуда разложения. В системе duo-control может быть использовано максимум два сосуда разложения в каждой измерительной камере. Это возможно осуществить посредством кодирование сосудов разложения от 1 до 4. Таким образом, система узнаёт, с каким сосудом выполняется эксперимент и назначает для него градировочные параметры.

Перед первым использованием каждый сосуд разложения следует кодировать. Для этого прикрепите чёрные кодировочные кольца к предназначенным для этой цели выемкам сосуда разложения.

Рис. 2.19 Кодирование сосудов разложения

.7.2 Заправка сосуда разложения градировочным веществом

Рис. 2.20 Составные части бомбы

В данный момент Вы можете зарядить сосуд разложения градировочным веществом, например, бензойной кислотой.

Если используется более одного сосуда разложения, не допускается менять между собой отдельные детали разных сосудов разложения.

Выполните следующие шаги по подготовке кодированного сосуда разложения:

а) отвинтите ввёртыш и при помощи рукоятки снимите;

Рис. 2.21 Сосуд разложения

б) хлопковый фитиль с петлёй зафиксируйте на середине зажигательной проволоки;

Рис. 2.22 Зажигательная проволока

в) дозируйте градировочное вещество (около 1 г, 4 таблетки бензойной кислоты) с точностью в пределах 0, 1 г и поместите в тигель.

В целом, Вам следует выбрать дозированное количество таким образом, чтобы возрастание температуры не превышало 4 К (максимальная подача энергии 40000 Дж). В противном случае может пострадать сосуд разложения. Взрыв сосуда разложения может повлечь опасность для здоровья и жизни. При работе с незнакомыми веществами, для определения энергетического потенциала сначала следует дозировать очень небольшие количества вещества;

г) удостоверьтесь в настройке на желаемый режим работы (изопериболический, адиабатический или динамический). Откройте диалоговое окно Sample для введения параметров. Если подставка для образцов активизирована, ввод параметров открывается автоматически при установке или удалении тигля.

Рис. 2.23 Диалоговое окно Sample

Вводим вес сжигаемого образца в блок Weighed in quantity ("Дозированное количество"). Если к калориметрической системе подсоединены электронные весы, вес может быть перенесён автоматически. В зависимости от типа весов, диалоговое окно Sample может быть открыто либо при помощи клавиши Sample калориметра, либо при помощи клавиши весов Print/transfer. Величина на весах может быть принята при помощи клавиши "пробел".

При помощи клавиши TAB Вы можете переместить курсор в нижеперечисленные вводные блоки:

QExtran 1:

Значение поправки на тепловую энергию образованную не от образца топлива. По умолчанию здесь появляется величина 120 Дж. Она соответствует тепловой энергии, образованной электрическим зажиганием, и теплоте сгорания хлопкового фитиля, который можно приобрести от IKA. Вы можете в любое время изменить заданное значение QExtranl.

Если вес вспомогательного топлива переносится в блок With combustion aid из электронных весов, в блоке QExtranl появляется вычисленная из этого веса внешняя энергия. Даже при отсутствии весов общая теплотворность вспомогательного топлива учитывается автоматически. В этом случае Вам следует ввести дозированное количество вспомогательного топлива в диалоговый блок New measurement под QExtran и нажать на стрелку "вниз". Внешняя энергия QExtran вычисляется по формуле:

QExtran = Дозированное количество вспомогательного топлива теплотворность вспомогательного средства + 120 Дж

и вводится в блок QExtranl. Если вводимое значение превышает 120 Дж, то это подразумевает, что это значение представляет всю постороннюю энергию, включая стандартные 120 Дж. В таком случае не производится дальнейших преобразований по вышеуказанной формуле.

Замечание: 120 Дж зажигательной нити и энергия электрического зажигания уже приняты в расчёт во всех автоматических вычислениях.

Sample name("Название образца"):

Программа автоматически сообщает номер образца для каждого измерения в формате ymmddnn, где у обозначает год, mm текущий месяц, dd день и пп порядковый номер. При образованных таким образом номерах образцов легко работать и выбирать отдельные группы измерений из библиотеки.

Если Вы выберите вариант User def name из Menu, Configuration, Settings, Experiment init, Вы можете давать экспериментам свои собственные номера или названия (автоматическая нумерация будет продолжаться вестись на заднем фоне, но не будет учитываться). Если Вы выбрали из Menu, Configuration, Settings, Experiment init. вариант Last (Последний) на экране в качестве предложения для текущего измерения появится номер последнего эксперимента. Если Вы не выполните поправку этого предложения, номер образца останется одинаковым для всех измерений.

Sample properties (Свойства образца):

Любая дополнительная информация об образце. Вы можете выбрать буквы и символы из таблицы символов при помощи клавишей стрелок. При помощи клавиши десятичной точки система принимает выбранные символы в поле ввода (максимум 40 знаков).

User (Оператор):

Имя оператора (до 8 символов). Ввод как для свойств образца.

Calibration (Градуировка):

Выделите этот блок при помощи клавиши "пробел", чтобы система использовала этот эксперимент для градуировки.

ОК побуждает систему принять введённые в диалоговый блок данные;

д) с этого момента внизу экрана появляется сообщение Воmb . Это означает, что теперь можно погрузить сосуд разложения в измерительную камеру;

е) если в последующих экспериментах на горение будут использоваться дистиллированная вода, растворы и т. п., в сосуд разложения следует поместить такое же количество вещества, т.к. система должна быть градуирована в том же режиме, в котором она будет работать потом. Если способ эксплуатации меняется (с/без количества воды), следует повторить также и калибровку.

Для увеличения длительности эксплуатации подверженных износу деталей (кислородные кольца, пломбы, и т. п.) мы рекомендуем Вам всегда работать с измеренным количеством воды в системе;

ж) поместите тигель в тигельный зажим;

з) при помощи пинцете направьте хлопковый фитиль так, чтобы он погрузился в тигель и соприкоснулась с образцом. Это гарантирует зажигание образца хлопковым фитилём;

Рис. 2.24 Тигель в тигельном зажиме

и) установите крышку сосуда разложения и заверните ввёртыш.

2.7.3 Градуировка

Для градуировки системы выполняем следующие действия:

а) осторожно направляйте сосуд разложения, пока он не сомкнётся с наполняющей головкой открытой измерительной крышки.

Всегда держите сосуд разложения за верхушку вёртыша.

Сосуд разложения входит в определённую позицию благодаря выемке в 0,8 мм в центре наполняющей головки. После этого пружинный элемент соприкоснётся с контактом электрического зажигания на сосуде разложения.

Теперь сосуд разложения погружён в вертикально в принимающую деталь (для полной уверенности проверьте визуально).

Рис. 2.25 Правильность установки сосуда разложения

Как только электрическая цепь сосуда разложения замыкается через зажигательную проволоку, калориметр приходит в состояние готовности. Сообщение Bombi изменится на табло задания Start функциональной клавиши. Если не появляется задание Start функциональной клавиши, проверьте зажигательную проволоку сосуда разложения. Проверьте, показан ли статус на табло в устойчивом состоянии. После каждого измерения, измерительная камера регулируется таким образом, что при каждом новом измерении сохраняются нормальные начальные условия. В течение этой фазы (от 3-х до 5-и минут) в окне процессов измерительной камеры высвечивается "Unstable" ("Нестабильное"). Пока высвечивается это сообщение, выполнение измерений в адиабатическом или изопериболическом режимах невозможно. Эксперименты динамическим способом могут быть начеты в течение фазы регуляции;

в) в случае необходимости Вы можете в любое время прервать эксперимент при помощи клавиши Cancel;

г) при завершении измерения открывается крышка измерительной камеры, и из сосуда разложения выпускается давление. В то же время опорожняется внутренний сосуд. После этого полностью открывается крышка измерительной камеры. Как только внизу экрана появится сообщение Bomb N, Вы можете вынуть сосуд разложения;

д) откройте сосуд разложения и проверьте тигель на предмет неполного сгорания. Если сгорание было неполным, не допускается использовать результаты эксперимента для градуировки, и следует повторить эксперимент;

е) очистите сосуд разложения, как описано в разделе 10.4 (или в "Руководстве по эксплуатации сосуда разложения С5010/С5012") и подготовьте его к следующему эксперименту;

ж) выполните ряд экспериментов по градуировке для каждого сосуда разложения. Проверьте необходимое число градуировок с применяемым стандартом. Например, DIN 51900 рекомендует провести, по крайней мере, 5 градуировок;

з) после последней градуировки активизируйте "Меню", откройте окно меню "Конфигурации", затем откройте диалоговый блок "Бомбы";

Рис. 2.26 Диалоговый блок "Бомбы"

и) при помощи клавиши TAB и стрелок "вверх"/"вниз" установите курсор на номере сосуда разложения, с которым только что производился эксперимент по градуировке.

В случае с системой с двумя измерительными камерами при помощи клавиши TAB и стрелок "вверх"/"вниз" установите курсор на номере измерительной камере, а потом на номере сосуда разложения, с которым только что производился эксперимент по градуировке;

к) откройте диалоговый блок З-Саl.

Рис. 2.26 Диалоговый блок З-Саl

В этом диалоговом блоке перечислены эксперименты по градуировке. Колонки списка экспериментов имеют следующее значение:

No: Порядковый номер эксперимента по градуировке;

С value: Теплоёмкость системы, определённая в ходе текущего эксперимента;

Experiment: Название образца, использованного в текущем эксперименте;

л) установите курсор на 2-Sel при помощи TAB и подтвердите нажатием ОК или клавиши "2". Теперь вы выбрали тест для градуировки. Тест помечен на экране символом v;

м) при помощи TAB и стрелки "вниз", установите курсор на следующем эксперименте и активизируйте 2-Sel. Этим Вы выбрали следующий эксперимент по калибровке. Соответствующие блоки отображают среднее значение выбранных экспериментов, среднюю, относительную погрешность, выраженную в процентах, а также пределы распространения (минимум-максимум) в виде абсолютной величины и в процентном отношении.

Average вычисленное среднее значение;

MRF [%] средняя, относительная погрешность;

Max-min пределы разброса;

Diff [%] пределы разброса в процентах по отношению к среднему значению;

н) повторите пункт 13 для всех выбранных значений. Блок Average затем показывает среднее значение С для этих экспериментов;

о) к оценке последующих градуировок применяются следующие критерии:

MRF [%]: средняя, относительная погрешность, согласно ISO 1928 <0,2 %;

Diff [%]: пределы разброса в процентах, согласно DIN 51900 < 0,4%.

В зависимости от применяемого стандарта может возникнуть необходимость в других критериях. Тем не менее, при помощи вышеуказанных величин выполняются обычные требования к точности калориметра;

п) при помощи TAB установите курсор на символ [ЗЀ] и подтвердите нажатием ОК или 3. В результате этого калориметрическая система принимает среднее значение экспериментов по градуировке как теплоёмкость системы, т.е. значение С, если Вы установите курсор на [С 4] и подтвердите при помощи ОК, Вы можете ввести теплоёмкость системы в блок С value (Значение С);

р) установите курсор на эксперименты, которые не были использованы в вычислении среднего значения, и удалите их при помощи Del;

с) выйдите из диалогового блока при помощи ОК. Это завершит градуировку системы, и Вы можете приступить к определению общих теплотворностей.

.8 Определение общих теплотворностей

Во время экспериментов взрывоопасными образцами абсолютно необходимо содержать образцы в ёмкостях под высоким давлением. В таких целях не допускается использовать сосуды разложения С5012 и С5012. Отдельные детали сосудов разложения, в особенности резьба, должны проходить регулярную проверку на износ и коррозию. Калориметрическая система С5000 - это прибор точного измерения для рутинных определений общих теплотворностей твёрдых и жидких веществ. Тем не менее. Достижение точных результатов измерений осуществимо только при особо тщательном выполнении отдельных шагов эксперимента. Следует в точности соблюдать метод процедуры, описанный в следующих разделах. При использовании более чем одного сосуда разложения не допускается заменять детали одного сосуда разложения соответствующими деталями другого сосуда.

.8.1 Замечания об образце

Виды образцов:

а)твёрдые вещества

По отношению к подвергаемым сжиганию веществам следует соблюдать несколько правил. Обычно твёрдые виды топлива сжигаются непосредственно в порошкообразном виде. Не допускается сжигать вещества быстрого горения (например, бензойную кислоту) в свободном виде.

Эти вещества склонны давать искру, поэтому полное сгорание далее невозможно гарантировать. Помимо этого, могут быть повреждены внутренние стенки сосуда разложения. Такие вещества следует спрессовать в таблетки перед сжиганием.

Для этой цели особенно подходит пресс для таблеток IKA С 21;

б) жидкие вещества

Большинство жидких веществ могут быть дозированы непосредственно в тигель. Мутные жидкие вещества и воду, в которой образуется осадок, перед дозировкой следует высушить или гомогенизировать. Следует определить содержание воды в этих веществах;

в) вещества с высокой летучестью

Для веществ с высокой летучестью используются желатиновые или ацетобутиратовые ампулы. Общая теплотворность ампул должна быть известна, чтобы её можно было принять в расчёт как внешнюю энергию в измеренной теплоте горения;

г) вспомогательное топливо

Для низкокалорийных веществ и веществ с низкой воспламеняемостью в качестве вспомогательного топлива допускается использовать также вышеуказанные ампулы или изготовленные из полиэтилена горючие пакеты.

Также допускается использовать сгораемый тигель 014. Перед наполнением ампул или пакетов изучаемым веществом, следует взвесить ампулы или пакеты для последующего вычисления (из веса и общей теплотворности) внешней энергии. Эту энергию следует учесть в QExtranl. Следует использовать как можно меньше вспомогательного топлива.

.8.2 Кислотная поправка

Кислотная поправка:

а) формирование кислот, теплота раствора

Почти все вещества, необходимость в анализе которых может возникнуть, содержат серу и азот. Под влиянием превалирующих в сосуде разложения давлений и температур сера и азот преобразуются S02, S03, и NOx. При взаимодействии с образовавшейся в результате горения водой образуются серная и азотная кислоты, а также теплота раствора. Образовавшаяся теплота раствора учитывается согласно указанию DIN 51900 о вычислении общей теплотворности. Для количественного обнаружения и определения всех образовавшихся кислот в сосуд разложения перед экспериментом помещаются 5 мл дистиллированной воды.

Градуировка прибора должна производиться при таком же помещённом в сосуд разложения количестве воды.

После сжигания следует собрать эту воду и тщательно ополоснуть сосуд разложения дистиллированной водой. Затем вода ополаскивания объединяется с водой, которая была в сосуде во время эксперимента, и титрируется на кислотное содержание. Если содержание в горючем материале серы и поправка на азотную кислоту уже известны, нет необходимости в анализе воды.

Для продления пригодности подверженных износу деталей (кольца О, пломбы) мы рекомендуем Вам всегда работать с измеренным количеством воды в системе;

б) веществ с высоким содержанием галогенов

Для веществ с высоким галогенным содержанием следует использовать сосуд разложения С5012.

.8.3 Процедура определения общей теплотворности

После того, как Вы включили систему и подтвердили входной экран клавишей ОК, для установления стабильных температурных условий в измерительной камере требуется около 30 минут.

До начала измерений система должна быть градуировано:

а) сосуд разложения должен быть сухим и чистым. В случае необходимости в сосуд следует поместить измеренное количество дистиллированной воды или раствора. Вещества с низкой воспламеняемостью дозируются в тигель вместе со вспомогательным горючим. Должна быть известна теплота горения вспомогательного горючего. "Замечания об образце" Подготовьте сосуд разложения. "Заправка сосуда разложения градировочным веществом". Вместо градировочного вещества сосуд разложения заправляется изучаемым веществом.

В целом, Вам следует использовать дозированное вещество таким образом, чтобы увеличение температуры на превышало 4 К (максимальная подача энергии 40000 Дж). В противном случае можно повредить сосуд разложения. Взрыв сосуда разложения может нанести ущерб Вашему здоровью. При работе с незнакомыми веществами во избежание потенциальной опасности для первой дозировки следует выбирать очень небольшие количества.

Воспроизводимость результатов в значительной мере зависит от того, достигнет ли возрастание температуры (приход энергии) в сосуде разложения во время эксперимента по сжиганию величины, достигнутой в течение градуировки. В случае необходимости, методом проб и ошибок следует определить оптимальное количество образца.

Если в течение эксперимента по сжиганию используется дистиллированная вода или растворы, предварительно следует провести градуировку с некоторым количеством дистиллированной воды или растворов.

При использовании вспомогательного горючего, следует добавить энергию от вспомогательного горючего и ввести её в блок для энергии QExtranl диалогового блока Sample или использовать соответствующую настройку весов в режиме With combustion aid.

Если весы используются в режиме With combustion aid и предварительно была сделана передача веса вспомогательного горючего, в блоке появится вычисленная из веса внешняя энергия;

б) опустите сосуд разложения через открытую крышку измерительной камеры до его соприкосновения со втулкой. Сообщение Bomb в нижней пинии экрана поменяется на экран задачи Start функциональной клавиши. Если назначение Start для функциональной клавиши не появляется, следует проверить зажигательную проволоку. Обратите внимание, показан ли на экране статус в Stable state. После каждого эксперимента измерительная камера настраивается таким образом, что восстанавливаются нормальные начальные условия для нового измерения. В течение этой фазы (от 3-х до 5-и минут) на экране измерительной камеры высвечивается сообщение Unstable!!. Пока на экране высвечивается это сообщение, невозможно проводить измерение в адиабатическом или изопериболическом режиме. Эксперименты в динамическом режиме допускается начинать также в течение фазы настройки.

Помимо требований по настройке, при начале измерения следует соблюдать нижеуказанные условия:

следует подготовить измерение;

не допускается активизировать функцию технического обслуживания;

следует вынуть и снова вставить сосуд разложения;

контакт зажигания и электровоспламенитель используемого сосуда разложения должны быть в исправном состоянии.

До этого момента кнопка запуска измерительной камеры не активизируется, т.е. на экране появляется сообщение Start;

в) активизируйте Start. Закрывается крышка измерительной камеры. Сосуд разложения наполняется кислородом. Затем внутренний сосуд наполняется водой. Как только система начинает эксперимент, экран высвечивает график изменения во времени температуры внутреннего сосуда.

В случае системы с двумя измерительными камерами (duo-control) теперь возможно выполнить пункты 1-2, т.е. измерение во второй измерительной камере допускается начать в то время, когда ещё длится измерение в первой измерительной камере;

г) образец зажигается и регистрируется изменение температуры в единицу времени во внутреннем сосуде.

После завершения эксперимента, система отображает его результаты;

Рис. 2.27 График температуры, результат измерения и информация пробы на дисплее после окончания измерения

д) сосуд разложения проветривается и открывается крышка измерительной камеры;

е) как только появится сообщение Bomb, выньте сосуд разложения и откройте его;

ж) проверти тигель на предмет остатков горения. Как хлопковая нить, так и образец топлива должны сгореть полностью. При наличии признаков неполного сгорания следует повторить эксперимент.

.8.4 Очистка сосуда разложения

Если имеются основания опасаться небезопасности для здоровья горючего образца или остатка горения, при работе с этими материалами следует носить защитную одежду (например, защитные перчатки, газовые маски). Остатки экспериментов, которые представляют опасность для здоровья или окружающей среды, следует с особым мусором. Мы ссылаемся на конкретные действующие постановления.

Внутренние стены бомбы:

большую важность имеет, чтобы сосуд разложения оставался сухим и чистым. Загрязнённость может вызвать изменения теплоёмкости сосуда разложения и привести к неточным результатам измерений. После каждого эксперимента на сжигание следует тщательно очищать внутренние стенки сосуда, внутренние детали (подставки, электроды, и т. п.) и тигель.

Тигель:

в большинстве случаев следует только удалить конденсацию с внутренних стенок и деталей. Достаточно осторожно протереть детали, не оставляющей впитывающей тканью. Если невозможно очистить сосуд разложения описанным способом (например, из-за сгоревших или коррозийных пятен), вам следует связаться с отделом технического обслуживания.

Остатки горения, например, сажа и пепел, также следует тщательно вытереть впитывающей тканью, которая не оставляет волокон.

.8.5 Отключение системы

Если Вы хотите отключить калориметрическую систему, откройте меню System и вызовите функцию Exit. В случае системы duo-control, вторая измерительная камера может быть выключена отдельно.

Не допускается опускать в измерительную камеру сосуд разложения.

Если Вы работаете с системой duo-control, активизируйте при помощи TAB первую измерительную камеру. После этого функция Exit выключит всю систему. Если активизирован экран для второй измерительной камеры, отключиться только вторая измерительная камера.

Отключайте прибор только при помощи функции Exit меню System, но не выключателя питания, иначе все данные будут потеряны.

Как только система отключится, на экране появиться сообщение, что вы можете отключить питание калориметра и охладительного прибора.

2.9 Оценка экспериментов

После завершения определения общей теплотворности, Вы можете приступить к оценке результатов. Помимо слежения за ходом эксперимента, калориметрическая система предоставляет возможность последующей обработки результатов и преобразования их в другие эталонные состояния. Вы также можете распечатать или стереть результаты эксперимента. Вы можете найти эти функции в пунктах Evaluation и Library блока меню Experiments.

Последующая обработка экспериментов. Калориметрическая система распределяет сохранённые эксперименты по двум группам: Daily experiments ("Сегодняшние эксперименты") и Library ("Библиотека"). Сегодняшние эксперименты - это эксперименты, которые были выполнены с момента включения системы. Библиотека это долгосрочное хранение.

Последующая обработка сегодняшних экспериментов:

а) активизируйте Eval. В диалоговом блоке появится Experiment list ("Список экспериментов");

Рис. 2.28 Список экспериментов

б) появляется список сегодняшних экспериментов. Значение колонок следующее:

Experiment . Название и описание сжигаемого образца;

Result. Определенные в течение эксперимента общая теплотворность или значение С;

Status. Завершение

Эксперимент был завершён с достижением результата. Способ эксплуатации показан в скобках:

а - адиабатический, i - изопериболический, d - динамический, А - настройка.

саn -эксперимент был отменён;

+cal - эксперимент выполнялся в целях градуировки;

+sim - выполнялась симуляция эксперимента;

eval - эксперимент был оценен;

wait - образец топлива находится в тигле и были введены все параметры. Можно начинать эксперимент;

рrep - тигель с образцом материала находится на подставке для образцов;

run - в текущий момент эксперимент выполняется в измерительной камере.

Функций клавиш:

-Sel Выделяет эксперимент в списке, за исключением градуировки;

-All Выделяет все эксперименты списка;

З-Pri Распечатывает список экспериментов;

-Del Стирает эксперименты, выделенные при помощи 1-Sel, за

исключением calib. и prep.;

-lnfo Открывает информационное окно с параметрами эксперимента;

-Вег Открывает диалоговый блок для преобразования результатов эксперимента в различные эталонные состояния.

При помощи стрелок "вверх" и "вниз" Вы можете выбрать из списка эксперимент, который вы хотите обработать. Затем, при помощи TAB Вы можете переместить курсор из блока списка на клавиши.

Клавиши активизируются от установления на них с помощью TAB курсора и нажатия ОК либо от нажатия соответствующей цифровой кнопки на клавиатуре;

в) установите курсор на только что завершённый эксперимент и активизируйте кнопку 5-lnfo. Появляется информационное окно с результатами эксперимента.

.10 Основы расчётов

Нижеследующие разделы перечисляют математические формулы для вычисления результатов измерений. Калориметрическая система получает необходимые для измерений данные частично во время процесса горения, и частично из результатов анализов образцов топлива или продуктов горения. Расчёты соответствуют действующим стандартам (DIN 51900, ASTM 240 D, ISO 1928, BSI) вычислений общей и чистой теплотворности.

Нижеприведённые индексы используются для различных исходных состояний:

"raw" -сырое состояние (до горения);

"аn" - анализ влаги или сушки воздухом;

"waf"- без воды и пепла.

.10.1 Расчёты для градуировки

Теплоёмкость (значение С) калориметрической системы:

 

Среднее значение MW:

 

Средняя относительная погрешность MRF:

 

.10.2 Расчеты в течение эксперимента

Общая теплоемкость образца топлива:

 

Замечание: Это исходная общая теплотворность без поправки на кислоты и воду.

.10.3 Способ "стандарт без титрации"

Чистая теплотворность образца топлива:

 

Энергия образования серной кислоты:

 

Энергия образования азотной кислоты:

 

2.10.4 Способ "Стандарт с титрацией"

Процентное содержание серы:

 

Энергия образования серной кислоты:

 

Энергия образования азотной кислоты:

 

Сумма внешней энергии:

 

Общая теплотворность образца топлива:

 

Чистая теплотворность образца топлива:

 

2.10.5 Способ "Углерод: подача водорода без титрации "

Фактор преобразования из исходного состояния "an" в "raw":

 

Процент серы:

 

Процент воды:

 

Процент пепла:

 

Гигроскопическая влага:

 

Процент водорода:

 

 

Летучие компоненты:

 

 

 

 

Замечание: Эта формула приблизительного вычисления применяется к минеральному углю с процентным содержанием летучих компонентов от 6% до 40%.

Энергия образования серной кислоты:

 

Энергия образования азотной кислоты:

 

Общая теплотворность образца топлива:

 

 

 

Чистая теплотворность образца топлива:

 

 

 

2.10.6 Способ "Углерод: подача водорода с титрации"

Фактор преобразования из исходного состояния "an" в "raw":

 

Процент серы:

 

Процент воды:

 

Процент пепла:

 

Гигроскопическая влага:

 

Процент водорода:

 

 

Летучие компоненты:

 

 

 

 

Замечание: Эта формула приблизительного вычисления применяется к минеральному углю с процентным содержанием летучих компонентов от 6% до 40%.

Энергия образования серной кислоты:

 

Энергия образования азотной кислоты:

 

Сумма внешней энергии:

 

Общая теплотворность образца топлива:

 

 

 

Чистая теплотворность образца топлива:

 

 

 

.10.7 Способ "Углерод: летучая подача без титрацией"

Фактор преобразования из исходного состояния "an" в "raw":

 

Процент серы:

 

Процент воды:

 

Процент пепла:

 

Гигроскопическая влага:

 

 

 

Летучие компоненты:

 

 

Энергия образования серной кислоты:

 

Энергия образования азотной кислоты:

 

Общая теплотворность образца топлива:

 

 

 

Чистая теплотворность образца топлива:

 

 

 

2.10.8 Способ "Углерод: летучая подача с титрацией"

Фактор преобразования из исходного состояния "an" в "raw":

 

Процент серы:

 

 

Процент воды:

 

Процент пепла:

 

Гигроскопическая влага:

 

Процент водорода:

 

 

Летучие компоненты:

 

 

Энергия образования серной кислоты:

 

Энергия образования азотной кислоты:

 

Сумма внешней энергии:

 

Общая теплотворность образца топлива:

 

 

 

Чистая теплотворность образца топлива:

 

 

 

 

.11 Символы формул

Ааn - процент пепла в исходном состоянии "анализ влаги" (%);

Araw - процент пепла в сырам состоянии (%);

Ва(0Н)2 - титрированное количество 0?1 N гидрооксида бария (мл);

С - теплоёмкость калориметра;

Dх - разница между средним значением и отдельным значением измерения т х;

F1 - фактор преобразования из исходного состояния "аn" в "raw";

fBan - летучие компоненты в сыром состоянии (%);

fBraw - летучие компоненты в исходном состоянии "анализ влаги" (%);

fBwaf - летучие компоненты в исходном состоянии "без воды и пепла"(%);

gFraw - необработанная влага;

Ноаn - общая теплотворность в исходном состоянии "анализ влаги"(Дж/г);

НОВ - общая теплотворность градировочного вещества ;

Horaw - общая теплотворность образца в сыром состоянии (Дж/г) ;

Howaf - общая теплотворность образца в исходном состоянии "без воды и пепла" (Дж/г);

Ниаn - чистая теплотворность в исходном состоянии "анализ влаги"(Дж/г);

Huraw - чистая теплотворность образца в сыром состоянии (Дж/г);

Huwaf - чистая теплотворность образца в исходном состоянии "без воды и пепла" (Дж/г);

HCI - титрированное количество хлороводородной кислоты (мл);

Hfan - гигроскопическая влага (%);

Н2аn - процент водорода в исходном состоянии "анализ влаги" (%);

H2raw - процент водорода в сыром состоянии (%);

H2waf - процент водорода в исходном состоянии "без воды и пепла" (%);

Н2O - процент всей воды (сумма воды горения, неочищенной влаги и гигроскопической влаги) (%);

H2Oraw - процент всей воды в сыром состоянии (%);

т - масса образца топлива (г);

тх - измеренное значение № х;

MRF - средняя относительная погрешность;

MW - среднее значение;

n - номер градировочных измерений;

Nan - азот в исходном состоянии "анализ влаги" (%);

Na2C03 - содержание соды (мл);

SQ - сумма внешней энергии как функция способа расчёта;

QN - внешняя энергия от образования азотной кислоты;

QS - внешняя энергия от образования серной кислоты;

QZ - внешняя энергия от зажигания, горения хлопкового фитиля, вспомогательного топлива. По умолчанию задаётся значение 120 Дж, это значение может быть изменено посредством ручного ввода в блок QExtran1 (Дж);

Q1 - внешняя энергия от электрического зажигания и горения хлопкового фитиля (Дж);

San - процент серы в исходном состоянии "анализ влаги" (%);

Sraw - процент серы в сыром состоянии (%);

T - возрастание температуры калориметрической системы в течение эксперимента на сжигание.

. РАСЧЕТНЫЕ МЕТОДЫ ОПРЕДЕЛЕНИЯ НИЗШЕЙ ТЕПЛОТЫ СГОРАНИЯ

При расчетах теплового баланса на пожаре определяют, как правило, низшую теплоту сгорания (таблица 3.1). Количество тепла, выделяющегося при сгорании единицы массы (объема) горючего при газообразном состоянии воды:

Qв - Qн = Qис, (3.1)

где Qв - высшая теплота сгорания; Qн - низшая теплота сгорания; Qис - теплота испарения воды, образующейся при сгорании вещества.

Таблица 3.1- Расчетные методы определения низшей теплоты сгорания

Тип горючего вещества

Расчетные формулы

Размерность

Индивидуальные вещества

кДж/моль


Вещества сложного состава (формула Д.И. Менделеева)

кДж/кг


Смесь газов

кДж/моль; кДж/м3



Здесь  - соответственно теплота образования одного кмоля i - го конечного продукта горения и j - го исходного вещества; ni, nj - соответственно количество кмолей i - го продукта реакции и j - го исходного вещества в уравнении реакции горения; C, H, S, W - соответственно содержание, % (масс.) углерода, водорода, серы и влаги в составе вещества; О - сумма кислорода и азота, % (вес.); QHi - низшая теплота сгорания i - го горючего компонента газовой смеси, кДж/кмоль;  - содержание i - го горючего компонента в газовой смеси, % (об.).

Расчет теплоты сгорания газовоздушных смесей проводят по формуле:

 , (3.2)

где Qнсм - теплота сгорания газовоздущной смеси, кДж/м3, кДж/кмоль; QH - низшая теплота сгорания низшего вещества, кДж/м3, кДж/кмоль; φR - концентрация горючего в смеси с окислителем, %(об.).

Удельная скорость (интенсивность) тепловыделения при горении равна:

q = QH - UM, (3.3)

где q - удельная интенсивность тепловыделения, кВт/м2; UM - массовая скорость выгорания, кг/(м2с).

Скорость тепловыделения при горении (теплота пожара) равна:


где qП - интенсивность тепловыделения, кВт; F - площадь горения, м2.

С условием того, что средний состав древесины следующий:

углерод (С) = 49 %;

водород (Н) = 8%;

кислород (О) = 43%.

Расчетная низшая теплота сгорания древесины составит:

 

 

4. МЕТОДИКА ЭКСПЕРИМЕНТА

Для определения низшей теплоты сгорания мы провели опыты на калориметре. Были взяты образцы разных пород древесины: березы, дуба, сосны, осины и груши. Первые образцы древесины, каждой породы, оставляли влажными. Вторую партию образцов - поместили в печь и обезвожили под температурой 100оС. Третью партию образцов - в печи под температурой 250 оС довели до потери в образцах гемицеллюлозы. Четвертую партию - до потери в образцах гемицеллюлозы и целлюлозы. Пятую партию разлагали до углеродистого остатка. После разложения образцов древесины, для каждого образца в отдельности определялась низшая теплота сгорания:

а) подключаем калориметр к источнику энергии. Включаем кнопку включения измерительной камеры. Система начинает загружаться. Створка измерительной камеры автоматически открывается и на табло пульта управления появляется вступительное окно;

б) ждем 3-5 мин., мы подтверждаете вступительное окно клавишей ОК, проконтролируем визуально уровень воды во внутреннем сосуде. Если уровень воды выше, чем 1 см от дна сосуда, насос откачает остаток воды из внутреннего сосуда в расширительный резервуар. После чего следует долить 50 мл жидкости в расширительный резервуар;

в) включаем кнопку включения охлаждающего блока, для установления стабильных температурных условий в измерительной камере требуется около 30 минут;

г) открываем подачу кислорода из баллона. Давление кислорода должно составлять 30 бар, но ни в коем случае не должно превышать 40 бар. (Используем кислород сорта 3.5 99,95%-ый чистый кислород);

д) выбираем нужный Нам процесс: для этого устанавливаем курсор в строке меню на Conf., открываем окно меню и вызываем диалоговый блок Settings ("Настройки"). Окно показывает конфигурационные блоки Operation (эксплуатация), Operating mode (способ эксплуатации), Reference gross calorific value (эталонная общая теплотворность), Experiment init (инициализация эксперимента) и Unit (единица). При помощи TAB передвигаем курсор в конфигурационный блок Operating mode и при помощи стрелок "вверх"/"вниз" выбираем настройку Adiabatic и нажимаем клавишу "пробел", в Experiment init - Standard, в Unit - Joule/g. Нажимаем ОК;

Рис. 4.1 Диалоговое окно "Настройки"

е) заправляем сосуд разложения образцом древесины.

Рис. 4.2 Составные части бомбы

Выполняем следующие шаги по подготовке кодированного сосуда разложения:

) отвинчиваем ввёртыш и при помощи рукоятки снимаем;

Рис. 4.3 Сосуд разложения

) хлопковый фитиль с петлёй зафиксируем на середине зажигательной проволоки;

Рис. 4.4 Зажигательная проволока

)взвешиваем образцы древесины и помещаем в тигель;

) открываем диалоговое окно Sample для введения параметров;

)вводим вес сжигаемого образца в блок Weighed in quantity ("Дозированное количество"). При помощи клавиши TAB Мы перемещаем курсор в нижеперечисленные вводные блоки:

QExtran 1:

По умолчанию здесь появляется величина 120 Дж. Она соответствует тепловой энергии, образованной электрическим зажиганием, и теплоте сгорания хлопкового фитиля, который можно приобрести от IKA.

Рис. 4.5 Диалоговое окно Sample

Bomb: вводим 1/1

ОК побуждает систему принять введённые в диалоговый блок данные. 5.

С этого момента внизу экрана появляется сообщение Воmb . Это означает, что теперь можно погрузить сосуд разложения в измерительную камеру;

) поместите тигель в тигельный зажим;

) при помощи пинцета направляем хлопковый фитиль так, чтобы он погрузился в тигель и соприкоснулась с образцом. Это гарантирует зажигание образца хлопковым фитилём;

Рис. 4.6 Тигель в тигельном зажиме

8) налить в сосуд разложения 50 мл дистиллированной воды;

)устанавливаем крышку сосуда разложения и заворачиваем ввёртыш.

ж) осторожно направляем сосуд разложения, пока он не сомкнётся с наполняющей головкой открытой измерительной крышки.

Теперь сосуд разложения погружён в вертикально в принимающую деталь (для полной уверенности проверьте визуально).

Рис. 4.7 Правильность установки сосуда разложения

термохимия калориметр пожар сгорание

Как только электрическая цепь сосуда разложения замыкается через зажигательную проволоку, калориметр приходит в состояние готовности. Сообщение Bomb изменится на табло задания Start функциональной клавиши;

з) активизируем Start. Закрывается крышка измерительной камеры. Затем сосуд разложения наполняется кислородом. Далее внутренний сосуд наполняется водой. Как только система начинает эксперимент, табло отображает график изменения в единицу времени температуры во внутреннем сосуде;

и) при завершении измерения открывается крышка измерительной камеры, и из сосуда разложения выпускается давление. В то же время опорожняется внутренний сосуд. После этого полностью открывается крышка измерительной камеры. Как только внизу экрана появится сообщение Bomb N, Вы можете вынуть сосуд разложения;

к) открываем сосуд разложения и проверяем тигель на предмет неполного сгорания. Если сгорание было неполным, не допускается использовать результаты эксперимента для градуировки, и следует повторить эксперимент. Если сгорание было полным, записываем полученные значения низшей теплоты сгорания образца древесины;

л) аналогично проводим опыты для других образцов древесины, полученные результаты заносим в таблицу 5.2.

. ЭКСПЕРИМЕНТАЛЬНОЕ ОПРЕДЕЛЕНИЕ НИЗШЕЙ ТЕПЛОТЫ СГОРАНИЯ ДРЕВЕСИНЫ ОТ СТЕПЕНИ ЕЕ РАЗЛОЖЕНИЯ НА ПОЖАРЕ

В качестве исследуемых образцов использовали следующие породы древесины: береза, дуб, сосна, осина, груша. Содержание органических веществ в древесине разных пород указаны в табл. 5.1.

Таблица 5.1 - Содержание органических веществ в древесине

Органические вещества.

Содержание органических веществ, % от массы абсолютно сухой древесины.


береза

дуб

сосна

осина

груша

Целлюлоза, свободная от пентозанов

47,20

47,75

56,50

47,80

48,40

Лигнин

19,10

27,72

27,05

21,67

29,89

Пентозаны

28,70

23,40

10,45

23,52

5,30


В среднем можно принять, что в древесине хвойных пород содержится 48-56% лигнина, 23-26% гемицеллюлоз (10-12% пентозанов и около 13% гексозанов); в то же время древесина лиственных пород содержит 46-48% целлюлозы, 19-28% лигнина, 26-35% % гемицеллюлоз (23-29% пентозанов и 3-6% гексозанов.

Зависимость разложения массы и степени разложения во времени древесины показаны на рисунках 5.1 и 5.2.


Результаты проведенного калориметрического анализа для исследуемых пород древесины сведены в таблицу 5.2

Таблица 5.2- Результаты эксперимента

Низшая теплота сгорания/ Порода

Низшая теплота сгорания QH, МДж/кг


свежая (влажная)

сухая (обезвоженная)

без гемицеллю лозы

без гемицеллю лозы и целлюлозы

распад древесины 90-95%

Береза

12,885 (20% влажн.)

19,421

20,443

18,724

18,609

Дуб

15,559 (16% влажн.)

19,1

20,745

18,416

19,203

Сосна

14,618 (15% влажн.)

19,472

19,314

18,066

17,844

Осина

13,448 (18% влажн.)

18,269

17,167

15,936

16,301

Груша

14,083 (16% влажн.)

18,713

20,416

18,165

18,452

Состав

влага, гемицеллюлоза, целлюлоза, лигнин.

гемицеллюлоза, целлюлоза, лигнин.

целлюлоза, лигнин.

лигнин

углерод


По полученным результатам построены гистограммы низшей теплоты сгорания для исследуемых пород древесины при разной степени термического разложения:

Условные обозначения:






. ТЕХНИКО-ЭКОНОМИЧЕСКАЯ ОЦЕНКА ПОЛУЧЕННОГО РЕЗУЛЬТАТА

.1 Формирование задач и выбор базового варианта

Данная работа посвящена низшей теплоты сгорания древесины. Актуальность данной работы заключается в том, что низшая теплота сгорания древесины является важным показателем для прогнозирования параметров пожара. Однако, в настоящее время есть только одно значение низшей теплоты сгорания древесины (Qн), что не дает точного определения параметров пожара.

В результате проделанной работы получены результаты низших теплот сгорания для разных пород древесины и при разной степени разложения. В практике же для получения этих показателей необходимо проводить эксперименты, для которых требуются определенные затраты. Поэтому для оценки эффективности полученного результата в данной работе сделаем сравнение двух вариантов:

)        Определение (Qн) для древесины экспериментальным путем в лабораторных условиях "ВНИИПО" ;

)        Определение (Qн) для древесины экспериментальным путем в Академии ГПС МЧС России.

.2 Определение основных показателей и экономический эффект

В технико-экономическом анализе решение вопросов определения параметров пожара принято использовать следующие основные показатели:

капитальные затраты, (К);

эксплуатационные расходы, (С);

ущерб от пожара, (У).

Известно, что одинаковые показатели, входящие в оба варианта, из расчетов можно исключить, что не повлияет на их точность.

В нашем случае к таким одинаковым показателям будут относиться эксплуатационные расходы и ущерб от пожаров.

Следовательно, С1С2=0; У1-У2=0

Необходимо определить К, т.е. стоимость проведения экспериментов.

Из опыта проведенных экспериментов следует, что, например, для ВНИИПО и Академии ГПС МЧС России в приобретении нового оборудования для проведения данных экспериментов нет необходимости, следовательно, стоимость проведения эксперимента может определяться по следующему выражению:

К=КА+КМ+Кзп , (6.1)

где: КА - амортизационные отчисления (амортизация оборудования);

КМ - стоимость материалов;

Кзп - заработная плата исследователей.

 

где: С - стоимость оборудования используемого в процессе эксперимента(тыс. руб) ;

НА - средняя норма амортизации используемого оборудования (%/год), принимается НА = 3,5%;

П - период проведения эксперимента;

365 - количество дней в году.

Для проведения эксперимента используется кварцевый стаканчик, стоимость которого составляет четыре тысячи рублей (по бухгалтерским данным).

Период проведения такого эксперимента составляет примерно 30 дней

 

Для проведения эксперимента используются следующие вещества (КМ):

кислород (О2) в количестве 714,5 гр. стоимостью 25 руб.;

дистиллированная вода, необходимое ее количество 2,5л стоимостью 200 руб.

КМ = 25 + 200 = 225 руб.,

ЗП - величина заработной платы.

Для проведения эксперимента на базе ВНИИПО в составе 2 человек (научный сотрудник и лаборант) величина заработной платы составит:

 

где: зпl - заработная плата научного сотрудника; зпll - заработная плата лаборанта: (по данным ВНИИПО зпl = 15250 руб., зпll = 9250 руб);

,38 - коэффициент отчисления по социальному страхованию;

,45 - коэффициент различного рода надбавок.

Следовательно:

 

К1 = 11 + 225 + 24512 = 24748 руб.

А так как Кзп слушателя Академии ГПС МЧС России равна 0, то:

К2 = 11 + 225 = 236 руб.

Экономический эффект по проведенным экспериментам составил:

Э = К1 - К2 = 24748 - 236 = 24512 руб.

Вывод: Определение низшей теплоты сгорания древесины экономически целесообразнее при проведении экспериментов в Академии ГПС МЧС России.

7. ЭКОЛОГИЧЕСКАЯ ОЦЕНКА ТОКСИЧНОСТИ ВЕЩЕСТВ ПРИ ТЕРМИЧЕСКОМ РАЗЛОЖЕНИИ ДРЕВЕСИНЫ

В данной работе рассматривается экологический ущерб от загрязнения атмосферного воздуха при сжигании древесины в калориметрической установке. Для экспериментов в качестве окислителя используется кислород. В результате этого, в продуктах горения объемная доля СО невелика. Рассмотрим опасность этих веществ с позиций токсикологии.

.1 Кислород

Кислород - элемент <http://ru.wikipedia.org/wiki/%D0%A5%D0%B8%D0%BC%D0%B8%D1%87%D0%B5%D1%81%D0%BA%D0%B8%D0%B9_%D1%8D%D0%BB%D0%B5%D0%BC%D0%B5%D0%BD%D1%82> главной подгруппы шестой группы, второго периода периодической системы химических элементов <http://ru.wikipedia.org/wiki/%D0%9F%D0%B5%D1%80%D0%B8%D0%BE%D0%B4%D0%B8%D1%87%D0%B5%D1%81%D0%BA%D0%B0%D1%8F_%D1%81%D0%B8%D1%81%D1%82%D0%B5%D0%BC%D0%B0_%D1%85%D0%B8%D0%BC%D0%B8%D1%87%D0%B5%D1%81%D0%BA%D0%B8%D1%85_%D1%8D%D0%BB%D0%B5%D0%BC%D0%B5%D0%BD%D1%82%D0%BE%D0%B2> Д. И. Менделеева <http://ru.wikipedia.org/wiki/%D0%9C%D0%B5%D0%BD%D0%B4%D0%B5%D0%BB%D0%B5%D0%B5%D0%B2,_%D0%94%D0%BC%D0%B8%D1%82%D1%80%D0%B8%D0%B9_%D0%98%D0%B2%D0%B0%D0%BD%D0%BE%D0%B2%D0%B8%D1%87>, с атомным номером <http://ru.wikipedia.org/wiki/%D0%90%D1%82%D0%BE%D0%BC%D0%BD%D1%8B%D0%B9_%D0%BD%D0%BE%D0%BC%D0%B5%D1%80> 8. Обозначается символом O (лат. <http://ru.wikipedia.org/wiki/%D0%9B%D0%B0%D1%82%D0%B8%D0%BD%D1%81%D0%BA%D0%B8%D0%B9_%D1%8F%D0%B7%D1%8B%D0%BA> Oxygenium). Кислород - химически активный неметалл <http://ru.wikipedia.org/wiki/%D0%9D%D0%B5%D0%BC%D0%B5%D1%82%D0%B0%D0%BB%D0%BB>, является самым лёгким элементом из группы халькогенов <http://ru.wikipedia.org/wiki/%D0%A5%D0%B0%D0%BB%D1%8C%D0%BA%D0%BE%D0%B3%D0%B5%D0%BD%D1%8B>. Простое вещество <http://ru.wikipedia.org/wiki/%D0%9F%D1%80%D0%BE%D1%81%D1%82%D0%BE%D0%B5_%D0%B2%D0%B5%D1%89%D0%B5%D1%81%D1%82%D0%B2%D0%BE> кислород (CAS-номер <http://ru.wikipedia.org/wiki/%D0%A0%D0%B5%D0%B3%D0%B8%D1%81%D1%82%D1%80%D0%B0%D1%86%D0%B8%D0%BE%D0%BD%D0%BD%D1%8B%D0%B9_%D0%BD%D0%BE%D0%BC%D0%B5%D1%80_CAS>: 7782-44-7) при нормальных условиях <http://ru.wikipedia.org/wiki/%D0%9D%D0%BE%D1%80%D0%BC%D0%B0%D0%BB%D1%8C%D0%BD%D1%8B%D0%B5_%D1%83%D1%81%D0%BB%D0%BE%D0%B2%D0%B8%D1%8F> - газ <http://ru.wikipedia.org/wiki/%D0%93%D0%B0%D0%B7> без цвета, вкуса и запаха, молекула <http://ru.wikipedia.org/wiki/%D0%9C%D0%BE%D0%BB%D0%B5%D0%BA%D1%83%D0%BB%D0%B0> которого состоит из двух атомов <http://ru.wikipedia.org/wiki/%D0%90%D1%82%D0%BE%D0%BC> кислорода (формула O2), в связи с чем его также называют дикислород.

Термодинамические свойства:

- плотность <http://ru.wikipedia.org/wiki/%D0%9F%D0%BB%D0%BE%D1%82%D0%BD%D0%BE%D1%81%D1%82%D1%8C> (при н. у. <http://ru.wikipedia.org/wiki/%D0%9D%D0%BE%D1%80%D0%BC%D0%B0%D0%BB%D1%8C%D0%BD%D1%8B%D0%B5_%D1%83%D1%81%D0%BB%D0%BE%D0%B2%D0%B8%D1%8F>): 0,00142897 г/см³;

- температура плавления <http://ru.wikipedia.org/wiki/%D0%A2%D0%B5%D0%BC%D0%BF%D0%B5%D1%80%D0%B0%D1%82%D1%83%D1%80%D0%B0_%D0%BF%D0%BB%D0%B0%D0%B2%D0%BB%D0%B5%D0%BD%D0%B8%D1%8F>: 54,8 <http://ru.wikipedia.org/wiki/%D0%9A%D0%B5%D0%BB%D1%8C%D0%B2%D0%B8%D0%BD>;

температура кипения <http://ru.wikipedia.org/wiki/%D0%A2%D0%B5%D0%BC%D0%BF%D0%B5%D1%80%D0%B0%D1%82%D1%83%D1%80%D0%B0_%D0%BA%D0%B8%D0%BF%D0%B5%D0%BD%D0%B8%D1%8F>: 90,19 <http://ru.wikipedia.org/wiki/%D0%9A%D0%B5%D0%BB%D1%8C%D0%B2%D0%B8%D0%BD>;

теплота плавления <http://ru.wikipedia.org/wiki/%D0%A2%D0%B5%D0%BF%D0%BB%D0%BE%D1%82%D0%B0_%D0%BF%D0%BB%D0%B0%D0%B2%D0%BB%D0%B5%D0%BD%D0%B8%D1%8F>: 0,444 кДж/моль;

теплота испарения <http://ru.wikipedia.org/wiki/%D0%A2%D0%B5%D0%BF%D0%BB%D0%BE%D1%82%D0%B0_%D0%B8%D1%81%D0%BF%D0%B0%D1%80%D0%B5%D0%BD%D0%B8%D1%8F>: 3,4099 кДж/моль;

молярная теплоёмкость <http://ru.wikipedia.org/wiki/%D0%9C%D0%BE%D0%BB%D1%8F%D1%80%D0%BD%D0%B0%D1%8F_%D1%82%D0%B5%D0%BF%D0%BB%D0%BE%D1%91%D0%BC%D0%BA%D0%BE%D1%81%D1%82%D1%8C>: 29,4 Дж/(K·моль);

молярный объём <http://ru.wikipedia.org/wiki/%D0%9C%D0%BE%D0%BB%D1%8F%D1%80%D0%BD%D1%8B%D0%B9_%D0%BE%D0%B1%D1%8A%D1%91%D0%BC>: 14,0 см <http://ru.wikipedia.org/wiki/%D0%A1%D0%B0%D0%BD%D1%82%D0%B8%D0%BC%D0%B5%D1%82%D1%80>³/моль <http://ru.wikipedia.org/wiki/%D0%9C%D0%BE%D0%BB%D1%8C>.

При нормальных условиях кислород - это газ <http://ru.wikipedia.org/wiki/%D0%93%D0%B0%D0%B7> без цвета, вкуса и запаха.

л его имеет массу 1,429 г. Немного тяжелее воздуха <http://ru.wikipedia.org/wiki/%D0%92%D0%BE%D0%B7%D0%B4%D1%83%D1%85>. Слабо растворяется в воде <http://ru.wikipedia.org/wiki/%D0%92%D0%BE%D0%B4%D0%B0> (4,9 мл/100 г при 0°C, 2,09 мл/100 г при 50 C) и спирте <http://ru.wikipedia.org/wiki/%D0%A1%D0%BF%D0%B8%D1%80%D1%82> (2,78 мл/100 г при 25 C). Хорошо растворяется в расплавленном серебре <http://ru.wikipedia.org/wiki/%D0%A1%D0%B5%D1%80%D0%B5%D0%B1%D1%80%D0%BE> (22 объёма O2 в 1 объёме Ag при 961 C). Является парамагнетиком <http://ru.wikipedia.org/wiki/%D0%9F%D0%B0%D1%80%D0%B0%D0%BC%D0%B0%D0%B3%D0%BD%D0%B5%D1%82%D0%B8%D0%BA>.

.1.1 Токсичность кислорода

Как правило, говорят о двух основных видах токсического действия кислорода:

легочная форма кислородного отравления;

токсическое воздействие кислорода на центральную нервную систему (или ЦНС).

.1.2 Легочная форма токсического отравления

При легочной форме кислородного отравления, также называемой эффектом Лорейна Смита, происходит непосредственное токсическое воздействие на легкие. За исключением редких случаев (как правило, они являются результатом игнорирования ранних симптомов), легочная форма не представляет серьезной опасности. Ее легко предотвратить, соблюдая установленные ограничения длительности/значения повышенного РО2 (парциального давления кислорода).

У большинства людей легочная форма кислородного отравления проявляется при воздействии РО2 выше 0,5 бар/аtа (где АТА - единица абсолютной атмосферы) в течение длительного времени (чем выше значение РО2, тем скорее возникает отравление).

Токсическое воздействие кислорода на центральную нервную систему

Симптомы токсического поражения ЦНС включают: нарушения зрения (туннельное зрение, неспособность сфокусироваться), нарушение слуха (звон в ушах, появление посторонних звуков), тошноту, судорожные сокращения (особенно мышц лица), повышенную чувствительность к внешним раздражителям и головокружение.

7.2 Состав продуктов горения

При горении древесины и древесных материалов образуется водяной пар, теплота, двуокись и окись углерода. Основную опасность для экипажа представляют недостаток кислорода и присутствие окиси углерода. Кроме того, при горении древесины образуются альдегиды, кислоты и различные газы. Эти вещества сами по себе или в сочетании с водяным паром могут, как минимум, оказывать сильное раздражающее воздействие. Вследствие токсичности большинства этих газов при работе в зоне пожара или вблизи, необходимо применение дыхательных аппаратов.

.2.1 Окись углерода

Физические и химические свойства. Бесцветный газ без запаха и вкуса, вес 1 л при 0° и 760 мм рт. ст. 1,2500 г. Температура плавления -205°; температура кипения -191,5°, плотность -0,97. Горит синим пламенем до образования СО2 с выделением тепла. Пределы воспламеняемости в смеси с воздухом 12,5-74,2%. Смесь двух объемов СО в одного объема О2 взрывается при зажигании. При низких температурах СО достаточно инертна; при высоких температурах и в присутствии катализаторов легко вступает в различные реакции, особенно в реакции присоединения СО в процессе органического синтеза.

СО способна оказывать непосредственное токсическое действие на клетки, нарушая тканевое дыхание и уменьшая потребление тканями О2. СО соединяется не только с гемоглобином, но и с геминовыми ферментами (цитохромами и цитохромоксидазой и с миоглобином), с восстановленной формой пероксидазы, давая соединение, напоминающее карбоксигемоглобин, и с каталазой. Угнетает активность тирозиназы и сукцинатдегидрогеназы в печени, сердце и в мозге. Подтверждением цитотоксического действия СО являются многочисленные сведения о токсическом эффекте (преимущественно при длительном отравлении малыми концентрациями), когда содержание СОНb не превышает нормального. В ряде острых отравлений СО смерть также наступала при относительно невысоком содержании СОНb - 45-55%. Хроническое отравление СО может развиваться без аноксемии. СО влияет на углеводный обмен, повышая уровень сахара в крови (до 300 мг%), в ликворе (до 120 мг%) и вызывая появление, сахара в моче, что, вероятно, связано не с аноксемией, а со специфическим токсическим действием. СО нарушает фосфорный обмен, сильно возбуждает каротидные химиорецепторы; нарушение азотистого обмена вызывает азотемию, изменение содержания белков плазмы, снижение активности холинэстеразы крови и уровня витамина В6.

Таблица 7.1 - Токсические концентрации и симптомы при отравления людей СО

Концентрация, мг/л

Длительность воздействия

Содержание СОНb, %

Симптомы отравления

0,006

25 мин

 

Снижение цветовой и световой чувствительности глаз.

0,031

3 ч

-

Снижение точности зрительного восприятия пространства и ночного зрения.

0,05-0,06

2 ч

-

Снижение слуха. Изменения ЭЭГ.

 

5 ч

-

Ухудшение выполнения психологических тестов.

0,08-0,11

3,5-5 ч

7-10

Снижение скорости зрительного восприятия, ухудшение выполнения психологических и психомоторных тестов, координации мелких точных движений и аналитического мышления.

0,22

2-3 ч

-

Легкая боль в области лба.

0,23

6 ч

16-20

Боль в области лба, ощущение давления на лоб, быстро исчезающие на свежем воздухе; расширение кожных кровеносных сосудов; снижение физической работоспособности.

0,23-0,34

5-6 ч

23-30

Головная боль. Ощущение пульсации в висках. Головокружение.

0,34

4 ч

22-24

То же.


5 ч

26-27

-

0,44-0,46

1 ч

15-19

Боли в области лба и затылка.


2 ч

21-28

То же.


2,5-3 ч

-

-

0,46-0,69

4-5 ч

36-40

Сильная головная боль, слабость, головокружение туман перед глазами, тошнота и рвота, коллапс.

0,8-1,0

20-30 мин

 

Головная боль, общая мышечная слабость, тошнота; потери трудоспособности не было.

0,88

45 мин

-

Головная боль, головокружение, тошнота.


2 ч

-

Потеря сознания, коллапс.

0,8-1,15

3-4 ч

47-53

Сильная головная боль, слабость головокружение, туман перед глазами, тошнота.


Вывод: в связи с тем, что во время эксперимента используется кислород в количестве 29 грамм и сжигается древесина массой 0,1-0,5 грамм с образованием небольшого количества продуктов горения, токсичность этих веществ не опасна для человека.

ВЫВОДЫ


.        Разные породы древесины имеют разную низшую теплоту сгорания. Разница составляет 20 - 30 %, что желательно учитывать при использовании математических моделей прогнозирования пожара.

.        В процессе термического разложения (при потере влаги, гемицеллюлозы, целлюлозы) низшая теплота сгорания древесины меняется, что приводит к изменению динамики развития пожара в разные моменты времени.

. Не до конца прогоревшая древесина (частично разложившаяся) при повторном возгорании может привести к увеличению класса пожара, что потребует увеличение сил и средств для борьбы с пожаром.

РЕКОМЕНДАЦИИ

По полученным результатам, можно сделать корректировку табличных значений низшей теплоты сгорания для древесины Учитывая разнообразие древесных пород при различной степени влажности, желательно создать базу данных значений низшей теплоты сгорания для различных видов древесины. Полученная база данных поможет сделать более точный прогноз пожара в математических моделях, оценить значение опасных факторов на различных стадиях пожара.

ЛИТЕРАТУРА

1. Абдурагимов И. М., Говоров В.Ю.,. Макаров В.Е. Физико - химические основы развития и тушения пожаров. М., 1980.

2. Андросов А.С., Бегишев И.Р., Салеев Е.П. Теория горения и взрыва М. 2007 г.

3. СНиП 2.01.02-85 Противопожарные нормы. М - 1986 г

4. Справочник руководителя тушения пожара. - М. Стройиздат, 1987 г.

5. Пожаровзрывоопасность веществ и материалов и средства их тушения: Справ, изд.: в 2 кн. / Баратов А.Н., Корольченко А.Я., Кравчук Г.Н. и др. - М.: Химия, 1990.

6. Пособие по применению НПБ 105-95 "Определение категорий помещений и зданий по взрывопожарной и пожарной опасности" при рассмотрении проектно-сметной документации / Шебеко Ю.Н., Смолин И.М., Молчадский И.С. и др. - М.: ВНИИПО, 1998. - 119 с.

7. Андросов А.С., Салеев Е.П. Примеры и задачи по курсу "Теория горения и взрыва" М. 2008 г.

8. Кузмичев И.И. Расчетный способ определения ущерба от пожара .-В сб. Экономика и управление в пожарной охране.- М.: ВНИИПО, 1983.

Похожие работы на - Низшая теплота сгорания древесины в заданные моменты времени

 

Не нашли материал для своей работы?
Поможем написать уникальную работу
Без плагиата!
Без нейросетей!