Выбросы вредных веществ в атмосферу
Министерство
сельского хозяйства российской федерации
Федеральное
государственное образовательное учреждение высшего профессионального
образования
САНКТ-ПЕТЕРБУРГСКИЙ
ГОСУДАРСТВЕННЫЙ АГРАРНЫЙ УНИВЕРСИТЕТ
Энергетический
факультет
Дисциплина:
Энергетика АПК
Реферат
Тема:
Выброс вредных веществ в атмосферу
2011
Задание
Произвести расчет выбросов вредных веществ в
атмосферу и высоту источника рассеивания. Самостоятельно определить систему
подавления вредных веществ и систему очистки дымовых газов в зависимости от
заданного вида топлива. Исходные данные приведены в таблице 1.
Таблица 1 ─ Исходные данные для расчета
|
№
п/п
|
Бассейн,
месторождение (газопровод)
|
Марка
топлива
|
Расчетный
расход топлива, Вр, кг/с (м3/с)
|
Способ
шлакоудаления
|
Число
котлов
|
|
2
|
Экибастузский
|
СС
|
0,75
|
жидкое
|
3
|
выброс загрязняющий вещество топливо
1. Расчет выброса загрязняющих веществ при
сжигании топлива в
котельных агрегатах
Для и парогенераторов производительностью до 30
т/ч и выше 30 т/ч существуют различные методики расчета загрязняющих веществ.
Настоящая методика предназначена для расчета
выбросов загрязняющих веществ в атмосферу с газообразными продуктами сгорания
при сжигании твердого топлива, мазута и газа в топках промышленных и
коммунальных котлоагрегатов производительностью до 30 т/ч.
Расчет выбросов вредных веществ в атмосферу
будем производить в следующей последовательности:
Принимаем скорость дымовых газов в устье трубы w0=27
м/с.
Расчетный часовой расход топлива для одного
котельного агрегата, м3/ч, кг/ч:
где
- расчетный секундный расход топлива в котельной, м3/с, кг/с;
- количество
котельных агрегатов.
) Определение (для твердого топлива) суммарного
выброса (из всех труб) в атмосферу золы и недогоревших частиц твердого топлива,
г/с:
,
где q4; aУН - механический
недожог и коэффициент уноса принимается:
при сжигании каменных углей в топках с жидким шлакоудалением
q4=1,5%; aУН=0,7;
hЗУ - КПД золоулавливания, принимается на уровне
0,96…0,999, что соответствует КПД электрофильтров; 0,92…0,96 - для скрубберов;
0,82…0,9 - для батарейных циклонов
,
) Определение максимального количества окислов
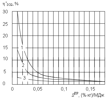
серы, выбрасываемых в атмосферу с дымовыми газами, г/с:
где SР, % ─ содержание серы на рабочую
массу топлива, таблица 2;
КПД очистки газов от серы (
=0,83
- для современных систем очистки);
=0,02
─ доля летучей серы, связываемая летучей золой в котле, таблица 3;
тогда по рисунку определяем 
=3%.
Таблица 2.
|
Страна,
край, область
|
Бассейн,
месторождение
|
Зольность
|
Сера
|
Низшая
рабочая теплота сгорания
|
Теоретические
объемы воздуха и продуктов сгорания
|
|
|
АР,
%
|
SР, %
|
QНР, МДж/кг
(МДж/м3)
|
V0/VГ0, м3/кг
(м3/м3)
|
|
1
|
2
|
3
|
4
|
5
|
6
|
|
Россия,
Новосибирская область
|
Листвянский
АШ
|
15,7
|
0,2
|
27,0
|
7,12/7,71
|
Экибастузский
каменный уголь СС
|
38,1
|
0,8
|
16,76
|
4,43/4,79
|
|
Россия,
Якутия (Саха)
|
Нерюнгринский
каменный уголь
|
12,7
|
0,2
|
24,70
|
6,51/6,97
|
|
Торф
|
Фрезерный
|
5,5
|
0,1
|
8,5
|
2,51/3,43
|
|
Кусковый
|
6,6
|
0,2
|
10,7
|
3,01/3,87
|
|
Жидкое
|
Мазут
сернистый
|
0,05
|
1,4
|
39,76
|
10,45/11,3
|
|
топливо*
|
Мазут
высокосернистый
|
0,12
|
2,8
|
38,8
|
10,2/10,99
|
|
Газ
|
Уренгойский
Бухарский
Серпухов-Санкт-Петербург
|
-
-
|
-
-
|
35,8
36,7 37,43
|
9,52/10,68
9,73/10,91 10,0/15,1
|
Таблица 3. ─ Ориентировочные значения
|
Топливо
|
Значение
|
|
Торф
|
0,15
|
|
Сланцы
эстонские и ленинградские
|
0,8
|
|
Экибастузский
уголь
|
0,02
|
|
Березовские
угли КАУ для топок с твердым шлакоудалением для топок с жидим шлакоудалением
|
0,5
0,2
|
|
Угли
других месторождений
|
0,1
|
|
Мазут
|
0,02
|
|
Газ
|
0,0
|
5)Определение (в порядке оценки) суммарного
количества окислов азота, выбрасываемого в атмосферу с дымовыми газами, г/с:
где
-
КПД систем подавления окислов азота
=
0,4 - при сжигании твердого топлива;
b1 - поправочный коэффициент, таблица 4;
b2 - коэффициент, который учитывает вид топлива и
равен 0,01 - при сжигании твердого топлива;
К - параметр, который учитывает
паропроизводительность котлоагрегата (для паровых котлов) и тепловую мощность
(для водогрейных котлов) и определяется:
для паровых котлов - как
,
где DПЕ=0,25т/ч - паропроизводительность
парогенератора.
Таблица 4─ Коэффициент b1
|
Топливо
|
b1
|
|
Газ
Мазут
|
|
Твердое
топливо
|
Твердое
шлакоудаление
|
Жидкое
шлакоудаление
|
|
Бурые
угли Каменные угли
|
0,6
1,0
|
0,8
1,4
|
Топливо
) Определение максимального количества выбросов
оксида углерода с дымовыми газами г/с
где В, кг/с - расход натурального топлива;, % -
потери теплоты от механического недожога;, кг/т (кг/тыс.м3) - выход оксидов
углерода при сжигании твердого, жидкого и газообразного топлива
,
где q3, % - потери теплоты от химической
неполноты сгорания, принимаются в соответствии с таблицей 5; R - коэффициент,
учитывающий долю потери теплоты из-за химической неполноты сгорания топлива,
обусловленного содержанием в дымовых газах продуктов неполного сгорания окиси
углерода, таблица 5;НР, кДж/кг (кДж/м3) - низшая теплота сгорания натурального
топлива;
gСО, кг/м3 - удельный вес оксида углерода при
нормальных условиях, равный 1,25 кг/м3;СО, кДж/м3 - теплота сгорания оксида
углерода, равная 12650 кДж/м3.
Таблица 5
|
Вид
топлива
|
q3, % [4]
|
R
|
|
Антрацит
|
0
|
1,0
|
|
Каменные
угли
|
0…0,5
|
─
|
|
Бурые
угли
|
0,5
|
─
|
|
Торф
|
1,0
|
─
|
|
Мазут
|
1,5
|
0,65
|
|
Газ
|
0,5
|
0,5
|
7) Определение концентраций вредных веществ в
дымовых газах (в порядке оценки), выбрасываемых в атмосферу на уровне устья
источника рассеивания, мг/м3:
,
где VГ0, м3/кг (м3/м3) - теоретический объем
продуктов сгорания определяется по таблице 2 или по зависимости, м3/кг
;
Мi, г/с - выброс i-го вещества.
8) Определение максимально допустимой высоты
источника рассеивания
Концентрация каждого вещества не должна
превышать соответствующей ПДКМ.Р., определяемой по таблице 6, м:
Таблица 6
|
Загрязняющее
вещество
|
ПДКМ.Р.,
мг/м3
|
|
Недогоревшее
топливо, зола
|
0,5
|
|
Окислы
серы
|
0,5
|
|
Диоксид
азота
|
0,085
|
|
Оксид
азота
|
0,6
|
|
Оксид
углерода
|
5
|
|
Пентаксид
ванадия
|
-
|
|
Бенз(а)пирен,
С20Н16
|
-
|
При выбросах оксидов серы и азота:
.
,
-
фоновые концентрации, которые учитываются для ТЭС, сооружающихся в городах, и
принимаются в работе (в порядке оценки) на уровне (0,2…0,3) ПДК соответствующих
загрязнений.
9) Определение параметра М:
,
где z, шт - суммарное число стволов ;
tГ, ОС - температура дымовых газов на выходе из
устья источника рассеивания (принимается в порядке оценки 120…130 ОС - для
твердых топлив и 135…140 ОС - для газомазутных);*, ОС -
средняя температура самого холодного месяца; для Астрахани t*=-8
С0, м3/с - суммарный объемный расход газов при номинальной нагрузке всех
парогенераторов
.
Здесь kЗ - коэффициент запаса по
производительности парогенератора, равен 1,05;
aУХ - коэффициент избытка воздуха в уходящих
газах перед дымовой трубой (с учетом присосов воздуха по всему газовому тракту)
принимается 1,40 - для газомазутных топлив и 1,55 - для твердых топлив;, м3/кг
(м3/м3) - теоретический объем воздуха, необходимый для сжигания топлива
определяется по таблице 2
;
Тогда
10) Определение диаметра устья источника
рассеивания, м:
.
11) Выбор стандартного источника рассеивания.
По полученным значениям H (для наибольшего
значения) и d0 определяются высота и диаметр устья источника рассеивания как
ближайшие в соответствии со следующими типоразмерами дымовых труб:
Н, м - 30, 60, 90, 120, 150, 180, 210,
250;
d0 - 2,4; 3,0; 3,6; 4,2; 4,8; 5,4; 6,0;
6,6; 7,2; 7,8; 8,4; 9,6.
Выбираем максимально допустимой высоты источника
рассеивания Н=120 м, d0 =9,6м