|
Наименование параметров
|
Значение
|
|
Масса плавки:
|
|
|
- номинальная, т
|
180
|
|
- максимальная, т
|
210
|
|
- остаток металла после
выпуска, т
|
30
|
|
Мощность трансформатора,
МВА
|
150
|
|
Вторичный ток, kA
|
70
|
|
Частота тока, Гц
|
50
|
|
Высоковольтное напряжение,
В
|
800-1225-1400
|
|
Количество рабочих ступеней
трансформатора, ед.
|
23
|
|
Диаметр кожуха на уровне
откосов, мм
|
7400
|
|
Диаметр выпускного
отверстия, мм
|
200
|
|
Диаметр распада электродов,
мм
|
1200±50
|
|
Диаметр графитированных
электродов, мм
|
600-610
|
|
Ход электродов, мм
|
6300
|
|
Максимальная скорость
перемещения электродов:
|
|
|
- автоматический режим,
мм/с
|
80-120
|
|
- ручной режим, мм/с
|
300
|
|
Высота подъёма свода, мм
|
400
|
|
Угол поворота свода, град.
|
70
|
|
Угол наклона печи:
|
|
|
- на слив металла, град.
|
20
|
|
- на слив шлака, град.
|
10
|
|
Объем загрузочной бадьи, м3
|
16,5
|
|
Объем ванны, м3
|
29,7
|
|
Глубина ванны, мм
|
1290
|
|
Производительность по
вдуванию:
|
|
|
- Кислорода, нм3/ч
|
6 х 2800
|
|
- природного газа, нм3/ч
|
6 х 350
|
|
- углерода, кг/мин
|
2x60
|
|
Мощность горелок RCB, кВт
|
6 х 3500
|
|
Высота системы охлаждения
стен, мм
|
3210
|
|
Общая площадь
водоохлаждаемых элементов, м2
|
75
|
|
Площадь водоохлаждаемой
панели свода, м2
|
57
|
|
Расход воды на охлаждение:
|
|
|
- свод, м3/ч
|
550
|
|
- кожух печи, м3/ч
|
950
|
|
- трансформатор, м3/ч
|
160
|
|
- общий расход, м3/ч
|
1950
|
Общий вид электродуговой печи ДСП-180 представлен на рисунке 1.3.
1 - печной трансформатор; 2 - гибкий токопровод; 3 - токоведущие рукава;
4 - водоохлаждаемый свод; 5 - газокислородная горелка; 6 - комбинированная
горелка; 7 - инжектор угольной пыли; 8 - робот для очистки порога шлакового
окна; 9 - медные водоохлаждаемые стеновые панели с повышенным тегатосьемом; 10
- стальные водоохлаждаемые стеновые панели; 11 - электрод; 12 - робот для
очистки канала донного выпуска.
Рисунок 1.3 - Общий вид ДСП нового поколения серии Ultimate
К конструктивным особенностям основных механических элементов относятся:
прочность, простота и надежность массивных конструкций; повышение корпуса печи,
рассчитанного на загрузку одной корзины; портальная конструкция с системой
подъема свода в одной точке; система призматических роликовых направляющих для
колонн электродов с целью уменьшения вибрации; разъемная конструкция корпуса
печи, изображенная на рисунке 1.4, состоящая из секции стальных панелей в
верхней части и секции медных панелей в нижней части и в районе шлака, в том
числе специальных неподвижных панелей для высокоскоростного вдувания кислорода
и углесодержащих материалов (RCB);
плотная стыковка и крепление панелей к корпусу печи во избежание их смещения,
изображенные на рисунке 1.5; усовершенствованная жесткая конструкция накладной
площадки.
Кроме того, число операторов печи серии Ultimate можно сократить до трех человек в
смену: на пульте ДСП, на площадке, машинист крана.
Использование современных компьютерных программ показало, что работа печи
серии Ultimate привела к сокращению
продолжительности нахождения печи под током, более стабильному уровню
производства, улучшению техники экономических показателей.
1 - стальная панель; 2 - медная; 3 - высокоскоростная; 4 - в зоне шлака;
5 - уровень стали
Рисунок 1.4 - Устройство панелей на печи с увеличенной
высотой кожуха
Рисунок 1.5 - Плотная стыковка (1) и крепление панелей
(2)
Для достижения продолжительности плавки 30 мин период включения питания
доводится до максимума путем оптимизации физических и химических показателей
технологического процесса. Длительность периода отключения питания уменьшается
благодаря более разумному использованию существующего оборудования.
Также фирма VAI "FUCHS" разработала проект
трехсоттонной высокоимпедансной ультравысокомощной сталеплавильной ДСП серии Ultimate нового поколения.
Анализ приведенных характеристик позволяет отметить следующие
инновационные особенности новой печи. Высокоимпедансная характеристика
означает, что в систему электроснабжения ДСП дополнительно включено реактивное
сопротивление (реактор), повышающее общее сопротивление электропечного контура
(импеданс) и обеспечивающее возможность работы печи на энергосберегающих
режимах повышенных вторичных напряжений и пониженных рабочих токов, что
является необходимым элементом современной сталеплавильной технологии.
Современная верхняя ступень вторичного напряжения (1600 В) имеет самое
высокое значение для ДСП последних поколений. Это позволяет вводить
ультравысокую электрическую мощность до 200 МВт с использованием стандартных
качественных электродов диаметром 610 мм на допустимом для них рабочем токе не
выше 100 кА при умеренном расходе технологической электроэнергии и электродов.
Высокое печное пространство около 4,5 м над зеркалом ванны (в 1,5 раза
повышает соответствующую высоту на печи ДСП-180) предусмотрена для одноразовой
завалки шихты, а также для того, чтобы использовать его в качестве
"шахты" для нагрева столба металлошихты печными газами.
Альтернативные источники энергии (топливные горелки) служат
вспомогательным средством интенсификации плавки, их тепловая мощность
составляет 10...12% вводимой в печь активной электрической мощности. Это
отражает современные тенденции по сокращению выбросов SO2 из металлургических агрегатов с учетом платы за квоты
парниковых газов.
Комбинированная продувочная горелка представляет собой компактное
водоохлаждаемое устройство, в котором сочетается сжигание природного газа с
вдуванием углерода в струи кислорода. Направленный поток кислорода, подаваемый
со сверхзвуковой скоростью, окружается пламенем газокислородной горелки, при
этом пламя с высокой динамической вязкостью создает "завесу" в струе
кислородного потока и снижает потери его кинетической энергии. Поток кислорода
вдувается в пространство печи со сверхзвуковой скоростью 3,5 м/ч и не
раскрывается, оставаясь когерентным на расстоянии 2 м, что обеспечивает
эффективное проникновение кислорода через шлак в сталь и более полное его
использование по сравнению с погруженными фурмами.
Компактность конструкции и эффективность высокоскоростного кислородного
потока позволяют крепить горелку стационарно на боковой стенке печи на
специально сконструированных панелях, которые защищают горелку от повреждений
во время завалки лома. Шлаковое окно при продувке остается закрытым, подсос
воздуха в печь уменьшается, сокращаются потери тепла излучением.
Водоохлаждаемый инжектор угля, установленный на одной панели с горелкой RCB, поддерживает процесс вспенивания
шлака и способствует восстановлению FeО в шлаке. Конструкция обеспечивает хорошее перемешивание угольной пыли,
шлака и металла в струе кислорода, что сводит к минимуму излучения от дуги на
стены и свод и повышает эффективность использования энергии.
Другие инновационные изменения внесены в основную конструкцию печи
(механические узлы и оборудование, токоподвод, водоохлаждаемые элементы), а
также в робототехнические системы, средства измерения, инжекционные системы,
АСУТП, системы защиты окружающей среды.
Установки и системы, заложенные в конструкцию ДСП серии Ultimate, отработаны в промышленных условиях
и надежно эксплуатируются на разных печах во всем мире[2].
1.2 Тепловые
характеристики дуговой печи
В качестве тепловых характеристик принимают температуру внутренней
поверхности стен печи на уровне несколько выше шлака и мощность ее тепловых
потерь. Температура внутренней поверхности, с одной стороны, зависит от
подводимых к печи мощности и напряжения, а с другой - характеризует режим
теплообмена в рабочем пространстве печи. Кроме того, она связана с температурой
металла и шлака, то есть, с технологической стороной работы дуговой печи.
Мощность тепловых потерь дает возможность обоснованно выбирать рабочие режимы
дуговой печи, а также оценивать степень совершенства печи как теплового
металлургического агрегата[4].
Теплообмен в рабочем пространстве дуговой печи резко различается в
отдельные периоды плавки в зависимости от особенностей подвода электроэнергии к
печи и состояния в ней шихты, металла и шлака. После выпуска предыдущей плавки
ток отключается, производятся заправка печи и загрузка шихты. При этом
температура внутренней поверхности падает вначале быстро, затем медленнее.
После загрузки шихты более нагретая, чем шихта, футеровка печи передает часть
своего тепла шихте. Процесс этот происходит и в начале периода плавления шихты
до тех пор, пока их температуры не сравняются. После прекращения передачи тепла
футеровки шихте температура внутренней поверхности начинает расти, несколько понижается
при поворотах печи и догрузке шихты и к концу периода плавления достигает
уровня порядка 1200 -1300 °С.
В начале периода плавления (этап 1) подводимые мощность и напряжение
несколько снижают, чтобы не "поджечь" футеровку свода, вблизи которой
горят электрические дуги. Более значительно снижают эти величины в конце
периода плавления (этап 4), так как в это время электрические дуги открыты и
излучают значительное количество тепла на стены печи. В течение этапов
плавления 2 и 3 электрические дуги закрыты шихтой, могут быть длинными и
выделять очень большое количество тепла без всякого вреда для футеровки печи.
В периоды окисления и восстановления температура футеровки продолжает
нарастать, хотя подводимые мощности и напряжения постепенно снижаются; это
объясняется тем, что для нагрева металла и шлака требуется сравнительно немного
тепла. При удалении шлака наблюдается наибольшее снижение температуры
футеровки. При окислении металла шлак пенистый и это позволяет применять
несколько повышенные напряжения (ступени 20 и 21). В восстановительный период
дуги открыты, излучают большое количество тепла на стены и свод, поэтому в этот
период следует работать на пониженных напряжениях (ступени 22 и 23) и коротких
дугах[5].
Тепло, аккумулированное футеровкой, частично расходуется на покрытие
тепловых потерь печи во время заправки и завалки, частично передается холодной
шихте. При установившемся тепловом режиме сумма этих двух частей
аккумулированного тепла восполняется за счет электроэнергии в течение плавки,
начиная приблизительно со второго этапа плавления и до конца восстановительного
периода.
Тепловые потери дуговых печей значительно превосходят электрические
потери, и их величина зависит от конструкции рабочего пространства печи, ее
емкости и особенностей технологического процесса плавки. Для печей малой
емкости они составляют около 45%, а для печей большой емкости около 30% от
расхода электроэнергии на плавку.
Тепловые потери растут по мере износа футеровки, и поэтому существует
"экономический" предел срока службы футеровки, при достижении
которого стоимость дополнительного расхода электроэнергии начинает превосходить
экономию, получаемую в результате удлинения срока службы футеровки. Наиболее
эффективными для уменьшения тепловых потерь печи являются регулирование расхода
и температуры охлаждающей воды, герметизация всех отверстий печи, применение
тепловой изоляции футеровки печи и окраска наружных поверхностей стен и пода
печи алюминиевой краской, сокращение продолжительности загрузки шихты,
тщательное закрывание рабочих окон печи и ограничение продолжительности их
открывания, недопущение перегрева поверхностей электродов[6].
2. ФУНКЦИОНАЛЬНАЯ СХЕМА АВТОМАТИЗАЦИИ
ДСП-180
Функциональная схема автоматизации ДСП-180 приведена на схеме
Д.А.220200.005.БР.10.СЗ.
Система автоматизации предназначена для управления технологическим,
тепловым и электрическим режимами дуговой сталеплавильной печи. Система
представляет собой двухуровневую АСУ ТП. Нижний уровень автоматизации
представлен локальными контурами с использованием для управления
микропроцессорного контроллера Simatic S7 400. Верхний
уровень автоматизации реализован на базе универсального вычислительного
комплекса УВК, в котором по математическим моделям рассчитываются основные
технологические параметры плавки, параметры работы печи, а также УВК формирует
задающее воздействие контурам. УВК обеспечивает визуализацию параметров
технологического процесса и ведет сбор информации о плавке для хранения в базе
данных.
В теплообмене с электрическими дугами принимает участие внутренняя
поверхность футеровки печи и относительно тонкий примыкающий к поверхности слой
толщиной 10-20 мм. Скорость износа футеровки определяется температурой
указанного слоя и поэтому существует необходимость ее измерения. Одним из
способов является измерение температуры футеровки с помощью термопар,
вставляемых через металлическую трубу, замурованную в кладке во время ремонта.
Спай термопары с защитным колпачком выступает в рабочее пространство на 5-20
мм. Для измерения температуры жидкой стали в печи используются термопары
погружения периодического действия со сменным измерительным блоком одноразового
использования.
Для определения массы стали в ковше, применяются крановые весы, поз. 33а.
В траверсы крановых весов встраиваются силоизмерительные датчики, информация от
которых обрабатывается электронным устройством весов, индицируется в основной
форме и передается в ЭВМ.
Система водяного охлаждения. Так как все элементы печи работают в
условиях больших температур, то для предохранения от выхода из строя этих
элементов предусмотрено их охлаждение водой. Водяное охлаждение предусмотрено
для кожуха печи, свода, отводящего патрубка, сильноточной системы, кислородной
фурмы, а также орошение водой электродов. Для охлаждения конструкций печи и
кислородной фурмы используются два разных трубопровода, так как в этих
трубопроводах разное давление воды (для печных конструкций 4·105 Па,
для кислородной фурмы 8·105 Па).
Печные конструкции (охлаждение). 15 - температура воды на входе для
охлаждения конструкций печи измеряется термометром сопротивления, поз. 12а,
типа РТ 100;
Кислородная фурма (охлаждение). 19 - температура воды на входе для
охлаждения кислородной фурмы измеряется термометром сопротивления, поз. 15а,
типа РТ 100; 21,22 - измеряется и регулируется расход охлаждающей воды на
кислородную фурму. Для измерения расхода используется расходомер, поз. 19а,
типа Proline Prowil-72 El8,
для преобразования сигнала используется преобразователь объемного расхода Proline Prowil-72 T26,
затем электрический сигнал поступает на микропроцессорный контроллер, поз. РМК,
типа Simatic S7 400, и далее сигнал поступает на УВК, где вычисляется
необходимый расход охлаждающей воды на кислородную фурму. УВК формирует
задающее воздействие контроллеру, поз. РМК, типа Simatic S7 400, который на выходе формирует сигнал управляющего
воздействия. Далее сигнал поступает на клапан регулирующий электромагнитный AГT-71DN150,
изменяя расход воды.
Защита пода печи от перегрева. 9 - для предотвращения прогара подины
измеряют температуру в трех точках напротив концов электродов
термоэлектрическим преобразователем поз. 7а, типа SAB Brockskes K(NiCr/Ni) и в случае превышения определенного
значения температуры, УВК формирует аварийный сигнал.
, 72 - измерение и управление расходом кислорода. Для измерения расхода
используется расходомер, поз. 26а-1, типа Proline Prowil-72 E18,
для преобразования сигнала используется преобразователь объемного расхода, поз.
26б, типа Proline Prowil-72 WT26,
затем сигнал поступает на микропроцессорный контроллер, поз. РМК, типа Simatic S7 400, и далее электрический сигнал поступает на УВК, где
вычисляется необходимый расход кислорода на продувку с учетом параметров
плавки. УВК формирует задающее воздействие контроллеру, поз. РМК. Далее сигнал
поступает на клапан регулирующий электромагнитный AГT-71DN150, изменяя расход кислорода.
Химический состав стали и шлака. Определение химического состава стали
имеет определяющее значение, потому что от состава стали зависит её марка и
свойства. Определяющую роль в химическом составе для ведения технологического
процесса получения стали с заданными свойствами, является процентное содержание
таких элементов, как: кислород, фосфор, сера, углерод и др.
- химический состав металла и шлака определяют в экспресс-лаборатории
путем анализа доставленных туда проб. Химический экспресс-анализ ведут с
помощью химическою анализатора, поз. 5а, типа Multi Lab Celox.
Газоотводящий патрубок, регулирование давления в печи. При выплавке стали
в ДСП, на каждую тонну стали образуется 70-80 м3 газов, содержащих
25-30 г/м3 пыли (при продувке ванны кислородом до 50 г/л3)
и вредные примеси: СО, СО2, оксиды азота, цианиды и фториды. Поэтому
на крупных печах для предотвращения вредных выбросов в атмосферу цеха применяют
системы принудительного отсоса дымососом и очистки отходящих газов.
- системой измеряется температура отходящих газов термоэлектрическим
преобразователем, поз. 32а, типа SAB Brockskes K(NiCr/Ni).
,70 - измеряется и регулируется давление в печи. Для исключения подсоса в
печь холодного воздуха, а также выбиваний из печи продуктов сгорания в печи на
уровне свода поддерживают небольшое избыточное давление (порядка 30-50 Па)
путем изменения положения заслонки в патрубке для отводящих газов. Давление в
печи измеряется преобразователем избыточного давления, поз. 25а, типа Gerabar Т РМР 131 А101 В71, затем сигнал
идет на микропроцессорный контроллер, поз. РМК, типа Simatic S7 400, и далее электрический сигнал поступает на УВК. УВК
формирует задающее воздействие контроллеру, поз. РМК. Далее сигнал поступает на
клапан регулирующий электромагнитный AГT-71DN150, поз. 25б, который соединен заслонкой, которая регулирует
отвод отходящих газов из печи.
Для интенсификации процесса плавления применяют систему газокислородных
горелок. Они могут работать в режиме фурмы (режим устанавливается оператором
путем задания системе вида режима, а УВК формирует определенное соотношение
газ-кислород). Принцип действия следующий: основной поток кислорода направлен в
ванну. Одной высокой кинетической энергии вдуваемого газа не достаточно для поддержания
когерентного потока на требуемой длине. Для формирования когерентной струи
необходимо направлять поток кислорода другой средой. Это обеспечивается газовым
потоком, который окружает кислородный поток и поступает по внешнему контуру
сопла. Благодаря такой комбинации окружающий газ действует как
"рубашка", и основной поток остается сосредоточенным на расчетной
длине.
,28,29,30 - измеряется и регулируется расход газа и кислорода на горелку.
Контролируется расход газа и кислорода на горелку с использованием расходомера,
поз. 21а, типа Proline
Prowil-72 E18 для газа, и поз. 22а, типа Proline Prowil-72 El8
для кислорода. Для измерения расхода используются преобразователи расхода газа,
поз. 21б и поз. 32б, типа Proline Prowil-72 WT26 и далее электрические сигналы
поступают на микропроцессорный контроллер, поз. РМК, типа Simatic S7 400, затем поступают на УВК. В зависимости от выбранного
оператором режима работы газокислородной горелки, УВК формирует определенное
соотношение газ-кислород и подает этот сигнал на микропроцессорный контроллер,
поз. РМК, типа Simatic
S7 400, сигналы с контроллера
поступают на клапан регулирующий электромагнитный АГТ-71DN150, поз. 21в и поз. 22в, которые
регулируют расход газа и кислорода.
- для предотвращения аварийных ситуаций в трубопроводах измеряются
давление кислорода и газа измерительными преобразователями давления, типа Gerabar Т РМР 131 А101 В71, поз. 23а-1 и
поз. 23а-2, затем электрические сигналы поступают на микропроцессорный
контроллер, поз. РМК, типа Simatic S7 400, и далее
сигналы поступают на УВК, В случае превышения давления кислорода или газа,
срабатывает аварийная сигнализация, и микропроцессорный контроллер, поз. РМК,
типа Simatic S7 400 вырабатывает сигнал на отсечку кислорода и газа в
трубопроводах при помощи отсечных клапанов, поз. 23 в-1 и поз. 23в-2.
Дотирование добавок. Автоматическое регулирование подачи добавок
осуществляется следующим образом: в бункере регулируется уровень засыпи (не
ниже допустимого).
,2 - для измерения уровня используются преобразователи уровня, поз. 1а,
поз. 2а, типа Prosonic FMU 131. В заданный момент времени по сигналу от УВК
затвор бункера открывается посредством управляющего сигнала микропроцессорного
контроллера, поз. РМК, типа Simatic S7 400, сигнал с
которого идет на усилитель, типа ПБР, а затем на исполнительный механизм, типа
МЭО-1000/63-0,25 и материал попадает в дозатор, где происходит непрерывное
взвешивание до набора нужной дозы.
,5 - измеряется вес сыпучих в дозаторе. Взвешивание происходит с помощью
платформенных тензометрических весов, поз. За, поз. 5а, типа СAS HBS 500L, с
которых сигнал поступает на нормирующий преобразователь тензодатчиков, поз.Зб,
поз. 4б, типа ПНТ, и далее унифицированный электрический сигнал о массе
поступает на пульт оператора. После этого затвор бункера закрывается.
Система угольной инжекции. Обеспечивает вспенивание шлака и способствует
длительному поддержанию дуги. А также позволяет в случае необходимости
науглероживать металл.
,84 - измеряется и регулируется расход пылеугольного топлива. Измеряется
расход при помощи расходомера, поз. 29а-1, типа Proline Prowil-72 El8,
затем сигнал поступает на преобразователь расхода, 28б-1, типа Proline Prowil-72 WT26,
затем электрические сигналы поступают на микропроцессорный контроллер, поз.
РМК, типа Simatic S7 400, и далее сигналы поступают на УВК, затем УВК выдает
сигнал контроллеру, контроллер формирует управляющее воздействие, сигнал
которого поступает на клапан регулирующий электромагнитный AГT-71DN150,
поз. 28в-1.
- измеряется вес угля в камере диспергатора при помощи устройства
взвешивания, поз. 31а-1, типа CAS HBS 500L.
- управление дозированием угля в камеру. Из бункера, где находится
углесодержащий материал (карбюризатор), по сигналу от УВК посредством затвора
бункера, управляемого исполнительным механизмом, поз. 46а, типа
МЭО-1000/63-0,65, карбюризатор попадает в диспергатор пылеугольного топлива
(камера объемом 1000 л).
Электрические параметры, связанные с выплавкой стали. Регулирование
электрического режима осуществляется при помощи системы управления электродами
для трехфазных электродуговых печей ArCOS. Технически система ArCOS
выполнена в виде промышленного ПК со специализированным программным
обеспечением. Внутри промышленного ПК имеется плата для сбора измеряемых
значений и для расчета эффективных значений тока и напряжения и др. величин.
Эти значения после обработки передаются в программное обеспечение ArCOS. Передача данных во внешнюю систему
визуализации возможна через последовательный канал связи. Программное
обеспечение ArCOS обеспечивает несколько потоков,
которые отвечают за регулирование, визуализацию, коммуникацию и т. д. Линия
регулирования работает с наивысшим приоритетом и циклически опрашивается через
каждые 20 мсек. Линия визуализации работает с меньшим приоритетом и вызывается
каждые 50 мсек. Все остальные потоки работают с низким приоритетом и выполняют
административно-коммуникационные задачи. Весь процесс управления электродами
происходит в реальном времени.
- измеряется вторичное напряжение. Оно измеряется на короткой сети при помощи
измерительного трансформатора напряжения, поз. 35в, типа Ritz-Messhandler1200В/100В/15ВА/50Гц/С1.0.5, далее
сигнал нормируется нормирующим преобразователем ПЗ, поз.35г, а потом поступает
на вход системы ArCOS.
- измеряется вторичный ток. На короткой сети измеряется вторичный ток при
помощи катушки Роговского, поз. 35а, сигнал, пропорциональный току, поступает
на вход интегратора Роговского, поз. 35б, и далее на вход системы ArCOS. Системой ArCOS рассчитываются значения активной и реактивной
мощности.
- измеряется ток на высокой стороне трансформатора (первичный). Ток
измеряется при помощи измерительного трансформатора тока, поз. 37а-1, типа ТС
12, затем сигнал идет на ArCOS.
- измеряется напряжение на высокой стороне трансформатора (первичное).
Напряжение измеряется при помощи измерительного трансформатора напряжения, поз.
37в-1, типа ЗНОД 35Б, затем нормированный преобразователем напряжения НПН, поз.
37г-1, сигнал идет на ArCOS.
3. СТРУКТУРНАЯ СХЕМА УПРАВЛЕНИЯ
ЭНЕРГЕТИЧЕСКИМ РЕЖИМОМ ДСП-180
Структурная схема управления энергетическим режимом ДСП-180 приведена на
схеме Д.А.220200.005.БР.С2. Ее упрощенный вариант изображен на рисунке 3.1.
ПТ - печной трансформатор; ПСН - переключатель ступеней напряжения; УПСН
- устройство привода переключателя ступеней напряжения; ПН - преобразователь
напряжения; ПТ - преобразователь тока; РМК - регулирующий микропроцессорный
контроллер; УВМ - управляющая вычислительная машина (промышленный компьютер);
УМ - усилитель мощности; ИМ - исполнительные механизмы привода перемещения
электродов; РО - реле отключения движения электродов;r, x - активное
индуктивное сопротивление короткой цепи.
Рисунок 3.1 - Структурная схема автоматического
управления энергетическим режимом ДСП-180
Автоматическое управление электрическим режимом и оптимизация управления
энергетическим режимом осуществляется с использованием микропроцессорного
контроллера SIMATIC S7-300 (400) и промышленного компьютера (УВМ).
Преобразование текущих измеряемых значений Uп и Iр(τ),
расчет значений РА(τ)
и РД(τ),
передача информации в
УВМ и непосредственное управление перемещением электродов в каждой фазе
осуществляет регулирующий микропроцессорный контроллер (РМК).
Задачей УВМ является осуществление оптимизации управления энергетическим
режимом ДСП-180 в соответствии с принятым объектом автоматического управления
(ОАУ) и выбранным критерием управления (РД(τ)max).
Одновременно УВМ осуществляет визуализацию технологического процесса
доводки стали и формирование протокола обработки каждой плавки в базе данных.
Схемой предусмотрена возможность перехода на режим дистанционного
(ручного) управления перемещением электродов каждой фазы.
РМК определяет наличие дуги в каждой фазе: если текущее значение тока
фазы равно нулю, дуга отсутствует, то начинает реализацию процедуры зажигания
дуги путем быстрого перемещения электрода вниз до касания с металлом.
При касании одним электродом металла, если при этом любой из двух других
электродов еще не коснулись металла, ток дуги будет равен нулю, но напряжение
фазы относительно земли существенно уменьшится и срабатывание реле отключения
(РО) остановит электрод, если не сработает условие падения напряжения
относительно земли при коротком замыкании электрода фазы на общую точку.
При касании металла любым другим электродом в цепи обоих электродов
возникнут режимы технологических коротких замыканий. РМК сформирует команду на
подъем электрода и произойдет зажигание дуги в обеих фазах.
После реализации процедуры зажигания дуги микропроцессорный контроллер
обеспечивает перемещение электродов во всех фазах вверх до директивно заданной
рабочей зоны значений рабочих токов на повышенной скорости.
РМК непрерывно контролирует наличие дуги или возникновение
технологических коротких замыканий.
При обнаружении обрыва дуги или технологического короткого замыкания РМК
выставляет значение флага равное нулю.
Это означает запрет на реализацию режима оптимизации и переход
контроллера в режимы зажигания дуги (при ее обрыве) или ликвидации
технологического короткого замыкания.
После зажигания дуги и вывода электрического режима в директивно заданную
зону РМК вновь передает управление энергетическим режимом (выставляет флаг,
равный единице) системе автоматической оптимизации в соответствии с
используемым ОАУ[2].
4. ПРИНЦИПИАЛЬНАЯ ЭЛЕКТРИЧЕСКАЯ СХЕМА
УПРАВЛЕНИЯ ЭНЕРГЕТИЧЕСКИМ РЕЖИМОМ ДСП-180
Принципиальная электрическая схема управления энергетическим режимом
ДСП-180 приведена на схеме Д.А.220200.005.БР.10.Э0.
На клеммы 2 - 9 микропроцессорного контроллера, поз. РМК, поступает 4 сигнала:
вторичный ток с катушки Роговского, поз. 35а-1, вторичное напряжения с
трансформатора напряжения Ritz-Messhandler, поз.35в-1, первичный ток с
трансформатора тока ТС12, поз. 37а-1, и первичное напряжение с первичного
трансформатора напряжения ЗНОЛ 35Б, поз. 37в-1. С клемм 3, 4 преобразователя давления Cerabar T PMP 131 A101 B71, поз. 36а-1, на клеммы 12, 13
микропроцессорного контроллера, поз. РМК поступает сигнал, пропорциональный
давлению в цилиндре, который перемещает электрод. Одновременно все перечисленные сигналы поступают на ЭВМ, поз. ЭР,
который, проанализировав все данные, отправляет на вход микропроцессорного
контроллера сигнал задания. Автоматический сигнал с регулирующего
микропроцессорного контроллера, поз. РМК, или ручной сигнал, полученный с ЭВМ,
поз. ЭР, через клеммно-блочный соединитель КБС-21 поступает на блок усиления
мощности БУМ-20. Сигнал с блока усиления мощности
БУМ-20 поступает в устройство перемещения электродов Bosch RexrothAG 4WREE, поз. 35д-1, которое представляет собой золотниковый
гидрораспределитель. В зависимости от сигнала он может двигаться влево - сигнал
"меньше" - давление в цилиндре уменьшается, электрод движется вниз,
или вправо - сигнал "больше" - давление в цилиндре увеличивается,
электрод движется вверх. Если сигнала нет, золотниковый гидрораспределитель,
поз. 35д-1, переходит в среднее положение, при котором электрод переходит в
неподвижное состояние. Существует режим повышенных скоростей, при котором
увеличивается диаметр пропускного отверстия и в цилиндр поступает больше масла.
5. АППРОКСИМАЦИЯ СТАТИЧЕСКОЙ
ХАРАКТЕРИСТИКИ ОБЪЕКТА УПРАВЛЕНИЯ МЕТОДОМ НАИМЕНЬШИХ КВАДРАТОВ
5.1 Анализ
характеристик дуговой сталеплавильной печи
Максимальная производительность ДСП, особенно в энергетический период
плавки, достигается при максимальном значении электрической мощности,
выделяемой в дуге Рд. Но поскольку данный параметр недоступен для
прямого контроля, его можно получить расчетом в соответствии с уравнением
(5.1):
(5.1)
где Pд(t)- текущее значение мощности дуги, Вт; а(t)- активная мощность, Вт;
Рпэ(t)-мощность электрических потерь, Вт.
В свою очередь, значения активной мощности Pa(t) и мощности электрических потерь Рnэ(t)
можно определить по формулам (5.2) и (5.3):
(5.2)
(5.3)
где I - величина рабочего тока, А;
Uф - напряжение фазы печи, В;
х - реактивное сопротивление печи, Ом;
r -
активное сопротивление печи, Ом.
Производительность ДСП можно рассчитать по формуле (5.4):
(5.4)
где 340 это количество энергии, необходимое для расплавления 1 т стали,
кВт·ч/т.
Мощность, выделяемая в дуге, Pд, зависит
от величины напряжения и при фиксированной ступени напряжения определяется величиной
тока дуги (длиной дуги)[7].
Расчетные рабочие характеристики, определяющие зависимости мощности дуги Pд от величины рабочего тока дуги I для 180 т ДСП при x=0,007 Ом, r=0,002 Ом и UФ=800 В представлены на рисунке 5.1.
Рисунок 5.1 - Рабочая характеристика 180 т ДСП при ступени напряжения U = 800 В и производительность печи G
Мощность Рд при выбранном напряжении питания Uф характеризуется наличием максимума Рдmax, смещенного в сторону меньших
рабочих токов относительно максимальной активной мощности Ратах.
5.2
Аппроксимация статической характеристики методом наименьших квадратов
Для математического описания статических экстремальных характеристик
оптимизируемого процесса используются полученные с применением методов
математической статистики регрессионные уравнения вида (5.5):
(5.5)
Суть метода наименьших квадратов заключается в том, чтобы для всего
интервала изменения аргумента выполнялось условие (5.6):
(5.6)
где n - число экспериментальных пар;
Yi- экспериментальное значение при Х=Хi;
Y-(Xi) - ордината линии регрессии при X=Xi.
Так как статическая характеристика нелинейная, то для
получения уравнения статической характеристики можно использовать полином
третьей степени. Тогда аппроксимирующий многочлен будет иметь вид (5.7):
сталеплавильный печь сталь энергетический
(5.7)
Следует при этом учитывать, что линия регрессии
обладает свойством интерполяции, но не обладает свойством экстраполяции, т.е.
вне заданного диапазона изменения входного параметра полученный многочлен не
будет соответствовать действительному виду статической характеристики.
Коэффициенты полинома определяются из решения системы
уравнений (5.8):
(5.8)
Аппроксимируем статическую характеристику Рд=f(Iд) методом
наименьших квадратов для ступени трансформатора U=800B.
Расчет сумм для определения коэффициентов уравнения регрессии приведен в
таблице 5.1. Расчет производился с помощью средств программного пакета Excel.
Таблица 5.1 - Расчет сумм для определения коэффициентов уравнения
регрессии
|
I,kA
|
Рд,МW
|
xy
|
Х2у
|
Х3у
|
Х2
|
Х3
|
Х4
|
Х5
|
х6
|
|
0
|
0
|
0
|
0
|
0
|
0
|
0
|
0
|
0
|
0
|
|
12
|
5,4476
|
65,3712
|
784,4544
|
9413,453
|
144
|
1728
|
20736
|
248832
|
2985984
|
|
24
|
10,61226
|
254,6943
|
6112,664
|
146703,9
|
576
|
13824
|
331776
|
7962624
|
1.91Е+08
|
|
36
|
15,34902
|
552,5648
|
19892,33
|
716124
|
1296
|
46656
|
1679616
|
60466176
|
2.18Е+09
|
|
48
|
19,49968
|
935,9847
|
44927,26
|
2156509
|
2304
|
110592
|
5308416
|
2.55Е+08
|
1,22Е+10
|
|
60
|
22,88279
|
1372,967
|
82378,04
|
4942682
|
3600
|
216000
|
12960000
|
7,78Е+08
|
4.67Е+10
|
|
72
|
25,27761
|
1819,988
|
131039,1
|
9434818
|
5184
|
373248
|
26873856
|
1.93Е+09
|
1.39Е+11
|
|
84
|
26,39503 j
|
2217,182
|
186243,3
|
15644438
|
7056
|
592704
|
49787136
|
4.18Е+09
|
3.51Е+11
|
|
96
|
25,81618
|
2478,353
|
237921,9
|
22840500
|
9216
|
884736
|
84934656
|
8.15Е+09
|
7.83Е+11
|
|
108
|
22,83368
|
2466,037
|
266332
|
2528763857
|
11664
|
1259712
|
1.36Е+08
|
1.47Е+10
|
1.59Е+12
|
|
120
|
15,86166
|
1903,399
|
228407,9
|
27408942
|
1728000
|
2.07Е+08
|
2.49Е+10
|
2.99Е+12
|
|
130,639
|
0,001479
|
0,19324
|
25,24471
|
3297,944
|
17066,548
|
2229557
|
2.91Е+08
|
3.81Е+10
|
4.97Е+12
|
|
|
|
|
|
|
|
|
|
|
|
790,639
|
189,977
|
14066,73
|
1204064
|
1.12Е+08
|
72506,548
|
7456757
|
8.17Е+08
|
9.3Е+10
|
1.09Е+13
|
Используя данные из таблицы 5.1 составим систему уравнений:
Коэффициенты уравнения линии регрессии определим по методу Крамера,
используя средства программного пакета Mathcad. В
результате расчета получаем следующие коэффициенты:
А=1 210 326,535453800 b=574,107323836
c=0,005478383 d=-0,000000096.
Искомое уравнение статической характеристики (линии регрессии) будет
иметь вид:
у = 1 210 326,535453800 + 574,107323836X + 0,005478383X2 - 0,000000096X3,
где у - мощность, выделяющаяся в дуге, Вт;
x -
рабочий ток дуги, А.
На рисунке 5.2 и на схеме Д.А.220200.005.БР.10.ВО рисунок 1 приведена
полученная аппроксимированная статическая характеристика оптимизируемого
процесса.
В результате выполнения аппроксимации получили уравнение статической
характеристики при ступени напряжения U = 800. Можно сделать вывод, что уравнение получено с необходимой
точностью[2].
Рисунок 5.2 - Аппроксимация статической характеристики оптимизируемого процесса
6. ОПТИМИЗАЦИЯ ЭНЕРГЕТИЧЕСКОГО РЕЖИМА
ЭЛЕКТРОДУГОВОЙ ПЛАВКИ С ЦЕЛЬЮ ОБЕСПЕЧЕНИЯ МАКСИМАЛЬНОЙ ПРОИЗВОДИТЕЛЬНОСТИ ПЕЧИ
6.1 Выбор
системы автоматического управления
Поскольку текущий вид зависимости Рд = f(I) конкретной плавки в реальных условиях неизвестен, то для
оптимизации электрического режима ДСП следует использовать САО. В САО
используется поисковый режим работы, что обеспечивает высокий интеллектуальный
уровень управления в условиях недостаточной информации о текущем состоянии
оптимизируемого процесса[7].
Применение свободно программируемых микропроцессорных контроллеров
позволило создать эффективные, программно реализуемые, помехоустойчивые ОАУ,
полностью исключающие автоколебательные (периодические), поисковые, предельные
режимы работы САО, характерные для ранее разработанных систем.
Учитывая специфические условия изменения
контролируемых электрических параметров при электроплавке (высокочастотные
помехи и резкие возмущения при переключении ступеней напряжения), для
оптимизации электрического режима наиболее целесообразно использовать систему с
запоминанием максимума скорости выходного параметра[8].
6.2 Система
автоматического управления с запоминанием максимума скорости выходного
параметра
САО с запоминанием экстремума скорости выходного
параметра и остановкой ИМ при достижении максимума скорости приведена на схеме
Д.А.220200.005.БР.10.С1. и представлена на рисунке 6.1.
Рассмотрим принцип действия системы регулирования.
Текущее значение входной величины X(τ) подается на вход звена, имитирующего
экстремальную статическую характеристику объекта управления (ОУ) затем на два
звена, имитирующие инерционные свойства объекта. Одно из звеньев дополнительно
реализует фильтр низких частот для подавления высокочастотной составляющей
выходного сигнала Z(τ). Отфильтрованная выходная величина Z(τ) с ОУ подается на дифференцирующее
устройство (ДУ), которое на выходе формирует сигнал, пропорциональный первой
производной от входного сигнала рабочего тока дуги.
Рисунок 6.1 - Структурная схема системы оптимизации
управления энергетическим режимом ДСП-180
Сигнал с выхода ДУ
подается одновременно на
запоминающее устройство (ЗУ) и элемент сравнения (ЭС). Запоминающее устройство
САО запоминает только максимальное значение сигнала. На элементе сравнения (ЭС)
формируется сигнал пропорциональный разнице между текущим значением скорости
изменения выходного сигнала
и максимальным значением
, запомненным в прошедший момент
времени, т.е.
.
Сигнал разности
подается на вход сигнум-реле (СР) и
сравнивается с величиной зоны нечувствительности СР
. На выходе СР формируется
управляющий импульс U, определяющий
закономерность формирования текущего значения переключающей функции σ
в соответствии с
условиями (6.1) и (6.2):
При 
(6.1)
При
(6.2)
Импульс U(τ)=-1 перебрасывает триггер реверса ТР и
одновременно сбрасывает запомненное максимальное значение в ЗУ. В результате на
выходе ЗУ устанавливается текущее значение скорости изменения выходного
параметра ОУ.
ТР формирует сигнал переключающей функции,
определяющий текущее направление изменения входного параметра Х(τ)
в соответствии с
условием:
При U=+1 στi+1=στi - сохранить выбранное направление
изменения Х(τ);
При U=0 στi+1=0 - остановить ИМ, при этом реле
отключения РО блокирует ИМ;
При U=-1 στi+1= - στi - выбранное направление изменения Х(τ)
изменить на
противоположное (произвести реверс ИМ).
В качестве исполнительного устройства выбран
исполнительный механизм постоянной скорости, характеризуемый скоростью полного
хода Ки, являющейся параметром настройки системы.
В схеме предусмотрено стабилизирующее устройство СУ
принудительного реверса через время Тр после остановки ИМ при
>0. Интервал времени Тр=4-5Т0
называется периодом коммутатора поверочных реверсов. При срабатывании
коммутатора происходит сброс максимального значения с ЗУ и
. Запоминание максимального значения
скорости изменения выходного сигнала начинается заново. После реверса в течение заданного интервала времени Δτв=0,1-0,3То (на время выдержки сигнум-реле),
запрещается повторный реверс. В период времени выдержки ЗУ блокировано и
, т.e.
=0. Для устранения колебательного режима
по мере приближения к экстремуму предусмотрено дополнительное условие остановки
ИМ, суть которого заключается в следующем: После
принудительного реверса в САО возможно установление периодического
(симметричного относительно Хопт) колебательного режима. Если запомнить величины значений рабочего тока,
соответствующих точкам с абсциссами X1 и
X2, где dZ/dτ или dZ/dx равны нулю и
при достижении точки с абсциссой Х1+(Х2-Х1)/2
остановить ИМ, то будет достигнуто оптимальное состояние системы Хопт. Если координаты Х1 и Х2 или повторяются
в течение двух циклов, то принять Х(τ)=Х1+(Х2-Х1)/2
и σ(τ+1)=0 т.е. остановить ИМ. В виде системы уравнений математическая модель САО будет
иметь вид:
Х(τ) = Х0 +σ(τ)∙Ки∙τ. (6.3)(X(τ)) = a0 + a1
X(τ) + a2 X(τ)2 + a3
X(τ)3 + a4
X(τ)4. (6.4)о∙dZ1/dτ
- Z1(τ) = Y(X(τ)). (6.5)
τз∙dZ/dτ
- Z(τ) = Z1(τ). (6.6)
при dZ/dτ ≥ 0
(6.7)
при dZ/dτ < 0
. (6.8)
При U=+1 στi+1=στi :сохранить выбранное направление
изменения Х(τ);
При U=0 στi+1=0 : остановить ИМ;
При U=-1 στi+1=-
στi:
произвести реверс исполнительного механизма[10].
7. РАСЧЕТ ПЕРЕХОДНОГО ПРОЦЕССА
7.1
Контрольный расчет начального участка переходного процесса
Ручной расчёт переходного процесса по технологиям
Эйлера для первых десяти точек проводился при следующих начальных условиях:
- U= 800 В;
- I = IКЗ = 130,639 кА;
- КИ =412,5 кА/с;
-
= 0,01 с.;
- r = 0,002 Ом;
- x = 0,007 Ом.
7.2 Расчет переходного процесса на ЭВМ
Для выполнения анализа влияния различных факторов и
параметров САО на переходный процесс расчет траектории поискового режима
целесообразно выполнять на ЭВМ. В данном варианте
курсового проекта для расчета переходных процессов используется программа max_remember.pas, написанная на языке программирования Borland Pascal. Рассчитаем при
помощи программы десять точек переходного процесса для тех же начальных
условий, что и в предыдущем пункте и сравним полученные результаты в таблице
7.1.
Таблица 7.1 - Сравнение данных при ручном и программном расчете
|
|
Ручной расчёт Z2( )
|
Программный расчёт Z2( )
|
|
0
|
104,477
|
104,477
|
|
0,001
|
104,477
|
104,477
|
|
0,002
|
104,477
|
104,477
|
|
0,003
|
104,147
|
104,147
|
|
0,004
|
103,3887
|
103,3887
|
|
0,005
|
102,2047
|
102,2047
|
|
0,006
|
100,6392
|
100,6392
|
|
0,007
|
98,7477
|
98,7477
|
|
0,008
|
96,5852
|
96,5852
|
|
0,009
|
94,2008
|
94,2008
|
Соответствие результатов говорит о правильности
выполнения программы на начальном этапе.
7.3
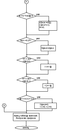
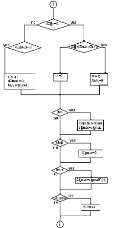
Блок-схема алгоритма оптимизации энергетического режима ДСП-180
Краткое описание используемых переменных:
- t[i] - текущее время;
- X[i] - текущее значение входной величины;
- Х[0] - начальное значение входной
величины в момент времени t[0];
- sigma - значение переключающей функции;
- Sigma - переменная хранящая значение
переключающей функции до остановки ИМ;
- tk - время выдержки после остановки ИМ,
по достижении которого осуществляется поверочный шаг;
- tv - время выдержки сигнум-реле;
- Y[i] - значение выходной величины после статического звена в
момент времени t[i];
- Z1[i] - значение выходной величины после инерционного звена 1
порядка в момент времени t[i];
- Z[i] - значение выходной величины после звена запаздывания в
момент времени t[i];
- f(x,t) - уравнение
статической характеристики с учетом дрейфа;
- dZ1[i] - скорость изменения выходной величины после инерционного
звена в момент времени t[i];
- dZ[i] - скорость изменения контролируемой выходной величины после
звена запаздывания в момент времени t[i];
- dZmax - запомненное максимальное значение
скорости dZ;
- Кu - скорость ИМ;
- T1 - постоянная времени инерционного
звена;
- Т2 - время запаздывания;
- Zn - зона нечувствительности САО;
- U - значение управляющей функции;
Блок-схема алгоритма оптимизации энергетического
режима ДСП-180 представлена на рисунке 7.1.
7.4 Программа расчета переходного процесса в САО с
запоминанием максимума изменения выходной величины
Программа max_remember.pas предназначена для расчета переходного поискового
режима работы САО с запоминанием максимальной скорости выходного параметра и
остановкой ИМ в момент достижения максимальной скорости. В программе реализована возможность учета сложного дрейфа
статической характеристики. Для
предотвращения ложного реверса предусмотрено время выдержки сигнум-реле равное
0,2То в течении которого вводится запрет на реверс ИМ. Для повышения устойчивости поиска в САО, реализующей используемый
ОАУ в программе предусмотрен поверочный принудительный рабочий шаг или шаг с
реверсом через время, 3Tо после остановки ИМ.
Рисунок 7.1 - Блок схема алгоритма оптимизации
энергетического режима ДСП-180
Для предотвращения колебательного режима в области
экстремума оптимизируемого параметра предусмотрена остановка САО в точке
предполагаемого максимума[12].
Результатом выполнения программы является:
- построение таблицы рассчитанных
значений величин Х(τ),Y(τ), Z(τ)
и dZ(τ)/dτ;
- построение графика изменения во
времени входного X(t), выходного Z(t) и
установившегося Y(t) значений параметров в текущий
момент времени;
- построение траектории поискового
режима САО в осях X(τ)
- Y(τ),
Z(τ).
Текст рабочей программы расчета переходного процесса в
САО с запоминанием максимальной скорости выходного параметра приведен в
приложении А.
8. ИССЛЕДОВАНИЕ ВЛИЯНИЯ ПАРАМЕТРОВ
ДИНАМИЧЕСКОЙ НАСТРОЙКИ САО НА ПОКАЗАТЕЛИ КАЧЕСТВА ПЕРЕХОДНОГО ПРОЦЕССА
САО с запоминанием максимума скорости выходной
величины и с остановкой ИМ в момент достижения максимума для управления
энергетическим режимом имеет два параметра динамической настройки:
- Скорость изменения входной величины -
Ки, (кА) /с;
- Зона нечувствительности СЭР - ΔZн, Вт/c.
Оптимальные значения этих параметров будут
определяться исходя из показателей качества переходного процесса:
- Потеря на поиск - Zп, Вт;
- Время выхода СЭР на экстремум (время
поиска) - Тп, с;
- Размах поисковых колебаний - Ах,
кА.
Величина потери на поиск Zп определяется как разность между максимальным значением
выходного параметра в установившемся режиме Ymax и средним значением выходного
параметра Z(x) в пределах одного предельного цикла [12]. Графики исследования переходных процессов, фазовые портреты и
графики зависимости показателей качества от величины скорости ИМ и от зоны
нечувствительности представлены ниже.
На рисунках отображены не полностью фазовые портреты,
а только их увеличенная часть, что способствует более точному определению
показателей качества данного переходного процесса.
8.1
Исследование переходных процессов САО при отсутствии дрейфа статической
характеристики
Определим оптимальную скорость изменения входной
величины Ки при постоянной зоне нечувствительности ΔZн = 0,075 Вт/c. Расчетные траектории поискового
процесса СЭР для зоны нечувствительности ΔZн=0,075Вт/c и для разных значений скорости изменения входной величины Ки
приведены на рисунках 8.1 - 8.9.
Рисунок 8.1 - Расчётные траектории изменения во
времени входного Х(τ), выходного Z(τ) и установившегося Y(τ) значений параметров САО при ΔZн = 0,075Вт/с и Ки = 0,33∙103
кА/с
Рисунок 8.2 - Фазовый портрет САО при ΔZн = 0,05Вт/c и Ки = 0,1∙103 кА/с
Рисунок 8.3 - Расчётные траектории изменения во
времени входного Х(τ), выходного Z(τ) и установившегося Y(τ) значений параметров САО при ΔZн = 0,075Вт/с и Ки = 0,36∙103
кА/с
Рисунок 8.4 - Фазовый портрет САО при ΔZн = 0,075Вт/c и Ки = 0,36∙103 кА/с
Рисунок 8.5 - Расчётные траектории изменения во
времени входного Х(τ), выходного Z(τ) и установившегося Y(τ) значений параметров САО при ΔZн = 0,075Вт/с и Ки = 0,385∙103
кА/с
Рисунок 8.6 - Фазовый портрет САО при ΔZн = 0,075Вт/c и Ки =0,385∙103кА/с
Рисунок 8.7 - Увеличенная часть фазового портрета при ΔZн = 0,075Вт/c и Ки = 0,33∙103кА/с
Рисунок 8.8 - Увеличенная часть фазового портрета при ΔZн = 0,075Вт/c и Ки = 0,36∙103кА/с
Рисунок 8.9 - Увеличенная часть фазового портрета при ΔZн = 0,075Вт/c и Ки=0,385∙103кА/с
Для более точного определения показателей Zп и Ax приведены графики увеличенной верхней части фазового портрета. Сведем
показатели качества работы СЭР для ΔZн=0,075Вт/c и различных значений Ки при постоянной зоне
нечувствительности в таблицу 8.1.
Таблица 8.1 - Зависимость показателей качества от
изменения скорости ИМ
|
Ки
|
ΔZн
|
Тп
|
Zп
|
Ах
|
|
103кА/с
|
Вт/c
|
c
|
Вт
|
103∙кА
|
|
0,33
|
0,075
|
595
|
1,1
|
6,9
|
|
0,36
|
0,075
|
545
|
1,1
|
7,1
|
|
0,385
|
0,075
|
577
|
2,1
|
8,1
|
Из рисунка 8.10 видно, что при увеличении скорости ИМ
время выхода на экстремум Тп и величина потери на поиск Zn уменьшается, а затем увеличивается,
это объясняется тем, что при значительной скорости выходная величина в области
экстремума прежде чем остановиться делает три реверса, а при меньшей скорости -
два.
Рисунок 8.10 - Зависимость показателей качества работы
САО Zn, Тп и Ax от скорости изменения входного
параметра Ки
Для зоны нечувствительности ΔZн = 0,075Вт/c оптимальной скоростью ИМ является скорость Ки=0,36∙103кА/с.
Теперь определим влияние зоны нечувствительности на
показатели качества переходного процесса и покажем на рисунках 8.11 - 8.14.
Рисунок 8.11 - Расчётные траектории изменения во
времени входного Х(τ), выходного Z(τ) и установившегося Y(τ) значений параметров САО при ΔZн = 0,11Вт/с и Ки = 0,36∙103кА/с
Рисунок 8.12 - Увеличенная часть фазового портрета при
ΔZн = 0,11Вт/c и Ки
= 0,36∙103кА/с
Рисунок 8.13 - Расчётные траектории изменения во
времени входного Х(τ), выходного Z(τ) и установившегося Y(τ) значений параметров САО при ΔZн = 0,05Вт/с и Ки = 0,36∙103
кА/с
Рисунок 8.14 - Увеличенная часть фазового портрета при
ΔZн = 0,05°C/c и Ки = 0,36∙103кА/с
Из графиков, см. рисунки 8.11 - 8.14 определяем
показатели качества работы системы и сводим их в таблицу 8.2. График
зависимости показателей качества от зоны нечувствительности САО при постоянной
скорости ИМ представлен на рисунке 8.15.
Таблица 8.2 - Зависимость показателей качества от
изменения зоны нечувствительности при постоянной скорости ИМ
|
Ки
|
ΔZн
|
Тп
|
Zп
|
Ах
|
|
103 кА/с
|
Вт/c
|
c
|
Вт
|
103кА
|
|
0,36
|
0,05
|
522
|
0,8
|
6,1
|
|
0,36
|
0,075
|
545
|
1,1
|
7,1
|
|
0,36
|
0,11
|
563
|
1,7
|
8,2
|
По зависимости показателей качества от величины зоны
нечувствительности, изображенной на рисунке 8.15 видно, что при уменьшении зоны
нечувствительности время выхода на экстремум Тп, величина потери на
поиск Zn и размах поисковых колебаний Ах
уменьшаются. Однако уменьшение зоны нечувствительности приводит к уменьшению
диапазона поисковых колебаний входного параметра и к уменьшению времени выхода
на максимум.
Рисунок 8.15 - Зависимость показателей качества от
величины зоны нечувствительности ΔZн
В результате исследования переходных процессов в САО
при различных значениях зоны нечувствительности и различных значениях скорости
ИМ были получены оптимальные параметры настройки:
ΔZн =0,05 Вт/c;
Ки=0,36∙103(кА)/с.
Переходный процесс при оптимальных параметрах
настройки представлен на схеме Д.А.220200.005.БР.10.ВО рисунок 2.
Фазовый портрет при оптимальных параметрах настройки
представлен на схеме Д.А.220200.005.БР.10.ВО рисунок 3.
Полученные результаты характеризуют эффективность
работы САО в условиях отсутствия дрейфа статической характеристики
оптимизируемого процесса. Однако для окончательного выбора параметров настройки
САО необходимо исследовать поведение системы в условиях дрейфа статической
характеристики оптимизируемого процесса.
8.2 Исследование переходных процессов САО при наличии дрейфа статической
характеристики
В реальных производственных условиях наличие различных технологических
возмущений приводит к смещению статической характеристики оптимизируемого
процесса, что оказывает заметное влияние на поисковый режим[13].
Ниже на рисунках приведены расчетные траектории
изменения Z(t) X(t) и Y(t) при наличии
сложного дрейфа статической характеристики для оптимальных параметров САО: ΔZн=0,05Вт/c Ки=0,36∙103(кА)/с.
Дрейф статической характеристики оптимизируемого
процесса вправо-вниз соответствует тепловому режиму рабочего пространства при
повышении производительности нагревательной печи и изображен на рисунках 8.16.
и 8.17.
Рисунок 8.16 - Расчётные траектории изменения во
времени входного Х(τ), выходного Z(τ) и установившегося Y(τ) значений параметров САО при дрейфе
статической характеристики вправо - вниз
Рисунок 8.17 - Фазовый портрет САО при дрейфе
статической характеристики вправо - вниз
Дрейф статической характеристики оптимизируемого
процесса вправо-вверх, соответствует энергетическому режиму дуговой печи при
увеличении рабочего тока, изображенный на рисунках 8.18 и 8.19.
Рисунок 8.18 - Расчётные траектории изменения во
времени входного Х(τ), выходного Z(τ) и установившегося Y(τ) значений параметров САО при дрейфе
статической характеристики вправо - вверх
Рисунок 8.19 - Фазовый портрет САО при дрейфе
статической характеристики вправо - вверх
Из представленных графиков видно, что выбранные ранее
настройки системы экстремального регулирования позволяют с высокой точностью отслеживать
экстремум выходной величины в условиях сложного монотонного дрейфа статической
характеристики. Это доказывает высокую эффективность работы САО, в условиях,
близких к реальным производственным[14].
ЗАКЛЮЧЕНИЕ
Основываясь на исследовании переходных процессов в САО, с запоминанием
максимума выходного параметра, см. рисунки 8.1 - 8.15, при переборе различных
значений зоны нечувствительности ΔZн и скорости Ки ИМ, можно сделать следующие
выводы:
Каждому технологическому процессу соответствует определенная скорость
изменения входного управляющего воздействия, при которой осуществляется
максимальное приближение момента остановки исполнительного механизма к моменту
достижения оптимального значения выходного параметра, для рассматриваемого
процесса такая скорость Ки = 0,36∙103(кА)/с, любое
отклонение значения этой скорости неблагоприятно влияет на показатели качества
работы САО;
Для уменьшения величины потерь на поиск (∆Zп), и размаха поисковых колебаний (Ах) можно
уменьшить зону нечувствительности (∆Zн), но чрезмерное
уменьшение величины зоны нечувствительности приведет к необходимости
приобретения более дорогостоящих приборов, а также к чрезмерной
чувствительности системы (ложным срабатываниям на неконтролируемые воздействия)
и, как следствие, ухудшению показателей качества.
Исследование системы в условиях сложного монотонного дрейфа, см. рисунки
8.16 - 8.19 доказывает, что выбранные оптимальные параметры настройки позволяют
САУ с высокой точностью отслеживать экстремум выходной величины в условиях,
приближенных к производственным.
СПИСОК
ИСПОЛЬЗОВАННЫХ ИСТОЧНИКОВ
Электрические промышленные печи: Дуговые печи и установки
специального нагрева: Учебник для вузов/ А. Д. Свенчанский и др.; Под ред. А.
Д. Свенчанского. - 2-е изд., перераб. и доп. - М.: Энергоиздат, 2001. - 296 с.,
ил.
Ишметьев Е. Н. и др. Автоматизация и оптимизация управления
технологическими процессами внепечной доводки стали: Монография. -
Магнитогорск: ГОУ ВПО "МГТУ", 2008. - 312 с.
Автоматическое управление электротермическими установками:
Учебник для вузов/ А.М. Кручинин и др.; Под ред. А. Д. Свенчанского. - М.:
Энергоатомиздат, 2000. - 416 с.: ил.
4 Л. В. Лапшин. Автоматизация технологических процессов
дуговой сталеплавильной печи. - М.: ООО "Квадратум", 2002. - 157 с.
Окороков Н. В. Электроплавильные печи черной металлургии. -
М.: Металлургия, 2005. - 220 с.
Н. А. Марков. Электрические печи и режимы дуговых
электропечных установок. - М.: Энергия, 2003. - 204 с.
Б. Н. Парсункин, М. В. Бушманова. Расчет переходных процессов
в системах экстремального регулирования с запоминанием экстремума: Учебное
пособие. - Магнитогорск: МГТУ, 2001. - 164 с.
Электрические печи сопротивления и дуговые печи./ Под ред.
Гутмана М. Б. - М.: Энергоатомиздат, 2003. - 320 с.
Глинков Г. М., Маковский В. А. АСУ ТП в агломерационных и
сталеплавильных печах. - М.: Металлургия, 2002. - 360 с.
Промышленные установки электродугового нагрева и их
параметры./ Под ред. Никольского Л. Е. - М.: Энергия, 2001. - 270 с.
Лапшин И. В. Автоматизация дуговых печей. Учебник для вузов.
- М: Издательство "МИСиС", 2004. - 165 с.
Бигеев А. М., Бигеев В. А. Металлургия стали. Теория и
технология плавки стали. Учебник для вузов, 3-е изд. перераб. и доп. -
Магнитогорск: МГТУ, 2000. - 544 с.
Ефроймович Ю. Е. Оптимальные электрические режимы дуговых
сталеплавильных печей. - М: Металлургиздат, 2005. - 98 с.
Идентификация элементов систем управления и оптимизации
контуров управления технологическими процессами./ Парсункин Б. Н. -
Магнитогорск, 2006. - 148 с.
Приложение
Текст рабочей
программы расчета переходного процесса в САО с запоминанием максимальной
скорости выходного параметра
program max_remember;crt,graph;
a0=1210326.5354538; {коэффициенты статической характеристики}
a1=574.107323836;
a2=0.005478383;
a3=-0.000000096;
a4=0;
T1=0,05; {постоянная времени объекта }
T2=0,02; {время запаздывания }
ku=412.5; {скорость исполнительного механизма }
zn=0.1; {зона нечувствительности }
n=1500; {количество расчетных точек }
dt=1; {период дискретизации }
xn=12;
xk=42;
at=0; {скорость горизонтального дрейфа }
bt=0; {скорость вертикального дрейфа }
var,j,gd,ga,x_gr,z_gr,y_gr,mx,my,tk,tv,dreif:integer;:string;,U,
sigma, sigma0,ht,hte,hx,maxx,maxy, minx, x1,
x2:real;,maxz,minz:real;,y,t,z1,dz1,z,dz: array [0..n] of
real;f(x,t:real):real;:=(a0+a1*(x+at*t)+a2*(x+at*t)*(x+at*t)+a3*(x+at*t)*(x+at*t)
*(x+at*t)+a4*(x+at*t)*(x+at*t)*(x+at*t)*(x+at*t))+bt*t;;
{расчет изменения во времени величин входного X(τ), }
{выходного Y(τ) и установившегося Z(τ)
значений }
Begin
t[0]:=0; {ввод начальных условий}
x[0]:=xn;[0]:=f(x[0],t[0]);[0]:=f(x[0],t[0]);[0]:=f(x[0],t[0]);[0]:=0;[0]:=0;:=0;
U:=1;:=1 ;i:=1 to n do[i]:=t[i-1]+dt;[i]:=x[i-1]+ku*sigma*dt;(x[i]<= 10) or
(x[i]>=38) then break; {концевые ограничители}[i]:=f(x[i],t[i]);[i]:=dz1[i-1]+z1[i-1];[i]:=(1/T1)*(y[i]-z1[i]);[i]:=dz[i-1]+z[i-1];[i]:=(1/T2)*(z1[i]-z[i]);dz[i]>dzmax
then dzmax:=dz[i];dz[i]>=0 thendz[i]-dzmax+zn>0 then U:=1; tv:=0;
end;
if dz[i]-dzmax+zn<=0
thenU:=0;;;dz[i]<0 then(dz[i]+zn<0) then:=(-1); dzmax:=0; tv:=tv+1;
end;U=1 then:=sigma;:=sigma;;U=0 then:=0;U=(-1)then:=sigma0*(-1);
end;tv<=0.2*T1 then sigma:=sigma;(U=-1) and (sigma=1) then x1 :=x[i];(U=-1)
and (sigma=-1) then x2:=x[i];x[i]=x1+(x2-x1)/2 then:=0; x1:=0;:=0; end;sigma=0
then tk:=tk+1; if (tk>3*T1) then:=-1 ; tk:=0;:=dz[i]; end;
end;('t=',t[i]:3:0, ' y=',y[i]:5:2,' x=',x[i]:2:0,' z=',z[i]:3:2,'
sigma=',sigma:1:0,' dz[i]= ',dz[i]:1:3,' ');(' dzmax=', dzmax:2:3);; readkey;
{Построение переходного процесса}
detectgraph(gd,ga);(gd,ga,'c:\bp\bgi');(15);:=0;:=n
;:=1250;:=1400;:=getmaxx;:=getmaxy;:=45;:=15;_gr:=15;_gr:=5;_gr:=10;:=(mx-100)/(maxx-minx);:=(my-100)/(maxy-miny);:=(my-100)/(maxz-minz);(50,my-50,mx-50,my-50);(50,50,50,my-50);(mx-50,50,mx-50,my-50);(200,0,'perehod
process');(460,my-10,'vremya v sekundah');(0,1,0);(10,110,'temperatura');(570,110,'rashod
vozduha');(0,0,0);(0,1,1);i:=0 to x_gr
do(round(i*(mx-100)/x_gr)+50,425,round(i*(mx-100)/x_gr)+50,my-45);(minx+i*(maxx-minx)/x_gr:5:0,gr);(round(i*(mx-100)/x_gr),my-30,gr);
end;i:=0 to y_gr do(mx-585,(my-50)-round(i*(my-100)/y_gr),45,(my-50)-round(i*(my-100)/y_gr));(miny+i*(maxy-miny)/y_gr:4:0,gr);(13,(my-50)-round(i*(my-100)/y_gr),gr);;i:=0
to z_gr
do(mx-46,(my-50)-round(i*(my-100)/z_gr),585,(my-50)-round(i*(my-100)/z_gr));(minz+i*(maxz-minz)/z_gr:5:0,gr);
outtextxy(600, (my-50)-round(i*(my-100)/z_gr),gr);;[0]:=0;[0]:=xn;[0]:=f(x[0],t[0]);[0]:=f(x[0],t[0]);[0]:=f(x[0],t[0]);[0]:=0;[0]:=0;:=0;
U:=1; sigma:=1;(0,1,1); moveto (50,getmaxy-50);i:=1 to n do[i]:=t[i-1]+dt;
begin[i]:=x[i-1]+ku*sigma*dt;(x[i]<=9) or (x[i]>=40) then break;[i]:=f(x[i],t[i]);[i]:=dz1[i-1]+z1[i-1];[i]:=(1/T1)*(y[i]-z1[i]);[i]:=dz[i-1]+z[i-1];[i]:=(1/T2)*(z1[i]-z[i]);dz[i]>dzmax
then dzmax:=dz[i]; if dz[i]>=0 thendz[i]-dzmax+zn>0
then:=1;:=0;;dz[i]-dzmax+zn<=0 then:=0;;;dz[i]<0 then(dz[i]+zn<0)
then:=(-1);:=0;:=tv+1;;U=1 then:=sigma; sigma:=sigma;;U=0 then sigma:=0 ; if
U=(-1) then:=sigma0*(-1);; tv<=0.1*T1 then
sigma:=sigma;(U=-1) and (sigma=1)
then:=x[i]; if (U=-1) and (sigma=-1)x2:=x[i];x[i]=x1+(x2-x1)/2then begin:=0;
x1:=0; x2:=0; end;sigma=0 then tk:=tk+1; if
(tk>3*T1)then:=-1;:=0;:=dz[i];;;(15);(trunc((t[i-1])*ht/dt)+50,getmaxy-50-trunc((f(x[i-1],t[i-1])-miny)*hte),(t[i]*ht/dt)+50,getmaxy-50-trunc((f(x[i],t[i])-miny)*hte));(14);(trunc((t[i-1])*ht/dt)+50,getmaxy-50-trunc((z[i-1]-miny)*hte),
trunc((t[i])*ht/dt)+50,getmaxy-50-trunc((z[i]-miny)*hte));(15);(trunc((t[i-1])*ht/dt)+50,getmaxy-50-trunc((x[i-1]-minz)*hx),trunc((t[i])*ht/dt)+50,getmaxy-50-trunc((x[i]-minz)*hx));;;(gd,ga);(gd,ga,'c:\bp\bgi');(15);:=10;:=42;:=1260;:=1380;:=getmaxx;:=getmaxy;_gr:=8;_gr:=6;:=(my-100)/(maxy-miny);
{построение осей}:=(mx-100)/(maxx-minx);(50,my-50,mx-50,my-50);(50,50
,50,my-50);(200,0,'fazovy portret');(460,my-10,'rashod
vozduha');(0,1,0);(10,100,'temperatura');(0,0,0);(0,1,1);i:=0 to x_gr
do(round(i*(mx-100)/x_gr)+50,425,round(i*(mx-100)/x_gr)+50,my-45);(minx+i*(maxx-minx)/x_gr:5:0,gr);(round(i*(mx-100)/x_gr),my-30,gr);;i:=0
to y_gr
do(mx-585,(my-50)-round(i*(my-100)/y_gr),45,(my-50)-round(i*(my-100)/y_gr));(miny+i*(maxy-miny)/y_gr:4:0,gr);(15,(my-50)-round(i*(my-100)/y_gr),gr);;
t[0]:=0; {ввод начальных условий}
x[0]:=xn;[0]:=f(x[0],t[0]);[0]:=f(x[0],t[0]);[0]:=f(x[0],t[0]);1[0]:=0; dz[0]:=0;
dzmax:=0; U:=1; sigma:=1;(0,1,1);
moveto (50,my-50);i:=1 to n
do[i]:=t[i-1]+dt;[i]:=x[i-1]+ku*sigma*dt;(x[i]<=9) or (x[i]>=40) then break;[i]:=f(x[i],t[i]);[i]:=dz1[i-1]+z1[i-1];[i]:=(1/T1)*(y[i]-z1[i]);[i]:=dz[i-1]+z[i-1];[i]:=(1/T2)*(z1[i]-z[i]);dz[i]>dzmax
then dzmax:=dz [i];dz[i]>=0 thendz[i]-dzmax+zn>0
then:=1;:=0;;dz[i]-dzmax+zn<=0 then:=0;;;dz[i]<0 then(dz[i]+zn<0)
thenU:=(-1);:=0;:=tv+1;; U=1 then begin
sigma0:=sigma; sigma:=sigma; end;U=0
then:=0;U=(-1) then:=sigma0*(-1);;tv<=0.2*T1 then sigma:=sigma;(U=-1) and
(sigma=1) then x1 :=x[i];(U=-1) and (sigma=-1) then x2:=x[i];x[i]=x1+(x2-x1)/2
then:=0;:=0;:=0;;sigma=0 then:=tk+1;(tk>3*T1) then:=-1;
tk:=0;:=dz[i];;;(15);(trunc((x[i-1]-minx)*hx)+50,getmaxy-50-trunc((z[i-1]-miny)*hte),((x[i]-minx)*hx)+50,getmaxy-50-trunc((z[i]-miny)*hte));
{setcolor(15);(trunc((x[i-1]-minx)*hx)+50,getmaxy-50-trunc((f(x[i-1],
t[i-1])-miny)*hte);((x[i]-minx)*hx)+50,getmaxy-50-trunc((f(x[i],t[i])-miny)*hte));};[0]:=xn;
sigma:=1;(50,my-50); For i:=1 to n
dot[i]:=0;[i]:=x[i-1]+ku*sigma*dt;x[i]>=xk then sigma:=0;
setcolor(15);(trunc((x[i-1]-minx)*hx)+50,getmaxy-50-trunc((f(x[i-1],t[i])-miny)*hte),((x[i]-minx)*hx)+50,getmaxy-50-trunc((f(x[i],t[i])-miny)*hte));;[0]:=9;
sigma:=1;(50,my-50);i:=1 to n do[i]:=300;[i]:=x[i-1]+ku*sigma*dt;x[i]>=40
then sigma:=0;
setcolor(15);(trunc((x[i-1]-minx)*hx)+50,getmaxy-50-trunc((f(x[i-1],t[i])-miny)*hte),((x[i]-minx)*hx)+50,getmaxy-50-trunc((f(x[i],t[i])-miny)*hte));;[0]:=10;:=1;(50,my-50);i:=1
to n do[i]:=600;[i]:=x[i-1]+ku*sigma*dt; if x[i]>=10 then sigma:=0;
setcolor(15);(trunc((x[i-1]-minx)*hx)+50,getmaxy-50-trunc((f(x[i-1],t[i])-miny)*hte),((x[i]-minx)*hx)+50,getmaxy-50-trunc((f(x[i],t[i])-miny)*hte));;;;(gd,ga);(gd,ga,
'c:\bp\bgi');(15);:=23;:=38;:=1360;:=1375;:=getmaxx;:=getmaxy;_gr:=10;_gr:=6;:=(my-100)/(maxy-miny);
{построение осей}:=(mx-100)/(maxx-minx);(50,my-50,mx-50,my-50);
line(50,50,50,my-50);(50,0,'uvelich fozoviy portret');(460,my-10,'rashod
vozduha');(0,1,0);(10,100,'temperatura');(0,0,0);(0,1,1);i:=0 to x_gr do
begin(round(i*(mx-100)/x_gr)+50,425,round(i*(mx-100)/x_gr)+50,my-45);(minx+i*(maxx-minx)/x_gr:5:0,gr);(round(i*(mx-100)/x_gr),my-30,gr);
end;i:=0 to y_gr do
begin(mx-585,(my-50)-round(i*(my-100)/y_gr),45,(my-50)-round(i*(my
-100)/y_gr));(miny+i*(maxy-miny)/y_gr:4:0,gr);(15,(my-50)-round(i*(my-100)/y_gr),gr);;
t[0]:=0; {ввод начальных условий}
x[0]:=xn;
y[0]:=f(x[0],t[0]);
z1[0]:=f(x[0],t[0]);
z[0]:=f(x[0],t[0]);
dz1[0]:=0;
,dz[0]:=0;:=0;:=1;:=1;(0,1,1);(50,my-50);i:=1 to n
do[i]:=t[i-1]+dt;[i]:=x[i-1]+ku*sigma*dt;(x[i]<=5) or (x[i]>=40) then
break;[i]:=f(x[i],t[i]);[i]:=dz1[i-1]+z1[i-1];[i]:=(1/T1)*(y[i]-z1[i]);[i]:=dz[i-1]+z[i-1];[i]:=(1/T2)*(z1[i]-z[i]);dz[i]>dzmax
then dzmax:=dz[i];dz[i]>=0 thendz[i]-dzmax+zn>0 then begin U:=1;
tv:=0;;dz[i]-dzmax+zn<=0 then:=0;;;dz[i]<0 then (dz[i]+zn<0) then
begin
U:=(-1);
dzmax:=0; tv:=tv+1;; U=1 then
begin:=sigma;:=sigma;;U=0 then:=0; if
U=(-1) then:=sigma0*(-1);;tv<=0.2*T1 then sigma:=sigma;(U=-1) and (sigma=1)
then x1:=x[i];(U=-1) and (sigma=-1) then x2:=x[i];x[i]=x1+(x2-x1)/2 then:=0;
x1:=0;:=0;;sigma=0 then:=tk+1;(tk>3*T1) then:=-1;
tk:=0;:=dz[i];;;(15);(trunc((x[i-1]-minx)*hx)+50,getmaxy-50-trunc((z[i-1]-miny)*hte),((x[i]-minx)*hx)+50,getmaxy-50-trunc((z[i]-miny)*hte));(11);(trunc((x[i-1]-minx)*hx)+50,getmaxy-50-trunc((f(x[i-1],t[i-1])-miny)*hte),
trunc((x[i]-minx)*hx)+50,getmaxy-50-trunc((f(x[i],t[i])-miny)*hte));
END;
x[0]:=xn; sigma:=1;
moveto (50,my-50);i:=1 to n
dot[i]:=0;[i]:=x[i-1]+ku*sigma*dt; if x[i]>=xk then sigma:=0;
setcolor(15);(trunc((x[i-1]-minx)*hx)+50,getmaxy-50-trunc((f(x[i-1],t[i])-miny)*hte),((x[i]-minx)*hx)+50,getmaxy-50-trunc((f(x[i],t[i])-miny)*hte));;[0]:=10;
sigma:=1;(50,my-50);i:=1 to n do[i]:=300;[i]:=x[i-1]+ku*sigma*dt; if
x[i]>=40 then sigma:=0;
setcolor(15);(trunc((x[i-1]-minx)*hx)+50,getmaxy-50-trunc((f(x[i-1],t[i])-miny)*hte),((x[i]-minx)*hx)+50,getmaxy-50-trunc((f(x[i],t[i])-miny)*hte));;[0]:=10;
sigma:=1;(50,my-50);i:=1 to n do[i]:=600;[i]:=x[i-1]+ku*sigma*dt; if
x[i]>=10 then sigma:=0;
setcolor(15);(trunc((x[i-1]-minx)*hx)+50,getmaxy-50-trunc((f(x[i-1],t[i])-miny)*hte),((x[i]-minx)*hx)+50,getmaxy-50-trunc((f(x[i],t[i])-miny)*hte));
END;;;.