Алгоритмизация эксплуатационных расчетов электрической сети
РЕФЕРАТ
Дипломный проект: 147 с., 51 рис., 13 табл., 15
источников, 1 прил.
ПОТЕРИ, РАСЧЕТ ПОТЕРЬ, РЭС, МЕТОДЫ РАСЧЕТА,
АЛГОРИТМИЗАЦИЯ, ЭКСПЛУАТАЦИОННЫЕ РАСЧЕТЫ
Целью проекта является анализ режимов и расчет потерь
электроэнергии в электрических сетях 0,38 кВ.
Изучены и проанализированы топографические и режимные данные по
низковольтным электрическим сетям РЭС «Г».
Изучены и проанализированы методы расчета режимов и потерь электроэнергии
в низковольтных электрических сетях РЭС «Г».
Выполнены сбор, обработка и вычерчивание схем низковольтных электрических
сетей 0,38 кВ РЭС «Г» на ПЭВМ в пофазном исполнении.
Выполнен сбор и обработка режимных данных по распределительным линиям
0,38 кВ.
Изучен комплекс программ для оценки режимов и потерь электрической энергии
в низковольтных электрических сетях на ПЭВМ.
Модернизирован комплекс программ для оценки режимов и потерь, путем
добавления новых методов расчета
Выполнен расчет режимов и потерь по модернизированной программе и их
анализ в электрической сети 0,38 кВ РЭС «Г» на ПЭВМ.
Разработаны мероприятия по снижению потерь электроэнергии в сети 0,38 кВ
РЭС «Г».
Оценены технико-экономические показатели рассчитанной сети и изучены
вопросы охраны труда при эксплуатации низковольтных электрических сетей 0,38 кВ
РЭС «Г».
THE SUMMARY
and regime data on low-voltage electric networks area «G» are
studied and analysed.of calculation of modes and losses of the electric power
in low-voltage electric networks area «G» are studied and analysed., processing
and drawing of schemes of low-voltage electric networks 0,38 kV area «G»on PC
in fase execution are executed.and processing of regime data on distributive
lines 0,38 kV is executed.complex of programs for an estimation of modes and
losses of electric energy in low-voltage electric networks on PC is
studied.complex of programs for an estimation of modes and losses is
modernized, by addition of new methods of calculation calculation of modes and
losses under the modernized program and their analysis in an electric network
0,38 kV area «G»on PC Is executed.on decrease in losses of the electric power
in a network 0,38 kV area «G»are developed.and economic parameters of the
calculated network are estimated and questions of a labour safety are studied
at operation of low-voltage electric networks 0,38 kV area «G».
ВЕДОМОСТЬ ОБЪЁМА ДИПЛОМНОГО ПРОЕКТА
|
Формат
|
Обозначение
|
Наименование
|
Количество листов
|
Примечание
|
|
А4 А4 А1 А1 А1 А1 А1 А1
А1 А1
|
- - 1 2 3 4 5 6 7 8
|
Задание по дипломному
проектированию Пояснительная записка Формы входной и выходной печати Основные
расчетные соотношения Схемы распределительных линий 0,38 кВ РЭС «Г»
Результаты расчетов Диаграммы потерь электроэнергии Технико-экономические
показатели Мероприятия по снижению потерь Охрана труда
|
1 147 1 1 1 1 1 1 1 1
|
|
|
|
|
|
|
ДП-106221- ДО-2006
|
|
|
|
|
|
|
|
Изм
|
Лист
|
№ докум.
|
Подп.
|
Дата
|
|
|
Разраб.
|
Кабанов П.А.
|
|
|
Ведомость объема дипломного
проекта
|
Лит.
|
Лист
|
Листов
|
|
Провер.
|
Фурсанов М.И.
|
|
|
|
|
У
|
|
1
|
**
|
|
Т. контр.
|
Фурсанов М.И.
|
|
|
|
Т.01.01.00 БНТУ, г. Минск
|
|
Н. контр.
|
Волков А.А..
|
|
|
|
|
|
Утв.
|
Фурсанов М.И.
|
|
|
|
|
|
|
|
|
|
|
|
|
|
|
|
|
|
|
СОДЕРЖАНИЕ
Введение
. Постановка задачи
. Изучение методологии расчета
режимов и потерь электроэнергии в электрических сетях 0,38кВ
.1 Общие соображения
.2 Эквивалентирование электрических
сетей до 1000 В и оценка потерь электроэнергии в них по обобщенным данным
.3 Поэлементные расчеты потерь
электроэнергии в низковольтных электрических сетях
. Ознакомление с базовой компьютерной
программой расчета сети 0,38кВ
. Совершенствование программы путем
реализации новых вариантов расчета сетей 0,38 кВ
. Сбор, анализ и подготовка данных
для выполнения эксплуатационных расчетов электрической сети 0,38 кВ РЭС «Г» на
ЭВМ
. Выполнение расчетов потерь в сети
по различным методикам, анализ и обобщение полученных результатов
. Оценка мероприятий по снижению
потерь электрической энергии в сети 0,38 кВ РЭС “Г”
.1 Замена ответвлений от вл
0,38 кВ к зданиям
.2 Замена проводов на перегруженных
линиях
.3 Стимулирование потребителей
электроэнергии и выравнивание графиков нагрузки
.4 Выравнивание нагрузок фаз в
электрических сетях 0.38 кВ
. Расчет и анализ
технико-экономических показателей
. Охрана труда при эксплуатации
низковольтных электрических сетей
.1 Общие указания мер безопасности
.2 Указания мер безопасности перед началом
работы
.3 Указания мер безопасности во время
работы
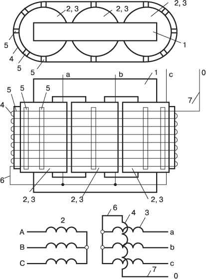
. Симметрирующие устройства для
трансформаторов
.1 Общая часть
.2 Трансформатор плюс СУ
.3 Об экономической эффективности
Заключение
Список использованных источников
Приложение 1
ВВЕДЕНИЕ
Все электроустановки, в том числе электрические линии и трансформаторы,
обладают активным сопротивлением. Поэтому при передаче, распределении и
преобразовании электрической энергии происходят ее потери.
Определение потерь электрической энергии в сетях 0,38 кВ представляет
особые трудности из-за многочисленных элементов этих сетей, отсутствия данных о
нагрузках и параметрах сети. Параметры линий 0,38 кВ носит случайный характер,
и определяются составом потребителей электрической энергии, находящихся в зоне
действия конкретной электрической сети, конфигурацией и типом населенных
пунктов, а также взаимным расположением хозяйственных построек.
В последнее время снижению потерь энергии в электрических сетях уделяется
большое внимание в связи с тем, что возможности уменьшения других составляющих
технологического расхода энергии в комплексе добычи и транспорта топлива и
производства и передачи электрической энергии являются значительно более
ограниченными [1].
Доля потерь в сетях 0,38 кВ по различным энергосистемам различна и
зависит от структуры сетей по уровню напряжения, но в среднем по стране на долю
сетей 0,38 кВ приходится более 25% суммарных потерь электроэнергии.
В практике расчетов используются несколько методов определения потерь
электроэнергии в сетях 0,38 кВ, каждому из которых свойственны те или иные
преимущества и недостатки.
Основное содержание проекта изложено ниже.
1. ПОСТАНОВКА ЗАДАЧИ
В настоящее время остро стоит проблема алгоритмизации эксплуатационных
расчетов сетей 0,38 кВ. Однако эта задача является трудновыполнимой из-за
отсутствия на большинстве существующих подстанций необходимой информации.
В данном дипломном проекте ставится задача: алгоритмизировать
эксплуатационные расчеты в электрических сетях 0,38 кВ РЭС ”Г”, модернизировать
существующий комплекс программ для расчета потерь, путем добавления в него
новых вариантов расчета.
Кроме того, определенное внимание уделяется вопросам охраны труда и ТБ, а
также разработке мероприятий по снижению потерь в сети 0,38 кВ РЭС ”Г”.
2. ИЗУЧЕНИЕ МЕТОДОЛОГИИ РАСЧЕТА РЕЖИМОВ И ПОТЕРЬ ЭЛЕКТРОЭНЕРГИИ В
ЭЛЕКТРИЧЕСКИХ СЕТЯХ 0,38кВ
2.1 Общие соображения
Низковольтные электрические сети напряжением до 1000 В
еще более размерны, чем распределительные сети 6-20 кВ. На балансе предприятия
электрических сетей может насчитываться более десяти тысяч распределительных
линий 0,38 кВ. Эти сети характеризуются относительно небольшой протяженностью
линий, как правило, не превышающей одного километра, практически отсутствием
полной режимной информации для проведения расчетов, несимметричной загрузкой
фаз[11].
В состав исходной информации входят:
по опорные схемы сетей 0,38 кВ в естественном их представлении,
содержащиеся, в, паспортах линий, с отражением числа вводов и распределения
ответвлений по фазам, с указанием коммутационных и защитных аппаратов, с
отражением режима нейтрали;
справочники НСИ по воздушным и кабельным пиниям 0,38 кВ на различных
типах опор, с голыми и изолированными проводами, с кабелями с бумажной и
резиновой изоляцией и различными оболочками и т.п.;
справочники НСИ по трансформаторам, в том числе для схем различных
последовательностей.
информация о заданных параметрах режимов электрической сети используется
в виде результатов замеров токовых нагрузок в голове линий или показаний
счетчиков энергии за известный интервал времени там, где они имеются.
Следует учесть ряд особенностей схем и режимов этих сетей, а именно:
- рассматриваемые сети 0,38 кВ - воздушные и кабельные, городские
и сельские, резервированные и не резервированные - работают по разомкнутым
схемам, в связи, с чем для их расчета следует применять
простые эффективные прямые алгоритмы расчета режимов разомкнутых
сетей;
в условиях нормальной эксплуатации измерения параметров режима в сетях
0,38 кВ проводятся в голове линий - измеряются токи фаз Ia, IВ, IС
(токоизмерительными клещами) и напряжения фазные и междуфазные для трех фаз.
Эти измерения должны проводиться два раза в год при осмотрах и ремонтах
трансформаторов, результаты их заносятся в журнал. Из-за малого количества
персонала в действительности эти измерения проводятся реже - в Минских
кабельных сетях ( например, по многолетнему графику 1 раз в два года. Как
правило, стационарные электроизмерительные приборы в кабельной и воздушной
сетях 0,38 кВ отсутствуют;
нагрузка сетей 0,38 кВ создается однофазными электроприемниками,
питаемыми в коммунально-бытовом секторе по однофазным вводам. При
проектировании и монтаже линии предусматриваются мероприятия по обеспечению
равномерности распределения нагрузки по фазам. Однако в условиях эксплуатации
возможен значительный разброс реальных нагрузок фаз от проектных значений, что
обуславливает не симметрию режимов сетей 0,38 кВ и следовательно, требует
применения соответствующих методов расчета этих сетей;
ввиду отсутствия режимной информации об однофазных нагрузках в
промежуточных точках линии, расчетная схема замещения может быть упрощена и
обобщена: она может формироваться вручную или программным путем с
эквивалентированием равномерно распределенной (условно) нагрузки вдоль линии ее
сосредоточенными параметрами 1У, cosφ или PУ, QУ, то
есть суммарными величинами, приложенными на расчетной длине (в середине участка
линии). За счет этого конфигурационная модель линии упрощается и обобщается;
расчетные значения токов на ветвлениях схемы определяются по току головного
участка пропорционально длине и числу фаз ответвлений; ввиду отсутствия
счетчиков активной энергии реактивные токи или мощности на головных участках
линий определяются приближенно исходя из характера питаемых нагрузок: - для
коммунально-бытовой нагрузки принимается усредненное значение коэффициента
мощности нагрузки cosφ. С некоторым приближением расчет
режима может выполняться по модулям полных токов фаз. При наличии счетчиков в
голове линии 10 кВ центров питания, cosφ может быть определен усреднение для
линии 10 кВ с учетом баланса реактивной мощности - потерь и емкостной мощности
линии (соответственно, для воздушной и кабельной ЛЭП);
- сбор информации о токовых нагрузках в голове линий осуществляется не
одновременно, что в данном случае не снижает точности расчетов (в том числе
потерь мощности и энергии), поскольку сети 0,38 кВ работают изолированно;
Отсюда следует, что методы расчета потерь
электроэнергии в электрических сетях до 1000 В должны быть весьма специфичными
и ориентированы на весь имеющийся объем режимных данных. Опыт проведения
расчетов потерь в низковольтных электрических сетях показывает, что и здесь
возможны несколько вариантов решения задачи, оперативно адаптируемых к условиям
эксплуатации.
С теоретической точки зрения здесь проблем нет. В
основу вычисления потерь электроэнергии за время Т кладется выражение:
, (2.1)
практическое
использование которого невозможно. Поэтому и здесь величина интеграла (2.1)
приближенно определяется как площадь прямоугольника со сторонами I2макс
и τ
или I2ск и Т.
(2.2)
При
этом среднеквадратичный ток Iск равен:
. (2.3)
Разделив и умножив правую часть выражения (2.2) на
квадрат среднего значения тока I,
получим
, (2.4)
где
kф - коэффициент формы графика нагрузки.
Как
видно из (2.4) коэффициент формы учитывает отличие среднеквадратического тока Iск
от среднего I:
, (2.5)
где
τ*
= τ/Т, Т*ма = Тма/Т.
Учитывая,
что
,
,
, (2.6)
можно записать:
,
, (2.7)
,
Если
учесть к тому же, что IСК =
+ σ, то уравнение (2.2) можно записать в виде:
, (2.8)
где σ2 - дисперсия активного и реактивного
токов.
Кроме вышеизложенных подходов в эксплуатационной
практике расчетов потерь электроэнергии в низковольтных электрических сетях до
1000 В часто исходят из процента потерь напряжения в сети до наиболее
электрически удаленной точки. Процент напряжения определяется на основании
замеров, и осуществить это практически значительно легче, чем измерить потери
мощности и энергии. Отношение ΔP%/ΔU% называется коэффициентом kм/н перехода от потерь напряжения к
потерям мощности.
В разветвленной сети при cosφ = 1 суммарные потери мощности,
отнесенные к мощности в начале сети, всегда несколько меньше, чем потери
напряжения в этой сети, отнесенные к напряжению в начале сети, поэтому:
(2.9)
Отсюда
следует, что
.
Потери
электроэнергии в этом случае будут равны
. (2.10)
Приведенные положения послужили основой для разработки
методов расчета потерь электроэнергии в низковольтных электрических сетях.
При выполнении эксплуатационных расчетов режимов и
потерь электроэнергии в низковольтных электрических сетях показывает, что в
принципе имеется два основных направления решения рассматриваемой задачи.
Наиболее близким к существующему уровню эксплуатации низковольтных сетей
является направление, учитывающее неполноту и достоверность схемной и режимной
информации. Расчет потерь электроэнергии здесь можно проводить с использованием
обобщенных данных обсчитываемого района (суммарная протяженность, отпуск
электроэнергии в сеть, среднее эксплуатационное напряжение) или на основе
ограниченного количества схем распределительных линий (выборка), после чего
результаты расчета "средней" схемы распространяются на всю сеть.
Второе направление (поэлементные расчеты потерь)
позволяет проводить детальный анализ режимов и потерь в низковольтных
электрических сетях на основе детерминированных данных, когда в качестве
исходной информации используются топологические данные о схемах всех
распределительных линий (номера начал и концов схемы сети, марки и длины
проводов и кабелей, число фаз, марка нулевого провода) и режимные данные по
головным участкам линий - максимальный ток или отпуск энергии, время использования
максимальной активной нагрузки и коэффициент мощности, по возможности, токи
фаз.
При использовании детерминированных исходных данных
также возможны два подхода.
Первый подход ориентирован на работу со схемами
электрических сетей и режимной информацией по распределительным линиям, второй
-только со схемами электрических сетей. При этом в первом подходе (поэлементные
расчеты потерь) реализованы четыре варианта расчета.
Дня первого (эталонного) варианта расчета задаются
нагрузки фаз (ток, мощность, электропотребление) во всех узлах сети.
Второй (базовый) вариант расчета используется, когда
режимные данные заданы только на головном участке распределительной линии.
Нагрузка сети в этом случае предполагается равномерно распределенной по длине
фазных проводов сети.
Третий вариант расчета - комбинация первых двух. Для
него задаются режимная информация на головном участке линии и нагрузки фаз в
отдельных (с ярко выраженной сосредоточенной нагрузкой) узлах сети.
Четвертый вариант аналогичен второму. Однако здесь
нагрузка сети распределяется по длине проводов сети случайным образом.
Во всех четырех вариантах первого подхода суммарные
потери электроэнергии в сети района определяются в виде суммы потерь по
отдельным распределительным линиям.
Во втором подходе (обобщенный расчет) реализован
вариант расчета, при котором в начале по каждой распределительной линии
определяется ее индивидуальное эквивалентное сопротивление, а затем на их
основе -обобщенное эквивалентное сопротивление всей сети района. Далее по
суммарному отпуску электроэнергии в сеть и обобщенному эквивалентному
сопротивлению вычисляется величина потерь во всей сети.
2.2 Эквивалентирование
электрических сетей до 1000 В и оценка потерь электроэнергии в них по
обобщенным данным
Разработанный подход учитывает неполноту имеющейся в
низковольтных электрических сетях схемной и режимной информации и позволяет
оперативно оценить суммарную величину потерь электроэнергии в низковольтной
сети района AW по обобщенным данным.
Методическая задача эквивалента соотношению:
, (2.11)
где ΔW - среднее значение потерь электроэнергии в сети; N - общее
число линий.
Величину ΔW можно рассчитать по формуле:
, (2.12)
где Wp -
отпуск электроэнергии в схему линии;
kф - коэффициент формы графика нагрузки;
kдг - коэффициент, учитывающий дополнительные потери мощности
из-за неравномерной загрузки фаз;
rэл - среднее индивидуальное эквивалентное сопротивление схемы
распределительной линии до 1000 В.
Анализ потерь электроэнергии в схемах показывает, что
значительная доля потерь в сетях до 1000 В приходится на головные участки
линий, поэтому при расчете их эквивалентных сопротивлений (rэл) целесообразно представлять схему
отдельной линии в суммы двух эквивалентных сопротивлений - одно (rry) характеризует головной участок
схемы линии, другое (rэл -
остальную разветвленную часть схемы, т.е.
, (2.13)
где
Введем допущение о том, что в разветвленной части
линии нагрузка равномерно распределена по ее длине. Это позволяет вычислить
значение rэл по формуле:
, (2.14)
где rол -
среднее удельное сопротивление проводов распределительной линии;
lгу, - средняя длина головного участка;
l - средняя суммарная протяженность сети распределительной
линии.
Определим Wp и l как
,
,
где
Wc - суммарный отпуск электроэнергии в сеть;
L - суммарная
протяженность сети;- общее число низковольтных распределительных линий и
подставим полученные соотношения и выражение (2.14) в (2.11):
(2.14)
Здесь
Rэ - обобщенное эквивалентное сопротивление сети до
1000 В.
Видно,
что
. (2.15)
Совершенно очевидно, что качество расчета в данном случае будет зависеть
от точности задания значений rол и lгу . Для их обоснованного определения
необходимо использовать идею выборочного метода - формировать и рассчитывать
репрезентативную выборку схем электрических сетей до 1000 В.
2.3 Поэлементные расчеты
потерь электроэнергии в низковольтных электрических сетях
Разработана методика, позволяющая проводить детальный
анализ режимов и потерь электроэнергии в низковольтных сетях на основе
детерминированных данных, когда в качестве исходной информации используются
топологические данные о схемах распределительных линий и режимные данные по
головным участкам линий (четыре указанных выше варианта расчета).
Рассмотрим основные положения базового варианта
расчета.
В целях ускорения расчетов все схемы распределительных
линий условно делятся на две категории. К первой группе относятся разветвленные
схемы распределительных линий с отпайками разной протяженности и фазности
(рисунок 2.1). Ко второй - радиально-лучевые схемы, питающие, в основном,
сконцентрированные нагрузки.
Для схем первой группы нагрузку одной
распределительной линии полагаем равномерно распределенной вдоль ее фазных
проводов. Для схем второй - плотность тока в линии j считаем одинаковой по всей длине.
Первое допущение характерно для магистрально-бытовых
сетей небольших городов и поселков, внутрицеховых сетей промышленных
предприятий и других. Для данных электрических сетей потери мощности на каждом
участке схемы распределительной линии вычисляем по формуле:
(2.16)
где Iэi - эквивалентный ток, приходящийся на
одну фазу элемента сети между двумя ответвлениями схемы и приложенный в конце i-ro участка;
kui- коэффициент исполнения сети;
кдг - коэффициент, учитывающий дополнительные потери
мощности, вызванные неравномерной загрузкой фаз;
r, - активное сопротивление участка.
Квадрат эквивалентного тока lэi определяем
следующим образом:
, (2.17)
где IP - ток, равномерно распределенный на
данном i-м участке сети:
; (2.18)
- длина i-ro участка линии;
m - число фаз данного участка;
IСГ - среднеарифметическое значение токов отдельных фаз (IA, IB, Ic) низковольтной
линии: 1сг = (1А, + 1B + 1C)/3;
Ici - сосредоточенный ток, подключенный при расчете
потерь мощности в конце каждого i-ro участка сети и равный сумме токов,
равномерно распределенных за этим участком:
, j=1,k. (2.19)
Здесь j - порядковый номер участка линии,
который питается от рассматриваемого i-го.
Коэффициент увеличения потерь мощности из-за неравномерности загрузки фаз
для четырехпроводной линии (три фазы - нуль) рассчитываются по выражению:
. (2.20)
Здесь rог и rфГ - активные сопротивления соответственно нулевого и фазного
проводов на головном участке линии;
NKB - коэффициент неравномерности загрузки фаз:
. (2.21)
Второе допущение (j = const)
характерно для радиальных схем коммунально-бытовых электрических сетей крупных
городов и питающих сетей мелких предприятий и учреждений. В данном случае
потери мощности на i-м участке схемы
распределительной линии вычисляются по формуле:
, (2.22)
где jгy - плотность тока в линии:
. (2.23)
Потери электроэнергии для схемы одной
распределительной линии ΔWP„ определяем по выражению
ΔWpл = ΔPΣ
τ T. (2.24)
Здесь Т - расчетный период;
ΔРΣ - суммарные потери мощности на всех
участках распределительной линии:
. (2.25)
Эквивалентный ток IΔUi для расчета потерь напряжения ΔUi на участках схемы линии и значения ΔUi вычисляем по формулам:
. (2.26)
Рисунок 2.1 - Расчетная схема распределительной линии до 1000 В
3. ОЗНАКОМЛЕНИЕ С БАЗОВОЙ КОМПЬЮТЕРНОЙ ПРОГРАММОЙ РАСЧЕТА СЕТИ 0,38кВ
Основные методические положения, приведенные в
параграфе 2 данного дипломного проекта, были реализованы в виде комплекса
программ DW1000, который был разработан на
кафедре «Электрические системы и сети». Он предназначен для оценки режимов,
расчета и анализа потерь мощности и электроэнергии в произвольной совокупности
распределительных линий 0,38 кВ с использованием как обобщенных, так и
схемно-технических детерминированных исходных данных[11].
Программа DW1000 предназначена для оценки режимов и поэлементных расчетов потерь
мощности и энергии в произвольной совокупности распределительных линий 0,38 кВ
с использованием детерминированных исходных данных и может применяться при
оценке величины потерь, их анализе и прогнозировании, а также разработке
организационно технических мероприятий по снижению потерь.
В качестве исходной информации используются
топологические данные о схеме распределительной линии (рисунок 2.1) - номера
начал и концов схемы сети, марки и длины проводов фаз (кабелей), число фаз,
марка нулевого провода; и режимные данные по головному участку линии -
максимальный ток или расход энергии, время использования максимальной активной
нагрузки и коэффициент мощности.
Исходный файл выглядит следующим образом:
1
ДАННЫЕ 11 РЕЖИМ 1 ПОДСТАНЦИЯ 1 ЛИНИЯ 1 УЧАСТОК
'БЕЛЭНЕРГО'
'МИ-РСКИИ РЭС' 1 1. 8760. 2000 2001 2002 2003 2004
'2'
1 0.380
79.0
79.0 79.0 2000 0.72 'J#CONST'
2
'A' 50 16 0.15 3 1 0.00 0.00 0.00
3
'A' 50 16 0.21 3 1 18.23 20.23 19.989
4
'A' 50 16 0.15 3 1 0.00 0.00 0.00
5
'A' 16 16 0.02 3 1 0.00 0.00 0.00
6
'A' 16 16 0.08 2 1 0.00 0.00 0.00
7
'A' 16 16 0.30 3 1 24.81 26.01 28.00
1
'A' 1 1 0.01 1 1 1 1 1
Для расчета задаются следующие данные:
Параметры задачи:
наименование верхнего структурного уровня (ПЭС);
наименование участка сети (РЭС);
число питающих подстанций;
годовой прирост электропотребления в сети, %;
расчетный период;
годы прогнозирования потерь.
Параметры ТП:
название ТП;
количество распределительных линий, отходящих от ТП
эксплуатационное напряжение на шинах подстанции, кВ.
Параметры головного участка линии:
номер (код) линии;
токи фаз на головном участке;
время использования наибольшей нагрузки;
коэффициент мощности
признак алгоритма
Параметры ветвей:
номер начала;
номер конца;
марка провода;
нагрузка в конце фазы (если присутствует)
Предусмотрена возможность задания нагрузок фаз (токи,
мощности, электропотребление) во всех узлах сети - предельный случай режимной
обеспеченности расчетов или только в узлах с ярко выраженной сосредоточенной
нагрузкой. В этом случае программа DW1000 универсальна. Она позволяет проводить расчеты сетей 0,38 кВ при
различных способах задания имеющихся режимных данных.
1 вариант расчета. Имеются схемы всех
распределительных линий 0,38 кВ и обобщенная режимная информация по сети в
целом в виде суммарного отпуска электроэнергии (упрощенный вариант расчета).
Алгоритм программы позволяет вычислить обобщенное эквивалентное сопротивление
сети R (используется допущение о
распределении неизвестных нагрузок распределительных линий пропорционально
длине их фазных проводов) и совокупную величину потерь.
2 вариант расчета. Имеются схемы
распределительных линий и режимная информация на головных участках (базовый
вариант расчета). Расчеты основаны на допущении о распределении заданных
режимных на грузок головных участков линий вдоль фазных проводов. Здесь
моделируется режим сети, и определяются все его составляющие - потоки и потери
мощности и напряжения, токи, напряжения в узлах сети, индивидуальные
эквивалентные сопротивления распределительных линий.
3 вариант расчета. Имеются схемы
распределительных линий и режимная информация на головных участках и в узлах с
сосредоточенной нагрузкой (уточненный вариант расчета). Здесь вначале
рассчитывается часть режима сети и его компоненты по заданным узловым
нагрузкам, а избыточная режимная информация головных участков (вычисленная в
виде разности режимных параметров головных участков, заданных в исход ной
информации и найденных в программе расчетным путем по нагрузкам узлов сети),
используется как и во втором варианте расчета. Результирующий режим сети
является комбинацией двух указанных расчетов.
4 вариант расчета. Имеются схемы
распределительных линий и нагрузки фаз во всех узлах сети (эталонные расчеты).
Расчеты распределительных линий выполняются в виде обычного расчета
низковольтных электрических сетей с несколькими нагрузками.
Расчет по четырем метода - одно из преимуществ данной
программы. Это позволяет не только получить данные о величине потерь в сети, но
и сравнить результаты, полученные различными методами и, соответственно,
оценить погрешность одного из методов.
Расчеты отдельных распределительных линий выполняются последовательно
друг за другом. Одновременно накапливаются потери электроэнергии и их структура
по годам расчетного периода по двум структурным подразделениям энергосистемы,
например, питающей подстанции и района электрических сетей (РЭС), РЭС и
электросетевому предприятию (ПЭС), ПЭС и энергосистеме.
На печать выдаются:
исходные данные;
сформированные режимные данные;
обобщенные и режимные показатели сети ;
результаты расчета потерь электроэнергии с прогнозом
Результаты работы программы DW1000 выглядят следующим образом:
1 ВАРИАНТ РАСЧЕТА
ИHФOPMAЦИOHHAЯ KAPTA УПPABЛEHИЯ ПEЧATЬЮ
1 ДАННЫЕ 11 РЕЖИМ 1
ПОДСТАНЦИЯ 1 ЛИНИЯ 1 УЧАСТОК
П А Р А М Е Т Р Ы З А Д А Ч И
ЭНЕРГОСТСТЕМА УАСТОК СЕТИ КОЛ-ВО
ПОДСТАНЦИЙ ПРИРОСТ ЭЛЕКТРО- РАСЧЕТНЫЙ ГОДЫ ПРОГНОЗИРОВАНИЯ ПОТЕРЬ
В УЧАСТКЕ
СЕТИ ПОТРЕБЛЕНИЯ,% ПЕРИОД,ЧАС
БЕЛЭНЕРГО МИ-РСКИИ РЭС
1 1. 8760. 1991 1992 1993 1994 1995
П
А Р А М Е Т Р Ы П О Д С Т А Н Ц И И
НОМЕР ТП ЧИСЛО ОТХО- НАПРЯЖЕНИЕ
ДЯЩИХ ЛИНИНИЙ ШИН,КВ
2 1 .380
Р А С
П Р Е Д Е Л И Т Е Л Ь Н А Я Л И Н И Я N- 1
П А Р
А М Е Т Р Ы Г О Л О В Н О Г О У Ч А С Т К А
ТОК ТОК ТОК ВРЕМЯ КОЭФФИЦ. ПРИЗНАК
ФАЗЫ ФАЗЫ ФАЗЫ МАКСИМ. МОЩНОСТИ АЛГОРИТМА
A
B C НАГРУЗКИ
/A/
/A/ /A/ /Ч/
79.0 79.0 79.0 2000. .72 J#CONST
И C X O
Д H A Я И H Ф O P M A Ц И Я O B E T B Я X C X E M Ы
K O Л И Ч E C T B O B E T B E Й - 6
HOMEP HOMEP MAPKA
CEЧEHИЯ CEЧEНИЕ ДЛИНA ЧИCЛO HAЛИЧИE ТОК ТОК ТОК
HAЧAЛA KОНЦА ПРОВОДА
ФAЗHЫX HУЛEBOГO BETBИ ФAЗ HУЛEBOГO ФАЗЫ ФАЗЫ ФАЗЫ
BETBИ BETBИ
ПPOBOДОВ ПРОВОДА B KM ВЕТВИ ПРОВОДА А,А В,А С,А
1 2 A
50 16 .15 3 1 .000 .000 .000
2 3 A
50 16 .21 3 1 18.230 20.230 19.989
2 4 A
50 16 .15 3 1 .000 .000 .000
4 5 A
16 16 .02 3 1 .000 .000 .000
4 6 A
16 16 .08 2 1 .000 .000 .000
4 7 A 16 16
.30 3 1 24.810 26.010 28.000
ЗУЛЬTATЫ
PACЧETA ПAPAMETPOB УCTAHOBИBШEГOCЯ PEЖИMA PACПPEДEЛИTEЛЬHOЙ ЛИHИИ N- 1
ЭHEPГOCИCTEMA БЕЛЭНЕРГО . УЧACTOK CETИ .МИ-РСКИИ РЭС . TП N-2
------------------------------------------------------------------------------------
: H O M E P : ЧИCЛO : HAЛИЧИE:TOK BETBИ ЭKBИBAЛEHT-: П O T E P И
:HAПPЯЖE-:
:---------------: : : HЫЙ ПO ПOTEPЯM
:-----------------: HИE :
: HAЧAЛA: KOHЦA : ФAЗHЫX :HУЛEBOГO:---------------------:MOЩHOCTИ: HAПPЯЖ.:
УЗЛOB :
: : : : : MOЩHOCTИ
:HAПPЯЖEHИЯ:--------------------------:
: BETBИ : BETBИ :ПPOBOДOB: ПPOBOДA: B /A/ : B /A/ : KBT : KB :
KB :
------------------------------------------------------------------------------------
: 1 : 2 : 3 : 1 : 79.000 : 79.000 : 1.77 :
.007 : .373 :
: 2 : 3 : 3 : 1 : 13.061 : 11.311 : .07 : .001 :
.371 :
: 2 : 4 : 3 : 1 : 48.522 : 48.298 : .67 : .005 :
.368 :
: 4 : 5 : 3 : 1 : 1.244 : 1.077 : .00 : .000 :
.368 :
: 4 : 6 : 2 : 1 : 4.976 : 4.309 : .01 : .001 :
.367 :
:
4 : 7 : 3 : 1 : 18.659 : 16.159 : .62 : .010 : .358 :
------------------------------------------------------------------------------------
PEЗУЛЬTATЫ PACЧETA ПOTEPЬ ЭHEPГИИ B PACПPEДEЛИTEЛЬHOЙ ЛИHИИ N- 1
ЭHEPГOCИCTEMA .БЕЛЭНЕРГО . УЧACTOK CETИ .МИ-РСКИИ РЭС . TП N-2
---------------------------------------------------------------------------------
:PACЧET: ПAPAMETPЫ ГOЛOBH. УЧ-KA : П O T E P И
:
:
--------------------------------------------------------------------------
: HЫЙ : T O K : ЭHEPГИЯ : M O Щ H O C T И : Э H E P Г И И
:
:
--------------------------------------------------------------------------
:ПEPИOД:
A : KBT.Ч : KBT : % :
KBT.4 : % :
---------------------------------------------------------------------------------
: 1991 : 79.000 : 74785.830 : 3.133 : 8.379 : 3812.991: 5.099
:
: 1992 : 79.790 : 75533.690 : 3.196 : 8.463 : 3889.632: 5.150
:
: 1993 : 80.588 : 76289.020 : 3.261 : 8.548 : 3967.813: 5.201
:
: 1994 : 81.394 : 77051.910 : 3.326 : 8.633 : 4047.566: 5.253
:
: 1995 : 82.208 : 77822.420 : 3.393 : 8.720 :
4128.922: 5.306 :
---------------------------------------------------------------------------------
PEЗУЛЬTATЫ
PACЧETA
ПOTEPЬ
ЭHEPГИИ
ПO
ПOДCTAHЦИИ
N-2
ЭHEPГOCИCTEMA
.БЕЛЭНЕРГО
. УЧACTOKCETИ
.МИ-РСКИИ РЭС
.
---------------------------------------------------------------------------------
:PACЧET:
ПAPAMETPЫ
ШИH
TП
: П O T E P И
:
:
--------------------------------------------------------------------------
: HЫЙ
: T O K : ЭHEPГИЯ
: M O Щ H O C T И
: Э
H E P Г И И
:
:
--------------------------------------------------------------------------
:ПEPИOД:
A : KBT.Ч : KBT : % :
KBT.4 : % :
---------------------------------------------------------------------------------
: 1991 : 79.000 : 74785.830 : 3.133 : 8.379 : 3812.991: 5.099
:
: 1992 : 79.790 : 75533.690 : 3.196 : 8.463 : 3889.632: 5.150
:
: 1993 : 80.588 : 76289.020 : 3.261 : 8.548 : 3967.813: 5.201
:
: 1994 : 81.394 : 77051.910 : 3.326 : 8.633 : 4047.566: 5.253
:
: 1995 : 82.208 : 77822.420 : 3.393 : 8.720 :
4128.922: 5.306 :
---------------------------------------------------------------------------------
PEЗУЛЬTATЫ
PACЧETA
ПOTEPЬ
ЭHEPГИИ
ПO
УЧACTKУ
CETИ
.МИ-РСКИИ РЭС
.
ЭHEPГOCИCTEMA
.БЕЛЭНЕРГО
.
---------------------------------------------------------------------------------
:PACЧET:
ПAPAMETPЫ УЧACTKA
CETИ
: П O T E P И
:
: HЫЙ
: T O K : ЭHEPГИЯ
: M O Щ H O C T И
: Э
H E P Г И И
:
:
--------------------------------------------------------------------------
:ПEPИOД:
A : KBT.Ч : KBT : % :
KBT.4 : % :
---------------------------------------------------------------------------------
: 1991 : 79.000 : 74785.830 : 3.133 : 8.379 : 3812.991: 5.099
:
: 1992 : 79.790 : 75533.690 : 3.196 : 8.463 : 3889.632: 5.150
:
: 1993 : 80.588 : 76289.020 : 3.261 : 8.548 : 3967.813: 5.201
:
: 1994 : 81.394 : 77051.910 : 3.326 : 8.633 : 4047.566: 5.253
:
: 1995 : 82.208 : 77822.420 : 3.393 : 8.720 : 4128.922: 5.306
:
---------------------------------------------------------------------------------
Программа написана на алгоритмическом языке Fortran и работает в операционной среде ДОС
и WINDOWS.
4. СОВЕРШЕНСТВОВАНИЕ ПРОГРАММЫ ПУТЕМ РЕАЛИЗАЦИИ НОВЫХ ВАРИАНТОВ РАСЧЕТА
СЕТЕЙ 0,38 кВ
Программа, предоставленная мне для доработки и реализации новых
алгоритмов выполняла поэлементный расчет потерь мощности и энергии в
распределительной линии 0,38 кВ по четырем вариантам.
В результате проделанной работы в программу был добавлен новый вариант
расчета по формулам Железко, а также добавлена статистика по длинам схем. Был
существенно переработан внешний вид выводимой информации. А главное, все
возможные варианты расчетов стали выводится в файл одновременно, что несомненно
повысило удобство использования программы.
Остановимся подробнее на каждом нововведении.
Железко Ю.С. предложил метод определения нагрузочных
потерь электроэнергии в сетях 0,38 кВ на основе зависимостей потерь от
обобщенной информации о схемах и нагрузках сети, изложенный ниже.
Потери электроэнергии в линии 0,38 кВ с сечением
головного участка Fг, мм2, отпуском
электрической энергии в линию W0,38
, за период Д, дней, рассчитывают по формуле:
, (4.1)
где
- эквивалентная длина линии;
tgφ - коэффициент реактивной мощности;
k0,38 -
коэффициент, учитывающий характер распределения нагрузок по длине линии и
неодинаковость нагрузок фаз.
Эквивалентную
длину линии определяют по формуле:
, (4.2)
где LM -
длина магистрали;
L2-3 - длина двухфазных и трехфазных ответвлений;
L1 - длина однофазных ответвлений.
Под магистралью понимается наибольшее расстояние от
шин 0,4 кВ распределительного трансформатора 6-20/0,4 кВ до наиболее удаленного
потребителя, присоединенного к трехфазной или двухфазной линии.
Внутридомовые сети многоэтажных зданий (до счетчиков
электрической энергии) включают в длину ответвлений соответствующей фазности.
При наличии стальных проводов в магистрали или
ответвлениях в формулу (3.22) подставляют длины линий, определяемые по формуле:
=La+4Lc, (4.3)
где La -
длина алюминиевых проводов;
Lc - длина стальных проводов.
Коэффициент к0,38 определяют по формуле:
0,38 = ku
(9,67 - 3,32dp - 1,844dp2 ) , (4.4)
где dp -
доля энергии, отпускаемой населению;
kи - коэффициент, принимаемый равным 1 для линии 380/220 В и
равным 3 для линии 220/127 В.
При использовании формулы (4.1) для расчета потерь в N
линиях с суммарными длинами магистралей LMΣ, двухфазных и трехфазных ответвлений
L2-3Σ
и однофазных ответвлений
L1Σ в формулу подставляют средний отпуск
электроэнергии в одну линию W0,38
= W0,38Σ
/N, где W3,38Σ - суммарный отпуск энергии в N линий, и
среднее сечение головных участков, а коэффициент k0,38, определенный по формуле (4.4), умножают на коэффициент kN , учитывающий неодинаковость длин
линий и плотностей тока на головных участках линий, определяемый по формуле
kN =1,25 + 0,14 dp (4.5)
При отсутствии данных о коэффициенте заполнения
графика и (или) коэффициенте реактивной мощности принимают к3 = 0,3; tg
φ = 0,6.
При отсутствии учета электроэнергии, отпускаемой в
линии 0,38 кВ, ее значение определяют, вычитая из энергии, отпущенной в сеть
6-20 кВ , потери в линиях и трансформаторах 6-20 кВ и энергию, отпущенную в ТП
6-20/0,4 кВ и линии 0,38 кВ, находящиеся на балансе потребителей.
Данный метод был успешно добавлен в алгоритм работы программы. Результаты
расчета имеют следующий вид:
╔════════════════════════════════════════════════════════════════════════════╗
║DLek
= 1.864000 - Эквивалентная длина линии,км ║
║Kfgel
= 1.078270 - Коэффициент формы ║
║dWgel
= 1225300.000000 - Потери электроэнергии,кВТ*ч ║
║dWgpr
= 8.534655 - Процент потерь,% ║
╚════════════════════════════════════════════════════════════════════════════╝
Статистика по длинам схем позволяет проанализировать схемы и схемную
информацию. В этом пункте рассчитываются:
средняя длина линий;
средние длины головных участков;
средние длины фаз;
эквивалентные длины;
отношение средней длины к эквивалентной;
Внешний вид выдаваемой информации:
╔═══════════════════════════════════════════════════════════════════════════════════════╗
║I
RDL RDLGU RDLM RDLO1 RDLO2 RDLO3 RDLEKV RDL/RDLEKV DWMIF DWGEL ReMIF
ReGEL║
║
1 .1 .1 .1 .0 .0 .0 .1 1.00 162340.7 177662.0
.1 .0║
║
2 1.5 .1 1.5 .0 .0 .0 1.5 1.00 1063670.0 986024.4
.4 .4║
║
3 2.5 .1 1.6 .6 .3 .0 2.3 1.07 1294258.0 1225300.0
.5 .4║
╠════════════════════════════════════════════════════════════════════════════╦══════════╝
║ Легенда для
таблицы 5: ║
║I - Номер
участка; ║
║RDL - Средняя
длина линий ║
║RDLGU - Средняя
длина головного участка ║
║RDLM
... ║
║RDL01, RDL02,
RDL03 - средние длины фаз ║
║RDLEKV -
эквивалентная длина ║
║RDL/RDLEKV
- отношение средней длины линий к эквивалентной длине ║
║DWMIF - Потери
энергии через эквивалентирование ║
║DWGEL - Потери
энергии по Железко ║
║ReMIF -
Эквивалентное сопротивление ║
║ReGEL -
Эквивалентное сопротивление по Железко ║
╠════════════════════════════════════════════════════════════════════════════╣
║DWSUM MIF=
2520268.000000-Сумма потерь электроэнергии по экивалентированию ║
║DWSUM GEL=
2388986.000000-Суммарные потери электроэнергии по Железко ║
╚════════════════════════════════════════════════════════════════════════════╝
Переработанный внешний вид а также тот факт, что информация по всем
вариантам расчета выдается одновременно, позволяют наглядно оценить потери
электроэнергии по различным вариантам расчета и сравнить их. Файл результатов
расчета:
Таблица
1. Исходная информация о схеме
════════════════════════════════════════════════════════════════════════════════
П А Р А М Е Т Р Ы З А Д А Ч И
ЭНЕРГОСИСТЕМА
УЧАСТОК СЕТИ КОЛ-ВО ПОДСТАНЦИЙ ПРИРОСТ ЭЛЕКТРО- РАСЧЕТНЫЙ
В УЧАСТКЕ СЕТИ ПОТРЕБЛЕНИЯ% ПЕРИОД,ЧАС
БЕЛЭНЕРГО
МИ-РСКИИ РЭС 1 1. 744.
════════════════════════════════════════════════════════════════════════════════
П А Р А М Е Т Р Ы П О Д С Т А Н Ц И И
НОМЕР ТП ЧИСЛО ОТХО- НАПРЯЖЕНИЕ
ДЯЩИХ ЛИНИНИЙ ШИН,КВ
11 1 .380
════════════════════════════════════════════════════════════════════════════════
Р А С П Р Е Д Е Л И Т Е Л Ь Н А Я Л И Н И Я N- 1
П А Р А М Е Т Р Ы Г О Л О В Н О Г О У Ч А С Т К А
ТОК ТОК ТОК ВРЕМЯ КОЭФФИЦ. ПРИЗНАК
ФАЗЫ ФАЗЫ ФАЗЫ МАКСИМ. МОЩНОСТИ АЛГОРИТМА
A B C НАГРУЗКИ
/A/
/A/ /A/ /Ч/
55.0 60.0 30.0 500. .90 J#CONST
════════════════════════════════════════════════════════════════════════════════
И C X O Д H A Я И H Ф O P M A Ц И Я O B E T B Я X C X E M Ы
K
O Л И Ч E C T B O B
E T B E Й - 9нач Nкон MAPKA CEЧEHИЯ CEЧEНИЕ ДЛИНA ЧИCЛO HAЛИЧИE ТОК ТОК ТОК
ПРОВОДА ФАЗHЫX HУЛEBOГO BETBИ ФAЗ HУЛEBOГO ФАЗЫ ФАЗЫ ФАЗЫ
ПPOBOДОВ
ПРОВОДА B KM ВЕТВИ ПРОВОДА А,А В,А С,А
──────────────────────────────────────────────────────────────────────────────
1
2 А-50 50 16 .100 3 1 11.21 13.06 5.32
──────────────────────────────────────────────────────────────────────────────
2
3 А-50 50 16 .200 3 1 4.17 4.84 1.99
──────────────────────────────────────────────────────────────────────────────
3
4 А-50 50 16 .500 3 1 6.26 7.26 2.99
──────────────────────────────────────────────────────────────────────────────
4
5 А-25 25 16 .200 3 1 16.68 19.26 7.96
──────────────────────────────────────────────────────────────────────────────
5
6 А-25 25 16 .300 2 1 .00 11.62 4.78
──────────────────────────────────────────────────────────────────────────────
6
7 А-16 16 16 .200 1 1 .00 3.87 .00
──────────────────────────────────────────────────────────────────────────────
3
30 А-16 16 16 .400 1 1 8.34 .00 .00
──────────────────────────────────────────────────────────────────────────────
5
50 А-16 16 16 .400 2 1 8.34 .00 3.98
──────────────────────────────────────────────────────────────────────────────
50
51 А-16 16 16 .200 1 1 .00 .00 2.99
════════════════════════════════════════════════════════════════════════════════
Таблица 2. Сопротивления участков из каталогов
╔═══════════════════════════════════════╗
║
N1 N2 MAPKA Длина PRIZM RI RN ║
╠═══════════════════════════════════════╣
║
1 2 А-50 .100 1.000 .059 .196║
║
2 3 А-50 .200 1.000 .118 .392║
║
3 4 А-50 .500 1.000 .294 .980║
║
4 5 А-25 .200 1.000 .233 .392║
║
5 6 А-25 .300 .000 .350 .588║
║
6 7 А-16 .200 .000 .392 .392║
║
3 30 А-16 .400 .000 .784 .784║
║
5 50 А-16 .400 1.000 .784 .784║
║
50 51 А-16 .200 1.000 .392 .392║
╚═══════════════════════════════════════╝
Таблица
3.1 Уточненный расчет по нагрузкам фаз
Суммарный
отпуск мощности 28.713510 кВт
╔═════════════════════════════════════════════════════════════════════════════════════════════════════════════════╗
║
Эталонный расчёт ║
╠══╦══╦═════╦═════╦═════╦══════╦═════╦═════╦═════╦═════╦═════╦═════╦═════╦═════╦═════╦═════════╦═════════╦════════╣
║
n║ n║ Ia ║ Ib ║ Ic ║ Io ║ dUa ║
dUb ║ dUc ║ dPa ║ dPb ║ dPc ║ Ua ║ Ub ║
Uc ║ Pa ║ Pb ║ Pc ║
╠══╬══╬═════╬═════╬═════╬══════╬═════╬═════╬═════╬═════╬═════╬═════╬═════╬═════╬═════╬═════════╬═════════╬════════╣
║
1║ 2║ 55.0║ 59.9║ 30.0║ 27.82║ 3.78║
4.11║ 2.06║ 178.║ 211.║ 53.║215.9║217.6║217.6║
10687.14║ 11733.77║ 5877.66║
║
2║ 3║ 43.8║ 46.8║ 24.7║ 20.84║ 6.02║
6.44║ 3.39║ 226.║ 258.║ 72.║209.9║209.4║212.5║
8271.80║ 8832.10║ 4722.18║
║
3║ 4║ 31.3║ 42.0║ 22.7║ 16.76║10.74║14.43║
7.80║ 288.║ 519.║ 151.║199.1║195.4║202.1║
5606.24║ 7390.01║ 4128.68║
║
4║ 5║ 25.0║ 34.8║ 19.7║ 13.21║ 6.13║
8.51║ 4.83║ 146.║ 281.║ 91.║203.7║201.3║205.0║
4588.21║ 6297.99║ 3637.53║
║
5║ 6║ .0║ 15.5║ 4.8║ 13.73║ .00║
5.69║ 1.76║ 0.║ 84.║ 8.║ .0║193.4║197.4║
.00║ 2696.90║ 849.15║
║
6║ 7║ .0║ 3.9║ .0║ 3.87║ .00║
1.54║ .00║ 0.║ 6.║ 0.║ .0║202.2║
.0║ .00║ 704.31║ .00║
║
3║30║ 8.3║ .0║ .0║ 8.34║ 6.66║
.00║ .00║ 55.║ 0.║ 0.║197.1║ .0║
.0║ 1479.42║ .00║ .00║
║
5║50║ 8.3║ .0║ 7.0║ 7.75║ 6.66║
.00║ 5.56║ 55.║ 0.║ 38.║192.5║ .0║193.6║
1444.78║ .00║ 1214.31║
║50║51║
.0║ .0║ 3.0║ 2.99║ .00║ .00║ 1.19║
0.║ 0.║ 4.║ .0║ .0║191.3║ .00║
.00║ 514.76║
╠══╩══╩═════╩═════╩═════╩══════╩═════╩═════╩═════╩═════╩═════╩═════╩═════╩═════╩═════╩═════════╩═════════╩════════╣
║
Суммарные потери по фазам Pa= 945.96 Вт, Pb=1359.12 Вт, Pc= 416.23
Вт ║
║
Суммарные потери dP= 3.609
кВт,(12.568%) ║
╚═════════════════════════════════════════════════════════════════════════════════════════════════════════════════╝
Таблица 3.2 Потери электроэнергии по эталону
Суммарный
отпуск W= 14300.200000 кВт*ч
╔════════════════════════════════════════════════════════════════════╗
║
Эталонный расчёт потерь электроэнергии ║
╠══╦══╦══════════╦══════════╦══════════╦═════════╦═════════╦═════════╣
║
n║ n║ Wa ║ Wb ║ Wc ║ dWa ║
dWb ║ dWc ║
╠══╬══╬══════════╬══════════╬══════════╬═════════╬═════════╬═════════╣
║
1║ 2║ 5343571.0║ 5866886.0║ 2938829.0║ 69684.9║
82682.2║ 20746.5║
║
2║ 3║ 4135902.0║ 4416051.0║ 2361090.0║ 88347.3║
101125.9║ 28085.7║
║
3║ 4║ 2803122.0║ 3695007.0║ 2064338.0║ 112698.1║
203277.1║ 59351.9║
║
4║ 5║ 2294107.0║ 3148993.0║ 1818763.0║ 57143.4║
110230.4║ 35462.1║
║
5║ 6║ .0║ 1348451.0║ 424576.9║ .0║
32853.8║ 3128.5║
║
6║ 7║ .0║ 352153.2║ .0║ .0║
2300.1║ .0║
║
3║30║ 739710.2║ .0║ .0║ 21364.1║
.0║ .0║
║
5║50║ 722387.6║ .0║ 607153.1║ 21364.1║
.0║ 14921.7║
║50║51║
.0║ .0║ 257379.4║ .0║ .0║
1373.0║
╠══╩══╩══════════╩══════════╩══════════╩═════════╩═════════╩═════════╣
║
Суммарные потери электроэнергии = 1413.850 кВт*ч ( 9.887%) ║
╚════════════════════════════════════════════════════════════════════╝
Таблица
4. Расчет параметров установившегося режима через нагрузку на ГУ в линии N- 1
╔══════════════════════════════════════════════════════════════════════════════════╗
║
Расчет через нагрузку на ГУ ║
╠══════════════════════════════════════════════════════════════════════════════════╣
║
N1 N2 TOKE TOKS TOKP RI CD KI DPE DPU U TOE TOEP
NNP║
╠══════════════════════════════════════════════════════════════════════════════════╣
║
1 2 46.946 45.545 2.788 .059 1.442 3 .561 .008 .372 46.946 46.939 1
║
║
2 3 42.787 39.968 5.577 .118 1.442 3 .932 .015 .357 42.787 42.756 1
║
║
3 4 29.554 22.308 13.942 .294 1.442 3 1.111 .026 .331 29.554 29.279 1
║
║
4 5 19.586 16.731 5.577 .233 1.442 3 .387 .014 .343 19.586 19.519 1
║
║
5 6 7.378 2.788 8.365 .350 1.442 2 .055 .005 .326 7.378 6.971 1
║
║
6 7 3.220 .000 5.577 .392 1.442 1 .006 .001 .342 3.220 2.788 1
║
║
3 30 6.440 .000 11.154 .784 1.442 1 .047 .004 .339 6.440 5.577 1
║
║
5 50 8.964 2.788 11.154 .784 1.442 2 .182 .013 .313 8.964 8.365
1 ║
║
50 51 3.220 .000 5.577 .392 1.442 1 .006 .001 .312 3.220 2.788
1 ║
╠════════════════════════════════════════════════════════════════════════════╦═════╝
║Суммарные
потери dP= 3.285 кВт, dW= 1287.127 кВт*ч ║
╠════════════════════════════════════════════════════════════════════════════╣
║Легенда
для таблицы 4 ║
║TOKE
- Эквивалентный ток ║
║TOKS
- Сосредоточенный ток ║
║TOKP
- Равномерно распределенный ток ║
║RI
- Сопротивление i-го участка, Ом ║
║CD-Коэффициент
увеличения потерь мощности из-за неравномерности загрузки фаз║
║KI
- Коэффициент исполнения ║
║DPE
- Потери мощности, кВт ║
║DPU
- Потери напряжения, кВ ║
║UUS
- Напряжение i-го узла, кВ ║
║TOE
- Ток ветви через потери, А ║
║TOEP
- Ток ветви через потери мощности, А ║
║NNP
- Наличие нулевого провода ║
╚════════════════════════════════════════════════════════════════════════════╝
Таблица 5. Расчет потерь электроэнергии через эквивалирование (по БНТУ)
╔════════════════════════════════════════════════════════════════════════════╗
║Kzap = .672 -
Коэффициент заполнения ║
║T = 744. -
Расчетный период, ч ║
║WGU = 14356760. -
Отпуск электроэнергии, Вт*ч ║
║Tmax = 500. -
Время максимальных потерь, ч ║
║Psum = 28713.51 -
Суммарная мощность, Вт ║
║dPs = 3285.380 -
Суммарные потери, кВт ║
║Rek = .4688 -
Эквивалентное сопротивление ║
║Kf = 1.0798 -
Коэффициент формы ║
║dWs = 1294.258 -
Потери электронергии, кВт*ч ║
║dWspr= 9.015 -
Процент потери электронергии,% ║
╚════════════════════════════════════════════════════════════════════════════╝
Таблица
6. Расчёт потерь электроэнергии по Железко
╔════════════════════════════════════════════════════════════════════════════╗
║DLek = 1.86400 -
Эквивалентная длина линии,км ║
║Kfgel= 1.07827 -
Коэффициент формы ║
║dWgel= 1264.78300 -
Потери электроэнергии,кВт*ч ║
║dWgpr= 8.80967 -
Процент потерь,% ║
Таблица
7. СТАТИСТИКА ПО ДЛИНАМ СХЕМ
╔═══════════════════════════════════════════════════════════════════════════════════════╗
║
I RDL RDLGU RDLM RDLO1 RDLO2 RDLO3 RDLEKV RDL/RDLEKV DWMIF DWGEL
ReMIF ReGEL║
║
1 2.50 .10 1.60 .60 .30 .00 2.33 1.07 1294.26 1264.78
.469 .445║
╠════════════════════════════════════════════════════════════════════════════╦══════════╝
║
Легенда для таблицы 7: ║
║I
- Номер участка; ║
║RDL
- Средняя длина линий, км ║
║RDLGU
- Длина головного участка, км ║
║RDLM
- Длина магистральных проводов, км ║
║RDL01,
RDL02, RDL03 - Длины 1-, 2-, 3-хфазных ответвлений, км ║
║RDLEKV
- эквивалентная длина, км ║
║RDL/RDLEKV
- отношение средней длины линий к эквивалентной длине ║
║DWMIF
- Потери энергии через эквивалентирование, кВт*ч ║
║DWGEL
- Потери энергии по Железко, кВт*ч ║
║ReMIF
- Эквивалентное сопротивление по БНТУ, Ом ║
║ReGEL
- Эквивалентное сопротивление по Железко, Ом ║
╠════════════════════════════════════════════════════════════════════════════╣
║DWSUM
MIF= 1294.258 -Сумма потерь электроэнергии по эквивалентированию ║
║DWSUM
GEL= 1264.783 -Суммарные потери электроэнергии по Железко ║
╚════════════════════════════════════════════════════════════════════════════╝
. СБОР, АНАЛИЗ И ПОДГОТОВКА ДАННЫХ ДЛЯ ВЫПОЛНЕНИЯ ЭКСПЛУАТАЦИОННЫХ
РАСЧЕТОВ ЭЛЕКТРИЧЕСКОЙ СЕТИ 0,38 кВ РЭС «Г» НА ЭВМ
С внедрением ЭВМ определение потерь электроэнергии в низковольтных сетях
носит менее трудоемкий характер, так как отпала необходимость в ручном счете по
многочисленным громоздким формулам. Но появилась потребность в правильном сборе
и подготовке исходной информации для проведения расчетов в сетях энергосистем.
Для правильности выполнения расчетов необходимо рассматриваемую сеть
представить как можно реальнее.
Всего было собрано и обработано информации о двадцати понижающих
подстанциях 10/0.4 кВ и тридцати схемах. Схемы линий собирались в пофазном
исполнении и далее преобразовывались в расчетную схему (см. графический
материал).
По каждой схеме необходимо знать:
токи по каждой из фаз, А;
длины участков по линиям, км;
время использования максимальной нагрузки, ч.
Для проведения расчетов потери электроэнергии в электрических сетях 0.38
кВ РЭС “Г” в настоящей работе в качестве исходной информации имеем:
. Количество подстанций - 20 шт.
. Расчетный период -8760 ч.
Для каждой подстанции заданы необходимые параметры. Данные для всех
подстанций приводим в таблице 5.1.
Для каждой ветви задана исходная информация. Она включает в себя:
.Номер начала ветви;
.Номер конца ветви;
.Сечение фазных и нулевых проводов;
.Марка провода;
.Длина ветви в километрах;
.Число фаз ветви;
.Наличие нулевого провода.
Суммарная протяженность всей ветви составляет 17,02 км. Марка провода
ветви - тип АС (сталеалюминевые). Выделяем максимальную и минимальную по длине
ветви:
.Максимальна длина - 0,16 км.
.Минимальная длина - 0,01 км.
Распечатки расчетных схем с исходными данными для ввода значений в ПЭВМ
приведены в приложении 1.
Из таблицы 5.1 видно, что у нас имеется всего 30 отходящих линий.
Распределение нагрузок по длине линий можно увидеть на гистограммах
(рисунки 5.1-5.3).
Таблица 5.1 - Параметры подстанций
|
Наименование подстанции
|
Число отходящих линий, шт
|
Напряжение шин,
кВ
|
|
КТП 7010
|
1
|
0.38
|
|
КТП 7014
|
1
|
0.38
|
|
КТП 7029
|
1
|
0.38
|
|
КТП 7104
|
2
|
0.38
|
|
КТП 7110
|
2
|
0.38
|
|
КТП 7134
|
1
|
0.38
|
|
КТП 7144
|
1
|
0.38
|
|
КТП 7211
|
1
|
0.38
|
|
КТП 7212
|
2
|
0.38
|
|
КТП 7329
|
1
|
0.38
|
|
КТП 7216
|
2
|
0.38
|
|
КТП 7209
|
1
|
0.38
|
|
КТП 7259
|
2
|
0.38
|
|
КТП 7330
|
3
|
0.38
|
|
КТП 7429
|
1
|
0.38
|
|
КТП 7432
|
2
|
0.38
|
|
КТП 7630
|
1
|
0.38
|
|
КТП 7633
|
2
|
0.38
|
|
КТП 7729
|
1
|
0.38
|
|
КТП 7730
|
2
|
0.38
|
|
Итого:
|
30
|
0.38
|
Рисунок
5.1. Гистограмма распределения нагрузки по длине фазы А
Рисунок
5.2. Гистограмма распределения нагрузки по длине фазы B
Рисунок 5.3. Гистограмма распределения нагрузки по длине фазы C
Рисунок 5.4. Гистограмма распределения нагрузки по длине линий
Распределение подключения нагрузок по длине линий можно увидеть на
рисунке 5.4.
Проанализировав гистограммы можно сделать вывод, что наибольшее
количество присоединений приходится на начало линий, примерно на 30% ее длины и
снижается к концу линий до одного присоединения.
Распределение нагрузки по длине линий не равномерно и максимум приходится
на среднюю часть линии, что соответствует нормальному закону распределения.
Распределение нагрузки по фазам неодинаково, но схоже, если гистограммы
по фазам совместить, то наибольшая нагрузка будет приходиться на 50% длины
линий.
Для проведения расчетов потери электроэнергии в электрических сетях 0.38
кВ РЭС ”Г” в настоящей работе в качестве исходной информации имеем:
.Токи нагрузок по фазам;
.Номинальную мощность подстанций;
.Номинадьное напряжение;
.Время наибольших потерь.
Из таблицы
4.1 видно, что суммарная мощность сети равна 3700 кВ·А.
Время наибольших потерь для смешанной нагрузки сети 1200ч.
Таблица 4.1 - Исходные данные по распределительным линиям
|
Наименование
|
Нагрузки фаз, А
|
Номинальная мощность, кВ·А
|
Номинальное напряжение, кВ
|
TMAX, ч
|
|
|
A
|
B
|
C
|
|
|
|
|
|
КТП 7010
|
25,9
|
19,0
|
20,00
|
100
|
0,38
|
1200
|
|
|
КТП 7014
|
25,0
|
23,2
|
20,20
|
160
|
0,38
|
1200
|
|
|
КТП 7029
|
22,0
|
18,0
|
20,00
|
100
|
0,38
|
1200
|
|
|
КТП 7104 рл1
|
20,0
|
17,0
|
18,00
|
100
|
0,38
|
1200
|
|
|
КТП 7104 рл2
|
25,0
|
27,0
|
24,00
|
160
|
0,38
|
1200
|
|
|
КТП 7110 рл1
|
16,0
|
15,0
|
10,00
|
100
|
0,38
|
1200
|
|
|
КТП 7110 рл2
|
25,0
|
27,0
|
24,00
|
160
|
0,38
|
1200
|
|
|
КТП 7134
|
27,0
|
25,0
|
24,00
|
160
|
0,38
|
1200
|
|
|
КТП 7144
|
20,0
|
17,0
|
18,00
|
100
|
0,38
|
1200
|
|
|
КТП 7211
|
35,0
|
30,0
|
32,00
|
180
|
0,38
|
1200
|
|
|
КТП 7212 рл1
|
20,0
|
15,0
|
16,00
|
100
|
0,38
|
1200
|
|
|
КТП 7329
|
15,0
|
10,0
|
13,00
|
100
|
0,38
|
1200
|
|
|
КТП 7212 рл2
|
18,0
|
16,0
|
13,00
|
100
|
0,38
|
1200
|
|
|
КТП 7216 рл1
|
20,0
|
15,0
|
17,00
|
100
|
0,38
|
1200
|
|
|
КТП 7216 рл2
|
35,0
|
30,0
|
30,00
|
160
|
0,38
|
1200
|
|
|
КТП 7209
|
37,0
|
36,0
|
34,00
|
180
|
0,38
|
1200
|
|
|
КТП 7259 рл1
|
26,0
|
23,0
|
24,00
|
160
|
0,38
|
1200
|
|
|
КТП 7259 рл2
|
15,0
|
12,0
|
13,00
|
100
|
0,38
|
1200
|
|
|
КТП 7330 лр1
|
15,0
|
10,0
|
13,00
|
100
|
0,38
|
1200
|
|
|
КТП 7330 лр2
|
10,0
|
8,0
|
12,00
|
100
|
0,38
|
1200
|
|
|
КТП 7330 лр3
|
23,0
|
20,0
|
22,00
|
160
|
0,38
|
1200
|
|
|
КТП 7429
|
27,0
|
25,0
|
18,00
|
100
|
0,38
|
1200
|
|
|
КТП 7432 рл1
|
22,0
|
20,0
|
15,00
|
100
|
0,38
|
1200
|
|
|
КТП 7432 рл2
|
12,0
|
8,0
|
10,00
|
100
|
0,38
|
1200
|
|
|
КТП 7630
|
20,0
|
24,0
|
22,00
|
160
|
0,38
|
1200
|
|
|
КТП 7633 рл1
|
15,0
|
10,0
|
13,00
|
100
|
0,38
|
1200
|
|
|
КТП 7633 рл2
|
18,0
|
15,0
|
16,00
|
100
|
0,38
|
1200
|
|
|
КТП 7729
|
19,0
|
18,0
|
17,00
|
100
|
0,38
|
1200
|
|
|
КТП 7730 рл1
|
24,0
|
20,0
|
21,00
|
160
|
0,38
|
1200
|
|
|
КТП 7730 рл2
|
20,0
|
15,0
|
17,00
|
100
|
0,38
|
1200
|
|
|
Итого
|
651,9
|
568,2
|
566,20
|
3700
|
0,38
|
1200
|
|
|
|
|
|
|
|
|
|
|
|
|
|
|
6. ВЫПОЛНЕНИЕ РАСЧЕТОВ ПОТЕРЬ В СЕТИ ПО РАЗЛИЧНЫМ МЕТОДИКАМ, АНАЛИЗ И
ОБОБЩЕНИЕ ПОЛУЧЕННЫХ РЕЗУЛЬТАТОВ
В данном параграфе выполнен технико-экономический анализ результатов
расчетов потерь электроэнергии в распределительной электрической сети 0,38 кВ
района «Г», проведенных по усовершенствованной программе.
Основная цель анализа заключается в разработке мероприятий по снижению
дополнительных технических и коммерческих потерь электроэнергии, а его глубина
определяется целями и задачами, которые ставит перед собой исследователь. В
процессе анализа оцениваются различные технико-экономические характеристики
сети:
численная величина, структура и динамика потерь электроэнергии в
отдельных элементах распределительных электрических сетей 0,38 кВ и их
совокупности;
узлы с пониженным уровнем напряжения;
перегруженные участки линий;
обобщенные статистические данные и другие показатели.
Для принятия экономических обоснованных решений по снижению потерь
электроэнергии в распределительных электрических сетях необходимо, прежде
всего, оценить численную величину и структуру потерь.
Расчет
величины и структуры потерь в электрических сетях 0,38 кВ РЭС “Г” производились
по модернизированному комплексу программ DWV на кафедре “Электрические системы”.
Результаты
расчетов потерь электроэнергии в электрических сетях 0,38 кВ РЭС “Г” в
обобщенном виде в таблице 6.1. и на рисунках 6.1-6.4
Диаграмма
потерь мощности по распределительным линиям по данным таблицы 6.2 приведены на
рисунке 6.6-6.7, величина и структура потерь на рисунках 6.4-6.5.
Используя
результаты распечаток, составляем таблицу результатов расчета потерь мощности и
электроэнергии по всем распределительным линиям и подстанциям.
Рисунок
6.1 - Величина потерь энергии в сети 0,38 кВ РЭС “Г”
Рисунок
6.2 - Величина и потерь энергии в сети 0,38 кВ РЭС “Г”
Рисунок
6.3 - Величина и потерь энергии в сети 0,38 кВ РЭС “Г”
Рисунок
6.4 - Величина потерь энергии в сети 0,38 кВ РЭС “Г”
Таблица 6.1 -
Результаты расчета потерь электроэнергии
|
Наименование
|
Нагрузки головного участка
по фазам, А.
|
Энергия, кВт· ч,
|
Потери энергии, кВт· ч,
|
|
A
|
B
|
C
|
|
Уточненный расчет по
нагрузкам фаз
|
Расчет по нагрузкам на
головном участке
|
Расчет через
эквивалентирование
|
Расчет по формулам Железко
|
|
КТП 7010
|
25,9
|
19,0
|
20,0
|
17015
|
58.986
|
89.764
|
90.262
|
115.248
|
|
КТП 7014
|
25,0
|
23,2
|
20,2
|
18168
|
105.517
|
77.561
|
77.990
|
89.962
|
|
КТП 7029
|
22,0
|
18,0
|
20,0
|
15730
|
135.519
|
79.675
|
80.116
|
103.049
|
|
КТП 7104 рл1
|
20,0
|
17,0
|
18,0
|
14419
|
103.640
|
71.840
|
72.238
|
114.604
|
|
КТП 7104 рл2
|
25,0
|
27,0
|
24,0
|
19925
|
199.610
|
143.156
|
143.949
|
229.248
|
|
КТП 7110 рл1
|
16,0
|
15,0
|
10,0
|
10749
|
81.054
|
53.380
|
53.676
|
77.838
|
|
КТП 7110 рл2
|
25,0
|
27,0
|
24,0
|
19925
|
189.022
|
111.569
|
112.187
|
189.303
|
|
КТП 7134
|
27,0
|
25,0
|
24,0
|
19925
|
229.010
|
160.755
|
161.646
|
257.035
|
|
КТП 7144
|
20,0
|
17,0
|
18,0
|
14419
|
105.781
|
71.699
|
72.096
|
114.604
|
|
КТП 7211
|
35,0
|
30,0
|
32,0
|
25431
|
256.905
|
195.596
|
196.679
|
320.819
|
|
КТП 7212 рл1
|
20,0
|
16,0
|
13371
|
104.845
|
70.835
|
71.227
|
129.823
|
|
КТП 7329
|
15,0
|
10,0
|
13,0
|
12322
|
76.425
|
54.911
|
55.215
|
92.324
|
|
КТП 7212 рл2
|
18,0
|
16,0
|
13,0
|
24906
|
316.844
|
209.851
|
211.014
|
345.717
|
|
КТП 7216 рл1
|
20,0
|
15,0
|
17,0
|
13633
|
107.568
|
71.293
|
71.688
|
117.077
|
|
КТП 7216 рл2
|
35,0
|
30,0
|
30,0
|
28052
|
434.616
|
296.219
|
297.860
|
486.767
|
|
КТП 7209
|
37,0
|
36,0
|
34,0
|
19138
|
197.283
|
127.350
|
128.055
|
213.109
|
|
КТП 7259 рл1
|
26,0
|
23,0
|
24,0
|
10487
|
53.909
|
29.867
|
30.033
|
52.438
|
|
КТП 7259 рл2
|
15,0
|
12,0
|
13,0
|
9963
|
59.097
|
39.216
|
39.433
|
54.099
|
|
КТП 7330 лр1
|
15,0
|
10,0
|
13,0
|
9963
|
59.097
|
39.216
|
39.433
|
54.099
|
|
КТП 7330 лр2
|
10,0
|
8,0
|
12,0
|
7865
|
37.690
|
22.568
|
22.693
|
29.172
|
|
КТП 7330 лр3
|
23,0
|
20,0
|
22,0
|
17041
|
107.820
|
75.420
|
75.838
|
133.389
|
|
КТП 7429
|
27,0
|
25,0
|
18,0
|
18352
|
200.938
|
102.369
|
102.936
|
185.639
|
|
КТП 7432 рл1
|
22,0
|
20,0
|
15,0
|
14944
|
162.096
|
73.623
|
74.030
|
131.883
|
|
КТП 7432 рл2
|
12,0
|
8,0
|
10,0
|
7865
|
49.580
|
22.109
|
22.231
|
34.097
|
|
КТП 7630
|
20,0
|
24,0
|
22,0
|
17303
|
183.576
|
96.536
|
97.071
|
193.844
|
|
КТП 7633 рл1
|
15,0
|
10,0
|
13,0
|
9963
|
73.070
|
41.898
|
42.130
|
62.001
|
|
КТП 7633 рл2
|
18,0
|
15,0
|
16,0
|
12846
|
91.896
|
55.312
|
55.618
|
90.963
|
|
КТП 7729
|
19,0
|
18,0
|
17,0
|
14157
|
101.685
|
63.805
|
64.159
|
83.470
|
|
КТП 7730 рл1
|
24,0
|
20,0
|
21,0
|
17041
|
131.438
|
74.221
|
74.632
|
133.389
|
|
КТП 7730 рл2
|
20,0
|
15,0
|
17,0
|
13633
|
98.976
|
63.554
|
63.906
|
102.443
|
|
Итого:
|
651,9
|
568,2
|
566,2
|
368551
|
4113,493
|
2685,168
|
2700,041
|
4337,453
|
Рисунок
6.5 - Величина мощности и потерь мощности в сети 0,38 кВ РЭС “Г”
Рисунок
6.6. - Величина мощности и потерь мощности в сети 0,38 кВ РЭС “Г”
Рисунок 6.7 - Величина и структура потерь мощности в сети 0,38 кВ РЭС
“Г”, найденная по нагрузкам фаз
Рисунок 6.8 - Величина и структура потерь мощности в сети 0,38 кВ РЭС
“Г”, найденная по нагрузкам фаз
Таблица 6.2 -
Результаты расчета потерь мощности
|
Наименование
|
Р, кВт.
|
Потери мощности, кВт.
|
|
|
Уточненный расчет по нагрузкам
фаз
|
Расчет по нагрузкам на
головном участке
|
|
КТП 7010
|
14.235
|
0,114
|
0,174
|
|
КТП 7014
|
15.200
|
0,204
|
0,15
|
|
КТП 7029
|
13.160
|
0,293
|
0,154
|
|
КТП 7104 рл1
|
12.064
|
0,2
|
0,139
|
|
КТП 7104 рл2
|
16.670
|
0,386
|
0,277
|
|
КТП 7110 рл1
|
8.993
|
0,165
|
0,103
|
|
КТП 7110 рл2
|
16.670
|
0,364
|
0,216
|
|
КТП 7134
|
16.670
|
0,443
|
0,311
|
|
КТП 7144
|
12.064
|
0,209
|
0,139
|
|
КТП 7211
|
21.276
|
0,497
|
0,379
|
|
КТП 7212 рл1
|
11.186
|
0,203
|
0,137
|
|
КТП 7329
|
10.309
|
0,147
|
0,106
|
|
КТП 7212 рл2
|
20.837
|
0,613
|
0,406
|
|
КТП 7216 рл1
|
11.406
|
0,21
|
0,138
|
|
КТП 7216 рл2
|
23.469
|
0,841
|
0,574
|
|
КТП 7209
|
16.012
|
0,381
|
0,247
|
|
КТП 7259 рл1
|
8.774
|
0,11
|
0,058
|
|
КТП 7259 рл2
|
8.335
|
0,129
|
0,076
|
|
КТП 7330 лр1
|
8.335
|
0,129
|
0,076
|
|
КТП 7330 лр2
|
6.580
|
0,094
|
0,044
|
|
КТП 7330 лр3
|
14.257
|
0,225
|
0,146
|
|
КТП 7429
|
15.354
|
0,404
|
0,198
|
|
КТП 7432 рл1
|
12.502
|
0,328
|
0,143
|
|
КТП 7432 рл2
|
6.580
|
0,101
|
0,043
|
|
КТП 7630
|
14.476
|
0,358
|
0,187
|
|
КТП 7633 рл1
|
8.335
|
0,161
|
0,081
|
|
КТП 7633 рл2
|
10.748
|
0,186
|
0,107
|
|
КТП 7729
|
11.844
|
0,228
|
0,124
|
|
КТП 7730 рл1
|
14.257
|
0,262
|
0,144
|
|
КТП 7730 рл2
|
11.406
|
0,203
|
0,123
|
|
Итого:
|
2803,004
|
8,188
|
5,2
|
Анализ полученных результатов расчета позволяет сделать следующие выводы:
малое значение потерь обусловлено невысокой длинной линий;
наиболее близким к эталонному расчету (расчету по нагрузкам фаз) можно
считать расчет по формулам Железко;
с уменьшением длины линии расчет по формулам Железко становится менее
точным;
невысокая точность (по сравнению с эталонным расчетом) расчета через
эквивалентирование обусловлена невысокой разветвленностью линий;
максимальный ток головного участка:
фаза А 37 А КТП 7209;
фаза В 36 А КТП 7209;
фаза С 34 А КТП 7209.
напряжение узлов лежит в пределах от 0,380 до 0,337 кВ;
среднее значение тока по фазам:
IАср=
21.73 А;
IBср=18.94
А;
IСср=18.87
А.
7. ОЦЕНКА МЕРОПРИЯТИЙ по снижению потерь ЭЛЕКТРИЧЕСКОЙ ЭНЕРГИИ В СЕТИ
0,38 кВ РЭС “Г”
7.1 Замена ответвлений от ВЛ 0,38 кВ к
зданиям
Фактическое снижение потерь электроэнергии при проведении мероприятия
определяется суммой снижений потерь в заменяемых ответвлениях, рассчитываемых
по формуле[3]:
(7.1)
где ρ1 и ρ2- удельное сопротивление материала, соответственно
старого и нового проводов, Ом·мм2/км; для алюминиевых проводов ρ2=31.5
Ом·мм2/км, для медных
18.6 Ом·мм2/км, для остальных при токе нагрузки 3-5 А ρ2=125-140
Ом·мм2/км;
F1 и F2 - сечение соответственно старого и
нового проводов, мм2;
m -
количество фаз в ответвлении; при однофазном ответвлении m = 1, при трёхфазном ответвлении m = 3;
l -
длина ответвления, км;
I -
ток в ответвлении, А.
Пример 1. Расчет замены ответвлений для КТП 7010:
тыс.
кВт·ч;
кВт·ч;
кВт·ч;
тыс.
кВт·ч.
Результаты
расчета снесены в таблицу 7.3.
7.2 Замена проводов на перегруженных линиях
Целесообразность
замены проводов перегруженных линий должна оцениваться по минимуму приведенных
затрат на замену. При этом необходимо учитывать фактическую нагрузку линий,
предполагаемое её увеличение на ближайшую перспективу и стоимость замены
проводов[14].
Наиболее
широко мероприятия применяются на ВЛ 0.38 кВ - 6 - 10 кВ.
При
приближенной оценке целесообразности замены проводов на на ВЛ 0.38 кВ можно
руководствоваться экономическими интервалами нагрузок, рассчитанными институтом
«Сельэнергопроект» и приведенными ниже:
Таблица
7.1 - Экономические
интервалы нагрузок
|
Марка и сечение провода,
мм2
|
А-16+А-16
|
2хА-16+ А-16
|
3хА-16+ А-16
|
3хА-25+ А-25
|
3хА-50+ А-50
|
|
Экономические интервалы
нагрузок для ВЛ 0.38 кВ, А
|
0-4,6
|
4,6-8,8
|
8,8-20,5
|
20,5-38,6
|
>38,6
|
Фактическое снижение потерь электроэнергии определяется по формуле:
δWф = К0 КП(ΔW1Р - ΔW2Р) тыс. кВт, (7.2)
где К0 - коэффициент, принимаемый равным 1, если значения расчетных
потерь определялись при оптимальных режимах работы сети, и равным 0.9, если
значения потерь рассчитывались без предварительной оптимизации режимов;
Кп - коэффициент учитывающий точность методов расчета потерь
электроэнергии.
В нашей сети
перегруженных линий нет, так как соблюдается условие по предельно допустимому
току нагрузки
Iдоп
Iнагр.
Таблица.7.2 -
Допустимые токи
|
Марка провода
|
Iдоп, А
|
|
АС-16
|
105
|
|
АС-25
|
135
|
|
АС-35
|
170
|
|
АС-50
|
215
|
7.3 Стимулирование потребителей электроэнергии и
выравнивание графиков нагрузки
Мероприятие выполняется потребителями электроэнергии под стимулирующим
воздействием предприятия «Энергонадзор» и его отделений на уменьшение максимума
и выравнивание графика нагрузки.
В общем виде снижение потерь электроэнергии от выполнения мероприятий
определяется по упрощенной формуле:
(7.3)
где δWΣ - суммарные потери электроэнергии в
электрической сети ПЭС;
Pмакс
- суммарная максимальная нагрузка;
δPмакс - суммарное снижение максимума нагрузки за счёт
выравнивания графиков.
7.4 Выравнивание нагрузок фаз в электрических
сетях 0.38 кВ
Основной причиной повышенных потерь напряжения является появление падения
напряжения нулевой последовательности, равного произведению тока нулевой
последовательности на сопротивление нулевой последовательности сети. Некоторую
роль играет падение напряжения обратной последовательности, однако его влиянием
на режим работы однофазных потребителей можно пренебречь из-за малой величины
сопротивления обратной последовательности сети по сравнению с сопротивлением
нулевой последовательности.
Чтобы уменьшить разницу между потерями напряжения симметричного и
несимметричного режимов сети, необходимо прежде всего свести к минимуму потерю
напряжения, вызванную токами нулевой последовательности. Поскольку полной
ликвидации падения напряжения нулевой последовательности достичь нельзя,
дальнейшее снижение потерь напряжения несимметричного режима может быть
получено уменьшением падения напряжения прямой последовательности.
Следовательно, необходимо увеличить сечение проводов линии. При этом
уменьшается и сопротивление нулевой последовательности, поскольку токи нулевой
последовательности протекают по проводкам линии.
Наименьшая величина падения напряжений нулевой последовательности будет
иметь место при минимальных значениях тока и сопротивления нулевой
последовательности. Такие меры, как симметричные распределения по фазам
однофазных электроприемников, включение мощных однофазных потребителей на
линейное напряжение, позволяют предупредить появление больших токов нулевой
последовательности.
Для уменьшения дополнительных потерь, вызванных несимметрией нагрузок,
важно уменьшить сопротивление нулевой последовательности сети. Это
сопротивление складывается из сопротивлений нулевой последовательности
трансформатора и линии. Сопротивление нулевой последовательности
трансформаторов со схемой Y/Yo относительно велико. Как показали
исследования, потеря напряжения в этих трансформаторах при несимметрии нагрузок
может доходить до 16-20% вместо 4% при симметричном режиме. Такая высокая
чувствительность этих трансформаторов к несимметрии нагрузок ставит под
сомнение целесообразность их использования и сельских электрических сетях.
Известен ряд схем соединений обмоток трансформаторов, мало чувствительных
к несимметрии нагрузок [6-8]. Учитывая отечественный и зарубежный опыт
конструирования и эксплуатации трансформаторов, предпочтение следует отдать
схеме Y/Zo.
Числовой пример наглядно покажет, насколько уменьшается потеря напряжения
в трансформаторе при переходе от схемы Y/Yo к схеме Y/Zo.
Y/Zo.
Рисунок 7.1 - Распределение потерь напряжения в трансформаторе.
Обратимся к рассмотренному ранее примеру и вычислим потери напряжения в
обмотках трансформатора для случаев: l) Y/Yo при вероятностной несимметрии; 2) схемы Y/Zo при
вероятностной несимметрии; 3) симметрично изменяющейся нагрузки (для обеих
схем). При расчетах будем, считать, что сопротивления обмоток трансформаторов в
обеих схемах одинаковы. Кроме того, примем, что сопротивление нулевой
последовательности схемы Y/Zo равно сопротивлению обмотки, трансформатора.
Результаты вычислений приведены на рисунке 7.1. Кривая 1, представляет собой
функцию распределения потери напряжения в трансформаторе со схемой Y/Yo при
вероятностной несимметрии, кривая 2 - то же для трансформатора Y/Zo; кривая,
изображающая функцию распределения потери напряжения в фазе трансформатора с
нагрузкой, изменяющейся без нарушения симметрии, совладает с кривой 2.
При уровне значимости 5% потери напряжения в трансформаторе со схемой Y/Yo достигают ~ 13,5%, в то время как при нулевом уровне
значимости и схеме Y/Zo эти потери не превышают 2,5%.
Этот эффект будет чувствоваться несколько слабее, если рассматривать
потерю напряжения во всей сети, включая потери в трансформаторе и линии. Здесь
сказывается влияние сопротивления нулевой последовательности линии. Однако и в
этом случае уменьшение максимальной потери напряжения в фазе 'при переходе на
схему Y/Zo достигает 10%. Функции распределения для случая сети с трансформатором
Y/Zo соответствует кривая 3 на рисунке 7.2. (построение по условиям
рассматриваемого примера).
Для линий большей протяженности этот эффект будет меньше. Тем не менее
приведенные примеры показывают, что задача уменьшения сопротивления нулевой последовательности
одного из элементов сети - трансформатора-успешно решается использованием схемы
соединения обмоток «звезда-зигзаг-нуль».
Сопротивление нулевой последовательности линии равно:
zол=3zн + zф. (7.4)
Индуктивным сопротивлением можно пренебречь;
тогда
0л=3rн + rф (7.5)
Рисунок 7.2 - Функция распределения потерь напряжения в трансформаторе и
линии, вычисленная по точной формуле для случаев
- вероятностной несимметрии при соединении обмоток трансформатора Y/Y;
2 - вероятностной
несимметрии при соединении обмоток трансформатора Y/Z;
3 - симметричной
нагрузки.
Уменьшение сопротивления нулевой последовательности линии достигается
уменьшением сопротивлений фазного rф и нулевого rн проводов и
может быть учтено в практических расчетах сети.
Плановое и фактическое снижение потерь электрической энергии за счёт
управления систематической несимметрией определяется по формуле:
ΔW = ΔW(КН1-КН2), тыс. кВт·ч (7.6)
где ΔW -
потери электроэнергии в сетях 0.38 кВ при равномерной загрузке фаз, принимаем
из результатов расчета на ПЭВМ (см. ниже);
КН1, КН2 - коэффициенты систематической несимметрии до и после
симметрирования, определяемые по формуле:
(7.7)
где IA, IВ, IС -
среднее значение токов фаз за период с 17 до 23 часов.
Для духпроводной линии КП = 1.
Пример 2.Расчет выравнивания нагрузок фаз для КТП 7010:
(Исходная схема для расчета приведена в приложении 1, после
симметрирования на рисунке 7.4 и результаты расчета потерь энергии в таблице
7.4)
о.е.;
о.е.;
ΔW=58,986 тыс.
кВт·ч.;

58,986·(1.061-0.997)=8,8734
тыс. кВт·ч.
Результаты расчета сводим в таблицу 7.3. и по ним строим диаграмму
(Рисунок 7.3)
В результате проведения мероприятий по снижению потерь:
- от замены ответвлений к зданиям, потери электроэнергии снизились на
4,2% от суммарных потерь по сети;
от выравнивания нагрузок фаз в сети потери снизились на 5,0% от суммарных
потерь по сети;
В сумме потери снизились на 9,2%
Таблица 7.3 - Результаты мероприятий по снижению потерь
|
Наименование
|
КН1
|
КН2
|
W, кВт·ч
|
ΔW, кВт·ч
|
, кВт·ч(ΔW+δW0) кВт·ч
|
|
|
КТП 7010
|
1,061
|
0,997
|
58.986
|
8,8734
|
5,516
|
14,3894
|
|
КТП 7014
|
1,019
|
1
|
105.517
|
1,6048
|
4,238
|
5,8428
|
|
КТП 7029
|
1,020
|
1
|
135.519
|
1,693
|
3,386
|
5,079
|
|
КТП 7104 рл1
|
1,021
|
1
|
103.640
|
2,0124
|
3,832
|
5,8444
|
|
КТП 7104 рл2
|
1,018
|
1
|
199.610
|
1,84
|
6,388
|
8,228
|
|
КТП 7110 рл1
|
1,071
|
1
|
81.054
|
5,1132
|
2,88
|
7,9932
|
|
КТП 7110 рл2
|
1,020
|
1
|
189.022
|
3,8038
|
7,132
|
10,9358
|
|
КТП 7134
|
1,021
|
1
|
229.010
|
5,542
|
9,896
|
15,438
|
|
КТП 7144
|
1,019
|
1
|
105.781
|
4,4808
|
8,842
|
13,3228
|
|
КТП 7211
|
1,053
|
1
|
256.905
|
10,4518
|
7,394
|
17,8458
|
|
КТП 7212 рл1
|
1,056
|
1
|
104.845
|
6,9136
|
4,628
|
11,5416
|
|
КТП 7329
|
1,059
|
1
|
76.425
|
11,2532
|
7,152
|
18,4052
|
|
КТП 7212 рл2
|
1,049
|
1
|
316.844
|
4,9058
|
3,754
|
8,6598
|
|
КТП 7216 рл1
|
1,058
|
1
|
107.568
|
7,0446
|
4,554
|
11,5986
|
|
КТП 7216 рл2
|
1,060
|
1
|
434.616
|
20,3432
|
12,714
|
33,0572
|
|
КТП 7209
|
1,024
|
1
|
197.283
|
6,0858
|
9,508
|
15,5938
|
|
КТП 7259 рл1
|
1,022
|
1
|
53.909
|
10,542
|
14,374
|
24,916
|
|
КТП 7259 рл2
|
1,023
|
1
|
59.097
|
8,266
|
1,862
|
10,128
|
|
КТП 7330 лр1
|
1,021
|
1
|
59.097
|
1,043
|
5,086
|
6,129
|
|
КТП 7330 лр2
|
1,055
|
1
|
37.690
|
7,4596
|
7,196
|
14,6556
|
|
КТП 7330 лр3
|
1,019
|
1
|
107.820
|
3,6462
|
5,034
|
8,6802
|
|
КТП 7429
|
1,068
|
1
|
200.938
|
24,0802
|
7,686
|
31,7662
|
|
КТП 7432 рл1
|
1,062
|
1
|
162.096
|
8,3764
|
5,066
|
13,4424
|
|
КТП 7432 рл2
|
1,068
|
1
|
49.580
|
2,192
|
1,208
|
3,4
|
|
КТП 7630
|
1,063
|
1
|
183.576
|
18,975
|
9,294
|
28,269
|
|
КТП 7633 рл1
|
1,061
|
1
|
73.070
|
3,9376
|
2,42
|
6,3576
|
|
КТП 7633 рл2
|
1,060
|
1
|
91.896
|
5,4178
|
3,054
|
8,4718
|
|
КТП 7729
|
1,021
|
1
|
101.685
|
1,8962
|
3,386
|
5,2822
|
|
КТП 7730 рл1
|
1,031
|
1
|
131.438
|
4,2044
|
5,086
|
9,2904
|
|
КТП 7730 рл2
|
1,063
|
1
|
98.976
|
6,0644
|
3,61
|
9,6744
|
|
Итого
|
|
|
4113,493
|
208,06
|
176,176
|
384,2382
|
-
Рисунок
7.3 - Результаты мероприятий по уменьшению потерь электроэнергии
8. Расчет и анализ технико-экономических
показателей
В последние годы в качестве общепринятого критерия экономичности при
оценке технических решений принимается значение годовых приведенных затрат[1]:
З=Ен·К+И, (8.1)
где К - капитальные затраты;
ЕН - нормативный коэффициент эффективности; в задачах энергетики
принимается равным 0,12;
И - годовые издержки производства, равные себестоимости продукции.
Экономический смысл приведенных затрат повыражению (8.1) заключается в
том, что к себестоимости продукции прибавляется величина ЕНК, которая
определяет ущерб, наносимый народному хозяйству в следствии отвлечения
капитальных затрат К от других возможных объектов и использования этих затрат
именно на рассматриваемом объекте. Таким образом, чтобы обеспечить высокую
эффективность производства, т.е. низкую стоимость продукции, необходимо
стремиться к минимуму приведенных затрат[8,9].
В капитальные вложения включают стоимость всех основных и оборотных
фондов, связанных с сооружением рассматриваемого объекта. Стоимость ВЛ
напряжением 0.38 кВ можно определить по следующей формуле:
Кл=(а+b·μ·F)·l, (8.2)
где а - постоянная часть стоимости (опоры, изоляция и монтаж линии),
руб/км, по справочным данным принимаем а = 2600 руб/км;
b -
постоянный коэффициент, руб/(км·мм2), b = 4;
м - число проводов;
F -
сечение проводов, мм2 ;
l -
длина ЛЭП, км;
Стоимость трансформаторных подстанций определяем по формуле:
Кп=m+n·S
(8.3)
где m - постоянная составляющая стоимости
подстанции, тыс. руб;
S -
мощность трансформаторной подстанции, МВА;
N -
постоянный коэффициент, n =
1,65 тыс. руб./кВ·А.
Ежегодные издержки производства можно определить по следующему выражению:
И= Иа+Иобс.+Иэ, (8.4)
где Иа - амортизационные отчисления на реновацию, находятся по следующей
формуле:
, (8.4.1)
где mэ - количество элементов сети;
Pai -
норма амортизационных отчислений i-го
элемента, %; Pa = 3,6 %;
Ki -
кап вложения в i-й элемент;
Иобс. - издержки на обслуживание сети, находятся по формуле:
, (8.4.2)
где
g - издержки на обслуживание одной у.е.;(g =28 руб. в год.)
ånу.е.- сумма у.е. по обслуживанию электрической сети
2.3 у.е.; подстанции 10/0.38 кВ с одним трансформатором 4.0 у.е.;
Иэ
- затраты на потери электроэнергии в сетях, состоящие из затрат в ВЛ и
трансформаторах, которые находятся по формулам:
Иэ.л.=(Sp/Uн)2r0·ltCл·105 , (8.4.3)
Иэ.т.=((Sp/Uн)2DPк·tCх+DPх·Тв·Cх
)·10-2 , (8.4.4)
где
Sp - расчётная электрическая нагрузка элемента сети,
кВ·А;
Uн - номинальное
напряжение ЛЭП, кВ;
r0 - удельное
активное сопротивление проводов ЛЭП, Ом/км;
l - расчётная
длина ЛЭП, км;
Сл,
Ск, Сх, - удельные затраты ЛЭП, КЗ, ХХ, коп. на 1кВт·ч;
t - время потерь, ч в год;
Sн - номинальная
мощность трансформатора, кВ·А;
DPк - номинальные
потери в обмотках трансформатора, кВт;
DPх - номинальные
потери в стали трансформатора, кВт;
Тв
- продолжительность работы трансформатора, Тв =8760 ч.
Издержки от потерь электроэнергии в ЛЭП будем рассчитывать с учетом уже
ранее рассчитанных в П.6. потерь электроэнергии
Удельные затраты находятся по формуле:
(8.4.6)
где
M и N - коэффициенты равные М, коп. на 1кВт·ч =0,90; N,
коп. на 1кВт в год =6800;
h - показатель
режима нагрузки, для сетей со смешанной нагрузкой h = 1900 часов в
год;
Для
трансформаторных подстанций h = 1600 часов в год;
Для
трансформаторных подстанций хх h = 8760 часов в год;
Находим Сл,
Ск, Сх :
Сл = 0,9+6800/1900=4,48 коп./кВт·ч;
Ск = 0,9+6800/1600=5,16 коп./кВт·ч;
Сх = 0,9+6800/8760=1,67 коп./кВт·ч;
Рассчитаем технико-экономические показатели для комплектного
трансформатоорного пункта (КТП) 7010, 7014.
Иэл(7010) = 174·1200·4,48 = 72,4 коп.
Иэл(7014) = 150·1200·4,48 = 31,6 коп.
Иэт(7010) =((40/100) 2 0,365·1200·5,16+2,27·8760·1,67)·10 -2 = 336,3 коп.
Иэт(7014) =((104/160) 2 0,565·1200·5,16+2,65·8760·1,67)·10 -2 = 404,9коп.
Иэ(7010) = 72,4+366,3 =438,7 коп.
Иэ(7014) = 31,6+404,9 =436,5 коп.
Иобс = 28·(2,3+4,0)= 176,4 руб. в год.
Найдем капитальные затраты.
КЛ7010=(2600+4·(3·29,05+2·18,49))·0,325=1,00 тыс. руб.
КПС7010=1,400+1,650·100=166,4 тыс. руб.
К7010=1,00+166,4=167,4 тыс. руб.
Иа7010=3,6·169,498/100=6,03 тыс. руб.
КЛ7014=(2600+4·(4·56,24+4·29,05))·0,44=1,74 тыс. руб.
КПС7014=1,400+1,650·160=265,4 тыс. руб.
К7014=1,74+265,4=267,14 тыс. руб.
Иа7014=3,6·267,14/100=9,62 тыс. руб.
Тогда
И7010=6,03+176,4·10-3+379,0·10-6=6,207 тыс. руб.
И7014=9,62+267,14·10-3+436,5·10-6=9,798 тыс. руб.
Тогда
З7010=0,12·167,4+6,207=26,295 тыс. руб.
З7014=0,12·267,14+9,798=41,855 тыс. руб.
Результаты расчёта сведем в таблицу 8.1.
Таблица 8.1 -
Результаты расчета технико-экономических показателей
|
Наименование линии и КТП
|
Кл, тыс. руб.
|
Кпс, тыс. руб.
|
КS, тыс. руб.
|
Иа, тыс. руб.
|
Иобс, руб.
|
Иэ.л., коп.
|
Иэ.т., коп.
|
Иэ., коп.
|
И, тыс. руб.
|
З, тыс. руб.
|
|
КТП 7010
|
1,00
|
166,4
|
167,40
|
6,03
|
176,4
|
42,4
|
336,6
|
379,0
|
6,207
|
26,295
|
|
КТП 7014
|
1,74
|
265,4
|
267,14
|
9,62
|
176,4
|
31,6
|
404,9
|
436,5
|
9,798
|
41,855
|
|
КТП 7029
|
1,04
|
166,4
|
167,44
|
6,03
|
176,4
|
30,1
|
336,3
|
366,4
|
6,208
|
26,301
|
|
КТП 7104 рл1
|
1,45
|
166,4
|
167,85
|
6,04
|
176,4
|
28,6
|
335,5
|
364,1
|
6,223
|
26,365
|
|
КТП 7104 рл2
|
2,47
|
265,4
|
267,87
|
9,64
|
176,4
|
64,6
|
390,2
|
454,8
|
9,824
|
41,969
|
|
КТП 7110 рл1
|
1,68
|
166,4
|
168,08
|
6,05
|
176,4
|
21,5
|
334,0
|
355,5
|
6,231
|
26,400
|
|
КТП 7110 рл2
|
2,04
|
265,4
|
267,44
|
9,63
|
176,4
|
53,3
|
391,7
|
445,0
|
9,809
|
41,901
|
|
КТП 7134
|
2,77
|
265,4
|
268,17
|
9,65
|
176,4
|
73,9
|
400,4
|
474,3
|
9,835
|
42,016
|
|
КТП 7144
|
1,51
|
166,4
|
167,91
|
6,04
|
176,4
|
30,5
|
340,0
|
370,5
|
6,225
|
26,374
|
|
КТП 7211
|
3,67
|
166,4
|
170,07
|
6,12
|
176,4
|
90,9
|
399,5
|
490,4
|
6,304
|
26,712
|
|
КТП 7212 рл1
|
3,02
|
166,4
|
169,42
|
6,10
|
176,4
|
34,6
|
335,0
|
369,6
|
6,279
|
26,610
|
|
КТП 7329
|
1,48
|
166,4
|
167,88
|
6,04
|
176,4
|
53,4
|
333,7
|
387,1
|
6,224
|
26,370
|
|
КТП 7212 рл2
|
2,77
|
166,4
|
169,17
|
6,09
|
176,4
|
28,0
|
334,6
|
362,6
|
6,270
|
26,571
|
|
КТП 7216 рл1
|
2,36
|
166,4
|
168,76
|
6,08
|
176,4
|
34,0
|
335,2
|
369,2
|
6,255
|
26,507
|
|
КТП 7216 рл2
|
3,75
|
265,4
|
269,15
|
9,69
|
176,4
|
94,9
|
403,6
|
498,5
|
9,871
|
42,169
|
|
КТП 7209
|
4,30
|
298,4
|
302,70
|
10,90
|
176,4
|
135,8
|
394,0
|
529,8
|
11,079
|
47,403
|
|
КТП 7259 рл1
|
1,79
|
265,4
|
267,19
|
9,62
|
176,4
|
64,3
|
391,3
|
455,6
|
9,800
|
41,863
|
|
КТП 7259 рл2
|
1,79
|
166,4
|
168,19
|
6,05
|
176,4
|
13,9
|
339,0
|
352,9
|
6,235
|
26,418
|
|
КТП 7330 лр1
|
1,48
|
166,4
|
167,88
|
6,04
|
176,4
|
47,7
|
338,7
|
386,4
|
6,224
|
26,370
|
|
КТП 7330 лр2
|
1,18
|
166,4
|
167,58
|
6,03
|
176,4
|
13,4
|
337,3
|
350,7
|
6,213
|
26,322
|
|
КТП 7330 лр3
|
1,72
|
265,4
|
267,12
|
9,62
|
176,4
|
37,3
|
395,1
|
432,4
|
9,797
|
41,851
|
|
КТП 7429
|
1,89
|
166,4
|
168,29
|
6,06
|
176,4
|
33,6
|
334,7
|
368,3
|
6,239
|
26,433
|
|
КТП 7432 рл1
|
1,34
|
166,4
|
167,74
|
6,04
|
176,4
|
37,8
|
335,8
|
373,6
|
6,219
|
26,348
|
|
КТП 7432 рл2
|
1,38
|
166,4
|
167,78
|
6,04
|
176,4
|
37,8
|
333,1
|
370,9
|
6,220
|
26,354
|
|
КТП 7630
|
2,69
|
265,4
|
268,09
|
9,65
|
176,4
|
47,8
|
390,7
|
438,5
|
9,832
|
42,003
|
|
КТП 7633 рл1
|
1,64
|
166,4
|
168,04
|
6,05
|
176,4
|
18,9
|
333,7
|
352,6
|
6,229
|
26,394
|
|
КТП 7633 рл2
|
1,57
|
166,4
|
167,97
|
6,05
|
176,4
|
22,8
|
334,8
|
357,6
|
6,227
|
26,383
|
|
КТП 7729
|
0,99
|
166,4
|
167,39
|
6,03
|
176,4
|
20,8
|
335,4
|
356,2
|
6,206
|
26,293
|
1,73
|
265,4
|
267,13
|
9,62
|
176,4
|
51,7
|
390,6
|
442,3
|
9,798
|
41,853
|
|
КТП 7730 рл2
|
1,38
|
166,4
|
167,78
|
6,04
|
176,4
|
37,3
|
335,2
|
372,5
|
6,220
|
26,354
|
|
59,62
|
6015,0
|
6074,62
|
218,69
|
5292
|
1333,1
|
10730,6
|
12063,7
|
224,099
|
953,053
|
Стоимость потерь
СΔЭ=ΔЭ·СЭ, (8.4.7)
где ΔЭ - потери электроэнергии, кВт·ч;
СЭ- стоимость одного 1 кВт·ч потерь электроэнергии.
Потери энергии получены по результатам расчета на ПЭВМ и приведены ниже в
таблице 8.2.
Таблица 8.2 - Результаты расчета себестоимости
|
Название
|
, Вт. , ч.ΔЭ кВт· ч.
|
С л, руб/кВт· ч.
|
С ΔЭ, руб.
|
|
|
|
КТП 7010
|
174
|
1200
|
89.764
|
4,48
|
402,14
|
|
КТП 7014
|
150
|
1200
|
77.561
|
4,48
|
347,47
|
|
КТП 7029
|
154
|
1200
|
79.675
|
4,48
|
356,94
|
|
КТП 7104 рл1
|
139
|
1200
|
71.840
|
4,48
|
321,84
|
|
КТП 7104 рл2
|
277
|
1200
|
143.156
|
4,48
|
641,34
|
|
КТП 7110 рл1
|
103
|
1200
|
53.380
|
4,48
|
239,14
|
|
КТП 7110 рл2
|
216
|
1200
|
111.569
|
4,48
|
499,83
|
|
КТП 7134
|
311
|
1200
|
160.755
|
4,48
|
720,18
|
|
КТП 7144
|
139
|
1200
|
71.699
|
4,48
|
321,21
|
|
КТП 7211
|
379
|
1200
|
195.596
|
4,48
|
876,27
|
|
КТП 7212 рл1
|
137
|
1200
|
70.835
|
4,48
|
317,34
|
|
КТП 7329
|
106
|
1200
|
54.911
|
4,48
|
246,00
|
|
КТП 7212 рл2
|
406
|
1200
|
209.851
|
4,48
|
940,13
|
|
КТП 7216 рл1
|
138
|
1200
|
71.293
|
4,48
|
319,39
|
|
КТП 7216 рл2
|
574
|
1200
|
296.219
|
4,48
|
1327,06
|
|
КТП 7209
|
247
|
1200
|
127.350
|
4,48
|
570,53
|
|
КТП 7259 рл1
|
58
|
1200
|
29.867
|
4,48
|
133,80
|
|
КТП 7259 рл2
|
76
|
1200
|
39.216
|
4,48
|
175,69
|
|
КТП 7330 лр1
|
76
|
1200
|
39.216
|
4,48
|
175,69
|
|
КТП 7330 лр2
|
44
|
1200
|
22.568
|
4,48
|
101,10
|
|
КТП 7330 лр3
|
146
|
1200
|
75.420
|
4,48
|
337,88
|
|
КТП 7429
|
198
|
1200
|
102.369
|
4,48
|
458,61
|
|
КТП 7432 рл1
|
143
|
1200
|
73.623
|
4,48
|
329,83
|
|
КТП 7432 рл2
|
43
|
1200
|
22.109
|
4,48
|
99,05
|
|
КТП 7630
|
187
|
1200
|
96.536
|
4,48
|
432,48
|
|
КТП 7633 рл1
|
81
|
1200
|
41.898
|
4,48
|
187,70
|
|
КТП 7633 рл2
|
107
|
1200
|
55.312
|
4,48
|
247,80
|
|
КТП 7729
|
124
|
1200
|
63.805
|
4,48
|
285,85
|
|
КТП 7730 рл1
|
144
|
1200
|
74.221
|
4,48
|
332,51
|
|
КТП 7730 рл2
|
123
|
1200
|
63.554
|
4,48
|
284,72
|
|
5200
|
1200
|
29300,40
|
2685,168
|
1312,66
|
Итого суммарная стоимость потерь энергии (С ΔЭ) равна 1312,66 руб.
Годовые эксплутационные расходы
ГЭ=РΣ· Кл+ СΔЭ, (8.4.10)
где РΣ - ежегодные отчисления на амортизацию, ремонт и обслуживание;
РΣ=(ра + рр + ро), (8.4.10.1)
где ра - норма амортизационных отчислений;
(рр + ро) - затраты на ремонт и обслуживание
рр + ро =0.005; ра =0.057.
ГЭ = (0.057 + 0.005)·59.62 +1312.25·10-3=5,008 тыс. руб.
Себестоимость передачи энергии
,
(8.4.8)
.
Расчетная
стоимость передачи энергии
, (8.4.9)
.
Сведем
все технико-экономические показатели в таблицу 8.3.
Таблица
8.3 - Технико-экономические показатели
|
Nºп/п
|
Название показателя
|
Условное обозначение
|
Единица измерения
|
Величина
|
|
1
|
Капиталовложения на
сооружение ВЛЭП
|
К
|
тыс. руб.
|
59.62
|
|
2
|
Ежегодные отчисления
|
Ра· К
|
тыс. руб.
|
3.696
|
|
2
|
Годовые эксплутационные
расходы
|
ГЭ
|
тыс. руб.
|
5.008
|
|
4
|
Приведенные затраты
|
З
|
тыс. руб.
|
8.704
|
|
5
|
Стоимость потерь
|
СΔЭ1
|
руб.
|
1312.25
|
|
6
|
Себестоимость передачи
энергии
|
СС
|
1.07
|
|
|
7
|
Стоимость передачи энергии
|
СП
|
1.859
|
|
|
8
|
Стоимость потерь после
замены ответвлений от ВЛ 0.38 кВ к зданиям
|
СΔЭ2а
|
руб.
|
1273.2
|
|
Стоимость потерь после
выравнивание нагрузок фаз
|
СΔЭ2б
|
руб.
|
1266.05
|
|
9
|
Стоимость потерь после
проведения мероприятий по снижению потерь электроэнергии
|
СΔЭ2
|
руб.
|
1144.8
|
9. Охрана труда при эксплуатации низковольтных
электрических сетей
.1 Общие указания мер безопасности
электрический сеть потеря нагрузка
К работе электромонтером по эксплуатации оборудования распределительных
сетей 0,4-10 кВ, (электромонтером) допускаются лица не моложе 18 лет, прошедшие
медицинский осмотр и признанные годными к выполнению вышеуказанной работы[5].
Электромонтер при приеме на работу должен пройти вводные инструктажи по
охране труда и пожарной безопасности.
До назначения на самостоятельную работу нужно пройти:
необходимую теоретическую подготовку;
вводный инструктаж;
первичный инструктаж на рабочем месте;
производственное обучение на рабочем месте;
проверку знаний ПТБ, настоящей Инструкции и др. документов в объеме и
сроки, установленные руководством предприятия.
После прохождения первичного инструктажа на рабочем месте и проверки
знаний следует расписаться в соответствующих журналах и получить удостоверение
о проверке знаний, в котором должна быть указана присвоенная группа по
электробезопасности, а также права на производство специальных работ.
После прохождения подготовки по п.1.3.электромонтер может приступить к
самостоятельной работе на основании соответствующего письменного распоряжения
по предприятию. Самостоятельно работающий электромонтер должен иметь группу по
электробезопасности не ниже 2.
Электромонтер должен проходить в процессе работы:
-текущий инструктаж перед проведением работы;
периодические инструктажи (не реже одного раза в месяц);
проверку знаний ПТБ и настоящей инструкции (один раз в год);
других документов в сроки, установленные руководством;
медицинский осмотр (один раз в год).
внеплановый инструктаж или внеочередную проверку знаний по указанию
руководства.
В процессе труда электромонтера могут иметь место следующие опасные и
вредные производственные факторы:
повышенное значение напряжения в электрической цепи, замыкание которой
может произойти через тело человека при приближении на расстояние менее
допустимого к неизолированным токоведущим частям и элементам оборудования,
находящимся под напряжением, а также при перемещении и работе в зонах
растекания токов замыкания на землю, влияния электрического поля и наведенного
напряжения;
повышенная напряженность электрического и магнитных полей при работе
вблизи ВЛ напряжением 330кВ и выше;
расположение рабочего места на значительной высоте относительно
поверхности земли;
недостаточная освещенность рабочей зоны при работе в помещениях и на
улице в темное время суток;
повышенная или пониженная температура воздуха рабочей зоны, а также
поверхностей оборудования и материалов при выполнении работ в не отапливаемых
помещениях и вне помещений;
повышенная или пониженная влажность воздуха, а также сильный ветер при
работах вне помещений;
движущиеся машины и механизмы, перемещаемые и поднимаемые элементы
оборудования, натягиваемые провода и тросы;
разрушающиеся конструкции и элементы оборудования в процессе работы и в
аварийных ситуациях;
острые кромки, заусенцы и шероховатости на поверхностях заготовок,
инструментов, оборудования;
химически опасные и вредные вещества при пайке, сварке, покраске.
Для защиты от воздействия опасных и вредных факторов необходимо применять
соответствующие средства защиты и спецодежду согласно действующим отраслевым
нормам. Применяемые средства защиты и спецодежда должны соответствовать
отраслевым нормам.
Для защиты от прохождения тока через тело служат электрозащитные
средства: диэлектрические перчатки, боты, галоши, ковры, подставки, накладки,
колпаки, переносные и специальные заземления, изолирующие штанги, указатели
напряжения, слесарно-монтажный инструмент с изолированными ручками.
В сетях напряжением до 1000В (как правило, небольшой протяженности)
пренебрегают емкостной проводимостью фаз относительно земли.
При касании человеком фазы сети проходящий через его тело ток
(9.1)
где
Uф - фазное напряжение;
rч -
сопротивление тела человека (принимается равным 1кОм);
z - полное
сопротивление изоляции фазы относительно земли (составляет 100кОм и более на
фазу).
Поскольку
z>>rч, ток
незначителен.
Следовательно, прикосновение человека к фазе относительно безопасно (рисунок
9.1.). Именно это обстоятельство обуславливает применение изолированной
нейтрали в электроустановках указанных объектов, помещение которых с точки
зрения опасности поражения людей электрическим током относятся к помещениям
особо опасным или с повышенной опасностью.
Рисунок
9.1 -.Однополюсное прикосновение к токоведущей части, в сети c
заземленной нейтралью
При
недостаточной освещенности рабочей зоны следует применять дополнительное
местное освещение.
Электромонтер
должен применять по назначению полученную спецодежду и спецобувь:
хлопчатобумажный
костюм, кирзовые сапоги, резиновые сапоги для работ в заболоченной местности,
рукавицы;
при
наружных работах зимой - куртку и хлопчатобумажные брюки на утепленной
прокладке, валенки, рукавицы хлопчатобумажные теплые.
При
выполнении работ на территории подстанций, в распредустройствах, ТП, необходимо
пользоваться защитной каской.
При
работе с легковоспламеняющимися жидкостями {ЛВЖ} необходимо обеспечить пожарную
безопасность: не курить, не пользоваться открытым огнем, не допускать во время
работы вблизи от ЛВЖ возникновения искр, в том числе электрических.
При
проведении огневых работ /пайка, сварка/ необходимо обеспечить пожарную
безопасность, выполняя требования * Инструкции о мерах пожарной безопасности
при проведении огневых работ на энергетических объектах Минэнерго
СССР.*/М.;ХОЗУ Минэнерго,85/
При
несчастном случае следует немедленно приступить к оказанию первой помощи,
обратиться за медицинской помощью и сообщить о случившемся администрации.
Необходимо уметь правильно оказывать помощь пострадавшему до прибытия
медицинского персонала, а также принять меры к сохранению обстановки, при
которой произошел несчастный случай, если это не угрожает жизни людей и
безаварийной работе оборудования.
О
замеченных неисправностях оборудования, приспособлений и инструмента,
представляющих опасность для себя и окружающих, необходимо сообщить своему или
вышестоящему руководителю и без их разрешения к работе не приступать.
Необходимо
соблюдать следующие требования гигиены:
мыть
руки с мылом перед принятием пищи и курением;
не
применять для мытья рук бензин, керосин и различные растворители;
спецодежду
и средства индивидуальной защиты содержать в чистоте и хранить их отдельно от
домашних и личных вещей.
Недопустимо
распитие спиртных напитков во время работы на территории и в помещениях
предприятия, а также появление на работе в нетрезвом состоянии.
Необходимо
соблюдать, установленные Правилами внутреннего трудового распорядка предприятия
время начала и окончания работы, а также время перерывов для питания и отдыха.
Каждый
электромонтер должен соблюдать все требования, изложенные в настоящей
Инструкции, а при выполнении специальных работ или совмещении профессий, также
требования соответствующих инструкций по охране труда.
За
нарушения требований настоящей Инструкции виновный может быть привлечен к
дисциплинарной ответственности. Если нарушение связано с причинением
имущественного ущерба предприятию, то виновный несет материальную
ответственность в установленном законом порядке.
9.2 Указания мер безопасности перед началом
работы
Порядок подготовки рабочего места:
Перед началом работы необходимо осмотреть свое рабочее место и
подготовить его к работе:
убрать лишние детали и предметы, мешающие работе;
освободить проход, если он загроможден;
убедиться в наличии противопожарного инвентаря и средств пожаротушения;
принять меры по предотвращению нахождения людей в зоне производства
работ.
Электромонтер может участвовать в подготовке рабочего места на КЛ, КТП,
РУТП, оборудовании ПС по поручению выдающего наряд или распоряжение в качестве
допускающего, производителя работ или совмещая их обязанности.
Допускающий в электроустановках до 1000В должен иметь группу 3 по
электробезопасности, а выше 1000В-группу 4.
Производитель работ, выполняемых по наряду в электроустановках выше
1000В, должен иметь группу 4, в электроустановках до 1000В- группу 3.
Подготовка рабочего места выполняется в строгом соответствии с
нарядом-допуском после получения разрешения дежурного ОДГ /диспетчера РЭС,
ОДС/. Разрешение должно быть получено перед началом подготовки рабочего места,
но не заранее. При возникновении сомнения в возможности безопасного выполнения
работы или в достаточности и правильности мер по подготовке рабочего места, эта
подготовка должна быть прекращена.
При подготовке рабочего места должны быть выполнены организационные и
технические мероприятия, направленные на безопасное выполнение работы, в
следующей последовательности:
получено разрешение на подготовку рабочего места;
отключены токоведущие части, на которых будет производиться работа, и не
огражденные токоведущие части, к которым возможно приближение людей, механизмов
и грузоподъемных машин на расстояние менее указанного в таблице;
отключены трансформаторы, связанные с местом работы, для исключения
возможности обратной трансформации;
приняты меры, препятствующие ошибочному или самопроизвольному включению
коммутационной аппаратуры путем запирания ручных приводов коммутационных
аппаратов на механический замок, отключения цепей управления; закрытия кнопок,
установкой изолирующих накладок между контактами коммутационного аппарата,
расшиновки и пр.;
вывешены знаки и плакаты безопасности на приводах и ключах управления
коммутационными аппаратами и ограждениях;
переносное заземление присоединено к заземляющему устройству;
проверено отсутствие напряжения на токоведущих частях, подлежащих
заземлению, исправным указателем напряжения;
установлено переносное заземление или включены заземляющие ножи;
выгорожено рабочее место и части электроустановки, оставшиеся под
напряжением;
доложено дежурному РЭС (диспетчеру РЭС) о выполненных операциях по
подготовке рабочего места и получено от него разрешение на допуск к работам по
наряду(распоряжению);
произведен инструктаж бригады о выполненных мерах по подготовке рабочего
места, токоведущих частях оставшихся под напряжением допускающим и инструктаж о
безопасной технологии работ производителем (руководителем) работ, оформлен
допуск в наряде: допускающим, руководителем и производителем работ.
Отключенное положение коммутационных аппаратов до 1000В с недоступными
для осмотра контактами следует определять проверкой отсутствия напряжения на их
зажимах либо на отходящих шинах.
Плакат "Не включать ! Работа на линии" необходимо вывешивать в
электроустановках до и выше 1000В на приводах, ключах и кнопках управления тех
коммутационных аппаратов, при ошибочном включении которых может быть подано
напряжение на воздушную (кабельную) линию. На присоединениях до 1000В, не
имеющих автоматических выключателей или рубильников, плакат следует вывешивать
у снятых предохранителей. У разъединителей, управляемых оперативной штангой,
плакаты вывешиваются на ограждениях.
При работе в РУ, ячейки, в которых токоведущие части остались под
напряжением запереть на замок, выгородить и на ограждении вывесить плакат
"СТОЙ! НАПРЯЖЕНИЕ!", в ячейке, где предстоит работать, вывесить
плакат "Работать здесь".
При работе вне КРУ с выкатными тележками на подключенном к ним
оборудовании или на отходящих ВЛ и КЛ тележку с выключателем необходимо
выкатить из шкафа; шторки закрыть, вывесить плакат "Не включать! Работают
люди!" или "Не включать! Работа на линии!"
Для временного ограждения токоведущих частей, оставшихся под напряжением,
могут применяться щиты, ширмы, экраны и т.п., изготовленные из дерева или
других изоляционных материалов.
При установке временных ограждений расстояние от них до токоведущих
частей, находящихся под напряжением, должно быть не менее указанного в таблице.
В электроустановках 0,4-10 кВ в тех случаях, когда нельзя оградить
токоведущие части щитами, допускается применение изолирующих накладок,
помещаемых между отключенными и находящимися под напряжением токоведущими
частями.
Устанавливать и снимать накладки должны два электромонтера с группами 4 и
3 /один из оперативного персонала/, пользуясь диэлектрическими перчатками и
изолирующими штангами либо клещами.
Проверять отсутствие напряжения в электроустановках до 1000В можно одному
работнику с гр.3.
Таблица 9.1 - Допустимые расстояния до токоведущих частей, находящихся
под напряжением,/м/
|
U кВ.
|
Расстояние от людей и
применяемых ими приспособлений от временных ограждений.
|
Расстояние от механизмов и
грузоподъемных машин в рабочем и транспортном положениях, от стропов,
грузозахватных приспособлений и грузов.
|
|
До 1:
|
0,6
|
1,0
|
|
6-35:
|
0,6
|
1,0
|
Проверять отсутствие напряжения необходимо указателем напряжения
соответствующим напряжению электроустановки, исправность которого перед
применением должна быть установлена с помощью предназначенных для этой цели
специальных приборов или приближением к токоведущим частям, расположенным
поблизости и заведомо находящимся под напряжением[6].
Проверять отсутствие напряжения двухполюсным указателем в
электроустановках до 1000 В с заземленной нейтралью необходимо как между
фазами, так и между каждой фазой и заземленным корпусом оборудования или
заземляющим /зануляющим / проводником. Допускается применять предварительно
проверенный вольтметр.
Разрешается проверять отсутствие напряжения выверкой схемы в натуре на
всех ВЛ при тумане, дожде, снегопаде в случае отсутствия специальных указателей
напряжения.
Устройства, сигнализирующие об отключенном положении аппарата,
блокирующие устройства, постоянно включенные вольтметры и т.п. являются только
дополнительными средствами, подтверждающими отсутствие напряжения, на основании
их показаний нельзя делать заключение об отсутствии напряжения.
Устанавливать переносные заземления в распределительных устройствах
должны два работника. Один должен иметь гр.4/или 3 в электроустановках до 1000
В/, а другой гр.3.Снимать переносное заземление можно единолично работнику,
имеющему гр. 3. Заземляющими ножами можно оперировать одному человеку:
включать, имея гр. 4, а отключать -гр.3.
Заземленные токоведущие части должны быть отделены от токоведущих частей,
находящихся под напряжением, видимым разрывом.
Для заземления токоведущих частей следует использовать переносные
заземления заводского изготовления или включать стационарные заземляющие ножи
разъединителей.
Переносные заземления следует присоединять к заземляющим спускам опор,
шинкам заземления металлоконструкций КТП, ТП, подстанций и т.п. В
электроустановках до 1000 В с заземленной нейтралью при наличии повторного,
заземления нулевого провода допускается присоединять переносные заземления к
нулевому проводу. Места присоединения переносных заземлений к заземляющим проводникам
или конструкциям должны быть очищены от краски.
На ТП, КЛ, КТП, отключенных для сдачи в ремонт, устанавливать, а затем
снимать переносные заземления и включать имеющиеся заземляющие ножи должны
работники из числа оперативно-ремонтного персонала:
Один-с группой 4 (на ВЛ и в электроустановках выше 1000 В) или с группой
3 до 1000 В, второй - с группой 3. Допускается использование второго человека
(с группой 3) из числа ремонтного персонала, в потребительских
электроустановках из персонала потребителя.
Отключать заземляющие ножи разрешается одному работнику (с группой Ш) из
оперативно-ремонтного персонала.
При проверке отсутствия напряжения, установке и снятии заземлений один из
двух работников должен вести наблюдение за другим.
Проводить допуск к работам в электроустановках до 1000 В можно, имея
группу Ш.
Допуск бригады к работе следует проводить на подготовленном рабочем месте
после получения разрешения от дежурного или уполномоченного на это работника.
Допускающий перед допуском должен убедиться в выполнении технических
мероприятий по подготовке рабочего места по оперативной схеме, по сообщениям
дежурных оперативно-ремонтного персонала и персонала потребителей или личным
осмотром на месте работ.
Производитель работ (наблюдающий) перед допуском должен принять
рабочее место от допускающего, выяснив у него, какие меры приняты при
подготовке этого места лично, проверить эту подготовку. Проверку выполнять
только на рабочем месте. Производитель работ проверку подготовки рабочих мест
должен выполнять совместно с руководителем работ или с допускающим, а если
руководитель работ не назначен, то только с допускающим.
Допуск выполняется после проверки подготовки рабочего места. При этом
допускающий должен:
проверить соответствие состава бригады указанному в наряде или
распоряжении по именным удостоверениям;
ознакомить бригаду с содержанием наряда, провести инструктаж и указать
границы рабочего места, показать ближайшее к рабочему месту оборудование и
токоведущие части, к которым запрещается приближаться независимо от того,
находятся они под напряжением или нет.
доказать бригаде отсутствие напряжения показом установленных заземлений,
а там, где эти заземления не видны с рабочего места, проверкой отсутствия
напряжения.
При допуске по наряду или распоряжению необходимо получить инструктаж от
допускающего, а перед началом работ - от производителя работ. Производитель
работ должен проинструктировать о мерах по безопасному проведению работ,
включая их технологию, использование инструмента, приспособлений, механизмов и
грузоподъемных машин. Руководитель работ обязан дополнить инструктажи
допускающего и производителя работ.
Допускающий, руководитель работ и их производитель работ должны оформить
проведение инструктажей и допуск с указанием даты и времени Допуск оформляется
в обоих экземплярах наряда, из которых один остается у производителя работ, а
второй - у допускающего из числа дежурного или оперативно-ремонтного персонала.
Когда производитель работ совмещает обязанности допускающего, допуск
оформляется в одном экземпляре наряда.
Запрещается персоналу (вследствие невозможности предусмотреть все
варианты появления напряжения) приближаться к проводам вновь монтируемых ВЛ при
отсутствии на них установленного заземления. При монтаже (демонтаже) новых или
выведенных в разряд недействующих ВЛ обязательно подлежат заземлению провода
перед их подъемом на опору (портал) или их снятием.
Работы в опасных зонах как правило должны выполняться с отключением
действующих электроустановок по технологическим картам или проектам
производства работ.
Опасными зонами считаются:
зоны в пределах действующих электроустановок;
территории ОРУ ближе 30 м. от токоведущих, находящихся под напряжением;
места сближения строящихся или реконструируемых ВЛ между собой и с
действующими ВЛ в пределах соприкосновения охранных зон;
нулевые пролеты подходов ВЛ 6-220 кВ к подстанциям 35-220 кВ;
подходы ВЛ 0,4-10 кВ к КТП, ТП 10/0,4 кВ на расстоянии 10 м.;
пересечения линий электропередачи всех классов напряжений между собой, а
также с линиями связи и радио;
линии 0,4 кВ с совместной подвеской радио проводов;
линии электропередачи, проходящие в зоне наведенного напряжения;
места работы грузоподъемных механизмов ближе 30 м. от ЛЭП;
зоны работы грузоподъемных механизмов
объекты строек при работах с подъемом выше 1 м.;
места ближе 3 м. до глубинных котлованов;
места пересечении с подземными коммуникациями;
зоны работы передвижных электролабораторий;
зоны временных сварочных работ;
Проверка средств защиты, приборов, инструмента и приспособлений:
Используемую спецодежду необходимо привести в порядок: рукава застегнуть,
одежду заправить так, чтобы не было свисающих концов, волосы убрать под плотно
прилегающий головной убор или каску.
Проверить укомплектованность и пригодность средств защиты, находящихся на
рабочем месте:
на отсутствие внешних повреждений (целостность лакового покрытия
изолирующих средств защиты, отсутствие проколов, трещин, разрывов и посторонних
включений у диэлектрических перчаток и других средств защиты из резины и
пластмассы, целостность стекол защитных очков);
на прочность соединения частей, прочность и целостность узлов и деталей,
предназначенных для надежной установки или крепления предохранительного
монтерского пояса;
на исправность замка на карабине предохранительного монтерского пояса, а
также наличие стопорного приспособления и страховочного каната;
на дату следующего испытания (срок годности ) по штампу.
Средства защиты, срок годности которых истек, следует изъять из
употребления и не допускать к использованию.
Перед употреблением средства защиты надо очистить и обтереть от пыли.
Проверить наличие и исправность находящегося на рабочем месте инструмента
который должен отвечать следующим требованиям:
рукоятки плоскогубцев, острогубцев и кусачек должны иметь защитную
изоляцию;
рабочая часть отвертки должна быть хорошо заточена, рукоятка изготовлена
из изоляционного материала, на стержень отвертки надета изоляционная трубка,
оставляющая открытой только рабочую часть отвертки;
гаечные ключи должны иметь параллельные губки и соответствовать
указанному на них размеру, рабочие поверхности ключей не должны иметь сбитых
скосов, а рукоятки -заусенцев;
лопата должна иметь гладкую рукоятку, прочно закрепленную в держателе и
срезанную наклонно к плоскости лопаты в части, выступающей из держателя;
лом должен быть прямым с оттянутыми и заостренными концами;
напильники должны иметь ручки с металлическими кольцами;
тиски должны быть прочно укреплены на верстаке, иметь на губках не
сработанную насечку; подвижные части тисков должны перемещаться без заеданий,
рывков и надежно фиксироваться в требуемом положении; рукоятка тисков и
накладные планки не должны иметь забоин и заусенцев; тиски должны иметь
устройство, предотвращающее полное вывинчивание ходового винта из гайки;
полотно пилы (по металлу, дереву) должно быть отшлифовано и не иметь
трещин, выпучен, продольной волнистости, раковин от коррозии;
рукоятки молотка, кувалды и топора должны иметь по всей длине овальную
форму, быть гладкими без сучков и трещин, укреплены в инструменте с помощью
металлического клина. Бойки молотков и кувалд должны иметь гладкую , слегка
выпуклую поверхность, без косины, сколов, выбоин, трещин и заусенцев;
электроинструмент не должен иметь повреждений штепсельного соединения,
кабеля или его защитной трубки, рабочей части инструмента, крышки щеткодержателя
; трещин в корпусной детали, рукоятке, защитном ограждении. Выключатель должен
работать четко, на щетках коллектора не должно быть искрения, смазка не должна
вытекать из редуктора и вентиляционных каналов; не должно быть дыма или запаха,
характерного для горящей изоляции, повышенного шума, стука, вибрации;
Хранить рабочий инструмент следует в переносном инструментальном ящике
или сумке.
Проверить исправность находящихся на рабочем месте приборов и
приспособлений.
Используемые при работе изолированные провода не должны иметь повреждений
изоляции. Специальные наконечники на проводах должны быть хорошо укреплены , а
выполненные из изоляционных материалов, не иметь повреждений, сколов, трещин.
Переносные светильники должны применяться только заводского изготовления
напряжением не выше 42 В, а в местах особо опасных (сырых помещениях,
котлованах, колодцах, металлических конструкциях и пр.) - не выше 12 В. У
ручного переносного светильника должна быть металлическая сетка для защиты
лампы и шланговый провод с вилкой, конструкция которой исключает возможность ее
включения в розетку, присоединенную к сети напряжением выше 42 В .
Производителю работ необходимо осмотреть лестницы перед их применением.
При осмотре металлических лестниц следует убедиться в отсутствии деформации
узлов, трещин в металле, заусенцев, острых краев, нарушений крепления ступенек
к тетивам. Ступени приставных деревянных лестниц должны быть врезаны в тетивы,
которые не реже, чем через 2 м. скрепляются стяжными болтами. При длине
лестницы более 3 м., стяжных болтов должно быть не менее двух. Длина приставной
деревянной лестницы должна быть не более 5 м. Нижние концы лестницы должны
иметь упоры в виде острых металлических шипов или резиновых наконечников в
зависимости от твердости поверхности в месте установки лестницы. Верхние концы
лестницы, приставляемой к трубам или проводам, должны иметь специальные крючки
для захвата за них.
Раздвижные приставные лестницы должны иметь надежные запирающие
устройства. До начала работы необходимо обеспечить устойчивость лестницы,
убедиться путем осмотра и опробования в том, что она не может соскользнуть с
места или быть случайно сдвинута. Приставные лестницы следует устанавливать под
углом 75 градусов. При установке приставной лестницы в условиях, когда возможно
смещение ее верхнего конца, последний необходимо надежно закрепить за
устойчивые конструкции.
Средства защиты, приборы, инструмент и приспособления, имеющие дефекты,
необходимо изъять из употребления и сообщить об этом руководителю работ.
Требования промышленной санитарии:
Рабочее место и оборудование в зоне обсаживания должны быть хорошо
освещены. В темное время суток работать и перемещаться можно только в
освещенных местах при отсутствии слепящего действия осветительных устройств или
с фонарем.
При работе в полевых условиях необходимо иметь запас воды для питья и
мытья рук.
9.3 Указания мер безопасности во время работы
Способы и приемы безопасного выполнения работ:
При ремонте оборудования распредсетей необходимо твердо знать меры
безопасности выполнения работы, а также инструкции обслуживания оборудования.
Ремонты оборудования надо проводить, руководствуясь технологическими
картами или проектами производства работ (ППР).
Работы необходимо выполнять по наряду или распоряжению, не допуская
расширения рабочих мест и объема задания. В сомнительных случаях следует
получить разъяснение работника, выдавшего задание . При получении задания на
незнакомую работу необходимо пройти дополнительный (внеочередной) инструктаж о
безопасных приемах ее выполнения. Не следует выполнять распоряжения, если их
выполнение может вызвать опасность для себя или окружающих.
По распоряжению могут выполняться:
работы на нетоковедущих частях, не требующие снятия напряжения и
установки временных ограждений;
осмотр КТП, закрытых ТП, МТП 3 кв. гр. из числа оперативно-ремонтного
персонала либо лицу с гр. 5 из числа административно - технического персонала;
обходы линий электропередачи со 2 кв. гр. за исключением обходов при
неблагоприятной погоде и в труднодоступных местах;
снятие показаний счетчиков электроэнергии в КТП, ТП, КРУН и на панелях
РЗА (3 кв. гр.)
замена ламп и чистка светильников на участках осветительной сети вне
камер и ячеек распредустройств, в ячейках КРУН 10 кВ со стороны панелей
управления (2 кв. гр. из числа обученного персонала, обслуживающего
электроустановку, 3 кв. гр. из числа дежурного иди оперативно-ремонтного
персонала;
-на ВЛ по распоряжению могут выполняться работы на нетоковедущих частях,
не требующие снятия напряжения, в том числе с подъемом до 3 м. от уровня земли,
считая до нижних конечностей человека ; без разборки конструктивных частей
опоры; с откапыванием стоек опоры на глубину до 0,5 м; по расчистке трассы ВЛ ,
когда не требуется принимать меры , предотвращающие падение на провода
вырубаемых деревьев, либо когда обрубка веток и сучьев не связана с опасным
приближением людей к проводам, с возможностью падения веток и сучьев на
провода;
-кратковременные работы продолжительностью не более одного часа ( по
отсоединению или присоединению проводов ВЛ-0,4 кВ, проверке нагрева и вибрации
токоведущих частей, измерениям электроизмерительными клещами) в составе бригады
не более трех человек;
неотложные работы продолжительностью не более одного часа по устранению
неисправностей, угрожающих нарушением нормальной работы электроустановок
,электроснабжения потребителей.
в РУ выше 1000 В на выкаченных тележках КРУ у которых шторки отсека
заперты на замок.
Приступать к работе можно лишь после получения инструктажа по безопасному
ведению работ от лица, выдающего задание, а также допускающего, производителя и
руководителя работ, если они назначаются.
Можно оставаться на рабочем месте на некоторое время без производителя
работ члену бригады с группой Ш только в электроустановках до 1000В при работе
по распоряжению. Член бригады может уйти с рабочего места с разрешения
производителя работ. Приступать к работе члену бригады после временной отлучки
и после любого перерыва в работе нужно также с разрешения производителя работ.
Вести надзор за работающими бригадами в качестве наблюдающего можно, имея
гр. 3, за исключением надзора за проведением кратковременных работ в
электроустановках выше 1000 В, без оформления наряда, когда нужно иметь гр.4.
При выполнении работы располагаться около не огражденных токоведущих
частей 6-10 кВ, находящихся под напряжением, нужно так, чтобы они находились
спереди или с одного боку. Приближаться к токоведущим частям, находящимся под
напряжением, можно на расстояния, указанные в таблице (см.п.9.2) К изоляторам
оборудования, находящегося под напряжением, можно прикасаться, применяя
электрозащитные средства, соответствующие значению напряжения. При
использовании электрозащитных средств допускается приближение к токоведущим
частям, определенное длиной изолирующей части этих средств.
При выполнении работ на ВЛ, в том числе и при подготовке рабочего места
для работ на КТП, ТП, КРУН следует выполнять требования безопасности,
оговоренные в Инструкции по охране труда для электромонтера по эксплуатации
воздушных линий электропередачи (0,4-10кВ).
При обслуживании сетей уличного освещения чистку арматуры и замену ламп
светильников любой конструкции, установленных на опорах всех типов или на
кронштейнах, а также подвешенных на тросах должна проводить бригада в составе
не менее двух человек.
По распоряжению без отключения сети освещения допускается работать в
следующих случаях:
при расположении светильников ниже проводов на деревянных опорах без
заземляющих спусков с опоры или с приставной деревянной лестницы;
при использовании телескопической вышки с изолирующим звеном.
В остальных случаях необходимо отключить и заземлить все подвешенные на
опоре провода и работу выполнять по наряду.
При работе на пускорегулирующей аппаратуре газоразрядных ламп до
отключения ее от общей схемы светильника необходимо предварительно отсоединить
от сети питание провода и разрядить статические конденсаторы (независимо от
наличия разрядных резисторов).
Отсоединенные от коммутационных аппаратов провода, жилы кабелей в КТП,
ТП, а также концы кабелей на опорах ВЛ должны быть надежно закорочены и заземлены,
провода недействующих ВЛ должны быть заземлены. Перед выполнением работ в
ячейках 0,4-10 кВ ТП, на КТП и опорах ВЛ на которых имеются неиспользуемые в
схеме (отсоединенные), не закороченные и не заземленные провода и концы
кабелей, необходимо до начала работ и при подготовке рабочих мест, проверять
отсутствие на них напряжения, после чего надежно закорачивать и заземлять.
Снимать и устанавливать предохранители следует при снятом напряжении. Под
напряжением, но без нагрузки допускается снимать и устанавливать предохранители
на присоединениях, в схеме которых отсутствуют коммутационные аппараты. Под
напряжением и под нагрузкой допускается заменять предохранители во вторичных
цепях, сетях освещения и предохранители трансформаторов напряжения.
При снятии и установке предохранителей под напряжением необходимо
пользоваться:
в электроустановках свыше 1000 В - изолирующими клещами с применением
диэлектрических перчаток и защитных очков;
в электроустановках до 1000 В - изолирующими клещами или диэлектрическими
перчатками и защитными очками.
При работе на электродвигателе или приводимом им в движение механизме,
связанной с прикосновением к токоведущим или вращающимся частям,
электродвигателя должно быть снято напряжение. Работы, не связанные с
прикосновением к токоведущим или вращающимся частям электродвигателя и
приводимого им в движение механизма, могут проводиться на работающем
электродвигателе.
Запрещается снимать ограждения вращающихся частей электродвигателей во
время их работы.
Правила использования средств защиты:
Для защиты от поражения электрическим током, воздействия электрической
дуги и электромагнитного поля необходимо применять электрозащитные средства,
которые подразделяются на основные и дополнительные.
Основными электрозащитными средствами можно прикасаться к токоведущим
частям, находящимся под напряжением, а дополнительные применяются совместно с
основными, а также защищают от напряжения прикосновения и шага.
В электроустановках выше 1000 В к основным электрозащитным средствам
относятся :изолирующие штанги, изолирующие и электроизмерительные клещи,
указатели напряжения, а к дополнительным: диэлектрические перчатки, боты, ковры
и колпаки, индивидуальные экранирующие комплекты, изолирующие подставки и
накладки, переносные заземления, оградительные устройства, плакаты и знаки
безопасности.
В электроустановках до 1000 В к основным электрозащитным средствам
относятся: изолирующие штанги, изолирующие электроизмерительные клещи,
указатели напряжения, диэлектрические галоши и ковры, переносные заземления,
изолирующие подставки и накладки, оградительные устройства, плакаты и знаки
безопасности.
При использовании основных средств защиты достаточно применять одно
дополнительное, за исключением случаев освобождения пострадавшего от действия
тока в электроустановках, когда для защиты от напряжения шага необходимо
применять также боты или галоши.
Электрозащитными средствами необходимо пользоваться в электроустановках
напряжением не выше того, на которое они рассчитаны. Пользоваться можно только
теми средствами защиты, у которых не истек срок очередного испытания.
Изолирующие средства защиты и приспособления в процессе работы должны
быть защищены от увлажнения. В открытых электроустановках ими можно
пользоваться только в сухую погоду. В случае отсыревания их необходимо изъять
из употребления.
Изолирующие накладки разрешается применять в электроустановках
напряжением до 10 кВ для предотвращения случайного прикосновения к токоведущим
частям в тех случаях, когда нет возможности оградить место работы щитами.
Устанавливать на токоведущие части накладки, если в их конструкции не
предусмотрены изолирующие рукоятки или держатели, необходимо с применением
основных средств защиты.
Следует оберегать изолирующие накладки от увлажнения и загрязнения.
Средства защиты из резины в процессе работ должны быть защищены от
воздействия масел, бензина и других разрушающих резину веществ, а также от
прямого воздействия солнечных лучей.
При работе края диэлектрических перчаток нельзя подвертывать, рукава
одежды должны частично находиться внутри перчаток. При работе вне помещения в
холодное время под резиновые перчатки следует надевать тонкие шерстяные или
хлопчатобумажные перчатки.
В электроустановках до 1000 В не допускается применение
"контрольных" ламп (патрон с лампой накаливания и двумя проводниками)
для проверки отсутствия напряжения в связи с опасностью травмирования
электрической дугой и осколками стекла.
Работать с измерительной штангой должны не менее двух человек с группами
3 и 4. Подниматься на конструкцию или телескопическую вышку, а также спускаться
с них следует без штанги. При измерениях диэлектрическими перчатками можно не
пользоваться.
Переносные заземления, подлежащие установке на токоведущие части,
необходимо осмотреть. При разрушении контактных соединений, повреждении
проводников, их расплавлении или обрыве 5 % жил переносные заземления следует
изъять из употребления.
Переносные заземления сначала необходимо присоединить к заземляющему
устройству, а затем, после проверки отсутствия напряжения, установить на
токоведущие части.
Зажимы переносного заземления следует закреплять в местах, очищенных от
краски. При снятии переносного заземления сначала необходимо снять его с
токоведущих частей, а затем отсоединить от заземляющего устройства.
При работе под напряжением до 1000 В необходимо применять инструмент с
изолирующими рукоятками. Он должен быть изготовлен в соответствии с ГОСТ
11516-79.
При необходимости проведения кратковременных работ на высоте 1,3 м. и
выше от уровня земли (рабочей площадки) без подмостей необходимо применять предохранительный
пояс. При этом необходимо получить инструктаж и четко знать, как и где
подниматься, к чему и как крепиться.
При работе на опоре следует пользоваться предохранительным поясом и
опираться на оба когтя (лаза) в случае их применения. При подъеме на деревянную
и железобетонную опору строп предохранительного пояса следует на деревянных
опорах заводить за стойку, а на железобетонных заводить за стойку или
прикреплять к траверсе.
При работах, когда не представляется возможным закрепить строп предохранительного
пояса за конструкцию, опору и т.п., следует пользоваться страховочным канатом,
предварительно заведенным за конструкцию, деталь опоры и т.п. Выполнять эту
работу должны двое, второй человек должен по мере необходимости медленно
отпускать или натягивать страховочный канат.
Следует применять предохранительный монтерский пояс со стропом из
технической капроновой ленты или аналогичного материала. Пояс, подвергшийся
динамическому рывку, необходимо изъять из употребления.
При проведении сварочных работ необходимо применять предохранительный
пояс со стропом из металлической цепи. Если рабочее место и подходы к нему
расположены над не огражденными, находящимися под напряжением токоведущими
частями, а расстояние от металлической цепи в случае ее опускания будет меньше
указанного в таблице (см. п. 9.2),работа должна выполняться с отключением
токоведущих частей.
В случае применения защитных очков с запотевающими стеклами их внутренние
поверхности следует предварительно смазать специальным составом, предохраняющим
стекло от запотевания.
Необходимо уметь пользоваться в случае необходимости противогазом и
респиратором. Респиратор предназначен, для индивидуального пользования и
передавать его другому работнику можно только после дезинфекции.
Одежда не должна стеснять движений.
Правила использования инструментам приспособлений:
При работе необходимо пользоваться исправными инструментами,
приспособлениями и применять их по назначению. При обнаружении непригодности
необходимо их изъять из употребления и поставить об этом в известность своего
руководителя.
Разрешается использовать ручной инструмент с заостренными концами
(напильники, шаберы и др.), если на его рукоятках имеются металлические
бандажные кольца.
Отвертку следует выбирать по ширине рабочей части (лопатки), зависящей от
размера шлица в головке шурупа или винта.
Размеры зева (захвата) гаечных ключей не должны превышать размеров
головок болтов (граней гаек) более чем на 0,3 мм. При наличии зазора между
плоскостями губок и головок болтов и гаек недопустимо применять какие - либо
прокладки. Допускается удлинять рукоятки ключей дополнительными рычагами типа
"звездочка".
При работе клиньями или зубилами с помощью кувалд необходимо применять
клинодержатели с рукояткой длиной не менее 0,7 м.
При работе с инструментом ударного действия необходимо пользоваться
защитными очками для защиты глаз от твердых частиц. Защемленную проволоку
нельзя освобождать рывками и тяжением. Необходимо освободить ее конец
ликвидацией причины защемления, придерживая защемленный конец от пружинящего
действия или откусить его плоскогубцами (отрубить). При этих работах также
необходимо пользоваться защитными очками.
Личный инструмент должен находиться в сумке.
При работе на конструкциях, под которыми расположены находящиеся под
напряжением токоведущие части, ремонтные приспособления и инструмент во
избежание их падения должны быть привязаны. Подавать что -либо на конструкции
или оборудование следует с помощью бесконечного каната, веревки или шнура,
надежно закрепив подаваемые предметы. Стоящий внизу работник должен удерживать
канат для предотвращения его раскачивания и приближения к токоведущим частям.
Инструмент на рабочем месте необходимо располагать так, чтобы он не
скатывался и не падал.
При переноске или перевозке острые части инструмента должны быть очищены.
Непосредственно перед применением инструмент необходимо осмотреть и не
использовать неисправный.
При работе электроинструментом класса 1 применение средств индивидуальной
защиты (диэлектрические перчатки, галоши, коврики и т. п.) обязательно, за
исключением случаев, если:
электроинструмент, и при том только один, получает питание от
разделительного трансформатора;
электроинструмент получает питание от автономной двигатель генераторной
установки или от преобразователя частоты с разделительными обмотками;
электроинструмент получает питание через защитно-отключающее устройство.
электроинструментом классов 11 (инструмент, у которого все детали,
находящиеся под напряжением, имеют двойную или усиленную изоляцию) и 111
(инструмент на номинальное напряжение не выше 42 В) разрешается производить
работы без применения индивидуальных средств защиты.
Доступные для прикосновения металлические детали электроинструмента
класса 1, которые могут оказаться под напряжением в случае повреждения
изоляции, должны быть соединены с заземляющим зажимом. Электроинструменты
класса 11 и 111 не заземляются.
Заземление корпуса электроинструмента должно осуществляться с помощью
специальной жилы питающего кабеля, которая не должна одновременно служить
проводником рабочего тока (нулевым проводом).
Кабель электроинструмента необходимо защищать от случайного повреждения и
от соприкосновения его с горячими, влажными и масляными поверхностями.
Необходимо избегать натягивания кабеля, его перекручивания и перегибания, а
также не ставить на него груз, не допускать пересечения с тросами, кабелями и
рукавами газосварки.
Устанавливать рабочую часть электроинструмента в патрон и вынимать ее из
патрона, а также регулировать инструмент следует после отключения его от сети
штепсельной вилкой и полной остановки.
Нельзя удалять стружку или опилки руками во время работы инструмента и
касаться руками его вращающейся части. Удалять стружку следует после полной
остановки электроинструмента специальными крючками или щетками.
При работе электродрелью предметы, подлежащие сверлению, необходимо
надежно закрепить.
При сверлении электродрелью рычаг для нажима должен иметь инвентарный
номер и опираться на поверхность, с которой невозможно соскальзывание. Не
допускается обрабатывать электроинструментом обледеневшие и мокрые детали.
Электроинструментом, не защищенным от воздействия капель и брызг, можно
работать в условиях, исключающих воздействия на него капель и брызг, а на
открытых площадках, при отсутствии снегопада или дождя. Работать таким
электроинструментом разрешается вне помещений только в сухую погоду, а при
дожде или снегопаде под навесом на сухой земле или настиле.
Нельзя оставлять без надзора электроинструмент, присоединенный к сети, а
также передавать его лицам, не имеющим права с ним работать.
При внезапной остановке электроинструмента (исчезновение напряжения в
сети, заклинивание движущихся частей и т.п.) необходимо отключить его
выключателем. При переносе электроинструмента с одного рабочего места на
другое, а также при перерыве в работе и окончании ее инструмент необходимо
отсоединить от сети штепсельной вилкой.
Если во время работы обнаружится неисправность электроинструмента или
работающий с ним почувствует хотя бы слабое действие тока, работу следует
немедленно прекратить и неисправный инструмент сдать для проверки и ремонта.
При использовании переносного ручного электросветильника необходимо
следить, чтобы провод светильника не касался влажных горячих и масляных
поверхностей.
Если во время работы обнаружится неисправность электролампы, провода или
трансформатора, необходимо заменить их исправными, предварительно отключив от
электросети.
Работать на переносных лестницах можно, если не требуется проводить
натяжение проводов, сварочные работы, поддерживать тяжелые предметы, а также
применять электроинструмент.
Удлинять лестницу можно, сращивая не более двух деревянных приставных
лестниц путем прочного соединения их металлическими хомутами, накладками с
болтами и т.п. и с последующим испытанием в соответствии с требованиями
"Правил безопасности при работе с инструментом и приспособлениями"
(М.:Энергоатомиздат,1986), избегая применения дополнительных опорных сооружений
из ящиков, бочек и т.п.
При переносе лестницы вдвоем необходимо нести ее наконечниками назад,
предупреждая встречных об осторожности. При переносе лестницы одним рабочим
лестница должна находиться в наклонном положении так, чтобы передний конец ее
был приподнят над землей не менее чем на 2 м.
Работая с приставной лестницы, необходимо стоять на ступеньках,
расположенных на расстоянии более 1 м от верхнего ее конца. Устанавливать
приставную лестницу следует под углом менее 75 градусов к горизонтали, в
противном случае верхняя часть лестницы должна быть дополнительно закреплена.
Не допускается поднимать и опускать груз по приставной лестнице и оставлять на
ней инструмент. На ступенях приставной лестницы можно находиться только одному
человеку.
При работе с приставной лестницы в местах с оживленным движением
транспортных средств или людей для предупреждения падения лестницы от случайных
толчков, независимо от наличия на ее концах наконечников, место установки
лестницы следует ограждать или охранять. Если невозможно закрепить лестницу, то
у ее основания должен стоять рабочий в каске для удержания лестницы в
устойчивом положении.
Переносную металлическую лестницу следует переносить в горизонтальном
положении. В зоне влияния электрического поля к лестнице должна быть
присоединена металлическая цепь, касающаяся земли. Переносить лестницу
необходимо под надзором производителя работ или другого работника, выделенного
для надзора.
При работе с подвесных, приставных и раздвижных лестниц на высоте более
1,3 м следует применять предохранительный пояс, который необходимо закреплять
за конструкцию или за лестницу, если она надежно прикреплена к конструкции.
При работе на высоте, когда невозможно или нецелесообразно устройство
настилов и ограждений, меры безопасности в каждом отдельном случае должны быть
определены технологической картой, ППР или другими документами.
10.
СИММЕТРИРУЮЩИЕ УСТРОЙСТВА ДЛЯ ТРАНСФОРМАТОРОВ
10.1 Общая часть
Несимметричная нагрузка фаз - одна из главных причин возрастания потерь
электроэнергии в силовых трансформаторах. Она сказывается и в снижении качества
электроэнергии, поставляемой потребителям, питающимся от этих трансформаторов.
В четырехпроводных электрических сетях 0,4 кВ Республики Беларусь и
других стран СНГ в основном используются трансформаторы со схемой соединения
обмоток «звезда-звезда-ноль» (Y/Yн). Однако эти самые дешевые в изготовлении,
трансформаторы в эксплуатации экономичны лишь при симметричной нагрузке фаз.
Реально же в сетях с большим удельным весом однофазных нагрузок равномерность
их подключения во времени пофазно нарушается и потери электрической энергии в
таких трансформаторах и линиях резко возрастают. Лучше ситуация при применении
трансформаторов со схемой «звезда-зигзаг-ноль» (Y/Zн), но они значительно
дороже.
Потери короткого замыкания Pк трансформатора Y/Yн зависят от величины
тока в нулевом проводе и с его увеличением резко растут. Этот рост обусловлен
появлением потоков нулевой последовательности (F0) в магнитных системах
трехфазных трансформаторов Y/Yн, создаваемых токами небаланса Iнб (равными
3I0), протекающими в нулевом проводе сети. F0 носят характер потоков рассеяния,
аналогичных потокам короткого замыкания Fкз, но по величине они значительно
больше, о чем, в частности, позволяют судить соотношения полных сопротивлений
Z0 и Zкз. Экспериментальные данные показывают, что Z0 больше Zкз в 5 - 8 раз, а
для некоторых конструкций трансформаторов - в 12 и более раз.
Отсюда неизбежным последствием неравномерности нагрузки фаз в сетях с
трансформаторами Y/Yн является резкое искажение системы фазных напряжений (на
практике это называют смещением нулевой точки). Как результат - увеличение
потерь и в линиях 0,4 кВ.
Искажение фазных напряжений в реальных условиях эксплуатации нередко
вызывает их отклонение, уже на низковольтных вводах трансформатора значительно
превышающее нормы ГОСТ. В конце линий, по данным исследований, это отклонение
напряжений приблизительно в два раза больше. При указанном качестве питания
потребителей повышение в них уровня потерь электроэнергии и отказов в работе
вполне естественно. К сожалению, до настоящего времени целенаправленных работ
по данным вопросам проводилось недостаточно, хотя, как показывает практика,
экономический урон от искажения напряжений у потребителей огромен.
Завышение установленной мощности трансформаторов Y/Yн сверх требуемой по
расчету (для понижения несимметрии напряжения) дает незначительный эффект, но
вместе с тем при этом резко повышается уровень потерь электроэнергии в сети.
Кроме того, токи нулевой последовательности при несимметрии нагрузки в
магнитной системе трансформатора Y/Yн создают потоки нулевой
последовательности, которые, замыкаясь через его бак, дно, крышку, разогревают
их, ухудшая охлаждение активной части. Это повышает температуру изоляции
обмоток сверх нормы, и трансформатор, при суммарной нагрузке ниже номинальной,
оказывается перегруженным. Такое положение объективно вызывает необходимость
увеличения номинальной мощности трансформатора на одну, а иной раз на две
ступени больше расчетной со всеми вытекающими последствиями.
10.2 Трансформатор плюс СУ
Для устранения указанных недостатков разработано и всё более активно
начинает применяться специальное симметрирующее устройство (СУ), которое
встраивается в трансформатор со схемой Y/Yн.
Симметрирующее устройство представляет собой отдельную обмотку, уложенную в
виде бандажа поверх обмоток высокого напряжения трансформатора со схемой
соединения обмоток Y/Yн (рисунок 10.1). Обмотка симметрирующего устройства
рассчитана на длительное протекание номинального тока трансформатора, т.е. на
полную номинальную однофазную нагрузку.
Обмотка симметрирующего устройства включена в рассечку нулевого провода
трансформатора Y/Yн из расчета на то, что при несимметричной нагрузке и
появлении тока в нулевом проводе создаваемые в магнитопроводе потоки нулевой
последовательности в рабочих обмотках Fор трансформатора Y/Yн полностью
компенсируются противоположно направленными потоками нулевой последовательности
Fок от симметрирующего устройства. Тем самым в конечном счете предотвращается
перекос фазных напряжений.
На рисунке 10.2 показаны зависимости потерь короткого замыкания Pк
трансформатора ТМ 100/10 от величины тока в нулевом проводе при lb =lc= Iн и
Iа= от ноля до Iн при различных схемах соединения обмоток. Энергетические
характеристики трансформаторов Y/Yн (потери короткого замыкания, холостого хода
и др.) от наложения симметрирующего устройства практически не меняются, но при
этом значительно сокращаются потери электроэнергии в сети. Система фазных
напряжений при неравномерной нагрузке фаз симметрируется так же, как и при
схеме соединения обмоток Y/Zн.
У некоторых специалистов возникало опасение, что при протекании значительного
тока нулевой последовательности через дополнительную обмотку, включенную в
нейтраль стороны НН, возникнет значительное напряжение на нейтрали НН и, как
следствие, повышение напряжения на фазах. Расчеты и эксперименты показали, что
напряжение на обмотке компенсационных витков трансформатора с симметрирующим
устройством при токе в нулевом проводе, равном номинальному, достигает величины
номинального фазного напряжения и уравновешивает на нейтрали обмоток низкого
напряжения электродвижущую силу нулевой последовательности от рабочих обмоток
до нулевого значения. Конечно, при условии правильного согласования витков
рабочих обмоток и компенсационных.
Рисунок 10.1 - Схемы включения основных и дополнительной обмоток трансформатора
1. Трехстержневой магнитопровод трехфазного трансформатора.
2. Обмотки высокого напряжения.
3. Обмотки низкого напряжения.
. Обмотка из компенсационных витков.
. Дистанционные клинья.
. Конец компенсационной обмотки, подключаемой к нейтрали обмоток
низкого напряжения.
Конец компенсационной обмотки, который выводится наружу.
Рисунок 10.2 - Зависимость потерь короткого замыкания трансформатора ТМ
100/10 от схем соединения обмоток и величины тока в нулевом проводе (3I0 ):
- трансформатор Y/Yн;
- трансформатор Y/Zн;
З - трансформатор Y/Yн с СУ.
Разработанная конструкция значительно снижает сопротивление нулевой
последовательности силового трансформатора. Это означает существенное
увеличение токов однофазного короткого замыкания и является одним из достоинств
трансформаторов Y/Yн с СУ, так как обеспечивает легкую и надежную наладку
релейной защиты и ее четкую работу при КЗ. Кроме того, разрушающее воздействие
увеличенного тока однофазного КЗ на обмотки трансформатора Y/Yн с СУ
значительно ниже, чем от тока КЗ при отсутствии компенсационной обмотки, так
как мощный несимметричный разрушающий поток нулевой последовательности
полностью компенсируется.
10.3 Об экономической эффективности
Проведенный анализ сетей Республики Беларусь позволил определить
среднестатистическую сеть 0,4 кВ. Она имеет следующие параметры: мощность
трансформатора - 100 кВА (с учетом коммунально-бытовых потребителей в городах и
городских поселках); длина линии - 0,8 км; количество линий на одной ТП - 2,5;
сечение провода линии - 35 мм2. Нагрузка линий 0,4 кВ принята пропорциональной
мощности трансформатора, от которого она запитана, и считалась равномерно
распределенной по всей длине линии. Время использования максимума нагрузки в
году - 2000 часов. Величина тока в нулевом проводе 0,25 от номинального
фазного.
Расчеты дополнительных потерь электрической энергии за счет несимметрии
нагрузки были выполнены «Белэнергосетьпроектом» (г. Минск) по известным
формулам с применением метода симметричных составляющих. Они производились в
зависимости от величины тока в нулевом проводе, значение которого изменялось от
0 до 0,5 номинального фазного для трансформаторов мощностью от 25 до 250 кВА.
Сечение нулевого провода принималось равным сечению фазных проводов.
Результаты расчетов приведены в таблице 10.1 (Sн - номинальная мощность
трансформатора, кВА; Iнб - ток в нулевом проводе (в относительных единицах); Pк
- потери короткого замыкания, Вт; DРл - дополнительные потери электроэнергии в
линиях сети с трансформаторами Y/Yн, Y/Zн по сравнению с сетью с
трансформаторами Y/Yн с СУ; Q - годовая экономия электроэнергии в сетях с
трансформаторами Y/Yн с СУ по сравнению с сетями с трансформаторами Y/Yн,
Y/Zн).
Сопоставление потерь в среднестатистической электрической сети при
неравномерной нагрузке с трансформаторами с различными схемами соединения обмоток
показывает, что наиболее экономичной из них является схемаY/Yн с СУ. Можно
добавить и другие положительные стороны этой схемы по сравнению с Y/Yн:
Таблица 10.1 - Расчеты потерь электроэнергии в трансформаторах за счет
несимметрии нагрузки
|
Sн кВа
|
Марка и сечение провода
|
Iн
|
Pн Вт
|
ΔPА
Вт
|
Q Квт ч
|
|
|
|
Y/Yн
|
Y/Zн
|
Y/Yн с СУ
|
Y/Yн
|
Y/Zн
|
Y/Yн
|
Y/Zн
|
|
100
|
А35
|
0
|
1970
|
2265
|
1970
|
0
|
0
|
0
|
591
|
|
100
|
А35
|
0,1
|
1941
|
2127
|
1854
|
28
|
0
|
229
|
546
|
|
100
|
А35
|
0,2
|
2125
|
2014
|
1770
|
168
|
0
|
1026
|
488
|
|
100
|
А35
|
0,25
|
2278
|
1967
|
1739
|
307
|
-1
|
1693
|
454
|
|
100
|
А35
|
0,3
|
2492
|
1926
|
1716
|
509
|
-1
|
2569
|
418
|
|
100
|
А35
|
0,4
|
3073
|
1863
|
1693
|
1140
|
-2
|
5037
|
335
|
|
100
|
А35
|
0,5
|
3857
|
1825
|
1702
|
2150
|
-4
|
8609
|
238
|
|
25
|
А35
|
0,25
|
633
|
599
|
530
|
14
|
0
|
233
|
139
|
|
40
|
А35
|
0,25
|
979
|
878
|
777
|
48
|
0
|
501
|
|
63
|
А35
|
0,25
|
1450
|
1278
|
1130
|
115
|
0
|
871
|
295
|
|
160
|
А35
|
0,25
|
3272
|
3645
|
2339
|
828
|
-1
|
3521
|
611
|
|
250
|
А35
|
0,25
|
4665
|
3694
|
3266
|
1699
|
-2
|
6196
|
852
|
отсутствие дополнительного нагрева бака потоками F0;
повышение устойчивости к однофазным токам КЗ;
надежность работы защиты и пр.
Поэтому протоколом по вопросам проектирования и строительства
электрических сетей напряжением 0,4-10 кВ концерна «Белэнерго» предписывается:
«В целях снижения потерь электроэнергии и стабилизации напряжения в
распределительных сетях 0,4 кВ при выборе трансформаторов для потребителей с
коммунально-бытовой нагрузкой применять трансформаторы со схемой соединения
Y/Yн с симметрирующим устройством (СУ) мощностью 25-250 кВА». В данный момент в
сетях белорусской энергосистемы работает более 300 таких трансформаторов, и
нареканий на их работу не было.
Естественно, что установка в трансформаторах даже такого простого
симметрирующего устройства, которое предложено, требует дополнительных затрат
на материалы и изготовление. Выполненные «Белэнергосетьпроектом» и
конструкторским бюро МЭТЗ им. В.И. Козлова расчеты сроков его окупаемости в
зависимости от величины тока в нулевом проводе дали результаты, приведенные в
табл. 10.2 (ток небаланса указан в относительных единицах).
Таблица 10.2 - Срок окупаемости трансформатора Y/Yн с СУ, лет
|
Iн
|
Номинальная мощность трансформатора
Y/Yн с СУ (Sн), кВА
|
|
25
|
40
|
63
|
100
|
160
|
250
|
|
0,1
|
13,5
|
7
|
5,1
|
4,7
|
2,9
|
1,9
|
|
0,2
|
3,2
|
1,7
|
1,2
|
1,0
|
0,6
|
0,4
|
|
0,25
|
2,0
|
1,0
|
0,7
|
0,6
|
0,4
|
0,2
|
|
0,3
|
1,4
|
0,7
|
0,5
|
0,4
|
0,2
|
0,2
|
|
0,4
|
0,7
|
0,4
|
0,2
|
0,2
|
0,1
|
0,1
|
|
0,5
|
0,4
|
0,2
|
0,1
|
0,1
|
0,1
|
0,1
|
Из таблицы следует, что при среднестатистическом токе в нулевом проводе
0,25 от номинального фазного симметрирующая обмотка только у трансформаторов Sн
= 25 кВА окупается в срок 2 года и у Sн = 40 кВА в срок 1 год, для всех
остальных мощностей окупаемость менее года.
Трансформаторы в среднем работают около 40 лет, поэтому несложно
определить итоговую прибыль предприятия, установившего в сетях 0,4 кВ с
несимметричной нагрузкой фаз трансформаторы со схемой соединения обмоток Y/Yн с
СУ. Причем значительный экономический эффект получается только за счет
сокращения ничем не оправданных потерь электроэнергии в линиях и
трансформаторах.
ЗАКЛЮЧЕНИЕ
В результате работы был выполнен анализ режимов и расчет потерь
электроэнергии в электрических сетях 0,38 кВ РЭС «Г» с помощью модернизированной
программы DWV.
Разработаны мероприятия по снижению потерь электроэнергии в сети 0,38 кВ
РЭС ”Г
Оценены технико-экономические показатели рассчитанной сети и изучены
вопросы охраны труда при эксплуатации низковольтных электрических сетей 0,38 кВ
РЭС ”Г.
СПИСОК ИСПОЛЬЗОВАННЫХ ИСТОЧНИКОВ
1. Будзко И.А., Зуль И.М.
Электроснабжение сельского хозяйства:
Учебник для
вузов. - М.: Агропромиздат,1990.- 496 с.
2. Каганов И.А. Курсовое и дипломное
проектирование.-2-е изд., перераб. и доп. - М.:Колос,1980.-349 с.
3. Инструкция по снижению
технологического расхода электрической энергии на передачу по электрическим
сетям энергосистем и объединений. М.: Союзтехэнерго, 1987.
4. Правила технической эксплуатации
электрических станций и сетей/ Министерство энергетики и электрификации СССР.-
14-е изд., перераб. и доп.- М.: Энергоатомиздат, 1989.- 288 с.
5. Охрана труда в электроустановках: под
ред. Б.А. Князевского. - учебник для вузов. - 2-е изд., перераб. и доп. - М.:
«Энергия», 1977. - 320 с.
6. Правила техники безопасности при
эксплуатации электроустановок потребителей. - М.: Энергоатомиздат, 1986.
7. Идельчик В. И. Электрические системы
и сети: Учебник для вузов.- М.: Энергоатомиздат, 1989.- 592 с.: ил.
8. Крылов Д.А. Энергия: экономика,
техника, экология.-1996.-№4.
9. Крылов Д.А. Энергия: экономика,
техника, экология.-1996.-№10.
10.Справочник по
проектированию электроэнергетических систем: под ред. С. С. Рокотяна и И. М.
Шапиро.- 3-е изд., перераб. и доп. - М.: Энергия, 1989. -287 с.
11.Фурсанов М.И. Методология
и практика расчетов потерь электроэнергии в электрических сетях
энергосистем.-Мн.: Тэхналогiя,2000.-247.
12.Поспелов Г. Е.,
Федин В. Т. Электрические системы и сети. Проектирование: Учеб. пособие для
втузов.- 2-е изд., испр. и доп.- Мн.: Выш. шк., 1988.- 308 с.: ил.
13.Справочник по
проектированию подстанций 35-500 кВ/ Г.К.Вишняков, Е.А.Гоберман, С.Л.Самойлова.
- М.: Энергоатомиздат, 1982. - 352 с.,ил.
14.Железко Ю.С.
Выбор мероприятий по снижению потерь электроэнергии в электрических сетях.-М.:
Энергоатомиздат.1989.-176 с.
15.Рябков А.Я.
Электрический расчет электрических сетей.-М-Л.:Государственное энергетическое
издательство.1950.-400 с.
|
IA
|
2.9
|
|
IB
|
_
|
|
IC
|
_
|
|
IA
|
2.9
|
|
IB
|
0
|
|
IC
|
2.4
|
Рисунок 1 - Схема сети 0.38 кВ (КТП 7010 )
|
IA
|
3.4
|
|
IB
|
3.4
|
|
IC
|
3.4
|
|
IA
|
2.9
|
|
IB
|
2.4
|
|
IC
|
3.2
|
|
IA
|
3.2
|
|
IB
|
3.1
|
|
IC
|
2.9
|
|
IA
|
3.6
|
|
IB
|
0
|
|
IC
|
_
|
|
IA
|
0
|
|
IB
|
4.1
|
|
IC
|
_
|
|
IA
|
3.1
|
|
IB
|
_
|
|
IC
|
_
|
|
IA
|
0
|
|
IB
|
1.4
|
|
IC
|
3.6
|
|
IA
|
1.6
|
|
IB
|
5.9
|
|
IC
|
3.1
|
Рисунок 2 - Схема сети 0.38 кВ ( КТП 7014 )
|
IA
|
4.9
|
|
IB
|
3.7
|
|
IC
|
3.4
|
|
IA
|
0
|
|
IB
|
3.4
|
|
IC
|
0
|
|
IA
|
4.2
|
|
IB
|
3.9
|
|
IC
|
3.1
|
|
IA
|
4.9
|
|
IB
|
3.7
|
|
IC
|
3.4
|
Рисунок 3 - Схема сети 0.38 кВ (КТП 7029 )
|
IA
|
2.1
|
|
IB
|
1.9
|
|
IC
|
2.8
|
|
IA
|
2.5
|
|
|
IB
|
3.7
|
|
|
IC
|
0
|
|
|
IA
|
0
|
|
IB
|
_
|
|
IC
|
3.8
|
|
IA
|
2.5
|
|
IB
|
2.1
|
|
IC
|
3.4
|
|
IA
|
2.2
|
|
IB
|
2.2
|
|
IC
|
2.6
|
|
IA
|
2.3
|
|
IB
|
_
|
|
IC
|
_
|
|
IA
|
3.4
|
|
IB
|
2.3
|
|
IC
|
0
|
Рисунок 4 - Схема сети 0.38 кВ РЛ1 ( КТП 7104 )
|
IA
|
2.4
|
|
|
IB
|
3.1
|
|
|
IC
|
2.7
|
|
|
IA
|
2.4
|
|
|
IB
|
2.4
|
|
|
IC
|
3.2
|
|
|
IA
|
0
|
|
|
IB
|
3.1
|
|
|
IC
|
2.6
|
|
|
IA
|
1.6
|
|
|
IB
|
2.5
|
|
|
IC
|
1.7
|
|
|
IA
|
0
|
|
|
IB
|
2.1
|
|
|
IC
|
1.8
|
|
|
IA
|
1.9
|
|
IB
|
_
|
|
IC
|
_
|
|
IA
|
2.2
|
|
IB
|
3,4
|
|
IC
|
0
|
|
IA
|
3.1
|
|
IB
|
3.4
|
|
IC
|
3.4
|
|
IA
|
1.6
|
|
IB
|
0
|
|
IC
|
3.1
|
|
IA
|
1.9
|
|
IB
|
2.6
|
|
IC
|
1.7
|
|
IA
|
1.8
|
|
IB
|
1.8
|
|
IC
|
0
|
|
IA
|
2.1
|
|
IB
|
0
|
|
IC
|
1.6
|
|
IA
|
1.9
|
_
|
|
IC
|
_
|
Рисунок 5 - Схема сети 0.38 кВ РЛ2 ( КТП 7104 )
|
IA
|
2.1
|
|
|
IB
|
2.8
|
|
|
IC
|
0
|
|
|
IA
|
2.8
|
|
|
IB
|
0
|
|
|
IC
|
2.5
|
|
|
IA
|
0
|
|
|
IB
|
1.8
|
|
|
IC
|
1.8
|
|
|
IA
|
1.8
|
|
|
IB
|
0
|
|
|
IC
|
1.5
|
|
|
IA
|
2.5
|
|
IB
|
1.7
|
|
IC
|
_
|
|
IA
|
0
|
|
IB
|
2.4
|
|
IC
|
2.3
|
|
IA
|
1.7
|
|
IB
|
2.6
|
|
IC
|
0
|
Рисунок 6 - Схема сети 0.38 кВ РЛ1 ( КТП 7110 )
|
IA
|
2.9
|
|
IB
|
3.1
|
|
IC
|
2.1
|
|
IA
|
3.4
|
|
IB
|
2.8
|
|
IC
|
2.7
|
|
IA
|
3.1
|
|
IB
|
3.3
|
|
IC
|
2.8
|
|
IA
|
0
|
|
IB
|
3.4
|
|
IC
|
2.9
|
|
IA
|
2.3
|
|
IB
|
2.5
|
|
IC
|
2.1
|
|
IA
|
_
|
|
IB
|
3.1
|
|
IC
|
_
|
|
IA
|
2.4
|
|
IB
|
0
|
|
IC
|
2.3
|
|
IA
|
4.9
|
|
IB
|
1.6
|
|
IC
|
3.1
|
Рисунок 7 - Схема сети 0.38 кВ РЛ2 ( КТП 7110 )
|
IA
|
0
|
|
IB
|
3.1
|
|
IC
|
2.6
|
|
IA
|
0
|
|
IB
|
2.1
|
|
IC
|
1.8
|
|
IA
|
1.9
|
|
|
IB
|
_
|
|
|
IC
|
_
|
|
|
IA
|
3.4
|
|
IB
|
3.4
|
|
IC
|
3.4
|
|
IA
|
2.4
|
|
IB
|
2.1
|
|
IC
|
2.7
|
|
IA
|
1.6
|
|
IB
|
1.9
|
|
IC
|
1.7
|
|
IA
|
2.2
|
|
IB
|
2.9
|
|
IC
|
0
|
|
|
|
|
|
IA
|
1.9
|
|
IB
|
2.6
|
|
IC
|
1.7
|
|
IA
|
2.8
|
|
IB
|
1.8
|
|
IC
|
0
|
|
IA
|
2.1
|
|
IB
|
0
|
|
IC
|
1.6
|
|
IA
|
1.9
|
|
IB
|
_
|
|
IC
|
_
|
|
IA
|
2.9
|
|
IB
|
2.4
|
|
IC
|
3.2
|
Рисунок 8 - Схема сети 0.38 кВ (КТП 7134)
|
IA
|
2.1
|
|
IB
|
1.9
|
|
IC
|
2.8
|
|
IA
|
2.5
|
|
|
IB
|
3.7
|
|
|
IC
|
0
|
|
|
IA
|
0
|
|
IB
|
_
|
|
IC
|
3.8
|
|
IA
|
2.5
|
|
IB
|
2.1
|
|
IC
|
3.4
|
|
IA
|
2.2
|
|
IB
|
2.2
|
|
IC
|
2.6
|
|
IA
|
2.3
|
|
IB
|
_
|
|
IC
|
_
|
|
IA
|
3.4
|
|
IB
|
2.3
|
|
IC
|
0
|
Рисунок 9 - Схема сети 0.38 кВ ( КТП 7144 )
|
IA
|
3.5
|
|
IB
|
3.1
|
|
IC
|
2.9
|
|
IA
|
2.9
|
|
IB
|
0
|
|
IC
|
0
|
|
IA
|
10
|
|
IB
|
10
|
|
IC
|
10
|
|
IA
|
3.3
|
|
|
IB
|
3.6
|
|
|
IC
|
0
|
|
|
IA
|
2.4
|
|
IB
|
0
|
|
IC
|
2.3
|
|
IA
|
0
|
|
IB
|
2.1
|
|
IC
|
0
|
|
IA
|
2.4
|
|
IB
|
0
|
|
IC
|
0
|
|
IA
|
0
|
|
IB
|
_
|
|
IC
|
1.4
|
3
|
IA
|
2.8
|
|
IB
|
4.2
|
|
IC
|
2.3
|
|
IA
|
4.1
|
|
|
IB
|
0
|
|
|
IC
|
2.8
|
|
|
IA
|
2.5
|
|
IB
|
0
|
|
IC
|
0
|
|
IA
|
0
|
|
IB
|
0
|
|
IC
|
3.4
|
|
IA
|
0
|
|
IB
|
2.4
|
|
IC
|
2.4
|
|
IA
|
0
|
|
IB
|
2.3
|
|
IC
|
2.2
|
|
IA
|
0
|
|
IB
|
2.3
|
|
IC
|
0
|
|
IA
|
2.5
|
|
IB
|
_
|
|
IC
|
0
|
Рисунок 10 - Схема сети 0.38 кВ ( КТП 7211 )
|
IA
|
4.1
|
|
IB
|
0
|
0
|
|
IA
|
0
|
|
IB
|
0
|
|
IC
|
2.4
|
|
IA
|
3.1
|
|
IB
|
0
|
|
IC
|
0
|
|
IA
|
0
|
|
|
IB
|
2.8
|
|
|
IC
|
0
|
|
|
IA
|
0
|
|
IB
|
0
|
|
IC
|
3.9
|
|
IA
|
0
|
|
IB
|
2.4
|
|
IC
|
0
|
|
IA
|
3.2
|
|
IB
|
0
|
|
IC
|
0
|
|
IA
|
0
|
|
IB
|
0
|
|
IC
|
2.8
|
3
|
IA
|
0
|
|
IB
|
3.1
|
|
IC
|
0
|
|
IA
|
3.8
|
|
|
IB
|
0
|
|
|
IC
|
0
|
|
|
IA
|
3.7
|
|
IB
|
0
|
|
IC
|
0
|
|
IA
|
0
|
|
IB
|
0
|
|
IC
|
1.9
|
|
IA
|
0
|
|
IB
|
0
|
|
IC
|
3.1
|
|
IA
|
0
|
|
IB
|
2.9
|
|
IC
|
0
|
|
IA
|
0
|
|
IB
|
2.1
|
|
IC
|
0
|
|
IA
|
2.1
|
|
IB
|
0
|
|
IC
|
0
|
|
IA
|
_
|
|
IB
|
_
|
|
IC
|
1.9
|
Рисунок 11 - Схема сети 0.38 кВ РЛ1 ( КТП 7212 )
|
IA
|
3.7
|
|
|
IB
|
0
|
|
|
IC
|
1.4
|
|
|
IA
|
0
|
|
|
IB
|
3.2
|
|
|
IC
|
0
|
|
|
IA
|
2.9
|
|
|
IB
|
3.8
|
|
|
IC
|
0
|
|
|
IA
|
0
|
|
|
IB
|
0
|
|
|
IC
|
2.6
|
|
|
IA
|
0
|
|
IB
|
0
|
|
IC
|
3.1
|
|
IA
|
3.5
|
|
IB
|
0
|
|
IC
|
0
|
|
IA
|
0
|
|
IB
|
0
|
|
IC
|
3.5
|
Рисунок 12 - Схема сети 0.38 кВ ( КТП 7329 )
|
IA
|
0
|
|
|
IB
|
0
|
|
|
IC
|
2.7
|
|
|
IA
|
2.9
|
|
|
IB
|
2.1
|
|
|
IC
|
0
|
|
|
IA
|
0
|
|
|
IB
|
1.8
|
|
|
IC
|
0
|
|
|
IA
|
1.6
|
|
|
IB
|
0
|
|
|
IC
|
1.7
|
|
|
IA
|
0
|
|
|
IB
|
1.7
|
|
|
IC
|
1.8
|
|
|
IA
|
0
|
|
IB
|
0
|
|
IC
|
_
|
|
IA
|
2.2
|
|
IB
|
2.9
|
|
IC
|
0
|
|
IA
|
0
|
|
IB
|
1.5
|
|
IC
|
0
|
|
IA
|
1.6
|
|
IB
|
0
|
|
IC
|
2.2
|
|
IA
|
1.9
|
|
IB
|
2.6
|
|
IC
|
1.7
|
|
IA
|
1.8
|
|
IB
|
1.6
|
|
IC
|
0
|
|
IA
|
2.1
|
|
IB
|
0
|
|
IC
|
1.6
|
|
IA
|
0
|
|
IB
|
1.3
|
|
IC
|
_
|
|
IA
|
1.9
|
|
IB
|
0
|
|
IC
|
1.3
|
Рисунок 13 - Схема сети 0.38 кВ РЛ2 ( КТП 7212 )
|
IA
|
4.2
|
|
|
IB
|
0
|
|
|
IC
|
0
|
|
|
IA
|
0
|
|
|
IB
|
0
|
|
|
IC
|
3.3
|
|
|
IA
|
0
|
|
|
IB
|
3
|
|
|
IC
|
0
|
|
|
IA
|
3.8
|
|
|
IB
|
0
|
|
|
IC
|
0
|
|
|
IA
|
0
|
|
|
IB
|
0
|
|
|
IC
|
2.8
|
|
|
IA
|
0
|
|
IB
|
2.7
|
|
IC
|
0
|
|
IA
|
0
|
|
IB
|
3.2
|
|
IC
|
0
|
|
|
|
|
|
IA
|
0
|
|
IB
|
3.3
|
|
IC
|
0
|
|
IA
|
4
|
|
|
IB
|
0
|
|
|
IC
|
0
|
|
|
IA
|
0
|
|
IB
|
0
|
|
IC
|
4.7
|
|
IA
|
0
|
|
IB
|
0
|
|
IC
|
3.1
|
|
IA
|
0
|
|
IB
|
2.8
|
|
IC
|
0
|
|
IA
|
4.1
|
|
IB
|
0
|
|
IC
|
0
|
|
IA
|
3.9
|
|
IB
|
0
|
|
IC
|
0
|
|
IA
|
0
|
|
IB
|
0
|
|
IC
|
3.1
|
Рисунок 14 - Схема сети 0.38 кВ РЛ1 ( КТП 7216 )
|
IA
|
3.1
|
|
IB
|
3.1
|
|
IC
|
2.9
|
|
IA
|
10
|
|
IB
|
10
|
|
IC
|
10
|
|
IA
|
3.3
|
3.6
|
|
|
IC
|
0
|
|
|
IA
|
2.4
|
|
IB
|
0
|
|
IC
|
2.3
|
|
IA
|
0
|
|
IB
|
2.1
|
|
IC
|
0
|
|
IA
|
2.4
|
|
IB
|
0
|
|
IC
|
0
|
|
IA
|
0
|
|
IB
|
0
|
|
IC
|
1.4
|
|
IA
|
2.8
|
|
IB
|
4.2
|
|
IC
|
2.3
|
3
|
IA
|
3.1
|
|
IB
|
0
|
|
IC
|
1.8
|
|
IA
|
0
|
|
IB
|
0
|
|
IC
|
2.4
|
|
IA
|
2.9
|
|
IB
|
0
|
|
IC
|
0
|
|
IA
|
0
|
|
IB
|
2.3
|
|
IC
|
2.2
|
|
IA
|
0
|
|
IB
|
2.3
|
|
IC
|
0
|
|
IA
|
2.5
|
|
IB
|
_
|
|
IC
|
0
|
|
IA
|
2.5
|
|
IB
|
0
|
|
IC
|
0
|
|
IA
|
0
|
|
IB
|
2.4
|
|
IC
|
2.4
|
Рисунок 15 - Схема сети 0.38 кВ РЛ2 ( КТП 7216 )
|
IA
|
3.1
|
|
IB
|
2.2
|
|
IC
|
2.2
|
|
IA
|
1.7
|
|
IB
|
0
|
|
IC
|
2.4
|
|
IA
|
2.9
|
|
IB
|
1.8
|
|
IC
|
0
|
|
IA
|
10
|
|
|
IB
|
10
|
|
|
IC
|
10
|
|
|
IA
|
1.9
|
|
IB
|
0
|
|
IC
|
1.7
|
|
IA
|
2.7
|
|
IB
|
2.4
|
|
IC
|
0
|
|
IA
|
2.2
|
|
IB
|
1.4
|
|
IC
|
1.5
|
|
IA
|
0
|
|
IB
|
0
|
|
IC
|
2.8
|
3
|
IA
|
0
|
|
IB
|
2.9
|
|
IC
|
0
|
|
IA
|
2.8
|
|
|
IB
|
0
|
|
|
IC
|
2.4
|
|
|
IA
|
2.7
|
|
IB
|
1.9
|
|
IC
|
0
|
|
IA
|
1.5
|
|
IB
|
0
|
|
IC
|
1.9
|
|
IA
|
3.4
|
|
IB
|
3.1
|
|
IC
|
0
|
|
IA
|
0
|
|
IB
|
2.2
|
|
IC
|
1.7
|
|
IA
|
0
|
|
IB
|
2.9
|
|
IC
|
1.8
|
|
IA
|
0
|
|
IB
|
2.1
|
|
IC
|
1.6
|
|
IA
|
2.1
|
|
IB
|
0
|
|
IC
|
2.6
|
|
IA
|
_
|
|
IB
|
_
|
|
IC
|
1.9
|
Рисунок 16 - Схема сети 0.38 кВ ( КТП 7209 )
|
IA
|
2.4
|
|
|
IB
|
2.1
|
|
|
IC
|
2.7
|
|
|
IA
|
2.6
|
|
|
IB
|
2.4
|
|
|
IC
|
3.2
|
|
|
IA
|
0
|
|
|
IB
|
2.1
|
|
|
IC
|
2.6
|
|
|
IA
|
1.6
|
|
|
IB
|
2.4
|
|
|
IC
|
1.7
|
|
|
IA
|
0
|
|
|
IB
|
2.1
|
|
|
IC
|
1.8
|
|
|
IA
|
2.1
|
|
IB
|
_
|
|
IC
|
_
|
|
IA
|
2.2
|
|
IB
|
2.9
|
|
IC
|
0
|
|
IA
|
2.4
|
|
IB
|
3.4
|
|
IC
|
3.4
|
|
IA
|
2.9
|
|
IB
|
0
|
|
IC
|
3.1
|
|
IA
|
1.9
|
|
IB
|
2.6
|
|
IC
|
1.7
|
|
IA
|
1.8
|
|
IB
|
1.8
|
|
IC
|
0
|
|
IA
|
2.1
|
|
IB
|
0
|
|
IC
|
1.6
|
|
IA
|
1.9
|
|
IB
|
_
|
|
IC
|
_
|
Рисунок 17 - Схема сети 0.38 кВ РЛ1 ( КТП 7259 )
|
IA
|
1.9
|
|
|
IB
|
1.3
|
|
|
IC
|
1.8
|
|
|
IA
|
1.7
|
|
|
IB
|
0
|
|
|
IC
|
1.5
|
|
|
IA
|
0
|
|
IB
|
1.6
|
|
IC
|
1.7
|
|
IA
|
1.3
|
|
|
IB
|
0
|
|
|
IC
|
1.3
|
|
|
IA
|
_
|
|
|
IB
|
2.5
|
|
|
IC
|
0
|
|
|
IA
|
_
|
|
|
IB
|
1.7
|
|
|
IC
|
_
|
|
|
IA
|
2.1
|
|
IB
|
0
|
|
IC
|
0
|
|
IA
|
2.2
|
|
IB
|
1.4
|
|
IC
|
1.2
|
Рисунок 18 - Схема сети 0.38 кВ РЛ2 ( КТП 7259 )
Рисунок 20 - Схема сети 0.38 кВ РЛ2 ( КТП 7330 )
|
IA
|
4.4
|
|
|
IB
|
3.7
|
|
|
IC
|
2.6
|
|
|
IA
|
3.4
|
|
|
IB
|
0
|
|
|
IC
|
3.9
|
|
|
IA
|
0
|
|
|
IB
|
2.7
|
|
|
IC
|
2.9
|
|
|
IA
|
3.1
|
|
|
IB
|
3.4
|
|
|
IC
|
0
|
|
|
IA
|
0
|
|
IB
|
_
|
|
IC
|
3.6
|
|
IA
|
4.2
|
|
IB
|
2.9
|
|
IC
|
3.3
|
|
IA
|
2.6
|
|
IB
|
3.2
|
|
IC
|
0
|
Рисунок 21 - Схема сети 0.38 кВ РЛ2 ( КТП 7730 )
|
IA
|
3.1
|
|
IB
|
2.9
|
|
IC
|
2.1
|
|
IA
|
2.8
|
|
IB
|
3.4
|
|
IC
|
2.7
|
|
IA
|
3.3
|
|
IB
|
3.1
|
|
IC
|
2.8
|
|
IA
|
3.4
|
|
IB
|
0
|
|
IC
|
2.1
|
|
IA
|
2.5
|
|
IB
|
2.3
|
|
IC
|
_
|
|
IA
|
3.1
|
|
IB
|
_
|
|
IC
|
_
|
|
IA
|
0
|
|
IB
|
2.4
|
|
IC
|
2.3
|
|
IA
|
1.6
|
|
IB
|
4.9
|
|
IC
|
3.1
|
Рисунок 22 - Схема сети 0.38 кВ ( КТП 7429 )
|
IA
|
2.9
|
|
IB
|
2.1
|
|
IC
|
2.3
|
|
IA
|
2.4
|
|
|
IB
|
1.9
|
|
|
IC
|
0
|
|
|
IA
|
2.6
|
|
|
IB
|
2.2
|
|
|
IC
|
2.1
|
|
|
IA
|
0
|
|
|
IB
|
1.7
|
|
|
IC
|
2.5
|
|
|
IA
|
2.2
|
|
|
IB
|
2.4
|
|
|
IC
|
2.1
|
|
|
IA
|
2.0
|
|
|
IB
|
1.3
|
|
|
IC
|
0
|
|
|
IA
|
2.9
|
|
IB
|
2.1
|
|
IC
|
2.3
|
|
IA
|
2.1
|
|
IB
|
0
|
|
IC
|
1.9
|
|
IA
|
1.6
|
|
IB
|
1.8
|
|
IC
|
2.2
|
|
IA
|
2.8
|
|
IB
|
2.6
|
|
IC
|
1.5
|
|
IA
|
2.1
|
|
IB
|
0
|
|
IC
|
1.9
|
Рисунок 23 - Схема сети 0.38 кВ РЛ1 ( КТП 7432 )
|
IA
|
2.1
|
|
|
IB
|
0
|
|
|
IC
|
0
|
|
|
IA
|
0
|
|
|
IB
|
1.6
|
|
|
IC
|
1.4
|
|
|
IA
|
1.8
|
|
|
IB
|
1.8
|
|
|
IC
|
1.8
|
|
|
IA
|
2.2
|
|
|
IB
|
_
|
|
|
IC
|
1.6
|
|
|
IA
|
1.8
|
|
IB
|
_
|
|
IC
|
_
|
|
IA
|
2.2
|
|
IB
|
2.4
|
|
IC
|
0
|
|
IA
|
1.9
|
|
IB
|
0
|
|
IC
|
1.6
|
Рисунок 24 - Схема сети 0.38 кВ РЛ2 ( КТП 7432 )
|
IA
|
0
|
|
|
IB
|
0
|
|
|
IC
|
4.6
|
|
|
IA
|
0
|
|
|
IB
|
4.8
|
|
|
IC
|
0
|
|
|
IA
|
3.2
|
|
|
IB
|
0
|
|
|
IC
|
4.9
|
|
|
IA
|
0
|
|
|
IB
|
5.5
|
|
|
IC
|
0
|
|
|
IA
|
4.1
|
|
|
IB
|
0
|
|
|
IC
|
0
|
|
|
IA
|
0
|
|
IB
|
_
|
|
IC
|
3.1
|
|
IA
|
3.5
|
|
IB
|
0
|
|
IC
|
0
|
|
IA
|
0
|
|
IB
|
0
|
|
IC
|
5.1
|
|
IA
|
0
|
|
IB
|
4.7
|
|
IC
|
0
|
|
IA
|
3.6
|
|
IB
|
0
|
|
IC
|
0
|
|
IA
|
3.7
|
|
IB
|
0
|
|
IC
|
0
|
|
IA
|
0
|
|
IB
|
0
|
|
IC
|
4.3
|
|
IA
|
0
|
|
IB
|
4.2
|
|
IC
|
0
|
|
IA
|
0
|
|
IB
|
4.8
|
|
IC
|
0
|
|
IA
|
1.9
|
|
IB
|
_
|
|
IC
|
_
|
Рисунок 25 - Схема сети 0.38 кВ ( КТП 7630 )
|
IA
|
0
|
|
IB
|
0
|
|
IC
|
3.5
|
|
IA
|
_
|
_
|
|
IC
|
3.1
|
|
IA
|
0
|
|
IB
|
3.2
|
|
IC
|
0
|
|
IA
|
3.5
|
|
IB
|
0
|
|
IC
|
0
|
|
IA
|
2.6
|
|
IB
|
0
|
|
IC
|
2.4
|
|
IA
|
2.3
|
|
IB
|
0
|
|
IC
|
0
|
|
IA
|
3.7
|
|
IB
|
0
|
|
IC
|
1.4
|
Рисунок 26 - Схема сети 0.38 кВ РЛ1 ( КТП 7633 )
|
IA
|
2.2
|
|
IB
|
0
|
|
IC
|
2.6
|
|
IA
|
2.5
|
|
IB
|
3.7
|
|
IC
|
0
|
|
IA
|
0
|
|
IB
|
_
|
|
IC
|
3.8
|
|
IA
|
3.5
|
|
IB
|
2.3
|
|
IC
|
0
|
|
IA
|
2.9
|
|
IB
|
2.5
|
|
IC
|
0
|
|
IA
|
2.3
|
|
|
IB
|
_
|
|
|
IC
|
_
|
|
|
IA
|
2.5
|
|
IB
|
2.1
|
|
IC
|
1.4
|
|
IA
|
0
|
|
|
IB
|
1.9
|
|
|
IC
|
2.8
|
|
Рисунок 27 - Схема сети 0.38 кВ РЛ2 ( КТП 7633 )
|
IA
|
3.9
|
|
IB
|
3.7
|
|
IC
|
3.4
|
|
IA
|
0
|
|
IB
|
3.4
|
|
IC
|
0
|
|
IA
|
3.2
|
|
IB
|
3.9
|
|
IC
|
3.1
|
|
IA
|
3.9
|
|
IB
|
0
|
|
IC
|
1.4
|
Рисунок 28 - Схема сети 0.38 кВ ( КТП 7729 )
|
IA
|
3.8
|
|
|
IB
|
0
|
|
|
IC
|
3.7
|
|
|
IA
|
0
|
|
|
IB
|
4.1
|
|
|
IC
|
2.5
|
|
|
IA
|
4.2
|
|
|
IB
|
2.9
|
|
|
IC
|
3.3
|
|
|
IA
|
3.6
|
|
|
IB
|
3.2
|
|
|
IC
|
0
|
|
|
IA
|
0
|
|
IB
|
_
|
|
IC
|
3.1
|
|
IA
|
0
|
|
IB
|
2.7
|
|
IC
|
2.9
|
|
IA
|
3.1
|
|
IB
|
3.4
|
|
IC
|
0
|
Рисунок 29 - Схема сети 0.38 кВ РЛ1 ( КТП 7730 )
|
IA
|
2.9
|
|
IB
|
2.5
|
|
IC
|
3.8
|
|
IA
|
2.5
|
|
|
IB
|
1.7
|
|
|
IC
|
0
|
|
|
IA
|
0
|
|
IB
|
2.3
|
|
IC
|
_
|
|
IA
|
3.1
|
|
IB
|
0
|
|
IC
|
2.5
|
|
IA
|
3.5
|
|
IB
|
2.3
|
|
IC
|
0
|
|
IA
|
2.3
|
|
IB
|
_
|
|
IC
|
_
|
|
IA
|
3.2
|
|
IB
|
0
|
|
IC
|
2.6
|
Рисунок 30 - Схема сети 0.38 кВ РЛ2 ( КТП 7730 )