Автоматизация тельфера
Содержание
Введение
1. Технологическая характеристика объекта автоматизации
2. Составление функциональной и технологической схемы системы
автоматического управления
3. Разработка принципиальной электрической схемы
3.1 Составление частных таблиц включения для исполнительных
элементов
3.2 Составление таблиц покрытия для исполнительных элементов
3.3 Упрощённые структурные формулы и принципиальные электрические
схемы для исполнительных элементов
4. Расчёт и выбор технических средств автоматизации
5. Разработка нестандартных элементов и технических средств
Заключение
Литература
Введение
Из машин непрерывного транспорта наиболее распространены
установки с гибким тяговым органом: лентой, цепью, тросом.
В ремонтных мастерских и складах применяют подъёмные механизмы
для погрузочно-разгрузочных и монтажных работ: электротали, тельферы, мостовые
краны и др. они обычно имеют многодвигательный привод. Например, простейший
механизм электротали имеет два двигателя: один для поднимания и опускания
груза, другой для горизонтального перемещения.
Промышленность выпускает специальные крановые двигатели,
которые имеют повышенную механическую прочность, большую перегрузочную
способность и больший пусковой момент, повышенное скольжение (МТК, МТКВ, АОС и
другие). В подъёмных установках небольшой мощности используют обычные
двигатели.
1.
Технологическая характеристика объекта автоматизации
Электрическая таль типа ТЭ1-511 выпускается грузоподъёмностью
1 т., высота подъёма 3…18 м. В ней применяются двигатели мощностью 0,37 кВт на
передвижение и 3 кВт на подъём. Скорость передвижения электродетали20 м/мин,
скорость подъёма 8 м/мин.
Барабан с канатом подъёма приводится во вращение
электродвигателем через редуктор. Для ограничения подъёма груза предусмотрен
конечный выключатель, который отключает электродвигатель подъёма при упоре
крюка в рычаг выключателя. К зажимам электродвигателя подключена катушка
электромагнита тормозного устройства, которое при включении электромагнита
растормаживает электродвигатель. При отключении электромагнита тормоза,
электродвигатель затормаживается под действием пружин тормоза.
Технологическая схема тельфера
-балка; 2 - механизм передвижения; 3-механизм подъема; 4-груз;
-начальноя площадка; 6когечная площадка.
Таблица 1 - Исходные данные
|
Назначение и
тип эл. дв.
|
Обозначение
|
Рн, кВт
|
nн, мин-1
|
h, %
|
cos jн
|
Мmax/ Mн
|
Мп/ Мн
|
Мmin/ Мн
|
Iп/ Iн
|
|
Подъём АИР90L4
|
М2
|
3
|
1500
|
81
|
0,83
|
2,2
|
2,1
|
1,6
|
6,5
|
|
Передвижение
АИР71А4
|
М1
|
0,37
|
1500
|
70,5
|
0,7
|
2,2
|
2,3
|
1,8
|
5
|
2.
Составление функциональной и технологической схемы системы автоматического
управления
Функциональная схема выполняется следующим образом: щит или
пульт управления изображают прямоугольным в верхней или нижней части чертежа, в
котором, при помощи условных обозначений показывают на щите или пульте приборы
и средства автоматизации. Приборы и средства автоматизации устанавливаемые вне
щита или пульта и не связанные непосредственно с технологическим оборудованием
и коммутации, условно показывают прямоугольники с надписью “Приборы по месту”.
Такой прямоугольник располагают под прямоугольником щита или пульта, при
разработке функциональной схемы, на основании анализа условий работы
технологического оборудования, необходимо решить следующие вопросы:
Определить оптимальный объём технологического процесса
автоматизации
На функциональной схеме необходимо выделить исходную систему
автоматического управления, разбить на локальные и замкнутые системы
автоматического управления и програмно-логические системы.
Уточнить технологические параметры подлежащие автоматическому
управлению и контролю, установить их параметры и выбрать методы измерения этих
параметров, для последующего выбора технических средств, для их реализации.
Определить объёмы автоматической защиты и блокировок
технологических установок.
Выбрать основные технические средства автоматизации.
Разместить аппаратуру на щитах и пультах.
Функциональная электрическая схема тельфера изображена на
первом листе графической части.
При проектировании логической части схем автоматики, цикл
работы задаётся последовательностью включения и отключения механизмов. В ходе
разработки системы управления определяют последовательность работы
исполнительных элементов технологической линии, порядок управления, число конечных
выключателей, датчиков и других командных аппаратов управляющих процессом.
Составим таблицу, где приведём буквенные обозначения
командных, исполнительных и промежуточных органов РКС.
Таблица 2 - Буквенное обозначение коммутирующих,
исполнительных и промежуточных органов РКС
|
Обозначение
органов
|
Назначение
элементов в РКС
|
Механизм, где
установлен элемент
|
|
х1
|
Перемещение
груза вправо
|
Двигатель М1
|
|
х2
|
Перемещение
груза влево
|
Двигатель М1
|
|
х3
|
Подъём груза
|
Двигатель М2
|
|
х4
|
Опускание груза
|
Двигатель М2
|
|
b1
|
Остановка в
конце обратного горизонтального перемещения
|
Конечный
выключатель
|
|
b2
|
Остановка груза
в верхней точке
|
Конечный
выключатель
|
|
b3
|
Остановка груза
в нижней точке начального положения
|
Конечный
выключатель
|
|
b4
|
Остановка
горизонтального перемещения в конце пути
|
Конечный
выключатель
|
автоматизация тельфер электрическая схема
3.
Разработка принципиальной электрической схемы
Используя словесное описание технологического процесса
заменяя механизмы соответствующими элементами, составим символическое описание
технологического процесса.
а1-х3-¯а1-⌠↓z3⌡-↑x1-⌠z3⌡-↓x4-↑z4-↑a2-↑x3-↓a2-⌠↓z3⌡-x2-⌠↓z3⌡-x4-↓z5-↓x4
↓x3 x4 ↓x3 ↓x2
x3⌡
3.1
Составление частных таблиц включения для исполнительных элементов
Дальнейшая формализация разработки РКС связана с составлением
таблиц включений для каждого исполнительного элемента.
В частную таблицу включения для какого-либо исполнительного
элемента вносят данный исполнительный элемент, промежуточный элемент, от
состояния которого этот исполнительный элемент включается, отключается, а так
же вспомогательный элемент, необходимые для реализации данной таблицы.
Составим частную таблицу включения для исполнительного
элемента х1
Таблица 3 - Частная таблица включения для исполнительного
элемента х1
|
№ эл-та
|
№ код эл-та
|
элемент
|
5
|
6
|
7
|
8
|
9
|
0
|
1
|
2
|
3
|
4
|
5
|
6
|
7
|
8
|
9
|
0
|
1
|
2
|
|
1
|
1
|
X1
|
|
+
|
|
|
-
|
|
|
|
|
|
|
|
|
|
|
|
|
|
|
2
|
2
|
b2
|
+
|
|
|
|
|
-
|
|
|
|
|
|
|
+
|
|
|
|
|
-
|
|
3
|
4
|
b4
|
|
|
|
+
|
|
|
|
|
|
|
|
|
|
|
-
|
|
|
|
|
Коды
составленных контактов
|
2
|
3
|
1
|
-1
|
-2
|
-4
|
-4
|
-4
|
-4
|
-4
|
-4
|
-4
|
-2
|
-2
|
-2
|
2
|
2
|
0
|
Из структурной теории релейных устройств известна общая
формула для определения первоначальной структуры цепи управления элементом:
F (x) =fср (х) +fотп (х) *х (1)
Где fср - состояние вспомогательных элементов в такте
срабатывания;
fотп - состояние вспомогательных элементов в такте отпускания;
х - расчётный исполнительный элемент.
Составим структурную формулу для элемента х1:
F (x1) =b2*b4+x1*
(b2*b4) =b2*b4+x1*b2+x1*b4
Таблица 4 - Частная таблица включения для исполнительного
элемента х2
|
№ эл-та
|
№ код эл-та
|
элемент
|
5
|
6
|
7
|
8
|
9
|
0
|
1
|
2
|
3
|
4
|
5
|
6
|
7
|
8
|
9
|
0
|
1
|
2
|
|
1
|
1
|
х2
|
|
+
|
|
|
|
|
|
|
|
|
|
|
|
|
|
-
|
|
|
|
2
|
2
|
b4
|
+
|
|
|
|
+
|
+
|
|
|
|
|
|
|
|
|
|
|
|
-
|
|
3
|
4
|
b3
|
|
|
-
|
-
|
|
|
|
|
|
|
|
|
+
|
|
|
|
|
|
|
Коды
составленных контактов
|
2
|
3
|
-1
|
-5
|
-3
|
-1
|
-1
|
-1
|
-1
|
-1
|
-1
|
-1
|
3
|
3
|
3
|
2
|
2
|
0
|
Таблица 5 - Частная таблица включения для исполнительного
элемента х3
|
№ эл-та
|
№ код эл-та
|
элемент
|
5
|
6
|
7
|
8
|
9
|
0
|
1
|
2
|
3
|
4
|
5
|
6
|
7
|
8
|
9
|
0
|
1
|
2
|
|
1
|
1
|
X3
|
|
-
|
|
|
-
|
|
|
|
|
|
|
|
+
|
|
|
|
|
-
|
|
2
|
2
|
b2
|
+
|
|
+
|
|
|
-
|
|
|
|
|
|
|
|
|
+
|
|
-
|
|
|
3
|
4
|
b4
|
|
|
|
-
|
|
|
|
|
|
|
|
|
|
|
|
+
|
|
|
|
Коды
составленных контактов
|
2
|
1
|
3
|
-1
|
-2
|
-4
|
-4
|
-4
|
-4
|
-4
|
-4
|
-4
|
-3
|
-3
|
-1
|
3
|
1
|
0
|
Таблица 6 - Частная таблица включения
для исполнительного элемента х4
|
№ эл-та
|
№ код эл-та
|
элемент
|
8
|
9
|
10
|
11
|
12
|
13
|
14
|
15
|
16
|
|
1
|
1
|
X4
|
|
+
|
|
|
-
|
|
|
|
|
|
2
|
2
|
b2
|
+
|
|
|
|
|
|
|
|
-
|
|
3
|
4
|
b4
|
|
|
|
+
|
|
-
|
|
|
|
|
Коды
составленных контактов
|
2
|
3
|
3
|
7
|
6
|
2
|
2
|
2
|
0
|
Составим структурную формулу для элемента х4
F (x) =b4*b5+x4*
(b4*b5) =b4*b5+x4*b4+x4*b5
3.2 Составление таблиц покрытия для исполнительных элементов
Первичные структурные формулы упрощают с помощью таблиц
покрытия, назначение которых состоит в исключении лишних слагаемых из
первоначальной структурной формулы.
В горизонтальные строчки таблицы вписывают все слагаемые
произведения, имеющиеся в первоначальных структурных формулах элементов, а в
вертикальные таблицы - номера тактов включенного состояния данного элемента, то
есть от такта срабатывания до такта предыдущему такту отпускания.
Составим таблицы покрытия для всех исполнительных элементов.
Таблица 7 - Таблица покрытия для исполнительного элемента х1
|
Произведение
|
5
|
6
|
7
|
|
b4
|
B2
|
´
|
´
|
´
|
|
x1
|
B2
|
-
|
-
|
-
|
|
x1
|
B4
|
-
|
´
|
´
|
Таблица 8 - Таблица покрытия для исполнительного элемента х2
|
Произведение
|
18
|
19
|
|
b2
|
b1
|
´
|
´
|
´
|
|
x2
|
b2
|
-
|
-
|
-
|
|
x2
|
b1
|
-
|
´
|
´
|
Таблица 9 - Таблица покрытия для исполнительного элемента х3
|
Произведение
|
1
|
2
|
3
|
4
|
|
a1
|
b2
|
´
|
´
|
-
|
-
|
|
x3
|
a2
|
-
|
´
|
-
|
-
|
|
x3
|
b2
|
-
|
´
|
´
|
´
|
Таблица 10 - Таблица покрытия для исполнительного элемента х4
|
Произведение
|
20
|
21
|
22
|
|
b1
|
b3
|
´
|
´
|
´
|
|
x4
|
b1
|
-
|
-
|
-
|
|
x4
|
b3
|
´
|
-
|
-
|
3.3 Упрощённые структурные формулы и принципиальные электрические
схемы для исполнительных элементов
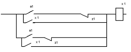
Для перемещения груза вправо.
Исходя из таблицы 9, структурная формула для элемента х1
будет иметь вид:
(x2) =b4*b2
Составляем упрощённую электрическую схему для элемента х1
Для перемещения груза влево.
Исходя из таблицы 10, структурная формула для элемента х2
будет иметь вид
F (x2) =b2*b1
Составляем упрощённую электрическую схему для элемента х2
Для подъёма груза.
Исходя из таблиц 11 и 12, структурные формулы для элемента х3
будут иметь вид:
F (x3) =а1*b2
F (x3) =а2* (b2+x3)
Составляем упрощённые электрические схемы для элемента х3
Для опускания груза.
Исходя из таблиц 11 и 12, структурные формулы для элемента х4
будут иметь вид:
F (x4) =b1*b3
F (x4) =b4*b5
Составляем упрощённые электрические схемы для элемента х4
Исходя из общего числа упрощённых электрических схем
исполнительных элементов, составляем общую упрощённую электрическую схему
управления технологическим процессом.
4.
Расчёт и выбор технических средств автоматизации
Правильность выбора средств автоматизации способствует
надёжной работе электроустановок.
Выбираем автоматический выключатель для электродвигателя
АИР90L4
мощностью 3 кВт по зависимости:
Ia³Iн (2)
Где Ia - номинальный ток автомата, А; Iн - номинальный ток
электродвигателя, А.
Iн=P/ (3*Uн*cosj*hн) (3)
Где Uн - номинальное напряжение, В;
сosj - коэффициент мощности
электродвигателя;
hн - коэффициент полезного
действия электродвигателя.
Отсюда:
Iн=3/ (3 0,38*0,83*0,81) =3,9А.
>3,9
Uн. а³Uн (4)
>380
Iэтр³1,2*Iр (5)
Где Iэтр - ток теплового расцепителя, А;
Iр - расчетный ток, А.
Iр=Iн*Кз (6)
Где Кз - коэффициент запаса Кз=0,7
Отсюда Ip=0.7*5=3.5A
Iэтр=1,2*3,5
Iэтр³4,2А
Выбираем автоматический выключатель типа АЕ2016Р с
номинальным током расцепителя Iэтр=5А, и током Ia=10А.
Отсюда 5>4,2А
Определяем ток электромагнитного расцепителя
Iэмр=1,25*Iпуск (7)
Где Iпуск - пусковой ток электродвигателя, А.
уск=Iн*Кi (8)
Где Кi - кратность пускового тока
Отсюда
Iпуск=6.5*5=32.5А
Iэмр=1,25*32,5=40,6А
Принимаем за ток срабатывания электромагнитного расцепителя Iэтр=40,6А. Так как все
условия выбора автоматического выключателя соблюдаются, то он выбран верно.
Автоматические выключатели для остальных электродвигателей рассчитываются
аналогично, данные находятся в сводной ведомости. Выбираем магнитный пускатель
для электродвигателя АИР90L4 мощностью 2,2 кВт по условию:
Iп>Iн (9)
Где Iп - ток магнитного пускателя, А
>3.9
Выбираем магнитный пускатель ПМЛ-121002, а так же приставку
ПКЛ.
Остальные пускатели выбираются так же, данные сносятся в
сводную ведомость.
Выбираем пакетный выключатель по наибольшему количеству
связующих цепей какого-либо режима работы, из этого выбираем пакетный
выключательУП5404.
Выбираем для схемы сигнализации лампы марки АС-220 на напряжение
220В.
Выбираем кнопочные посты по числу управляющих кнопок, а также
она должна быть встроена в шкаф, соответственно 2 кнопочных поста ПКЕ-222-3.
5.
Разработка нестандартных элементов и технических средств
Средства контроля, сигнализации и управления размещают в
пультах или щитах, что позволяет не только сконцентрировать средства
автоматики, но и сохранить их от вредного механического, температурного и
других воздействий.
Расчётная площадь шкафа рассчитывается по формуле:
S=S (Hi+2*X) * (Bi+2*X) (10)
Где Hi - высота аппарата, мм;
Bi - ширина аппарата, мм;
Х - расстояние необходимое для прокладки жгутов и кабелей,
Х=20мм.
Отсюда:
S=2*[ (140+2*20) * (55+2*20) ]+4[
(55+2*20) * (70+2*20) ]=89000мм2
Выдираем шкаф ЩПК 300´400 мм2.
Таблица 11. Перечень используемых элементов пускозащитной
аппаратуры
|
Обозначение
|
Наименование
|
Кол.
|
|
Детали
|
|
|
Стандартные
изделия
|
|
|
Шкаф ЩПК
|
1
|
|
Прочие изделия
|
|
|
QF1,
|
Автоматический
выключатель АЕ2016Р
|
1
|
|
КМ1, КМ2, КМ3, КМ4
|
Пускатель
электромагнитный ПМЛ-121002
|
4
|
|
Приставка ПКЛ
|
6
|
|
SB1,SB2
|
Кнопочный пост
ПКЕ-222-3
|
2
|
|
XT1 ХТ2
|
Клемная колодка
на 14 клемм
|
2
|
|
SQ1,
SQ2, SQ3, SQ4, SQ5
|
Конечный
выключатель
|
5
|
|
|
|
|
|
|
Заключение
Данный курсовой проект выполнен на тему: “Автоматизация
тельфера ТЭ1-511”. В результате выполнения проекта были составлены
функциональная и технологические схемы, а также разработана принципиальная
электрическая схема управления электрическим тельфером ТЭ2-621, с учётом
ручного и автоматического режимов работы и сигнализации.
Разработанная принципиальная электрическая схема управления
тельфером позволяет производить транспортировку грузов с минимальными затратами
человеческого труда.
Предусмотрен реверс поднимающего и перемещающего двигателей.
Выбрана пускозащитная аппаратура, рассчитан щит управления с расположенными в
нём элементами схемы.
Литература
1. Кудрявцев
И.Ф. Электрооборудование сельскохозяйственных агрегатов и установок - М.:
Агропромиздат. 1988г.
2. Долгий
В.И. Автоматизация технологических процессов. Методические рекомендации для
учащихся средних специальных учебных заведений по выполнению курсового проекта,
по специальности С0302 “Электрификация и автоматизация сельского
хозяйства" - Мн.: Учебно-методический центр. 1997г.
. Маковский
В. Д.; Исаев И.В. Элементы и устройства сельскохозяйственной автоматики.
Справочное пособие - Мн.: Урожай. 1989г.
Приложение