Комплекс механического оборудования агломерационного производства
ОГЛАВЛЕНИЕ
Введение
1. Комплекс механического оборудования агломерационного
производства
.1 Комплекс основного и вспомогательного оборудования
.2 Краткое описание технологического процесса при
производстве продукции
.3 Характеристика основного технологического оборудования
агломерационного производства
.4 Режим работы агломерационного производства
.5 Характеристика исходных материалов
.5.1 Концентраты, руда
.5.2 Отходы металлургического производства.
.5.3 Флюсы
.5.4 Возврат
.6 Технологическая характеристика производства.
.6.1 Прием, складирование и усреднение компонентов шихты
.6.2 Подготовка компонентов шихты.
.6.3 Дозировка компонентов шихты
.6.4 Смешивание, усреднение и окомкование компонентов шихты
.6.5 Укладка шихты на машину и спекание.
.6.6 Дробление и грохочение горячего агломерата..
.6.7. Охлаждение и сортировка горячего агломерата
.6.8 Требования к выпускаемому агломерату.
.6.9 Отсос и очистка отходящих газов
.7 Характеристика выпускаемой продукции.
. Агломерационная машина АКМ-312
.1 Назначение и описание работы агломерационной машины.
.2 Техническая характеристика агломерационной машины АКМ-312.
.3 Анализ надежности узлов и агрегатов агломерационной машины
АКМ-312
.3.1 Условия работы узлов и агрегатов агломерационной машины
.3.2 Основные виды отказов и повреждений оборудования АКМ-312
. Разгрузочная часть агломерационной конвейерной машины
АКМ-312. Отказы, причины отказов, предложения по модернизации
.1 Состав агломашины после реконструкции
.2 Расчет мощности двигателя агломерационной машины
.3 Расчет и конструирование прижимного устройства
агломерационной машины
3.3.1 Состав и описание прижимного устройства
.3.2 Кинематическая схема прижимного устройства и определение
нагрузок
.3.3 Расчет каната и канатных блоков
.3.4 Расчет траверсы
.3.5 Расчет цепи и цепных блоков
.3.6 Расчет подвесок
.3.7 Расчет соединительных пластин
3.4 Проект организации ремонта разгрузочной части агломашины
3.4.1 Демонтаж стационарной разгрузочной части агломашины
.4.2 Монтаж подвижной разгрузочной части агломашины
.4.3 Оснастка, инструмент, монтажное оборудование,
грузоподъемные машины
4. Экономическое обоснование проекта.
.1 Служба ремонта и техническое обслуживания цеха. Ремонтное
хозяйство цеха
.2 Виды ремонта и методы их проведения.
.3 Структура ремонтного цикла агрегата.
.4 Определение трудоемкости текущего и капитального ремонтов
агрегата
.5 Составление месячного графика плановых ремонтов
оборудования.
.6 Баланс времени работы агломерационной машины АКМ-312
.7 Сетевой график ремонтов агрегата. Расчет параметров
графика.
.8 Экономика
.8.1 Расчет капитальных затрат
.8.2 Дополнительные эксплуатационные расходы
.8.3 Количественные показатели, достигаемые на предприятии в
результате реконструкции
.8.4 Чистый дисконтированный доход
.8.5 Индекс доходности.
.8.6 Срок окупаемости
. Безопасность труда.
.1 Анализ условий труда при реконструкции загрузочной части
агломерационной машины
.2 Мероприятия по обеспечению безопасности труда.
.2.1 Опасность механического травмирования
.2.2 Опасность поражения электрическим током
.2.3 Опасность ожогов и теплового облучения.
.2.4 Микроклимат
.2.5 Запыленность.
.2.6 Шум
.2.7 Освещение
Заключение.
Библиографический список.
ВВЕДЕНИЕ
Одна из главных задач развития металлургического производства состоит в
повышении темпов и эффективности технического перевооружения и реконструкции
существующего оборудования, интенсивного использования имеющегося
производственного потенциала, совершенствования систем управления.
Современный период развития металлургической технологии характеризуется
ускоренным перевооружением всех видов производств, в том числе и прокатного, с
целью повышения его технического уровня и повышения качества продукции. Это
связано прежде всего с повышением конкурентоспособности выпускаемой продукции,
поскольку повышение качества способствует расширению рынков сбыта и в конечном
итоге, увеличению прибыли предприятия.
Агломерационное производство является первым этапом металлургического
цикла. Успешному решению задачи увеличения производства высококачественного
железорудного сырья - агломерата и окатышей - главных компонентов шихты для
доменных печей - способствует внедрение в производство последних достижений
науки, новейшей техники и передовой технологии, применение
высокопроизводительных агрегатов и машин, комплексная механизация и автоматизация
производства.
Современные агломерационные машины работают в непрерывном режиме, что
позволяет широко применять комплексную механизацию и автоматизацию
производственных процессов.
Механическое оборудование является достаточно сложным и разнообразным по
конструкции и назначению, при этом условия работы большинства машин и агрегатов
весьма тяжелые, т.к. их узлы и механизмы испытывают значительные статические и
динамические нагрузки.
Имеющееся оборудование должно обеспечивать надежную работу в весьма тяжелых
условиях непрерывного производства, связанных с воздействием на него больших
нагрузок, ускорений и скоростей, высоких температур, интенсивного абразивного
износа.
В связи с этим необходимо предусматривать и осуществлять меры,
способствующие повышению надежности оборудования в процессе его проектирования,
изготовления и эксплуатации, что позволит поднять металлургическое производство
на более высокий технический уровень.
Особое внимание уделяется ускоренному развитию производства экономичных
видов металлопродукции, расширению ее номенклатуры, улучшению ее
технико-экономических, прочностных и потребительских свойств. В немалой степени
эти свойства закладываются в процессе производства, поэтому от технического
уровня, качества и способа изготовления на всех этапах металлургического цикла
зависит успешная деятельность всего предприятия.
Одним из направлений, повышающих эффективность производства, является
повышение производительности, надежности и долговечности существующего
оборудования. Эта задача решается как в отраслевых научно-исследовательских
институтах, на предприятиях-изготовителях соответствующего оборудования, так и
на самих металлургических предприятиях, в их конструкторских и технологических
бюро и отделах, в цеховых службах.
Несмотря на непрерывно проводимую работу в этом направлении, задача
дальнейшей модернизации различных агрегатов и технологических комплексов
является актуальной, в том числе и на этапах подготовки железорудного сырья.
В разработанном дипломном проекте рассмотрены вопросы повышения
надежности и производительности агломерационной машины АКМ-312 в составе
агломерационного производства ОАО "Новолипецкий металлургический
комбинат".
1.
КОМПЛЕКС МЕХАНИЧЕСКОГО ОБОРУДОВАНИЯ АГЛОМЕРАЦИОННОГО ПРОИЗВОДСТВА
агломерационный производство труд безопасность
1.1 КОМПЛЕКС ОСНОВНОГО И ВСПОМОГАТЕЛЬНОГО ОБОРУДОВАНИЯ
Агломерационное производство ОАО «НЛМК» производит офлюсованный
высокоосновный агломерат для доменных цехов комбината. Поступающие в вагонах
железорудное сырье, флюсы, топливо, колошниковая пыль, окалина, отсев
известняка и доломита выгружаются вагоноопрокидывателями в бункеры и по системе
конвейеров подается на склады.
Согласно заданной технологии, эти материалы ленточными конвейерами
тщательно перемешиваются, дозируются, проходят измельчение, дробление и
подаются на смешивание и окомкование.
В комплекс основного и вспомогательного оборудования агломерационного
производства входят: отделение приемных бункеров, склад шихтовых материалов,
отделение дробления известняка, отделение измельчения топлива, смесительное
отделение, отделение спекательного корпуса, отделения охлаждения и сортировки
агломерата.
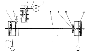
Принципиальная схема технологического процесса агломерации показана на
рис.1.[1].
Рис 1. Принципиальная схема технологического процесса агломерации
- бункера; 2 -питатели; 3 - ленточный конвейер; 4- барабанный смеситель;
- окомкователь; 6- бункера- распределители; 7 - зажигательный горн; 8-
агломашина; 8а - вакуум - камеры; 9 - дробилка; 10 - грохот; 11 - питатель; 12
- охладитель; 13 - грохот отделения мелочи; 14 - агловозы; 15 - участок
газового коллектора; 16 - газоочистительное устройство; 17 - эксгаустер;
- дымовая труба.
В бункера 1 подается железосодержащая смесь шихты (концентрат, руда, колошниковая
пыль и возврат), а также коксик и известняк. Перед подачей коксик и известняк
дробят в дробилках. Из бункеров шихтовых материал подается питателями 2 и
ленточным конвейером 3, в барабанный смеситель 4 и окомкователь 5, в которых
они перемешиваются, увлажняются и окомковываются.
Далее подготовленная шихта из окомкователя 5 загружается на челноковый
ленточный распределитель, которым равномерно укладывается в бункер барабанного
питателя шихты 6 агломерационной машины 8. Шихта загружается на колосники движущихся
спекательных тележек. Уложенная на спекательные тележки шихта поступает на
зажигательный горн 7, который зажигает находящийся в шихте коксик, и благодаря
непрерывному просасыванию через шихту воздуха эксгаустером 17 происходит её
спекание.
Эксгаустер создает разряжение под рабочей ветвью машины в вакуум- камерах
8а, что обеспечивает удаление в атмосферу через дымовую трубу 18 газообразных
продуктов сгорания. На участке газового коллектора 15 между машиной и
эксгаустером продукты сгорания очищаются в газоочистительном устройстве 16 от
пыли и агломерата.
Агломерат подвергается дроблению в дробилке 9 и рассеву на грохоте 10.
Мелкая фракция возвращается в бункера 1, а фракция крупностью более 10мм
считается пригодной для доменной плавки.
Средняя температура спекающегося агломерата составляет 500-600оС,
а в нижней части до 1200оС. Использование горячего агломерата при
плавке не активизирует восстановительные процессы и отрицательно влияет на
стойкость оборудования системы подачи шихты к доменным печам и ухудшает условия
работы в доменном цехе. В связи с этим агломерат охлаждают в охладителе
12,установленном за грохотом горячего агломерата, который подается питателем
11. Из охлажденного агломерата на грохоте 13 выделяют мелочь, а готовый
агломерат доставляют в доменный цех в специальных железнодорожных вагонах -
агловозах.
1.2 КРАТКОЕ ОПИСАНИЕ ТЕХНОЛОГИЧЕСКОГО ПРОЦЕССА ПРИ
ПРОИЗВОДСТВЕ ПРОДУКЦИИ
Подготовленная шихта из окомкователя загружается на челноковый ленточный
распределитель, которым равномерно укладывается в бункер барабанного питателя
шихты агломерационной машины. Шихта загружается на колосники движущихся
спекательных тележек в два слоя. Загруженные тележки поступают под
зажигательный горн, где происходит воспламенение твердого топлива верхнего слоя
шихты. При дальнейшем продвижении тележек по агломашине через слой шихты
просасывается воздух, и горение топлива верхних слоев распространяется на весь
слой. После выхода из машины агломерат поступает на дробление, грохочение, охлаждение
для разделения на годный продукт и возврат.
Спекание подготовленной шихты является основным этапом в технологии
получения высококачественного агломерата. Спекание ведется на колосниковой
решетке агломашин при просасывании воздуха эксгаустерами за счет развития
высоких температур при горении углерода в слое расплавления шихты и
кристаллизации железистого расплава. Поверх зоны горения твердого топлива
располагается зона готового охлаждающегося агломерата. Процесс спекания
агломерата заканчивается на предпоследней вакуум-камере агломашины.
После сортировки кондиционный агломерат грузится в специальные
железнодорожные вагоны и направляется в доменные цехи комбината [6].
1.3
ХАРАКТЕРИСТИКА ОСНОВНОГО ТЕХНОЛОГИЧЕСКОГО ОБОРУДОВАНИЯ АГЛОМЕРАЦИОННОГО
ПРОИЗВОДСТВА
.Агломерационная машина АКМ-312 - 4 шт.
Производительность - до 450 т/ч
Полезная площадь - 312 м
Ширина спекательных тележек - 4 м
Скорость движения спекательных тележек - 1,5 … 7,5 м/мин
Количество вакуум-камер - 26 шт.
Количество спекательных тележек - 132 шт.
Установленная мощность - 120,4 кВт
. Нагнетатель (эксгаустер) 9000-11 - 3 шт., 9000-11-5 - 5 шт. (по 2 шт.
на агломашину)
Производительность, отнесенная к начальным условиям всасывания - 1200
м/мин
Разрежение у входного отверстия - 1100-1350 кгс/м (11,0-13,5 кПа)
Начальная температура газа (при входе во всасывающий патрубок) - 150 Со
Мощность электродвигателя - 4000 кВт
Частота вращения ротора нагревателя критическая - 31,25 Со
. Охладитель агломерата прямолинейный оп-315 - 4 шт.
Производительность (средняя) - 370…500 т/ч
Активная рабочая площадь - 315 м
Ширина рабочей поверхности - 3,5 м
Скорость движения полотна - 1-3 м/мин
Длина полотна - 90 м
Угол наклона полотна - 16
Подпор в дутьевых камерах 220 кгс/м (2.2 кПа)
Температура горячего агломерата - 500 Со
Температура охлажденного агломерата 100 Со и менее
Число секций полотна 238 шт.
Высота слоя агломерата - 0,6…0,75 м
. Вентилятор дутьевой ВНД-24-П6 и ДН26*2 - 0,62-4,8 - 24 шт.
Производительность - 280000 м/ч
Напор - 395 кгс/м (3,95 кПа)
Мощность электродвигателя - 400 кВт
. Дробилка молотковая реверсивная ДМРИЭ-14,0*1,3-1000 - 12 шт.
Производительность - 250 т/ч
Диаметр ротора - 1450 мм
Ширина ротора - 1300 шт.
Количество рядов молотков - 10 шт.
Количество молотков в ряду - 9 шт.
Мощность электродвигателя - 630 кВт
. Дробилка 4-х валковая для измельчения топлива - 14 шт.
Производительность
- до 16 т/ч
Диаметр валков - 900 мм
Длина рабочей части валков - 700 мм
Частота вращения верхних валков - 1,9 С
Частота вращения нижних валков - 3,0 С
Частота вращения валков при проточке - 1,0 С
Ширина щели между верхними валками - 10 мм
Ширина щели между нижними валками - 2,5 мм
.Смеситель первичного смешивания
СБ-3,2*12,5 - 2 шт.
СБ-3,2*8 - 2 шт.
Угол наклона барабана - 215
Производительность при 13% заполнения барабана - 850 т/ч
Максимальная мощность электродвигателя - 400 кВт
. Смеситель-окомкователь СБ -3,2*12,5 - 8 шт.
Угол наклона барабана - 4
Частота вращения барабана - 0,07-0,13 С
Производительность при 13% заполнении и
наибольшей скорости вращения - 450 т/ч
Максимальная
мощность электродвигателя - 200 кВт
9. Барабан-охладитель возврата СБЗ-2, 8*10 - 2 шт.
Угол наклона барабана - до 4
Частота вращения - 0,10-0,17 Со
Производительность - до 250 т/ч
Максимальная мощность электродвигателя - 125 кВт
. Одновалковая дробилка агломерата 4200*1300 - 4 шт.
Производительность - до 900 т/ч
Диаметр звездочки ротора - 1300 мм
Рабочая длина ротора - 4200 мм
Размер кусков поступающего агломерата - 400*1500*4000 мм
Размер кусков выходящего агломерата - не более 200 мм
Частота вращения ротора - 0,5-0,15 Со
Температура поступающего агломерата - не выше 800 Со
Максимальная мощность электродвигателя - 125 кВт
. Самобалансовый грохот 3000*600 - ГОСТ - 81 - 6 шт.
Производительность - 600 т/ч
Площадь грохочения - 12,5 … 14 м
Число колебаний грохота в мин. - 735
Амплитуда колебаний - 6 мм
Температура поступающего агломерата - не более 800 Со
Крупность кусков поступающего агломерата - не более 200 мм
Мощность электродвигателя - 55 кВт
. Грохот инерционный ГИТ -51 Н - 5 шт.
Производительность - до 1000 т/ч
Площадь грохочения - 1750*3500 мм
Частота колебаний в минуту - 970 об/мин
Амплитуда колебаний - 3,7 мм
Мощность электродвигателя - 17 кВт
. Классификатор двухспиральный с погруженной спиралью 1200*8400 - 2шт.
Длина корыта - 8400 мм
Ширина корыта - 2600 мм
Угол наклона корыта - 15
Диаметр спирали - 1200 мм
Число заходов спирали - 2
Мощность электродвигателя 6,7 кВт
. Челноковый распределитель шихты 1200*12500 мм - 4 шт.
. Косой ленточный конвейер - 1200-4 шт.
. Грохот инерционный стационарный мелкого типа ГИСЛ-72 - 13 шт.
Размер просеивающей поверхности:
Длина - 6000 мм
Ширина - 2500 мм
Амплитуда колебаний (полуразмах) - 6 мм
Число колебаний в мин. - 735
Угол наклона - 0-25
Производительность - до 135 т/ч
Мощность электродвигателя (2 шт.) - 22 кВт
. Горн газо-воздушный с подвесными горелками (24 шт.) на горн - 4 шт.
длина - 12000 мм
ширина - 4200 мм
высота - 1600 мм
. Вагоноопрокидыватель роторный стационарный для загрузки 60, 93, 125 т
п/вагонов - 4 шт. число опрокидываний в час - 27…30
Производительность - 1600-3125 т/ч
. Гараж для размораживания сыпучих материалов - 3 шт.
Количество секций:
гараж - 3 секции по 14 вагонов
гараж - 3 секции по 10 вагонов
гараж - 6 секций по 15 вагонов
. Батарейные циклоны БЦ254 - Р (12*10)/8 - 2 шт.
Количество циклонных элементов - 1920 шт. [7].
1.4 РЕЖИМ
РАБОТЫ АГЛОМЕРАЦИОННОГО ПРОИЗВОДСТВА
Годовое рабочее количество суток - 330.
Годовое рабочее количество часов - 7920.
дней в году или 10 % от календарного годового времени отводится для
производства планово-предупредительного и капитального ремонта оборудования.
Расчет производства на бункерный агломерат:
Таблица 1. Баланс процесса спекания (по сухому весу)
|
Поступает
|
Выходит
|
|
Наименование материалов
|
Количество
|
Наим-е материалов
|
Количество
|
|
Тонн в год
|
Тонн в час
|
%
|
|
Тонн в год
|
Тонн в час
|
%
|
|
Михайловская руда
|
1726290
|
218,0
|
7,6
|
Агломерата
|
12250000
|
1548,0
|
53,6
|
|
Лебединская руда
|
3753000
|
475,0
|
16,4
|
Возврат
|
6850000
|
865,0
|
30,0
|
|
Южно-лебединская а/руда
|
1280000
|
162,0
|
5,7
|
Потери
|
3750000
|
472,0
|
16,4
|
|
Стойленская а/руда
|
3520000
|
445,0
|
15,4
|
Итого:
|
22850000
|
2885,0
|
100,0
|
|
Копошниковая пыль
|
210000
|
26,0
|
0,9
|
|
|
Окалина
|
95000
|
12,0
|
0,4
|
|
|
Марганцевая руда
|
400000
|
50,0
|
1,7
|
|
|
Известняк
|
606000
|
76,0
|
2,6
|
|
|
Доломит
|
1070000
|
135,0
|
4,7
|
|
|
Известь
|
598710
|
75,0
|
2,6
|
|
|
Коксгас
|
480000
|
60,0
|
2,1
|
|
|
Антрацит
|
434000
|
55,0
|
1,9
|
|
|
Возврат
|
6850000
|
865,0
|
30,0
|
|
|
Вода
|
1828000
|
231,0
|
8,0
|
|
|
Итого:
|
22850000
|
2885,0
|
100,0
|
|
1.5
ХАРАКТЕРИСТИКА ИСХОДНЫХ МАТЕРИАЛОВ
1.5.1
КОНЦЕНТРАТЫ, РУДА
В качестве железорудной части агломерационной шихты используют:
Лебединский, Губкинский, Михайловский, Стойленский - железорудные
концентраты;
Стойленскую аглоруду (по мере ее использования).
1.5.2
ОТХОДЫ МЕТАЛЛУРГИЧЕСКОГО ПРОИЗВОДСТВА
1. В качестве железосодержащих добавок используют:
- колошниковую пыль из доменных цехов;
- обожженную окалину ПГП, КЦ-1,2;
- окись железа прокатного производства;
- шлам железорудный агломерационного производства;
- шлам-брикеты конверторного производства для производства комплексного
углеродосодержащего флюса;
- аспирационную пыль литейного двора и шихтоподачи ДП №6;
- отсев окатышей из доменных цехов.
2. Отходы металлургического производства, отравляемые на
аглопроизводство, подготавливают по месту их образования, согласно условиям.
. Общие требования к отходам металлургического производства после
подготовки их к утилизации в качестве компонента шихты для агломерации
следующие:
влажность их должна исключать пыление при выгрузке и обеспечивать
возможность дозирования;
отсутствие кусков мусора, металла, проволоки, огнеупоров, досок
исключение смешивания в вагонах одного вида сырья с другим;
обезвоженные шламы должны подвергаться известкованию;
влажность обезвоженных шламов не более 9,5 %;
приведенная массовая доля железа в шламах не ниже 45 %, предел колебаний
не более + 1,0 % от среднего значения;
удельное поступление цинка со шламами должно обеспечивать суммарное
поступление его с шихтой в доменную печь не более 0,15-0,20 кг/т чугуна
(расчетное значение).
1.5.3 ФЛЮС
1. В качестве флюсов используют:
известняк Студеновского и Жирновского месторождений;
доломитный известняк Данковского месторождения;
отсев известника и отсев доломита (фракция 0-20 мм) огнеупорного
производства АО " НЛМК ";
известь обожженную производства АО " НЛМК " фракции 0-50 мм;
известь "пушонка" фракции 0-3 мм с электрофильтров ОГП и
трактов подачи ККЦ-1,2;
конвертерный шлак.
. В качестве топлива используют:
коксовую мелочь крупностью 0-10мм, сухого и мокрого тушения КХП;
отсев металлургического кокса крупностью менее 25,0 мм доменных цехов;
антрацитовый штыб " АШ " крупностью 0-8 мм.
1.5.4 ВОЗВРАТ
1. Наличие оптимальной массы возврата крупностью 0-5 мм является
необходимым условием успешного ведения процесса спекания. Добавка возврата к
шихте улучшает ее газопроницаемость, повышает вертикальную скорость спекания,
улучшает механическую прочность агломерата.
. Оптимальную долю возврата в агломерационной шихте устанавливают в
пределах 20-25 % от общей массы шихты.
. Дозировщики и агломератчики должны внимательно следить за выходом
возврата, не допуская отклонений от оптимального массового расхода 120-180 т/ч
(33,3-50 кг/с), т. к. правильный режим возврата является основой процесса
спекания и высокопроизводительной работы агломашин.
. Работники ОТК и ЦЛК осуществляют ежедекадно по графику контроль
массовой доли фракции +5мм в отсеве агломерата, поступившего из доменных цехов,
и наличие коксовой мелочи в нем.
. Фракции +5,0 мм в отсеве агломерата из доменных цехов не должно быть
более 14 %.
1.6
ТЕХНОЛОГИЧЕСКАЯ ХАРАКТЕРИСТИКА ПРОИЗВОДСТВА
К основным операциям технологической схемы относятся:
- прием, складирование и усреднение компонентов шихты;
- подготовка компонентов шихты;
- дозировка компонентов шихты;
- смешивание, увлажнение и окомкование шихты;
- укладка шихты в машину и спекание;
- дробление и грохочение горячего агломерата;
- охлаждение и сортировка агломерата;
- относ и очистка отходящих газов.
1.6.1 ПРИЕМ, СКЛАДИРОВАНИЕ И УСРЕДНЕНИЕ КОМПАНЕНТОВ ШИХТЫ
Прием аглоруды, известняка, доломита и марганцевой руды осуществляется
двумя стационарными роторными вагоноопрокидывателями, число циклов одного
вагоноопрокидывателя в час - 20. Таким образом, производительность одного
вагоноопрокидывателя при разгрузке 60-ти тонных вагонов составляет: 60*20= 1200
т/час или 9,5 млн. тонн сырья в год. Два вагоноопрокидывателя за год способны
разгрузить около 19,0 млн. тонн сырья, а при разгрузке 90 тонных вагонов - 28,0
млн. тонн.
Прием возврата из доменного цеха осуществляется также через приемные
бункера из 8-ми ячеек, полезной емкостью 70 м 3 каждая.
Хранение окалины, колошниковой пыли и возврата производится в приемных
бункерах, шихтовых бункерах, в бункерах корпуса распределение материалов и
бункерах корпуса первичного смешивания (возврат).
Хранение и усреднение остальных компонентов шихты производится на складах
железной руды № 1,2,3, складе известняка и доломита, складе топлива и
марганцевой руды.
Послойная укладка штабелей на складах сырья производится самоходной
сбрасывающей тележкой ленточного конвейера, поперечная разработка штабелей
производится экскаваторами: в зимнее время ковшевыми, в летнее время роторными.
Таблица 2. Организация штабелей на складах сырья
|
Наименование сырья
|
Размеры штабеля
|
Суточный расход сырья т/м3
|
Запас, сут.
|
|
|
Длина м
|
Емкость, м3
|
|
общий
|
при работе в ср. режиме
|
|
|
Лебединская а/руда
|
240*2
|
115000*2
|
17700/7690
|
30,0
|
15,0
|
|
|
Стойленская а/руда
|
162*2
|
73500*2
|
12400/5390
|
27,2
|
13,6
|
|
|
Михайловская а/руда
|
84*2
|
32100*2
|
5480/2390
|
27,0
|
13,5
|
|
|
Извевестняк
|
55*2
|
16700*2
|
1890/1180
|
28,2
|
14Д
|
|
|
Доломит
|
80*2
|
30000*2
|
3300/2120
|
28,4
|
14,2
|
|
|
Коксик
|
90
|
35400
|
1650/2360
|
15,0
|
-
|
|
Антрацит
|
65*2
|
22000*2
|
1380/1380
|
32,0
|
16,0
|
|
Марганцевая руда
|
50
|
13900
|
1510/755
|
184
|
|
|
|
|
|
|
|
|
|
1.6.2
ПОДГОТОВКА КОМПАНЕНТОВ ШИХТЫ
Известняк, доломит крупностью 10-80 мм дробятся в молотковых дробилках до
крупности 2 мм. В случае поступления на аглофабрику топлива исходной крупности
0-40 мм и крупнее перед измельчением коксик и антрацит подвергаются
предварительному дроблению в короткоконусной дробилке до крупности 10 мм.
Марганцевая руда пропускается через молотковую дробилку. Все подготовленные
компоненты шихты направляются в шихтовые бункера.
1.6.3
ДОЗИРОВКА КОМПАНЕНТОВ ШИХТЫ
Дозировка компонентов шихты осуществляется в корпусе шихтовых бункеров
дисковыми и электровибрационными питателями, а также весовыми дозаторами.
Весовая дозировка рудной мелочи контролируется ленточными конвейерами
весам, остальные компоненты дозируются ленточными весоизмерителями.
Дозировка возврата в шихту производится в корпусе первичного смешивания
электровибрационными питателями опорного типа и контролируется ленточными
конвейерными весами.
1.6.4
СМЕШИВАНИЕ, УСРЕДНЕНИЕ И ОКОМКОВАНИЕ КОМПАНЕНТОВ ШИХТЫ
Смешивание имеет своим назначением получить из отдельных компонентов
равномерную по гранулометрическому и химическому составу шихты.
Перед укладкой на а/машину шихта подвергается увлажнению и окомкованию,
что улучшает ее газопроницаемость.
Количество воды регулируется до оптимальной влажности шихты около 8%.
1.6.5 УКЛАДКА ШИХТЫ НА МАШИНУ И СПЕКАНИЕ
Используется однослойная укладка шихты на спекательные тележки агломашины
с помощью челнокового распределителя и косого ленточного конвейера, через
загрузочные воронки.
Зажигание шихты производится смешанным газом калорийностью 1400 ккал/мм
куб. Температура зажигания - 1250-1300 градусов С.
Спекание производится на агломашинах АКМ-312 с полезной площадью 312 кв.
м. из которых 252 м, используются для спекания, а 60 кв. м. для
предварительного охлаждения агломерата.
Спекание подготовленной шихты является основным этапом в технологии
получения высококачественного агломерата. Спекание шихты ведется на колосниковой
решетке агломерационной машины при просасывании воздуха за счет развития
высоких температур при горении углерода в слое шихты и рекуперации тепла
верхних слоев агломерата.
Подготовка шихты и ее компонентов, загрузка и внешний нагрев слоя должны
обеспечивать минимальную колеблимость скорости процесса спекания, химического
состава и металлургических свойств агломерата.
В своей работе агломератчик руководствуется:
показаниями контрольно-измерительных приборов по содержанию топлива в
шихте, влаги шихты, загрузки шихты на агломашину;
визуальными наблюдениями за качеством зажигания шихты;
качеством получаемого агломерата на изломе пирога, при загрузке в вагоны;
химическим составом агломерата, где определяющим показателем является
массовая концентрация закиси железа; механической прочностью;
фракционным составом.
Скорость перемещения спекательных тележек при спекании шихты
устанавливают переменной в пределах 2,0... 7,5 м/мин (0,03-0,08 м/с) с учетом
эмпирической зависимости:
от содержания влаги в шихте;
от соотношения толщин (высот) нижнего и верхнего слоев шихты;
от разрежения под спекательными тележками (в общем коллекторе);
от содержания в шихте фракции менее 1 мм;
от содержания, твердого топлива (углерода), соответственно, в нижнем и
верхнем слоях.
Скорость движения спекательных тележек должна соответствовать
вертикальной скорости спекания шихты и обеспечивать рациональный уровень
завершенности процессов спекания. Она должна быть временно снижена при
нарушении режима спекания в следствии:
недостатка или избытка влаги в шихте;
избытка топлива в шихте;
ухудшения условий смешивания и окомкования;
снижение степени внешнего нагрева шихты;
уменьшения разряжения при увеличении прососов;
понижения или повышения температуры зажигания от оптимальной.
После устранения этих причин скорость спекательных тележек должна быть
восстановлена. Работа агломашин с недопеканием шихты до колосников недопустима.
О ходе процесса спекания агломерационной шихты можно судить по данным о
разрежении и температуре отходящих газов в вакуум-камерах. Температура
отходящих газов в каждом конкретном случае может быть различной и определяется
рядом факторов (составом шихты, качеством окомкования, высотой слоя, величиной
подсосов воздуха через продольные, поперечные уплотнения и стыки между тележками).
В первых вакуум-камерах температура отходящих газов обычно составляет 50-80 С0,
в последних камерах зоны спекания она достигает максимума 250-300 С0.
Понижение температуры в предпоследней вакуум-камере по сравнению с
температурой в предыдущей камере указывает на раннее окончание процесса и на
необходимость увеличить скорость движения спекательных тележек.
Более высокая температура в последней камере по сравнению с предпоследней
вакуум-камерой указывает на слишком высокую скорость движения паллет, при
которой процесс спекания аглошихты не успевает заканчиваться. В последней
вакуум-камере температура отходящих газов должна быть несколько ниже, чем в
последней, что характеризует законченность процесса спекания.
Температура отходящих газов в газовом коллекторе агломашины перед
батарейными циклонами не должна опускаться ниже 90 С0, так как это
может привести к конденсации влаги и залипанию ячеек батарейных циклонов и
роторов эксгаустера и не превышать 180 С0, что недопустимо из-за
перегрева подшипников. Данные факторы приводят к дисбалансу ротора эксгаустера,
вызывающего вибрацию и вывода из строя подшипников.
Повышение температуры отводящих газов в коллекторе от установившегося
уровня происходит при:
замедление скорости движения при кратковременных остановках
агломерационной машины;
улучшение газопроницаемости шихты;
увеличение массовой доли топлива.
Понижение температуры отходящих газов в коллекторе имеет место при:
уменьшении или значительном превышении массовой доли углерода топлива в
шихте по сравнению с оптимальным;
недоувлажнения или переувлажнения шихты;
переоплавления поверхности слоя из-за высокой температуры зажигания;
наличия большого количества вредных подсосов;
завышение скорости движения спекательных тележек
повышение высоты слоя шихты без изменения скорости агломерационной
машины.
О количестве и скорости просасывания воздуха, определяющих вертикальную
скорость спекания, судят о величине разрежения под колосниковой решеткой
агломерационной машины, создаваемого эксгаустерами.
Для каждого конкретного случая величина оптимального разрежения различна
и должна соответствовать максимальной производительности агломашины и
минимальным энергозатратам:
- на агломашинах № 1 и 2 должна быть не менее 7,5*10- 8,0*10 Па
(0,075-0,080 кгс/ см);
на агломашинах № 3 и 4 - 8,0*10-8,5*10 Па (0,080- 0,085 кгс/см).
Уменьшение вакуума в коллекторе на 100 мм вод.ст. (1,0*10 Па) (из-за
увеличения вредных прососов) снижает производительность агломашины на 5%.
Для конкретных условий подбирают рациональную высоту слоя шихты, соответствующую
характеристикам газового тракта, эксгаустеров и оптимальной величине скорости и
фильтрации газа через слой. Для условий НЛМК оптимальная высота слоя шихты
380-430 мм.
Оптимальная вертикальная скорость спекания обеспечивает соответствие
скоростей перемещения на высоте слоя фронтов горения и теплопередачи.
Вязкая жидкая фаза в зоне спекания оказывает определяющее влияние на
сопротивление слоя проходящему сквозь нее газу. Чем больше жидкой фазы и шире
ее зона, что определяют влажностью шихты и избытком углерода топлива в шихте,
тем больше сопротивление слоя шихты и больше разрежение под колосниковой
решеткой.
Для получения максимальной производительности агломашины необходимо
полностью использовать мощность эксгаустеров, для чего следует:
работать при полностью открытой задвижке эксгаустера;
иметь оптимально подготовленную шихту с минимальными колебаниями
физико-химических свойств;
тщательно следить за состоянием колосниковой решетки;
следить за исправностью (герметичностью) газоотводящей системы с целью
снижения вредных подсосов воздуха.
Для снижения прососов воздуха необходимо:
при каждом плановом ремонте производить ревизию и ремонт всего
газоотводящего тракта;
не допускать работы агломашин при плохом состоянии колосниковой решетки,
с неисправными продольными и торцевыми уплотнениями и большими зазорами
(износом) между стыками тележек.
Понижение разряжения, против установившегося в процессе нормальной
технологии, указывает на окончание процесса спекания до предпоследней
вакуум-камеры и соответственно на потерю производительности агломашины.
Повышения разряжения указывает на ухудшение газопроницаемости слоя шихты
(чрезмерное уплотнение шихты, переплавление поверхности шихты, уменьшение массы
возврата, увеличение массы мелких фракций шихты, изменение оптимальной массовой
доли влаги в шихте).
Стабильное, в течение длительного времени, падение разряжения являются
показателями износа эксгаустеров (лопаток ротора, улиток) или элементов
газового тракта (стояков вакуум-камер, коллекторов, батарейных циклонов,
уплотнений вакуум-камер ).
В исключительных случаях с разрешения начальника цеха допускается работа
агломашины с одним эксгаустером. При работе агломашины с одним эксгаустером
необходимо уменьшить общую высоту слоя до 230 мм и обеспечить разрежение в коллекторе
4,5-5,5 кПа (450-550 мм вод.ст.).
Технически грамотное ведение агломерационного процесса, знание основных
технологических параметров, характера и причин изменения каждого из них,
своевременное вмешательство в ход процесса с исправлением замеченных нарушений
обеспечивает максимальную производительность и хорошее качество агломерата.
1.6.6
ДРОБЛЕНИЕ И ГРОХОЧЕНИЕ ГОРЯЧЕГО АГЛОМЕРАТА
Дробление агломерата производится в одновалковых дробилках агломерата до
крупности 0-150 мм. Дробление способствует более эффективному выделению из
агломерата возврата. Для агломашины №1и №2 при 8-0 мм, что объясняется
различными схемами выделения постели.
Высококачественным агломератом для доменного передела следует считать
агломерат, равномерный по крупности с минимальным содержанием по фракционному
составу классов +40 и -4 мм.
Дробление пирога спеченного агломерата производят зубчатой одновалковой
дробилкой. Для лучшего охлаждения и транспортировки наибольший размер кусков
агломерата не должен превышать 150 мм.
При перегрузках на трактах транспортировки, при охлаждении происходит
естественная стабилизация агломерата по прочности и гранулометрическому составу
с образованием мелочи за счет разрушения в основном крупных фракций. Поэтому
задачу получения качественного по гранулометрическому составу агломерата решают
путем эффективного выделения образовавшейся мелочи на механических грохотах в
две стадии.
Первая стадия выделения горячего возврата на всех четырех агломашинах
производится непосредственно после дробления пирога агломерата и
сортировки его на самобалансных грохотах ГСТ-81 с живым сечением 0,5-0,55
м (17 рядов ячеек (щелей) - длиной 100 мм и шириной 4,0-5,0 мм).
Горячий возврат с агломашин № 1 и 2 с температурой до 300 С0
по системе конвейеров поступает в бункера возврата корпуса первичного
смешивания. С агломашин № 3 и 4 горячий возврат первой стадии грохочения
поступает непосредственно из-под грохота в барабан тушения, где охлаждается до
температуры 70-80 С0 водой, подаваемой через разбрызгивающие
устройства, и через систему конвейеров подается в бункера возврата шихтового
отделения №2.
После охладителей агломерат проходит вторую стадию грохочения на
самобалансных грохотах ГСТ - 81с "живым" сечением 0,7-0,75 м (17-18
рядов ячеек (щелей) длиной 100 мм и шириной 5,0... 6,0 мм).
Просыпь агломерата из-под прямолинейных охладителей на агломашинах №1,2
совместно с холодным возвратом поступает на грохот ГСТ - 62 -А с
"живым" сечением 1,8 м и шириной ячеек (щелей) 5 мм, откуда
надрешетный продукт по конвейерам загружают в агловозы, а подрешетный продукт
отправляют в бункера возврата корпуса первичного смешивания. На агломашинах №
3,4 просыпь агломерата из-под охладителей через систему конвейеров П20-1,2,
ОА2-3,4 поступают в агловозы.
1.6.7
ОХЛАЖДЕНИЕ И СОРТИРОВКА ГОРЯЧЕГО АГЛОМЕРАТА
Охлаждение агломерата проектируется в две стадии: предварительное на
агломерационной машине и окончательное на прямолинейном охладителе.
Охлаждение агломерата в соответствующей зоне агломашине предусматривается
прососом воздуха через слой пирога тремя дымососами Д18-Х-2, Д20-Х-2 и Д20
общей производительностью 600000 куб. м/час перед дымососами были установлены
батарейные циклоны.
Вторая стадия охлаждения предусматривалась на прямолинейном охладителе
площадью 185 кв. м. путем прососа воздуха через слой агломерата высотой 400мм
пятью дымососами Д18-Х-2 общей производительностью 1200000 куб. м/час.
На каждом охладителе устанавливается по шесть вентиляторов ВДН-24
производительностью 275000 куб. м/час каждый.
Суммарный расход на охлаждение составляет около 5000 куб.м. на тонну
агломерата. Сортировка готового агломерата производится на два
класса 15-40 мм и более 40мм, при ориентировочном соотношении фракций
соответственно 70% и 30%.
Содержание фракции крупностью +80мм в скиповом агломерате по данным работы
агломашины №1 должно соответствовать 20% от количества агломерата крупностью
более 40 мм.
1.6.8
ТРЕБОВАНИЯ К ВЫПУСКАЕМОМУ АГЛОМЕРАТУ
Средняя температура спекания агломерата разгружаемого с агломерационных
машин не должна превышать 750 С0.
Охлаждение агломерата осуществляют на прямолинейных охладителях ОП - 315
путем принудительного продува снизу вверх через слой агломерата атмосферного
воздуха по всей длине охладителя, подаваемого шестью вентиляторами.
Агломерат должен охлаждаться до температуры не выше 120 С0.
Охладитель загружают непрерывно на высоту не менее 600 мм (визуально).
Разрывы в загрузке приводят к резким колебаниям тепловых нагрузок, короблению и
преждевременному выходу из строя полотна охладителя и выдаче неохлажденного
агломерата.
В агломерате, поступающем в вагоны, не должно быть раскаленных кусков. В
случае появления раскаленных кусков бригадир и выгрузчик горячего агломерата на
выдаче должен немедленно поставить в известность мастера или старшего
агломератчика и принять меры по дополнительному охлаждению агломерата -
уменьшить скорость движения полотна охладителя.
1.6.9
ОТСОС И ОЧИСТКА ОТХОДЯЩИХ ГАЗОВ
Суммарное количество газов, удаляемых от одной агломерационной машины,
составляет 24000 куб. м. в минуту при температуре около 150 градусов. Для
отсасывания газов на каждую машину устанавливаются по два нагревателя
производительностью 12000 куб. м. в минуту каждый с напором 1200 мм вод. ст.
Просасываемые газы содержат около 0,07-0,08 % сернистого ангидрида.
Очистка газов от пыли производится в два приема: крупные фракции осаждаются в
мешках газопровода - коллектора, тонкие фракции в батарейных циклонах. Удаление
пыли от мешков коллектора и батарейных циклонов производится
гидротранспортером. Выброс газов в атмосферу производится через дымовые трубы:
для агломашины № 1 и №2 высотой 150 метров, для агломашины № 3 и №4 -200
метров.
1.7 ХАРАКТЕРИСТИКА ВЫПУСКАЕМОЙ ПРОДУКЦИИ
В соответствии с требованиями доменной плавки бункерный агломерат должен
иметь следующие показатели качества:
- постоянную, с наименьшими отклонениями от базового, массовую долю железа,
основность, закись железа, окись магния;
- высокую механическую прочность и низкую истираемость;
- минимальную массовую долю мелочи (фракции 0-5 мм);
- постоянную температуру начала размягчения и малый
температурный интервал между началом и концом размягчения;
- высокую восстановимость и низкую степень разрушение при
нагреве в восстановительной атмосфере;
- минимальную массовую долю вредных примесей (сера, фосфор,
цинк, щелочи).
Техническое управление комбината устанавливает следующие качественные
показатели агломерата:
- массовую долю железа устанавливают в соответствии с нормой расхода
шихтовых материалов на производство агломерата.
- в пределы колебаний + 1,0 % от среднего содержания железа за
сутки должно уложиться проб агломерата не менее 95 %.
- в пределы колебаний по массовой доле железа + 0,5% от
среднего суточного содержания должно уложиться проб агломерата не менее
установленного техническим управлением на данный период.
Основность агломерата (СаО/SiO2)
устанавливают в зависимости от шихтовых условий и шлакового режима доменных
печей.
В пределы ± 0,1 от заданного показателя модуля основности (СаО/ SiO2) должно уложиться проб агломерата за сутки не менее
90 %.
В пределы колебаний ± 0,05 от заданного показателя модуля основности
должно уложиться проб агломерата не менее установленного техническим
управлением на данный период.
Средняя массовая доля закиси железа - 15,0 %, нижний предел - 6,0 %.
Массовую долю оксида магния устанавливают в зависимости от модуля
основности агломерата и шлакового режима доменных печей.
Массовая доля мелочи 0-5 мм после испытания в барабане Рубина не должна
превышать 27,5 %.
Массовая доля фракции 0-5 мм в бункерном агломерате не более 22,0 %.
2. АГЛОМЕРАЦИОННАЯ МАШИНА АКМ-312
.1 НАЗНАЧЕНИЕ И ОПИСАНИЕ РАБОТЫ АГЛОМЕРАЦИОННОЙ МАШИНЫ
Агломерационная машина предназначена для окускования мелочи железных руд
в сочетании с частичным освобождением их от вредных примесей (серы и др.).
Кроме процесса спекания, в отдельных случаях на агломерационной машине может
осуществляться первичное охлаждение готового агломерата.
Машина (рис. 2, 3) состоит из каркаса 3 с площадками, комплекта
спекательных тележек 9, привода 5 ленты спекательных тележек и привода 15
разгрузочной части, питателя постели 6 и двух питателей шихты 7 и 8,
зажигательного горна 10, 26 газоотсосных вакуум-камер 1, направляющих 4
движения спекательных тележек, устройства 12 для передвижения спекательных
тележек, укрытия 14, бункера просыпи 2, электрооборудования и системы смазки
[8].
Агломерационная машина представляет собой подвижную ленту спекательных
тележек, на которую непрерывно ровным слоем загружается агломерационная шихта.
Зажигание шихты горном, работающим на газовом топливе, ее спекание и возможное
частичное охлаждение агломерата осуществляются за время последовательного
прохождения спекательных тележек над вакуум-камерами. После спекания
(охлаждения) тележки с агломератом переходят на звездочки разгрузочной части,
где происходит разгрузка агломерата в дробилку.
Порожние спекательные тележки после звездочек разгрузочной части попадают
на нижние наклонные направляющие и самотеком двигаются к головной части машины,
где приводными звездочками поднимаются на верхние направляющие и подаются под
загрузку шихтой.
Каркас, на котором монтируются все узлы агломерационной машины,
представляет собой пространственную металлоконструкцию и состоит из головной,
средней и разгрузочной частей. По длине машины каркас имеет три подвижных
соединения для компенсации тепловых расширений. На каркасе имеются площадки для
обслуживания механизмов машины.
Направляющие движения спекательных тележек определяют траекторию их
движения. Направляющие в головной части машины представляют собой сварные
дугообразные балки со сменными шинами. В средней части машины направляющими
верхнего и нижнего пути движения тележек являются железнодорожные рельсы,
закрепленные на каркасе. В разгрузочной части машины траектория движения
тележек определяется дугообразными направляющими, приваренными к боковым щекам.
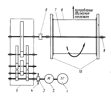
Привод 5 ленты спекательных тележек расположен в головной части машины и
предназначен для подъема тележек с нижнего наклонного пути на верхний и
продвижения их по горизонтальному пути.
Рис.
1. Кинематическая схема привода ленты спекательных тележек
Привод
состоит из электродвигателя 2 постоянного тока, четырехступенчатого
цилиндрического редуктора 5, коренного вала 7 с закрепленными на нем
звездочками 10. Звездочки соединены между собой барабаном 8, который имеет
карманы для сбора просыпи.
При
вращении коренного вала просыпь ссыпается в бункера, расположенные между валом
и первой вакуум-камерой. Коренной вал опирается на два сферических
роликоподшипника 9, установленных в чугунных корпусах.
Между
электродвигателем и редуктором установлена эластичная муфта 3 и тормоз 4.
Выходной вал редуктора и коренной вал соединен зубчатой муфтой 6.
Число
оборотов электродвигателя контролируется тахогенератором 1.
По
длине рабочей части агломерационной машины установлено 26 газоотсосных
вакуум-камер 5 (см. разрез В-В, рис. 2) сварной конструкции с патрубками
8 и тарельчатыми компенсаторами 6. Патрубок каждой вакуум-камеры снабжен
шибером, имеющим привод от электрического исполнительного механизма 7.
Вакуум-камеры могут быть установлены с выходом патрубков как на правую, так и
на левую сторону агломерационной машины, а также - в шахматном порядке [5].
Стыки
вакуум-камер по поперечным стенкам перекрыты стальными приварными
гофрированными уплотнениями и защитными плитами.
Для
предотвращения вредных подсосов воздуха перед первой и за последней
вакуум-камерами установлены торцевые уплотнения, состоящие из неподвижной рамы
и подвижных плит, которые прижимаются с помощью рычагов и контргрузов к нижней
обработанной поверхности балок корпусов спекательных тележек.
В
продольном направлении с обеих сторон вакуум-камер имеются водоохлажденные
полости и корыта, в которые устанавливается продольное уплотнение между
движущимися спекательными тележками и вакуум-камерами. Агломерационная машина
поставляется с одним из двух типов уплотнений - с гидравлическим прижимом
уплотнительных пластин, или с механическим (пружинным) прижимом. Уплотнение с
гидравлическим прижимом состоит из специальных резинотканевых рукавов,
укладываемых в корыта вакуум-камер, и отдельных коротких пластин П-образного
сечения, перекрывающих рукав сверху. В рукава подается под давление вода,
благодаря чему П-образные пластины плотно прижимаются к пластинам спекательных
тележек [4].
В
плоскость контакта между пластинами уплотнения и пластинами спекательных
тележек подается густая смазка. На подводах воды к рукавам и отводах
установлены регуляторы, автоматически поддерживающие в рукавах заданное
давление воды.
В
уплотнении с механическим прижимом уплотнительные пластины прижимаются винтовыми
пружинами, а уплотнениемежду пластинами и газоотсосными вакуум-камерами
достигается установкой нескольких слоев стеклоткани.
Спекательные
тележки, на которых происходит спекание шихты и охлаждение агломерата, образуют
движущуюся ленту.
На
агломерационной машине установлены 132 тележки. Тележка (рис. 5) состоит из
корпуса, четырех ходовых 1 и четырех грузовых 2 роликов верхних 8 и
нижних 7 бортов, двух уплотнительных пластин 3 и комплекта штучных
колосников 6. Корпус состоит из средней части 5 и двух боковых частей 4,
соединенных болтами. В расточки каждой боковой части корпуса запрессовано по
две оси 9, на которые на подшипниках качения установлены ходовые и грузовые
ролики [9].
Для
передвижения спекательных тележек по верхним направляющим при ремонтных и
монтажных работах агломерационная машина оборудована специальным устройством
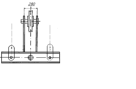
(рис. 6). Устройство установлено после горна и представляет собой
двухбарабанную электрическую лебедку с направляющими блоками. На концах канатов
2 имеются захваты 1, которыми осуществляется зацепление тележек за грузовые
ролики. С помощью этого устройства может быть передвинуто одновременно до
пятнадцати спекательных тележек.
Рис.
2. Кинематическая схема устройства для передвижения спекательных тележек
Привод
устройства состоит из электродвигателя 7, муфты 6, двухступенчатого
цилиндрического редуктора 5 и открытой зубчатой пары 4. Червячное колесо 9,
сидящее на общем для барабанов 3 и 11 валу 8, находится в зацеплении с червяком
10, установленным на барабане 11. Эта червячная пара предназначена для
выравнивания натяжения канатов путем поворота барабана 11, свободно насаженного
на втулку, выполненную за одно целое с червячным колесом 9.
Укрытие
машины - легкие сварные металлические щиты - закрывает всю нижнюю холостую и
частично верхнюю рабочую ленты спекательных тележек. Для съема и ремонта
спекательных тележек в укрытии верхней ленты имеется откатная секция 11 (см.
рис. 2), установленная четырьмя катками на рельсовые пути.
Одна
пара катков имеет индивидуальные электрические приводы.
Укрытие
верхней рабочей ленты тележек выполнено в виде борова 13 (см. рис. 2) с
увеличивающимся к разгрузочной части машины сечением. Через открытый торец
укрытия (борова), находящийся вне здания аглокорпуса, забирается необходимый
для спекания шихты воздух.
Под
нижней лентой тележек, вдоль всей машины, имеются бункера 2 для сбора просыпи.
Смазка
агломерационной машины включает систему централизованнойгустой смазки пластин
продольных уплотнений и подшипниковых узлов, систему жидкой циркуляционной
смазки редукторов привода ленты спекательных тележек и привода разгрузочной
части, а также устройства для смазки роликов спекательных тележек. Смазка
зацеплений и подшипников редукторов приводов питателей шихты и постели,
устройства для передвижения тележек - жидкая, заливная.
Машина
устанавливается в непрерывной линии агрегатов агломерационной фабрики и имеет
дистанционное автоматическое управление. Около машины имеется также пульт для
пуска и остановки ее механизмов при ремонтных и наладочных работах.
.2 ТЕХНИЧЕСКАЯ ХАРАКТЕРИСТИКА АГЛОМЕРАЦИОННОЙ МАШИНЫ АКМ- 312
1. Производительность………………………………… ….. 350-450/час
2. Площадь поверхности спекания…………………….. …..252 м2
. Площадь поверхности охлаждения ………………… …..60м2.
. Общая площадь газоотсосных камер…………………. …312 м2.
. Ширина рабочей поверхности…………………………….4м.
. Скорость движения спекательных тележек……………1,5 -7,5 м/мин
. Максимальная толщина спекаемого слоя………………...0,46м
. Количество спекательных тележек………………………..132
. Количество вакуум-камер………………………………….26
. Вес машины………………………………………………2160 т
Привод ленты
11. Тип электродвигателя…………………………………….ДП-72
12. Мощность электродвигателя…………………………….85 кВт
. Частота вращения………………………………………..500 об/мин
. Редуктор..........……………………..зубчатый четырехступенчатый
. Передаточное число……………………………………… 1420
Привод разгрузочной части
16. Тип электродвигателя……………………………………….ДП-52
17. Мощность электродвигателя……………………………….46 кВт
. Частота вращения………………………………………570 об/мин
. Редуктор…………………………..зубчатый четырехступенчатый
. Передаточное число……………………………………… 885
Привод барабанов питателей шихты
21. Тип электродвигателя……………………………………….ДП-41
22. Мощность электродвигателя…………………………….4,5/15 кВт
. Частота вращения…………………………………..740/595 об/мин
. Редуктор……………………………………………………КЦ2-1000
. Передаточное число…………………………………………180
Нормы расхода материально-энергетических ресурсов на производство одной
тонны агломерата:
газ природно-доменный на зажигание……………………….6,043 м3/т
·
газ
природный…………………………………………………..2,8 м3/т
·
вода
техническая……………………………………………..0,095 м3/т
·
сжатый
воздух…………………………………………………..7,5 м3/т
·
пар…………………………………………………………………..2,4
ккал/т
·
электроэнергия……………………………………………400
кВт час/т
2.3 АНАЛИЗ НАДЕЖНОСТИ ОСНОВНЫХ УЗЛОВ И АГРЕГАТОВ АГЛОМЕРАЦИОННОЙ
МАШИНЫ АКМ-312
2.3.1 УСЛОВИЯ РАБОТЫ УЗЛОВ И АГРЕГАТОВ АГЛОМЕРАЦИОННОЙ МАШИНЫ
Агломерационное производство характеризуется весьма тяжелыми условиями
работы. Узлы и агрегаты большинства машин при эксплуатации подвергаются
совместному интенсивному воздействию механических нагрузок, высоких температур
абразивных материалов, химически агрессивных сред. Условиями работы
определяются предъявляемые к ним требования.
Для воспламенения входящего в шихту твердого топлива, необходимо довести
его температуру до 700оС. Одновременно под слоем шихты создается
разряжение, благодаря чему раскаленные до 1130-1200оС продукты
сгорания проходят через шихту, зажигая частицы топлива в узкой верхней зоне.
Начавшееся горение поддерживается просасыванием воздуха сверху через слой шихты
на всей рабочей площади колосниковой решетки.
При агломерации в связи с большой удельной поверхностью шихты скорость
тепло- и массообмена чрезвычайно велика, температура корпусов спекательных
тележек достигает 430-480оС, а температура верхних подколосниковых
полок 530-680оС[2].
Спекательные тележки, и в первую очередь их корпуса испытывают
воздействие высоких температур, нагрузки от звездочек, веса шихты и давления
воздуха в период движения их над вакуум- камерами.
Температура колосников тележек в процессе спекания обычно не превышает
400-500оС, что ниже допустимой рабочей температуры материала, из
которого они изготовлены, но в процессе эксплуатации колосники обгорают,
деформируются и истираются. Основной причиной обгорания и коробления колосников
является образование в слое шихты вблизи колосникового поля очагов спекания с
температурой до 1000-1200оС, которые возникают из-за скопления на
колосниках крупных частиц топлива (коксика) и отсутствия защитного слоя из
подстилочного материала.
Стойкость чугунных колосников, изготовленных из жаропрочного
низколегированного хромистого чугуна марок ЖХЧ-08, ЖХЧ-1,5, составляет 3-4
месяца, а колосников, изготовленных из высокохромистых сталей и сплавов марок
типа Х17, Х28Л, Х2н2, - до 1 года [3].
2.3.2 ОСНОВНЫЕ ВИДЫ ОТКАЗОВ И ПОВРЕЖДЕНИЙ ОБОРУДОВАНИЯ
АГЛОМЕРАЦИОННОЙ МАШИНЫ АКМ-312
В процессе работы машины могут возникать следующие виды отказов,
повреждений и поломок узлов и деталей:
- нарушение герметичности каркаса машины;
- износ приводных звездочек, роликов тележек, колосников;
- поломки, задиры и выкрашивание зубьев в редукторах;
- износ, поверхностное усталостное выкрашивание в подшипниках зубчатых
передач.
- износ торцевых частей спекательных тележек при их подъеме и спуске;
- износ направляющих верхнего и нижнего путей движения тележек;
- износ зубьев сегментов звездочек головной и разгрузочной части привода;
- нарушение герметичности уплотнений спекательных тележек и верхней
частью вакуум камер [10].
Причинами отказов являются перегрузки, возникающие при пуске и остановке
машины, тепловые удары и случайные местные сопротивления, возникающие при
попадании крупных частей шихты или агломерата в элементы привода, на ходовой
путь или направляющие тележек.
Основной причиной абразивных износов является попадание твердых
абразивных частиц на открытые вращающиеся и подвижные трущиеся части привода,
попадание продуктов износа на сопрягаемые поверхности, плохая или недостаточная
фильтрация смазочного материала.
Наиболее нагруженным узлом редуктора является ведущий вал, в котором
имеют место поломки и износы зубьев шестерен. Ревизия технического состояния
зубчатых передач проводится не реже одного раза в полгода в соответствии с
графиком планово- предупредительного ремонта.
При ревизии проверяется состояние рабочих поверхностей зубьев и степень
их износа, размеры и характер пятен контакта в зацеплении, надежность крепления
зубчатых колес на валах.
Зубчатые колеса заменяются или подлежат ремонту при выкрашивании более 30%
рабочей поверхности и глубине развития «питтинга», т.е. поверхностного
усталостного выкрашивания, более 10% по толщине зуба, а также, если хотя бы
один зуб имеет трещины у основания [10].
В зубчатых муфтах возможны смятия рабочих поверхностей зубчатых обойм,
разрушения шпоночных пазов и смятие шпонок. Если износ зубьев превышает 30% то
муфта подлежит замене.
Агломашина должна работать при наличии на ней полного комплекта исправных
спекательных тележек. В случае выхода из строя одной из них машина должна быть
остановлена и поврежденная тележка должна быть заменена исправной. Поломка
тележки во время работы машины может привести к серьёзной аварии механизмов
привода, разгрузочной части и других узлов [10].
Тележка, имеющая прогиб 2-3 мм при измерении по нижней обработанной
поверхности, может быть допущена к эксплуатации в том случае, если при
прохождении ее над головным и хвостовым уплотнениями не нарушается их работа.
Борта тележек должны быть плотно закреплены на корпусах и не иметь щелей в
соединениях. При прогибе бортов более, чем на 10мм и износе ходовых роликов до
диаметра менее 290 мм, тележки подлежат ремонту или замене.
Направляющие шины головной и разгрузочной частей заменяются при их износе
более 7мм по толщине или волнообразной выработке, а рельсы направляющей средней
части при износе головки рельса по высоте более, чем на 10мм.
Сегменты звездочек головной и разгрузочной частей заменяются при износе
зуба более 50% от первоначальной толщины или при неравномерности износа по
толщине зуба одной звездочки относительно другой более 15мм.
3. РАЗГРУЗОЧНАЯ ЧАСТЬ АГЛОМЕРАЦИОННОЙ КОНВЕЙЕРНОЙ МАШИНЫ
АКМ-312.ОТКАЗЫ, ПРИЧИНЫ ОТКАЗОВ, ПРЕДЛОЖЕНИЯ ПО МОДЕРНИЗАЦИИ
В разгрузочной части агломерационной машины происходит излом пирога
агломерата, разгрузка его со спекательных тележек и переход тележек в нижние
направляющие.
Разгрузочные устройства конвейерных машин можно разделить на два основных
типа: стационарные и подвижные.
Основные признаки стационарного разгрузочного устройства -неподвижность
геометрической оси разгрузочных звездочек и радиусных направляющих движения
тележек во время работы машины и наличие зазора между тележками на
прямолинейных участках ленты.
Площадь агломерационных машин увеличивают путем увеличения их длины, а
также размеров спекательных тележек. При увеличении размеров тележек
значительно повышается их масса. Если масса тележки агломерационной машины
АКМ-75 рабочей шириной 2,5 м составляет всего 2.58 т, то агломерационных машин
АКМ-312 рабочей шириной 4 м и МАК-650 рабочей шириной 6 м соответственно 7,2 и
15 т. С ростом параметров тележек и агломерационных машин возрастает
необходимость обеспечения плавного бесконтактного спуска с верхней ветви ленты
на нижнюю и компенсации удлинения ленты тележек при их нагреве.
Бесконтактный спуск тележек по криволинейным направляющим в большинстве
современных машин достигается установкой на разгрузочном конце машины двух
звездочек, насаженных на ось. Зубья звездочек, входя в зацепление с грузовыми
роликами тележек, разделяют последние и опускают вниз.
Звездочки стационарных разгрузочных устройств могут быть приводными и
беспроводными. Электродвигатель приводных звездочек работает в генераторном
режиме.
Суммарная длина ленты спекательных тележек в холодном и разогретом
состоянии неодинакова, причем разница достигает нескольких сот миллиметров. Для
нормальной работы конвейерной машины со стационарным разгрузочным устройством
необходим некоторый гарантированный зазор в ленте тележек, и после ее удлинения
в результате нагрева. Поэтому в холодном состоянии суммарный зазор в ленте
тележек должен быть несколько больше величины максимального ее удлинения, та
как возможны отклонения в нагреве тележек, в то же время для правильного
зацепления грузовых роликов тележек с зубьями разгрузочных звездочек зазор в
ленте тележек не должен превышать определенной величины. Поэтому иногда в
процессе разогрева ленты тележек этот зазор необходимо регулировать путем
передвижения разгрузочной части машины с помощью винтовых или гидравлических
домкратов.
Это является существенным недостатком стационарного разгрузочного
устройства с беспроводными звездочками. Его несовершенство заключается также в
наличии постоянного зазора между тележками рабочей ветви, что приводит к
повышенному количеству просыпи агломерата.
Эти недостатки исключены в стационарном разгрузочном устройстве с
тормозным приводом.
Разгрузочные звездочки агломерационной машины АКМ-312 имеют тормозной
привод, электродвигатель которого работает в генераторном режиме. Наличие
тормозного привода обеспечивает постоянный разрыв в ленте тележек на нижней
наклонной ветви после выхода их из зацепления со звездочками. При монтаже
величина этого разрыва устанавливается несколько большей, чем суммарное
тепловое удлинение тележек.
Просыпь в разгрузочной части агломашины АКМ-312 собирается в стационарный
бункер и через окна во вращающихся звездочках и рукава ссыпается под нижнюю
ветвь спекательных тележек. Такое устройство из-за наличия привода имеет
большую массу, оно сложно и дорого в изготовлении и эксплуатации. Кроме того,
при этой схеме окружное усилие от массы тележек, находящихся в разгрузочном
устройстве, не передается на холостую ветвь конвейера и не помогает поднимать
тележки на рабочую ветвь в головной части машины. Это вынуждает, во-первых, увеличивать
мощность главного привода ленты тележек и, во-вторых. Выполнять направляющие
пути холостой ветви наклонными в сторону головной части машины, чтобы
обеспечивать скатывание самоходом порожних тележек к приводным звездочкам. При
этом угол наклона путей должен быть не менее 1,5°. При меньших углах наклона
движение тележек становится неопределенным. Это происходит вследствие засорения
направляющих путей пылью и просыпью, местных из-носов поверхности качения
ходовых роликов тележек, коксования в них смазки. Не исключены случаи попадания
под ходовые ролики посторонних предметов, например выпавших колосников. В
результате этого могут произойти перекосы тележек, заклинивания, неправильное
зацепление грузовых роликов с зубьями приводных звездочек при заходе тележки в
головную часть направляющих и, как следствие остановка машины.
Наклонная холостая ветвь увеличивает общую высоту машины и не позволяет
унифицировать приводные и разгрузочные звездочки, вакуум-камеры и другие ее
узлы.
Эти недостатки отсутствуют в машинах с разгрузочными устройствами
подвижного типа. Поэтому новые конвейерные машины оснащаются разгрузочными
устройствами подвижного типа. Основной признак такого устройства - отсутствие
зазора между тележками на прямолинейных участках ленты.
Все применяемые в конвейерных машинах разгрузочные устройства подвижного
типа выполнены в виде прижимных станций (рис. 7).
Прижим подвижного разгрузочного устройства к стационарной средней части
осуществляет либо грузами и системой блоков, канатов или цепей, либо
гидроцилиндрами.
Прижимные части станции (боковые щеки и звездочки) выполняют либо
качающимися вокруг шарнира (рис. 7, а, б), либо перемещающимися по горизонтали
на роликовых опорах (рис. 7, в-е).
Из качающихся устройств предпочтительна станция с верхним расположением
шарнира, схема которой дает возможность уменьшить массу грузов для прижима по
сравнению со станцией с нижним расположением шарнира. Недостатком качающихся
устройств являются ограниченные величины углов качания и, следовательно, хода
прижимных частей.
Более универсальными являются разгрузочные устройства с перемещающейся по
горизонтали на роликовых опорах подвижной частью. Они практически могут быть
выполнены с любым ходом.
В разгрузочных устройствах с нижним и верхним расположением опорных
роликов (рис. 7 в, г) имеет место неравномерное нагружение последних, вызванное
моментом от усилия прижима. Это приводит к увеличению габаритов роликов.
Наиболее прогрессивной является конструкция, выполненная по схеме, изображенной
на (рис 7 д). Особенностью этого устройства является то, что с целью
обеспечения равномерного распределения нагрузок на роликовые опоры, повышения
их долговечности и уменьшения размеров опорные ролики установлены на
неподвижном основании таким образом, что их контактная поверхность качения
находится в одной горизонтальной плоскости с геометрической осью звездочек. В
этой же плоскости действует и усилие прижима. Таким образом, в этой конструкции
отсутствует момент, стремящийся опрокинуть прижимную станцию, а нагрузки на
опорные ролики распределяются равномерно.
Рис.7. Схемы разгрузочных частей агломашин
1 - звездочки; 2 - спекательные тележки; 3 - контргрузы; 4 -опорные
ролики; 5 месдоза; 6 - гидроцилиндры
При разогреве ленты тележек удлиняется и подвижная часть устройства с
находящимися на ней тележками откатывается на роликовых опорах в сторону
хвостовой части машины, преодолевая прижимное усилие. При охлаждении ленты
укорачивается и под воздействием грузового или гидравлического прижима
подвижная часть устройства с тележками прижимается к стационарной средней части
машины, благодаря чему исключается образование зазора в рабочей и холостой
ветвях ленты тележек. Таким образом, разгрузочное устройство подвижного типа
автоматически компенсирует изменения длины тележечного конвейера в процессе
работы машины и сводит к минимуму просыпь агломерата благодаря отсутствию
зазора в рабочей ветви ленты тележек.
В агломашинах одной японской фирмы, имеющих конструктивные особенности в
спекательных тележках, разгрузочная часть установлена на опорных роликах и не
имеет звездочек (рис. 7 е). Между подвижной разгрузочной частью и стационарными
стойками каркаса агломашины установлены гидроцилиндры и месдозы. Заданный зазор
в ленте тележек регулируется автоматически гидроцилиндрами.
3.1 СОСТАВ АГЛОМАШИНЫ ПОСЛЕ РЕКОНСТРУКЦИИ
Агломерационная машина типа АКМ-312 конвейерного типа с непрерывным
технологическим процессом. Спекание шихты и охлаждение готового агломерата
осуществляется на колосниковой решетке спекательных тележек, которые
последовательно проходят над камерами разряжения зон спекания и охлаждения.
Загрузка шихты осуществляется в два слоя на предварительно уложенный слой
подстилочного материала. Для зажигания верхнего слоя шихты установлен
специальный горн, работающий на газе.
Агломерационная машина после реконструкции имеет практически тот же
состав, что и до реконструкции, за исключением: ликвидируется тормозной привод
в разгрузочной части, разгрузочная часть делается подвижной и прижимается к
средней части агломашины с помощью устанавливаемых контргрузов.
Устанавливаемая разгрузочная часть (рис. 8) является наиболее
прогрессивной из всех рассмотренных аналогов подвижных станций. Особенностью
этого устройства является то, что с целью обеспечения равномерного
распределения нагрузок на роликовые опоры, повышение долговечности и уменьшение
размеров, опорные ролики установлены таким образом, что: контактная поверхность
двух из них, находящихся на одной геометрической оси, находятся почти в одной
горизонтальной плоскости с геометрической осью звездочек; контактная
поверхность остальных двух опорных роликов находится гораздо ниже
геометрической оси звездочек. В горизонтальной плоскости геометрической оси
звездочек действует и усилие режима.
Рис.8. Разгрузочная часть агломашины
При разогреве лента тележек удлиняется и подвижная часть устройства с
находящимися на ней тележками откатывается на роликовых опорах в сторону
хвостовой части машины. При охлаждении лента тележек укорачивается и под
воздействием грузового прижима подвижная часть устройства прижимается к
стационарной средней части машины, благодаря чему исключается образование
зазора в рабочей и холостой ветвях ленты тележек. Таким образом, разгрузочное
устройство подвижного типа автоматически компенсирует изменение длины
тележечного конвейера в процессе работы машины и сводит к минимуму просыпи
агломерата, благодаря отсутствию зазора в рабочей ветви ленты тележек.
Установка подвижного разгрузочного устройства приводит также к увеличению
срока службы ряда деталей:
·сегментов головной звездочки;
·сегментов хвостовой звездочки;
·спекательных тележек:
·ходовых роликов спекательных тележек;
·подшипников ходовых роликов.
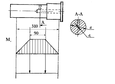
3.2 РАСЧЕТ МОЩНОСТИ ДВИГАТЕЛЯ АГЛОМЕРАЦИОННОЙ МАШИНЫ
Мощность двигателя головного привода расходуется на подъем спекательных
тележек ведущими звездочками и на преодоление сил сопротивления передвижению их
на горизонтальном участке пути и сил сопротивления прижимного устройства
разгрузочной части.
Расчеты мощности привода производятся с помощью программы на ЭВМ.
Исходные данные для расчета представлены в таблице 3.
Таблица 3. Исходные данные для расчета
|
Наименование параметров
|
Обозначение
|
Величина
|
|
Высота спекаемого слоя
шихты общая, м
|
Н
|
0,45
|
|
Высота слоя постели, м
|
Hn
|
0,02
|
|
Высота нижнего слоя шихты,
м
|
H1
|
0,16
|
|
Высота верхнего слоя шихты,
м
|
H2
|
0,16
|
|
Объемная масса шихты, Н/м3
|
ш16000
|
|
|
Объемная масса постели, Н/м3
|
п16000
|
|
|
Диаметр ходового ролика
тележки, м
|
d
|
0,4
|
|
Разряжение в вакуум-камерах
спекания и охлаждения, давления воздуха, MПа
|
∆P
|
10000
|
|
Коэффициент трения в
подшипниках роликов
|
fn
|
0,0015
|
|
Коэффициент трения качения
роликов по рельсам
|
ft
|
0,0019
|
|
Коэффициент трения реборд
роликов о рельсы
|
1,3
|
|
|
Коэффициент полезного
действия привода
|
0,9
|
|
|
Масса спекательной тележки,
Н
|
70000
|
|
Коэффициент установочной
мощности
|
k1
|
1,06
|
|
Угол наклона холостой ветви
аглоленты к горизонту, град.
|
β
|
1,65
|
Пояснительные рисунки к расчетам представлены ниже.
Схема к расчету мощности привода.
Рис.9. Траектория движения спекательных тележек на агломашине
Рис.10. Схема перемещения паллет по окружности головной части конвейера.
Рис.11. Схема перемещения паллет по окружности хвостовой части конвейера.
Мощность двигателя головного привода расходуется на подъём спекательных
тележек ведущими звёздочками и на преодоление сил сопротивления передвижению их
на горизонтальном участке пути.
Т1=0; τ1 = G (3.1)
Т2=Т6=
G sin
; τ 2= τ 6= = G cos
; (3.2)
Т3=Т5=
G sin2
; τ 3=
τ 6= G cos2
; (3.3)
Т4=
G; τ 4= 0;
(3.4)
Т7=0;
τ 7=0 (3.5)
)
На участке КА (рис.9) звёздочки привода перемещают тележки с нижнего наклонного
пути на верхний.
)
На участке дуги ЗИ хвостового привода осуществляются бесконтактный спуск
тележек с горизонтальной ветви на наклонную без передачи усилий на головной
привод.
)
На наклонном участке ИК тележки под действием составляющей собственного веса
(рис.12) скатываются в головную часть, создавая положительное окружное усилие
на звёздочках головного привода.
Рис.
12. Действие сил при движении тележек по наклонному пути
Общее
окружное усилие, действующее на звёздочки привода передвижения тележек:
Мощность,
расходуемая на преодоление суммарного усилия при заданной скорости передвижения
тележек:
Таким
образом, по этой методике производства суммарная мощность может значительно
отличаться от номинала. Уменьшение расхода мощности относительно расчётной чаще
всего наблюдается при повреждениях бортового уплотнения: поломка прижимных
пластин или прорезиненных рукавов, работа агломашины на низком слое шихты,
малом вакууме и т.д.
Увеличение
мощности по сравнению с расчётной может наблюдаться при проседании направляющих
рельс, работе аглоленты с малым тепловым зазором, смещение рельс и т.д.
В
результате расчетов получили:
суммарная
сила сопротивлению передвижения тележек на горизонтальном пути F=339,4
кН;
общее
окружное усилие К=390,806 кН;
мощность,
расходуемая на преодоление суммарного усилия при заданной скорости передвижения
тележек N=57,535 кВт.
3.3
РАСЧЕТ И КОНСТРУИРОВАНИЕ ПРИЖИМНОГО УСТРОЙСТВА АГЛОМЕРАЦИОННОЙ МАШИНЫ.
.3.1
СОСТАВ И ОПИСАНИЕ ПРИЖИМНОГО УСТРОЙСТВА
Прижимное
устройство состоит из следующих частей: разгрузочной части, установленной на
четырех роликовых опорах; системы блоков и грузов, обеспечивающих прижатие
подвижной разгрузочной части к стационарной средней части агломашины; двух
лебедок грузоподъемностью 5 тонн каждая, установленных для подъема грузов при
ремонтах.
Схему
прижимного устройства принимаем по разработанному варианту при реконструкции аналогичной
агломашины на аглопроизводстве акционерного общества Новолипецкого
металлургического комбината (см. рис. 8).
Разгрузочная
часть выполняется подвижной на четырех опорных роликах. Особенностью данной
конструкции является то, что прижатие разгрузочной части осуществляется с
помощью контргрузов, при этом усилие прижима действует в одной плоскости с
геометрической осью звездочек.
Для
равномерного распределения нагрузок блоки устанавливаются по обе стороны
подвижной разгрузочной части в одной плоскости с геометрической осью звездочек.
Привод
- цепной.
Каждая
цепь соединяется с грузами по схеме:
подвески
- траверса - канатный блок - канат - соединительные пластины.
Лебедки
устанавливаются за пределами разгрузочной части - в стационарной части
агломашины. Поднятие грузов при ремонтах осуществляется через систему блоков.
3.3.2
КИНЕМАТИЧЕСКАЯ СХЕМА ПРИЖИМНОГО УСТРОЙСТВА И ОПРЕДЕЛЕНИЕ НАГРУЗОК
Кинематическая
схема прижимного устройства представлена на рис. 13. Из рисунка видно, что
масса контргрузов должна быть порядка 339,4кН. Принимаем вес груза 343кН.
Исходя из того, что каждый из двух контргрузов висит на двух ветвях, то
максимальная нагрузка, приходящаяся на цепной блок, равна 42,85кН. Максимальная
нагрузка, приходящаяся на нижний цепной блок, установленный в траверсе, равна
85,7кН. Следовательно, максимальная нагрузка, приходящаяся на каждую подвеску,
равна 42,85кН.
Рис.
13. Схема нагрузок прижимного устройства
3.3.3
РАСЧЁТ КАНАТА И КАНАТНЫХ БЛОКОВ
По
конструкции, контргрузы вместе с траверсой висят на канате. Вес контр грузов
вместе с траверсой составляет 85,7 кН.
Расчет
каната производим по разрывному усилию, для чего сначала определяем натяжение в
канате.
Максимальное
натяжение в канате определяем по формуле:
где
Q - вес грузов,
z - количество
ветвей, на которых висят грузы,
- КПД
блока.
Разрывное
усилие рассчитываем по формуле:
где
Smax - максимальная нагрузка, приходящиеся на одну цепь,
n = 2,5 - запас
прочности.
Выбираем
канат [4] диаметром 22,5мм грузового назначения, из проволоки марки 1,
оцинкованной по группе ЛС, левой односторонней свивки, раскручивающегося, с
маркировочной группой по временному сопротивлению разрыву 1568 Н/мм2
:
Канат
22,5-Г-1-ЛС-Л-0-Р-1568 ГОСТ2688-80, для которого максимальное разрывное усилие SРАЗР ~251кН.
Рис.
14. Блоки канатные
Диаметр
блока по центру наматываемого каната определяется приблизительно по следующей
формуле:
D = е*d =
20*22.5 = 450 мм, где d = 22,5 мм - диаметр каната,
е
- коэффициент, зависящий от режима работы и типа грузоподъемной машины (е =
20).
По
конструкции, канатные блоки устанавливаются на ось при помощи подшипников.
Подшипники подбираются по виду и величине нагружения, воспринимают в основном
радиальные нагрузки, поэтому тип подшипников, устанавливаемых на канатный блок
- радиальный. Т.к. при работе подшипников практически отсутствует их вращение,
то выбор подшипников производим по статической грузоподъемности:
Со
= fs * P0,
где
fs -
коэффициент надежности, fs = 2.5, P0 - эквивалентная статическая нагрузка, P0 = FR = 42.85 кН.
Тогда
Со = 2,5 * 42,85 = 107,1кН.
По
справочнику выбираем подшипник легкой серии - 224 ГОСТ8338-
со
следующими параметрами: d = 120 мм, D = 215 мм, В = 40 мм, z =
10 мм, DT = 30,16 мм, С = 122 кН, С0 = 114 кН.
Производим
расчёт подшипников на долговечность; номинальная долговечность подшипника в
миллионах оборотов:
L = (C0/P0)P,
где
р = 3 - степенной показатель для шариковых подшипников, C0 = 85,7 кН - статическая грузоподъемность, P0 = 42,85 кН.
Тогда
L = (107.1/42.85)3 = 15.614млн.об.
Долговечность
подшипника в часах:
LH
=106 * L/(60 * n), где n - частота вращения подшипника, об/мин, n =
0,9 об/мин.
Тогда
LH =106 * 15.614/(60* 0.9) = 290тыс.час. =
33года
Схема
нагружения оси представлена на рис. 15. Т.к. ось воспринимает в основном
радиальные силы то приблизительный расчет длины оси производится только по
изгибному напряжению; диаметр оси устанавливается в зависимости от внутреннего
диаметра подшипника (d = 120мм):
где
Q = 85,7кН - масса груза, l = 310 мм -
расстояние между опорами, d -диаметр оси,
= 310 Па
- допускаемое напряжение при изгибе для стали 40ХН.
Тогда
= 85,7 * 103 * 0,31 / (0,1 * 0,113) = МПа < 310
МПа. Рассчитываем сечение А-А. Концентрация напряжений обусловлена наличием
смазочного канала.
Диаметр
вала d = 120 мм, диаметр отверстия d0 = 8 мм, d/d = 0,0667.
Коэффициент концентрации напряжений
= 0.9.
Рис. 15. Схема нагружения оси
Масштабный
фактор
. Осевой момент сопротивления сечения:
Изгибающий
момент: МА-А = 1,85kH. Амплитуда нормальных напряжений:
.
Коэффициент
запаса прочности по нормальным напряжениям:
,
- предел
выносливости стали при симметричном цикле изгиба;
-амплитуда цикла нормальных напряжений, равная
наибольшему напряжению изгиба в рассматриваемом сечении;
- допускаемый коэффициент запаса прочности по норм,
напряжениям,
= 900 /(0,9 /0,7)* 402,15 = 1,74 > 1,7
3.3.4
РАСЧЁТ ТРАВЕРСЫ
Рассчитываем
траверсу по изгибному напряжению, для этого находим осевой момент инерции
сечения по формуле:
Jx = Jx1 +a12F + JX2 + a12F + J X3 + J X4 = 2J X1 + 2 a12F + 2JX3 =
2 * 340 * 203/ 12 + 2 * 1002 * 20 * 340 + 2 * 24 * 1803/
12 = 1,6* 108 мм, где а - расстояние от вспомогательной оси до
центра инерции листа, мм; F - площадь поперечного сечения листа, мм.
42>85*
0,37* 0,11 /(1,6*104) = 11Мпа < 195Мпа.
В
этом случае коэффициент запаса равен 18. Рассчитаем проушину в сечении А-А на
растяжение:
где
Q - максимальная нагрузка, Н,
b - ширина
проушины, попавшей в сечение, м,
-
толщина проушины, м.
= 42,85
/ (0,172 * 0,024) = 10,4 Мпа < 125 Мпа.
Рассчитываем
сварной шов в сечении Б-Б. Допускаемое усилие для сварного соединения:
где
- допускаемое напряжение на срез для сварного шва; К
- катет шва;
L - весь периметр
угловых швов.
Катет
шва с наружной стороны равен 30 мм, с внутренней - 10 мм.
= 85700 / (0,7 * 0,03 * 0,496 + 0,7 * 0,01 * 0,496) =
6,2 Мпа < 81,25 МПа. Коэффициент запаса в этом случае равен 13.
Рис.
16. Траверса
3.3.5
РАСЧЁТ ЦЕПИ И ЦЕПНЫХ БЛОКОВ
Прижатие
разгрузочной части осуществляется с помощью контргрузов, которые висят на цепи
(см. рис.17.). Вес контргрузов вместе с траверсой составляет 85,7 кН.
Следовательно, максимальная нагрузка, приходящиеся на одну цепь составляет
42,85кН, т.к. грузы висят на двух цепях. Цепь подбираем по разрушающей
нагрузке:
,
где
SMAX - максимальная нагрузка, приходящиеся на одну цепь; n -
запас прочности.
Выбираем
цепь короткозвенную, типа А; калиброванную, исполнение 1; калибра 23 мм с шагом
64 мм: Цепь А1-23x64 ГОСТ2319-81, которая имеет
> 200
кН и рабочую нагрузку
< 50 кН.
Диаметр
блоков, огибаемых цепью, определяется приблизительно по следующей формуле:
D >= 20d =
20 * 23 = 460 мм,
где
d = 23 мм - калибр цепи. Принимаем D>=
470мм.
По
конструкции, цепные блоки устанавливаются на ось при помощи подшипников.
Подшипники подбираются по виду и величине нагружения; подшипники воспринимают в
основном радиальные нагрузки, поэтому тип подшипников, устанавливаемых под
цепной блок - радиальный. Т.к. при работе подшипников практически отсутствует
их вращение, то выбор подшипников производим по статической грузоподъемности:
C0=fs*Po, где fs - коэффициент
надежности, fs = 2,
Р0
- эквивалентная статическая нагрузка, Р0 = FR = 42,85кН.
Рис.
17. Блоки цепные.
Тогда
С0= 4 * 42,85 = 85,7 кН.
По
справочнику выбираем подшипник легкой серии - 222 ГОСТ 8338-75 со следующими
параметрами: d = 110 мм, D = 200 мм, В = 38 мм, z = 10 мм, DT= 28,58 мм, С = 113 Кн, С0= 102 кН.
Производим
расчет подшипников на долговечность; номинальная долговечность подшипника в
миллионах оборотов:
L = (С0
/ Р0)Р,
где
р = 3 - степенной показатель для шариковых подшипников; С0 = 85,7кН
- статическая грузоподъемность; Р0 = 42,85кН. Тогда L =
(85,7 / 42,85)3 = 8 млн.об.
Долговечность
подшипника в часах:
Lh=106*L/(60*n),
где
n - частота вращения подшипника, об/мин, n =
0,9 об/мин. Тогда LH= 106 * 8 / (60 * 0,9) = 148 тыс.час. = 17
лет. По конструкции, ось опирается на две опоры, и находятся между цепными
блоками. Расстояние между цепными блоками равно 540 мм. Схема нагружения оси
представлена на рис. 18.
Рис.
18. Схема нагружения оси
Т.к.
ось воспринимает в основном радиальные силы то расчёт оси производится только
по изгибному напряжению; диаметр оси устанавливается в зависимости от
внутреннего диаметра подшипника (d = 110 мм):
где
Q = 85,7 кН - масса груза;
=310
мм - расстояние между опорами; d - диаметр оси;
=310 МПа
- допускаемое напряжение при изгибе для стали 40ХН. Тогда
= 85,7 * 103 * 0,31 / (0,1 * 0,113)
= МПа < 310 МПа.
Рассчитываем
сечение А-А. Концентрация напряжений обусловлена наличием смазочного канала.
Диаметр
вала d = 110 мм, диаметр отверстия d0 = 8мм, d0 / d =
0,073.
Коэффициент
концентрации напряжений
= 0,9.
Масштабный
фактор
= 0,7.
Осевой
момент сопротивления сечения:
= 3,14 *
0,123/32 * (1 - 1,54*0,073) - 4,6* 106м3.
Изгибающий
момент:
МА-А
= 1,85 Кн. Амплитуда нормальных напряжений:
= М / W =
1850 / 4,6* 106 = 402,15 Мпа.
Коэффициент
запаса прочности по нормальным напряжениям:
где
- предел выносливости стали при симметричном цикле
изгиба;
-
амплитуда цикла нормальных напряжений, равная наибольшему напряжению изгиба в
рассматриваемом сечении;
-
допускаемый коэффициент запаса прочности по нормальным напряжениям.
= 900 /
(0,9 / 0,7) * 402,15) = 1,74 >1,7.
3.3.6
РАСЧЁТ ПОДВЕСОК
Производим
расчёт оси в точке б на изгиб:
где
[
] - допустимое напряжение для стали 40 ХН; 1 -
расстояние между опорами; Q - максимальная нагрузка.
Принимаем
d = 70мм. Диаметр
стержня рассчитываем по растяжению по формуле:
Стержень
изготавливается из стали СтЗ, для которой временное сопротивление разрыву
= 125 МПа.
Принимаем
диметр резьбы М42 с коэффициентом запаса 1,7.
Проушину
рассчитываем на растяжение в сечении А-А:
Производим
расчёт сварного шва. Допускаемое усилие для сварного соединения:
где
- допускаемое напряжение для сварного шва на срез;
К
- катет шва;
L - весь
периметр угловых швов.
К
= 10 мм электроды Э42А
= 0,65[
] = 0,65 * 125 = 81,25 МПа
[
] - допустимое напряжение при растяжении основного
металла, [
] = 125 МПа.
L = Q /
(0,7
К) = 42,85 / (0,7 * 81,25 * 0,01) = 75,4мм. Принимаем
L = 80 мм.
Сварку
производим в четырёх местах для равномерности нагружения сварных швов. В этом
случае запас прочности сварных швов равен 4.
Рис.
19. Подвеска
3.3.7
РАСЧЁТ СОЕДИНИТЕЛЬНЫХ ПЛАСТИН.
Рассчитываем
ось в точке А на изгиб:
Ось
изготовляется из стали 40ХНГОСТ 454371
= 310
Мпа
По
конструкции ось выполняется ступенчато для установки пластин на фиксированном
расстоянии. Ось в точке Б будет аналогичной, т.к. нагрузка одинаковая.
Рассчитываем
толщину пластины по допускаемому напряжению растяжения в сечении А-А:
Пластины
изготовляются из СтЗ
[
] = 125 Мпа.
Принимаем
В = 100 мм, тогда L = 29 мм. Принимаем 5 = 8 мм, тогда коэффициент запаса
равен 2,5.
Рис.
20. Соединительная пластина
3.4
ПРОЕКТ ОРГАНИЗАЦИИ РЕМОНТА РАЗГРУЗОЧНОЙ ЧАСТИ АГЛОМАШИНЫ
.4.1
ДЕМОНТАЖ СТАЦИОНАРНОЙ РАЗГРУЗОЧНОЙ ЧАСТИ АГЛОМАШИНЫ
Демонтаж
старой разгрузочной части агломашины производится в следующей
последовательности:
· демонтаж паллет;
· демонтаж укрытия разгрузочной части
агломашины;
· демонтаж верхних частей щековин;
· демонтаж шин;
· демонтаж хвостовой звездочки;
· демонтаж нижних частей щековин;
· демонтаж бункера просыпи.
3.4.2 МОНТАЖ ПОДВИЖНОЙ РАЗГРУЗОЧНОЙ ЧАСТИ АГЛОМАШИНЫ
Монтаж новой разгрузочной части подвижного типа проводится в следующей
последовательности:
· монтаж шин;
· монтаж бункера просыпи;
· монтаж дополнительных опор;
· монтаж нижних частей щековин;
· монтаж звездочки;
· монтаж верхних щековин;
· монтаж опор и катков;
· монтаж площадок разгрузочной части;
· монтаж контррельс;
· усиление колон;
· монтаж цепных блоков;
· монтаж цепи и грузов;
· монтаж лебедок для подъема грузов по
5т. и монтаж блоков;
· монтаж паллет;
· монтаж укрытия разгрузочной части;
· реконструкция площадок разгрузочной
части агломашины.
3.4.3 ОСНАСТКА, ИНСТРУМЕНТ, МОНТАЖНОЕ ОБОРУДОВАНИЕ,
ГРУЗОПОДЪЁМНЫЕ МАШИНЫ
Оборудование и оснастка, применяемая при реконструкции разгрузоч-юй части
агломашины сведены в табл.4.
К числу грузоподъемной машины, применяемой при реконструкции разгрузочной
части агломашины относится мостовой электрический кран грузо-подъемностью Q = 50 т.
Таблица 4. Оборудование и оснастка
|
№ п/п
|
Наименование
|
Грузоподъем ность, тонн
|
Количество, шт.
|
|
1
|
Лебедка электрическая
|
5
|
2
|
|
2
|
Многопостовой
электросварочный аппарат
|
-
|
1
|
|
3
|
Блок однороликовый
|
10
|
2
|
|
4
|
Домкрат гидравлический
|
50
|
4
|
|
5
|
Домкрат реечный
|
1,5
|
4
|
|
6
|
Станция гидравлическая
|
-
|
2
|
|
7
|
Строп инвентарный
двухпетлевой 9, 1 = 6м
|
0,65
|
2
|
|
8
|
Строп 31,5мм, 1=6м
|
7,5
|
2
|
|
9
|
Строп 27мм, 1=2, 5м
|
5,5
|
4
|
|
10
|
Строп 18мм, 1=2м
|
2,5
|
2
|
4.
ЭКОНОМИЧЕСКОЕ ОБОСНОВАНИЕ ПРОЕКТА
4.1 СЛУЖБА
РЕМОНТА И ТЕХНИЧЕСКОЕ ОБСЛУЖИВАНИЕ ЦЕХА. РЕМОНТНОЕ ХОЗЯЙСТВО ЦЕХА
Ремонтное хозяйство цеха представляет собой совокупность материально-технических
средств и ремонтного персонала, которая обеспечивает исправление, изготовление
и замену вышедших из строя деталей и узлов механического оборудования, а также
частичное или полное его обновление. Для ремонтного хозяйства агломерационного
цеха характерна централизованная форма организации ремонта. Она строится по
принципу децентрализованной системы со следующими изменениями:
капитальные ремонты особо крупного оборудования выполняются объединёнными
силами ремонтной службы и силами сторонних организаций
на Ремонтное производство Новолипецкого металлургического комбината
(НЛМК) возлагается изготовление запасных частей и сменных узлов ремонтного
оборудования.
По сравнению с децентрализованной формой организации ремонтов смешанная
имеет следующие преимущества:
обеспечивается равномерная нагрузка на ремонтный персонал и имеет
возможность сосредоточить значительное количество ремонтного персонала при
проведении текущих и капитальных ремонтов в короткие сроки;
создаются условия для создания специализированных бригад по ремонту
однотипного оборудования, а также механизации ремонтных работ, что позволяет
повысить производительность труда рабочих на 15-20%.
Механослужба агломерационного производства имеет следующую структуру
управления.
Для ремонтного, дежурного и эксплуатационного персонала агломерационного
производства приходится высокий уровень квалификации. Для всего ремонтного и
дежурного персонала необходимо знание всех производственных инструкций,
необходимо быть обученным по основной профессии и иметь удостоверение,
подтверждающее это, а также необходимо иметь удостоверение и быть обученным для
работы с грузоподъёмными средствами. Для некоторых лиц дежурного и ремонтного
персонала необходимо иметь удостоверение газоэлектросварщика, чтобы иметь возможность
подменить штатного газоэлектросварщика в период проведения ремонтных работ.
Несколько человек на участке должны иметь удостоверение водителя электрокара и
электроподгрузчика.
Выполнение ремонтных работ в аглопроизводстве осуществляется ЦДР-1, ЦРОТО,
энергоремонтным цехом, блоком цехов модельного и ремонт-но-строительного,
подрядными организациями. Запасные части и детали изготовляются в Ремонтном
производстве, а также получают из других предприятий.
На предприятиях чёрной металлургии основным местом хранения запасных
частей, узлов и оборудования является центральный склад запасных частей отдела
главного механика (ОГМ).
В функции центрального склада ОГМ входят:
- получение от ремонтно-механических цехов изготовленных деталей, узлов,
механизмов и сменного оборудования, нестандартного инструмента и
приспособлений;
- приём поступающих на предприятие со стороны запасных частей, узлов,
механизмов, сменного оборудования и материалов;
- комплектование поступающих на склад узлов и организация их хранения по цехам
и агрегатам раздельно;
- выдача деталей и узлов по требованию цехов;
- учёт движения запасных частей и узлов.
При организации центрального склада и централизованного хранения на нём
запасных деталей, узлов и оборудования разрабатывается их номенклатура, и
устанавливаются нормы запаса.
Центральный склад запасных частей должен находится в специальном
помещении, оборудованном подъёмно-транспортными средствами, стойками,
пирамидами, полками и стеллажами.
4.2 ВИДЫ
РЕМОНТОВ И МЕТОДЫ ИХ ПРОВЕДЕНИЯ
Содержание оборудования в работоспособном состоянии обеспечивается его
механическим обслуживанием и плановым ремонтом. На предприятиях чёрной
металлургии системой ТО и Р предусмотрены плановые ремонты двух видов: текущие
и капитальные.
Основным видом ремонта, направленного на восстановление работоспособности
оборудования, является текущий ремонт. В период между текущими ремонтами
осуществляется техническое обслуживание.
Текущий ремонт включает: замену или восстановление быстроизнашивающихся
деталей и узлов, выверку отдельных узлов, элементов металлоконструкций,
трубопроводов и др., смену масла в системе смазки, проверку креплений и замену
вышедших из строя крепёжных деталей, замену гарнитуры, водоохлаждаемой арматуры
и других элементов печных агрегатов.
Капитальный ремонт (КР) выполняется для восстановления исправности и
полного или близкого к полному восстановлению ресурса оборудования с заменой
или восстановлением любых его частей, включая базовые. В состав работы по КР
входят также работы по модернизации оборудования и внедрению новой техники.
Капитальным считается ремонт оборудования с установленной периодичностью
не менее одного года, при котором, как правило, производится полная разборка
агрегата, замена или восстановление всех изношенных деталей, узлов и других
конструктивных элементов (в том числе огнеупорной фу-теровки), ремонт базовых
деталей и фундаментов, сборка, выверка, регулировка и опрабация оборудования
вхолостую и под разгрузкой.
При восстановлении работоспособности оборудования распространение получили
методы рассредоточения проведения капитальных ремонтов и агрегатной замены.
Применение метода агрегатной замены обеспечивает значительное сокращение
простоев оборудования на ремонте. В ряде случаев целесообразна замена целиком
машины или механизма [11].
Виды документации, используемые при капитальном ремонте:
- ведомость дефектов;
- акт передачи оборудования сторонним организациям;
- наряд-допуск;
- ремонтная ведомость.
4.3 СТРУКТУРА РЕМОНТНОГО
ЦИКЛА АГРЕГАТА
Периодичность остановок оборудования на текущие и капитальные ремонты
определяются сроком службы деталей и техническим состоянием узлов и механизмов
агрегата, а продолжительность остановок - временем, необходимым для выполнения
наиболее трудоёмкой работы.
Установленными в системе ТО и Р нормативов периодичности текущих и
капитальных ремонтов полностью определяется структура ремонтного цикла и
количество текущих ремонтов различных видов, осуществляемые в период между
двумя капитальными ремонтами оборудования.
Для агломерационной машины конвейерного типа:
- текущий ремонт Т2 проводится один раз в месяц, продолжительностью 32
часа;
- капитальный ремонт проводится один раз год,
продолжительностью 12 суток.
Ремонтный цикл равен 24 месяцам, межремонтный период - 1 месяц (30
суток).
В ремонтном цикле двадцать три текущих ремонта Т2, один капитальный
ремонт: 11 *Т2 + К (рис. 22).
Рис. 22. Структура ремонтного цикла
агломерационной конвейерной машины АКМ-312
Продолжительность ремонтов определяет не календарное время простоя, а
фактически общую длительность выполнения собственных ремонтных работ
(исключением являются работы по замене технологической оснастки, рабочего
инструмента, технологической перестройки объекта и им подобные).
Продолжительность остановок оборудования на виды плановых ремонтов
включает время на подготовку рабочего места к ремонту, очистку и промывку узлов
машины, опробацию и наладку оборудования после ремонта, на отключение
оборудования от источников питания электроэнергией, остывание ремонтируемого объекта,
а также на последующий разогрев и набор температуры с выходом на рабочий режим.
4.4
ОПРЕДЕЛЕНИЕ ТРУДОЕМКОСТИ ТЕКУЩИХ И КАПИТАЛЬНЫХ РЕМОНТОВ АГРЕГАТА
В основу нормативов трудоёмкости положена пропорциональная зависимость
затрат труда на ремонт агрегата от его конструктивных и ремонтных особенностей,
выраженная в единицах ремонтной сложности (КРС) оборудования. За
единицу ремонтной сложности принята сложность ремонта условного механизма
(эталона), трудоёмкость капитального ремонта которого составляет 25
человеко-часов.
Трудоёмкость капитального ремонта участка загрузки
АКМ-312 равна: ТКР = 768 чел.-часов
Категорию ремонтной сложности (КРС) рассчитывается по
формуле:
КРС = ТКР / ЧКР, (4.1)
где ТКР - трудоёмкость капитального ремонта агрегата,
чел.-час.;
ЧКР - нормативная трудоёмкость капитального ремонта
механизма-эталона, чел.-час., ЧКР = 25 чел.-час.
КРС = 768/ 25 = 30,72
Принимаем КРС = 30,72
Тогда трудоёмкость ремонтов разгрузочной части агломерационной машины
составляет:
ТТ = ЧТ * КРС, ТКР
= ЧКР * КРС, (4.2)
ТТ, ТКР - трудоёмкости ремонтов
соответственно текущего и капитального, чел.-час.;
ЧТ, ЧКР - нормативы затрат труда на одну единицу ремонтной
сложности соответственно текущего и капитальных ремонтов для данного агрегата,
чел.-час, Чт=5.
ТТ = 5 * 30,72 = 153,6 чел.-час.,
ТКР = 25 * 19,52 = 768 чел.-час.
При этом общая трудоёмкость ремонтов загрузочной части агломашины за год
эксплуатации:
(4.3)
С
учётом нормативов периодичности и продолжительности ремонтов агломашина должна
останавливаться:
- один раз в месяц на текущий ремонт Т2, продолжительностью 36 часов с
привлечением 10 человек в одну смену (390,4 * 36 = 10,8), т.е. в сутки - 30
человек;
- один раз в год на капитальный ремонт, продолжительностью 264
часа или 11 суток с привлечением 10 человек в одну смену (1952 : 264 = 7,4),
т.е. в сутки - 30 человек.
С учётом подготовительно-заключительных работ трудоёмкость ремонтов
возрастает в 1,3 раза.
4.5
СОСТАВЛЕНИЕ МЕСЯЧНОГО ГРАФИКА ПЛАНОВЫХ РЕМОНТОВ ОБОРУДОВАНИЯ
Планирование ремонтов производится на основании:
- нормативов периодичности и продолжительности текущих и капитальных
ремонтов оборудования;
- актов технического обслуживания объектов, подлежащих
капитальному ремонту в планируемом году;
- данных о производственных показателях за последний период
работы агломашины;
- данных о сроках службы основных элементов оборудования,
накопленных в процессе его эксплуатации и зафиксированных в технической
документации (агрегатные журналы, технические паспорта и др.);
- данных о передовом опыте работы и ремонта аналогичного
оборудования.
Месячный график плановых ремонтов составляют на основании годового
графика текущих и капитальных ремонтов оборудования. При необходимости могут
быть включены ремонты оборудования, проведение которых не предусматривается
годовым графиком. В месячном графике необходимо указать плановые сроки
остановок оборудования, продолжительность и исполнителей ремонтов. В примечании
проставляется трудоёмкость ремонтов, режимы работы персонала, соотношение в
численности ремонтников разных подразделений, максимальное и минимальное
количество рабочих на ремонте оборудования и др.
4.6 БАЛАНС
ВРЕМЕНИ РАБОТЫ АГЛОМАШИНЫ АКМ-312
С целью определения годового фонда рабочего времени (фактического времени
работы) и анализа использования оборудования во времени составляется баланс
времени его работы.
Годовое время работы агрегата или так называемый годовой фонд рабочего
времени есть время, в течение которого может выпускаться продукция. Оно
рассчитывается как разница между годовым календарным временем и временем на
остановки агрегата в ряде производств и называется эффективным годовым фондом
времени.
Определяем годовой фонд времени работы оборудования загрузочной части
агломашины, результаты расчётов сводим в таблицу. Эффективный фонд времени
работы агрегата:
, (4.4)
где
- число дней в году;
-
выходные дни;
-
праздничные дни;

- дни
простоя на капитальные ремонты;
S - число
смен;
-
продолжительность смены;
- текущие
простои в % к номинальному времени.
=
(365 - (0 + 0 + 18 + 11)) * 3 * 8 * 100 - 10 /1000 = 7258 часа.
Определяем
коэффициент экстенсивности нагрузки агрегата:

=
6451 / 8760 = 0,736, (4.5)
где
=
Таблица
5. Баланс времени работы агломашины
|
Показатель
|
Единицы измерения
|
Значение
|
|
Календарное время
|
Сутки
|
365
|
|
Режим работы
|
Смен в сутки
|
3
|
|
Длительность, час
|
8
|
|
Капитальные ремонты
|
Сутки
|
12
|
|
Текущие ремонты
|
Часы
|
32
|
|
Номинальное время
|
Сутки
|
336
|
|
Часы
|
8064
|
|
Текущие плановые простои
|
Часы
|
696
|
|
Фактическое время работы
|
Часы
|
7258
|
|
Текущие простои к
номинальному времени
|
Часы
|
10
|
4.7
СЕТЕВОЙ ГРАФИК РЕМОНТА АГРЕГАТА. РАСЧЕТ ПАРАМЕТРОВ ГРАФИКА
Строим сетевой график капитального ремонта (рис. 23) исходя из ремонтной
ведомости капитального ремонта. Затем производим расчет параметров сетевого
графика. Данные для расчёта параметров сетевого графика оформляются в таблицу
14 [12].
Рис. 23. Сетевой график капитального
ремонта.
Таблица 6. Перечень ремонтных операций
|
№ опер.
|
Обозначение работы
|
Наименование операции
|
Время операции , сут.
|
|
1
|
1-2
|
Разборка головной части
|
1
|
|
2
|
2-5
|
Демонтаж питателей
|
2
|
|
3
|
1-3
|
Демонтаж палет
|
2
|
|
4
|
1-4
|
Демонтаж спец. редукторов
|
3
|
|
5
|
3-6
|
Демонтаж комплекса
|
3
|
|
6
|
4-7
|
Ревизия редукторов
|
5
|
|
7
|
6-10
|
Ревизия приводных звёздочек
|
4
|
|
8
|
7-8
|
Замена редукторов
|
4
|
|
9
|
5-11
|
Замена сегментов
|
8
|
|
10
|
10-12
|
Монтаж комплекса
|
3
|
|
11
|
12-13
|
Монтаж палет
|
1
|
|
12
|
8-9
|
Монтаж спец. редукторов
|
3
|
|
13
|
11-14
|
Монтаж повязки горна
|
6
|
|
14
|
13-14
|
Монтаж узла дробилки
|
3
|
|
15
|
9-14
|
Проверка агломашины
|
1
|
Таблица 7. Расчёт продолжительности путей сетевого графика
|
№
|
Номера событий, через
которые проходит путь
|
Продолжительность пути,
сут.
|
|
1
|
1-2-5-11-14
|
Т(L1)=1+2+8+6=17
|
|
2
|
1-3-6-10-12-13-14
|
Т(L2)=2+3+4+3+1+3=16
|
|
3
|
1-4-7-8-9-14
|
Т(L3)=3+5+4+3+1=16
|
Таблица 8. Результаты расчёта сетевого графика
|
Операция
|
Работа
|
     
|
|
|
|
|
|
|
|
1
|
1-2
|
1
|
0
|
1
|
0
|
1
|
0
|
0
|
|
2
|
2-5
|
2
|
1
|
3
|
1
|
3
|
0
|
0
|
|
3
|
1-3
|
2
|
0
|
2
|
1
|
3
|
1
|
0
|
|
4
|
1-4
|
3
|
0
|
3
|
1
|
4
|
3
|
0
|
|
5
|
3-6
|
3
|
2
|
5
|
3
|
6
|
1
|
0
|
|
6
|
4-7
|
5
|
3
|
8
|
4
|
9
|
1
|
0
|
|
7
|
6-10
|
4
|
5
|
9
|
6
|
10
|
1
|
0
|
|
8
|
7-8
|
4
|
8
|
12
|
9
|
13
|
1
|
0
|
|
9
|
5-11
|
8
|
3
|
11
|
3
|
11
|
0
|
0
|
|
10
|
10-12
|
3
|
9
|
12
|
10
|
13
|
1
|
0
|
|
11
|
12-13
|
1
|
12
|
13
|
13
|
14
|
1
|
0
|
|
12
|
8-9
|
3
|
12
|
15
|
13
|
16
|
1
|
0
|
|
13
|
11-14
|
6
|
11
|
17
|
11
|
17
|
0
|
0
|
|
14
|
13-14
|
3
|
13
|
16
|
14
|
17
|
1
|
0
|
|
15
|
9-14
|
1
|
15
|
16
|
16
|
17
|
1
|
0
|
4.8
ЭКОНОМИКА
4.8.1
РАСЧЕТ КАПИТАЛЬНЫХ ЗАТРАТ
,
где
-
цена 1 т металлоконструкций устанавливаемых элементов оборудования, руб.,
=
70000.
G- масса
вновь устанавливаемых элементов, т, Тн = 35,77т
Км
- затраты на монтаж, руб;
Кдем
- затраты на демонтаж
ликвидируемых элементов конструкции, руб;
Км
+Кдем = 0,2 * Ц1т *G (по данным базового
предприятия),
Клик
- ликвидационная стоимость
демонтируемых элементов, руб;
К
лик = Цл *Gл,,
где
Цл - цена 1 т металлолома, руб., Цл = 4000 руб.
Gл - масса демонтируемых элементов,т, Gл = 60000 кг.
4.8.2 ДОПОЛНИТЕЛЬНЫЕ
ЭКСПЛУАТАЦИОННЫЕРАСХОДЫ
Дополнительные амортизационные отчисления
,
где
Na - норма амортизации, Na = 7,7 %,
- капитальные затраты на реконструкцию, руб.
=
;
Дополнительные
затраты на ремонт
(по данным ОАО НЛМК)
.
Общая
сумма дополнительных эксплуатационных расходов
=
.
.8.3
КОЛИЧЕСТВЕННЫЕ ПОКАЗАТЕЛИ, ДОСТИГАЕМЫЕ НА ПРЕДПРИЯТИИ В РЕЗУЛЬТАТЕ
РЕКОНСТРУКЦИИ
Прирост объема производства
Выпуск продукции за счет увеличения выхода годного на 1,1 % увеличится на
1,2 % и прирост составит:
Экономия
условно-постоянных расходов:
где
- доля
условно-постоянных расходов в себестоимости 1т продукции, выпускаемой на
реконструируемом оборудовании;
С
- себестоимость одной тонны агломерата, р;
Экономия
электроэнергии:
где
Ц1квт*час - цена 1 кВт/час электроэнергии, руб; Ц1квт*час
= 1,93 руб.
- сокращение установленной мощности электропривода
оборудования, кВт*ч;
= 70,0 кВт,
-действительный годовой фонд времени работы
оборудования, час;
= 7269 час,
Км
- коэффициент использования
мощности, Км = 0,87.

Годовая
экономия текущих затрат
Э
= Эупр +
= 16924776,953 руб.
4.8.4
ЧИСТЫЙ ДИСКОНТИРОВАННЫЙ ДОХОД
,
где
Т- горизонт расчета, Т=5лет,
Rt
- результаты достигаемые на t-ом шаге расчета;
Зt - затраты осуществляемые на том же шаге;
- коэффициент дисконтирования для постоянной нормы
дисконта Е, Е=0,156.
Кt -
капиталовложения на t-ом шаге.
,
где
Э- экономия текущих затрат и прироста прибыли на t-ом
шаге расчета;
ДРам- амортизационные отчисления на том же шаге расчета;
, где
ДР- общая сумма дополнительных эксплуатационных расходов
на t-ом шаге;
НП- увеличение налога на прибыль;
,
где
СНП- ставка налога на прибыль, %; СНП =24%.
Техническое
решение предлагаемое в данном дипломном проекте осуществимо в течение года,
поэтому соизмерение разновременных показателей осуществляем путем
дисконтирования к ценностям периода проведения реконструкции.
.8.5
ИНДЕКС ДОХОДНОСТИ
4.8.6 СРОК
ОКУПАЕМОСТИ
Т.к
ЧДД > 0 и ИД > 1, а
данный проект считаем эффективным.
5.
БЕЗОПАСНОСТЬ ТРУДА
5.1 АНАЛИЗ
УСЛОВИЙ ТРУДА ПРИ РЕКОНСТРУКЦИИ ПРИВОДА АГЛОМЕРАЦИОННОЙ МАШИНЫ
Проектируемый узел является частью агломерационной машины. Машина
располагается в АГП НЛМК и предназначена для получения агломерата. Работы по
реконструкции проводится в аглокорпусе на площадке, расположенной в загрузочной
части агломерационной машины. Площадка имеет ограждения нижней части и перила.
Покрытие пола на площадке металлическое, поэтому площадка относится к классу
особо опасных согласно ПУЭ.
Перед началом выполнения работ проводится ряд подготовительных операций:
- отключение электроэнергии от всех электроприемников в сборочном щите
схемы электроснабжения агломашины, причем пусковые устройства пломбируются и
вывешивается плакат “Не включать! Работают люди”
- газовые коммуникации горна агломашины отключаются и
устанавливается листовая заглушка
- демонтируемое оборудование и места монтажа нового
оборудования освобождаются от оставшейся аглошихты, пылевых наслоений, грязи
- на отметке 0.0 обозначается и огораживается опасная зона,
вывешиваются знаки безопасности, определяется место для складирования
демонтируемого и нового оборудования
- в пределах ремонтной зоны определяются места безопасного
нахождения работающих при перемещении демонтируемых и монтируемых узлов и
деталей.
При выполнении работ применяется различное оборудование (электромостовые
краны, подъемно-транспортное оборудование, оснастка, монтажные приспособления,
газоэлектросварочные аппараты, чалочные приспособления, инструмент,
грузозахватные органы).
Для обеспечения санитарно-гигиенических условий выполнения работ
применяется вентиляция помещений (аэрация), освещение рабочей площадки,
средства защиты от пыли, механического воздействия, неудовлетворительных
условий микроклимата, тепловых излучений.
Опасные и вредные производственные факторы, которые могут возникнуть при
проведении ремонтов и работ по модернизации оборудования, приведены в табл. 9.
Таблица 9. Опасные и вредные производственные факторы
|
№ п/п
|
Выполняемая работа
|
Применяемое оборудование,
приспособления и инструмент
|
Опасные или вредные
производственные факторы
|
|
1.
|
Подготовка рабочего места:
освобождение от материала, монтаж ремонтной площадки, подвод дополнительного
освещения
|
Лебедка, слесарный
инструмент, стройматериалы, емкости для отходов, электроприборы, газорезка,
баллоны с пропаном и кислородом,
|
Опасность механического
травмирования, опасность поражения электрическим током, запыленность,
раскаленный и расплавленный металл, брызги металла, взрыв, пожар
|
|
2.
|
Очистка узлов привода
машины
|
Молоток, зубило, ветошь,
емкость для мусора
|
Механическое травмирование,
повышенная температура, пожароопасность
|
|
3.
|
Демонтаж спекательных
тележек с приводной звездочки
|
Опасность механического
травмирования, переносимый или перемещаемый груз
|
|
4.
|
Освобождение приводной
звездочки от привода
|
Лебедка, грузозахватные
органы, слесарный инструмент
|
Опасность механического
травмирования, переносимый или перемещаемый груз
|
|
5.
|
Демонтаж фиксирующих шпонок
звездочки
|
Лебедка, грузозахватные
органы, слесарный инструмент, таль
|
Опасность механического
травмирования, переносимый или перемещаемый груз
|
|
|
|
|
|
6.
|
Демонтаж и
транспортирование приводных звездочек
|
Электромостовой кран,
грузозахватные органы, инструмент слесарный, швеллера, подкладки, балки
|
Переносимый или
перемещаемый груз, конструкции перемещаемого крана, высота, острые кромки,
заусенцы, опасность механического травмирования
|
|
7.
|
Замена коренного вала
|
Электромостовой кран,
грузозахватные органы, инструмент слесарный, съемники
|
Переносимый или
перемещаемый груз, конструкции перемещаемого крана, высота, острые кромки,
заусенцы, опасность механического травмирования
|
|
8.
|
Установка приводных
звездочек, двух приводов
|
Электромостовой кран,
грузозахватные органы, инструмент слесарный
|
Переносимый или
перемещаемый груз, конструкции перемещаемого крана, высота, острые кромки,
заусенцы
|
|
9.
|
Опробование работы реконструированного
привода агломашины
|
Механическое оборудование
загрузочной части агломашины, электрооборудование
|
Движущиеся и вращающиеся
части и детали, электрический ток
|
|
10.
|
При выполнении всех работ
|
|
Неудовлетвори- тельный
микроклимат, недостаточное освещение, шум, запыленность
|
Следовательно, при выполнении монтажных работ по реконструкции на
работающих воздействуют опасные и вредные производственные факторы: опасность
механического травмирования, поражения электротоком, опасность взрыва и пожара,
5.2 МЕРОПРИЯТИЯ
ПО ОБЕСПЕЧЕНИЮ БЕЗОПАСНОСТИ ТРУДА
5.2.1
ОПАСНОСТЬ МЕХАНИЧЕСКОГО ТРАВМИРОВАНИЯ
Механическая травма может быть получена в результате непреднамеренного
контакта работающего с перемещаемым грузом (узлами, деталями реконструируемой
части агломашины) при демонтаже и монтаже, травмы являются следствием
использования при работе неисправного инструмента, приспособлений.
Источником травм являются движущиеся и вращающиеся части механизмов при
прокрутке реконструированной системы загрузки агломашины.
Причиной травмирования являются: возможные неисправности и поломки
конструктивных элементов, ошибочные действия персонала. Большое значение имеет
исправность и правильное использование монтажных поясов.
Причиной травмы могут быть отказы в системе управления или нарушения
установленных режимов эксплуатации подъемно-транспортных механизмов (превышение
грузоподъемности крана, высоты подъема груза, скорости и пути перемещения
крана).
Для предотвращения механического травмирования предусмотрены следующие
мероприятия:
- к управлению и обслуживанию грузоподъемных механизмов допускаются лица,
прошедшие специальное обучение и имеющие соответствующее удостоверение
(крановщики, газоэлектросварщики (ГОСТ 12.0.004-90 [20]), Грузоподъемные и
грузоперемещающие устройства снабжены индивидуальными ключами бирками,
исключающими пользование ими непрофессиональными лицами) (ОСТ 1455-79 [21])
- рабочая площадка оборудована в соответствии с ГОСТ 24258-80
[22] (пол из рифленого железа, огорожена надежными перилами на высоте не менее
0,8 м, сплошное ограждение пола высотой не менее 0,2 м)
- все приспособления и инструменты, используемые для
безопасного производства работ, должны быть исправными, не иметь видимых
нарушений целостности, не иметь заусениц, повышенной шероховатости и соответствовать
требованиям безопасности выполняемых работ (ГОСТ 12.2.012-75 [23])
- весь работающий персонал имеет соответствующую спецодежду,
обувь, каски, рукавицы, монтажные пояса (ГОСТ 12.4.011-89 [24], ГОСТ
12.4.089-80 [25])
- перед началом работы оборудования повышенной опасности, части которого
или весь агрегат перемещается (краны), подается звуковой сигнал
продолжительностью не менее 10 секунд (ГОСТ 12.2.003-91 [26]).
5.2.2
ОПАСНОСТЬ ПОРАЖЕНИЯ ЭЛЕКТРИЧЕСКИМ ТОКОМ
Помещение аглокорпуса относится по электробезопасности к помещениям особо
опасным (токопроводящие полы, токопроводящая пыль) (ПУЭ-85 [27]).
Опасность поражения электротоком обусловлена применением при
реконструкции электромостового крана, эксплуатацией электрооборудования,
приводящего в движение агломашину при прокрутке, системы освещения, сварочного
оборудования.
Подключение необходимого оборудования (электросварочный инструмент,
дополнительное освещение) производится с применением средств индивидуальной
защиты (диэлектрические перчатки, изолирующие подставки, инструменты с
изолированными ручками) (ГОСТ 12.4.011-89 [24]).
Для обеспечения безопасности применяются следующие меры:
- изоляция токоведущих частей и расположение их в недоступном месте (в
трубах, на высоте более 2,5 м, в нишах, защищенных сплошными металлическими или
сетчатыми панелями)
- применением малых напряжений (< 42 В) в сетях управления
электрооборудованием, связи, использованием дополнительных систем освещения
(прожекторы, лампы переноски) для недостаточно освещенных или затененных мест
рабочей зоны
- заземление и зануление металлических нетоковедущих частей
электрооборудования
- использование защитного отключения в случае короткого
замыкания или перегрузки электрооборудования.
Мероприятия выполнены в соответствии с ГОСТ 12.1.030-89 [28].
.2.3
ОПАСНОСТЬ ОЖОГОВ И ТЕПЛОВОГО ОБЛУЧЕНИЯ
Источниками ожогов при выполнении работ являются проведение
электросварочных работ и работ по газовой резке металла.
Для предотвращения ожогов и теплового облучения рабочий персонал
(сварщики, слесари) обеспечен соответствующими средствами индивидуальной
защиты: специальной одеждой, защитными щитками, рукавицами. Работы по сварке и
резке металла проводятся в соответствии с требованиями ГОСТ 12.3.003-75 [30]:
- место сварочных работ хорошо вентилируется
- установка заземлена, токоведущие кабели исправны, в сети
имеется устройства для аварийного отключения
- защита от брызг металла и теплового облучения осуществляется
применением средств индивидуальной защиты.
5.2.4
МИКРОКЛИМАТ
Микроклимат на рабочей площадке при остановленной агломашине не
обеспечивается, так как источник тепла отсутствует. Некоторое количество тепла
излучает соседняя работающая аглолента, но для достижения допустимых норм
параметров микроклимата этого недостаточно.
Показателями, характеризующими микроклимат в производственных помещениях,
являются:
температура воздуха;
температура поверхностей машин и оборудования;
относительная влажность воздуха;
скорость движения воздуха;
интенсивность теплового излучения.
Источником возникновения является окружающая среда и особенности
технологического процесса (категории работ по уровню энергозатрат - перенос
тяжестей или применение усилий до 10кг,- ІІ б).
В холодный период года используется теплая одежда, обувь, головные уборы,
существует режим времени работы (периоды отдыха и обогрева) в теплых помещениях
(вагончиках). В теплый период наружного тепла достаточно.
Показатели, характеризующие микроклимат в производственных помещениях
представлены в табл. 10.
Таблица 10. Показатели микроклимата в производственных помещениях
|
Вредный производственный
фактор
|
Нормативная величина
|
Фактическая величина
|
Нормативный документ
|
|
Холодный период
|
Теплый период
|
Холодный период
|
Теплый период
|
|
|
Температура воздуха
|
13-15оС
|
21-26оС
|
16-18оС
|
18-20оС
|
Сан П и Н 2.2.4.548-96 [31]
|
|
Температура поверхностей
|
12-23оС
|
14-27оС
|
15-19оС
|
17-21оС
|
Сан П и Н 2.2.4.548-96
|
|
Относительная влажность
|
15-75 %
|
15-75 %
|
40-65 %
|
Сан П и Н 2.2.4.548-96
|
|
Скорость движения воздуха
|
0,4 м/с
|
0,5 м/с
|
0,3м/с
|
Сан П и Н 2.2.4.548-96
|
5.2.5 ЗАПЫЛЕННОСТЬ
Источником пыли на рабочем месте является большое количество выделяющейся
пыли на соседней агломашине, а также отложения пыли на оборудовании
реконструированной машины. Состав пыли определяется составом шихты для
производства агломерата. Наличие наиболее вредной составляющей пыли SiO2 - не более 5-7 %. Согласно ГОСТ
12.1.005-88 [32] предельно-допустимая концентрация такой пыли - ПДК = 6 мг/м3.
Фактическая величина и допустимый уровень запыленности на рабочих местах
представлен в табл. 11.
Таблица 11. Фактический и допустимый уровень запыленности
|
Вредный производственный
фактор
|
Фактическая величина
|
Нормативная величина
|
Нормативный документ
|
|
Пыль с содержанием SiO2 2-10%
|
0,5-2,0
|
6,0
|
ГОСТ 12.1.005-88
|
Фактическая величина не превышает 0,5-2 мг/м3 в разные периоды
реконструкции. При очистке оборудования от осевшей пыли концентрация ее в
воздухе рабочей зоны поднимается до 8-12 мг/м3. В этот период работ
используются марлево - ватные респираторы “Лепесток”.
Снижение запыленности до низких величин обусловлено значительным
уменьшением количества отложенной пыли в месте проведения реконструкции и
вентилированием рабочей зоны посредством общеобменной вентиляцией (аэрацией).
Основные методы борьбы с пылью:
увлажнение водой до допустимых пределов;
устройство пылеулавливающей вентиляции от мест образования с очисткой
воздуха перед выбросом в атмосферу;
применение средств индивидуальной защиты (спецодежда, респираторы,
защитные очки и щитки).
5.2.6 ШУМ
Основными источниками шума являются: работа производственного
оборудования, и оборудования, применяемого для выполнения операций по
реконструкции действующей соседней аглоленты.Допустимый уровень щума на рабочих
местах производственных помещений согласно СН 2.2.4./2.1.8.562-96 [34] и ее
фактический уровень приведены в табл.12.
Таблица 12. Фактическая и нормируемая величина шума
|
Вредный производственный
фактор
|
Фактическая величина
|
Нормативная величина
|
Нормативный документ
|
|
Шум, дБа
|
60-75
|
80
|
СН 22.412.18562-96
|
Указанная величина шума определяется экранированием шума конструкциями
здания и оборудованием, а также достаточным источником удаления источника
повышенного шума.
Средства борьбы с шумом в зависимости от числа лиц, для которых они
предназначены, подразделяются на средства коллективной защиты в соответствии с
ГОСТ 12.4.011-89 [24] и средства индивидуальной защиты.
В зависимости от способа реализации средства коллективной защиты могут
быть акустическими, архитектурно- планировочными, и организационно-
техническими.
Для снижения шума можно использовать звукоизолирующие кожухи, в который
заключают либо весь агрегат, либо его шумящие узлы. Для защиты органов слуха
применяют наружные (наушники) и внутренние средства - противошумы (заглушки и
вкладыши) ГОСТ 12.4.011-89 [24]. Над шумящим оборудованием подвешивают штучные
шумопоглотители.
Общие методы борьбы с шумом:
1) Индивидуальные и коллективные средства защиты;
2) Снижение шума в источнике образования;
) Снижение шума на пути распространения от источника до рабочего
места.
5.2.7
ОСВЕЩЕНИЕ
Рабочее место реконструкции освещается в основном искусственным
освещением. При выполнении работ требуется наблюдать наименьший размер объекта
различения - 1-5 мм. В соответствии с СНиП 23-05-95 [35] эти условия зрительной
работы соответствуют V
разряду (работы средней точности), а необходимая освещенность рабочего места -
300 лк.
Фактическая освещенность рабочего места при общем освещении аглокорпуса -
75-100 лк. Для обеспечения необходимой освещенности применяются светильники
местного освещения (прожектор, лампа-переноска, осветительные передвижные
установки).
Переносные ручные светильники обеспечены напряжением 12-36 В (ГОСТ
12.1.019-79 [22]).
Грузоподъемный краны имеют подкрановые светильники, обеспечивающие
освещение затемнения рабочей зоны, создаваемое конструкцией крана.
В аглокорпусе кроме рабочего освещения имеется аварийное освещение (не
менее 30 лк), действующее от независимых источников питания при аварийном
отключении рабочего напряжения.
Освещение на объектах должно входить в следующие нормы в соответствии со
СНИП 23-05-95:
пульты и щиты управления………………………150-200 лк при общем освещении
конвейеры…………………………………………75-100 лк «
грузоподъемные машины…………………………10-50 лк «
ЗАКЛЮЧЕНИЕ
Выполнен дипломный проект на тему: «Модернизация разгрузочной части
агломерационной машины АКМ-312 в условиях АГП ОАО «НЛМК.
Дана характеристика комплекса оборудования АГП ОАО «НЛМК», характеристика
исходных материалов и готовой продукции. Описан технологический процесс и
основное оборудование.
Целью проекта являлась Модернизация разгрузочной части агломерационной
машины АКМ-312. Предложено установить подвижную раму и ликвидировать привод
разгрузочной части агломерационной конвейерной машины АКМ-312 для улучшения
эксплуатационных свойств, повышения срока службы и увеличения межремонтного
периода работы оборудования. Выполнены расчёты мощности привода и прижимного
устройства.
Описана организация и планирование ремонтов. Выполнены расчёты
трудоемкости текущих и капитальных ремонтов и баланса времени работы
оборудования.
Рассмотрены вопросы охраны труда. Описаны условия труда при установке
подвижной разгрузочной части на агломерационную машину АКМ-312. Рассмотрено
влияние вредных факторов при монтаже нового оборудования.
Выполненные технико-экономические расчёты показали, что установка
подвижной разгрузочной части на агломерационную конвейерную машину АКМ-312
эффективна как с экономической, так и с конструкторской точки зрения.
БИБЛИОГРАФИЧЕСКИЙ СПИСОК
1. Машины и агрегаты
металлургических заводов
. В 3т. Т.1: Машины и агрегаты доменных цехов / Л.И.
Целиков, П.И. Полухин, В.М. Гребенник и др. - Машиностроение, 1987. - 432с.
. Механическое оборудование
агломерационных фабрик.
/Фастовский М.Х., Дакалов Г.В., Носовский А.А. - М.:
Металлургия, 1983. 264 с.
. Механическое оборудование
фабрик для окусковывания железорудного сырья
.
Ловчинский Э.В. - М.: Металлургия, 1977.256 с.
4. Уплотнение газоотвода агломерационной и обжиговой
машины.А.С. № 303355 МПК С 21b
1/18/ Бережной Н.Н., Смирнов В.И., Шушемоин А.И.
. Вакуум - камера агломерационной машины. А.С. № 301356. МПК
С 21b 1/18/ Муровцев В.П.
.Конвейерная агломерационная машина для спекания под
давлением. А 27В 21/06, С 22В 1/18/ Вегман Е.Ф., Попов Г.Н. и др.
. Устройство для спекания железорудного сырья на агломашине С
22В 1/18/ Астахов А.Г., Здольник В.Ф. и др.
. Устройство для агломерации железорудных материалов. Патент
США № 2989395, Кл. 266-21.
9. Тележка агломерационной и обжиговой машины.А.С. № 269943
МПК С 21b 1/18/ Власов В.С., Бритвин Е.М. и
др.
.Инструкция по агломерационной машине АКМ-312
агломерационного производства ОАО НЛМК.
.Положение о техническом обслуживании и ремонтах (ТОиР)
механического оборудования металлургических предприятий. 1992.-365с.
12. Рязанцева, Л.М.
Методические указания к курсовой работе и организационно-экономической части
дипломного проекта специальности 1703 - «Организация и планирование ремонтов
механического оборудования металлургических предприятий»
/ Л.М. Рязанцева. - Липецк: ЛГТУ, 2001. - 40с.
. Ведомость дефектов
агломашины АКМ-312. ОАО НЛМК.
. Рязанцева, Л.М. Экономическое
обоснование реконструкции механического оборудования металлургических
предприятий. Методические указания к организационно-экономической части
дипломного проекта специальности 170300 «Металлургические машины и
оборудование»
/ Л.М. Рязанцева. - Липецк: ЛГТУ, 2003. - 16с.
. Гребеник, В. М. Расчет
металлургических машин и механизмов / В. М. Гребеник, Ф. К. Иванченко, В. И.
Ширяев.
- Киев: Выща школа. Головное издательство,
1988.-448с.
. Чернавский, С.А. и др.
Проектирование механических передач.
- М.:
Машиностроение. - 1984. - 560 с., ил.
. Курсовое
проектирование деталей машин
/ С.А.
Чернавский, К.Н. Боков, И.М. Чернин и др. - М.: Машиностроение, 1988. - 416с.
. Дунаев П.Ф., Леликов О.П.
Конструирование узлов и деталей машин.
- М.:
Высшая школа, 2000. - 447с., ил.
. Подшипники качения:
Справочник-каталог /под ред.В.Н. Нарышкина и Р.В. Коросташевского.
М.: Машиностроение. - 1984. - 280 с., ил.
20.ГОСТ 12.0.004-90 Организация обучения по безопасности
труда. Общие положения. М.: Изд-во стандартов, 1990 г.
21.ОСТ 1455-79 Бирочная
система.
М.: Изд-во МЧМ СССР, 1980 г.
.ГОСТ 24258-80 Средства
подмащивания. Классификация и общие технические требования.
М.: Изд-во стандартов, 1980 г.
.ГОСТ 12.2.012-75
Приспособления по обеспечению безопасного производства работ.
М.: Изд-во стандартов, 1977 г.
.ГОСТ 12.4.011-89 Средства
защиты работающих. Общие требования и классификация.
М.: Изд-во стандартов, 1990 г.
.ГОСТ 12.4.089-80
Строительство. Общие требования и номенклатура средств защиты.
М.: Изд-во стандартов, 1980 г.
.ГОСТ 12.2.003-91
Оборудование производственное. Общие требования безопасности.
М.: Изд-во стандартов, 1991 г.
.ПЭУ-85 Правила устройства
электроустановок.
М.: Энергоатомиздат, 1987 г.
.ГОСТ 12.1.030-89
Электробезопасность. Общие требования и номенклатура средств защиты.
М.: Изд-во стандартов, 1980 г.
.ГОСТ 12.1.030-89
Электробезопасность. Защитное заземление. Зануление.
М.: Изд-во стандартов, 1990 г.
.ГОСТ 12.3.003-75 Работы
электросварочные. Общие требования безопасности.
М.:
Изд-во стандартов, 1977 г.
.СанПиН 2.2.4.548-96
Микроклимат на рабочих местах производственных помещений.
М.: Минздрав России, 1997 г.
.ГОСТ 12.1.005-88
Санитарно-гигиенические требования к воздуху рабочей зоны.
М.: Изд-во стандартов, 1989 г.
. ГОСТ 12.1.006-88.ССБТ.
Общие санитарно-гигиенические требования к воздуху рабочей зоны
- Введ.01.01.89. - М.: Госстандарт, 1988. - 48 с.
.СН 2.2.4./2.1.8.562-96 Шум
на рабочих местах, в помещениях жилых и общественных зданий, на территории
жилой застройки.
М.: Минздрав России, 1997 г.
.СНиП 23-05-95 Естественное и
искусственное освещение. Нормы проектирования.
М.:
Госстрой России, 1996 г.