Патентное исследование с целью модернизации бульдозера ДЗ-110Б

  • Вид работы:
    Дипломная (ВКР)
  • Предмет:
    Транспорт, грузоперевозки
  • Язык:
    Русский
    ,
    Формат файла:
    MS Word
    740,97 kb
  • Опубликовано:
    2011-06-28
Вы можете узнать стоимость помощи в написании студенческой работы.
Помощь в написании работы, которую точно примут!

Патентное исследование с целью модернизации бульдозера ДЗ-110Б

Федеральное агентство по образованию РФ

Белгородский государственный технологический университет

имени В.Г. Шухова

АДИ

Кафедра ПТ и ДМ

КУРСОВАЯ РАБОТА

по дисциплине

“Технические основы создания машин”

на тему: “Патентное исследование с целью

модернизации бульдозера ДЗ-110Б”



Выполнил:

студент группы 4ДМ-31

Степанищев В.А.

Принял:

Богомолов А. А.



Белгород

Содержание

патентное исследование модернизация бульдозер

Введение

Характеристика объекта исследования

.1 Общие сведения о бульдозерах

.1.1 Назначение, классификация и область применения бульдозеров

.1.2 Устройство машины и ее рабочее оборудование

.2 Описание рабочего процесса бульдозера

.2.1 Техническая характеристика бульдозера ДЗ-110Б

Патентное исследование

.1 Цель и методика патентного исследования

.2 Общие сведения об объекте исследования

.2 Задание на проведение исследования

.3 Регламент поиска

.4 Справка о поиске

.5 Вывод по результатам патентного исследования

. Описание сущности модернизации по результатам патентного исследования

. Заключение

Список литературы

Введение

Ежегодно в нашей стране увеличиваются объемы строительных работ - сооружаются новые линии железных и автомобильных дорог, возводятся новые заводы и фабрики, растут темпы жилищного строительства, развивается добыча полезных ископаемых и строительных материалов, строятся новые нефте- и газопроводы. Интенсивное развитие промышленности требует проведения большого объема земляных работ механизированным способом.

Особое место при механизации земляных работ занимают бульдозеры. Несмотря на быстрое развитие новых методов разработки грунтов и совершенствование конструкций специализированных машин, механический способ их разрушения, копания и перемещения бульдозерами в ближайшем будущем останется наиболее эффективным в большинстве эксплуатационных условий, что объясняется относительной простотой конструкции бульдозеров, широкой сферой и универсальностью применения, высокой производительностью и низкой стоимостью единицы продукции.

Помимо общих тенденций развития строительно-дорожных машин при создании и совершенствовании бульдозеров учитывают специфические особенности их применения и эксплуатации. В частности, с целью расширения области применения при различных климатических и грунтовых условиях широко применяют их различные исполнения (тропическое, умеренное и северное) и модификации (для подземных, подводных, горных работ и др.).

В последнее время с целью облегчения эксплуатации и удешевления производства широко используют единые, конструктивно подобные решения навесного оборудования во всех типоразмерных рядах бульдозеров. Создают семейства машин в смежных типоразмерах, принимают меры по улучшению технико-экономических показателей строительных машин и оборудования, повышению их единичной мощности, надежности, ресурса работы машин, в том числе гидропривода, снижению трудоемкости технического обслуживания и ремонта.

1 Характеристика объекта исследования

.1       Общие сведения о бульдозерах

.1.1    Назначение, классификация и область применения бульдозеров

Бульдозер представляет собой землеройно-транспортную машину, состоящую из базовой машины, которой обычно бывает трактор мощностью до 450 кВт или колесный двухосный тягач мощностью 600 кВт, и навесного бульдозерного оборудования. Оно может быть как основным, так и вспомогательным.

Бульдозеры служат для механизации земляных работ при послойном копании, перемещении (на расстояние 60…180 м), укладке и планировке грунтов.

Их классифицируют по назначению, силе тяги базовой машины, мощности силовой установки, типу движителя, конструктивным признакам, системе управления отвалом.

. По назначению:

бульдозеры общего назначения (для разнообразных работ в различных грунтовых условиях);

бульдозеры специального назначения;

. По номинальному тяговому усилию:

малогабаритные (тяговое усилие до 25 кН);

легкие (25-135 кН);

средние (135-200 кН);

тяжелые (200-300 кН);

сверхтяжелые (более 300 кН);

. По мощности двигателей базовых машин:

малогабаритные (мощность до 45 кВт);

легкие (45-120 кВт);

средние (120-150 кВт);

тяжелые (150-225 кВт);

сверхтяжелые (более 225 кВт);

. По типу движителей:

колесные бульдозеры;

гусеничные бульдозеры;

. По конструктивным признакам:

бульдозеры с рабочим оборудованием впереди и (или) сзади базовой машины;

бульдозеры с поворотным или неповоротным отвалом;

. По системе привода отвала:

с гидравлическим управлением отвалом;

с канатным управлением.


.1.2    Устройство машины и ее рабочее оборудование

Любой бульдозер состоит из базового трактора, рабочего органа (отвала) и механизма привода рабочего органа.

- толкающая рама, 2 - боковые толкатели, 3 - отвал, 4 - раскос, 5 - гидроцилиндры.

Рисунок 1. Общий вид бульдозера

На рисунке 1 изображен базовый трактор 6, с отвалом 3, связанные боковыми толкателями 2, раскосом 4 и универсальной толкающей рамой 1. Подъем и опускание отвала производят гидроцилиндрами 5.

Базовый трактор состоит из движителя (гусеничной тележки), кабины машиниста с органами управления и двигательного отсека.

Рабочим оборудованием бульдозера называют землеройно-транспортный орган, навешиваемый спереди базовой машины и управляемый с помощью гидравлического привода. Рабочее оборудование состоит из отвала, толкающих брусьев, гидрораскоса, винтового раскоса, упряжных шарниров, центрального и боковых ножей.

Рабочее оборудование состоит из толкающих брусьев 6, которые посредствам универсальных (упряжных) шарниров 8 крепятся к базовому трактору. К передним концам толкающих брусьев с помощью шарниров 11 прикреплен отвал 1, выполненный разъемным из двух симметричных секций 2 и 3, соединенных в верхней части одноосным шарниром 4. Ось шарнира 4 параллельна продольной оси трактора. Раскосы 9, выполненные в виде гидроцилиндров, соединены с верхней частью отвала шарнирами 10 и толкающими брусьями шарнирами 18. Тыльная сторона отвала снабжена кронштейнами 14. Элементы поперечной стабилизации - тяги 7 крепятся к кронштейнам 14 отвала и толкающим брусьям универсальными шарнирами 15 и 17. Гидроцилиндры подъема-опускания прикреплены шарнирно к секциям отвала и трактору. На тыльной стороне отвала крепится гидроцилиндр 5 поворота секций 2 и 3, установленный вертикально. Гидроцилиндр 5 прикреплен непосредственно к шарнирному трехзвеннику, среднее звено которого выполнено в виде горизонтально расположенной серьги 12, а боковые - в виде шарнирных тяг 13. Серьга 12 шарнирно соединена с тягами 13, каждая из которых посредством шарнира 16 установлена в кронштейне 14 соответствующей секции отвала.

Рисунок 1 Схема рабочего оборудования бульдозера

Преимущественно на бульдозерах с неповоротными отвалами к основному бульдозерному оборудованию устанавливают дополнительное оборудование (рисунок 2), используя болты с гайками, поэтому его называют съемным.

Уширители 1 применяют при работе на легких грунтах или насыпных материалах. Они увеличивают ширину отвала, призму волочения и производительность бульдозера.

Уширители представляют собой секции, изогнутые по профилю основного листа бульдозера. Сзади секции усилены ребрами жесткости. С помощью болтов с гайками уширители жестко крепят к боковым щекам отвала под углом 30° к поверхности.

- уширители, 2 - открылки, 3 - удлинители, 4 - рыхлительный зуб, 5 - кирковщик, 6 - гребенчатые ножи, 7 - канавная надставка, 8 - откосник, 9 - опорная лыжа, 10 - грузовые вилы, 11 - грузоподъемный крюк

Рисунок 2. Дополнительное оборудование бульдозеров с неповоротным отвалом

Известны конструкции гидроуправляемых уширителей, которые установлены на вертикальном шарнире на боковых щеках отвала и поворачиваются гидроцилиндрами двойного действия из рабочего положения в транспортное (к толкающим брусьям). Гидроцилиндры управления уширителями находятся сзади отвала и подключены к гидросистеме трактора.

Открылки 2 позволяют уменьшать утечки грунта из призмы в боковые валики. Выполняют открылки в виде выступающих боковых ножей с заостренными режущими кромками, скошенными назад в верхней части. Ножи жестко привинчены к боковым щекам с двух сторон отвала.

Удлинители 3 отвала изготовляют по форме его лобового листа и усиливают поясами сзади. К каждой боковой щеке отвала болтами с гайками крепят по одному удлинителю. Удлинители применяют при планировочных работах или перемещении легких насыпных материалов (угля, опилок, силоса).

Рыхлителъные поворотные зубья 4 применяют в том случае, когда бульдозер не оборудован задним рыхлителем. Их можно устанавливать спереди или сзади отвала. Передний зуб монтируют на лобовом листе отвала. Зуб снабжен площадкой для упора в нож бульдозера, а вверху стопорится резьбовым фиксатором. Задние зубья крепят шарнирно на нижнем поясе жесткости отвала. При переднем ходе машины зубья поворачиваются назад против направления движения и не препятствуют разработке материала отвалом. Во время движения назад отвал приподнимается над рабочей поверхностью, зубья автоматически опускаются на шарнирной оси до упора в нижний пояс и рыхлят грунт. На отвал устанавливают 1...3 поворотных задних рыхлительных зуба.

Кирковщик 5 для выламывания асфальтовых покрытий навешивают со стороны лобового листа по типу передних рыхлительных зубьев. Съемный зубчатый нож кирковщика крепят на сварной стойке. В ее площадку сзади упирается нож отвала. Верхняя часть стойки прикреплена к отвалу болтами или резьбовым фиксатором.

Гребенчатые ножи 6 применяют для разработки смерзшихся материалов, скалывания льда с дорожного полотна. Устанавливают гребенчатые ножи на подножевую плиту взамен средних и боковых ножей. На режущей кромке гребенчатых ножей выступают зубья небольшой длины.

Канавную надставку 7 применяют для отрывки мелких траншей и каналов под кабельные линии и водосточные желоба. По конструкции и способу крепления на отвале она подобна переднему рыхлительному зубу, но больше зуба по ширине. Форма надставки соответствует профилю траншеи.

Откосник 8 предназначен для формирования и планировки откосов выемок и насыпей при сооружении дорог. Он представляет собой отвальный лист, усиленный сзади продольными балками. Сбоку листа приварено посадочное основание, через которое откосник болтами с гайками жестко крепят к левой или правой боковой щеке отвала. В связи с большой длиной откосника его дополнительно крепят тягами к толкающим брусьям и верхнему поясу жесткости бульдозерного отвала.

Опорные лыжи 9 устанавливают спереди или сзади отвала. Они предназначены для улучшения планирующих свойств бульдозера за счет дополнительной опоры на рабочую площадку. Применяют лыжи на бульдозерах с эластичной гусеничной или пневмоколесной ходовой частью. Передние лыжи крепят шарнирно на выступающем кронштейне, который установлен на лобовом листе отвала, задние - приваривают жестко к отвалу или к толкающим брусьям.

Грузовые вилы 10 применяют для перемещения пакетированных грузов, строительных конструкций (балок, панелей, оборудования). Вдоль отвала в области верхнего пояса жесткости на болтах с гайками крепят панель, на которой выступают кронштейны с отверстиями. В них на пальцах шарнирно устанавливают две изогнутые вилки, которые внизу упираются в лобовой лист отвала.

Грузоподъемный крюк 11 служит для подъема, транспортирования и установки грузов. На отвале с помощью болтов с гайками крепят гусек, на консольной части которого шарнирно подвешен грузоподъемный крюк.

За рубежом бульдозера тяжелой категории выпускают компании Caterpillar, DRESSTA (HSW), FIAT-KOBELCO, Индостан, Джон-Дир, Komatsu, Liebherr, Shantui и сфера International.

Сегодня компания Caterpillar в тяжелой категории выпускает восемь моделей четырех семейств - D8R, D9R, D10R и D11R второй итерации в диапазоне мощности от 305 до 850 л.с. Для этой категории тракторов Caterpillar характерно применение ставшего уже «лицом фирмы» треугольного гусеничного обвода и упругой подвески ходовой системы, у которой опорные катки попарно объединены в каретки. Поддерживающие катки имеются только у бульдозера D8R. К базовым моделям Caterpillar поставляет широкую гамму бульдозерных отвалов и собственного производства, и сторонних фирм. Рыхлительное оборудование выпускают двух типов: в одно-и трехзубом исполнении. Версии D8R и D8R серии-II для работ на грунтах с низкой несущей способностью имеют дополнительную приставку LGP, а модели D8R, D9R и D10R, предназначенные для работы на санитарных свалках и полигонах по захоронению ТБО и промышленных отходов, - индекс ВАЗ. Выпускаемый с 1998 года 113-тонный мастодонт D11R CD оснащают уникальным отвалом 11D (объем призмы волочения 43,8 м3) с двойным перекосом. При этом все машины серии D11R оснащены системой ускоренной заправки дизельным топливом (вместимость бака 1471 л).

Модельный ряд DRESSTA, известный также в Европе под маркой Huta Stalowa Wola, представлен двумя базовыми моделями TD25H и TD40C мощностью 320 и 520 л.с. DRESSTA стала первой тракторостроительной фирмой, применившей в трансмиссии своих БРА двухдиапазонный бесступенчатый механизм поворота. Для бульдозеров предусмотрено три типа отвала - поворотный, полусферический и сферический, а также три типа рыхлителей: трехзубый, однозубый и однозубый для глубокого рыхления (заглубление 1,7 и 1,67 м для TD25H и TD40C соответственно).

Модель FD30C компании FIAT-KOBELCO Construction Machinery на нефтегазопромыслах России знают еще с тех пор, когда ее выпускали под маркой FIAT-Allis. В 1990-х эту модель продавали под маркой FIAT-Hitachi. Как и прежде, FD30C оснащают 349-сильным турбодизелем FIAT 8285TA, отвалами трех типов - прямым, сферическим и полусферическим, одно-и трехзубыми рыхлителями. В зависимости от оснащения БРА весит от 36,2 до 43,4 т.

Компания Фирма Liebherr выпускает две модели бульдозеров тяжелой категории, отличительной чертой которых является применение гидростатической трансмиссии Litronic. Помимо сферического и полусферического отвалов эти БРА комплектуют поворотным отвалом. Выпускаемый с 1989 года 45-тонный Либхерр PR 751 Горное специально разработан с учетом работы в карьерах, а более легкий Либхерр PR 752 (в США продают под маркой John Deere 1050С) в первую очередь предназначен для строительных работ. PR 752 и John Deere 1050С также выпускают в модификации WH для работы с ТБО на полигонах, основные отличия которой от общепромышленной версии заключаются в установке более мощного генератора, отвала увеличенных размеров и защиты на наиболее подверженных механическим повреждениям корпусных деталях и уязвимой при работе с отходами части приводов.

Японская корпорация Komatsu в тяжелой категории машин освоила производство 11 моделей, из которых только шесть являются базовыми и на основе которых создано пять модификаций. Для этих БРА характерно применение гидромеханической трансмиссии с планетарной КП с переключением под нагрузкой, полужесткой и упругой эластичной подвеской опорных катков. По заказу машины оснащают бесступенчатым механизмом поворота. Komatsu выпускает пять видов бульдозерного оборудования - поворотный, прямой неповоротный, полусферический, сферический и угольный отвал. Рыхлительное оборудование трехзубое с регулируемым и постоянным углом рыхления и однозубое. Абсолютный рекордсмен среди всех бульдозеров - карьерный Komatsu D575A-2 рабочей массой 133 т, укомплектованный 46-литровым турбодизелем SA12V170 мощностью 1050 л.с. Этот БРА комплектуют одностоечным рыхлителем с заглублением 2,06 м и могучими отвалами с 34 - или 45-кубовым объемом призмы волочения.

Для большинства бульдозеров тяжелой категории характерно применение:

гидромеханической трансмиссии, как правило, с планетарной, реже - с вальной, КП с переключением под нагрузкой (кроме ЧТЗ ДЭТ, Liebherr и John Deere), с многодисковыми тормозами поворота и тормозами, работающими в масле и не требующими регулировок;

бесступенчатого механизма поворота, позволяющего вести земляные работы на криволинейных рабочих участках и трассах;

упругих и полужестких подвесок ходовой системы (причем для первых характерно свойство приспособления (облегания) гусениц к микронеровностям рабочей поверхности и снижение динамических нагрузок на несущие рамные конструкции);

овальных обводов гусеничных цепей как наиболее отработанных конструкций (кроме Caterpillar);

гусениц с уплотненными, со смазкой шарнирами, с замыкающим разъемным звеном, опорными поддерживающими катками, заправленными на весь срок их службы;

автоматизированных систем контроля технического состояния основных узлов машин и систем оповещения оператора о критическом износе или возможности выхода узлов и агрегатов из строя;

закрытых шумовиброизолированных кабин с защитой ROPS и возможностью установки кондиционера;

переднемоторной компоновки с задним расположением кабины;

отвалов и рыхлительного оборудования различного назначения.

.2       Описание рабочего процесса бульдозера

Рабочий процесс бульдозера состоит из копания грунта, образования призмы волочения, транспортирования ее к месту укладки, остановки для переключения передач и подъема отвала, обратного хода машины, остановки для включения переднего хода и опускания отвала на рабочую поверхность.

Рабочий цикл начинается в момент первого движения машины. Потом следует рабочий ход, в процессе которого отвал срезает грунт в начале траншеи до образования призмы волочения и транспортирует ее к месту выгрузки. При перемещении материала машинист продолжает набирать грунт в призму, так как неизбежны утечки его в боковые валики. После этого машина останавливается для разгрузки и подъема отвала на 200…300 мм над поверхностью дна траншеи и включения задней передачи. Далее машина на холостом ходу возвращается назад. Последняя операция цикла - остановка машины для включения передней передачи и опускания отвала. Опытные машинисты совмещают переключение передач и рабочие движения рабочего оборудования. После этого рабочий цикл повторяют.

.2.1    Техническая характеристика бульдозера ДЗ - 110Б

Бульдозер выпускается Челябинским тракторным заводом на базе трактора Т-130, разработанного в начале 60-х годов.

Трактор Т-130 (рисунок 3) относится к типу мощных гусеничных тракторов общего назначения и предназначен главным образом для выполнения тяжелых и трудоемких работ в агрегате с навесным и прицепным оборудованием, а также может быть успешно использован в агрегате с такими механизмами, как подъемный кран, погрузчик, корчеватель собиратель, и многими другими видами дополнительного оборудования. Бульдозер ДЗ-110 относится к тяговому классу 10. Применяется для землеройно-планировочных работ в дорожном, промышленном, гражданском, гидротехническом строительстве на грунтах 1-3 категории. Существующие модификации: трактора Т-130Б, бульдозеры ДЗ-28, ДЗ-110Б.

Рисунок 3. Трактор Т-130

На тракторе т-130 установлен четырехцилиндровый, четырехтактный дизельный двигатель Д-160 с турбонаддувом, камерой сгорания в днище поршня и запуском от карбюраторного пускового двигателя с электростартером.

Трансмиссия механическая, многоступенчатая. Состоит из сухой, постоянно замкнутой муфты сцепления с двумя ведущими и двумя ведомыми дисками, четырехвальной коробки передач, конической передачи, многодисковых сухих бортовых фрикционов и двухступенчатых бортовых редукторов.

Тормоза ленточные, двустороннего действия, плавающие, с фрикционными накладками, воздействующими на наружные барабаны бортовых фрикционов. В систему управления бортовыми фрикционами включены гидравлические сервомеханизмы.

Рама бульдозера т-130 выполнена в виде двух лонжеронов, приваренных к корпусу бортовых фрикционов. Тележки гусениц сварные, опорных катков - пять, поддерживающих роликов - два. Натяжное колесо имеет гидравлический механизм натяжения. Гусеница составлена из штампованных звеньев, соединенных пальцами и втулками. Башмаки специального профиля прикреплены к звеньям.

Трактор Т-130 оборудован раздельно-агрегатной гидросистемой, передней и задней навесками, маятниковым или жестким прицепным устройством. Возможна установка ВОМ (вала отбора мощности).

Кабина двухместная, закрытого типа, металлическая, с теплозвукоизоляционным уплотнением.

Номинальная эксплуатационная мощность двигателя, кВт (л.с.)

117,7 (160)

Частота вращения, об/мин:


 - коленчатого вала двигателя при номинальной мощности

1250

 - ВОМ

1000

Диаметр цилиндра, мм

145

Ход поршня, мм

205

Удельный расход топлива при номинальной эксплуатационной мощности, г/кВт*ч

Применяемое топливо для:


 - основного двигателя

дизельное

 - пускового двигателя

смесь бензина автомобильного А-72 или А-76 с моторным маслом дизеля в соотношении 20:1 по массе

Вместимость топливного бака, л

290

Колея, мм

1880

Продольная база, мм

2478

Дорожный просвет, мм

415

Ширина башмаков, мм

500

Удельное давление на почву с задним механизмом навески, МПа (кгс/см2)

0,05 (0,5)

Габаритные размеры, Д х Ш х В, мм

5193 x 2475 x 3085

Масса конструктивная, кг

14320


        
Патентное исследование

.1       Цель и методика патентного исследования

Основным направлением использованием патентной информации в системах НИИ и ПБК - предприятия являются:

прогнозирование тенденции развития научных направлений, объектов техники и технических процессов;

оценка технического уровня разработки путем их сопоставления с последними запатентованными объектами;

проверка патентоспособности выполняемых работ;

проверка патентной чистоты выполняемых разработок и возможности патентования их за границей.

Указанные направления реализуются в результате проведения патентных исследований с использованием МПК.

Поиск на новизну преследует цель установления новизны изобретения или ее отсутствие в патентной заявке.

Поиск на патентоспособность или действительность патента проводится для выявления документов, касающихся не только новизны изобретения, но и других критериев в работоспособности, например: является или не является изобретение очевидным; возможно или нет достижения полезных результатов или технического процесса.

Поиск на патентную чистоту проводится с целью выявления патентов и опубликованных заявок, права которых могут быть нарушены в случае промышленной реализации данного объекта.

Информационный поиск проводится с целью ознакомления данной информации с уровнем развития техники в какой-то конкретной области.

Содержание и порядок проведения патентных исследований регламентируется соответствующими нормами документации.

В общем случае порядок патентных исследований включает:

определение задач патентных исследований, их видов и методов проведения;

определение требований к поиску патентной и другой документации;

поиск и отбор патентной и другой документации в соответствии с утвержденным регламентом и составлении отчета о поиске;

систематизация и анализ отобранной документации.

Проводятся патентные исследования на различных этапах создания новой техники:

на стадии планирования новой техники с целью определения современного уровня научно- технических достижений для выявления целесообразности включения данной схемы в план;

в процессе разработки технической документации с целью использования имеющихся достижений при решении поставленной задачи;

на стадии серийного производства объектов новой техники с целью контроля патентной чистоты изделия.

.2 Общие сведения об объекте исследования

Исполнитель: Степанищев В.А.

Заказчик: кафедра ПТ и ДМ БГТУ им В. Г. Шухова.

Начало работ 12.09.08 Окончание 28.11.08.

Объект: Бульдозер ДЗ - 110Б

Интенсивное развитие промышленности требует проведения большого объема земляных работ механизированным способом.

Особое место при механизации земляных работ занимают бульдозеры. Несмотря на быстрое развитие новых методов разработки грунтов и совершенствование конструкций специализированных машин, механический способ их разрушения, копания и перемещения бульдозерами в ближайшем будущем останется наиболее эффективным в большинстве эксплуатационных условий, что объясняется относительной простотой конструкции бульдозеров, широкой сферой и универсальностью применения, высокой производительностью и низкой стоимостью единицы продукции.

Бульдозер выпускается на базе трактора Т-130, разработанного в начале 60-х годов.

Трактор Т-130 (рисунок 3) относится к типу мощных гусеничных тракторов общего назначения и предназначен главным образом для выполнения тяжелых и трудоемких работ в агрегате с навесным и прицепным оборудованием, а также может быть успешно использован в агрегате с такими механизмами, как подъемный кран, погрузчик, корчеватель собиратель, и многими другими видами дополнительного оборудования. Бульдозер ДЗ-110 относится к тяговому классу 10. Применяется для землеройно-планировочных работ в дорожном, промышленном, гражданском, гидротехническом строительстве на грунтах 1-3 категории. Существующие модификации: трактора Т-130Б, бульдозеры ДЗ-28, ДЗ-110Б.

2.3     Задание на проведение исследования

«Утверждаю»

руководитель работы

Богомолов А. А.

______________________

(личная подпись)

Дата:__________________

Задание №1

на проведение патентных исследований

Наименование темы: Патентное исследование с целью модернизации бульдозера ДЗ-110 Б

Шифр темы: КР.ТОСМ-09.816.00 00 00 ПЗ

Этап (стадия): Проектирование

(код этапа)

План патентных исследований на 2008г., позиция 7

Задачи патентных исследований: поиск технических решений для модернизации бульдозера ДЗ-110Б

Исполнители работ: Степанищев В.А.

Подразделение исполнителя

Краткое содержание работы

Срок исполнения

Отчетный документ

гр. 4ДМ-31

Анализ описаний к изобретениям и патентам, научно-техническая литература

Степанищев В.А.

С 12.09.08 г. по 28.11.08 г.

Пояснительная записка


Руководитель подразделения-исполнения:

Богомолов А. А.________

Исполнитель патентного исследования:

Степанищев В.А.________

.4       Регламент поиска

Наименование темы: Патентное исследование с целью модернизации бульдозера ДЗ-110 Б.

Шифр темы: КР.ТОСМ-09.816.00 00 00 ПЗ

Дата и номер задания на проведение патентных исследований: задание №1 от 12.09.09 г.

Код этапа: проектирование

Начало поиска: 12.09.09 г. Окончание поиска: 28.11.09 г.

Предмет поиска (тема объекта, его составные части)

Цель поиска информации (для решения поиска технических систем)

Страна поиска

Классификационные индексы (УДК, МПК, МПИ, МКПО, НКИ)

Ретроспективность поиска

Наименование источников информации

Бульдозер ДЗ-110А Бульдозер ДЗ - 110Б

Анализ технических решений с целью выбора оптимального варианта для модернизации машины

РФ, СССР

E 02 F 3/76 621.828.2 (088.8) 621.878.2 (088.8) 621.878.23 (088.8)

5 - 30 лет

Описания к изобретениям и патентам, реферативные журналы, научно-техническая литература


Руководитель подразделения-исполнения:

Богомолов А.А.________

Исполнитель патентного исследования:

Степанищев В.А.________

.5       Справка о поиске

Задание на проведение патентных исследований: №1 от 12.09.09 г.

Шифр темы: КР.ТОСМ-09.816.00 00 00 ПЗ

Дата и номер поиска регламента: 12.09.09 г. №2

Начало поиска: 12.09.09 г. Окончание поиска: 28.11.09 г.

. Поиск проведен по следующим материалам.

Предмет поиска (тема, объект, его составные части)

Страна поиска

Классификационные индексы (УДК, МПК, МПИ, МКПО, НКИ)

По фонду какой организации проводится поиск

Источник информации





Научно техническая документация наименование дата опубликования (от и до). Информации

Патентная документация наименование патентного бюллетеня и дата их публикации

1

2

3

4

5

6

Бульдозер ДЗ-110 Б

РФ, СССР

E 02 F 3/76 621.828.2 (088.8) 621.878.2 (088.8) 621.878.23 (088.8)

Патентный фонд областной научной библиотеки, библиотека БГТУ им. В. Г. Шухова

Строительные машины и основы автоматизации - 2001. Строительные машины и средства малой механизации - 2002. Технические основы создания машин - 2008.

Описание изобретения к авторскому свидетельству №846661 опубликовано 15.07.81. Бюллетень №26  Описание изобретения к авторскому свидетельству №844698 Опубликовано 07.07.81. Бюллетень №25  Описание изобретения к авторскому свидетельству №899774 Опубликовано 23.01.82. Бюллетень №3  Описание изобретения к авторскому свидетельству №810902 Опубликовано 07.03.81. Бюллетень №9

2. Патентная документация, отобранная для последующего анализа.

Предмет поиска

Страна выдачи, вид, № охранного док-та, классификационного индекса

Сущность заявленного технического решения и цели его создания, формула изобретения

Заявитель, страна, № заявки, дата приоритета, публикации

Сведения о действии охранного док-та или причина его аннулирования

1

2

3

4

5

Бульдозер ДЗ-110 Б

Рабочее оборудование бульдозера, включающее отвал с боковыми стенками, толкающие брусья и силовые гидроцилиндры, отличающееся тем, что, с целью повышения производительности, оно снабжено отвальным скребком и гидроцилиндром его перемещения, который посредством закрепленного, на отвале двуплечего рычага соединен с верхней частью скребка, при этом боковые стенки выполнены с направляющими, а нижняя часть скребка имеет элементы скольжения, установленные в направляющих боковых стенок.

А. Е. Поповский. Заявлено 29.10.79. Опубликовано 15.07.81. Бюллетень №26. Дата опубликования описания 18.07.81.

Недействителен


СССР, описание изобретения к авторскому свидетельству №844698, E 02 F 3/76 621.878.2 (088.8)

Рабочий орган бульдозера, включающий отвал с ножом и стружколом с отверстиями для подачи сжатого воздуха, толкающие брусья и силовые цилиндры, отличающиеся тем, что, с целью повышения производительности его работы путем снижения сопротивления грунта копанию, стружколом закреплен на лобовой поверхности отвала и расположен над ножом.

А. П. Шмыков Заявлено 17.04.79. Опубликовано 07.07.81. Бюллетень №25. Дата опубликования описания 07.07.81.

Недействителен

Бульдозер ДЗ-110 Б

СССР, описание изобретения к авторскому свидетельству №899774, E 02 F 3/76 621.878.23 (088.8)

Отвал землеройной машины, содержащий лобовой лист, средний нож и боковые ножи, каждый из которых имеет расположенную на его передней поверхности выступающую режущую часть, отличающийся тем, что, с целью увеличения срока службы и унификации его элементов, каждый боковой нож выполнен с дополнительной выступающей режущей частью, расположенной на его задней поверхности диагонально основной выступающей режущей части, при этом боковые ножи закреплены на лобовом листе через прокладки.

Челябинский ордена Ленина завод дорожных машин им. Колющенко Министерства строительного, дорожного и коммунального машиностроения СССР и Всесоюзный научно-исследовательский институт строительного и дорожного машиностроения.

Недействителен


СССР, описание изобретения к авторскому свидетельству №810902, E 02 F 3/76 621.878.2 (088.8)

Бульдозерное оборудование, включающее отвал с основным и выступающим средним ножами, толкающие брусья и гидрораскосы, отличающееся тем, что, с целью упрощения конструкции, средний нож прикреплен к основному жестко и установлен перед ним с меньшим углом резания.

Всесоюзный научно-исследовательский институт строительного и дорожного машиностроения.

Недействителен


. Научно-техническая документация, отобранная для последующего анализа.

Наименование информации

Автор

Год, место и орган издания (утверждения, депонироние источника)

Строительные машины и оборудование. Справочное пособие.

Белецкий Б. Ф.

Ростов н/Д, Феникс, 2002.

Строительные машины и средства автоматизации

Волков Д. П.

Москва, Мастерство, 2002.

Строительные машины и основы автоматизации

Доценко А. И.

Москва, Высшая школа, 1995.

Технические основы создания машин

Богомолов А. А.

Белгород, БГТУ, 2008.


.6       Вывод по результатам патентного исследования

В настоящее время, несмотря на разнообразие бульдозеров по назначению и виду выполняемых работ, проблемы, связанные с энергосбережением в процессе копания, остаются актуальными. Наряду с непрерывным ростом парка бульдозеров постоянно осуществляются качественные изменения их рабочего оборудования, направленные на увеличение производительности и снижение энергоёмкости процесса копания грунта, посредством создания и внедрения новых рациональных и технических решений.

В результате проведения патентных исследований для модернизации было выбрано техническое решение, защищенное авторским свидетельством СССР №810902, кл. Е 02 F 3/76, 1981.

Целью модернизации является то, что, средний нож отвала прикреплен к основному жестко и установлен перед ним с меньшим углом резания.

        
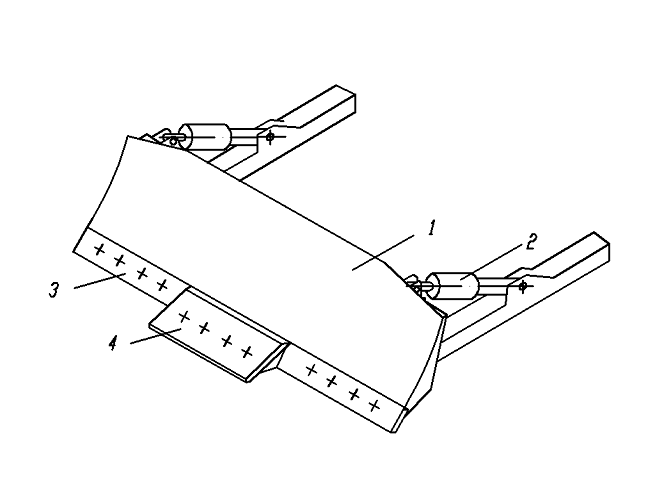
Описание сущности модернизации по результатам патентного исследования

На основании проведенного патентного исследования в нашей работе для увеличения эффективности разработки прочных грунтов предложена следующая модернизация (Рисунок 4): средний нож отвала бульдозера 4 прикреплен к основному жестко и установлен перед ним с меньшим углом резания. Данная конструкция позволяет снизить сопротивление копанию, так как в положении рабочего органа, показанном на рисунке 5 грунт вырезается только средним ножом отвала, при этом на нем реализуется все тяговое усилие базовой машины. Основной нож 3 и отвал 1 лишь транспортируют грунт. Величина заглубления ножа в зависимости от прочности грунта регулируется наклоном отвала.

Рисунок 4. Модернизированное бульдозерное оборудование

Рисунок 5. Рабочее положение отвала

При планировочных работах основной и средний нож отвала устанавливаются в положение, показанное на рисунке 6, когда их режущие кромки лежат в плоскости резания, чем достигается хорошее качество планировочных работ. Изменяя наклон отвала раскосами, угол резания среднего ножа можно менять в зависимости от вида выполняемых работ.

Рисунок 6. Положение отвала при планировочных работах

При изменении наклона отвала угол резания ножевой части изменяется в диапазоне его оптимальных значений (30-550).

Данная конструкция бульдозерного оборудования позволяет изменять вылет среднего ножа относительно основного без внесения в конструкцию отвала каких-либо дополнительных механизмов, осуществляющих эту операцию, что значительно упрощает бульдозерное оборудование и повышает надежность его работы при разработке тяжелых грунтов.

        
Заключение

Целью данной работы является прогнозирование направлений совершенствование конкретно заданной машины (в нашем случае бульдозер ДЗ-110 А). На основе изучения её существующей конструкции, сферы применения и имеющихся недостатков её работы.

В работе мы указали задачи и область применения бульдозеров, конструктивные особенности и процесс работы, осветили информацию о технической характеристике машины и привели в пример иллюстрации данной машины. Провели патентные исследования и предложили модернизацию данного типа машины с целью повышения производительности.

Список литературы

1.   Белецкий Б. Ф. Строительные машины и оборудование. Справочное пособие. - Ростов н/Д Феникс, 2002. 592с.

2.       Волков Д. П. Строительные машины и средства малой механизации. Учебник для сред. проф. Образования. - М.: Мастерство, 2002. - 480с.

.        Доценко А. И. Строительные машины и основы автоматизации. Учебник для строительных ВУЗов. - М. Высшая школа, 1995. - 400с.

.        Богомолов А. А. Технические основы создания машин. Учебное пособие. - Белгород: Издательство БГТУ, 2008. - 195с.

Похожие работы на - Патентное исследование с целью модернизации бульдозера ДЗ-110Б

 

Не нашли материал для своей работы?
Поможем написать уникальную работу
Без плагиата!
Без нейросетей!